Главная // Актуальные документы // ГОСТ Р (Государственный стандарт)
СПРАВКА
Источник публикации
М.: Стандартинформ, 2014
Примечание к документу
Документ включен в Перечень стандартов, в результате применения которых на добровольной основе обеспечивается соблюдение требований технического регламента Таможенного союза "О безопасности оборудования, работающего под избыточным давлением" (ТР ТС 032/2013) (Решение Коллегии Евразийской экономической комиссии от 25.02.2014 N 22).

Документ введен в действие с 01.07.2014.
Название документа
"ГОСТ Р 55559-2013. Национальный стандарт Российской Федерации. Баллоны композитные для сжиженных углеводородных газов на рабочее давление 2,0 МПа. Общие технические требования. Методы испытаний"
(утв. и введен в действие Приказом Росстандарта от 06.09.2013 N 894-ст)

"ГОСТ Р 55559-2013. Национальный стандарт Российской Федерации. Баллоны композитные для сжиженных углеводородных газов на рабочее давление 2,0 МПа. Общие технические требования. Методы испытаний"
(утв. и введен в действие Приказом Росстандарта от 06.09.2013 N 894-ст)


Содержание


Утвержден и введен в действие
Приказом Федерального агентства
по техническому регулированию
и метрологии
от 6 сентября 2013 г. N 894-ст
НАЦИОНАЛЬНЫЙ СТАНДАРТ РОССИЙСКОЙ ФЕДЕРАЦИИ
БАЛЛОНЫ КОМПОЗИТНЫЕ ДЛЯ СЖИЖЕННЫХ УГЛЕВОДОРОДНЫХ ГАЗОВ
НА РАБОЧЕЕ ДАВЛЕНИЕ 2,0 МПА
ОБЩИЕ ТЕХНИЧЕСКИЕ ТРЕБОВАНИЯ.
МЕТОДЫ ИСПЫТАНИЙ
Composite cylinders for liquefied petroleum gases
at pressure up to 2,0 MPa. General technical
requirements. Test methods
EN 12245:2009
Transportable gas cylinders -
Fully wrapped composite cylinders
(MOD)
EN 14427:2004
Transportable refillable composite cylinders
for LPG - Design and construction
(MOD)
ГОСТ Р 55559-2013
ОКС 23.020.30
ОКП 36 9520
Дата введения
1 июля 2014 года
Предисловие
1. Подготовлен Обществом с ограниченной ответственностью "Научно-исследовательский институт природных газов и газовых технологий - Газпром ВНИИГАЗ" (ООО "Газпром ВНИИГАЗ").
2. Внесен Техническим комитетом по стандартизации ТК 23 "Техника и технологии добычи и переработки нефти и газа".
3. Утвержден и введен в действие Приказом Федерального агентства по техническому регулированию и метрологии от 6 сентября 2013 г. N 894-ст.
4. Настоящий стандарт является модифицированным по отношению к европейским региональным стандартам ЕН 12245:2009 "Баллоны газовые переносные. Газовые баллоны, полностью обернутые композитом" с учетом изменений и дополнений AC:2010 (EN 12245/AC:2010 "Transportable gas cylinders - Fully wrapped composite cylinders"); ЕН 14427:2004 "Баллоны переносные из композитных материалов для сжиженных нефтяных газов многоразового использования. Проектирование и производство" с учетом изменений и дополнений A1:2005 (EN 14427:2004+A1:2005 "Transportable refillable composite cylinders for LPG - Design and construction") путем изменения его структуры для приведения в соответствие с правилами, установленными в ГОСТ Р 1.5-2012 (подраздел 3.9), и внесения технических отклонений, введения дополнительных разделов, подразделов, пунктов, изменения его структуры. При этом в него не включены некоторые структурные и дополнительные элементы, объяснение которых приведено во введении к настоящему стандарту.
Положения европейского регионального стандарта EN 14427:2004, которые применены в настоящем стандарте с модификацией их содержания для учета особенностей национальной стандартизации, приведены в дополнительном Приложении ДБ.
Тексты приложений A и B европейского регионального стандарта EN 14427:2004, не включенных в настоящий стандарт в связи с нецелесообразностью их применения в национальной стандартизации, приведены в дополнительном Приложении ДВ.
Сравнение структуры настоящего стандарта со структурой европейского регионального стандарта ЕН 14427:2004 приведено в дополнительном Приложении ДГ.
Дополнительные положения и требования, включенные в текст настоящего стандарта для учета потребностей национальной экономики и особенностей российской национальной стандартизации, выделены в тексте стандарта курсивом.
Наименование настоящего стандарта изменено относительно наименования указанного международного стандарта для приведения в соответствие с ГОСТ Р 1.5-2012 (подраздел 3.5).
При применении настоящего стандарта вместо ссылочных международных стандартов рекомендуется использовать соответствующие им национальные стандарты Российской Федерации, сведения о которых приведены в дополнительном Приложении ДА.
5. Введен впервые.
Правила применения настоящего стандарта установлены в ГОСТ Р 1.0-2012 (раздел 8). Информация об изменениях к настоящему стандарту публикуется в ежегодном (по состоянию на 1 января текущего года) информационном указателе "Национальные стандарты", а официальный текст изменений и поправок - в ежемесячном информационном указателе "Национальные стандарты". В случае пересмотра (замены) или отмены настоящего стандарта соответствующее уведомление будет опубликовано в ближайшем выпуске ежемесячного информационного указателя "Национальные стандарты". Соответствующая информация, уведомление и тексты размещаются также в информационной системе общего пользования - на официальном сайте Федерального агентства по техническому регулированию и метрологии в сети Интернет (gost.ru).
Введение
Настоящий стандарт является модифицированным по отношению к международным стандартам ЕН 12245:2009 "Баллоны газовые переносные. Газовые баллоны, полностью обернутые композитом" с учетом изменений и дополнений A1:2005 (EN 12245:2009 Transportable gas cylinders - Fully wrapped composite cylinders) с учетом изменений и дополнений EN 12245/AC:2010; ЕН 14427:2004 "Баллоны переносные из композитных материалов для сжиженных нефтяных газов многоразового использования. Проектирование и производство" (EN 14427:2004 Transportable refillable composite cylinders for LPG - Design and construction) с учетом изменений и дополнений A1:2005.
В настоящем стандарте по отношению к ЕН 14427:2004 из элемента "Область применения" исключены отсутствующие на рынке металлопластиковые баллоны для сжиженных нефтяных газов. В стандарте в большем объеме представлена информация о требованиях безопасности, указаниях по эксплуатации и утилизации. В связи с тем, что процедуры подтверждения соответствия относятся к области действия Технического регламента Таможенного союза 032/2013 "О безопасности оборудования, работающего под избыточным давлением" в него не включено информативное приложение B ЕН 14427:2004, а приложения A и C включены соответственно в раздел "Правила приемки" и подраздел "Требования к маркировке" настоящего стандарта.
Испытания баллонов на воздействие пламени и прострел приняты по международному стандарту ЕН 12245:2009.
Для адаптирования к отечественной системе стандартизации в настоящем стандарте введены дополнительные терминологические статьи.
Для совместимости с российским законодательством по безопасности оборудования, работающего под избыточным давлением, в настоящий стандарт введено понятие "рабочее давление", величина которого 2,0 МПа, установлена равной 2/3 пробного давления по ЕН 14427:2004. Также введены требования установления срока эксплуатации баллонов - не более 20 лет, срока переосвидетельствования - не более 5 лет, цвета наружной поверхности баллонов - красный.
Для учета особенностей климатических условий Российской Федерации в настоящем стандарте предусмотрено два климатических исполнения баллонов. В макроклиматических районах Российской Федерации с нижней границей рабочей температуры воздуха от минус 60 °C и ниже должны использоваться баллоны в климатическом исполнении ХЛ.
1. Область применения
Настоящий стандарт распространяется на транспортируемые многократно наполняемые композитные баллоны (далее - баллоны) вместимостью от 0,5 до 150,0 л с рабочим давлением 2,0 МПа, предназначенные для транспортирования, хранения и использования сжиженных углеводородных газов по ГОСТ Р 52087.
Настоящий стандарт распространяется на баллоны:
- изготовленные из композиционного материала, который обеспечивает герметичность и несет нагрузку от внутреннего давления (безлейнеровые);
- состоящие из внутреннего герметизирующего неметаллического лейнера и наружной оболочки из композиционного материала, несущей нагрузку от внутреннего давления.
Стандарт не распространяется на баллоны, устанавливаемые на борту транспортных средств и судов, и предназначенные для обеспечения топливом двигателей транспортных средств и судов, на которых они установлены.
Примечание. Приведенные выше дополнительные по отношению к ЕН 14427:2004 требования направлены на соблюдение требований российского законодательства о безопасности колесных транспортных средств и судов.
2. Нормативные ссылки
В настоящем стандарте использованы нормативные ссылки на следующие стандарты:
ГОСТ 2.001-93 Единая система конструкторской документации. Общие положения
ГОСТ 2.601-2006 Единая система конструкторской документации. Эксплуатационные документы
ГОСТ 3.1001-2011 Единая система технологической документации. Общие положения
ГОСТ 9.401-91 Единая система защиты от коррозии и старения. Покрытия лакокрасочные. Общие требования и методы ускоренных испытаний на стойкость к воздействию климатических факторов
ГОСТ 12.1.005-88 Система стандартов безопасности труда. Общие санитарно-гигиенические требования к воздуху рабочей зоны
ГОСТ 12.1.044-89 Система стандартов безопасности труда. Пожаровзрывоопасность веществ и материалов. Номенклатура показателей и методы их определения
ГОСТ 25.604-82 Расчеты и испытания на прочность. Методы механических испытаний композиционных материалов с полимерной матрицей (композитов). Метод испытания на изгиб при нормальной, повышенной и пониженной температурах
ГОСТ 4648-71 Пластмассы. Метод испытания на статический изгиб
ГОСТ 6611.2-73 Нити текстильные. Методы определения разрывной нагрузки и удлинения при разрыве
ГОСТ 6943.0-93 Стекловолокно. Правила приемки
ИС МЕГАНОРМ: примечание.
ГОСТ 6943.10-79 утратил силу с 1 июня 2016 года в связи с введением в действие ГОСТ 6943.10-2015 (Приказ Росстандарта от 21.07.2015 N 957-ст).
ГОСТ 6943.10-79 Материалы текстильные стеклянные. Метод определения разрывной нагрузки и удлинения при разрыве
ГОСТ 10456-80 Пластмассы. Метод определения поведения пластмасс при контакте с раскаленным стержнем
ГОСТ 11262-80 Пластмассы. Метод испытания на растяжение
ГОСТ 11645-73 Пластмассы. Метод определения показателя текучести расплава термопластов
ГОСТ 11736-78 Пластмассы. Метод определения содержания воды
ГОСТ 12020-72 Пластмассы. Методы определения стойкости к действию химических сред
ИС МЕГАНОРМ: примечание.
Взамен ГОСТ 12021-84 Приказом Росстандарта от 26.01.2018 N 22-ст с 01.10.2018 введен в действие ГОСТ 12021-2017.
ГОСТ 12021-84 Пластмассы и эбонит. Метод определения температуры изгиба под нагрузкой
ГОСТ 14359-69 Пластмассы. Методы механических испытаний. Общие требования
ИС МЕГАНОРМ: примечание.
Взамен ГОСТ 15088-83 Приказом Росстандарта от 29.05.2014 N 463-ст с 1 января 2015 года введен в действие ГОСТ 15088-2014.
ГОСТ 15088-83 Пластмассы. Метод определения температуры размягчения термопластов по Вика
ГОСТ 15139-69 Пластмассы. Методы определения плотности (объемной массы)
ГОСТ 15150-69 Машины, приборы и другие технические изделия. Исполнения для различных климатических районов. Категории, условия эксплуатации, хранения и транспортирования в части воздействия климатических факторов внешней среды
ГОСТ 15860-84 Баллоны стальные сварные для сжиженных углеводородных газов на давление до 1,6 МПа. Технические условия
ГОСТ 16350-80 Климат СССР. Районирование и статистические параметры климатических факторов для технических целей
ГОСТ 18249-72 Пластмассы. Метод определения вязкости разбавленных растворов полимеров
ГОСТ 21207-81 Пластмассы. Метод определения воспламеняемости
ГОСТ 21553-76 Пластмассы. Методы определения температуры плавления
ГОСТ 21793-76 Пластмассы. Метод определения кислородного индекса
ГОСТ 24998-81 Калибры для конической резьбы вентилей и баллонов для газов. Допуски
ГОСТ 25276-82 Полимеры. Метод определения вязкости ротационным вискозиметром при определенной скорости сдвига
ГОСТ 31014-2002 Профили полиамидные стеклонаполненные. Технические условия
ГОСТ Р 51753-2001 Баллоны высокого давления для сжатого природного газа, используемого в качестве моторного топлива на автомобильных транспортных средствах. Общие технические условия
ГОСТ Р 52087-2003 Газы углеводородные сжиженные топливные. Технические условия.
Примечание. При пользовании настоящим стандартом целесообразно проверить действие ссылочных стандартов в информационной системе общего пользования - на официальном сайте Федерального агентства по техническому регулированию и метрологии в сети Интернет или по ежегодному информационному указателю "Национальные стандарты", который опубликован по состоянию на 1 января текущего года, и по выпускам ежемесячного информационного указателя "Национальные стандарты" за текущий год. Если заменен ссылочный стандарт, на который дана недатированная ссылка, то рекомендуется использовать действующую версию этого стандарта с учетом всех внесенных в данную версию изменений. Если заменен ссылочный стандарт, на который дана датированная ссылка, то рекомендуется использовать версию этого стандарта с указанным выше годом утверждения (принятия). Если после утверждения настоящего стандарта в ссылочный стандарт, на который дана датированная ссылка, внесено изменение, затрагивающее положение, на которое дана ссылка, то это положение рекомендуется применять без учета данного изменения. Если ссылочный стандарт отменен без замены, то положение, в котором дана ссылка на него, рекомендуется применять в части, не затрагивающей эту ссылку.
3. Термины и определения
В настоящем стандарте применены термины с соответствующими определениями:
3.1. армирующий материал: Непрерывные волокна, воспринимающие основную нагрузку в композиционном материале.
Примечание. См. ДБ.1 (Приложение ДБ).
3.2. газопроницаемость: Проникновение газа через стенки баллона, обусловленное свойствами материала.
3.3. герметичность: Свойство баллона не пропускать газ или жидкость через стенки и соединения с запорной арматурой.
3.4. горловина: Конструктивный элемент баллона с отверстием, имеющим резьбу для подсоединения запорной арматуры.
3.5. давление разрушения: Максимальное давление, достигаемое при испытании баллона до разрушения.
3.6. давление разрушения расчетное: Давление разрушения баллона, устанавливаемое разработчиком (изготовителем).
3.7. композиционный материал (композит): Материал, состоящий из непрерывных волокон и полимерного связующего.
Примечание. См. ДБ.2 (Приложение ДБ).
3.8. кольцо горловины: Металлическое кольцо с наружной резьбой, предназначенное для крепления на баллоне предохранительного колпака.
3.9. корпус: Основная сборочная единица, состоящая из обечаек и днищ.
3.10. наружное покрытие: Слой прозрачного или пигментированного материала, накладываемого на баллон для защиты от внешних воздействий.
3.11. неметаллический лейнер: Лейнер, изготовленный из термопласта, реактопласта или эластомерного материала.
3.12. нормальные климатические условия испытаний: Нормальные значения факторов внешней среды при испытаниях изделий, отвечающие требованиям ГОСТ 15150-69 (пункт 3.15).
Примечание. См. ДБ.3 (Приложение ДБ).
3.13. лейнер: Внутренняя герметизирующая оболочка баллона.
Примечание. См. ДБ.4 (Приложение ДБ).
3.14. лейнер, не несущий нагрузки: Лейнер, несущий менее 5% общей нагрузки на конструкцию баллона и испытательного давления; предназначен только для предотвращения диффузии сжиженного углеводородного газа из баллона.
3.15. партия (волокна и компонентов связующего): Количество материала одного наименования, марки, способа производства, изготовленного в соответствии с утвержденным технологическим регламентом (процессом) в течение не более одного месяца и оформленного одним документом о качестве.
Примечание. См. ДБ.5 (Приложение ДБ).
[ГОСТ 6943.0-93, статья 4.1]
3.16. партия баллонов: Группа баллонов одного типоразмера, изготовленная по одной документации за определенный период времени, оформленных документом, удостоверяющим качество баллонов и содержащим: наименование изготовителя и товарный знак, номер партии, дату выпуска, обозначение настоящего стандарта.
Примечание. См. ДБ.6 и ДБ.7 (Приложение ДБ).
3.17. партия лейнеров: Группа лейнеров, имеющая одинаковые размеры, изготовленная по одной конструкторско-технологической документации, на одном технологическом оборудовании, из неметаллических материалов одной марки и одного режима термической обработки.
Примечание. См. ДБ.8 (Приложение ДБ).
3.18. предохранительный колпак: Наружный колпак, для защиты запорной арматуры, установленной на баллоне во время эксплуатации, который не является неотъемлемой частью конструкции, не закреплен на баллоне постоянно, но который может быть демонтирован во время обслуживания при помощи специальных инструментов без разрушения колпака.
3.19. разрушение баллона: Потеря способности баллона выдерживать внутреннее давление.
3.20. реактопласт (термореактивная пластмасса): Полимерный материал, отверждение которого сопровождается необратимой химической реакцией, приводящей к образованию неплавкого и нерастворимого материала.
3.21. связующее: Полимерный материал, обеспечивающий монолитность композита.
Примечание. См. ДБ.9 (Приложение ДБ).
3.22. термопласт: Полимерный материал, который способен неоднократно размягчаться при увеличении температуры и отвердевать при ее понижении.
3.23. транспортируемый баллон: Баллон, который можно перевозить (переносить) с одного места эксплуатации на другое без дополнительных монтажных работ.
3.24. эластомерный материал: Материал, который при температуре окружающей среды может неоднократно растягиваться (не менее чем в два раза от начальной длины) и возвращаться с усилием примерно к начальной длине сразу после снятия натяжения.
4. Технические требования
4.1. Конструктивные требования
4.1.1. Рабочее давление должно составлять 2,0 МПа.
Примечание. Приведенные выше дополнительные по отношению к ЕН 14427:2004 требования направлены на соблюдение совместимости с российским законодательством по безопасности оборудования, работающего под избыточным давлением.
4.1.2. Пробное давление должно составлять 3,0 МПа.
4.1.3. Расчетное давление разрушения должно быть не менее 6,75 МПа.
4.1.4. Циклическая долговечность баллона при нагружении пробным давлением должна составлять не менее 12 000 циклов.
4.1.5. Расчетный срок службы баллонов определяется разработчиком (изготовителем) и не должен превышать 20 лет.
Примечание. Приведенные выше дополнительные по отношению к ЕН 14427:2004 требования направлены на соблюдение требований российского законодательства по безопасности оборудования, работающего под избыточным давлением.
4.1.6. Срок переосвидетельствования баллонов определяется разработчиком (изготовителем) и не должен превышать 5 лет.
Примечание. Приведенные выше дополнительные по отношению к ЕН 14427:2004 требования направлены на соблюдение требований российского законодательства по безопасности оборудования, работающего под избыточным давлением.
4.1.7. Виды климатического исполнения баллонов - У2 или ХЛ2 по ГОСТ 15150.
Примечание. Приведенные выше дополнительные по отношению к ЕН 14427:2004 требования направлены на обеспечение учета особенностей климатических условий Российской Федерации в соответствии ГОСТ 16350.
4.1.8. Баллоны климатического исполнения У эксплуатируются при температуре окружающей среды от минус 40 °C до плюс 50 °C.
4.1.9. Баллоны климатического исполнения ХЛ эксплуатируются при температуре окружающей среды от минус 60 °C до плюс 50 °C.
Примечание. Приведенные выше дополнительные по отношению к ЕН 14427:2004 требования направлены на обеспечение учета особенностей климатических условий Российской Федерации в соответствии ГОСТ 16350.
4.1.10. Конструкция композитного баллона может включать неметаллический лейнер или быть безлейнерной.
4.1.11. Композитный корпус баллона изготавливается путем намотки композиционного материала на неметаллический лейнер или технологическую оправку. В случае изготовления безлейнерового баллона (с использованием технологической оправки) композитный корпус может состоять из двух частей, склеенных между собой.
4.1.12. Лейнер должен предотвращать диффузию сжиженного газа из баллона и не должен нести больше 5% нагрузки от избыточного давления при нагружении пробным давлением.
4.1.13. В конструкцию баллона могут входить наружное покрытие и/или дополнительные неметаллические элементы, такие как ограждение вентиля (воротник)/ручки для переноски, башмак (опора) и кожух. Если эти элементы предусмотрены конструкцией, они должны быть стационарно закреплены на баллоне так, чтобы их нельзя было демонтировать без разрушения баллона. Для защиты запорно-предохранительной арматуры на баллоне должен быть предусмотрен предохранительный колпак или воротник. В дополнительных элементах допускаются прорези произвольной формы.
4.1.14. Основной цвет наружной поверхности баллона должен быть красным и составлять более 70% наружной поверхности. Композитный корпус допускается не окрашивать.
Примечание. Приведенные выше дополнительные по отношению к ЕН 14427:2004 требования направлены на обеспечение безопасности оборудования, работающего под избыточным давлением.
4.1.15. Для баллонов, предназначенных для эксплуатации в вертикальном положении, отклонение от вертикали не должно превышать 1% от его высоты, а диаметр башмака (опоры) в плоскости соприкосновения с грунтом должен превышать 75% от номинального наружного диаметра баллона.
4.1.16. Только одно из днищ баллона/лейнера (верхнее) должно быть оснащено неизвлекаемой закладной втулкой с внутренней резьбой для подсоединения запорно-предохранительной арматуры. На втулку может устанавливаться кольцо горловины с наружной резьбой для монтажа предохранительного колпака.
Материал втулок должен соответствовать пункт 2.3 ГОСТ 15860 и пункт 4.2 ГОСТ Р 51753.
Резьба должна быть нарезана чисто, без выкрашиваний.
Примечание. Приведенные выше дополнительные по отношению к ЕН 14427:2004 требования направлены на обеспечение совместимости запорно-предохранительной арматуры.
4.1.17. Допускается наличие в конструкции второго днища (нижнего) неизвлекаемого закладного элемента, технологические отверстия которого должны быть загерметизированы до проведения испытаний.
4.1.18. Изготовитель баллонов должен установить назначенные показатели (назначенный срок хранения, назначенный срок службы и/или назначенный ресурс) в зависимости от конструктивных особенностей.
Примечание. Приведенные выше дополнительные по отношению к ЕН 14427:2004 требования направлены на соблюдение совместимости с российским законодательством по безопасности оборудования, работающего под избыточным давлением.
4.2. Требования стойкости к внешним воздействиям и живучести
4.2.1. Баллон после искусственного старения по 7.6 должен сохранять прочность и циклическую долговечность.
4.2.2. Баллон после длительного воздействия повышенных температур по 7.7 должен сохранять прочность.
4.2.3. Баллон после удара о плоскую поверхность и об острый угол по 7.8 должен сохранять герметичность, прочность и циклическую долговечность.
4.2.4. Баллон после падений с высоты по 7.9 должен сохранять герметичность, прочность и циклическую долговечность.
4.2.5. Баллон с нанесенными по 7.10 поверхностными дефектами должен иметь давление разрушения не менее 4,0 МПа и циклическую долговечность не менее 1000 циклов.
4.2.6. Баллон после воздействия предельных положительных и отрицательных температур по 7.11 должен иметь давление разрушения не менее 5,0 МПа.
4.2.7. Баллон не должен взрываться при воздействии пламени по 7.12, при этом должно произойти опорожнение баллона через предохранительную арматуру и/или диффузией газа через стенки баллона.
4.2.8. Баллон при сквозном пробитии по 7.13 не должен разрушаться с образованием осколков.
4.2.9. Газопроницаемость баллона по 7.14 не должна превышать 1,0 мг в час на литр вместимости баллона.
4.2.10. Внутренняя резьба втулки/горловины баллона должна сохранять допустимые геометрические размеры после установки запорной арматуры с усилием затяжки 110% от максимально допустимого и последующего ее демонтажа по 7.15.
4.2.11. Приложение крутящего момента 150% от максимально допустимого к втулке/горловине баллона по 7.16 не должно приводить к ее деформированию или сдвигу/провороту относительно баллона.
4.2.12. Приложение осевого усилия к кольцу горловины баллона по 7.17 не должно приводить к ее демонтажу или сдвигу относительно баллона.
4.3. Требования к материалу неметаллического лейнера
4.3.1. Материал неметаллического лейнера должен быть совместим со сжиженными углеводородными газами по ИСО 11114-2:2013 [1].
4.3.2. Материал неметаллического лейнера баллона климатического исполнения ХЛ при испытании по 7.1.1 не должен иметь хрупкого разрушения при температуре минус 65 °C.
Примечание. Приведенные выше дополнительные по отношению к ЕН 14427:2004 требования направлены на обеспечение учета особенностей климатических условий Российской Федерации в соответствии ГОСТ 16350.
4.4. Требования к композиционным материалам
4.4.1. В качестве армирующего материала композита должны использоваться непрерывные стеклянные, арамидные (органоровинг) или углеродные волокна. В состав композиционного материала может входить один или несколько типов волокон (гибридный композит), указанных выше.
4.4.2. Композиционный материал безлейнерового баллона должен быть совместим со сжиженными углеводородными газами по ИСО 11114-2:2013 [1].
4.5. Требования к покупной запорно-предохранительной арматуре
4.5.1. Для установки на баллон применяют запорно-предохранительную арматуру того же типа, что и арматура, используемая при приемочных испытаниях на воздействие пламени по 7.12 настоящего стандарта баллонов этого типоразмера.
4.5.2. Запорно-предохранительная арматура должна быть комбинированной и содержать: запорные вентиль или клапан, предохранительное устройство от повышения давления, срабатывающее при давлении (2,7 +/- 0,1) МПа, и предохранительное устройство от повышения температуры, срабатывающее при температуре (110 +/- 10) °C.
4.5.3. После монтажа запорно-предохранительной арматуры на баллон герметичность соединения арматуры с втулкой баллона и целостность баллона должны быть проверены по 7.3.
4.6. Требования к комплектности
4.6.1. В комплект поставки баллонов должна входить эксплуатационная документация по ГОСТ 2.601, содержащая:
а) паспорт баллона (для баллонов вместимостью более 100 л);
б) руководство по монтажу и безопасной эксплуатации, включающее: краткое описание и область применения; инструкцию по монтажу; условия и требования безопасной эксплуатации с предупреждающим указанием наличия и величины газопроницаемости баллона; срок эксплуатации, периодичность осмотров, технических обслуживаний и технических освидетельствований;
в) порядок осмотров, технических обслуживаний, ремонта и технических освидетельствований; условия и требования безопасной утилизации; критерии предельных состояний.
Примечания
1. Информация о наличии ограничения крутящего момента и/или необходимости использования специальных приспособлений для установки/демонтажа запорно-предохранительной арматуры приводится в руководстве по монтажу и безопасной эксплуатации.
2. Документация согласно перечислению в) поставляется по запросу заинтересованных лиц (организаций, осуществляющих монтаж и эксплуатацию баллонов, организаций, осуществляющих надзор за безопасностью их эксплуатации и др.).
4.6.2. Баллоны, как правило, поставляют со смонтированной запорно-предохранительной арматурой.
Примечание. Приведенные выше дополнительные по отношению к ЕН 14427:2004 требования направлены на соблюдение совместимости с российским законодательством по безопасности оборудования, работающего под избыточным давлением.
4.7. Требования к маркировке
4.7.1. Каждый баллон должен иметь маркировку в месте, удобном для обозрения, со следующими данными:
- товарный знак предприятия-изготовителя;
- условное обозначение баллона;
- номер баллона по системе нумерации предприятия-изготовителя;
- масса порожнего баллона М, кг;
- даты (месяц, год) изготовления и год следующего освидетельствования;
- рабочее давление Р, 2,0 МПа;
- пробное давление П, 3,0 МПа;
- вместимость V, л.
Примечания
1. Вместимость указывается номинальная до первого знака после запятой. Если значение вместимость является целым числом, то цифры после десятичного знака могут быть опущены.
2. Масса порожнего баллона указывается номинальная до первого знака после запятой. Масса порожнего баллона включает все неотъемные части баллона (масса нанесенного лакокрасочного покрытия, кожуха, башмака, воротника, кольца горловины), а также массу запорно-предохранительной арматуры (вентиля).
3. Маркировку товарного знака и цифр маркировки массы порожнего баллона выполняют высотой не менее 10 мм, высоту букв и остальных цифр - не менее 6 мм.
4.7.2. При наличии ограничения крутящего момента и/или необходимости использования специальных приспособлений для установки/демонтажа запорно-предохранительной арматуры эта информация также должна быть указана в маркировке и эксплуатационной документации.
4.7.3. На цилиндрической части баллона должна быть нанесена надпись "ПРОПАН", допускается нанесение надписи "БУТАН" на баллонах, предназначенных для транспортирования и хранения сжиженных углеводородных газов марки БТ по ГОСТ Р 52087.
Высота букв должна быть:
- 20+3 мм - для баллона вместимостью до 5 л;
- 40+3 мм - для баллона вместимостью от 5 до 12 л;
- 60+3 мм - для баллонов вместимостью от 12 л и выше.
4.7.4. Маркировку и надписи наносят непосредственно на баллон (на композитный корпус, воротник/башмак и/или наружный кожух), или на табличку, или на этикетку.
4.7.5. Табличка на баллоне должна сохраняться в течение всего срока эксплуатации баллона.
Примечание. Приведенные выше дополнительные по отношению к ЕН 14427:2004 требования направлены на соблюдение совместимости с российским законодательством по безопасности оборудования, работающего под избыточным давлением.
4.7.6. Этикетка, покрытая слоем композиционного материала, должна читаться.
4.7.7. Допускается расположение маркировки на днище с горловиной в случае подтверждения целостности (читаемости) маркировки при испытаниях на циклическую долговечность и прочность до разрушения.
Допускается нанесение маркировки для баллонов вместимостью до 27 л на воротнике или башмаке, для баллонов вместимостью от 27 л и выше - на воротнике.
4.7.8. Маркировку и надписи наносят печатью или формованием в процессе производства любым способом, обеспечивающим ее сохранность и разборчивость после хранения, транспортирования и монтажа в течение всего срока эксплуатации баллона.
4.7.9. Маркировка даты (месяц, год) освидетельствования, год следующего освидетельствования и клеймо организации, проводившей очередное освидетельствование, должны наноситься на защищенные от истирания участки корпуса баллона (например, на часть днища с горловиной, защищенной воротником, или внутреннюю поверхность воротника) методом, не повреждающим корпус баллона (например, клеймами-наклейками, деколями).
Примечание. Приведенные выше дополнительные по отношению к ЕН 14427:2004 требования направлены на соблюдение совместимости с российским законодательством по безопасности оборудования, работающего под избыточным давлением.
5. Требования безопасности
5.1. Материалы, применяемые для изготовления баллонов, должны относиться к III и/или IV классу опасности по ГОСТ 12.1.007.
5.2. Баллоны в условиях эксплуатации и хранения не должны оказывать вредного воздействия на организм человека и окружающую среду, работа с ними не должна требовать особых мер предосторожности.
Примечание. Приведенные выше дополнительные по отношению к ЕН 14427:2004 требования направлены на обеспечение экологической безопасности в соответствии с требованиями к структуре стандартов ГОСТ Р 1.5.
6. Правила приемки
6.1. Приемочные испытания
6.1.1. Приемочные испытания проводятся с целью решения вопроса о целесообразности постановки на производство баллонов новой конструкции.
Примечание. Приведенные выше дополнительные по отношению к ЕН 14427:2004 требования направлены на соблюдение требований российского законодательства по безопасности оборудования, работающего под избыточным давлением.
6.1.2. Приемочные испытания проводят на опытной партии баллонов, состоящей минимум из 50 баллонов, из которой случайным образом отбирают баллоны в количестве, необходимом для испытаний. Для испытаний баллонов с лейнерами предварительно до операции намотки композита отбирают необходимое количество лейнеров из той же партии.
6.1.3. Приемочные испытания проводятся путем сопоставления действительных параметров и характеристик баллонов и технологических параметров их изготовления с требованиями нормативных документов и с проектными значениями этих параметров и характеристик.
6.1.4. При приемочных испытаниях проводят анализ конструкторской и технологической документации, а также испытание материалов и баллонов.
Примечание. Приведенные выше дополнительные по отношению к ЕН 14427:2004 требования направлены на соблюдение требований российского законодательства по безопасности оборудования, работающего под избыточным давлением.
6.1.5. Анализ документации
6.1.5.1. Конструкторская документация должна соответствовать ГОСТ 2.001 и содержать информацию о:
- всех допусках на размеры, включая цилиндричность и прямолинейность цилиндрической поверхности баллона;
- наличии наружного покрытия и дополнительных комплектующих, которые являются неотъемлемой частью конструкции.
6.1.5.2. Технологическая документация должна соответствовать ГОСТ 3.1001 и содержать:
- схему армирования, включая усилие(я) натяжения волокна, количество нитей волокна, скорость(ти) и шаг намотки, количество и порядок слоев;
- компонентный состав композиционного материала и клея (при его использовании);
- описание технологии пропитки волокна (мокрая намотка или предварительное пропитывание);
- диапазон температуры связующего при пропитке волокна;
- процесс полимеризации (например термическая обработка; ультразвуковое, ультрафиолетовое или радиационное облучение) и режим полимеризации.
6.1.5.3. В технологической документации на партию баллонов и неметаллических лейнеров должны быть указаны номера партий использованных волокон, связующего и клея, а также компонентный состав связующего и клея.
6.1.6. Испытания материалов и баллонов
Перечень испытаний материалов, используемых для производства баллонов, приведен в таблице 1, объем приемочных испытаний баллонов приведен в таблице 2.
Таблица 1
Испытания неметаллических материалов
Вид испытания
Метод испытания
Для всех типов баллонов
ИС МЕГАНОРМ: примечание.
ГОСТ 6943.10-79 утратил силу с 1 июня 2016 года в связи с введением в действие ГОСТ 6943.10-2015 (Приказ Росстандарта от 21.07.2015 N 957-ст).
Прочностные свойства волокна:
- стеклянные, арамидные (органоровинг);
- углеродные
ASTM D 2290-12 [2] и ASTM D 2291-98 [3],
ASTM D 2346-95 [4] (допускается ГОСТ 6943.10);
ASTM D 4018-99 [5] (допускается ГОСТ 6611.2)
Сопротивление межслоевому сдвигу
ASTM D 2344-84 [6] (допускается ГОСТ 25.604)
Материал неметаллического лейнера
Термопласты:
Вязкость
ИСО 1628-3:2010 [7] (допускается ГОСТ 18249)
Точка плавления
ИСО 3146:2000 [8] (допускается ГОСТ 21553)
Влагосодержание
ИСО 15512:2008 [9] (допускается ГОСТ 11736)
Плотность
ИСО 1183-1:2012 [10] (допускается ГОСТ 15139)
Индекс текучести расплава
ИСО 1133-1:2011 [11] (допускается ГОСТ 11645)
Химическая устойчивость
ИСО 175:2010 [12] (допускается ГОСТ 12020)
Термореактивные пластмассы и эластомеры:
Вязкость
ИСО 2884-1:1999 [13] (допускается ГОСТ 25276)
Удлинение при разрушении
ИСО 527-1:2012 [14] (допускается ГОСТ 11262, ГОСТ 14359)
Прочность на растяжение
ИСО 527-1:2012 [14] (допускается ГОСТ 11262, ГОСТ 14359)
Плотность
ИСО 1183-1:2012 [10] (допускается ГОСТ 15139)
Химическая устойчивость
ИСО 175:2010 [12] (допускается ГОСТ 12020)
ИС МЕГАНОРМ: примечание.
Взамен ГОСТ 15088-83 Приказом Росстандарта от 29.05.2014 N 463-ст с 1 января 2015 года введен в действие ГОСТ 15088-2014.
Температура стеклования определяется с помощью дифференциальной сканирующей калориметрии
ГОСТ 15088
Дополнительно для безлейнеровых баллонов
Прочность композита
ИСО 527-1:2012 [14] (допускается ГОСТ 11262, ГОСТ 14359)
Модуль упругости
ИСО 527-1:2012 [14] (допускается ГОСТ 11262, ГОСТ 14359)
Удлинение
ИСО 527-1:2012 [14] (допускается ГОСТ 11262, ГОСТ 14359)
Число вязкости:
- термопласты
- реактопласты
ИСО 1628-3:2010 [7] (допускается ГОСТ 18249)
ИСО 2884-1:1999 [13] (допускается ГОСТ 18249)
ИС МЕГАНОРМ: примечание.
Взамен ГОСТ 12021-84 Приказом Росстандарта от 26.01.2018 N 22-ст с 01.10.2018 введен в действие ГОСТ 12021-2017.
Температура тепловой дисторсии:
- термопласты
- реактопласты
ИСО 3164:2000 [8] (допускается ГОСТ 21553)
ИСО 75-1:2013 [15], ИСО 75-3:2004 [16] (допускается ГОСТ 12021, ГОСТ 4648, ГОСТ 31014)
Температура самовоспламенения
Компонентный состав
По методике изготовителя
Таблица 2
Испытания и контроль баллонов
Наименование испытания и контроля
Метод испытания
Количество/объем испытания
Визуальный осмотр
-
100%
Контроль геометрических размеров
-
100%
Определение массы
-
100%
Определение вместимости
-
100%
Проверка маркировки
-
100%
Испытание пробным давлением
100%
Испытание на герметичность
100%
Определение давления разрушения
3 баллона
Определение циклической долговечности
2 баллона
Испытание на воздействие искусственного старения
2 баллона
Испытание на длительное воздействие повышенных температур
2 баллона
Испытание на стойкость к ударам
8 баллонов
Испытание на стойкость к падению
2 баллона
Испытание на стойкость к поверхностным дефектам
2 баллона
Испытание на циклическую долговечность при предельных температурах
1 баллон
Испытание воздействием пламени
2 баллона
Испытание на сквозное пробитие
1 баллон
Испытание на газопроницаемость
2 баллона
Испытание резьбы на скручивание
1 баллон
Испытание крепления горловины на прочность
1 баллон
Испытание крепления кольца горловины на прочность
1 баллон
6.2. Типовые испытания
6.2.1. Типовые испытания следует проводить при внесении изменений в конструкцию выпускаемых баллонов, технологию изготовления баллонов и материалов, влияющих на прочность, параметры и требования, установленные настоящим стандартом, а также при смене предприятия-изготовителя. Для оценки эффективности и целесообразности вносимых изменений проводят типовые испытания в соответствии с таблицей 3.
Таблица 3
Типовые испытания баллонов
Метод испытания
Испытание
Изменения конструкции
номинальная длина, L
номинальный диаметр, D
конструкция лейнера или толщина стенки лейнера
толщина композита или схема намотки
волокно
изменение резьбы горловины
изменение длины
изменение длины > 1,5 L
изменение диаметра на > 2% и < 20%
изменение диаметра на > 20% и < 50%
Композитный материал
+
ИС МЕГАНОРМ: примечание.
В официальном тексте документа, видимо, допущена опечатка: пункт 7.1.3 отсутствует.
7.1.3
Материал лейнера
+
Испытание пробным давлением
+
+
+
+
+
+
+
Испытание на герметичность
+
+
+
+
+
+
+
Определение давления разрушения
+
+
+
+
+
+
+
Определение циклической долговечности
+
+
+
+
+
+
+
Испытание на воздействие искусственного старения
+
+
+
Испытание на длительное воздействие повышенных температур
+
+
Испытание на стойкость к ударам
+
+
+
+
+
Испытание на стойкость к падению
+
+
+
+
+
Испытание на стойкость к поверхностным дефектам
+
+
Испытание на циклическую долговечность при предельных температурах
+
Испытание воздействием пламени
+
Испытание на сквозное пробитие
+
+
+
Испытание на газопроницаемость
+
+
Испытание резьбы на скручивание
+
Испытание крепления горловины на прочность
+
+
+
+
Примечание. Знак "+" означает, что испытание проводят.
6.2.2. Баллон с изменениями в конструкции должен рассматриваться как новая конструкция в следующих случаях:
- баллон или лейнер изготовлен по другому технологическому процессу;
- лейнер изготовлен из другого материала;
- баллон изготовлен с применением нового типа непрерывного волокна;
Примечание. Волокно относят к новому типу, если волокно:
- принадлежит к другому типу, например стеклянное, арамидное (органоровинг) или углеродное волокно;
- изготовлено из другого исходного материала (по данным изготовителя);
- имеет номинальный модуль упругости, отличающийся более чем на 5% от определенного при приемочных испытаниях (по данным изготовителя);
- имеет номинальную прочность, отличающуюся более чем на 5% от определенного при приемочных испытаниях (по данным изготовителя).
- диаметр баллона изменился более чем на 50%;
- при изготовлении композита использовалось связующее, не предусмотренное действующей конструкторской документацией.
6.3. Приемо-сдаточные испытания
6.3.1. Баллоны принимаются партиями. Количество баллонов в партии не должно быть более 200 штук (без учета баллонов для испытаний разрушающими методами).
6.3.2. Приемо-сдаточные испытания партии баллонов включают сплошной контроль каждого баллона, а также приемочный контроль выборки баллонов, отобранной от партии.
6.3.3. Сплошной контроль каждого баллона включает:
- визуальный контроль на наличие дефектов;
- испытания на прочность по 7.2;
- испытания на герметичность по 7.3.
6.3.4. Приемочный контроль включает:
- контроль геометрических размеров;
- проверку маркировки;
- определение массы баллона;
- определение вместимости баллона;
Примечание. Вместимость баллона определяется по разнице масс порожнего и заполненного водой баллона.
- испытание баллона до разрушения по 7.4;
- испытание циклическим давлением по 7.5;
- испытание на герметичность по 7.3 с выдержкой под давлением в течение 10 мин.
Примечание. Испытания проводятся при нормальных климатических условиях испытаний по п. 3.15 ГОСТ 15150.
6.3.5. Для проведения приемочного контроля отбирается по одному баллону от партии для каждого вида контроля.
6.4. Отрицательные результаты контроля и испытаний
В случае получения отрицательных результатов контроля и испытаний по причине неисправности оборудования или ошибки измерения проводят повторные испытания на этом же баллоне. Если результаты повторных испытаний и контроля будут удовлетворительными, первоначальные результаты не учитывают.
В других случаях все выявленные дефектные баллоны должны быть забракованы или направлены на доработку. Отправленные на доработку баллоны должны рассматриваться как новая партия, которая должна быть проверена повторно. Если результаты испытаний и контроля партии после доработки будут неудовлетворительными, все баллоны этой партии должны быть забракованы и уничтожены.
При обнаружении дефектов дополнительных элементов допускается их ремонт.
7. Методы испытаний
7.1. Определение свойств материала неметаллического лейнера
7.1.1. Механические свойства материала неметаллического лейнера при растяжении определяют по ГОСТ 11262. Образцы для испытания вырезают из цилиндрической части лейнеров баллонов, прошедших все технологические операции. При этом ось образца должна быть параллельной образующей лейнера.
7.1.2. Температуру размягчения термопластичных материалов определяют по ГОСТ 21553 на образцах, вырезанных из неметаллических лейнеров, прошедших все технологические операции.
7.2. Испытание пробным давлением
7.2.1. Испытание пробным давлением должно проводиться при нормальных климатических условиях испытаний по п. 3.15 ГОСТ 15150.
7.2.2. В качестве испытательной среды должна использоваться неагрессивная жидкость, например вода с антикоррозионными присадками. Гидравлическое испытание допускается заменять пневматическим при соблюдении соответствующих мер безопасности. При пневматических испытаниях в качестве испытательной среды должен использоваться сжатый воздух, азот или инертный газ.
7.2.3. Давление в баллоне следует увеличивать со скоростью не более 1,0 МПа/с до 3,0 МПа, с превышением не более 3%. Выдержка под пробным давлением должна составлять не менее 1 мин.
7.2.4. Во время выдержки не допускается разрушение баллона, падение давления и утечка испытательной среды из баллона.
При пневматических испытаниях, в случае погружения баллона в емкость с водой, также не допускается отделение пузырьков испытательной среды от поверхности баллона.
7.2.5. После испытания на баллоне не должно наблюдаться видимой пластической деформации, течей, трещин, отпотевания поверхности.
В протокол проведенных испытаний включают следующую информацию:
- давление испытания;
- наличие/отсутствие утечки;
- результаты осмотра баллона.
7.3. Испытание на герметичность
7.3.1. Испытание на герметичность в случае проведения пневматических испытаний пробным давлением не проводится.
7.3.2. Испытание на герметичность должно проводиться при нормальных климатических условиях испытаний по пункту 3.15 ГОСТ 15150.
7.3.3. В качестве испытательной среды должен использоваться сжатый воздух, азот или инертный газ.
7.3.4. Давление в баллоне следует увеличивать со скоростью не более 1,0 МПа/с до 2,0 МПа, с превышением не более 3%. Выдержка под давлением должна составлять не менее 1 мин.
7.3.5. Во время выдержки не допускается разрушение баллона, отделение пузырьков испытательной среды от поверхности баллона, падение давления и утечка испытательной среды из баллона.
7.3.6. В протокол проведенных испытаний включают следующую информацию:
- давление испытания;
- наличие/отсутствие утечки.
Примечание. Приведенные выше дополнительные по отношению к ЕН 14427:2004 требования направлены на обеспечение безопасности оборудования, работающего под избыточным давлением.
7.4. Определение давления разрушения
7.4.1. Испытание проводится при нормальной температуре окружающей среды по пункту 3.15 ГОСТ 15150 и в процессе испытания температура внешней поверхности баллона не должна превышать 50 °C.
7.4.2. В качестве испытательной среды должна использоваться неагрессивная жидкость, например вода с антикоррозионными присадками.
7.4.3. Скорость роста давления не должна превышать 1,0 МПа/с, продолжительность испытания должна составлять не менее 40 с.
7.4.4. Баллон должен находиться под давлением до разрушения, т.е. до образования течи из баллона или его разрыва. Изменение давления в баллоне во время проведения испытания должно фиксироваться.
Максимальное давление, достигнутое в ходе испытания, регистрируется как давление разрушения.
7.4.5. Давление разрушения должно быть больше или равно расчетному давлению разрушения, установленному разработчиком (изготовителем) баллонов, и должно быть не менее 6,75 МПа, при этом при разрушении от баллона не должны отделяться осколки. Отделение отдельных волокон браковочным признаком не является. Безлейнеровые баллоны не должны разрушаться или течь по клеевому соединению.
7.4.6. В протокол проведенных испытаний включают следующую информацию:
- давление разрушения;
- количество частей баллона, образовавшихся при испытаниях;
- описание характера разрушения, т.е. хрупкий излом, вязкий излом и т.д.;
- график изменения давления/времени.
7.5. Определение циклической долговечности
7.5.1. Испытание проводится при нормальной температуре окружающей среды по пункту 3.15 ГОСТ 15150 и в процессе испытания температура внешней поверхности баллона не должна превышать 50 °C. Температура внешней поверхности баллона должна контролироваться не реже двух раз в день.
7.5.2. В качестве испытательной среды должна использоваться неагрессивная жидкость, например вода с антикоррозионными присадками.
7.5.3. Баллон нагружают внутренним давлением от не более 0,3 МПа до не менее 3,0 МПа, с превышением не более 3%, и частотой не более 15 циклов в минуту.
7.5.4. Баллон должен выдерживать без разрушения (утечки) не менее 12 000 циклов.
Фактическое количество циклов до разрушения должно быть зафиксировано. После достижения 12 000 циклов нагружения испытания могут быть прекращены, неразрушившиеся баллоны должны быть приведены в негодность, например, разрушением или сквозным просверливанием стенки баллона.
В протокол проведенных испытаний включают следующую информацию:
- температура наружной поверхности баллона;
- фактическое количество циклов нагружения;
- минимальное и максимальное циклическое давление;
- частота циклического изменения давления;
- испытательная среда (жидкость);
- характер повреждения.
7.6. Испытание на воздействие искусственного старения
7.6.1. Испытаниям подвергаются два баллона с запорной арматурой без внешнего защитного покрытия, если только оно не является неотъемлемой частью баллона.
7.6.2. В качестве испытательной среды должна использоваться неагрессивная жидкость, например вода с антикоррозионными присадками.
7.6.3. Оба баллона должны быть нагружены давлением 2,0 МПа и подвергнуты внешним воздействиям по режиму:
а) воздействие соляного тумана нейтральной кислотности в течение 10 дней по ИСО 9227:2012 [17], допускается по ГОСТ 9.401;
б) воздействие влажной атмосферы, содержащей сернистый газ (SO2) в течение 10 дней по ИСО 3231:1993 [18], допускается по ГОСТ 9.401;
в) воздействие ультрафиолетового излучения и воды в течение 10 дней по ИСО 11507:2007 [19], метод А, допускается по ГОСТ 9.401;
г) циклическое воздействие коррозии в течение 10 дней по ИСО 11997-2:2013 [20], допускается по ГОСТ 9.401.
7.6.4. Внутреннее избыточное давление в баллоне должно быть зафиксировано до и после 40 дней воздействий.
7.6.5. После окончания воздействий избыточное давление из баллонов должно быть снижено до нуля и оба порожних баллона должны быть повторно подвергнуты внешним воздействиям, указанным выше.
7.6.6. После 80-дневного воздействия один из баллонов должен быть испытан по 7.4, а второй - по 7.5.
7.6.7. После проведения испытания по 7.5 баллон должен быть приведен в негодность, например, разрушением или сквозным просверливанием стенки баллона.
7.6.8. В протокол проведенных испытаний включают следующую информацию:
- температуру проведения испытаний, замеренную не реже двух раз в день;
- внутреннее избыточное давление в баллоне;
- длительность воздействий;
- давление разрушения;
- характер разрушения;
- наличие видимой коррозии металлических деталей или изменения неметаллических деталей.
7.7. Испытание на длительное воздействие повышенных температур
7.7.1. Испытание проводится при температуре (70 +/- 5) °C и относительной влажности менее чем 50%.
7.7.2. В качестве испытательной среды должна использоваться неагрессивная жидкость, например вода с антикоррозионными присадками.
7.7.3. Два баллона должны быть нагружены давлением 3,0 МПа, с превышением не более 3%, при температуре испытания и выдержаны при указанных температуре и давлении 2000 ч.
7.7.4. После окончания выдержки оба баллона должны быть испытаны по 7.4.
7.7.5. Давление разрушения должно быть больше или равно расчетному давлению разрушения, установленному разработчиком (изготовителем) баллонов, и должно быть не менее 6,75 МПа, при этом при разрушении от баллона не должны отделяться осколки. Отделение отдельных волокон и образование пыли браковочным признаком не являются. Безлейнеровые баллоны не должны разрушаться или течь по клеевому соединению.
7.7.6. В протокол проведенных испытаний включают следующую информацию:
- фактическая вместимость до и после выдержки;
- фактические величины температуры и влажности, замеренные не реже двух раз в сутки;
- фактическое давление в баллоне, измеренное не реже двух раз в сутки;
- фактическое давление разрушения.
7.8. Испытание на чувствительность к ударам
7.8.1. Испытание проводится при температуре от минус 20 °C до минус 25 °C для баллонов исполнения У и при температуре от минус 30 °C до минус 35 °C для баллонов исполнения ХЛ.
7.8.2. Испытания проводятся на баллонах без внутреннего избыточного давления, и находящихся под давлением 2,0 МПа сжатого воздуха, азота или инертного газа.
7.8.3. Испытание проводят сбросом испытываемого баллона на плоскую плиту и на острую кромку с расчетной высоты. В обоих испытаниях направление приложения силы в месте соприкосновения должно пересекать ось баллона.
7.8.4. Боек и плита должны быть металлическими, иметь твердость, превышающую твердость наружной поверхности баллона, и быть достаточно прочными, чтобы не деформироваться при испытании.
7.8.5. Испытание на удар о плоскую плиту
Испытательная плита должна иметь плоскую поверхность. Длина и ширина плиты должна быть не менее длины и диаметра испытываемого баллона.
Расчетная энергия соударения F, Дж, определяется по формуле
F = 30 · M, (1)
где M - максимальная масса наполненного баллона, кг.
Скорость соударения должна быть от 7 до 8 м/с.
Испытание проводится на двух порожних баллонах, каждый из которых сбрасывается с высоты, обеспечивающей расчетную энергию удара и скорость соударения, горизонтально (поверхности плиты и баллона параллельны). Затем оба баллона, расположенные под углом (45 +/- 5)° между осью баллона и поверхностью плиты, сбрасываются с той же высоты на заплечики днища с горловиной/закладной втулкой (см. рисунок 1).
1 - испытываемый баллон; 2 - точка соударения;
3 - испытательная плита
Рисунок 1. Расположение баллона при испытании
на удар о плоскую плиту
По окончании испытания оба баллона подвергают визуальному осмотру на наличие повреждений.
Если на обоих баллонах выявленные повреждения аналогичны или хуже чем допустимые дефекты, то один из баллонов должен успешно выдержать испытание до разрушения по 7.4.
Если на одном или на обоих баллонах не будет выявлено видимых повреждений, или повреждения будут менее допустимых, или допустимые дефекты не были установлены разработчиком (изготовителем) баллонов, то один баллон должен успешно выдержать испытание до разрушения по 7.4, а другой баллон должен успешно выдержать испытание на циклическую долговечность по 7.5.
При положительных результатах испытание на стойкость к ударам должно быть повторено на других двух (новых) баллонах, находящихся под давлением 2,0 МПа, с превышением не более 3%.
После соударений баллоны не должны иметь течи и успешно выдержать испытания по 7.4 и 7.5.
7.8.6. Испытание на удар об острую кромку
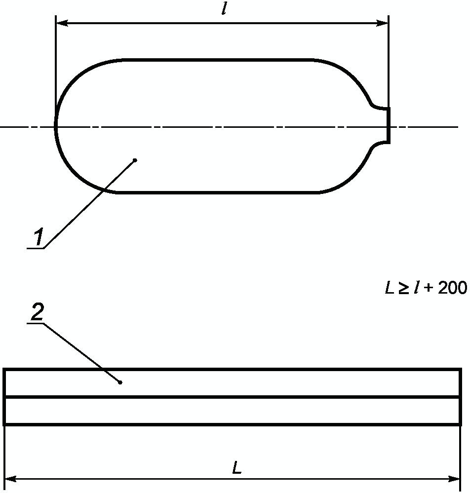
Испытания проводят с использованием бойка, размеры и профиль которого показаны на рисунке 2. Испытательная кромка бойка должна быть скруглена до радиуса (3-0,1) мм. Длина бойка должна быть не менее суммы длины испытуемого баллона плюс 200 мм.
Размеры в мм
Рисунок 2. Поперечный профиль и размеры бойка
Расчетная энергия соударения F, Дж, определяется по формуле
F = 12·M, (2)
где M - максимальная масса наполненного баллона, кг.
Скорость соударения должна быть от 4 до 5 м/с.
Испытание проводится на двух порожних баллонах, каждый из которых сбрасывается с высоты, обеспечивающей расчетную энергию удара и скорость соударения, горизонтально (испытательная поверхность бойка и ось баллона параллельны) (см. рисунок 3).
1 - испытываемый баллон; 2 - боек
Рисунок 3. Испытание на удар об острую кромку
в параллельном направлении
Затем оба баллона поворачивают на (90 +/- 5)° (испытательная поверхность бойка и ось баллона перпендикулярны), проворачивают вокруг своей оси на угол не менее 45° и сбрасывают с той же высоты (см. рисунок 4). Для безлейнеровых баллонов место удара об испытательную поверхность бойка должно приходиться по клеевому соединению.
1 - испытываемый баллон; 2 - боек; 3 - отпечаток испытания
в параллельном направлении; 4 - угол сдвига отпечатка
испытания в параллельном направлении
Рисунок 4. Испытание на удар об острую кромку
в перпендикулярном направлении
По окончании испытания оба баллона подвергают визуальному контролю на наличие повреждений и выявленные повреждения фиксируют в протоколе испытаний.
Затем один баллон должен успешно выдержать испытание до разрушения по 7.4, а другой баллон должен успешно выдержать испытание на циклическую долговечность по 7.5.
При положительных результатах испытание на стойкость к ударам должно быть повторено на двух других (новых) баллонах, находящихся под давлением сжатого воздуха, азота или инертного газа 2,0 МПа, с превышением не более 3%.
После соударений нагруженные баллоны не должны иметь течи и должны успешно выдержать испытания по 7.4 и 7.5.
7.9. Испытание на чувствительность к падению
7.9.1. Испытания проводят на двух баллонах полной комплектности, включая опоры, воротники, любые сменные защитные кожуха и предохранительные колпаки.
7.9.2. Баллоны должны быть наполнены до максимальной эксплуатационной массы неагрессивной жидкостью, например водой с антикоррозионными присадками, и нагружены внутренним давлением 2,0 МПа, с превышением не более 3% сжатым воздухом, азотом или инертным газом.
7.9.3. Испытательная плита должна быть стальной, толщиной не менее 10 мм, неплоскостность плиты не должна превышать 2 мм. Плита должна лежать на ровном бетонном основании, толщиной не менее 100 мм. Плита должна плотно прилегать к бетонному основанию.
7.9.4. Каждый баллон должен быть сброшен с высоты 1,2 м, с превышением не более 5%, на плоскую поверхность плиты из каждого из пяти положений, как показано на рисунке 5, по два раза.
Рисунок 5. Ориентация баллона при испытании
7.9.5. По окончании всех 10 сбросов каждый баллон подвергают визуальному осмотру на наличие повреждений и выявленные повреждения фиксируют в протоколе испытаний.
Если на обоих баллонах выявленные повреждения аналогичны или хуже, чем допустимые дефекты, один из баллонов должен успешно выдержать испытание до разрушения по 7.4.
Если на одном или на обоих баллонах не будет выявлено видимых повреждений, или повреждения будут менее допустимых, или допустимые дефекты не были установлены разработчиком (изготовителем) баллонов, то один баллон должен успешно выдержать испытание до разрушения по 7.4, а другой баллон должен успешно выдержать испытание на циклическую долговечность по 7.5.
7.10. Испытание на чувствительность к поверхностным дефектам
7.10.1. Испытания проводятся на двух баллонах.
7.10.2. На каждый баллон наносятся два надреза, один в продольном, другой в поперечном направлении. Надрезы наносятся в центральной части цилиндрической части баллона. Угол между серединами надрезов относительно оси баллона должен составлять приблизительно 120°.
Надрез, сделанный режущим инструментом толщиной от 0,9 мм до 1,0 мм, должен иметь глубину от 40% до 42% толщины композиционной оболочки и длину по дну надреза, равную пятикратной толщине композиционной оболочки.
7.10.3. После нанесения надрезов один баллон должен быть испытан на прочность до разрушения по 7.4, при этом фактическое давление разрушения должно быть не менее 4,0 МПа; второй баллон должен быть испытан на циклическую долговечность по 7.5 с верхним значением циклически изменяющегося давления 2,0 МПа. Баллон должен выдержать не менее 5000 циклов нагружения, при этом допускается образование течи после достижения 1000 циклов нагружения при условии, что продолжение циклических нагружений до 5000 циклов этот баллон выдержит без разрушения.
7.10.4. После достижения 5 000 циклов нагружения испытания могут быть прекращены и неразрушившиеся баллоны должны быть приведены в негодность, например, разрушением или сквозным просверливанием стенки баллона.
7.10.5. В протокол проведенных испытаний включают следующую информацию:
- давление разрушения;
- число циклов нагружения;
- размер надреза;
- описание характера разрушения;
- параметры, контролируемые и фиксируемые при испытаниях по 7.5.
7.11. Испытание на циклическую долговечность при предельных температурах
7.11.1. Предварительные испытания
Перед проведением испытания баллоны с неметаллическим лейнером должны выдержать предварительные испытания вакуумированием.
Предварительное испытание проводится при нормальной температуре по п. 3.15 ГОСТ 15150.
Баллон подвергают циклическому разрежению в течение 50 циклов изменения давления от атмосферного до абсолютного давления от 0,01 до 0,02 МПа, выдержка под этим давлением должна составлять не менее одной минуты.
После окончания циклов разрежения внутренняя поверхность лейнера должна быть осмотрена на наличие повреждений. Повреждения типа отслоения лейнера от композиционной оболочки, складок лейнера и другие аналогичные повреждения не допускаются.
В протокол проведенных испытаний включают следующую информацию:
- минимальное и максимальное циклическое давление;
- число циклов разрежения;
- результат визуального контроля.
7.11.2. Воздействие циклическим давлением
7.11.2.1. Баллон и содержащаяся в нем испытательная среда (неагрессивная жидкость, например вода с антикоррозионными присадками) должны быть выдержаны 48 ч при атмосферном давлении, температуре от плюс 60 °C до плюс 70 °C и относительной влажности не ниже 95%. Температура испытательной среды вне баллона при проведении испытания должна поддерживаться равной температуре испытания.
7.11.2.2. При указанных выше условиях баллон нагружают давлением от не более 0,2 до 2,0 МПа, с превышением не более 3%, и частотой не более пяти циклов в минуту. Количество циклов - 5000.
7.11.2.3. По завершении заданного числа нагружений давлением баллон разгружают от избыточного давления и охлаждают до выравнивания с температурой окружающей среды (нормальные условия по п. 3.15 ГОСТ 15150).
7.11.2.4. Затем баллон с испытательной средой (например этиловый ректификованный спирт) охлаждают до температуры от минус 50 °C до минус 60 °C (этиловый ректификованный спирт охлаждают двуокисью углерода жидкой). Температура испытательной среды вне баллона при проведении испытания должна поддерживаться равной температуре испытания.
7.11.2.5. При указанных выше условиях баллон нагружают давлением от не более 0,2 до 2,0 МПа, с превышением не более 3%, и частотой не более пяти циклов в минуту. Количество циклов - 5000.
Климатическая камера, в которой находится испытуемый баллон, должна поддерживать заданные условия испытаний регулированием температуры. Температура наружной поверхности баллона должна контролироваться и фиксироваться.
7.11.2.6. По завершении заданного числа нагружений давлением баллон разгружают от избыточного давления и приводят к нормальным условиям по п. 3.15 ГОСТ 15150 до выравнивания с температурой окружающей среды.
7.11.2.7. Баллон с испытательной средой при нормальной температуре по п. 3.15 ГОСТ 15150 нагружают давлением от не более 0,2 до 3,0 МПа, с превышением не более 0,45 МПа, и частотой не более 5 циклов в минуту. Количество циклов - 30.
7.11.2.8. В протокол проведенных испытаний включают следующую информацию:
- максимальная положительная и отрицательная температуры;
- влажность при испытании при повышенной температуре;
- испытательная среда;
- число циклов нагружения, достигших верхнего значения испытательного давления;
- минимальная и максимальная величины испытательного давления;
- частота циклирования;
- результаты визуального осмотра.
7.11.3. Испытание до разрушения
7.11.3.1. Баллоны, прошедшие воздействие циклического давления при пониженной и повышенной температурах, должны быть испытаны до разрушения по 7.4, при этом допускается снижение давления разрушения до 5,0 МПа.
7.11.3.2. В протокол проведенных испытаний включают следующую информацию:
- давление разрушения;
- описание характера разрушения.
7.12. Испытание воздействием пламени
7.12.1. Испытания проводят на двух баллонах: один испытывают в горизонтальном положении, второй - в вертикальном.
7.12.2. Баллоны должны быть укомплектованы комбинированной запорно-предохранительной арматурой, состоящей из:
- запорной арматуры (вентиль или клапан);
- предохранительного устройства от повышения давления с давлением срабатывания (2,7 +/-0,1) МПа;
- предохранительного устройства от повышения температуры с температурой срабатывания (110 +/-10) °C.
Арматура должна быть защищена от прямого воздействия пламени при испытании.
7.12.3. Баллоны наполняют пропаном до максимально допустимой массы наполнения.
7.12.4. Источник огня должен иметь размеры, гарантирующие полный охват наружной поверхности баллона и запорно-предохранительной арматуры пламенем в течение минимум 30 мин.
В качестве источника огня может быть использовано любое топливо, которое позволит поддерживать температуру пламени (800 +/- 50) °C. При выборе топлива необходимо учитывать фактор загрязнения воздуха. Не допускается во время испытания любое прерывание горения, что делает результат недействительным.
7.12.5. Температура поверхности баллонов должна контролироваться не менее чем тремя термопарами, расположенными в нижней части баллона на расстоянии не более 0,75 м друг от друга.
Не допускается прямое воздействие пламени на термопары.
7.12.6. Температура термопар и давление в баллоне во время испытания должны записываться не реже чем через 30 с.
7.12.7. Один баллон должен быть установлен в горизонтальном положении, а другой - в вертикальном, арматурой вверх. При этом нижняя часть баллонов должна быть расположена на расстоянии 100 мм над источником огня. Для предотвращения прямого воздействия пламени на предохранительное устройство баллона необходимо использовать металлический экран. Металлический экран не должен соприкасаться с предохранительным устройством.
7.12.8. Сразу же после зажигания пламя должно охватить поверхность баллона по длине на всей протяженности источника огня и захватить весь баллон по диаметру.
7.12.9. Не более чем через 5 минут после зажигания по крайней мере одна термопара должна показывать температуру не менее 590 °C.
Эта температура должна сохраняться в течение всего оставшегося времени испытания.
7.12.10. Испытания продолжаются до сброса избыточного давления газа в баллоне через предохранительное устройство и/или диффузией через стенки баллона. Взрыв баллона не допускается.
7.12.11. После завершения испытания баллоны должны быть приведены в негодность, например, разрушением или сквозным просверливанием стенки баллона.
7.12.12. В протокол проведенных испытаний включают следующую информацию:
- тип и характеристики предохранительных устройств от повышения давления и температуры;
- начальное давление в баллоне;
- длительность испытания;
- способ выхода газа при сбросе давления.
7.13. Испытание на сквозное пробитие
7.13.1. Испытанию подвергают баллон, заполненный воздухом, азотом или инертным газом до давления 2,0 МПа, с превышением не более 0,3 МПа.
7.13.2. Стальной пробойник (бронебойная пуля калибра 7,62 (9 г)) со скоростью 850 м/с, с превышением не более 50 м/с, должен насквозь пробить стенку баллона в цилиндрической части. Выстрел следует произвести под углом приблизительно в 45° относительно центральной оси баллона. Расстояние от точки проведения выстрела до баллона не должно превышать 45 м.
7.13.3. Баллон не должен взорваться, и от него не должны отделиться фрагменты. Допускается отделение небольших фрагментов композиционного материала, каждый весом не более 45 г.
7.13.4. В протокол проведенных испытаний включают следующую информацию:
- характеристики пробойника;
- давление в баллоне;
- описание характера разрушения;
- приблизительные размеры и расположение пробитого отверстия.
7.14. Испытание на газопроницаемость
7.14.1. Перед проведением испытания баллон должен быть подвергнут предварительным гидравлическим циклическим испытаниям давлением от не более 0,2 до 2,0 МПа, с превышением не более 0,3 МПа, в течение 1000 циклов. После окончания циклического нагружения баллон опорожняют, высушивают от влаги и после демонтажа запорно-предохранительной арматуры взвешивают. Полученная величина фиксируется как масса порожнего баллона.
7.14.2. Баллон нагружают давлением 2,0 МПа, с превышением не более 0,3 МПа. Для нагружения используется газ с проникающей способностью не меньшей, чем у пропана, например воздух или азот. Находящийся под давлением баллон контролируют на герметичность мест соединения баллона и запорно-предохранительной арматуры, неметаллического лейнера и безлейнерового композитного баллона с металлическими элементами (закладной втулкой, кольцом горловины) на наличие утечек, например, методом омыливания. Выявленные утечки должны быть устранены. После стравливания избыточного давления фиксируют массу порожнего баллона.
7.14.3. Баллон заполняют пропаном (номер опасного вещества 1965, смесь C по ДОПОГ [21]) до максимально допустимой массы наполнения, определяют массу заполненного баллона и вычисляют массу находящегося в нем газа. Полученные значения должны быть зафиксированы.
Примечание. Пропан, номер опасного вещества 1965, смесь C по ДОПОГ [21], имеет при 70 °C давление паров, не превышающее 3,1 МПа (31 бар), и при 50 °C имеет плотность не ниже 0,440 кг/л.
7.14.4. Баллон нагревают до 40 °C и выдерживают при этой температуре, периодически определяя массу баллона. После достижения стабилизации скорости уменьшения массы баллон продолжают выдерживать при температуре испытания еще 500 ч. После окончания выдержки баллон опорожняют и определяют массу порожнего баллона.
7.14.5. В протокол проведенных испытаний включают следующую информацию:
- газ, использованный для пневматических испытаний;
- испытательная среда при циклических испытаниях;
- количество циклов нагружения давлением;
- частота циклических нагружений давлением;
- температура и влажность окружающей среды, измеряемые не менее 2-х раз в сутки;
- измеренные массы баллона;
- скорость уменьшения массы;
- время достижения постоянной скорости уменьшения массы.
7.15. Испытание резьбы на скручивание
7.15.1. В горловину/резьбовую закладную втулку баллона устанавливают запорно-предохранительную арматуру (баллонный вентиль) и затягивают ее с крутящим моментом, равным 110% максимально допустимого крутящего момента, указанного изготовителем баллона.
7.15.2. После демонтажа арматуры внутреннюю резьбу горловины/резьбовой втулки контролируют с помощью калибров по ГОСТ 24998.
7.15.3. В протокол проведенных испытаний включают следующую информацию:
- материал вентиля/втулки;
- порядок монтажа арматуры;
- приложенный крутящий момент.
7.16. Испытание крепления горловины на прочность
7.16.1. Испытания проводят на баллоне с установленной запорно-предохранительной арматурой (баллонным вентилем или клапаном).
7.16.2. Испытываемый баллон закрепляется по наружной поверхности цилиндрической части и к арматуре прикладывается крутящий момент, равный 150% максимально допустимого крутящего момента, указанного изготовителем баллона.
7.16.3. В конструкциях баллонов, где для предотвращения вращения резьбовой втулки при приложении крутящего момента во время монтажа/демонтажа запорно-предохранительной арматуры требуется использовать специальные приспособления, их наличие должно быть указано изготовителем в паспорте на баллон.
7.16.4. После приложения нагрузки баллон должен быть испытан по 7.3.
7.16.5. В протокол проведенных испытаний включают следующую информацию:
- материал вентиля/втулки;
- порядок монтажа арматуры;
- приложенный крутящий момент.
7.17. Испытание крепления кольца горловины на прочность
7.17.1. К кольцу горловины баллона прикладывают осевое усилие, равное 10-кратному весу наполненного пропаном до максимально допустимой массы наполнения баллона, но не менее 1000 Н. Сдвиг и/или демонтаж кольца не допускаются.
7.17.2. Затем к кольцу горловины баллона прикладывают крутящий момент не менее 100 Нм. Сдвиг и/или демонтаж кольца не допускаются.
8. Указания по утилизации
8.1. Неметаллические (полимерные) материалы, используемые при изготовлении баллонов, после окончания срока эксплуатации подлежат утилизации обычным для подобных материалов порядком.
8.2. При переработке полимерных материалов под воздействием высокой температуры (более 140 °C) возможно выделение в воздух летучих продуктов термоокислительной деструкции, содержащих органические кислоты, карбонильные соединения, в том числе формальдегид, ацетальдегид, оксид углерода. При превышении в воздухе рабочей зоны предельно допустимой концентрации выделяющихся веществ возможны острые и хронические отравления.
8.3. Твердые отходы, образующиеся при утилизации баллонов и подлежащие переработке, не должны быть токсичными и требовать обезвреживания. Непригодные для переработки отходы подлежат утилизации в соответствии с санитарными правилами и нормами, предусматривающими порядок накопления, транспортирования, обезвреживания и захоронения промышленных отходов.
Приложение ДА
(справочное)
СВЕДЕНИЯ
О СООТВЕТСТВИИ ССЫЛОЧНЫХ МЕЖДУНАРОДНЫХ СТАНДАРТОВ
ССЫЛОЧНЫМ НАЦИОНАЛЬНЫМ СТАНДАРТАМ РОССИЙСКОЙ ФЕДЕРАЦИИ
И ДЕЙСТВУЮЩИМ В ЭТОМ КАЧЕСТВЕ МЕЖГОСУДАРСТВЕННЫМ СТАНДАРТАМ
Таблица ДА.1
Обозначение и наименование соответствующего национального, межгосударственного стандарта
Степень соответствия
Обозначение ссылочного международного стандарта
ИС МЕГАНОРМ: примечание.
Взамен ГОСТ 12021-84 Приказом Росстандарта от 26.01.2018 N 22-ст с 01.10.2018 введен в действие ГОСТ 12021-2017.
ГОСТ 12021-84
NEQ
ИСО 75-1:2004 "Пластмассы. Определение температуры изгиба под нагрузкой. Часть 1. Общий метод испытания"
NEQ
ИСО 75-3:2004 "Пластмассы. Определение температуры прогиба под нагрузкой. Часть 3. Высокопрочные слоистые реактопласты и пластмассы с длинноволокнистым наполнителем"
NEQ
ИСО 527-1:2012 "Пластмассы. Определение механических свойств при растяжении. Часть 1. Общие принципы"
NEQ
ИСО 1628-3:2010 "Пластмассы. Определение вязкости полимеров в разбавленном растворе с применением капиллярных вискозиметров. Часть 3. Полиэтилены и полипропилены"
ГОСТ 25276-82
NEQ
ИСО 2884-1 "Лаки и краски. Определение вязкости с помощью ротационных вискозиметров. Часть 1. Вискозиметр с конусом и пластинкой, работающий при высокой скорости сдвига"
MOD
ИСО 3146:2000 "Пластмассы. Определение поведения при плавлении (температура плавления или интервал плавления) полукристаллических полимеров методами с использованием капиллярной трубки и поляризационного микроскопа"
ГОСТ Р 51802-2001
NEQ
ИСО 3231:1993 "Краски и лаки. Определение стойкости к воздействию влажной атмосферы, содержащей диоксид серы"
MOD
ИСО 9227:2012 "Испытания на коррозию в искусственной атмосфере. Испытания в соляном тумане"
NEQ
ИСО 11507:2007 "Краски и лаки. Воздействие искусственных атмосферных условий на покрытия. Воздействие люминесцентных ламп ультрафиолетового излучения и воды"
NEQ
ИСО 11997-2:2000 "Краски и лаки. Определение стойкости к циклическому воздействию коррозии. Часть 2. Влага и соляной туман/высушивание/увлажнение/УФ-излучение"
NEQ
ИСО 3231:1993 "Краски и лаки. Определение стойкости к воздействию влажной атмосферы, содержащей диоксид серы"
NEQ
ИСО 9227:2012 "Испытания на коррозию в искусственной атмосфере. Испытания в соляном тумане"
Примечание. В настоящей таблице использованы следующие условные обозначения степени соответствия стандартов:
- MOD - модифицированные стандарты;
- NEQ - неэквивалентные стандарты.
Приложение ДБ
(справочное)
ПОЛОЖЕНИЯ
МЕЖДУНАРОДНОГО (РЕГИОНАЛЬНОГО) СТАНДАРТА EN 14427:2004,
КОТОРЫЕ ПРИМЕНЕНЫ В НАСТОЯЩЕМ СТАНДАРТЕ С МОДИФИКАЦИЕЙ
ИХ СОДЕРЖАНИЯ ДЛЯ УЧЕТА ОСОБЕННОСТЕЙ
НАЦИОНАЛЬНОЙ СТАНДАРТИЗАЦИИ
ДБ.1. волокно/пучок (fibre/strand): Часть композитной оболочки, несущая нагрузку, например стеклянные, арамидные или углеродные волокна.
Примечание. Согласно стандарту EN 14427:2004.
ДБ.2. композитная оболочка (composite overwrap): Конструктивный элемент баллона, состоящий из армирующего волокна и связующего материала.
Примечание. Согласно стандарту EN 14427:2004.
ДБ.3. температура окружающей среды при испытаниях (ambient test temperature): Нормированная температура окружающей среды в интервале между 10 °C и 35 °C, при которой проводятся испытания.
Примечание. Согласно стандарту EN 14427:2004.
ДБ.4. лейнер (liner): Металлический или неметаллический сосуд, обеспечивающий герметичность корпуса баллона и способный влиять на его механические свойства.
Примечание. Согласно стандарту EN 14427:2004.
ДБ.5. партия (волокна или компонентов связующего материала): Определенное количество волокна или компонента связующего материала, изготовленное из одних материалов по одной технологии, идентифицированное и сертифицированное производителем.
Примечание. Согласно стандарту EN 14427:2004.
ДБ.6. партия (готовых баллонов с лейнерами) (batch, (of finished cylinders with liners)): Определенное количество (до 200 шт.) готовых баллонов, включая баллоны, предназначенные для контроля разрушающим методом, одинакового номинального диаметра, длины и конструкции и оформленное производителем в установленном порядке.
Примечание. Партия может содержать разные партии лейнеров при условии, что они (лейнеры) являются номинально одинаковыми и прошли одинаковую термообработку, при этом композитные корпуса изготовлены из одинакового волокна и связующего материала.
ДБ.7. партия (готовых баллонов без лейнеров) (batch, (of finished cylinders with no liners)): Определенное количество (до 200 шт.) готовых баллонов, включая баллоны, предназначенные для контроля разрушающим методом, одинакового номинального диаметра, длины и конструкции и оформленное производителем в установленном порядке.
Примечание. Согласно стандарту EN 14427:2004.
ДБ.8. партия (неметаллических лейнеров) (batch, (of non-metallic liners)): Определенное количество лейнеров, одинакового номинального диаметра, толщины, длины и конструкции, изготовленное из одной партии материала по одной технологии.
Примечание. Согласно стандарту EN 14427:2004.
ДБ.9. связующий материал (matrix): полимерный материал, используемый для скрепления волокон при создании композитной оболочки.
Примечание. Согласно стандарту EN 14427:2004.
В данный национальный стандарт также включен ряд дополнительных терминологических статей для терминов, которые использованы в этом стандарте, но не установлены в EN 14427:2004. Эти статьи выделены в тексте рамками из тонких линий.
Приложение ДВ
(справочное)
ТЕКСТ
ПРИЛОЖЕНИЙ A И B ЕВРОПЕЙСКОГО РЕГИОНАЛЬНОГО СТАНДАРТА
EN 14427:2004, НЕ ВКЛЮЧЕННЫХ В НАСТОЯЩИЙ СТАНДАРТ
В СВЯЗИ С НЕЦЕЛЕСООБРАЗНОСТЬЮ ИХ ПРИМЕНЕНИЯ
В НАЦИОНАЛЬНОЙ СТАНДАРТИЗАЦИИ
A.4. Производственные испытания
A.4.1. Общие положения
Эти испытания являются серией испытаний, которые должны проводиться на всей или на части производственной партии, как указано в A.4.2, A.4.3, A.4.4 и A.4.5, для обеспечения соответствия партии спецификации конструкции.
A.4.2. Требования к производственным испытаниям
A.4.2.1. Для целей производственных испытаний изготовитель баллонов должен представить следующую информацию:
a) сертификат испытания прототипа или сертификат испытания варианта конструкции;
b) сертификат на материалы, с указанием анализа материала лейнеров и композитных материалов; сертификаты соответствия с указанием того, что перекрывающие композитные материалы соответствуют спецификациям поставки и отчету об испытаниях материала в соответствии с таблицей A.1;
c) документация на термообработку, в зависимости от ситуации;
ИС МЕГАНОРМ: примечание.
Нумерация пунктов дана в соответствии с официальным текстом документа.
e) сертификаты, распространяющиеся на неразрушающие испытания лейнера, в зависимости от ситуации;
f) серийные номера баллонов;
g) заявление об использованном методе испытания резьбы и его результатах.
A.4.2.2. Во время производственных испытаний должны проводиться следующие проверки и сверки:
a) проверить, что сертификат испытания прототипов или сертификат испытания варианта конструкции получены и что баллоны соответствуют им;
b) проверить правильность информации, представленной изготовителем, на которую дается ссылка в A.4.2.1;
c) проверить, что были отобраны нужные лейнеры для испытаний в соответствии с пунктами A.4.3.1 или A.4.3.2, в зависимости от ситуации;
d) проверить, что композитные материалы соответствуют требованиям испытаний в соответствии с A.4.4;
e) проверить, что выполнены требования, изложенные в пункте 4 и проведено инспектирование в соответствии с A.4.5.2;
f) проверить, что для испытаний были отобраны нужные баллоны в соответствии с A.4.5.1.
A.4.3. Испытания и инспектирование партии лейнеров
A.4.3.1. Металлический лейнер
Инспектирование и испытания должны проводиться на партии металлических лейнеров в соответствии с таблицей A.2.
Лейнер должен соответствовать конструкторскому чертежу прототипа и спецификациям поставщика. Инспектирование должно включать как неразрушающие испытания, т.е. визуальный осмотр, так и разрушающие испытания, т.е. испытания на растяжение.
A.4.3.2. Неметаллические лейнеры
Инспектирование и испытания должны проводиться на партии неметаллических лейнеров в соответствии с таблицей A.3.
Лейнер должен соответствовать конструкторскому чертежу и спецификациям поставщика. Инспектирование должно включать, по крайней мере, неразрушающее инспектирование - визуальный осмотр, проверку размеров, проверку веса и т.д. и любое приемлемое разрушающее испытание.
Измеряемые параметры не должны быть меньше, чем параметры, соответствующие минимальным конструкторским требованиям. Приемка неметаллических лейнеров также должна зависеть от выполнения следующих требований:
- свойства материала (сырье в гранулах) должно быть в пределах, установленных изготовителем материала;
- параметры процесса во время изготовления лейнера должны быть в пределах, согласованных во время испытаний прототипов;
- свойства материала лейнера должны быть в пределах допусков, которые требует конструкция. Это должно проверяться путем испытания материала из лейнера.
A.4.4. Инспектирование и испытания партии композитных материалов
Инспектирование и испытания должны проводиться на партии композитных материалов, волокне, матрице, смоле, клее, в зависимости от ситуации, как указано в таблице A.1.
Материалы должны соответствовать конструкторскому чертежу и спецификациям поставщика.
A.4.5. Испытания и инспектирование готовых баллонов
A.4.5.1. Испытания
Для баллонов с лейнерами, не несущими нагрузки (неметаллическими или сварными металлическими), или без лейнера должны применяться испытания, соответствующие процессу производства, чтобы продемонстрировать, что у баллонов нет течей.
Испытания должны проводиться на партии готовых баллонов с лейнерами или на партии готовых баллонов без лейнеров, как указано в таблице A.4, следующим образом:
a) гидравлические испытания (испытание N 4, см. 5.2.4) на всех баллонах;
b) гидравлическое испытание на разрыв (испытание N 5, см. 5.2.5) на одном баллоне на партию;
Примечание. Полезно сравнить результаты гидравлического испытания на разрыв (испытание N 5, см. 5.2.5) на испытываемых прототипах баллонов; если результаты гидравлических испытаний на разрыв постоянно меньше 85% минимума испытаний на разрыв, полученных во время испытания прототипов, следует определить причину изменений. Аналогично максимальное давление на разрыв не должно быть больше 150% минимального давления на разрыв, указанного изготовителем.
c) циклические испытания давлением (испытание N 6, см. 5.2.6) - не менее одного баллона на пять партий (т.е. максимум 1000 баллонов, изготовленных последовательно).
A.4.5.2. Инспектирование
Инспектирование должно проводиться на партии готовых баллонов с лейнерами или на партии безлейнерных баллонов:
a) визуальный осмотр в соответствии с 4.4.4 - 100% (см. таблицу A.4, сноска d);
b) проверка размеров - 1 на партию готовых баллонов;
c) проверка веса - 1 на партию готовых баллонов;
d) проверка вместимости по воде - 1 на партию готовых баллонов;
e) соответствие маркировки - 1 на партию готовых баллонов.
Для пунктов b), c), d), и e): если обнаружен один неприемлемый баллон, то 100% баллонов в партии должны быть проверены.
A.4.6. Сертификат приемки партии
Если результаты проверок и испытаний являются удовлетворительными, то выдается производственный сертификат.
Примечание. Типовой сертификат производственных испытаний приведен в приложении B. Если результаты неудовлетворительны, поступать в соответствии с описанием в 5.3.
B.1. Сертификат одобрения типа - композитные баллоны
с металлическими лейнерами
Выдано (кем) ............. (соответствующий орган) ........... на основании
применения EN 14427 Транспортируемые заправляемые композитные баллоны для
LPG - Конструкция и изготовление
Одобрение N ............................. Дата ............................
Описание баллона ......... (семейство баллонов, получившее одобрение типа).
Чертеж изготовителя N: ....................................................
Расчетная долговечность ...................................................
Спец. крутящий момент .....................................................
Уст-во сброса давления ....................................................
Термообработка лейнера ....................................................
Готовый баллон
Лейнер
Композитный материал
Вместимость, л
Материал
Волокно (волокна)
Испыт. давление, бар
Мин. толщина, мм
Прочность волокна на растяжение, МПа
Диаметр, мм
Мин. напряжение пластической текучести, МПа
Модуль волокна, ГПа
Длина, мм
Мин. прочность на растяжение, МПа
Компоненты матрицы
Резьба
Удлинение, %
Прочность на сдвиг, МПа
Давление нагартовки, бар
Мин. давление на разрыв, бар
Толщина, мм
Совместимые газы: .........................................................
Изготовитель или агент ....................................................
(Название и адрес изготовителя или его агента)
Отметка об одобрении типа
Подробности результатов исследования конструкции для одобрения типа
изложены в отчете .........................................................
Всю информацию можно получить у ...........................................
(Название и адрес одобряющего органа)
Дата ............... Место ........................
Подпись
B.2. Сертификат одобрения типа - композитные баллоны
с неметаллическими лейнерами
Выдано (кем) ............. (соответствующий орган) ........... на основании
применения EN 14427 Транспортируемые заправляемые композитные баллоны для
LPG - Конструкция и изготовление
Одобрение N ............................. Дата ............................
Описание баллона ......... (семейство баллонов, получившее одобрение типа).
Чертеж изготовителя N: ....................................................
Расчетная долговечность ...................................................
Спец. крутящий момент .....................................................
Уст-во сброса давления ....................................................
Готовый баллон
Лейнер
Композитный материал
Вместимость, л
Материал
Волокно (волокна)
Испыт. давление, бар
Плотность
Прочность волокна на растяжение, МПа
Диаметр, мм
Точка плавления, °C
Модуль волокна, ГПа
Длина, мм
Температура стеклования, °C
Компоненты матрицы
Резьба
Температура самовоспламенения, °C
Прочность на сдвиг, МПа
Мин. толщина, мм
Толщина, мм
Металлическая втулка
Материал
Мин. давл., МПа
Мин. прочность на растяжение, МПа
Удлинение, %
Совместимые газы: .........................................................
Изготовитель или агент ....................................................
(Название и адрес изготовителя или его агента)
Отметка об одобрении типа
Подробности результатов исследования конструкции для одобрения типа
изложены в отчете .........................................................
Всю информацию можно получить у ...........................................
(Название и адрес одобряющего органа)
Дата ............... Место........................
Подпись
B.3. Сертификат одобрения типа - композитные
баллоны без лейнера
Выдано (кем) ............. (соответствующий орган) ........... на основании
применения EN 14427 Транспортируемые заправляемые композитные баллоны для
LPG - Конструкция и изготовление
Одобрение N ............................. Дата ............................
Описание баллона ......... (семейство баллонов, получившее одобрение типа).
Чертеж изготовителя N: ....................................................
Расчетная долговечность ...................................................
Спец. крутящий момент .....................................................
Уст-во сброса давления ....................................................
Готовый баллон
Клей
Композитный материал
Вместимость, л
Компоненты материала
Волокно (волокна)
Испыт. давление, бар
Вязкость
Прочность волокна на растяжение, МПа
Диаметр, мм
Прочность на сдвиг, МПа
Модуль волокна, ГПа
Длина, мм
Температура стеклования, °C
Компоненты матрицы
Резьба
Температура самовоспламенения, °C
Прочность на сдвиг, МПа
Прочность на растяжение, МПа
Модуль упругости, МПа
Удлинение, %
Мин. толщина, мм
Металлическая резьбовая втулка
Материал
Мин. давление сдвига, МПа
Мин. прочность на растяжение, МПа
Удлинение, %
Совместимые газы ..........................................................
Изготовитель или агент ....................................................
(Название и адрес изготовителя или его агента)
Отметка об одобрении типа
Подробности результатов исследования конструкции для одобрения типа
изложены в отчете .........................................................
Всю информацию можно получить у ...........................................
(Название и адрес одобряющего органа)
Дата ............... Место........................
Подпись
B.4. Сертификат одобрения варианта конструкции - композитные
баллоны с металлическими лейнерами
Выдано (кем) ............. (соответствующий орган) ........... на основании
применения EN 14427 Транспортируемые заправляемые композитные баллоны для
LPG - Конструкция и изготовление
Одобрение N ............................. Дата ............................
Описание баллона ..... (Баллон, получивший одобрение варианта конструкции).
Чертеж изготовителя N: ....................................................
Одобрение оригинального типа N .......... Дата ............................
Описание баллона .............. (Баллон, получивший одобрение конструкции).
Расчетная долговечность ...................................................
Спец. крутящий момент .....................................................
Уст-во сброса давления ....................................................
Подробности термообработки лейнера ........................................
Готовый баллон
Лейнер
Композитный материал
Вместимость, л
Материал
Волокно (волокна)
Испыт. давление, бар
Мин. толщина, мм
Прочность волокна на растяжение, МПа
Диаметр, мм
Мин. напряжение пластической текучести, МПа
Модуль волокна, ГПа
Длина, мм
Мин. прочность на растяжение, МПа
Компоненты матрицы
Резьба
Удлинение, %
Прочность на сдвиг, МПа
Давление нагартовки, бар
Мин. давл. на разрыв, бар
Толщина, мм
Совместимые газы ..........................................................
Изготовитель или агент ....................................................
(Название и адрес изготовителя или его агента)
Отметка об одобрении варианта конструкции
Подробности результатов исследования конструкции для одобрения
конструкции изложены в отчете .............................................
Всю информацию можно получить у ...........................................
(Название и адрес одобряющего органа)
Дата ............... Место........................
Подпись
B.5 Сертификат производственного испытания
Инспектирующий орган ......................................................
Отметка инспектирующего органа ............................................
Сертификат N ......... Баллон изготовлен (кем) ............... Дата .......
Страна ............................... Отметка ............................
Спецификация: EN 14427 ...... Одобрение типа или варианта конструкции N ...
Описание баллонов .........................................................
Вместимость по воде ...... Испыт. давление ..... Срок эксп. конструкции ...
Дополнительные требования к конструкции ...................................
Количество ....... N детали изготовителя .......... Серийный N .... до ....
Дата гидравлических испытаний .............................................
Заказчик .............. Имя и адрес .......................................
Производственная партия N .................................................
Каждый баллон был изготовлен в соответствии с требованиями стандарта
EN 14427 и конструкцией, которая определена в одобрении типа или одобрении
варианта конструкции ......................................................
Все материалы, использованные при изготовлении баллонов, были
идентифицированы по индивидуальным номерам партий, а их свойства были
проверены на соответствие спецификации и требованиям к одобренной
конструкции.
При изготовлении этих баллонов использовались следующие материалы:
Лейнер - Обозначение материала
Поставщик
N партии
Серийный номер баллона
Напряжение пластической текучести, МПа
Прочность на растяжение, МПа
Удлинение, %
Волокно
Поставщик
Тип волокна
N партии
Прочность на растяжение, МПа
Усилие сдвига, МПа
Компоненты связующего
Смола и обозначение
Отвердитель и обозначение
Ускоритель и обозначение
Поставщик
N партии
Поставщик
N партии
Поставщик
N партии
Готовый баллон
N партии:
Серийный номер
Испытательное давление
К-во циклов
Частота циклов
Серийный номер
Мин. давление на разрыв
Факт, давление на разрыв
Режим возн. неисправности
Результаты испытания давлением
N детали изготовителя:
Проект. испыт. давл.
Давление нагартовки
Вес, кг
Нагартовочное расширение, см3
Расширение при испытательном давлении
N партии
N серии
Лейнер
Готов.
Всего
Вместимость, л
Всего
Пост.
Всего, T
Пост., P
Эласт., K
P/T, %
Я, нижеподписавшийся, настоящим заявляю, что я проверил, что требования
таблицы A.1, таблицы A.2, таблицы A.3 и таблицы A.4 EN 14427 были
выполнены.
Особые замечания ..........................................................
Общие замечания ...........................................................
Сертифицировано (дата) .............. Место ...............................
Подпись инспектора
От имени ........................... (инспектирующий орган)
Приложение ДГ
(справочное)
СОПОСТАВЛЕНИЕ
СТРУКТУРЫ НАСТОЯЩЕГО СТАНДАРТА СО СТРУКТУРОЙ ПРИМЕНЕННОГО
ЕВРОПЕЙСКОГО РЕГИОНАЛЬНОГО СТАНДАРТА ЕН 14427:2004
Таблица ДГ.1
Структура настоящего стандарта
Структура европейского регионального стандарта
Раздел 4
Разделы
Пункты
Подпункты
Подразделы
Пункты
Подпункты
-
-
4.1
4.1.1
-
-
-
-
4.1.2
-
-
-
-
4.1.3
-
-
-
-
-
4.2
4.2.1
4.2.1.1
-
-
-
-
4.2.1.2
-
-
-
4.2.2
4.2.2.1
-
-
-
4.2.2.2
-
-
-
4.2.3
-
-
-
-
4.3
4.3.1
-
-
-
-
4.3.2
-
-
-
-
4.3.3
-
-
ИС МЕГАНОРМ: примечание.
В официальном тексте документа, видимо, допущена опечатка: пункты 4.13 и 4.14 отсутствуют.
-
6.1.5, 4.13, 4.14
-
4.4
4.4.1
-
-
-
-
4.4.2
-
-
-
-
-
4.4.3
-
-
-
-
-
4.4.4
-
-
-
-
4.4.5
-
-
-
-
4.4.6
-
-
-
-
-
Раздел 5
-
-
-
5.1
-
-
-
-
-
5.2
5.2.1
5.2.1.1
5.2.1.1.1
-
-
5.2.1.1.2
-
-
5.2.1.2
5.2.1.2.1
-
-
5.2.1.2.2
-
-
-
5.2.2
5.2.2.1
5.2.2.1.1
-
-
5.2.2.1.2
-
-
5.2.2.2
-
ИС МЕГАНОРМ: примечание.
В официальном тексте документа, видимо, допущена опечатка: пункты 7.2.6 и 7.5.5 отсутствуют.
-
-
-
5.2
5.2.3
5.2.3.1
-
-
-
-
5.2.3.2
-
-
-
-
5.2.3.3
-
-
-
5.2.4
5.2.4.1
-
-
-
5.2.4.2
-
-
-
5.2.4.3
-
-
7.2.6
-
5.2.4.4
-
-
-
5.2.5
5.2.5.1
-
-
-
5.2.5.2
-
-
-
5.2.5.3
-
-
-
5.2.6
5.2.6.1
-
-
-
5.2.6.2
-
-
7.5.5
-
5.2.6.3
-
-
-
5.2.7
5.2.7.1
-
-
-
5.2.7.2
-
-
-
5.2.7.3
-
-
-
5.2.8
5.2.8.1
-
-
-
5.2.8.2
-
-
-
5.2.8.3
-
-
-
5.2.9
5.2.9.1
-
-
-
5.2.9.2
5.2.9.2.1
-
-
5.2.9.2.2
-
-
5.2.9.3
5.2.9.3.1
-
-
5.2.9.3.2
-
-
5.2.10
5.2.10.1
-
-
-
5.2.10.2
-
-
-
5.2.11
5.2.11.1
-
-
-
5.2.11.2
-
-
-
5.2.11.3
-
-
-
5.2
5.2.12
5.2.12.1
5.2.12.1.1
-
-
5.2.12.1.2
-
-
5.2.12.1.3
-
-
5.2.12.2
5.2.12.2.1
-
-
5.2.12.2.2
-
-
5.2.12.3
5.2.12.3.1
-
5.2.12.3.2
-
-
5.2.12.3.3
-
-
5.2.13
5.2.13.1
-
-
-
5.2.13.2
-
-
-
5.2.13.3
-
-
-
5.2.14
5.2.14.1
-
-
-
5.2.14.2
-
-
-
5.2.14.3
-
-
-
5.2.15
5.2.15.1
-
-
-
5.2.15.2
-
-
-
5.2.15.3
-
-
-
5.2.16
5.2.16.1
-
-
-
5.2.16.2
-
-
-
5.2.17
5.2.17.1
-
-
-
5.2.17.2
-
-
-
5.2.17.3
-
-
-
5.2.18
-
-
-
-
-
5.3
5.3.1
-
-
-
-
-
5.3.2
-
-
Раздел 6
-
-
Раздел 7
-
-
-
Приложение A.1
-
-
-
-
-
-
Приложение A.2
A.2.1
-
-
-
A.2.2
-
-
-
A.2.3
-
-
-
-
-
A.2.4
-
-
-
-
-
Приложение A.3
A.3.1
-
-
-
-
A.3.2
A.3.2.1
-
-
-
A.3.2.2
-
-
-
A.3.2.3
-
-
-
A.3.2.4
-
-
-
-
A.3.3
-
-
-
-
-
A.3.4
-
-
-
-
Приложение C
-
-
-
-
-
-
-
Библиография
[1]
Стандарт Международной организации по стандартизации
ИСО 11114-2:2013
(ISO 11114-2:2013) <*>
Баллоны газовые переносные. Совместимость материалов, из которых изготовлены баллоны и клапаны, с содержимым газом. Часть 2. Неметаллические материалы (Transportable gas cylinders - Compatibility of cylinder and valve materials with gas contents - Part 2: Non-metallic materials)
[2]
Стандарт американского общества по испытанию материалов
ASTM D 2290-12 <*>
Стандартная испытательная методика определения допустимой окружной прочности на растяжение пластмассовой или армированной пластмассовой трубы посредством метода разделенного диска (Standard Test Method for Apparent Hoop Tensile Strength of Plastic or Reinforced Plastic Pipe by Split Disk Method)
[3]
Стандарт американского общества по испытанию материалов
ASTM D 2291-09 <*>
Standard Practice for Fabrication of Ring Test Specimens for Glass-Resin Composites
[4]
Стандарт американского общества по испытанию материалов
ASTM D 2346-00 (2008) <*>
Standard Test Method for Apparent Density of Leather/Note: Approved 2008-00-00, 2004-00-00
[5]
Стандарт американского общества по испытанию материалов
ASTM D 4018-11 <*>
Standard Test Methods for Properties of Continuous Filament Carbon and Graphite Fiber Tows/Note: Approved 2008-00-00, 2004-00-00
[6]
Стандарт американского общества по испытанию материалов
ASTM D 2344-84 <*>
Test Method for Apparent Interlaminar Shear Strength of Parallel Fiber Composites by Short-Beam Method
[7]
Стандарт Международной организации по стандартизации
ИСО 1628-3:2010
(ISO 1628-3:2010) <*>
Пластмассы. Определение вязкости полимеров в разбавленном растворе с применением капиллярных вискозиметров. Часть 3. Полиэтилены и полипропилены (Plastics - Determination of the viscosity of polymers in dilute solution using capillary viscometers - Part 3: Polyethylenes and polypropylenes)
[8]
Стандарт Международной организации по стандартизации
ИСО 3146:2000
(ISO 3146:2000) <*>
Пластмассы. Определение поведения при плавлении (температура плавления или интервал плавления) полукристаллических полимеров методами с использованием капиллярной трубки и поляризационного микроскопа (Plastics - Determination of melting behaviour (melting temperature or melting range) of semi-crystalline polymers by capillary tube and polarizing-microscope methods)
[9]
Стандарт Международной организации по стандартизации
ИСО 15512:2008
(ISO 15512:2008) <*>
Пластмассы. Определение содержания воды (Plastics - Determination of water content)
[10]
Стандарт Международной организации по стандартизации
ИСО 1183-1:2012
(ISO 1183-1:2012) <*>
Пластмассы. Методы определения плотности непористых пластмасс. Часть 1. Метод погружения, метод жидкостного пикнометра и метод титрования (Plastics - Methods for determining the density of non-cellular plastics - Part 1: Immersion method, liquid pyknometer method and titration method)
[11]
Стандарт Международной организации по стандартизации
ИСО 1133-1:2011
(ISO 1133-1:2011) <*>
Пластмассы. Определение индекса текучести расплава термопластов по массе (MFR) и по объему (MVR).
Часть 1. Стандартный метод (Plastics - Determination of the melt mass-flow rate (MFR) and melt volume-flow rate (MVR) of thermoplastics - Part 1: Standard method)
[12]
Стандарт Международной организации по стандартизации
ИСО 175:2010
(ISO 175:2010) <*>
Пластмассы. Методы определения влияния погружения в жидкие химикаты (Plastics - Methods of test for the determination of the effects of immersion in liquid chemicals)
[13]
Стандарт Международной организации по стандартизации
ИСО 2884-1:1999
(ISO 2884-1:1999) <*>
Лаки и краски. Определение вязкости с помощью ротационных вискозиметров. Часть 1. Вискозиметр с конусом и пластинкой, работающий при высокой скорости сдвига (Paints and varnishes - Determination of viscosity using rotary viscometers - Part 1: Cone-and-plate viscometer operated at a high rate of shear)
[14]
Стандарт Международной организации по стандартизации
ИСО 527-1:2012
(ISO 527-1:2012) <*>
Пластмассы. Определение механических свойств при растяжении. Часть 1. Общие принципы (Plastics - Determination of tensile properties - Part 1: General principles)
[15]
Стандарт Международной организации по стандартизации
ИСО 75-1:2013
(ISO 75-1:2013) <*>
Пластмассы. Определение температуры изгиба под нагрузкой. Часть 1. Общий метод испытания (Plastics - Determination of temperature of deflection under load - Part 1: General test method)
[16]
Стандарт Международной организации по стандартизации
ИСО 75-3:2004
(ISO 75-3:2004) <*>
Пластмассы. Определение температуры прогиба под нагрузкой. Часть 3. Высокопрочные слоистые реактопласты и пластмассы с длинноволокнистым наполнителем (Plastics - Determination of temperature of deflection under load - Part 3: High-strength thermosetting laminates and long-fibre-reinforced plastics)
[17]
Стандарт Международной организации по стандартизации
ИСО 9227:2012
(ISO 9227:2012) <*>
Испытания на коррозию в искусственной атмосфере. Испытания в соляном тумане (Corrosion tests in artificial atmospheres - Salt spray tests)
[18]
Стандарт Международной организации по стандартизации
ИСО 3231:1993
(ISO 3231:1993) <*>
Краски и лаки. Определение стойкости к воздействию влажной атмосферы, содержащей диоксид серы (Paints and varnishes - Determination of resistance to humid atmospheres containing sulfur dioxide)
[19]
Стандарт Международной организации по стандартизации
ИСО 11507:2007
(ISO 11507:2007) <*>
Краски и лаки. Воздействие искусственных атмосферных условий на покрытия. Воздействие люминесцентных ламп ультрафиолетового излучения и воды (Paints and varnishes - Exposure of coatings to artificial weathering - Exposure to fluorescent UV lamps and water)
[20]
Стандарт Международной организации по стандартизации
ИСО 11997-2:2013
(ISO 11997-2:2013) <*>
Краски и лаки. Определение стойкости к циклическому воздействию коррозии. Часть 2. Влага и соляной туман/высушивание/увлажнение/УФ-излучение (Paints and varnishes. Determination of resistance to cyclic corrosion conditions. Part 2. Wet (salt fog)/dry/humidity/UV light
[21]
Европейское соглашение о международной дорожной перевозке опасных грузов от 30 сентября 1957 года (ДОПОГ) с измененной структурой, действующее с 1 января 2011 года. Организация Объединенных Наций, 2011 год (European Agreement concerning the International Carriage of Dangerous Goods by Road)
--------------------------------
<*> Официальный текст стандарта находится во ФГУП "Стандартинформ".