Главная // Актуальные документы // ГОСТ (Государственный стандарт)СПРАВКА
Источник публикации
М.: ИПК Издательство стандартов, 2001
Примечание к документу
С 1 июля 2003 года до вступления в силу технических регламентов акты федеральных органов исполнительной власти в сфере технического регулирования носят рекомендательный характер и подлежат обязательному исполнению только в части, соответствующей целям, указанным в
пункте 1 статьи 46 Федерального закона от 27.12.2002 N 184-ФЗ.
Документ
введен в действие с 1 января 1978 года.
Название документа
"ГОСТ 21553-76*. Межгосударственный стандарт. Пластмассы. Методы определения температуры плавления"
(введен в действие Постановлением Госстандарта СССР от 06.02.1976 N 355)
(ред. от 01.07.1982)
"ГОСТ 21553-76*. Межгосударственный стандарт. Пластмассы. Методы определения температуры плавления"
(введен в действие Постановлением Госстандарта СССР от 06.02.1976 N 355)
(ред. от 01.07.1982)
Постановлением Государственного
комитета стандартов
Совета Министров СССР
от 6 февраля 1976 г. N 355
МЕЖГОСУДАРСТВЕННЫЙ СТАНДАРТ
ПЛАСТМАССЫ
МЕТОДЫ ОПРЕДЕЛЕНИЯ ТЕМПЕРАТУРЫ ПЛАВЛЕНИЯ
Plastics.
Methods for determination of melting temperature
ГОСТ 21553-76*
| | Список изменяющих документов | |
Постановлением Государственного комитета стандартов Совета Министров СССР от 06.02.76 N 355 дата введения установлена
1 января 1978 года
Ограничение срока действия снято Постановлением Госстандарта от 28.09.92 N 1284
Издание (январь 2001 г.) с
Изменением N 1, утвержденным в июле 1982 г. (ИУС 11-82)
Настоящий стандарт распространяется на кристаллизующиеся пластмассы - порошкообразные, пленочные, листовые, гранулированные, формованные и устанавливает три метода определения температуры плавления:
- поляризационно-оптический (ПОА);
- дифференциальный термический (ДТА);
- визуальный (ВА).
Температура плавления - это максимальная температура интервала плавления кристаллической фазы. К кристаллизующимся пластмассам относятся пластмассы, способные частично кристаллизоваться с образованием кристаллической фазы, окруженной некристаллическими областями.
Методы не распространяются:
- ПОА - на пластмассы, содержащие добавки и пигменты;
- ДТА - на пластмассы, подвергающиеся деструкции при плавлении;
- ВА - на пластмассы, не обладающие текучестью.
Выбор метода предусматривается в нормативно-технической документации на материал.
Стандарт соответствует международному стандарту ИСО 3146-74 в части, касающейся метода ПОА, международному стандарту ИСО 1218-75 метод А в части, касающейся метода ВА.
1. ПОЛЯРИЗАЦИОННО-ОПТИЧЕСКИЙ МЕТОД ОПРЕДЕЛЕНИЯ ТЕМПЕРАТУРЫ
ПЛАВЛЕНИЯ (ПОА)
1.1. Сущность метода
1.1.1. Сущность метода заключается в измерении температуры, при которой исчезает двойное лучепреломление от образца пластмассы, нагреваемого с регулируемой скоростью, на предметном столике поляризационного микроскопа.
1.2. Методы отбора проб
1.2.1. Отбор проб должен соответствовать нормативно-технической документации на материал.
1.2.2. Для испытания берут 2 - 10 мг порошка, кусочков пленки или кусочков листов, гранул, блоков толщиной 0,04 - 0,08 мм, отрезанных микротомом или бритвенным лезвием.
1.2.3. Количество навесок для испытания должно быть не менее трех.
1.3. Аппаратура
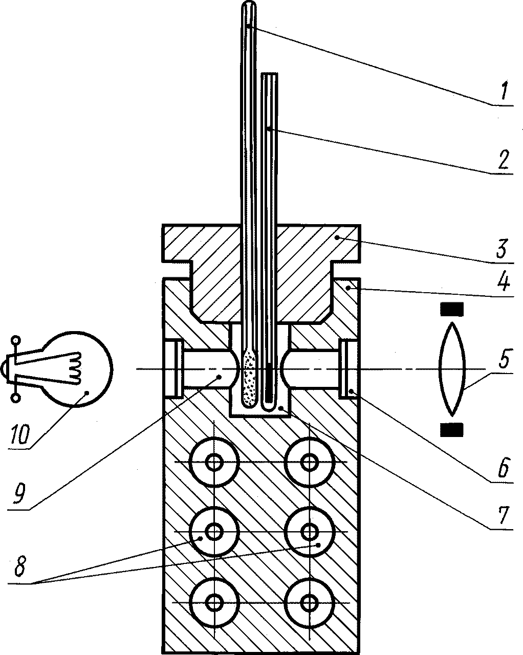
1.3.1. Для определения температуры плавления методом ПОА применяют:
- микроскоп с круговым поляризатором или поляризационный микроскоп от 50 до 100x увеличения;
- столик нагревательный
(черт. 1), представляющий камеру с крышкой, с металлическим блоком для размещения образца и подачи инертного газа, снабженную: электронагревателем с регулятором, обеспечивающим скорость нагрева и охлаждения 1 - 2 °C/мин в линейном или монотонном режиме с погрешностью не более 0,2 °C/мин и термостатирование при любой температуре рабочего диапазона; устройством для подачи в камеру инертного газа с регулируемым расходом; подвижной рамкой для крепления образца с предметными по
ГОСТ 9284-75 и покровными по
ГОСТ 6672-75 стеклами и микрометрическим винтом; тепловым краном; отверстиями для прохода света, термометра, подвода инертного газа (азот по
ГОСТ 9293-74 или аргон по
ГОСТ 10157-79);
- микротом биологический или костный, бритвенное лезвие.
1 - подвижная рамка; 2 - покровное стекло; 3 - предметное
стекло; 4 - тепловой экран; 5 - крышка; 6 - термометр;
7 - отверстие для прохода света; 8 - камера;
9 - металлический блок; 10 - электронагреватель
с регулятором; 11 - микрометрический винт
1.4. Подготовка к испытанию
1.4.1. Навеску для испытаний, отобранную по
п. 1.2.2, помещают на предметное стекло, накрывают покровным стеклом и ставят на нагревательный столик, имеющий температуру выше ожидаемой температуры плавления на 10 - 15 °C.
1.4.2. После расплавления навески нажатием на покровное стекло получают пленку толщиной 0,01 - 0,04 мм и охлаждают столик со скоростью 1 - 2 °C/мин до завершения кристаллизации, что соответствует температуре, вычисленной из соотношения
где Tпл - ожидаемая температура плавления, °C.
1.5. Проведение испытания
1.5.1. Предметное стекло с образцом в виде пленки устанавливают на нагревательном столике так, чтобы луч света проходил через образец.
1.5.2. Источник света регулируют на максимальную интенсивность и фокусируют микроскоп.
1.5.3. Для образцов, подверженных деструкции на воздухе, в камеру подают инертный газ, устанавливая его расход равным расходу при проведении градуировки по
приложению 1.
1.5.4. Поворачивая анализатор, создают темное поле, на фоне которого образец кажется светящимся.
После этого образец нагревают со скоростью 1 - 2 °C/мин.
1.5.5. Фиксируют температуру (Tт) в градусах Цельсия, при которой исчезает двойное лучепреломление от образца, и остается полностью темное поле.
1.5.6. Отключают электронагрев, снимают образец.
1.6. Обработка результатов
1.6.1. Температуру (
Tт), полученную по п. 1.5.5, корректируют по градуировочному уравнению
приложения 1 и принимают за температуру плавления (
Tпл) в градусах Цельсия.
За результат испытания принимают среднеарифметическое значение результатов трех параллельных определений, допускаемые расхождения между которыми не должны превышать 3 °C.
1.6.2. Результаты испытаний записывают в протокол, который должен содержать:
- наименование и марку пластмассы с указанием обозначения стандарта или технических условий;
- количество и вид образцов, взятых для испытания;
- условия проведения испытания;
- результаты единичных измерений, среднеарифметическое значение температуры плавления;
- дату испытания;
- обозначение настоящего стандарта.
2. ДИФФЕРЕНЦИАЛЬНЫЙ ТЕРМИЧЕСКИЙ МЕТОД ОПРЕДЕЛЕНИЯ
ТЕМПЕРАТУРЫ ПЛАВЛЕНИЯ (ДТА)
2.1. Сущность метода
2.1.1. Сущность метода заключается в измерении температуры образца пластмассы, при которой на непрерывно регистрируемой дифференциальной термической кривой (кривой ДТА) появляется эндотермический пик плавления образца, помещенного в ячейку-держатель прибора ДТА, нагреваемого с регулируемой скоростью.
2.2. Методы отбора проб
2.2.1. Отбор проб должен соответствовать нормативно-технической документации на материал.
2.2.2. Для испытания берут 5 - 100 мг порошка, кусочков пленки или кусочков листов, гранул, блоков размерами около 2 x 2 x (0,01 - 0,05) мм, отрезанных микротомом или бритвенным лезвием. Навеска зависит от конструкции прибора ДТА, размера стаканчика и материала.
2.2.3. Количество навесок для испытания должно быть не менее трех.
2.3. Аппаратура
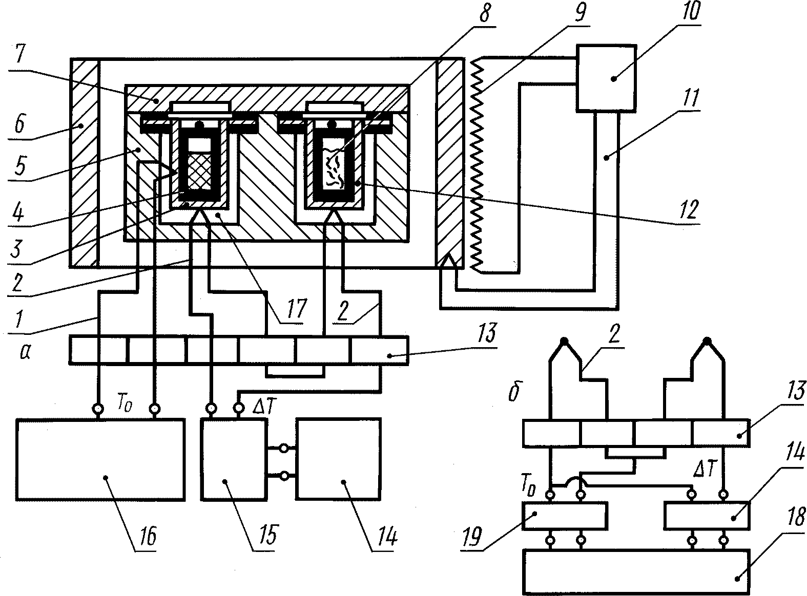
2.3.1. Для определения температуры плавления методом ДТА применяют:
- прибор ДТА
(черт. 2) любой конструкции, представляющий обогреваемый блок, в котором идентично расположены и жестко закреплены ячейки-держатели с встроенными датчиками температуры и со съемными капсулами (стаканчиками) для эталона и образца, включающий: электронагреватель, встроенный в блок (или термокамеру), с регулятором, обеспечивающим скорости нагрева (охлаждения) 1 - 2 °C/мин и 8 - 10 °C/мин в линейном или монотонном режиме с погрешностью не более 0,2 °C/мин и термостатирование при любой температуре рабочего диапазона; систему непрерывной автоматической синхронной регистрации дифференциальной термической кривой

и температуры образца
T, обеспечивающую чувствительность регистрации
T не менее 0,5 °C на 1 мм шкалы регистратора; площадь эндотермического пика плавления не менее 2 см
2 при полуширине пика 0,25 - 0,50 его высоты и регистрацию эндо- и экзотермических эффектов; датчики температуры, жестко закрепленные в ячейках, обладающие в пределах точности градуировки одинаковыми показателями;
| | ИС МЕГАНОРМ: примечание. Текст дан в соответствии с официальным текстом документа. | |
- микротом биологический или костюмный, бритвенное лезвие.
2.3.2. Допускается использование:
- любых приборов, обеспечивающих заданную чувствительность регистрации

и
T, а также регистрацию
T вручную;
- датчиков температуры, погружаемых непосредственно в образец и эталон на глубину не менее половины их высоты;
- термобатареи, отдельных термопар из термоэлектродной проволоки диаметром не более 0,3 мм, а также малоинерционных термометров сопротивления или любых других датчиков температуры, обеспечивающих погрешность измерения не более 0,5 °C.
1 - обогреваемый блок; 2, 9 - ячейки-держатели; 3,
10 - стаканчики для эталона 4 и образца 11; 5, 8 - датчики
температуры; 6 - система непрерывной автоматической
синхронной регистрации дифференциальной термической кривой;
7 - система непрерывной автоматической синхронной
регистрации температуры образца; 12 - электронагреватель
2.4. Подготовка к испытанию
2.4.1. Навеску для испытаний, отобранную по
п. 2.2.2, помещают в предварительно взвешенный стаканчик для образца, плотно утрамбовывают стеклянной палочкой до заполнения 0,5 - 0,6 высоты стаканчика и взвешивают с погрешностью не более 0,5%. При этом масса образцов должна быть одинаковой в пределах точности взвешивания.
2.4.2. В другой стаканчик помещают инертное вещество, являющееся эталоном (порошок или блочный образец двуокиси алюминия), подбирая его массу так, чтобы заполнить стаканчик на 0,5 - 0,6 его высоты. Допускается испытание с пустым стаканчиком для эталона.
2.5. Проведение испытания
2.5.1. Испытание осуществляют по следующим стадиям
(черт. 3):
1) нагрев и плавление;
2) охлаждение и кристаллизация;
3) нагрев и плавление.
Стадии 1 и 2 позволяют подобрать оптимальную чувствительность и скорость регистрации сигнала

(кривая ДТА), стадия 3 - определить температуру плавления.
2.5.2. Стаканчики с образцом и эталоном вставляют в соответствующие ячейки-держатели.
2.5.3. Устанавливают режим нагрева образца 8 - 10 °C/мин, включают систему регистрации

и
T. При появлении на кривой ДТА эндотермического пика А (черт. 3) фиксируют значение температуры, соответствующее его вершине (точка
b на черт. 3), перегревают образец на 10 - 15 °C выше и термостатируют прибор до установления термического равновесия, что фиксируется как момент возвращения кривой ДТА к "нулевой" линии (точка
c на черт. 3).
2.5.4. Устанавливают режим охлаждения 1 - 2 °C/мин, наблюдают экзотермический пик кристаллизации и охлаждают образец до температуры, соответствующей завершению кристаллизации (точка b' на черт. 3).
2.5.5. Термостатируют прибор до установления термического равновесия, что фиксируется как момент возвращения кривой ДТА к "нулевой" линии (точка
c' на
черт. 3).
2.5.6. Окончательно устанавливают чувствительность регистрации сигнала

так, чтобы высота пика при последующем плавлении была в пределах 0,5 - 0,8 шкалы регистратора. Скорость протяжки диаграммной ленты регистратора

подбирают так, чтобы полуширина пика составляла около 0,25 - 0,50 его высоты.
2.5.7. Устанавливают режим нагрева 1 - 2 °C/мин и проводят плавление, перегревая образец выше температуры (
Tп), соответствующей вершине эндотермического пика (точка
b" на
черт. 3) на (5 +/- 1) °C, после чего прибор отключают, охлаждают, извлекают образец.
2.5.8. Пользуясь градуировочной таблицей датчиков температуры находят по кривой ДТА значение температуры (
Tп), соответствующее вершине пика плавления (точка
b" на
черт. 3).
2.6. Обработка результатов
2.6.1. Температуру (
Tп), полученную по
п. 2.5.8, корректируют по градуировочному
уравнению приложения 1 и принимают за температуру плавления (
Tпл), в градусах Цельсия.
За результат испытания принимают среднеарифметическое значение результатов трех параллельных определений, допускаемые расхождения между которыми не должны превышать 3 °C.
2.6.2. Результаты испытания оформляют протоколом по
п. 1.6.2.
3. МЕТОД ВИЗУАЛЬНОГО ОПРЕДЕЛЕНИЯ ТЕМПЕРАТУРЫ ПЛАВЛЕНИЯ (ВА)
3.1. Сущность метода
3.1.1. Сущность метода заключается в измерении температуры, при которой визуально наблюдается момент перехода образца, помещенного в прозрачном капилляре и обогреваемого с регулируемой скоростью, в расплавленное (текучее) состояние.
3.2. Методы отбора проб
3.2.1. Отбор проб должен соответствовать нормативно-технической документации на материал.
3.2.2. Для испытания берут 1 - 10 мг порошка, кусочков пленки или кусочков листов, гранул, блоков, вырезанных микротомом или бритвенным лезвием.
3.2.3. Количество навесок для испытания должно быть не менее трех.
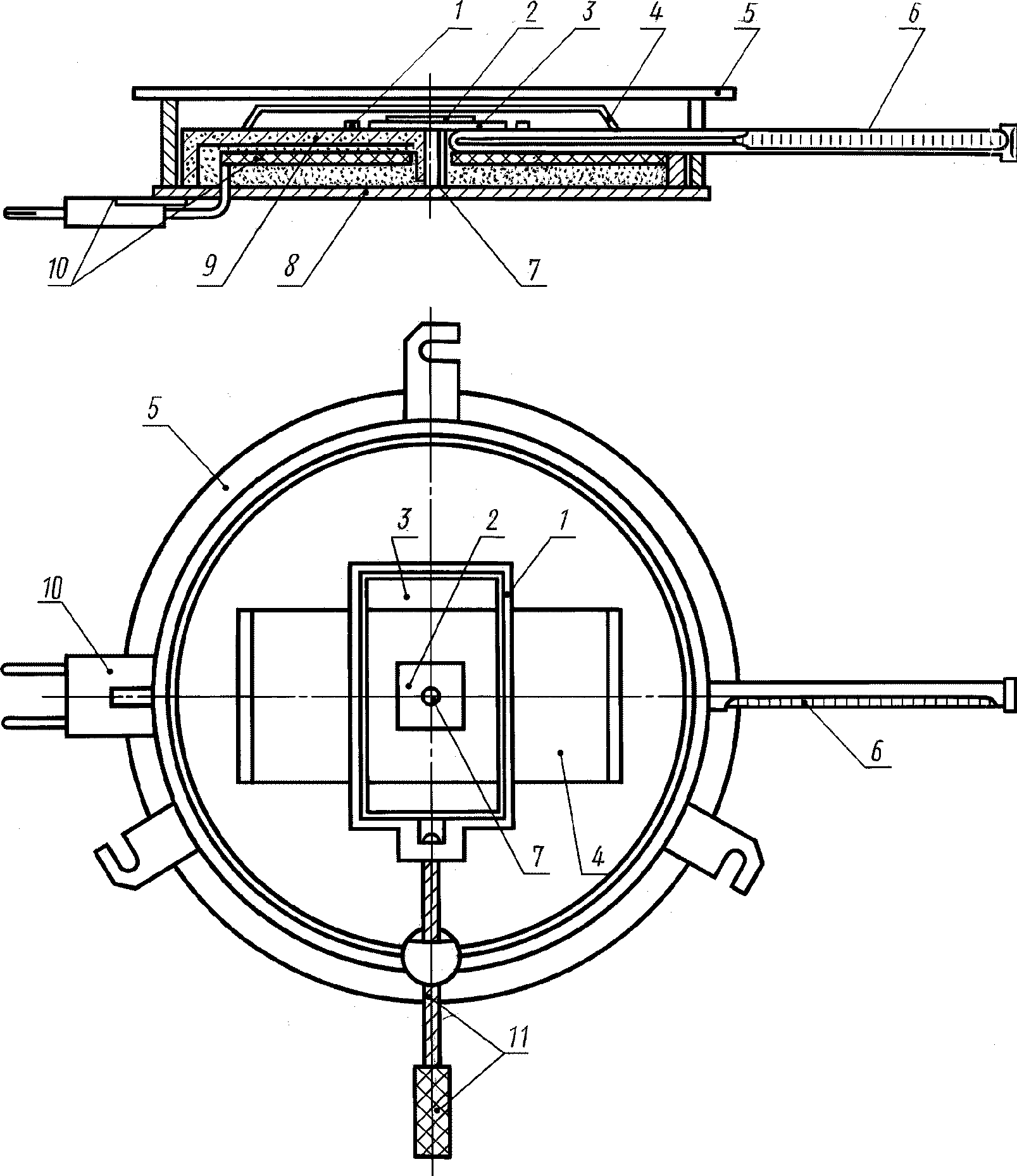
3.3. Аппаратура
3.3.1. Для определения температуры плавления методом ВА применяют:
- прибор
(черт. 4), представляющий металлический блок с крышкой, с внутренней полостью для размещения термометра, с одной (или более) капиллярной трубкой для образца, с четырьмя отверстиями для прохода света и четырьмя окошками из жаростойкого стекла, снабженный: встроенным в блок электронагревателем с регулятором, обеспечивающим скорость нагрева (охлаждения) 1 - 2 °C/мин в линейном или монотонном режиме с погрешностью не более 0,2 °C/мин, термостатирование при любой температуре рабочего диапазона; тремя лампами для освещения полости блока; объективом (увеличительное стекло) с увеличением 5 - 10
x или прибор типа ПТП в том числе с применением жидкого теплоносителя;
- капилляры из жаростойкого стекла, запаянные с одного конца, с максимальным внешним диаметром 2 мм, закрепляемые в крышке;
- микротом биологический или костный, бритвенное лезвие.
(Измененная редакция, Изм. N 1).
1 - термометр; 2 - капиллярная трубка для образца;
3 - крышка; 4 - металлический блок; 5 - объектив
(увеличительное стекло); 6 - окошко из жаростойкого стекла;
7 - внутренняя полость для размещения термометра;
8 - отверстия для прохода света; 9 - лампы;
10 - электронагреватель
3.4. Подготовка к испытанию
3.4.1. Навеску помещают в капилляр и плотно утрамбовывают до получения слоя в 2 - 5 мм. При трудноуплотняющемся материале навеску в капилляре утрамбовывают с помощью другого капилляра меньшего диаметра или стеклянной палочки.
3.4.2. Заполненный материалом капилляр и термометр вставляют в прибор, предварительно нагретый до температуры на 10 - 15 °C выше ожидаемой температуры плавления, и наблюдают за расплавлением образца.
3.4.3. После расплавления образца прибор охлаждают со скоростью 1 - 2 °C/мин до завершения кристаллизации, что соответствует температуре, вычисленной из соотношения
где Tпл - ожидаемая температура плавления, °C.
Допускается проводить испытания без предварительного расплавления образцов, при этом капилляр с навеской и термометр вставляют в прибор, предварительно нагретый на 20 - 25 °C ниже ожидаемой температуры плавления.
(Измененная редакция, Изм. N 1).
3.5. Проведение испытания
3.5.1. Регулируют освещение и фокусируют объектив до установления четкого изображения образца.
3.5.2. Нагревают прибор со скоростью 1 - 2 °C/мин, смотря в объектив и наблюдая за показанием термометра.
3.5.3. Фиксируют температуру (Tв), при которой полностью расплавляется образец.
3.5.4. Отключают электронагрев, вынимают капилляр с образцом.
3.6. Обработка результатов
3.6.1. Температуру (
Tв), полученную по п. 3.5.3, корректируют по градуировочному
уравнению (графику) приложения 1 и принимают за температуру плавления (
Tпл) в градусах Цельсия.
За результат испытания принимают среднеарифметическое значение результатов трех параллельных определений, допускаемые расхождения между которыми не должны превышать 3 °C.
3.6.2. Результаты испытаний оформляют протоколом по
п. 1.6.2.
Обязательное
1. ТЕМПЕРАТУРНАЯ ГРАДУИРОВКА ПРИБОРА
1.1. Для градуировки прибора используют химически чистые вещества с известной температурой плавления, измеренной с погрешностью не более 0,5 °C. Рекомендуемый перечень веществ указан в таблице.
Наименование вещества для градуировки | Используемый метод |
1. | Ментол | ПОА |
2. | Гидроксихинолин | ПОА |
3. | Нафталин | ДТА, ВА |
4. | Ацетанилид | ПОА |
5. | Бензойная кислота | ДТА, ВА |
6. | Индий | ДТА, ВА |
7. | Гидрохинон | ДТА, ВА |
8. | Янтарная кислота | ПОА |
9. | Антрацен | ДТА, ВА |
10. | Олово двухлористое | ДТА, ВА |
11. | Фенолфталеин | ПОА |
12. | Висмут | ВА |
13. | Свинец | ДТА, ВА |
Примечание. Допускается для градуировки использовать другие вещества с известными температурами плавления, измеренными с погрешностью не более 0,5 °C.
Расхождения между температурами плавления веществ, выбранных для градуировки данного прибора в требуемом диапазоне температур, не должны превышать 50 °C.
Градуировку прибора проводят через каждые 100 испытаний.
1.2. Образцы веществ, указанных в
таблице, испытывают методами ПОА, ДТА или ВА. Количество образцов одного вещества должно быть не менее пяти. При этом допускаемые расхождения для параллельных определений не должны превышать 1 °C.
1.3. Температуру (Tт) в методе ПОА или (Tп) в методе ДТА, или (Tв) в методе ВА для всех единичных определений сопоставляют с соответствующей температурой плавления (Tпл) веществ для градуировки по уравнению прямой корреляции
где Tпл - температура плавления градуировочного вещества, °C;
T - температура исчезновения двойного лучепреломления в образце градуировочного вещества (Tт), фиксируемая термометром в методе ПОА, или температура, соответствующая вершине эндотермического пика плавления (Tп) в методе ДТА, или температура Tв, соответствующая расплавлению образца в методе ВА, °C;
a0, b0 - постоянные коэффициенты, имеющие свои значения для каждого вида аппаратуры в методах ПОА или ДТА, ВА.
Значения постоянных a0 и b0 вычисляют по формулам
где n - число определений.
1.4.
Уравнение по п. 1.3 используют для корректировки температуры
Tт в методе ПОА или
Tп в методе ДТА или
Tв в методе ВА, подставляя их на место
T, и вычисляют значение температуры плавления
Tпл испытуемого вещества.
Допускается графическое представление результатов градуировки.
Обязательное
Кривой ДТА называется дифференциальная термическая кривая, образуемая непрерывной регистрацией разности температур

между эталоном, имеющим температуру
Tэ и образцом -
Tо, нагреваемых с одинаковой постоянной скоростью в идентичных условиях в приборе ДТА. Кроме

на кривой обычно регистрируется температура образца
Tо (чертеж).

Эталоном (инертным веществом) называется вещество, не испытывающее при нагреве в рабочем диапазоне температур каких-либо превращений, сопровождающихся выделением (поглощением) тепла. Вне зон фазовых, структурных или химических превращений в образце кривая ДТА имеет вид плавной кривой, называемой базовой линией (см.
чертеж). Поглощение тепла, вызванное плавлением образца, замедляет прирост его температуры
Tо по сравнению с приростом температуры эталона (
Tэ), что на кривой ДТА изображается в виде эндотермического пика
abc (см.
чертеж). При кристаллизации расплава образца температура его возрастает по сравнению с температурой эталона, что на кривой ДТА изображается в виде экзотермического пика Б (
черт. 3 настоящего стандарта).
Процесс плавления образца происходит в интервале температур

, что соответствует точкам
a и
b на кривой ДТА (
черт. 3 настоящего стандарта и
чертеж приложения 2). Линия
bc отражает процесс увеличения до заданного значения скорости нагрева уже расплавленного образца. Точка
a соответствует температуре начала, а точка
b - конца процесса плавления.
Рекомендуемое
1. ТЕПЛОВАЯ ГРАДУИРОВКА ПРИБОРА ДТА
1.1. Градуировка заключается в определении значения эффективного коэффициента теплопередачи (
K) прибора. Величина
K устанавливает связь между величиной площади
S эндотермического пика плавления образца на кривой ДТА (
черт. 3 настоящего стандарта и
чертеж приложения 2) и теплотой плавления образца (
Qпл).
1.2. Для градуировки используют вещества с известной теплотой плавления.
1.3. Образцы веществ, указанных в
таблице приложения 1, испытывают по методу ДТА. Количество образцов, взятых для испытания, должно быть не менее пяти.
1.4. Линейкой ограничивают пик плавления, продолжая базовую линию, как это указано на
чертеже 3 настоящего стандарта и
чертеже приложения 2, пунктиром и с помощью планиметра взвешиванием, графически или другим способом измеряют площадь
S в см
2.
1.5. Значение K в Дж/мВ·мин (кал/мВ·мин) вычисляют для каждого единичного определения по формуле
где Qпл - теплота плавления градуировочного вещества, Дж/г (кал/г);
m - масса образца, г;
S - площадь эндотермического пика плавления, см2;

- нормировочный коэффициент диаграммы регистратора

, мВ·мин/см
2.
1.6. Значения K сопоставляют с соответствующей температурой плавления градуировочных веществ по методу наименьших квадратов и получают уравнение прямой корреляции в виде
вычисляя значения постоянных K0 и b по формулам
где Tпл - температура плавления градуировочного вещества, °C;
K0, b - постоянные, имеющие свои значения для каждой отдельной конструкции прибора для метода ДТА;
n - число измерений.
2. ОПРЕДЕЛЕНИЕ ТЕПЛОТЫ ПЛАВЛЕНИЯ МЕТОДОМ ДТА
2.1. По
п. 1.4 приложения 3 измеряют площадь эндотермического пика плавления, полученного при определении температуры плавления образца.
2.2. Определив по методу ДТА температуру плавления испытуемого образца, находят по градуировочному
уравнению (приложение 3) значение коэффициента
K.
2.3. Теплоту плавления (
Qпл) в Дж/г (кал/г) вычисляют по
формуле п. 1.5.
2.4. За результат испытания принимают среднеарифметическое значение всех параллельных определений, допускаемые расхождения между которыми не должны превышать 20%.
3. ОПРЕДЕЛЕНИЕ ИНТЕРВАЛА ПЛАВЛЕНИЯ И КРИСТАЛЛИЗАЦИИ
МЕТОДОМ ДТА
3.1. На кривых ДТА, полученных в результате испытаний, проводят базовые линии "
kl" и "
ef" (
черт. 3 настоящего стандарта).
3.2. Фиксируют точки
a',
b' и
a", визуально определяя их положения по появлению просвета между кривой

и базовой линией. В случае ручной регистрации температуры образца (
T0) измеряют значение
T0 в этих точках.
3.3. Определяют значения температур

,

,

, соответствующих положению точек
a',
b' и
a" методом ДТА.
3.4. Интервал кристаллизации

и интервал плавления

в градусах Цельсия вычисляют по формулам
3.5. За результат испытания принимают среднеарифметическое значение

и

всех параллельных определений, допускаемые расхождения между которыми не должны превышать 3 °C.
4. ОПРЕДЕЛЕНИЕ ИНТЕРВАЛА ПЛАВЛЕНИЯ МЕТОДОМ ПОА и ВА
4.1. При проведении испытаний по методу ПОА и методу ВА фиксируют значения температуры, при которой наблюдается момент начала потемнения образца в методе ПОА и момент начала оплавления краев образца в методе ВА.
4.2. По методу ПОА и методу ВА определяют значение температуры начала плавления

.
4.3. Интервал плавления

в °C вычисляют по формуле
Рекомендуемое
1. АППАРАТУРА ДЛЯ МЕТОДА ДТА
1.1. Для определения температуры плавления методом ДТА рекомендуется следующая аппаратура.
- термокамеру с нагревателем, датчиком и регулятором, обеспечивающим линейные режимы нагрева со скоростью 8 - 10 °C/мин, 1 - 2 °C/мин и охлаждение со скоростью 1 - 2 °C/мин;
- нагреваемый блок, помещаемый в термокамеру, снабженный съемной крышкой, имеющий гнезда, где помещаются измерительные ячейки, внутри которых располагаются съемные стаканчики для образца и эталона, соответственно по посадке, плотно подогнанные к ячейкам и имеющие одинаковую массу;
- блок "холодных" спаев термопар, термостатируемый при 0 °C или при комнатной температуре;
- термопары, рабочие спаи которых идентично расположены в ячейках, изготовляются из проволоки по
ГОСТ 1790-77.
Допускается монтаж термопар в двух вариантах а и б (чертеж).
1 - термопара для измерения температуры ячейки
с образцом (
T0); 2 - дифференциальная термопара

;
3 - ячейка-держатель образца; 4 - съемный стаканчик
для образца; 5 - нагреваемый блок; 6 - термокамера;
7 - крышка блока; 8 - съемный стаканчик для эталона;
9 - нагреватель; 10 - регулятор; 11 - датчик регулятора;
12 - ячейка-держатель эталона; 13 - блок "холодных" спаев
термопар; 14 - регистратор

; 15 - фотокомпенсационный
усилитель сигнала

; 16 - регистратор
T0; 17 - гнезда;
18 - регистратор
T0,

; 19 - компенсатор сигнала
T0
Система регистрации дифференциальной термической кривой (T) и температуры образца (T0).
Самопишущий одноканальный электронный потенциометр типа КСП-4
(ГОСТ 7164-78) с нулем в середине шкалы от -10 до +10 мВ для регистрации сигнала

дифференциальной термопары в
варианте а.
1.2. Фотокомпенсационный микровольтмикроамперметр Ф 116/1 для усиления сигнала

дифференциальной термопары, применяемый в
вариантах а и
б.
Самопишущий двухкоординатный потенциометр типа ПДС-921 для регистрации по координате
y сигнала

дифференциальной термопары - по координате
X сигнала (
T0) простой термопары 2 в
варианте б.
Низкоомный потенциометр типа Р-306 по
ГОСТ 9245-79 для ручной регистрации сигнала
T0 простой термопары в
варианте а.
Регистрация термической электродвижущей силы термопар обеспечивает следующую чувствительность:
0,5 - 5 мВ на 1 мм шкалы самопишущего потенциометра для сигнала

;
не ниже 20 мВ на 1 мм шкалы самопишущего потенциометра для сигнала T0.
Компенсатор сигнала T0 в варианте б для обеспечения записи температуры образца с заданной чувствительностью по всему диапазону работы прибора ДТА.
В качестве компенсатора может быть использован низкоомный потенциометр типа Р-306
(ГОСТ 9245-79).
Порядок градуировки прибора для ДТА приведен в
приложении 1, описание получаемых с помощью прибора кривых ДТА приведено в
приложении 2.
ПРИЛОЖЕНИЕ 4. (Измененная редакция, Изм. N 1).