Главная // Актуальные документы // ГОСТ (Государственный стандарт)СПРАВКА
Источник публикации
М.: Стандартинформ, 2018
Примечание к документу
Текст данного документа приведен с учетом
поправки, опубликованной в "ИУС", N 5, 2019.
Документ
введен в действие с 01.10.2018.
Взамен ГОСТ 12021-84.
Название документа
"ГОСТ 12021-2017 (ISO 75-2:2013). Межгосударственный стандарт. Пластмассы и эбонит. Метод определения температуры изгиба под нагрузкой"
(введен в действие Приказом Росстандарта от 26.01.2018 N 22-ст)
"ГОСТ 12021-2017 (ISO 75-2:2013). Межгосударственный стандарт. Пластмассы и эбонит. Метод определения температуры изгиба под нагрузкой"
(введен в действие Приказом Росстандарта от 26.01.2018 N 22-ст)
по техническому регулированию
и метрологии
от 26 января 2018 г. N 22-ст
МЕЖГОСУДАРСТВЕННЫЙ СТАНДАРТ
ПЛАСТМАССЫ И ЭБОНИТ
МЕТОД ОПРЕДЕЛЕНИЯ ТЕМПЕРАТУРЫ ИЗГИБА ПОД НАГРУЗКОЙ
Plastics and ebonite. Method for determination
of temperature of deflection under load
(ISO 75-2:2013,
Plastics - Determination of temperature of deflection
under load - Part 2: Plastics and ebonite,
MOD)
ГОСТ 12021-2017
(ISO 75-2:2013)
Дата введения
1 октября 2018 года
Цели, основные принципы и основной порядок проведения работ по межгосударственной стандартизации установлены
ГОСТ 1.0-2015 "Межгосударственная система стандартизации. Основные положения" и
ГОСТ 1.2-2015 "Межгосударственная система стандартизации. Стандарты межгосударственные, правила и рекомендации по межгосударственной стандартизации. Правила разработки, принятия, обновления и отмены"
1 ПОДГОТОВЛЕН Акционерным обществом "Институт пластических масс имени Г.С. Петрова" на основе официального перевода на русский язык англоязычной версии указанного в
пункте 5 международного стандарта, который выполнен ТК 230
2 ВНЕСЕН Федеральным агентством по техническому регулированию и метрологии
3 ПРИНЯТ Межгосударственным советом по стандартизации, метрологии и сертификации (протокол от 30 ноября 2017 г. N 52)
За принятие проголосовали:
Краткое наименование страны по МК (ИСО 3166) 004-97 | Код страны по МК (ИСО 3166) 004-97 | Сокращенное наименование национального органа по стандартизации |
Беларусь | BY | Госстандарт Республики Беларусь |
Казахстан | KZ | Госстандарт Республики Казахстан |
Киргизия | KG | Кыргызстандарт |
Россия | RU | Росстандарт |
Таджикистан | TJ | Таджикстандарт |
Узбекистан | UZ | Узстандарт |
4
Приказом Федерального агентства по техническому регулированию и метрологии от 26 января 2018 г. N 22-ст межгосударственный стандарт ГОСТ 12021-2017 (ISO 75-2:2013) введен в действие в качестве национального стандарта Российской Федерации с 1 октября 2018 г.
5 Настоящий стандарт модифицирован по отношению к международному стандарту ISO 75-2:2013 "Пластмассы. Определение температуры прогиба под нагрузкой. Часть 2. Пластмассы и эбонит" ("Plastics - Determination of temperature of deflection under load - Part 2: Plastics and ebonite", MOD). При этом в него не включены раздел 10 и приложение A примененного международного стандарта, которые нецелесообразно применять, так как они не несут полезной информации, поскольку определяют прецизионность метода, установленного отмененным международным стандартом.
Дополнительные фразы, слова, ссылки, показатели и их значения, включенные в текст настоящего стандарта, выделены курсивом.
Наименование настоящего стандарта изменено относительно наименования указанного международного стандарта для приведения в соответствие с ГОСТ 1.5
(подраздел 3.6).
Ссылки на международные стандарты, которые не приняты в качестве межгосударственных стандартов, заменены в
разделе "Нормативные ссылки" и тексте стандарта ссылками на соответствующие межгосударственные стандарты. Сведения о соответствии ссылочных межгосударственных стандартов международным стандартам, использованным в качестве ссылочных в примененном международном стандарте, приведены в дополнительном
приложении ДА
6 ВЗАМЕН ГОСТ 12021-84
Информация об изменениях к настоящему стандарту публикуется в ежегодном информационном указателе "Национальные стандарты", а текст изменений и поправок - в ежемесячном информационном указателе "Национальные стандарты". В случае пересмотра (замены) или отмены настоящего стандарта соответствующее уведомление будет опубликовано в ежемесячном информационном указателе "Национальные стандарты". Соответствующая информация, уведомление и тексты размещаются также в информационной системе общего пользования - на официальном сайте Федерального агентства по техническому регулированию и метрологии в сети Интернет (www.gost.ru)
Настоящий стандарт распространяется на пластмассы и эбонит и устанавливает три режима определения температуры изгиба под нагрузкой пластмасс (включая наполненные пластмассы и пластмассы, армированные волокнами длиной не более 7,5 мм) и эбонита с использованием различных значений изгибающего напряжения:
- режим A - используют изгибающее напряжение 1,80 МПа;
- режим B - используют изгибающее напряжение 0,45 МПа;
- режим C - используют изгибающее напряжение 8,00 МПа.
Прогиб,

, используемый для определения температуры изгиба под нагрузкой, соответствует увеличению деформации изгиба,

.
Начальную деформацию изгиба вследствие нагружения образца при температуре окружающей среды не устанавливают и не измеряют. Отношение увеличения деформации изгиба к первоначальной деформации изгиба зависит от модуля упругости испытуемого материала при температуре окружающей среды. Поэтому этот метод пригоден только для сравнения пластмасс, имеющих близкие упругие свойства при температуре окружающей среды.
Настоящий стандарт не распространяется на ячеистые материалы и материалы, у которых при напряжении 0,45 МПа температура изгиба под нагрузкой ниже 40 °C.
Примечания
1 Приведенные режимы дают лучшую воспроизводимость для аморфных, чем для полукристаллических пластмасс. Для некоторых материалов может быть необходим отжиг испытуемых образцов для получения надежных результатов. Отжиг, если он применяется, обычно увеличивает температуру изгиба под нагрузкой (см.
6.6).
2 Дополнительная информация - по ГОСТ 34371,
раздел 1.
В настоящем стандарте использованы нормативные ссылки на следующие межгосударственные стандарты:
ГОСТ 12015-66 Пластмассы. Изготовление образцов для испытания из реактопластов. Общие требования
ГОСТ 12019-66 Пластмассы. Изготовление образцов для испытания из термопластов. Общие требования
ГОСТ 12423-2013 (ISO 291:2008) Пластмассы. Условия кондиционирования и испытания образцов (проб)
ГОСТ 26277-84 Пластмассы. Общие требования к изготовлению образцов способом механической обработки
ГОСТ 33693-2015 (ISO 20753:2008) Пластмассы. Образцы для испытания
ГОСТ 34371-2017 (ИСО 75-1:2013) Пластмассы. Определение температуры прогиба под нагрузкой. Часть 1. Общие методы испытаний
Примечание - При пользовании настоящим стандартом целесообразно проверить действие ссылочных стандартов в информационной системе общего пользования - на официальном сайте Федерального агентства по техническому регулированию и метрологии в сети Интернет или по ежегодному информационному указателю "Национальные стандарты", который опубликован по состоянию на 1 января текущего года, и по выпускам ежемесячного информационного указателя "Национальные стандарты" за текущий год. Если ссылочный стандарт заменен (изменен), то при пользовании настоящим стандартом следует руководствоваться заменяющим (измененным) стандартом. Если ссылочный стандарт отменен без замены, то положение, в котором дана ссылка на него, применяется в части, не затрагивающей эту ссылку.
В настоящем стандарте применены термины с соответствующими определениями по
ГОСТ 34371.
Примечание - В зависимости от выбранного значения изгибающего напряжения (см.
раздел 1) температуру изгиба под нагрузкой обозначают как
Tf0,45;
Tf1,8 или
Tf8,0.
Сущность метода заключается в определении температуры, при которой испытуемый образец, расположенный на двух опорах в положении "плашмя", находящийся под действием постоянной нагрузки и нагреваемый с постоянной скоростью, прогибается на заданную величину.
Допускается проводить испытание при нагружении образца длиной 110 - 120 мм в положении "на ребре", когда его ширина находится в вертикальной плоскости.
Примечание - Дополнительная информация - по ГОСТ 34371
(раздел 4).
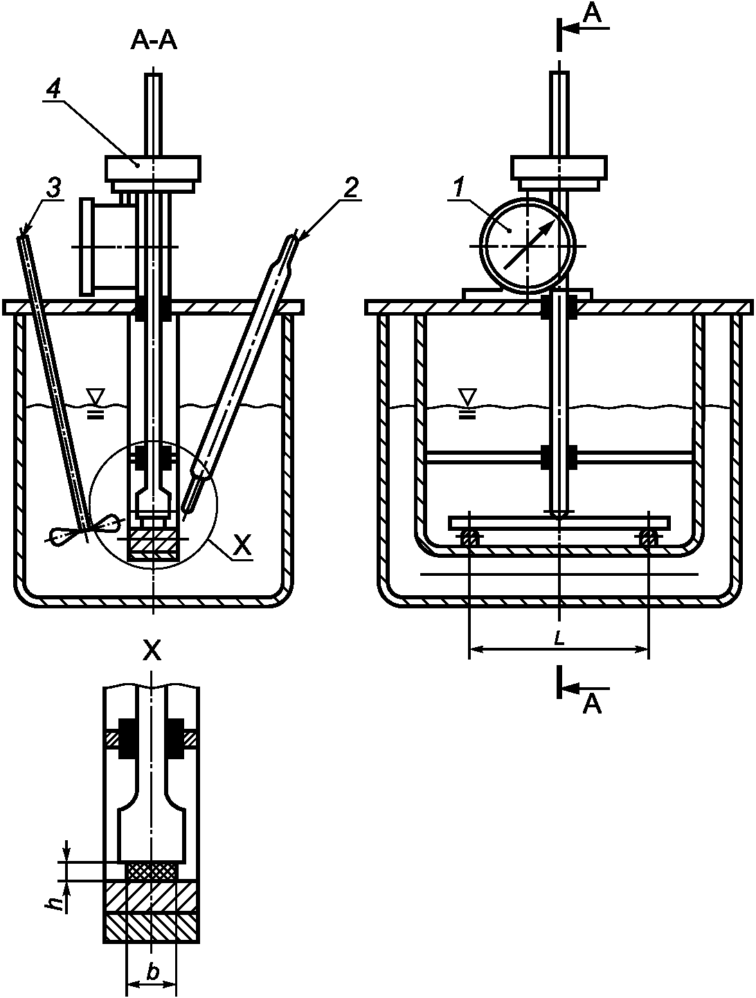
5.1 Устройство для создания изгибающего напряжения
Рекомендуемая схема устройства приведена на
рисунке 1. Устройство состоит из жесткой металлической рамы, в которой в вертикальном направлении свободно перемещается стержень, соединенный с нагружающим наконечником, через который передается нагрузка на образец. На основании рамы имеются опоры для размещения образца; опоры и другие вертикальные части рамы изготавливают из металла, имеющего тот же коэффициент линейного
теплового расширения, что и стержень.
1 - измерительный прибор с круговой шкалой; 2 - термометр;
3 - мешалка; 4 - груз; b - ширина образца для испытаний;
h - толщина образца для испытаний;
L - расстояние между опорами
Рисунок 1 - Схема типового прибора для определения
температуры изгиба под нагрузкой
Опоры для образцов для испытания состоят из металлических частей цилиндрической формы с горизонтально расположенными линиями контакта с образцом. Расстояние между опорами, то есть расстояние между линиями контакта с образцом, должно быть (64 +/- 1) мм.
Допускается использовать расстояние между опорами - (100 +/- 2) мм.
Опоры прикрепляют к основе рамы таким образом, чтобы нагрузка прилагалась к образцу в вертикальном направлении через нагружающий наконечник посередине между опорами с погрешностью +/- 1 мм. Опоры должны быть расположены параллельно нагружающему наконечнику под прямым углом к направлению длины образца, симметрично помещенного на опоры. Радиус закругления опор и нагружающего наконечника, контактирующих с образцом, - (3,0 +/- 0,2) мм, ширина контактной поверхности должны быть больше ширины образца.
Если у вертикальных деталей аппаратуры различные коэффициенты линейного теплового расширения, то разница в изменении длины этих частей вносит ошибку в отсчет прогиба испытуемого образца. В связи с этим следует проводить контрольное испытание с использованием образца из жесткого материала с низким коэффициентом линейного теплового расширения. Контрольное испытание следует проводить в диапазоне используемых температур и определять поправочный коэффициент для каждой температуры. Если поправочный коэффициент равен 0,01 мм или более, следует указать его алгебраический знак и учитывать его при каждом испытании, прибавляя его алгебраически к полученному значению прогиба испытуемого образца.
Примечания
1 Инвар и боросиликатное стекло можно применять в качестве материалов для испытуемого образца при контрольном испытании.
5.2 Нагревательное устройство
В качестве нагревательного устройства можно использовать термостат с соответствующей жидкостью или печь с принудительной циркуляцией воздуха. В теплопередающую среду, если это не газ (воздух), испытуемый образец погружают на глубину не менее 50 мм. Во время испытания жидкую среду перемешивают. Необходимо, чтобы жидкость, выбранная в качестве теплопередающей, была стабильна в используемом диапазоне температур и не оказывала воздействия на испытуемый материал, например не вызывала набухания или растрескивания.
В случае разногласий следует использовать жидкую теплопередающую среду, если это возможно в используемом диапазоне температур.
Нагревательное устройство должно быть снабжено регулятором, обеспечивающим равномерное повышение температуры со скоростью (120 +/- 10) °C/ч.
Скорость нагрева следует периодически контролировать автоматически или вручную не реже чем через каждые 6 мин.
Скорость нагрева считают удовлетворительной, если в процессе испытания изменение температуры через каждые 6 мин составит (12 +/- 1) °C.
Разность температур теплопередающей среды в нагревательном устройстве между концами и серединой испытуемого образца не должна превышать +/- 1 °C.
Примечания
1 Аппаратура может быть снабжена устройством для автоматической остановки нагревания и подачи сигнала, когда достигается заданная величина прогиба.
2 В качестве теплопередающей среды можно использовать жидкий парафин, трансформаторное масло, глицериновое и силиконовое масла, а также другие масла.
5.3 Грузы
Набор грузов, масса которых подобрана так, чтобы обеспечить требуемое изгибающее напряжение образца, которое вычисляют в соответствии с
8.1.
Примечания
1 Может возникнуть необходимость иметь набор грузов, отличающихся по массе на 1 г.
5.4 Устройства для измерения температуры
Любые соответствующим образом откалиброванные устройства для измерения температуры в требуемом диапазоне температур с ценой деления не более 0,5 °C.
Допускается использовать устройства для измерения температуры с ценой деления не более 1 °C.
Устройства для измерения температуры должны быть откалиброваны на глубину погружения, соответствующую используемой аппаратуре. Датчики температуры должны располагаться в пределах (2,0 +/- 0,5) мм от центра испытуемого образца и не касаться образца.
Калибровка устройств для измерения температуры - в соответствии с инструкцией изготовителя (см.
примечание 2).
Примечания
1 Если нагревательное устройство состоит из нескольких позиций, рекомендуется использовать отдельные устройства для измерения температуры каждой позиции.
2 Стандарт, устанавливающий порядок калибровки приборов для измерения температуры, отсутствует.
5.5 Устройство для измерения прогиба
Микрометр с круговой шкалой или другие средства измерений, позволяющие измерять прогиб испытуемого образца с точностью до 0,01 мм.
В некоторых типах измерительных устройств действие силы пружины микрометра
Fs направлено вверх и поэтому уменьшает направленную вниз нагрузку, которую создает нагружающий наконечник, а в других типах измерительных устройств сила
Fs действует вниз, и ее следует прибавлять к нагрузке, создаваемой нагружающим наконечником. В этих случаях необходимо определить значение и направление силы
Fs, чтобы компенсировать ее (см.
8.1). В некоторых измерительных устройствах с круговой шкалой сила
Fs значительно изменяется в диапазоне измерений, поэтому ее следует измерить в той части диапазона, в которой производят испытание.
5.6 Микрометры и другие средства измерений
Для измерения ширины и толщины образцов используют устройства, обеспечивающие измерение с точностью до 0,01 мм.
Допускается использование устройств, обеспечивающих измерение с точностью до 0,1 мм.
6.1 Общие положения
Не допускается коробление образцов.
Коробление образцов при нагревании, то есть изгиб без нагрузки, может произойти из-за различия в условиях охлаждения отлитых образцов или другой асимметрии в структуре. Коробление можно уменьшить, нагружая противоположную поверхность образца.
6.2 Форма и размеры
Образцы для испытания должны иметь форму прямоугольного бруска (длина l > ширина b > толщина h).
Рекомендуемые размеры образцов для испытания, мм:
- длина, l - (80 +/- 2,0);
- ширина, b - (10 +/- 0,2);
- толщина, h - (4,0 +/- 0,2).
Толщина и ширина каждого испытуемого образца за пределами одной трети центральной части длины не должны превышать среднеарифметическое значение более чем на 2%.
Допускается использовать образцы, размеры которых указаны в таблице 1, или образцы, указанные в нормативном документе или технической документации на материал.
В миллиметрах
Способ изготовления образца | Длина, l | Толщина, h | Ширина, b |
Формование | 110 - 120 | 3,0 - 4,2 | 9,8 - 15,0 |
Механическая обработка | 110 - 120 | 3,0 - 13,0 | 9,8 - 15,0 |
6.3 Проверка образцов
Образцы должны иметь гладкую ровную поверхность, без вздутий, сколов, трещин, раковин и других видимых дефектов.
Если необходимо, образцы проверяют в соответствии с ГОСТ 34371
(подраздел 6.3).
6.4 Число образцов для испытания
Следует испытывать не менее двух образцов. Для компенсации коробления при испытании следует нагружать различные стороны образцов.
Для повторного испытания, если оно необходимо, как указано в
8.3, следует испытывать два образца.
Для контроля качества или по договоренности заинтересованных сторон допускается испытание образца только с одной стороны. В этом случае в протоколе испытаний отмечают сторону, которая была нагружена в процессе испытания.
6.5 Изготовление образцов для испытания
Образцы следует изготавливать в соответствии с ГОСТ 12015,
ГОСТ 12019 и ГОСТ 26277 или в соответствии с
нормативным документом или технической документацией на материал. Результаты, полученные на отформованных образцах, зависят от условий формования. Условия формования должны соответствовать условиям, указанным в
нормативном документе или технической документации на материал или установленным по согласованию заинтересованных сторон.
В случае прессования толщина образцов должна быть перпендикулярна направлению усилия прессования.
Для листовых материалов толщина образца, обычно равная толщине листа, - от 3 до 13 мм. Рекомендуемая толщина - от 4 до 6 мм, при этом не следует срезать лист по толщине.
Образец может быть изготовлен из узкой центральной части многоцелевого образца для испытаний по ГОСТ 33693 (образец типа А1).
Разброс результатов испытания из-за различия в условиях формования можно уменьшить путем отжига образцов перед испытанием. Для разных материалов требуются разные условия отжига, поэтому процедуру отжига следует использовать, только если это указано в нормативном документе или технической документации на материал или согласовано между заинтересованными сторонами.
Если в
нормативном документе или технической документации на материал нет других указаний, образцы следует кондиционировать и испытывать в условиях, приведенных в
ГОСТ 12423.
8.1 Вычисление прилагаемой нагрузки
Выбирают изгибающее напряжение из следующих значений:
- 1,80 МПа (предпочтительное значение) - режим A;
- 0,45 МПа - режим B;
- 8,00 МПа - режим C.
Нагрузку, F, прилагаемую к образцу для испытания рекомендуемых размеров, Н, вычисляют по формуле

, (1)
где

- изгибающее напряжение, МПа;
b - ширина образца для испытания, мм;
h - толщина образца для испытания, мм;
L - расстояние между опорами, мм.
Нагрузку, F, прилагаемую к образцу длиной 110 - 120 мм при испытании в положении "на ребре", Н, вычисляют по формуле

. (2)
Размеры b и h следует измерять с точностью до 0,1 мм, размер L - с точностью до 0,5 мм.
Следует учитывать, что масса
mr стержня, к которому прилагается нагрузка
F, вносит вклад в
общую испытательную нагрузку. Если используют измерительный прибор с пружиной, следует также учитывать величину и направление силы
Fs, создаваемой пружиной, как положительную или отрицательную часть нагрузки
F (см.
5.5).
Массу дополнительных грузов mw, кг, которые помещают на стержень для получения требуемой общей нагрузки F, вычисляют по формулам

, (3)
откуда

, (4)
где F - общая нагрузка, прилагаемая к образцу, Н;
Fs - сила, создаваемая измерительным прибором с пружиной, Н;
mr - масса стержня, к которому прилагается нагрузка, кг.
Значение силы Fs считают положительной величиной, если действие пружины направлено в сторону образца (то есть вниз), и отрицательной величиной, если действие пружины направлено в противоположную сторону (то есть против опускания стержня), или равным нулю, если не применяют приборы с пружиной.
Допускаемое отклонение прилагаемой нагрузки F от расчетной +/- 2,5%.
Примечание - Все формулы, относящиеся к свойствам при изгибе, справедливы только для линейной зависимости "нагрузка/прогиб", поэтому для большинства пластмасс формулы точны только при малых значениях прогиба. Приведенные формулы можно использовать для сравнения.
8.2 Начальная температура нагревательного устройства
Температура нагревательного устройства
(5.2) должна быть не выше 27 °C в начале каждого испытания, если предыдущие испытания не показали, что для данного испытуемого материала не вызывает ошибки применение более высокой начальной температуры.
Допускается начинать испытание при температуре нагревательного устройства от 20 до 30 °C.
Прилагают одно из изгибающих напряжений, указанных в
8.1.
Вычисляют заданную величину прогиба образца для испытания рекомендуемых размеров,

, по формуле (4)
ГОСТ 34371, используя значение увеличения деформации изгиба

, равное 0,2%,
полученные значения приведены в таблице 2.
Таблица 2
Заданная величина прогиба для образцов
различной толщины, длиной 80 мм, шириной 10 мм
Толщина образца h, мм | Заданная величина прогиба, мм |
3,8 | 0,36 |
3,9 | 0,35 |
4,0 | 0,34 |
4,1 | 0,33 |
4,2 | 0,32 |
Значения величины прогиба для образцов различной ширины, длиной 110 - 120 мм и толщиной от 3,0 до 4,2 мм приведены в таблице 3.
Таблица 3
Заданная величина прогиба
для образцов различной ширины, длиной 110 - 120 мм
Ширина образца, b, мм | Заданная величина прогиба,  , мм |
От 9,8 до 9,9 | 0,33 |
От 10,0 до 10,3 | 0,32 |
От 10,4 до 10,6 | 0,31 |
От 10,7 до 10,9 | 0,30 |
От 11,0 до 11,4 | 0,29 |
От 11,5 до 11,9 | 0,28 |
От 12,0 до 120,3 | 0,27 |
От 12,4 до 12,7 | 0,26 |
От 12,8 до 13,2 | 0,25 |
От 13,3 до 13,7 | 0,24 |
От 13,8 до 14,1 | 0,23 |
От 14,2 до 14,6 | 0,22 |
От 14,7 до 15,0 | 0,21 |
Проверяют, а при необходимости устанавливают соответствующую величину расстояния между опорами
(5.1). Измеряют это расстояние с точностью 0,5 мм и регистрируют для использования при вычислениях по
8.1.
Испытуемый образец помещают на опоры так, чтобы продольная ось образца была перпендикулярна опорам.
Допускается помещать образец на опоры так, чтобы его ширина находилась в вертикальной плоскости (положение "на ребре").
Помещают собранную конструкцию
(5.1) в нагревательное устройство
так, чтобы уровень теплопередающей среды был приблизительно на 50 мм выше верхней плоскости образца.
Прилагают нагрузку, вычисленную по
8.1, чтобы создать необходимое изгибающее напряжение в испытуемом образце. Через 5 мин после приложения нагрузки регистрируют показания прибора, измеряющего прогиб
(5.5), или устанавливают его на нуль (см.
примечание 1).
Температуру теплопередающей среды равномерно повышают со скоростью (120 +/- 10) °C/ч, интенсивно ее перемешивая.
Отмечают температуру, при которой прогиб образца достигает заданной величины,
указанной в таблице 2 или таблице 3, или в нормативном документе, или технической документации на пластмассу. Эта температура является температурой прогиба под нагрузкой. Если индивидуальные значения для аморфных пластмасс или эбонита различаются более чем на 2 °C, а для полукристаллических материалов - более чем на 5 °C, то испытание следует повторить.
Допускается, чтобы индивидуальные значения отличались от среднего арифметического не более чем на 2 °C для аморфных пластмасс и эбонита и на 5 °C для кристаллических пластмасс.
При несоблюдении данного требования испытание повторяют.
Если во время испытания на одном из образцов появятся значительные изменения (например, образование трещин, вспучивание), которые могут повлиять на результат, испытание повторяют.
Испытания, проведенные на образцах разных размеров или на образцах, изготовленных при разных условиях, могут дать несопоставимые результаты. Следовательно для получения сопоставимых результатов необходимо, чтобы образцы изготавливались в одинаковых условиях, а условия испытания также были одинаковыми.
За температуру изгиба под нагрузкой, °C, принимают среднеарифметическое значение результатов испытаний всех образцов, округленное до целого числа.
Протокол испытания должен содержать:
а) ссылку на настоящий стандарт;
б) тип и обозначение испытуемого материала;
в) размеры и способ изготовления образцов для испытания;
г) использованную теплопередающую среду;
д) условия кондиционирования или условия отжига образцов, если они проводились;
е) температуру изгиба под нагрузкой, °C
(если индивидуальные результаты двух измерений различаются на величину, превышающую предел, указанный в 8.3, в протоколе следует указывать все индивидуальные результаты);
ж) использованное значение изгибающего напряжения Tf0,45 для режима B, Tf1,80 для режима A, Tf8,00 для режима C;
и) использованное расстояние между опорами;
к) нагружаемую сторону образца, если нагружалась только одна сторона;
л) любые особенности поведения образца, отмеченные в процессе испытания или после удаления образца из аппаратуры;
м) дату испытания.
(справочное)
СВЕДЕНИЯ О СООТВЕТСТВИИ ССЫЛОЧНЫХ МЕЖГОСУДАРСТВЕННЫХ
СТАНДАРТОВ МЕЖДУНАРОДНЫМ СТАНДАРТАМ, ИСПОЛЬЗОВАННЫМ
В КАЧЕСТВЕ ССЫЛОЧНЫХ В ПРИМЕНЕННОМ МЕЖДУНАРОДНОМ СТАНДАРТЕ
Обозначение ссылочного межгосударственного стандарта | Степень соответствия | Обозначение и наименование ссылочного международного стандарта |
ГОСТ 12015-66 | NEQ | ISO 10724-1 "Пластмассы. Литье под давлением испытательных образцов термореактивных порошкообразных формовочных материалов. Часть 1. Общие принципы и литье под давлением испытательных образцов многоцелевого назначения" |
| NEQ | ISO 293:1986 "Пластмассы. Образцы для испытаний из термопластичных материалов, изготовленные методом прямого прессования"; ISO 294-1 "Пластмассы. Литье под давлением образцов для испытаний термопластичных материалов. Часть 1. Общие принципы и литье образцов для испытаний многоцелевого назначения и в виде брусков" |
|
|
ГОСТ 26277-84 | NEQ | ISO 2818 "Пластмассы. Приготовление образцов для испытаний с помощью механической обработки" |
ГОСТ 33693-2015 | MOD | ISO 20753:2008 "Пластмассы. Образцы для испытания" |
(ISO 75-1:2013) | MOD | ISO 75-1:2013 "Пластмассы. Определение температуры изгиба под нагрузкой. Часть 1. Общий метод испытания" |
Примечание - В настоящей таблице использованы следующие условные обозначения степени соответствия стандартов: - MOD - модифицированные стандарты; - NEQ - неэквивалентные стандарты. |
УДК 678.5:536.421.2:006.354 | | MOD |
Ключевые слова: пластмассы, эбонит, высокопрочные термореактивные слоистые пластики, пластмассы, упрочненные длинными волокнами, нагрузка, температура изгиба под нагрузкой, изгибающее напряжение, заданная величина прогиба |