Главная // Актуальные документы // Акт (форма)СПРАВКА
Источник публикации
В данном виде документ опубликован не был.
Первоначальный текст документа опубликован в издании
М., 2019.
Информацию о публикации документов, создающих данную редакцию, см. в справке к этим документам.
Примечание к документу
Документ включен в
Перечень документов в области стандартизации, в результате применения которых на добровольной основе обеспечивается соблюдение требований Федерального
закона от 30 декабря 2009 г. N 384-ФЗ "Технический регламент о безопасности зданий и сооружений" (
Приказ Росстандарта от 02.04.2020 N 687).
Название документа
"СП 129.13330.2019. Свод правил. Наружные сети и сооружения водоснабжения и канализации. Актуализированная редакция СНиП 3.05.04-85*"
(утв. и введен в действие Приказом Минстроя России от 31.12.2019 N 925/пр)
(ред. от 21.12.2023)
"СП 129.13330.2019. Свод правил. Наружные сети и сооружения водоснабжения и канализации. Актуализированная редакция СНиП 3.05.04-85*"
(утв. и введен в действие Приказом Минстроя России от 31.12.2019 N 925/пр)
(ред. от 21.12.2023)
Утвержден и введен в действие
и жилищно-коммунального хозяйства
Российской Федерации
от 31 декабря 2019 г. N 925/пр
СВОД ПРАВИЛ
НАРУЖНЫЕ СЕТИ И СООРУЖЕНИЯ ВОДОСНАБЖЕНИЯ И КАНАЛИЗАЦИИ
АКТУАЛИЗИРОВАННАЯ РЕДАКЦИЯ
СНиП 3.05.04-85*
External water supply and sewage networks and structures
СП 129.13330.2019
| | Список изменяющих документов Минстроя России от 21.12.2023 N 960/пр) | |
Дата введения
1 июля 2020 года
1 ИСПОЛНИТЕЛИ - Акционерное общество "НПО Стеклопластик" совместно с Автономной некоммерческой организацией "Центр нормирования, стандартизации и сертификации композитов" и Общество с ограниченной ответственностью "НВК Системные инновации" при участии Объединения юридических лиц "Союз производителей композитов"
2 ВНЕСЕН Техническим комитетом по стандартизации ТК 465 "Строительство"
3 ПОДГОТОВЛЕН к утверждению Департаментом градостроительной деятельности и архитектуры Министерства строительства и жилищно-коммунального хозяйства Российской Федерации (Минстрой России)
4 УТВЕРЖДЕН
приказом Министерства строительства и жилищно-коммунального хозяйства Российской Федерации от 31 декабря 2019 г. N 925/пр и введен в действие с 1 июля 2020 г.
5 ЗАРЕГИСТРИРОВАН Федеральным агентством по техническому регулированию и метрологии (Росстандарт). Пересмотр
СП 129.13330.2011 "СНиП 3.05.04-85* Наружные сети и сооружения водоснабжения и канализации"
Информация об изменениях к настоящему своду правил, а также тексты изменений и поправок размещаются в информационной системе общего пользования - на официальном сайте Министерства строительства и жилищно-коммунального хозяйства Российской Федерации в сети Интернет
Настоящий свод правил разработан в соответствии с Федеральным
законом от 30 декабря 2009 г. N 384-ФЗ "Технический регламент о безопасности зданий и сооружений".
(в ред.
Изменения N 1, утв. Приказом Минстроя России от 21.12.2023 N 960/пр)
Актуализация выполнена Акционерным обществом "НПО Стеклопластик" совместно с Автономной некоммерческой организацией "Центр нормирования, стандартизации и сертификации композитов" и Обществом с ограниченной ответственностью "НВК Системные инновации" при участии Объединения юридических лиц "Союз производителей композитов" (ответственные исполнители: канд. техн. наук А.Ф. Косолапов, В.А. Антошин, С.Ю. Ветохин, А.В. Гералтовский, д-р техн. наук С.В. Бухаров, А.С. Лебедев).
Изменение N 1 к СП 129.13330.2019 "СНиП 3.05.04-85* Наружные сети и сооружения водоснабжения и канализации" выполнено авторским коллективом федерального государственного бюджетного учреждения "Научно-исследовательский институт строительной физики Российской академии архитектуры и строительных наук" (НИИСФ РААСН) (ответственные исполнители: д-р техн. наук И.Л. Шубин, канд. техн. наук Е.С. Гогина, канд. техн. наук Е.И. Зайцева, канд. техн. наук И.А. Аверкеев, И.П. Сафронова).
(абзац введен
Изменением N 1, утв. Приказом Минстроя России от 21.12.2023 N 960/пр)
(раздел 1 в ред.
Изменения N 1, утв. Приказом Минстроя России от 21.12.2023 N 960/пр)
Настоящий свод правил устанавливает требования к проектированию и строительству, включая реконструкцию и капитальный ремонт, наружных сетей и сооружений централизованных или нецентрализованных систем водоснабжения и водоотведения поселений, муниципальных и городских округов, производственных и сельскохозяйственных объектов.
В настоящем своде правил использованы нормативные ссылки на следующие документы:
ГОСТ 9.602-2016 Единая система защиты от коррозии и старения. Сооружения подземные. Общие требования к защите от коррозии
(ссылка введена
Изменением N 1, утв. Приказом Минстроя России от 21.12.2023 N 960/пр)
ГОСТ 2405-88 Манометры, вакуумметры, мановакуумметры, напоромеры, тягомеры и тягонапоромеры. Общие технические условия
ГОСТ 3634-2019 Люки смотровых колодцев и дождеприемники ливнесточных колодцев. Технические условия
(ссылка введена
Изменением N 1, утв. Приказом Минстроя России от 21.12.2023 N 960/пр)
ГОСТ 6019-83 Счетчики холодной воды крыльчатые. Общие технические условия
ГОСТ 6718-93 (ИСО 2120-72, ИСО 5173-72) Хлор жидкий. Технические условия
ГОСТ 6996-66 (ИСО 4136-89, ИСО 5173-81, ИСО 5177-81) Сварные соединения. Методы определения механических свойств
ГОСТ 7512-82 Контроль неразрушающий. Соединения сварные. Радиографический метод
Сноска исключена с 22.01.2024. -
Изменение N 1, утв. Приказом Минстроя России от 21.12.2023 N 960/пр.
ГОСТ 16037-80 Соединения сварные стальных трубопроводов. Основные типы, конструктивные элементы и размеры
(ссылка введена
Изменением N 1, утв. Приказом Минстроя России от 21.12.2023 N 960/пр)
ГОСТ 23055-78 Контроль неразрушающий. Сварка металлов плавлением. Классификация сварных соединений по результатам радиографического контроля
(ссылка введена
Изменением N 1, утв. Приказом Минстроя России от 21.12.2023 N 960/пр)
(ссылка введена
Изменением N 1, утв. Приказом Минстроя России от 21.12.2023 N 960/пр)
ГОСТ 25263-82 Кальция гипохлорит нейтральный. Технические условия
Сноска исключена с 22.01.2024. -
Изменение N 1, утв. Приказом Минстроя России от 21.12.2023 N 960/пр.
ГОСТ 31445-2012 Трубы стальные и чугунные с защитными покрытиями. Технические требования
(ссылка введена
Изменением N 1, утв. Приказом Минстроя России от 21.12.2023 N 960/пр)
ГОСТ 32413-2013 Трубы и фасонные части из непластифицированного поливинилхлорида для систем наружной канализации. Технические условия
(ссылка введена
Изменением N 1, утв. Приказом Минстроя России от 21.12.2023 N 960/пр)
ГОСТ 32415-2013 Трубы напорные из термопластов и соединительные детали к ним для систем водоснабжения и отопления. Общие технические условия
(ссылка введена
Изменением N 1, утв. Приказом Минстроя России от 21.12.2023 N 960/пр)
ГОСТ 32661-2014 Трубы и детали трубопроводов из реактопластов, армированных волокном. Общие технические условия
(ссылка введена
Изменением N 1, утв. Приказом Минстроя России от 21.12.2023 N 960/пр)
(ссылка введена
Изменением N 1, утв. Приказом Минстроя России от 21.12.2023 N 960/пр)
ГОСТ ISO 2531-2022 Трубы, фитинги, арматура и их соединения из чугуна с шаровидным графитом для водоснабжения. Технические условия
(ссылка введена
Изменением N 1, утв. Приказом Минстроя России от 21.12.2023 N 960/пр)
ГОСТ EN 13705-2015 Сварка термопластов. Оборудование для сварки нагретым газом и экструзионной сварки
(ссылка введена
Изменением N 1, утв. Приказом Минстроя России от 21.12.2023 N 960/пр)
ГОСТ Р 51232-98 Вода питьевая. Общие требования к организации и методам контроля качества
ГОСТ Р 51613-2000 Трубы напорные из непластифицированного поливинилхлорида. Технические условия
(ссылка введена
Изменением N 1, утв. Приказом Минстроя России от 21.12.2023 N 960/пр)
ГОСТ Р 54475-2011 Трубы полимерные со структурированной стенкой и фасонные части к ним для систем наружной канализации. Технические условия
(ссылка введена
Изменением N 1, утв. Приказом Минстроя России от 21.12.2023 N 960/пр)
ГОСТ Р 54559-2011 Трубы и детали трубопроводов из реактопластов, армированных волокном. Термины и определения
(ссылка введена
Изменением N 1, утв. Приказом Минстроя России от 21.12.2023 N 960/пр)
ГОСТ Р 54560-2015 Трубы и детали трубопроводов из реактопластов, армированных стекловолокном, для водоснабжения, водоотведения, дренажа и канализации. Технические условия
ГОСТ Р 54793-2011 Сварка термопластов. Сварка труб, узлов трубопроводов и листов из PVDF (ПВДФ) нагретым инструментом
(ссылка введена
Изменением N 1, утв. Приказом Минстроя России от 21.12.2023 N 960/пр)
ГОСТ Р 55068-2012 Трубы и детали трубопроводов из композитных материалов на основе эпоксидных связующих, армированных стекло- и базальтоволокнами. Технические условия
ГОСТ Р 55276-2012 (ИСО 21307:2011) Трубы и фитинги пластмассовые. Процедуры сварки нагретым инструментом встык полиэтиленовых (ПЭ) труб и фитингов, используемых для строительства газо- и водопроводных распределительных систем
(ссылка введена
Изменением N 1, утв. Приказом Минстроя России от 21.12.2023 N 960/пр)
ГОСТ Р 56155-2014 Сварка термопластов. Экструзионная сварка труб деталей трубопроводов и листов
(ссылка введена
Изменением N 1, утв. Приказом Минстроя России от 21.12.2023 N 960/пр)
ГОСТ Р 56927-2016 Трубы из ориентированного непластифицированного поливинилхлорида для водоснабжения. Технические условия
(ссылка введена
Изменением N 1, утв. Приказом Минстроя России от 21.12.2023 N 960/пр)
ГОСТ Р 58121.3-2018 (ИСО 4437-3:2014) Пластмассовые трубопроводы для транспортирования газообразного топлива. Полиэтилен (ПЭ). Часть 3. Фитинги
(ссылка введена
Изменением N 1, утв. Приказом Минстроя России от 21.12.2023 N 960/пр)
(ссылка введена
Изменением N 1, утв. Приказом Минстроя России от 21.12.2023 N 960/пр)
ГОСТ Р 70729-2023 Трубы и фитинги пластмассовые. Сварка нагретым инструментом враструб. Общие требования
(ссылка введена
Изменением N 1, утв. Приказом Минстроя России от 21.12.2023 N 960/пр)
ГОСТ Р ИСО 12176-1-2021 Трубы и фитинги пластмассовые. Оборудование для сварки полиэтиленовых систем. Часть 1. Сварка нагретым инструментом встык
(ссылка введена
Изменением N 1, утв. Приказом Минстроя России от 21.12.2023 N 960/пр)
ГОСТ Р ИСО 12176-2-2011 Трубы и фитинги пластмассовые. Оборудование для сварки полиэтиленовых систем. Часть 2. Сварка с закладными нагревателями
(ссылка введена
Изменением N 1, утв. Приказом Минстроя России от 21.12.2023 N 960/пр)
СП 14.13330.2018 "СНиП II-7-81* Строительство в сейсмических районах" (с изменениями N 2, N 3)
(ссылка введена
Изменением N 1, утв. Приказом Минстроя России от 21.12.2023 N 960/пр)
СП 28.13330.2017 "СНиП 2.03.11-85 Защита строительных конструкций от коррозии" (с изменениями N 1, N 2)
(в ред.
Изменения N 1, утв. Приказом Минстроя России от 21.12.2023 N 960/пр)
СП 32.13330.2018 "СНиП 2.04.03-85 Канализация. Наружные сети и сооружения" (с изменением N 1)
СП 36.13330.2012 "СНиП 2.05.06-85* Магистральные трубопроводы" (с изменениями N 1, N 2, N 3, N 4)
(в ред.
Изменения N 1, утв. Приказом Минстроя России от 21.12.2023 N 960/пр)
СП 45.13330.2017 "СНиП 3.02.01-87 Земляные сооружения, основания и фундаменты" (с изменениями N 1, N 2, N 3)
(в ред.
Изменения N 1, утв. Приказом Минстроя России от 21.12.2023 N 960/пр)
СП 66.13330.2011 Проектирование и строительство напорных сетей водоснабжения и водоотведения с применением высокопрочных труб из чугуна с шаровидным графитом (с изменениями N 1, N 2)
(ссылка введена
Изменением N 1, утв. Приказом Минстроя России от 21.12.2023 N 960/пр)
СП 68.13330.2017 "СНиП 3.01.04-87 Приемка в эксплуатацию законченных строительством объектов" (с изменением N 1)
СП 70.13330.2012 "СНиП 3.03.01-87 Несущие и ограждающие конструкции" (с изменениями N 1, N 3, N 4)
(в ред.
Изменения N 1, утв. Приказом Минстроя России от 21.12.2023 N 960/пр)
СП 72.13330.2016 "СНиП 3.04.03-85 Защита строительных конструкций и сооружений от коррозии" (с изменением N 1)
(в ред.
Изменения N 1, утв. Приказом Минстроя России от 21.12.2023 N 960/пр)
СП 126.13330.2017 "СНиП 3.01.03-84 Геодезические работы в строительстве" (с изменением N 1)
(в ред.
Изменения N 1, утв. Приказом Минстроя России от 21.12.2023 N 960/пр)
СП 249.1325800.2016 Коммуникации подземные. Проектирование и строительство закрытым и открытым способами (с изменением N 1)
(ссылка введена
Изменением N 1, утв. Приказом Минстроя России от 21.12.2023 N 960/пр)
СП 272.1325800.2016 Системы водоотведения городские и поселковые. Правила обследования (с изменением N 1)
(ссылка введена
Изменением N 1, утв. Приказом Минстроя России от 21.12.2023 N 960/пр)
СП 273.1325800.2016 Водоснабжение и водоотведение. Правила проектирования и производства работ при восстановлении трубопроводов гибкими полимерными рукавами (с изменением N 1)
(ссылка введена
Изменением N 1, утв. Приказом Минстроя России от 21.12.2023 N 960/пр)
СП 341.1325800.2017 Подземные инженерные коммуникации. Прокладка горизонтальным направленным бурением (с изменением N 1)
(ссылка введена
Изменением N 1, утв. Приказом Минстроя России от 21.12.2023 N 960/пр)
СП 399.1325800.2018 Системы водоснабжения и канализации наружные из полимерных материалов. Правила проектирования и монтажа (с изменением N 1)
(ссылка введена
Изменением N 1, утв. Приказом Минстроя России от 21.12.2023 N 960/пр)
СП 503.1325800.2021 Трубопроводы из непластифицированного поливинилхлорида самотечных систем водоотведения. Правила проектирования, строительства и эксплуатации
(ссылка введена
Изменением N 1, утв. Приказом Минстроя России от 21.12.2023 N 960/пр)
Примечание - При пользовании настоящим сводом правил целесообразно проверить действие ссылочных документов в информационной системе общего пользования - на официальном сайте федерального органа исполнительной власти в сфере стандартизации в сети Интернет или по ежегодному информационному указателю "Национальные стандарты", который опубликован по состоянию на 1 января текущего года, и по выпускам ежемесячного информационного указателя "Национальные стандарты" за текущий год. Если заменен ссылочный документ, на который дана недатированная ссылка, то рекомендуется использовать действующую версию этого документа с учетом всех внесенных в данную версию изменений. Если заменен ссылочный документ, на который дана датированная ссылка, то рекомендуется использовать версию этого документа с указанным выше годом утверждения (принятия). Если после утверждения настоящего свода правил в ссылочный документ, на который дана датированная ссылка, внесено изменение, затрагивающее положение, на которое дана ссылка, то это положение рекомендуется применять без учета данного изменения. Если ссылочный документ отменен без замены, то положение, в котором дана ссылка на него, рекомендуется применять в части, не затрагивающей эту ссылку. Сведения о действии сводов правил целесообразно проверить в Федеральном информационном фонде стандартов.
(раздел 3 в ред.
Изменения N 1, утв. Приказом Минстроя России от 21.12.2023 N 960/пр)
3.1 емкостное сооружение: Резервуар или группа связанных между собой резервуаров, предназначенных для хранения воды или очистки сточных вод.
Примечания
1 По расположению емкостные сооружения разделяют на надземные, наземные и подземные.
2 По конструктивным решениям выделяют монолитные цилиндрические, сборно-монолитные цилиндрические и прямоугольные (днище монолитное, стены и покрытие - сборные).
3 По материалам емкостные сооружения подразделяют на полимерные, стеклокомпозитные, бетонные и железобетонные.
3.2 вакуумная канализационная сеть: Канализационная сеть, в которой транспортирование сточных вод осуществляется по трубопроводам под давлением ниже атмосферного.
3.3 вакуумная канализационная насосная станция: Совокупность агрегатов, предназначенных для создания в системе давления ниже атмосферного и сбора сточных вод от абонентов по трубопроводам системы вакуумной канализации в сборный вакуумный резервуар, с последующим их транспортированием в канализационную сеть или на очистные сооружения.
3.4 приемная камера вакуумной канализации: Элемент системы вакуумной канализации, принимающий сточные воды от абонентов, в котором установлены вакуумный клапан, поплавковый регулятор и активатор вакуумного клапана.
Примечание - Приемная камера может быть дополнена байпасной линией для принудительного опорожнения приемной камеры, а также датчиками переполнения и датчиком положения вакуумного клапана.
4.1 При строительстве новых, расширении и реконструкции действующих трубопроводов и сооружений водоснабжения и канализации кроме требований проектов, рабочих проектов (далее - проекты) и настоящего свода правил должны соблюдаться требования
СП 48.13330,
СП 66.13330,
СП 86.13330,
СП 126.13330,
СП 249.1325800,
СП 272.1325800,
СП 273.1325800,
СП 341.1325800,
СП 399.1325800,
СП 503.1325800.
(п. 4.1 в ред.
Изменения N 1, утв. Приказом Минстроя России от 21.12.2023 N 960/пр)
4.2 Законченные строительством трубопроводы и сооружения водоснабжения и канализации следует принимать в эксплуатацию в соответствии с
СП 68.13330.
4.3 Средние нормативные сроки службы сетей водоснабжения и канализации в зависимости от материала, из которого они изготовлены, приведены в таблице 4.1.
Таблица 4.1
Нормативные сроки службы сетей водопровода и канализации
из различных материалов
Основные разделы, группы | Средние нормативные сроки службы, годы |
Канализационные сети (коллекторы и сеть с колодцами и арматурой): |
- керамические | 50 |
- железобетонные, бетонные и чугунные <*> | 40 |
- хризотилцементные | 30 |
- стеклокомпозитные | 50 |
- полимерные, в том числе полиэтиленовые, кроме ПЭ 100, ПЭ100-RC | 50 |
- полиэтиленовые из ПЭ 100, ПЭ100-RC | 100 |
Сети водопровода с колодцами, колонками, гидрантами и прочим оборудованием (включая водоводы): |
- хризотилцементные | 20 |
- стальные | 30 |
| 70 |
- стеклокомпозитные | 50 |
- полимерные, в том числе полиэтиленовые, кроме ПЭ 100, ПЭ100-RC | 50 |
полиэтиленовые из ПЭ 100, ПЭ100-RC | 100 |
<*> Средний нормативный срок службы трубопроводных сетей из ВЧШГ с учетом подтвержденных данных о сроках службы защитных покрытий и уплотнительных колец, а также при соблюдении обязательного выполнения расчетов в соответствии с требованиями раздела 4 СП 66.13330.2011 может составлять 100 лет. |
(п. 4.3 введен
Изменением N 1, утв. Приказом Минстроя России от 21.12.2023 N 960/пр)
Земляные работы и работы по устройству оснований при строительстве трубопроводов и сооружений водоснабжения и канализации должны выполняться в соответствии с требованиями
СП 45.13330.
6.1 Общие требования
6.1.1 При перемещении труб и собранных секций с антикоррозионным покрытием следует применять мягкие клещевые захваты, гибкие полотенца и другие средства, исключающие повреждение этих покрытий. Для перемещения полимерных труб следует использовать плоские стропы на текстильной основе соответствующей грузоподъемности с учетом правил транспортирования, установленных в СП 399.1325800.2018
(приложение Ж).
(п. 6.1.1 в ред.
Изменения N 1, утв. Приказом Минстроя России от 21.12.2023 N 960/пр)
6.1.2 При раскладке труб, предназначенных для хозяйственно-питьевого водоснабжения, не следует допускать попадания в них поверхностных или сточных вод. Трубы и фасонные части, арматура и готовые узлы перед монтажом должны быть осмотрены и очищены изнутри и снаружи от грязи, снега, льда, масел и посторонних предметов.
6.1.3 Монтаж трубопроводов должен производиться в соответствии с проектом производства работ и технологическими картами после проверки соответствия проекту размеров траншеи, крепления стенок, отметок дна, и при надземной прокладке, опорных конструкций. Результаты проверки должны быть отражены в журнале производства работ.
6.1.4 Трубы раструбного типа безнапорных трубопроводов следует укладывать раструбом вверх по уклону, если иное не предусмотрено проектом.
(п. 6.1.4 в ред.
Изменения N 1, утв. Приказом Минстроя России от 21.12.2023 N 960/пр)
6.1.5 Предусмотренную проектом прямолинейность участков безнапорных трубопроводов между смежными колодцами следует контролировать с помощью зеркала просмотром "на свет" до и после засыпки траншеи. При просмотре трубопровода круглого сечения видимый в зеркале круг должен быть правильной формы.
Допустимое значение отклонения от формы круга по горизонтали должно составлять не более 1/4 диаметра трубопровода, но не более 50 мм в каждую сторону. Отклонения от правильной формы круга по вертикали не допускаются.
6.1.6 Максимальные отклонения от проектного положения осей напорных трубопроводов не должны превышать +/- 100 мм в плане, отметок лотков безнапорных трубопроводов - +/- 5 мм, а отметок верха напорных трубопроводов - +/- 30 мм, если другие значения не обоснованы проектом.
6.1.7 Прокладка напорных трубопроводов по пологой кривой без применения фитингов допускается для раструбных и муфтовых соединений труб номинальным диаметром до DN600 с углом поворота в каждом стыке не более чем на 2°, номинальным диаметром от DN600 до DN1900 с углом поворота в каждом стыке не более чем на 1°, номинальным диаметром свыше DN1900 с углом поворота в каждом стыке не более чем на 0,5°.
6.1.8 При монтаже трубопроводов водоснабжения и канализации в сложных природных условиях следует соблюдать требования СП 86.13330.2022
(раздел 18) и настоящего свода правил.
(п. 6.1.8 в ред.
Изменения N 1, утв. Приказом Минстроя России от 21.12.2023 N 960/пр)
6.1.9 При прокладке трубопроводов на прямолинейном участке трассы соединяемые концы смежных труб должны быть отцентрированы так, чтобы ширина раструбной или муфтовой щели была одинаковой по всей окружности.
6.1.10 Концы труб и отверстия во фланцах запорной и другой арматуры при перерывах в укладке следует закрывать заглушками или деревянными пробками.
6.1.11 Резиновые уплотнители для монтажа трубопроводов в условиях низких температур наружного воздуха не допускается применять в промороженном состоянии.
6.1.12 Для заделки (уплотнения) стыковых соединений трубопроводов следует применять уплотнительные, "замковые" материалы и герметики согласно проекту.
6.1.13 Фланцевые соединения фасонных частей и арматуры следует монтировать с соблюдением следующих требований:
- фланцевые соединения должны быть установлены перпендикулярно к оси трубы;
- плоскости соединяемых фланцев должны быть ровными, гайки болтов должны быть расположены на одной стороне соединения; затяжку болтов следует выполнять равномерно крест-накрест;
- устранение перекосов фланцев установкой скошенных прокладок или подтягиванием болтов не допускается;
- сваривание стыков смежных с фланцевым соединением следует выполнять лишь после равномерной затяжки всех болтов на фланцах.
6.1.14 При использовании грунта для сооружения упора опорная стенка котлована должна быть с ненарушенной структурой грунта.
6.1.15 Зазор между трубопроводом и сборной частью бетонных или кирпичных упоров должен быть плотно заполнен бетонной смесью или цементным раствором.
Для стеклокомпозитных и полимерных труб не требуется устройства дополнительной защиты от коррозии.
(п. 6.1.16 в ред.
Изменения N 1, утв. Приказом Минстроя России от 21.12.2023 N 960/пр)
6.1.17 На сооружаемых трубопроводах подлежат приемке с составлением актов освидетельствования скрытых работ по форме, приведенной в
СП 48.13330, следующие этапы и элементы скрытых работ: подготовка основания под трубопроводы, устройство упоров, значение зазоров и выполнение уплотнений стыковых соединений, устройство колодцев и камер, противокоррозионная защита трубопроводов, герметизация мест прохода трубопроводов через стенки колодцев и камер, засыпка трубопроводов с уплотнением и др.
6.2 Стальные трубопроводы
6.2.1 Способы сварки, типы, конструктивные элементы и размеры сварных соединений стальных трубопроводов должны соответствовать
ГОСТ 16037.
6.2.2 Перед сборкой и сваркой труб следует очистить их от загрязнений, проверить геометрические размеры разделки кромок, зачистить до металлического блеска кромки и прилегающие к ним внутреннюю и наружную поверхности труб на ширину не менее 10 мм.
6.2.3 По окончании сварочных работ наружная изоляция труб в местах сварных соединений должна быть восстановлена в соответствии с проектом.
6.2.4 При сборке стыков труб без подкладного кольца смещение кромок не должно превышать 20% толщины стенки, но не более 3 мм. Для стыковых соединений, собираемых и свариваемых на остающемся цилиндрическом кольце, смещение кромок изнутри трубы не должно превышать 1 мм.
6.2.5 Сборку труб диаметром свыше 100 мм, изготовленных с продольным или спиральным сварным швом, следует производить со смещением швов смежных труб не менее чем на 100 мм. При сборке стыка труб, у которых заводской продольный или спиральный шов сварен с двух сторон, смещение этих швов можно не производить.
6.2.6 Поперечные сварные соединения должны быть расположены на расстоянии не менее чем:
0,2 м от края конструкции опоры трубопровода;
0,3 м от наружной и внутренней поверхностей камеры или поверхности ограждающей конструкции, через которую проходит трубопровод, и от края футляра.
6.2.7 Соединение концов стыкуемых труб и секций трубопроводов при величине зазора между ними более допускаемого следует выполнять вставкой "катушки" длиной не менее 200 мм, если иное не предусмотрено проектом.
(п. 6.2.7 в ред.
Изменения N 1, утв. Приказом Минстроя России от 21.12.2023 N 960/пр)
6.2.8 Расстояние между кольцевым сварным швом трубопровода и швом привариваемых к трубопроводу патрубков должно быть не менее 100 мм.
6.2.9 Сборка труб для сварки должна выполняться с помощью центраторов; допускается правка плавных вмятин, на концах труб, глубиной до 3,5% диаметра трубы и подгонка кромок с помощью домкратов, роликовых опор и других средств. Участки труб с вмятинами, свыше 3,5% диаметра трубы или с надрывами, следует вырезать. Концы труб с забоинами или задирами фасок глубиной свыше 5 мм следует обрезать.
При наложении корневого шва прихватки должны быть полностью переварены. Применяемые для прихваток электроды или сварочная проволока должны быть тех же марок, что и для сварки основного шва.
6.2.10 К сварке стыков стальных трубопроводов допускаются сварщики, прошедшие обучение по программам, утвержденным в установленном порядке.
6.2.11 Перед допуском к работе по сварке стыков трубопроводов каждый сварщик должен сварить допускной стык в производственных условиях (на объекте строительства) в случаях:
- если он впервые приступил к сварке трубопроводов или имел перерыв в работе свыше 6 мес;
- если сварка труб осуществляется из новых марок сталей, с применением новых марок сварочных материалов (электродов, сварочной проволоки, флюсов) или с применением новых типов сварочного оборудования.
На трубах диаметром 529 мм и более разрешается сваривать половину допускного стыка. Допускной стык подвергается:
- внешнему осмотру, при котором сварной шов должен удовлетворять требованиям настоящего раздела и
ГОСТ 16037;
- радиографическому контролю в соответствии с
ГОСТ 7512;
- механическим испытаниям на разрыв и изгиб в соответствии с
ГОСТ 6996.
В случае неудовлетворительных результатов проверки допускного стыка производятся сварка и повторный контроль двух других допускных стыков. В случае получения при повторном контроле неудовлетворительных результатов хотя бы на одном из стыков сварщик признается не выдержавшим испытаний и может быть допущен к сварке трубопровода только после дополнительного обучения и повторных испытаний.
6.2.12 У каждого сварщика должно быть личное клеймо. Сварщик обязан выбивать или наплавлять клеймо на расстоянии от 30 до 50 мм от стыка со стороны, доступной для осмотра.
6.2.13 Сварку и прихватку стыковых соединений труб допускается производить при температуре наружного воздуха до минус 50 °C. При этом сварочные работы без подогрева свариваемых стыков допускается выполнять при температуре наружного воздуха:
- до минус 20 °C - при применении труб из углеродистой стали с содержанием углерода не более 0,24% (независимо от толщины стенок труб), а также труб из низколегированной стали со стенками толщиной не более 10 мм;
- до минус 10 °C - при применении труб из углеродистой стали с содержанием углерода свыше 0,24%, труб из низколегированной стали со стенками толщиной свыше 10 мм. При температуре наружного воздуха ниже вышеуказанных пределов сварочные работы следует производить с подогревом в специальных кабинах, в которых температуру воздуха следует поддерживать не ниже вышеуказанной, или осуществлять подогрев на открытом воздухе концов свариваемых труб на длину не менее 200 мм до температуры не ниже 200 °C.
После окончания сварки необходимо обеспечивать постепенное понижение температуры стыков и прилегающих к ним зон труб путем укрывания их после сварки хризотиловым полотенцем или другим способом.
6.2.14 При многослойной сварке каждый слой шва перед наложением следующего шва должен быть очищен от шлака и брызг металла. Участки металла шва с порами, раковинами и трещинами должны быть вырублены до основного металла, а кратеры швов заварены.
6.2.15 При ручной электродуговой сварке отдельные слои шва должны быть наложены так, чтобы замыкающие участки их в соседних слоях не совпадали один с другим.
6.2.16 При выполнении сварочных работ на открытом воздухе во время осадков места сварки должны быть защищены от влаги и ветра.
6.2.17 При контроле качества сварных соединений стальных трубопроводов следует выполнять:
- операционный контроль в процессе сборки и сварки трубопровода в соответствии с
СП 48.13330;
- проверку сплошности сварных стыков с выявлением внутренних дефектов одним из неразрушающих (физических) методов контроля - радиографическим (рентгено- или гаммаграфическим) по
ГОСТ 7512 или ультразвуковым по
ГОСТ Р 55724.
Применение ультразвукового метода допускается только в сочетании с радиографическим, которым должно быть проверено не менее 10% общего числа стыков, подлежащих контролю.
6.2.18 При операционном контроле качества сварных соединений стальных трубопроводов следует проверять соответствие конструктивных элементов и размеров сварных соединений, способа сварки, качества сварочных материалов, подготовки кромок, значений зазоров, числа прихваток, и исправности сварочного оборудования нормативным документам.
6.2.19 Внешнему осмотру подлежат все сварные стыки. На трубопроводах диаметром 1020 мм и более сварные стыки, сваренные без подкладного кольца, подвергаются внешнему осмотру и измерению размеров снаружи и изнутри трубы, в остальных случаях - только снаружи. Перед осмотром сварной шов и прилегающие к нему поверхности труб на ширину не менее 20 мм (по обе стороны шва) должны быть очищены от шлака, брызг расплавленного металла, окалины и других загрязнений.
Качество сварного шва по результатам внешнего осмотра считается удовлетворительным, если не обнаружено:
- трещин в шве и прилегающей зоне;
- отступлений от допускаемых размеров и формы шва;
- подрезов, западаний между валиками, наплывов, прожогов, незаваренных кратеров и выходящих на поверхность пор, непроваров или провисаний в корне шва (при осмотре стыка изнутри трубы);
- смещений кромок труб, превышающих допускаемые размеры.
Стыки, не удовлетворяющие перечисленным требованиям, подлежат исправлению или удалению и повторному контролю их качества.
6.2.20 Проверке качества сварных швов физическими методами контроля подвергаются трубопроводы водоснабжения и канализации с расчетным давлением:
- до 1 МПа - в объеме не менее 2% (но не менее одного стыка на каждого сварщика);
- от 1 до 2 МПа - в объеме не менее 5% (но не менее двух стыков на каждого сварщика);
- свыше 2 МПа - в объеме не менее 10% (но не менее трех стыков на каждого сварщика).
6.2.21 Сварные стыки для контроля физическими методами отбираются в присутствии представителя заказчика, который записывает в журнале производства работ сведения об отобранных для контроля стыках (местоположение, клеймо сварщика и др.).
6.2.22 Физическим методам контроля следует подвергать 100% сварных соединений трубопроводов, прокладываемых на участках переходов под и над железнодорожными и трамвайными путями, через водные преграды, под автомобильными дорогами, в городских коллекторах для коммуникаций при совмещенной прокладке с другими инженерными коммуникациями. Длину контролируемых участков трубопроводов на участках переходов следует принимать не менее:
- расстояния между осями крайних путей и по 40 м от них в каждую сторону - для железных дорог;
- ширины насыпи по подошве или выемки по верху и по 25 м от них в каждую сторону - для автомобильных дорог;
- в границах подводного перехода, определяемых СП 36.13330.2012
(раздел 10) - для водных преград;
- ширины пересекаемого сооружения, включая его водоотводящие устройства плюс не менее чем по 4 м в каждую сторону от крайних границ пересекаемого сооружения - для других инженерных коммуникаций.
6.2.23 Сварные швы следует браковать, если при проверке физическими методами контроля обнаружены трещины, незаваренные кратеры, прожоги, свищи, непровары в корне шва, выполненного на подкладном кольце.
При проверке сварных швов радиографическим методом допустимыми дефектами считаются:
- поры и включения, размеры которых не превышают максимально допустимых по
ГОСТ 23055 для сварных соединений 7-го класса;
- непровары, вогнутость и превышение проплава в корне шва, выполненного электродуговой сваркой без подкладного кольца, высота (глубина) которых не превышает 10% номинальной толщины стенки, а суммарная длина - 1/3 внутреннего периметра соединения.
6.2.24 При выявлении физическими методами контроля недопустимых дефектов в сварных швах эти дефекты следует устранить и произвести повторный контроль качества удвоенного числа швов по сравнению с указанным в
6.2.20. В случае выявления недопустимых дефектов при повторном контроле должны быть проконтролированы все стыки, выполненные конкретным сварщиком.
6.2.25 Участки сварного шва с недопустимыми дефектами подлежат исправлению путем местной выборки и последующей подварки (без переварки всего сварного соединения), если суммарная длина выборок после удаления дефектных участков не превышает суммарной длины, указанной в
ГОСТ 23055 для сварных соединений 7-го класса.
(в ред.
Изменения N 1, утв. Приказом Минстроя России от 21.12.2023 N 960/пр)
Исправление дефектов в стыках следует производить дуговой сваркой.
Подрезы должны исправляться наплавкой ниточных валиков высотой от 2 до 3 мм. Трещины длиной менее 50 мм засверливаются по концам, вырубаются, тщательно зачищаются и завариваются в несколько слоев.
6.2.26 Результаты проверки качества сварных стыков стальных трубопроводов физическими методами контроля следует оформлять актом (протоколом).
6.3 Стеклокомпозитные трубопроводы
6.3.1 Все стеклокомпозитные трубы и фитинги, применяемые в трубопроводных системах, должны соответствовать
ГОСТ 32661,
ГОСТ Р 54560 или
ГОСТ Р 53201 или
ГОСТ Р 55068 и проверяться на наличие повреждений до начала монтажа. Поврежденные изделия должны быть отделены и изолированы от неповрежденных и возвращены поставщику.
(в ред.
Изменения N 1, утв. Приказом Минстроя России от 21.12.2023 N 960/пр)
6.3.2 В зависимости от условий применения стеклокомпозитных труб используются соединения, которые могут быть разобраны без повреждения (разъемные соединения) и соединения, которые не могут быть разобраны без повреждения (неразъемные соединения). К разъемным соединениям относятся:
- муфтовые соединения;
- раструбные соединения;
- муфтовые блокирующие соединения;
- раструбные блокирующие соединения;
- муфтовые резьбовые соединения;
- раструбные резьбовые соединения;
- муфтовые механические (ремонтные) соединения (соединения стяжной муфтой (хомутом));
- фланцевые соединения.
К неразъемным соединениям относятся:
- муфтовые клеевые соединения;
- раструбные клеевые соединения;
- резьбовые клеевые соединения;
- муфтовые резьбоклеевые соединения;
- раструбные резьбоклеевые соединения;
- муфтовые ламинированные соединения.
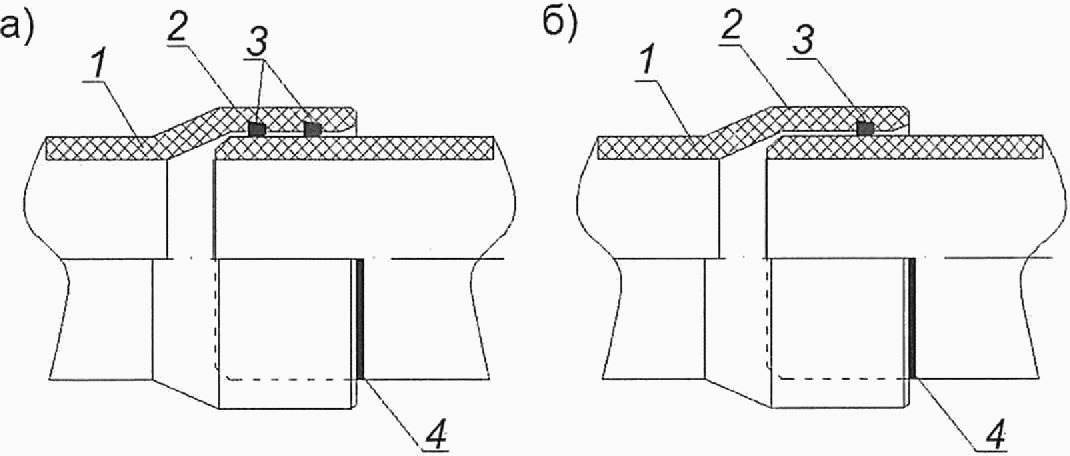
6.3.3 Муфтовые соединения могут быть с центральным стопорным кольцом и без него, в случае отсутствия стопора на трубу наносят контрольную линию, облегчающую соединение труб. Виды муфтовых соединений приведены на рисунке 1.
а - со стопорным кольцом; б - без стопорного кольца;
1 - труба; 2 - уплотнительное эластомерное кольцо;
3 - стопорный элемент; 4 - муфта; 5 - контрольная линия
Рисунок 1 - Муфтовые соединения
Примеры раструбных соединений приведены на рисунке 2.
а - с двумя уплотнительными эластомерными кольцами;
б - с одним уплотнительным эластомерным кольцом;
1 - труба; 2 - раструб; 3 - уплотнительное эластомерное
кольцо; 4 - контрольная линия
Рисунок 2 - Раструбные соединения
6.3.4 При использовании муфтового блокирующего или раструбного блокирующего соединения, изготовляют дополнительные пазы для вставки прута-фиксатора. Пример муфтового блокирующего соединения приведен на рисунке 3, раструбного блокирующего - на
рисунке 4. С одной стороны - для раструбного блокирующего соединения и с каждой стороны при муфтовом блокирующем соединении должны быть расположены стандартные резиновые уплотнители.
1 - труба; 2 - уплотнительное эластомерное кольцо;
3 - муфта; 4 - прут-фиксатор
Рисунок 3 - Муфтовое блокирующее соединение
1 - труба; 2 - раструб; 3 - уплотнительное эластомерное
кольцо; 4 - прут-фиксатор; 5 - контрольная линия
Рисунок 4 - Раструбное блокирующее соединение
6.3.5 При хранении или поставке уплотнительных эластомерных колец (далее - уплотнитель) отдельно, установку производят следующим способом:
- вставляют уплотнители в пазы так, чтобы поверх паза осталось от 2 до 4 петель уплотнения
(рисунок 5). Для облегчения установки уплотнителя, рекомендуется его и паз смачивать водой;
- нажимая на петли с одинаковой силой, необходимо вставить каждую петлю уплотнителя в соответствующий паз. Далее осторожно распределить уплотнитель по всей окружности и проверить по всему диаметру плотность посадки с каждой стороны. Выступающий уплотнитель можно подбить с помощью резиновой киянки.
1 - муфта; 2 - уплотнитель
Рисунок 5 - Установка уплотнителя в муфту
6.3.6 Стеклокомпозитные трубы могут поставляться с предварительно надетой муфтой на один конец трубы, а также раздельно. В случае раздельной поставки, муфта надевается на трубу перед монтажом.
На трубу надевается строп или стальной хомут на расстоянии от 1 до 2 м от конца трубы, муфта вывешивается над землей на высоте не менее 100 мм и надевается на гладкий конец трубы, как показано на
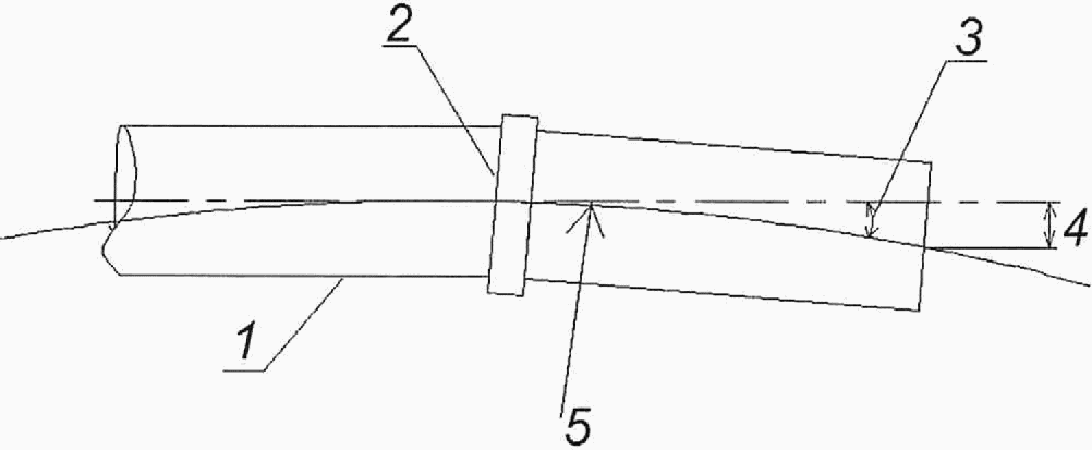
рисунке 6. С помощью деревянного бруска и двух ручных домкратов или ручных (рычажных) талей муфта натягивается до стопорного кольца или контрольной отметки, нанесенной на трубе.
1 - брус 50 x 100; 2 - муфта; 3 - ручная (рычажная) таль;
4 - строп или канат; 5 - стальной хомут
Рисунок 6 - Схема надевания муфты на трубу
6.3.7 При соединении двух труб муфтой с уплотнителями гладкий конец трубы должен быть отцентрирован с раструбом или муфтой. Конец трубы, муфта или раструб должны быть тщательно очищены от песка, грязи или наледи и проверены на отсутствие повреждений. Не допускается применение поврежденных уплотнителей и ворсистого материала для исключения прилипания ворса на поверхность уплотнителя.
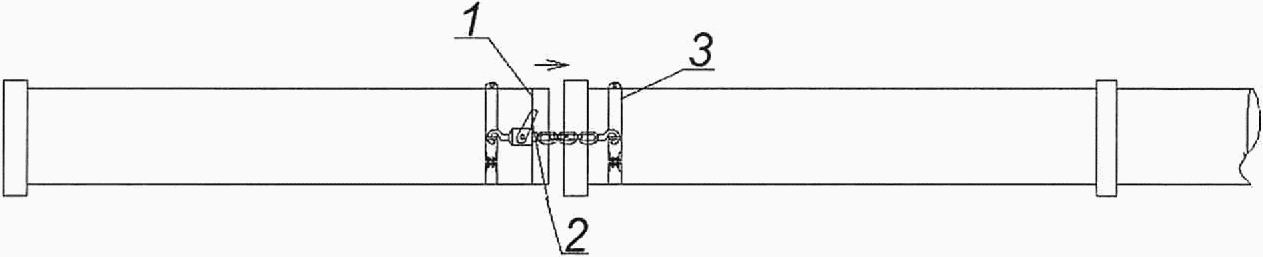
6.3.8 Трубы могут быть состыкованы с помощью экскаватора с применением мягких нейлоновых строп, распорной металлической рамы или деревянного щита, как показано на рисунке 7, с помощью ручной (рычажной) тали или домкрата, как показано на
рисунках 8 и
9 при соблюдении мер предосторожности от повреждения муфт, раструбов и мест соединения.
1 - мягкий строп; 2 - контрольная риска;
3 - упорная металлическая рама
Рисунок 7 - Стыковка труб с помощью экскаватора
1 - контрольная риска; 2 - ручная (рычажная) таль;
3 - стальной хомут
Рисунок 8 - Наружная стыковка труб с помощью ручной
(рычажной) тали
1 - стыковочная рама; 2 - ручная (рычажная) таль;
3 - контрольная риска
Рисунок 9 - Внутренняя стыковка труб с помощью ручной
(рычажной) тали
Перед началом работ ручную (рычажную) таль следует проверить на отсутствие ослаблений натяжения или деформации цепи, двойной намотки, попадание песка, грязи и т.д. Если при соединении труб с фитингами возникают трудности, для облегчения работ следует воспользоваться дополнительной ручной (рычажной) талью, как показано на
рисунке 8. Виды ручных (рычажных) талей, применяемые для стыковки труб, должны выбираться по таблице 1.
Таблица 1
Мощность ручных (рычажных) талей для труб длиной 12 м
Мощность ручной (рычажной) тали или домкрата, т | Номинальный диаметр DN |
1,6 | 300 - 900 |
2,5 | 1000 - 1200 |
3,2 | 1400 - 2000 |
4,0 | 2200 - 2400 |
5,0 | 2600 - 3000 |
Примечание - Число применяемых ручных (рычажных) талей или домкратов должно быть не менее двух. |
6.3.9 Соединение двух труб должно осуществляться до тех пор, пока торец муфты или раструба не совпадет с контрольной риской на гладком конце трубы или пока труба не упрется в стопор, расположенный в муфте или раструбе.
При затруднении соединения, необходимо приостановить работу и вынуть трубу. После выяснения и устранения причин (частичное сдирание резинового уплотнителя, попадания на резину посторонних предметов камней и т.д.) операцию повторяют вновь. При монтаже необходимо убедиться, что труба правильно проходит через уплотнитель по всей окружности, а именно: внешний диаметр трубы равноудален от внутреннего диаметра муфты или раструба, а угловое отклонение и смещение соответствуют таблицам 2 и
3.
Таблица 2
Угловые отклонения в муфтовом соединении
Номинальный диаметр DN | Угол отклонения, не более, при номинальном давлении PN |
До 1,6 | 2,0 | 2,5 | 3,2 |
300 - 500 | 3,0° | 2,5° | 2,0° | 1,5° |
600 - 900 | 2,0° | 1,5° | 1,3° | 1,0° |
1000 - 1800 | 1,0° | 0,8° | 0,5° | 0,5° |
2000 - 3000 | 0,5° | Не допускается | Не допускается | Не допускается |
Таблица 3
Смещения в муфтовом соединении в зависимости
от углового отклонения
Угловое отклонение | Смещение, мм, не более, для трубы длиной, м |
3 | 6 | 12 |
3,0° | 157 | 314 | 628 |
2,5° | 136 | 261 | 523 |
2,0° | 105 | 209 | 419 |
1,5° | 78 | 157 | 313 |
1,3° | 65 | 120 | 240 |
1,0° | 52 | 105 | 209 |
0,8° | 39 | 78 | 156 |
0,5° | 26 | 52 | 104 |
Примечание - Смещение трубы должно оставаться в пределах, предусмотренных конкретным изготовителем труб. |
6.3.10 Допустимые значения углового отклонения и смещения труб в муфтовом соединении приведены в
таблицах 2 и
3, угловое отклонение зависит от номинального диаметра трубы. Схема смещения трубы в муфтовом соединении показана на рисунке 10.
1 - труба; 2 - муфта; 3 - угловое отклонение; 4 - смещение;
5 - радиус кривизны
Рисунок 10 - Схема смещения трубы в муфтовом соединении
6.3.11 Не допускается собирать соединение без применения смазочного материала. Смазка для стыковки труб не должна попадать под резиновый уплотнитель, чтобы исключить выскальзывание из желоба. Для монтажа должен использоваться смазочный материал, предоставленный изготовителем. Как альтернатива, в качестве смазочного материала может использоваться жидкое мыло, а при отрицательных температурах мыльно-глицериновый раствор. При применении смазки для труб хозяйственно-питьевого водопровода, смазочный материал должен иметь документы, разрешающие его контакт с питьевой водой.
Для нанесения тонкого слоя смазки на уплотнитель и гладкий конец второй трубы применяется чистая материя, кисточка или валик. После смазывания необходимо исключить попадание загрязнений на конец трубы и уплотнитель. Минимальное количество смазки на один стык приведено в таблице 4.
Таблица 4
Расход смазки на один стык
Номинальный диаметр DN | Количество смазки, кг |
300 - 500 | 0,075 |
600 - 800 | 0,1 |
900 - 1000 | 0,15 |
1200 - 1400 | 0,2 |
1600 - 1800 | 0,3 |
2000 - 2200 | 0,4 |
2400 - 2600 | 0,6 |
2800 - 3000 | 0,7 |
6.3.12 Фланцевое соединение может включать:
- фиксированный стеклокомпозитный фланец;
- свободный стеклокомпозитный или стальной фланец;
- обжимной стальной или чугунный фланец в любой комбинации.
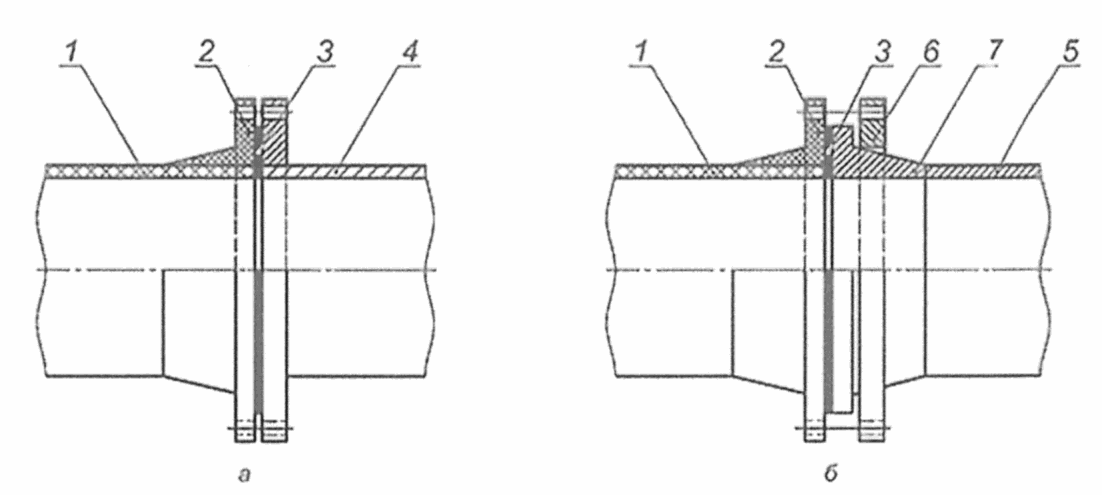
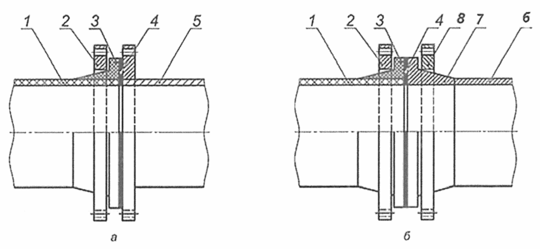
Данный вид соединения применяется для соединения стеклокомпозитных труб между собой, с трубами и фитингами из других материалов (сталь, чугун, полиэтилен) или с запорно-регулирующей арматурой. Примеры фланцевых соединений приведены на рисунках 11 -
13.
а - с фиксированным фланцем; б - со свободным фланцем;
1 - стеклокомпозитная труба; 2 - свободный стеклокомпозитный
или стальной фланец; 3 - стеклокомпозитный бурт;
4 - прокладка; 5 - труба из стали или чугуна; 6 - труба
из полиэтилена; 7 - полиэтиленовая втулка под фланец;
8 - свободный фланец
Рисунок 11 - Схемы фланцевых соединений со свободным
стеклокомпозитным или стальным фланцем
Минстроя России от 21.12.2023 N 960/пр)
а - с фиксированным фланцем; б - со свободным фланцем;
1 - стеклокомпозитная труба; 2 - фиксированный
стеклокомпозитный фланец; 3 - прокладка; 4 - труба из стали
или чугуна; 5 - труба из полиэтилена; 6 - свободный фланец;
7 - полиэтиленовая втулка под фланец
Рисунок 12 - Схемы фланцевых соединений с фиксированным
стеклокомпозитным фланцем
Минстроя России от 21.12.2023 N 960/пр)
1 - стеклокомпозитная труба; 2 - обжимной стальной
или чугунный фланец; 3 - прокладка;
4 - труба из стали или чугуна
Рисунок 13 - Схема фланцевого соединения
с обжимным стальным или чугунным фланцем
Фланцы должны быть выровнены и не должны подвергаться перегрузке или перекосам, чтобы совпадать друг с другом. При использовании прокладок, небольшие смещения могут поглощаться их эластичностью.
При применении стеклокомпозитных фланцев шайбы должны быть на всех болтах и гайках.
6.3.13 Для монтажа свободных фланцев, свободное кольцо фланца должно быть расположено по центру конца трубы, так чтобы оставался равномерный зазор между наружным диаметром конца трубы и внутренним диаметром свободного кольца.
6.3.14 Отверстия для болтов должны быть ориентированы так, чтобы располагаться по обе стороны от средних линий.
6.3.15 Последовательность соединений труб с помощью фланцев:
- очищают поверхность фланца и прокладки;
- помещают прокладку на поверхность фланца, центрируют по отношению к внутреннему диаметру фланца и фиксируют липкой лентой или прокладка может быть центрирована с помощью нескольких болтов, которые поддерживали бы ее;
- выравнивают соединяемые фланцы;
- вставляют болты, шайбы, гайки. Затягивают все болты динамометрическим ключом равномерно в диаметрально противоположном порядке, чтобы расстояние между фланцами было одинаково, что позволяет избежать перекосов и концентрации напряжений на бурт стеклокомпозитной трубы. Последовательность показана на рисунке 14;
- проверяют затяжку болтов через 1 час, при необходимости, подтягивают.
Рисунок 14 - Схема последовательности затяжки болтов
6.3.16 При соединении отрезков стеклокомпозитных труб, например, при проведении ремонтных работ, при соединении с трубопроводами из других материалов и других наружных диаметров допускается применение муфтовых механических соединений стяжной стальной муфтой (хомутом). Муфтовые механические соединения на стяжных муфтах (хомутах) для стеклокомпозитных труб представляют собой разъемную муфту (хомут) с размещенными в ней уплотнителями, как показано на рисунке 15. Герметичность соединения обеспечивается за счет стягивания болтов и прижима уплотнителей к поверхности трубы.
Рисунок 15 - Стяжная муфта (хомут)
6.3.17 Клеевые соединения для стеклокомпозитных труб должны быть следующих типов
(рисунок 16):
- конический раструб и конический гладкий конец трубы;
- прямой раструб или муфта и прямой гладкий конец трубы;
- резьбовой раструб или муфта и резьбовой конец трубы.
а - конический раструб и конический гладкий конец трубы;
б - прямой раструб или муфта и прямой гладкий конец трубы;
в - резьбовой раструб и резьбовой конец трубы;
г - резьбовая муфта и резьбовой конец трубы;
1 - стеклокомпозитная труба; 2 - раструб или муфта;
3 - место склеивания; 4 - клеевой шов; 5 - резьба под клей
Рисунок 16 - Типы клеевых соединений
При клеевом соединении должны соблюдаться инструкции изготовителя труб. Перед перемещением и засыпкой трубы после склеивания следует выдерживать время, установленное в нормативном документе на клей, для полного отверждения клея. Клеевые соединения следует применять для резьбовых труб номинальным диаметром до DN 200, для остальных типов - номинальным диаметром не более DN 400.
(в ред.
Изменения N 1, утв. Приказом Минстроя России от 21.12.2023 N 960/пр)
6.3.18 Муфтовое ламинированное соединение для стеклокомпозитных труб должно выполняться путем нанесения слоев стеклянных матов и стеклоткани, пропитанных термореактивной смолой на предварительно подготовленную поверхность двух подогнанных и отцентрированных концов трубы. При этом каждый последующий слой должен быть шире предыдущего для обеспечения прочности соединения, как показано на рисунке 17.
Рисунок 17 - Муфтовое ламинируемое соединение
Такой вид соединения применяется при ручном изготовлении фитингов из отрезков труб, может применяться при проведении ремонтных работ на трубопроводах. Для улучшения эксплуатационных характеристик трубопроводов допускается применять дополнительное внутреннее ламинирование соединения труб большого диаметра при возможности работать внутри трубы.
Работы методом муфтового ламинирования, выполняемые на месте монтажа, следует осуществлять в соответствии с инструкциями изготовителя.
(в ред.
Изменения N 1, утв. Приказом Минстроя России от 21.12.2023 N 960/пр)
6.3.19 При траншейной прокладке стеклокомпозитных трубопроводов ширина траншеи по дну должна быть не менее чем на 500 мм больше величины наружного диаметра трубы.
(п. 6.3.19 введен
Изменением N 1, утв. Приказом Минстроя России от 21.12.2023 N 960/пр)
6.3.20 При плотных и твердых грунтах на дне траншеи перед укладкой труб необходимо устраивать основание из насыпного грунта толщиной 100 - 120 мм, не содержащего твердых комков, кирпича, камня, щебня и других твердых включений крупностью более 20 мм.
(п. 6.3.20 введен
Изменением N 1, утв. Приказом Минстроя России от 21.12.2023 N 960/пр)
6.3.21 После укладки трубы на основание насыпка песчаного слоя толщиной более 100 мм на ширине большей наружного диаметра на 100 - 120 мм должна производиться с каждой стороны трубы одновременно.
(п. 6.3.21 введен
Изменением N 1, утв. Приказом Минстроя России от 21.12.2023 N 960/пр)
6.3.22 Под раструбы (муфты) стеклокомпозитных труб по всей ширине дна траншеи устраивают приямки глубиной 50 мм - для раструбных соединений с резиновыми уплотнениями и герметиками, 100 мм - для клеевых соединений, считая от низа раструба (муфты). Длину приямков для тех же видов соединений принимают равной от двух до трех длин раструбов.
(п. 6.3.22 введен
Изменением N 1, утв. Приказом Минстроя России от 21.12.2023 N 960/пр)
6.3.23 Обязательно устройство над верхом трубопровода защитного слоя толщиной не менее 300 мм из песка или мягкого, в том числе местного, грунта крупностью не более 20 мм и не содержащего твердых включений с острыми гранями.
(п. 6.3.23 введен
Изменением N 1, утв. Приказом Минстроя России от 21.12.2023 N 960/пр)
6.3.24 При засыпке пазух траншеи и устройстве защитного грунтового слоя над трубопроводом соединения труб и деталей оставляют незасыпанными до проведения предварительных испытаний на герметичность (это не распространяется на трубопроводы, выполненные из трубных плетей и предварительно испытанные до укладки в траншею). По завершении предварительных испытаний выполняют засыпку приямков и соединений с уплотнением грунта до проектной степени.
(п. 6.3.24 введен
Изменением N 1, утв. Приказом Минстроя России от 21.12.2023 N 960/пр)
6.3.25 Засыпку траншей поверх защитного слоя над трубопроводом производят грунтом, не содержащим твердых включений обломков строительных деталей и т.п. размерами более 0,1 наружного диаметра, до высоты 700 мм над трубой.
(п. 6.3.25 введен
Изменением N 1, утв. Приказом Минстроя России от 21.12.2023 N 960/пр)
6.4 Чугунные трубопроводы
6.4.1 Проектирование и строительство трубопроводов водоснабжения и водоотведения из чугунных труб следует осуществлять с учетом
СП 66.13330 и
ГОСТ ISO 2531.
(п. 6.4.1 в ред.
Изменения N 1, утв. Приказом Минстроя России от 21.12.2023 N 960/пр)
6.4.2 Для монтажа чугунных труб, выпускаемых в соответствии с
ГОСТ ISO 2531, применяют фланцевые, гибкие и фиксированные соединения. Уплотнение соединений определяется проектом.
(п. 6.4.2 в ред.
Изменения N 1, утв. Приказом Минстроя России от 21.12.2023 N 960/пр)
6.4.3 Исключен с 22.01.2024. -
Изменение N 1, утв. Приказом Минстроя России от 21.12.2023 N 960/пр.
6.5 Хризотилцементные трубопроводы
6.5.1 Значение зазора между торцами соединяемых труб следует принимать 5 мм для труб диаметром - до 300 мм, - 10 мм для труб диаметром свыше - 300 мм.
6.5.2 Перед началом монтажа трубопроводов на концах соединяемых труб, в зависимости от длины применяемых муфт, следует сделать отметки, соответствующие начальному положению муфты до монтажа стыка и конечному - в смонтированном стыке.
6.5.3 Соединение хризотилцементных труб с арматурой или металлическими трубами следует осуществлять с помощью чугунных фасонных частей или стальных сварных патрубков и резиновых уплотнителей.
6.5.4 После окончания монтажа каждого стыкового соединения необходимо проверить правильность расположения муфт и резиновых уплотнителей в них, а также равномерность затяжки фланцевых соединений чугунных муфт.
6.6 Железобетонные и бетонные трубопроводы
6.6.1 Значение зазора между упорной поверхностью раструба и торцом соединяемой трубы следует принимать:
- от 12 до 15 мм - для железобетонных напорных труб диаметром до 1000 мм;
- от 18 до 22 мм - то же, диаметром свыше 1000 мм;
- от 8 до 12 мм - для железобетонных и бетонных безнапорных раструбных труб диаметром до 700 мм;
- от 15 до 18 мм - то же, свыше 700 мм;
- не более 25 мм - для фальцевых труб.
6.6.2 Герметизация железобетонных труб выполняется с помощью уплотнительных колец из эластомеров. Трубы с пластиковой футеровкой могут быть дополнительно проварены изнутри.
Способ заделки стыковых соединений труб без использования уплотнительных колец должен быть определен проектом.
(п. 6.6.2 в ред.
Изменения N 1, утв. Приказом Минстроя России от 21.12.2023 N 960/пр)
6.6.3 Герметизацию стыковых соединений фальцевых безнапорных железобетонных и бетонных труб с гладкими концами следует производить в соответствии с проектом.
6.6.4 Соединение железобетонных и бетонных труб с трубопроводной арматурой и металлическими трубами следует осуществлять с помощью стальных вставок или железобетонных фасонных соединительных частей, изготовленных согласно проекту.
6.7 Трубопроводы из керамических труб
6.7.1 Значение зазора между торцами укладываемых керамических труб (независимо от материала заделки стыков) следует принимать от 5 до 7 мм - для труб диаметром до 300 мм, от 8 до 10 мм - при больших диаметрах.
6.7.2 Стыковые соединения трубопроводов из керамических труб следует уплотнять пеньковой или сизальской битуминизированной прядью с последующим устройством замка из цементного раствора марки B7,5, асфальтовой (битумной) мастикой и полисульфидными (тиоколовыми) герметиками, если другие материалы не предусмотрены проектом. Применение асфальтовой мастики допускается при температуре транспортируемой сточной жидкости не более 40 °C и при отсутствии в ней растворителей битума.
Основные размеры элементов стыкового соединения керамических труб должны соответствовать значениям, приведенным в таблице 7.
Таблица 7
Номинальный диаметр DN | Глубина заделки, мм |
при применении пеньковой или сизальской пряди | при устройстве замка | при применении только герметиков или битумной мастики |
160 - 300 | 30 | 30 | 40 |
350 - 600 | 30 | 38 | 45 |
6.7.3 Заделка труб в стенках колодцев и камер должна обеспечивать герметичность соединений и водонепроницаемость колодцев в грунтах.
(в ред.
Изменения N 1, утв. Приказом Минстроя России от 21.12.2023 N 960/пр)
6.8 Трубопроводы из полимерных материалов
(п. 6.8 в ред.
Изменения N 1, утв. Приказом Минстроя России от 21.12.2023 N 960/пр)
6.8.1 Для строительства напорных трубопроводов сетей водоснабжения и канализации применяют трубы из полимерных материалов по
ГОСТ 18599,
ГОСТ Р 56927,
ГОСТ Р 51613, трубы и соединительные детали по
ГОСТ 32415 (класс ХВ) и колодцы по
ГОСТ 32972, а также по требованиям документов по стандартизации, утвержденных в установленном порядке. Допускается применение полиэтиленовых соединительных деталей по
ГОСТ Р 58121.3.
Для напорных сетей водоснабжения и канализации с максимальным рабочим давлением до 0,6 МПа допускается применять трубы и соединительные детали типа B по
ГОСТ Р 54475 при соблюдении требований СП 399.1325800.2018
(пункт 4.4).
6.8.2 Проектирование и монтаж наружных сетей водоснабжения и канализации из полимерных материалов следует проводить с учетом требований
СП 399.1325800 и
СП 503.1325800.
6.8.3 В зависимости от условий эксплуатации и требований проекта для соединения трубопроводов следует применять неразъемные и разъемные (механические) соединения.
Неразъемные соединения следует выполнять следующими способами:
- сваркой нагретым инструментом встык;
- сваркой нагретым инструментом враструб;
- сваркой закладными нагревателями;
- экструзионной сваркой;
- сваркой нагретым газом;
- сваркой инфракрасным нагревом;
- враструб связующим составом на основе растворителя.
Применяют следующие виды разъемных (механических) соединений:
- резьбовое;
- фланцевое;
- с помощью компрессионных и обжимных фитингов;
- враструб с применением уплотнительных эластомерных колец и т.п.
6.8.4 Соединение полимерных труб с трубами из других материалов осуществляют с применением механических соединительных деталей. Допускается применять для присоединения полиэтиленовых труб к напорным стальным трубопроводам неразъемное соединение "сталь - полиэтилен". Соединение полимерных труб сетей канализации с трубами из других материалов проводят с применением соединительной детали или через колодец (камеру). Монтаж узлов в колодцах проводят одновременно с прокладкой трубопровода или предварительно в заводских условиях.
6.8.6 Для сварки полимерных трубопроводов следует использовать оборудование (устройства), обеспечивающее поддержание параметров технологических режимов.
Оборудование для сварки нагретым инструментом встык должно отвечать требованиям
ГОСТ Р ИСО 12176-1, для сварки деталями с закладными нагревателями -
ГОСТ Р ИСО 12176-2. Для сварки нагретым газом и экструзионной сварки применяют оборудование, соответствующее
ГОСТ EN 13705.
6.8.7 При соединении (в т.ч. сварке) полимерных трубопроводов следует учитывать требования инструкций изготовителей полимерных изделий.
6.8.8 Для защиты зоны сварочно-монтажных работ от попадания пыли, атмосферных осадков и т.п. следует предусматривать укрытия, при необходимости, с применением соответствующего климатического оборудования, позволяющего поддерживать допустимый температурный диапазон окружающего воздуха.
6.8.9 При сварке нагретым инструментом встык труб из полиэтилена с защитным покрытием следует удалять защитное покрытие на участке, достаточном для свободного образования грата. При сварке труб из полиэтилена с защитным покрытием с использованием деталей с закладными нагревателями необходимо удалить защитный слой на длине, обеспечивающей полный контакт соединительной детали с поверхностью полиэтиленовой трубы.
6.8.10 Трубы со структурированной стенкой по
ГОСТ Р 54475 соединяются с помощью уплотнительных колец, свинчиванием в соответствии с инструкциями изготовителя, а также сваркой закладными нагревателями или экструзионной сваркой.
7 Переходы трубопроводов через естественные и искусственные преграды
7.1 Строительство переходов напорных трубопроводов водоснабжения и канализации через водные преграды (реки, озера, водохранилища, каналы), подводные трубопроводы водозаборов и канализационных выпусков в пределах русла водоемов, а также подземных переходов через овраги, дороги (автомобильные и железные, включая линии метрополитена и трамвайные пути) и городские проезды должно быть осуществлено специализированными организациями в соответствии с
СП 45.13330 и
[1].
7.2 Способы прокладки трубопроводных переходов через естественные и искусственные преграды определяются проектом.
7.3 Прокладывать подземные трубопроводы под дорогами следует при постоянном маркшейдерско-геодезическом контроле строительной организации за соблюдением предусмотренного проектом планового и высотного положений футляров и трубопроводов.
7.4 Отклонения оси защитных футляров переходов от проектного положения для самотечных безнапорных трубопроводов не должны превышать:
- 0,6% длины футляра при условии обеспечения проектного уклона - по вертикали;
- 1% длины футляра - по горизонтали.
Для напорных трубопроводов эти отклонения не должны превышать соответственно 1% и 1,5% длины футляра.
8 Сооружения водоснабжения и канализации
8.1 Сооружения для забора поверхностной воды
Строительство сооружений для забора поверхностной воды из рек, озер, водохранилищ и каналов должно осуществляться специализированными строительными и монтажными организациями в соответствии с проектом.
(в ред.
Изменения N 1, утв. Приказом Минстроя России от 21.12.2023 N 960/пр)
До начала устройства основания под русловые водоприемники должны быть проверены их разбивочные оси и отметки временных реперов.
8.2 Водозаборные скважины
8.2.1 В процессе бурения скважин все виды работ и основные показатели (проходка, диаметр бурового инструмента, крепление и извлечение труб из скважины, цементация, измерение уровней воды и другие операции) следует фиксировать в журнале по производству буровых работ. При этом следует отмечать наименование пройденных пород, цвет, плотность (крепость), трещиноватость, гранулометрический состав пород, водоносность, наличие и величину "пробки" при проходке плывунов, появившийся и установившийся уровень воды всех встреченных водоносных горизонтов, поглощение промывочной жидкости. Измерять уровень воды в скважинах при бурении следует перед началом работ каждой смены. В фонтанирующих скважинах уровни воды следует измерять путем наращивания труб или измерением давления воды.
8.2.2 В процессе бурения в зависимости от фактического геологического разреза допускается, в пределах установленного проектом водоносного горизонта, корректировка буровой организацией глубины скважины, диаметров и глубины посадки технических колонн без изменения эксплуатационного диаметра скважины. Внесение изменений в конструкцию скважины не должно ухудшать ее санитарного состояния и производительности.
8.2.3 Образцы следует отбирать по одному из каждого слоя породы, а при однородном слое - через 10 м.
По согласованию с проектной организацией образцы пород допускается отбирать не из всех скважин.
8.2.4 Изолирование эксплуатируемого водоносного горизонта в скважине от неиспользуемых водоносных горизонтов следует выполнять при способе бурения:
- вращательном - путем затрубной и межтрубной цементации колонн обсадных труб до отметок, предусмотренных проектом;
- ударном - задавливанием и забивкой обсадной колонны в слой естественной плотной глины на глубину не менее 1 м или проведением подбашмачной цементации путем создания каверны расширителем или эксцентричным долотом.
8.2.5 Для обеспечения, предусмотренного проектом гранулометрического состава материала обсыпки фильтров скважин, глинистые и мелкопесчаные фракции должны быть удалены отмывкой, а перед засыпкой отмытый материал следует продезинфицировать.
8.2.6 Обнажение фильтра в процессе его обсыпки следует проводить путем поднятия колонны обсадных труб каждый раз на высоту от 0,5 до 0,6 м, на высоту от 0,8 до 1 м - после обсыпки скважины. Верхняя граница обсыпки должна быть выше рабочей части фильтра не менее чем на 5 м.
8.2.7 Водозаборные скважины после окончания бурения и установки фильтра должны быть испытаны откачками, производимыми непрерывно в течение времени, предусмотренного проектом.
Перед началом откачки скважина должна быть очищена от шлама и прокачана эрлифтом, если иное не предусмотрено проектом. В трещиноватых скальных и гравийно-галечниковых водоносных породах откачку следует начинать с максимального проектного понижения уровня воды, а в песчаных породах - с минимального проектного понижения. Значение минимального фактического понижения уровня воды должно быть в пределах от 0,4 до 0,6 максимального фактического.
(в ред.
Изменения N 1, утв. Приказом Минстроя России от 21.12.2023 N 960/пр)
При вынужденной остановке работ по откачке воды, если суммарное время остановки превышает 10% общего проектного времени на одно понижение уровня воды, откачку воды на это понижение следует повторить. В случае откачки из скважин, оборудованных фильтром с обсыпкой, значение усадки материала обсыпки следует измерять в процессе откачки один раз в сутки.
8.2.8 Дебит (производительность) скважин следует определять мерной емкостью с временем ее заполнения не менее 45 с. Допускается определять дебит с помощью водосливов и водомеров.
Уровень воды в скважине следует измерять с точностью до 0,1% глубины измеряемого уровня воды.
Дебит и уровни воды в скважине следует измерять не реже чем через каждые 2 ч в течение всего времени откачки, определенного проектом.
Контрольные промеры глубины скважины следует производить в начале и в конце откачки в присутствии представителя заказчика.
8.2.9 В процессе откачки буровая организация должна проводить измерение температуры воды и отбор проб воды в соответствии с
ГОСТ Р 59024 и
ГОСТ 31942 с доставкой их в лабораторию для проверки качества воды согласно
ГОСТ Р 51232.
(в ред.
Изменения N 1, утв. Приказом Минстроя России от 21.12.2023 N 960/пр)
Качество цементации всех обсадных колонн и местоположение рабочей части фильтра следует проверять геофизическими методами. Устье самоизливающейся скважины по окончании бурения необходимо оборудовать задвижкой и штуцером для манометра.
8.2.10 По окончании бурения водозаборной скважины и испытания ее откачкой воды верх эксплуатационной трубы должен быть заварен металлической крышкой - в ней должно быть отверстие с резьбой под болт-пробку для измерения уровня воды. На трубе должны быть нанесены проектный и буровой номера скважины, наименование буровой организации и год бурения.
Для эксплуатации скважина в соответствии с проектом должна быть оборудована приборами для измерения уровней воды и дебита.
8.2.11 По окончании бурения и испытания откачкой водозаборной скважины буровая организация должна передать ее заказчику в соответствии с требованиями
СП 68.13330, а также образцы пройденных пород и документацию (паспорт), включающую:
- геолого-литологический разрез с конструкцией скважины, откорректированный по результатам геофизических исследований;
- акты на заложение скважины, установку фильтра, цементацию обсадных колонн;
- сводную каротажную диаграмму с результатами ее расшифровки, подписанную руководителем организации, выполнившей геофизические работы;
- журнал наблюдений за откачкой воды из водозаборной скважины;
- результаты химических, бактериологических анализов и органолептических показателей воды по
ГОСТ Р 51232 и заключение санитарно-эпидемиологической службы.
Документация, до сдачи заказчику, должна быть согласована с проектной организацией.
8.3 Емкостные сооружения
8.3.1 При монтаже стеклокомпозитных, бетонных и железобетонных монолитных и сборных емкостных сооружений кроме требований проекта следует выполнять требования
СП 70.13330 и настоящих правил.
При монтаже емкостей из полимерных материалов следует учитывать требования
СП 399.1325800, а также инструкции изготовителя.
(абзац введен
Изменением N 1, утв. Приказом Минстроя России от 21.12.2023 N 960/пр)
8.3.2 Обратную засыпку грунта в пазухи и обсыпку емкостных сооружений необходимо производить механизированным способом после прокладки коммуникаций к емкостным сооружениям, проведения гидравлического испытания сооружений, устранения выявленных дефектов, выполнения гидроизоляции стен и перекрытия для железобетонных конструкций. Выполнение работ ручным способом допускается, если это предусмотрено проектом.
(в ред.
Изменения N 1, утв. Приказом Минстроя России от 21.12.2023 N 960/пр)
8.3.3 После окончания всех видов работ и набора бетоном проектной прочности производится гидравлическое испытание емкостных сооружений в соответствии с
10.3.
8.3.4 Монтаж дренажно-распределительных систем фильтровальных сооружений допускается производить после проведения гидравлического испытания емкости сооружения на герметичность.
8.3.5 Круглые отверстия в трубопроводах для распределения воды и воздуха, а также для сбора воды следует выполнять сверлением в соответствии с классом номинальной жесткости, указываемым в проекте.
Отклонения от проектной ширины щелевых отверстий в полиэтиленовых трубах не должны превышать 0,1 мм, а от проектной длины щели в свету +/- 3 мм.
8.3.6 Отклонения расстояний между осями муфт колпачков в распределительных и отводящих системах фильтров не должны превышать +/- 4 мм, а в отметках верха колпачков (по цилиндрическим выступам) - +/- 2 мм от проектного положения.
8.3.7 Отметки кромок водосливов в устройствах для распределения и сбора воды (желоба, лотки и др.) должны соответствовать проекту и должны быть выровнены по уровню воды.
При устройстве переливов с треугольными вырезами отклонения отметок низа вырезов от проектных не должны превышать +/- 3 мм.
8.3.8 На внутренней и внешней поверхностях желобов и каналов для сбора и распределения воды, а также для сбора осадков не должно быть раковин и наростов. Уклон лотков желобов и каналов в сторону движения воды (или осадка) должен быть установлен в проекте. Наличие на них участков с обратным уклоном не допускается.
8.3.9 Укладку фильтрующей загрузки в сооружения для очистки воды фильтрованием допускается производить после гидравлического испытания емкостей этих сооружений, промывки и прочистки подключенных к ним трубопроводов, индивидуального опробования работы каждой из распределительных и сборных систем, измерительных и запорных устройств.
8.3.10 Материалы фильтрующей загрузки, укладываемой в сооружения для очистки воды, в том числе в биофильтры, по гранулометрическому составу должны соответствовать проекту или требованиям
СП 31.13330 и
СП 32.13330.
8.3.11 Отклонение толщины слоя каждой фракции фильтрующей загрузки от проектного значения и толщины всей загрузки не должно быть более +/- 20 мм.
8.3.12 После окончания работ по укладке загрузки фильтровального сооружения питьевого водоснабжения должна быть произведена промывка и дезинфекция сооружения, порядок проведения которых приведен в
приложении А.
8.3.13 Монтаж возгораемых элементов конструкций деревянных оросителей, водоуловительных решеток, воздухонаправляющих щитов и перегородок вентиляторных градирен и брызгальных бассейнов следует осуществлять после завершения сварочных работ.
8.3.14 Монтаж стеклокомпозитных и полимерных емкостных сооружений в водонасыщенных грунтах при необходимости нужно выполнять с устройством бетонного или грунтового (например, с применением геосинтетических материалов) пригруза, форму, конструкцию и массу которого следует определить расчетами на всплытие.
9 Дополнительные требования к строительству трубопроводов и сооружений водоснабжения и канализации в особых природных и климатических условиях
9.1 При строительстве трубопроводов и сооружений водоснабжения и канализации в особых природных и климатических условиях следует соблюдать требования проекта и настоящего раздела.
9.2 Трубопроводы временного водоснабжения необходимо укладывать на поверхности земли с соблюдением требований, предъявляемых к укладке трубопроводов постоянного водоснабжения.
(в ред.
Изменения N 1, утв. Приказом Минстроя России от 21.12.2023 N 960/пр)
9.3 Строительство трубопроводов и сооружений на многолетнемерзлых грунтах следует производить при отрицательных температурах наружного воздуха с сохранением мерзлых грунтов оснований. В случае строительства трубопроводов и сооружений при положительных температурах наружного воздуха следует сохранять грунты основания в мерзлом состоянии и не допускать нарушений их температурно-влажностного режима, установленного проектом.
(в ред.
Изменения N 1, утв. Приказом Минстроя России от 21.12.2023 N 960/пр)
Подготовку основания под трубопроводы и сооружения на льдонасыщенных грунтах следует осуществлять путем оттаивания их на проектную глубину и уплотнения или замены, в соответствии с проектом, льдонасыщенных грунтов талыми уплотненными грунтами.
Движение транспортных средств и строительных машин в летнее время должно производиться по дорогам и подъездным путям, сооруженным в соответствии с проектом.
9.4 Проектирование и строительство трубопроводов и сооружений в сейсмических районах следует осуществлять с учетом требований
СП 14.13330 теми же способами и методами, что и в обычных условиях строительства, но с выполнением предусмотренных проектом мероприятий по обеспечению их сейсмостойкости. Стыки стальных трубопроводов и соединительных деталей следует сваривать только электродуговой сваркой с проверкой качества сварного соединения в 100%-ном объеме физическими методами контроля. В сейсмических районах допускается применять колодцы, части которых соединяются пазогребневым элементом высотой не менее 60 мм и уплотнительным кольцом.
(в ред.
Изменения N 1, утв. Приказом Минстроя России от 21.12.2023 N 960/пр)
При строительстве железобетонных емкостных сооружений, трубопроводов, колодцев и камер следует применять цементные растворы с пластифицирующими добавками в соответствии с проектом.
9.5 Все работы по обеспечению сейсмостойкости трубопроводов и сооружений, выполненные в процессе строительства, следует фиксировать в журнале работ и в актах освидетельствования скрытых работ.
9.6 При обратной засыпке пазух емкостных сооружений, строящихся на подрабатываемых территориях, следует обеспечивать сохранность деформационных швов.
Зазоры деформационных швов на всю их высоту (от подошвы фундаментов до верха надфундаментной части сооружений) должны быть очищены от грунта, строительного мусора, наплывов бетона, раствора и отходов опалубки.
Актами освидетельствования скрытых работ должны быть оформлены все основные специальные работы, в том числе: монтаж компенсаторов, устройство швов скольжения в фундаментных конструкциях и деформационных швов; анкеровка и сварка в местах устройства шарнирных соединений связей-распорок; устройство пропусков труб через стены колодцев, камер, емкостных сооружений.
9.7 Трубопроводы на болотах следует укладывать в траншею после отвода из нее воды или в залитую водой траншею при условии принятия, в соответствии с проектом, необходимых мер против их всплывания.
Плети трубопровода следует протаскивать вдоль траншеи или перемещать на плаву с заглушенными концами.
Укладку трубопроводов на полностью отсыпанные с уплотнением дамбы необходимо производить как в обычных грунтовых условиях.
9.8 При строительстве трубопроводов на просадочных грунтах приямки под стыковые соединения следует выполнять путем уплотнения грунта.
10 Испытание трубопроводов и сооружений
10.1 Напорные трубопроводы
10.1.1 При отсутствии в проекте указания о способе испытания напорные трубопроводы подлежат испытанию на прочность и герметичность гидравлическим способом. В зависимости от климатических условий в районе строительства и при отсутствии воды может быть применен пневматический способ испытания для трубопроводов с внутренним расчетным давлением Pр, не более:
(в ред.
Изменения N 1, утв. Приказом Минстроя России от 21.12.2023 N 960/пр)
- 0,5 МПа - для подземных чугунных, хризотилцементных и железобетонных;
- 0,035 МПа - для подземных стеклокомпозитных труб с муфтовыми соединениями, для всех остальных типов соединений согласно документации изготовителя. Стеклокомпозитный трубопровод, не прошедший пневматические испытания, не считается не принятым, если были проведены повторные гидравлические испытания с положительным результатом;
(в ред.
Изменения N 1, утв. Приказом Минстроя России от 21.12.2023 N 960/пр)
- 1,6 МПа - для подземных стальных;
- 0,3 МПа - для надземных стальных.
10.1.1а Пневматические испытания напорных полиэтиленовых трубопроводов из труб с толщиной стенки более 32 мм по
ГОСТ 18599,
ГОСТ 32415 и требованиям документов по стандартизации, утвержденных в установленном порядке, допускаются при условии прохождения композиции полиэтилена, из которой изготовлены эти трубы, испытаний на стойкость к быстрому распространению трещин. Если конкретная композиция полиэтилена не выдержала испытания на быстрое распространение трещин или отсутствуют данные о проведении этих испытаний, то изготовитель труб обязан установить критическое давление для проведения пневматических испытаний трубопроводов, смонтированных из этих труб.
(п. 10.1.1а введен
Изменением N 1, утв. Приказом Минстроя России от 21.12.2023 N 960/пр)
10.1.1б Величины испытательных давлений, а также порядок проведения гидравлических и пневматических испытаний полимерных трубопроводов следует принимать согласно
СП 399.1325800 и требованиям настоящего
раздела 10.
(п. 10.1.1б введен
Изменением N 1, утв. Приказом Минстроя России от 21.12.2023 N 960/пр)
10.1.1в Гидравлические испытания должны осуществляться только при температуре воды и окружающей среды выше 4 °C, при более низких температурах необходимо принять меры по исключению замерзания трубопровода и патрубков (например, устройство тепляков, добавление антифриза или противоморозных добавок).
Допускается перед гидравлическим испытанием проведение предварительного испытания с использованием воздуха при давлении, не превышающем 0,05 МПа.
(п. 10.1.1в введен
Изменением N 1, утв. Приказом Минстроя России от 21.12.2023 N 960/пр)
10.1.1г Вода, применяемая при испытании, не должна обладать агрессивным действием в отношении примененных в трубопроводе материалов. Заполнение трубопровода водой осуществляют с удалением воздуха в верхних точках трубопровода.
(п. 10.1.1г введен
Изменением N 1, утв. Приказом Минстроя России от 21.12.2023 N 960/пр)
10.1.1д В случае необходимости постоянного пополнения воды или значительного падения давления следует проверить испытуемый участок на негерметичность.
(п. 10.1.1д введен
Изменением N 1, утв. Приказом Минстроя России от 21.12.2023 N 960/пр)
10.1.1е Проведение пневматических испытаний подземных трубопроводов проводят после их монтажа в траншее и присыпки выше верхней образующей трубы не менее чем на 0,2 м или после полной засыпки траншеи. Подземные трубопроводы до начала испытаний после их заполнения воздухом следует выдерживать под испытательным давлением в течение времени, необходимого для выравнивания температуры среды в трубопроводе с температурой грунта из расчета 1 ч на каждые 0,1 МПа испытательного давления.
(п. 10.1.1е введен
Изменением N 1, утв. Приказом Минстроя России от 21.12.2023 N 960/пр)
10.1.1ж Надземные и наземные трубопроводы до начала пневматических испытаний после их заполнения воздухом следует выдерживать под испытательным давлением в течение времени, необходимого для выравнивания температуры среды в газопроводе с температурой окружающего воздуха, но не менее 1 ч.
(п. 10.1.1ж введен
Изменением N 1, утв. Приказом Минстроя России от 21.12.2023 N 960/пр)
10.1.1и Скорость изменения давления воздуха в трубопроводе при проведении испытаний не должна превышать 0,3 МПа/мин. Компрессор, используемый при проведении пневматических испытаний полимерных и стеклопластиковых трубопроводов, должен иметь дополнительное охлаждение.
(п. 10.1.1и введен
Изменением N 1, утв. Приказом Минстроя России от 21.12.2023 N 960/пр)
10.1.2 Испытание напорных трубопроводов всех классов должно осуществляться строительно-монтажной организацией, если иное не предусмотрено проектом, в два этапа:
(в ред.
Изменения N 1, утв. Приказом Минстроя России от 21.12.2023 N 960/пр)
- первый - предварительное испытание на прочность и герметичность, выполняемое после засыпки пазух с подбивкой грунта на половину вертикального диаметра и присыпкой труб в соответствии с
СП 45.13330 с оставленными открытыми для осмотра стыковыми соединениями; это испытание допускается выполнять без участия представителей заказчика и эксплуатационной организации с составлением акта, утверждаемого главным инженером строительной организации;
- второй - приемочное (окончательное) испытание на прочность и герметичность следует выполнять после полной засыпки трубопровода при участии представителей заказчика и эксплуатационной организации с составлением акта о результатах испытания по форме, приведенной в
приложении Б или
В.
Оба этапа испытания должны выполняться до установки гидрантов, вантузов, предохранительных клапанов, вместо которых на время испытания следует устанавливать фланцевые заглушки. Предварительное испытание трубопроводов, доступных осмотру в рабочем состоянии или подлежащих в процессе строительства немедленной засыпке (производство работ в зимнее время, в стесненных условиях), допускается не производить, если иное не предусмотрено проектом.
(в ред.
Изменения N 1, утв. Приказом Минстроя России от 21.12.2023 N 960/пр)
10.1.3 Трубопроводы подводных переходов подлежат предварительному испытанию дважды: на стапеле или площадке после сваривания труб, но до нанесения антикоррозионной изоляции на сварные соединения, и вторично - после укладки трубопровода в траншею в проектное положение, но до засыпки грунтом.
Результаты предварительного и приемочного испытаний следует оформлять актом по форме, приведенной в
приложении Б.
10.1.4 Трубопроводы, прокладываемые на переходах через железные и автомобильные дороги I и II категорий, подлежат предварительному испытанию после укладки рабочего трубопровода в футляре (кожухе) до заполнения межтрубного пространства полости футляра и до засыпки рабочего и приемного котлованов перехода.
10.1.5 Значения внутреннего расчетного давления
Pр и испытательного давления
Pи для проведения предварительного и приемочного испытаний напорного трубопровода на прочность должны быть определены проектом в соответствии с требованиями
СП 31.13330 и указаны в рабочей документации.
Значение испытательного давления на герметичность
Pг для проведения как предварительного, так и приемочного испытаний напорного трубопровода должно быть равным значению внутреннего расчетного давления
Pр плюс значение

, принимаемое в соответствии с
таблицей 8 в зависимости от верхнего предела измерения давления, класса точности и цены деления шкалы манометра. При этом значение
Pг не должно превышать значения приемочного испытательного давления трубопровода на прочность
Pи.
10.1.6 Напорные трубопроводы, независимо от способа испытания, следует испытывать при длине менее 1 км - за один прием; при большей длине - участками не более 1 км. При невозможности проведения гидравлического испытания трубопровода на длине менее 1 км и соответствующего обоснования в проекте допускается проведение испытания за один прием при длине более 1 км при условии, что значение допустимого расхода подкачанной воды на испытуемый участок трубопровода должно определяться как для участка длиной 1 км. Длину испытательных участков этих трубопроводов при гидравлическом способе испытания разрешается принимать свыше 1 км при условии, что значение допустимого расхода подкачанной воды должно определяться как для участка длиной 1 км.
(в ред.
Изменения N 1, утв. Приказом Минстроя России от 21.12.2023 N 960/пр)
Значение внутреннего расчетного давления в трубопроводе Pр, МПа |  для различных значений внутреннего расчетного давления Pр в трубопроводе |
верхний предел измерения давления, МПа | цена деления, МПа |  , МПа | верхний предел измерения давления, МПа | цена деления, МПа |  , МПа | верхний предел измерения давления, МПа | цена деления, МПа |  , МПа | верхний предел измерения давления, МПа | цена деления, МПа |  , МПа |
Для манометров класса точности |
0,4 | 0,6 | 1 | 1,5 |
До 0,4 | 0,6 | 0,002 | 0,02 | 0,6 | 0,005 | 0,03 | 0,6 | 0,005 | 0,05 | 0,6 | 0,01 | 0,07 |
От 0,41 до 0,75 | 1 | 0,005 | 0,04 | 1,6 | 0,01 | 0,07 | 1,6 | 0,01 | 0,1 | 1,6 | 0,02 | 0,14 |
От 0,76 до 1,2 | 1,6 | 0,005 | 0,05 | 1,6 | 0,01 | 0,09 | 2,5 | 0,02 | 0,14 | 2,5 | 0,05 | 0,25 |
От 1,21 до 2,0 | 2,5 | 0,01 | 0,1 | 2,5 | 0,02 | 0,14 | 4 | 0,05 | 0,25 | 4 | 0,1 | 0,5 |
От 2,01 до 2,5 | 4 | 0,02 | 0,14 | 4 | 0,05 | 0,25 | 4 | 0,05 | 0,3 | 6 | 0,1 | 0,5 |
От 2,51 до 3,0 | 4 | 0,02 | 0,16 | 4 | 0,05 | 0,25 | 6 | 0,05 | 0,35 | 6 | 0,1 | 0,6 |
От 3,01 до 4,0 | 6 | 0,02 | 0,2 | 6 | 0,05 | 0,3 | 6 | 0,05 | 0,45 | 6 | 0,1 | 0,7 |
От 4,01 до 5,0 | 6 | 0,2 | 0,24 | 6 | 0,05 | 0,4 | 10 | 0,1 | 0,6 | 10 | 0,2 | 1 |
Абзац исключен с 22.01.2024. -
Изменение N 1, утв. Приказом Минстроя России от 21.12.2023 N 960/пр.
10.1.7 При отсутствии в проекте указаний значение гидравлического испытательного давления Pи для выполнения предварительного испытания напорных трубопроводов на прочность принимается в соответствии с таблицей 9.
Таблица 9
Характеристика трубопровода | Значение испытательного давления при предварительном испытании, МПа |
1 Стальной 1-го класса <*> со стыковыми соединениями на сварке (в том числе подводный) с внутренним расчетным давлением Pр до 0,75 МПа | 1,5 |
2 То же, от 0,75 до 2,5 МПа | Внутреннее расчетное давление с коэффициентом 2, но не более заводского испытательного давления труб |
3 То же, св. 2,5 МПа | Внутреннее расчетное давление с коэффициентом 1,5, но не более заводского испытательного давления труб |
4 Стальной, состоящий из отдельных секций, соединяемых на фланцах, с внутренним расчетным давлением Pр до 0,5 МПа | 0,6 |
5 Стальной 2- и 3-го классов со стыковыми соединениями на сварке и с внутренним расчетным давлением Pр до 0,75 МПа | 1,0 |
6 То же, от 0,75 до 2,5 МПа | Внутреннее расчетное давление с коэффициентом 1,5, но не более заводского испытательного давления труб |
7 То же, св. 2,5 МПа | Внутреннее расчетное давление с коэффициентом 1,25, но не более заводского испытательного давления труб |
8 Стальной самотечный водовод водозабора или канализационный выпуск | Устанавливается проектом |
9 Чугунный со стыковыми соединениями под зачеканку (для труб всех классов) с внутренним расчетным давлением до 1 МПа | Внутреннее расчетное давление плюс 0,5, но не менее 1 и не более 1,5 |
(в ред. Изменения N 1, утв. Приказом Минстроя России от 21.12.2023 N 960/пр) |
10 То же, со стыковыми соединениями на резиновых манжетах для труб всех классов | Внутреннее расчетное давление с коэффициентом 1,5, но не менее 1,5 и не более 0,6 заводского испытательного гидравлического давления |
11 Железобетонный | Внутреннее расчетное давление с коэффициентом 1,3, но не более заводского испытательного давления на водонепроницаемость |
12 Хризотилцементный | Внутреннее расчетное давление с коэффициентом 1,3, но не более 0,6 заводского испытательного давления на водонепроницаемость |
13 Полимерный | Внутреннее расчетное давление с коэффициентом 1,3 |
(в ред. Изменения N 1, утв. Приказом Минстроя России от 21.12.2023 N 960/пр) |
14 Стеклокомпозитный | Внутреннее расчетное давление с коэффициентом 1,5 и не более 1,5 номинального давления трубы |
|
10.1.8 До проведения предварительного и приемочного испытаний напорных трубопроводов должны быть:
- закончены все работы по заделке стыковых соединений, устройству упоров, монтажу соединительных частей и арматуры, получены удовлетворительные результаты контроля качества сварки и изоляции стальных трубопроводов;
- установлены фланцевые заглушки на отводах взамен гидрантов, вантузов, предохранительных клапанов и в местах присоединения к эксплуатируемым трубопроводам;
- подготовлены средства наполнения, опрессовки и опорожнения испытуемого участка, смонтированы временные коммуникации и установлены приборы и краны, необходимые для проведения испытаний;
- осушены и провентилированы колодцы для производства подготовительных работ, организовано дежурство на границе участков охранной зоны;
- заполнен водой испытуемый участок трубопровода (при гидравлическом способе испытания - из него удален воздух.
Порядок проведения гидравлического испытания напорных трубопроводов на прочность и герметичность приведен в
приложении Г.
10.1.9 Для проведения испытания трубопровода ответственному исполнителю работ должен быть выдан наряд-допуск на производство работ повышенной опасности с указанием в нем размеров охранной зоны. Форма наряда-допуска и порядок его выдачи должны соответствовать
[1].
10.1.10 Для измерения гидравлического давления при проведении предварительного и приемочного испытаний трубопроводов на прочность и герметичность следует применять аттестованные в установленном порядке манометры по
ГОСТ 2405 класса точности не ниже 1,5 с диаметром корпуса не менее 160 мм и со шкалой на номинальное давление около 4/3 испытательного
Pи.
Для измерения объема воды, подкачиваемой в трубопровод и выпускаемой из него при проведении испытания, следует применять мерные бачки или счетчики холодной воды (водомеры) по
ГОСТ 6019, аттестованные в установленном порядке.
10.1.11 Интенсивность заполнения испытуемого трубопровода водой должна быть, не более:
- от 4 до 5 м3/ч - для трубопроводов диаметром до 400 мм;
- от 6 до 10 м3/ч - для трубопроводов диаметром от 400 до 600 мм;
- от 10 до 15 м3/ч - для трубопроводов диаметром от 700 до 1000 мм;
- от 15 до 20 м3/ч - для трубопроводов диаметром свыше 1100 мм.
При заполнении трубопровода водой воздух должен быть удален через открытые краны и задвижки.
10.1.12 Приемочное гидравлическое испытание напорного трубопровода допускается начинать после засыпки его грунтом в соответствии с
СП 45.13330 и заполнения водой для водонасыщения, и если при этом он был выдержан в заполненном состоянии не менее:
- 72 ч - для железобетонных труб (в том числе 12 ч под внутренним расчетным давлением Pр);
- 24 ч - для хризотилцементных труб (в том числе 12 ч под внутренним расчетным давлением Pр);
- 24 ч - для чугунных труб.
Для стальных, полиэтиленовых, стеклокомпозитных и полимерных (из ориентированного непластифицированного поливинилхлорида) трубопроводов выдержка для водонасыщения не проводится.
(в ред.
Изменения N 1, утв. Приказом Минстроя России от 21.12.2023 N 960/пр)
Если трубопровод был заполнен водой до засыпки грунтом, то указанная продолжительность водонасыщения устанавливается с момента засыпки трубопровода.
10.1.13 Напорный трубопровод признается выдержавшим предварительное и приемочное гидравлическое испытания на герметичность, если значение расхода подкачанной воды не превышает указанного в таблице 10 значения допустимого расхода подкачанной воды на испытуемый участок длиной 1 км и более.
Внутренний диаметр трубопровода, мм | Значение допустимого расхода подкачанной воды на испытуемый участок трубопровода длиной 1 км и более, л/мин, при приемочном испытательном давлении для труб |
стальных | чугунных | хризотилцементных | железобетонных |
100 | 0,28 | 0,70 | 1,40 | - |
125 | 0,35 | 0,90 | 1,56 | - |
150 | 0,42 | 1,05 | 1,72 | - |
200 | 0,56 | 1,40 | 1,98 | 2,0 |
250 | 0,70 | 1,55 | 2,22 | 2,2 |
300 | 0,85 | 1,70 | 2,42 | 2,4 |
350 | 0,90 | 1,80 | 2,62 | 2,6 |
400 | 1,00 | 1,95 | 2,80 | 2,8 |
450 | 1,05 | 2,10 | 2,96 | 3,0 |
500 | 1,10 | 2,20 | 3,14 | 3,2 |
600 | 1,20 | 2,40 | - | 3,4 |
700 | 1,30 | 2,55 | - | 3,7 |
800 | 1,35 | 2,70 | - | 3,9 |
900 | 1,45 | 2,90 | - | 4,2 |
1000 | 1,50 | 3,00 | - | 4,4 |
1100 | 1,55 | - | - | 4,6 |
1200 | 1,65 | - | - | 4,8 |
1400 | 1,75 | - | - | 5,0 |
1600 | 1,85 | - | - | 5,2 |
1800 | 1,95 | - | - | 6,2 |
2000 | 2,10 | - | - | 6,9 |
Примечания 1 Для чугунных трубопроводов со стыковыми соединениями на резиновых уплотнителях допустимый расход подкачанной воды следует принимать с коэффициентом 0,7. 2 При длине испытуемого участка трубопровода менее 1 км, приведенные в таблице значения допустимого расхода подкачанной воды следует умножать на его длину, км; при длине свыше 1 км, допустимый расход подкачанной воды следует принимать как для 1 км. 3 Добавление воды при испытаниях полиэтиленовых труб со сварными соединениями и труб из ПВХ с клеевыми соединениями не требуется, так как такие соединения, при соблюдении технологии, являются герметичными. |
(примечание 3 в ред. Изменения N 1, утв. Приказом Минстроя России от 21.12.2023 N 960/пр) |
4 Для трубопроводов из ПВХ с соединениями на резиновых уплотнителях допустимый расход подкачанной воды следует принимать как для чугунных трубопроводов с такими же соединениями, эквивалентных по величине наружного диаметра, определяя этот расход интерполяцией. 5 Для трубопроводов из стеклокомпозитных труб с муфтовыми и раструбными соединениями допустимый расход подкачанной воды на испытуемом участке может зависеть от диаметра трубопровода, числа стыков, длины испытуемого участка, характера материала трубопровода, а также давления, при котором проводится испытание. Испытание должно проводиться в соответствии с внутренней документацией и инструкциями изготовителя труб. |
(в ред. Изменения N 1, утв. Приказом Минстроя России от 21.12.2023 N 960/пр) |
Если расход подкачанной воды превышает допустимый, то трубопровод признается не выдержавшим испытание и должны быть приняты меры к обнаружению и устранению скрытых дефектов трубопровода, после чего должно быть проведено повторное испытание трубопровода.
10.1.14 Особенности проведения гидравлических испытаний для стеклокомпозитных труб приведены в 10.1.14.1 -
10.1.14.4.
10.1.14.1 При гидравлических испытаниях стеклокомпозитных трубопроводов в полевых условиях с давлением в трубах ниже 1,6 МПа соединения трубопроводов должны быть засыпаны грунтом до верха, а трубопровод - на глубину минимальной засыпки.
10.1.14.2 При гидравлических испытаниях стеклокомпозитных трубопроводов в полевых условиях с давлением в трубах 1,6 МПа и более:
- для трубопроводов, проложенных по прямой линии, соединения должны быть засыпаны грунтом до верха, а трубопровод на глубину минимальной засыпки;
- для трубопроводов, проложенных с угловым отклонением, трубы должны быть засыпаны грунтом до проектной отметки.
10.1.14.3 Трубопровод считается выдержавшим испытания, если не наблюдается падения давления, фиксируемого по контрольному манометру. Если трубопровод не держит испытательного давления необходимо проверить:
- образование воздушных мешков;
- герметичность фланцевых соединений и мест установки запорно-регулирующей арматуры;
- провести испытания трубопровода меньшими участками для определения мест утечки.
10.1.14.4 Во время проведения гидравлических испытаний следует проверять испытуемый трубопровод не только при превышении допустимых пределов потерь, но и в случае нахождения ее в допустимых пределах. Также визуально проверяют поверхность грунта на наличие просачивания грунта или его провалов.
В местах просачивания воды на поверхность или в местах провалов необходимо производить шурфовку, проложенного трубопровода, для определения причин утечек воды с применением детектора утечек.
10.1.15 Значение испытательного давления при испытании трубопроводов пневматическим способом на прочность и герметичность при отсутствии в проекте данных следует принимать:
- 0,6 МПа - при предварительном и приемочном испытаниях стальных трубопроводов с расчетным внутренним давлением Pр до 0,5 МПа включительно;
- 1,15Pр - при предварительном и приемочном испытаниях стальных трубопроводов с расчетным внутренним давлением Pр от 0,5 до 1,6 МПа;
- 0,15 МПа - при предварительном и 0,6 МПа приемочном испытаниях чугунных, железобетонных и хризотилцементных трубопроводов независимо от значения расчетного внутреннего давления;
- до 0,1 МПа для стеклокомпозитных трубопроводов с муфтовыми соединениями при величине расчетного внутреннего давления. При испытаниях медленно повышают давление до 0,03 МПа и поддерживают не менее 5 мин для стабилизации температуры воздуха. Трубопровод считается выдержавшим испытание, если давление не упадет ниже 0,025 МПа. Максимально допустимое давление при испытаниях - 0,035 МПа.
Порядок пневматических испытаний напорных трубопроводов из полимерных материалов и требования безопасности при испытаниях устанавливают проектом.
(абзац введен
Изменением N 1, утв. Приказом Минстроя России от 21.12.2023 N 960/пр)
10.1.16 После наполнения стального трубопровода воздухом до начала его испытания следует произвести выравнивание температуры воздуха в трубопроводе и температуры грунта. Минимальное время выдержки в зависимости от диаметра трубопровода Dy:
- до 300 мм - 2 ч;
- от 300 до 600 мм - 4 ч;
- от 600 до 900 мм - 8 ч;
- от 900 до 1200 мм - 16 ч;
- от 1200 до 1400 мм - 24 ч;
- св. 1400 мм - 32 ч.
10.1.17 При проведении предварительного пневматического испытания на прочность трубопровод следует выдерживать под испытательным давлением в течение 30 мин. Для поддержания испытательного давления следует подкачивать воздух.
10.1.18 Осмотр трубопровода с целью выявления дефектных мест разрешается производить при снижении давления:
- до 0,3 МПа - в стальных трубопроводах;
- до 0,1 МПа - в чугунных, железобетонных и хризотилцементных.
При этом выявление неплотностей и других дефектов на трубопроводе следует производить по звуку просачивающегося воздуха и по пузырям, образующимся в местах утечек воздуха через стыковые соединения, покрытые снаружи мыльной эмульсией.
10.1.19 Дефекты, выявленные и отмеченные при осмотре трубопровода, следует устранить после снижения избыточного давления в трубопроводе до нуля. После устранения дефектов должно быть произведено повторное испытание трубопровода.
10.1.20 Трубопровод признается выдержавшим предварительное пневматическое испытание на прочность, если при его тщательном осмотре не будет обнаружено нарушения целостности трубопровода, дефектов в стыках и сварных соединениях.
10.1.21 Приемочное испытание трубопроводов пневматическим способом на прочность и герметичность должно выполняться в последовательности:
- давление в трубопроводе следует довести до значения испытательного давления на прочность, указанного в
10.1.15, и под этим давлением трубопровод выдержать в течение 30 мин; если нарушения целостности трубопровода под испытательным давлением не произойдет, то давление в трубопроводе снизить до 0,05 МПа и трубопровод выдержать под этим давлением 24 ч;
- после окончания срока выдержки трубопровода под давлением 0,05 МПа устанавливается давление, равное 0,03 МПа, - начальное испытательное давление трубопровода на герметичность Pн, отмечается время начала испытания на герметичность и барометрическое давление Pбн, мм рт. ст., соответствующее моменту начала испытания;
- трубопровод выдерживают под этим давлением в течение времени, указанного в
таблице 11;
- по истечении времени, указанного в
таблице 11, измеряют конечное давление в трубопроводе
Pк, мм вод. ст., и конечное барометрическое давление
Pбк, мм рт. ст.;
- значение падения давления P, мм вод. ст., определяют по формуле

(1)
При использовании в манометре в качестве рабочей жидкости воды

, керосина

.
Примечание - По согласованию с проектной организацией продолжительность снижения давления допускается уменьшать в два раза, но не менее чем до 1 ч; при этом значение падения давления следует принимать в пропорционально уменьшенном размере.
Внутренний диаметр труб, мм | Трубопроводы |
стальные | чугунные | хризотилцементные и железобетонные |
продолжительность испытания, ч-мин | допустимое значение падения давления за время испытания, мм вод. ст. | продолжительность испытания, ч-мин | допустимое значение падения давления за время испытания, мм вод. ст. | продолжительность испытания, ч-мин | допустимое значение падения давления за время испытания, мм вод. ст. |
100 | 0-30 | 55 | 0-15 | 65 | 0-15 | 130 |
125 | 0-30 | 45 | 0-15 | 55 | 0-15 | 110 |
150 | 1-00 | 75 | 0-15 | 50 | 0-15 | 100 |
200 | 1-00 | 55 | 0-30 | 65 | 0-30 | 130 |
250 | 1-00 | 45 | 0-30 | 50 | 0-30 | 100 |
300 | 2-00 | 75 | 1-00 | 70 | 1-00 | 140 |
350 | 2-00 | 55 | 1-00 | 55 | 1-00 | 110 |
400 | 2-00 | 45 | 1-00 | 50 | 2-00 | 100 |
450 | 4-00 | 80 | 2-00 | 80 | 3-00 | 160 |
500 | 4-00 | 75 | 2-00 | 70 | 3-00 | 140 |
600 | 4-00 | 50 | 2-00 | 55 | 3-00 | 110 |
700 | 6-00 | 60 | 3-00 | 65 | 5-00 | 130 |
800 | 6-00 | 50 | 3-00 | 45 | 5-00 | 90 |
900 | 6-00 | 40 | 4-00 | 55 | 6-00 | 110 |
1000 | 12-00 | 70 | 4-00 | 50 | 6-00 | 100 |
1200 | 12-00 | 50 | - | - | - | - |
Примечания 1 Допустимое значение падения давления за время испытания и продолжительность испытания для стеклокомпозитных и полимерных труб определяются в соответствии с технической документацией и инструкциями изготовителя труб. 2 Продолжительность проведения испытания и допустимую величину падения давления для полимерных трубопроводов следует определять в соответствии с инструкциями изготовителя труб. |
(примечания в ред. Изменения N 1, утв. Приказом Минстроя России от 21.12.2023 N 960/пр) |
10.1.22 Трубопровод признается выдержавшим приемочное (окончательное) пневматическое испытание, если не нарушена его целостность и значение падения давления
P, определенное по
формуле (1), не превышает значений, указанных в
таблице 11. При этом допускается образование пузырьков воздуха на наружной смоченной поверхности железобетонных напорных труб.
10.2 Безнапорные трубопроводы
10.2.1 Безнапорный трубопровод следует испытывать на герметичность дважды: предварительное испытание - до засыпки и приемочное испытание (окончательное) после засыпки одним из следующих способов:
- определение объема воды, добавляемой в трубопровод, проложенный в сухих грунтах и мокрых грунтах, когда уровень (горизонт) грунтовых вод у верхнего колодца расположен ниже поверхности земли более чем на половину глубины заложения труб, считая от люка до шелыги;
- определение притока воды в трубопровод, проложенный в мокрых грунтах, когда уровень (горизонт) грунтовых вод у верхнего колодца расположен ниже поверхности земли менее чем на половину глубины заложения труб, считая от люка до шелыги. Способ испытания трубопровода устанавливается проектом.
10.2.2 Колодцы безнапорных трубопроводов с гидроизоляцией с внутренней стороны следует испытывать на герметичность путем определения объема добавляемой воды, а колодцы с гидроизоляцией с наружной стороны - путем определения притока воды в них. После монтажа на колодцах не допускается подтеков. Отверстия для врезки в колодцы следует осуществлять только с помощью алмазного бурения. Применение водопроницаемых колодцев не допускается.
Все виды колодцев должны быть герметичны, если иное не обосновано проектом.
(п. 10.2.2 в ред.
Изменения N 1, утв. Приказом Минстроя России от 21.12.2023 N 960/пр)
10.2.3 Испытанию безнапорных трубопроводов на герметичность следует подвергать участки между смежными колодцами.
При затруднениях с доставкой воды, обоснованных в проекте, испытание безнапорных трубопроводов допускается производить выборочно (по указанию заказчика): двух-трех участков - при общей протяженности трубопровода до 5 км; нескольких участков общей протяженностью не менее 30% - при протяженности трубопровода свыше 5 км.
Если результаты выборочного испытания участка трубопровода окажутся неудовлетворительными, то испытанию подлежат все участки трубопровода.
10.2.4 Гидростатическое давление в трубопроводе при его предварительном испытании должно создаваться заполнением водой стояка, установленного в верхней его точке, или наполнением водой верхнего колодца, если последний подлежит испытанию. При этом значение гидростатического давления в верхней точке трубопровода определяется по значению превышения уровня воды в стояке или колодце над шелыгой трубопровода или над горизонтом грунтовых вод, если последний расположен выше шелыги. Значение гидростатического давления в трубопроводе при его испытании должно быть указано в рабочей документации. Для трубопроводов, прокладываемых из безнапорных бетонных, железобетонных и керамических труб, это значение, если иное не предусмотрено проектом, должно быть равно 0,04 МПа.
(в ред.
Изменения N 1, утв. Приказом Минстроя России от 21.12.2023 N 960/пр)
Для безнапорных стеклокомпозитных трубопроводов испытательное давление должно быть не менее 1,2Pгид (Pгид - гидростатическое давление) над верхом трубы или уровнем грунтовых вод, - берется большее из значений в самой высокой точке, и не более 6 м напора в самой низкой точке испытуемого участка.
Наполняют стеклокомпозитный трубопровод водой, выдерживают не менее 2 ч для стабилизации, после чего восстанавливают исходный уровень воды. Затем добавляют воду из измерительного сосуда с интервалом 5 мин в течение 30 мин и отмечают количество, необходимое для поддержания исходного уровня воды.
10.2.5 Предварительное испытание трубопроводов на герметичность проводят при не присыпанном землей трубопроводе в течение 30 мин. Значение испытательного давления необходимо поддерживать добавлением воды в стояк или в колодец, не допуская снижения уровня воды в них более чем на 5 см.
(п. 10.2.5 в ред.
Изменения N 1, утв. Приказом Минстроя России от 21.12.2023 N 960/пр)
10.2.6 Приемочное испытание на герметичность следует начинать после выдержки в заполненном водой состоянии железобетонного трубопровода и колодцев, с гидроизоляцией с внутренней стороны или водонепроницаемыми стенками по проекту, - в течение 72 ч и трубопроводов и колодцев из других материалов - 24 ч.
10.2.7 Герметичность при приемочном испытании засыпанного трубопровода определяется одним из следующих способов:
- по измеряемому в верхнем колодце объему добавляемой в стояк или колодец воды в течение 30 мин; при этом понижение уровня воды в стояке или в колодце допускается не более чем на 5 см;
(в ред.
Изменения N 1, утв. Приказом Минстроя России от 21.12.2023 N 960/пр)
- по измеряемому в нижнем колодце объему притекающей в трубопровод грунтовой воды, если это обосновано проектом.
(в ред.
Изменения N 1, утв. Приказом Минстроя России от 21.12.2023 N 960/пр)
Трубопровод признается выдержавшим приемочное испытание на герметичность, если определенные при испытании значения объемов добавленной воды по первому способу (приток грунтовой воды по второму способу) не более указанных в таблице 12, о чем должен быть составлен акт по форме, приведенной в
приложении Д.
Номинальный диаметр трубопровода DN | Значение допустимого объема добавленной в трубопровод воды (приток воды) на 10 м длины испытуемого трубопровода за время испытания 30 мин, л, для труб |
железобетонных и бетонных | керамических | хризотилцементных |
100 | 1,0 | 1,0 | 0,3 |
150 | 1,4 | 1,4 | 0,5 |
200 | 4,2 | 2,4 | 1,4 |
250 | 5,0 | 3,0 | - |
300 | 5,4 | 3,6 | 1,8 |
350 | 6,2 | 4,0 | - |
400 | 6,7 | 4,2 | 2,2 |
450 | - | 4,4 | - |
500 | 7,5 | 4,6 | - |
550 | - | 4,8 | - |
600 | 8,3 | 5,0 | - |
Примечания 1 При увеличении продолжительности испытания более 30 мин значение допустимого объема добавленной воды (притока воды) следует увеличивать пропорционально увеличению продолжительности испытания. 2 Значение допустимого объема добавленной воды (притока воды) q, л, в железобетонный трубопровод диаметром свыше 600 мм на 10 м длины трубопровода за время испытания 30 мин определяют по формуле q = 0,83(D + 4), где D - внутренний диаметр трубопровода, дм. 3 Для железобетонных трубопроводов со стыковыми соединениями на резиновых уплотнителях допустимый объем добавленной воды (приток воды) следует принимать с коэффициентом 0,7. 4 Значение допустимого объема добавленной воды (притока воды) через стенки и днище колодца на 1 м его глубины следует принимать равным допустимому объему добавленной воды (притоку воды) на 1 м длины труб, диаметр которых равновелик по площади внутреннему диаметру колодца. 5 Значение допустимого объема добавленной воды (приток воды) в трубопровод, сооружаемый из сборных железобетонных элементов и блоков, следует принимать таким же, как для трубопроводов из железобетонных труб, равновеликих им по площади поперечного сечения. 6 Добавление воды при испытаниях полиэтиленовых труб со сварными соединениями и труб из ПВХ с клеевыми соединениями не требуется, так как такие соединения, при соблюдении технологии монтажа, являются герметичными. |
(примечание 6 в ред. Изменения N 1, утв. Приказом Минстроя России от 21.12.2023 N 960/пр) |
7 Значение допустимого объема добавленной в трубопровод воды (приток воды) q, л, на 10 м длины испытуемого трубопровода за время испытания 30 мин для труб и ПВХ с соединениями на резиновой манжете следует определять по формуле q = 0,06 + 0,01D, где D - наружный диаметр трубопровода, дм. 8 Значение допустимого объема добавленной в стеклокомпозитный трубопровод воды (приток воды) за 30 мин должен быть меньше 0,5 л/м трубопровода на метр номинального диаметра. |
10.2.8 Трубопроводы дождевой канализации подлежат предварительному и приемочному испытанию на герметичность в соответствии с требованиями настоящего подраздела, если это предусмотрено проектом.
10.2.9 Трубопроводы из безнапорных железобетонных раструбных, фальцевых и с гладкими концами труб диаметром более 1600 мм, предназначенные по проекту для трубопроводов, постоянно или периодически работающих под давлением до 0,05 МПа, с выполненной в соответствии с проектом специальной водонепроницаемой наружной или внутренней обделкой, подлежат гидравлическому испытанию давлением, определенным в проекте.
10.3 Емкостные сооружения
10.3.1 Гидравлическое испытание на водонепроницаемость (герметичность) емкостных сооружений необходимо производить после достижения бетоном проектной прочности, их очистки и промывки.
Устройство гидроизоляции и обсыпку грунтом емкостных сооружений следует выполнять после получения удовлетворительных результатов гидравлического испытания этих сооружений, если другие требования не обоснованы проектом.
10.3.2 До проведения гидравлического испытания емкостное сооружение следует наполнить водой в два этапа:
- наполнение на высоту 1 м с выдержкой в течение суток;
- наполнение до проектной отметки.
Емкостное сооружение, наполненное водой до проектной отметки, следует выдержать не менее трех суток.
10.3.3 Емкостное сооружение признается выдержавшим гидравлическое испытание, если убыль воды в нем за сутки не превышает 3 л на 1 м2 смоченной поверхности стен и днища, в швах и стенках не обнаружено признаков течи и не установлено увлажнения грунта в основании. Допускается только потемнение и слабое отпотевание отдельных мест.
При испытании на водонепроницаемость емкостных сооружений убыль воды на испарение с открытой водной поверхности должна учитываться дополнительно.
10.3.4 При наличии струйных утечек и подтеков воды на стенах или увлажнении грунта в основании емкостное сооружение считается не выдержавшим испытания, даже если потери воды в нем не превышают нормативных. В этом случае после измерения потерь воды из сооружения при полном заливе должны быть зафиксированы места, подлежащие ремонту.
После устранения выявленных дефектов должно быть произведено повторное испытание емкостного сооружения.
10.3.5 При испытании резервуаров и емкостей для хранения агрессивных жидкостей утечка воды не допускается. Испытание следует производить до нанесения антикоррозионного покрытия.
10.3.6 Напорные каналы фильтров и контактных осветлителей (сборные и монолитные железобетонные) подвергаются гидравлическому испытанию расчетным давлением, указанным в рабочей документации.
10.3.7 Напорные каналы фильтров и контактных осветлителей признаются выдержавшими гидравлическое испытание, если при визуальном осмотре в боковых стенках фильтров и над каналом не обнаружено течи воды и если в течение 10 мин значение испытательного давления не снизится более чем на 0,002 МПа.
10.3.8 Водосборный резервуар градирен должен быть водонепроницаемым и при гидравлическом испытании этого резервуара на внутренней поверхности его стен не допускается потемнения или слабого отпотевания отдельных мест.
10.3.9 Резервуары питьевой воды, отстойники и другие емкостные сооружения после устройства перекрытий подлежат гидравлическому испытанию на водонепроницаемость в соответствии с
10.3.1 -
10.3.4.
Резервуар питьевой воды до устройства гидроизоляции и засыпки грунтом подлежит дополнительному испытанию на вакуум и избыточное давление соответственно вакуумметрическим и избыточным давлениями воздуха в размере 0,0008 МПа (80 мм вод. ст.) в течение 30 мин и признается выдержавшим испытание, если значения соответственно вакуумметрического и избыточного давлений за 30 мин не снизятся более чем на 0,0002 МПа (20 мм вод. ст.), если другие требования не обоснованы проектом.
10.3.10 Метантенк (цилиндрическую часть) следует подвергать гидравлическому испытанию согласно требованиям
10.3.1 -
10.3.4, а перекрытие, металлический газовый колпак (газосборник) следует испытывать на герметичность (газонепроницаемость) пневматическим способом на давление 0,005 МПа (500 мм вод. ст.).
Метантенк выдерживается под испытательным давлением не менее 24 ч. При обнаружении дефектных мест они должны быть устранены, после чего сооружение должно быть испытано на падение давления в течение дополнительных 8 ч. Метантенк признается выдержавшим испытание на герметичность, если давление в нем за 8 ч не снизится более чем на 0,001 МПа (100 мм вод. ст.).
10.3.11 Колпачки дренажно-распределительной системы фильтров после их установки до загрузки фильтров следует подвергать испытанию путем подачи воды интенсивностью от 5 до 8 л/(с·м2) и воздуха интенсивностью 20 л/(с·м2) трехкратной повторяемостью от 8 до 10 мин. Обнаруженные при этом дефектные колпачки подлежат замене.
10.3.12 Законченные строительством трубопроводы и сооружения хозяйственно-питьевого водоснабжения перед приемкой в эксплуатацию подлежат промывке (очистке) и дезинфекции хлорированием
[2] с последующей промывкой до получения удовлетворительных контрольных физико-химических и бактериологических анализов воды, соответствующих требованиям
ГОСТ Р 51232.
10.3.13 Промывка и дезинфекция трубопроводов и сооружений хозяйственно-питьевого водоснабжения должны производиться строительно-монтажной организацией, выполнявшей работы по прокладке и монтажу этих трубопроводов и сооружений, при участии представителей заказчика и эксплуатационной организации при контроле, осуществляемом представителями санитарно-эпидемиологической службы. Порядок проведения промывки и дезинфекции трубопроводов и сооружений хозяйственно-питьевого водоснабжения приведен в
приложении А.
10.3.14 О результатах произведенной промывки и дезинфекции трубопроводов и сооружений хозяйственно-питьевого водоснабжения должен быть составлен акт по форме в соответствии с
приложением Е.
Результаты испытаний емкостных сооружений следует оформить актом, подписываемым представителями строительно-монтажной организации, заказчика и эксплуатационной организации.
10.4 Дополнительные требования к испытанию напорных трубопроводов и сооружений водоснабжения и канализации, строящихся в особых природных и климатических условиях
10.4.1 Напорные трубопроводы водоснабжения и канализации, сооружаемые в условиях просадочных грунтов всех типов вне территории промышленных площадок и населенных пунктов, испытываются участками длиной не более 500 м; на территории промышленных площадок и населенных пунктов длину испытательных участков следует назначать с учетом местных условий, но не более 300 м.
10.4.2 Проверка водонепроницаемости емкостных сооружений, построенных на просадочных грунтах всех типов, должна производиться по истечении 5 сут после их заполнения водой, при этом убыль воды за сутки не должна превышать 2 л на 1 м2 смоченной поверхности стен и днища.
При обнаружении течи вода из сооружений должна выпускаться и отводиться в места, определенные проектом, исключающие подтопление застроенной территории.
10.4.3 Гидравлическое испытание трубопроводов и емкостных сооружений, возводимых в районах распространения многолетнемерзлых грунтов, следует производить при температуре наружного воздуха не ниже 0 °C, если другие условия испытания не обоснованы проектом.
(п. 10.4.3 в ред.
Изменения N 1, утв. Приказом Минстроя России от 21.12.2023 N 960/пр)
11 Монтаж систем вакуумной канализации
(раздел 11 введен
Изменением N 1, утв. Приказом Минстроя России от 21.12.2023 N 960/пр)
11.1 Наружная вакуумная канализация предназначена для отведения хозяйственно-бытовых сточных вод от малоэтажных жилых зданий до очистных сооружений в районах, где не представляется возможным либо экономически целесообразным строительство наружной самотечной канализации (например, при заиливании сетей при невозможности обеспечить скорости самоочистки, при наличии препятствий на пути прохождения трассы канализации, неблагоприятных геологических и иных условий).
11.2 При производстве монтажа системы вакуумной канализации не допускается отклонение от профиля сети в соответствии с проектом (включая случаи применения горизонтального направленного бурения).
11.3 Вакуумное оборудование необходимо устанавливать в герметичные колодцы с герметичными вводами для исключения поступления и последующего перекачивания грунтовых вод.
11.4 Всасывающий патрубок в приемном колодце необходимо располагать на высоте не более 5 см от дна колодца для избегания попадания крупного мусора в систему.
11.5 Приемные колодцы следует располагать на территории эксплуатирующей компании, если иное не предусмотрено проектом.
11.6 В случае применения систем с установкой трубок сапуна необходимо делать ограждение вокруг них, во избежание их выхода из строя или поломки в результате уборки снега, парковки или вандального воздействия. В случае применения систем с трубкой сапуна на подтопляемых территориях, высоту воздухозаборных трубок сапуна необходимо выбирать исходя из максимального (по результатам наблюдений) уровня подъема воды.
11.7 В случае использования системы наружной вакуумной канализации с применением мембранного датчика наполнения приемного колодца следует выполнять крышки люков в теплоизолированном исполнении.
11.8 Блок интерфейсного оборудования в сборной камере состоит из вакуумного клапана, активатора вакуумного клапана - прибора, управляющего вакуумным клапаном, может содержать датчик переполнения колодца, датчик положения вакуумного клапана и байпасную линию принудительного сброса.
11.9 Люки приемного колодца, во избежание повреждения, должны быть стандартными, соответствовать
ГОСТ 3634 и быть оборудованными запорным устройством.
11.10 Скорость транспортирования бытовых сточных вод в резервуар насосной станции составляет 36 м/с.
11.11 Присоединение вакуумного трубопровода от сборной камеры к магистрали выполняется под углом от 30° до 90°. Вакуумный трубопровод присоединяют непосредственно к вакуумному резервуару вакуумной насосной станции, в котором поддерживается разрежение от 25 до 75 кПа.
11.12 Уровень заполнения бытовыми стоками в вакуумном резервуаре насосной станции регулируется с помощью перекачивающих канализационных насосов. Когда уровень стоков в резервуаре достигает заданного уровня, автоматически подключаются канализационные насосы, и бытовые стоки удаляются на очистные сооружения. В вакуумном резервуаре вакуумной насосной станции с помощью вакуумных насосов поддерживается требуемое для эксплуатации разрежение от 25 до 75 кПа.
11.13 Монтаж системы наружной вакуумной канализации выполняют при температуре наружного воздуха не ниже указанной в сопроводительной документации на продукцию.
11.14 В проложенных вакуумных трубопроводах протяженностью не более 450 м после промывки создается разрежение (70 +/- 5) кПа, которое стабилизируется в течение 30 мин, а затем в течение 2 ч не должно падать более чем на 1% в час от первоначального значения созданного разрежения. Соединение трубопровода с вакуумной станцией во время проведения испытания перекрывается.
11.15 По завершении испытаний трубопровода участками проводят испытание всей вакуумной системы в целом. При этом в системе создается разрежение (70 +/- 5) кПа, которое стабилизируется в течение 30 мин, а затем на протяжении 1 ч испытаний не должно падать более чем на 5% в час от величины созданного разрежения. Результаты испытаний оформляются протоколом о проведенных испытаниях.
11.16 Построенную систему наружной вакуумной канализации испытывают на работоспособность в соответствии с проектом производства работ, нормативными документами на применяемые материалы и изделия, содержащими технические, эксплуатационные и прочностные характеристики.
ПОРЯДОК ПРОВЕДЕНИЯ ПРОМЫВКИ И ДЕЗИНФЕКЦИИ ТРУБОПРОВОДОВ
И СООРУЖЕНИЙ ХОЗЯЙСТВЕННО-ПИТЬЕВОГО ВОДОСНАБЖЕНИЯ
А.1 Для дезинфекции трубопроводов и сооружений хозяйственно-питьевого водоснабжения допускается применять следующие хлорсодержащие реагенты, разрешенные Министерством здравоохранения Российской Федерации:
- жидкие реагенты - гипохлорит натрия (хлорноватистокислый натрий) марок А и Б по
ГОСТ 11086; электролитический гипохлорит натрия и жидкий хлор по
ГОСТ 6718.
А.2 Очистку полости и промывку трубопровода для удаления оставшихся загрязнений и случайных предметов следует выполнять перед проведением гидравлического испытания путем водовоздушной (гидропневматической) промывки или гидромеханическим способом с помощью эластичных очистных поршней (поролоновых и др.), или только водой, или иным способом, указанным в проекте.
(п. А.2 в ред.
Изменения N 1, утв. Приказом Минстроя России от 21.12.2023 N 960/пр)
А.3 Скорость движения эластичного поршня при гидромеханической промывке следует принимать в пределах от 0,3 до 1,0 м/с при внутреннем давлении в трубопроводе около 0,1 МПа.
Очистные поролоновые поршни следует применять диаметром от 1,2 до 1,3 диаметра трубопровода, длиной от 1,5 до 2,0 диаметра трубопровода только на прямых участках трубопровода с плавными поворотами, не превышающими 15°, при отсутствии выступающих во внутрь трубопровода концов присоединенных к нему трубопроводов или других деталей, при полностью открытых задвижках на трубопроводе. Диаметр выпускного трубопровода следует принимать на один сортамент меньше диаметра промываемого трубопровода.
А.4 Гидропневматическую промывку следует осуществлять подачей по трубопроводу вместе с водой сжатого воздуха в количестве не менее 50% расхода воды. Воздух следует вводить в трубопровод под давлением, превышающим внутреннее давление в трубопроводе от 0,05 до 0,15 МПа. Скорость движения водовоздушной смеси принимается от 2,0 до 3,0 м/с.
А.5 Длина промываемых участков трубопроводов, а также места введения в трубопровод воды и поршня и порядок проведения работ должны быть определены в проекте производства работ, включающем рабочую схему, план трассы, профиль и деталировку колодцев.
Длину участка трубопровода для проведения хлорирования следует назначать, если иное не предусмотрено проектом, от 1 до 2 км.
(в ред.
Изменения N 1, утв. Приказом Минстроя России от 21.12.2023 N 960/пр)
А.6 После очистки и промывки трубопровод подлежит дезинфекции хлорированием при концентрации активного хлора от 75 до 100 мг/л (г/м
3) с временем контакта хлорной воды в трубопроводе от 5 до 6 ч или при концентрации от 40 до 50 мг/л (г/м
3) со временем контакта не менее 24 ч. Концентрация активного хлора назначается в зависимости от степени загрязненности трубопровода.
А.7 Перед хлорированием следует выполнить следующие подготовительные работы:
- осуществить монтаж необходимых коммуникаций по введению раствора хлорной извести (хлора) и воды, выпуска воздуха, стояков для отбора проб (с выведением их выше уровня земли), монтаж трубопроводов для сброса и отведения хлорной воды (с обеспечением мер безопасности); подготовить рабочую схему хлорирования (план трассы, профиль и деталировку трубопровода с нанесением перечисленных коммуникаций), а также график проведения работ;
- определить и подготовить необходимое количество хлорной извести (хлора) T, кг, с учетом 5% на потери и с учетом процентного содержания в товарном продукте активного хлора, объема хлорируемого участка трубопровода с принятой концентрацией (дозой) активного хлора в растворе по формуле

(А.1)
где D и l - соответственно диаметр и длина трубопровода, м;
K - принятая концентрация (доза) активного хлора, г/м3 (мг/л);
A - процентное содержание активного хлора в товарном продукте, %.
Пример - Для хлорирования дозой 40 г/м3 участка трубопровода диаметром 400 мм, длиной 1000 м с применением хлорной извести, содержащей 18% активного хлора, потребуется товарной массы хлорной извести в количестве 29,2 кг.
А.8 Для осуществления контроля за содержанием активного хлора по длине трубопровода в процессе его заполнения хлорной водой через каждые 500 м следует устанавливать временные пробоотборные стояки с запорной арматурой, выводимые выше поверхности земли, которые также применяют для выпуска воздуха по мере заполнения трубопровода. Их диаметр принимается по расчету, но не менее 100 мм.
А.9 Введение хлорного раствора в трубопровод следует продолжать до тех пор, пока в точках, наиболее удаленных от места подачи хлорной извести, станет вытекать вода с содержанием активного (остаточного) хлора не менее 50% заданного. С этого момента дальнейшую подачу хлорного раствора необходимо прекратить, оставляя трубопровод заполненным хлорным раствором в течение расчетного времени контакта, указанного в
А.6.
А.10 После окончания контакта хлорную воду следует сбросить в места, указанные в проекте, и трубопровод промыть чистой водой до тех пор, пока содержание остаточного хлора в промывной воде не снизится до от 0,3 до 0,5 мг/л. Для хлорирования последующих участков трубопровода хлорную воду допускается применять повторно. После окончания дезинфекции сбрасываемую из трубопровода хлорную воду необходимо разбавлять водой до концентрации активного хлора от 2 до 3 мг/л или дехлорировать путем введения гипосульфита натрия в количестве 3,5 мг на 1 мг активного остаточного хлора в растворе.
Места и условия сброса хлорной воды и порядок осуществления контроля ее отвода должны быть согласованы с местными органами санитарно-эпидемиологической службы.
А.11 В местах присоединений (врезок) вновь построенного трубопровода к действующей сети следует осуществлять местную дезинфекцию фасонных частей и арматуры раствором хлорной извести.
А.12 Дезинфекция водозаборных скважин перед сдачей их в эксплуатацию выполняется в тех случаях, когда после их промывки качество воды по бактериологическим показателям не соответствует
ГОСТ Р 51232.
Дезинфекция проводится в два этапа: сначала надводной части скважины, затем - подводной. Для обеззараживания надводной части в скважине выше кровли водоносного горизонта необходимо установить пневматическую пробку, выше которой скважину заполнить раствором хлорной извести или другого хлорсодержащего реагента с концентрацией активного хлора 50 - 100 мг/л в зависимости от степени предполагаемого загрязнения. Через 3 - 6 ч контакта следует пробку извлечь и с помощью специального смесителя ввести хлорный раствор в подводную часть скважины с таким расчетом, чтобы концентрация активного хлора после смешения с водой была не менее 50 мг/л. Через 3 - 6 ч контакта произвести откачку до исчезновения в воде заметного запаха хлора, после чего отобрать пробы воды для контрольного бактериологического анализа.
Примечание - Расчетный объем хлорного раствора принимается больше объема скважин (по высоте и диаметру): при обеззараживании надводной части - от 1,2 до 1,5 раза, подводной части - от 2 до 3 раза.
А.13 Дезинфекцию емкостных сооружений следует производить методом орошения раствором хлорной извести или других хлорсодержащих реагентов с концентрацией активного хлора от 200 до 250 мг/л. Такой раствор необходимо приготовить из расчета от 0,3 до 0,5 л на 1 м2 внутренней поверхности резервуара и путем орошения из шланга или гидропульта покрыть им стены и днище резервуара. По истечении от 1 до 2 ч дезинфицированные поверхности промыть чистой водопроводной водой, удаляя отработанный раствор через грязевые выпуски. Работа должна производиться в специальной одежде, резиновых сапогах и противогазах; перед входом в резервуар следует установить бачок с раствором хлорной извести для обмывания сапог.
А.14 Дезинфекцию фильтров после их загрузки, отстойников, смесителей и напорных баков малой емкости следует производить объемным методом, наполняя их раствором концентрацией от 75 до 100 мг/л активного хлора. После контакта в течение от 5 до 6 ч раствор хлора необходимо удалить через грязевую трубу и емкости промыть чистой водопроводной водой до содержания в промывной воде от 0,3 до 0,5 мг/л остаточного хлора.
А.15 При хлорировании трубопроводов и сооружений водоснабжения следует соблюдать
[1] и нормативные документы по технике безопасности.
О ПРОВЕДЕНИИ ПРИЕМОЧНОГО ГИДРАВЛИЧЕСКОГО ИСПЫТАНИЯ
НАПОРНОГО ТРУБОПРОВОДА НА ПРОЧНОСТЬ И ГЕРМЕТИЧНОСТЬ
Город __________________ "____" ________ 20__ г.
Комиссия в составе представителей: строительно-монтажной организации
___________________________________________________________________________
(наименование организации, должность, инициалы, фамилия)
технического надзора заказчика ____________________________________________
(наименование организации, должность,
инициалы, фамилия)
эксплуатационной организации ______________________________________________
(наименование организации, должность,
___________________________________________________________________________
инициалы, фамилия)
составили настоящий акт о проведении приемочного гидравлического
испытания на прочность и герметичность участка напорного трубопровода
___________________________________________________________________________
(наименование объекта и номера пикетов на его границах,
___________________________________________________________________________
длина трубопровода, диаметр, материал труб и стыковых соединений)
Указанные в рабочей документации значения расчетного внутреннего
давления испытуемого трубопровода

и испытательного давления

.
Измерение давления при испытании производилось техническим манометром
класса точности с верхним пределом измерений _____ МПа.
Цена деления шкалы манометра ______ МПа.
Манометр был расположен выше оси трубопровода на Z = ______ м. При
указанных выше значениях внутреннего расчетного и испытательного давлений
испытуемого трубопровода показания манометра

и

должны
быть соответственно:
Допустимый расход подкачанной воды
<1>, определенный на 1 км
трубопровода, равен _____ л/мин или, в пересчете на длину испытуемого
трубопровода, равен _____ л/мин.
ПРОВЕДЕНИЕ ИСПЫТАНИЯ И ЕГО РЕЗУЛЬТАТЫ
Для испытания на прочность давление в трубопроводе было повышено
до

и поддерживалось в течение __ мин, при этом не допускалось
его снижение более чем на 1 МПа. После этого давление было снижено
до значения внутреннего расчетного манометрического давления

и произведен осмотр узлов трубопровода в колодцах (камерах); при этом
утечек и разрывов не обнаружено и трубопровод был допущен для проведения
дальнейшего испытания на герметичность.
Для испытания на герметичность давление в трубопроводе было повышено до
значения испытательного давления на герметичность

,
отмечено время начала испытания

и начальный уровень воды
в мерном бачке

.
Испытание трубопровода производилось в следующем порядке:
___________________________________________________________________________
(указать последовательность проведения испытания и наблюдения
___________________________________________________________________________
за падением давления; производился ли выпуск воды из трубопровода
___________________________________________________________________________
и другие особенности методики испытания)
За время испытания трубопровода на герметичность давление в нем по
показанию манометра было снижено до _____ МПа, отмечено время окончания
испытания

и конечный уровень воды в мерном бачке

. Объем воды, потребовавшийся для восстановления давления
до испытательного, определенный по уровням воды в мерном бачке, Q = ____ л.
Продолжительность испытания трубопровода на герметичность

. Значение расхода воды, подкачанной в трубопровод
во время испытания, равно

, что менее допустимого расхода.
РЕШЕНИЕ КОМИССИИ
Трубопровод признается выдержавшим приемочное испытание на прочность и
герметичность.
Представитель строительно-монтажной
организации ____________________________
(подпись)
Представитель технического надзора
заказчика ____________________________
(подпись)
Представитель эксплуатационной
организации ____________________________
(подпись)
--------------------------------
<1> Определяется по
таблице 10 настоящего свода правил.
О ПРОВЕДЕНИИ ПРИЕМОЧНОГО ПНЕВМАТИЧЕСКОГО ИСПЫТАНИЯ
НАПОРНОГО ТРУБОПРОВОДА НА ПРОЧНОСТЬ И ГЕРМЕТИЧНОСТЬ
Город __________________ "____" ________ 20__ г.
Комиссия в составе представителей: строительно-монтажной организации
___________________________________________________________________________
(наименование организации, должность, инициалы, фамилия)
___________________________________________________________________________
технического надзора заказчика ____________________________________________
(наименование организации, должность,
инициалы, фамилия)
эксплуатационной организации ______________________________________________
(наименование организации, должность,
___________________________________________________________________________
инициалы, фамилия)
составили настоящий акт о проведении приемочного пневматического испытания
на прочность и герметичность участка напорного трубопровода _______________
___________________________________________________________________________
(наименование объекта и номера пикетов на его границах)
Длина трубопровода _____ м, материал труб _____, диаметр труб _____ мм,
материал стыков _____
Значение внутреннего расчетного давления в трубопроводе

равно
_____ МПа.
Для испытания на прочность давление в трубопроводе было повышено до
_____ МПа и поддерживалось в течение 30 мин. Нарушений целостности
трубопровода не обнаружено. После этого давление в трубопроводе было
снижено до 0,05 МПа и под этим давлением трубопровод был выдержан в течение
24 ч.
После окончания выдержки трубопровода в нем было установлено начальное
испытательное давление

. Этому давлению соответствует
показание подключенного жидкостного манометра

(или в мм кер. ст. - при заполнении манометра керосином).
Время начала испытания _____ ч _____ мин, начальное барометрическое
давление

Под этим давлением трубопровод был испытан
в течение _____ ч. По истечении этого времени было измерено испытательное
давление в трубопроводе

(_____мм кер. ст.). При этом
конечное барометрическое давление

Фактическое значение снижения давления в трубопроводе

,
что менее допустимого значения падения давления
<2> (

для воды
и

для керосина).
РЕШЕНИЕ КОМИССИИ
Трубопровод признается выдержавшим пневматическое испытание на
прочность и герметичность.
Представитель строительно-монтажной
организации ____________________________
(подпись)
Представитель технического надзора
заказчика ____________________________
(подпись)
Представитель эксплуатационной
организации ____________________________
(подпись)
--------------------------------
ПОРЯДОК ПРОВЕДЕНИЯ ГИДРАВЛИЧЕСКОГО ИСПЫТАНИЯ
НАПОРНОГО ТРУБОПРОВОДА НА ПРОЧНОСТЬ И ГЕРМЕТИЧНОСТЬ
Г.1 Предварительное и приемочное гидравлические испытания напорного трубопровода на прочность и герметичность следует проводить в следующем порядке.
При проведении испытания на прочность:
- повысить давление в трубопроводе до испытательного Pи и путем подкачки воды поддерживать его в течение не менее 10 мин, не допуская снижения давления более чем на 0,1 МПа;
- снизить испытательное давление до внутреннего расчетного давления Pр и, поддерживая его путем подкачивания воды, произвести осмотр трубопровода с целью выявления дефектов на нем в течение времени, необходимого для выполнения этого осмотра;
- в случае выявления дефектов устранить их и произвести повторное испытание трубопровода.
После окончания испытания трубопровода на прочность приступить к испытанию его на герметичность, для этого необходимо:
- давление в трубопроводе повысить до значения испытательного давления на герметичность Pг;
- зафиксировать время начала испытания Tн и измерить начальный уровень воды в мерном бачке hн;
- произвести наблюдение за падением давления в трубопроводе, при этом могут быть три варианта падения давления:
1) если в течение 10 мин давление упадет не менее чем на два деления шкалы манометра, но не упадет ниже внутреннего расчетного давления Pр, то на этом наблюдение за падением давления закончить;
2) если в течение 10 мин давление упадет менее чем на два деления шкалы манометра, то наблюдение за снижением давления до внутреннего расчетного давления Pр следует продолжить до тех пор, пока давление упадет не менее чем на два деления шкалы манометра; при этом продолжительность наблюдения должна быть не более: 3 ч - для железобетонных, 1 ч - для чугунных, хризотилцементных, стальных, 2 ч - для стеклокомпозитных трубопроводов. Если по истечении этого времени давление не снизится до внутреннего расчетного давления Pр, то следует произвести сброс воды из трубопровода в мерный бачок (или измерить объем сброшенной воды другим способом);
3) если в течение 10 мин давление упадет ниже внутреннего расчетного давления Pр, то дальнейшее испытание трубопровода прекратить и принять меры для обнаружения и устранения скрытых дефектов трубопровода путем выдерживания его под внутренним расчетным давлением Pр до тех пор, пока при тщательном осмотре не будут выявлены дефекты, вызвавшие недопустимое падение давления в трубопроводе.
После окончания наблюдения за падением давления по первому варианту и завершения сброса воды по второму варианту необходимо выполнить следующее:
- подкачкой воды из мерного бачка повысить давление в трубопроводе до значения испытательного давления на герметичность Pг, зафиксировать время окончания испытания на герметичность Tк и измерить конечный уровень воды в мерном бачке hк;
- определить продолжительность испытания трубопровода (Tк - Tн), мин, объем дополнительно подкачанной в трубопровод воды из мерного бачка Q, л, (для первого варианта), разность между объемами подкачанной в трубопровод и сброшенной из него воды или объем дополнительно подкачанной в трубопровод воды Q, л, (для второго варианта) и рассчитать значение фактического расхода дополнительного объема подкачанной воды qп, л/мин, по формуле

(Г.1)
где Tк - время окончания испытания, мин;
Tн - время начала испытания, мин.
Г.2 Заполнение трубопровода дополнительным объемом воды при испытании на герметичность требуется для замещения воздуха, вышедшего через непроницаемые для воды неплотности в соединениях; заполнения объемов трубопровода, возникших при незначительных угловых деформациях труб в стыковых соединениях, подвижках резиновых уплотнителей в этих соединениях и смещениях торцевых заглушек; дополнительного замачивания под испытательным давлением стенок хризотилцементных и железобетонных труб, для восполнения возможных скрытых просачиваний воды в местах, недоступных для осмотра трубопровода.
О ПРОВЕДЕНИИ ПРИЕМОЧНОГО ГИДРАВЛИЧЕСКОГО ИСПЫТАНИЯ
БЕЗНАПОРНОГО ТРУБОПРОВОДА НА ГЕРМЕТИЧНОСТЬ
Город __________________ "____" ________ 20__ г.
Комиссия в составе представителей: строительно-монтажной организации
___________________________________________________________________________
(наименование организации, должность, инициалы, фамилия)
технического надзора заказчика ____________________________________________
(наименование организации, должность,
инициалы, фамилия)
эксплуатационной организации ______________________________________________
(наименование организации, должность,
___________________________________________________________________________
инициалы, фамилия)
составили настоящий акт о проведении приемочного гидравлического испытания
участка безнапорного трубопровода _________________________________________
(наименование объекта,
___________________________________________________________________________
номера пикетов на его границах, длина и диаметр)
Уровень грунтовых вод в месте расположения верхнего колодца находится на
расстоянии ______ м от верха трубы в нем при глубине заложения труб
(до верха) ______ м.
Испытание трубопровода производилось ______________________________________
(указать совместно или
_________________________________ способом ________________________________
отдельно от колодцев и камер) (указать способ испытания -
___________________________________________________________________________
добавлением воды в трубопровод или притоком грунтовой воды в него)
Гидростатическое давление величиной ____ м вод. ст. Создавалось заполнением
водой _____________________________________________________________________
(указать номер колодца или установленного в нем стояка)
Допустимый объем добавленной в трубопровод воды, приток грунтовой воды
─────────────────────────────────────────────────────
(ненужное зачеркнуть)
на 10 м длины трубопровода
<3> за время испытания 30 мин равен _______ л.
Фактический за время испытания объем добавленной воды, приток грунтовой воды
────────────────────────────────────────────────────────────────
(ненужное зачеркнуть)
составил _____ л, или в пересчете на 10 м длины трубопровода (с учетом
испытания совместно с колодцами, камерами) и продолжительности испытания
в течение 30 мин составил _____ л, что меньше допустимого расхода.
РЕШЕНИЕ КОМИССИИ
Трубопровод признается выдержавшим приемочное гидравлическое испытание
на герметичность.
Представитель строительно-монтажной
организации ____________________________
(подпись)
Представитель технического надзора
заказчика ____________________________
(подпись)
Представитель эксплуатационной
организации ____________________________
(подпись)
--------------------------------
<3> В соответствии с
таблицей 12 настоящего свода правил.
О ПРОВЕДЕНИИ ПРОМЫВКИ И ДЕЗИНФЕКЦИИ ТРУБОПРОВОДОВ
(СООРУЖЕНИЙ) ХОЗЯЙСТВЕННО-ПИТЬЕВОГО ВОДОСНАБЖЕНИЯ
Город __________________ "____" ________ 20__ г.
Комиссия в составе представителей:
санитарно-эпидемиологической службы (СЭС) _________________________________
(города, района,
___________________________________________________________________________
должность, инициалы, фамилия)
заказчика _________________________________________________________________
(наименование организации,
___________________________________________________________________________
должность, инициалы, фамилия)
строительно-монтажной организации _________________________________________
(наименование организации,
___________________________________________________________________________
должность, инициалы, фамилия)
эксплуатационной организации ______________________________________________
(наименование организации,
___________________________________________________________________________
должность, инициалы, фамилия)
составили настоящий акт о том, что трубопровод, сооружение
───────────────────────
ненужное зачеркнуть
_____________________________________________________ подвергнут промывке и
(наименование объекта, длина, диаметр, объем)
дезинфекции хлорированием _________________________________________________
(указать, каким реагентом)
при концентрации активного хлора _______ мг/л (г/м3) и продолжительности
контакта ______ ч.
Результаты физико-химического и бактериологического анализов воды
на ______ листах прилагаются.
Представитель
санитарно-эпидемиологической
службы (СЭС) _________________________________
(подпись)
Представитель заказчика _________________________________
(подпись)
Представитель строительно-монтажной
организации _________________________________
(подпись)
Представитель эксплуатационной
организации _________________________________
(подпись)
Заключение СЭС: Трубопровод, сооружение считать
───────────────────────
(ненужное зачеркнуть)
продезинфицированным и промытым и разрешить пуск его в эксплуатацию.
Главный врач СЭС:
"_____________" __________________________ ________________
(дата) (инициалы, фамилия) (подпись)
[1]
СНиП 12-04-2002 Безопасность труда в строительстве. Часть 2. Строительное производство
[2]
Инструкция по контролю за обеззараживанием хозяйственно-питьевой воды и за дезинфекцией водопроводных сооружений хлором при централизованном и местном водоснабжении (утверждена Минздравом СССР 25 ноября 1967 г. N 723а-67)