Главная // Актуальные документы // ИнструкцияСПРАВКА
Источник публикации
М.: Минстрой России, 2021
Примечание к документу
Документ включен в
Перечень документов в области стандартизации, в результате применения которых на добровольной основе обеспечивается соблюдение требований Федерального
закона от 30.12.2009 N 384-ФЗ "Технический регламент о безопасности зданий и сооружений" (
Приказ Росстандарта от 02.04.2020 N 687).
Текст документа приведен в соответствии с публикацией на сайте https://minstroyrf.gov.ru/ по состоянию на 23.09.2021.
Документ
введен в действие с 17.01.2022.
Название документа
"СП 503.1325800.2021. Свод правил. Трубопроводы из непластифицированного поливинилхлорида самотечных систем водоотведения. Правила проектирования, строительства и эксплуатации"
(утв. Приказом Минстроя России от 16.07.2021 N 476/пр)
"СП 503.1325800.2021. Свод правил. Трубопроводы из непластифицированного поливинилхлорида самотечных систем водоотведения. Правила проектирования, строительства и эксплуатации"
(утв. Приказом Минстроя России от 16.07.2021 N 476/пр)
и жилищно-коммунального хозяйства
Российской Федерации
от 16 июля 2021 г. N 476/пр
СВОД ПРАВИЛ
ТРУБОПРОВОДЫ ИЗ НЕПЛАСТИФИЦИРОВАННОГО ПОЛИВИНИЛХЛОРИДА
САМОТЕЧНЫХ СИСТЕМ ВОДООТВЕДЕНИЯ
ПРАВИЛА ПРОЕКТИРОВАНИЯ, СТРОИТЕЛЬСТВА И ЭКСПЛУАТАЦИИ
Pipelines from unplasticized polyvinylchloride
of non-pressure underground drainage and sewerage.
Rules of design, construction and operation
СП 503.1325800.2021
Дата введения
17 января 2022 года
Сведения о своде правил
1 ИСПОЛНИТЕЛЬ - Общество с ограниченной ответственностью "Русвинил"
2 ВНЕСЕН Техническим комитетом по стандартизации ТК 465 "Строительство"
3 ПОДГОТОВЛЕН к утверждению Департаментом градостроительной деятельности и архитектуры Министерства строительства и жилищно-коммунального хозяйства Российской Федерации (Минстрой России)
4 УТВЕРЖДЕН
приказом Министерства строительства и жилищно-коммунального хозяйства Российской Федерации от 16 июля 2021 г. N 476/пр и введен в действие с 17 января 2022 г.
5 ЗАРЕГИСТРИРОВАН Федеральным агентством по техническому регулированию и метрологии (Росстандарт)
6 ВВЕДЕН ВПЕРВЫЕ
В случае пересмотра (замены) или отмены настоящего свода правил соответствующее уведомление будет опубликовано в установленном порядке. Соответствующая информация, уведомления и тексты размещаются также в информационной системе общего пользования - на официальном сайте разработчика (Минстрой России) в сети Интернет
| | ИС МЕГАНОРМ: примечание. В официальном тексте документа, видимо, допущена опечатка: имеется в виду СП 30.13330.2020, а не СП 30.13330.2016. | |
Настоящий свод правил разработан в целях обеспечения требований Федерального
закона от 30 декабря 2009 г. N 384-ФЗ "Технический регламент о безопасности зданий и сооружений" и с учетом требований к системам внутренней и наружной канализации, установленных
СП 30.13330.2016 "СНиП 2.04.01-85* Внутренний водопровод и канализация зданий" и
СП 32.13330.2018 "СНиП 2.04.03-85 Канализация. Наружные сети и сооружения".
Свод правил устанавливает правила проектирования, строительства и эксплуатации наружных и внутренних самотечных систем водоотведения бытовых сточных вод, промышленной и ливневой канализации, с использованием труб и фасонных частей со сплошной и структурированной стенкой, изготовленных из непластифицированного поливинилхлорида (НПВХ).
В настоящем своде правил использованы нормативные ссылки на следующие документы:
ГОСТ 12.0.004-2015 Система стандартов безопасности труда. Организация обучения безопасности труда. Общие положения
ГОСТ 12.1.004-91 Система стандартов безопасности труда. Пожарная безопасность. Общие требования
ГОСТ 12.1.046-2014 Система стандартов безопасности труда. Строительство. Нормы освещения строительных площадок
ГОСТ 22733-2016 Грунты. Методы лабораторного определения максимальной плотности
ГОСТ 23407-78 Ограждения инвентарные строительных площадок и участков производства строительно-монтажных работ. Технические условия
ГОСТ 24297-2013 Верификация закупленной продукции. Организация проведения и методы контроля
ГОСТ 32412-2013 Трубы и фасонные части из непластифицированного поливинилхлорида для систем внутренней канализации. Технические условия
ГОСТ 32413-2013 Трубы и фасонные части из непластифицированного поливинилхлорида для систем наружной канализации. Технические условия
ГОСТ Р 51613-2000 Трубы напорные из непластифицированного поливинилхлорида. Технические условия
ГОСТ Р 54475-2011 Трубы полимерные со структурированной стенкой и фасонные части к ним для систем наружной канализации. Технические условия
СП 22.13330.2016 "СНиП 2.02.01-83* Основания зданий и сооружений" (с изменениями N 1, N 2, N 3)
СП 42.13330.2016 "СНиП 2.07.01-89* Градостроительство. Планировка и застройка городских и сельских поселений" (с изменениями N 1, N 2)
СП 45.13330.2017 "СНиП 3.02.01-87 Земляные сооружения, основания и фундаменты" (с изменениями N 1, N 2)
СП 70.13330.2012 "СНиП 3.03.01-87 Несущие и ограждающие конструкции" (с изменениями N 1, N 3, N 4)
СП 73.13330.2016 "СНиП 3.05.01-85 Внутренние санитарно-технические системы зданий" (с изменением N 1)
СП 129.13330.2019 "СНиП 3.05.04-85 Наружные сети и сооружения водоснабжения и канализации"
СП 249.1325800.2016 Коммуникации подземные. Проектирование и строительство закрытым и открытым способами (с изменением N 1)
СП 272.1325800.2016 Системы водоотведения городские и поселковые. Правила обследования (с изменением N 1)
СП 399.1325800.2018 Системы водоснабжения и канализации наружные из полимерных материалов. Правила проектирования и монтажа
СП 2.2.3670-20 Санитарно-эпидемиологические требования к условиям труда
Примечание - При пользовании настоящим сводом правил целесообразно проверить действие ссылочных документов в информационной системе общего пользования - на официальном сайте федерального органа исполнительной власти в сфере стандартизации в сети Интернет или по ежегодному информационному указателю "Национальные стандарты", который опубликован по состоянию на 1 января текущего года, и по выпускам ежемесячного информационного указателя "Национальные стандарты" за текущий год. Если заменен ссылочный документ, на который дана недатированная ссылка, то рекомендуется использовать действующую версию этого документа с учетом всех внесенных в данную версию изменений. Если заменен ссылочный документ, на который дана датированная ссылка, то рекомендуется использовать версию этого документа с указанным выше годом утверждения (принятия). Если после утверждения настоящего свода правил в ссылочный документ, на который дана датированная ссылка, внесено изменение, затрагивающее положение, на которое дана ссылка, то это положение рекомендуется применять без учета данного изменения. Если ссылочный документ отменен без замены, то положение, в котором дана ссылка на него, рекомендуется применять в части, не затрагивающей эту ссылку. Сведения о действии свода правил целесообразно проверить в Федеральном информационном фонде стандартов.
3 Термины, определения и сокращения
3.1 Термины и определения
3.1.1 глубина прокладки трубопровода: Расстояние от поверхности земли до шелыги трубопровода.
3.1.2 глубина траншеи: Расстояние между дном траншеи и поверхностью земли.
3.1.3 дно траншеи: Плоскость, которая используется для устройства фундамента или подстилающего слоя.
3.1.4 жесткость фасонной части: Характеристика механических свойств фасонной части, используемая в качестве меры деформационной устойчивости при радиальных внешних нагрузках.
3.1.5 заделка трубопровода: Область обсыпки трубопровода, включающая подстилающий слой, слой боковой обсыпки и защитный слой.
3.1.6 зазор между склеиваемыми поверхностями труб: Частное между средним наружным диаметром трубы dem и средним внутренним диаметром раструба dsm.
3.1.7 защитный слой обсыпки: Слой грунта непосредственно над трубопроводом.
3.1.8 код соответствия: Маркировка на трубах и фасонных частях, указывающая на их область применения.
3.1.9 кольцевая жесткость: Характеристика механических свойств трубы, используемая в качестве меры деформационной устойчивости при радиальных внешних нагрузках.
3.1.10 конструктивная высота ec, мм: Расстояние вдоль радиальной оси между внутренней стенкой трубы и вершиной ребра жесткости/гофра.
3.1.11 конструкционный элемент заводской готовности: Изделие, изготовленное до начала производства работ на основании действующих нормативных документов или при контроле производителя.
3.1.12 местный грунт: Грунт в естественном залегании непосредственно на территории строительной площадки.
3.1.13 минимальная ширина траншеи: Минимальный размер между стенками траншеи на верхней границе подстилающего слоя или расстояние между опалубкой на любой глубине траншеи, необходимый для обеспечения безопасного производства работ.
3.1.14 номинальная кольцевая жесткость SN, кН/м2: Число для характеристики минимально допустимой кольцевой жесткости трубы или фасонной части, определяемое на основании экспериментальных данных.
3.1.15 номинальный внутренний диаметр DN, мм: Численное обозначение типоразмера труб и фасонных частей, которое приблизительно соответствует внутреннему диаметру выпускаемых труб и фасонных частей.
3.1.16 номинальный диаметр DN/OD, мм: Численное значение наружного диаметра труб, используемое для характеристики размерного ряда.
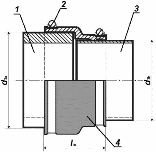
3.1.17 номинальный диаметр переходной муфты d3, мм: Максимальный наружный диаметр трубы, которую можно использовать для устройства соединений с использованием соответствующей переходной муфты.
3.1.18 номинальный наружный диаметр dn, мм: Наружный диаметр, соответствующий размерному ряду серии DN/OD.
3.1.19 овальность трубопровода: Разница последовательно измеренных значений наружного диаметра в одном поперечном сечении трубопровода.
3.1.20 основание трубопровода: Слой грунта или бетона для стабилизации дна траншеи/котлована при прокладке трубопровода в нестабильных, скальных или водонасыщенных грунтах.
3.1.21 отношение диаметра к толщине стенки трубы SDR: Числовой параметр для определения серии труб, который соответствует примерному отношению номинального наружного диаметра dn к номинальной толщине стенки трубы en.
3.1.22 подстилающий слой: Часть строительного сооружения, обеспечивающая позиционирование трубопровода между дном траншеи, слоем боковой обсыпки и защитным слоем. Подстилающий слой состоит из верхнего и нижнего подстилающих слоев. При укладке трубопровода непосредственно на природный грунт последний считается нижним подстилающим слоем.
3.1.23 седловой отвод: Конструктивный элемент для устройства примыканий, соединение которых с трубопроводом проводится либо путем механического крепления, либо с помощью клея.
3.1.24 слой засыпки: Слой материала между верхней границей заделки трубопровода и поверхностью земли (улицы или рельсового пути) или насыпи.
3.1.25 слой обсыпки пазух: Слой засыпки между подстилающим и защитным слоями.
3.1.26 средний внутренний диаметр раструба dsm, мм: Среднее арифметическое значение результатов измерения внутреннего диаметра в одном поперечном сечении раструба.
3.1.27 средний внутренний диаметр трубы/фасонной части dim, мм: Среднее арифметическое значение результатов измерений внутреннего диаметра трубы/фасонной части в точках, равномерно распределенных по периметру трубы в одном поперечном сечении.
3.1.28
средний наружный диаметр dem, мм: Частное измеренного наружного периметра трубы или трубного конца фасонной части в любом поперечном сечении и числа

(~= 3,142), округленное в

сторону с точностью до одной значащей цифры после запятой.
3.1.29 толщина стенки трубы e, мм: Измеренная толщина стенки в любом месте трубы.
3.1.30 трасса трубопровода: Расположение в пространстве канализационного трубопровода.
3.1.31 трассировка: Описание трассы в форме последовательности элементов (прямая, круг, переходная кривая, градиент).
3.1.32 трубы и фасонные части со сплошной стенкой: Трубы и фасонные части с гладкой внутренней и наружной поверхностью, стенки которых имеют однородную структуру и изготовляются из формовочной массы одного состава.
3.1.33 трубы и фасонные части со структурированной стенкой: Трубы и фасонные части, стенки которых имеют либо многослойную конструкцию, либо сложный профиль.
3.1.34 фасонная часть: Деталь или сборочная единица трубопровода, предназначенная для соединения его отдельных участков с изменением или без изменения направления или проходного сечения и изготовленная из материала одной марки.
3.1.35 химическая стойкость: Способность материала сохранять свои механические и физические свойства при воздействии различных химических сред.
3.1.36 шелыга: Верхняя образующая часть поверхности трубы любого сечения.
3.2 Сокращения
В настоящем своде правил применены следующие сокращения:
БНК - бутадиен-нитрильный каучук;
НПВХ - непластифицированный поливинилхлорид;
ЭПДК - этилен-пропилен-диен-каучук.
4 Характеристики труб и фасонных частей из НПВХ
4.1 При строительстве самотечных трубопроводов систем водоотведения из композиций НПВХ и различных добавок (стабилизаторы, пигменты и т.д.) следует применять трубы и фасонные части со сплошной или структурированной стенкой по
ГОСТ Р 54475,
ГОСТ 32412,
ГОСТ 32413 и
ГОСТ Р 51613. Допускается применение труб и фасонных частей сортамента, отличного от стандартного, изготовленных по техническим условиям, при условии, что к характеристикам этих изделий установлены более жесткие требования, чем в действующих стандартах. Характеристики труб и соединительных деталей, изготовляемых по техническим условиям, должны быть подтверждены результатами испытаний в лабораториях, допущенных к проведению таких испытаний в порядке, установленном действующим законодательством Российской Федерации и действующими документами оценки соответствия.
4.2 В зависимости от конструктивного решения трубы и фасонные части со структурированной стенкой изготовляют двух типов:
- с гладкой наружной и внутренней поверхностью (тип A);
- с гладкой внутренней и структурированной наружной поверхностью (тип B).
Размеры труб и фасонных частей со структурированной стенкой приведены в
приложении А.
4.3 Основные характеристики НПВХ, используемого при производстве труб и фасонных частей, предназначенных для строительства самотечных трубопроводов систем водоотведения, приведены в таблице 4.1.
Таблица 4.1
Характеристики НПВХ
Показатель | Значение показателя |
Модуль упругости | E(1мин) >= 3200 МПа |
Средняя плотность | ~= 1,5 г/см3 |
Средний коэффициент линейного расширения | ~= 0,08 мм/(м·К) |
Теплопроводность | ~= 0,16 Вт/(м·К) |
Поверхностное электрическое сопротивление | Свыше 1012 Ом |
Коэффициент Пуассона | 0,4 |
4.4 Для устройства соединений труб и фасонных частей используют уплотнительные кольца различного сечения из ЭПДК или БНК.
4.5 При строительстве трубопроводов из труб и фасонных частей со сплошной стенкой могут быть использованы клеевые соединения. Для устройства клеевых соединений следует применять клеи на основе растворителя или двухкомпонентные клеи, согласованные с производителем трубной продукции. Клеевые соединения должны обладать прочностью при сдвиге не менее 3,0 МПа (через 20 сут после склеивания).
4.6 Для систем внутренней канализации используют трубы и фасонные части пыльно-серого цвета (аналог RAL 7037), а для систем наружной канализации - оранжево-коричневого цвета (аналог RAL 8023). Допускается использование труб других цветовых оттенков. Цвет труб и фасонных частей должен быть равномерным по всей длине изделия.
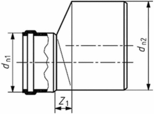
5 Трубы и фасонные части из НПВХ
5.1 Размеры труб и фасонных частей с сплошной стенкой
5.1.1 Размеры труб и фасонных частей со сплошной стенкой для наружных систем канализации приведены в ГОСТ 32413-2013
(таблица 1).
| Таблица 1 В миллиметрах | |
| Номинальный размер DN/OD <1> | Номинальный наружный диаметр dn | Средний наружный диаметр dem | |
минимальный dem,min | максимальный dem,max | |
| 110 | 110 | 110,0 | 110,3 | |
| 125 | 125 | 125,0 | 125,3 | |
| 160 | 160 | 160,0 | 160,4 | |
| 200 | 200 | 200,0 | 200,5 | |
| 250 | 250 | 250,0 | 250,5 | |
| 315 | 315 | 315,0 | 315,6 | |
| (355) | 355 | 355,0 | 355,7 | |
| 400 | 400 | 400,0 | 400,7 | |
| (450) | 450 | 450,0 | 450,8 | |
| 500 | 500 | 500,0 | 500,9 | |
| 630 | 630 | 630,0 | 631,1 | |
| (710) | 710 | 710,0 | 711,2 | |
| 800 | 800 | 800,0 | 801,3 | |
| (900) | 900 | 900,0 | 901,5 | |
| 1000 | 1000 | 1000,0 | 1001,6 | |
| <1> Непредпочтительные размеры указаны в скобках. | |
| | |
5.1.2 Угол фаски на трубном конце к оси трубы должен находиться в интервале от 15° до 45° (рисунок 5.1). Остаточная толщина стенки на торце трубы должна составлять не менее

.
C - длина фаски
Рисунок 5.1 - Размеры фаски трубного конца
5.1.3 В таблице 5.1 приведены примерные значения длины фаски C при угле фаски к оси трубы, равном 15°.
Таблица 5.1
Длина фаски трубного конца
В миллиметрах
Номинальный наружный диаметр трубы dn | Длина фаски C | Номинальный наружный диаметр трубы dn | Длина фаски C |
110 | 6 | 450 | 17 |
125 | 6 | 500 | 18 |
160 | 7 | 630 | 23 |
200 | 9 | 710 | 28 |
250 | 9 | 800 | 32 |
315 | 12 | 900 | 36 |
355 | 13 | 1000 | 41 |
400 | 15 | - | - |
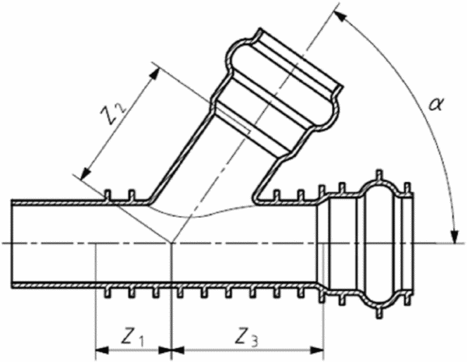
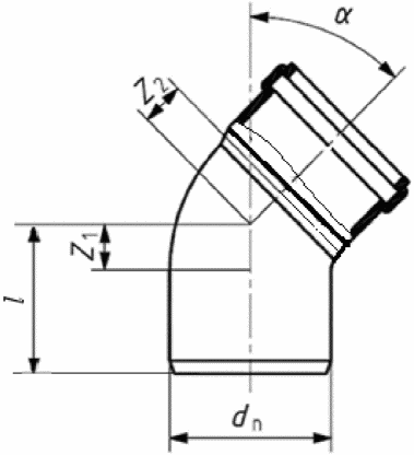
5.1.4 К основным типам фасонных частей со сплошной стенкой
(приложение Б) относятся:
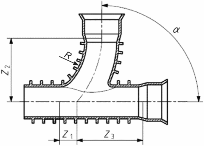
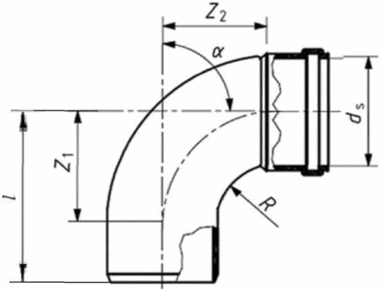
а) отводы:
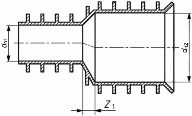
б) муфты:
4) для устройства примыканий к ограждающим конструкциям
(рисунок Б.8);
в) переходы:
1) для соединения с трубопроводами из керамических труб
(рисунок Б.10);
г) вставки для устройства примыканий к ограждающим конструкциям
(рисунок Б.12);
д) тройники:
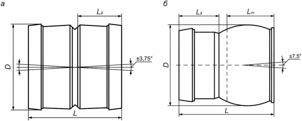
5.2 Размеры труб и фасонных частей со структурированной стенкой типа A
5.2.1 Трубы и фасонные части из НПВХ, с гладкими внутренними и наружными стенками, имеющими многослойную структуру, относятся к типу A. Пространство между гладкими внутренней и наружной стенками может быть заполнено пеной или в нем могут быть расположены либо ребра жесткости, либо продольные полые секции.
5.2.2 Различают следующие варианты исполнения стенок труб и фасонных частей типа A:
- многослойные конструкции со средним вспененным слоем - тип A1 (
рисунок А.1,
а);
- с полыми секциями в стенках, ориентированными вдоль продольной оси, - тип A1 (
рисунок А.1,
б);
- с кольцевыми и спиральными полыми секциями - тип A2 (
рисунок А.1,
в).
5.2.3 Типовые соединения труб с структурированной стенкой типа A изображены на
рисунке А.2. При установке уплотнительных колец в заводских условиях размеры
A и
C определяют точку эффективного уплотнения.
5.2.4 Классификацию труб и фасонных частей проводят либо по наружному диаметру (DN/OD), либо по внутреннему диаметру (DN/ID).
5.2.5 Эффективная длина трубы
L задается производителем и измеряется в соответствии с
рисунком А.2.
5.2.6 Геометрические характеристики труб типа A приведены в таблицах 5.2,
5.3. и
5.4 соответственно.
Таблица 5.2
Значения допусков, установленных для ряда DN/OD
В миллиметрах
Номинальный диаметр DN/OD | Средний наружный диаметр <1> | Номинальный диаметр DN/OD | Средний наружный диаметр <1> |
dem,min | dem,max | dem,min | dem,max |
Жесткий допуск | Жесткий допуск |
110 | 110,0 | 110,3 | 1200 | 1200,0 | 1201,9 |
125 | 125,0 | 125,3 | 1400 | 1400,0 | 1402,2 |
160 | 160,0 | 160,4 | 1600 | 1600,0 | 1602,6 |
200 | 200,0 | 200,5 | 1800 | 1800,0 | 1802,9 |
250 | 250,0 | 250,5 | 2000 | 2000,0 | 2003,2 |
315 | 315,0 | 315,6 | 2200 | 2200,0 | 2203,5 |
400 | 400,0 | 400,7 | 2400 | 2400,0 | 2403,8 |
500 | 500,0 | 500,9 | 2500 | 2500,0 | 2504,0 |
630 | 630,0 | 631,1 | 2600 | 2600,0 | 2604,2 |
800 | 800,0 | 801,3 | 2800 | 2800,0 | 2804,5 |
1000 | 1000,0 | 1001,6 | 3000 | 3000,0 | 3004,8 |
<1> Если трубные концы изготовлены с соблюдением жесткого допуска, то они маркируются буквами "CT". |
Таблица 5.3
Номинальные диаметры, минимальный средний
внутренний диаметр, толщина внутреннего слоя
и длина раструба труб типа A
В миллиметрах
Минимальный средний внутренний диаметр для размерного ряда DN/OD | Минимальная толщина стенки | Раструб |
A1 | A2 |
Многослойная стенка | Стенка с полостями | - |
DN/OD | dim,min | e4,min | e4,min | e5,min | Amin |
110 | 97 | 0,4 | 0,6 | 1,0 | 32 |
125 | 107 | 0,4 | 0,6 | 1,0 | 32 |
160 | 135 | 0,5 | 0,8 | 1,0 | 42 |
200 | 172 | 0,6 | 1,0 | 1,1 | 50 |
250 | 216 | 0,7 | 1,1 | 1,4 | 55 |
315 | 270 | 0,8 | 1,2 | 1,6 | 62 |
400 | 340 | 1,0 | 1,5 | 2,0 | 70 |
500 | 432 | 1,3 | 2,1 | 2,8 | 80 |
630 | 540 | 1,6 | 2,6 | 3,3 | 93 |
800 | 680 | 2,0 | 3,0 | 4,1 | 110 |
1000 | 864 | 2,5 | 3,5 | 5,0 | 130 |
1200 | 1037 | 2,8 | 4,7 | 5,0 | 150 |
1400 | 1210 | 5,0 | 5,0 | 5,0 | 168 |
1600 | 1382 | 5,0 | 5,0 | 5,0 | 192 |
1800 | 1555 | 5,0 | 5,0 | 5,0 | 216 |
2000 | 1728 | 7,0 | 7,0 | 7,0 | 240 |
2200 | 1901 | 7,0 | 7,0 | 7,0 | 264 |
2400 | 2074 | 7,0 | 7,0 | 7,0 | 288 |
2500 | 2160 | 7,0 | 7,0 | 7,0 | 300 |
2600 | 2246 | 7,0 | 7,0 | 7,0 | 312 |
2800 | 2419 | 7,0 | 7,0 | 7,0 | 336 |
3000 | 2592 | 10,0 | 10,0 | 10,0 | 360 |
Примечание - Фактический внутренний диаметр трубы зависит от материала, структуры стенки и кольцевой жесткости. Он может превышать значения, установленные в настоящей таблице. Дополнительные данные следует получить у производителя. |
Таблица 5.4
Номинальные диаметры, минимальный средний внутренний
диаметр, толщина внутреннего слоя и длина раструба
для размерного ряда DN/ID
В миллиметрах
Минимальный средний внутренний диаметр для размерного ряда DN/ID | Минимальная толщина стенки | Раструб |
A1 | A2 |
Многослойная стенка | Стенка с полостями | - |
DN/OD | dim,min | e4,min | e4,min | e5,min | Amin |
100 | 95 | 0,4 | 0,6 | 1,0 | 32 |
125 | 120 | - | - | 1,0 | 38 |
150 | 145 | - | - | 1,0 | 43 |
200 | 195 | - | - | 1,1 | 54 |
225 | 220 | 0,7 | 1,1 | 1,4 | 55 |
250 | 245 | - | - | 1,5 | 59 |
300 | 294 | - | - | 1,7 | 64 |
400 | 392 | - | - | 2,3 | 74 |
500 | 490 | - | - | 3,0 | 85 |
600 | 588 | - | - | 3,5 | 96 |
800 | 785 | - | - | 4,5 | 118 |
1000 | 985 | - | - | 5,0 | 140 |
1200 | 1185 | - | - | 5,0 | 162 |
1400 | 1385 | - | - | 5,0 | 182 |
1600 | 1584 | - | - | 5,0 | 208 |
1800 | 1782 | - | - | 5,0 | 234 |
2000 | 1980 | - | - | 7,0 | 260 |
2200 | 2178 | - | - | 7,0 | 286 |
2400 | 2376 | - | - | 7,0 | 312 |
2500 | 2475 | - | - | 7,0 | 325 |
2600 | 2574 | - | - | 7,0 | 338 |
2800 | 2772 | - | - | 7,0 | 364 |
3000 | 2970 | - | - | 10,0 | 390 |
Примечание - Минимальный средний внутренний диаметр раструба фасонной части dsm,min не должен превышать 98% определенного наименьшего среднего внутреннего диаметра трубы, для соединения с которой он используется. |
5.2.7 Минимальный
dem,min и максимальный
dem,max средние наружные диаметры труб и трубных концов типа A, а также минимальный средний внутренний диаметр раструбов
dsm,min приведены в
ГОСТ 32413.
5.2.8 Для значений номинальных диаметров, отсутствующих в
таблицах 5.2 -
5.4, необходимые значения следует рассчитывать, используя приведенные ниже уравнения.
5.2.9 Минимальный средний внутренний диаметр раструба dsm,min должен быть равен dem,max.
5.2.10 Для труб и фасонных частей с другими присоединительными размерами допуск на наружный диаметр трубы и трубного конца определяется следующим образом:
dem,min >= 0,994
de и
dem,max <= 1,003
de, где
de - либо номинальный диаметр трубы согласно серии DN/OD, либо заданный производителем для трубы серии DN/ID наружный диаметр. Результат следует округлять в

сторону до одной значащей цифры после запятой.
5.2.11 Размеры раструбов и трубных концов типов A1 и A2 из НПВХ должны соответствовать значениям, приведенным в
ГОСТ 32413, или определяться методами линейной интерполяции.
5.2.12 Для труб типа A, имеющих номинальные размеры больше, чем DN/OD 630 и DN/ID 600, значение
Amin может быть меньше, чем указано в
таблице 5.5, но не менее 85 мм.
5.2.13 Толщины стенки внутреннего слоя
e4 и
e5, показанные на
рисунке А.1, должны соответствовать значениям, приведенным в
таблицах 5.4 и 5.5.
Таблица 5.5
Требуемое минимальное значение толщины гладких
трубных концов, производимых литьем под давлением
В миллиметрах
Наружный диаметр de | Минимально допустимая толщина стенки emin |
<= 500 | de/51 >= 3,2 |
> 500 | 9,8 |
5.2.14 Конструктивная высота труб ec и трубных концов до DN/OD 200, а также для ряда DN/ID с фактическим наружным диаметром до 200 мм должна, как минимум, соответствовать установленным значениям emin для труб с гладкой стенкой с SDR 41 (но не менее 3,2 мм).
5.2.15 Отсутствующие значения определяют методом линейной интерполяции.
5.2.16 Для труб ряда DN/ID расчеты следует проводить, используя фактические значения наружного диаметра.
5.2.17 Для гладких трубных концов толщина стенки (
e) должна соответствовать
таблице 5.5. Значения рассчитывают до двух значащих знаков после запятой, а затем округляют до одной значащей цифры после запятой.
5.2.18 Минимальная толщина стенки трубного конца
e4,min, производимого литьем под давлением для конструкций типа A1, должна соответствовать значениям, приведенным в
таблице 5.5.
5.2.19 Конструктивная высота стенок фасонных частей ec, производимых литьем под давлением для конструкций типа A1, до DN/OD 200, а также для труб ряда DN/ID с фактическим наружным диаметром до 200 мм должна, как минимум, соответствовать установленным значениям emin для труб с гладкой стенкой с SDR 41 (но не менее 3,2 мм).
5.2.20 Для труб типа A ряда DN/ID следует проводить проектирование, используя фактические значения наружного диаметра.
5.2.21 Толщина стенок фасонных частей, изготовленных из труб, должна соответствовать требованиям к соответствующим трубам. Уменьшение толщины стенки, обусловленное производственным процессом, допускается только при соблюдении требований к механической прочности изделия.
5.2.22 Минимальная толщина стенки
emin и соединительной части трубного конца, производимого ротационным формованием, должна быть в 1,25 раза больше, чем значения, приведенные в
таблице 5.6. Округление проводят до одной значащей цифры после запятой.
5.2.23 Если такая фасонная часть имеет раструб, то минимально допустимые толщины раструба e2 и e3, полученные для труб и фасонных частей со сплошной стенкой, следует увеличить в 1,25 раза.
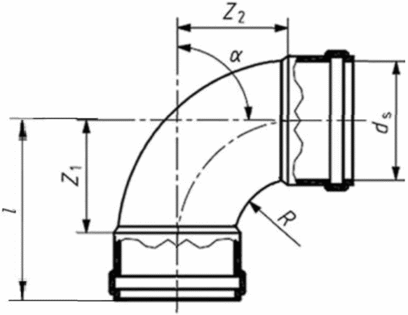
5.2.24 К основным типовым видам фасонных частей со структурированной стенкой
(приложение В) относятся:
а) отводы:
б) муфты:
г) тройники:
5.3 Размеры труб и фасонных частей со структурированной стенкой типа B
5.3.1 Трубы и фасонные части со структурированной стенкой, имеющие гладкую внутреннюю поверхность и рифленую наружную, относятся к трубам со структурированной стенкой типа B. Различают следующие варианты исполнения стенок труб и фасонных частей типа B:
- сплошные стенки с ребрами жесткости (
рисунок А.3,
а);
- стенки с ребрами жесткости, выполненными путем навивки полого круглого профиля (конструкция стенки может предусматривать наличие дополнительного усиливающего профиля из другого полимерного материала) (
рисунок А.3,
б);
- стенки с кольцевыми полыми ребрами жесткости (
рисунок А.3,
в).
5.3.2 Способы соединения труб со структурированной стенкой типа B изображены на
рисунке А.4. Положение уплотнительного кольца на трубном конце определяется производителем труб.
5.3.3 Трубы и фасонные части следует изготовлять с раструбами и трубными концами, имеющими другую конструкцию, чем сами трубы и фасонные части (например, тип A1, тип A2).
5.3.4 Классификацию труб и фасонных частей проводят либо по наружному диаметру (DN/OD), либо по внутреннему (DN/ID).
5.3.5 Эффективная длина трубы
l задается производителем и измеряется в соответствии с
рисунком А.4.
5.3.6 Значения номинальных диаметров и минимальных средних внутренних диаметров для серий DN/OD и DN/ID приведены в таблицах 5.6 и
5.7.
Таблица 5.6
Номинальные диаметры, минимальный средний
внутренний диаметр, минимальная толщина стенки
внутреннего слоя и длина раструба
В миллиметрах
Минимальный средний внутренний диаметр для размерного ряда DN/OD | Минимальная толщина стенки внутреннего слоя | Раструб |
DN/OD | dim,min | e4,min | e5,min | Amin |
110 | 97 | 1,0 | 1,0 | 32 |
125 | 107 | 1,1 | 1,0 | 35 |
160 | 135 | 1,2 | 1,0 | 42 |
200 | 172 | 1,4 | 1,1 | 50 |
250 | 216 | 1,7 | 1,4 | 55 |
315 | 270 | 1,9 | 1,6 | 62 |
400 | 340 | 2,3 | 2,0 | 70 |
500 | 432 | 2,8 | 2,8 | 80 |
630 | 540 | 3,3 | 3,3 | 93 |
800 | 680 | 4,1 | 4,1 | 110 |
1000 | 864 | 5,0 | 5,0 | 130 |
1200 | 1037 | 5,0 | 5,0 | 150 |
1400 | 1210 | 5,0 | 5,0 | 168 |
1600 | 1382 | 5,0 | 5,0 | 192 |
1800 | 1555 | 5,0 | 5,0 | 216 |
2000 | 1728 | 7,0 | 7,0 | 240 |
2200 | 1901 | 7,0 | 7,0 | 264 |
2400 | 2074 | 7,0 | 7,0 | 288 |
2500 | 2160 | 7,0 | 7,0 | 300 |
2600 | 2246 | 7,0 | 7,0 | 312 |
2800 | 2419 | 7,0 | 7,0 | 336 |
3000 | 2592 | 10,0 | 10,0 | 360 |
Примечание - Amin определяется для раструба с эластичным уплотнительным кольцом. При формировании требований к этому размеру следует учитывать материал трубы и ее структуру. Для труб, длина которых превышает 6 м, рекомендуется увеличивать размер Amin по сравнению с приведенными в настоящей таблице значениями. Фактический внутренний диаметр трубы зависит от материала, структуры стенки и кольцевой жесткости. Он может превышать значения, установленные в настоящей таблице. Дополнительные данные можно получить у производителя. |
Таблица 5.7
Номинальные диаметры, минимальный средний
внутренний диаметр, минимальная толщина стенки
внутреннего слоя и длина раструба
В миллиметрах
Минимальный средний внутренний диаметр для размерного ряда DN/ID | Минимальная толщина стенки внутреннего слоя | Раструб |
DN/ID | dim,min | e4,min | e5,min | Amin |
100 | 95 | 1,0 | 1,0 | 32 |
125 | 120 | 1,2 | 1,0 | 38 |
150 | 145 | 1,3 | 1,0 | 43 |
200 | 195 | 1,5 | 1,1 | 54 |
225 | 220 | 1,7 | 1,4 | 55 |
250 | 245 | 1,8 | 1,5 | 59 |
300 | 294 | 2,0 | 1,7 | 64 |
400 | 392 | 2,5 | 2,3 | 74 |
500 | 490 | 3,0 | 3,0 | 85 |
600 | 588 | 3,5 | 3,5 | 96 |
800 | 785 | 4,5 | 4,5 | 118 |
1000 | 985 | 5,0 | 5,0 | 140 |
1200 | 1185 | 5,0 | 5,0 | 162 |
1400 | 1385 | 5,0 | 5,0 | 182 |
1600 | 1584 | 5,0 | 5,0 | 208 |
1800 | 1782 | 5,0 | 5,0 | 234 |
2000 | 1980 | 7,0 | 7,0 | 260 |
2200 | 2178 | 7,0 | 7,0 | 286 |
2400 | 2376 | 7,0 | 7,0 | 312 |
2500 | 2475 | 7,0 | 7,0 | 325 |
2600 | 2574 | 7,0 | 7,0 | 338 |
2800 | 2772 | 7,0 | 7,0 | 364 |
3000 | 2970 | 10,0 | 10,0 | 390 |
Примечание - Amin определяется для раструба с эластичным уплотнительным кольцом. При формировании требований к этому размеру следует учитывать материал трубы и ее структуру. Для труб, длина которых превышает 6 м, рекомендуется увеличивать размер Amin по сравнению с приведенными в настоящей таблице значениями. Наименьший средний внутренний диаметр раструба dsm,min фасонной части не должен превышать 98% определенного наименьшего среднего внутреннего диаметра трубы, для соединения с которой он используется. |
5.3.7 Для труб и трубных концов ряда DN/OD, для которых предусмотрены присоединительные размеры как для труб и фасонных частей со сплошной стенкой, следует применять наружные диаметры с допусками для трубных концов согласно
ГОСТ 32413.
5.3.8 Если трубные концы изготовлены с соблюдением жесткого допуска, то они маркируются буквами "CT".
5.3.9 Если для труб и трубных концов ряда DN/OD не предусмотрены присоединительные размеры как для труб и фасонных частей со сплошной стенкой, следует применять наружные диаметры с допусками для труб и трубных концов согласно таблице 5.8.
Таблица 5.8
Допуски на наружный диаметр и внутренний диаметр раструбов
В миллиметрах
Номинальный диаметр DN/OD | Минимальный средний наружный диаметр <1> dem,min | Максимальный средний наружный диаметр dem,max | Минимальный средний внутренний диаметр раструба dem,min |
110 | 109,4 | 110,4 | 110,4 |
125 | 124,3 | 125,4 | 125,4 |
160 | 159,1 | 160,5 | 160,5 |
200 | 198,8 | 200,6 | 200,6 |
250 | 248,5 | 250,8 | 250,8 |
315 | 313,2 | 316,0 | 316,0 |
400 | 397,6 | 401,2 | 401,2 |
500 | 497,0 | 501,5 | 501,5 |
630 | 626,3 | 631,9 | 631,9 |
800 | 795,2 | 802,4 | 802,4 |
1000 | 994,0 | 1003,0 | 1003,0 |
1200 | 1192,8 | 1203,6 | 1203,6 |
<1> Для труб и трубных концов ряда DN/OD, для которых не предусмотрены присоединительные размеры согласно ГОСТ 32413. Примечание - Требования к другим номинальным диаметрам, не представленным в настоящей таблице, определяют согласно 5.3.10. |
5.3.10 Если для труб и фасонных частей необходимые данные отсутствуют в
ГОСТ 32413, то допуск на наружный диаметр трубы и трубного конца определяют следующим образом:
dem,min >= 0,994
de и
dem,max <= 1,003
de, где
de - либо номинальный диаметр трубы согласно серии DN/OD, либо заданный производителем для трубы серии DN/ID наружный диаметр. Результат следует округлять в

сторону до одной значащей цифры после запятой.
5.3.11 Раструбные соединения с установленными уплотнительными кольцами используют при соединении труб и фасонных частей типа B.
5.3.12 Для труб типа B следует придерживаться установленных требований к размерам
Amin для раструбов и соединительных концов, указанных в
таблицах 5.7 и
5.8.
5.3.13 Для труб типа B, имеющих номинальные размеры больше, чем DN/OD 630 и DN/ID 600, в отдельных случаях значение
Amin может быть меньше, чем указано в
ГОСТ 32413, но не менее 85 мм.
5.3.14 Минимальный средний внутренний диаметр раструба dsm,min должен быть равен de,max.
5.3.15 Если не задано положение уплотнительного кольца на трубном конце, то размер
Amin необходимо определить по
таблицам 5.7 и
5.8.
5.3.16 Минимальный размер трубного конца
L1,min (рисунок А.4) определяют по формуле
L1,min = Amin + F, (5.1)
где Amin - длина контакта;
F - расстояние от трубного конца до точки эффективного уплотнения.
5.3.18 Толщину стенки
e гладких трубных концов определяют с помощью
таблицы 5.6. Значения рассчитывают до двух знаков после запятой, а затем округляют до одной значащей цифры после запятой.
5.3.19 Для обеспечения жесткости раструба больше 4 кН/м
2 толщины стенки
e4 и
e5 следует выбирать по
таблицам 5.7 и
5.8.
5.3.20 Для обеспечения жесткости раструба менее 4 кН/м
2 минимальная толщина его внутренней стенки должна составлять 1,5
e4, где
e4 определяют по
таблицам 5.7 и
5.8.
5.3.21 Если раструб изготовляют на трубе или части трубы после экструзии методом термического формования, допускается максимальное уменьшение толщин стенок e, e2, e4 и e5 до 15% и e3 до 25%. Основанием для расчета являются заданные производителем минимальные значения толщины стенок трубы.
5.3.22 Минимальная толщина стенки внутреннего слоя
e4,min фасонных частей типа B для DN/OD <= 315 и DN/OD <= 300, изготовляемых литьем под давлением, должна быть равна 2,0 мм. При больших диаметрах она должна соответствовать значениям, приведенным в
таблицах 5.7 и
5.8.
5.3.23 Конструктивная высота ec стенок фасонных частей, изготовляемых литьем под давлением, до DN/OD 200, а также для труб ряда DN/ID с фактическим наружным диаметром до 200 мм должна, как минимум, соответствовать установленным значениям emin для SDR 41 для сплошных стенок.
5.3.24 Для труб ряда DN/ID следует проводить расчет, используя фактические значения наружного диаметра.
5.3.25 Минимальная толщина стенки e4,min фасонной части, производимого ротационным формованием, должна быть в 1,25 раза больше, чем толщина стенки у фасонных частей, изготовленных литьем под давлением, округленных до одной значащей цифры после запятой.
5.3.26 Если такая фасонная часть имеет гладкий конец и (или) гладкий раструб, то минимально допустимые толщины e, e2 и e3 следует увеличить в 1,25 раза.
6 Маркировка труб и фасонных частей
6.1 Маркировку труб и фасонных частей производят на их наружной поверхности путем печати, тиснения или с использованием специальных этикеток таким образом, чтобы обеспечить считываемость информации после хранения, воздействия атмосферных осадков и монтажа.
6.2 По долговечности маркировка подразделяется на следующие виды:
- читаемая после полного срока использования элемента трубопровода (код соответствия "а");
- читаемая до укладки трубопровода (код соответствия "б");
- читаемая до начала работ по строительству трубопровода (код соответствия "в").
6.3 Каждая труба подлежит маркировке через максимум 2 м, но не менее одного раза на изделие. Минимальный объем информации при маркировке труб указан в таблице 6.1.
Таблица 6.1
Минимальная маркировка труб
Данные | Долговечность маркировки |
1 | Обозначение нормативного документа | а |
2 | Область применения | а |
3 | Производитель или торговый знак | а |
4 | Номинальный диаметр трубы | а |
5 | Минимальная номинальная толщина стенки трубы или SDR | а |
6 | Номинальная кольцевая жесткость трубы | а |
7 | Другие данные производителя: | |
| - дата изготовления (в цифровой или кодированной форме) | а |
| - производственная площадка (наименование или код) | а |
8 | Устойчивость к отрицательным температурам (  ) | б |
6.4 Трубы, монтаж которых допускается проводить при температуре окружающей среды
T < -10 °C, маркируются знаком "снежинка" (

).
6.5 Минимальный объем информации при маркировке фасонных частей указан в таблице 6.2.
Таблица 6.2
Минимальная маркировка фасонных частей
Данные | Долговечность маркировки |
1 | Обозначение нормативного документа | б |
2 | Область применения или соответствующий знак | а |
3 | Производитель или торговый знак | а |
4 | Номинальный диаметр фасонной части | а |
5 | Номинальный угол | б |
6 | Минимальная номинальная толщина стенки или SDR | б |
7 | Материал | а |
8 | Другие данные производителя: | |
| - дата производства (в цифровой или кодированной форме) | б |
| - производственная площадка (наименование или код) | б |
7 Правила проектирования трубопроводов самотечных систем водоотведения из труб НПВХ
7.1 Область применения самотечных трубопроводов из НПВХ
7.1.1 Для обеспечения функциональных характеристик и безаварийной длительной эксплуатации трубопроводов систем водоотведения из НПВХ необходимо выполнить гидравлический и прочностной расчеты трубопровода, обеспечить использование при строительстве труб и фасонных частей, отвечающих требованиям настоящего свода правил и действующих стандартов, а также качественное выполнение строительных работ.
7.1.2 Трубопроводы систем водоотведения должны быть герметичны, статически устойчивы и обладать необходимыми функциональными свойствами. Функциональность трубопровода включает:
- бесперебойное отведение сточных вод в проектных объемах;
- устойчивость трубопровода к механическим нагрузкам, возникающим при водной струйной очистке;
- устойчивость трубопровода к агрессивным воздействиям химически активных веществ, транспортируемых сточными водами.
7.1.3 Трубопроводы и фасонные части из НПВХ используются для устройства
(рисунок 7.1):
- наружной канализации;
- систем водоотведения в подвальных помещениях зданий;
- дождевой канализации внутри зданий высотой до 10 м.
Рисунок 7.1 - Применение трубопроводов из НПВХ
7.1.4 Самотечные трубопроводы из НПВХ применяют для водоотведения бытовых сточных вод с водородным показателем pH = 2 - 12 и температурой:
а) 45 °C для dn <= 400;
б) 35 °C для dn > 400.
7.1.5 При водоотведении промышленных стоков следует проверить химическую устойчивость материала трубопровода, фасонных частей и уплотнительных элементов к будущим температурным и химическим нагрузкам, используя таблицу химической стойкости НПВХ
(приложение Г), или обратиться к производителю трубной продукции.
7.2 Проектирование внутренних водостоков
7.2.1 При проектировании внутренних водостоков следует учитывать рекомендации
[5] и
СП 30.13330. Диаметры труб и фасонных частей должны быть унифицированы согласно
ГОСТ 32412.
7.2.2 Трубы внутреннего водостока прокладываются скрыто. Необходимо обеспечить свободный доступ к ревизиям и прочисткам посредством установки дверок, лючков, решеток и т.д.
7.2.3 При устройстве внутренних водостоков следует использовать раструбные и клеевые соединения.
7.2.4 Соединение отводящих трубопроводов со стояками следует проводить на раструбе с уплотнительным кольцом. Допускается применение двух раструбных муфт. Муфты необходимо закреплять на опорах.
7.2.5 Для соединения труб из НПВХ с трубами из других конструкционных материалов следует использовать универсальные муфты (см.
8.6.56 -
8.6.60).
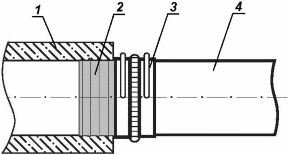
7.2.6 Чугунные трубы можно соединять с трубами из НПВХ с помощью специальных колец из ЭПДМ (рисунок 7.2).
1 - трубный конец из НПВХ; 2 - уплотнительное кольцо;
3 - переходное кольцо; 4 - чугунный раструб
Рисунок 7.2 - Соединение труб из НПВХ и чугунных труб
7.2.7 Требования к креплению трубопроводов внутренних водостоков приведены в
[5].
7.3 Проектирование наружной канализации
7.3.1 Выбор труб для наружной канализации следует проводить на основании гидравлических и прочностных расчетов, с учетом состава стоков и их температуры
[1].
7.3.2 При устройстве трубопроводов следует использовать раструбные и клеевые соединения.
7.3.3 Трубопроводы самотечной канализации следует проектировать прямолинейными. Изменение направления допускается только в колодцах.
7.3.4 Допускается изменение диаметра канализационного самотечного трубопровода с использованием фасонных частей.
7.3.5 Компенсация температурных деформаций в самотечной канализации обеспечивается раструбными соединениями.
7.4 Гидравлический расчет трубопроводов из НПВХ при проектировании внутренних водостоков и наружной канализации
7.4.1 Гидравлический расчет внутренних водостоков для многоквартирных домов проводят согласно
СП 30.13330.
7.4.2 Гидравлический расчет безнапорных наружных сетей хозяйственно-бытовой и дождевой канализации следует проводить с учетом требований
СП 32.13330.
7.4.3 Гидравлический расчет самотечных канализационных сетей выполняют в целях определения диаметров и уклона труб, обеспечивающих гарантированный пропуск расчетных расходов при самоочищающих скоростях движения транспортируемых сточных вод.
7.4.4 Расчетные расходы сточных вод в начале и по окончании проектного периода эксплуатации сети водоотведения должны быть определены генеральным планом городского округа (поселения) согласно
пункту 4.7 СП 42.13330.2016 и указаны в задании на проектирование системы водоотведения.
7.4.5 Исходные данные для гидравлического расчета канализационных сетей:
- минимальный расчетный расход сточных вод на начало эксплуатации сети qmin, л/с;
- прогнозируемый (максимальный) расчетный расход сточных вод к окончанию проектного периода эксплуатации сети водоотведения qpr, л/с;
- длины проекций участков сети на плане l1...ln, м. В случае разветвленной сети необходимо определить основную трассу, при этом ответвления рассчитывают отдельно, а их расчетные расходы q1...qn добавляют к расходу основной трассы в соответствующих узловых точках;
- материал трубопровода с соответствующей эквивалентной

шероховатостью внутренней поверхности и коэффициентом линейного расширения трубопровода, изготовленного из конкретного материала;
- динамическая вязкость

, 10
-3 Па·с;
- плотность воды

, кг/м
3;
- консистенция пульпы s, доли;
- кинематическая вязкость V, м2/с;
- отметки земли по узловым точкам сети z1...zi, м, в Балтийской системе высот;
- глубина промерзания грунтов в данном районе hпр, м.
7.4.6 Гидравлический расчет следует выполнять с условием обеспечения минимальной глубины заложения сети при гарантированном пропуске расчетных расходов сточных вод и минимальных строительных и эксплуатационных затратах. Расчеты разветвленной канализационной сети следует проводить с использованием профильного программного обеспечения.
7.4.7 При расчете наружных канализационных сетей из НПВХ необходимо учитывать следующие требования:
- трубопроводы для уличной сети проектируются при DN >= 200;
- трубопроводы для внутриквартальной сети, сети бытовой и производственной канализации проектируются при DN >= 150;
- наибольшая расчетная скорость движения сточных вод vmax = 8 м/с;
- расчетное наполнение трубопровода
h/
D определяют по
таблице 7.1;
- самоочищающие скорости при расчетном наполнении труб в сети хозяйственно-бытовой канализации определяют по
таблице 7.2;
- минимальные уклоны
i0 труб при расчетном наполнении определяются в соответствии с требованиями
СП 32.13330 по
таблице 7.3;
- диаметры трубопроводов по ходу движения потока сточной жидкости не должны уменьшаться;
- глубина заложения шелыги трубы должна быть не менее 0,7 м (для защиты труб от механических повреждений наземным транспортом).
Таблица 7.1
Максимальное наполнение труб
DN | Максимальное наполнение труб h/D |
150 - 300 | 0,6 |
350 - 450 | 0,7 |
500 - 900 | 0,75 |
Таблица 7.2
Значения самоочищающих скоростей в сети
хозяйственно-бытовой канализации труб
DN | Минимальная скорость, м/с |
150 - 250 | 0,7 |
300 - 400 | 0,8 |
450 - 500 | 0,9 |
600 - 800 | 0,95 |
Таблица 7.3
DN | Минимальный уклон |
150 | 0,007 |
200 | 0,005 |
7.4.8 Для расчета самотечной канализационной сети следует составлять расчетную схему на топографической карте с горизонталями через 0,5 - 1 м.
7.4.9 Расчет самотечной сети водоотведения следует проводить, начиная с наиболее возвышенных и (или) удаленных от конечной (наиболее пониженной) точки коллектора участков.
7.4.10 Гидравлический расчет предусматривает определение скорости потока в трубопроводе при заданном расходе Qt, наполнении h/D и диаметре D.
7.4.11 Диаметр трубопровода определяется значением расчетного расхода на конкретном участке при минимальном уклоне и расчетном наполнении в диапазоне допустимых скоростей. Для определения диаметра трубопровода круглого сечения, мм, в первом приближении при скорости потока vп = 1 м/с используют формулу

, (7.1)
где Qп - расход при полном наполнении трубопровода, м3/с;
Qп = Qt/(p1(h/D - p2)), (7.2)
здесь Qt - расход при заданном наполнении, м3/с;
h/D - заданное наполнение (диапазон 0,25 - 0,8);
p1 = 1,583 - безразмерный коэффициент;
p2 = 0,18 - безразмерный коэффициент.
7.4.12 Уклон трубопровода определяют по формуле
i0 = k·(Qп)n/Hm, (7.3)
где k, n, m - табличные коэффициенты;
H - вертикальный внутренний размер трубопровода, м.
Коэффициенты k, n, m для трубопроводов круглого сечения приведены в таблице 7.4.
Таблица 7.4
Расчетные коэффициенты для трубопроводов круглого сечения
D, мм | k | n | m |
<= 600 | 0,00179 | 1,92 | 5,2 |
> 600 | 0,00214 | 1,96 | 5,2 |
7.4.13 Для труб больших диаметров (с DN от 1600 мм включительно) рекомендуется проводить гидравлические расчеты в каждом конкретном случае применения с учетом эквивалентной или относительной шероховатости. Для гидравлически гладких труб влияние шероховатости допускается не учитывать.
7.4.14 Скорость потока сточных вод
vt определяют с помощью графиков (рисунки 7.3 и
7.4), исходя из значения уклона
i0. В случаях выхода искомых точек за пределы графиков (см. рисунки 7.3 и
7.4), допускается производить экстраполяцию кривых (см. рисунок 7.3) в пределах
i0 не более 0,011 и
q не более 2100 л/с, а для
рисунка 7.4 - в пределах
i0 не более 0,016 и
q не более 640 л/с.
Рисунок 7.3 - График зависимости уклона
канализационных трубопроводов от расхода (DN трубопровода
и скорости потока при полном наполнении)
Рисунок 7.4 - График зависимости уклона канализационных
трубопроводов от расхода (DN трубопровода и скорости потока
при наполнениях трубопровода 0,65/0,7/0,75)
7.4.15 В случае если при принятом уклоне скорость потока сточных вод, полученная из графиков, имеет значение меньше самоочищающей скорости (см.
таблицу 7.2), то следует уменьшить диаметр трубопровода или увеличить уклон, после чего повторно рассчитать скорость потока. При получении расчетных скоростей потока сточных вод выше максимально допустимых значений
vmax следует в первую очередь уменьшать уклон трубопровода расчетного участка. Для снижения скоростей потока следует увеличивать диаметр трубопровода.
7.4.16 Гидравлический расчет самотечных систем водоотведения одноквартирных и блокированных жилых домов следует выполнять на расчетный максимальный секундный расход сточных вод с использованием таблиц для определения полного расхода и скорости отведения сточных вод и диаграммы для определения наполнения трубопровода круглого сечения (рисунок 7.5) с учетом указаний
[2]. Таблицы для определения полного расхода и скорости отведения сточных вод трубами из НПВХ при полном заполнении рассчитываются с использованием формулы Колбрука - Уайта и предоставляются производителями труб.
Рисунок 7.5 - Диаграмма для определения
наполнения трубопровода круглого сечения
Примеры гидравлических расчетов трубопроводов из НПВХ приведены в
приложении Д.
7.4.17 Методику гидравлического расчета трубопроводов из НПВХ с использованием таблиц для определения полного расхода и скорости отведения сточных вод и диаграммы для определения наполнения трубопровода следует использовать только при гидравлическом расчете новых трубопроводов.
7.4.18 Полный расход
Qп и скорость в полном сечении
vп сточных вод в трубопроводе из НПВХ определяются по расчетной
таблице Д.1, исходя из заданного диаметра
D и уклона трубопровода
i0.
7.4.19 Далее следует вычислить отношение расчетного расхода к полному расходу сточных вод
Qt/
Qп и определить наполнение трубопровода
h/
D по диаграмме (на
рисунке 7.5). Отношение скоростей сточных вод при расчетном и полном заполнении
vt/
vп следует определять по соответствующему графику диаграммы.
7.4.20 Скорость потока сточных вод при заданном наполнении трубопровода определяют по формуле

, (7.4)
где

- наполнение;
vп - скорость потока сточных вод при полном заполнении.
7.4.21 Полученное значение сравнивают со значением самоочищающей скорости для данного диаметра трубопровода
(таблица 7.2).
| | ИС МЕГАНОРМ: примечание. Нумерация пунктов дана в соответствии с официальным текстом документа. | |
7.4.23 Гидравлический расчет самотечных канализационных сетей также допускается проводить с использованием проверенных на практике методик, изложенных в нормативных документах (например, согласно
СП 399.1325800), а также с использованием профильного программного обеспечения.
7.5 Прочностной расчет самотечных трубопроводов из НПВХ
7.5.1 Прочностной расчет самотечных трубопроводов из НПВХ следует проводить с учетом требований
СП 249.1325800 и с использованием проверенных на практике аналитических (согласно
СП 399.1325800), графических методов, а также с использованием профильного программного обеспечения. Наибольшую точность прочностных расчетов обеспечивает метод конечных элементов.
7.5.2 Система трубопровод/грунт должна выдерживать существующие и прогнозируемые нагрузки в сочетании с надежным исполнением функций по водоотведению. Предельное прогнозное значение овальности трубопровода из НПВХ составляет 6%.
7.5.3 Действующие на самотечные трубопроводы из НПВХ статические и динамические нагрузки должны быть учтены на этапе проектирования.
7.5.4 При прочностном расчете трубопроводов из НПВХ следует учитывать взаимное влияние труб и окружающего грунта в результате воздействия внешних нагрузок. Реакция грунта определяет степень деформации трубопровода, которая зависит от выбора грунта для заделки и качества его уплотнения.
7.5.5 Результатом прочностного расчета является определение необходимой толщины стенки (класса жесткости) труб, используемых при строительстве трубопровода. Правильность выбора следует подтвердить проверочным расчетом. Исходными данными при проверочном расчете являются параметры грунта, труб и действующие нагрузки.
7.5.6 При использовании труб из НПВХ необходимо выполнить следующие проверочные расчеты:
- на прочность;
- деформационную устойчивость;
- устойчивость.
7.5.7 Все расчеты следует проводить для исходных и прогнозных значений (на 50 лет) модуля упругости и прочности на изгиб труб, используемых при строительстве (данные для расчета предоставляются производителем трубной продукции).
7.5.8 В случае прокладки трубопроводов на небольшой глубине под дорожным покрытием необходимо выполнить проверочный расчет трубопровода на устойчивость к динамическим нагрузкам.
7.5.9 При выполнении прочностных расчетов для трубопроводов, прокладываемых на небольшой глубине, необходимо учесть следующие нагрузки:
- давление грунта;
- влияние сооружений, расположенных на поверхности вблизи трубопровода;
- транспортные нагрузки;
- влияние транспортируемых сточных вод;
- нагрузки, обусловленные собственным весом трубопровода;
- нагрузки, обусловленные воздействием грунтовых вод.
7.5.10 При строительстве необходимо обеспечить контроль выполнения работ, которые непосредственно влияют на устойчивость трубопровода к действующим статическим и динамическим нагрузкам, а именно:
- на соблюдение геометрических размеров траншеи для прокладки трубопровода (ширина, глубина, профиль);
- крепление и демонтаж стенок траншеи;
- качество уплотнения грунта при заделке и засыпке трубопровода;
- качество устройства подстилающего слоя;
- движение транспорта на строительной площадке.
7.5.11 Производство строительных работ следует контролировать таким образом, чтобы обеспечить устойчивость трубопровода к прогнозируемым нагрузкам и, при необходимости, обеспечить своевременную реакцию проектной организации на изменение условий производства работ.
8 Правила монтажа трубопроводов самотечных систем водоотведения из труб НПВХ
8.1.1 Система трубопровод/грунт должна выдерживать существующие и прогнозируемые нагрузки (статические и динамические) в сочетании с надежным исполнением функций по водоотведению. Статическая устойчивость и безопасность эксплуатации трубопроводов систем водоотведения определяются взаимным влиянием конструкционных элементов (труб, фасонных частей) и искусственно созданной (или существующей в природе) окружающей средой (заделкой, засыпкой, воздействием грунтовых вод и т.д.). Эти факторы определяют функциональные свойства и срок эксплуатации трубопровода.
8.1.2 Трассу трубопровода на местности разбивают перед началом земляных работ. Ось трассы и ширина траншеи на поверхности земли должны быть точно определены, отмечены и зафиксированы.
8.1.3 Перед разбивкой трассы трубопровода проводят сбор и анализ всей информации, позволяющей определить положение существующих подземных коммуникаций.
8.1.4 Временные колышки, визирки, обноска, используемые при трассировке, должны быть надлежащим образом установлены, чтобы избежать при производстве работ отклонения от направления трассы.
8.1.5 При прокладке трубопровода выполняют следующие операции:
- устройство траншеи;
- устройство подстилающего слоя;
- опускание труб в траншею;
- соединение труб вдоль оси трассы;
- подбивка пазух и устройство наружного подстилающего слоя;
- послойная засыпка бокового пространства, защитного слоя;
- обратная засыпка траншеи.
8.2 Правила устройства траншей при строительстве трубопроводов
8.2.1 Размеры и профиль траншей должны обеспечить качественное строительство трубопровода в соответствии с
СП 45.13330 и положениями настоящего свода правил. При устройстве траншей в зоне застройки следует учитывать требования
СП 249.1325800.
8.2.2 Глубину траншеи определяют расчетным путем согласно
СП 32.13330 с учетом положений настоящего свода правил.
8.2.3 При строительстве трубопроводов в слабых грунтах глубина вскрытия должна быть минимум на 2 м ниже уровня дна траншеи для устройства грунтовой подушки.
8.2.4 При устройстве траншеи для обеспечения безопасного выполнения работ и последующей обратной засыпки траншеи необходимо учитывать правила техники безопасности
[3],
[4] и требования проекта.
8.2.5 Минимальная ширина траншеи (рисунок 8.1) определяется с помощью
таблиц 8.1 и
8.2. При этом выбирают наибольшее значение. Определенную с помощью таблиц ширину траншеи следует использовать при статическом расчете трубопровода.
x/2 - минимально допустимое расстояние между трубопроводом
и стенкой траншеи; OD (dn) - номинальный наружный диаметр
трубы;

- опорный угол;

- угол наклона стенки траншеи
Рисунок 8.1 - Угол наклона стенки траншеи
и ширина рабочего пространства
Таблица 8.1
Минимальная ширина траншеи в зависимости
от условного диаметра трубопровода
Ду, мм | Минимальная ширина траншеи (B = dn + x), м |
Траншея с крепью | Траншея без крепи |
| |
<= 225 | dn + 0,40 | dn + 0,40 |
225 < Ду <= 350 | dn + 0,50 | dn + 0,50 | dn + 0,40 |
350 < Ду <= 700 | dn + 0,70 | dn + 0,70 | dn + 0,40 |
700 < Ду <= 1200 | dn + 0,85 | dn + 0,85 | dn + 0,40 |
> 1200 | dn + 1,00 | dn + 1,00 | dn + 0,40 |
Примечание - В настоящей таблице применены следующие условные обозначения: x/2 - минимально допустимое расстояние между трубопроводом и стенкой траншеи, м; dn - номинальный наружный диаметр трубы, м;  - угол наклона стенки траншеи относительно горизонтальной плоскости. |
Таблица 8.2
Минимальная ширина траншеи в зависимости от ее глубины
В метрах
Глубина траншеи Hтр | Минимальная ширина траншеи Bmin |
<= 1,00 | - |
1,00 < Hтр <= 1,75 | 0,80 |
1,75 < Hтр <= 4,00 | 0,90 |
> 4,00 | 1,00 |
8.2.6 Статическая устойчивость траншеи должна быть обеспечена либо за счет применения ограждающих и удерживающих конструкций согласно
СП 249.1325800, либо за счет уклона стенки. Элементы крепления траншеи должны быть настолько удалены от трубопровода, чтобы не повредить его и не изменить его положение на трассе.
8.2.7 Если при производстве работ необходимо обеспечить доступ к стенке траншеи со стороны подземных сооружений, например колодцев, то гарантированное рабочее пространство должно иметь ширину не менее 0,5 м.
8.2.8 Если в одной траншее, на одном уровне должны размещаться несколько трубопроводов, то необходимо обеспечить наличие рабочего интервала между трубами в соответствии с таблицей 8.3.
Таблица 8.3
Минимальное расстояние между трубами,
расположенными на одном уровне траншеи
Диаметр трубопровода, мм | Минимальное расстояние между трубами, м |
<= 700 | 0,40 |
> 700 | 0,40 |
8.2.9 При устройстве траншей следует соблюдать требования
СП 45.13330 в целях обеспечения сохранности существующих трубопроводов и наземных сооружений в зоне застройки. Устройство и крепление стенок траншеи должны проводиться согласно
[3],
[4].
8.2.10 Чтобы обеспечить качественное выполнение работ в траншее следует обеспечить отведение проникающих грунтовых вод и выпадающих осадков. Понижение грунтовых вод, как правило, проводят на 0,5 м от уровня дна траншеи. Вид и способ водоотведения не должны оказывать влияния на заделку трубопровода и сам трубопровод.
8.2.11 При устройстве водоотведения необходимо следовать рекомендациям
СП 45.13330 по предотвращению разуплотнения грунтов и нарушения устойчивости откосов, обусловленных воздействием грунтовых вод.
8.2.12 После завершения работ по водоотведению все дренажные сооружения должны быть тщательно перекрыты.
8.2.13 Основание траншеи должно обладать, как минимум, несущей способностью, определяемой согласно
СП 22.13330, исходя из характеристик местного грунта, геометрии траншеи и действующих нагрузок. Не допускается приступать к работам по прокладке трубопровода и его заделке при рыхлом, не уплотненном основании траншеи.
8.2.14 В слабых водонасыщенных грунтах необходимо предусмотреть устройство стабилизирующего слоя из крупнозернистого материала в геотекстильной оболочке.
8.2.15 Уклон дна траншеи определяется проектной документацией.
8.2.16 Замену грунта на дне траншеи проводят:
- при строительстве трубопровода на специфических грунтах;
- изменении свойств грунта по всей трассе, при которых следует ожидать различной осадки;
- сильном влиянии на механические свойства грунта атмосферных осадков.
8.2.17 Замену грунта проводят на всю ширину траншеи, а в широких траншеях - на ширину, равную четырем диаметрам монтируемого трубопровода. При необходимости следует предусмотреть устройство стабилизирующего слоя из крупнозернистого материала в геотекстильной оболочке или отдельного фундамента.
8.2.18 Если перед устройством фундамента под трубопровод потребуется замена грунта, то толщина удаленного слоя должна составлять минимум 30 см.
8.2.19 Рыхлость грунта, обусловленная механическими нагрузками, например за счет воздействия строительной техники, устраняют либо за счет трамбовки, либо за счет добавки соответствующего связующего.
8.2.20 Стабилизацию дна траншеи проводят за счет устройства по всей длине траншеи:
- слоя песчано-гравийной смеси;
- щебеночного слоя;
- бетонного основания.
8.2.21 При устройстве дна траншеи из минеральных сыпучих материалов следует использовать грунты группы 1 или 2, приведенные в
таблице Е.1 (приложение Е). Коэффициент уплотнения окружающего грунта должен быть не менее 97%.
8.2.22 При устройстве бетонного основания в траншее следует руководствоваться требованиями
СП 70.13330. Бетонная смесь должна уплотняться. Толщина слоя бетонного основания и возможное армирование определяются проектом. Перед устройством нижнего подстилающего слоя бетон должен затвердеть. При монтаже труб и фасонных частей из НПВХ на бетонное основание следует предусмотреть вместо заделки грунтом полное бетонирование трубопровода.
8.2.23 Работы по устройству бетонного основания траншеи проводят после выполнения подготовительных работ, предусмотренных
СП 70.13330.
8.3 Заделка трубопровода в траншее
8.3.1 Качество заделки трубопровода влияет на статическую устойчивость системы "трубопровод/грунт", функциональные свойства, безопасность и срок полезной эксплуатации самотечных канализационных трубопроводов.
8.3.2 Заделка трубопровода состоит из подстилающего слоя, боковой засыпки и защитного слоя. Для подземных трубопроводов, строительство которых проводится в траншеях, размеры которых определялись по
таблицам 8.2 и
8.3, заделку проводят на ширину траншеи.
8.3.3 При использовании более широких траншей ширина заделки должна быть в четыре раза больше наружного диаметра трубы.
8.3.4 Минимально допустимая толщина защитного слоя заделки над трубой составляет 150 мм, а в местах раструбных соединений - 100 мм.
8.3.5 Грунт, используемый для заделки трубопровода, должен обеспечить длительную стабильность и устойчивость трубопровода к действующим нагрузкам. Он не должен оказывать негативного влияния на трубы, фасонные части или грунтовые воды. Мерзлый грунт для заделки трубопроводов не используется.
8.3.6 Характеристики используемых при обратной засыпке траншей материалов, структура заделки, крепление траншеи определяются проектной документацией.
8.3.7 Грунты для заделки трубопровода, их гранулометрический состав и тип крепления траншеи должны выбираться с учетом:
- диаметра трубопровода;
- материала трубопровода и толщины стенки трубы;
- свойств местного грунта.
8.3.8
Классификация грунтов для обратной засыпки трубопроводов приведена в приложении Е.
8.3.9 Требования к уплотнению заделки и характеристики используемого оборудования приведены в таблице 8.4.
Таблица 8.4
Требования к уплотнению заделки
и характеристики используемого оборудования
Группы грунтов | |
| 97% |
Агрегаты для уплотнения грунта | Масса в рабочем состоянии, кг | Пригодность | Толщина уплотняемого слоя, см | Число проходов |
Вибрационная трамбовка: |
- легкая | До 30 | + | До 20 | 2 - 4 |
- средняя | 30 - 60 | | 20 - 40 | 2 - 4 |
- тяжелая | 60 - 100 | | 30 - 50 | 2 - 4 |
Трамбовка взрывного действия, средняя | До 100 | | 20 - 40 | 3 - 4 |
Плоский вибратор: |
- легкий | До 100 | + | До 20 | 3 - 5 |
- средний | 100 - 300 | | 20 - 30 | 3 - 5 |
Примечание - В настоящей таблице применены следующие условные обозначения: "+" - рекомендуется; "  " - подходит в большинстве случаев, но каждый конкретный случай необходимо согласовывать. |
8.3.10 Для заделки трубопровода используют либо местный грунт, пригодность которого подтверждена испытаниями, либо специально поставляемые материалы определенного фракционного состава.
8.3.11 Местный грунт разрешается использовать для заделки трубопровода в случае, если:
- его характеристики соответствует требованиям проекта;
- его можно уплотнять;
- в нем отсутствуют материалы, способные повредить трубопровод (грубые фракции, корни деревьев, мусор, органические вещества, комки глины более 75 мм, снег и лед).
8.3.12 Материалы для подстилающего слоя не должны содержать частиц, размер которых превышает значения, приведенные в таблице 8.5.
Таблица 8.5
Максимально допустимый размер частиц грунта
для подстилающего слоя
В миллиметрах
Номинальный внутренний диаметр трубопровода DN | Максимально допустимый размер частиц для подстилающего слоя |
<= 200 | 22 |
200 - 600 | 40 |
> 600 | 60 |
8.3.13 Если местный грунт соответствует приведенным выше требованиям, то его следует использовать в первую очередь.
8.4 Устройство подстилающего слоя
8.4.1 Подстилающий слой должен обеспечить равномерное распределение давления в опоре под трубой (рисунок 8.2), исключить возникновение точечных нагрузок, деформаций и, как следствие, образование трещин и потерю трубопроводом герметичности.
Рисунок 8.2 - Распределение напряжений в подстилающем слое
8.4.2 Коэффициент уплотнения грунта основания траншеи должен быть меньше, чем коэффициент уплотнения грунта в нижнем подстилающем слое. Нижний и верхний подстилающие слои должны быть однородными.
8.4.3 Коэффициент уплотнения грунта в верхнем подстилающем слое должен быть всегда больше, чем коэффициент уплотнения грунта в нижнем подстилающем слое.
8.4.4 Подстилающий слой должен иметь необходимый уклон и форму, необходимую для укладки труб. Необходимо избегать появления точечных опор, прежде всего в местах расположения раструбов (рисунок 8.3). Для решения этой задачи необходимо устройство приямков для раструбных соединений в подстилающем слое или в основании траншеи.
Рисунок 8.3 - Устройство приямков
под раструбы при монтаже трубопровода
8.4.5 После соединения и укладки труб необходимо тщательно выполнить подбивку пазух между трубопроводом и подстилающим слоем, например с помощью узкой ручной трамбовки. Грунт нужно тщательно утрамбовать как вдоль лотка, так и в приямках для раструбных соединений.
8.4.6 Для обеспечения качественного выполнения работ по трамбовке грунта необходимо обеспечить наличие в траншее достаточного рабочего пространства. Допускается увеличение ширины траншеи.
8.4.7 При укладке трубопроводов используют три типа подстилающего слоя. По всей длине трубопровода следует использовать один тип подстилающего слоя.
8.4.8 Подстилающий слой 1-го типа предполагает устройство по всей длине трубопровода верхнего и нижнего подстилающих слоев (рисунок 8.4).
a - нижний подстилающий слой; b - верхний подстилающий слой;
dn - наружный диаметр трубы;

- опорный угол
Рисунок 8.4 - Подстилающий слой 1-го типа
8.4.9 Минимальную толщину нижнего подстилающего слоя принимают, мм:
100 - для нормальных грунтов;
150 - при глинистых грунтах и монолитных основаниях.
8.4.10 Толщина верхнего подстилающего слоя определяется на основании статического расчета и определяется значением опорного угла

:

; (8.1)

, (8.2)
где dn - наружный диаметр трубы;

- опорный угол.
8.4.11 Чтобы уменьшить опасность повреждения трубопровода и его осадки, толщину нижнего подстилающего слоя необходимо определять в зависимости от диаметра прокладываемого трубопровода, используя формулу
a = 100 + 0,1dn, (8.3)
где dn - наружный диаметр трубы.
8.4.12 Если грунт на дне траншеи не подходит для устройства подстилающего слоя, то следует увеличить глубину траншеи и выполнить подстилающий слой из другого материала.
8.4.13 Если на дне траншеи наблюдается скальная порода, каменистый грунт или грунт с постоянной плотностью или плотное основание (например, глина, валунная глина, мореный гравий), то толщину нижнего подстилающего слоя определяют по формуле
a = 100 + 0,2dn, (8.4)
где dn - наружный диаметр трубы.
8.4.14 Для устройства нижнего и верхнего подстилающих слоев должен использоваться одинаковый материал. Это правило следует соблюдать по всей трассе.
8.4.15 Подстилающий слой 2-го типа (рисунок 8.5) должен использоваться в однородном, относительно рыхлом, мелкозернистом грунте, который обеспечивает опору трубопровода по всей его длине. Трубы следует укладывать на предварительно спланированное и подготовленное основание.
b - верхний подстилающий слой; dn - наружный диаметр трубы
Рисунок 8.5 - Подстилающий слой 2-го типа
8.4.16 Толщина верхнего подстилающего слоя должна определяться статическим расчетом.
8.4.17 Степень уплотнения верхнего подстилающего слоя, как минимум, должна соответствовать уплотнению нижнего подстилающего слоя (в данном случае - дна траншеи).
8.4.18 Подстилающий слой 3-го типа (рисунок 8.6) следует использовать в однородном, относительно рыхлом, мелкозернистом грунте, который обеспечивает опору трубопровода по всей его длине. Трубы должны укладываться на предварительно спланированное и подготовленное основание.
b - верхний подстилающий слой; dn - наружный
диаметр трубы;

- опорный угол
Рисунок 8.6 - Подстилающий слой 3-го типа
8.4.19 Толщина верхнего подстилающего слоя должна определяться статическим расчетом.
8.4.20 Если основание траншеи не обладает несущей способностью, необходимой для устройства подстилающего слоя (торф, плывуны), то перед монтажом трубопровода необходимо выполнить подготовительные мероприятия - либо замену грунта (например, песком, щебнем и гидравлически связными грунтами), либо устройство опор (например, с использованием поперечных балок, уложенных на сваи, расположенные по бокам трубопровода; продольных балок или плит из армированного бетона, которые связывают сваи).
8.4.21 Устройство подстилающего слоя с заменой грунта или применение специальных опор проводится только в том случае, если устойчивость конструкции подтверждена статическим расчетом.
8.4.22 Бетонный подстилающий слой
(рисунок 8.7) может потребоваться:
- при наличии на трассе трубопровода разнородных грунтов;
- изменяющемся уровне грунтовых вод;
- сильном уклоне основания траншеи;
- прокладке в скальных породах.
8.4.23 Устройство бетонного подстилающего слоя для труб круглого сечения предусматривает выполнение следующих операций:
- устройство нижнего слоя бетона толщиной

, (8.5)
где

, при этом значение

не должно быть менее 100 мм;
здесь dn - наружный диаметр трубы;
dз.max - диаметр наибольшего зерна заполнителя бетона;
- укладку труб на деревянные, обильно смоченные водой планки;
- устройство верхнего подстилающего слоя из бетона, обладающего минимальной пластичностью, толщиной

, (8.6)
где

- толщина верхнего подстилающего слоя;
dз.max - диаметр наибольшего зерна заполнителя бетона.
a - нижний подстилающий слой; b - верхний
подстилающий слой;

- опорный угол
Рисунок 8.7 - Бетонный подстилающий слой
8.4.24 Для устройства бетонного подстилающего слоя следует применять бетон класса прочности B15. Если проектом предусмотрено армирование подстилающего слоя, то следует применять бетон класса прочности минимум B20. Требования к устойчивости бетонного подстилающего слоя к агрессивным внешним нагрузкам (классы экспозиции) следует определять исходя из условий эксплуатации.
8.4.25 Заделку трубопровода следует проводить только после достаточного отверждения бетона. Наличие бетонного подстилающего слоя уменьшает нагрузки, действующие на трубопровод.
8.4.26 При устройстве бетонного подстилающего слоя следует бетонировать все основание траншеи.
8.4.27 При укладке трубопроводов из НПВХ на бетонный подстилающий слой необходимо предусмотреть полное бетонирование трубопровода.
8.4.28 При полном бетонировании трубопровода бетонная оболочка должна полностью выдерживать действующие статические нагрузки.
8.4.29 При устройстве трубопроводов в мягких, плохо осушаемых грунтах для предотвращения разуплотнения и нарушения устойчивости нижнего подстилающего слоя следует использовать специальный слой из крупнозернистого (с габаритами фракции до 22 мм, с высокой лещадностью) щебня и песка с встроенным дренажом, изолированный от местного грунта геотекстилем (рисунок 8.8).
1 - геотекстиль для стабилизации траншеи; 2 - местный грунт;
3 - песок; 4 - геотекстиль для стабилизации подстилающего
слоя; 5 - дренажная труба; 6 - подстилающий слой
Рисунок 8.8 - Устройство заделки трубопровода
с использование геотекстиля
8.4.30 Стабилизированный подстилающий слой следует выполнять из крупнозернистого материала с встроенным дренажом и облицовывать геотекстилем.
8.4.31 Для устройства геотекстильного слоя необходимо использовать материал со следующими характеристиками:
- плотность - не менее 150 г/м2;
- коэффициент фильтрации - 140 - 125 м/сут;
- продольная разрывная нагрузка - 1,9 - 3,0 кН/м;
- поперечная разрывная нагрузка - 1,5 - 2,4 кН/м;
- прочность на продавливание - 400 - 500 Н.
8.5 Транспортирование и хранение труб и фасонных частей
8.5.1 При организации перевозки труб, фасонных частей и других элементов конструкции трубопровода и разгрузочно-погрузочных работ следует руководствоваться действующими нормативными документами и рекомендациями производителей трубной продукции.
8.5.2 Трубы и фасонные части из НПВХ транспортируют любым видом транспорта в соответствии с правилами перевозки грузов, техническими условиями погрузки и крепления грузов, действующими на транспорте данного вида.
8.5.3 Трубы транспортируются в пакетах. Число труб в пакетах регламентируется производителем трубной продукции. На гладкие концы труб и в раструбы могут быть установлены заглушки.
8.5.4 Для предотвращения образования изгибов при транспортировании трубы необходимо укладывать на ровную поверхность.
8.5.5 При перевозке и выполнении разгрузочно-погрузочных работ следует обеспечить выполнение мероприятий, исключающих механические повреждения и деформацию труб, попадание на них нефтепродуктов и жиров, загрязнение внутренних поверхностей.
8.5.6 При производстве разгрузочно-погрузочных работ необходимо использовать плоские текстильные стропы.
8.5.7 При температуре ниже 0 °C обращение с трубами и фасонными частями следует проводить с повышенной осторожностью.
8.5.8 Перед поставкой на строительную площадку трубы, фасонные части и другие элементы конструкции следует проверять на соответствие маркировки проектной документации, а также на наличие дефектов.
8.5.9 При организации хранения труб, фасонных частей и других элементов конструкции трубопровода следует руководствоваться действующими нормативными документами и рекомендациями производителей трубной продукции.
8.5.10 Все материалы должны быть складированы таким образом, чтобы обеспечить их чистоту и избежать загрязнения и повреждения.
8.5.11 Трубы и фасонные части следует хранить в неотапливаемых или отапливаемых складских помещениях или под навесами. Допускается кратковременное хранение труб и фасонных частей на открытой площадке.
8.5.12 Хранение труб на складах и строительных площадках должно проводиться в штабелях, уложенных на ровных площадках
(рисунок 8.9). Трубы укладываются на деревянные прокладки (см.
рисунок 8.9,
а,
б). При укладывании труб без разделяющих прокладок между последующими рядами раструбы в каждом ряду должны быть направлены попеременно в противоположные стороны (
рисунок 8.9,
б).
8.5.13 При длительном хранении трубы и фасонные части следует защищать от воздействия прямых солнечных лучей и воздействия высоких температур во избежание деформации труб и раструбов из-за длительного теплового воздействия. В этом случае следует уменьшать высоту и обеспечить постоянное проветривание штабеля, избегать воздействия на трубы прямого солнечного излучения.
8.5.14 Высота штабеля не должна превышать 2 м. По краям штабеля устанавливают боковые опоры, предотвращающие самопроизвольное раскатывание труб (рисунок 8.9, в).
а - хранение труб на опорах с деревянными прокладками;
б - хранение труб на опорах без деревянных прокладок;
в - хранение труб с боковыми опорами
Рисунок 8.9 - Хранение труб в штабелях
8.5.15 Допускается складирование труб без прокладок на стеллажах, исключающих раскатывание и повреждение труб, а также в пакетах.
8.5.16 При отрицательных температурах трубы следует хранить на опорах, чтобы избегать примерзания к грунту.
8.5.17 Хранение фасонных частей и уплотнительных колец проводится в упакованном виде.
8.6 Прокладка трубопровода
8.6.1 При прокладке трубопровода необходимо соблюдать рекомендации производителей труб, фасонных частей и других элементов строительной конструкции трубопровода.
8.6.2 Перед опусканием в траншею труб, фасонных частей и других элементов конструкции трубопровода их необходимо проверить на наличие недопустимых повреждений. Проверку следует проводить силами персонала, обладающего необходимой квалификацией.
8.6.3 Опускание элементов конструкции в траншею проводят вручную или с использованием приспособлений. Сбрасывать элементы конструкции в траншею запрещается.
8.6.4 Следует избегать повреждений труб, например за счет применения неподходящих держателей и захватывающих приспособлений, неправильного зацепления или в результате ударов.
8.6.5 При монтаже трубопровода трубы и фасонные части должны быть защищены от попадания внутрь посторонних веществ. Заглушки следует снимать непосредственно перед устройством соединений труб. Любой посторонний материал (предмет) следует удалять из трубопровода.
8.6.6 Монтаж труб следует проводить по схеме "снизу-вверх". Трубы следует укладывать раструбом вверх.
8.6.7 При остановке монтажных работ на длительный промежуток времени следует предварительно закрыть концы трубопровода заглушками.
8.6.8 Направление, глубина прокладки и уклон трубопровода определяются проектной документацией. Коррекцию глубины прокладки и уклона проводят за счет увеличения толщины подстилающего слоя. Коррекцию толщины подстилающего слоя и уклона не допускается проводить в отдельных точках интервала. После коррекции толщины подстилающего слоя следует обеспечить контакт подстилающего слоя и труб по всей длине интервала.
8.6.9 При прокладке трубопровода из труб НПВХ допускается устройство изгибов без предварительного нагрева. Значения допустимых радиусов изгиба труб из НПВХ приведены в таблице 8.6.
Таблица 8.6
Допустимые радиусы изгиба труб из НПВХ
В миллиметрах
Наружный диаметр трубопровода dn | Допустимый радиус изгиба трубопровода R |
dn <= 200 | >= 300dn |
dn > 200 | >= 500dn |
8.6.10 Трубы из НПВХ dn <= 315 мм из-за высокой собственной жесткости могут лишь незначительно изгибаться. Возможны небольшие изменения направления прокладки труб dn > 315 мм за счет увеличения зазора в раструбе и объема уплотнительного кольца. Максимально допустимые угловые отклонения оси при использовании стандартных раструбов приведены в таблице 8.7.
Таблица 8.7
Максимально допустимые изменения направления
оси трубопровода при раструбном соединении
Наружный диаметр трубопровода dn, мм | Максимально допустимые изменения направления оси трубопровода |
dn <= 315 | 2° |
315 < dn <= 630 | 1,5° |
dn > 630 | 1° |
8.6.11 Для изменения направления трубопровода на

углы следует использовать специальные фасонные части (
приложения Б и
В).
8.6.12 Монтаж трубопровода следует проводить из одиночных труб, используя раструбные или клеевые соединения, последовательно наращивая трубопровод в проектном положении. Особое внимание следует уделить монтажу самых длинных труб.
8.6.13 Обрезку труб следует выполнять под прямым углом к оси трубы. После обрезки необходимо удалить заусенцы, неровности и снять фаску под углом 15° - 30°.
8.6.14 Проводить обрезку фасонных частей запрещается, поскольку будет нарушена герметичность соединения.
8.6.15 Монтаж трубопроводов следует выполнять: с раструбными соединениями на дне траншеи; с неразъемными соединениями (клеевые соединения) на бровке траншеи.
8.6.16 Перед соединением труб следует предусмотреть устройство приямков, чтобы обеспечить правильное соединение труб и избежать опоры трубопровода на раструбы. Приямок должен иметь размеры, необходимые для качественного устройства соединения.
8.6.17 Концы труб или отводы, где после засыпки трубопровода планируется устройство примыканий, должны быть закрыты герметичными заглушками.
8.6.18 При устройстве раструбных соединений следует использовать трубы с чистыми, не поврежденными раструбами и гладкими концами. Заглушки труб, если их наличие предусмотрено спецификацией на поставку трубной продукции, снимают непосредственно перед соединением труб.
8.6.19 Перед монтажом следует убедиться в отсутствии дефектов уплотнительных колец и правильности их установки. Уплотнительные кольца и трубные концы следует обработать смазкой, рекомендуемой производителем труб.
8.6.20 Перед соединением следует проверить соосность соединяемых труб (фасонных частей).
8.6.21 Устройство раструбных соединений труб малых диаметров (<= 250 мм) проводят вручную (рисунок 8.10).
Рисунок 8.10 - Устройство раструбных соединений
8.6.22 Для соединения труб больших диаметров (250 мм и более) следует использовать монтажные приспособления, которые во избежание среза уплотнительных элементов или разрушения раструбов обеспечивают контролируемое центрирование соединяемых труб (рисунок 8.11).
Рисунок 8.11 - Устройство для соединения труб
из НПВХ большого диаметра
8.6.23 Раструбное соединение труб проводят за счет непрерывного силового воздействия на трубу (фасонную часть) вдоль оси трубопровода. При устройстве раструбного соединения не допускаются защемления и избыточные нагрузки на стыкуемые трубы.
8.6.24 Перед соединением труб для обеспечения теплового зазора на гладкий конец наносят метку расположения края раструба. Значение теплового зазора определяют согласно
пункту 5.3.5 СП 399.1325800.2018.
8.6.25 Соединение труб с использованием ковша экскаватора не допускается в связи с неконтролируемым силовым воздействием и возможными повреждениями.
8.6.26 После соединения труб необходимо проконтролировать положение трубы в профиле и наличие в раструбе зазора для компенсации температурных изменений длины труб и фасонных частей заданного размера. При необходимости выставляют зазор не менее 10 мм и корректируют положение трубы в профиле. Коррекция положения с использованием давления, смещения или ударных воздействий ковша экскаватора или другой строительной техники не допускается
8.6.27 Клеевое соединение труб из НПВХ рекомендуется использовать при строительстве самотечных трубопроводов с dn <= 315 мм. При устройстве клеевых соединений труб с использованием соединительных муфт необходимо:
- удалить с краев труб заусенцы, снять фаски;
- очистить склеиваемые поверхности трубы и соединительной муфты от грязи и пыли, обезжирить очищенные поверхности;
- нанести клей на очищенные поверхности;
- надвинуть приклеиваемую муфту на конец первой трубы до упора;
- вставить вторую трубу в муфту до упора;
- удалить излишки клея.
Примечание - Клей наносят на всю глубину раструба и длину трубы до заранее нанесенной отметки.
8.6.28
Инструкция по склеиванию труб из НПВХ приведена в приложении Ж.
8.6.29 При приклеивании седловых отводов необходимо:
- выполнить разметку посадочного места на существующем трубопроводе (либо с помощью шаблона, либо с использованием седлового отвода);
- вырезать отверстие в существующем трубопроводе;
- очистить и обезжирить места приклеивания на трубопроводе и седловом отводе;
- нанести клей на склеиваемые поверхности;
- установить седловой отвод через 1 мин после нанесения клея;
- прижать отвод к трубе хомутами.
8.6.30 Время схватывания клея составляет примерно 1 ч. Испытания на герметичность трубопровода можно проводить только через 3 - 4 ч после устройства клеевых соединений.
8.6.31 При необходимости монтажа трубопровода при отрицательных температурах обращение с трубами и фасонными частями следует проводить с повышенной осторожностью. Допускаются к использованию только трубы с маркировкой знаком "

".
8.6.32 Уплотнительные кольца из эластомеров допускается использовать при низких температурах, если они сохраняют эластичные свойства. Если уплотнительное кольцо подвижно внутри раструба, то перед монтажом его необходимо нагреть.
8.6.33 Если при строительстве трубопровода существует риск затопления траншеи или его всплытия, то трубопровод следует зафиксировать с помощью пригруза или обеспечить его дополнительное крепление.
8.6.34 При испытании трубопровода на герметичность необходимо обеспечить дополнительное временное крепление фасонных частей.
8.6.35 Дополнительные нагрузки, воздействующие на раструбные соединения при устройстве трубопроводов с большим уклоном или при переходах от стояков к лежакам, следует учитывать при разработке конструкции трубопровода. Для компенсации этих нагрузок используют бетонные упоры и фиксирующие ригели (рисунок 8.12). Правила расчета упоров приведены в
СП 399.1325800.
Рисунок 8.12 - Бетонные упоры для компенсации нагрузок
на раструбные соединения при большом уклоне трубопровода
8.6.36 Монтаж фасонных частей для устройства примыканий следует проводить одновременно со строительством трубопровода. Для устройства примыканий к трубопроводам следует использовать готовые элементы, изготовленные в заводских условиях (отводы, тройники).
8.6.37 Примыкание к трубопроводу должно быть предусмотрено между шелыгой и точками опоры свода, выше уровня заполнения трубопровода в сухую погоду.
8.6.38 Примыкающие трубопроводы должны быть устойчивы к возможной осадке грунта.
8.6.39 Если проектом не были предусмотрены отводы для дополнительных подключений, то их можно выполнить позже на уже находящемся в эксплуатации трубопроводе.
8.6.40 При устройстве примыканий к действующим трубопроводам необходимо обеспечить выполнение следующих требований:
- несущая способность трубопровода не должна ухудшаться;
- примыкающая труба не должна выступать внутри трубопровода или колодца;
- примыкание должно быть герметичным.
8.6.41 Для устройства примыканий к трубопроводам, находящимся в эксплуатации, используют следующие решения:
- монтаж тройника с использованием сдвижных муфт;
- монтаж седлового отвода с механическим креплением;
- приклеивание седлового отвода.
8.6.42 При устройстве примыкания следует использовать седловой отвод/тройник с соответствующим углом, обеспечивающим соединение с примыкающим трубопроводом.
8.6.43 Устройство примыкания к действующему трубопроводу следует проводить после выполнения подготовительных и земляных работ согласно
СП 399.1325800.
8.6.44 Для устройства примыкания необходимо вырезать участок трубы, размеры которого определяют по формуле
lрем = l + 2dn, (8.7)
где l - эффективная длина тройника;
dn - наружный диаметр трубопровода.
8.6.45 На обрезанных концах трубопровода необходимо удалить заусенцы и выполнить фаски. Крепление тройника проводится универсальными (рисунок 8.13) либо надвижными муфтами
(рисунок 8.14).
Рисунок 8.13 - Крепление тройника универсальной муфтой
Рисунок 8.14 - Врезка тройника
с креплением надвижными муфтами
8.6.46 Механическое крепление седлового отвода используют при устройстве примыканий под углом 90° к оси трубопровода (рисунок 8.15).
1 - фасонная часть; 2 - уплотнительное кольцо;
3 - герметизирующая вставка; 4 - труба
Рисунок 8.15 - Седловой отвод с механическим креплением
8.6.47 Размеры отверстия в трубопроводе следует выбирать в соответствии с рекомендациями производителя. При устройстве отверстия нужно использовать подходящий инструмент и избегать попадания постороннего материала в трубопровод.
8.6.48 Седловые отводы, образующие угол 45° с вертикальной осью трубопровода
(рисунок Б.17), крепятся с помощью клея в верхней части трубопровода. При монтаже необходимо следовать рекомендациям производителя трубной продукции.
8.6.49 При прокладке трубопроводов через существующие сооружения систем водоотведения, включая канализационные колодцы, необходимо обеспечить устройство в их стенках герметичных шарнирных соединений.
8.6.50 Дополнительная подвижность примыкания обеспечивается либо за счет монтажа коротких труб, либо за счет применения шарнирных муфт. Длина коротких труб зависит от диаметра трубопровода (рисунок 8.16). При монтаже необходимо обеспечить совпадение уровня лотка колодца и трубопровода.
1 - вставка для крепления трубопровода; 2 - короткие трубы
Рисунок 8.16 - Устройство примыкания к бетонному колодцу
трубопровода из НПВХ с использованием коротких труб
8.6.51 Если проектом предусмотрено устройство бетонного основания, то в местах примыканий трубопроводов к колодцам этот слой должен отсутствовать. Бетонный подстилающий слой должен отсутствовать также в случаях, когда ожидается осадка колодца.
8.6.52 Если существующее сооружение системы водоотведения, включая канализационные колодцы, имеет общее с трубопроводом основание, то необходимо обеспечить герметичную заделку примыкания к ограждающей конструкции без использования шарнирных соединений.
8.6.53 Устройство соединений трубопроводов из НПВХ с трубопроводами из других конструкционных материалов проводят с использованием:
- переходов;
- уплотнительных колец;
- универсальных муфт.
8.6.54 Устройство соединений трубопроводов из НПВХ с бетонными и керамическими трубами показано на рисунке 8.17.
1 - трубный конец из НПВХ; 2 - прокладка из ЭПДК;
3 - бетонный/керамический раструб
Рисунок 8.17 - Устройство соединения трубного конца
из НПВХ с керамическим раструбом
8.6.55 Универсальные муфты используют:
- для ремонта поврежденных трубопроводов;
- соединения трубопроводов из различных материалов и с различными диаметрами и формой сечения;
- соединения укороченных труб;
- устройства врезок в действующие трубопроводы.
8.6.56 Универсальные муфты состоят из эластичной манжеты специальной формы, которая крепится к трубам с помощью стяжных лент из нержавеющей стали. Стяжные ленты обеспечивают герметичное соединение муфты и трубы. Для защиты от сдвиговых напряжений муфта комплектуется либо защитным кожухом из нержавеющей стали, либо пружинным каркасом.
8.6.57 В таблице 8.8 приведены размеры универсальных муфт без дополнительной защиты от сдвиговых напряжений (тип 1)
(рисунок 8.18).
Таблица 8.8
Размеры универсальных муфт типа 1
В миллиметрах
Номинальный диаметр муфты d3 | Ширина манжеты | Толщина под стяжной лентой | Ширина участка для защитного кожуха | Толщина защитного кожуха | Ширина стяжной ленты | Толщина стяжной ленты |
Менее 400 | 102 | 3,0 | 32 | 0,4 | 12 | 0,6 |
400 - 1000 | 160 | 3,5 | 32 | 0,5 | 12 | 0,6 |
1 - труба 1; 2 - стяжная лента; 3 - манжета; 4 - труба 2;
d3 - номинальный диаметр; lm - длина манжеты
Рисунок 8.18 - Соединение труб
с использованием универсальной муфты типа 1
8.6.58 В таблице 8.9 приведены размеры универсальных муфт с защитой от сдвиговых напряжений (тип 2)
(рисунок 8.19).
Таблица 8.9
Размеры универсальных муфт типа 2
В миллиметрах
Номинальный диаметр муфты d3 | Ширина манжеты | Толщина под стяжной лентой | Ширина участка для защитного кожуха | Толщина защитного кожуха | Ширина стяжной ленты | Толщина стяжной ленты |
Менее 200 | 120 | 7,0 | 54 | 0,35 | 12 | 0,6 |
200 - 300 | 150 | 7,5 | 78 | 0,35 | 12 | 0,6 |
Свыше 300 | 185 | 9,0 | 97 | 0,75 | 12 | 0,6 |
1 - труба 1; 2 - стяжная лента; 3 - защитное кольцо;
4 - труба 2; 5 - манжета; d3 - номинальный диаметр;
lm - длина манжеты
Рисунок 8.19 - Соединение труб
с использованием универсальной муфты типа 2
8.6.59 Для соединения труб разных диаметров используют универсальные муфты с пружинным каркасом (рисунок 8.20) или без пружинного каркаса
(рисунок 8.21).
1 - труба 1; 2 - адаптер; 3 - универсальная муфта
с пружинным каркасом; 4 - труба 2
Рисунок 8.20 - Универсальная муфта с пружинным каркасом
1 - труба 1; 2 - стяжная лента; 3 - труба 2; 4 - манжета;
d3a - номинальный диаметр трубы 1; d3b - номинальный диаметр
трубы 2; lm - длина манжеты
Рисунок 8.21 - Универсальная муфта без пружинного каркаса
8.6.60 В таблице 8.10 приведены предельные размеры универсальных муфт без пружинного каркаса. Точные значения размеров определяются в спецификации производителя.
Таблица 8.10
Размеры универсальных муфт без пружинного каркаса
В миллиметрах
Номинальный диаметр муфты d3a | Номинальный диаметр муфты d3b | Ширина манжеты |
110 - 510 | 75 - 410 | 120 - 180 |
8.6.61 Универсальные муфты с пружинным каркасом применяют для устройства переходных соединений трубопроводов с наружным диаметром dn = 100 - 1070 мм. Точные значения размеров определяются в спецификации производителя.
8.7 Обратная засыпка траншеи
8.7.1 Обратную засыпку траншеи проводят только тогда, когда соединения труб и подстилающий слой обладают необходимой статической устойчивостью и способны выдержать нагрузки, возникающие при заделке и засыпке трубопровода.
8.7.2 Обратная засыпка траншеи предполагает устройство заделки трубопровода (засыпку и уплотнение боковых пазух, устройство защитного слоя), а также засыпку траншеи (рисунок 8.22).
1 - нижний подстилающий слой (h1); 2 - верхний подстилающий
слой (h2); 3 - заделы боковых пазух (h3); 4 - защитный
слой (h4); 5 - часть защитного слоя, трамбуемая вручную;
6 - основной слой засыпки (h5)
Рисунок 8.22 - Схема засыпки траншеи с расположением слоев
8.7.3 Возможность использования при обратной засыпке местного грунта следует проверить перед началом работ. Повторное использование грунта с повышенным содержанием мелких фракций не рекомендуется.
8.7.4 Грунт, который предполагается использовать для засыпки траншеи, до начала работ должен быть защищен от атмосферных осадков.
8.7.5 Степень уплотнения грунта при обратной засыпке траншеи должна соответствовать данным, использованным при статическом расчете. Контроль качества уплотнения либо проводят на основании характеристик используемого оборудования, либо подтверждают результатами измерений.
8.7.6 Зона заделки должна выполняться таким образом, чтобы избежать проникновения в нее местного грунта.
8.7.7 В слоях грунта, насыщенных грунтовыми водами, для стабилизации зоны заделки следует использовать геотекстиль или фильтрующий слой из щебня.
8.7.8 Уплотнение в боковых пазухах следует проводить вручную или с использованием легких трамбовок. Необходимо обеспечить одинаковую плотность грунта во всей зоне заделки.
8.7.9 Толщина защитного слоя над трубопроводом должна составлять 300 мм.
8.7.10 Минимальная допустимая толщина защитного слоя: 150 мм над трубой и 100 мм над раструбом. При толщине защитного слоя меньше 300 мм уплотнение грунта следует проводить вручную или с использованием легких трамбовок.
8.7.11 Механическое уплотнение основного слоя засыпки непосредственно над трубой возможно только в случае, если слой грунта над трубопроводом имеет толщину более 300 мм. Минимально допустимая толщина слоя грунта, для уплотнения которого допускается использовать средние и тяжелые трамбовки, трамбовки взрывного действия, вибраторы и виброкатки, зависит от их характеристик.
8.7.12 Выбор агрегатов для уплотнения грунта, число проходов и толщина уплотняемого слоя должны определяться в зависимости от группы грунта и механических характеристик трубопровода (таблица 8.11).
Таблица 8.11
Уплотнение грунта при заделке трубопровода и засыпке траншеи
Группы грунтов | 1 | 2 | 3 и 4 |
Устройство заделки трубопровода (боковые пазухи, защитный слой) |
Коэффициент уплотнения грунта | 97% | 97% | - |
Агрегаты для уплотнения грунта | Масса в рабочем состоянии, кг | Пригодность | Толщина уплотняемого слоя, см | Число проходов | Пригодность | Толщина уплотняемого слоя, см | Число проходов | Пригодность | Толщина уплотняемого слоя, см | Число проходов |
Уплотнение заделки трубопровода |
Вибрационная трамбовка: |
- легкая | До 30 | + | До 20 | 2 - 4 | + | До 20 | 2 - 4 | - | - | - |
- средняя | 30 - 60 | | 20 - 40 | 2 - 4 | | 20 - 30 | 3 - 4 | - | - | - |
- тяжелая | 60 - 100 | | 30 - 50 | 2 - 4 | | 20 - 40 | 3 - 4 | - | - | - |
Трамбовка взрывного действия, средняя | До 100 | | 20 - 40 | 3 - 4 | | 20 - 40 | 3 - 4 | - | - | - |
Плоский вибратор: | |
- легкий | До 100 | + | до 20 | 3 - 5 | + | До 15 | 4 - 6 | - | - | - |
- средний | 100 - 300 | | 20 - 30 | 3 - 5 | | 15 - 25 | 4 - 6 | - | - | - |
Уплотнение засыпки траншеи |
Коэффициент уплотнения грунта | 98% | 97% | 95% |
Уплотнение слоев грунта, расположенных на 1 м выше заделки трубопровода |
Вибрационная трамбовка: |
- средняя | 30 - 60 | + | 20 - 40 | 2 - 4 | + | 20 - 30 | 2 - 4 | | 10 - 30 | 2 - 4 |
- тяжелая | 60 - 100 | + | 30 - 50 | 2 - 4 | + | 20 - 40 | 2 - 4 | | 20 - 30 | 2 - 4 |
Трамбовка взрывного действия, средняя | До 100 | | 20 - 40 | 3 - 4 | | 20 - 40 | 3 - 4 | | 20 - 30 | 3 - 5 |
Плоский вибратор |
- средний | 100 - 300 | + | 20 - 40 | 3 - 5 | | 20 - 40 | 3 - 5 | - | - | - |
- тяжелый | 300 - 750 | + | 30 - 60 | 3 - 5 | | 30 - 50 | 3 - 5 | - | - | - |
Виброкаток: | |
- тяжелый | 600 - 8000 | + | 30 - 80 | 4 - 6 | + | 30 - 60 | 4 - 6 | | 30 - 60 | 4 - 6 |
Уплотнение слоя грунта под проезжей частью (толщина 0,5 м) |
Коэффициент уплотнения грунта | 100% | 100% | 97% |
Примечание - В настоящей таблице применены следующие условные обозначения: "+" - рекомендуется; "  " - подходит в большинстве случаев, но каждый конкретный случай необходимо согласовывать; "-" - не подходит. |
8.7.13 Устройство основного слоя засыпки следует проводить таким образом, чтобы избежать осадки поверхности земли. Особое внимание следует уделить удалению крепления стенок траншеи.
8.7.14 Для засыпки траншеи допускается применять все материалы, использовавшиеся при заделке трубопровода. Допускается использовать для засыпки местный грунт, если твердые включения в нем распределены равномерно и имеют геометрические размеры, не превышающие толщины защитного слоя заделки.
8.7.15 Для предупреждения осадки основную засыпку следует проводить послойно, чтобы обеспечить требуемое уплотнение. Не допускается быстрое заполнение траншей большими массами грунта.
8.7.16 Использование свободно падающих трамбовок, уплотнение с использованием ударных воздействий или ковша экскаватора не допустимы.
8.7.17 Обкатка зоны трамбовки засыпанного трубопровода тяжелой строительной техникой или свалка вынутого грунта над трубопроводом не допускается, поскольку эти нагрузки не учитываются при статическом расчете.
8.7.18 Удаление элементов крепления стен траншеи следует проводить в процессе устройства обратной засыпки траншеи. Удаление элементов крепления стен траншеи после обратной засыпки не допускается.
8.7.19 Демонтаж крепления стенок траншеи проводится в процессе обратной засыпки.
8.7.20 При демонтаже элементов крепления стенок траншеи (инвентарных щитов, досок) и последующем уплотнении засыпанного грунта необходимо обеспечить его сцепление с местным грунтом. Это может быть гарантировано только в случае, если крепление стенок траншеи не разделяет засыпаемый и местный грунты. Если невозможно проводить последовательное удаление крепления стенок траншеи в процессе трамбовки, то для заполнения пустот необходимо использовать специальные материалы (например, тампонажную смесь).
8.7.21 После засыпки траншеи проводят благоустройство территории.
9 Испытания и сдача трубопроводов в эксплуатацию
Испытания и сдачу трубопроводов в эксплуатацию проводят согласно
СП 399.1325800.
10 Контроль качества при производстве работ
10.1 Заказчик обязан контролировать выполнение мероприятий по обеспечению качества строительства. Контроль качества производства строительных работ следует проводить как в процессе производства работ, так и по завершении строительства.
10.2 Подрядная организация должна обеспечить и подтвердить предусмотренное договором строительного подряда качество производства земляных работ.
10.3 Для обеспечения соответствия строительства действующим нормам и правилам при монтаже труб и фасонных частей заказчиком должен проводиться непрерывный контроль качества производства работ в рамках либо собственного, либо независимого надзора.
10.4 Проведенные испытания должны документироваться. Результаты испытаний должны утверждаться заказчиком.
10.5 Визуальный контроль элементов строительной конструкции и расходных материалов предусматривает проверку:
- всех элементов строительной конструкции, расходных материалов и подручных средств на соответствие требованиям договора строительного подряда;
- труб и фасонных частей на наличие повреждений;
- работоспособности агрегатов и приборов для монтажа трубопроводов и подручных средств;
- направления, глубины прокладки и уклона труб и фасонных частей;
- качества устройства соединений;
- качества устройства примыканий к канализационным колодцам, зданиям и сооружениям.
10.6 Проверку на герметичность нового трубопровода проводят в ходе строительства с помощью как воды, так и сжатого воздуха до обратной засыпки трубопровода.
10.7 План производства работ должен включать следующие контрольные мероприятия:
- подтверждение несущей способности траншеи;
- отсутствие воды на дне траншеи;
- наличие крепления стенок траншеи;
- достаточность рабочего пространства;
- определение влажности грунта, используемого при обратной засыпке траншеи;
- подтверждение качества уплотнения приямков и пазух;
- подтверждение толщины слоев при обратной засыпке траншеи.
10.8 Перед засыпкой боковых пазух следует проверить положение трубопровода.
11 Общие требования безопасности и охраны окружающей среды при производстве монтажных работ
11.2 При строительстве трубопроводов, связанных с размещением рабочих в траншее, следует соблюдать требования безопасности и охраны труда при возможном воздействии следующих опасных и вредных производственных факторов:
- ненадлежащее крепление труб, фасонных частей и пневматических заглушек при испытании трубопровода на герметичность;
- отсутствие крепления стенок траншеи (если крепление предусмотрено проектом);
- наличие строительной техники и инженерных коммуникаций (электропроводка) на строительной площадке;
- наличие на строительной площадке грузового транспорта;
- использование при монтаже электроинструмента;
- шумовые воздействия;
- использование материалов, представляющих опасность для здоровья;
- наличие зараженных грунтовых вод и зараженного грунта;
- движущиеся машины и их рабочие органы, а также передвигаемые ими предметы;
- расположение рабочего места вблизи перепада по высоте 1,3 м и более;
- наличие на строительной площадке химически опасных веществ.
11.3 На основании оценки возможного воздействия вредных и опасных производственных факторов следует определить и задокументировать перечень необходимых мероприятий по безопасному производству работ.
11.4 При этом необходимо учитывать следующие основные положения:
- работы следует организовать таким образом, чтобы по возможности избежать возникновения опасности для жизни и здоровья рабочих;
- в первую очередь следует обращать внимание на технические и организационные мероприятия, направленные на ликвидацию источников опасности;
- при организации работ следует использовать современные достижения строительных технологий, медицины и гигиены.
11.5 Работодатель должен предоставить работникам исчерпывающую информацию об опасных производственных факторах, дать необходимые разъяснения и рекомендации по безопасному выполнению работ.
11.6 Для предупреждения воздействия на работников опасных и вредных производственных факторов безопасность работ при укладке трубопроводов и размещении рабочих мест в траншее необходимо обеспечить:
- соблюдением безопасной крутизны незакрепленных откосов траншей с учетом нагрузки от машин и грунта;
- дополнительными мероприятиями по контролю и обеспечению устойчивости откосов в связи с сезонными изменениями;
- определением мест установки и типов ограждений котлованов и траншей, а также лестниц для спуска работников к месту работ.
11.7 Рабочие зоны и участки производства работ в населенных пунктах или на территории действующих организаций, которые выходят на улицы, проезды, во дворы населенных пунктов, а также в других местах возможного движения людей и транспорта во избежание доступа посторонних лиц должны быть ограждены защитными ограждениями согласно
ГОСТ 23407 с установкой на них хорошо видимых как днем, так и в темное время суток предупредительных надписей, а в ночное время - дополнительно сигнального освещения.
11.8 Временное электроосвещение строительной площадки, участков работ, рабочих мест, проездов и проходов к ним в темное время суток должно отвечать требованиям
ГОСТ 12.1.046.
11.9 Освещенность должна быть равномерной, без слепящего действия осветительных приспособлений на работающих. Строительное производство в неосвещенных местах не допускается.
11.10 При монтаже и испытаниях трубопроводов запрещается прислонять к ним лестницы и стремянки, ходить по трубопроводу.
11.11 Все отходы производства необходимо вывозить в отведенные для этого места.
12 Правила эксплуатации трубопроводов из НПВХ
12.1 Эксплуатационные мероприятия должны обеспечить полное соответствие действующей канализационной сети функциональным требованиям, предъявляемым действующими нормативными документами:
- непрерывное водоотведение плановых объемов сточных вод;
- надежную, экологически безопасную и экономически эффективную эксплуатацию сетей;
- герметичность.
12.2 Для каждого интервала трубопровода в регламенте по эксплуатации и обслуживанию системы водоотведения должны быть установлены периодичность и объемы работ по обследованию и промывке с учетом действующих нормативных документов и эксплуатационных особенностей трубопровода.
12.3 Проблемы, возникающие при эксплуатации самотечных трубопроводов, обусловлены либо негерметичностью строительной конструкции, либо наличием препятствий движению сточных вод, которые обусловлены:
- засорами;
- появлением на стенках жировых, минеральных и прочих отложений;
- прорастанием корневых систем растений.
12.4 Препятствия отведению сточных вод устраняются:
- водной струйной очисткой под высоким давлением (120 атм, диаметр струи 2,8 мм);
- с использованием роботизированных устройств;
- вручную.
12.5 При промывке трубопроводов следует избегать засорения очистных сооружений.
12.6 В процессе эксплуатации трубопроводов могут возникать следующие дефекты строительной конструкции:
- трещины;
- повреждения труб, обусловленные воздействием химически активных веществ;
- размывание грунта рядом с трубопроводом;
- повреждение примыканий;
- деформации труб;
- смещение или повреждение раструбных соединений.
12.7 Дефекты устраняют в результате капитального ремонта или реконструкции трубопровода.
12.8 При капитальном ремонте или реконструкции трубопроводов из НПВХ необходимо использовать следующие бестраншейные технологии:
- инъецирование;
- использование роботизированных устройств;
- установку герметизирующих манжет;
- монтаж коротких полимерных рукавов;
- восстановление поврежденного интервала с использованием гибких полимерных рукавов.
12.9 Если позволяют условия эксплуатации трубопровода, при должном технико-экономическом обосновании, а также в случае повреждения трубопровода в процессе монтажа, допускается выполнять исправление дефектных участков труб и замену фасонных частей открытым способом в соответствии с требованиями
СП 399.1325800.
ТРУБЫ И ФАСОННЫЕ ЧАСТИ СО СТРУКТУРИРОВАННОЙ СТЕНКОЙ
ec - толщина стенки; e4 - толщина стенки внутреннего слоя;
e5 - толщина стенки внутреннего слоя под полой секцией;
di - внутренний диаметр; de - наружный диаметр
Рисунок А.1 - Конструкция стенок
труб и фасонных частей типа A
L - эффективная длина трубы; A - длина контакта; C - глубина
точки эффективного уплотнения; e2 - толщина стенки
цилиндрической части раструба; e3 - толщина стенки канавки
под уплотнительное кольцо; ds - внутренний диаметр раструба
Рисунок А.2 - Типовые соединения труб
со структурированной стенкой типа A
1 - усиливающий профиль; ec - высота стенки; e4 - толщина
стенки внутреннего слоя; e5 - толщина стенки внутреннего
слоя под полой секцией; di - внутренний диаметр трубы;
de - наружный диаметр трубы
Рисунок А.3 - Типичные конструкции стенок труб типа B
e - толщина стенки трубного конца; ec - высота стенки;
e2 - толщина стенки цилиндрической части раструба;
e3 - толщина стенки канавки под уплотнительное кольцо;
e4 - толщина стенки внутреннего слоя; ds - внутренний
диаметр раструба; l - эффективная длина трубы; A - длина
контакта; F - расстояние от трубного конца до точки
эффективного уплотнения; L1 - длина трубного конца
Рисунок А.4 - Типовые способы соединения труб типа B

- номинальный угол;
Z1,
Z2 - конструктивные длины;
dn - номинальный наружный диаметр;
l - эффективная длина фасонной части
Примечание - Рекомендуемые значения номинального угла

: 15°, 30°, 45°, 67°30', 87°30' - 90°.
Рисунок Б.1 - Отвод раструб - трубный гладкий конец
с номинальным углом 

- номинальный угол;
Z1,
Z2 - конструктивные длины;
ds - внутренний диаметр раструба; l - эффективная
длина фасонной части
Примечание - Рекомендуемые значения номинального угла

: 15°, 30°, 45°, 67°30', 87°30' - 90°.
Рисунок Б.2 - Отвод раструбный с номинальным углом 
Z1, Z2 - конструктивные длины; ds - внутренний диаметр
раструба; R - радиус кривизны оси фасонной части;
l - эффективная длина фасонной части
Рисунок Б.3 - Отвод раструб - трубный гладкий конец
с номинальным углом
: 87°30' - 90°
Z1, Z2 - конструктивные длины; ds - внутренний диаметр
раструба; R - радиус кривизны оси фасонной части;
l - эффективная длина фасонной части
Рисунок Б.4 - Отвод раструб - раструб
с номинальным углом
: 87°30' - 90°
X - толщина разделительной перемычки; L - длина муфты
Рисунок Б.5 - Двухраструбная муфта
L - длина муфты
Рисунок Б.6 - Надвижная муфта
D - наружный диаметр муфты; L - длина муфты;
L2 - длина раструба; Lm - длина шаровой муфты
Рисунок Б.7 - Угловая (а) и шаровая (б) муфты
для устройства примыканий к колодцам
X - толщина разделительной перемычки; L - длина муфты
Рисунок Б.8 - Муфта для устройства примыканий
к ограждающим конструкциям
L - длина муфты; L2 - длина раструба; Lm - длина шаровой
муфты; A - минимальная длина контакта; D - наружный
диаметр муфты
Рисунок Б.9 - Муфта для устройства врезок в трубопроводы
dn - внешний диаметр перехода; ds - внутренний диаметр
раструба; L - длина перехода; L1 - длина раструба
Рисунок Б.10 - Переход для соединения
с трубопроводами из керамических труб
dn1 - номинальный диаметр; dn2 - номинальный диаметр;
Z1 - конструктивная длина
Рисунок Б.11 - Переходной патрубок
L - длина вставки;

- номинальный угол
Рисунок Б.12 - Вставка для устройства примыканий
к ограждающим конструкциям
Z1, Z2 - конструктивные длины; ds - внутренний диаметр
раструба;
dn - номинальный диаметр;

- номинальный угол
Рисунок Б.13 - Тройник раструб - трубный
гладкий конец с номинальным углом 
Z1,
Z2 - конструктивные длины;

- номинальный угол;
ds - внутренний диаметр раструба
Рисунок Б.14 - Раструбный тройник с номинальным углом 
Z, Z1, Z2, Z3 - конструктивные длины;

- номинальный угол;
ds1 - внутренний диаметр раструба 1;
ds2 - внутренний диаметр раструба 2; R - радиус кривизны
оси фасонной части
Рисунок Б.15 - Тройник раструб - трубный
гладкий конец с номинальным углом
: 87°30' - 90°
Z, Z1, Z2, Z3 - конструктивные длины;

- номинальный угол;
ds1 - внутренний диаметр раструба 1;
ds2 - внутренний диаметр раструба 2; R - радиус кривизны
оси фасонной части
Рисунок Б.16 - Раструбный тройник
с номинальным углом
: 87°30' - 90°

- номинальный угол;
ds2 - внутренний диаметр раструба 2;
Z2 - конструктивная длина; dn1 - номинальный диаметр;
L - продольный размер участка приклеивания седелки;
a - поперечный размер участков приклеивания седелки
Рисунок Б.17 - Седловые отводы
M - высота заглушки; dn - номинальный диаметр
l - эффективная длина ревизии
Рисунок Б.19 - Ревизия с круглой (а)
и прижимной (б) крышками
ФАСОННЫЕ ЧАСТИ СО СТРУКТУРИРОВАННОЙ СТЕНКОЙ

- номинальный угол;
Z1,
Z2 - конструктивные длины
Примечание - Рекомендуемые значения номинального угла изгиба

: 15°, 22,5°, 30°, 45°
Рисунок В.1 - Отвод с малым радиусом кривизны оси

- номинальный угол;
Z1,
Z2 - конструктивные длины;
R - радиус кривизны оси фасонной части
Примечание - Рекомендуемые значения номинального угла изгиба

от 87°30' до 90°
Рисунок В.2 - Отвод с большим радиусом кривизны оси
Z1 - конструктивная длина
Рисунок В.3 - Двухраструбная (а)
и надвижная (б) соединительные муфты
dn1 - номинальный диаметр 1; dn2 - номинальный диаметр 2;
Z1 - конструктивная длина
Рисунок В.4 - Переход с изменением внутреннего диаметра
Z1,
Z2,
Z3 - конструктивные длины;

- номинальный угол;
R - радиус кривизны оси фасонной части
Рисунок В.5 - Тройник гладкий конец - раструб - раструб
с номинальным углом 
Z1,
Z2,
Z3 - конструктивные длины;

- номинальный угол
Рисунок В.6 - Тройник гладкий конец - раструб - раструб
с номинальным углом 
ОЦЕНКА ХИМИЧЕСКОЙ СТОЙКОСТИ НПВХ И ЭЛАСТОМЕРОВ
Таблица Г.1
Оценка химической стойкости НПВХ и эластомеров (ЭПДК, БНК)
Рабочая среда | Концентрация | Температура рабочей среды, °C | Оценка химической стойкости |
НПВХ | ЭПДК | БНК |
Азотная кислота | 6,31%-ный водный раствор | 20 | + | + | |
40 | + | | |
60 | + | | |
40%-ный водный раствор | 20 | + | + | |
40 | + | | |
60 | | - | |
Аммиак | Газообразный сухой, 100%-ный, чистый | 20 | + | + | |
40 | + | + | Нет данных |
60 | + | | Нет данных |
Водный, насыщенный на холоде | 40 | + | + | + |
60 | | + | Нет данных |
Аммония сульфат | Насыщенный водный раствор | 20 | + | + | + |
40 | + | + | + |
60 | | + | + |
Аммония хлорид | Насыщенный водный раствор | 20 | + | + | + |
40 | | + | + |
60 | Нет данных | + | + |
Бензин | Технический чистый | 20 | + | - | - |
40 | + | - | - |
60 | + | - | - |
Бензойная кислота | Водный раствор любой концентрации | 20 | + | - | - |
40 | + | - | - |
60 | | - | - |
Борная кислота | Водный любой концентрации | 40 | + | + | + |
60 | | + | + |
Бром | Насыщенный водный раствор | 20 | + | Нет данных | - |
40 | | Нет данных | - |
60 | Нет данных | Нет данных | - |
Бромистоводородная кислота | 50%-ный водный раствор | 20 | + | + | |
40 | + | + | |
60 | + | + | |
Винная кислота | Любая водная | 20 | + | + | + |
40 | + | + | + |
60 | | + | + |
Вино любое | Общая объемная доля этилового спирта не более 15% | 20 | + | + | + |
40 | Нет данных | Нет данных | Нет данных |
60 | Нет данных | Нет данных | Нет данных |
Водорода перекись | 30%-ный водный раствор | 20 | + | + | - |
40 | + | Нет данных | - |
60 | Нет данных | Нет данных | - |
90%-ный водный раствор | 20 | - | + | - |
40 | Нет данных | Нет данных | - |
Гексан | 100%-ный, технический | 20 | + | - | + |
40 | Нет данных | - | + |
60 | Нет данных | - | + |
Гликоль (этиленгликоль, пропиленгликоль) | 100%-ный | 20 | + | + | Нет данных |
60 | + | + | Нет данных |
100 | Нет данных | + | Нет данных |
Гликолевая (гидроксиуксусная) кислота | 37%-ный водный раствор | 20 | + | + | + |
40 | Нет данных | Нет данных | Нет данных |
60 | Нет данных | Нет данных | Нет данных |
Глицерин | Технический, водный раствор | 40 | + | + | Нет данных |
60 | + | + | Нет данных |
100 | Нет данных | + | Нет данных |
Диметиламин | Технический | 20 | | + | - |
Диэтиламин | Технический | 20 | | + | |
Дубильная кислота, танин | Любая водная | 20 | + | + | + |
40 | - | + | + |
60 | + | + | + |
Желатин | Любой водный | 40 | + | + | + |
60 | + | Нет данных | Нет данных |
Калия йодид | Водный раствор | 20 | + | + | + |
40 | + | + | + |
60 | + | + | + |
Калия карбонат | Насыщенный раствор | 40 | + | + | + |
60 | + | Нет данных | Нет данных |
Калия нитрат | 50%-ный водный раствор | 40 | + | + | + |
60 | + | + | + |
Калия перманганат | Насыщенный водный раствор | 20 | + | Нет данных | Нет данных |
40 | + | + | - |
60 | | Нет данных | - |
Калия сульфат | Водные растворы любой концентрации | 20 | + | + | + |
40 | + | + | + |
60 | + | + | + |
Калия хлорид | Насыщенный водный | 40 | + | + | Нет данных |
60 | | Нет данных | Нет данных |
Калия цианид | Насыщенный водный | 40 | + | + | + |
80 | + | + | |
Камфора | Спиртовой раствор | 20 | - | - | + |
Кислород | Любой концентрации | 20 | + | + | |
40 | + | Нет данных | Нет данных |
60 | + | Нет данных | Нет данных |
Кремниевая кислота | Любой концентрации | 60 | + | + | + |
Кремнефтористо-водородная кислота | 32%-ный водный раствор | 20 | + | + | + |
40 | + | + | + |
60 | + | + | + |
90%-ный водный раствор | 20 | - | Нет данных | Нет данных |
60 | Нет данных | Нет данных | Нет данных |
Лимонная кислота | 10%-ный водный раствор | 20 | + | + | + |
40 | + | + | + |
60 | | + | + |
Магния соли | Любые водные растворы | 40 | + | + | + |
60 | | + | + |
100 | Нет данных | + | + |
Мазут топочный | Стандартный | 20 | + | - | + |
40 | | - | + |
60 | Нет данных | - | + |
Масла и жиры минеральные животные растительные | Стандартные | 20 | + | - | + |
40 | | - | + |
60 | Нет данных | - | + |
80 | Нет данных | - | + |
Масло камфорное | Стандартное | 20 | + | - | + |
Масло минеральное, не содержащее ароматических веществ | Стандартное | 20 | + | - | + |
40 | + | - | + |
60 | + | - | + |
Масло моторное | Стандартное | 20 | - | - | + |
60 | - | - | + |
Меди соли | Водные растворы любой концентрации | 20 | + | + | + |
40 | + | + | + |
60 | | + | + |
Ментол | 100%-ный | 20 | | - | - |
60 | - | - | - |
Метан | Технический | 20 | + | - | + |
60 | + | - | Нет данных |
Метанол | Любой | 20 | + | + | Нет данных |
40 | + | + | Нет данных |
60 | | + | |
Метиламин | 32%-ный водный | 20 | | + | - |
60 | - | Нет данных | Нет данных |
Молоко | Стандартное | 20 | + | | + |
40 | + | Нет данных | Нет данных |
60 | + | Нет данных | Нет данных |
Молочная кислота | 90%-ная водная | 20 | + | + | + |
40 | | + | + |
60 | - | - | Нет данных |
10%-ная водная | 20 | + | + | + |
40 | Нет данных | + | + |
60 | Нет данных | Нет данных | Нет данных |
Мочевина | Водные растворы до 30% | 40 | + | + | + |
60 | + | + | + |
Муравьиная кислота | Водные растворы до 50% | 20 | + | + | - |
40 | + | + | - |
60 | | | - |
Техническая | 20 | + | + | - |
40 | | + | - |
60 | - | | - |
Мыльный раствор | Любой водный | 20 | + | + | + |
Мышьяковая кислота | 80%-ная водная | 40 | + | + | + |
60 | | + | + |
100 | Нет данных | + | + |
Натрия гидроксид | 10%-ный водный раствор | 40 | + | + | |
60 | | Нет данных | Нет данных |
30%-ный водный раствор | 20 | + | + | |
40 | + | Нет данных | Нет данных |
60 | | Нет данных | Нет данных |
50%-ный водный раствор | 20 | + | + | |
60 | + | Нет данных | Нет данных |
Насыщенный раствор | 20 | + | Нет данных | Нет данных |
60 | + | Нет данных | Нет данных |
Натрия гидросульфит | 10%-ный водный раствор | 20 | + | + | + |
40 | + | + | + |
60 | + | + | + |
Натрия йодид | Любой водный раствор | 20 | + | Нет данных | Нет данных |
40 | + | Нет данных | Нет данных |
60 | | Нет данных | Нет данных |
Натрия карбонат | Насыщенный водный раствор | 40 | + | Нет данных | Нет данных |
60 | + | Нет данных | Нет данных |
Натрия нитрат | Насыщенный водный раствор | 40 | + | + | + |
60 | | + | + |
Натрия бикарбонат | Насыщенный раствор | 20 | + | + | + |
40 | + | + | + |
60 | + | + | + |
Натрия сульфат | Насыщенный водный раствор | 20 | + | + | + |
40 | + | + | + |
60 | | + | + |
Натрия сульфид | Насыщенный водный раствор | 20 | + | + | + |
40 | + | + | + |
60 | | + | Нет данных |
100 | Нет данных | + | |
Натрия нитрит | Насыщенный водный | 20 | + | Нет данных | Нет данных |
Олеиновая кислота | Техническая чистая | 20 | + | - | |
40 | + | - | Нет данных |
60 | + | - | Нет данных |
Отходящие газы, содержащие двуокись углерода | Любая | 20 | + | + | + |
40 | + | + | + |
60 | + | + | + |
Перхлорэтилен, тетрахлорэтилен | Технические | 20 | - | - | - |
40 | - | - | - |
60 | - | - | - |
Пропилена окись | Техническая | 20 | | + | + |
Ртуть | Чистая | 20 | + | + | + |
40 | + | + | + |
60 | + | + | + |
Сахарный сироп | Любой | 40 | + | + | + |
60 | | + | + |
Свинца ацетат | Насыщенный раствор | 20 | + | + | + |
40 | + | + | + |
60 | + | + | + |
Серебра соли | Насыщенный водный раствор | 40 | + | + | + |
60 | | + | |
Серная кислота | 40%-ный водный раствор | 20 | + | - | - |
40 | + | - | - |
60 | | - | - |
60%-ный водный раствор | 20 | + | - | - |
40 | + | - | - |
60 | + | - | - |
80%-ный водный раствор | 20 | + | - | - |
40 | + | - | - |
60 | + | - | - |
90%-ный водный раствор | 20 | + | - | - |
60 | - | - | - |
Серная кислота | 96%-ный водный раствор | 20 | + | - | - |
60 | | - | - |
Сероводород | Технический газообразный | 20 | + | + | + |
40 | + | + | + |
60 | + | + | + |
Насыщенный водный раствор | 20 | + | + | + |
40 | + | + | + |
60 | | + | + |
Силиконовые масла | Стандартные | 20 | + | + | + |
40 | | Нет данных | Нет данных |
Синильная кислота | Техническая | 20 | + | + | |
40 | + | Нет данных | Нет данных |
60 | | Нет данных | Нет данных |
Соляная кислота | 5%-ный водный раствор | 20 | + | + | + |
40 | | Нет данных | Нет данных |
60 | | Нет данных | Нет данных |
10%-ный водный раствор | 20 | + | + | + |
40 | + | Нет данных | Нет данных |
60 | | Нет данных | Нет данных |
30%-ный водный раствор | 20 | + | + | + |
40 | + | Нет данных | Нет данных |
60 | | Нет данных | Нет данных |
36%-ный водный раствор | 20 | + | + | + |
40 | + | Нет данных | Нет данных |
60 | | Нет данных | Нет данных |
Концентрированная | 20 | Нет данных | + | - |
60 | Нет данных | + | - |
Стеариновая кислота | Техническая | 20 | + | + | + |
40 | + | + | + |
60 | + | + | + |
Уксусная кислота | 10%-ный водный раствор | 20 | + | + | - |
40 | + | + | - |
60 | Нет данных | + | - |
25% - 60%-ный водный раствор | 20 | + | + | - |
40 | + | + | - |
60 | Нет данных | + | - |
Техническая сухая | 20 | | Нет данных | Нет данных |
40 | - | Нет данных | Нет данных |
60 | Нет данных | Нет данных | Нет данных |
Уксусной кислоты ангидрид | Технический | 20 | - | + | - |
40 | Нет данных | Нет данных | Нет данных |
80 | Нет данных | - | - |
Фосфорная кислота | 30%-ный водный раствор | 20 | + | + | - |
40 | + | + | - |
60 | + | + | - |
50%-ный водный раствор | 20 | + | + | - |
40 | + | + | - |
60 | + | + | - |
85%-ный водный раствор | 20 | + | + | - |
40 | + | + | - |
60 | | + | - |
Фотографический закрепитель (проявитель) | Любой водный раствор | 20 | + | + | + |
40 | + | + | + |
Фотографическая эмульсия | Любая | 20 | + | + | + |
40 | + | Нет данных | Нет данных |
Фруктовые соки | Стандартные | 20 | + | + | + |
40 | + | + | Нет данных |
60 | + | + | Нет данных |
100 | Нет данных | + | |
Хлороформ | Технический | 20 | - | - | - |
60 | - | - | - |
Хромовая кислота | 50%-ный водный раствор | 20 | + | | - |
40 | + | | - |
60 | | | - |
Цинка соли | Любые водные растворы | 40 | + | + | + |
60 | + | + | + |
Щавелевая кислота | Разбавленная водная | 20 | + | + | |
40 | + | Нет данных | Нет данных |
60 | + | Нет данных | Нет данных |
100 | Нет данных | + | - |
Этиловый спирт (этанол) | Технический, 96%-ный | 20 | + | + | + |
60 | | + | - |
80 | Нет данных | + | - |
Яблочная кислота | 1%-ный водный раствор | 20 | + | + | + |
40 | Нет данных | Нет данных | Нет данных |
60 | Нет данных | Нет данных | Нет данных |
Янтарная кислота | Любая концентрация | 20 | + | + | + |
40 | + | + | + |
60 | + | + | + |
Примечание - В настоящей таблице применены следующие условные обозначения: "+" - при указанных нагрузках разрушения не происходит; "  " - при указанных нагрузках наблюдается частичная потеря прочности; "-" - при указанных нагрузках не допускается применение труб и фасонных частей. |
ПРИМЕРЫ ГИДРАВЛИЧЕСКОГО РАСЧЕТА ТРУБОПРОВОДОВ ИЗ НПВХ
Д.1 Гидравлический расчет систем водоотведения наружных сетей
Дано: Объемный расход сточных вод Q = 0,12 м3/с.
Найти: Диаметр, наполнение, уклон трубопровода и скорость потока Ut.
Решение: Определяют диаметр трубопровода круглого сечения:

.
Наименьшее из представленных практическое наполнение 0,6 (диаграмма на
рисунке 7.4).
Определяют расход при полном заполнении трубопровода:
Qп = Qt/(p1(h/D - p2)) = 0,12/(1,583(0,6 - 0,18) ~= 0,18 м3/с.
Определяют уклон трубопровода:

.
По диаграмме (см.
рисунок 7.4) определяют по вычисленному уклону и выбранному диаметру скорость потока при заданном наполнении
Ut ~= 1,53 м/с.
Д.2 Гидравлический расчет систем водоотведения одноквартирных и блокированных жилых домов
Дано: Объемный расход сточных вод Q = 6 л/с.
Найти: Диаметр, уклон, наполнение трубопровода и скорость потока Ut.
Решение: По
таблице Д.1 для DN 110 при уклоне 0,009 определяют
Qп = 6,28 л/с и
vп = 0,76 м/с.
a = Q/Qп = 6/6,28 = 0,955.
По диаграмме (см.
рисунок 7.5) допустимое наполнение трубопровода
h/
D = 0,82 (допустимое наполнение превышено по
таблице 7.1).
Увеличивают диаметр до DN 125.
При уклоне 0,007 определяют Qп = 7,8 л/с и vп = 0,73 м/с.
a =
Q/
Qп = 6/7,8 = 0,77 (допустимое наполнение превышено по
таблице 7.1).
Увеличивают диаметр до DN 160.
При уклоне 0,007 Qп = 14,8 л/с и vп = 0,85 м/с.
a =
Q/
Qп = 6/14,8 = 0,405 (соответствует данным
таблицы 7.1).
h = 0,405·Ду = 0,405·149 ~= 60 мм.
Ut = 0,95·0,85 ~= 0,8 м/с (допустимая скорость по
таблице 7.2).
Таблица Д.1
Значения расхода и скорости движения сточных вод
при полном заполнении трубопровода DN при заданном уклоне
DN | 110 | 125 | 160 | 200 |
Толщина стенки, мм | 3,6 | 4,0 | 5,5 | 6,6 |
Условный проход, мм | 102,8 | 117,0 | 149,0 | 186,8 |
Расход и скорость движения | Q, 10-3 м3/с | v, м/с | Q, 10-3 м3/с | v, м/с | Q, 10-3 м3/с | v, м/с | Q, 10-3 м3/с | v, м/с |
Уклон i0 | 0,001 | 2,01 | 0,24 | 2,84 | 0,26 | 5,43 | 0,31 | 9,9 | 0,36 |
0,002 | 2,89 | 0,35 | 4,09 | 0,38 | 7,80 | 0,45 | 14,2 | 0,52 |
0,003 | 3,57 | 0,43 | 5,04 | 0,47 | 9,61 | 0,55 | 17,5 | 0,64 |
0,004 | 4,14 | 0,50 | 5,85 | 0,54 | 11,1 | 0,64 | 20,3 | 0,74 |
0,005 | 4,65 | 0,56 | 6,56 | 0,61 | 12,5 | 0,72 | 22,8 | 0,83 |
0,006 | 5,10 | 0,62 | 7,21 | 0,67 | 13,7 | 0,79 | 25,0 | 0,91 |
0,007 | 5,53 | 0,67 | 7,80 | 0,73 | 14,8 | 0,85 | 27,0 | 0,99 |
0,008 | 5,92 | 0,71 | 8,35 | 0,78 | 15,9 | 0,91 | 28,9 | 1,06 |
0,009 | 6,28 | 0,76 | 8,87 | 0,83 | 16,9 | 0,97 | 30,7 | 1,12 |
0,010 | 6,63 | 0,80 | 9,36 | 0,87 | 17,8 | 1,02 | 32,4 | 1,18 |
0,015 | 8,16 | 0,98 | 11,5 | 1,07 | 21,9 | 1,25 | 39,8 | 1,45 |
0,020 | 9,44 | 1,14 | 13,3 | 1,24 | 25,3 | 1,45 | 46,1 | 1,68 |
0,030 | 11,6 | 1,40 | 16,4 | 1,52 | 31,1 | 1,78 | 56,5 | 2,06 |
0,040 | 13,4 | 1,62 | 18,9 | 1,76 | 35,9 | 2,06 | 65,4 | 2,39 |
0,050 | 15,0 | 1,81 | 21,2 | 1,97 | 40,2 | 2,31 | 73,2 | 2,67 |
0,060 | 16,5 | 1,98 | 23,2 | 2,16 | 44,1 | 2,53 | 80,2 | 2,93 |
0,070 | 17,8 | 2,15 | 25,1 | 2,34 | 47,7 | 2,73 | 86,7 | 3,16 |
0,080 | 19,0 | 2,30 | 26,9 | 2,5 | 51,0 | 2,92 | 92,7 | 3,38 |
0,100 | 21,3 | 2,57 | 30,1 | 2,80 | 57,0 | 3,27 | 104 | 3,78 |
0,120 | 23,4 | 2,82 | 32,9 | 3,06 | 62,5 | 3,58 | 114 | 4,15 |
0,150 | 26,1 | 3,15 | 36,9 | 3,43 | 69,9 | 4,01 | 127 | 4,64 |
Продолжение таблицы Д.1
DN | 250 | 315 | 400 | 500 |
Толщина стенки, мм | 8,2 | 10,0 | 12,6 | 16,5 |
Условный проход, мм | 233,6 | 295,0 | 374,8 | 467,0 |
Расход и скорость движения | Q, 10-3 м3/с | v, м/с | Q, 10-3 м3/с | v, м/с | Q, 10-3 м3/с | v, м/с | Q, 10-3 м3/с | v, м/с |
Уклон i0 | 0,001 | 18,0 | 0,42 | 33,5 | 0,49 | 63,1 | 0,57 | 113 | 0,66 |
0,002 | 25,8 | 0,60 | 47,8 | 0,70 | 90,0 | 0,82 | 161 | 0,94 |
0,003 | 31,7 | 0,74 | 58,8 | 0,86 | 111 | 1,00 | 198 | 1,15 |
0,004 | 36,8 | 0,86 | 68,1 | 1,00 | 128 | 1,16 | 229 | 1,34 |
0,005 | 41,2 | 0,96 | 76,3 | 1,12 | 144 | 1,30 | 256 | 1,50 |
0,006 | 45,2 | 1,05 | 83,7 | 1,23 | 157 | 1,43 | 281 | 1,64 |
0,007 | 48,9 | 1,14 | 90,5 | 1,32 | 170 | 1,54 | 304 | 1,77 |
0,008 | 52,3 | 1,22 | 96,9 | 1,42 | 182 | 1,65 | 325 | 1,90 |
0,009 | 55,5 | 1,30 | 103 | 1,50 | 193 | 1,75 | 345 | 2,01 |
0,010 | 58,6 | 1,37 | 108 | 1,59 | 204 | 1,85 | 364 | 2,12 |
0,015 | 71,9 | 1,68 | 133 | 1,95 | 250 | 2,27 | 446 | 2,60 |
0,020 | 83,2 | 1,94 | 154 | 2,25 | 289 | 2,62 | 516 | 3,01 |
0,030 | 102 | 2,38 | 189 | 2,76 | 355 | 3,21 | 632 | 3,69 |
0,040 | 118 | 2,75 | 218 | 3,19 | 410 | 3,72 | 731 | 4,27 |
0,050 | 132 | 3,08 | 244 | 3,57 | 459 | 4,16 | 817 | 4,77 |
0,060 | 145 | 3,38 | 268 | 3,92 | 503 | 4,55 | 896 | 5,23 |
0,070 | 156 | 3,65 | 289 | 4,23 | 543 | 4,92 | 968 | 5,65 |
0,080 | 167 | 3,90 | 309 | 4,52 | 581 | 5,26 | 1035 | 6,04 |
0,100 | 187 | 4,36 | 346 | 5,06 | 649 | 5,89 | 1157 | 6,76 |
0,120 | 205 | 4,78 | 379 | 5,55 | 712 | 6,45 | 1268 | 7,40 |
0,150 | 229 | 5,35 | 424 | 6,20 | 796 | 7,21 | 1418 | 8,28 |
Окончание таблицы Д.1
DN | 630 | 800 |
Толщина стенки, мм | 22,0 | 25,0 |
Условный проход, мм | 586,0 | 750,0 |
Расход и скорость движения | Q, 10-3 м3/с | v, м/с | Q, 10-3 м3/с | v, м/с |
Уклон i0 | 0,001 | 205 | 0,76 | 393 | 0,89 |
0,002 | 292 | 1,08 | 559 | 1,27 |
0,003 | 359 | 1,33 | 686 | 1,55 |
0,004 | 415 | 1,54 | 794 | 1,80 |
0,005 | 465 | 1,72 | 889 | 2,01 |
0,006 | 510 | 1,89 | 974 | 2,21 |
0,007 | 551 | 2,04 | 1053 | 2,38 |
0,008 | 590 | 2,19 | 1126 | 2,55 |
0,009 | 626 | 2,32 | 1195 | 2,71 |
0,010 | 660 | 2,45 | 1260 | 2,85 |
0,015 | 809 | 3,00 | 1546 | 3,50 |
0,020 | 936 | 3,47 | 1786 | 4,04 |
0,030 | 1147 | 4,25 | 2190 | 4,96 |
0,040 | 1325 | 4,91 | 2530 | 5,73 |
0,050 | 1482 | 5,50 | 2829 | 6,40 |
0,060 | 1624 | 6,02 | 3100 | 7,02 |
0,070 | 1755 | 6,51 | 3349 | 7,58 |
0,080 | 1877 | 6,96 | 3581 | 8,11 |
0,100 | 2099 | 7,78 | 4005 | 9,07 |
0,120 | 2300 | 8,53 | 4388 | 9,93 |
0,150 | 2572 | 9,53 | 4907 | 11,11 |
Таблица Е.1
Дисперсные грунты, используемые для обратной засыпки траншей
| Содержание частиц диаметром <= 0,05 мм по массе | Содержание частиц диаметром <= 2,0 мм по массе | Характеристика грунта |
Несвязные грунты |
Крупнообломочные и песчаные грунты (группа грунтов 1) |
Щебень | <= 5% | > 60% | Однородный щебень |
Смесь щебня и песка с большим количеством фракций |
Смесь щебня и песка различных фракций |
Песок | <= 60% | Однородный песок |
Смесь песка и щебня с большим количеством фракций |
Смесь песка и щебня различных фракций |
Связные грунты |
Крупнообломочные и песчаные грунты с заполнителем (группа грунтов 2) |
Щебень с пылеватым заполнителем | 5% - 15% | > 60% | Мелкие фракции - пылеватые |
15% - 40% |
Щебень с глинистым заполнителем | 5% - 15% | Мелкие фракции - глинистые |
15% - 40% |
Песок с супесчаным заполнителем | 5% - 15% | <= 60% | Мелкие фракции - пылеватые |
15% - 40% |
Песок с глинистым заполнителем | 5% - 15% | Мелкие фракции - глинистые |
15% - 40% |
Глинистые грунты (группа грунтов 3) |
Супесь песчанистая, 1% <= Ip <= 7% | > 40% | - | Основная фракция - супесь wL < 35% |
Супесь песчанистая, 1% <= Ip <= 7% | > 40% | - | Основная фракция - супесь 35% <= wL <= 50% |
Глинистые грунты (группа грунтов 4) |
Суглинок легкий песчанистый, 7% <= Ip >= 12% | > 40% | - | Основная фракция - глина wL < 35% |
Примечание - Ip - число пластичности, %; wL - влажность на границе текучести, %. |
ИНСТРУКЦИЯ ПО СКЛЕИВАНИЮ ТРУБ ИЗ НПВХ
Ж.1 Общая информация
Ж.1.1 Для склеивания труб из НПВХ следует привлекать обученный персонал, обладающий необходимыми техническими знаниями и навыками.
Ж.1.2 Настоящее приложение - вспомогательный документ для работников, прошедших обучение, и не может заменить практических занятий.
Ж.1.3 Приведенные в настоящем приложении указания разработаны в соответствии с существующим уровнем развития техники в сфере производства трубной продукции, элементов строительных конструкций и клея.
Ж.2 Необходимые вспомогательные материалы и инструмент для склеивания труб из НПВХ
При склеивании труб из НПВХ используют следующие материалы и инструмент:
- труборез;
- инструмент для снятия фасок;
- инструмент для снятия заусенцев;
- средство чистящее на основе ацетон-метилэтилкетона;
- клей на основе тетрагидрофурана;
- кисти флейцевые на основе натуральной щетины с деревянной, нелакированной ручкой
(таблица Ж.1);
- емкость для клея;
- не изменяющая цвета бумага промокательная белая;
- карандаш мягкий;
- метр складной;
- перчатки защитные;
- устройство для стягивания труб (следует использовать при склеивании труб DN 160 и более).
Таблица Ж.1
Размеры флейцевых кистей для склеивания труб из НПВХ
В миллиметрах
Наружный диаметр склеиваемых труб dn | Размеры кисти |
110 - 160 | 50 x 5 |
200 - 250 | 75 x 6 |
315 - 400 | 100 x 6 |
Ж.3 Подготовительные работы
Ж.3.1 Отрезают трубу необходимой длины под прямым углом к оси. Удаляют заусенцы и снимают фаску под углом 15° у оси трубы (таблица Ж.2). Наличие заусенцев препятствует качественной склейке труб.
Таблица Ж.2
Размер фаски при склеивании труб из НПВХ
В миллиметрах
Наружный диаметр склеиваемых труб dn | Размер фаски |
110 - 160 | 6,0 |
200 - 400 | 8,0 |
Ж.3.2 Перед применением клей следует тщательно перемешать. Пленку, образовавшуюся в ранее вскрытой емкости с клеем, необходимо удалить. Клей должен легко стекать с наклонной палочки плоской струей. Если клей стекает комками, то он не пригоден к использованию. Клей поставляется готовым к применению. Разбавлять клей не допускается.
Ж.3.3 Емкость с клеем в перерывах работ необходимо плотно закрывать.
Ж.3.4 По окончании работ емкость с клеем плотно закрывают оригинальной крышкой. Кисть тщательно вымывают чистящим средством. Перед дальнейшим применением кисть должна полностью высохнуть.
Ж.3.5 Клей и очиститель влияют на состояние поверхности труб из НПВХ. Поэтому следует избегать попадания клея и очистителя на поверхность труб из НПВХ.
Ж.3.6 Клей и очиститель следует хранить в соответствии с рекомендациями производителя.
Ж.4 Подготовка склеиваемых поверхностей
Ж.4.1 Склеиваемые поверхности (наружную поверхность трубы и внутреннюю поверхность раструба фасонной части) следует очистить от пыли и загрязнений, используя чистую салфетку.
Ж.4.2 Затем на трубном конце необходимо отметить мягким карандашом длину нахлестки (глубину склеивания) согласно таблице Ж.3. Эта отметка на трубе позволяет проверить правильность склеивания.
Таблица Ж.3
Минимально допустимая длина склеивания
В миллиметрах
Наружный диаметр склеиваемых труб dn | Глубина склеивания L | Наружный диаметр склеиваемых труб dn | Глубина склеивания L |
110 | 61,0 | 250 | 131,0 |
125 | 68,5 | 315 | 163,5 |
160 | 86,0 | 355 | 183,5 |
200 | 106,0 | 400 | 206,0 |
Ж.4.3 В заключение выполняют очистку склеиваемых поверхностей промокательной бумагой, пропитанной очистителем. Для каждой детали следует использовать новую бумагу. Подготовленные поверхности должны быть матовыми, очищенными от жира и грязи. Следует избегать загрязнения подготовленных поверхностей.
Ж.4.4 Очищенные поверхности должны демонстрировать явно выраженную шероховатость. Наличие шероховатости допускается проверить ногтем.
Ж.4.5 Очищенные поверхности перед склеиванием должны высохнуть. Если трубы и фасонные части в течение длительного времени подвергались воздействию солнечного излучения, то для достижения необходимого качества склеивания может потребоваться повторная очистка или механическая обработка контактных поверхностей.
Ж.4.6 Индикатором необходимости механической обработки склеиваемых поверхностей является отсутствие шероховатости или недостаточная шероховатость контактных зон после очистки. Это особенно важно для труб из НПВХ с dn = 250 - 400 мм.
Ж.4.7 Тогда склеиваемые поверхности необходимо обработать наждачной шкуркой на тканевой основе (зернистостью 80 - 100), придав им шероховатость, с соблюдением максимально допустимого зазора.
Ж.4.8 Склеивание труб из НПВХ при пониженных температурах требует особой аккуратности.
Ж.4.9 При производстве работ при температурах, близких к 0 °C, необходимо поддерживать такую температуру на склеиваемых поверхностях, чтобы избегать образования льда.
Ж.5 Склеивание труб
Ж.5.1 Клей наносят сплошным равномерным слоем вдоль оси сначала внутри фасонной части, а затем на трубный конец. Более насыщенный слой клея наносят на трубный конец во избежание образования наплывов внутри трубопровода.
Ж.5.2 Клей на основе тетрагидрофурана позволяет склеивать трубные изделия с зазором между склеиваемыми поверхностями труб до 0,6 мм.
Ж.5.3 Рекомендуется использовать при склеивании труб из НПВХ двух рабочих.
Ж.5.4 Непосредственно после нанесения клея элементы трубопровода соединяют согласно маркировке, избегая взаимного вращения и перекосов, и фиксируют на 10 - 30 с.
Ж.5.5 Нанесение и стыковка труб должны занимать фиксированное время при определенной температуре. Эти данные приводятся в описании на клей. При более высоких температурах и сильном солнечном излучении происходит нагрев труб и фасонных частей, в результате чего время реакции клея сокращается.
Ж.5.6 В течение первых 5 мин после склеивания необходимо обеспечить неподвижность труб. При температурах ниже 10 °C это время увеличивается до 15 мин.
Ж.5.7 Для соединения труб с наружным диаметром более 160 мм рекомендуется использовать устройство, приведенное на
рисунке 8.11.
Ж.5.8 С помощью промокательной бумаги удаляют лишний клей. Наплывы лишнего клея по периметру соединения и более мелкие наплывы внутри трубопровода свидетельствуют о том, что склеивание выполнено правильно.
Ж.5.9 Опускание трубопровода в траншею допускается проводить не ранее чем через 10 - 12 ч после выполнения последнего склеивания.
Ж.5.10 По окончании склеивания рекомендуется промыть трубопровод водой.
| Постановление Правительства Российской Федерации от 29 июля 2013 г. N 644 "Об утверждении Правил холодного водоснабжения и водоотведения и о внесении изменений в некоторые акты Правительства Российской Федерации" |
| Приказ Министерства строительства и жилищно-коммунального хозяйства Российской Федерации от 17 октября 2014 года N 641/пр "Об утверждении Методических указаний по расчету объема принятых (отведенных) сточных вод с использованием метода учета пропускной способности канализационных сетей" |
| СНиП 12-03-2001 Безопасность труда в строительстве. Часть 1. Общие требования |
| СНиП 12-04-2002 Безопасность труда в строительстве. Часть 2. Строительное производство |
| СП 40-102-2000 Проектирование и монтаж трубопроводов систем водоснабжения и канализации из полимерных материалов |