Скачать ГОСТ 6942-98 Трубы чугунные канализационные и фасонные части к ним. Технические условия

Дата актуализации: 01.01.2021

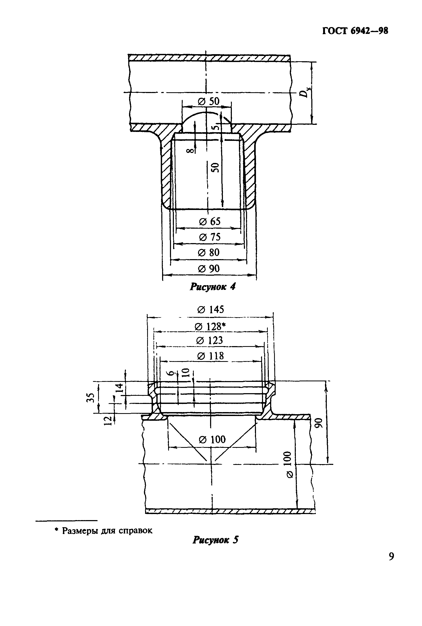
ГОСТ 6942-98

Трубы чугунные канализационные и фасонные части к ним. Технические условия

Обозначение: ГОСТ 6942-98
Обозначение англ: GOST 6942-98
Статус:взамен
Название рус.:Трубы чугунные канализационные и фасонные части к ним. Технические условия
Название англ.:Cast iron waste pipes and fitings. Specifications
Дата добавления в базу:01.09.2013
Дата актуализации:01.01.2021
Дата введения:01.01.1999
Область применения:Стандарт распространяется на чугунные канализационные трубы и фасонные части к ним, предназначенные для систем внутренней канализации зданий.
Оглавление:1 Область применения
2 Нормативные ссылки
3 Сортамент
4 Типы, конструкции и размеры
5 Технические требования
6 Правила приемки
7 Методы контроля
8 Транспортирование и хранение
9 Указания по монтажу и эксплуатации
10 Гарантии изготовителя
Разработан: НИИсантехники
Утверждён:12.11.1998 МНТКС (MNTKS )
31.12.1998 Госстрой России (Russian Federation Gosstroy 31)
Принят:12.11.1998 МНТКС (MNTKS )
Издан: ГУП ЦПП (CPP GUP 1999 г. )
Заменяет собой:
Нормативные ссылки:
ГОСТ 6942-98ГОСТ 6942-98ГОСТ 6942-98ГОСТ 6942-98ГОСТ 6942-98ГОСТ 6942-98ГОСТ 6942-98ГОСТ 6942-98ГОСТ 6942-98ГОСТ 6942-98ГОСТ 6942-98ГОСТ 6942-98ГОСТ 6942-98ГОСТ 6942-98ГОСТ 6942-98ГОСТ 6942-98ГОСТ 6942-98ГОСТ 6942-98ГОСТ 6942-98ГОСТ 6942-98ГОСТ 6942-98ГОСТ 6942-98ГОСТ 6942-98ГОСТ 6942-98ГОСТ 6942-98ГОСТ 6942-98ГОСТ 6942-98ГОСТ 6942-98ГОСТ 6942-98ГОСТ 6942-98ГОСТ 6942-98ГОСТ 6942-98ГОСТ 6942-98ГОСТ 6942-98ГОСТ 6942-98ГОСТ 6942-98ГОСТ 6942-98ГОСТ 6942-98ГОСТ 6942-98ГОСТ 6942-98ГОСТ 6942-98ГОСТ 6942-98ГОСТ 6942-98ГОСТ 6942-98ГОСТ 6942-98ГОСТ 6942-98