Скачать ГОСТ 6133-99 Камни бетонные стеновые. Технические условия

Дата актуализации: 01.01.2021

ГОСТ 6133-99

Камни бетонные стеновые. Технические условия

Обозначение: ГОСТ 6133-99
Обозначение англ: GOST 6133-99
Статус:заменен
Название рус.:Камни бетонные стеновые. Технические условия
Название англ.:Concrete wall stone. Specifications
Дата добавления в базу:01.09.2013
Дата актуализации:01.01.2021
Дата введения:01.01.2002
Дата окончания срока действия:01.03.2020
Область применения:Стандарт распространяется на стеновые бетонные камни, изготовленные вибропрессованием, прессованием, формованием или другими способами из легких, тяжелых и мелкозернистых бетонов. Камни применяют в соответствии с действующими строительными нормами и правилами при возведении стен и других конструкций зданий и сооружений различного назначения.
Оглавление:1 Область применения
2 Нормативные ссылки
3 Определения
4 Основные параметры и размеры
5 Технические требования
6 Правила приемки
7 Методы контроля
8 Транспортирование и хранение
Приложение А Нормативные документы, ссылки на которые приведены в настоящем стандарте
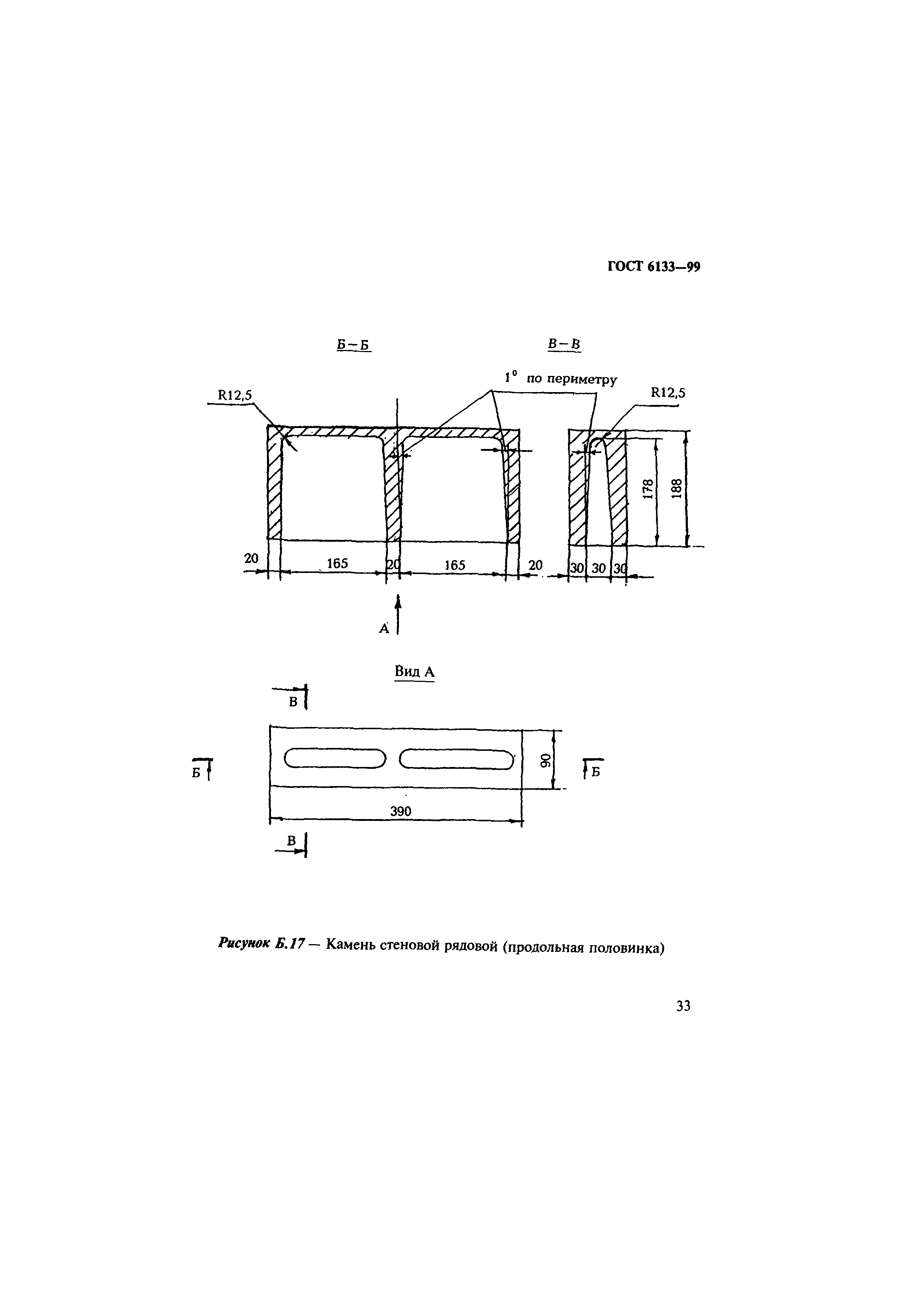
Приложение Б Форма и размеры бетонных стеновых камней и размеры пустот
Приложение В Перечень и содержание пигментов, применяемых при изготовлении цветных камней
Разработан: ГУП НИИЖБ
ФГУП ЦНИИСК им. В.А. Кучеренко
Утверждён:02.12.1999 МНТКС (MNTKS )
03.08.2001 Госстрой России (Russian Federation Gosstroy 91)
Издан: ГУП ЦПП (CPP GUP 2001 г. )
Список изменений:
  • Поправка от 26.06.2002 (ИУС 10-2002; ИБ "Нормирование, стандартизация и сертификация в строительстве" 4-2002)
Заменяет собой:
Нормативные ссылки:
ГОСТ 6133-99ГОСТ 6133-99ГОСТ 6133-99ГОСТ 6133-99ГОСТ 6133-99ГОСТ 6133-99ГОСТ 6133-99ГОСТ 6133-99ГОСТ 6133-99ГОСТ 6133-99ГОСТ 6133-99ГОСТ 6133-99ГОСТ 6133-99ГОСТ 6133-99ГОСТ 6133-99ГОСТ 6133-99ГОСТ 6133-99ГОСТ 6133-99ГОСТ 6133-99ГОСТ 6133-99ГОСТ 6133-99ГОСТ 6133-99ГОСТ 6133-99ГОСТ 6133-99ГОСТ 6133-99ГОСТ 6133-99ГОСТ 6133-99ГОСТ 6133-99ГОСТ 6133-99ГОСТ 6133-99ГОСТ 6133-99ГОСТ 6133-99ГОСТ 6133-99ГОСТ 6133-99ГОСТ 6133-99ГОСТ 6133-99ГОСТ 6133-99ГОСТ 6133-99ГОСТ 6133-99ГОСТ 6133-99ГОСТ 6133-99ГОСТ 6133-99ГОСТ 6133-99ГОСТ 6133-99