Скачать ГОСТ Р 50632-93 Водорода пероксид высококонцентрированный. Технические условия

Дата актуализации: 01.01.2021

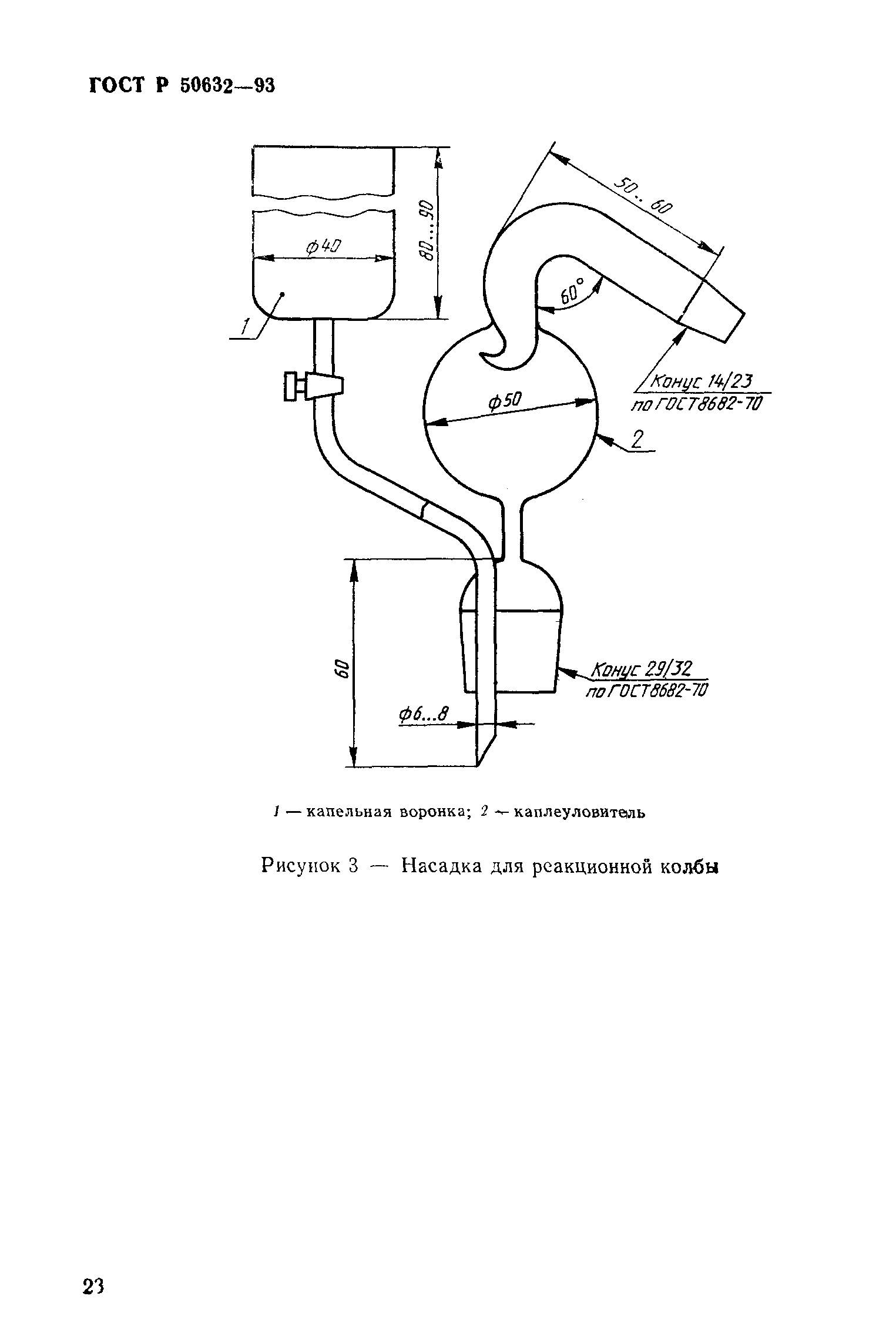
ГОСТ Р 50632-93

Водорода пероксид высококонцентрированный. Технические условия

Обозначение: ГОСТ Р 50632-93
Обозначение англ: GOST R 50632-93
Статус:введен впервые
Название рус.:Водорода пероксид высококонцентрированный. Технические условия
Название англ.:High-strength hydrogen peroxide. Specifications
Дата добавления в базу:01.09.2013
Дата актуализации:01.01.2021
Дата введения:01.01.1995
Область применения:Стандарт распространяется на высококонцентрированный пероксид водорода, содержащий в качестве стабилизаторов пирофосфорно-кислый натрий по ГОСТ 342 и оловянно-кислый натрий по ТУ 6-09-1506, а в качестве ингибитора коррозии - азотнокислый аммоний по ГОСТ 22867.
Оглавление:1 Область применения
2 Нормативные ссылки
3 Марки
4 Технические требования
5 Требования безопасности
6 Требования охраны природы
7 Праивла приемки
8 Методы анализа
9 Маркировка, упаковка, транспортирование и хранение
10 Указания по эксплуатации
11 Гарантии изготовителя
Приложение А Обработка стеклянных и алюминиевых сосудов для отбора и хранения проб пероксида водорода
Приложение Б Давление паров воды над насыщенным раствором хлорида натрия. Давление насыщенного водяного пара в равновесии с водой
Разработан: НПО Гос. институт прикладной химии
Утверждён:30.12.1993 Госстандарт России (Russian Federation Gosstandart 313)
Издан: Издательство стандартов (1994 г. )
Список изменений:
Нормативные ссылки:
ГОСТ Р 50632-93ГОСТ Р 50632-93ГОСТ Р 50632-93ГОСТ Р 50632-93ГОСТ Р 50632-93ГОСТ Р 50632-93ГОСТ Р 50632-93ГОСТ Р 50632-93ГОСТ Р 50632-93ГОСТ Р 50632-93ГОСТ Р 50632-93ГОСТ Р 50632-93ГОСТ Р 50632-93ГОСТ Р 50632-93ГОСТ Р 50632-93ГОСТ Р 50632-93ГОСТ Р 50632-93ГОСТ Р 50632-93ГОСТ Р 50632-93ГОСТ Р 50632-93ГОСТ Р 50632-93ГОСТ Р 50632-93ГОСТ Р 50632-93ГОСТ Р 50632-93ГОСТ Р 50632-93ГОСТ Р 50632-93ГОСТ Р 50632-93ГОСТ Р 50632-93ГОСТ Р 50632-93ГОСТ Р 50632-93ГОСТ Р 50632-93ГОСТ Р 50632-93ГОСТ Р 50632-93ГОСТ Р 50632-93ГОСТ Р 50632-93ГОСТ Р 50632-93ГОСТ Р 50632-93ГОСТ Р 50632-93ГОСТ Р 50632-93ГОСТ Р 50632-93ГОСТ Р 50632-93ГОСТ Р 50632-93ГОСТ Р 50632-93ГОСТ Р 50632-93ГОСТ Р 50632-93ГОСТ Р 50632-93ГОСТ Р 50632-93ГОСТ Р 50632-93ГОСТ Р 50632-93ГОСТ Р 50632-93ГОСТ Р 50632-93

Текстовое изменение № 1 от 01.01.2000

№ 1№ 1№ 1№ 1№ 1

Текстовое изменение № 2 от 01.07.2005

№ 2№ 2№ 2