Скачать МДС 81-39.2005 Типовые технологические карты на отделочные работы с применением комплектных система КНАУФ. Том 2. Типовые технологические карты на устройство перегородок, облицовок стен и подвесных потолков с использованием гипсоволокнистых листов

Дата актуализации: 01.01.2021

МДС 81-39.2005

Типовые технологические карты на отделочные работы с применением комплектных система КНАУФ. Том 2. Типовые технологические карты на устройство перегородок, облицовок стен и подвесных потолков с использованием гипсоволокнистых листов

Обозначение: МДС 81-39.2005
Обозначение англ: MDS 81-39.2005
Статус:действует
Название рус.:Типовые технологические карты на отделочные работы с применением комплектных система КНАУФ. Том 2. Типовые технологические карты на устройство перегородок, облицовок стен и подвесных потолков с использованием гипсоволокнистых листов
Дата добавления в базу:01.09.2013
Дата актуализации:01.01.2021
Область применения:Технологические карты предназначены для использования при разработке проектов производства работ (ППР), проектов организации строительства (ПОС), другой организационно-технологической документации, а также являются информационным материалом для строительных организаций, производящих отделочные работы с применением комплектных систем Кнауф.
Оглавление:Введение
Перегородка С 361
Перегородка С 362
Перегородка С 363 "Противопожарная стена"
Перегородка С 365
Перегородка С 366
Перегородка С 367 "Стена безопасности"
Облицовка С 663
Облицовка С 665
Облицовка С 666
Потолок П 212
Потолок П 213
Требования к качеству и приемке работ
Техника безопасности и охрана труда, экологическая и пожарная безопасность
Перечень потребного инвентаря, списпособлений и инструмента
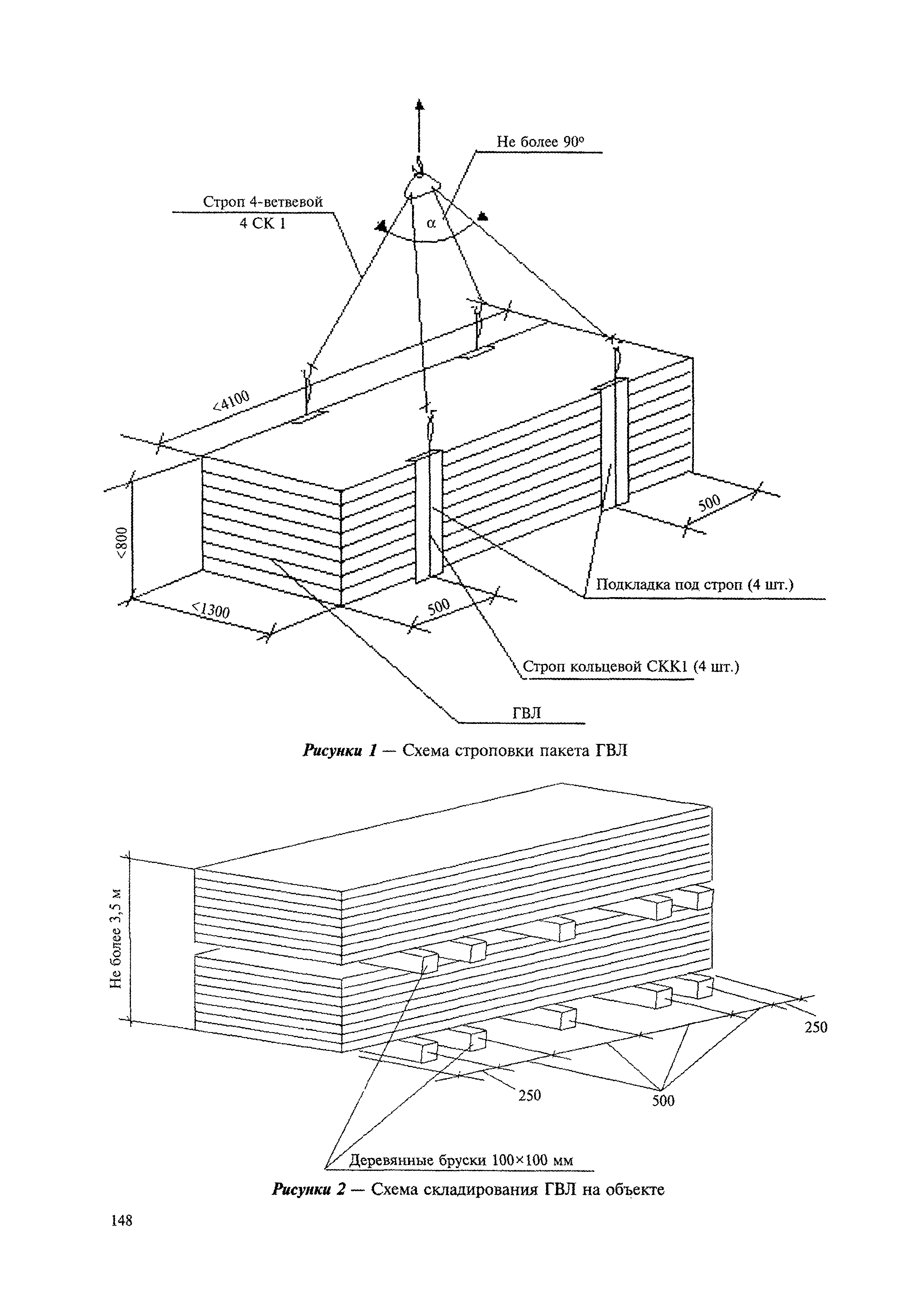
Приложение Графическая часть к организации и технологии выполнения работ
Список литературы
Разработан: ООО КНАУФ-Сервис
ОАО Тулаоргтехстрой
ООО Кнауф Гипс Маркетинг
Утверждён:20.02.2003 Фирма КНАУФ
Издан: ФГУП ЦПП (2005 г. )
Нормативные ссылки:
МДС 81-39.2005МДС 81-39.2005МДС 81-39.2005МДС 81-39.2005МДС 81-39.2005МДС 81-39.2005МДС 81-39.2005МДС 81-39.2005МДС 81-39.2005МДС 81-39.2005МДС 81-39.2005МДС 81-39.2005МДС 81-39.2005МДС 81-39.2005МДС 81-39.2005МДС 81-39.2005МДС 81-39.2005МДС 81-39.2005МДС 81-39.2005МДС 81-39.2005МДС 81-39.2005МДС 81-39.2005МДС 81-39.2005МДС 81-39.2005МДС 81-39.2005МДС 81-39.2005МДС 81-39.2005МДС 81-39.2005МДС 81-39.2005МДС 81-39.2005МДС 81-39.2005МДС 81-39.2005МДС 81-39.2005МДС 81-39.2005МДС 81-39.2005МДС 81-39.2005МДС 81-39.2005МДС 81-39.2005МДС 81-39.2005МДС 81-39.2005МДС 81-39.2005МДС 81-39.2005МДС 81-39.2005МДС 81-39.2005МДС 81-39.2005МДС 81-39.2005МДС 81-39.2005МДС 81-39.2005МДС 81-39.2005МДС 81-39.2005МДС 81-39.2005МДС 81-39.2005МДС 81-39.2005МДС 81-39.2005МДС 81-39.2005МДС 81-39.2005МДС 81-39.2005МДС 81-39.2005МДС 81-39.2005МДС 81-39.2005МДС 81-39.2005МДС 81-39.2005МДС 81-39.2005МДС 81-39.2005МДС 81-39.2005МДС 81-39.2005МДС 81-39.2005МДС 81-39.2005МДС 81-39.2005МДС 81-39.2005МДС 81-39.2005МДС 81-39.2005МДС 81-39.2005МДС 81-39.2005МДС 81-39.2005МДС 81-39.2005МДС 81-39.2005МДС 81-39.2005МДС 81-39.2005МДС 81-39.2005МДС 81-39.2005МДС 81-39.2005МДС 81-39.2005МДС 81-39.2005МДС 81-39.2005МДС 81-39.2005МДС 81-39.2005МДС 81-39.2005МДС 81-39.2005МДС 81-39.2005МДС 81-39.2005МДС 81-39.2005МДС 81-39.2005МДС 81-39.2005МДС 81-39.2005МДС 81-39.2005МДС 81-39.2005МДС 81-39.2005МДС 81-39.2005МДС 81-39.2005МДС 81-39.2005МДС 81-39.2005МДС 81-39.2005МДС 81-39.2005МДС 81-39.2005МДС 81-39.2005МДС 81-39.2005МДС 81-39.2005МДС 81-39.2005МДС 81-39.2005МДС 81-39.2005МДС 81-39.2005МДС 81-39.2005МДС 81-39.2005МДС 81-39.2005МДС 81-39.2005МДС 81-39.2005МДС 81-39.2005МДС 81-39.2005МДС 81-39.2005МДС 81-39.2005МДС 81-39.2005МДС 81-39.2005МДС 81-39.2005МДС 81-39.2005МДС 81-39.2005МДС 81-39.2005МДС 81-39.2005МДС 81-39.2005МДС 81-39.2005МДС 81-39.2005МДС 81-39.2005МДС 81-39.2005МДС 81-39.2005МДС 81-39.2005МДС 81-39.2005МДС 81-39.2005МДС 81-39.2005МДС 81-39.2005МДС 81-39.2005МДС 81-39.2005МДС 81-39.2005МДС 81-39.2005МДС 81-39.2005МДС 81-39.2005МДС 81-39.2005МДС 81-39.2005МДС 81-39.2005МДС 81-39.2005МДС 81-39.2005МДС 81-39.2005МДС 81-39.2005МДС 81-39.2005МДС 81-39.2005МДС 81-39.2005МДС 81-39.2005МДС 81-39.2005МДС 81-39.2005МДС 81-39.2005МДС 81-39.2005МДС 81-39.2005МДС 81-39.2005МДС 81-39.2005МДС 81-39.2005МДС 81-39.2005МДС 81-39.2005МДС 81-39.2005МДС 81-39.2005МДС 81-39.2005МДС 81-39.2005МДС 81-39.2005МДС 81-39.2005МДС 81-39.2005МДС 81-39.2005МДС 81-39.2005МДС 81-39.2005МДС 81-39.2005МДС 81-39.2005МДС 81-39.2005