Скачать Пособие по выполнению заземления и уравнивания потенциалов оборудования информационных технологий. Меры защиты от электромагнитных воздействий

Дата актуализации: 01.01.2021

Пособие по выполнению заземления и уравнивания потенциалов оборудования информационных технологий. Меры защиты от электромагнитных воздействий

Статус:действует
Название рус.:Пособие по выполнению заземления и уравнивания потенциалов оборудования информационных технологий. Меры защиты от электромагнитных воздействий
Дата добавления в базу:01.09.2013
Дата актуализации:01.01.2021
Дата введения:01.01.2004
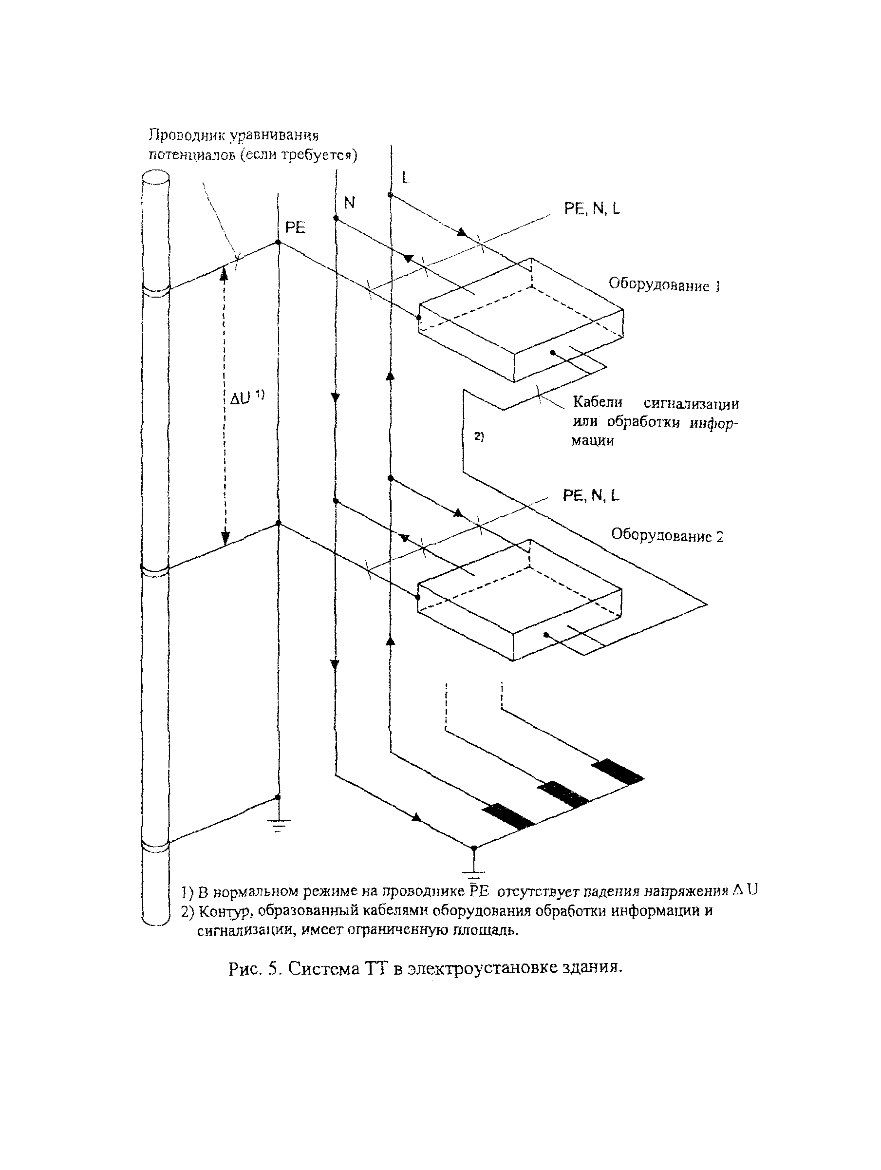
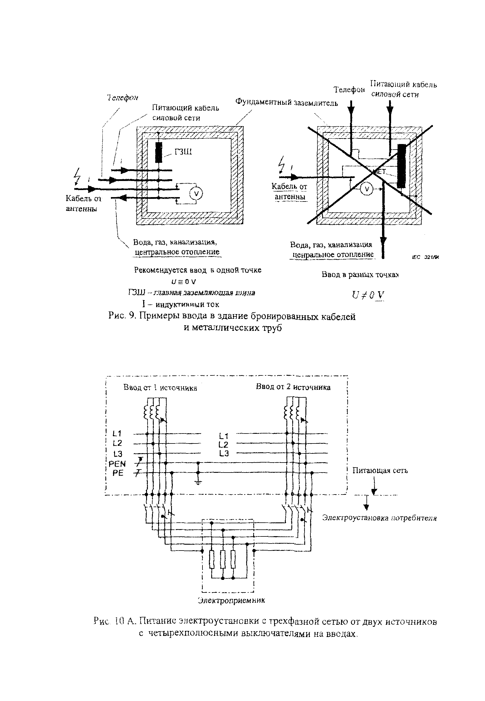
Область применения:Приведены рекомендации по выполнению защитного и функционального заземления, электропроводок и уравнивания потенциалов в цепях оборудования информационных технологий в зданиях с учетом требований электробезопасности и обеспечения нормальной работы оборудования при наличии внешних электромагнитных воздействий.
Оглавление:1 Введение
2 Общие сведения
3 Источники электромагнитных воздействий и меры по их снижению
4 Заземление и уравнивание потенциалов
5 Электропроводки
6 Библиография
7 Приложение Примеры способов снижения влияния помех
Разработан: УИЦ НИИПроектэлектромонтаж
Утверждён:01.01.2004 УИЦ НИИПроектэлектромонтаж
Нормативные ссылки: