Скачать ГОСТ Р 50571.21-2000 Электроустановки зданий. Часть 5. Выбор и монтаж электрооборудования. Раздел 548. Заземляющие устройства и системы уравнивания электрических потенциалов в электроустановках, содержащих оборудование обработки информацииДата актуализации: 01.01.2021
|
| Обозначение: | ГОСТ Р 50571.21-2000 |
| Обозначение англ: | GOST R 50571.21-2000 |
| Статус: | заменен |
| Название рус.: | Электроустановки зданий. Часть 5. Выбор и монтаж электрооборудования. Раздел 548. Заземляющие устройства и системы уравнивания электрических потенциалов в электроустановках, содержащих оборудование обработки информации |
| Название англ.: | Electrical installations of buildings. Part 5. Selection and erection of electrical equipment. Section 548. Earthing arrangements and equipotential bonding for information technology installations |
| Дата добавления в базу: | 01.09.2013 |
| Дата актуализации: | 01.01.2021 |
| Дата введения: | 01.01.2002 |
| Дата окончания срока действия: | 01.01.2013 |
| Область применения: | Стандарт распространяется на электроустановки зданий, применяемые во всех отраслях экономики страны, независимо от их принадлежности и форм собственности, и устанавливает требования по выбору и монтажу электрооборудования, в частности к выбору конструкции и монтажу заземляющих устройств, систем уравнивания и выравнивания электрических потенциалов в электроустановках, содержащих оборудование обработки информации, соединенное между собой для обмена данными, а также другое электрооборудование, чувствительное к помехам. |
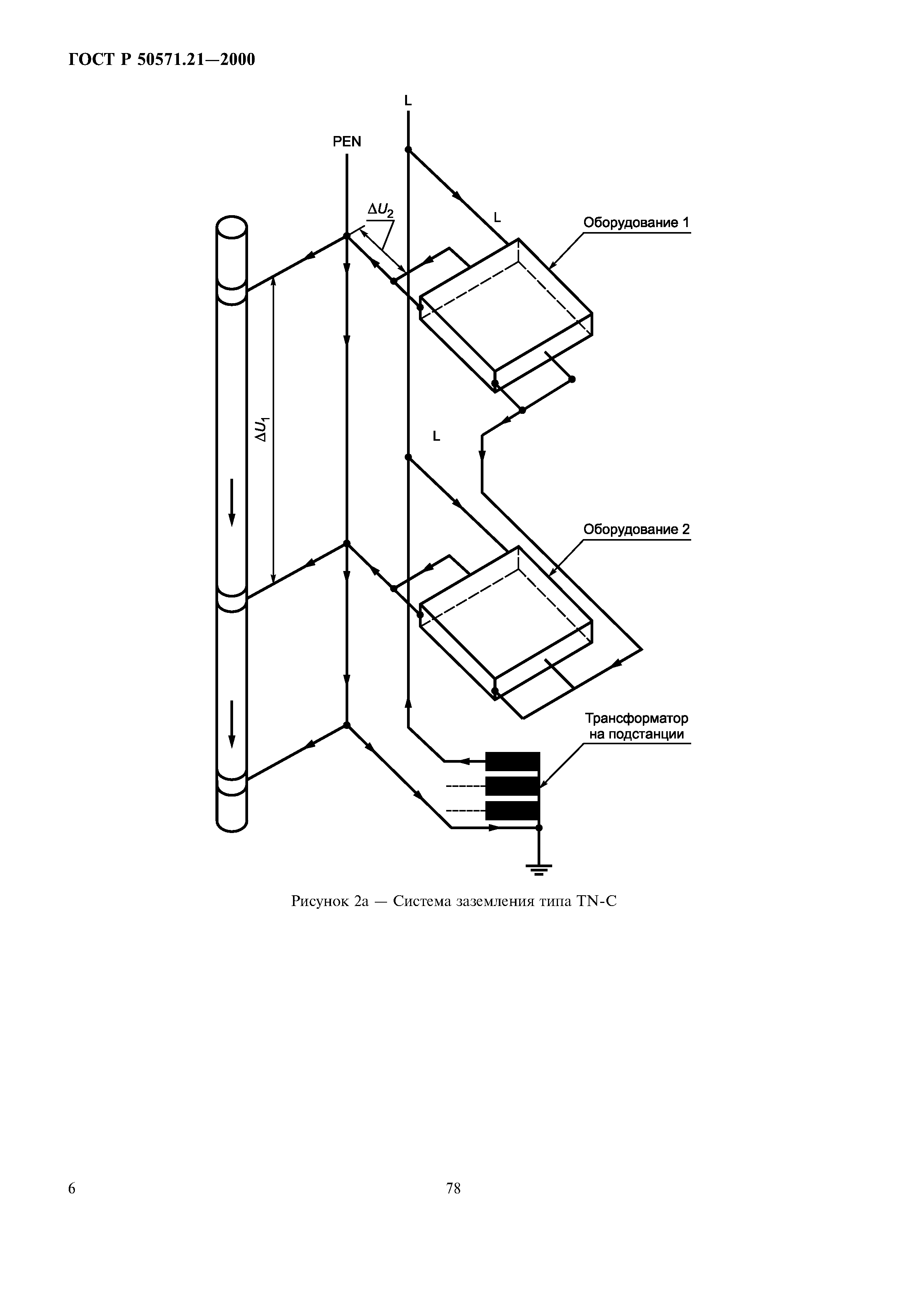
| Оглавление: | 1 (548.1.1) Область применения 2 (548.1.2) Нормативные ссылки 3 (548.1.3) Определения 548.2 Требования, предъявляемые к заземлению установок и оборудования информационных технологий 548.3 Использование главной заземляющей шины 548.4 Совместимость установок информационных технологий с PEN-проводниками в здании 548.5 Защита от электролитической коррозии 548.6 Условия электромагнитной совместимости 548.7 Заземление и уравнивание потенциалов в установках информационных технологий Приложение А Подсоединение сигнальных цепей Приложение В Меры по обеспечению электромагнитной совместимости Приложение С Передача сигналов между различными участками эквипотенциального соединения Приложение D Заземляющие устройства и системы уравнивания потенциалов в животноводческих помещениях, содержащих оборудование информационных технологий Приложение Е Библиография |
| Разработан: | ВИЭСХ ВНИИНМАШ |
| Утверждён: | 18.12.2000 Госстандарт России (Russian Federation Gosstandart 375-ст) |
| Издан: | ИПК Издательство стандартов (2001 г. ) ИПК Издательство стандартов (2000 г. ) Стандартинформ (2012 г. ) |
| Нормативные ссылки: |
|

















