Скачать СО 153-34.48.519-2002 Правила проектирования, строительства и эксплуатации волоконно-оптических линий связи на воздушных линиях электропередачи напряжением 0,4-35 кВДата актуализации: 01.01.2021 СО 153-34.48.519-2002
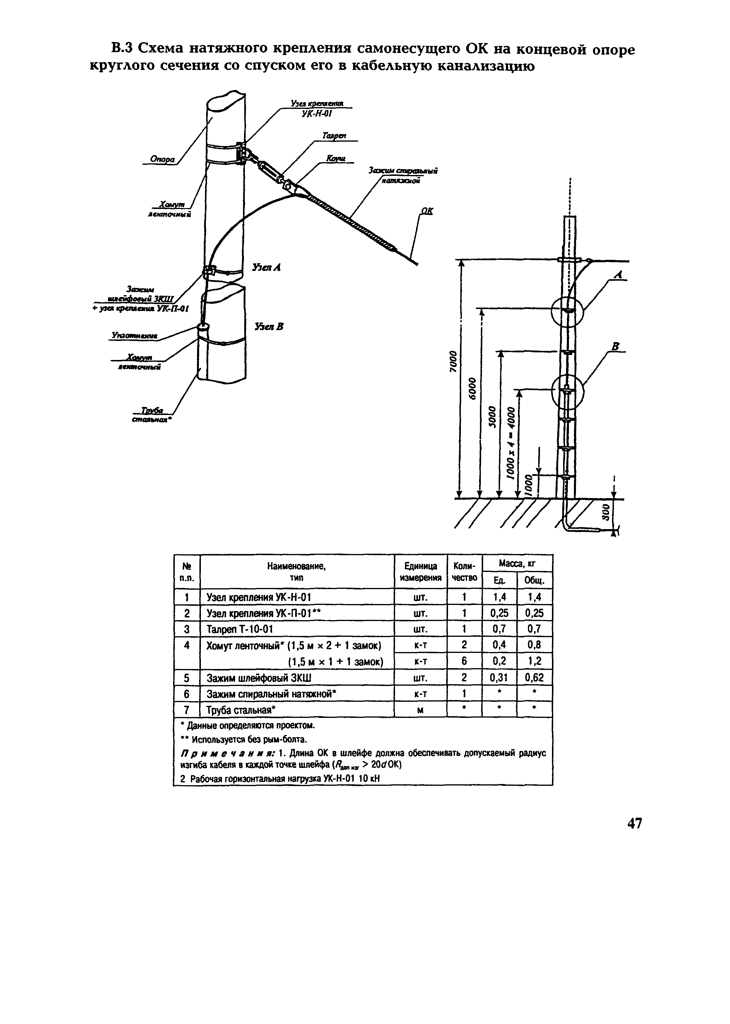
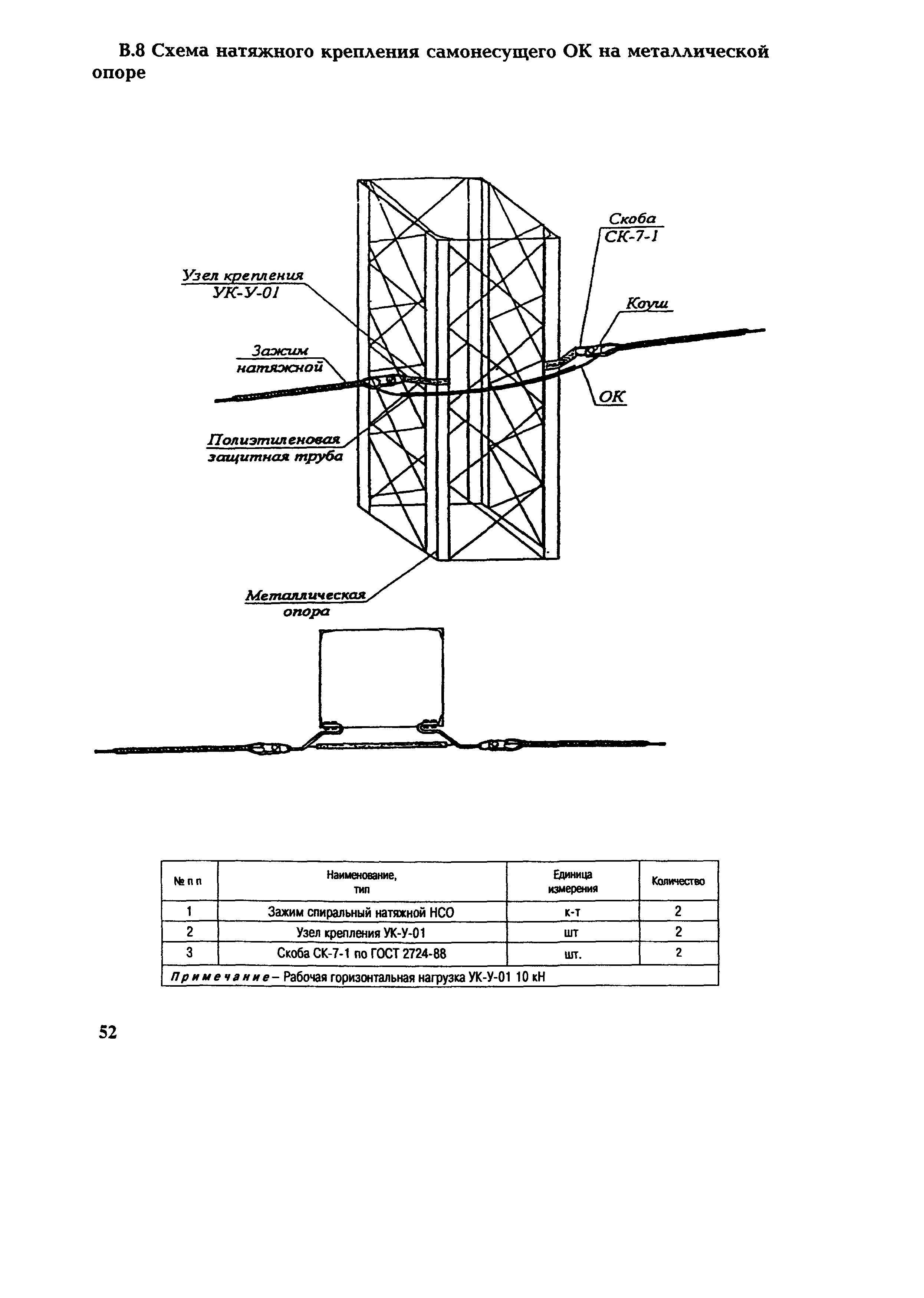
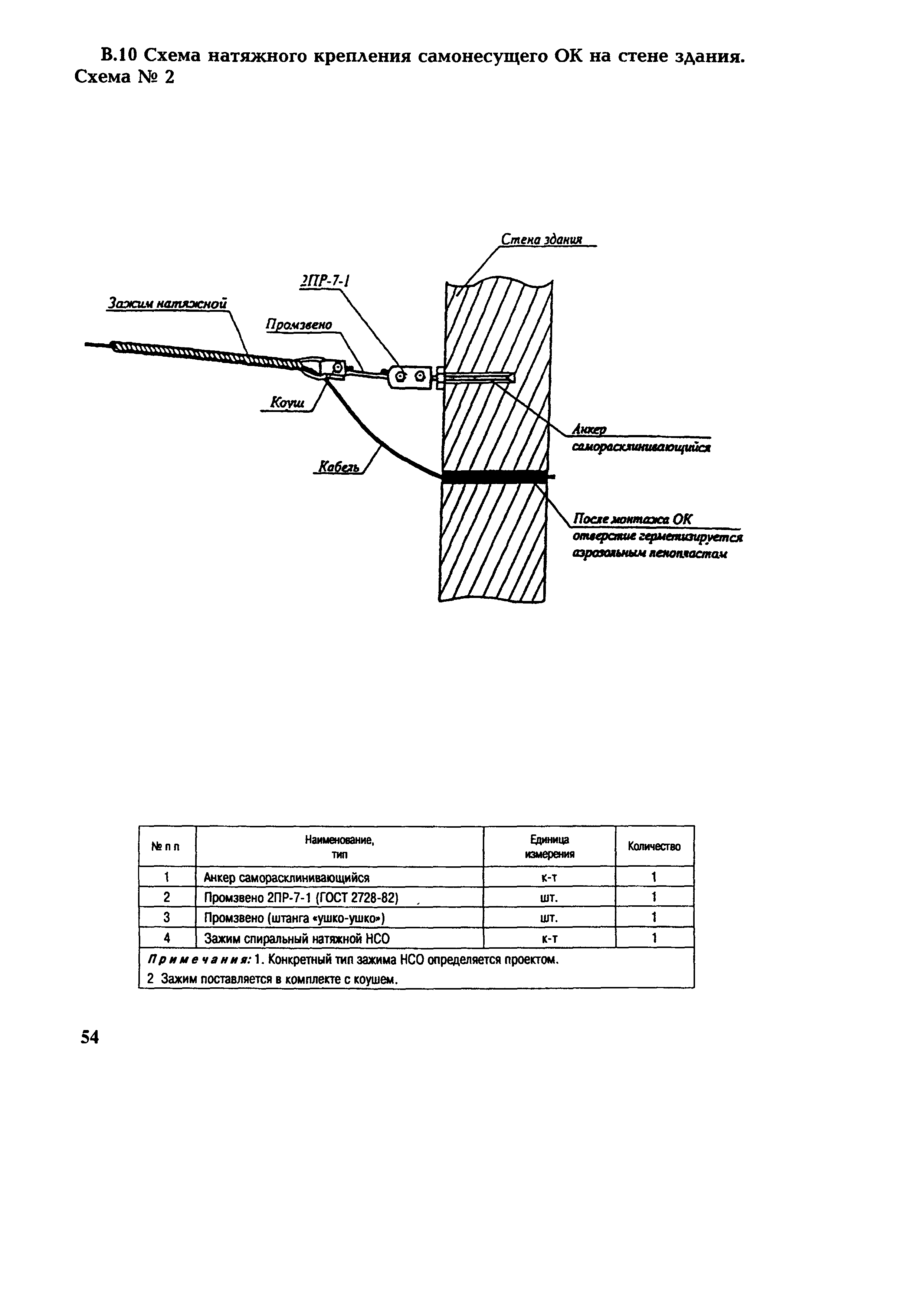
Правила проектирования, строительства и эксплуатации волоконно-оптических линий связи на воздушных линиях электропередачи напряжением 0,4-35 кВ| Обозначение: | СО 153-34.48.519-2002 | | Обозначение англ: | SO 153-34.48.519-2002 | | Статус: | действует | | Название рус.: | Правила проектирования, строительства и эксплуатации волоконно-оптических линий связи на воздушных линиях электропередачи напряжением 0,4-35 кВ | | Дата добавления в базу: | 01.09.2013 | | Дата актуализации: | 01.01.2021 | | Дата введения: | 24.04.2003 | | Область применения: | Правила определяют порядок разработки проектной документации на ВОЛС-ВЛ 0,4-35 кВ, технологию и организацию работ по их строительству и порядок эксплуатации. | | Оглавление: | Предисловие Термины и определения Часть 1 Общие положения по проектированию, строительству и эксплуатации Часть 2 Правила проектирования Глава 2.1 Размещение оптических кабелей на ВЛ Общие требования Климатические условия Выбор ВЛ для подвески ОКСН Определение точек подвески ОКСН на ВЛ Расстояния при подвеске ОК Глава 2.2 Требования к выбору ОКСН и арматуры Требования к выбору параметров и конструкции ОКСН Арматура Глава 2.3 Выбор аппаратуры связи и ее размещение Глава 2.4 Устройство внутристанционной проводки Глава 2.5 Устройство вводов ОК в здания Глава 2.6 Расчет количества каналов ВОЛС-ВЛ магистральной и распределительной сети Часть 3 Правила строительства ВОЛС-ВЛ 0,4-35 кВ Глава 3.1 Общие положения, организация строительства ВОЛС-ВЛ Глава 3.2 Организация и технология работ Организация и проведение подготовительных работ Раскатка и подвеска ОК Выполнение спусков ОК с опор Монтаж соединительных муфт Прокладка кабеля в кабельном блоке (кабельной канализации) и в грунте Глава 3.3 Контроль качества строительно-монтажных работ Глава 3.4 Программа в эксплуатацию ВОЛС-ВЛ Глава 3.5 Требования техники безопасности при монтаже и эксплуатации ОК на ВЛ 0,4-35 кВ Часть 4 Правила Эксплуатации ОКСН НА ВЛ 0,4-35 кВ Приложение А Приспособление для защиты ОК при устройстве переходов (пересечений) через инженерные сооружения Приложение Б Формы документации по монтажу ОК Приложение В Схемы крепления ОК на опорах ВЛ Приложение Г Примерный состав комплексной бригады для монтажа ОК Приложение Д Примерный перечень машин, механизмов, монтажных приспособлений, применяемых для подвески ОК на ВЛ Приложение Е Оборудование для монтажа муфт ОК Приложение Ж Муфты и аксессуары для подвесных самонесущих ОК производства ЗАО "Связьстройдеталь" Приложение И Форма документации на ВОЛС-ВЛ Список использованной литературы | | Разработан: | Фирма ОРГРЭС ОАО ССКТБ-ТОМАСС
| | Утверждён: | 24.04.2003 Минсвязи России (Russian Federation Minsvyazi ) 27.12.2002 Минэнерго России (Russian Federation Minenergo )
| | Издан: | ЦПТИ ОРГРЭС (2004 г. )
| | Заменяет собой: | - РД 153-34.0-48.519-98 «Правила проектирования, строительства и эксплуатации волоконно-оптических линий связи на воздушных линиях электропередачи напряжением 0,4 - 35 кВ»
| | Нормативные ссылки: |   СНиП 11-01-95 «Инструкция о порядке разработки, согласования, утверждения и составе проектной документации на строительство предприятий, зданий и сооружений»  ОСТ 45.86-96 «Линейно-аппаратные цехи оконечных междугородных станций, сетевых узлов, усилительных и регенерационных пунктов. Требования к проектированию»  ОСТ 45.190-2001 «Системы передачи волоконно-оптические. Стыки оптические. Термины и определения»  РД 45.155-2000 «Заземление и выравнивание потенциалов аппаратуры ВОЛП на объектах проводной связи» «Руководство по строительству линейных сооружений местных сетей связи»  ВСН 33-82* «Ведомственные строительные нормы по разработке проектов организации строительства (Электроэнергетика)»  «Правила охраны электрических сетей напряжением свыше 1000 вольт» «Правила охраны электрических сетей напряжением до 1000 вольт»  ГОСТ Р 8.568-97 «Государственная система обеспечения единства измерений. Аттестация испытательного оборудования. Основные положения» СО 34.20.803-00 «Методические указания по монтажу ВЛ 6 - 20 кВ с защищенными проводами» ГОСТ 2724-78 «Скобы для воздушных линий электропередачи. Технические условия»  СанПиН 2971-84 «Санитарные нормы и правила защиты населения от воздействия электрического поля, создаваемого воздушными линиями электропередачи переменного тока промышленной частоты» ГОСТ 13276-79 «Арматура линейная. Общие технические условия»  ГОСТ 15150-69 «Машины, приборы и другие технические изделия. Исполнения для различных климатических районов. Категории, условия эксплуатации, хранения и транспортирования в части воздействия климатических факторов внешней среды»  ГОСТ Р 1.0-92 «Государственная система стандартизации Российской Федерации. Основные положения»  ГОСТ Р 1.2-92 «Государственная система стандартизации Российской Федерации. Порядок разработки государственных стандартов»  ГОСТ Р 1.4-93 «Государственная система стандартизации Российской Федерации. Стандарты отраслей, стандарты предприятий, стандарты научно-технических, инженерных обществ и других общественных объединений. Общие положения»  ГОСТ Р 1.5-92 «Государственная система стандартизации Российской Федерации. Общие требования к построению, изложению, оформлению и содержанию стандартов»  ГОСТ Р 1.9-95 «Государственная система стандартизации Российской Федерации. Порядок маркирования продукции и услуг знаком соответствия государственным стандартам» ГОСТ Р 1.10-95 «Государственная система стандартизации Российской Федерации. Порядок разработки, принятия, регистрации правил и рекомендаций по стандартизации, метрологии, сертификации, аккредитации, каталогизации и информации о них»  ГОСТ Р 8.563-96 «Государственная система обеспечения единства измерений. Методики выполнения измерений»  ГОСТ Р МЭК 793-1-93 «Волокна оптические. Общие технические требования»  ВСН 37-86/Минэнерго СССР «Правила приемки в эксплуатацию отдельных пусковых комплексов и законченных строительством электростанций, объектов электрических и тепловых сетей» РД 34.03.603 «Правила применения и испытания средств защиты, используемых в электроустановках, технические требования к ним» РД 34.20.184-91 «Методические указания по районированию территорий энергосистем и трасс ВЛ по частоте повторяемости и интенсивности пляски проводов»  РД 34.20.401-83 «Правила приемки в эксплуатацию энергообъектов электростанций, электрических и тепловых сетей после технического перевооружения»  РД 34.20.504-94 «Типовая инструкция по эксплуатации воздушных линий электропередачи напряжением 35 - 800 кВ» РД 34.20.561-92 «Типовая инструкция по предотвращению и ликвидации аварий в электрической части энергосистем»  РД 153-34.3-20.671-97 «Типовая инструкция по эксплуатации воздушных линий электропередачи напряжением 0,38 кВ с самонесущими изолированными проводами»  РД 34.20.185-94 «Инструкция по проектированию городских электрических сетей»  ОСТН 600-93 «Отраслевые строительно-технологические нормы на монтаж сооружений и устройств связи, радиовещания и телевидения» СО 153-34.20.501-03 «Правила технической эксплуатации электрических станций и сетей Российской Федерации»  ПОТ Р О-45-005-95 «Правила по охране труда при работах на кабельных линиях связи и проводного вещания (радиофикация)»  ПОТ Р М-012-2000 «Межотраслевые правила по охране труда при работе на высоте»  РД 153-34.0-48.518-98 «Правила проектирования, строительства и эксплуатации волоконно-оптических линий связи на воздушных линиях электропередачи напряжением 110 кВ и выше» ВСН 116-93 «Инструкция по проектированию линейно-кабельных сооружений связи» ВСН 332-93 «Инструкция по проектированию электроустановок предприятий и сооружений электросвязи, проводного вещания, радиовещания и телевидения»  ГОСТ 464-79 «Заземления для стационарных установок проводной связи, радиорелейных станций, радиотрансляционных узлов проводного вещания и антенн систем коллективного приема телевидения. Нормы сопротивления» ПУЭ «Правила устройства электроустановок. Издание 7»  СНиП 3.01.01-85* «Организация строительного производства»  СНиП 3.01.04-87 «Приемка в эксплуатацию законченных строительством объектов. Основные положения»  ПОТ Р М-016-2001 «Межотраслевые правила по охране труда (правила безопасности) при эксплуатации электроустановок»  ПБ 10-382-00 «Правила устройства и безопасной эксплуатации грузоподъемных кранов» ТОИ Р-66-58-95 «Типовая инструкция по охране труда для электромонтажников» ВНТП 112-92 «Том 1. Городские и сельские телефонные сети» «Руководство по приемке в эксплуатацию линейных сооружений проводной связи и проводного вещания» «Единое руководство по составлению исполнительной документации на законченные строительством линейные сооружения проводной связи»  СНиП 2.01.07-85* «Нагрузки и воздействия» СНиП 2.01.01-82 «Строительная климатология и геофизика»  СНиП 3.05.06-85 «Электротехнические устройства»  СН 465-74 «Нормы отвода земель для электрических сетей напряжением 0,4 - 500 кВ» ОНТП ВЛ-78 «Нормы технологического проектирования воздушных линий электропередачи напряжением 35 кВ и выше» ГОСТ Р 1.8-95 «Государственная система стандартизации Российской Федерации. Порядок разработки и применения межгосударственных стандартов»  РД 34.51.101-90 «Инструкция по выбору изоляции электроустановок»  Р 50.1.039-2002 «Разработка, обновление и отмена правил и рекомендаций по стандартизации, метрологии, сертификации, аккредитации и каталогизации»
|
                                                                                 
|