|
МИНИСТЕРСТВО
РОССИЙСКОЙ ФЕДЕРАЦИИ |
|
МИНИСТЕРСТВО
ЭНЕРГЕТИКИ |
|
Утверждаю |
|
Утверждаю |
|
Первый
заместитель Министра |
|
Заместитель
Министра энергетики |
|
__________________ Б.Д. Антонюк |
|
_______________ Г.С. Устюжанин |
|
«24» апреля 2003 г. |
|
«27» декабря 2002 г. |
ПРАВИЛА
ПРОЕКТИРОВАНИЯ, СТРОИТЕЛЬСТВА
И ЭКСПЛУАТАЦИИ
ВОЛОКОННО-ОПТИЧЕСКИХ ЛИНИЙ СВЯЗИ
НА ВОЗДУШНЫХ ЛИНИЯХ ЭЛЕКТРОПЕРЕДАЧИ
НАПРЯЖЕНИЕМ 0,4 - 35 кВ
СО 153-34.48.519-2002
Москва
2004
Настоящие Правила проектирования, строительства и эксплуатации волоконно-оптических линий связи на воздушных линиях электропередачи напряжением 0,4 - 35 кВ (в дальнейшем - ВОЛС-ВЛ 0,4 - 35 кВ) разработаны по заданию Министерства Российской Федерации по связи и информатизации в связи с насущной потребностью использования ВЛ 0,4 - 35 кВ для подвески оптических кабелей (ОК) на совпадающих с заданными для организации связи трассами.
Нормативный документ, подобный настоящим Правилам, в России отсутствует.
Применение ВОЛС-ВЛ 0,4 - 35 кВ имеет следующие преимущества по сравнению с применяемыми способами прокладки ОК - в грунт, в кабельной канализации и коллекторах:
а) отсутствие необходимости отвода земель и согласований с землепользователями;
б) снижение капитальных и эксплуатационных затрат;
в) сокращение сроков строительства;
г) уменьшение количества повреждений в районах городской и сельской местности.
В настоящих Правилах приведены основные положения по проектированию ВОЛС-ВЛ 0,4 - 35 кВ, технология и организация работ по их строительству и особенности эксплуатации.
Разработчиками Правил являются ОАО "ССКТБ-ТОМАСС" и Филиал ОАО "Инженерный центр ЕЭС" - "Фирма ОРГРЭС".
|
Воздушная линия электропередачи (ВЛ) |
Устройство для передачи и распределения электроэнергии по проводам, расположенным на открытом воздухе и прикрепленным с помощью изоляторов и арматуры к опорам или кронштейнам, стойкам на зданиях и инженерных сооружениях (мостах, путепроводах и т.п.). |
|
Волоконно-оптическая линия передачи (ВОЛП) |
Совокупность линейных трактов волоконно-оптических систем передачи, имеющих общий оптический кабель, линейные сооружения и устройства их обслуживания. |
|
Волоконно-оптическая линия связи (ВОЛС) |
Оптический кабель в комплексе с линейными сооружениями и устройствами для их обслуживания, по которому передаются все виды сигналов ВОЛП. |
|
Волоконно-оптическая линия связи на воздушных линиях электропередачи (ВОЛС-ВЛ) |
Оптический кабель, подвешенный и смонтированный на ВЛ для передачи сигналов ВОЛП (ВОЛС-ВЛ 0,4 - 35 кВ относится к линейной части ВОЛП, организуемой с подвеской ОК на ВЛ напряжением 0,4 - 35 кВ). |
|
Кабельная канализация |
Совокупность подземных трубопроводов и колодцев (смотровых устройств), предназначенных для прокладки, монтажа и технического обслуживания кабелей связи. |
|
Кабельный блок |
Кабельное сооружение с трубами (каналами) для прокладки в них кабелей с относящимися к нему колодцами. |
|
Лоток |
Открытая конструкция, предназначенная для прокладки на ней проводов и кабелей. |
|
ОВ |
Оптическое волокно. |
|
Оператор связи |
Физическое или юридическое лицо, имеющее право на предоставление услуг электросвязи или почтовой связи. |
|
Оптический кабель (ОК) |
Кабельное изделие, содержащее оптические волокна, объединенные в единую конструкцию, обеспечивающую передачу световых сигналов в заданных условиях эксплуатации. |
|
Оптический кабель ОКГТ |
Оптический кабель, встроенный в грозозащитный трос ВЛ. |
|
Оптический кабель неметаллический навивной ОКНН |
Оптический кабель, навиваемый на фазный провод или грозозащитный трос ВЛ. |
|
Оптический кабель самонесущий неметаллический ОКСН |
Оптический кабель с армирующими элементами, выполненными из стеклопластиковых прутков или синтетических нитей. |
|
Оптический кабель ОКФП |
Оптический кабель, встроенный в фазный провод ВЛ. |
|
Отказ ВОЛС-ВЛ, элементов ВОЛС-ВЛ |
Событие, заключающееся в нарушении работоспособности ВОЛС-ВЛ или ее элементов. |
|
Охранная зона ВЛ и ВОЛС-ВЛ |
Зона вдоль ВЛ и ВОЛС-ВЛ в виде земельного участка и воздушного пространства, ограниченная вертикальными плоскостями, отстоящими по обе стороны линии от крайних проводов при неотклоненном их положении на расстоянии, м, для ВЛ: |
|
до 1 кВ............................................ 2 |
|
|
свыше 1 до 20 кВ.......................... 10 |
|
|
35 кВ.............................................. 15 |
|
|
Потенциал электрического поля |
Потенциал, который может возникнуть на точечном металлическом объекте, помещенном в электрическое поле, создаваемое электроустановкой (ее элементом) под напряжением. |
|
Правило |
Положение, описывающее действия, предназначенные для выполнения. |
|
Проект организации строительства (ПОС) |
Составная часть проекта, определяющая общую продолжительность и промежуточные сроки строительства, распределение капитальных вложений и объемов строительно-монтажных работ, материально-технические, трудовые ресурсы и источники их покрытия, основные методы выполнения строительно-монтажных работ и структуру управления строительством объекта. |
|
Проект производства работ (ППР) |
Проект, определяющий технологию, организацию работ, сроки их выполнения и порядок обеспечения ресурсами строительно-монтажных работ и служащий основным документом при организации строительных процессов. Разрабатывается в подготовительный период строительства. |
|
Технико-экономическое обоснование (ТЭО) |
Исходные материалы для разработки проекта, обосновывающие необходимость и экономическую целесообразность строительства данного объекта. |
|
Трасса ВОЛС-ВЛ |
Полоса земли, на которой сооружена ВЛ. |
|
УЗК |
Устройство для заготовки каналов кабельной канализации |
|
Эксплуатация ВОЛС-ВЛ |
Аварийно-восстановительные работы, техническое обслуживание, ремонт ВОЛС-ВЛ |
1.1 Настоящие Правила определяют порядок разработки проектной документации на ВОЛС-ВЛ 0,4 - 35 кВ, технологию и организацию работ по их строительству и порядок эксплуатации.
1.2 Проектирование, строительство и эксплуатация ВОЛС-ВЛ 0,4 - 35 кВ должно осуществляться в соответствии с требованиями [14], [16], [20], [25], [34], [36], [42].
1.3 Настоящие Правила распространяются на ВОЛС-ВЛ, сооружаемые в объеме нового строительства ВЛ, и на ВОЛС-ВЛ, сооружаемые на действующих ВЛ в порядке их технического перевооружения и реконструкции.
1.4 Для организации ВОЛС-ВЛ 0,4 - 35 кВ настоящими Правилами предусмотрено применение ОКСН.
На ВОЛС-ВЛ 35 кВ могут быть применены также оптические кабели ОКГТ и ОКНН; при этом следует руководствоваться [42]. На ВОЛС-ВЛ 0,4 - 10 кВ может быть применен оптический кабель ОКНН, а на ВОЛС-ВЛ 0,4 - 35 кВ - ОКФП.
1.5 Применяемые на ВОЛС-ВЛ 0,4 - 35 кВ оборудование, аппаратура и материалы должны соответствовать требованиям государственных стандартов, технических условий и других нормативных документов (НД), утвержденных в установленном порядке. По своим нормируемым, гарантируемым и расчетным характеристикам они должны соответствовать условиям работы ВЛ.
1.6 Состав и содержание разрабатываемой проектной документации должны соответствовать гл. 4 СНиП 11.01-95 [14].
1.7 Координацию работ по развитию и внедрению в системы связи и энергетики ВОЛС-ВЛ, а также проведение единой технической политики осуществляют Минэнерго России и Минсвязи России.
1.8 Планирование строительства конкретного объекта должно быть увязано с генеральными схемами "Единая сеть электросвязи и телемеханики электроэнергетики", а также с Взаимоувязанной сетью связи (ВСС) Российской Федерации.
1.9 В качестве заказчика проектных и строительных работ по сооружению ВОЛС-ВЛ 0,4 - 35 кВ могут быть юридические и физические лица.
Генерального подрядчика по проектированию и строительству ВОЛС-ВЛ 0,4 - 35 кВ следует выбирать на конкурсной основе из числа организаций, имеющих соответствующие лицензии. При выборе подрядных организаций для строительства предпочтение должно отдаваться организациям Российской Федерации.
1.10 Сооружаться и эксплуатироваться ВОЛС-ВЛ 0,4 - 35 кВ должны в соответствии с соглашениями (договорами) между организациями, участвующими в совместном долевом строительстве.
1.11 Эксплуатацию аппаратуры связи и ВОЛС-ВЛ 0,4 - 35 кВ должен осуществлять владелец или арендатор.
1.12 Нормативный срок службы ВОЛС-ВЛ 0,4 - 35 кВ должен составлять, как правило, не менее 25 лет при соблюдении требований правил эксплуатации.
1.13 При применении на ВОЛС-ВЛ 0,4 - 35 кВ оборудования иностранных фирм поставщик оборудования должен предоставить комплект технической документации (спецификации, инструкции, рекомендации), которая не должна противоречить требованиям к действующей в Российской Федерации НД и может использоваться при проектировании и монтаже ВОЛС-ВЛ.
1.14 При проектировании ВОЛС-ВЛ 0,4 - 35 кВ генеральная проектная организация или по ее заказу другая проектная организация должны разработать проект организации строительства (ПОС) для заказчика, подрядных организаций, а также организаций, осуществляющих финансирование и материально-техническое обеспечение строительства.
Состав и содержание ПОС должны соответствовать приложению 2, а формы основных проектных документов приложению 3 СНиП 3.01.01-85 [16].
2.1.1 Воздушные линии электропередачи должны соответствовать требованиям, изложенным в разделах 2.4 и 2.5 ПУЭ [34].
2.1.2 В настоящих Правилах проектирования приводятся требования, относящиеся к размещению ОК на ВЛ и ответвлениях от ВЛ, техническим параметрам ОК и станционного оборудования связи.
2.1.3 Оптические кабели должны размещаться на ВЛ путем подвески ОКСН на опорах ВЛ (их частях) с помощью линейной арматуры. Подвеска ОК может производиться на опорах из любого материала.
2.1.4 Проектирование ВОЛС-ВЛ должно вестись на основании задания на проектирование.
2.1.5 Задание на проектирование составляется заказчиком проекта с привлечением генерального проектировщика, как правило, на основании утвержденных обоснований инвестиций строительства или технико-экономического обоснования (ТЭО).
2.1.6 Расчет параметров надежности ВОЛС-ВЛ 0,4 - 35 кВ должен производиться в соответствии с действующей методикой, изложенной в [42].
2.1.7 Для обеспечения эксплуатации в проекте должны быть предусмотрены ресурсы:
а) транспорт, устройства (оборудование) для монтажа, ремонта, технического обслуживания, средства измерений;
б) аварийный запас ОК, соединительных муфт, арматуры крепления ОК;
в) персонал для эксплуатации ВОЛС-ВЛ.
2.1.8 Ответвления ОК от ВЛ 0,4 кВ, сооружаемые на отдельных опорах, к регенерационным пунктам в части требований к габаритам до земли, опорам, фундаментам, заземлениям должны проектироваться в соответствии с требованиями раздела 2.4 ПУЭ [34], ответвления от ВЛ 6 - 35 кВ - в соответствии с раздело 2.5 ПУЭ [34]. На этих ответвлениях рекомендуется применять ОКСН той же марки, что и на ВОЛС-ВЛ 0,4 - 35 кВ.
2.1.9 Проектом должны предусматриваться места установки специальных соединительных или ответвительных муфт для сращивания каждой строительной длины ОКСН.
2.1.10 Длина спусков кабеля должна обеспечивать возможность снятия соединительной муфты с опоры и выполнения сварочных и измерительных работ в непосредственной близости к опоре, а также возможность перемонтажа кабеля в муфте во время эксплуатации.
2.1.11 Высота расположения муфт на опорах ВЛ вне территории энергетических объектов должна быть не менее 5 м; высота расположения муфт на опорах энергообъектов, порталах электростанций или подстанций может выбираться исходя из удобства их обслуживания и возможности выполнения работ с оптическим волокном без снятия муфт. При этом должно быть исключено затопление муфты паводковыми водами и ее засыпание снегом, если использована такая же конструкция муфты, как и на всей ВЛ.
2.1.12 На опорах ВЛ, где по проекту устанавливаются соединительные муфты, наряду со знаками, предусмотренными ПУЭ [34], должно предусматриваться нанесение на высоте 2,5 - 3,0 м постоянных знаков: условных обозначений ВОЛС, номера соединительной муфты.
2.1.13 Климатические условия при проектировании ВОЛС-ВЛ 0,4 - 35 кВ в объеме нового строительства ВЛ должны соответствовать условиям, принятым для проектирования линии электропередачи.
Климатические условия для проектирования ответвлений должны приниматься такими же, как на ВОЛС-ВЛ 0,4 - 35 кВ.
2.1.14 Определение расчетных климатических условий для расчета и выбора конструкций ВЛ и ВОЛС-ВЛ должно производиться на основании соответствующих карт климатического районирования территории России с уточнением при необходимости их параметров по региональным картам и материалам многолетних наблюдений гидрометеорологических станций и метеопостов за скоростью ветра, массой, размерами, видом и повторяемостью гололедно-изморозевых отложений, температурой воздуха и пляской проводов в зоне трассы сооружаемой линии.
При отсутствии региональных карт значения климатических параметров уточняются путем обработки соответствующих многолетних наблюдений согласно методическим указаниям по расчету климатических нагрузок на ВЛ и построению региональных карт с повторяемостью в соответствии с разделами 2.4 и 2.5 ПУЭ [34].
2.1.15 Расчеты нагрузок должны производиться в соответствии с разделом 2.4 ПУЭ [34], а выше 1 кВ - с разделом 2.5 ПУЭ [34].
2.1.16 Температура воздуха определяется на основании данных метеостанций с учетом положений СНиП 2.01.01-82 [67]. СНиП 2.01.07-85 [68] и требований раздела 2.5 ПУЭ [34].
2.1.17 Определение районов по частоте и интенсивности пляски проводов должно производиться по карте районирования территорий Российской Федерации с уточнением по данным эксплуатации.
2.1.18 При проектировании подвески ОК не действующих ВЛ 0,4 - 35 кВ должно быть выявлено соответствие фактических условий эксплуатации принятым в проекте ВЛ. Увеличение реальных расчетных нагрузок по сравнению с принятыми ранее в проекте должно быть учтено в проекте ВОЛС-ВЛ и проекте реконструкции ВЛ. По требованию заказчика для повышения надежности ВОЛС-ВЛ допускается увеличивать значения расчетной скорости ветра и толщины гололедно-изморозевых отложений.
2.1.19 Вновь сооружаемые и реконструируемые ВЛ, на которых осуществляется размещение ОК, должны соответствовать требованиям разделов 2.4 и 2.5 ПУЭ [34].
2.1.20 Действующие ВЛ, на которых предусматривается подвеска ОК, должны соответствовать требованиям настоящих Правил и НД по эксплуатации ВЛ.
2.1.21 Для организации ВОЛС-ВЛ допускается использовать ВЛ разного класса напряжений, трассы которых совпадают с трассой проектируемой ВОЛС.
2.1.22 Выбор действующих ВЛ, совпадающих по направлению с трассой ВОЛС, должен производиться на основании обследования этих ВЛ. При выборе ВЛ должны учитываться:
а) техническое состояние элементов ВЛ, соответствие опор ВЛ и их закрепления в грунте дополнительным нагрузкам, возникающим при подвеске OK, а также возможности обеспечения регламентированных значений габаритов до земли и расстояний от ОК до проводов ВЛ;
б) обеспеченность и состояние подъездных путей к ВЛ;
в) возможность размещения регенерационных пунктов.
2.1.23 Трасса ОК ВОЛС-ВЛ на подходах к энергообъектам должна выбираться в соответствии с расположением трасс действующих ВЛ, на которых предусмотрена подвеска ОК, и с учетом возможного размещения других ВЛ при развитии электрической сети.
2.1.24 Трасса ВОЛС-ВЛ на самостоятельных опорах при заходах к регенерационным пунктам выбирается и согласовывается в установленном порядке.
2.1.25 В актах выбора ВЛ для ВОЛС или выбора трасс ВОЛС на самостоятельных опорах должен быть предусмотрен объем природоохранных мероприятий на восстановление изымаемых во временное пользование земель при монтаже ОК на действующих ВЛ.
2.1.26 В проекте ВОЛС-ВЛ должны быть предусмотрены соответствующие затраты на возмещение убытков землепользователей.
2.1.27 В проектной документации должны быть указаны точки подвески ОК на опорах каждого типа, которые выбираются с учетом требований НД для ВЛ соответствующего класса напряжения.
2.1.28 Место расположения ОКСН на опоре ВЛ данного класса напряжения выбирается исходя из условий.
а) допустимых расстояний от ОК до поверхности земли или каких-либо инженерных сооружений при наибольшей стреле провеса, приведенной в ПУЭ [34];
б) такого взаимного расположения ОК и фазных проводов, чтобы при их отклонении ветром и (или) при отклонении ветром при гололеде (с учетом отклонений подвесных изоляторов) расстояние между ними в любой точке пролета было не менее допустимого.
2.1.29 Оптический кабель на ВЛ 0,4 кВ следует подвешивать на опоре, как правило, ниже фазных проводов, на ВЛ 6 - 35 кВ - в межфазном пространстве или ниже фазных проводов. При прохождении ВЛ в населенной местности, где имеется большое количество пересечений, при устройстве которых сложно обеспечить соблюдение допустимых расстояний при подвеске ОК ниже проводов ВЛ, допускается подвешивать ОК выше фазных проводов ВЛ 6 - 35 кВ.
2.1.30 В точке подвески ОК на ВЛ напряжением 35 кВ потенциал электрического поля не должен превышать 12 кВ.
2.1.31 Расстояние по вертикали между ОК и неизолированными проводами на опорах ВЛ 0,4 кВ должно быть не менее 0,4 м, на опорах ВЛ 6 - 20 кВ - не менее 1 м; расстояние по вертикали между ОК и изолированными проводами ВЛ 0,4 кВ не нормируется, по горизонтали должно быть не менее 0,3 м.
2.1.32 Расстояние по вертикали в пролете при температуре окружающего воздуха +15 °С без ветра должно составлять между ОК и неизолированным проводом ВЛ 0,4 кВ не менее 0,4 м, ВЛ 6 - 20 кВ - не менее 1 м.
2.1.33 Высота подвески ОК на опорах ВЛ 35 кВ и расстояния между ОК и проводами этих ВЛ определяются по условиям работы проводов в пролетах в соответствии с требованиями раздела 2.5 ПУЭ [34].
2.1.34 Расстояние по вертикали от ОК, подвешенного ниже уровня проводов, при наибольшей расчетной стреле провеса должно быть (нормальный режим) на ВЛ в населенной местности не менее 5,0 м, в ненаселенной местности и до поверхности непроезжей части улиц - не менее 4,0 м.
2.1.35 Расстояния по горизонтали от ОК, подвешенных ниже проводов ВЛ, при наибольшем их отклонении до ближайших частей производственных, складских, административно-бытовых и общественных зданий и сооружений, лесных насаждений, крон деревьев должны быть не менее предусмотренных разделами 2.4 и 2.5 ПУЭ [34] для неизолированных проводов ВЛ соответствующего класса напряжения.
2.2.1 Кабели типа ОКСН, применяемые на ВОЛС-ВЛ, должны соответствовать Общим техническим требованиям к самонесущим неметаллическим кабелям, предназначенным для подвески на линиях электропередачи, утвержденным Минэнерго России, и Техническим требованиям к оптическим кабелям связи, предназначенным для применения на Взаимоувязанной сети связи Российской Федерации, утвержденным Минсвязи России.
2.2.2 Конструкция ОКСН должна обеспечивать физико-механические и электрические параметры в течение всего срока службы.
2.2.3 Требования к механическим параметрам ОКСН должны устанавливаться по условиям подвески кабеля на конкретной ВОЛС-ВЛ.
2.2.4 Требования к техническим характеристикам ОКСН для подвески на конкретной ВОЛС-ВЛ должны формироваться на основании анализа конструкции ВЛ, а также результатов расчетов, выполняемых проектной организацией, и определяются следующими условиями:
а) суммарные нагрузки на опоры ВЛ при подвеске кабеля (в дополнение к существующим проводам и тросам) не должны превышать допустимые для конкретного типа опор;
б) расстояния от самонесущего кабеля (с учетом максимальной стрелы провеса) до земли и пересекаемых объектов, а также до фазных проводов при климатических условиях, в которых находится ВОЛС-ВЛ, должны соответствовать нормам, приведенным в ПУЭ [34].
2.2.5 Выбор ОК производится с учетом:
а) числа и оптических параметров волокон;
б) точек подвеса кабеля на опорах ВЛ;
в) максимально допустимого диаметра оптического кабеля, который можно подвесить на промежуточных опорах в дополнение к существующим проводам ;на ВЛ 35 кВ - и к грозозащитным тросам);
г) максимально допустимого тяжения в кабеле при максимальной нагрузке по условию механической прочности анкерных опор;
д) расчета допустимых стрел провеса кабеля в конкретных пролетах при нормативных гололедных и ветровых нагрузках с учетом вытяжки кабеля.
Расчеты могут быть выполнены на основании паспортных данных ВЛ, выбранных для подвески ОКСН (марок проводов, типов опор, климатических условий по трассе ВОЛС-ВЛ, длин пролетов ВЛ).
2.2.6 Физико-механические параметры кабеля на каждый типоразмер определяются на основании конструктивного и технологического исполнения ОКСН в следующем объеме:
- внешний диаметр, мм;
- число и характеристики оптических волокон;
- сечение кабеля (расчетное), мм2;
- масса, кг/км;
- разрывная нагрузка, кг;
- максимально допустимая нагрузка, кг;
- максимальная допустимая монтажная нагрузка, кг;
- коэффициент линейного термического расширения, °С;
- модуль упругости (начальный или монтажный), кг/мм2;
- модуль упругости (конечный), кг/мм2
- данные по вытяжке ОКСН и рекомендации по ее учету;
- рабочий диапазон температур, °С;
- минимальная допустимая температура монтажа, °С.
2.2.7 Расчет ОКСН должен производиться на нормативные нагрузки для соответствующего класса напряжения ВЛ по методу допускаемых напряжений с учетом его вытяжки.
2.2.8 Параметры и характеристики ОКСН, установленные и представляемые изготовителем, являются основанием для механического расчета ОКСН и условий его подвески на ВЛ.
2.2.9 Расчет ОКСН должен производиться для следующих сочетаний климатических условий:
а) наибольшая внешняя нагрузка при сочетании ветра и гололеда;
б) при максимальном ветре;
в) при максимальном гололеде;
г) при низшей температуре эксплуатации и отсутствии внешних нагрузок;
д) при среднегодовой температуре и отсутствии внешних нагрузок;
е) при максимальной температуре эксплуатации и отсутствии внешних нагрузок.
2.2.10 При проектировании подвески на ВЛ в межфазовом пространстве должен быть произведен расчет ОКСН на отсутствие схлестывания с фазными проводами ВЛ при различных климатических условиях по всей длине пролета с учетом его вытяжки в процессе эксплуатации для всех пролетов проектируемой ВОЛС-ВЛ.
2.2.11 При подвеске ОКСН на ВЛ ниже фазных проводов должен быть произведен расчет на соблюдение допустимых габаритов до земли и (или) пересекаемых объектов в соответствующих климатических режимах.
2.2.12 В проекте должны быть установлены монтажные тяжения для каждого конкретного анкерного пролета; тяжения не должны превышать допустимые растягивающие и раздавливающие нагрузки, установленные изготовителем ОКСН.
2.2.13 Расчет монтажных тяжений и стрел провеса для каждого конкретного анкерного пролета должен производиться по следующей схеме:
а) для единичного пролета максимальной длины и (или) для пролета с максимальным перепадом высот в каждом анкерном пролете производится механический расчет ОКСН и определяется стрела провеса и монтажное тяжение, которое не должно превышать значений, установленных изготовителем кабеля;
б) по установленному значению монтажного тяжения в пролете максимальной длины (или для пролета с максимальным перепадом высот) каждого анкерного участка производится расчет стрел провеса ОКСН во всех остальных единичных пролетах данного анкерного участка.
2.2.14 Для крепления ОКСН на опорах ВЛ должна применяться арматура, рекомендованная к использованию изготовителем ОКСН, которая прошла полный комплекс испытаний с данным типом кабеля; арматура должна соответствовать требованиям ГОСТ 13276 [8].
2.2.15 Конструкции зажимов для подвески и крепления ОКСН на опорах ВЛ не должны приводить к механическим повреждениям наружной оболочки кабеля в течение всего срока его эксплуатации.
2.2.16 Волоконно-оптические линии связи на ВЛ должны быть защищены от воздействия вибрации и пляски проводов.
2.2.17 Для соединения строительных длин ОКСН должны применяться муфты, рекомендованные изготовителем ОКСН, прошедшие полный комплекс испытаний с данным типом кабеля и указанные в экспертном заключении на кабель, утвержденном в установленном порядке.
2.2.18 Прочность заделки ОКСН в натяжном зажиме должна составлять не менее 90 % разрывной прочности кабеля.
Прочность заделки ОКСН в поддерживающем зажиме должна исключать проскальзывание кабеля в зажиме при воздействии гололедных и ветровых нагрузок.
2.2.19 Коэффициент запаса прочности линейной арматуры (отношение минимальной разрушающей нагрузки к нормативной нагрузке, воспринимаемой арматурой) должен быть не менее 2,5 при работе ВОЛС-ВЛ в нормальном режиме.
2.2.20 Конструкции предусмотренных в проекте натяжных и поддерживающих зажимов не должны приводить к возникновению коронного разряда при потенциале электрического поля более 12 кВ.
2.2.21 Натяжные и поддерживающие зажимы должны обеспечивать надежную работу ОК в электрическом поле ВЛ. При необходимости для исключения эрозии оболочки кабеля у зажимов допускается установка соответствующих экранирующих устройств.
2.3.1 Аппаратурное обеспечение ВОЛС-ВЛ должно определяться текущими и перспективными потребностями потребителей услуг системы передачи информации в количестве и структуре каналов связи.
2.3.2 При организации транспортной (первичной) магистральной или зоновой ВОЛС-ВЛ на сетях 0,4 - 35 кВ должна применяться предпочтительно аппаратура передачи синхронной цифровой иерархии (SDH-N) с уровнем N, соответствующим передаваемому графику, а для участков доступа может использоваться также оборудование PDH и наложенной ATM. Любая устанавливаемая аппаратура должна обеспечивать необходимые параметры интервала и линии в целом, а также возможность управления ВОЛС-ВЛ и контроля за ее функционированием.
2.3.3 В зависимости от конкретного проекта ВОЛС-ВЛ состав оборудования, устанавливаемого на обслуживаемых или необслуживаемых пунктах связи может включать в себя передающие, линейные и приемные оптические усилители, транспондеры, терминальные и промежуточные мультиплексоры (с вводом и выводом каналов), первичные (гибкие) мультиплексоры, маршрутизаторы, коммутаторы, аппаратуру управления и служебной связи, оптические кроссы, кроссы цифровых и аналоговых сигналов устройства электропитания и т.д.
2.3.4 Выбор электрических и оптических характеристик аппаратуры, характеристик ошибок, проскальзываний и фазовых дрожаний в трактах должен производиться в соответствии с [66].
2.3.5 Аппаратура ВОЛС-ВЛ должна соответствовать следующим параметрам по надежности:
а) среднее расчетное время наработки на отказ одного комплекта - не менее 20 лет (с возможным использованием резервирования);
б) среднее время восстановления аппаратуры обслуживаемых пунктов заменой неисправного оборудования устройствами из ЗИП - не более 10 мин (на одну неисправность);
в) среднее время восстановления аппаратуры необслуживаемых пунктов заменой неисправного оборудования устройствами из ЗИП - не более 30 мин (на одну неисправность, без учета времени доставки персонала к месту аварии);
г) срок службы аппаратуры, т.е. время от начала эксплуатации аппаратуры до момента невозможности восстановления ее работоспособности путем ремонта основных элементов, должен быть не менее 20 лет.
2.3.6 Суммарный коэффициент готовности для сквозного ОЦК конкретной проектируемой ВОЛС-ВЛ на опорах 0,4 - 35 кВ должен быть определен пересчетом исходя из требования получения на перспективной эталонной гипотетической цепи протяженностью 13900 км коэффициента готовности не менее 0,98.
Пересчет выполняется по формуле, приводимой в приложении 4 [42].
Примечание - Коэффициент готовности кабельных участков требует дальнейшего исследования, поскольку параметры аварийных состояний ВЛ 0,4 - 35 кВ, приводящие к повреждению оптических волокон, в настоящее время не регламентированы.
2.3.7 Коэффициенты готовности каналов передачи служебной электроэнергетической информации должны быть следующие:
а) для системы передачи сигналов оперативно-диспетчерского контроля и управления текущим режимом, в том числе АСДУ, - не менее 0,98;
б) для системы автоматического регулирования частоты, мощности и напряжения - не менее 0,997;
в) для системы противоаварийной автоматики - не менее 0,998;
г) для систем релейной защиты и автоматики ВЛ - не менее 0,998.
2.3.8 По условиям эксплуатации аппаратура, устанавливаемая в обслуживаемых помещениях с принудительной вентиляцией, должна удовлетворять следующим требованиям:
- диапазон рабочих температур +5 ÷ +40 °С;
- нижнее атмосферное давление 60 кПа (450 мм рт.ст.);
- относительная влажность (65 ± 15) %.
2.3.9 Размещение аппаратуры в помещении должно производиться в соответствии с ОСТ 45.86-96 [21].
2.3.10 Аппаратуру ВОЛС целесообразно устанавливать в общем помещении с другим оборудованием проводной связи.
2.3.11 При размещении аппаратуры ВОЛС в специально выделенном отдельном помещении стойки с оборудованием могут иметь односторонне или двухстороннее расположение относительно главного прохода. При одностороннем расположении главный проход должен находиться между стеной без окон и рядом аппаратуры.
2.3.12 Оптический кросс должен располагаться рядом с точкой ввода оптического кабеля в помещение. Парные ряды с аппаратурой ВОЛС должны быть обращены лицевыми сторонами друг к другу. При компоновке рядов следует в каждом ряду размещать однотипную аппаратуру с учетом группировки по направлениям.
2.3.13 Размеры эксплуатационных проходов при размещении в отдельном помещении должны учитывать следующее:
а) для нетиповых зданий размеры эксплуатационных проходов определяются исходя из допустимой нагрузки на перекрытие;
б) для организации проходов допускается расположение монтажных сторон стоек лицевыми сторонами друг к другу, если эксплуатационные или монтажные работы по аппаратуре могут осуществляться с лицевой стороны.
2.3.14 Стойки с оборудованием должны быть установлены таким образом, чтобы обеспечить следующую минимальную ширину проходов:
а) между рядами - 1200 мм;
б) между рядом и стеной - 1000 мм;
в) между торцом ряда и стеной - 600 мм.
2.3.15 Оборудование ВОЛС должно получать электропитание от источника постоянного тока с заземленным плюсом и номинальным напряжением минус 48 В при изменении входного напряжения в пределах минус (32 ÷ 72) В.
2.3.16 Источник постоянного тока должен обеспечивать оборудование ВОЛС гарантированным электропитанием без перерыва при коммутации основной и резервной первичной питающей сети.
2.4.1 Подвесной линейный оптический кабель (ОКСН) должен соединяться с аппаратурой связи, размещенной на территории электрических станций или подстанций, путем соединения через муфту специальным оптическим кабелем ввода. Предпочтительной является конструкция оптического кабеля ввода полностью диэлектрическая.
Допускается в качестве кабеля ввода применение основного линейного кабеля ОКСН при условии соблюдения требований, приведенных в пп. 2.4.2 и 2.4.3 настоящих Правил.
2.4.2 Оптический кабель ввода должен соответствовать требованиям, предъявляемым к кабелям, предназначенным для прокладки и эксплуатации в кабельной канализации, коллекторах, трубах, блоках и тоннелях.
2.4.3 При выборе оптического кабеля ввода необходимо дополнительно учитывать следующие основные требования:
а) наружная полимерная оболочка кабеля не должна поддерживать горение. Допускается применение кабеля в полиэтиленовой оболочке при покрытии ее огнезащитным составом в соответствии с п. 2.4.5 настоящих Правил;
б) кабели должны иметь тот же тип оптического волокна, что и линейный кабель;
в) кабели должны устойчиво работать в тех же температурных режимах окружающей среды, что и линейный кабель;
г) кабели должны иметь защиту от грызунов при условии их наличия на территории прокладки;
д) стальная броня кабеля ввода должна быть заземлена в одной точке в оконечном устройстве.
2.4.4 С учетом требования к защите от грызунов в случае применения диэлектрического кабеля, армированного арамидными нитями, необходима прокладка кабеля в специальных защитных полимерных трубах или должна быть предусмотрена иная защита кабеля от повреждения его грызунами или от механических внешних воздействий.
2.4.5 При прокладке кабелей в общих кабельных каналах по территории электростанции или подстанции, на участках их прокладки внутри зданий и в местах возможного возгорания следует учитывать возможность их выгорания вследствие аварийных ситуаций с силовыми или другими кабелями.
Необходимо принять меры к предотвращению таких ситуаций, предусмотреть самостоятельную (отдельную) прокладку ОК ввода по территории электростанции в специальном кабельном канале, трубе из негорючего материала или предусмотреть специальное огнезащитное покрытие. Состав покрытия должен быть разрешен к применению для огнезащиты металлических, деревянных и других конструкций, изделий из пластика и других горючих материалов, вентиляционных коробов, а также кабельной продукции на промышленных объектах, в жилых помещениях.
2.4.6 При прокладке в грунте вдоль ВЛ ОК, соединяющего подвешенный на опорах кабель с объектом, находящимся на определенном расстоянии от оконечной опоры, предпочтительно применять неметаллический ОК, имея в виду возможность возникновения токов наводки при коротком замыкании или при действии грозовых разрядов.
2.4.7 Допускается в качестве кабеля ввода или ответвления использовать кабель типа ОКСН путем его подвески по территории подстанции. В этом случае требования к конструкции кабеля должны соответствовать п. 2.4.3 настоящих Правил (за исключением требования к защите от грызунов). В случае прохождения этого кабеля на отдельных участках по земле или в общих кабельных каналах, или лотках, в зданиях условия прокладки должны соответствовать требованию п. 2.4.5 настоящих Правил, а его оболочка не должна поддерживать горение или должна быть покрыта огнезащитным покрытием на всей длине ввода кабеля в здание и в местах возможного возгорания.
2.4.8 В проекте ВОЛС необходимо предусмотреть конструктивное осуществление заземления различных элементов ВОЛС:
- заземление металлических элементов ОК при его вводе в здание;
- заземление оборудования ВОЛС.
2.4.9 При проектировании стационарных заземляющих устройств следует руководствоваться ГОСТ 464-79 [10].
2.4.10 Прокладка ОК в помещении ввода кабелей до оконечного устройства, как правило, должна осуществляться по горизонтальным и вертикальным лоткам, кабельростам, каналам.
2.4.11 При использовании для прокладки по территории энергетических объектов волоконно-оптических кабелей с металлической броней часть кабеля, вводимая в здание, освобождается от брони на длине 100 - 150 мм. Броня кабеля должна быть соединена с контуром заземления здания.
2.5.1 Вводы ОК в помещения узлов связи энергообъектов для подключения кабелей к аппаратуре связи оконечных и промежуточных пунктов должны осуществляться:
а) для ОК, прокладываемых в траншее, телефонной канализации, кабельных лотках, - через специальные помещения ввода кабелей (шахты), размещаемые, как правило, в подвальном (цокольном) помещении, а в зданиях без подвалов - на первом этаже с устройством приямков в полу помещения. При отсутствии в зданиях скрытых каналов, технических подполий или подвалов кабель следует вводить в здания открытым способом по стенам зданий, как правило, боковым или со стороны двора;
б) для самонесущих ОК возможен заход воздушным путем на крышу или стену здания с прокладкой кабеля открытым способом по стенам зданий, как правило, боковым или со стороны двора.
2.5.2 Разработку проектных решений по вводу кабелей в технические здания предприятий связи следует осуществлять с учетом обеспечения минимальной длины прокладки их внутри помещений, наименьшего количества изгибов, обеспечения допустимых радиусов изгиба кабелей, максимального использования существующего вводно-кабельного оборудования и металлоконструкций.
2.5.3 Для ввода кабелей в проем фундамента или стены здания узлов связи следует закладывать вводный блок из асбестоцементных (бетонных) труб с внутренним диаметром каналов 100 мм и вводные колодцы. Количество и длина труб и необходимость колодцев определяются проектом в зависимости от числа вводимых кабелей с учетом запасных каналов на развитие.
2.5.4 Необходимо обеспечить герметичность ввода оптических кабелей в здания для исключения попадания природного газа, грунтовых вод и осадков.
2.5.5 Оптические кабели внутри помещения служб связи должны соединяться со станционными кабелями с использованием устройств соединения станционного и линейного кабеля или оптических кроссов. Допускается соединение кабелей с помощью соединительных муфт, размещаемых на металлоконструкциях линейно-аппаратных цехов.
2.6.1 Требуемое количество каналов магистральной и распределительной ВОЛС должно быть основано на следующих документах:
а) генеральной схеме развития магистральных ВОЛС-ВЛ;
б) схемах действующих сетей ВОЛС;
в) перспективных ведомственных планах по развитию средств связи;
г) перспективных планах развития средств связи общегражданской сети и корпоративных пользователей;
д) планируемом резерве в числе каналов.
2.6.2 Количество соединительных линий межстанционной связи определяется в соответствии с [26].
3.1.1 Требования настоящей части Правил предусматривают организацию и технологию работ по строительству ВОЛС-ВЛ 0,4 - 35 кВ с применением ОКСН.
3.1.2 При выполнении работ должны выполняться требования ГОСТ, СНиП и НД Минэнерго России и Минсвязи России (ПУЭ, ВСН, ОСТН).
3.1.3 Обеспечение безопасных условий труда, пожаровзрывобезопасность и охрана окружающей среды должны осуществляться в соответствии с требованиями НД, утвержденных в установленном порядке.
3.1.4 Температура окружающей среды, при которой допускается транспортировка, хранение, прокладка, подвеска и монтаж ОК должна соответствовать нормам, приведенным в ГОСТ (ТУ) на данный тип кабеля.
3.1.5 Работы по подвеске и монтажу ОК на ВЛ не должны производиться при гололеде, осадках в виде дождя и снега, грозе и скорости ветра более 10 м/с.
Подвеска и монтаж ОК должны производиться при температуре, значение которой не ниже указанного изготовителем кабеля.
3.1.6 Монтаж ОК должен производиться в соответствии с проектной документацией, представляемой проектной организацией, проектом производства работ и инструкцией по монтажу ОК, которая предоставляется его изготовителем.
3.2.1 Подготовительные работы включают в себя:
а) заключение договора подряда с заказчиком строительства;
б) изучение проектно-сметной документации (ее входной контроль);
в) изучение трассы ВОЛС-ВЛ и условий производства работ в натуре;
г) определение потребности в рабочей силе по профессиям и линейном персонале (прорабах, мастерах);
д) определение потребности в автотранспорте, механизмах, приспособлениях, комплектах инструмента, электроизмерительных приборах;
е) решение вопросов размещения на трассе строительно-монтажных подразделений, их бытовых условий;
ж) материально-техническое обеспечение: получение и складирование волоконно-оптического кабеля, оборудования, арматуры, осуществление входного контроля за их качеством и комплектностью;
з) входной контроль каждой строительной длины ОК на целость световодов и на соответствие коэффициентов затухания данным паспортов строительных длин ОК;
и) составление группировочной ведомости строительных длин ОК с учетом рациональной их подвески, обеспечивающей уменьшение отходов кабеля и технически выгодного расположения муфт;
к) обеспечение строительства горюче-смазочными материалами (ГСМ).
3.2.2 При проведении обследования трассы подвески ОК в натуре (ВЛ 0,4 - 35 кВ) необходимо обратить особое внимание на организацию и технологию устройства кабельных воздушных переходов через водные преграды, железные и автомобильные дороги, пересечение с другими ВЛ энергетики и связи. Необходимо также тщательно проверить состояние опор, обратив особое внимание на места предстоящего крепления на опорах арматуры. Проверить возможность подъезда к опорам; выбрать места для оборудования площадок, на которых предполагается устанавливать раскаточные устройства с кабельными барабанами для раскатки кабеля.
Выявленные при обследовании дефекты и повреждения должны быть устранены до начала подвески ОК.
3.2.3 На основе изучения проектной документации, ознакомления с трассой ВОЛС-ВЛ непосредственно на местности, согласования с заказчиком объекта порядка выполнения строительно-монтажных работ генподрядной организацией должен быть составлен ППР по методике и с оформлением расчетов и документов, приведенных в приложениях 4 и 5 СНиП 3.01.01-85 [16].
В ППР должны быть учтены все проектные технические решения по размещению ОК на ВЛ, монтажные схемы, ведомости и спецификации, являющиеся частью проектной документации.
Если проект предусматривает возможность подвески ОК при неотключенной ВЛ, то перед началом работ персонал эксплуатирующего ВЛ предприятия должен проверить состояние опор, измерить сопротивление заземления опор. Результаты проверок и измерений оформляются актом передачи ВЛ в монтаж строительно-монтажной организации.
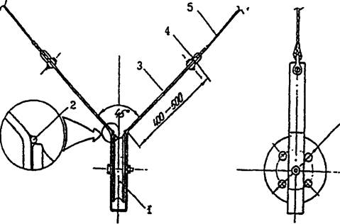
3.2.4 До начала подвески ОКСН в местах пересечения ВЛ с инженерными сооружениями (автомобильными и железными дорогами, другими ВЛ, линиями связи и др.) устанавливаются специальные приспособления, обеспечивающие необходимый габарит и радиус изгиба ОК при монтаже (пример такого приспособления приведен в приложении А).
3.2.5 Раскатка и подвеска ОК должны производиться под тяжением с предварительной протяжкой троса-лидера (каната) по раскаточным роликам в соответствии с инструкцией по его монтажу, разработанной и представленной изготовителем (поставщиком) кабеля, и в соответствии с указаниями ППР.
Для выполнения работ по раскатке и подвеске ОК необходимо установить механизмы по схеме, приведенной на рисунке 3.1.
Рисунок 3.1 - Схема размещения механизмов для выполнения работ по раскатке и подвеске ОК
При этом у начальной или граничной опоры (от которой начинается раскатка ОК) устанавливаются раскаточное устройство (кабельная тележка) с барабаном кабеля и тормозная машина, а у конечной граничной опоры, которая определяется строительной длиной ОК, тяговая лебедка, на барабане которой намотан трос-лидер (из синтетического материала) или стальной нераскручивающийся канат.
Все установленные механизмы должны быть надежно закреплены (заякорены) в грунте и заземлены.
3.2.6 На всех опорах участка ВЛ, где подвешиваются ОК, монтируются узлы крепления кабеля, рядом с узлом крепления подвешиваются раскаточные ролики; места креплений определяются проектом. Ролики должны соответствовать диаметру ОК и иметь шлифованные или обрезиненные желоба и легко вращаться. Допустимые размеры роликов, а также значения углов поворота ВЛ, при которых они должны использоваться, определяются изготовителем конкретной марки кабеля и должны быть указаны в технической документации.
Трос-лидер разматывается с барабана лебедки и на каждой опоре пропускается через желобки (ручьи) каждого ролика.
При заправке в ролики и при обходе препятствий выполняется временная анкеровка троса для предотвращения его опускания и волочения по земле.
3.2.7 Трос-лидер протягивается до тормозной машины, пропускается через нее и соединяется с концом ОК на барабане с помощью монтажного (кабельного) чулка.
Между тросом-лидером и чулком необходимо устанавливать компенсатор кручения ("вертлюг"), предохраняющий ОК от перекручивания.
3.2.8 В процессе раскатки и подвески должен быть обеспечен контроль за тем, чтобы на всех роликах после окончания раскатки и подвески ОК лежал в их желобах (ручьях).
3.2.9 Для контроля за подвеской троса-лидера, а также за последующим протягиванием кабеля бригада рабочих должна быть обеспечена средствами бесперебойной связи - носимыми радиосредствами и биноклями, которыми должны пользоваться бригадир и рабочие-сигнальщики, контролирующие процесс раскатки, подвески троса-лидера и ОК.
3.2.10 Раскатка ОК по участку производится усилием тяговой лебедки наматыванием троса-лидера на ее барабан. При этом узел соединения троса-лидера и ОК при движении его по монтируемому участку должен сопровождать выделенный сигнальщик.
При прохождении узла соединения троса-лидера с ОК по роликам скорость раскатки должна снижаться до минимума.
Тормозной машиной регулируется усилие торможения, чтобы обеспечить постоянное усилие, обеспечивающее стрелу провеса кабеля; стрела провеса при протяжке должна быть больше проектной.
3.2.11 При возникающих неисправностях в ходе раскатки ОК по сигналу "СТОП" раскатка должна немедленно прекратиться и продолжиться только после устранения неисправности.
При перерыве раскатки ОК необходимо исключить большее, чем оно было достигнуто при раскатке, провисание его в пролетах ВЛ.
Раскатка ОК считается законченной, когда ОК прошел через раскаточный ролик на концевой опоре на расстояние, равное высоте подвески ролика плюс 15 - 20 м.
После раскатки на опоре, возле которой расположена тормозная машина, ОК закрепляется с помощью натяжного зажима. Свободные концы ОК на каждой граничной опоре должны быть такой длины, чтобы обеспечивалась возможность сварки оптических волокон на земле.
3.2.12 После окончания раскатки ОК должна быть задана стрела провеса в пролетах, указанная в проекте, ОК должен быть снят с роликов и закреплен арматурой крепления, приведенной в проекте. Стрела провеса кабеля не должна превышать более чем на 5 % в большую или меньшую сторону ее проектное значение (с учетом температуры воздуха).
Если работы по монтажу ОК не могут быть завершены в течение дня, ОК должен быть закреплен нейлоновым канатом для ограничения его движения на роликах.
3.2.13 Перекладка ОК из роликов в арматуру должна производиться не позднее 48 ч после его раскатки с одновременной установкой гасителей вибрации, если они предусмотрены проектом.
3.2.14 Примеры крепления ОК в арматуре в зависимости от типа опор и конструкции арматуры приведены в приложении В.
3.2.15 При подвеске ОК необходимо соблюдать допустимые значения монтажных тяжений и изгибов, установленные для конкретной марки ОК.
3.2.16 Раскатка и подвеска ОК должны производиться комплексной бригадой под руководством опытного производителя работ (мастера).
Примерный состав комплексной бригады приведен в приложении Г.
3.2.17 Работы по подвеске и монтажу кабеля должны быть максимально механизированы.
Примерный перечень машин, механизмов и монтажных приспособлений, применяемых для подвески ОК на ВЛ, приведен в приложении Д.
При раскатке и подвеске ОК должны использоваться инструкции и руководства по применению конкретных машин, механизмов и приспособлений.
3.2.18 Спуски ОК с опор ВЛ выполняются с целью обеспечения производства сварки оптических волокон и оптических измерений кабеля без подъема сварочной и измерительной техники, а также персонала, выполняющего эти работы, на опоры.
Спуски выполняются тем же кабелем, который монтируется на ВЛ.
Длина кабеля в спусках должна обеспечивать возможность снятия соединительной муфты с опоры и выполнения сварочных и измерительных работ на земле в передвижной лаборатории в непосредственной близости к опоре, а также возможность перемонтажа кабеля в муфте во время эксплуатации.
Кабель спуска должен быть надежно закреплен к телу опоры с помощью специальных конструкций с зажимами.
Конструкция зажимов должна исключить повреждения кабеля при креплении.
Расстояние между зажимами определяется инструкцией по монтажу кабеля и должно исключать возможность раскачивания участков кабеля между зажимами. При отсутствии указаний в инструкции поставщика кабеля это расстояние не должно превышать 2 м.
Свободная длина кабеля спуска после монтажа соединительной муфты и ее закрепления на опоре должна быть также закреплена на опоре с соблюдением требований, указанных выше.
3.2.19 Для закрепления свободной длины кабеля могут использоваться специальные конструкции, на которые наматывается излишняя часть кабеля и которые, в свою очередь, прикрепляются к опоре. При этом намотанный на такую конструкцию кабель должен быть надежно закреплен на ней.
Свободная длина кабеля спусков может быть также прикреплена непосредственно к опоре с образованием необходимого числа петель. При этом размеры петель должны быть таковы, чтобы исключались недопустимые изгибы кабеля (радиус изгиба кабеля не менее 20 его диаметров).
3.2.20 Высота расположения муфт на опоре должна затруднить несанкционированный доступ к муфте и при расположении муфт на опорах ВЛ вне территории электросетевых или энергетических объектов должна быть не менее 5,0 м от земли.
При установке муфт на опорах, расположенных на территории электросетевых или энергетических объектов, а также на порталах подстанций, высота расположения муфты может выбираться исходя из удобства ее обслуживания и возможности выполнения измерительных работ без снятия муфты. Однако при этом должно быть исключено затопление муфты паводковыми водами и засыпание ее снегом, если использована такая же конструкция муфты, как и на всей ВЛ.
При использовании в качестве концевых муфт, предназначенных для установки на подземных кабелях, правила их установки определяются соответствующими инструкциями поставщика.
3.2.21 Монтаж муфт должен производиться в строгом соответствии с инструкцией по монтажу конкретного типа муфты, разработанной и предоставленной изготовителем (поставщиком) муфт.
3.2.22 Соединительные муфты должны устанавливаться, как правило, на анкерных опорах. При невозможности выполнения указанного условия муфта может быть установлена на промежуточной опоре с креплением ее и ОК к опоре с предварительным укреплением опоры временной оттяжкой.
3.2.23 Для монтажа муфты концы кабеля подаются в монтажно-измерительную машину.
3.2.24 Монтажно-измерительная машина должна быть закрытого типа и оборудована монтажным столом с приспособлениями для закрепления концов монтируемых кабелей, приборами и монтажным инструментом. Для сидения монтажников должны быть предусмотрены стулья, имеющие вращающиеся сидения с возможностью регулировки по высоте.
3.2.25 Освещение в кузове машины должно быть естественным через ее окна и искусственным - от ламп (плафонов), освещающих монтажный стол.
Электропитание может осуществляться от бортовой сети напряжением 12 В или от внешней сети через понижающий трансформатор 220/12 В.
При отсутствии внешней сети рекомендуется использовать портативную электростанцию с двигателем внутреннего сгорания, например, АБ-1 мощностью 1 кВт.
Для подключения к источнику электропитания в комплекте монтажно-измерительной машины должен быть комплект кабелей с соответствующими оконечными устройствами.
3.2.26 Соединительные муфты могут применяться как отечественные, так и импортного производства, рекомендованные изготовителем кабеля (указанные в ТУ на кабель или в сопроводительной документации). Монтаж муфт должен производиться в соответствии с указаниями, изложенными в прилагаемой к каждой из них инструкции.
Монтаж отечественных муфт рекомендуется производить в соответствии с организацией и технологией монтажа ОК, приведенными в руководстве по строительству линейных сооружений местных сетей связи Минсвязи России.
Отдельные типы отечественных муфт и аксессуаров для подвесных самонесущих ОК в качестве примера приведены в приложении Ж.
3.2.27 Соединение световодов при монтаже муфт предпочтительно производить способом сварки специальным устройством под контролем затухания рефлектометром обратного рассеивания.
Значение затухания сварного стыка дважды в направлении А-Б, Б-А устанавливается в каждом отдельном случае в зависимости от километрического затухания кабеля, но не должно превышать 0,1 дБ.
Перечень оборудования для монтажа муфт оптического кабеля приведен в приложении Е.
3.2.28 Каждая муфта после окончания монтажа должна быть замаркирована кольцом из листового свинца или пластмассовой биркой. На маркировке должны быть нанесены несмываемой краской следующие данные: номер муфты, марка ОК, наименование организации - владельца кабеля и объектов, между которыми проложен ОК.
3.2.29 На каждую смонтированную муфту должен быть составлен паспорт в двух экземплярах.
Содержание паспорта приведено в приложении Б (форма Б1).
Один экземпляр укладывается в муфту, второй прилагается к исполнительной документации.
3.2.30 Законченная монтажом муфта поднимается на опору и надежно закрепляется крепежными деталями, изготовленными для конкретного типа опоры.
3.2.31 На территории объектов муфта закрепляется в месте, удобном для ее обслуживания (производства измерений при повреждениях на ВОЛС, ремонта, перемонтажа).
3.2.32 Если предусмотрено проектом, пластмассовая муфта помещается в специально изготовленный шкаф.
3.2.33 Если объекты связи или энергетики находятся на определенном расстоянии от конечной опоры ВЛ, на которой подвешен ОК, то при проектировании должен быть решен вопрос о способе прокладки ОК до них. В зависимости от характера трассы дальнейшей прокладки ОК определяется способ прокладки: в кабельных блоках (кабельной канализации) или в грунте, или по конструкциям подстанции.
На выбор способа прокладки, определяемого проектом, влияют следующие условия: наличие действующей кабельной канализации или ее отсутствие, характер трассы при прокладке ОК в грунте. При этом должна быть проанализирована стоимость строительства кабельной канализации (при ее отсутствии), стоимость и возможность прокладки ОК в грунте, возможность применения механизированной прокладки, количество и характер кабельных переходов через подземные коммуникации, инженерные сооружения, водные преграды и т.д.
3.2.34 Прокладка ОК в кабельной канализации производится с предварительной подготовкой каналов: протягиванием в канале заготовки (проволоки), с помощью которой в канал втягивается трос, конец которого оснащается компенсатором кручения и проволочным кабельным "чулком" для подсоединения и протягивания в канале ОК.
3.2.35 В том случае, когда в кабельной канализации не имеется выделенного канала для прокладки оптических кабелей, в канале, занятом другими, в том числе кабелями связи с металлическими жилами, рекомендуется прокладывать бронированный ОК с идентичными оптическими характеристиками подвешенного на ВЛ ОК.
В случае прокладки в кабельном блоке, где проложены силовые кабели напряжением до 220 кВ, ОК должны прокладываться в разных каналах.
При прокладке ОК в грунте параллельно с проложенным силовым кабелем напряжением до 220 кВ расстояние между ними должно быть не менее 0,6 м.
При пересечении указанных кабелей расстояние между ними должно быть по вертикали не менее 0,5 м.
При сближении ОК с силовыми кабелями напряжением до 10 кВ допускается расстояние между ними 0,25 м при условии защиты кабелей (прокладка в трубах, установка несгораемых перегородок).
3.2.36 При прокладке в кабельной канализации бронированного ОК его броня должна быть надежно заземлена.
3.2.37 В зависимости от проектного решения кабель в грунте может быть проложен в отрытую траншею и механизированным способом - кабелеукладчиком.
Глубина заложения ОК в грунт - не менее 1,2 м.
3.2.38 Пластмассовые муфты, смонтированные в грунте, должны быть защищены стальными кожухами, которые следует заземлить.
3.2.39 Перед прокладкой ОК в грунте или при строительстве кабельной канализации на трассе должны быть тщательно обследованы все пересечения с подземными сооружениями и коммуникациями в присутствии их владельцев. Для исключения возможности повреждений на пересечениях должны быть отрыты шурфы и приняты меры к защите пересекаемых сооружений.
3.2.40 В помещениях объектов связи и энергетики должен прокладываться ОК в оболочке, не поддерживающей горение (например, ОК в поливинилхлоридной оболочке или в поливинилхлоридной трубе).
3.2.41 При прокладке ОК в помещениях, а также в коллекторах, лотках, кабельных каналах, необходимо исключить возможность повреждения кабеля грызунами.
3.2.42 При применении всех способов прокладки необходимо строго соблюдать минимально допустимые радиусы изгиба кабеля, указанные в документах на прокладываемый кабель. В случае отсутствия этих данных минимально допустимый радиус изгиба ОК должен приниматься равным 20 диаметрам кабеля.
3.2.43 По согласованию с эксплуатационной организацией прокладку ОК в помещениях желательно производить по трассам прокладки действующих кабелей: на стенах по существующим крепежным деталям, в подпольных и напольных каналах, по воздушным желобам (кабельростам) и т.д.
3.3.1 Качество выполненных строительно-монтажных работ определяется соответствием их рабочему проекту, требованиям технических условий, СНиП и других НД.
3.3.2 На качество строительно-монтажных работ непосредственно влияет квалификация и профессиональный опыт работников, своевременное и бесперебойное обеспечение их инструментами, электроизмерительными приборами, средствами механизации.
3.3.3 Контроль качества строительно-монтажных работ должен осуществляться на всех стадиях их выполнения и подразделяется на следующие формы: входной, операционный, приемочный и инспекционный.
3.3.4 При входном контроле проверяется соответствие поступающих на строительство проектно-сметной документации, кабелей, арматуры, конструкций, монтажных узлов и материалов соответствующим НД.
3.3.5 Для размещения поступающих на строительство барабанов с кабелем, арматуры, материалов должны быть подготовлены складские помещения и кабельные площадки. При этом следует учитывать необходимость беспрепятственного проезда к ним.
В зависимости от длины трассы подвески ОК на ВЛ может быть оборудовано несколько кабельных площадок.
Размеры площадок определяются в зависимости от количества подлежащих складированию барабанов с кабелем.
3.3.6 Барабаны с кабелем размещаются таким образом, чтобы имелась возможность производить внешний осмотр и необходимые измерения и испытания строительных длин ОК. Внутренние концы кабеля, выведенные сквозь щеки установленных рядом барабанов, должны быть обращены в сторону прохода.
Площадки и складские помещения оборудуются противопожарными средствами: огнетушителями, мешками с песком, бочками с водой и т.д.
Выгрузка и погрузка на автотранспорт кабельных барабанов должна производиться подъемными кранами. В исключительных случаях могут быть использованы аппарели.
Свободное скатывание и сбрасывание барабанов с ОК не разрешается.
3.3.7 Все прибывшие барабаны с ОК должны быть подвергнуты входному контролю, зарегистрированы в ведомости с указанием наименования, марки, заводского номера, даты поступления, номера транспортного документа (накладной, акта), подвергнуты внешнему осмотру и измерению затухания.
3.3.8 Внешним осмотром проверяется целостность барабана, выведенных концов ОК. При этом необходимо вскрыть обшивку барабана и изъять закрепленный на внутренней стороне щеки паспорт.
3.3.9 Если при внешнем осмотре будут обнаружены незначительные повреждения барабана, следует устранить их на месте.
Если после ремонта состояние барабана не позволяет вести нормальную раскатку ОК, с согласия заказчика кабель должен быть перемотан на исправный барабан.
3.3.10 Каждая строительная длина ОК подвергается измерению коэффициента затухания, данные измерения сравниваются со значениями, указанными в паспорте.
Если измеренные значения коэффициента затухания не соответствуют нормам, ОК не должен использоваться для подвески.
3.3.11 Результаты внешнего осмотра и измерений коэффициентов затухания строительных длин ОК должны фиксироваться в протоколе (форма Б.2 приложения Б).
3.3.12 Составляется ведомость группирования строительных длин ОК, исходя из размеров строительных длин и длины пролетов ВЛ (форма Б.3 приложения Б).
Ведомость группирования строительных длин должна быть составлена с таким расчетом, чтобы по возможности муфты были распределены по анкерным опорам и при подвеске было бы минимальное количество отходов кабеля.
3.3.13 Операционный контроль осуществляется постоянно во время выполнения строительно-монтажных работ бригадиром, мастером, прорабом (выборочно) и направлен на соблюдение технологии выполнения работ, обеспечение соответствия их рабочим чертежам и НД.
Технологические операции, выполненные с отклонением от норм, немедленно должны быть переделаны.
3.3.14 Все работы, контроль которых после их выполнения затруднен или невозможен, являются скрытыми работами. Их выполнение должно быть оформлено актами на скрытые работы. Такими работами являются, например, прокладка кабеля в грунте, строительство кабельной канализации (после засыпки кабеля, проложенных каналов и установленных колодцев грунтом), подвеска кабелей на опорах ВЛ, монтаж муфт и т.д.
Освидетельствование выполненных скрытых работ должно осуществляться исполнителями работ в присутствии представителя заказчика (эксплуатационной организации). Рекомендуется также привлекать на освидетельствование скрытых работ представителя проектной организации (авторский надзор).
3.3.15 Приемочный контроль производится приемочными комиссиями при сдаче построенного объекта или по решению заказчика отдельных сооружений объекта, которые могут быть введены в эксплуатацию. Обязанности и права приемочных комиссий приведены в главе 3.4 настоящих Правил.
3.3.16 Инспекционный контроль качества работ производится руководством строительно-монтажной организации периодически с целью проверки качества уже выполненных работ. При этом должны проверяться акты на скрытые работы, журнал работ и другие отчетные документы. При необходимости по требованию проверяющих могут быть вскрыты и освидетельствованы любые элементы работ.
3.3.17 Контроль качества монтажа муфт ОК должен производиться в ходе монтажа каждой муфты.
Измерение потерь в сварном соединении производится с помощью оптического рефлектометра методом обратного рассеивания по ГОСТ Р МЭК 793-1-93 [13]. По мере наращивания строительных длин производятся контрольные измерения затухания смонтированного участка с целью выявления возможных повреждений ОВ. Измерения рекомендуется производить в двух направлениях.
3.4.1 Приемка в эксплуатацию ВОАС-ВА осуществляется в соответствии с требованиями СНиП 3.01.04-87 [17], "Временных положений по приемке законченных строительством объектов", направленных Госстроем России Письмом от 09.07.93 № БЕ-19-11/13 [49] и "Временных правил приемки в эксплуатацию законченных строительством объектов связи общего пользования в Российской Федерации" (приложение к Приказу Минсвязи России от 19.12.95 № 146).
3.4.2 В соответствии с требованиями СНиП 3.01.04-87 [17] подготовленные к эксплуатации объекты, законченные строительством в соответствии с проектом, заказчик должен предъявлять к приемке Государственной приемочной комиссии.
Примечание - В некоторых документах по приемке в эксплуатацию, вышедших после издания СНиП 3.01.04-87 [17], термин "Государственная приемочная комиссия" заменен термином "Приемочная комиссия".
3.4.3 До предъявления Государственной приемочной комиссии объект должна освидетельствовать рабочая комиссия, назначенная заказчиком.
Рабочая комиссия должна проверить соответствие объекта и смонтированного на нем оборудования проекту, а также выполненных строительно-монтажных работ требованиям НД, результаты измерений, испытаний ВОЛС-ВЛ, выполнение условий охраны труда и техники безопасности и только после этого предъявить объект Государственной приемочной комиссии.
3.4.4 Рабочая комиссия назначается приказом по организации заказчика по согласованию с генеральным подрядчиком в пятидневный срок после получения от него извещения о готовности ВОЛС-ВЛ к сдаче в эксплуатацию.
В приказе указывается состав комиссии, порядок и сроки ее работы.
3.4.5 В состав рабочей комиссии включаются представители заказчика (председатель комиссии), генерального подрядчика, субподрядчика, эксплуатационной организации, государственных органов надзора, проектной организации.
3.4.6 Генеральный подрядчик обязан представить рабочей комиссии исполнительную документацию. Исполнительная документация представляется в одном экземпляре, в ее состав входят:
а) паспорт ВОЛС-ВЛ (формы И.1, И.2);
б) рабочие чертежи, откорректированные в соответствии с фактически выполненными работами;
в) протоколы измерений затухания при входном контроле (форма Б.2 приложения Б), монтаже муфт, регенерационных участков и всей ВОЛС-ВЛ (форма И.3);
г) ведомости группирования строительных длин (форма Б.3 приложения Б);
д) заводские паспорта на строительные длины ОК;
е) лицензии подрядных организаций на производство строительно-монтажных работ;
ж) паспорта и сертификаты соответствия на кабели и установленное кроссовое оборудование.
3.4.7 В обязанности рабочей комиссии входит:
а) проверка исполнительной документации на комплектность, содержание и качество исполнения;
б) проверка выполненных строительно-монтажных работ проектно-сметной документации и согласованным отступлениям от проекта;
в) освидетельствование выполненных работ, проверка их качества, проведение выборочных испытаний и измерений, проверка актов на скрытые работы, журналов работ;
г) проверка готовности ВОЛС-ВЛ к эксплуатации;
д) приемка ВОЛС-ВЛ от генерального подрядчика с составлением акта о готовности ее для предъявления Государственной приемочной комиссии.
3.4.8 При освидетельствовании выполненных работ и проверке их качества рабочая комиссия должна произвести сплошной визуальный контроль подвешенного на ВЛ ОК, проверив его внешнее состояние, соответствие стрел провеса проектным данным, качество закрепления арматуры и крепления к ней ОК (проводятся выборочные проверки), правильность и качество установки соединительных муфт, спуски ОК при переходе его на трассы прокладки в кабельную канализацию, в грунт или ввод ОК в помещение, на оконечное устройство.
3.4.9 Для сокращения срока приемки ВОЛС-ВЛ в эксплуатацию по договоренности с заказчиком генподрядная организация может предъявлять рабочей комиссии законченные строительством регенерационные участки линии до окончания работ по всей ВОЛС-ВЛ.
3.4.10 После подписания Акта рабочей комиссии (форма И.4 приложения И) заказчик строительства (назначенная эксплуатационная организация) несет ответственность за сохранность всех сооружений, включенных в Акт рабочей комиссии.
3.4.11 Государственная приемочная комиссия назначается органами, утверждавшими проект строительства ВОЛС-ВЛ и сметно-финансовый расчет, не позднее чем за три месяца до установленного срока ввода ВОЛС-ВЛ в эксплуатацию.
Председателем Государственной приемочной комиссии назначается один из руководящих работников органа, назначившего эту комиссию.
В состав Государственной приемочной комиссии включаются представители: генерального подрядчика и субподрядчиков, эксплуатационной организации, генерального проектировщика, государственного надзора, технической инспекции труда и других заинтересованных организаций.
3.4.12 Заказчик представляет Государственной приемочной комиссии всю документацию, оформленную рабочей комиссией, в том числе:
а) Акт рабочей комиссии о готовности законченной строительством ВОЛС-ВЛ для предъявления Государственной приемочной комиссии (форма И.4 приложения И);
б) утвержденную проектно-сметную документацию;
в) справку об устранении недоделок, выявленных рабочей комиссией;
г) справку заказчика или назначенной эксплуатационной организации о подготовленности ВОЛС-ВЛ к нормальной эксплуатации;
д) справку о фактической стоимости строительства, подписанную заказчиком и генеральным подрядчиком.
3.4.13 В обязанности Государственной приемочной комиссии входят:
а) проверка готовности ВОЛС-ВЛ к приемке в эксплуатацию (в том числе проверка устранения недоделок, выявленных рабочей комиссией);
б) проверка содержания Акта рабочей комиссии;
в) проверка представленных заказчиком справок и фактической стоимости строительства ВОЛС-ВЛ в соответствии с данными утвержденной проектно-сметной документации;
г) выборочная проверка качества работ на ВОЛС-ВЛ в целом;
д) составление Акта приемки в эксплуатацию ВОЛС-ВЛ (форма И.5 приложения И).
3.4.14 Акт о приемке ВОЛС-ВЛ в эксплуатацию составляется в пяти экземплярах, два из которых вместе с проектом решения направляются в органы, назначившие Государственную приемочную комиссию, два - передаются заказчику и один - генеральному подрядчику.
3.4.15 Приемка ВОЛС-ВЛ Государственной приемочной комиссией должна быть закончена в срок, установленный органом, назначившим комиссию.
3.4.16 Дополнительные работы, не предусмотренные проектом, не могут задержать приемку законченных строительством сооружений в эксплуатацию.
3.4.17 Эксплуатация сооружений, не принятых в эксплуатацию Государственной приемочной комиссией, не допускается.
3.4.18 Акт приемки в эксплуатацию ВОЛС-ВЛ рассматривается и утверждается органом, назначившим Государственную приемочную комиссию, в месячный срок после его подписания.
3.4.19 Датой ввода объекта в эксплуатацию считается дата подписания Акта Государственной приемочной комиссией.
3.4.20 Государственная приемочная комиссия при выяснении непригодности объекта к эксплуатации представляет мотивированное заключение об этом в органы, назначившие Государственную приемочную комиссию, а копии направляет заказчику и генеральному подрядчику.
3.4.21 Полномочия Государственной приемочной комиссии прекращаются с момента утверждения Акта приемки в эксплуатацию ВОЛС-ВЛ.
3.5.1 Действие настоящих Правил распространяется на персонал, выполняющий и организующий работы на строящихся и действующих ВЛ, в том числе на отключенных ВЛ, находящихся в зоне влияния других линий.
3.5.2 Настоящие Правила регламентируют требования безопасности, связанные со спецификой монтажа и эксплуатации ОК на ВЛ.
3.5.3 При монтаже ОК на ВЛ персоналу электросетевых строительно-монтажных организаций (СМО) и следует соблюдать правила безопасности при строительстве линий электропередачи и производстве электромонтажных работ.
3.5.4 При эксплуатации ОКСН на ВЛ персоналу электросетевых предприятий следует соблюдать РД 153-34.0-03.150-00 [36].
3.5.5 Порядок организации и проведения работ на высоте, верхолазных работ в целях обеспечения безопасности эксплуатационного персонала ВЛ и персонала СМО, выполняющего эти работы, изложен в ПОТ Р М-012-2000 [63].
3.5.6 К монтажу и эксплуатации ОКСН допускается персонал, прошедший курс обучения технологическим правилам и приемам работ. Операторы тяговых и тормозных машин, принимающие участие в работах на ОК, должны иметь допуск на производство работ.
3.5.7 Монтаж ОКСН на ВЛ должен производиться по ППР, а обслуживание ОК в эксплуатации - по технологическим картам.
3.5.8 Средства защиты, используемые для производства работ на ВЛ, должны удовлетворять требованиям РД 34.03.603 [43].
3.5.9 Механизмы, приспособления и инструменты, используемые при работах на ВЛ с ОКСН, должны быть исправны и применяться в соответствии с правилами Госгортехнадзора, правилами безопасности при работе с инструментами и приспособлениями и инструкциями по эксплуатации этих механизмов и приспособлений.
3.5.10 О замеченных неисправностях оборудования, приспособлений и инструмента, представляющих опасность для самих работающих и окружающих, необходимо сообщить непосредственному (или вышестоящему) руководителю и без его разрешения к работе не приступать.
3.5.11 При производстве работ на ВЛ по монтажу и обслуживанию ОКСН между производителем работ и членами бригады должна быть обеспечена устойчивая радиосвязь.
3.5.12 Выбирать схему подъема монтажных приспособлений, грузов и размещать блоки на опоре следует с таким расчетом, чтобы не возникли усилия, которые могут вызвать деформацию опоры и ее элементов.
До начала работы на основании инструкции по применению раскаточных машин с учетом конкретных условий должен проводиться инструктаж персонала по работе с данным типом машин, условиям их закрепления (якорения) и заземления.
3.5.13 Основные работы по монтажу ВОЛС-ВЛ на действующих ВЛ производятся, как правило, с отключением линий, для чего необходимо провести согласование с организацией, эксплуатирующей ВЛ, на которой будут осуществляться работы, а также с организациями - владельцами пересекаемых линий и оформить наряд-допуск в установленном порядке.
3.5.14 В целях сокращения продолжительности перерывов в электроснабжении работы должны быть организованы таким образом, чтобы максимальное число подготовительных и вспомогательных операций производилось до отключения или после включения линий. Только на время выполнения работ, связанных с прикосновением и опасным приближением к токоведущим частям, напряжение снимается.
3.5.15 Монтаж ОК без отключения ВЛ (под напряжением) осуществляется на ВЛ 35 кВ, когда могут быть обеспечены достаточные воздушные промежутки на опорах, позволяющие выполнять безопасный подъем на высоту и работу на опоре.
Меры безопасности должны быть отражены в ППР.
3.5.16 Для защиты от воздействия опасных и вредных факторов необходимо соблюдать меры, обеспечивающие безопасность персонала (ограничения расстояний сближения, допустимой температуры наружного воздуха, скорости ветра и т.д., применение средств защиты и спецодежды).
При недостаточной освещенности рабочей зоны следует применять дополнительное местное освещение.
3.5.17 Опускание с опор на землю соединительных муфт по требованию связистов допускается производить без отключения линии электропередачи. Эта технологическая операция должна быть предусмотрена в местной инструкции по эксплуатации ВЛ с волоконно-оптическим кабелем и выполняться по разработанной технологической карте персоналом, обслуживающим эту линию.
3.5.18 До начала работ по протяжке ОКСН устанавливаются защиты над пересекаемыми дорогами, движение по ним запрещается, на дорогах должны выставляться дежурные с флажками на расстоянии 100 м от места проведения работ.
3.5.19 При установке раскаточных машин в рабочее положение они должны быть закреплены во избежание смещения и заземлены.
3.5.20 При раскатке ОКСН операции по смене барабанов с канатом-лидером на натяжной машине должны выполняться только после временного закрепления (анкеровки) ОКСН.
3.5.21 При работе с кабелем во время монтажа соединительных муфт необходимо избегать прикосновений оптических волокон к незащищенному телу, чтобы предотвратить попадание стеклянных частиц волокон на кожу и в организм.
3.5.22 При осуществлении строительства ВОЛС-ВЛ на линиях электропередачи, проходящих на участках сложившейся городской застройки, должны быть выделены опасные зоны, границы подземных и наземных сооружений и коммуникаций. Пути движения монтажных механизмов и места складирования материалов назначаются с учетом местных условий с обеспечением схем безопасного движения транспорта и пешеходов.
3.5.23 В ППР (технологических картах) должны быть указаны организационные и технические мероприятия по обеспечению безопасности при работе вблизи действующих ВЛ (обозначены места наложения защитных заземлений, указаны средства защиты работающих от поражения электрическим током и т.п.).
3.5.24 Организационные мероприятия, обеспечивающие безопасность работ, и лица, ответственные за безопасное ведение работ на ВОЛС-ВЛ 0,4 - 35 кВ, устанавливаются в соответствии с РД 153-34.0-03.150-00 [36].
3.5.25 Наряд-допуск составляется руководителем работ на основании письменного разрешения организации, эксплуатирующей ВЛ. При наличии нескольких ВЛ, принадлежащих разным владельцам, необходимо получить разрешение каждого из них.
Допуск к работе по нарядам производится непосредственно на рабочем месте. Он выполняется после подготовки рабочих мест и проверки осуществления предусмотренных технических мероприятий, в первую очередь наложения заземлений. Проверка производится ответственным лицом путем личного осмотра.
Перед допуском по именным удостоверениям проверяется соответствие состава бригады указанному в наряде; проводится инструктаж, включая ознакомление бригады с содержанием наряда, указание границ рабочего места и показ частей, к которым не допускается приближаться независимо от того, находятся они под напряжением или нет; показываются бригаде установленные заземления или проверяется отсутствие напряжения.
При допуске производится также инструктаж о мерах по безопасному ведению работ, включая их технологию, использование приспособлений, инструмента, механизмов и раскаточных машин, их заземлению и закреплению.
3.5.26 Заземление ВЛ после ее отключения производится персоналом эксплуатирующей организации во всех РУ и у секционирующих коммутационных аппаратов, где отключена линия.
При заземлении проводов отключенной ВЛ на месте производства работ, т.е. на монтируемом участке, наложение и снятие заземления с проводов должно выполняться с помощью переносных заземлений.
Проверки исправности заземляющих устройств должны осуществляться в соответствии с действующими НД.
3.5.27 Заземлению при производстве строительно-монтажных работ подлежат все металлические конструкции, элементы ВЛ, механизмы, оборудование и оснастка, находящиеся в зоне влияния и изолированные от земли. Прикасаться к отключенным, но не заземленным токоведущим частям без средств защиты не допускается.
Машины и механизмы на пневмоколесном ходу, находящиеся в зоне влияния электрического поля, должны быть заземлены. При их передвижении в пределах охранной зоны линии, находящейся под напряжением, для снятия наведенного потенциала следует применять металлическую цепь, присоединенную к шасси или кузову и касающуюся земли. При работе грузоподъемных машин (в стационарном положении) они должны быть дополнительно заземлены переносным заземлением, соединенным с инвентарным заземлителем.
3.5.28 Выбор необходимых средств защиты регламентируется соответствующими нормами и правилами, а также определяется местными условиями на основании требований этих документов.
3.5.29 Производство работ по монтажу ОКСН в пролетах пересечений с действующими линиями без отключения последней допускается только в том случае, если линия, на которой производятся работы, проходит под проводами линии, находящейся под напряжением.
При прохождении линии над действующей ВЛ или контактной сетью последние должны быть отключены и заземлены.
При этом должны быть установлены страховочные канаты с двух сторон от пересекаемой ВЛ, не позволяющие приблизиться ОК к проводам пересекаемой ВЛ на расстояние менее допустимого. При переходе над действующей ВЛ 0,4 - 10 кВ должны быть установлены защитные ролики-ловушки по две с обеих сторон от пересекаемой ВЛ, не позволяющие ОК в случае обрыва приблизиться к проводам действующей ВЛ.
3.5.30 На ВЛ, где ведутся работы, заземления необходимо установить на опоре, на которой ведется работа, а провода должны быть заземлены с обеих сторон от места пересечения.
3.5.31 Допуск ответственного исполнителя каждой бригады строительно-монтажной организации к работам в пролете пересечения с действующими ВЛ осуществляется допускающими из персонала эксплуатационного предприятия.
Эксплуатационное предприятие отвечает за предотвращение подачи рабочего напряжения на пересекаемые ВЛ, над которыми ведутся монтажные работы.
3.5.32 При работе в зоне влияния необходимо соблюдать допустимые расстояния до элементов ВЛ, находящихся под напряжением.
3.5.33 Машины и механизмы на пневмоколесном ходу, находящиеся в зоне влияния электрического поля, должны быть заземлены.
3.5.34 При работе с опор на ОКСН, подвешенном на двухцепной ВЛ, одна из цепей которой находится под напряжением, заземление необходимо устанавливать на каждой опоре, где ведутся работы.
3.5.35 При работе с опоры на двухцепной ВЛ при отключенной одной цепи на стойке опоры должен вывешиваться красный флажок со стороны цепи, находящейся под напряжением, на высоте 2 - 3 м от земли.
3.5.36 Подниматься на опору со стороны цепи, находящейся под напряжением, а также переходить на участки траверс, поддерживающих эту цепь, не допускается.
3.5.37 При выполнении ремонтных работ необходимо соблюдать меры безопасности, которые должны быть отражены в ППР (технологической карте, инструкции по эксплуатации ОКСН).
4.1 Эксплуатация ОК, подвешенного на опорах ВА, заключается в проведении технического обслуживания и ремонта, направленных на обеспечение его надежной работы.
4.2 Техническое обслуживание ОК и его ремонт, связанный с подъемом на опору, спуском и подъемом кабеля, закреплением соединительных муфт на опорах ВЛ, производится персоналом, обслуживающим ВЛ.
Техническое обслуживание ОК без подъема на опору, соединение оптических волокон и монтаж муфт, производящиеся без подъема на опору, осуществляются связистами, обслуживающими эту линию связи.
Работы по вырезке поврежденного кабеля и монтажу вставки должны производиться совместно персоналом, эксплуатирующим ВЛ (линейным персоналом), и персоналом, эксплуатирующим линию связи (ОК).
4.3 Техническое обслуживание состоит из комплекса мероприятий, направленных на предохранение кабеля от преждевременного износа.
При техническом обслуживании ОК должны выполняться осмотры, профилактические проверки (таблица 4.1).
Таблица 4.1 - Перечень работ, выполняемых при техническом обслуживании ОК
|
Вид работы |
Сроки проведения |
Условия и характер работ |
|
1 Осмотр |
|
|
|
1.1 Периодический осмотр в дневное время без подъема на опору |
Не реже 1 раза в 6 мес. |
По графику, утвержденному техническим руководителем ПЭС |
|
1.2 Верховой осмотр с выборочной проверкой состояния кабеля в зажимах |
В первый год 1 раз в 3 мес., далее не реже 1 раза в год |
При обнаружении повреждения кабеля от вибрации производится сплошная проверка с выемкой кабеля из зажимов |
|
1.3 Выборочный осмотр, выполняемый инженерно- техническими работниками электросетей |
Не реже 1 раза в год |
|
|
1.4 Внеочередной осмотр в условиях, которые могут привести к повреждению троса |
После образования гололеда на проводах BЛ и ОК |
По решению технического руководителя ПЭС, начальника службы линий |
|
2 Проверка состояния ОК и соединительных муфт |
Не реже 1 раза в 6 мес. и при аварийных ситуациях |
Измеряются значения затухания оптического сигнала и других параметров ОК. В аварийной ситуации определяется место повреждения ОК |
|
3 Проверка расстояний от кабеля до провода, стрелы провеса ОК |
По мере необходимости |
После проведения ремонтных работ на ОК, после образования гололеда на проводах ВЛ и ОК |
|
4 Наблюдение за образованием гололеда |
При атмосферных условиях, способствующих образованию гололеда |
Определяется толщина стенки гололеда, изменение стрел провеса, наличие пляски ОК |
4.4 При ремонте ОК должен быть выполнен комплекс мероприятий по поддержанию или восстановлению первоначальных эксплуатационных показателей и параметров. При ремонте кабеля поврежденные участки либо ремонтируются, либо вырезаются и заменяются новыми.
Повреждения аварийного характера должны устраняться в кратчайшие сроки.
4.5 Техническое обслуживание и плановый ремонт ОК необходимо совмещать с техническим обслуживанием и ремонтом ВЛ.
4.6 Техническое обслуживание и ремонт ОК в зависимости от вида работ, наличия соответствующих приспособлений, подготовки персонала и других условий могут выполняться со снятием и без снятия напряжения с токоведущих частей ВЛ.
4.7 Объем работ по техническому обслуживанию и ремонту ОК определяются на основании результатов осмотров, проверок и измерений.
4.8 Все виды работ по ремонту ОК производятся в соответствии с технологическими картами.
4.9 Неисправное состояние ОК и соединительных муфт выявляется при визуальном осмотре и путем измерений.
Визуально могут быть выявлены обрывы ОК, механические и электрические повреждения полиэтиленовой оболочки кабеля (изменение цвета, шелушение, образование каверн, местные разрушения оболочки, главным образом в местах выхода кабеля из натяжных зажимов). Кроме того, визуально определяются повреждения соединительных муфт и неисправности подвески ОК, например:
- нарушение заделки ОК в муфте;
- наружные повреждения муфт, которые могут привести к повреждению оптических волокон (вмятины в корпусе муфт, отверстия и т.п.);
- некачественный монтаж защитной спирали, оплетки;
- слабая затяжка поддерживающего зажима, трещины в корпусе зажима;
- смещение меток при монтаже натяжного зажима.
4.10 Осмотры выполняются без подъема на опоры и с подъемом на высоту (верховые осмотры) с выборочной проверкой состояния кабеля в поддерживающих и натяжных зажимах, если они смонтированы без спирального протектора.
Верховые осмотры кабеля производятся для выявления неисправностей крепления ОК, проскальзывания кабеля в поддерживающем зажиме, степени коррозии арматуры, затяжки болтов арматуры, повреждения защитной оболочки кабеля натяжным зажимом, который монтируется без протектора.
4.11 Для проверки соответствия фактических расстояний от кабеля до проводов или земли, предусмотренных проектом, следует производить их измерение. При измерениях стрел провеса следует фиксировать температуру воздуха.
Полученные при измерениях фактические значения путем расчетов или с помощью специальных таблиц приводятся к температуре, при которой по проекту получаются наибольшие стрелы провеса.
4.12 Для своевременного обнаружения образования на ОК опасных гололедных отложений необходимо вести специальные наблюдения на ВЛ при атмосферных условиях, способствующих образованию гололеда.
4.13 Охрана ОК, как и всей ВЛ, на которой он подвешен, производится в соответствии с требованиями [37].
4.14 Результаты осмотров, проверок и измерений, проведенных на ОК, должны быть записаны в листках осмотра, ведомости и журнале неисправностей.
4.15 Неисправности кабеля должны быть подробно записаны электромонтером, производящим осмотр, в "Листок осмотра", который по окончании осмотра передается мастеру.
4.16 При одновременном обрыве двух стеклопластиковых элементов в течение месяца следует вырезать поврежденный участок и сделать вставку, до этого на поврежденное место может быть временно установлена ремонтная муфта.
При повреждении более двух армирующих стеклопластиковых элементов вставка делается немедленно.
4.17 Минимально допустимая прочность заделки кабеля в натяжном зажиме должна быть не менее растягивающей нагрузки, соответствующей 1 %-ному удлинению кабеля.
4.18 Поврежденные соединительные муфты заменяются новыми.
Повреждения отдельных оптических волокон или мест их сварки в соединительной муфте устраняются путем вскрытия муфты и переварки волокон.
4.19 Если стрелы провеса ОК отличаются от допустимых, должна быть произведена перетяжка кабеля.
Меры безопасности при эксплуатации ОК следующие:
а) все виды работ на ВЛ с ОК должны выполняться только по нарядам или распоряжениям;
б) опоры, не рассчитанные на одностороннее тяжение ОК и временно подвергаемые такому тяжению, должны быть укреплены во избежание их деформации;
в) выбирать схему подъема грузов и размещать блоки следует с таким расчетом, чтобы не возникали усилия, которые могут вызвать деформацию опоры или ее элементов.
4.20 Аварийно-восстановительные работы на ВОЛС-ВЛ должны предусматривать проведение ряда мероприятий для срочного восстановления связи и проводиться в возможно кратчайшие сроки с выполнением следующих этапов работ:
а) определения места, характера и причины повреждения ВОЛС, а также объема восстановительных работ;
б) проведения ремонтных работ с восстановлением связи по постоянной схеме.
4.21 При выполнении восстановительных работ аварийно-восстановительная группа должна быть обеспечена транспортными средствами высокой проходимости, необходимым инвентарем, инструментом и средствами механизации. Должен быть также создан необходимый запас кабеля ОКСН и монтажных материалов.
4.22 Определение места и характера повреждения ОК осуществляется измерением затухания с определением расстояния до места повреждения.
4.23 В том случае, когда после определения места повреждения ОК для восстановления связи требуется монтаж временной вставки, она подвешивается на опорах с помощью раскаточных роликов. При этом технология и организация раскатки временной вставки ОК аналогичны приведенным в главе 3.2 настоящих Правил.
4.24 Высота подвески вставки должна обеспечивать проход под ней в случае необходимости транспортных средств.
4.25 Монтаж временных муфт вставки производится обычным способом с соединением световодов сваркой или механическими соединителями. При этом должны быть выполнены требования к монтажу данного типа кабеля.
4.26 После восстановления связи с помощью временной вставки производится раскатка, подвеска и монтаж ОК для восстановления ВОЛС-ВЛ по постоянной схеме, после чего временная вставка демонтируется.
(справочное)
ПРИСПОСОБЛЕНИЕ ДЛЯ ЗАЩИТЫ ОК
ПРИ УСТРОЙСТВЕ ПЕРЕХОДОВ (ПЕРЕСЕЧЕНИЙ)
ЧЕРЕЗ ИНЖЕНЕРНЫЕ СООРУЖЕНИЯ
Закрепить к проходу

1 - ролик
блока MIP-8; 2 - приваренный стержень диаметром 10 мм с округлыми
торцами,
3 - стальная полоса шириной 35 - 40 и толщиной 4 - 5 мм, 4 -
скоба СК-7;
5 - полипропиленовый (капроновый) канат диаметром 10 - 12 мм
(длина каната выбирается в зависимости от места установки)
(рекомендуемое)
ФОРМЫ ДОКУМЕНТАЦИИ ПО МОНТАЖУ ОК
|
ПАСПОРТ
Муфта № __________________________________________________________________ Оптическая линия связи ______________________________________________________ Регенерационный участок ____________________________________________________ Марка кабеля _______________________________________________________________ Наименование монтажной организации _________________________________________ Сведения о ремонте _________________________________________________________ ___________________________________________________________________________
Измерительные приборы (марка, заводской №) ________________________________ ___________________________________________________________________________ Монтаж производился (ф.и.о. монтажника) ___________________________________ "_____" __________________________ 20___ г.
|
||||||||||||||||||||||||||||||||||||||||
|
Объект ________________________ Участок _______________________ Дата __________________________ ПРОТОКОЛ
Заводской номер барабана ____________________________________ Марка ОК __________________________________________________ Длина, м ___________________________________________________ I Внешний осмотр Состояние барабана _______________________________________________________ Состояние обшивки _______________________________________________________ Состояние концов ОК _____________________________________________________ Наличие паспорта _________________________________________________________ II Измерение коэффициента затухания
Измерения производились рефлектометром марки _____________________________ Вывод по результатам измерения: ___________________________________________ ___________________________________________________________________________ (измеренные коэффициенты затухания волокон соизмеримы или несоизмеримы с данными ___________________________________________________________________________ паспорта строительной длины) Внешний осмотр произвел _________________________________________________ (должность, ф.и.о., подпись) ___________________________________________________________________________ Измерения произвел _______________________________________________________ (должность, ф.и.о, подпись) ___________________________________________________________________________
|
||||||||||||||||||||||||||||||||||
|
ВЕДОМОСТЬ
Ведомость составил ____________________________________________________ (должность, ф.и.о)
|
(справочное)
СХЕМЫ КРЕПЛЕНИЯ ОК НА ОПОРАХ ВЛ
В.1 Схема натяжного крепления самонесущего ОК на опорах круглого сечения

|
№ пп. |
Наименование, тип |
Единица измерения |
Количество |
Масса, кг |
|
|
Ед. |
Общ. |
||||
|
1 |
Узел крепления УК-Н-01 |
шт. |
2 |
1,4 |
2,8 |
|
2 |
Штанга "ушко-ушко" L = 300 |
шт. |
1 |
1,1 |
1,1 |
|
3 |
Талреп Т-10-01 |
шт. |
1 |
0,7 |
0,7 |
|
4 |
Хомут ленточный* (1,5 м×2 + 1 замок) |
к-т |
2 |
0,4 |
0,8 |
|
5 |
Зажим спиральный натяжной* |
к-т |
2 |
* |
* |
|
6 |
Труба ПНД-25 |
м |
1 |
0,1 |
0,1 |
|
* Данные определяются проектом. Примечания: 1 Длина ОК в шлейфе должна обеспечивать допускаемый радиус изгиба кабеля в каждой точке шлейфа (Rдоп. изг > 20dОК) 2 Рабочая горизонтальная нагрузка УК-Н-01 10 кН. |
|||||
В.2 Схема поддерживающего крепления самонесущего ОК на опоре круглого сечения

|
№ пп. |
Наименование, тип |
Единица измерения |
Количество |
Масса, кг |
|
|
Ед. |
Общ. |
||||
|
1 |
Узел крепления УК-П-02 |
шт. |
1 |
1,6 |
1,6 |
|
2 |
Хомут ленточный* (1,5 м×1 + 1 замок) |
к-т |
2 |
0,2 |
0,4 |
|
3 |
Зажим поддерживающий спиральный* |
к-т |
1 |
* |
* |
|
* Данные определяются проектом. Примечание - Рабочая горизонтальная нагрузка УК-П-02 2 кН. |
|||||
В.3 Схема натяжного крепления самонесущего ОК на концевой опоре круглого сечения со спуском его в кабельную канализацию

|
№ пп. |
Наименование, тип |
Единица измерения |
Количество |
Масса, кг |
||
|
Ед. |
Общ. |
|||||
|
1 |
Узел крепления УК-Н-01 |
шт. |
1 |
1,4 |
1,4 |
|
|
2 |
Узел крепления УК-П-01** |
шт. |
1 |
0,25 |
0,25 |
|
|
3 |
Талреп Т-10-01 |
шт. |
1 |
0,7 |
0,7 |
|
|
4 |
Хомут ленточный* |
(1,5 м×2 + 1 замок) |
к-т |
2 |
0,4 |
0,8 |
|
(1,5 м×1 + 1 замок) |
к-т |
6 |
0,2 |
1,2 |
||
|
5 |
Зажим шлейфовый ЗКШ |
шт. |
2 |
0,31 |
0,62 |
|
|
6 |
Зажим спиральный натяжной* |
к-т |
1 |
* |
* |
|
|
7 |
Труба стальная* |
м |
* |
* |
* |
|
|
* Данные определяются проектом. ** Используется без рым-болта. Примечания: 1. Длина ОК в шлейфе должна обеспечивать допускаемый радиус изгиба кабеля в каждой точке шлейфа (Rдоп. изг > 20dОК). 2. Рабочая горизонтальная нагрузка УК-Н-01 10 кН. |
||||||
В.4 Схема натяжного крепления самонесущего ОК и шкафа для размещения муфты с запасом кабеля на опоре круглого сечения

|
№ пп. |
Наименование, тип |
Единица измерения |
Количество |
Масса, кг |
||
|
Ед. |
Общ. |
|||||
|
1 |
Узел крепления УК-Н-01 |
шт. |
2 |
1,4 |
2,8 |
|
|
2 |
Узел крепления УК-П-01** |
шт. |
1 |
0,25 |
0,25 |
|
|
3 |
Штанга "ушко-ушко" |
шт. |
1 |
1,1 |
1,1 |
|
|
4 |
Талреп Т-10-01 |
шт. |
1 |
0,7 |
0,7 |
|
|
5 |
Зажим спиральный натяжной* |
к-т |
2 |
* |
* |
|
|
6 |
Зажим шлейфовый ЗКШ* |
шт. |
1 |
* |
* |
|
|
7 |
Хомут ленточный |
(1,5 м×1 + 1 замок) |
к-т |
2 |
0,4 |
0,8 |
|
|
|
(1,5 м×2 + 1 замок) |
к-т |
1 |
0,2 |
0,2 |
|
8 |
Шкаф ШРМ (с 2 хомутами) |
к-т |
1 |
41 |
41 |
|
|
9 |
Гермоввод типа УВР-18* |
к-т |
1 |
0,28 |
0,28 |
|
|
* Данные определяются проектом ** Используется без рым-болта Примечания: 1 Длина кабеля в шлейфе должна обеспечивать допускаемый радиус изгиба кабеля в каждой точке шлейфа (Rдоп. изг > 20dОК). 2 Рабочая горизонтальная нагрузка УК-Н-01 10 кН. |
||||||
В.5 Схема разанкеровки ОК

|
№ пп. |
Наименование, тип |
Единица измерения |
Количество |
Масса, кг |
||
|
Ед. |
Общ. |
|||||
|
1 |
Узел крепления УК-Н-01 |
шт. |
2 |
1,4 |
2,8 |
|
|
2 |
Узел крепления УК-П-01** |
шт. |
2 |
0,25 |
0,5 |
|
|
3 |
Штанга "ушко-ушко" |
шт. |
1 |
1,1 |
1,1 |
|
|
4 |
Талреп Т-10-01 |
шт. |
1 |
0,7 |
0,7 |
|
|
5 |
Зажим спиральный натяжной* |
к-т |
2 |
* |
* |
|
|
6 |
Хомут ленточный |
(1,5 м×1 + 1 замок) |
к-т |
4 |
0,4 |
1,6 |
|
(1,5 м×2 + 1 замок) |
к-т |
2 |
0,2 |
0,4 |
||
|
7 |
Зажим шлейфовый ЗКШ* |
шт. |
2* |
* |
* |
|
|
* Данные определяются проектом. ** Используется без рым-болта. Примечания: 1. Длина ОК в шлейфе должна обеспечивать допускаемый радиус изгиба кабеля в каждой точке шлейфа (Rдоп. изг > 20dОК). 2. Рабочая горизонтальная нагрузка УК-Н-01 10 кН. |
||||||
В.6 Схема натяжного крепления несамонесущего ОК на опорах круглого сечения

|
№ пп. |
Наименование, тип |
Единица измерения |
Количество |
Масса, кг |
|
|
Ед. |
Общ. |
||||
|
1 |
Зажим винтовой |
шт. |
2 |
* |
* |
|
2 |
Проволока стальная Ø 8 мм (2×0,7 м) |
м |
1,4 |
0,27 |
0,55 |
|
3 |
Талреп Т-10-01 |
шт. |
1 |
0,7 |
0,7 |
|
4 |
Изолятор ИТФ-3 |
шт. |
2 |
0,45 |
0,9 |
|
5 |
Узел крепления УК-Н-01 |
к-т |
2 |
1,4 |
2,8 |
|
6 |
Хомут ленточный (1,5 м×2 + 1 замок) |
к-т |
2 |
0,4 |
0,8 |
|
7 |
Труба ПНД-25 |
м |
1 |
0,1 |
0,1 |
|
* Данные определяются проектом. Примечания: 1. Длина ОК в шлейфе должна обеспечивать допускаемый радиус изгиба кабеля в каждой точке (Rдоп. изг > 20dОК). 2. Рабочая горизонтальная нагрузка УК-Н-01 10 кН. |
|||||
В.7 Схема поддерживающего крепления круглого сечения несамонесущего ОК на опоре

|
№ пп. |
Наименование, тип |
Единица измерения |
Количество |
Масса, кг |
|
|
Ед. |
Общ. |
||||
|
1 |
Изолятор ИТФ-3 |
шт. |
1 |
0,45 |
0,45 |
|
2 |
Узел крепления УК-П-02 |
шт. |
1 |
1,6 |
1,6 |
|
3 |
Хомут ленточный (1,5 м×1 + 1 замок) |
к-т |
2 |
0,2 |
0,4 |
|
4 |
Проволока стальная Ø 8 мм (2×0,7 м) |
м |
1,4 |
0,27 |
0,55 |
|
5 |
Труба ПНД-25 |
м |
1,0 |
0,1 |
0,1 |
|
Примечания: 1. Длина ОК в шлейфе должна обеспечивать допускаемый радиус изгиба кабеля в каждой точке шлейфа (Rдоп. изг > 20dОК). 2. Рабочая горизонтальная нагрузка УК-П-02 2 кН. |
|||||
В.8 Схема натяжного крепления самонесущего ОК на металлической опоре

|
№ пп. |
Наименование, тип |
Единица измерения |
Количество |
|
1 |
Зажим спиральный натяжной НСО |
к-т |
2 |
|
2 |
Узел крепления УК-У-01 |
шт. |
2 |
|
3 |
Скоба СК-7-1 по ГОСТ 2724-88 |
шт. |
2 |
|
Примечание: - Рабочая горизонтальная нагрузка УК-У-01 10 кН |
|||
В.9 Схема натяжного крепления самонесущего ОК на стене здания. Схема № 1

|
№ пп. |
Наименование, тип |
Единица измерения |
Количество |
|
1 |
Штанга анкерная ША (500 - 750) |
к-т |
1 |
|
2 |
Промзвено 2ПР-7-1 (ГОСТ 2728-82) |
шт. |
1 |
|
3 |
Промзвено (штанга "ушко-ушко") |
шт. |
1 |
|
4 |
Зажим спиральный натяжной НСО |
к-т |
1 |
|
Примечание: - 1. Конкретный тип зажима НСО определяется проектом. 2. Зажим поставляется в комплекте с коушем. |
|||
В.10 Схема натяжного крепления самонесущего ОК на стене здания. Схема № 2

|
№ пп. |
Наименование, тип |
Единица измерения |
Количество |
|
1 |
Анкер саморасклинивающийся |
к-т |
1 |
|
2 |
Промзвено 2ПР-7-1 (ГОСТ 2728-82) |
шт. |
1 |
|
3 |
Промзвено (штанга "ушко-ушко") |
шт. |
1 |
|
4 |
Зажим спиральный натяжной НСО |
к-т |
1 |
|
Примечания: 1. Конкретный тип зажима НСО определяется проектом. 2. Зажим поставляется в комплекте с коушем. |
|||
В.11 Схема натяжного крепления самонесущего ОК на опоре типа СВ

|
№ пп. |
Наименование, тип |
Единица измерения |
Количество |
Масса, кг |
|
|
Ед. |
Общ. |
||||
|
1 |
Узел крепления УКН-2к |
к-т |
1 |
4 |
4 |
|
2 |
Штанга "ушко-ушко" |
шт. |
1 |
1,1 |
1,1 |
|
3 |
Талреп Т-10-01 |
шт. |
1 |
0,7 |
0,7 |
|
4 |
Зажим спиральный натяжной* |
к-т |
2 |
* |
* |
|
5 |
Труба ПНД-25 |
м |
1 |
0,1 |
0,1 |
|
* Данные определяются проектом. Примечание - Длина ОК в шлейфе должна обеспечивать допускаемый радиус изгиба кабеля в каждой точке шлейфа (Rдоп. изг > 20dОК). |
|||||
В.12 Схема поддерживающего крепления самонесущего ОК на опоре типа СВ

|
№ пп. |
Наименование, тип |
Единица измерения |
Количество |
Масса, кг |
|
|
Ед. |
Общ. |
||||
|
1 |
Узел крепления УКП-К |
к-т |
1 |
4,05 |
4,05 |
|
2 |
Зажим поддерживающий* |
к-т |
1 |
* |
* |
|
* Данные определяются проектом. |
|||||
В.13 Схема натяжного крепления самонесущего ОК и шкафа для размещения муфты с запасом кабеля на опоре типа СВ

|
№ пп. |
Наименование, тип |
Единица измерения |
Количество |
Масса, кг |
|
|
Ед. |
Общ. |
||||
|
1 |
Узел крепления УКН-2к |
шт. |
1 |
4 |
4 |
|
2 |
Узел крепления УК-П-01** |
шт. |
1 |
0,25 |
0,25 |
|
3 |
Штанга "ушко-ушко" |
шт. |
1 |
1,.1 |
1,1 |
|
4 |
Талреп Т-10-01 |
шт. |
1 |
0,7 |
0,7 |
|
5 |
Зажим спиральный натяжной* |
к-т |
2 |
* |
* |
|
6 |
Зажим шлейфовый ЗКШ* |
шт. |
1 |
* |
* |
|
7 |
Хомут ленточный* (1,5 м×1 + 1 замок) |
к-т |
1 |
0,2 |
0,2 |
|
8 |
Шкаф ШРМ с хомутами |
к-т |
1 |
41 |
41 |
|
9 |
Упор |
шт. |
2 |
1,21 |
2,42 |
|
10 |
Гермоввод типа УВР-18 |
к-т |
1 |
0,28 |
0,28 |
|
* Данные определяются проектом. ** Используется без рым-болта. Примечание - Длина ОК в шлейфе должна обеспечивать допускаемый радиус изгиба кабеля в каждой точке шлейфа (Rдоп. изг > 20dОК). |
|||||
В.14 Схема натяжного крепления самонесущего ОК на концевой опоре типа СВ

|
№ пп. |
Наименование, тип |
Единица измерения |
Количество |
Масса, кг |
|
|
Ед. |
Общ. |
||||
|
1 |
Узел крепления УКН-2к |
к-т |
1 |
4 |
4 |
|
2 |
Талреп Т-10-01 |
шт. |
1 |
0,7 |
0,7 |
|
3 |
Зажим спиральный натяжной* |
к-т |
1 |
* |
* |
|
4 |
Зажим шлейфовый ЗКШ* |
шт. |
2 |
* |
* |
|
5 |
Узел крепления УК-П-01** |
шт. |
1 |
0,25 |
0,25 |
|
6 |
Хомут ленточный с замком (1,5 м×1 + 1 замок) |
к-т |
6 |
0,15 |
0,9 |
|
7 |
Труба стальная* |
м |
* |
* |
* |
|
* Данные определяются проектом. ** Используется без рым-болта Примечание - Длина ОК в шлейфе должна обеспечивать допускаемый радиус изгиба кабеля в каждой точке шлейфа (Rдоп. изг > 20dОК). |
|||||
В.15 Схема разанкеровки ОК на опоре типа СВ

|
№ пп. |
Наименование, тип |
Единица измерения |
Количество |
Масса, кг |
|
|
Ед. |
Общ. |
||||
|
1 |
Узел крепления УКН-2к |
к-т |
2 |
4 |
8 |
|
2 |
Талреп Т-10-01 |
шт. |
1 |
0,7 |
0,7 |
|
3 |
Штанга "ушко-ушко" |
шт. |
1 |
1,1 |
1,1 |
|
4 |
Зажим спиральный натяжной* |
к-т |
2 |
* |
* |
|
5 |
Зажим шлейфовый ЗКШ* |
шт. |
2* |
* |
* |
|
6 |
Узел крепления УК-П-01** |
шт. |
2* |
* |
* |
|
7 |
Хомут ленточный 1,5 м×1 + 1 замок |
к-т |
2* |
0,2 |
0,4 |
|
* Данные определяются проектом. ** Используется без рым-болта. |
|||||
В.16 Схема натяжного крепления самонесущего ОК типа «8» и шкафа для размещения муфты с запасом кабеля на опоре круглого сечения

|
№ пп. |
Наименование, тип |
Единица измерения |
Количество |
Масса, кг |
||
|
Ед. |
Общ. |
|||||
|
1 |
Узел крепления УК-Н-01 |
шт. |
2 |
1,4 |
2,8 |
|
|
2 |
Узел крепления УК-П-01** |
шт. |
1 |
0,25 |
0,25 |
|
|
3 |
Штанга "ушко-ушко" |
шт. |
1 |
1,1 |
1,1 |
|
|
4 |
Талреп Т-10-01 |
шт. |
1 |
0,7 |
0,7 |
|
|
5 |
Коуш типа С (ГОСТ 9689-82) |
шт. |
2 |
0,02 |
0,04 |
|
|
6 |
Зажим шлейфовый ЗКШ* |
шт. |
1 |
* |
* |
|
|
7 |
Хомут ленточный |
(1,5 м×2 + 2 замка) |
к-т |
1 |
0,2 |
0,2 |
|
(1,5 м×1 + 1 замок) |
к-т |
1 |
0,2 |
0,2 |
||
|
8 |
Промзвено 2ПР-7-1 (ГОСТ 2738-82) |
шт. |
2 |
0,52 |
1,04 |
|
|
9 |
Зажим винтовой (ГОСТ 13186-87) |
шт. |
2 |
0,06 |
0,12 |
|
|
10 |
Шкаф ШРМ (с двумя хомутами) |
к-т |
1 |
41 |
41 |
|
|
11 |
Гермоввод типа УВР-18 |
к-т |
1 |
0,28 |
0,28 |
|
|
* Данные определяются проектом. ** Используется без рым-болта. Примечания: 1. Длина ОК в шлейфе должна обеспечивать допускаемый радиус изгиба кабеля в каждой точке (Rдоп. изг > 20dОК). 2. Рабочая горизонтальная нагрузка УК-Н-01 10 кН. |
||||||
В.17 Схема поддерживающего крепления самонесущего ОК типа «8» на опоре круглого сечения. Схема № 1

|
№ пп. |
Наименование, тип |
Единица измерения |
Количество |
Масса, кг |
|
|
Ед. |
Общ. |
||||
|
1 |
Узел крепления УК-П-02 |
шт. |
1 |
1,6 |
1,6 |
|
2 |
Хомут ленточный* (1,5 м×2 + 2 замка) |
к-т |
1 |
0,2 |
0,2 |
|
3 |
Зажим поддерживающий ППО - d1/d2 - 03 |
шт. |
1 |
* |
* |
|
* Данные определяются проектом. Примечание - Рабочая нагрузка УК-П-02 2 кН. |
|||||
В.18 Схема поддерживающего крепления самонесущего ОК типа «8» и шкафа для размещения муфты с запасом кабеля на опоре круглого сечения. Схема № 2 (для пролетов длиной до 30 м)

|
№ пп |
Наименование, тип |
Единица измерения |
Количество |
Масса, кг |
|
|
Ед. |
Общ. |
||||
|
1 |
Узел крепления УК-П-01 |
шт. |
1 |
0,616 |
0,616 |
|
2 |
Хомут ленточный* (3,0 м×1 + 1 замок) |
шт. |
1 |
0,4 |
0,4 |
|
3 |
Зажим поддерживающий ППО - d1/d2 - 03 |
шт. |
1 |
* |
* |
|
* Данные определяются проектом. Примечание - Рабочая нагрузка УК-П-01 0,5 кН. |
|||||
(рекомендуемое)
|
Член бригады |
Группа по электробезопасности |
Количество, чел. |
|
Бригада по прокладке троса-лидера |
|
|
|
Производитель работ (прораб) |
5 |
1 |
|
Бригадир |
5 |
1 |
|
Электромонтер |
5 |
1 |
|
Электромонтер |
4 |
5 |
|
Электромонтер |
3 |
5 |
|
Водитель автомашины |
2 |
1 |
|
|
|
14 |
|
Бригада по раскатке ОК |
|
|
|
Бригадир |
5 |
1 |
|
Оператор тяговой и тормозной машин |
4 |
2 |
|
Электромонтер-помощник оператора |
3 |
2 |
|
Электромонтер |
4 |
5 |
|
Электромонтер |
3 |
5 |
|
Водитель автомашины |
2 |
2 |
|
Водитель грузового автомобиля для перевозки машин, оборудования и барабанов с кабелем |
1 |
2 |
|
Всего |
19 |
|
|
33 |
||
(рекомендуемое)
|
Наименование и характеристика |
Количество для подвески ОКСН |
|
1. Тяговая машина (усилие тяжения не менее 1500 кгс, скорость раскатки 3,0 км /ч) |
1 |
|
2. Тормозная машина (усилие торможения не менее 1500 кгс, скорость раскатки 3,0 км /ч) |
1 |
|
3. Гидроподъемник (телескопическая вышка) |
1 |
|
4. Передвижная лаборатория для диагностики и монтажа ВОЛС (ПЛДМ) |
1 |
|
5. Бригадная машина |
1 |
|
6. Лебедка ручная грузоподъемностью 1,0 т с блоком |
2 |
|
7. Лебедка ручная грузоподъемностью 2500 кг и тросовым канатом длиной - 30 м (для регулировки стрел провеса ОК) |
2 |
|
8. Раскатанный ролик диаметром не менее 350 мм |
30 |
|
9. Раскатанный ролик диаметром не менее 600 мм |
15 |
|
10. Раскатанный ролик сдвоенный (тандем) диаметром не менее 350 мм |
6 |
|
11. Подставка-подъемник (кабельный транспортер) для установки барабана с кабелем массой 4000 кг |
1 |
|
12. Устройство для заготовки каналов кабельной канализации (УЗК) |
1 |
|
13. Приспособление для защиты ОК при устройстве переходов (пересечений) через инженерные сооружения |
1 |
|
14. Вертлюг (компенсатор кручения) для соединения троса с кабелем |
2 |
|
15. Балансир для предотвращения кручения троса с ОК при его раскатке под тяжением |
2 |
|
16. Монтажный чулок для ОК |
2 |
|
17. Монтажный чулок для тягового троса |
2 |
|
18. Канат-лидер длиной, м |
500 |
|
19. Набор бригадного инструмента |
По количеству рабочих |
|
20. Переносная радиостанция |
3 |
|
21. Набор индивидуальных защитных средств монтажников (каска, предохранительный пояс, аптечка и тд.) |
30 |
|
22 Полевой бинокль |
2 |
(рекомендуемое)
|
Наименование |
Количество |
Назначение |
|
1. Комплект для сварки оптических волокон (потери в сростке должны быть не более 0,1 дБ; диаметр световодов 250/50 и 250/10; юстировка автоматическая, потребляемая мощность 50 Вт) |
1 |
Сварка оптических волокон |
|
2. Устройство для скола оптических волокон (диаметр скалываемого волокна 125, 250 мкм, допуск перпендикулярности 1,5 град, процент годных торцов 90 %) |
2 |
Подготовка оптических волокон к сварке |
|
3. Оптический рефлектометр |
1 |
Измерение затухания, оптических потерь ОВ, определение мест повреждения ОК |
|
4. Компенсирующая катушка с ОВ |
1 |
Компенсация мертвой зоны рефлектометра |
|
5. Муфты для соединения ОК |
По проекту |
Соединение оболочек ОК |
|
6. Бензоагрегат 220 В, 50 Гц, 2 кВт |
1 |
Электропитание комплекта сварки ОВ, рефлектометра, электрофена и других приборов |
|
7. Механический соединитель оптических волокон |
По проекту |
Временное соединение ОВ с измерительной катушкой |
|
8. Электрофен |
1 |
Усадка термоусаживаемых трубок при монтаже муфт |
|
9. Набор инструмента для разделки ОК и ОВ |
1 |
Разделка ОК и ОВ |
|
10. Переговорное устройство по оптическому волокну |
1 |
Обеспечение оперативной связи при монтаже муфт |
(справочное)
|
Силовые элементы подвесного самонесущего кабеля |
Тип муфты для самонесущих ОК |
Комплект для ввода ОК в муфту |
Необходимые аксессуары к муфтам |
|
С арамидными нитями |
MTOK 96T-01-IV (герметизация кожуха с оголовником с помощью ТУТ) |
Комплект № 1 |
Ключ для монтажа |
|
Гильзы КДЗС |
|||
|
Устройство подвески муфты |
|||
|
Устройство для намотки подвесного ОК |
|||
|
Кассета КУ на 32 ОВ |
|||
|
Адаптер для ОВ |
|||
|
Кронштейн универсальный для монтажа муфты |
|||
|
Комплект крепежа к анкерным опорам |
|||
|
Хомут крепления к столбовым опорам |
|||
|
С броней из стеклопрутка |
То же |
Комплект № 3 |
То же |
|
С арамидными нитями или с броней из стеклопрутка |
МОПГ |
Комплект для ввода ОК в муфту МОГт-М |
Гильзы КДЗС |
|
Кассета для МОПГ |
|||
|
Кожух металлический защитный (КМЗ) |
|||
|
Кронштейн для муфты МОПГ |
|||
|
Заглушка к муфте МОПГ |
|||
|
Адаптер для ОВ |
|||
|
Комплект крепежа к анкерным опорам |
|||
|
Для кабеля, встроенного в грозозащитный трос для подвески на опорах ВЛ с напряжением 35 кВ и выше |
МОПГ |
Комплект для ввода грозотроса в муфту МОПГ |
То же |
|
С броней из стеклопрутка для подвески на опорах линий сельской связи, опорах городского транспорта и мачтах уличного освещения |
МОГт-М |
Комплект для ввода ОК в муфту МОГт-М |
Гильзы КДЗС |
|
Кассета К (МОГ) |
|||
|
Кожух металлический зашитый универсальный для МОГт-М |
|||
|
Комплект для ввода ОК в МОГт-М |
|||
|
Комплект для ремонта МОГт |
|||
|
Кронштейн для монтажа муфты МОГт |
|||
|
Хомут крепления к столбовым опорам |
Муфты МТОК 96T-01-IV и МТОК 96T1-01-IV
Муфты МТОК 96T-01-IV и МТОК 96T1-01-IV многократного применения предназначены для прямого и разветвительного сращивания строительных длин:
- оптических подвесных самонесущих кабелей с повивом из синтетических (арамидных или кевларовых) нитей или с броней из стеклопластиковых прутков, подвешиваемых на опорах связи, ВЛ, контактной сети железных дорог и освещения;
- оптических кабелей 4-го типа с металлическим гофрированным бронепокровом или повивом из синтетических нитей, прокладываемых в канализации и в пластмассовых трубах;
- оптических кабелей 2-го и 3-го типов с бронепокровом из металлической проволоки при прокладке их в кабельной канализации.
Наружные детали муфты и кассета для ОВ выполнены из пластмассы.
Оголовник муфт МТОК 96Т (Т1) имеет четыре цилиндрических патрубка для узлов ввода ОК и один овальный патрубок, используемый для вывода транзитного ОК или двух (трех) самонесущих ОК.
В исходном варианте два цилиндрических и овальный патрубки заглушены и при введении в оба незаглушенных патрубка узлов ввода ОК муфта несет функцию соединительной.
Для получения разветвительных вариантов муфт МТОК 96Т (Т1) производится вскрытие третьего (четвертого) патрубка и введение в них узлов ввода ОК. Овальный патрубок оголовника муфты позволяет осуществлять ввод и вывод "транзита" ОК или ответвления.
Внутри муфты размещается металлический кронштейн. С одной стороны на кронштейне приварена металлическая сетка с прямоугольными ячейками, к которой крепятся модули ОК с помощью нейлоновых стяжек, а с противоположной стороны кронштейна крепится пластмассовая кассета для ОВ, рассчитанная на 32 сростка ОВ. В муфтах МТОК 96Т (Т1) можно установить три кассеты для ОВ и разместить на них 96 сростков ОВ при укладке их на ложементы кассет в два уровня; при этом минимальный радиус изгиба первого от центра кассеты ОВ составляет 37,5 мм.
Продольная герметизация вводов ОК с патрубками оголовника муфты осуществляется с помощью герметизирующих лент и термоусаживаемых материалов.
Герметизация оголовника с кожухом муфты может производиться как с помощью механического соединения - МТОК 96Т1, так и с помощью ТУТ - МТОК 96Т.
Муфты МТОК 96Т(Т1) реализуются с одной кассетой и соответствующими наборами комплектов для ввода ОК, согласованными с заказчиком при указании им марки, диаметра и количества вводимых в муфту ОК.
Дополнительные кассеты и необходимое количество гильз КДЗС поставляются отдельно по заявке заказчика.
Комплект поставки муфты МТОК 96T-01-IV
Муфта поставляется в следующем составе: кожух, оголовник, кронштейн с укрепленной на нем кассетой на 32 ОВ, комплект деталей и материалов для монтажа оптического волокна, комплект деталей для монтажа муфты: хомут из пластмассы и термоусаживаемая трубка для герметизации корпуса.
Комплект поставки муфты МТОК 96T1-01-IV
Муфта поставляется в следующем составе: кожух, оголовник, кронштейн с укрепленной на нем кассетой на 32 ОВ, уплотнительное резиновое кольцо, комплект деталей и материалов для монтажа ОВ, комплект деталей для монтажа муфты: 2 кольца, обойма из двух половинок, хомут из нержавеющей стали.
Примечание - Узлы ввода ОК в комплекты не входят и поставляются отдельно по согласованию с заказчиком.
(справочное)
|
ПАСПОРТ
1 Заказчик __________________________________________________________________ 2 Подрядчик ________________________________________________________________ 3 Основание для выполнения работ: Договор подряда № ___________________ от ____________________________ г. 4 Проектная организация, разработавшая проект _________________________________ ___________________________________________________________________________ 5 Наименование ВЛ и ее напряжение ___________________________________________ ___________________________________________________________________________ 6 Протяженность ВЛ, км _____________________________________________________ 7 Номера начальной и конечной опор __________________________________________ ___________________________________________________________________________ 8 Тип опор _________________________________________________________________ 9 Марка ОК ________________________________________________________________ 10 Протяженность ВОЛС-ВЛ, км ______________________________________________ 11 Количество и тип муфт: соединительных __________________________________________________________ разветвительных __________________________________________________________ 12 Номер опоры, на которой осуществлен спуск для прокладки на объект ____________ ___________________________________________________________________________ 13 Тип кабеля и длина прокладки ОК на объект энергетики или связи: а) в грунте, км ____________________________________________________________ б) в кабельной канализации, км _____________________________________________ в) по конструкциям, км ____________________________________________________ 14 Начало строительства _____________________________________________________ 15 Окончание строительства __________________________________________________ Технический руководитель организации-подрядчика _____________________________________________________ фамилия, имя, отчество Руководитель работ __________________________________________________________ должность, фамилия, имя, отчество "____" _______________ 200___ г.
|
|
ПАСПОРТ
№ Монтажная организация ______________________________________________________ Оптическая линия связи ______________________________________________________ Регенерационный участок ____________________________________________________ Марка кабеля _______________________________________________________________ Общая длина участка ________________________________________________________
Графа заполняется при измерении затухания рефлектометром ___________________________________________________________________________ Измерительные приборы (марка, заводской №) __________________________________ ___________________________________________________________________________ ___________________________________________________________________________ Измерения производили ______________________________________________________ ф.и.о и подписи измерителей _______________________________________________________ "___" ________ 200__ г. ______________________________________________________
|
|||||||||||||||||||||||||||||||||||||||||||||||||||||||||||||||
|
ПРОТОКОЛ
Измерения произведены _____________________________ дата Измерения производились рефлектометром марки _____________________________ Заключение: Коэффициент затухания ВОЛС-ВЛ и в сростках муфт находятся в пределах нормы. Измерения произвели: ____________________________________ должность, фамилия, имя, отчество _____________________________________ должность, фамилия, имя, отчество
|
||||||||||||||||||||||||||||||||||||||||||||||||||||||||||||||||||||||||||||||||||||||||||||||||||||||||||||||||||||
|
АКТ
Рабочая комиссия, назначенная _____________________________________________ ___________________________________________________________________________ наименование организации-заказчика (застройщика), назначившей рабочую комиссию Решением от "_____" _________________ 200 ___ г. № _________________________ в составе: председателя - представителя заказчика (застройщика) ___________________________________________________________________________ фамилия, имя, отчество, должность членов комиссии - представителей: генерального подрядчика __________________________________________________ ___________________________________________________________________________ фамилия, имя, отчество, должность субподрядных (монтажных) организаций _____________________________________ ___________________________________________________________________________ фамилия, имя, отчество, должность эксплуатационной организации _____________________________________________ ___________________________________________________________________________ фамилия, имя, отчество, должность генерального проектировщика ______________________________________________ ___________________________________________________________________________ фамилия, имя, отчество, должность органов Госсвязьнадзора ___________________________________________________ ___________________________________________________________________________ фамилия, имя, отчество, должность органов государственного пожарного надзора _________________________________ ___________________________________________________________________________ фамилия, имя, отчество, должность технической инспекции труда или совета профсоюзов __________________________ ___________________________________________________________________________ фамилия, имя, отчество, должность других заинтересованных органов надзора и организаций _______________________ ___________________________________________________________________________ ___________________________________________________________________________ ___________________________________________________________________________ ___________________________________________________________________________ фамилия, имя, отчество, должность, организация руководствуясь правилами, изложенными в СНиП 3.01.04-87, произвела освидетельствование работ по строительству ВОЛС-ВЛ __________ кВ на предмет ее пригодности к эксплуатации и установила: 1 Генеральным подрядчиком _______________________________________________ наименование организации ___________________________________________________________________________ и ее ведомственная подчиненность предъявлено к приемке в эксплуатацию законченное строительством _______________ ___________________________________________________________________________ наименование сооружения входящего в состав __________________________________________________________ наименование объекта 2 Строительство осуществлялось генеральным подрядчиком, выполнившим ___________________________________________________________________________ ___________________________________________________________________________ виды работ и его субподрядными организациями ___________________________________________ ___________________________________________________________________________ наименование организаций и их ведомственная подчиненность выполнившими _____________________________________________________________ вида работ 3 Проектно-сметная документация на строительство разработана проектной организацией _______________________________________________________________ ___________________________________________________________________________ наименование организаций и их ведомственная подчиненность 4 Строительство осуществлялось по проекту __________________________________ номер проекта, ___________________________________________________________________________ номер серии (по типовым проектам) 5 Проектно-сметная документация утверждена ________________________________ ___________________________________________________________________________ наименование органа, утвердившего документацию на объект в целом "_____" _________________ 200 ___ г. № _________________________ 6 Строительно-монтажные работы осуществлены в сроки: начало работ ______________________; окончание работ: _________________________
7 Рабочей комиссии предъявлена следующая документация: ___________________________________________________________________________ перечень документов в соответствии с п. 3.5 СНиП 3.01.04-87 или номер приложения к Акту Примечание - Указанные документы являются обязательным приложением к настоящему Акту. 8 ВОЛС имеет следующие показатели: ______________________________________, длина ВОЛС, км марка кабеля _______________________________________ ОК подвешен между опорами № _______ и № _______ и проложен в кабельной канализации между колодцами № _______ и № ________ телефонного узла ___________________________________________________________________________ 9 Оборудование установлено согласно актам о его приемке после индивидуального испытания и комплексного опробования рабочими комиссиями (перечень актов приведен в приложении _____________ к настоящему Акту) в количестве: по проекту __________________________________ единиц; фактически _________________________________ единиц. 10 Мероприятия по охране труда, обеспечению взрывобезопасности, пожаробезопасности, охране окружающей природной среды и антисейсмические мероприятия, предусмотренные проектом ______________________________________ сведения о выполнении 11 Характеристика мероприятий приведена в приложении _______________ к Акту. 12 Выявленные дефекты и недоделки должны быть устранены в сроки, указанные в приложении ___________________ к Акту. 13 Сметная стоимость по утвержденной проектно-сметной документации: всего ___________________________ тыс. руб., в том числе строительно-монтажных работ м ______________________________________________ тыс. руб., оборудования, инструмента и инвентаря _____________________________________________ тыс. руб. Решение рабочей комиссии ___________________________________________________________________________ наименование сооружения Считать принятым от генерального подрядчика для предъявления Государственной приемочной комиссии. Председатель рабочей комиссии ____________________________________________ подпись Члены рабочей комиссии: __________________________________________________ __________________________________________________ подпись
|
АКТ
Государственная приемочная комиссия, назначенная решением (приказом, постановлением и др.) от "_____" ______________ 200_ г. № _______________________ ___________________________________________________________________________ наименование органа, назначившего комиссию в составе:
руководствуясь правилами, изложенными в СНиП 3.01.04-87, произвела освидетельствование работ по строительству ВОЛС-ВЛ 0,4 - 35 кВ на предмет ее пригодности к эксплуатации и установила: 1 Заказчиком (подрядчиком совместно с заказчиком) ___________________________________________________________________________ наименование организации и ее ведомственная подчиненность предъявлен к приемке в эксплуатацию ВОЛС-ВЛ 0,4 - 35 кВ______________________ ___________________________________________________________________________ наименование объекта и вид строительства, новое, расширение, реконструкция, техническое перевооружение по трассе: __________________________________________________________________ номера опор ВЛ, номера колодцев кабельной канализации телефонного узла 2 Строительство осуществлено на основании Договора подряда от "_____" ________________ 200_ г. № ________________________________________ ___________________________________________________________________________ наименование органа, выдавшего разрешение 3 Строительство осуществлено генеральным подрядчиком ___________________________________________________________________________ наименование организации и ее ведомственная подчиненность выполнившим ______________________________________________________________ виды работ и субподрядными организациями ______________________________________________ ___________________________________________________________________________ ___________________________________________________________________________ ___________________________________________________________________________ наименование организаций и их ведомственная подчиненность 4 Проектно-сметная документация на строительство разработана генеральным проектировщиком ___________________________________________________________ ___________________________________________________________________________ наименование организаций и их ведомственная подчиненность выполнившим ______________________________________________________________, наименование частей или разделов документации и субподрядными организациями ______________________________________________ ___________________________________________________________________________ ___________________________________________________________________________ ___________________________________________________________________________ наименование организаций и их ведомственная подчиненность 5 Исходные данные для проектирования выданы ______________________________ ___________________________________________________________________________ ___________________________________________________________________________ наименование научно-исследовательских и изыскательских организаций и их ведомственная подчиненность 6 Строительство осуществлялось по проекту (типовому, индивидуальному, повторно применяемому) _____________________________________________________________ ___________________________________________________________________________ номер проекта, номер серии (по типовым проектам) 7 Проектно-сметная документация утверждена ________________________________ ___________________________________________________________________________ наименование органа, утвердившего (переутвердившего) документацию на объект, очередь, пусковой комплекс "_____" ________________ 200__ г. № _______________________ 8 Строительно-монтажные работы осуществлены в сроки: начало работ _______________________; окончание работ: ________________________
9 Государственной приемочной комиссии предъявлена следующая документация: ___________________________________________________________________________ перечень документов, представленных рабочей комиссией Указанные документы являются обязательным приложением к настоящему Акту. 10 Представленный к приемке в эксплуатацию объект (ВОЛС) имеет следующие основные показатели: _______________________________________________________, длина ВОЛС, км _________________________________________________________ марка кабеля ___________________________________________________________________________ трасса подвески, номера крайних опор ___________________________________________________________________________ ОК проложен в кабельной канализации по трассе 11 На объекте установлено предусмотренное проектом оборудование в количестве согласно актам о его приемке после индивидуального испытания и комплексного опробования рабочими комиссиями (перечень актов приведен в приложении ____________ к настоящему Акту). 12 Мероприятия по охране труда, обеспечению взрывобезопасности, пожаробезопасности, охране окружающей природной среды и антисейсмические мероприятия, предусмотренные проектом ______________________________________ сведения о выполнении Характеристика мероприятий приведена в приложении __________________ к Акту. 13 Недоделки и дефекты, выявленные рабочими комиссиями, устранены. 14 Сметная стоимость по утвержденной проектно-сметной документации: всего _____________ тыс. руб., в том числе строительно-монтажных работ _______________ тыс. руб., оборудования, инструмента и инвентаря ________________ тыс. руб. 15 Сметная стоимость основных фондов, принимаемых в эксплуатацию, _________________ тыс. руб., в том числе строительно-монтажных работ _________________ тыс. руб., оборудования, инвентаря и инструмента __________________ тыс. руб. 16 На основании осмотра объекта и ознакомления с соответствующей документацией установлено: работы по строительству ВОЛС-ВЛ выполнены в соответствии с проектом и техническими условиями. Решение Государственной приемочной комиссии ___________________________________________________________________________ наименование сооружения Предъявленный к приемке _________________________________________________ наименование объекта принять в эксплуатацию Председатель Государственной приемочной комиссии _____________________________________________________ подпись Члены Государственной приемочной комиссии: _____________________________________________________ _____________________________________________________ _____________________________________________________ подписи
|
||||||||||||||||||||||||||||||||||||||||||||||||||||||||||||
1 ГОСТ Р 1.0-92. Государственная система стандартизации РФ. Основные положения.
2 ГОСТ Р 1.2-92. ГСС РФ. Порядок разработки государственных стандартов.
3 ГОСТ Р 1.4-93. ГСС РФ. Стандарты отраслей, стандарты предприятий, стандарты научно-технических, инженерных обществ и других общественных организаций. Общие положения. Взамен ГОСТ Р 1.4-92.
4 ГОСТ Р 1.5-92 (2002). ГСС РФ. Общие требования к построению, изложению, оформлению и содержанию стандартов.
5 ГОСТ Р 1.8-95 (2002). ГСС РФ. Порядок разработки и применения межгосударственных стандартов.
6 ГОСТ Р 1.9-95. ГСС РФ. Порядок маркирования продукции и услуг знаком соответствия государственным стандартам.
7 ГОСТ Р 50.1.039-2003. Разработка, обновление и отмена правил и рекомендаций по стандартизации, метрологии, сертификации, аккредитации и каталогизации. Взамен ГОСТ Р 1.10-95.
8 ГОСТ 13276-79. Арматура линейная. Общие технические условия.
9 ГОСТ 15150-69. Машины, приборы и другие технические изделия. Исполнение для различных климатических районов. Категории, условия эксплуатации, хранения и транспортирования в части воздействия климатических факторов внешней среды.
10 ГОСТ 464-79. Заземления для стационарных установок проводной связи, радиорелейных станций, радиотрансляционных узлов проводного вещания и антенных систем коллективного приема телевидения. Нормы сопротивления.
11 ГОСТ Р 8.568. ГСИ. Аттестация испытанного оборудования.
12 ГОСТ Р 8.563-96. ГСИ. Методика выполнения измерений.
13 ГОСТ Р МЭК 793-1-93. Волокна оптические. Общие технические требования.
14 СНиП 11.01-95. Инструкция о порядке разработки, согласования, утверждения и составе проектной документации на строительство предприятий, зданий и сооружений Российской Федерации. - М.: Госстрой России, 1995.
15 СНиП 3.05.06-85. Электротехнические устройства. - М.: Госстрой СССР, 1986.
16 СНиП 3.01.01-85. Организация строительного производства. - М.: Госстрой России, 2000.
17 СНиП 3.01.04-87. Приемка в эксплуатацию законченных строительством объектов. Основные положения. - М.: Госстрой СССР, 1987.
18 СНиП 11.01-95. Инструкция о порядке разработки, согласования, утверждения и составе проектной документации на строительство предприятий, зданий и сооружений. - М. Минстрой России, 1995.
19 ВСН 332-93. Инструкция по проектированию электроустановок предприятий и сооружений электросвязи. Производственные и вспомогательные здания.
20 ОСТН-600-93. Отраслевые строительно-технологические нормы на монтаж сооружений связи, радиовещания и телевидения. - М.: Минсвязи СССР, 1993.
21 ОСТ 45.86-96. Линейно-аппаратные цеха оконечных междугородных станций, сетевых узлов, усилительных и регенерационных пунктов. Требования к проектированию. - М.: Минсвязи России, 1996.
22 ОНТП ВЛ-78. Нормы технологического проектирования линий электропередачи напряжением 35 кВ и выше. - М.: Минэнерго СССР, 1982.
23 ВСН 33-82. Ведомственные строительные нормы по разработке проектов организации строительства. - М.: Минэнерго СССР, 1982.
24 Основные положения развития Взаимоувязанной сети связи Российской Федерации на перспективу до 2005 года. - М.: 1996.
25 ВСН-116-2002. Ведомственные строительные нормы. Инструкция по проектированию линейно-кабельных сооружений связи. - М.: Минсвязи России, 2002.
26 ВНТП 112-98. Ведомственные нормы технологического проектирования. Городские и сельские телефонные сети. - М.: Госкомсвязи России, 1998.
27 ОСТ 45.190-2001. Системы передачи волоконно-оптические, стыки оптические.- М.: Минсвязи России, 2002.
28 Санитарные нормы и правила защиты населения от воздействия электрического поля, создаваемого воздушными линиями переменного тока промышленной частоты. - М.: Минздрав СССР, 1985.
29 СН 465074. Нормы отвода земель для электрических сетей напряжением 0,4 - 500 кВ. - М.: Стройиздат, 1975.
30 Объем и нормы испытания электрооборудования. - М.: ЭНАС, 2002.
31 Программа совместных работ РАО "ЕЭС России", АО "Ростелеком" и НТЦ связи "ЦНИИС-РТК" по созданию нормативно-технической документации по проектированию, строительству и эксплуатации ВОЛС-ВЛ - М.: 1996.
32 Концепция создания Единой сети электросвязи и телемеханики электроэнергетики на период до 2005 г. - М.: РАО "ЕЭС России", 1995.
33 Положение о порядке координации работ по развитию взаимоувязанной сети связи Российской Федерации (Одобрено Решением ГКЭС России от 30.08.95 № 126). - М.: ГКЭС России, 1996.
34 Правила устройства электроустановок (ПУЭ. 7-е изд. - Разделы 2.4 и 2.5 (Утв. Приказом Минэнерго России от 20.05.2003 № 187). - М: ЭНАС, 2003.
35 Правила технической эксплуатации электрических станций и сетей Российской Федерации (издание официальное). - М.: СПО ОРГРЭС, 2003.
36 РД 153-34.0-03.150-00. Межотраслевые правила по охране труда (правила безопасности) при эксплуатации электроустановок: ПОТ Р М-016-2001. - М.: ЭНАС, 2003.
37 Правила охраны электрических сетей напряжением свыше 1000 вольт. - М.: Энергоатомиздат, 1985.
38 Правила по охране труда при работах на кабельных линиях связи и проводного вещания (радиофикации). - М.: Центр Оргтрудсвязь, 1996.
39 ВСН 37-86. Правила приемки в эксплуатацию отдельных пусковых комплексов и законченных строительством электростанций, объектов электрических и тепловых сетей. - М.: СПО Союзтехэнерго, 1987.
40 РД 34.03.285-97. Правила техники безопасности при строительстве линий электропередачи и производстве электромонтажных работ. - М.: АООТ "Проектэнергомаш", 1997.
41 Правила устройства и безопасной эксплуатации грузоподъемных кранов. - М.: Недра, 1985.
42 Правила проектирования, строительства и эксплуатации волоконно-оптических линий связи на воздушных линиях электропередачи напряжением 110 кВ и выше. - М.: 1999.
43 РД 34.03.603. Правила применения и испытания средств защиты, используемых в электроустановках, технические требования к ним. 9-е изд. - М.: Госэнергонадзор, 1993.
44 Правила приемки в эксплуатацию энергообъектов электростанций, электрических и тепловых сетей после технического перевооружения: ПР 34-70-002-83. - М.: СПО Союзтехэнерго, 1983.
45 Правила охраны электрических сетей напряжением до 1000 вольт. - М.: СЦНТИ ОРГРЭС, 1972.
46 Правила устройства воздушных линий электропередачи напряжением до 1 кВ с самонесущими изолированными проводами (ПУ ВЛИ до 1 кВ). /Утв. Департаментом электрических сетей РАО "ЕЭС России" 19.09.94. - М.: АО "РОСЭП", 1998.
47 Правила устройства воздушных линий электропередачи напряжением до 6 - 20 кВ с защищенными проводами (ПУ ВЛЗ 6 - 20 кВ). Утв. Минтопэнерго РФ 08.10.98. - М.: АО "РОСЭП", 1998.
48 Руководство по строительству линейных сооружений местных сетей связи. - М.: Минсвязи России, 1996.
49 Руководство по приемке в эксплуатацию линейных сооружений проводной связи и проводного вещания. - М.: Минсвязи России, 1990.
50 Единое руководство по составлению исполнительной документации на законченные строительством линейные сооружения проводной связи. - М.: Минсвязи России, 1991.
51 РД 34.20.504-94. Типовая инструкция по эксплуатации воздушных линий электропередачи напряжением 35 - 800 кВ. - М.: СПО ОРГРЭС, 1996.
52 Типовая инструкция по охране труда для электромонтажников. - М.: Минсвязи России, 1995.
53 РД 34.20.561-92. Типовая инструкция по предотвращению и ликвидации аварий в электрической части энергосистем. - М.: СПО ОРГРЭС, 1992.
54 РД 34.51.101-90. Инструкция по выбору изоляции электроустановок. - М.: СПО Союзтехэнерго, 1990.
55 РД 34.20.184-91. Методические указания по районированию территорий энергосистем и трасс ВЛ по частоте повторяемости и интенсивности пляски проводов. - М.: СПО ОРГРЭС, 1993.
56 Методические указания по обследованию ВЛ 35 кВ и выше, подлежащих техническому перевооружению, реконструкции и модернизации. - М.: Энергосетьпроект, 1993.
57 О перспективе использования волоконно-оптического кабеля, подвешенного на опорах высоковольтной линии электропередачи, для организации магистральных и зональных сетей связи: Решение ГКЭС при Минсвязи России. - М.: 1993.
58 РД 153-34.3-20.671-97. Типовая инструкция по эксплуатации воздушных линий электропередачи напряжением до 0,38 кВ с самонесущими изолированными проводами. - М.: АО "РОСЭП", 1998.
59 РД 45.155-2000. Заземление и выравнивание потенциалов аппаратуры ВОЛП на объектах проводной связи. - М.: 2000.
60 Методические указания по монтажу ВЛ 6 - 20 кВ с защищенными проводами. - М.: СПО ОРГРЭС, 2000.
61 РД 34.20.185-94. Инструкция по проектированию городских электрических сетей. - М: Энергоатомиздат, 1994.
62 РД 34.20.561-92. Типовая инструкция по предотвращению и ликвидации аварий в электрической части энергосистем. - М.: СПО ОРГРЭС, 1992.
63 Межотраслевые правила по охране труда при работе на высоте: ПОТ Р М-012-2000. - М.: ЭНАС, 2001.
64 РД 34.03.285-97. Правила безопасности при строительстве линий электропередачи и производстве электромонтажных работ. - М.: АООТ "Проектэнергомаш", 1997.
65 РД 34.20.504-94. Типовая инструкция по эксплуатации воздушных линий электропередачи напряжением 35 - 800 кВ. - М.: СПО ОРГРЭС, 1996.
66 Рекомендации ITU-T (МСЭ-Т) Международного консультативного комитета по телеграфии и телефонии: МСТЭ-Т G.703, G.704, G.707 ÷ G.709, G.712, G.742 ÷ G.745, G.751, G.753, G.754, G.773, G.801, G.811, G.812, G.821 ÷ G.823, G.825, G.826, G.957, G.958.
67 СНиП 2.01.01-82. Строительная климатология и геофизика.
68 СНиП 2.01.07-85. Нагрузки и воздействия.
СОДЕРЖАНИЕ