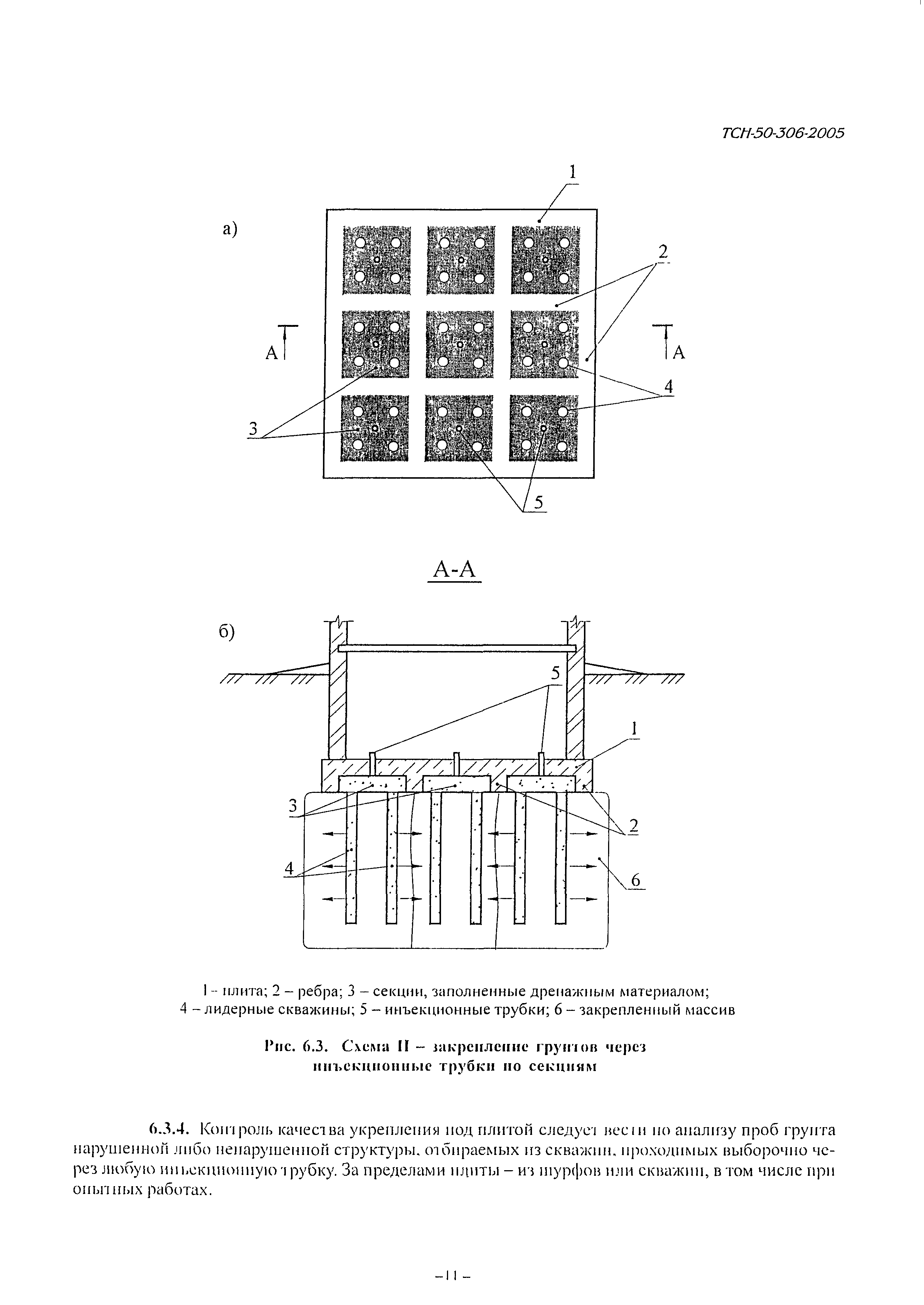
Скачать ТСН 50-306-2005 Основания и фундаменты повышенной несущей способности. Ростовская областьДата актуализации: 01.01.2021
|
| Обозначение: | ТСН 50-306-2005 |
| Обозначение англ: | TSN 50-306-2005 |
| Статус: | введен впервые |
| Название рус.: | Основания и фундаменты повышенной несущей способности. Ростовская область |
| Дата добавления в базу: | 01.09.2013 |
| Дата актуализации: | 01.01.2021 |
| Дата введения: | 28.04.2005 |
| Область применения: | Нормы устанавливают положения по улучшению строительных свойств грунтов в основаниях зданий и сооружений способами инъекции химических растворов, армирования вспененными цементогрунтовыми растворами через направленные гидроразрывы, укрепления химическими и цементными растворами через инъекционные трубки, устанавливаемые в теле фундамента, армирования сваями-инъекторами и буронабивными элементами. |
| Оглавление: | Введение 1 Область применения 2 Нормативные ссылки 3 Термины и определения 4 Общие положения 5 Способы повышения несущей способности грунтов основания фундаментов 6 Особенности проектирования оснований и фундаментов повышенной несущей способности Приложение А. Термины и определения Приложение Б. Конструктивные схемы закрепления, параметры и объемы работ при усилении грунтов инъекций химических растворов Приложение В. Конструктивные схемы закрепления и параметры вспененных цементогрунтовых растворов при армировании оснований через направленные гидроразрывы Приложение Г. Конструктивные схемы и параметры инъецирования при армировании оснований сваями-инъекторами Приложение Д. Методика лабораторного закрепления грунта и его испытания Приложение Е. Расход компонентов на 100 л вспененного цементогрунтового раствора и параметры грунтовой суспензии Приложение Ж. Нормативные значения характеристик цементогрунта и грунта, закрепленного силикатизацией Приложение И. Методика оценки уплотняемости грунта под воздействием давления направленного гидроразрыва Приложение К. Значения коэффициентов для расчетов оснований, укрепленных инъекцией химических растворов Приложение Л. Методика расчета оснований из слабых, сильносжимаемых грунтов, армированных буронабивными элементами Приложение М. Библиография |
| Разработан: | Южное Региональное отделение Российской Академии Архитектуры и Строительных наук НИИ механики и прикладной математики им. И.И. Воровича НИ и ПП ИНТРОФЭК Институт Ростовский Промстройниипроект НПП Фундаментспецпроект Научно-производственная лаборатория Геобезопасность |
| Утверждён: | 28.04.2005 Министерство строительства, архитектуры и жилищно-коммунального хозяйства Ростовской области (59) |
| Нормативные ссылки: |
|






































