Скачать Шифр М24.40/05 Стены, чердачные перекрытия и ограждающие конструкции мансард с применением отражающей теплоизоляции Пенофол и Армофол. Материалы для проектирования и рабочие чертежи узлов

Дата актуализации: 01.01.2021

Шифр М24.40/05

Стены, чердачные перекрытия и ограждающие конструкции мансард с применением отражающей теплоизоляции Пенофол и Армофол. Материалы для проектирования и рабочие чертежи узлов

Обозначение: Шифр М24.40/05
Обозначение англ: М24.40/05
Статус:не определен законодательством
Название рус.:Стены, чердачные перекрытия и ограждающие конструкции мансард с применением отражающей теплоизоляции Пенофол и Армофол. Материалы для проектирования и рабочие чертежи узлов
Дата добавления в базу:01.09.2013
Дата актуализации:01.01.2021
Дата введения:14.02.2006
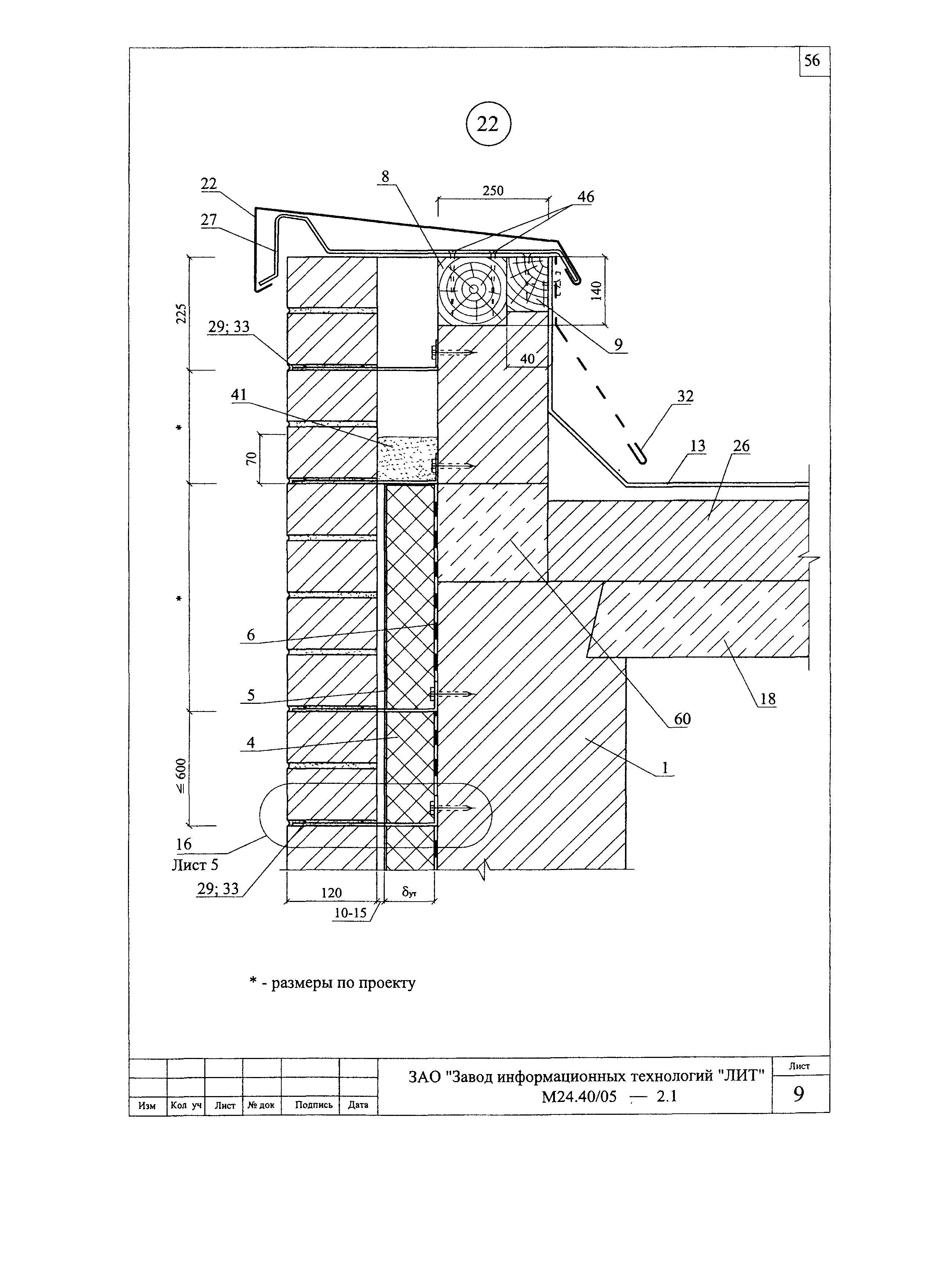
Область применения:Альбом содержит материалы для проектирования и рабочие чертежи трехслойных стен, стен колодцевой кладки, однослойных кирпичных стен, деревянных брусчатых и каркасных стен, чердачных перекрытий и ограждающих конструкций мансард с применением отражающих экранов из Пенофола и Армофола.
Оглавление:Пояснительная записка
1. Общие положения
2 Теплоизоляция
3. Нормы теплозащиты и данные по толщине теплоизоляции
   Конструктивные решения стен
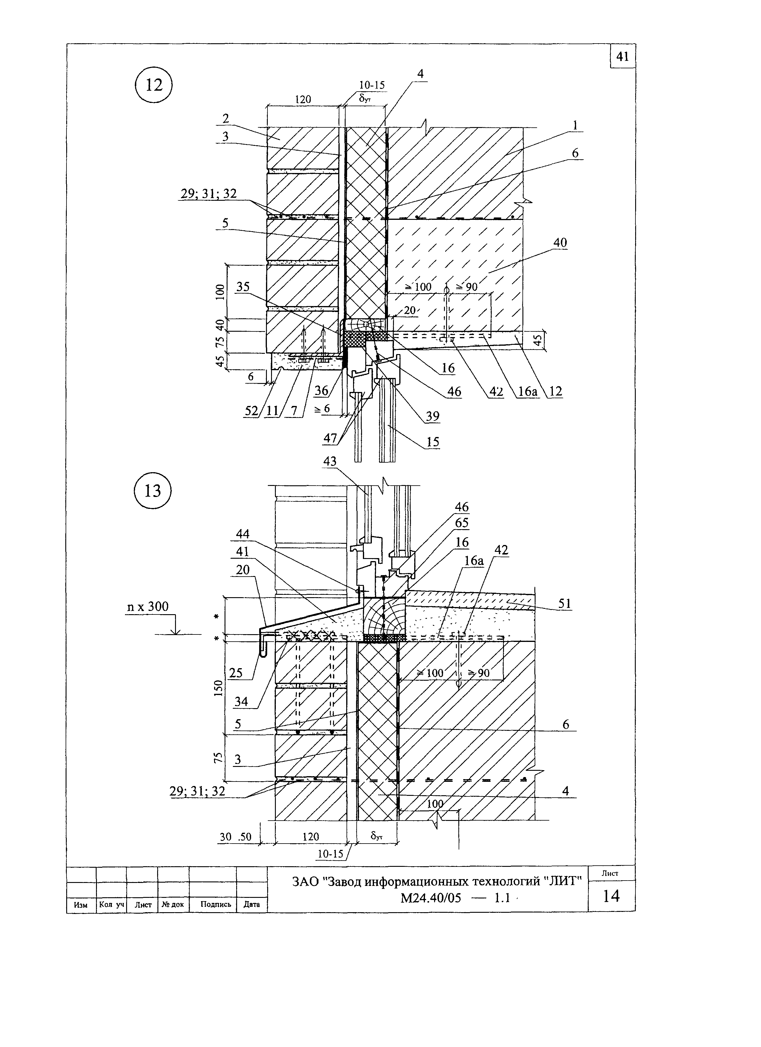
4. Стены многослойные с минераловатной теплоизоляцией с наклеенным слоем Пенофола или Армофола
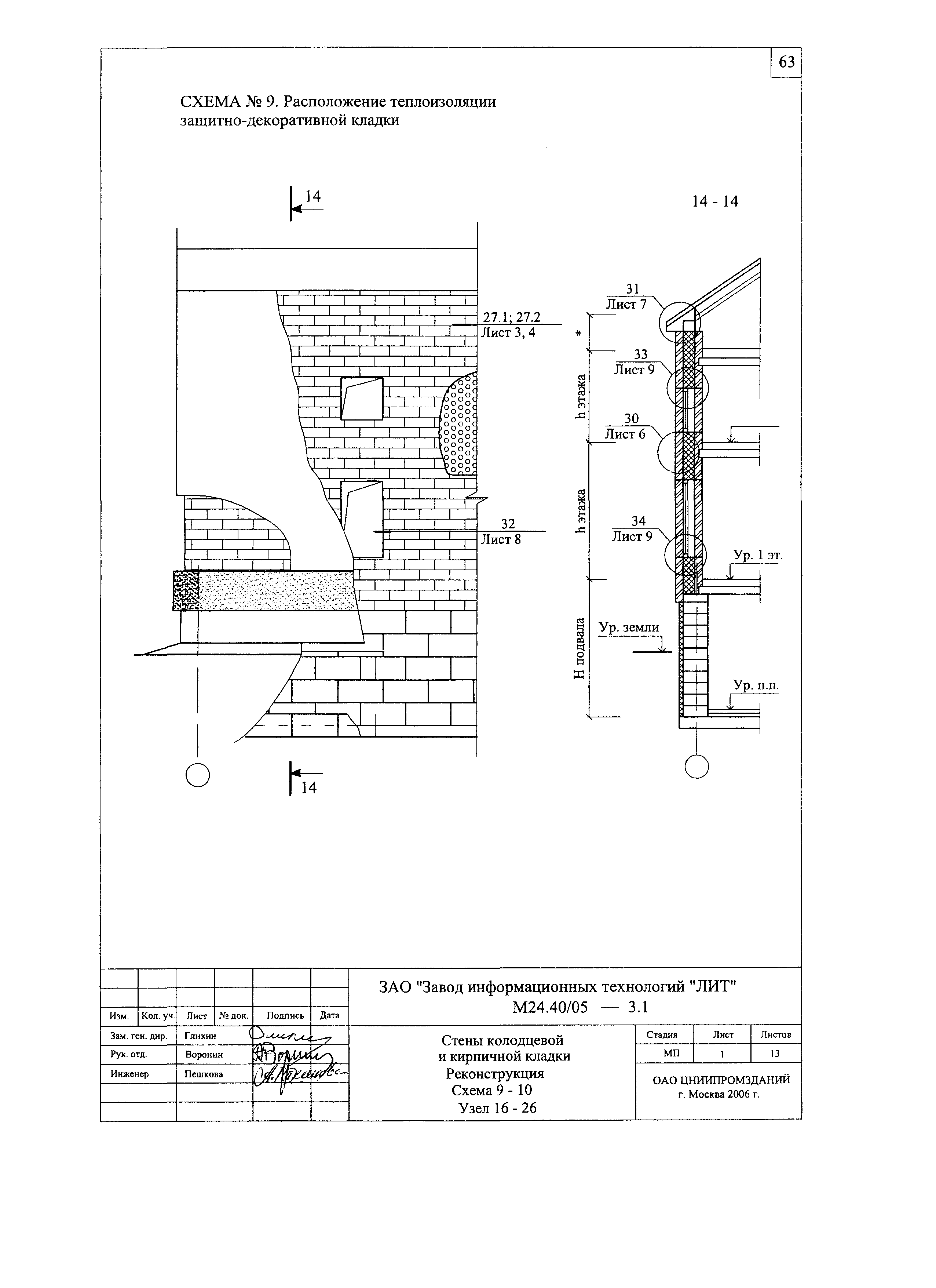
5. Стены колодцевой кладки и однослойные кирпичные
6. Стены деревянные из бруса
7. Ограждающие конструкции мансард
8 Конструктивные решения чердачного перекрытия
Раздел 1. Стены с отделочным слоем из кирпича. Новое строительство.
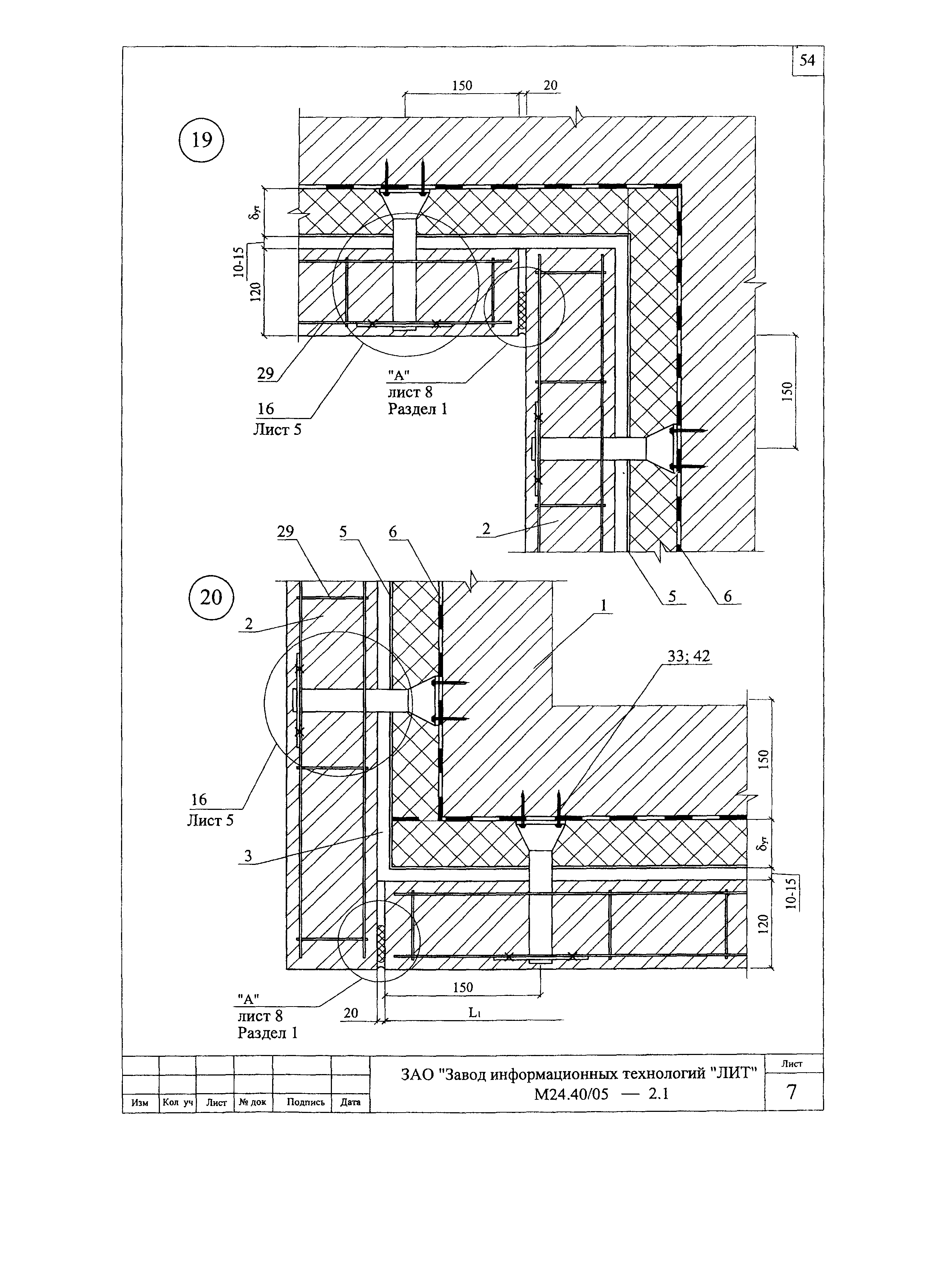
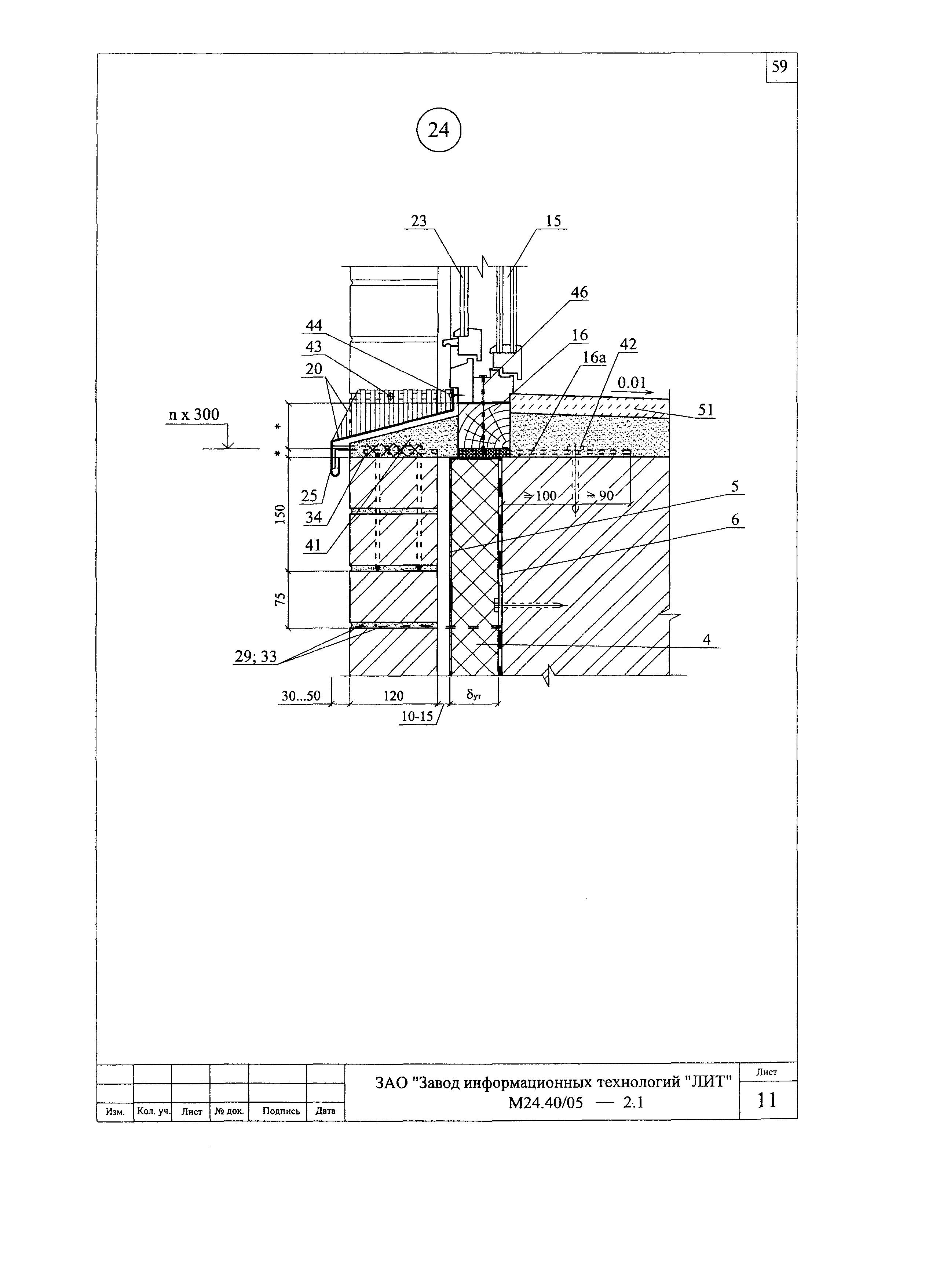
Раздел 2. Стены с отделочных слоем из кирпича. Реконструкция.
Раздел 3. Стены колодцевой и кирпичной кладки. Реконструкция.
Раздел 4. Стены деревянные из бруса. Новое строительство и реконструкция.
Раздел 5. Стены деревянные каркасные. Новое строительство
Раздел 6. Ограждающие конструкции мансард.
Раздел 7. Чердачные перекрытия.
Приложения
Приложение 1. Пример расчета повышения теплозащиты стены
Приложение 2. Пример расчета парозащиты стены
Разработан: ОАО ЦНИИпромзданий
Утверждён: ОАО ЦНИИпромзданий (TsNIIpromzdaniy OAO )
Нормативные ссылки:
Шифр М24.40/05Шифр М24.40/05Шифр М24.40/05Шифр М24.40/05Шифр М24.40/05Шифр М24.40/05Шифр М24.40/05Шифр М24.40/05Шифр М24.40/05Шифр М24.40/05Шифр М24.40/05Шифр М24.40/05Шифр М24.40/05Шифр М24.40/05Шифр М24.40/05Шифр М24.40/05Шифр М24.40/05Шифр М24.40/05Шифр М24.40/05Шифр М24.40/05Шифр М24.40/05Шифр М24.40/05Шифр М24.40/05Шифр М24.40/05Шифр М24.40/05Шифр М24.40/05Шифр М24.40/05Шифр М24.40/05Шифр М24.40/05Шифр М24.40/05Шифр М24.40/05Шифр М24.40/05Шифр М24.40/05Шифр М24.40/05Шифр М24.40/05Шифр М24.40/05Шифр М24.40/05Шифр М24.40/05Шифр М24.40/05Шифр М24.40/05Шифр М24.40/05Шифр М24.40/05Шифр М24.40/05Шифр М24.40/05Шифр М24.40/05Шифр М24.40/05Шифр М24.40/05Шифр М24.40/05Шифр М24.40/05Шифр М24.40/05Шифр М24.40/05Шифр М24.40/05Шифр М24.40/05Шифр М24.40/05Шифр М24.40/05Шифр М24.40/05Шифр М24.40/05Шифр М24.40/05Шифр М24.40/05Шифр М24.40/05Шифр М24.40/05Шифр М24.40/05Шифр М24.40/05Шифр М24.40/05Шифр М24.40/05Шифр М24.40/05Шифр М24.40/05Шифр М24.40/05Шифр М24.40/05Шифр М24.40/05Шифр М24.40/05Шифр М24.40/05Шифр М24.40/05Шифр М24.40/05Шифр М24.40/05Шифр М24.40/05Шифр М24.40/05Шифр М24.40/05Шифр М24.40/05Шифр М24.40/05Шифр М24.40/05Шифр М24.40/05Шифр М24.40/05Шифр М24.40/05Шифр М24.40/05Шифр М24.40/05Шифр М24.40/05Шифр М24.40/05Шифр М24.40/05Шифр М24.40/05Шифр М24.40/05Шифр М24.40/05Шифр М24.40/05Шифр М24.40/05Шифр М24.40/05Шифр М24.40/05Шифр М24.40/05Шифр М24.40/05Шифр М24.40/05Шифр М24.40/05