|
|
ОБЩЕСТВО
С ОГРАНИЧЕННОЙ |
Адрес: 660111, Российская Федерация, г. Красноярск, уд. Пограничников, д. 37, строение 1
|
Утверждаю: Генеральный
директор ____________ Д.Н. Макаров |
ПРОМЫШЛЕННЫЕ
ВЫБРОСЫ
ЗАГРЯЗНЯЮЩИХ ВЕЩЕСТВ В АТМОСФЕРУ
МЕТОДИКА ИЗМЕРЕНИЙ МАССОВОЙ КОНЦЕНТРАЦИИ
ОКСИДА АЛЮМИНИЯ
В ГАЗАХ ОРГАНИЗОВАННЫХ ИЗА
МИ ПрВ-2016/1
Взамен МВИ № ПрВ 2008/1
|
Директор
департамента экологии ОП __________________________ В.С. Буркат |
Санкт-Петербург,
Красноярск
2016
Предисловие
1 РАЗРАБОТАНА Департаментом экологии общества с ограниченной ответственностью «Объединенная компания РУСАЛ ИТЦ», адрес: 199106, г. Санкт-Петербург, Средний проспект В.О., 86.
2 ВЗАМЕН МВИ № ПрВ 2008/1 «Методика выполнения измерений массовой концентрации оксида алюминия в промышленных выбросах организованного отсоса электролизных корпусов производства алюминия» (свидетельство об аттестации МВИ № 242/16-08 от 29.02.2008 г., выдано «ВНИИМ им. Д.И. Менделеева»)
3 АТТЕСТОВАНА Федеральным Государственным унитарным предприятием «Всероссийский научно-исследовательский институт метрологии им. Д.И. Менделеева» (аттестат аккредитации № (01.00250), адрес: 190005, Россия, г. Санкт-Петербург, Московский пр., 19. Свидетельство об аттестации методики измерений № 742/242-(01.00250)-2016. Регистрационный код методики измерений в Федеральном информационном фонде по обеспечению единства измерений _______________
СОДЕРЖАНИЕ
1.1 Настоящий документ устанавливает методику измерений массовой концентрации оксида алюминия в пробах промышленных выбросов в атмосферу гравиметрическим методом и фотометрическим методом.
1.2 Методика предназначена для контроля выбросов в атмосферу при производстве алюминия, глинозема и вспомогательных производств.
1.3 Диапазон измерений массовой концентрации оксида алюминия для каждого метода и относительная расширенная неопределенность измерений приведены в таблице 1.
ГОСТ 12.1.007-76 ССБТ Вредные вещества. Классификация и общие требования безопасности.
ГОСТ 12.1.018-93 ССБТ Пожаровзрывобезопасность статического электричества. Общие требования.
ГОСТ 12.1.019-79 ССБТ Электробезопасность. Общие требования и номенклатура видов защиты.
ГОСТ 12.1.004-91 ССБТ Пожарная безопасность. Общие требования.
ГОСТ Р 8.563-2009 ГСИ. Методики выполнения измерений
ГОСТ Р 52361-2005 Контроль объекта аналитический. Термины и определения
ГОСТ 53228-2008 Весы неавтоматического действия. Часть 1. Метрологические и технические требования. Испытания.
ГОСТ 7328-82 Гири. Общие технические условия.
ГОСТ 2405-88 Манометры, вакуумметры, мановакуумметры, напоромеры, тягомеры и тягонапоромеры. Общие технические условия.
ГОСТ 28498-90 Термометры жидкостные стеклянные. Общие технические требования. Методы испытаний.
ГОСТ 1770-74 Посуда мерная лабораторная стеклянная. Цилиндры, мензурки, колбы, пробирки. Общие технические условия.
ГОСТ 29227-91 Посуда лабораторная стеклянная. Пипетки градуированные. Часть 1. Общие требования.
ГОСТ 29169-91 Посуда лабораторная стеклянная. Пипетки с одной отметкой
ГОСТ 25336-82 Посуда и оборудование лабораторные стеклянные. Типы, основные параметры и размеры
ГОСТ 61-75 Реактивы. Кислота уксусная. Технические условия
ГОСТ 83-79 Реактивы. Натрий углекислый. Технические условия
ГОСТ 199-78 Реактивы. Натрий уксуснокислый 3-водный. Технические условия
ГОСТ 3117-78 Аммоний уксуснокислый. Технические условия
ГОСТ 3118-77 Реактивы. Кислота соляная. Технические условия
ГОСТ 3758-75 Алюминий сернокислый 18-водный. Технические условия
ГОСТ 8984-75 Силикагель - индикатор. Технические условия
ГОСТ 4108-72 Барий хлорид 2-водный. Технические условия
ГОСТ 4204-77 Реактивы. Кислота серная. Технические условия
ГОСТ 4220-75 Калий двухромово-кислый. Технические условия
ГОСТ 4328-77 Реактивы. Натрия гидроокись. Технические условия
ГОСТ 4461-77 Кислота азотная. Технические условия
ГОСТ 6563-75 Изделия технические из благородных металлов и сплавов. Технические условия
ГОСТ 3760-79 Реактивы. Аммиак водный. Технические условия
ГОСТ 6691-77 Реактивы. Карбамид. Технические условия
ГОСТ 6709-72 Вода дистиллированная. Технические условия
ГОСТ 9656-75 Кислота борная. Технические условия
ГОСТ 3399-76 Трубки медицинские резиновые. Технические условия
ГОСТ 14919-83 Электроплиты, электроплитки и жарочные электрошкафы бытовые. Общие технические условия
ГОСТ 16286-84 Преобразователи потенциометрические ГСП. Электроды вспомогательные промышленные. Технические условия
ГОСТ 18300-87 Спирт этиловый ректификованный технический. Технические условия
ГОСТ 17.2.4.06-90 Охрана природы. Атмосфера. Методы определения скорости и расхода газопылевых потоков, отходящих от стационарных источников загрязнения
ГОСТ 17.2.4.07-90 Охрана природы. Атмосфера. Методы определения давления и температуры газопылевых потоков, отходящих от стационарных источников загрязнения
Примечание - При пользовании настоящей методики измерений целесообразно проверить действие ссылочных стандартов в информационной системе общего пользования - для внутренней документации на заводском сервере, для внешней документации по ежегодно издаваемому информационному указателю «Национальные стандарты». Если ссылочный документ заменен (изменен), то при пользовании настоящей МИ следует руководствоваться замененным (измененным) документом.
Термины и определения, используемые в настоящей методике, соответствуют приведенным в ГОСТ Р 8.563 и ГОСТ Р 52361.
4.1 Диапазон измерений массовой концентрации оксида алюминия и относительная расширенная неопределенность приведены в таблице 1.
Таблица 1 - Метрологические характеристики
|
Метод измерений |
Диапазон измерений массовой концентрации оксида алюминия, С, мг/м3 |
Относительная
расширенная неопределенность измерений при коэффициенте охвата k =2 |
|
Фотометрический |
От 0,12 до 250 включ. |
25 |
|
Гравиметрический |
От 250 до 550 включ. |
25 |
Примечание:
1 Относительная расширенная неопределенность измерений при коэффициенте охвата k = 2.1 соответствует границам относительной суммарной погрешности измерений (±δ, %).
2 Массовая концентрация оксида алюминия приведена к нормальным условиям: Т0 = 273 К, Р0 = 760 мм рт. ст., сухой газ.
3 Результат измерений (С, мг/м3) формируется на основе анализа одной отобранной пробы.
________
1 Количественное описание неопределенности в аналитических измерениях. Руководство. ЕВРАХИМ/СИТАК, 2-ое издание, С-Пб, 2002.
4.2 Метрологические характеристики методики соответствуют обязательным метрологическим требованиям, указанным в Приказе Министерства природных ресурсов и экологии РФ № 425 от 07.12.2012 г.
5.1.1 Весы лабораторные общего назначения с пределами допускаемой погрешности не более ±1,0 мг по ГОСТ Р 53228
5.1.2 Гири по ГОСТ 7328.
5.1.3 Вакуумметр пружинный типа ВП2-У (номер в госреестре 10135-05) по ГОСТ 2405, диапазон от -1 до 0 кгс/см2, класс точности 1,5.
5.1.4 Термометр контактный цифровой типа ТК-5.11 (номер в госреестре 17192-05), диапазон измерений от -40 °С до 100 °С, с пределами допускаемой погрешности ±0,5 °С, диапазон измерений свыше 100 °С, пределы допускаемой погрешности ±(0,5 + Р2).
________
2 Р - единица наименьшего разряда.
5.1.5 Ротаметр типа ЭМИС-МЕТА 210Р (номер в госреестре 48744-11), диапазон от 2 до 20 дм3/мин, пределы допускаемой погрешности ±4 %.
5.1.6 Метеометр типа МЭС-200А (номер в госреестре 17976-98), диапазон измерений от 80 до 110 кПа, с пределами допускаемой погрешности ±0,3 кПа при температуре от 0 до 60 °С и ±1,0 кПа при температуре от -20 до 0 °С.
5.1.7 Секундомер механический не ниже 3 класса точности, цена деления секундной шкалы 0,2 с, пределы допускаемой погрешности ±4,8 с.
5.1.8 Аспирационное устройство для отбора проб воздуха типа АЦ-2С (номер в госреестре 56617-14) или аналогичное, с пределом допускаемой погрешности не более ±5 %.
5.1.9 Манометр дифференциальный цифровой типа ДМЦ-01О (номер в госреестре 15594-06), диапазон измерений от 0 до 10000 Па, с пределами допускаемой погрешность ±3 Па при давлении от 0 до 500 Па и ±(1 ± 0,005Р3) Па при давлении от 500,1 до 10000 Па.
________
3 Р - единица наименьшего разряда.
5.1.10 Колбы мерные, 2-100-2, 2-200-2, 2-250-2, 2-500-2, 2-1000-2 пределы допускаемой погрешности ±0,20 см3, ±0,30 см3, ±0,30 см3, ±0,50 см3, ±0,80 см3, соответственно, по ГОСТ 1770.
5.1.11 Цилиндры 1-10-2, 1-50-2, 1-100-2, 1-250-2, 1-500-2, 1-1000-2 пределы допускаемой погрешности ±0,20 см3, ±1,00 см3, ±1,00 см3, ±2,00 см3, ±5,00 см3, ±10,00 см3, соответственно, по ГОСТ 1770.
5.1.12 Пипетки мерные градуированные 2-1-2-10, предел допускаемой погрешности ±1,0 см3 по ГОСТ 29227.
5.1.13 Пипетки мерные с отметкой 2-2-1, 2-2-5, 2-2-10, 2-2-20 пределы допускаемой погрешности ±0,015 см3, ±0,03 см3, ±0,04 см3, ±0,06 см3 по ГОСТ 29169.
5.1.14 Мономер универсальный типа анализатора жидкости Анион 4100 (номер в госреестре 20802-06), предел допускаемой основной абсолютной погрешности измерения ЭДС ±2 мВ, предел допускаемой основной абсолютной погрешности измерения pH (рХ) ±0,02 ед. pH по ТУ ИНФА.421522.002.
5.1.15 Электрод стеклянный типа ЭСК-10601 (номер в госреестре 16767-08), отклонение водородной характеристики от линейности в диапазоне измерений pH и температуре раствора 20 °С не более 0,2 pH по ТУ 4215-004-35918409-2009.
5.1.16 Спектрофотометр позволяющий измерять оптическую плотность при λ = 535 нм, например, Unico 2800 (номер в госреестре 54737-13), допустимая погрешность установки длины волны ±1,0 нм.
Примечание - Допускается применение других средств измерений утвержденного типа, прошедших поверку (п. 1 ст. 5 102-ФЗ), с метрологическими характеристиками не выше указанных. Применяемые средства измерений должны иметь клеймо или свидетельство о поверке.
5.2.1 Тарированная пневмометрическая трубка по приложению А.
5.2.2 Трубки резиновые медицинские или полиэтиленовые диаметром 6 мм по ГОСТ 3399.
5.2.3 Сушильный шкаф с терморегулятором, обеспечивающий температуру нагрева до (105 ± 10) °С типа LOIP LF по ТУ 4389-005-44330709-2009.
5.2.4 Пробоотборная трубка по приложению Б.
5.2.5 Ловушки по приложению В.
5.2.6 Поглотитель Рыхтера по приложению Г.
5.2.7 Плитка электрическая бытовая по ГОСТ 14919.
5.2.8 Воронка В-75-140 ХС ГОСТ 25336.
5.2.9 Фильтры обеззоленые «Синяя лента» диаметром 110 мм по ТУ 2642-001-42624157-98.
5.2.10 Фильтры обеззоленые «Белая лента» диаметром 70 мм по ТУ 2642-001-42624157-98.
5.2.11 Силикагель-индикатор по ГОСТ 8984.
5.2.12 Колбы конические вместимостью 200 см3 по ГОСТ 25336.
5.2.13 Стаканы В-1-100, В-1-200, В-1-250, В-1-1000 по ГОСТ 25336.
5.2.14 Тигли платиновые по ГОСТ 6563.
5.2.15 Эксикатор по ГОСТ 25336.
5.2.16 Калька по ГОСТ 892.
5.2.17 Фильтродержатели для фильтров обеззоленных («белая лента») диаметром 70 мм.
5.2.18 Электропечь муфельная с терморегулятором, обеспечивающая температуру нагрева до (1100 ± 20) °С.
Примечание - Допускается использование вспомогательного оборудования и материалов других производителей, изготовленных по другой нормативно-технической документации, в том числе импортных.
5.3.1 Кислота соляная по ГОСТ 3118, хч.
5.3.2 Мочевина по ГОСТ 6691, чда.
5.3.3 Вода дистиллированная по ГОСТ 6709.
5.3.4 Кислота борная по ГОСТ 9656, чда.
5.3.5 Натрий углекислый, безводный по ГОСТ 83, чда.
5.3.6 Аммоний уксуснокислый по ГОСТ 3117, чда.
5.3.7 Алюминий сернокислый по ГОСТ 3758, чда.
5.3.8 Кислота азотная по ГОСТ 4461, хч.
5.3.9 Кислота уксусная, ледяная по ГОСТ 61, хч.
5.3.10 Натрий уксуснокислый трёхводный по ГОСТ 199, чда.
5.3.11 Натрий гидроокись по ГОСТ 4328, хч.
5.3.12 Барий хлористый по ГОСТ 4108, хч.
5.3.13 Спирт этиловый по ГОСТ 18300.
5.3.14 Силикагель по ГОСТ 3956.
5.3.15 Калий двухромовокислый по ГОСТ 4220, хч.
5.3.16 Эриохромцианин Р (ЭХЦ Р), имп., например производство фирмы Merck KGaA (Германия), кат. № 7-01895.
5.3.17 Кислота аскорбиновая, имп., например производство фирмы Merck KGaA (Германия), кат. № 7-12725.
5.3.18 Аммиак водн. по ГОСТ 3760, чда.
Примечание - Допускается использование реактивов аналогичной или более высокой квалификации, изготовленных по другой нормативно-технической документации, в том числе импортных.
5.4.1 Стандартный образец состава раствора ионов алюминия, 1,0 г/дм3 ГСО 7854, границы относительной погрешности аттестованного значения ±1,0 %, при Р = 0,95.
Примечание - Допускается использование стандартных образцов с аналогичными метрологическими характеристиками, изготовленных по другой нормативно-технической документации, в том числе импортных.
Метод измерения основан на проведении следующих операций:
- отбор пробы газопылевой смеси с использованием фильтра «белая лента», при этом определяются параметры объекта анализа и отобранной пробы, регистрируется объемный расход газа при отборе пробы;
- удаление мешающих компонентов, уловленных фильтром при отборе пробы: мешающими компонентами являются фторсодержащие вещества, которые удаляют путем растворения их в растворе сернокислого алюминия и соляной кислоты при нагревании, оксид алюминия отделяют от остальных компонентов путем фильтрации;
- подготовка тигля, установление его массы;
- озоление фильтра в тигле и доведение сухого остатка (оксида алюминия) до постоянной массы;
- вычисление массы оксида алюминия в отобранной пробе;
- выбор метода определения оксида алюминия: если масса оксида алюминия, полученного после озоления фильтра, больше 10 мг - гравиметрический метод, если масса оксида алюминия меньше 10 мг - фотометрический метод;
- при выборе фотометрического метода оксид алюминия, полученный после озоления фильтра, переводят в раствор и фотометрируют окрашенное в красно-фиолетовый цвет комплексное соединение алюминия с эриохромцианином Р, влияние железа устраняют добавлением аскорбиновой кислоты, массу оксида алюминия определяют с помощью градуировочной характеристики, установленной по градуировочным растворам, приготовленным из ГСО;
- вычисление отобранного объема газовой пробы и приведение его к нормальным условиям;
- вычисление массовой концентрации оксида алюминия в пробе анализируемого объекта, как отношения массы оксида алюминия в пробе к объему пробы, приведенному к нормальным условиям (результат измерений).
7.1 При подготовке и выполнении измерений необходимо соблюдать требования охраны труда для операторов при работе с химическими реактивами по ГОСТ 12.1.007 и ГОСТ 12.1.018, правила пожарной безопасности по ГОСТ 12.1.004, предусмотренные инструкциями, утвержденными в установленном порядке.
7.2 К работе по обслуживанию и эксплуатации приборов допускаются лица, ознакомленные с общими требованиями охраны труда по ГОСТ 12.1.019 и имеющие допуск по электробезопасности не ниже 2 квалификационной группы.
7.3 Помещение подготовки проб к измерению должно иметь постоянно действующую приточно-вытяжную вентиляцию с не менее чем трехкратным воздухообменом в час.
К выполнению измерений и обработке их результатов допускаются лица, имеющие высшее или среднее химическое образование, прошедшие инструктаж, освоившие метод в процессе тренировки.
9.1 При выполнении измерений массовой концентрации оксида алюминия в лаборатории должны быть соблюдены следующие условия работы
9.1.1 Температура окружающей среды (20 ± 5) °С.
9.1.2 Относительная влажность воздуха - не более 80 % при температуре 25 °С.
9.1.3 Напряжение питания (220 ± 22) В.
9.1.4 Частота переменного тока (50 ± 1) Гц.
9.1.5 Атмосферное давление от 84 до 106,7 кПа (от 630 до 800 мм рт. ст.)
9.2 Параметры газовоздушной смеси в газоходе
9.2.1 Температура газопылевой смеси не выше 150 °С.
9.2.2 Разряжение (давление) газа в газоходе от -10 кПа до 10 кПа.
9.2.3 Присутствие капельной влаги недопустимо.
9.2.4 Линейная скорость газопылевого потока от 4 до 20 м/с.
9.3 Условия и параметры отбора проб
9.3.1 Отбор производится при температуре окружающей среды от -10 °С до 40 °С
9.3.2 Объёмный расход 3 до 15 дм3/мин.
9.3.3 Продолжительность отбора в соответствии с ГОСТ 17.2.3.02-78.
Примечание - Проводить отбор проб в дождь запрещается.
Стеклянную посуду заливают на 1 час хромовой смесью. Затем промывают водопроводной водой, ополаскивают дистиллированной водой. Операция считается выполненной, если на стенках посуды не образуются отдельные капли и вода оставляет равномерную тончайшую пленку.
Перед каждым отбором пробы в герметичный сосуд засыпают сухой индикаторный силикагель, окрашенный в синий цвет. Насыщенный порами воды силикагель окрашивается в розовый цвет. После отбора насыщенный силикагель регенерируют нагреванием при температуре не выше 150 °С.
10.3.1 Алюминий сернокислый, раствор с массовой долей 10 %
Навеску алюминия сернокислого массой 195 г помещают в стакан вместимостью 1000 см3, добавляют 805 см3 дистиллированной воды, перемешивают до полного растворения.
Срок хранения в стеклянной посуде один год.
10.3.2 Барий хлористый, раствор с массовой долей 10 %
Навеску хлористого бария массой 10 г помещают в стакан вместимостью 200 см3, добавляют 90 см3 дистиллированной воды, перемешивают до полного растворения.
Срок хранения в стеклянной посуде один год.
10.3.3 Соляная кислота, раствор с массовой долей 1 %
8 см3 концентрированной соляной кислоты (ρ = 1,18 г/см3) растворяют в 1000 см3 дистиллированной воды.
Срок хранения в стеклянной или полимерной один год.
10.3.4 Кислота азотная, раствор 1:1
50 см3 концентрированной азотной кислоты (ρ = 1,4 г/см3) смешивают с 50 см3 дистиллированной воды.
Срок хранения в стеклянной посуде один год.
10.3.5 Эриохромцианин Р, раствор с массовой долей 0,07 %
Навеску эриохромцианина Р массой 0,70 г помещают в стакан вместимостью 100 см3, добавляют 2 см3 раствора азотной кислоты 1:1, перемешивают в течение 2 минут до полного растворения, добавляют 60 см3 дистиллированной воды, 0,3 г мочевины, перемешивают и выдерживают сутки в темном месте. Раствор фильтруют через плотный фильтр («синяя лента») в мерную колбу вместимостью 1000 см3, доливают до метки водой и перемешивают.
Раствор хранят в темной стеклянной емкости или в защищенном от света месте не более 1 месяца.
10.3.6 Аскорбиновая кислота, раствор с массовой концентрацией 10 мг/см3
Навеску аскорбиновой кислоты массой 1,0 г помещают в мерную колбу вместимостью 100 см3 и доводят до метки дистиллированной водой.
Готовят перед применением.
10.3.7 Буферный раствор (рН = 6,0)
В мерную колбу вместимостью 1000 см3 помещают 18 г трёхводного уксуснокислого натрия и 45 г уксуснокислого аммония и доводят объём дистиллированной водой до метки.
Проверяют pH приготовленного раствора потенциометрически с использованием стеклянного электрода. При необходимости pH раствора корректируют, добавляя раствор уксусной кислоты концентрацией 1:1 приготовленный по 10.3.10 или раствор аммиака приготовленный по 10.3.11.
Срок хранения раствора в темной стеклянной посуде 90 дней.
10.3.8 Исходный раствор с массовой концентрацией ионов алюминия 0,005 мг/см3, свежеприготовленный
1,0 см3 раствора ГСО 7854, отобранного при помощи пипетки мерной с отметкой, вместимостью 1 см3, помещают в мерную колбу вместимостью 200 см3 и доводят до метки дистиллированной водой.
10.3.9 Гидроокись натрия, раствор с молярной концентрацией 0,5 моль/дм3
Навеску натрия гидроокиси массой 20 г помещают в мерную колбу вместимостью 1000 см3 и доводят до метки дистиллированной водой.
Срок хранения в полимерной посуде один год.
10.3.10 Кислота уксусная, раствор 1:1
В 50 см3 дистиллированной воды, медленно заливают 50 см3 уксусной кислоты, постоянно перемешивая.
Срок хранения в полимерной или стеклянной посуде не ограничен.
В 50 см3 дистиллированной воды, заливают 50 см3 аммиака, постоянно перемешивая.
Срок хранения в плотно закрытой полимерной или стеклянной посуде один год.
10.4.1 Подготовку спектрофотометра к работе осуществляют согласно руководству по эксплуатации и/или паспорту.
10.4.2 Построение кривой насыщения
Необходимое количество ЭХЦ Р в см3 находят с помощью кривой насыщения, которую строят для каждой партии реактива. Приготовление необходимых растворов проводят в мерных колбах вместимостью 100 см3 согласно таблице 2.
Таблица 2 - Приготовление растворов для построения кривой насыщения
|
Наименование |
Номер раствора, i |
||||
|
1 |
2 |
3 |
4 |
5 |
|
|
Объём исходного раствора ионов алюминия, см3, приготовленного по 10.3.8 |
5,0 |
5,0 |
5,0 |
5,0 |
5,0 |
|
Объём дистиллированной воды, см3 |
по 25,0 |
||||
|
Объём аскорбиновой кислоты, см3 |
по 2,0 |
||||
|
Объём ЭХЦ R, см3 |
3,0 |
5,0 |
8,0 |
10,0 |
15,0 |
|
Объём буферного раствора, см3 |
по 10,0 |
||||
|
Объём дистиллированной воды, см3 |
раствор доводят до метки |
||||
Примечание - После добавления гидроокиси натрия pH раствора должен находится в диапазоне от 4,0 до 6,5. При освоении методики данный показатель можно контролировать потенциометрически с использованием стеклянного электрода.
После добавления ЭХЦ Р раствор выдерживают 5 минут.
После добавления буферного раствора полученный раствор выдерживают 5 минут и проводят измерения в течение 5 минут. Одновременно готовят 6 растворов сравнения, не содержащих ионы алюминия. В 6 колб вместимостью 100 см3 приливают по 30 см3 дистиллированной воды. Далее с растворами проводят все операции в соответствии с таблицей 2.
Оптическую плотность каждого раствора измеряют по соответствующему раствору сравнения при длине волны 535 нм в кюветах с толщиной поглощающего слоя 10 мм. По полученным значениям оптических плотностей (ось Y) и количествам добавленного ЭХЦ Р (ось X) строят график, по которому устанавливают количество ЭХЦ Р, см3, необходимое для построения градуировочной характеристики и проведения измерений, исходя из того, что при насыщении оптическая плотность не меняется в зависимости от количества добавляемого ЭХЦ Р.
10.4.2 Построение градуировочной характеристики (ГХ)
10.4.2.1 Градуировочную характеристику, выражающую зависимость величины оптической плотности раствора от массы ионов алюминия, устанавливают по трём сериям градуировочных растворов.
Градуировочные растворы готовят в мерных колбах вместимостью 100 см3 согласно таблице 3.
Таблица 3 - Приготовление градуировочных растворов для построения ГХ
|
Наименование |
Номер градуировочного раствора в серии, i |
|||||
|
0 |
1 |
2 |
3 |
4 |
5 |
|
|
Объём исходного раствора, см3 |
0 |
1,0 |
2,0 |
3,0 |
4,0 |
5,0 |
|
Объём дистиллированной воды, см3 |
30,0 |
29,0 |
28,0 |
27,0 |
26,0 |
25,0 |
|
Объём аскорбиновой кислоты, см3 |
по 2,0 |
|||||
|
Объём ЭХЦ R, см3 |
установленный по кривой насыщения |
|||||
|
Объём буферного раствора, см3 |
по 10,0 |
|||||
|
Объём дистиллированной воды, см3 |
раствор доводят до метки |
|||||
|
Масса ионов алюминия в растворе, мг |
0 |
0,005 |
0,010 |
0,015 |
0,020 |
0,025 |
После добавления аскорбиновой кислоты раствор выдерживают 5 минут.
В колбу с раствором добавляют от 4 до 6 капель гидроокиси натрия, приготовленной по 10.3.9.
Примечание - После добавления гидроокиси натрия pH раствора должен находится в диапазоне от 4,0 до 6,5. При освоении методики данный показатель можно контролировать потенциометрически с использованием стеклянного электрода.
При работе с пробами перед нейтрализацией в колбу с раствором помещают индикаторную бумагу конго красная и нейтрализуют его раствором едкого натра до темно-красной окраски индикаторной бумаги (собственный цвет индикаторной бумаги).
Примечание - После добавления гидроокиси натрия pH раствора должен находится в диапазоне от 4,0 до 6,5. При освоении методики данный показатель можно контролировать потенциометрически с использованием стеклянного электрода.
После добавления ЭХЦ Р раствор выдерживают 5 минут.
После добавления буферного раствора полученный раствор выдерживают 5 минут и проводят измерения оптической плотности растворов в течение 5 минут.
Измерение оптической плотности градуировочных растворов производят на спектрофотометре при длине волны 535 нм в кюветах с толщиной поглощающего слоя 10 мм по отношению к раствору сравнения.
10.4.2.2 Измеряют оптическую плотности i-го градуировочного раствора по трем сериям. Находят среднее арифметическое значение оптической плотности i-го градуировочного раствора.
Результаты измерений оптической плотности каждого раствора признают приемлемыми при выполнении условия:
где
и
- оптическая плотность i-го
градуировочного раствора по трем сериям, максимальное и минимальное значения
соответственно;
- оптической плотности i-го
градуировочного раствора, среднее арифметическое значение по трем сериям;
dD - норматив для проверки приемлемости измерений оптической плотности, %, при Р = 0,95;
dD = 16 %.
10.4.2.3 Устанавливают градуировочную характеристику, которая описывается линейным уравнением:
|
(2) |
где m - масса ионов алюминия в анализируемом растворе, мг;
D - оптическая плотность анализируемого раствора;
А и В - коэффициенты.4
________
4 Обработку полученных результатов допускается производить на ПК с использованием программных приложений позволяющих автоматически получать требуемое уравнение, например Microsoft Office Excel, Curve Expert, Maple и др.
Допускается расчет линейной зависимости по методу наименьших квадратов. В этом случае коэффициенты А и В рассчитывают по формулам:
|
|
(3.1) |
10.4.2.4 Проверка приемлемости градуировочной характеристики (ГХ)
Проверяют отклонение среднего арифметического значения оптической плотности i-го градуировочного раствора по трем сериям от соответствующего значения оптической плотности градуировочной характеристики.
Градуировочную характеристику признают приемлемой при выполнении условия:
|
|
(3) |
где
- среднее арифметическое значение
оптической плотности i-го градуировочного раствора по трем сериям;
- значение оптической плотности
градуировочной характеристики;5
dгх - норматив приемлемости ГХ, %,
dгх = 6 %
________
|
|
(3.2) |
где k - номер первого градуировочного раствора;
у - номер последнего градуировочного раствора;
n - число градуировочных растворов в серии;
D - среднее арифметическое значение оптической плотности i-го градуировочного раствора по трем сериям;
mi - масса ионов алюминия в i-ом градуировочном растворе, мг.
5 Значение оптической плотности градуировочной характеристики рассчитывают по формуле:
|
|
(4.1) |
где А, В - коэффициенты линейного уравнения;
mi - масса ионов алюминия в i-ом градуировочном растворе, мг.
11.1.1 Фильтр («белая лента») нумеруют и помещают в фильтродержатель поверх опорной сетки, предотвращающей деформацию и разрыв фильтра. Фильтродержатель тщательно герметизируют.
11.1.2 Подготовленные фильтродержатели подписывают (номер фильтра) и помещают в ячейку ящика для транспортировки к месту отбора.
Выбирают прямолинейный (лучше вертикальный) участок газохода, удалённый от вентилятора и регулирующих устройств. Длина участка должна быть не менее 8 диаметров, из них до сечения, где проводят замеры, не менее 5 диаметров и после него - не менее 3 диаметров. При отсутствии прямолинейных участков необходимой длины допускается расположение мерного сечения в месте, делящем выбранный для измерения участок в отношении 3:1 в направлении движения воздуха. На выбранном месте приваривают штуцера, изготовленные из труб диаметром 40 мм и длиной от 40 до 50 мм. На расстоянии от 30 до 70 мм выше штуцера приваривают пруток диаметром от 8 до 10 мм и длиной около 1 м для крепления оборудования. Штуцера приваривают по двум взаимно перпендикулярным осям. К месту отбора должен быть подведен побудитель расхода (вакуумная линия, сжатый воздух с эжектором, вакуумный насос) или розетки с напряжением 220 В, электроосвещение. При наличии постоянного места отбора проб оно должно быть оборудовано будкой и навесом. При отборе проб в зимнее время будка должна быть обогреваемой.
При определении массовой концентрации оксида алюминия в газе после газоочистных установок и равномерном распределении скоростей газа по измерительному сечению (неравномерность скоростей не превышает 15 %), а также при отборе проб неочищенных газов, не содержащих крупной пыли (с диаметром частиц более 10 мкм) отбор проб производят в центре измерительного сечения. В остальных случаях отбор проб производят в центрах равновеликих колец по двум взаимно перпендикулярным диаметрам (в газоходах круглого сечения) или в центрах равновеликих участков (в газоходах прямоугольного сечения). Для этого площадь поперечного сечения круглых газоходов условно делят на равновеликие участки (кольца). Точки измерения находятся на двух взаимно перпендикулярных диаметрах, пересекающихся в центре измерительного сечения. Схема распределения точек замеров приведена в приложении Д.
Количество участков и точек измерения в зависимости от диаметра газохода приведено в таблице 4.
Таблица 4 - Количество участков и точек измерения
|
Диаметр газохода D, м |
Количество равновеликих участков |
Количество точек измерения по одному диаметру |
|
до 0,5 |
1 |
1 |
|
от 0,5 до 1 включ. |
2 |
3 |
|
> 1 |
3 |
5 |
Расстояние точки измерения от наружного края штуцера (L, мм) определяют по формуле:
|
L = K·D + h + δ, |
(4) |
где K - коэффициент, определяемый по таблице 5;
D - внутренний диаметр газохода, мм;
h - высота штуцера, мм;
δ - толщина стенки газохода, мм.
Таблица 5 - Значения коэффициента K
|
Количество равновеликих участков |
||
|
1 |
2 |
3 |
|
0,5 |
0,147 |
0,067 |
|
|
0,50 |
0,25 |
|
|
0,854 |
0,50 |
|
|
|
0,75 |
|
|
|
0,933 |
Соответствующим образом размечают пробоотборную трубку.
Для прямоугольного сечения площадь поперечного сечения разбивают на ряд равновеликих участков. Точки измерений находятся на пересечении диагоналей равновеликих участков. Схема распределения точек замеров приведена в приложении Е.
Количество участков и точек измерений в зависимости от размеров газохода приводится в таблице 6.
Таблица 6 - Количество участков и точек измерения
|
Геометрический размер (А или В), м |
Количество равновеликих участков |
|
< 0,5 |
1 |
|
от 0,5 до 1 включ. |
2 |
|
> 1 |
3 |
Перед отбором пробы определяют динамический напор газа в заданной точке газохода, температуру и давление (разряжение) газа по ГОСТ 17.2.4.06-90 и ГОСТ 17.2.4.07-90.
Проводят предварительный расчёт объёмного расхода газа (Qг, дм3/мин) при отборе пробы по формуле:
|
|
(5) |
где d - диаметр носика пробоотборной трубки, мм;
wг - линейная скорость газа в газоходе, м/с.
После прохождения газопылевой смеси через всю пробоотборную систему ее объем изменяется за счёт изменения температуры и сопротивления у ротаметра. Объемный расход газа, проходящий через ротаметр, и выставляемый на ротаметре, рассчитывают по формуле:
|
|
(6) |
где Qр - объёмный расход газа, выставляемый на ротаметре, дм3/мин;
tp - температура газа у ротаметра, °С;
tг - температура газа в газоходе, °С;
Р - атмосферное давление, кПа;
ΔРг - избыточное давление (+), разрежение (-) в газоходе, кПа;
ΔРр - разрежение у ротаметра, кПа.
Примечание - Диаметр носика пробоотборной трубки рекомендуется подбирать таким образом, чтобы значение объемного расхода газа, выставляемого на ротаметре, соответствовало целому значению.
Объёмный расход должен быть не выше 15 дм3/мин, снизить его можно применением пробоотборной трубки меньшего диаметра.
При отборе проб по сечению газохода измеряют динамический напор в каждой точке измерения и вычисляют соответствующие значения объемного расхода Qр.
При отборе пробы в центре газохода измеряют динамический напор в центре газохода и вычисляют соответствующее значение объемного расхода Qр.
Собирают схему пробоотбора в соответствии с приложением Ж или К (при использовании аспиратора). Пробоотборную трубку соединяют с фильтродержателем, в который помещён фильтр. Далее присоединяют ротаметр с двумя кранами и вакууметром (перед ротаметром устанавливают сосуд, заполненный индикаторным силикагелем, для улавливания паров воды) или аспиратор с краном и вакууметром (перед ротаметром аспиратора устанавливают сосуд, заполненный индикаторным силикагелем, для улавливания паров воды).
Проверяют герметичность собранной схемы. Для этого до ввода пробоотборной трубки в газоход устанавливают расход газа ~5 дм3/мин по ротаметру и закрывают наконечник трубки. При соблюдении герметичности поплавок ротаметра должен опуститься до нуля. Если этого не происходит, ищут причину негерметичности и устраняют ее.
При открытом кране перед вакууметром с помощью второго крана (регулятора расхода на аспираторе) на ротаметре выставляют расчетное значение Qр.
Краном, установленным перед вакууметром, в начале отбора создают дополнительное сопротивление 10 кПа уменьшением которого в процессе отбора компенсируют рост сопротивления системы. Регулируя положения кранов, поддерживают постоянными объемный расход Qр и показания вакуумметра.
При использовании аспиратора типа АЦ-2С задают значения объемного расхода Qр и требуемый общий объем пробы. Время отбора пробы будет отображаться на дисплее.
При использовании аспираторов другого типа устанавливают расчетное значение объемного расхода газа Qp и фиксируют продолжительность отбора пробы.
Продолжительность отбора пробы 20 минут. Во время отбора фиксируют атмосферное давление, температуру газа в газоходе, температуру газа около ротаметра и разрежение (давление) в системе. Также фиксируют номер фильтра.
После окончания отбора пробы отключают побудитель расхода, вынимают пробоотборную трубку. Приведя трубку в вертикальное положение, лёгким постукиванием по трубке отряхивают осевшую в трубке пыль на фильтр. Отсоединяют фильтродержатель, заглушают его с двух сторон, помещают в ящик для транспортировки. Фильтродержатель должен находиться в вертикальном положении запыленной стороной вверх.
13.1.1 Растворы для градуировки приборов готовят по 10.3.
13.2.1 Градуировочную характеристику устанавливают по 10.4.
13.3.1 Пробы отбирают по пункту 12.
13.4.1 В лаборатории фильтродержатель аккуратно вскрывают, держа его в вертикальном положении запыленной стороной вверх. Извлекают фильтр, обтирают внутреннюю запыленную поверхность фильтродержателя, прижимное кольцо и заглушку обеззоленным фильтром, смоченным дистиллированной водой, и добавляют его к основной пробе.
13.4.2 Фильтры помещают в стакан вместимостью 250 см3, приливают 100 см3 раствора сернокислого алюминия и 5 см3 концентрированной соляной кислоты. Перемешивают.
13.4.3 Одновременно из упаковки фильтров «белая лента» берут три чистых фильтра для приготовления холостого раствора, помещают их в стакан вместимостью 250 см3, приливают 100 см3 раствора сернокислого алюминия и 5 см3 концентрированной соляной кислоты. Перемешивают.
13.4.4 Доводят до кипения и нагревают на песчаной бане в течение 1 часа, поддерживая постоянный объем раствора (по мере выпаривания доливают горячую дистиллированную воду и перемешивают).
13.4.5 Горячий раствор отфильтровывают через два плотных фильтра («синяя лента») диаметром 11 см с бумажной массой.
13.4.6 Промывают фильтр с осадком теплым 1 %-ным раствором соляной кислоты до отрицательной реакции фильтрата на сульфат-ион. Для этого фильтрат объемом от 10 до 15 см3 помещают в пробирку или в стакан (100 см3) и приливают при перемешивании 5 см3 10 %-ного раствора хлористого бария. Если при этом не появляется помутнение, то промывание осадка считают законченным. Затем осадок на фильтре промывают от 2 до 3 раз теплой дистиллированной водой. При промывании осадка необходимо тщательно промывать края фильтра и при каждой промывке давать полностью стекать с фильтра промывной жидкости и только после этого приступать к следующей промывке.
Платиновый тигель прокаливают при температуре 1100 °С до
постоянной массы (от 30 до 40 минут). Массу тигля считают постоянной, если
разность между двумя результатами взвешивания не превышает 1,0 мг. За результат
измерения массы тигля принимают последний результат взвешивания (М1,
г). Фильтр с осадком помещают в тигель. Содержимое тигля высушивают, озоляют,
прокаливают при температуре 1100 °С до постоянной массы (от 30 до 40 минут).
Массу тигля с осадком считают постоянной, если разность между двумя результатами
взвешивания не превышает 1,0 мг. За результат измерения массы тигля принимают
последний результат взвешивания (М2, г). Вычисляют массу
оксида алюминия (
, мг) по формуле (7). Если масса выделенного и прокаленного оксида алюминия
составляет ниже 10 мг, то поступают по 13.6.
13.6.1 В платиновый тигель с осадком прибавляют 1,0 г углекислого натрия и 0,5 г борной кислоты, тщательно перемешивают стеклянной палочкой и сплавляют в муфельной печи при температуре 1100 °С до получения прозрачного расплава (от 10 до 15 минут).
13.6.2 Тигель с плавом охлаждают, тщательно обмывают дистиллированной водой наружные стенки тигля и помещают его в стакан, содержащий 100 см3 воды и 20 см3 раствора соляной кислоты (1:1). Разлагают плав при нагревании до получения прозрачного раствора. Тигель вынимают из стакана, обмывают его дистиллированной водой над стаканом.
13.6.3 Раствор охлаждают, количественно переводят в мерную колбу вместимостью 250 см3, доливают до метки водой и перемешивают.
13.6.4 В зависимости от содержания оксида алюминия отбирают аликвоту (от 1,0 до 30,0 см3) из раствора, приготовленного из отобранной пробы, содержащую от 0,005 до 0,025 мг ионов алюминия и помещают в мерную колбу вместимостью 100 см3. Разбавляют водой до 30 см3, приливают 2,0 см3 раствора аскорбиновой кислоты, перемешивают.
Дальнейший порядок работ приведен в 10.4.2.1.
13.6.5 Из холостого раствора отбирают аликвоту 30,0 см3. Дальнейший порядок работ приведен в 13.6.4.
14.1 Массовую концентрацию оксида алюминия в мг/м3 в промышленных выбросах вычисляют по формуле
где
- масса оксида алюминия в отобранной
газовой пробе, вычисленная по формуле (8)
или (9), мг;
V0 - объем отобранной пробы воздуха (газа), приведённый к нормальным условиям, вычисленный по формуле (12), м3.
14.2 Массу оксида алюминия в отобранной пробе в мг (гравиметрический метод) вычисляют по формуле:
где M1 - масса тигля с осадком, г
М2 - масса пустого тигля, г.
14.3 Массу оксида алюминия в отобранной пробе в мг (фотометрический метод) вычисляют по формуле:
где mAl - масса ионов алюминия в приготовленном растворе из отобранной пробы, вычисленная по формуле (10), мг;
- масса ионов алюминия в холостом
растворе, вычисленная по формуле (11),
мг;
1,89 - коэффициент пересчета Аl в Al2O3.
14.4 Массу ионов алюминия в приготовленном растворе из отобранной пробы в мг вычисляют по формуле:
где m - масса ионов алюминия, найденная по формуле (2) в соответствии с показаниями прибора, мг;
V - общий объем анализируемого раствора, приготовленный из отобранной пробы, см3, V = 250 см3;
V1 - объем аликвоты анализируемого раствора, приготовленного из отобранной пробы, см3.
14.5 Массу ионов алюминия в холостом растворе в мг вычисляют по формуле:
где m - масса ионов алюминия, найденная по формуле (2) в соответствии с показаниями прибора, мг;
Vх - общий объем холостого раствора, см3, Vх = 250 см3;
- объем аликвоты холостого раствора,
см3,
= 30,0 см3;
3 - количество чистых фильтров «белая лента», взятых для измерений, шт.
14.6 Объём отобранной пробы газа (V0, м3), приведённый к нормальным условиям (Т0 = 273 К, Р0 = 760 мм рт. ст., сухой газ), рассчитывают по формуле:
где Qр - объёмный расход воздуха, выставленный на ротаметре, при отборе пробы, дм3/мин;
τ - продолжительность отбора, мин;
tр - температура газа у ротаметра, °С;
Р - атмосферное давление, кПа;
ΔР - разрежение у ротаметра, кПа.
1000 - коэффициент пересчета дм3 в м3.
15.1 Полученное значение массовой концентрации оксида алюминия округляют до разряда, который получается при вычислении значения абсолютной расширенной неопределенности измерений (абсолютной суммарной погрешности измерений) следующим образом:
- если значащая цифра значения абсолютной расширенной неопределенности измерений начинается с 1 или 2, то при округлении вычисленного значения неопределенности, оставляют две значащие цифры,
- если с 3 и выше, оставляют одну значащую цифру.
Результат измерений массовой концентрации оксида алюминия в пробе анализируемого объекта в полном формате записывают как:
где С - результат измерений после округления значения массовой концентрации, оксида алюминия вычисленной по формуле (7), мг/м3;
U0 - относительная расширенная неопределенность измерений, %, указана в таблице 1.
Примеры записи:
(0,50 ± 0,13); (0,73 ± 0,18); (40 ± 10) мг/м3;
(550 ± 140) или (0,55 ± 0,14)·103 мг/м3 или (0,55 ± 0,14) г/м3
допускается запись 0,50 мг/м3, U0 = 25 % или
0,50 мг/м3, δ = ±25 %
Контроль стабильности градуировочной характеристики проводят не реже одного раза в 3 месяца, либо при смене партии реактивов. В качестве контрольных растворов используют градуировочные растворы 1, 3, 5. Каждый раствор готовят три раза по 10.4.2.1. Проверяют выполнение условия по формуле (1). Значение массы ионов алюминия в мг вычисляют по формуле (2).
Результаты контроля признают удовлетворительными, если для каждого контрольного раствора выполняется условие:
|
|
(14) |
где mк - масса ионов алюминия в контрольном растворе, приписанное значение, мг;
- масса ионов алюминия,
соответствующая среднему арифметическому результату измерений контрольного
раствора, мг;
Kст - норматив для контроля стабильности градуировочной характеристики, % при Р = 0,95,
Kст =10 %.
Если условие (13) не выполняется, выясняют причины несоответствия и повторяют контроль градуировочной характеристики. При повторном невыполнении условия градуировочную характеристику устанавливают заново.
Контроль проводят в соответствии с планом внутреннего контроля, принятым лабораторией. В качестве контрольного образца используют фильтр с навеской оксида алюминия.
Чистый, сухой фильтр «белая лента» доводят до постоянного веса. Массу фильтра считают постоянной, если разность между двумя результатами взвешивания не превышает 1,0 мг.
Отбирают навеску оксида алюминия от 10 до 15 мг на взвешенный фильтр, взвешивают, проверяя выполнение условия по 15.2.1.1. Вычисляют массу оксида алюминия, нанесенную на фильтр.
Одновременно из упаковки фильтров «белая лента» берут три чистых фильтра, помещают их в стакан вместимостью 250 см3 для приготовления холостого раствора.
Измерения проводят по пункту 13. Массу оксида алюминия вычисляют по пункту 14, формулам (9), (10), (11).
Результаты контроля признают удовлетворительными, если выполняется условие:
|
|
(15) |
где G* - масса оксида алюминия, нанесенного на фильтр, мг;
G - масса оксида алюминия, полученная при анализе контрольного образца, мг;
KG - норматив для контроля правильности измерений массы оксида алюминия, нанесенного на фильтр, %, при Р = 0,95.
KG = 20 %
Контроль проводится при освоении методики, по требованию контролирующих организаций, а также по указанию руководства лаборатории.
Образцами для контроля являются две пробы газа, отбираемые параллельно (одновременно) с использованием двух пробоотборных точек (штуцеров), расположенных на одном сечении газохода. Отбор проб осуществляется с использованием двух наборов оборудования и анализируемые с точной прописью методики. Получают два результата измерения (C1 и С2).
Результаты контроля признаются приемлемыми при выполнении условия:
|
|
(16) |
где C1 и С2 - массовая концентрация оксида алюминия в пробе анализируемого объекта, результаты измерений одновременно отобранных проб газа, мг/м3;
Kсх - норматив контроля, %.
Kсх = 25 %.
Схема пневмометрической трубки

|
Температура среды |
Материал трубки |
Пайка (припой) |
|
до 100 °С |
латунь |
ПОС |
|
свыше 100 °С |
латунь |
серебряный |
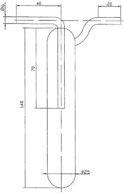
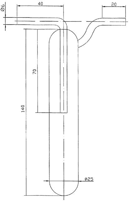
Эскиз пробоотборной трубки для внешней фильтрации

d - соответствует диаметру наконечника пробоотборной
трубки, мм;
d = от 4 до 10 мм


Схема распределения точек замеров в круглом газоходе

Схема распределения точек замеров в прямоугольном газоходе



1 - пробоотборная трубка;
2 - фильтродержатель;
3 - поглотитель Рыхтера;
4 - ловушка;
5 - кран;
6 - газоход;
7 - вакууметр.