Главная // Актуальные документы // Актуальные документы (обновление с 29.09.2025 по 01.11.2025) // ГОСТ (Государственный стандарт)
СПРАВКА
Источник публикации
М.: ФГБУ "Институт стандартизации", 2025
Примечание к документу
Документ вводится в действие с 01.09.2026.
Название документа
"ГОСТ 35297-2025. Межгосударственный стандарт. Карандаши. Общие технические условия"
(введен в действие Приказом Росстандарта от 18.08.2025 N 904-ст)

"ГОСТ 35297-2025. Межгосударственный стандарт. Карандаши. Общие технические условия"
(введен в действие Приказом Росстандарта от 18.08.2025 N 904-ст)


Содержание


Введен в действие
Приказом Федерального
агентства по техническому
регулированию и метрологии
от 18 августа 2025 г. N 904-ст
МЕЖГОСУДАРСТВЕННЫЙ СТАНДАРТ
КАРАНДАШИ
ОБЩИЕ ТЕХНИЧЕСКИЕ УСЛОВИЯ
Pencils. General technical conditions
ГОСТ 35297-2025
МКС 97.180
Дата введения
1 сентября 2026 года
Предисловие
Цели, основные принципы и общие правила проведения работ по межгосударственной стандартизации установлены ГОСТ 1.0 "Межгосударственная система стандартизации. Основные положения" и ГОСТ 1.2 "Межгосударственная система стандартизации. Стандарты межгосударственные, правила и рекомендации по межгосударственной стандартизации. Правила разработки, принятия, обновления и отмены"
Сведения о стандарте
1 РАЗРАБОТАН Ассоциацией предприятий индустрии детских товаров "АИДТ" (Ассоциация "АИДТ")
2 ВНЕСЕН Межгосударственным техническим комитетом МТК 181 "Игрушки и товары для детства"
3 ПРИНЯТ Межгосударственным советом по стандартизации, метрологии и сертификации (протокол от 31 июля 2025 г. N 187-П)
За принятие проголосовали:
Краткое наименование страны по МК (ИСО 3166) 004-97
Код страны по МК (ИСО 3166) 004-97
Сокращенное наименование национального органа по стандартизации
Армения
AM
ЗАО "Национальный орган по стандартизации и метрологии" Республики Армения
Беларусь
BY
Госстандарт Республики Беларусь
Россия
RU
Росстандарт
Узбекистан
UZ
Узбекское агентство по техническому регулированию
4 Приказом Федерального агентства по техническому регулированию и метрологии от 18 августа 2025 г. N 904-ст межгосударственный стандарт ГОСТ 35297-2025 введен в действие в качестве национального стандарта Российской Федерации с 1 сентября 2026 г.
5 ВВЕДЕН ВПЕРВЫЕ
Информация о введении в действие (прекращении действия) настоящего стандарта и изменений к нему на территории указанных выше государств публикуется в указателях национальных стандартов, издаваемых в этих государствах, а также в сети Интернет на сайтах соответствующих национальных органов по стандартизации.
В случае пересмотра, изменения или отмены настоящего стандарта соответствующая информация будет опубликована на официальном интернет-сайте Межгосударственного совета по стандартизации, метрологии и сертификации в каталоге "Межгосударственные стандарты"
1 Область применения
Настоящий стандарт распространяется на карандаши в древесном и пластиковом корпусе, предназначенные для письма, черчения и рисования.
Настоящий стандарт устанавливает требования к карандашам, поставляемым на внутренний рынок и на экспорт.
Настоящий стандарт не распространяется на карандаши механические и специального назначения.
2 Нормативные ссылки
В настоящем стандарте использованы нормативные ссылки на следующие межгосударственные стандарты:
ГОСТ 15.309 Системы разработки и постановки продукции на производство. Испытания и приемка выпускаемой продукции. Основные положения
ГОСТ 166 (ИСО 3599-76) Штангенциркули. Технические условия
ГОСТ 427 Линейки измерительные металлические. Технические условия
ГОСТ 2991 Ящики дощатые неразборные для грузов массой до 500 кг. Общие технические условия
ГОСТ 3749 Угольники поверочные 90°. Технические условия
ГОСТ 7376 <*> Картон гофрированный. Общие технические условия
--------------------------------
<*> В Российской Федерации действует ГОСТ Р 52901-2007 "Картон гофрированный для упаковки продукции. Технические условия".
ГОСТ 7933 Картон для потребительской тары. Общие технические условия
ГОСТ 8273 Бумага оберточная. Технические условия
ГОСТ 8828 Бумага-основа и бумага двухслойная водонепроницаемая упаковочная. Технические условия
ГОСТ 9462 Лесоматериалы круглые лиственных пород. Технические условия
ГОСТ 9463 Лесоматериалы круглые хвойных пород. Технические условия
ГОСТ 9569 Бумага парафинированная. Технические условия
ГОСТ 10354 Пленка полиэтиленовая. Технические условия
ГОСТ 12998 Пленка полистирольная. Технические условия
ГОСТ 14192 Маркировка грузов
ГОСТ 15102 Контейнер универсальный металлический закрытый номинальной массой брутто 5,0 т. Технические условия
ГОСТ 15150 Машины, приборы и другие технические изделия. Исполнения для различных климатических районов. Категории, условия эксплуатации, хранения и транспортирования в части воздействия климатических факторов внешней среды
ГОСТ 15846 Продукция, отправляемая в районы Крайнего Севера и приравненные к ним местности. Упаковка, маркировка, транспортирование и хранение
ГОСТ 18251 Лента клеевая на бумажной основе. Технические условия
ГОСТ 18321 <*> Статистический контроль качества. Методы случайного отбора выборок штучной продукции
--------------------------------
<*> В Российской Федерации действует ГОСТ Р 50779.12-2021 "Статистические методы. Статистический контроль качества. Методы случайного отбора выборок штучной продукции".
ГОСТ 18510 <**> Бумага писчая. Технические условия
--------------------------------
<**> В Российской Федерации действует ГОСТ Р 58611-2019 "Бумага писчая. Общие технические условия".
ГОСТ 18992 Дисперсия поливинилацетатная гомополимерная грубодисперсная. Технические условия
ГОСТ 20435 Контейнер универсальный металлический закрытый номинальной массой брутто 3,0 т. Технические условия
ГОСТ 20477 Лента полиэтиленовая с липким слоем. Технические условия
ГОСТ 33781 Упаковка потребительская из картона, бумаги и комбинированных материалов. Общие технические условия
Примечание - При пользовании настоящим стандартом целесообразно проверить действие ссылочных стандартов и классификаторов на официальном интернет-сайте Межгосударственного совета по стандартизации, метрологии и сертификации (www.easc.by) или по указателям национальных стандартов, издаваемым в государствах, указанных в предисловии, или на официальных сайтах соответствующих национальных органов по стандартизации. Если на документ дана недатированная ссылка, то следует использовать документ, действующий на текущий момент, с учетом всех внесенных в него изменений. Если заменен ссылочный документ, на который дана датированная ссылка, то следует использовать указанную версию этого документа. Если после принятия настоящего стандарта в ссылочный документ, на который дана датированная ссылка, внесено изменение, затрагивающее положение, на которое дана ссылка, то это положение применяется без учета данного изменения. Если ссылочный документ отменен без замены, то положение, в котором дана ссылка на него, применяется в части, не затрагивающей эту ссылку.
3 Термины и определения
3.1 чернографитный карандаш: Изделие для письма, черчения и рисования, состоящее из твердой оболочки (деревянной или пластиковой), внутри которой помещен грифель из графита.
Примечание - Дополнительно карандаш может быть оснащен ластиком, прикрепленным с одного конца корпуса.
3.2 цветной карандаш: Изделие для письма и рисования, состоящее из твердой оболочки, внутри которой помещен грифель, состав которого может быть различным, преимущественно состоящим из глины (каолина) и красящего пигмента, который может быть различных цветов.
Примечание - Карандаш может быть в деревянной и пластиковой оболочке.
3.3 цветной акварельный карандаш: Изделие для рисования, состоящее из твердой оболочки, внутри которой помещен грифель на основе спрессованной акварели, которая может быть различных цветов.
3.4 сегментированный карандаш: Изделие для письма и рисования, состоящее из пластикового корпуса, внутри которого находятся пластиковые держатели (сегменты) с заточенным грифелем.
3.5 карандаш с угольным стержнем: Изделие для письма, черчения и рисования, состоящее из твердой оболочки, внутри которой помещен древесный уголь.
Примечание - Угольный карандаш бывает трех видов: мягкий, средний и твердый. Может быть без твердой оболочки (покрытие пленкой/лаком и т.п.).
3.6 карандаш с каолиновым стержнем: Изделие для письма и рисования, состоящее из твердой оболочки, внутри которой помещена каолиновая глина, подкрашенная пигментом.
3.7 карандаш с пастельным стержнем: Изделие для письма и рисования, состоящее из твердой оболочки, внутри которой помещена пастель.
Примечание - Такие как сангина, сепия и мел могут быть без оболочки.
3.8 карандаш с масляным (восковым) стержнем: Изделие для письма, черчения и рисования, состоящее из твердой оболочки, внутри которой стержень сделан из специального масла (воска) с красителями и различными добавками.
3.9 карандаш со специальным стержнем: Изделие для письма, черчения и рисования на специальных поверхностях (для письма по стеклу, металлу, пластику, ткани, дереву, бетону), состоящее из твердой оболочки, внутри которой помещен специальный стержень.
3.10 дип (дип-топ): Цветная головка на корпусе и торце карандаша, которая может быть разной длины и любого цвета.
3.11 детский карандаш: Изделие для письма и рисования с любым типом стержней, указанных в 3.1 - 3.3; 3.6; 3.8, предназначенное для детей дошкольного возраста (трех - шести лет), характеризующееся тонким корпусом 6,4 мм или утолщенным корпусом диаметром 10 мм, и/или укороченной длиной карандаша - 88 мм.
3.12 карандаш для рисования: Изделие для письма и рисования с цветным типом стержней, которые могут быть различной степени твердости.
3.13 карандаш для графики и черчения: Инструмент для выполнения графических или чертежных работ с чернографитным типом стержня, который может быть различной степени твердости.
3.14 художественный карандаш: Изделие для рисования с цветным или цветным акварельным типом стержней, характеризующихся более яркими цветами и повышенной светостойкостью, а также с угольным, чернографитным типами стержней различных градаций твердости, кроме твердо-мягких.
4 Классификация
4.1 В зависимости от материалов, применяемых для изготовления, карандаши подразделяют:
а) по типу/материалу корпуса:
- на карандаш в деревянной оболочке,
- карандаш в пластиковой оболочке;
б) по типу стержня:
- на карандаш чернографитный (ЧГ),
- карандаш цветной (в том числе с эффектами неон, металлик, с многоцветным стержнем) (Цв);
- карандаш цветной акварельный (водоразмываемый) (Ак);
- карандаш с угольным стержнем;
- карандаш с каолиновым стержнем;
- карандаш с пастельным стержнем;
- карандаш с масляным (восковым) стержнем;
- карандаш сегментированный;
- карандаш со специальным стержнем.
4.2 По назначению карандаши подразделяют на следующие типы:
Ш - школьные (для рисования цветные, в том числе акварельные, с эффектами неон, металлик, мультицветные и др.);
Г - технические (для графики и черчения и др.);
К - копировальные;
Д - детские (для дошкольного возраста);
О - офисные;
Х - профессиональные художественные;
Р - для рисования.
5 Основные параметры и размеры
5.1 Для обозначения твердости используют буквенное обозначение по классификации, указанной в таблице 1. Степень твердости обозначают цифрами перед буквами М (B) и Т (H) следующим образом:
- чем больше цифра перед буквой М (B), тем стержень более мягкий;
- чем больше цифра перед буквой Т (H), тем стержень более твердый.
Таблица 1
Обозначение твердости чернографитных карандашей
Степень твердости
Обозначение в рамках СНГ
Европейское обозначение
Мягкий
М
B
Твердо-мягкий
ТМ
HB
Средней твердости
СТ
F
Твердый
Т
H
5.2 Чернографитные карандаши следует изготавливать 20 степеней твердости: 12М; 10М; 9М; 8М; 7М; 6М; 5М; 4М; 3М; 2М; М; ТМ; СТ; Т; 2Т; 3Т; 4Т; 5Т; 6Т; 7Т; 12B; 10B; 9B; 8B; 7B; 6B; 5B; 4B; 3B; 2B; B; HB; F; H; 2H; 3H; 4H; 5H; 6H; 7H.
5.3 По форме поперечного сечения карандаши могут быть:
- трехгранные;
- шестигранные;
- круглые;
- овальные.
Для обозначения размера по поперечному сечению используют термин "диаметр", который определяется следующим образом:
- диаметр трехгранных карандашей определяют по окружности, вписанной между одной гранью и противоположной вершиной (см. рисунок 1 а);
- диаметр шестигранных карандашей определяют по вписанной окружности (см. рисунок 1 б);
- диаметр круглых карандашей соответствует диаметру окружности поперечного сечения карандаша (см. рисунок 1 в);
- диаметр овальных карандашей обозначают двумя числами, разделенными символом "x", определяют длиной большей полуоси и длиной меньшей полуоси (см. рисунок 1 г).
Рисунок 1
5.4 Основные параметры и размеры карандашей должны соответствовать указанным в таблице 2.
Таблица 2
Основные параметры и размеры карандашей
Тип стержня
Степень твердости СНГ (Евр.)
Диаметр стержня, мм
Тип карандаша
Диаметр карандаша, мм
Длина карандаша, мм
номин.
пред. откл.
номин.
пред. откл.
номин.
пред. откл.
ЧГ
10М (10B)
4,0
+/- 0,05
Г
6,4; 7,0; 7,8
+/- 0,15
88; 95; 112; 137; 160; 177
+/- 2,0
9М (9B)
4,0
+/- 0,05
Г
8М (8B)
3,3
+/- 0,05
Г
7М (7B)
3,0
+/- 0,05
Г
6М (6B)
3,0
+/- 0,05
Г
5М (5B)
3,0
+/- 0,05
Г
4М (4B)
2,4 - 2,45
+/- 0,05
Г
3М (3B)
2,4 - 2,45
+/- 0,05
Г
2М (2B)
2,35
+/- 0,05
Г
М (B)
2,2
+/- 0,05
Г
ТМ (HB)
2,2
+/- 0,05
Г
СТ (F)
2,0
+/- 0,05
Г
Т (H)
2,0
+/- 0,05
Г
2Т (2H)
2,0
+/- 0,05
Г
3Т (3H)
2,0
+/- 0,05
Г
4Т (4H)
2,0
+/- 0,05
Г
5Т (5H)
2,0
+/- 0,05
Г
6Т (6H)
2,0
+/- 0,05
Г
7Т (7H)
2,0
+/- 0,05
Г
Цв
-
2,65 - 5,0
+/- 0,05
Д
6,4; 7,0; 7,8; 9,0; 10,0
+/- 0,15
88; 95; 112; 137; 160; 177
+/- 2,0
-
2,65 - 4,0
+/- 0,05
Ш
7,0; 7,8
+/- 0,15
88; 95; 112; 137; 160; 177
+/- 2,0
-
3,0 - 4,0
+/- 0,05
Х
7,0; 7,8
+/- 0,15
88; 95; 112; 137; 160; 177
+/- 2,0
Ак
-
2,65 - 4,0
+/- 0,05
Ш
6,4; 7,0; 7,8
+/- 0,15
88; 95; 112; 137; 160; 177
+/- 2,0
-
3,0 - 4,0
+/- 0,05
Х
7,0; 7,8
+/- 0,15
88; 95; 112; 137; 160; 177
+/- 2,0
5.5 Карандаши могут выпускаться наборами и россыпью.
6 Технические требования
6.1 Основные характеристики
6.1.1 Карандаши должны изготавливаться в соответствии с требованиями настоящего стандарта по рабочим чертежам и образцам-эталонам, утвержденным в установленном порядке.
6.1.2 Карандаши, поставляемые на экспорт, должны соответствовать требованиям настоящего стандарта.
6.1.3 Клеящий материал не должен изменять цвет древесины.
6.1.4 Стержень должен быть прочно заклеен в оболочку и выдерживать без смещения нагрузку не менее 19,6 Н (2 кгс).
6.1.5 Стержень должен быть расположен в оболочке симметрично продольной оси карандаша.
6.1.6 Светостойкость - от 1 до 3 баллов. Требование светостойкости применяют только к художественным карандашам.
6.1.7 В карандашах не допускается выкрашивание частиц стержня и снижение интенсивности черты при письме.
6.1.8 Торцы карандаша должны быть перпендикулярны продольной оси. Допускаемое отклонение от перпендикулярности не должно быть более 0,5 мм.
6.1.9 Цвет покрытия детских цветных карандашей может соответствовать цвету стержня, цвет покрытия чернографитных карандашей может быть любой. Для мультицветных стержней допускается любая отделка корпуса.
Допускается нанесение на поверхность карандаша декоративной головки (дип), рисунка и других видов отделки, в частности термопленки.
6.1.10 Цветные карандаши могут изготавливаться одноцветными, двухцветными (двусторонними), многоцветными/мультицветными.
Одноцветные карандаши могут быть заточены с одного конца, двухцветные - с двух.
6.1.11 Отклонения карандашей по внешнему виду не должны превышать значений, указанных в таблице 3.
Таблица 3
Наименование отклонения
Норма отклонения
Изогнутость карандаша по длине, мм, не более
1,0
Скол, царапины, трещины, деформации древесины, пластика или лаковой пленки от торца карандаша, мм, не более
1,0
Скол стержня на торцах:
по площади поперечного сечения, %
50,0
по глубине, мм, не более
1,0
Нецентричность стержня (наименьшая допустимая толщина оболочки), A, мм, не более
Вычисленная в соответствии с 8.5
6.2 Требования к сырью
6.2.1 Карандаши с деревянной оболочкой изготавливают из прямослойной древесины естественной сушки, без включения инородных и химических примесей, таких как соли аммония и любые виды красителей и пигментов, изменяющих цвет натуральной древесины по ГОСТ 9462, ГОСТ 9463 и пишущих стержней, соответствующих параметрам, указанным в таблице 3.
6.2.2 Для приклеивания стержня и склеивания оболочки карандаша должна применяться поливинилацетатная дисперсия по ГОСТ 18992 или другие материалы, обеспечивающие прочность склеивания.
6.3 Маркировка
6.3.1 Каждый карандаш должен иметь четкую, легко читаемую, контрастную маркировку с указанием:
- товарного знака и/или наименования предприятия-изготовителя и/или названия серии карандашей;
- степени твердости (для чернографитных карандашей).
Маркировку наносят ударным горячим тиснением через бронзовую, алюминиевую или цветную фольгу или другими способами.
6.3.2 Карандаши, выпускаемые наборами, должны иметь на упаковке маркировку с указанием:
- товарного знака;
- наименования изготовителя, юридического адреса, адреса места производства (если отличается от юридического адреса);
- наименования набора (для наборов);
- наименования карандашей (для россыпи);
- количества карандашей;
- степени твердости по классификации в рамках СНГ или Европейской классификации (для чернографитных карандашей);
- типа карандашей по 4.1;
- назначения по 4.2;
- формы корпуса;
- артикула (при наличии);
- обозначения настоящего стандарта;
- мер предосторожности;
- даты изготовления (месяц, год);
- срока годности, условий хранения по 10.2;
- цифрового кода и/или буквенного обозначения материала упаковки;
- знака возможности утилизации;
- наименования страны-изготовителя;
- знака соответствия или допуска на рынок в порядке, установленном нормативными правовыми документами государств, принявших стандарт.
6.3.3 Маркировка карандашей, поставляемых на экспорт, должна соответствовать требованиям настоящего стандарта.
6.3.4 На коробки с карандашами, выпускаемыми россыпью, должна быть нанесена маркировка с указанием:
- товарного знака или наименования предприятия-изготовителя;
- наименования карандашей;
- количества карандашей;
- степени твердости (для чернографитных карандашей);
- артикула;
- обозначения настоящего стандарта.
6.3.5 Транспортная маркировка - по ГОСТ 14192.
6.4 Упаковка
6.4.1 Карандаши, выпускаемые россыпью, одной твердости, цвета, размера и наименования должны быть упакованы в картонные коробки по ГОСТ 33781 и оклеены лентой по ГОСТ 18251, ГОСТ 20477.
Допускается применение других видов упаковки, обеспечивающих сохранность карандашей при транспортировании и хранении.
6.4.2 Упакованные по 6.4.1 карандаши для транспортирования должны быть уложены в коробки из гофрированного картона по ГОСТ 7376 или пачки, обернутые бумагой по ГОСТ 8273, ГОСТ 8828 или пленкой по ГОСТ 10354, ГОСТ 12998.
Коробки и пачки должны быть оклеены лентой по ГОСТ 18251, ГОСТ 20477 или лентой из картона по ГОСТ 7933 марок А, Б.
Допускается применение других материалов, обеспечивающих сохранность карандашей при транспортировании и хранении.
6.4.3 На каждой коробке или пачке с карандашами, упакованными по 6.4.2, должна быть нанесена маркировка с указанием данных 6.3.2 и 6.3.4 со следующим уточнением:
- для карандашей, выпускаемых россыпью, должно быть указано общее количество карандашей;
- для карандашей, выпускаемых наборами, - количество наборов;
- дополнительно указывают манипуляционные знаки.
6.4.4 При междугородних перевозках карандаши должны быть уложены в коробки из гофрированного картона по ГОСТ 7376, ящики по ГОСТ 2991 или в контейнеры по ГОСТ 20435, ГОСТ 15102.
Ящики должны быть выложены внутри парафинированной бумагой по ГОСТ 9569, оберточной бумагой по ГОСТ 8273 или другой плотной бумагой, пленкой по ГОСТ 10354, ГОСТ 12998.
При перевозке в контейнерах карандаши должны быть уложены в коробки из гофрированного картона или пачки.
6.4.5 Масса брутто ящика не должна превышать 15 кг.
6.4.6 В каждый ящик должен быть вложен сопроводительный документ, а на ящик нанесена маркировка с указанием данных по 6.4.3.
6.4.7 Упаковка карандашей, поставляемых на экспорт, должна соответствовать требованиям настоящего стандарта.
6.4.8 Упаковка карандашей, отправляемых в районы Крайнего Севера и труднодоступные районы, - по ГОСТ 15846.
7 Правила приемки
7.1 Карандаши подвергают приемо-сдаточным, периодическим, типовым испытаниям и инспекционному контролю.
Программы испытаний указывают в технической документации на карандаши определенных моделей.
Для проведения испытаний случайным образом отбирают 1% единиц от партии, но не менее одной единицы, а для ввозимой продукции - одну единицу.
7.2 Периодические испытания карандашей следует проводить на образцах из числа выдержавших приемо-сдаточные испытания, не реже одного раза в три месяца, при этом карандаши должны быть проверены на соответствие всем требованиям настоящего стандарта.
Допускается проводить проверку карандашей на устойчивость к воздействию климатических факторов и транспортирование не реже одного раза в год.
7.3 Карандаши на контроль предъявляют партиями. Партией считают карандаши одной модели, одной модификации, соответствующие одному нормативному документу.
Карандаши для контроля следует отбирать из партии методом наибольшей объективности по ГОСТ 18321.
Приемочные уровни дефектности, объемы партии и выборок устанавливают в технической документации на карандаши определенных моделей.
Основные положения по проведению испытаний и приемки карандашей серийного производства - по ГОСТ 15.309.
8 Методы контроля и требования безопасности
8.1 Степень твердости стержня карандаша проверяют с помощью набора эталонных металлических пластинок из специально подобранных сплавов определенной твердости, изготовленных согласно требованиям, указанным в приложении А.
Пластинки, соответствующие всем степеням твердости, располагают в порядке возрастания твердости. Заточенным карандашом проводят черту с максимальным нажимом последовательно по пластинам.
На пластинах, которые мягче карандаша, остается углубленный след. Первую пластину, на которой не остается следа, считают равной по твердости испытуемому карандашу.
8.2 Размеры карандаша (см. 5.3) проверяют:
диаметр - штангенциркулем по ГОСТ 166 с погрешностью +/- 0,05 мм;
длину - линейкой по ГОСТ 427 с погрешностью +/- 0,10 мм.
8.3 Внешний вид карандашей (см. 6.1.3, 6.1.5, 6.1.9, 6.1.11) проверяют визуально, без применения увеличительных приборов на расстоянии примерно 0,3 м от поверхности карандаша при дневном или искусственном рассеянном свете.
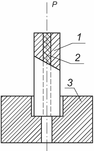
8.4 Прочность заклейки стержня в оболочку (см. 6.1.4) проверяют по схеме, указанной на рисунке 2.
1 - оболочка карандаша; 2 - стержень; 3 - подставка
Рисунок 2 - Прочность заклейки стержня в оболочку
Карандаши помещают на подставку с отверстием, диаметр которого больше диаметра стержня. Сверху на стержень устанавливают выталкиватель, диаметр которого на 0,3 - 0,7 мм меньше диаметра стержня, и прикладывают нагрузку 19,6 Н (2 кгс).
Смещение стержня не должно наблюдаться.
8.5 Симметричность расположения стержня в оболочке (см. 6.1.5) проверяют путем измерения диаметра оболочки и диаметра стержня штангенциркулем по ГОСТ 166.
Нецентричность расположения стержня в оболочке (наименьшая допустимая толщина оболочки) A, мм, не должна быть более величины, вычисленной по формуле
A = 0,35·(dо - dс), (1)
где dо - диаметр оболочки, мм;
dс - диаметр стержня, мм.
8.6 Перпендикулярность торцов продольной оси карандаша (см. 6.1.8) проверяют угольником по ГОСТ 3749 или щупом.
8.7 Цвет и интенсивность черты, выкрашивание частиц стержня при письме (см. 6.1.7) проверяют визуально в сравнении с образцом-эталоном. Испытуемым и контрольным карандашами проводят с равномерным нажимом без повторной заточки 25 - 30 линий длиной 150 - 200 мм на писчей бумаге по ГОСТ 18510, положенной на гладкую поверхность стекла или металлическую подкладку.
Цвет и интенсивность линий и выкрашивание частиц стержня не должны отличаться.
8.8 Отклонение карандашей по внешнему виду (см. 6.1.11) проверяют:
- изогнутость карандаша по длине измеряют щупом по максимальной величине стрелы прогиба;
- скол, царапины, трещины, деформации древесины, пластика или лаковой пленки от торца карандаша, скол стержня по площади поперечного сечения измеряют линейкой по ГОСТ 427;
- скол стержня на торцах по глубине измеряют штангенциркулем по ГОСТ 166.
8.9 Изделия должны быть безопасны при применении по назначению.
8.10 Допустимое количество миграции химических веществ, выделяющихся в модельную среду, не должны превышать значения, установленные в соответствии с требованиями технических регламентов или нормативных правовых актов, действующих на территории государства, принявшего настоящий стандарт.
Примечание - Информация о технических регламентах и нормативных правовых актах приведена в приложении Б.
9 Транспортирование и хранение
9.1 Карандаши транспортируют любым видом транспорта в соответствии с правилами перевозки грузов, действующими на данном виде транспорта.
9.2 Условия транспортирования и хранения карандашей в части воздействия климатических факторов - по группе 1Л ГОСТ 15150, при этом влажность не регулируется.
9.3 При складировании готовой продукции высота штабеля не должна превышать 1,5 м.
10 Гарантии изготовителя
10.1 Изготовитель гарантирует соответствие карандашей требованиям настоящего стандарта.
10.2 Срок годности и условия хранения продукции устанавливает изготовитель.
Приложение А
(справочное)
НАБОР ЭТАЛОННЫХ ПЛАСТИНОК
ДЛЯ ОПРЕДЕЛЕНИЯ ТВЕРДОСТИ КАРАНДАШЕЙ
А.1 Основные параметры и размеры:
- длина, мм - 60 - 65;
- ширина, мм - 25 - 28;
- толщина, мм - 10 - 12;
- масса, г - 100 - 110.
А.2 Химический состав пластинок должен соответствовать указанным в таблице А.1.
Таблица А.1
Материал
Состав, %, для определения твердости
М
ТМ
СТ
Т
Свинец
-
-
100
99
97
55
80
-
-
60
50
-
-
55
-
Олово
-
-
-
-
-
45
-
-
-
-
-
83
-
20
-
Сурьма
-
-
-
1
3
-
20
-
-
40
50
11
-
20
-
Медь
-
-
-
-
-
-
-
-
-
-
-
6
-
5
-
Приложение Б
(справочное)
ИНФОРМАЦИЯ
О ПРИМЕНЯЕМЫХ ТЕХНИЧЕСКИХ РЕГЛАМЕНТАХ И НОРМАТИВНЫХ ПРАВОВЫХ
АКТАХ В ГОСУДАРСТВАХ - УЧАСТНИКАХ СНГ
Таблица Б.1
Структурный элемент настоящего стандарта
Технический регламент или нормативный правовой акт
Государство - участник СНГ
Технический регламент Таможенного союза ТР ТС 007/2011 "О безопасности продукции, предназначенной для детей и подростков"
AM, BY, KZ, KG, RU
УДК 686.862.2:006.354
МКС 97.180
Ключевые слова: карандаш, грифель, требования, испытания