Главная // Актуальные документы // Актуальные документы (обновление 01.03.2026 по 01.04.2026) // ГОСТ (Государственный стандарт)СПРАВКА
Источник публикации
М.: ФГБУ "Институт стандартизации", 2025
Примечание к документу
Документ
введен в действие с 01.01.2026.
Название документа
"ГОСТ EN 17082-2022. Межгосударственный стандарт. Воздухонагреватели газовые с принудительной конвекцией для обогрева помещений бытового и небытового назначения с номинальной тепловой мощностью не более 300 кВт"
(введен в действие Приказом Росстандарта от 25.11.2025 N 1505-ст)
"ГОСТ EN 17082-2022. Межгосударственный стандарт. Воздухонагреватели газовые с принудительной конвекцией для обогрева помещений бытового и небытового назначения с номинальной тепловой мощностью не более 300 кВт"
(введен в действие Приказом Росстандарта от 25.11.2025 N 1505-ст)
агентства по техническому
регулированию и метрологии
от 25 ноября 2025 г. N 1505-ст
МЕЖГОСУДАРСТВЕННЫЙ СТАНДАРТ
ВОЗДУХОНАГРЕВАТЕЛИ ГАЗОВЫЕ С ПРИНУДИТЕЛЬНОЙ КОНВЕКЦИЕЙ
ДЛЯ ОБОГРЕВА ПОМЕЩЕНИЙ БЫТОВОГО И НЕБЫТОВОГО НАЗНАЧЕНИЯ
С НОМИНАЛЬНОЙ ТЕПЛОВОЙ МОЩНОСТЬЮ НЕ БОЛЕЕ 300 кВт
Domestic and non-domestic gas-fired forced convection air
heaters for space heating not exceeding a net heat input
of 300 kW
(EN 17082:2019, IDT)
ГОСТ EN 17082-2022
Дата введения
1 января 2026 года
Цели, основные принципы и общие правила проведения работ по межгосударственной стандартизации установлены
ГОСТ 1.0 "Межгосударственная система стандартизации. Основные положения" и
ГОСТ 1.2 "Межгосударственная система стандартизации. Стандарты межгосударственные, правила и рекомендации по межгосударственной стандартизации. Правила разработки, принятия, обновления и отмены"
1 ПОДГОТОВЛЕН РГП "Казахстанский институт стандартизации и метрологии" Комитета технического регулирования и метрологии Министерства торговли и интеграции Республики Казахстан на основе собственного перевода на русский язык стандарта, указанного в
пункте 5
2 ВНЕСЕН Комитетом технического регулирования и метрологии Министерства торговли и интеграции Республики Казахстан
3 ПРИНЯТ Межгосударственным советом по стандартизации, метрологии и сертификации по результатам голосования в АИС МГС (протокол от 31 августа 2022 г. N 153-П)
За принятие проголосовали:
Краткое наименование страны по МК (ИСО 3166) 004-97 | Код страны по МК (ИСО 3166) 004-97 | Сокращенное наименование национального органа по стандартизации |
Армения | AM | ЗАО "Национальный орган по стандартизации и метрологии" Республики Армения |
Беларусь | BY | Госстандарт Республики Беларусь |
Казахстан | KZ | Госстандарт Республики Казахстан |
Киргизия | KG | Кыргызстандарт |
Россия | RU | Росстандарт |
Узбекистан | UZ | Узбекское агентство по техническому регулированию |
4
Приказом Федерального агентства по техническому регулированию и метрологии от 25 ноября 2025 г. N 1505-ст межгосударственный стандарт ГОСТ EN 17082-2022 введен в действие в качестве национального стандарта Российской Федерации с 1 января 2026 г.
5 Настоящий стандарт идентичен европейскому стандарту EN 17082:2019 "Бытовые и небытовые газовые принудительно конвективные воздухонагреватели для обогрева помещений мощностью не более 300 кВт" ("Domestic and non-domestic gas-fired forced convection air heaters for space heating not exceeding a net heat input of 300 kW", IDT).
Европейский стандарт разработан Техническим комитетом по стандартизации CEN/TC 180 "Децентрализованное газовое отопление" Европейского комитета по стандартизации (CEN).
При применении настоящего стандарта рекомендуется использовать вместо ссылочных европейских международных стандартов соответствующие им межгосударственные стандарты, сведения о которых приведены в дополнительном
приложении ДА
6 ВВЕДЕН ВПЕРВЫЕ
Информация о введении в действие (прекращении действия) настоящего стандарта и изменений к нему на территории указанных выше государств публикуется в указателях национальных стандартов, издаваемых в этих государствах, а также в сети Интернет на сайтах соответствующих национальных органов по стандартизации.
В случае пересмотра, изменения или отмены настоящего стандарта соответствующая информация также будет опубликована на официальном интернет-сайте Межгосударственного совета по стандартизации, метрологии и сертификации в каталоге "Межгосударственные стандарты"
Настоящий стандарт устанавливает требования безопасности и энергоэффективности, методы испытаний и распространяется на газовые воздухонагреватели бытового и небытового назначения с принудительной конвекцией и вспомогательным вентилятором, обеспечивающим подачу воздуха для горения и/или отвод продуктов сгорания (далее - приборы).
Настоящий стандарт также применяется к воздушным отопительным агрегатам.
Настоящий стандарт применяется к приборам типа A2, A3 с потребляемой мощностью не более 300 кВт (на основании низшей теплоты сгорания) небытового назначения.
Настоящий стандарт также применяется к приборам типа B11, B11AS, B11BS, B12, B12AS, B12BS, B13, B13AS, B13BS, B14, B14AS, B14BS, B22, B23, B41, B41AS, B41BS, B42, B42AS, B42BS, B43, B43AS, B43BS, B44, B44AS, B44BC, B52, B53, C11, C12, C13, C21, C31, C32, C33, C41, C62 и C63 мощностью не более 300 кВт (на основании низшей теплоты сгорания) бытового и небытового назначения.
Нагретый воздух может подаваться по воздуховоду.
Настоящий стандарт не распространяется:
a) на кондиционеры двойного назначения (для нагрева и охлаждения);
b) приборы, в которых воздух нагревается с помощью жидкости;
c) переносные или передвижные приборы с принудительной конвекцией;
d) приборы с ручным или автоматическим устройством настройки подачи воздуха для горения при помощи заслонок газохода;
e) приборы с несколькими нагревательными элементами и одним регулятором тяги;
f) приборы с несколькими патрубками для отвода продуктов сгорания;
g) приборы с блочными горелками;
h) приборы типа C21 и C41 для газов 3-го семейства.
Примечание - Для приборов типа C41 см. все требования и методы испытания, которые подходят для приборов типа C21, если не указано иное.
Настоящий стандарт не распространяется на устройства, предназначенные для подключения к газораспределительным системам, в которых качество распределяемого газа будет сильно изменяться в течение установленного срока службы устройства.
Методы испытаний, приведенные в настоящем стандарте, применяют при испытаниях типовых образцов.
В настоящем стандарте использованы нормативные ссылки на следующие стандарты [для датированных ссылок применяют только указанное издание ссылочного стандарта, для недатированных - последнее издание (включая все изменения)]:
EN 88-1:2011+A1:2016, Pressure regulators and associated safety devices for gas appliances - Part 1: Pressure regulators for inlet pressures up to and including 50 kPa (Регуляторы давления и связанные с ними устройства безопасности для газовых приборов. Часть 1. Регуляторы давления для давлений на входе до 50 кПа включительно)
EN 125:2010+A1:2015, Flame supervision devices for gas burning appliances - Thermoelectric flame supervision devices (Устройства контроля пламени для газовых приборов. Термоэлектрические устройства контроля пламени)
EN 126:2012, Multifunctional controls for gas burning appliances (Устройства регулирующие многофункциональные для газовых нагревательных приборов)
EN 161:2011+A3:2013, Automatic shut-off valves for gas burners and gas appliances (Автоматические отсечные клапаны для газовых горелок и газовых приборов)
EN 257:2010, Mechanical thermostats for gas-burning appliances (Терморегуляторы механические для газовых приборов)
EN 298:2012, Automatic burner control systems for burners and appliances burning gaseous or liquid fuels (Системы контроля автоматической горелки для горелок и приборов, работающих на газе или жидких топливах)
EN 437:2018, Test gases - Test pressures - Appliance categories (Испытательные газы. Испытательные давления. Категории прибора)
EN 676:2020, Automatic forced draught burners for gaseous fuels (Горелки газовые автоматические с принудительной подачей воздуха для горения)
EN 682:2002+A1:2005, Elastomeric seals - Materials requirements for seals used in pipes and fittings carrying gas and hydrocarbon fluids (Уплотнения из эластомеров. Требования к материалам для уплотнений трубопроводов для транспортировки газа жидких углеводородов и их фитингов)
EN 1859:2009+A1:2013, Chimneys - Metal chimneys - Test methods (Дымоходы - Металлические дымоходы - Методы испытаний)
EN 10226-2:2005, Pipe threads where pressure tight joints are made on the threads - Part 2: Taper external threads and taper internal threads - Dimensions, tolerances and designation (Резьбы трубные, где плотное соединение под давлением, выполнено на резьбе. Часть 2. Конусообразные наружные резьбы и конусообразные внутренние резьбы. Размеры, допуски и обозначение)
EN 12067-2:2004, Gas/air ratio controls for gas burners and gas burning appliances - Part 2: Electronic types (Регуляторы распределения газовоздушной смеси для газовых горелок и газовых приборов. Часть 2. Электронное исполнение)
EN 50090, Home and Building Electronic Systems (HBES) (Системы электронные бытовые и для зданий (HBES))
EN 60335-1:2012, Household and similar electrical appliances - Safety - Part 1: General requirements (Бытовые и аналогичные электрические приборы. Безопасность. Часть 1. Общие требования)
EN 60335-2-102:2016, Household and similar electrical appliances - Safety - Part 2-102: Particular requirements for gas, oil and solid-fuel burning appliances having electrical connections (Приборы электрические бытового и аналогичного назначения. Безопасность. Часть 2-102. Частные требования к приборам для сжигания газа, жидкого и твердого топлива, имеющим электрические соединения)
EN 60529:1991, Degrees of protection provided by enclosures (IP code) (Степень защиты, обеспечиваемая корпусами (Код IP))
EN 60584-1:2013, Thermocouples - Part 1: EMF specifications and tolerances (Термопары. Часть 1. Спецификация и допуски для электродвижущей силы)
EN 60730-1:2016, Automatic electrical controls - Part 1: General requirements (Автоматические электрические управляющие устройства. Часть 1. Общие требования)
EN 60730-2-9:2010, Automatic electrical controls for household and similar use - Part 2-9: Particular requirements for temperature sensing controls (Автоматические электрические управляющие устройства бытового и аналогичного назначения. Часть 2-9. Частные требования к термочувствительным управляющим устройствам)
EN 61058-1:2002, Switches for appliances - Part 1: General requirements (Выключатели для электроприборов. Часть 1. Общие требования)
EN 61558-2-6:2009, Safety of transformers, reactors, power supply units and similar products for supply voltages up to 1 100 V - Part 2-6: Particular requirements and tests for safety isolating transformers and power supply units incorporating safety isolating transformers (Безопасность трансформаторов, источников питания электрических реакторов и аналогичных изделий. Часть 2-6. Дополнительные требования и методы испытаний безопасных разделительных трансформаторов и источников питания с безопасными разделительными трансформаторами)
EN 61558-2-16:2009, Safety of transformers, reactors, power supply units and similar products for supply voltages up to 1 100 V - Part 2-16: Particular requirements and tests for switch mode power supply units and transformers for switch mode power supply units (Безопасность преобразователей, реакторов, блоков питания и аналогичных изделий на напряжение до 1 100 В. Часть 2-16. Частные требования к блокам питания в режиме переключения и преобразователям к ним и испытания)
EN ISO 228-1:2003, Pipe threads where pressure-tight joints are not made on the threads - Part 1: Dimensions, tolerances and designation (Резьбы трубные, не обеспечивающие герметичность соединения. Часть 1. Размеры, допуски и обозначения)
EN ISO 1182:2020, Reaction to fire tests for products - Non-combustibility test (Реакция строительных материалов при испытании на огнестойкость. Испытание на невоспламеняемость)
EN ISO 3166-1:2020, Codes for the representation of names of countries and their subdivisions - Part 1: Country codes (Коды для представления названий стран и единиц их административно-территориального деления. Часть 1. Коды стран)
EN ISO 5167-1:2003, Measurement of fluid flow by means of pressure differential devices inserted in circular cross-section conduits running full - Part 1: General principles and requirements (Измерение потока текучей среды с помощью устройств для измерения перепада давления, помещенных в заполненные трубопроводы круглого сечения. Часть 1. Общие принципы и требования)
EN ISO 5167-2:2003, Measurement of fluid flow by means of pressure differential devices inserted in circular cross-section conduits running full - Part 2: Orifice plates (Измерение потока текучей среды с помощью устройств для измерения перепада давления, помещенных в заполненные трубопроводы круглого сечения. Часть 2. Диафрагмы)
ISO 3966:2020, Measurement of fluid flow in closed conduits - Velocity area method using Pitot static tubes (Измерение расхода жидкости в закрытых каналах. Метод расчета площади эпюры скорости с применением трубок Пито)
ISO 7005-1:2011, Pipe flanges - Part 1: Steel flanges for industrial and general service piping systems (Фланцы трубные. Часть 1. Стальные фланцы для трубных систем промышленного и общего назначения)
ISO 7005-2:1988, Metallic flanges - Part 2: Cast iron flanges (Фланцы металлические. Часть 2. Фланцы из литейного чугуна)
ISO 7005-3:1988, Metallic flanges - Part 3: Copper alloy and composite flanges (Фланцы металлические. Часть 3. Фланцы из медных сплавов и композиционных материалов)
3.1 Термины и определения
В настоящем стандарте применены следующие термины с соответствующими определениями:
3.1.1 Прибор и его составные части
3.1.1.1 воздухонагреватель (air heater): Аппарат, предназначенный для обогрева теплым воздухом и, при необходимости, вентиляции помещений в зданиях.
3.1.1.2 воздухонагреватель с принудительной конвекцией (forced convection air heater): Аппарат, предназначенный для централизованного обогрева помещения путем распределения теплого воздуха с помощью оборудования, приводящего в движение воздух, и воздуховодов или устанавливаемый непосредственно в обогреваемое помещение.
3.1.1.3 воздухонагреватель с принудительной циркуляцией воздуха с непосредственным нагревом (direct fired forced convection air heater): Воздухонагреватель с принудительной циркуляцией воздуха, в котором продукты сгорания смешиваются с нагретым воздухом, подаваемым в помещение.
3.1.1.4 высокотемпературный воздухонагреватель с принудительной циркуляцией воздуха с непосредственным нагревом (high temperature direct fired forced convection air heater): Воздухонагреватель с принудительной циркуляцией воздуха, предназначенный для работы при подъеме температуры воздуха в приборе более чем на 60 К.
3.1.1.5 низкотемпературный воздухонагреватель с принудительной циркуляцией воздуха с непосредственным нагревом (low temperature direct fired forced convection air heater): Воздухонагреватель с принудительной циркуляцией воздуха, предназначенный для работы при подъеме температуры воздуха в приборе не более чем на 60 К.
3.1.1.6 прибор с устройством для обратной циркуляции воздуха (appliance with facility for downstream recirculation of air): Прибор, в котором часть нагретого воздуха может быть возвращена в прибор в точке после горелки и распределена повторно.
3.1.1.7 прибор с устройством для рециркуляции воздуха на входе (appliance with facility for upstream recirculation of air): Аппарат, в котором часть нагретого воздуха может быть возвращена в прибор в точке перед горелкой и распределена повторно.
3.1.1.8 профилирующие планки (profile plates): Зафиксированные или регулируемые планки, предназначенные для регулировки скорости воздушного потока через горелку.
3.1.1.9 соединение газовой коммуникации (gas inlet connection): Часть аппарата, предназначенная для подключения к системе газоснабжения.
3.1.1.10 механическое уплотнение (mechanical joint): Средство, обеспечивающее герметичность сборочного узла, состоящего из нескольких (обычно металлических) деталей без использования жидкостей (паст, лент и т.д.)
Примеры - Уплотнение "металл по металлу"; уплотнение по конусу; круглое уплотнение ("0"-образные кольца); плоские уплотнительные прокладки.
3.1.1.11 газовый тракт (gas circuit): Часть прибора между соединением для подключения к системе газоснабжения и горелкой (горелками), которая содержит или передает газ.
3.1.1.12 дроссель (restrictor): Устройство с отверстием, которое помещается в газовую сеть так, чтобы создавался перепад давления и снижалось давление газа в горелке до заданного входного давления и скорости.
3.1.1.13 регулятор расхода газа (gas rate adjuster): Устройство, с помощью которого уполномоченное лицо может установить заданное значение расхода газа, поступающего к горелке, в соответствии с условиями газоснабжения.
Примечания
1 Настройка может осуществляться плавно (регулировочным винтом) или ступенчато (заменой дросселей).
2 Регулировочный винт является устройством предварительной настройки расхода газа.
3 На это устройство должна быть нанесена надпись "Регулятор расхода газа".
4 Если регулятор расхода газа опломбирован изготовителем, то он не должен перенастраиваться.
3.1.1.14
фиксирование регулятора (setting an adjuster): Фиксация регулятора
<1> после настройки расхода газа.
--------------------------------
<1> При помощи таких средств, как винт.
3.1.1.15
пломбирование регулятора (sealing an adjuster): Меры
<2>, принятые для того, чтобы сделать очевидной любую попытку изменить настройки, выводя из строя регулятор или элемент управления.
Примечание - Разрушение устройства или изоляционного материала.
--------------------------------
<2> Разрушение устройства или изоляционного материала.
3.1.1.16 форсунка (injector): Деталь, через которую газ поступает в горелку.
3.1.1.17 основная горелка (main burner): Горелка, которая служит для обеспечения отопительной функции прибора.
3.1.1.18 горелка с принудительной подачей воздуха для горения (forced draught burner): Горелка, в которую воздух для горения подается при помощи вентилятора.
3.1.1.19 устройство зажигания (ignition device): Любое средство (пламя, электрическое устройство зажигания или другое устройство), которое служит для воспламенения газа на запальной или основной горелках.
Примечание - Это устройство может работать с перерывами или непрерывно.
3.1.1.20 запальная горелка (ignition burner): Горелка, пламя которой предназначено для зажигания других горелок.
3.1.1.21 постоянная запальная горелка (permanent ignition burner): Запальная горелка, работающая непрерывно в течение всего периода эксплуатации котла.
3.1.1.22 периодическая запальная горелка (intermittent ignition burner): Запальная горелка, зажигание которой происходит раньше, чем зажигание основной горелки, а затухание - одновременно с затуханием основной горелки.
3.1.1.23 переменная запальная горелка (alternating ignition burner): Запальная горелка, пламя в которой гаснет в момент зажигания основной горелки. Повторное зажигание этой горелки происходит от пламени основной горелки в момент его затухания.
3.1.1.24 пусковая запальная горелка (interrupted ignition burner): Запальная горелка, которая работает только во время выполнения зажигания.
3.1.1.25 устройство настройки подачи воздуха (aeration adjuster): Устройство, позволяющее устанавливать необходимое значение подачи воздуха в соответствии с условиями эксплуатации.
Примечание - На это устройство должна быть нанесена надпись "Регулировка подачи воздуха".
3.1.1.26 тракт сгорания (combustion circuit): Тракт от воздухозаборного отверстия до патрубка для отводов продуктов сгорания.
Примечание - Сюда входит камера горения и теплообменник и, в зависимости от типа прибора, канал подачи воздуха для горения, канал отвода продуктов сгорания, фитинг, соединение с выводом, впускной и выпускной патрубки.
3.1.1.27 канал подачи воздуха (air supply duct): Часть прибора, по которой воздух для обеспечения процесса горения поступает в горелку.
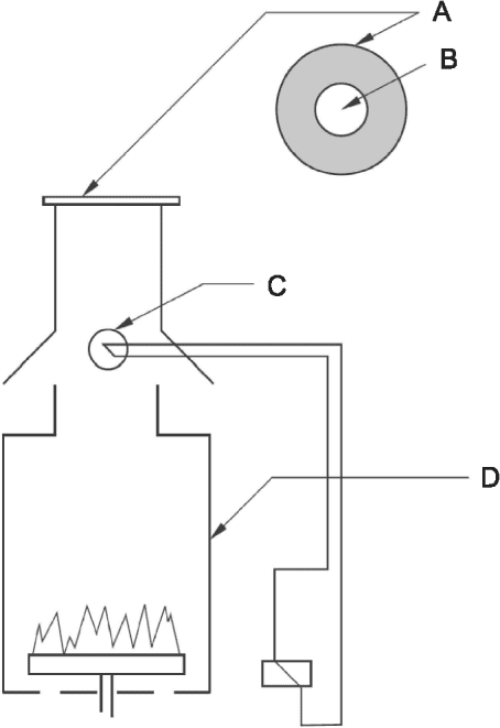
3.1.1.28 камера сгорания (combustion chamber): Устройство, в котором происходит горение газовоздушной смеси.
3.1.1.29 патрубок для отвода продуктов сгорания (flue outlet): Часть прибора типа B, через которую продукты сгорания поступают в дымовую трубу.
3.1.1.30 стабилизатор тяги (draught diverter): Устройство, установленное в тракте продуктов сгорания, чтобы ослабить влияние прямой и обратной тяги на характеристики горелки и процесс горения.
3.1.1.31 заслонка продуктов сгорания (flue damper): Ручное или автоматическое устройство, размещенное в POCED, предназначенное для ограничения или полного закрытия каналов для отвода продуктов сгорания, если прибор не используется.
3.1.1.32 окончание дымохода (flue terminal): Устройство, установленное на конце системы воздуховодов, которое отводит дымовые газы и в то же время может пропускать воздух для горения.
3.1.1.33 окончание дымохода C6 (C6 flue terminal): Устройство, специально предназначенное для приборов типа C6.
3.1.1.34 конечное ограждение (terminal guard): Устройство, предназначенное для защиты окончания дымохода от механических повреждений от внешнего воздействия.
3.1.1.35 коробка адаптера дымохода (flue adaptor box): Средства адаптации прибора для соединения с различными системами воздуховодов.
Пример - От концентрических до отдельных воздуховодов.
3.1.1.36 устройство для отвода продуктов сгорания POCED: Устройство для отвода продуктов сгорания, предназначенное для использования только с определенным устройством/системой; это устройство или входит в комплект поставки прибора/системы, или указано в инструкциях производителя.
3.1.1.37 горелка с полным предварительным смешением (fully premixed burner): Горелка, в которой часть или весь воздух для горения смешивается с потоком газа перед выходным отверстием горелки.
3.1.1.38 устройство контроля за отношением газа/воздуха (gas/air ratio control): Устройство, которое автоматически регулирует скорость воздуха для горения к скорости газа и наоборот.
3.1.2 Устройства настройки, регулировки и защиты
3.1.2.1 устройство задания диапазона (range rating device): Устройство, предназначенное для установки тепловой мощности прибора в пределах диапазона значений тепловой мощности, установленных изготовителем с целью соответствия требованиям по количеству тепла установки.
Примечание - Эта настройка может быть прогрессивной (например, при помощи установочного винта) или ступенчатой (например, путем замены дросселей).
3.1.2.2 система автоматического управления горелкой; топочный автомат (automatic burner control system): Система, включающая в себя программный блок и все элементы детектора контроля пламени.
Примечание - Различные функции системы управления автоматической горелкой могут выполняться в одном или нескольких корпусах.
3.1.2.3 программный блок (programming unit): Устройство, реагирующее на импульсы, передаваемые устройствами управления и обеспечения безопасности, подающее команды управления, управляющее программой пуска, контролирующее работу горелок и обеспечивающее управляемое выключение, защитное выключение или блокировку, при необходимости.
Примечание - Программный блок соблюдает заранее определенную последовательность действий и всегда работает совместно с детектором пламени.
3.1.2.4 детектор пламени (flame detector device): Устройство, которое обнаруживает и оповещает о возникновении пламени.
Примечание - Детектор пламени может состоять из сенсора пламени, усилителя и реле для передачи сигнала. Эти части, за исключением, возможно, самого сенсора пламени, могут размещаться в едином блоке, предназначенном для использования вместе с программным блоком.
3.1.2.5 сигнал наличия пламени (flame signal): Сигнал, вырабатываемый детектором пламени при наличии пламени.
3.1.2.6 регулятор давления (pressure regulator): Устройство, которое поддерживает постоянное выходное давление в пределах установленного диапазона, независимо от колебаний задаваемого входного давления и/или расхода газа.
3.1.2.7 настраиваемый регулятор давления (adjustable pressure regulator): Регулятор, оснащенный устройствами для изменения настройки давления на выходе.
3.1.2.8 регулятор расхода (volume regulator): Устройство, которое поддерживает постоянный расход газа в пределах заданного допуска, независимо от входного давления.
3.1.2.9 устройство контроля пламени (flame supervision device): Устройство, которое при наличии сигнала от детектора пламени поддерживает в открытом состоянии подачу газа, а в случае отсутствия контролируемого пламени отключает подачу газа.
3.1.2.10 автоматический запорный клапан (automatic shut-off valve): Клапан, предназначенный для открытия под напряжением и автоматического закрывания при обесточивании.
3.1.2.11 термостат (терморегулятор)/термостат контроля температуры помещения (control thermostat/room temperature control thermostat): Устройство, контролирующее работу прибора (путем включения/выключения, высокого/низкого или плавного регулирования) и позволяющее автоматически поддерживать температуру в помещении в пределах заданного допуска на заданном уровне.
3.1.2.12 защитное тепловое реле (overheat cut-off device): Устройство, которое прекращает или блокирует подачу газа, прежде чем прибор будет поврежден и/или возникает угроза безопасности, возобновление подачи газа должно осуществляться вручную.
3.1.2.13 ограничитель нагрева (overheat limit device): Устройство, предназначенное для поддержания температуры ниже одного определенного значения в ненормальных условиях эксплуатации, и которое или не имеет возможности настройки, или снабжено ограничителем максимальной температуры.
Примечание - Ограничитель нагрева может быть с автоматическим или ручным сбросом.
3.1.2.14 устройство управления вентилятором/управления остановкой вентилятора (fan control/fan delay control): Устройство управления, которое запускает и/или останавливает вентилятор подачи воздуха, когда температура подаваемого воздуха достигает определенного заданного значения.
3.1.2.15 термочувствительный элемент/датчик температуры (temperature sensing element/temperature sensor): Устройство, с помощью которого определяется температура контролируемой среды.
3.1.2.16 система безопасности отвода продуктов сгорания (combustion products discharge safety system): Система, которая автоматически отключает подачу газа к основной горелке, а возможно, и к запальной горелке, при обнаружении утечки продуктов сгорания из тягодутьевого устройства.
3.1.2.17 датчик состояния атмосферного воздуха (atmosphere sensing device): Устройство, предназначенное для прекращения подачи газа, если концентрация продуктов сгорания в воздухе помещения превысит заданное значение.
3.1.2.18 плавное регулирование (modulating control): Автоматическое управление, с помощью которого тепловая мощность прибора может непрерывно изменяться между номинальным и минимальным значениями.
3.1.2.19 регулировка больше/меньше (high/low control): Автоматическое управление, с помощью которого прибор может работать при номинальной тепловой мощности или при фиксированной пониженной тепловой мощности.
3.1.2.20 выпускной клапан (vent valve): Нормально открытый автоматический клапан, установленный между двумя автоматическими запорными клапанами и предназначенный для отвода любых небольших утечек газа.
3.1.2.21 устройство контроля расхода воздуха (airflow proving device): Устройство, которое контролирует и подтверждает наличие достаточного потока воздуха для сжигания и, при необходимости, для разжижения.
3.1.2.22 индикатор выключателя в закрытом положении (closed position indicator switch): Встроенный выключатель автоматического запорного клапана, который показывает, что закрывающийся элемент находится в закрытом положении.
3.1.2.23 проверка закрытия выключателя (proof of closure switch): Механическое перемещение встроенного выключателя автоматического запорного клапана, которое показывает, что закрывающий элемент находится в закрытом положении.
3.1.2.24 система контроля герметичности (valve proving system): Система проверки эффективности закрытия автоматических отсечных клапанов, предназначенного для обнаружения небольшой утечки газа (например, с помощью подтверждения давления или вакуума).
3.1.3 Работа прибора
3.1.3.1 объемный расход (volume flow rate): Объем газа, потребляемый прибором в единицу времени при непрерывной работе.
Примечание - Объемный расход выражается в кубических метрах в час (м3/ч), литрах в минуту (л/мин), кубических дециметрах в час (дм3/ч) или кубических дециметрах в секунду (дм3/с).
3.1.3.2 массовый расход (mass flow rate): Масса газа, потребляемая прибором в единицу времени при непрерывной работе.
Примечание - Единицы измерения массового расхода - килограмм в час (кг/ч) или грамм в час (г/ч).
3.1.3.3 тепловая мощность (heat input): Количество тепла, используемого прибором в единицу времени при сгорании газа, соответствующее объемному или массовому расходу, исходя из высшей или низшей теплоты сгорания.
Примечание - Тепловая мощность выражается в киловаттах (кВт).
3.1.3.4 номинальная тепловая мощность (nominal heat input): Значение тепловой мощности, указанное изготовителем.
Примечание - Номинальная тепловая мощность выражается в киловаттах (кВт).
3.1.3.5 устойчивость пламени (flame stability): Свойство пламени оставаться на огневых отверстиях горелки или в зоне устойчивости пламени, предусмотренной конструкцией.
3.1.3.6 отрыв пламени (flame lift): Полный или частичный отрыв основания пламени от огневых отверстий горелки или зоны устойчивости пламени, предусмотренной конструкцией.
Примечание - Отрыв пламени может вызвать задувание пламени (т.е. погасание газовоздушной смеси).
3.1.3.7 проскок пламени (light-back): Проникновение пламени в корпус горелки.
3.1.3.8 проскок пламени на форсунке (light-back at the injector): Воспламенение газа в форсунке в результате проскока пламени в горелку или распространения пламени вне горелки.
3.1.3.9 сажеобразование (sooting): Явление, которое возникает при неполном сгорании газа и характеризуется отложениями сажи на поверхностях или деталях, контактирующих с продуктами сгорания или с пламенем.
3.1.3.10 желтые языки пламени (yellow tipping): Появление желтизны в верхней части голубого конуса пламени при горении газовоздушной смеси.
3.1.3.11 первое время безопасности (first safety time): Интервал времени между подачей электропитания на газовый клапан запальной горелки, клапан пускового газа или основной газовый клапан, в зависимости от того, что применимо для конкретного прибора, и отключением электропитания основного газового клапана, если в конце этого интервала отсутствует сигнал о наличии пламени детектора.
Примечание - Если конструкцией не предусмотрено второе время безопасности, то этот интервал называется временем безопасности.
3.1.3.12 второе время безопасности (second safety time): Интервал времени между подачей и отключением электропитания основного газового клапана, если в конце этого интервала отсутствует сигнал о наличии пламени от детектора.
3.1.3.13 время ожидания (waiting time): Время между защитным отключением и любой попыткой запуска.
3.1.3.14 пусковой газ (start gas): Расход газа, необходимый для образования пускового пламени.
3.1.3.15 расход пускового газа (start gas rate): Ограниченный расход газа, поступающего к отдельной запальной горелке или основной горелке в течение первого времени безопасности.
3.1.3.16 пусковое пламя (start gas flame): Пламя, которое образуется при подводе пускового расхода газа либо к основной горелке, либо к отдельной запальной горелке.
3.1.3.17 рабочее состояние системы (running condition of the system): Условия эксплуатации, при которых горелка нормально работает под контролем программного блока и детектором пламени.
3.1.3.18 управляемое выключение (controlled shut-down): Процесс, при котором немедленно прекращается электропитание отсечного газового клапана(ов), например, в результате срабатывания устройства управления.
3.1.3.19 защитное выключение (safety shut-down): Процесс, который осуществляется немедленно после срабатывания устройства безопасности или неисправности в системе управления автоматической горелкой и при выходе горелки из строя.
Примечание - Состояние системы определяется отключением электропитания отсечных газовых клапанов и устройства зажигания.
3.1.3.20 энергонезависимая блокировка (non-volatile lock-out): Безопасное отключение системы, после которого повторный пуск возможен только при снятии блокировки вручную.
3.1.3.21 энергозависимая блокировка (volatile lock-out): Безопасное отключение системы, после которого повторный пуск возможен либо при снятии блокировки вручную, либо путем отключения электропитания и его последующего восстановления.
3.1.3.22 повторный розжиг (spark restoration): Процесс, при котором после исчезновения сигнала о наличии пламени снова подается электропитание на устройство зажигания без полного прерывания подачи газа.
Примечание - Этот процесс заканчивается восстановлением рабочего состояния или энергозависимой или энергонезависимой блокировкой, если в конце времени безопасности нет сигнала о наличии пламени.
3.1.3.23 автоматический повторный пуск (automatic recycling): Процесс, при котором после погасания пламени во время работы или после случайного прерывания работы горелки подача газа прерывается, и программа запуска автоматически повторяется.
Примечание - Процесс автоматического повторного пуска заканчивается восстановлением рабочего состояния или энергозависимой или энергонезависимой блокировкой в случае, если по истечении защитного времени нет сигнала о наличии пламени или не была устранена причина случайного прерывания подачи газа.
3.1.3.24 время открытия розжига (ignition opening time): Интервал времени между моментом открытия газовых клапанов и розжигом контролируемого пламени.
3.1.3.25 время безопасного погасания (extinction safety time): Интервал времени от момента погасания контролируемого пламени до прекращения подачи газа к основной и/или запальной горелке.
3.1.3.26 блокиратор зажигания (ignition interlock): Элемент конструкции, препятствующий работе устройства зажигания до начала подачи основного газа.
3.1.3.27 блокиратор повторного включения (re-start interlock): Механизм, предотвращающий возобновление подачи газа в основную горелку или основную и запальную горелки до тех пор, пока пластина разделяет контакты магнитного элемента.
3.1.3.28 отсутствие кондиционирования (no air condition): Состояние устройства контроля воздуха, при котором устройство проверяется на правильность работы при нулевом потоке воздуха.
3.1.3.29 полученный поток воздуха (proved airflow): Минимальный поток воздуха, при котором устройство контроля воздуха указывает на наличие потока воздуха.
3.1.3.30 проверка безопасного запуска (safe-start check): Проверка обеспечивается цепью защиты при запуске, ведущей к безопасному отключению или энергонезависимой блокировке в случае неисправности.
3.1.3.31 продувка (purge): Принудительное нагнетание воздуха в камеру сгорания и газоходы для удаления оставшейся газовоздушной смеси и/или продуктов сгорания.
Примечание - Различают два вида продувки:
a) предварительная продувка - продувка, которая производится между сигналом пуска и зажиганием через устройство зажигания;
b) последующая продувка - продувка, которая производится после отключения горелки.
3.1.4 Газы
3.1.4.1 испытательные газы (test gas): Газы, которые используются для проверки безопасности работы приборов, работающих на газовом топливе.
Примечание - Различают эталонные и предельные газы.
3.1.4.2 эталонные газы (reference gas): Газы, с которыми приборы достигают номинальных параметров, если они работают при соответствующем номинальном давлении.
3.1.4.3 предельные газы (limit gas): Газы, которые соответствуют предельным значениям параметров газов, на применение которых рассчитан прибор.
3.1.4.4 давление газа (gas pressure): Статическое давление, превышающее атмосферное давление, измеряемое в плоскости, перпендикулярной направлению газового потока.
Примечание - Единицы измерения - килопаскаль (кПа), миллибар (мбар) или бар (бар).
3.1.4.5 испытательные давления (test pressure): Давления газа, которые используются для проверки рабочих характеристик приборов, работающих на газовом топливе.
Примечания
1 Различают номинальное и предельное давления.
2 Испытательное давление выражается в миллибарах (мбар). 1 мбар = 101,325 Па.
3.1.4.6 номинальное давление (normal pressure): Давление, при котором приборы достигают номинальных параметров при работе с соответствующим эталонным испытательным газом.
3.1.4.7 предельное давление (limit pressure): Давление, имеющее крайние отклонения от условий газоснабжения аппарата.
Примечание - Предельное давление состоит из максимального предельного давления pmax и минимального предельного давления pmin.
3.1.4.8 пара давлений (pressure couple): Комбинация двух различных давлений подводимого газа, которые используются при большом различии значений числа Воббе в пределах одного семейства или группы газов:
- максимальное давление соответствует газу с низшим числом Воббе;
- минимальное давление соответствует газу с высшим числом Воббе.
3.1.4.9 относительная плотность (relative density): Отношение масс равных объемов сухого газа и сухого воздуха, измеренных при одинаковых значениях давления и температуры.
3.1.4.10 теплота сгорания (calorific value): Количество тепла, которое выделяется при полном сгорании единицы объема или массы газа при постоянном давлении 101,325 мбар, причем составные части горючего газа (смеси газов) определяются при стандартных условиях, а продукты сгорания отводятся при тех же условиях.
Примечания
1 Различают:
- высшую теплоту сгорания (Hs), при которой вода, образующаяся при сгорании газа, конденсируется;
- низшую теплоту сгорания (Hi), при которой вода, образующаяся при сгорании газа, превращается в пар.
2 К определению: тепловой коэффициент выражается или в мегаджоулях на кубический метр сухого газа при стандартных условиях (мДж/м3), или в мегаджоулях на килограмм сухого газа (мДж/кг).
3.1.4.11 число Воббе (Wobbe index): Отношение теплоты сгорания газа к квадратному корню его относительной плотности при стандартных условиях.
Примечания
1 Число Воббе определяется как высшее или низшее в зависимости от того, какая теплота сгорания газа, высшая или низшая, используется при вычислении.
2 Число Воббе выражается или в мегаджоулях на кубический метр сухого газа при стандартных условиях (мДж/м3), или в мегаджоулях на килограмм сухого газа (мДж/кг).
3.1.5 Условия эксплуатации и измерений
3.1.5.1 стандартные условия (reference conditions): Условия:
- при определении теплоты сгорания: температура 15 °C, давление 1013,25 мбар;
- для объемов газа и воздуха сухого, доведенных до 15 °C и до абсолютного давления 1013,25 мбар.
3.1.5.2 холодное состояние (cold condition): Состояние прибора, которое требуется для некоторых видов испытаний и характеризуется тем, что прибор перед розжигом выдерживают при комнатной температуре до достижения установившегося состояния.
3.1.5.3 горячее состояние (hot condition): Состояние прибора, которое требуется для некоторых видов испытаний и характеризуется тем, что прибор нагревают до установившегося режима при номинальной тепловой мощности, указанной изготовителем, причем имеющийся регулятор температуры остается в открытом положении.
3.1.5.4 тепловое равновесие (thermal equilibrium): Рабочее состояние прибора, соответствующее определенной тепловой мощности, при котором измеряемое значение температуры продуктов сгорания не изменяется более чем на +/- 2% (в °C) в течение 10 мин.
3.1.5.5 максимально допускаемое падение давления (maximum allowable pressure drop): Максимальное падение давления в системе отвода продуктов сгорания вследствие общего сопротивления потока, которое допущено для надежной эксплуатации прибора и указано изготовителем прибора в миллибарах.
3.1.5.6 эквивалентная длина (equivalent length): Длина горизонтальной системы отвода продуктов сгорания с диаметром, как у патрубков для отвода продуктов сгорания прибора, которая приводит к такому же падению давления, как система отвода продуктов сгорания, включая составные части, такие как колено, дроссель, горловина и т.д.
Примечание - Единица измерения - метр (м).
3.1.5.7 эквивалентное сопротивление (equivalent resistance): Сопротивление потоку (в мбар), измеренное на выходе из прибора, что эквивалентно действительному сопротивлению отвода продуктов сгорания.
3.1.6 Конденсационные приборы
3.1.6.1 конденсационный воздухонагреватель (condensing air heater): Воздухонагреватель, который при нормальных условиях эксплуатации конденсирует часть или весь водяной пар для того, чтобы тепло, содержащееся в водяном паре, могло быть использовано для отопления.
3.1.6.2 конденсат (condensate): Жидкость, которая образуется в процессе конденсации из выходящих продуктов сгорания.
3.1.6.3 устройство для сбора конденсата (condensate collecting device): Часть воздухонагревателя, предназначенная для сбора и отвода конденсата.
3.2 Символы
В настоящем стандарте используются символы, указанные в
таблице 1.
Таблица 1
Основные символы и сокращения
Символ | Обозначение | Объяснение |
Ae | об/об | избыточный воздух |
As | об/об | требование к стехиометрическому количеству воздуха |
AFmin | м3/ч | поток воздуха при минимальной нагрузке |
AFnom | м3/ч | поток воздуха при номинальной нагрузке |
C1 | мДж/(м3·К) | средняя теплоемкость сухих продуктов сгорания |
CL | x 10-6 или % | предельно допустимая концентрация оксидов углерода или азота |
Cm | x 10-6 или % | измеренная концентрация оксидов углерода или азота |
dh | | относительная плотность влажного газа относительно сухого воздуха |
dr | | относительная плотность эталонного газа к сухому воздуху |
D | мм | номинальный диаметр вывода прибора |
el | кВт | потребление электроэнергии |
elmax | кВт | потребление электроэнергии при номинальном расходе тепла |
elmin | кВт | потребление электроэнергии при минимальном расходе тепла |
elsb | кВт | потребление электроэнергии в режиме ожидания |
EQ | x 10-6 или % | концентрации оксидов углерода и азота |
EQmin | x 10-6 или % | величина выбросов при минимальном расходе тепла |
EQn | x 10-6 или % | величина выбросов при номинальном расходе тепла |
EQw | x 10-6 или % | взвешенная величина выбросов |
Fenv | % | граница коэффициента потери |
hm | г/кг | влажность при измерении NOX |
Hi | мДж/м3 (или мДж/кг) | низшая теплота сгорания газа |
Hs | мДж/м3 (или мДж/кг) | высшая теплота сгорания газа |
K | об/об | отношение общего объема влажных продуктов к общему объему подаваемого газа и воздуха |
mcond | кг/м3 | количество образованного конденсата |
Mmeas | кг/ч | массовый расход, полученный в условиях испытаний |
M0 | кг/ч (или г/ч) | массовый расход газа при стандартных условиях |
NOX0 | мг/кВт·ч | NOX с поправкой на нормальные условия |
NOXm | мг/кВт·ч | NOX, измеренные при hm и tm |
NOXmin | мг/кВт·ч | NOX, измеренные при минимальном расходе тепла |
NOXnom | мг/кВт·ч | NOX, измеренные при номинальном расходе тепла |
NOXseas | мг/кВт·ч | сезонные NOX |
p | мбар | давление на входе в блок горелки |
pa | мбар | атмосферное давление |
pg | мбар | давление подачи газа газового счетчика |
pn | мбар | нормальное давление |
pmax | мбар | максимальное предельное давление |
pmin | мбар | минимальное предельное давление |
| мбар | скорректированное максимальное пробное давление |
| мбар | скорректированное минимальное пробное давление |
pw | мбар | давление насыщенного пара испытываемого газа |
P | кВт | мощность |
Pign | кВт | постоянная потребляемая мощность контрольного пламени |
Pmin | кВт | потребляемая мощность при минимальной нагрузке |
Pnom | кВт | потребляемая мощность при номинальной нагрузке |
q1 | % | теплота сухих продуктов сгорания (% выделяемого тепла/м3 газа) |
q2 | % | теплота паров воды, содержащихся в продуктах сгорания (% выделенного тепла/м3 газа) |
Q | кВт | теплота |
Qin,nom | кВт | номинальное поглощаемое тепло |
Qin,min | кВт | минимальное поглощаемое тепло |
Q0 | кВт | скорректированное поглощаемое тепло |
rh | % | относительная влажность |
R1 | Ом  | сопротивление обмотки вентиляторного электродвигателя в начале испытания |
SA | мДж/м3 газа | теплота конденсации, полученная из конденсата |
SB | мДж/м3 газа | физическое тепло конденсированного водяного пара |
SC | мДж/м3 газа | потери физического тепла жидкого конденсата |
ta | °C | температура окружающей среды |
ta,comb | °C | температура воздуха для горения |
t1 | °C | средняя температура воздуха для горения |
t2 | °C | средняя температура дымового газа |
tcomp,max | °C | максимальная температура компонента |
tcomp,meas | °C | измеренная температура компонента |
tflue | °C | температура дымового газа |
tg | °C | температура газа |
tm | °C | максимальная температура компонента, измеренная во время испытания |
ts | °C | максимальная температура компонента, указанная производителем компонента |
Tp | °C | время предварительной продувки |
Tr | °C | время срабатывания предохранительного устройства продуктов сгорания |
V15 °C | м3/ч | эквивалентный поток воздуха при 15 °C |
Vcorr | м3/с | скорректированный объемный расход |
V | м3/с | измеренный объемный расход газа, изображенный на счетчике |
Vact | м3/ч | фактический объем поданного воздуха |
Vc | м3 | объем воздуха, доступный для сгорания |
Va | м3/с | максимальный объем потока свежего воздуха через прибор при максимальном поступлении тепла |
Vs | м3/с | минимальный объем потока свежего воздуха через прибор при максимальном поступлении тепла |
Vg | м3/ч | расход газа |
Vf | м3/м3 | количество сухих продуктов сгорания |
Vaf | м3/м3 | количество влажных продуктов сгорания |
VCO,M | % | измеренная концентрация CO |
VCO,N | % | концентрация CO (сухой, безвоздушный) |
| % | измеренная концентрация CO2 |
| % | концентрация CO2 (сухой, безвоздушный) |
V0 | м3/с (или л/мин, дм3/мин, дм3/с) | объемный расход газа при стандартных условиях |
| % | измеренная концентрация кислорода (сухой, безвоздушный) |
| об/об | измеренная концентрация углекислого газа |
| об/об | объем двуокиси углерода, произведенный из 1 м3 эталонного газа |
| об/об | объем воды, произведенной из 1 м3 эталонного газа |
Vf | м3 | объем сухих продуктов сгорания на единицу объема газа в м3 |
Vmeas | м3/с | объемный расход в условиях испытаний |
Vnom | м3/с | расход газа при номинальном поступлении тепла |
Vt | м3/с | количество сухого дымового газа |
Wi | мДж/м3 (или мДж/кг) | низшее число Воббе |
Ws | мДж/м3 (или мДж/кг) | высшее число Воббе |
| % | эффективность при минимальном поступлении тепла |
| % | эффективность при номинальном поступлении тепла |
| % | эталонная эффективность |
| % | тепловая эффективность |
| % | тепловая эффективность при минимальном поступлении тепла |
| % | тепловая эффективность при номинальном поступлении тепла |
| % | полнота сгорания GCV |
| % | эффективность сгорания NCV |
| % | сезонная энергоэкономия отопления помещений |
| % | термическая эффективность годового цикла |
| % | эффективность эмиссии особого потока воздуха |
| % | сезонная энергоэкономия отопления помещений в активном режиме |
4.1 Газы и категории
Приборы классифицируются по категориям в соответствии с EN 437.
4.2 Режим подачи воздуха и отвода продуктов сгорания
По способу отвода продуктов сгорания и подачи воздуха для горения приборы подразделяются на несколько типов.
Настоящий стандарт применяется:
- к приборам типа A: A1, A2, A3;
- к приборам типа B: B11, B11AS, B12, B12AS, B12BS, B13, B13AS, B13BS, B14, B14AS, B14BS, B22, B23, B41, B41AS, B41BS, B42, B42AS, B42BS, B43, B43AS, B43BS, B44, B44AS, B44BS, B52AS, B52BS, B53AS, B53BS;
- к приборам типа C: C11, C12, C13, C21, C31, C32, C33, C41, C62, C63.
5 Требования к монтажу и конструкции
5.1 Общие положения
5.1.1 Перенастройка на другие газы
5.1.1.1 Общие положения
Допустимые виды операций для перенастройки приборов соответствующих категорий с газа одной группы или семейства на газ другой группы или семейства и/или для согласования с другим присоединительным давлением газа приводятся ниже для каждой категории.
Эти виды операций должны осуществляться без отключения прибора от его коммуникаций.
Для каждой из упомянутых операций прибор испытывают с каждым из газов.
Любой прибор, принадлежащий к одной категории, может быть отнесен к другой категории, если соблюдены требования
приложения B.
5.1.1.2 Категория I
a) Категории I2H, I2L, I2E, I2E+: без изменений в приборе.
b) Категория I3B/P: без изменений в приборе.
c) Категория I3+: замена форсунок или калиброванных отверстий, но только для того, чтобы преобразовать с одной пары давления на другую (например, с 28 - 30/37 мбар на 50/67 мбар или наоборот). Кроме того, допускается регулировка первичного воздуха для перехода с бутана на пропан и наоборот.
d) Категория I3P: без изменений при перенастройке на другой газ. Для изменения давления, замены форсунки и регулировки расхода газа.
5.1.1.3 Категория II
5.1.1.3.1 Приборы, предназначенные для работы с газами первого и второго семейства
a) регулировка расхода газа и, при необходимости, замена сопел, предварительных дросселей или регуляторов давления газа;
b) регулировка расхода газа запальных горелок с помощью устройства настройки или замена сопел или предварительных дросселей и, при необходимости, замена всей запальной горелки или некоторых ее частей;
c) замена автоматического запорного клапана при необходимости;
d) отключение регулятора давления газа в соответствии с
5.2.6;
e) отключение устройств предварительной настройки расхода газа в соответствии с
5.2.2.1.
Установка или замена составных частей прибора допускается только при перенастройке с газа первого семейства на газ второго семейства или обратно.
5.1.1.3.2 Категории приборов, предназначенные для работы с газами второго и третьего семейства
a) регулировка расхода газа и, при необходимости, замена сопел, предварительных дросселей или регуляторов давления;
b) регулировка расхода газа запальной горелки с помощью устройства настройки или замена сопел или предварительных дросселей, а также, при необходимости, замена всей запальной горелки или некоторых ее частей;
c) замена автоматического запорного клапана, при необходимости;
d) отключение регулятора давления газа в соответствии с
5.2.6;
e) отключение устройств предварительной настройки расхода газа в соответствии с
5.2.2.1.
Установка или замена составных частей прибора допускается только:
- при перенастройке с газа второго семейства на газ третьего семейства или обратно;
- при перенастройке пары давлений для газа бутан/пропан (например, с 28 - 30/37 мбар до 50/67 мбар и обратно).
5.1.1.4 Категория III
Приборы категории III, используемые в некоторых странах, приведены в EN 437.
5.1.2 Материалы и конструкция
Качество и толщина материалов, используемых в конструкции приборов, а также метод сборки различных частей должны быть такими, чтобы конструктивные и эксплуатационные характеристики не подвергались значительным изменениям в течение установленного срока службы и при установке в соответствии с инструкциями по монтажу, и в соответствии с руководством по эксплуатации. Если не указано иное, конструктивные требования проверяются по результатам проверки прибора и его технической документации. После испытаний, указанных в
разделе 6, необходимо провести дополнительную проверку прибора, чтобы убедиться в том, что в приборе не произошло никаких изменений, которые могут повлиять на безопасность.
Для приборов, которые могут быть установлены снаружи отапливаемого помещения, все используемые материалы, включая изоляцию и прокладки, должны правильно функционировать в условиях окружающей среды, в которых они должны работать.
Качество и толщина материалов, из которых изготовлен прибор, должны соответствовать их назначению и предполагаемому использованию. Метод сборки различных частей должен быть таким, чтобы конструктивные и эксплуатационные характеристики существенно не изменились в течение установленного срока службы в условиях установки и эксплуатации, подробно описанных в инструкциях по монтажу и эксплуатации.
Если прибор установлен в соответствии с инструкциями по монтажу, все компоненты, включая теплообменник и его POCED в случае приборов типов B4, B5, C1, C2, C3 и C4, должны выдерживать механические, химические и термические нагрузки, которым они могут подвергаться при использовании в соответствии с руководством по эксплуатации.
В проектной документации должны быть представлены доказательства оценки проведенных испытаний и/или полученного опыта, чтобы подтвердить заявление о том, что используемые материалы и принятые методы конструкции подходят для предполагаемой цели.
В газовых коммуникациях не допускается применять материалы из меди, если их температура превышает 100 °C. В приборах не допускается применять асбест или материалы, содержащие асбест.
Не допускается применять тугоплавкий припой, в состав которого входит кадмий. Для газовых коммуникаций не допускается применять припои с температурой плавления ниже 450 °C.
Части коммуникации для отвода продуктов сгорания, расположенные за теплообменником, должны быть изготовлены из материала, устойчивого к коррозии, или иметь защитное покрытие. Не допускается применение деталей из оцинкованной стали, если они соприкасаются с продуктами сгорания при нормальном режиме работы.
5.1.2.3 Огнеупорность
Там, где это целесообразно, материалы, используемые в приборе, должны быть негорючими в соответствии с требованиями EN ISO 1182.
5.1.2.4 Приборы, не предназначенные для работы с конденсатом во время нормальной эксплуатации
Прибор должен быть сконструирован таким образом, чтобы при рабочих температурах, обеспечиваемых органами управления, конденсат отсутствовал.
Если конденсат возникает при запуске, это не повлияет на безопасность эксплуатации. Образующийся конденсат, за исключением выхода из дымохода, не должен выходить за пределы прибора.
5.1.2.5 Приборы, предназначенные для работы с конденсатом во время нормальной эксплуатации
Все части теплообменника и другие части прибора, которые могут контактировать с конденсатом при нормальных рабочих условиях при тепловом равновесии, должны быть изготовлены из достаточно устойчивого и коррозионно-стойкого материала, или должны быть защищены от коррозии, чтобы обеспечить установленный срок службы прибора, который установлен, используется и обслуживается в соответствии с инструкциями по монтажу и эксплуатации.
Запрещается использовать медь и медные сплавы для компонентов с конденсатом.
5.1.3 Доступность при техническом обслуживании и эксплуатации
Съемные детали при техническом обслуживании или ремонте должны быть легкодоступными. Правильная установка деталей не должна вызывать затруднений. Возможность неправильной установки и монтажа, которая может вызвать опасность или привести к повреждениям прибора или его устройств регулировки, должна быть исключена.
Камера сгорания и детали, контактирующие с продуктами сгорания, должны иметь возможность очистки без применения специального инструмента, за исключением его поставки вместе с прибором в качестве необходимых комплектующих изделий.
Все ручки, кнопки и т.д., необходимые для эксплуатации прибора, должны быть доступны без снятия деталей корпуса. Для этой цели допускается открытие дверцы или снятие закрывающей пластины.
Детали, доступные при эксплуатации и техническом обслуживании, не должны иметь острые кромки и углы, которые могут вызвать повреждения и травмы оператора при эксплуатации или техническом обслуживании.
Панели, которые необходимо снимать для проведения нормального обслуживания, технического обслуживания и очистки, должны быть снабжены удерживающими средствами, если прибор необходимо устанавливать на высоте более 1,8 м над уровнем пола, измеряемой от нижней стороны прибора. Это требование считается соблюденным, если установлены подходящие петли.
Продукты сгорания не должны попадать в систему распределения воздуха при снятии панелей доступа пользователя.
5.1.4 Теплоизоляция
Все применяемые теплоизоляционные материалы должны сохранять свои свойства под воздействием тепла и в результате старения. Теплоизоляция должна противостоять тепловым и механическим нагрузкам, которые могут возникать при нормальных условиях эксплуатации. Теплоизоляция должна быть негорючей, надежно установлена и защищена от механических повреждений, конденсата и вредителей.
5.1.5 Соединения газовой коммуникации
5.1.5.1 Утечка
Соединение газовой коммуникации должно быть спроектировано таким образом, чтобы не было недопустимого прохождения газа или попадания воздуха в газоход.
Должна быть предусмотрена возможность соединения прибора с газопроводом при помощи жестких металлических средств. Соединения газовой коммуникации прибора должны быть доступными. После снятия корпуса должен быть обеспечен свободный доступ к соединениям газовой коммуникации для проведения соответствующих подключений с помощью инструмента. Монтаж всех соединений газовой коммуникации должен выполняться стандартным инструментом.
Если прибор имеет резьбовое соединение, то резьба должна соответствовать EN ISO 228-1, EN 10226-2. В первом случае (EN ISO 228-1) конец входного соединения прибора должен быть достаточно плоским, чтобы можно было использовать уплотнительную шайбу.
Если используются фланцевые соединения, то они должны соответствовать ISO 7005-1, ISO 7005-2 или ISO 7005-3, а изготовитель прибора должен поставлять вместе с прибором контрфланцы и уплотнения.
Характеристики соединений для отдельных стран приведены в
A.2.
5.1.6 Герметичность
5.1.6.1 Герметичность газовой коммуникации
Приборы должны быть спроектированы таким образом, чтобы при обычном использовании газ не выходил непроизвольно из газовой коммуникации или воздух не попадал в нее.
Отверстия (например, для болтов и винтов), предназначенные для монтажа узлов прибора, не должны проникать в газовую коммуникацию. Толщина стенок между отверстиями (включая резьбовые) и газовой коммуникацией должна быть не менее 1 мм. Это не распространяется на отверстия, которые используют для проведения измерений.
Герметичность газовой коммуникации и ее соединений, которые демонтируют при техническом обслуживании на местах, должна обеспечиваться только с помощью уплотнений, например, уплотнения металл на металл, уплотнительных колец или шайб, за исключением герметизирующих средств, например, лент, мастики или замазки. Герметичность должна сохраняться после разборки и повторной сборки. Соединения должны соответствовать требованиям надлежащего стандарта. Если в приборе резьбовые соединения, резьба должна соответствовать EN ISO 228-1, EN 10226-2. Если используются фланцы, они должны соответствовать ISO 7005-1, ISO 7005-2 или ISO 7005-3, а производитель должен поставлять контрфланцы или уплотнительные прокладки. Если используются кольцевые уплотнения, они должны соответствовать EN 682.
Для неразъемных резьбовых соединений можно использовать герметики. Уплотняющий материал должен продолжать действовать при нормальных условиях эксплуатации системы.
5.1.6.2 Герметичность коммуникации для отвода продуктов сгорания
При нормальных условиях эксплуатации и техническом обслуживании герметичность коммуникации для отвода продуктов сгорания не должна нарушаться.
Герметичность съемных деталей при техническом обслуживании должна обеспечиваться механическими средствами.
5.1.7 Подача воздуха для горения и отвод продуктов сгорания
5.1.7.1 Патрубок для подачи воздуха для горения
5.1.7.1.1 Общие положения
Все приборы должны быть спроектированы таким образом, чтобы во время розжига и работы обеспечивался достаточный приток воздуха для горения во всем диапазоне поглощаемого тепла, указанного в инструкциях по монтажу.
Отверстия для доступа первичного воздуха должны иметь размер более 4 мм.
5.1.7.1.2 Приборы типов B11, B14, B44, C11, C21, C31 и C41
Поперечное сечение канала для подачи воздуха в прибор должно быть нерегулируемым.
5.1.7.1.3 Прочие приборы типов B и C
Настройка подачи воздуха для горения может осуществляться вручную или автоматически. Способ настройки заслонок или других регулирующих устройств подачи воздуха для горения должен быть указан в инструкциях по монтажу и настройке изготовителя.
Автоматическая регулировка подачи воздуха для горения осуществляется только в том случае, если прибор оснащен устройством регулирования соотношения "воздух-газ".
Приборы должны быть оснащены подходящими средствами для обеспечения достаточного количества воздуха для горения во время периода предварительной продувки и работы горелки.
5.1.7.2 Патрубок для отвода продуктов сгорания
5.1.7.2.1 Общие положения
Дымоходы должны быть спроектированы в соответствии с инструкциями к прибору с учетом возможного попадания дождя или снега внутрь прибора.
Поперечное сечение отверстия для дымового газа прибора должно быть нерегулируемым.
Если в приборе имеется POCED, который можно установить в соответствии с инструкциями к прибору так, что его выход, если он оборудован любым выводом, поставляемым с прибором или указанным в инструкциях к прибору, выходит за пределы внешней поверхности здания на расстояние более 1,5 м, этот воздуховод вместе с любыми воздуховодами (приборы типов C1 и C3) не должен подвергаться постоянным деформациям при испытании на ветровую нагрузку, указанном в 4.3.2 EN 1859.
Выпускные патрубки продуктов сгорания должны быть совместимы с соединениями, используемыми в отдельных странах, краткая информация приведена в
A.3 для ознакомления.
5.1.7.2.2 Приборы типа B1
5.1.7.2.2.1 Общие положения
Патрубок для отвода продуктов сгорания при необходимости может быть использован в качестве переходника для подключения к дымовой трубе, диаметр которой соответствует действующим стандартам страны, в которой должен использоваться прибор (см.
A.2).
Патрубок для отвода продуктов сгорания должен иметь такой внутренний диаметр, чтобы обеспечивалась нормальная работа прибора.
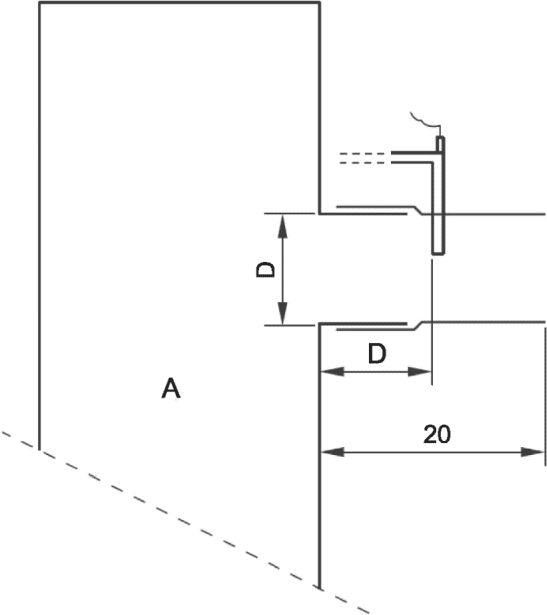
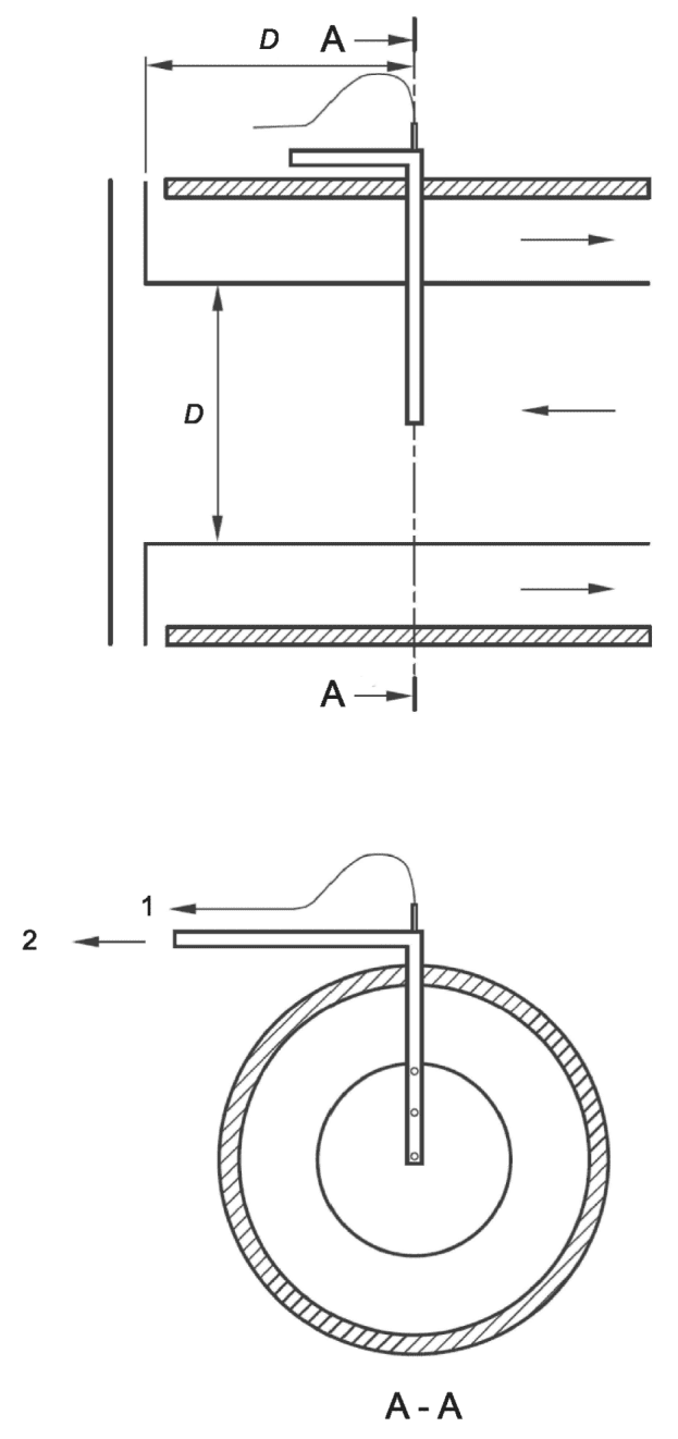
Должна быть предусмотрена возможность вставки дымохода с номинальным внешним диаметром (D - 2) мм на глубину не менее D/4 (где D - внутренний диаметр дымохода), но так, чтобы отвод продуктов сгорания был не нарушен.
5.1.7.2.2.2 Приборы типов B11, B11AS, B11BS, B12, B12AS, B12BS, B13, B13AS, B13BS, B14, B14AS и B14BS
Соединение с дымовой трубой должно осуществляться с помощью патрубка для отвода продуктов сгорания, перед которым находится стабилизатор тяги. Стабилизатор тяги является составной частью прибора.
Приборы должны быть сконструированы так, чтобы предотвращать выброс продуктов сгорания в опасном количестве в помещение, в котором они установлены, в условиях ненормальной тяги (см.
6.11.1 и
6.11.2). Для соблюдения этого требования приборы типов B
11, B
12, B
13 и B
14 должны быть оснащены подходящим устройством в заводской упаковке; в этом случае устройство обозначается как устройство типов B
11AS, B
11BS, B
12AS, B
12BS, B
13AS, B
13BS, B
14AS или B
14BS, в зависимости от устройства.
Данное устройство должно быть составной частью прибора. При эксплуатации оно должно выдерживать соответствующие тепловые, химические и механические воздействия. Изготовитель должен предусмотреть защиту от изменения его конструкции, демонтаж устройства контроля продуктов сгорания должен осуществляться с помощью инструмента. После проведения технического обслуживания возможность неправильного монтажа деталей прибора должна быть исключена.
Приборы, предназначенные для установки в отдельном от жилого помещения блоке (включая те, что не предназначены для применения в жилом помещении) и оснащенные вытяжной вентиляцией, могут не иметь данного устройства. В этом случае на упаковку должны быть нанесены соответствующие надписи, а в инструкции по эксплуатации должно быть указано ограничение применения этих приборов; в этом случае тип прибора обозначается как B11, B12, B13 или B14.
5.1.7.2.2.3 Дополнительные требования к приборам типов B14, B14AS и B14BS
Изготовитель должен указать минимальное и максимально допускаемое падение давления или эквивалентное сопротивление в системе отвода продуктов сгорания. В инструкциях для прибора должна быть указана подробная информация для расчета падения давления или эквивалентного сопротивления (например, допуск на изгибы).
Если прибор предназначен для подсоединения к вертикальному дымоходу, в инструкциях по монтажу должны быть указаны подходящие средства защиты вентилятора от повреждений, возникающих в результате падения предметов в дымоход.
Если прибор предназначен для присоединения к дымовой трубе с входным отверстием, расположенным в наружной стене, то изготовитель должен поставить с прибором устройство защиты от ветра или указать его тип. Устройство защиты от ветра не должно пропускать шар диаметром 16 мм, к которому приложено усилие 5 Н. Отвод продуктов сгорания должен производиться таким образом, чтобы конденсат, образующийся при эксплуатации прибора в холодном состоянии, улавливался с последующим испарением или выводился на достаточном расстоянии от стены.
5.1.7.2.3 Приборы типов B22 и B23
Отвод дымохода должен быть внешним и, при необходимости, при помощи переходника, поставляемого с прибором, подсоединяться к дымовой трубе, диаметр которой соответствует правилам, действующим в месте установки прибора (см.
A.2).
Внутренний диаметр дымохода должен соответствовать операционным требованиям.
Должна быть предусмотрена возможность вставки дымохода с номинальным наружным диаметром (D - 2) мм на глубину не менее D/4 (где D - внутренний диаметр дымохода), чтобы отвод продуктов горения не был нарушен. В инструкциях к прибору должны быть указаны минимальное и максимальное падение давления или эквивалентное сопротивление. В инструкциях к прибору должна быть указана подробная информация для расчета падения давления или эквивалентного сопротивления (например, допуск на изгибы).
Если прибор предназначен для присоединения к дымовой трубе с входным отверстием, расположенным в наружной стене, то изготовитель должен поставить с прибором устройство защиты от ветра или указать его тип. Устройство защиты от ветра не должно пропускать шар диаметром 16 мм, к которому приложено усилие 5 Н. Отвод продуктов сгорания должен производиться таким образом, чтобы конденсат, образующийся при эксплуатации прибора в холодном состоянии, улавливался с последующим испарением или выводился на достаточном расстоянии от стены.
5.1.7.2.4 Приборы типов B41, B41AS, B41BS, B42, B42AS, B42BS, B43, B43AS, B43BS, B44, B44AS и B44BS
POCED должен поставляться с прибором производителя или быть указан в инструкциях к прибору. В спецификации должно быть указано описание воздуховода, включая изгибы, материалы, из которых он изготовлен, и критические допуски (например, по длине, диаметру, толщине или глубине погружения). Переключатель тяги должен быть встроен в прибор или поставляться изготовителем вместе с прибором.
Изготовитель должен указать минимальное и максимально допускаемое падение давления или эквивалентное сопротивление в инструкциях по монтажу. В инструкциях для прибора должна быть указана подробная информация для расчета падения давления или эквивалентного сопротивления (например, допуск на изгибы).
Приборы должны быть сконструированы так, чтобы предотвращать выброс продуктов сгорания в опасном количестве в помещение, в котором они установлены, в условиях аномальной тяги (см.
6.11.1 и
6.11.2). Чтобы выполнить это требование, приборы типов B
41, B
42, B
43 и B
44 должны быть оснащены подходящим устройством в заводской упаковке; в этом случае прибор обозначается как устройство типов B
41AS, B
41BS, B
42AS, B
42BS, B
43AS, B
43BS, B
44AS или B
44BS в зависимости от устройства.
Данное устройство должно быть составной частью прибора. При эксплуатации оно должно выдерживать соответствующие тепловые, химические и механические воздействия. Изготовитель должен предусмотреть защиту от изменения его конструкции, демонтаж устройства контроля продуктов сгорания должен осуществляться с помощью инструмента. После проведения технического обслуживания возможность неправильного монтажа деталей прибора должна быть исключена.
Приборы, предназначенные для установки в месте, отделенном от жилых комнат (включая небытовые помещения), и оборудованные соответствующей вентиляцией снаружи, должны быть без такого устройства. В этом случае в соответствующих предупреждениях на упаковке и в инструкциях должны быть указаны ограничения на использование этого типа прибора; в этом случае прибор обозначается как прибор типов B41, B42, B43 или B44.
5.1.7.2.5 Дополнительные требования к приборам типов B44, B44AS, B44BS
Если прибор предназначен для подсоединения к вертикальному дымоходу, в инструкциях по монтажу должны быть указаны подходящие средства защиты вентилятора от повреждений, возникающих в результате падения предметов в дымоход.
Если прибор предназначен для присоединения к дымовой трубе с входным отверстием, расположенным в наружной стене, то изготовитель должен поставить с прибором устройство защиты от ветра или указать его тип. Устройство защиты от ветра не должно пропускать шар диаметром 16 мм, к которому приложено усилие 5 Н. Отвод продуктов сгорания должен производиться таким образом, чтобы конденсат, образующийся при эксплуатации прибора в холодном состоянии, улавливался с последующим испарением или выводился на достаточном расстоянии от стены.
5.1.7.2.6 Приборы типов B52 и B53
POCED должен поставляться с прибором производителя или должен быть указан в инструкциях к прибору. В спецификации должно быть указано описание воздуховода, включая любые изгибы, материалы, из которых он изготовлен, и любые критические допуски (например, по длине, диаметру, толщине или глубине погружения).
В инструкциях по монтажу должны быть указаны минимальное и максимальное падение давления или эквивалентное сопротивление в POCED. В инструкциях по монтажу должна быть указана подробная информация для расчета падения давления или эквивалентного сопротивления в POCED, например, допуск на изгибы.
Если прибор предназначен для присоединения к дымовой трубе с входным отверстием, расположенным в наружной стене, то изготовитель должен поставить с прибором устройство защиты от ветра или указать его тип. Устройство защиты от ветра не должно пропускать шар диаметром 16 мм, к которому приложено усилие 5 Н. Отвод продуктов сгорания должен производиться таким образом, чтобы конденсат, образующийся при эксплуатации прибора в холодном состоянии, улавливался с последующим испарением или выводился на достаточном расстоянии от стены.
5.1.7.2.7 Приборы типов C11, C12, C13, C31, C32 и C33
Устройство вывода должно поставляться производителем, а все необходимые воздуховоды для подачи воздуха для горения и продуктов горения должны поставляться производителем в испытательную лабораторию или должны быть описаны в инструкциях по монтажу.
В инструкциях по монтажу должны быть указаны минимальная и максимальная длина или эквивалентное сопротивление воздуховодов, которые можно использовать.
Устройство вывода должно быть спроектировано таким образом, чтобы предотвращать попадание дождя или снега на устройство или на само здание.
Все отверстия на внешних поверхностях устройств вывода приборов C1 не должны пропускать шарик диаметром 16 мм, а для приборов C3 - 35 мм при приложении силы 5 Н. Если характеристики устройства вывода зависят от камеры внутри стены, в приборе должна быть предусмотрена облицовка камеры.
Для приборов, не предназначенных для конденсации, любой конденсат, образующийся при эксплуатации прибора в холодном состоянии, должен улавливаться с последующим испарением или выводиться на достаточном расстоянии от стены.
5.1.7.2.8 Приборы типов C21 и C41
Воздуховоды для подачи воздуха для горения и продуктов горения должны поставляться изготовителем в испытательную лабораторию или должны быть описаны в инструкции по монтажу. В инструкциях по монтажу должны быть указаны минимальная и максимальная длина или эквивалентное сопротивление воздуховодов.
При необходимости отвод дымохода должен подсоединяться к общему дымоходу при помощи переходника, поставляемого с прибором, диаметр которого соответствует действующим правилам в месте, в котором будет установлен прибор.
5.1.7.2.9 Приборы типов C62 и C63
В инструкциях по монтажу должно быть указано, что прибор можно устанавливать только с окончанием дымохода, утвержденным для использования с приборами типа C6.
Кроме того, в инструкции по монтажу должна быть указана разность давлений, измеренная между впускным воздуховодом для подачи воздуха для горения и выпускной трубой для продуктов сгорания, которая эквивалентна максимально допустимому сопротивлению системы воздуховодов, которая может быть установлена.
5.1.7.2.10 Приборы, предназначенные для наружной установки
Выход дымохода должен быть спроектирован и размещен таким образом, чтобы он не мог быть заблокирован (например, продуктами коррозии, грязью зольного происхождения, листвой или снегом), и чтобы свести к минимуму окрашивание прилегающих поверхностей.
Отвод дымохода, если он является неотъемлемой частью прибора, должен быть защищен от попадания дождя или снега. Любое отверстие в защитном ограждении не должно допускать попадания шара диаметром 16 мм, приложенного с силой 5 Н.
5.1.7.2.11 Защита окончания дымохода
Защита окончания дымохода должна быть обеспечена в соответствии с национальными нормативами, действующими в различных государствах-членах.
5.1.8 Подача и распределение воздуха для обогрева помещения
5.1.8.1 Патрубок для подачи воздуха
Если воздухозаборник предназначен для подвода к прибору, прибор должен быть снабжен фланцевыми или концевыми соединениями на воздухозаборном отверстии.
Примечание - При необходимости производитель может поставить подходящий адаптер для соблюдения настоящего требования.
5.1.8.2 Патрубок для отвода продуктов сгорания
Канальные воздухонагреватели должны иметь воздуховыпускные отверстия, оборудованные фланцами или патрубками для облегчения подсоединения воздуховодов или гибких муфт.
Примечание - При необходимости производитель может поставить подходящий адаптер для соблюдения этого требования.
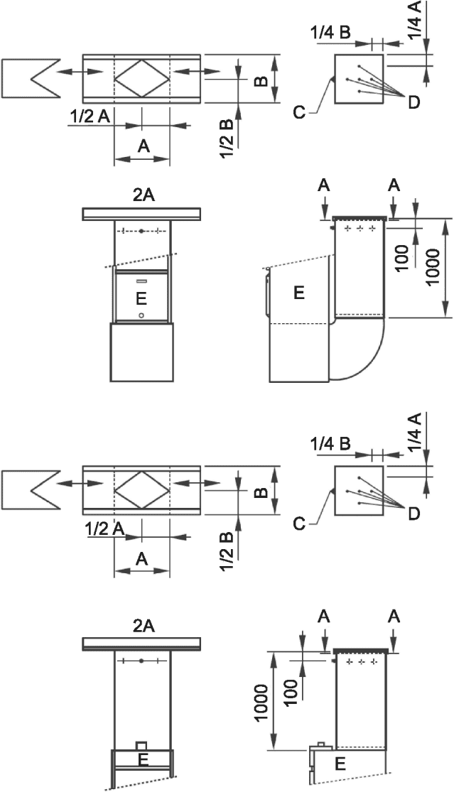
Если беспроточный нагреватель оснащен направляющими заслонками, прибор должен продолжать работать удовлетворительно, т.е. устройство отключения при перегреве не должно срабатывать, когда заслонки (створки) находятся в положении максимального закрытия.
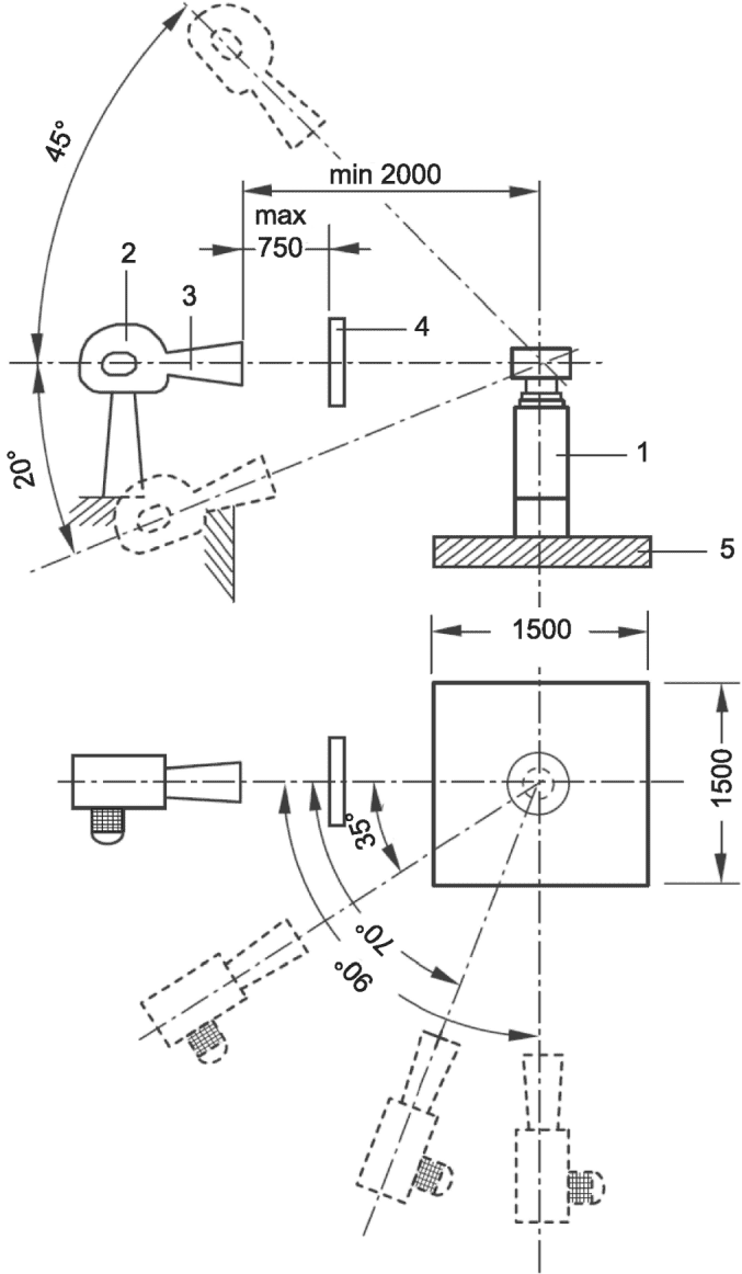
Для приборов типов A2 и A3, где беспроточный прибор оборудован направляющими заслонками, заслонки должны поставляться изготовителем и регулироваться между горизонтальным выпуском и выпуском под углом не менее 45° вниз от горизонтали.
5.1.8.3 Положение камеры сгорания и теплообменника
В приборах типов B и C, предназначенных для бытового использования, камера сгорания и теплообменник должны быть расположены на стороне нагнетания нагретого воздуха так, чтобы продукты сгорания были под более низким давлением, чем окружающий воздух. Продукты сгорания не должны попадать в систему распределения воздуха, даже если панели доступа пользователя удалены.
5.1.9 Проверка рабочего состояния
Оператор должен иметь возможность визуального контроля за работой горелки и высотой пламени запальной горелки (при наличии). Для этой цели предусмотрена небольшая дверца или заслонка, обеспечивающая непрерывную работу горелки.
Если контроль осуществляют через смотровое отверстие, находящееся в области высоких температур, то оно должно изготавливаться из прозрачного материала, например, жаропрочного стеклотекстолита, и уплотняться жаропрочным герметизирующим средством.
Если основная горелка оснащается детектором пламени, то допускается косвенное наблюдение (например, с помощью индикаторных лампочек). Косвенное наблюдение используется только для индикации наличия пламени при нормальном воспламенении или для индикации отсутствия пламени вследствие сбоя при розжиге или неисправности устройства контроля пламени. Оно не должно использоваться для указания какой-либо другой неисправности.
Пользователь должен иметь возможность после открытия двери или снятия смотровой панели в любое время проверить, работает ли прибор, путем визуального наблюдения за пламенем или другим косвенным способом, при условии, что отвод продуктов сгорания (в устройствах типа B) не нарушается и исправность цепи сгорания (в устройствах типа C) не изменяется.
5.1.10 Электрическое оборудование
Электрическое оборудование прибора должно соответствовать требованиям EN 60335-2-102, EN 60730-1 и EN 61058-1.
Если прибор оснащен электронными компонентами или электронными системами, обеспечивающими функцию безопасности, они должны соответствовать требованиям EN 298.
Если производитель указывает на фирменной табличке характер электрозащиты устройства, эта спецификация должна соответствовать EN 60529, чтобы обеспечивать:
a) степень защиты людей от соприкосновения с опасными электрическими составными частями внутри корпуса прибора;
b) степень защиты электрического оборудования, расположенного внутри корпуса прибора, от вредных воздействий, вызванных проникновением воды.
Для устройств типов A2 и A3 безопасные разделительные трансформаторы и элементы контакта переключателя должны соответствовать требованиям EN 61558-2-6 и EN 61558-2-16.
5.1.11 Операционная безопасность при колебаниях, прерывании и возобновлении подачи напряжения
5.1.11.1 Операционная безопасность в случае нормального колебания дополнительной энергии
В случае нормальных колебаний дополнительной энергии уровни выбросов CO и NO
X прибора должны оставаться ниже допустимых пределов. Особые требования и методы испытаний, связанные с продолжительной и безопасной работой прибора в случае нормальных колебаний дополнительной энергии, указаны в
6.7.3.1.4,
6.7.3.1.5 и
6.8.2.3.3.
5.1.11.2 Операционная безопасность в случае ненормальных колебаний, прерывании и возобновлении подачи дополнительной энергии
Ненормальные колебания, прерывание и последующее возобновление основного напряжения электроснабжения прибора в любой момент во время запуска и работы прибора должны привести к:
a) продолжению безопасной эксплуатации;
b) защитному выключению;
c) энергозависимой или энергонезависимой блокировке.
Прерывание и последующее возобновление подачи электроэнергии к прибору не должно замещать условия блокировки, за исключением случаев, когда прибор может быть перезапущен при помощи выключения и включения подачи электроэнергии к прибору.
| | ИС МЕГАНОРМ: примечание. В официальном тексте документа, видимо, допущена опечатка: пункт 6.8.3.2.3 отсутствует. | |
Требования и методы испытаний, связанные с продолжительной и безопасной работой прибора в случае ненормального колебания дополнительной энергии, указаны в
6.7.3.1.4 и 6.8.3.2.3.
5.1.12 Двигатели и вентиляторы
Направление вращения вентиляторов и двигателей должно быть четко обозначено.
Вращающиеся части двигателей, вентиляторов не должны быть доступны без специальных инструментов, чтобы исключить соприкосновение с движущимися частями. Ременные приводы, если они используются, должны быть сконструированы или размещены таким образом, чтобы обеспечивать защиту оператора.
Двигатели и вентиляторы, включая любые ременные приводы, должны быть защищены соответствующими ограждениями, щитами или экранами соответствующего размера, прочности и надежности, чтобы к ним нельзя было прикоснуться. Ограждение должно соответствовать IP20, как указано в EN 60529. Удаление таких ограждений, щитов или экранов возможно только с использованием наиболее распространенных инструментов.
Должны быть предусмотрены средства, облегчающие регулировку натяжения ремня при помощи наиболее распространенных инструментов.
Двигатели и вентиляторы устанавливают таким образом, чтобы шум и вибрация были минимальными. Места для смазки (при наличии) должны быть легкодоступными.
Для приборов типов A2 и A3 должны быть предусмотрены средства, предотвращающие попадание в вентилятор крупных предметов, сводящие к минимуму риск блокировки и получения случайных травм персонала. Это требование считается соблюденным, если предотвращено проникновение стандартных испытательных пальцев, указанных в EN 60335-1.
5.2 Устройства настройки, регулировки и защиты
Нерабочее состояние устройства настройки, регулировки и защиты не должно приводить к возникновению опасной ситуации. Устройство управления не должно влиять на работу устройства защиты.
Все следующие устройства или многофункциональные управляющие устройства, в которые они могут быть установлены, должны быть съемными или заменяемыми, если это необходимо для очистки или замены устройства. Регуляторы устройств не должны быть взаимозаменяемыми, если это может привести к путанице.
Если имеется несколько кнопок управления (например, краны и термостаты), они не должны быть взаимозаменяемыми, если это может привести к путанице, или они должны быть четко обозначены с указанием их функций.
Для канальных приборов газовые соединения должны располагаться снаружи воздуховода, чтобы предотвратить попадание газа в систему воздуховодов.
Все элементы управления и защиты должны быть пригодны для использования в диапазоне температур окружающей среды, заявленном изготовителем прибора.
Для приборов, в которых газовые соединения находятся в отдельном отсеке прибора, в отсеке должна быть достаточная вентиляция при помощи отверстий равного размера, расположенных в верхней и нижней части отсека. Вентиляционные отверстия должны иметь общую свободную открытую площадь, равную или превышающую 2% площади самой большой плоской поверхности отсека. Вентиляционное отверстие должно быть расположено так, чтобы его не закрывали посторонние предметы (например, птицы).
5.2.2 Устройства предварительной настройки расхода газа и тепловой мощности
Регуляторы расхода газа и устройства для измерения диапазона должны быть спроектированы таким образом, чтобы они были защищены от случайной неправильной регулировки пользователем после установки и ввода прибора в эксплуатацию. Установщик должен изолировать их (например, краской) после регулировки; изоляция должна выдерживать воздействие тепла, которому она подвергается при нормальной работе прибора. Регулировочные винты регуляторов расхода газа и приборов для определения диапазона должны быть расположены так, чтобы они не могли попасть в газовые тракты.
Надежность газовой сети не должна подвергаться риску из-за наличия регуляторов расхода газа и устройств для измерения диапазона.
Примечания
1 В этом случае регулятор считается "изолированным" в своем откорректированном положении.
2 Регулятор в заводской упаковке считается отсутствующим.
3 Регулятор считается отсутствующим, если он был в заводской упаковке в таком положении, что он не работает в диапазоне подводимого давления, соответствующего категории прибора.
5.2.2.2 Устройства предварительной настройки расхода газа
Приборы категорий I2H, I2L, I2E, U2E+, I3B/P, I3P, II2H3B/P, II2H3+, II2H3P, II2L3B/P, II2E3B/P, II2E+3+ и II2E+3P не должны оснащаться устройствами предварительной настройки расхода газа. Однако для категорий приборов, оснащенных регулятором давления, за исключением прибора категории II2E+3+, может быть предусмотрено оборудование с устройством предварительной настройки расхода газа с помощью регулировочного винта регулятора расхода газа.
Приборы категории II1a2H должны иметь устройство предварительной настройки расхода газа для газов первого семейства.
Для приборов категорий II
2H3+ и II
2E+3+, оснащенных устройством предварительной настройки расхода газа, при работе с газами третьего семейства должна быть предусмотрена возможность отключения этих устройств. Это распространяется и на приборы категории II
1a2H, если в них используется газ второго семейства. Для приборов категории II
2E+3P, которые оснащены устройством предварительной настройки расхода газа, при использовании газа второго семейства согласно
5.2.6 должна быть предусмотрена возможность его полного или частичного отключения.
Устройства предварительной настройки должны устанавливаться только с помощью инструмента и фиксироваться в рабочем положении.
5.2.2.3 Устройство для измерения диапазона
Устройство для измерения диапазона на приборе поставляется по усмотрению заказчика.
Для приборов категории II1a2H регулятор расхода газа и устройство для измерения диапазона могут быть одинаковыми. Однако, если регулятор расхода газа должен быть полностью или частично изолирован, если прибор получает питание от газа второго семейства, регулятор расхода газа или его изолированная часть больше не должны использоваться установщиком в качестве устройства для измерения диапазона.
5.2.3 Профилирующая планка
Для приборов типов A
2 и A
3, где установлена профилирующая планка, устройство контроля воздуха, требуемое согласно
пункту 5.2.12.1, должно вызывать безопасное отключение, если не достигнут поток воздуха через горелку, как заявлено изготовителем.
Если используется регулируемая профилирующая планка, она должна быть зафиксирована во избежание неожиданного движения.
5.2.4 Регуляторы аэрации
Любые средства регулировки первичного смешения с воздухом на горелке должны быть предварительно настроены и изолированы производителем с целью предотвращения несанкционированного вмешательства.
Для приборов с вентиляторными горелками, снабженными другими средствами регулировки поперечного сечения каналов воздуха для горения, это средство регулировки должно быть сконструировано таким образом, чтобы после регулировки в соответствии с инструкциями по монтажу оно могло быть установлено и изолировано.
5.2.5.1 Внешнее управление
Ручные клапаны, кнопки или электрические переключатели, которые необходимы для нормальной работы и ввода в эксплуатацию прибора, должны быть или снабжены устройством, или, если они не встроены в него, указаны в инструкциях по монтажу прибора.
5.2.5.2 Ручные клапаны
Ручные клапаны должны быть поворотными на 90°. Направление их закрытия должно быть по часовой стрелке.
Ручные клапаны должны быть спроектированы или расположены таким образом, чтобы предотвращать их неправильное срабатывание, но при этом они должны быть простыми в эксплуатации. Они должны быть сконструированы таким образом, чтобы во время работы положения "Открыто" и "Закрыто" были легко различимыми.
Если запорный клапан прибора является неотъемлемой частью прибора, он должен работать при давлении, в 1,5 раза превышающем подводимое давление, и должен быть легкодоступен.
Ручные клапаны, используемые исключительно для операций Открыть/Закрыть, должны иметь упоры-ограничители в положениях "Открыто" и "Закрыто".
5.2.6 Регуляторы давления газа
Регуляторы давления газа должны соответствовать EN 88-1:2011+A1:2016.
Приборы категорий I2H, I2E, I3B/P, I3P, I1a2H, II2H3B/P, II2H3+, II2H3P, II2E3B/P и IUE+3P должны быть оборудованы газовым регулятором. Приборы категорий I2L и II2L3B/P могут быть оснащены газовым регулятором. Кроме того, приборы категорий I2E+ и II2E+3+ могут быть оборудованы газовым регулятором. Однако регулятор, если он существует, не должен работать в диапазоне двух нормальных давлений пары давления второго семейства, т.е. от 20 до 25 мбар.
Для приборов категорий II2H3+ и II2E+3+ должна быть предусмотрена возможность вывода регулятора, если таковой имеется, из эксплуатации, если они получают питание от газов третьего семейства. Для приборов категорий II2E+3+ и II2E+3P должна быть предусмотрена возможность частичного вывода регулятора из строя, они получают питание от газов второго семейства, так что регулятор не работал в диапазоне двух нормальных давлений пары давления второго семейства, т.е. от 20 до 25 мбар. Если установлен регулятор газа, он должен контролировать подачу газа к основной горелке и любой запальной горелке с тепловой мощностью более 2 кВт.
Примечание - Допускаются отдельные регуляторы для основной горелки и запальной горелки.
Конструкция и доступ к регулятору должны быть такими, чтобы его можно было легко настраивать или выводить из эксплуатации для использования с другим газом, но должны быть приняты меры предосторожности с целью предотвращения несанкционированного вмешательства в регулировку.
Регулятор считается отсутствующим, если он был в заводской упаковке в таком положении, что он не работает в диапазоне подводимого давления, соответствующего категории прибора.
5.2.7 Многофункциональные устройства управления
Многофункциональные устройства управления должны соответствовать EN 126.
Кроме того, многофункциональные устройства управления должны включать в себя соответствующие требования к клапанам, указанные в
пункте 5.2.9. В системах горелок с непрерывным розжигом должна быть предусмотрена возможность ручного управления предохранительным запорным клапаном, встроенным в систему подачи газа к запальной и основной горелкам.
Маркировка символов не требуется в том случае, если исключено неправильное управление, например, когда имеется только одна кнопка устройства контроля пламени основной и запальной горелок. В тех случаях, когда при обозначении различных положений многофункциональных устройств маркировка символов необходима, должны быть нанесены следующие символы:
a) положение "закрыто" - символ "круг";
b) положение "розжиг запальной горелки" (при наличии) - символ "звезда";
c) положение "полный расход газа в горелке" - символ "большое пламя".
Если прибор оснащен двумя различными устройствами предварительной настройки расхода газа, т.е. одним устройством для основной горелки и одним устройством для запальной горелки, то работа этих устройств должна производиться таким образом, чтобы газ в запальную горелку подавался в первую очередь. Если основная и запальная горелки имеют только одно устройство управления, то ручка управления в режиме "розжиг запальной горелки" должна иметь упор или ограничитель, однозначно обеспечивающий это положение. Изменение этого положения, если оно предусмотрено, должно производиться только вручную.
Если управление устройствами осуществляется при помощи поворотных устройств управления, то закрытие должно производиться поворотом ручки по часовой стрелке.
5.2.8 Устройства контроля пламени
Устройства контроля пламени, зависящие от температуры, должны соответствовать EN 125. Другие устройства контроля пламени должны соответствовать EN 298.
5.2.9 Автоматические запорные клапаны
5.2.9.1 Общие положения
Автоматические запорные клапаны должны соответствовать EN 161.
Минимальные требования к клапанам приведены в
5.2.9.2 -
5.2.9.5. Клапаны класса D, как указано в настоящих разделах, можно заменить на клапаны класса C, B или A, клапаны класса C можно заменить на клапаны класса B или A, а клапаны класса B можно заменить на клапаны класса A.
5.2.9.2 Приборы с естественной тягой с полезным подводом тепла <= 70 кВт
5.2.9.2.1 Приборы с отдельной запальной горелкой
В приборах, в которых зажигание происходит от отдельной запальной горелки, все источники газа должны находиться под контролем автоматических запорных клапанов, подсоединенных к газовой линии последовательно, с мощностью, не ниже указанной в
таблице 2.
Таблица 2
Требования к клапанам для приборов
с отдельной запальной горелкой
Система | Главный газовый кран | Клапаны пускового газа |
Неавтоматическая запальная горелка | 1 класс C + 1 класс D | |
Автоматическая с временем ожидания <b> | 1 класс C + 1 класс D | |
Автоматическая без времени ожидания | 1 класс C + 1 класс C, или 1 класс B + 1 класс D | |
<a> Этот клапан может быть компонентом пускового газа, который является неотъемлемой частью термоэлектрического клапана или многофункционального управляющего устройства, соответствующего требованиям EN 125 или EN 126. Этот клапан не обязательно должен быть дополнением к клапану класса C, необходимому для управления основным газом. <b> Время ожидания должно составлять минимум 300 с. <c> Данный клапан может быть класса B или C, контролируя поставку основного газа. <d> Если мощность запальной горелки превышает 0,6 кВт, то дополнительный клапан класса D должен входить в поставку. |
5.2.9.2.2 Прибор с непосредственным зажиганием основной горелки
Приборы с непосредственным зажиганием основной горелки должны находиться под управлением автоматических запорных клапанов, последовательно подсоединенных к газопроводу, с мощностью не ниже указанной в
таблице 3.
Таблица 3
Требования к клапанам приборов с непосредственным зажиганием
основной горелки
Система | Газовые клапаны |
Тип B и C без времени ожидания <a> | 1 Класс C + 1 Класс D |
Тип C без времени ожидания | 1 Класс C + 1 Класс C или 1 Класс B + 1 Класс D |
<a> Время ожидания должно составлять минимум 300 с. |
5.2.9.2.3 Вентильное действие в случае отключения
Безопасное и управляемое выключения должны влиять на закрытие клапана класса D (или его альтернативы) в течение 5 с.
5.2.9.3 Приборы с вентиляторными горелками и полезным подводом тепла <= 70 кВт
5.2.9.3.1 Все приборы
Подача газа должна контролироваться автоматическими запорными клапанами, подключенными к газопроводу последовательно, как показано на
рисунке 1, и иметь мощность не ниже указанной в
таблице 4.
IB - запальная горелка; MB - основная горелка; V1 - клапан
противоточного типа; V2 - напорный клапан
Рисунок 1 - Примеры стандартных клапанных систем
Таблица 4
Требования к запорным арматурам
Система | Запорная арматура | Предварительная продувка <a> | Предварительная продувка <b> |
V1 | V2 |
Непрерывная или переменная запальная горелка | | D | Нет | Да |
Временная или прерывистая запальная горелка или запальная горелка основной горелки | C | D | Да | Да |
| C | C | Нет | Да |
| B | D | Нет | Да |
<a> Нормальный запуск прибора; т.е. наступает после контролируемого отключения. <b> Перезапуск прибора; т.е. наступает после безопасного отключения, блокировки или останова для обслуживания. <c> Система контроля постоянного пламени (пилот) разрешена только в том случае, если она действует при помощи надежного устройства отключения (например, термоэлектрический запорный клапан) требуемого класса (EN 161:2011+A3:2013). |
5.2.9.3.2 Отключение
Для автоматического устройства контроля пламени защитное тепловое реле должно закрывать все запорные клапаны.
5.2.9.4 Приборы с полезным подводом тепла > 70 кВт
5.2.9.4.1 Приборы типов B11, B14, B41 и B44
5.2.9.4.1.1 Приборы с пламенем пускового газа
Подача газа должна контролироваться автоматическими запорными клапанами, последовательно подсоединенными к газопроводу класса согласно
таблице 5.
Таблица 5
Минимальные требования к клапанам для приборов типов B
11,
B14, B41 и B44
Входное значение | Требуемые главные газовые краны | Требуемые пусковые газовые краны |
Неавтоматические системы | Автоматические системы | Неавтоматические системы | Автоматические системы |
135 кВт и ниже | 1 x класс C плюс | 1 x класс B плюс | | |
| | |
От 135 до 300 кВт | 1 x класс B плюс | 1 x класс B плюс | | |
1 x класс C | 1 x класс C | |
<a> Данный клапан класса D должен иметь минимальную уплотняющую силу 1 Н/м. Уплотняющая сила рассчитывается как сила упругости в закрытом положении, поделенная на окружность или длину уплотнения. <b> Данный клапан может быть заменен термоэлектрическим клапаном, соответствующим требованиям EN 125, имеющим уплотняющую силу, как минимум, эквивалентную клапану класса C, соответствующему требованиям EN 161. <c> Этот клапан может быть клапаном класса B, контролирующим подачу основного газа. <d> Этот клапан класса D не требуется, если расход пускового газа не превышает 0,6 кВт или 1% от номинальной тепловой мощности основной горелки до максимум 1,5 кВт, в зависимости от номинального подвода тепла устройства (см. 5.6.2.1). <e> Если для автоматических систем используется клапан класса D, следует использовать сито, не проходящее через концевой калибр 0,2 мм. Это сито должно быть установлено перед клапаном. |
Однако для приборов типов B11 и B41 с неавтоматическими системами и поглощением тепла 135 кВт и ниже, клапан пускового газа класса C можно заменить на термоэлектрическое устройство контроля пламени в соответствии с EN 125, с уплотняющей силой, эквивалентной клапану класса C в соответствии с EN 161.
Примечание - В настоящее время этот документ разработан для приборов, которые будут проходить стандартные испытания. Для более крупных приборов, не предназначенных для стандартных испытаний, требования к клапанам будут рассматриваться дальше.
5.2.9.4.1.2 Приборы с прямым зажиганием основной горелки
Такие приборы (см.
5.6.2.1.2,
5.6.2.2.2,
5.6.3.2) должны быть оснащены двумя последовательно соединенными автоматическими запорными клапанами. Один из них должен быть как минимум класса B, а другой как минимум класса D. Для приборов типов B
11 и B
41 один из клапанов должен быть класса A или B, а другой - класса A, B, C или D.
5.2.9.4.2 Приборы типов B
12, B
22, B
42, B
52, C
12, C
32 и C
62 и наружные приборы с вентилятором в цепи сгорания после камеры сгорания/теплообменника
Подача газа должна быть под контролем двух последовательно соединенных автоматических запорных клапанов (см.
таблицу 6). Для приборов с подводом тепла, не превышающим 135 кВт, один клапан должен относиться к классу B, а другой клапан - к классу B, классу C или классу D. Для приборов с подводом тепла более 135 кВт два клапана должны быть не ниже класса B.
Таблица 6
Минимальные требования к наружным клапанам и для приборов
типов B12, B22, B42, B52, C12, C32 и C62
Входное значение | Краны, необходимые для автоматических систем | Краны пускового газа, необходимые для автоматических систем |
135 кВт или ниже | 1 x класс B плюс 1 x класс D <b> | |
От 135 до 300 кВт | 2 x класс B | 1 x класс B <b> плюс 1 x класс B <c> |
<a> Если используется клапан класса D, необходимо использовать сито, не проходящее через концевой калибр 0,2 мм. Это сито должно быть установлено перед клапаном. <b> Этот клапан может быть клапаном, регулирующим подачу основного газа. <c> Этот клапан не требуется, если: 1) расход пускового газа составляет 10% или ниже от расхода основного газа; 2) прибор не предназначен для сжигания газов третьего семейства; 3) прибор нельзя устанавливать так, чтобы вход воздуха для горения был выше, чем выход из камеры сгорания; 4) предварительная продувка обеспечивает не менее пяти изменений объема. |
Примечание - В настоящее время этот стандарт разработан для приборов, которые будут проходить стандартные испытания. Для более крупных приборов, не предназначенных для стандартных испытаний, требования к клапанам будут рассматриваться дальше.
Если основное пламя устанавливается за счет пламени пускового газа, подача пускового газа должна быть или:
a) под контролем после автоматического отсечного клапана основного газа, включающего в себя регулирование скоростью пускового газа. Клапан должен иметь устройство, позволяющее устанавливать скорость подачи пускового газа так, чтобы энергия, доступная в течение периода воспламенения пускового газа, не превышала значения, указанные в
5.5; или
b) под контролем одного автоматического запорного клапана класса B (см.
таблицу 6). Однако, если условия, указанные в
таблице 6, сноска <c>, не соблюдены, должен быть установлен второй клапан, как указано в
таблице 6.
Если автоматический запорный клапан основного газа включает в себя регулятор скорости пускового газа, возможность регулировать расход пускового газа до уровня, превышающего 50% от полностью открытого расхода при том же перепаде давления, должна отсутствовать.
Если расход пускового газа превышает 10% от основного расхода газа, подача пускового газа должна проходить под контролем двух последовательно соединенных автоматических запорных клапанов. Если установлен отдельный автоматический запорный клапан пускового газа, полученный газораспределительный механизм должен включать в себя клапан класса, эквивалентного минимальным требованиям для подачи основного газа.
Примечание - Требования
5.2.9.4.2 следует рассматривать вместе с
5.5.
5.2.9.4.3 Приборы типов B13, B23, B43, B53, C13, C33 и C63, а также наружные приборы, имеющие вентилятор в контуре сгорания перед камерой сгорания/теплообменником
5.2.9.4.3.1 Приборы с горелками с полностью предварительно смешанным газом и воздухом, которые сконструированы таким образом, что давление газа сразу после клапана отходящего газа является отрицательным по отношению к атмосферному давлению.
Применяются требования, указанные в
5.2.9.4.2.
5.2.9.4.3.2 Прочие приборы типов B и C
Подача газа должна проходить под контролем двух последовательно соединенных автоматических запорных клапанов (см.
таблицу 7). Для приборов с подводимым теплом, не превышающим 135 кВт, эти клапаны должны быть класса B. Для приборов с подводимым теплом более 135 кВт один клапан должен быть класса A, а другой клапан должен быть как минимум класса B.
Таблица 7
Минимальные требования к клапанам для приборов типов B
13,
B23, B43, B53, C13, C33 и C63 и наружных приборов
Входное значение | Главные газовые краны, необходимые для автоматических систем | Клапаны пускового газа, необходимые для автоматических систем |
135 кВт или ниже | 2 x класс B | 1 x класс B <a> плюс 1 x класс B <b> |
От 135 до 300 кВт | 1 x класс A плюс 1 x класс B | 1 x класс A <a> плюс 1 x класс B <b> |
<a> Этот клапан может быть клапаном, регулирующим подачу основного газа. <b> Этот клапан не требуется, если: 1.1. расход пускового газа составляет 10% или ниже от расхода основного газа и 1.2. прибор не предназначен для сжигания газов третьего семейства и 1.3. прибор нельзя устанавливать так, чтобы вход воздуха для горения был выше, чем выход из камеры сгорания и 1.4. предварительная продувка обеспечивает не менее пяти изменений объема. |
Примечание - В настоящее время этот стандарт разработан для приборов, которые будут проходить стандартные испытания. Для более крупных приборов, не предназначенных для стандартных испытаний, требования к клапанам будут рассматриваться дальше.
Если основное пламя устанавливается за счет пламени пускового газа, подача пускового газа должна быть или:
a) под контролем после автоматического отсечного клапана основного газа, включающего в себя регулирование скорости пускового газа. Клапан должен иметь устройство, позволяющее устанавливать скорость подачи пускового газа так, чтобы энергия, доступная в течение периода воспламенения пускового газа, не превышала значения, указанные в
5.5; или
b) под контролем одного автоматического запорного клапана класса A, если подводимое тепло прибора больше 135 кВт, или класса B, если подводимое тепло прибора не превышает 135 кВт (см.
таблицу 7). Независимо от подводимого тепла, если условия, указанные в
таблице 5, сноска <b>, не соблюдаются, необходимо установить второй клапан, как указано в этой таблице.
Если автоматический запорный клапан основного газа включает в себя регулятор расхода пускового газа, возможность регулировать расход пускового газа до уровня, превышающего 50% от полностью открытого расхода при том же перепаде давления, должна отсутствовать.
Если расход пускового газа превышает 10% от основного расхода газа, подача пускового газа должна проходить под контролем двух последовательно соединенных автоматических запорных клапанов. Если установлен отдельный автоматический запорный клапан пускового газа, полученный газораспределительный механизм должен включать в себя клапан класса, эквивалентного минимальным требованиям для подачи основного газа.
Вышеуказанные требования следует рассматривать вместе с
5.5.
5.2.9.4.4 Действие системы контроля пламени и устройства отключения при перегреве, вызывающее отключение
Система контроля пламени и устройство отключения при перегреве должны обеспечивать закрытие всех запорных клапанов в указанных системах, за исключением неавтоматических систем с подводимым теплом менее 135 кВт.
В случае неавтоматических систем с подводимым теплом менее 135 кВт, система контроля пламени и устройство отключения при перегреве должны обеспечивать только закрытие клапана класса C или, как указано в
таблице 5, в этом случае устройство отключения при перегреве должно закрыть клапан класса C.
Ни в коем случае температура воздуха и устройство отключения при перегреве не должны закрывать один запорный клапан.
5.2.9.5 Приборы типов A
2 и A
3
5.2.9.5.1 Общие положения
Подача газа должна быть под контролем двух последовательно включенных автоматических запорных клапанов. Для приборов <= 135 кВт один клапан должен быть класса B, а другой клапан класса C. Для приборов > 135 кВт оба клапана должны быть минимум класса B.
Если основное пламя устанавливается при помощи пламени пускового газа, подача пускового газа должна или:
a) быть под контролем после автоматического запорного клапана основного газа, включающего в себя регулятор скорости пускового газа и устройство, позволяющее устанавливать скорость пускового газа таким образом, что энергия, доступная во время периода зажигания пламени пускового газа, не может превышать значений, указанных в
5.5.3;
b) быть под контролем двух автоматических запорных клапанов, один из которых должен быть минимум класса A.
Если автоматический запорный клапан основного газа, расположенный ниже по потоку, включает в себя регулятор расхода пускового газа, возможность регулировать расход пускового газа до уровня, превышающего 50% от полностью открытого расхода при таком же перепаде давления, должна отсутствовать.
Если расход пускового газа превышает 10% от расхода основного газа, автоматические запорные клапаны пускового газа должны быть того же класса, что и автоматические запорные клапаны основного газа.
Эти требования следует рассматривать вместе с
5.5.3.
5.2.9.5.2 Отключение
Система контроля пламени и устройство защиты от перегрева должны обеспечивать закрытие всех автоматических запорных клапанов во всех указанных системах. При отключении воздушный вентилятор не должен отключаться до тех пор, пока не будут обесточены автоматические запорные клапаны пускового и основного газа.
5.2.9.5.3 Перезапуск
После защитного выключения из-за запуска любого устройства отключения при перегреве перезапуск возможен только после ручного вмешательства.
5.2.10 Системы контроля горелки
5.2.10.1 Общие положения
Приборы типов B14 и B44 с полезным подводом тепла > 70 кВт могут иметь неавтоматическую систему управления горелкой, в которой пламя пускового газа зажигается вручную. Или же приборы типов B14 и B44 могут иметь автоматическую систему управления горелкой.
Все остальные приборы должны иметь автоматическую систему управления горелкой.
5.2.10.2 Системы контроля автоматической горелки
Системы автоматического управления горелкой должны соответствовать требованиям EN 298.
5.2.10.3 Ручные устройства
a) Требование
Неправильная или непоследовательная работа устройств с ручным управлением (например, кнопок и переключателей) не должна отрицательно влиять на безопасность системы автоматического управления горелкой. Это должно быть подтверждено испытанием, указанным в
5.2.10.3, перечисление b).
Если прибор установлен, как описано в
6.1.5, и на него подается соответствующий эталонный газ при номинальном подводимом тепле в соответствии с требованиями
6.1.3.2.1, пусковое устройство приводится в действие вручную десять раз (т.е. один раз каждые 5 с). Быстрая работа (включение и выключение) любого пускового переключателя не должна создавать опасных условий.
5.2.11 Сито и фильтры
Сетчатый фильтр должен быть установлен на входе любой системы, включающей в себя автоматический запорный клапан с целью предотвращения попадания посторонних веществ. Сетчатый фильтр может быть встроен в автоматический запорный клапан, расположенный выше по потоку. Максимальный размер отверстия в сетчатом фильтре не должен превышать 1,5 мм, а сетка не должна пропускать концевой калибр диаметром 1 мм.
Что касается устройств с естественной тягой типов B и C, максимальный размер отверстия фильтра должен соответствовать требованиям, изложенным в EN 161, или не должен превышать 0,20 мм при использовании клапана класса D.
В системах, содержащих несколько автоматических запорных клапанов, необходимо установить только один сетчатый фильтр, при условии, что он обеспечивает адекватную защиту всех клапанов.
Если регулятор установлен перед системой аварийного отключения, сетчатый фильтр должен быть установлен перед регулятором.
5.2.11.2 Пылеуловители и воздушные фильтры
В приборах типов A2 и A3 воздушный фильтр, если он установлен, должен быть размещен перед теплообменником/камерой сгорания в воздушном потоке прибора.
На воздухозаборном отверстии прибора должен быть установлен фиксированный сетчатый фильтр. Отверстие сетчатого фильтра не должно допускать попадания шара диаметром 16 мм, приложенного с силой 5 Н.
Если установлен воздушный фильтр, он должен быть легко доступен для очистки или замены, может быть очищаемого или одноразового типа.
5.2.12 Транспортировка воздуха для горения и/или продуктов сгорания
5.2.12.1 Приборы типов A
2 и A
3
Прибор должен быть оборудован устройством обеспечения достаточного потока воздуха для горения и вентиляции во время предварительной продувки, зажигания и работы.
Если отдельные вентиляторы подают воздух для горения и/или вентиляции, для каждого вентилятора должно быть установлено устройство контроля воздуха.
Отсутствие потока воздуха в любой момент во время предварительной продувки, зажигания или работы устройства должно приводить к аварийному отключению или энергонезависимой блокировке.
Если происходит аварийное отключение, необходимо выполнить максимум 5 попыток автоматического повторного запуска, после которых произойдет энергонезависимая блокировка.
Перед запуском устройство контроля воздуха должно быть испытано в состоянии "без воздуха". Невозможность доказать, что устройство находится в состоянии "без воздуха", не должно препятствовать запуску или вызывать энергонезависимую блокировку. Доказательство наличия соответствующего потока воздуха может быть достигнуто путем измерения перепада давления, обеспечивая удовлетворительное и надежное подтверждение наличия потока воздуха во время предварительной продувки, зажигания и работы устройства; или обнаружения потока.
Если настройка устройства контроля воздуха не существенная для ввода устройства в эксплуатацию, устройство должно быть предварительно настроено производителем и опломбировано на заводе.
Любые средства блокировки или изоляции установленного положения устройства контроля воздуха должны гарантировать, что несанкционированное вмешательство не произойдет или будет очевидным.
Необходимо продуть прибор непосредственно перед любой попыткой воспламенения или открытия газовых запорных вентилей. Период предварительной продувки должен быть или:
a) минимум 20 с при полном расходе воздуха или длиннее при более низком расходе воздуха; или
b) минимум 5 изменений объема прибора и его воздуховодов.
Примечание - В рамках настоящего требования под "воздуховодом" понимается длина воздуховода, равная трехкратному большему размеру выходного патрубка прибора.
Проверка безопасного запуска контроллера безопасности пламени должна продолжаться в течение всего периода предварительной продувки.
Необходимо подтвердить требуемую скорость продувочного воздуха. Если поток воздуха для предварительной продувки ниже требуемой скорости в любой момент времени в течение периода предварительной продувки, то или:
c) горелка должна перейти в режим энергонезависимой блокировки; или
d) горелка должна перейти в режим безопасного отключения; или
e) продувку можно продолжать после восстановления требуемой скорости воздуха при условии, что поток воздуха не опускается ниже 25% от полной скорости воздуха, и что общее время продувки при требуемой скорости воздуха не уменьшается.
Последующая продувка не обязательна.
5.2.12.2 Приборы типов B14 и B44
5.2.12.2.1 Общие положения
Приборы должны быть оборудованы подходящим устройством для обеспечения достаточного потока продуктов сгорания до и во время зажигания и работы горелки.
5.2.12.2.2 Приборы с постоянными запальными горелками
Проверочное устройство должно быть проверено в состоянии "отсутствия потока" перед запуском основной горелки. Отсутствие доказательства отсутствия потока не должно мешать запуску основной горелки.
Перед любой попыткой воспламенения основной горелки или открытия автоматического запорного клапана основного газа соответствующий поток продуктов сгорания должен быть подтвержден. Неспособность подтвердить поток продуктов сгорания должна или привести к безопасному отключению, или предотвратить открытие автоматического запорного клапана основного газа при условии, что в случае небытовых приборов этот клапан или один из этих клапанов относится к:
a) клапану класса A или B для приборов с подводимым теплом более 135 кВт; или
b) клапану класса A, B, C или D, если подводимое тепло прибора не превышает 135 кВт.
Если клапан относится к классу D, он должен иметь запирающее усилие не менее 1 Н/м (см.
таблицу 5).
5.2.12.2.3 Приборы с автоматическими системами управления горелками
Проверочное устройство должно быть проверено в состоянии отсутствия потока перед запуском. Отсутствие доказательства отсутствия потока не должно мешать запуску или вызывать блокировку.
Перед любой попыткой зажечь основную горелку или открыть автоматические запорные клапаны основного газа необходимо убедиться в наличии достаточного потока продуктов сгорания. Отсутствие доказательства достаточного потока продуктов сгорания должно помешать запуску или вызвать блокировку.
Отсутствие потока продуктов сгорания во время работы основной горелки должно приводить или к аварийному отключению, или блокировке.
5.2.12.3 Все приборы типов B и C, кроме типов B14 и B44
5.2.12.3.1 Приборы с горелками с полностью предварительно смешанным газом/воздухом под управлением системы регулятора нулевого давления
Прибор должен быть оборудован соответствующими средствами, обеспечивающими достаточный поток воздуха для горения во время предварительной продувки (если таковая имеется), зажигания и работы горелки.
Это средство должно гарантировать, что зажигание и работа горелки возможны только при наличии достаточного количества воздуха для горения.
Неправильный поток воздуха во время периода предварительной продувки (если он предусмотрен) должен или препятствовать запуску, или вызывать аварийное отключение или блокировку.
Примечание - Для этой цели можно использовать устройство, контролирующее скорость вращения вентилятора или его двигателя.
5.2.12.3.2 Приборы, за исключением приборов с горелками с полностью предварительно смешанным газом/воздухом под управлением системы регулятора нулевого давления
5.2.12.3.2.1 Общие положения
Приборы должны быть оборудованы соответствующими средствами, обеспечивающими достаточный поток воздуха для горения во время предварительной продувки (если таковая имеется), зажигания и во всем диапазоне возможного подводимого тепла при эксплуатации.
Отсутствие достаточного потока воздуха для горения должно привести или к аварийному отключению, или к предотвращению открытия основных газовых кранов. Перед запуском устройство проверки воздуха должно быть проверено в положении "без воздуха". Отсутствие доказательств отсутствия воздуха должно препятствовать запуску или вызывать блокировку.
5.2.12.3.2.2 Приборы без предварительной продувки
Для приборов с полезным подводом тепла <= 70 кВт предварительная продувка не является обязательной. Если предварительная продувка отсутствует, устройство проверки воздуха должно быть проверено в состоянии "отсутствия потока" перед запуском основной горелки. Отсутствие доказательства отсутствия потока должно препятствовать запуску основной горелки или вызывать блокировку.
Перед любой попыткой зажигания основной горелки или открытия автоматических запорных клапанов основного газа горелки необходимо убедиться в наличии достаточного потока воздуха для горения.
5.2.12.3.2.3 Приборы с предварительной продувкой и последующей продувкой
Непосредственно перед любой попыткой зажигания или открытия любого газового запорного клапана прибор необходимо продуть. Период предварительной продувки должен обеспечивать пять изменений объема камеры сгорания или должен составлять минимум 30 с при скорости воздуха для горения, соответствующей максимальному номинальному подводимому теплу, или длиннее при более низких скоростях воздуха. Предварительная продувка должна производиться при максимально возможном расходе, но не менее 25% от полной скорости воздуха для горения.
Перед запуском устройство проверки воздуха необходимо проверить в состоянии отсутствия потока. Отсутствие доказательства отсутствия потока должно препятствовать запуску или вызывать блокировку.
Во время предварительной продувки, зажигания и работы прибора необходимо обеспечить достаточный поток воздуха для горения.
Однако для горелок, оснащенных регуляторами соотношения воздух/газ, продувочный воздух должен поступать:
a) со скоростью, соответствующей минимальному подводимому теплу, при условии, что период предварительной продувки увеличивается пропорционально, как описано выше; или
b) с полной скоростью, соответствующей номинальному подводимому теплу, при условии, что эта скорость воздуха подтверждается некоторыми средствами (например, блокировкой положения заслонки или реле перепада давления воздуха).
Если подача пускового газа не контролируется двумя автоматическими запорными клапанами с классами, эквивалентными классам основного газа, предварительная продувка должна обеспечивать не менее пяти изменений объема камеры сгорания и газовые пути до выхода продуктов сгорания из устройства (см.
6.12 и
таблицы 6 и
7).
Необходимая скорость продувочного воздуха должна быть подтверждена. Если скорость продувочного воздуха ниже требуемой скорости в любой момент времени в течение периода предварительной продувки, то:
a) горелка должна перейти в безопасное отключение или
b) продувку необходимо продолжить после восстановления требуемой скорости при условии, что поток воздуха для горения не станет ниже 25% скорости воздуха для горения, соответствующей максимальной номинальной подаче, и что общее время продувки при требуемой скорости воздуха для горения не уменьшается.
5.2.13 Контроль соотношения газа и воздуха
Контроль соотношения воздух/газ должен быть спроектирован и сконструирован таким образом, чтобы предсказуемые повреждения не приводили к изменениям, способным повлиять на безопасность. Если используется пневматический контроль соотношения воздух/газ, он должен соответствовать требованиям EN 88-1.
Если используется электронный регулятор соотношения воздух/газ, он должен соответствовать требованиям EN 12067-2.
Контрольные трубки должны быть изготовлены из металла с подходящими механическими соединениями или из других материалов, с эквивалентными свойствами, и в этом случае они считаются не подверженными поломке, случайному отсоединению и утечкам после проверки герметичности. Контрольные трубки для воздуха и продуктов сгорания должны иметь минимальную площадь поперечного сечения 12 мм2 при минимальном внутреннем размере 1 мм. При предоставлении доказательств и принятии мер предосторожности для предотвращения конденсации в контрольных трубках минимальная площадь поперечного сечения контрольных трубок может составлять 5 мм2. Все контрольные трубки должны быть расположены и закреплены таким образом, чтобы избежать застоя конденсата, и располагаться таким образом, чтобы исключить образование складок, утечек или поломок. Если используется более одной контрольной трубки, соответствующее положение соединения для каждой должно быть очевидным.
Необходимо отрегулировать контроль соотношения воздух/газ и принять соответствующие меры для предотвращения других регулировок. Если установщику разрешено вносить корректировки, инструкции должны быть приведены в руководстве по установке [см.
9.6.1.1.3, перечисление i)]. В частности, должны быть даны четкие ссылки на метод регулировки, настройки, необходимое оборудование и точность необходимого оборудования. Должно быть разъяснено влияние неточной настройки.
Следующие примеры считаются подходящими дополнительными положениями:
a) физическое удаление регулировочных винтов (или другой метод их вывода из строя);
b) физическое предотвращение доступа к регулировочным винтам (например, заполнение отверстий для регулировки);
c) добавление предупреждающей таблички с подходящей формулировкой, прикрепляемой к газовому крану и/или в непосредственной близости от регулировочных винтов, эта табличка должна быть четко видна любому работающему с газом при получении доступа к регулировочным винтам.
Примечание - Регуляторы газа/воздуха обычно имеют две настройки ("дроссель" и "смещение"), и требования этого пункта применяются к ним обоим.
Если в инструкциях по монтажу прибора указано, что клапан может быть отрегулирован квалифицированным специалистом по газу с использованием соответствующих инструментов, необходимо предусмотреть положение, указывающее, что настройка клапана была изменена.
Примечание - Примером подходящего положения является использование пятна краски на регулировочном устройстве.
Инструкции по монтажу прибора должны включать в себя инструкции о том, как проверять настройки, если во время установки или обслуживания имеются указания на то, что настройки контроля соотношения газ/воздух были изменены. В инструкциях по монтажу прибора должны быть указаны действия, которые необходимо предпринять, если настройки окажутся неправильными.
Если инструкции по монтажу прибора позволяют регулировать соотношение газа и воздуха, необходимо описать метод регулировки.
5.3 Устройства зажигания
5.3.1 Общие положения
Должна существовать возможность зажигания прибора из легкодоступного места.
Запальные горелки и устройства зажигания должны быть защищены конструкцией и положением от внешних воздействий.
Запальные горелки, устройства зажигания и их крепления должны быть сконструированы таким образом, чтобы их можно было разместить надежно и правильно по отношению к каждому компоненту и горелке, с которой они предназначены для работы.
5.3.2 Устройство зажигания основной горелки
Основная горелка должна быть оборудована запальной горелкой или другим устройством прямого зажигания.
5.3.3 Запальные горелки
Если для разных газов используются разные запальные горелки, они должны иметь маркировку, заменять друг друга и легко устанавливаться. Форсунки должны иметь нестираемые средства идентификации и сниматься только при помощи инструмента.
Запальные горелки должны быть защищены от блокировки твердыми примесями с газом (см.
5.2.11.1).
5.4 Система контроля пламени
Горелка должна быть оборудована устройством контроля пламени. Устройство контроля, соответствующее EN 125:2010+A1:2015, или детектор пламени автоматической системы управления горелкой, соответствующей EN 298:2012, для контроля пламени пускового газа и защиты основного пламени. Устройства контроля пламени должны быть отказоустойчивыми (например, термоэлектрического типа) или предотвращать открытие любого запорного клапана и/или любого электрического зажигания, если детектор пламени ошибочно сигнализирует о присутствии пламени, когда горелка запускается из полностью отключенного состояния.
Должны быть предусмотрены средства, предотвращающие появление электрических помех, вызывающих сигналы детектора пламени, ложно указывающие на наличие пламени.
5.5 Установление пламени пускового газа
5.5.1 Приборы с полезным подводом тепла <= 70 кВт
5.5.1.1 Приборы с естественной тягой с неавтоматическими системами горелок
Прямое зажигание основной горелки не допускается.
Расход газа запальной горелки должен быть как можно ниже, чтобы обеспечить удовлетворительное зажигание, и не должен превышать 0,6 кВт.
5.5.1.2 Приборы с естественной тягой и автоматическими горелками
Пламя пускового газа создается или на основной горелке, или на отдельной запальной горелке.
5.5.1.3 Вентиляторные горелки без предварительной продувки
5.5.1.3.1 Приборы с неавтоматическими горелками
Прямое зажигание основной горелки не допускается.
Расход газа запальной горелки должен быть как можно ниже, чтобы обеспечить удовлетворительное зажигание, и не должен превышать 0,6 кВт.
5.5.1.3.2 Приборы с автоматическими горелками
5.5.1.3.2.1 Общие положения
Пламя пускового газа создается или на основной горелке, или на отдельной запальной горелке.
5.5.1.3.2.2 Приборы с вентиляторными горелками с отдельной запальной горелкой
Скорость запальной горелки не должна превышать 10% от скорости основной горелки.
5.5.1.3.2.3 Приборы с вентиляторными горелками, в которых пламя пускового газа устанавливается на основной горелке
Скорость пускового газа не должна превышать 10% от скорости основной горелки, иначе зажигание считается прямо от основной горелки.
5.5.1.4 Вентиляторные приборы с предварительной продувкой
5.5.1.4.1 Общие положения
Пламя пускового газа создается или на основной горелке, или на отдельной запальной горелке.
5.5.1.4.2 Приборы, в которых пламя пускового газа устанавливается на основной горелке
Скорость пускового газа не должна превышать 10% от скорости основной горелки, иначе зажигание считается прямо от основной горелки.
5.5.2 Приборы с полезным подводом тепла > 70 кВт
5.5.2.1 Приборы типов B11, B14, B41, B44, C11 и C31
5.5.2.1.1 Общие положения
Расход газа горелки пускового газа не должен превышать 1% от расхода газа основной горелки или 1,5 кВт, в зависимости от того, какая из величин меньше.
Должны быть приняты меры для безопасной и легкой установки пламени пускового газа вручную или при помощи устройства зажигания, встроенного в прибор. Главный газовый клапан не должен пропускать газ в горелку до тех пор, пока пламя пускового газа не будет обнаружено системой контроля пламени.
Если пламя пускового газа образуется на отдельной горелке, детектор пламени при всех условиях работы должен обнаруживать пламя пускового газа только с такой скоростью, которая обеспечивает надежное и плавное зажигание основного газа.
5.5.2.1.2 Системы автоматической горелки
Пламя пускового газа должно устанавливаться или на основной горелке, или на отдельной горелке. Расход пускового газа не должен превышать 25% от расхода основной горелки.
Если пламя пускового газа устанавливается на отдельной горелке, расход пускового газа не должен превышать 10% расхода основной горелки.
Автоматические запорные клапаны основного газа не должны включаться для подачи основного расхода газа на горелку до тех пор, пока не будет обнаружено и подтверждено пламя пускового газа.
Однако автоматический запорный клапан в подаче основного газа может быть открыт для потока газа, если подача пускового газа идет ниже по потоку от первого автоматического запорного клапана основного газа при условии, что:
a) на горелках с номинальным подводимым теплом 135 кВт и ниже, где подача пускового газа осуществляется между двумя главными газовыми клапанами, или:
- должно быть предусмотрено средство, доказывающее закрытие главного запорного клапана перед зажиганием
<1>;
- должно быть соблюдено требование
6.6.4.1.2;
b) на горелках с номинальным подводимым теплом более 135 кВт, где подача пускового газа проходит между двумя основными газовыми клапанами, автоматический запорный клапан основного газа должен быть проверен на закрытие перед запуском. Если проверка показывает, что клапан не закрыт, запуск необходимо прекратить.
5.5.2.2 Все приборы типов B и C, за исключением приборов типов B
11, B
14, B
41, B
44, C
11 и C
31
Пламя пускового газа должно создаваться или на основной горелке, или на отдельной запальной горелке.
На горелках с номинальным подводимым теплом 135 кВт и ниже, где подача пускового газа осуществляется между двумя главными газовыми автоматическими запорными клапанами:
a) должны быть предусмотрены средства для доказательства закрытия ниже по потоку главного отсечного клапана перед зажиганием
<1> или
b) должно быть соблюдено требование
6.6.4.1.2.
--------------------------------
<1> Считается, что система проверки клапана, переключатель подтверждения закрытия или переключатель индикатора закрытого положения соответствуют этому требованию.
На горелках с номинальным подводимым теплом более 135 кВт, где подача пускового газа осуществляется между двумя главными газовыми автоматическими запорными клапанами, перед запуском необходимо проверить на закрытие главный газовый автоматический запорный клапан. Если проверка показывает, что клапан не закрыт, запуск необходимо остановить.
5.5.3 Приборы типов A2 и A3
Если основное пламя возникает при помощи пламени пускового газа, расход пускового газа не должен превышать 180 кВт. Пламя пускового газа должно быть установлено или на основной горелке, или на отдельной горелке.
5.6 Установление основного пламени
5.6.1 Приборы с полезным подводом тепла <= 70 кВт
5.6.1.1 Приборы с системами неавтоматических горелок
Основной газ не должен поступать в горелку до тех пор, пока пламя пускового газа не будет обнаружено системой контроля пламени и без ручного вмешательства (например, отпускание кнопки).
5.6.1.2 Приборы с системами автоматических горелок
Автоматические запорные клапаны основного газа не должны быть под напряжением для пропуска потока основного газа в горелку до тех пор, пока не будет обнаружено и подтверждено пламя пускового газа.
5.6.2 Приборы с полезным подводом тепла > 70 кВт
5.6.2.1 Приборы типов B
11, B
14, B
41, B
44, C
11 и C
31
5.6.2.1.1 Установка при помощи пламени пускового газа
5.6.2.1.1.1 Неавтоматические системы горелок
Основной газ не должен поступать в горелку до тех пор, пока пламя пускового газа не будет обнаружено системой контроля пламени и без ручного вмешательства (например, отпускание кнопки).
Отсутствие пламени в рабочем состоянии должно привести к энергонезависимой блокировке.
5.6.2.1.1.2 Автоматические системы горелок
Автоматические запорные клапаны основного газа должны быть без напряжения для подачи потока основного газа в горелку до тех пор, пока не будет обнаружено и подтверждено пламя пускового газа.
Однако для приборов с естественной тягой верхний запорный клапан в подаче основного газа может быть открыт для потока газа, где подача пускового газа проходит ниже по потоку от первого запорного клапана основного газа, при условии соблюдения условий
5.5.1.2.
Отсутствие пламени в любое время после подачи сигнала об открытии автоматических запорных клапанов основного газа должно привести к безопасному отключению и энергонезависимой блокировке.
5.6.2.1.2 Правильная установка основного пламени
Прямое зажигание основного пламени (например, искровым зажиганием или запальным устройством горячей поверхности) разрешено для приборов с номинальным подводимым теплом, не превышающим 120 кВт.
Источник зажигания не должен быть под напряжением до тех пор, пока не будет проведена проверка безопасного пуска [см.
6.5.1.3.2.4, перечисление a)] системы контроля пламени, и он должен быть обесточен в конце или до окончания времени безопасности. Если используется система зажигания с горячей поверхности, система зажигания должна быть под напряжением, чтобы источник зажигания мог воспламенить поступающий газ до открытия газовых клапанов.
Если пламя не было обнаружено до окончания безопасного времени, должно произойти аварийное отключение и энергонезависимая блокировка.
Для приборов с автоматическими системами управления, которые допускают переработку, автоматическое управление должно перейти в режим энергонезависимой блокировки после количества попыток переработки, указанного производителем.
5.6.2.2 Все приборы типов B и C, за исключением приборов типов B11, B14, B41, B44, C11 и C31
5.6.2.2.1 Установление при помощи пламени пускового газа
Автоматические запорные клапаны основного газа должны быть без напряжения для подачи потока основного газа в горелку до тех пор, пока не будет установлено пламя пускового газа.
Основное пламя должно зажигаться надежно и плавно от пламени пускового газа.
Для приборов с подводимым теплом 135 кВт и выше, где отдельное пламя запальной горелки продолжает использоваться во время работы основной горелки, должны быть установлены отдельные детекторы пламени для контроля пламени запальной и основной горелки. Детектор пламени должен быть расположен так, чтобы он ни при каких обстоятельствах не мог обнаружить пламя запальной горелки. Кроме того, проверка безопасного пуска, требуемая в соответствии с
5.4, должна продолжаться на детекторе пламени во время зажигания пускового газа и периодов проверки.
Если пламя пускового газа находится на отдельной запальной горелке, детектор пламени должен в условиях эксплуатации обнаруживать пламя пускового газа только при тех расходах газа, при которых он будет зажигать основное пламя надежно и плавно (см.
6.5.2.2). Необходимо учитывать необходимость защиты от ослабления пламени, отклонения или неправильной настройки детектора, снижения давления газа и нестабильности размеров.
5.6.2.2.2 Прямая установка основного пламени
Прямое зажигание основного пламени допускается для приборов с номинальным подводимым теплом не более 120 кВт.
Источник зажигания не должен быть под напряжением до завершения периода предварительной продувки и должен быть без напряжения в конце или до окончания безопасного времени. Если используется система зажигания с горячей поверхностью, система зажигания должна быть под таким напряжением, чтобы источник зажигания мог воспламенить поступающий газ до открытия газовых клапанов.
Если пламя не было обнаружено до конца безопасного времени, это приведет к:
a) энергонезависимой блокировке; или
b) аварийному отключению с последующей автоматической переработкой. Если эта попытка зажигания не удалась, произойдет блокировка.
Для приборов с автоматическими системами управления, в которых допустима переработка, автоматическое управление должно перейти в режим энергонезависимой блокировки после количества попыток переработки, указанного производителем.
5.6.3 Приборы типов A2 и A3
5.6.3.1 Пламя пускового газа
Автоматические запорные клапаны основного газа не должны находиться под напряжением для пропуска потока основного газа в горелку до тех пор, пока не будет подтверждено наличие пламени пускового газа.
Основное пламя должно зажигаться надежно и плавно от пламени пускового газа.
Если пламя отдельной запальной горелки продолжает использоваться во время работы основной горелки, могут быть установлены отдельные детекторы пламени для контроля пламени розжига и основной горелки. В этом случае детектор пламени должен быть расположен так, чтобы ни при каких обстоятельствах пламя запальной горелки не было обнаружено. Кроме того, проверка безопасного пуска, требуемая в
пункте 5.5, должна продолжаться на детекторе пламени в течение первого времени безопасности и периода проверки пускового газа.
Если пламя пускового газа создается на отдельной запальной горелке, детектор пламени должен обнаруживать пламя пускового газа в условиях эксплуатации только при расходах газа, при которых он будет зажигать основное пламя надежно и плавно. Следует учитывать необходимость защиты от уменьшения пламени, отклонения или неправильной настройки датчика, снижения давления газа и нестабильности размеров.
Прямое зажигание основного пламени должно использоваться только с приборами, имеющими подводимую теплоту менее 180 кВт, и где скорость газа во время зажигания не превышает:
a) 20% от стехиометрического расхода газа для доказанного расхода воздуха через камеру сгорания для газов 1 и 3 семейств;
b) 33% от стехиометрического расхода газа, соответствующего доказанному расходу воздуха через камеру сгорания для газов 2 семейства.
5.7 Основная горелка
Площадь поперечного сечения отверстий для пламени не должна регулироваться.
Каждая форсунка и съемный дроссель должны иметь нестираемые средства идентификации. Должна быть предусмотрена возможность замены форсунки и дросселей без необходимости перемещения прибора из его установленного положения. Однако форсунки можно снимать только при помощи инструмента.
Горелка должна быть расположена таким образом, чтобы не было отклонений. Блок горелки нельзя снять без использования инструментов.
5.8 Устройство удаленного контроля
Если прибором можно управлять дистанционно при помощи термостатов или контроля времени, электрические соединения этих средств управления должны быть без нарушения каких-либо внутренних соединений в приборе, кроме линии, специально предназначенной для этой цели.
Если прибор установлен в соответствии с инструкциями по монтажу, внутри прибора не должно возникать опасных условий в результате отказа обычных средств регулирования температуры в помещении.
Приборы с устройством или устройствами удаленного контроля должны быть спроектированы и сконструированы таким образом, чтобы отказ этого устройства не мог привести к возникновению небезопасной ситуации. Конструкция устройства дистанционного управления должна исключать случайное срабатывание или манипуляции. Должны быть приняты соответствующие меры с целью предотвращения несанкционированного управления устройством. Работа органов управления прибора имеет преимущество перед дистанционным управлением.
В случае подключения к электронным системам жилых домов и общественных зданий (HBES) должны применяться соответствующие требования стандартов серии EN 50090.
Более подробные требования к обмену данными приведены в EN 14459.
5.9 Термостаты и контроль температуры воздуха
5.9.1 Общие требования
Встроенные механические термостаты должны соответствовать требованиям EN 257.
Встроенные электрические и электронные термостаты должны соответствовать требованиям EN 60730-2-9:2010.
5.9.2 Отключающее устройство при перегреве
Должно быть предусмотрено отключающее устройство при перегреве, чтобы приводить к отключению и энергонезависимой блокировке основной горелки в случае перегрева.
Отключающее устройство при перегреве должно соответствовать требованиям типа 2K стандарта EN 60730-2-9. Это устройство не должно регулироваться, нормальная работа устройства не должна приводить к изменению его заданной температуры.
Контакты отключающего устройства от перегрева должны размыкаться, приводя к энергонезависимой блокировке, прежде чем температура превысит заданный предел.
Прерывание связи между термочувствительным элементом и устройством, реагирующим на его сигнал, должно приводить к безопасному отключению.
5.9.3 Устройство ограничения перегрева
Может быть предусмотрено устройство ограничения перегрева, чтобы отключать основную горелку в случае перегрева (например, уменьшение потока воздуха).
Максимальная рабочая температура устройства защиты от перегрева должна быть установлена и изолирована производителем.
Если пламя обнаруживается не при помощи термоэлектрического устройства прямого действия, энергонезависимая блокировка не должна зависеть от работы цепей обнаружения пламени. В частности, устройство предельного значения перегрева не должно быть последовательно подключено к детектору пламени или к любому автоматическому запорному клапану в питающей сети модуля программирования.
Такие устройства не должны работать во время нормальной работы устройства.
5.9.4 Управление вентиляторами подачи воздуха
5.9.4.1 Отложенный пуск
Могут быть предусмотрены средства для задержки срабатывания вентилятора нагнетания нагретого воздуха после зажигания горелки, чтобы предотвратить выпуск холодного воздуха в нагретое пространство. Задержка запуска вентилятора не должна быть такой, чтобы устройство перегревалось для работы в нормальных условиях.
5.9.4.2 Запоздалое отключение
Должны быть предусмотрены средства запоздалого отключения вентилятора нагнетания нагретого воздуха после отключения горелки.
5.9.5 Датчики
Термостаты управления, устройства ограничения перегрева и устройства отключения при перегреве могут иметь одинаковый датчик, если такие устройства относятся к типу 2K в соответствии с EN 60730-2-9:2010, и отказ датчика приводит к энергонезависимой блокировке, если только этот отказ исключен согласно конструкции. В противном случае термостаты, устройства ограничения перегрева и устройства отключения при перегреве не должны иметь один датчик, за исключением приборов с полезным подводом тепла < 70 кВт и типов A2 и A3, это допустимо, если они являются безопасными.
5.9.6 Контроль температуры воздуха
Для приборов типа A2 и A3 прибор должен быть снабжен или встроенным в него прибором, или отдельным прибором для контроля температуры подаваемого воздуха.
Если регулятор температуры воздуха не является неотъемлемой частью прибора, это устройство поставляется изготовителем прибора, а в инструкции по монтажу должна быть указана подробная информация о его установке.
Если прибор устанавливается в соответствии с инструкциями по монтажу, опасное состояние или повреждение прибора не должно возникать в результате выхода из строя средств контроля температуры воздуха.
5.10 Контрольные точки давления газа
Прибор должен быть оборудован как минимум двумя контрольными точками давления газа. Одна должна быть установлена перед устройством контроля и безопасности, а другая - после последнего устройства управления расходом газа, в положении, тщательно отобранном для проведения измерений.
Контрольные точки должны иметь внешний диаметр 9 мм с допуском +0/-0,5 мм и полезную длину (прямая часть) не менее 10 мм, чтобы можно было установить трубку. В точке минимального поперечного сечения диаметр отверстия не должен превышать 1,0 мм.
5.11 Сброс давления в камере сгорания
Если устройство сброса давления установлено на приборе и находится на той же стороне прибора, что и любые управляемые пользователем органы управления, должны быть предусмотрены средства для предотвращения опасности для персонала в случае его работы. Любые защитные экраны или отражатели не должны мешать работе предохранительного устройства, а в инструкциях по монтажу необходимо обращать внимание на расположение и свободное пространство, необходимые для обеспечения безопасной работы. Любой такой сброс давления должен помочь поддерживать температуру находящихся в нем продуктов сгорания.
5.12 Оборудование для ввода в эксплуатацию и испытаний
Для облегчения ввода в эксплуатацию должны быть предусмотрены постоянные средства для предотвращения расхода газа со скоростью, отличной от расхода пускового газа. Соответствие этому требованию может быть достигнуто путем принятия одного из подходов, указанных в
приложении G.
5.13 Дополнительные требования к приборам, предназначенным для наружной установки
5.13.1 Общие положения
Приборы, предназначенные для наружной установки, должны быть сконструированы таким образом, чтобы они были полностью защищены от суровых условий окружающей среды, в которых они должны работать.
Приборы должны:
a) иметь степень защиты, обеспечиваемой оболочками, не ниже IPX4D;
b) иметь диапазон температур электрического и/или электронного оборудования, соответствующий указанному диапазону температур прибора.
5.13.2 Впускные отверстия для воздуха
Впускные отверстия для воздуха должны быть предусмотрены таким образом, чтобы их нижний край находился на высоте не менее 500 мм над основанием прибора или достигал 500 мм над уровнем пола при установке в соответствии с инструкциями по монтажу.
5.13.3 Съемные панели и двери
Съемные панели и двери, а также изоляция, которую необходимо удалять во время обычного обслуживания, должны быть спроектированы таким образом, чтобы их повторное снятие и замена не повредили изоляцию и не ухудшили гидроизоляцию прибора.
5.13.4 Размеры отверстий
Никакие размеры любого отверстия (например, точек электропроводки) внутри устройства для наружного воздуха не должны допускать попадания шара диаметром 16 мм, приложенного с силой 5 Н.
5.13.5 Крепежные винты
Внешние панели, предназначенные для удаления для проведения технического обслуживания и ремонта, должны быть закреплены только винтами с шестигранной головкой, за исключением смотровых панелей пользователя, которые могут быть зафиксированы соответствующими крюками и дверными защелками.
5.14 Дополнительные требования к конденсационным приборам
5.14.1 Доступ, монтаж и демонтаж частей, несущих конденсат
Устройство для сбора конденсата или другие средства, предусмотренные для непрерывного слива конденсата, образующегося во время нормальной работы, должны быть сконструированы таким образом, чтобы их можно было очистить в соответствии с инструкциями по монтажу.
5.14.2 Слив конденсата
a) Требование
Прибор должен быть оборудован одним или несколькими отводами конденсата. Отводы внутри прибора должны иметь внутренний диаметр не менее 13 мм. Главный отвод для подсоединения к внешнему сливу должен иметь внутренний диаметр не менее 18 мм.
Отводы конденсата должны быть спроектированы и устроены таким образом, чтобы продукты сгорания не выходили через отводы.
Если прибор оборудован герметичной камерой сгорания, конденсат, образующийся как в приборе, так и в системе дымохода, должен выводиться через один или несколько отводов конденсата. Отводы дымохода могут быть такими же, как у прибора. Конденсат, образующийся в системе дымохода, должен стекать в специально предназначенный отвод.
Отводы для удаления конденсата должны быть снабжены средствами, например водосборник или сифон для предотвращения утечки продуктов сгорания или воздуха для горения.
Если выход конденсата воздухонагревателя заблокирован или если насос для слива конденсата не работает, конструкция должна быть такой, чтобы опасная ситуация не возникала во время работы устройства.
Прибор работает непрерывно в течение 4 ч в режиме конденсации при номинальном подводимом тепле в условиях испытаний, указанных в
6.1.5. Требования проверяются, как во время, так и после этого рабочего состояния.
5.14.3 Система нейтрализации конденсата
Если воздухонагреватель снабжен системой нейтрализации конденсата, эта система должна быть спроектирована таким образом, чтобы можно было заменять реактивы без демонтажа какой-либо части прибора. Национальное законодательство может устанавливать дополнительные требования.
5.14.4 Ограничение температуры продуктов сгорания
Если в цепи сгорания содержатся материалы, на которые может повлиять тепло, прибор должен содержать в себе устройство, предотвращающее превышение температуры продуктов сгорания от максимально допустимой температуры для материалов, указанных в проектной документации.
Устройство ограничения температуры продуктов сгорания должно быть отказоустойчивым в эксплуатации, нерегулируемым и недоступным без использования инструментов.
5.15 Требования к приборам, оборудованным горелками с искусственной тягой
Конструкция и оборудование горелок с искусственной тягой должны соответствовать EN 676. Горелка также должна соответствовать положениям настоящего стандарта, перечисленным в
приложении H.
Корпус прибора должен соответствовать надлежащим разделам настоящего стандарта.
6 Эксплуатационные требования
6.1 Общие требования к испытаниям
6.1.1 Характеристики испытательных газов: эталонные и предельные газы
Приборы рассчитаны на работу с различными газами. В этом стандарте подробно описаны процедуры испытаний для проверки производительности прибора для каждого семейства или группы газов и для давления, на которое он рассчитан, при необходимости с использованием регулирующих устройств.
Испытательные газы, испытательное давление и категории устройств, указанные в настоящем стандарте, соответствуют требованиям, указанным в EN 437.
6.1.2 Условия изготовления испытательных газов
Требования к условиям изготовления испытательных газов указаны в EN 437.
6.1.3 Практическое применение испытательных газов
6.1.3.1 Выбор испытательных газов
Газы, необходимые для испытаний, описанные в пунктах:
-
6.5 Зажигание; перекрестное зажигание; устойчивость пламени;
-
6.7 Горение - монооксид углерода, диоксид углерода;
-
6.8 Горение - окиси азота;
-
6.11 Измерительное устройство атмосферы;
должны быть указаны в EN 437.
Для испытаний, описанных в других разделах, для облегчения испытаний эталонный газ можно заменять фактически распределяемым газом при условии, что его число Воббе находится в пределах +/- 5% от числа Воббе эталонного газа.
Если в приборе могут использоваться газы нескольких групп или семейств, используются испытательные газы, выбранные из тех, что перечислены в EN 437, и в соответствии с требованиями
6.1.4.1.
6.1.3.2 Условия поставки и настройки горелок
6.1.3.2.1 Первоначальная регулировка прибора
Перед всеми необходимыми испытаниями прибор должен быть оснащен соответствующим оборудованием (например, форсунками), соответствующим семейству или группе газов, к которой принадлежит указанный испытательный газ. Любые регуляторы расхода газа настраиваются в соответствии с инструкциями по монтажу с использованием соответствующего эталонного газа (см.
6.1.4.1) и соответствующего нормального давления, указанных в
6.1.3.2.5.
Первоначальная регулировка прибора попадает под ограничения, указанные в
5.1.1.
6.1.3.2.2 Нагнетающее давление
За исключением случаев, когда требуется регулировка нагнетающего давления (как описано в
6.1.3.2.3 и
6.1.3.2.4), нормальное, минимальное и максимальное нагнетающее давление, используемое для проведения испытаний, должно соответствовать требованиям, указанным в
6.1.3.2.5.
Если не указано иное, первоначальная настройка прибора не изменяется.
6.1.3.2.3 Регулировка подводимого тепла
Для испытаний, требующих настройки горелки на номинальную или другую заданную тепловую мощность, необходимо убедиться, что давление перед форсунками было таким, чтобы полученная тепловая мощность находилась в пределах +/- 2% от заданного (путем изменения предварительно настроенных регуляторов или регулятора прибора, если он регулируемый, или давления подачи прибора).
6.1.3.2.4 Откорректированное испытательное давление
Если для получения номинального подводимого тепла в пределах +/- 2% необходимо использовать нагнетающее давление
p, отличное от нормального давления
pn, тогда испытания, обычно проводимые при минимальном или максимальном давлении
pmin и
pmax, должны проводиться при скорректированных давлениях

и

. Откорректированные испытательные давления рассчитываются по формуле

(1)
где pn - нормальное испытательное давление;
pmin - минимальное испытательное давление;
pmax - максимальное испытательное давление;
p - нагнетающее давление;

- откорректированное минимальное испытательное давление;

- откорректированное максимальное испытательное давление.
6.1.3.2.5 Испытательное давление
Значения испытательного давления (т.е. статическое давление, которое применяется к соединению газоотвода во время работы) приведены в EN 437. Это давление и соответствующие форсунки используются в соответствии со специальными национальными условиями, указанными в EN 437, для страны, в которой будет установлен прибор.
6.1.4 Процедуры испытаний
6.1.4.1 Испытания, для которых требуются эталонные газы
Требуемые испытания, указанные в пунктах:
-
6.5 Установка пламени пускового газа;
-
6.6 Зажигание; перекрестное зажигание; устойчивость пламени;
-
6.7 Горение - монооксид углерода, диоксид углерода;
-
6.8 Горение - окиси азота;
-
6.11 Измерительное устройство атмосферы;
должны проводиться с использованием эталонного газа, соответствующего стране, в которой прибор будет установлен, и категории прибора.
Остальные испытания проводятся только с одним из эталонных газов категории прибора (см.
6.1.1) при одном нормальном испытательном давлении, из указанных в
6.1.3.2.5 для выбранного эталонного газа, далее именуемого "эталонный газ".
Однако испытательное давление должно быть одним из тех, что указаны в инструкциях по монтажу, и прибор должен быть оснащен соответствующими форсунками.
6.1.4.2 Испытания, для которых требуются предельные газы
Испытания, для которых требуются предельные газы (см.
6.6.2.1.1,
6.6.7.1,
6.7.3.1.3), должны проводиться с предельными газами, соответствующими категории прибора, с форсунками и регулировками, соответствующими группе или семейству эталонного газа, к которому относится каждый предельный газ.
| | ИС МЕГАНОРМ: примечание. В официальном тексте документа, видимо, допущена опечатка: пункт 6.1.5.9 отсутствует. | |
Обычно применяются условия испытаний, указанные в
6.1.5.2 - 6.1.5.9, если иное не указано в определенных методах испытаний.
6.1.5.2 Испытательное помещение
Прибор устанавливается в хорошо вентилируемом помещении без сквозняков и температуре окружающей среды (20 +/- 5) °C.
Примечание - Допускается более широкий диапазон температур при условии учета влияния на результат испытания.
6.1.5.3 Отвод продуктов сгорания
6.1.5.3.1 Все приборы типов B
11, B
12, B
13, B
41, B
42 и B
43
a) Приборы с вертикальным выходом дымохода должны испытываться:
i) при минимальной высоте вертикального вторичного дымохода в случае типа B11 или 1 м вертикального вторичного дымохода в случае приборов типов B12 и B13 с одинаковым номинальным диаметром дымохода;
ii) в случае приборов типов B41, B42 и B43 - с вертикальным POCED, поставляемым или указанным производителем прибора, с максимальным эквивалентным сопротивлением, указанным в инструкциях по монтажу;
b) Приборы с горизонтальным выходом дымохода должны быть установлены в соответствии с инструкциями по монтажу; в них должна быть указана максимальная длина горизонтального участка и метод адаптации к вертикальному дымоходу; после этого должен быть установлен вертикальный дымоход в соответствии с
6.1.5.3.1, перечисление a).
В случае приборов типов B12 и B13 вертикальный дымоход должен быть изготовлен из листового металла толщиной не менее 1 мм. Если в методе испытаний не указано иное, дымоход должен быть неизолированным.
6.1.5.3.2 Все приборы типов B14, B22 и B23
Приборы, предназначенные для установки в дымоходе с настенной муфтой, должны испытываться с дымоходом, имеющим такой же диаметр, что и выходное отверстие, и с максимальным эквивалентным сопротивлением, как указано в инструкциях по монтажу. Приборы, предназначенные для установки в вертикальном дымоходе, должны испытываться с:
a) 1 м вертикальным дымоходом, установленным в соответствии с инструкциями по монтажу или минимальной длиной, указанной в инструкциях по монтажу, с тем же диаметром, что и выход дымохода; или
b) горизонтальным выходом дымохода, установленным в соответствии с инструкциями по монтажу, где должна быть указана максимальная длина горизонтального участка и способ адаптации к вертикальному дымоходу; после этого должен быть установлен вертикальный дымоход в соответствии с
6.1.5.3.2, перечисление a).
Дымоход должен быть изготовлен из листового металла толщиной менее 1 мм. Если не указано иное, дымоход должен быть неизолированным.
6.1.5.3.3 Приборы типов B44, B52 и B53
Приборы должны быть испытаны с POCED, поставляемым или указанным производителем прибора, с максимальным эквивалентным сопротивлением, указанным в инструкциях по монтажу.
6.1.5.3.4 Приборы типа C11
Если не указано иное, длина канала подачи воздуха и канала продуктов сгорания (POCED) регулируется в соответствии с толщиной стенок примерно 350 мм, и никакая предусмотренная защита окончания дымохода не устанавливается. При необходимости внешний телескопический канал герметизируется в соответствии с инструкциями производителя.
6.1.5.3.5 Приборы типов C12 и C13
Если не указано иное, испытания проводят с использованием канала подачи воздуха и канала продуктов сгорания (POCED), имеющих максимальное эквивалентное сопротивление, указанное в инструкциях по монтажу. Они должны поставляться производителем. Защита окончаний дымоходов не устанавливается. При необходимости внешний телескопический канал может быть герметизирован в соответствии с инструкциями по монтажу.
6.1.5.3.6 Приборы типов C21 и C41
Приборы должны быть испытаны с соединительными каналами (для воздуха для горения и для продуктов горения), собранными в соответствии с инструкциями по монтажу, но, если не указано иное, не соединенными с испытательным каналом.
6.1.5.3.7 Приборы типа C31
Если не указано иное, длина канала подачи воздуха для горения и канала для продуктов сгорания (POCED) равна максимальной длине, указанной в инструкциях по монтажу.
6.1.5.3.8 Приборы типов C32 и C33
Если не указано иное, испытания проводятся дважды. Сначала используют канал подачи воздуха и канал продуктов сгорания (POCED) с максимальным эквивалентным сопротивлением, а затем канал подачи воздуха и канал продуктов сгорания (POCED) с минимальным эквивалентным сопротивлением, указанным в инструкциях по монтажу. Эти каналы должны поставляться производителем.
6.1.5.3.9 Приборы типов C62 и C63
Если не указано иное, испытания проводят с приборами, подсоединенными к системе испытательных каналов для впуска воздуха для горения и выпуска продуктов сгорания, длина каждого испытательного канала составляет 1 м (см.
рисунок 2).
A - прибор; B - диагностическая точка давления;
C - диагностическая точка давления; D - зонд CO2
Рисунок 2 - Испытуемая система воздуховодов C
6
Канал для отвода продуктов сгорания должен быть оборудован регулируемым дросселем на выходе (см.
рисунки 3 и
4).
A - прибор; B - диагностическая точка давления;
C - диагностическая точка давления; D - зонд CO2;
E - дроссель
Рисунок 3 - Испытуемая система воздуховодов C
6
A - кольцевая камера для измерения статического давления
с десятью отверстиями

; B - образец дымового газа;
C - статическое давление; D - положение термопары
Рисунок 4 - Испытуемая система воздуховодов C
6.
Данные дросселя
6.1.5.4 Испытательная установка
Установка прибора должна осуществляться согласно инструкции по монтажу изготовителя с учетом указанного минимального свободного пространства вокруг прибора.
6.1.5.5 Влияние термостатов
Должны быть приняты меры для предотвращения срабатывания термостатов или других средств контроля и влияния на расход газа, если это не требуется для испытания.
6.1.5.6 Электропитание
Прибор подключен к источнику питания номинальным напряжением, если иное не указано в соответствующем пункте.
6.1.5.7 Приборы для изменения диапазона
Для приборов, которые предназначены для номинального диапазона, все испытания проводят при их максимальном и минимальном номинальном подводимом тепле, если иное не указано в соответствующем разделе.
6.1.5.8 Модуляция и высокий/низкий режим
Для приборов с модуляцией или высоким/низким режимом испытания проводят при номинальном подводимом тепле, если иное не указано в соответствующем разделе.
6.2 Герметичность
6.2.1 Герметичность газовой коммуникации
a) Требование
Приборы должны испытываться в следующих условиях.
Для приборов с полезным подводом тепла <= 70 кВт, использующих только газы первого и/или второго семейства, испытания проводятся при давлении воздуха на впуске 50 мбар или 1,5-кратном максимальном давлении, указанном в EN 437:2003+A1:2009, в зависимости от того, что больше.
Для приборов с полезным подводом тепла > 70 кВт, испытания проводятся при давлении воздуха на впуске 50 мбар; впускной клапан испытывается при давлении воздуха 150 мбар. Для приборов, использующих газы третьего семейства, испытания проводятся при давлении воздуха 150 мбар.
Любой регулятор можно заблокировать в максимально открытом положении, чтобы избежать повреждения.
Внешняя герметичность обеспечивается, если скорость утечки воздуха не превышает 0,1 дм3/ч независимо от количества клапанов, установленных последовательно или параллельно на приборе, при условии, что:
a) все газовые клапаны открыты и форсунки для любой запальной горелки и основной горелки герметизированы или, в качестве альтернативы, форсунки удалены, а отверстия закрыты;
b) каждый клапан в системе подачи основного газа проверяется на герметичность в закрытом положении, все остальные клапаны открыты.
Если конструкция любой запальной горелки такая, что ее выходное отверстие для газа не может быть закрыто, это испытание проводится с герметичным закрытием газовой линии к запальной горелке в удобном месте. В этом случае проводится дополнительное испытание с использованием мыльного раствора для проверки отсутствия утечки из газового тракта после испытанной секции, когда запальная горелка работает при нормальном рабочем давлении.
Для определения скорости утечки используется объемный метод, в котором считывается скорость утечки, и он обладает такой точностью, что погрешность ее определения не превышает 0,01 дм3/ч.
Эти испытания проводятся сначала с прибором в том виде, в котором он был поставлен, и еще раз после завершения всех испытаний в соответствии со стандартом после удаления любой сборки в газовой коммуникации с газонепроницаемым соединением, удаление которого предусмотрено в инструкциях по монтажу и заменено пять раз.
6.2.2 Герметичность коммуникации продуктов сгорания и свободный отвод продуктов сгорания
6.2.2.1 Приборы типов B11, B12, B13, B41, B42 и B43
a) Требование
Продукты сгорания должны выходить только из выпускного отверстия:
a) испытательного дымохода для приборов типов B11, B12 и B13 или
Прибор устанавливают, как описано в
6.1.5, и подсоединяют к дымоходу, как описано в
6.1.5.3.1.
Прибор сжигает один из эталонных газов для рассматриваемой категории при номинальном подводимом тепле в неподвижном воздухе и без сквозняков.
Поиск возможных утечек проходит при помощи пластины для определения температуры конденсации. Подходящие пластины для определения температуры конденсации:
a) пластина прямоугольного сечения с покрытием из хрома или родия, охлаждаемая водой (см.
рисунок 5). Общая длина требуемой пластины зависит от конструкции прибора или
b) лампа с водяным охлаждением с покрытием из хрома или родия круглого, или прочего аналогичного подходящего поперечного сечения, диаметром приблизительно 12 мм.
A - сток воды; B - спайка; B - твердая латунь толщиной 1 мм
с родиевым покрытием; D - поверхность должна быть хорошо
отполирована и не иметь складок; E - заборник воды;
F - латунь, матовое никелированное покрытие;
G - L - центральная линия
Рисунок 5 - Индикатор утечки пластины
температуры конденсации
Важной характеристикой детектора является то, что он никак не должен влиять на прибор, вызывая утечку, если он установлен; поэтому его, возможно, придется формировать, чтобы он соответствовал форме рассматриваемой области. Другое требование заключается в том, что его нельзя размещать так, чтобы он эффективно расширял испытуемую поверхность.
Датчик должен быть отполирован, но не полировками для металла, содержащими антизапотевающие материалы, а его поверхность должна быть химически обезжирена.
Датчик располагают так, чтобы обнаруживать любую утечку с испытываемой поверхности, и фиксируют в этом положении. Возможно, потребуется провести дополнительные испытания, чтобы убедиться в том, что все места, где можно предположить утечку, проверены.
Вода течет из устройства с постоянным напором через датчик утечки со скоростью примерно 90 л/ч, необходимо отрегулировать температуру воды на входе на (11 +/- 0,5) °C выше температуры конденсации окружающего воздуха. Включают прибор в условиях, указанных в
6.2.2.1, перечисление b). После работы прибора в течение 10 мин, начиная с холодного состояния, необходимо проверить поверхность датчика на предмет конденсации. Конденсат на датчике указывает на утечку продуктов.
Кратковременные "выбросы" конденсации не учитываются при условии, что между каждым "выбросом" интервалы составляют не менее 5 с.
Конденсация лучше всего видна, если осветить нижнюю часть датчика яркой лампой и провести наблюдения с одной стороны при падении под малым углом вдоль длины датчика. Черную поверхность выгодно расположить так, чтобы она отражалась на полированной поверхности датчика.
Однако в сомнительных случаях рекомендуется обнаруживать утечки с помощью пробоотборника, подсоединенного к анализатору CO2. Любой используемый прибор должен быть чувствительным к концентрации 0,01% CO2. Повышение уровня CO2 выше температуры окружающей среды более чем на 0,05% считается неудовлетворительным. Используемый метод отбора проб не должен нарушать нормальный поток продуктов сгорания.
6.2.2.2 Приборы типов B
14 и B
44
a) Требование
Продукты сгорания должны выходить только из выпускного отверстия:
a) испытательного дымохода для приборов типа B14;
Прибор устанавливается так, как описано в
6.1.5, и подсоединяется к дымоходу, как описано в
6.1.5.3.
Испытание проводят с одним из эталонных газов для рассматриваемой категории при номинальном подводимом тепле после работы прибора в течение 10 мин, начиная с холодного состояния, в условиях неподвижного воздуха и без сквозняков.
В этих условиях испытания выход дымохода постепенно сужается до тех пор, пока основная горелка и, при необходимости, запальная горелка не будут отключены при помощи устройства контроля воздуха. В момент отключения повышение статического давления, измеренное непосредственно перед выходом дымохода, не должно быть меньше, чем:
a) 0,5 мбар - для прибора, подсоединенного к вертикальному дымоходу;
b) 0,75 мбар - для прибора, подсоединенного к дымоходу с муфтой на стене.
Поиск возможных утечек проводится при помощи конденсационной пластины или пробоотборника, как описано в
6.2.2.1, перечисление b).
6.2.2.3 Приборы типов B22, B23, B52 и B53
a) Требование
Продукты сгорания должны выходить только из выпускного отверстия:
a) испытательного дымохода для приборов типов B22 и B23;
Прибор устанавливается так, как описано в
6.1.5, и подсоединяется к дымоходу с максимальным эквивалентным сопротивлением.
Испытание проводят с одним из эталонных газов для рассматриваемой категории при номинальном подводимом тепле после работы прибора в течение 10 мин, начиная с холодного состояния, в условиях неподвижного воздуха и без сквозняков.
Поиск возможных утечек проводится при помощи конденсационной пластины или пробоотборника, как описано в
6.2.2.1, перечисление b).
6.2.2.4 Приборы типов C11, C12, C13, C21, C31, C32, C33 и C41
a) Требования
Для приборов типов C
12, C
13, C
21, C
32, C
33 и C
41 скорость утечки воздуха не должна превышать 0,5 м
3/ч на кВт подводимого тепла с максимумом 25 м
3/ч при испытании в соответствии с
6.2.2.4, перечисление b).
Прибор устанавливается так, как описано в
6.1.5, и подсоединяется к дымоходу, как описано в
6.1.5.3. Выводы и/или каналы для воздуха для горения и/или продуктов горения (POCED) герметизированы на концах, любой лучик для розжига горелки закрыт, а вход газа в основную горелку и любая запальная горелка заблокированы. Отверстия, предназначенные для забора воздуха для охлаждения двигателя, могут быть заблокированы во время испытания. В проектной документации должно быть показано, что такой забор не может быть отменен в процессе эксплуатации.
Воздух поступает в устройство, отмечается расход воздуха, когда давление внутри устройства стабильно на 0,5 мбар выше атмосферного давления.
Примечание - Удобный метод проверки прибора заключается в размещении вывода в пластиковом пакете, в который могут быть помещены воздухозаборник и трубка, соединенная с манометром.
6.2.2.5 Приборы типов C62 и C63
a) Требования
Скорость утечки воздуха не должна превышать 0,5 м
3/ч на кВт подводимого тепла, максимум 25 м
3/ч при испытании в соответствии с
6.2.2.5, перечисление b).
Прибор испытывают, как описано в
6.2.2.4, перечисление b), но без установки каналов подачи воздуха для горения и отвода продуктов сгорания.
В настоящем стандарте все значения тепловой мощности определяют по значениям объемного расхода газа
V0 или массового расхода газа
M0, которые относятся к значениям, установленным при стандартных условиях испытаний с эталонным испытательным газом (сухой газ, 15 °C, 1013,25 мбар). Тепловую мощность
Q0 (кВт) получают по
формулам (2) или
(3)
Q0 = 0,278
M0Hi (или
Hs); (2)
Q0 = 0,278
V0·
Hi (или
Hs), (3)
где M0 - массовый расход, полученный при стандартных условиях, кг/ч;
V0 - объемный расход, полученный при стандартных условиях, м3/ч;
Hi - низшая теплота сгорания эталонного газа (сухой газ, 15 °C, 1013,25 мбар), в зависимости от ситуации, мДж/кг или мДж/м3;
Hs - высшая теплота сгорания эталонного газа (сухой газ, 15 °C, 1013,25 мбар), в зависимости от ситуации, мДж/кг или мДж/м3.
Массовый и объемный расход соответствует измерению и расходу эталонного газа при стандартных условиях, другими словами, при условии, что газ является сухим, при температуре 15 °C и давлении 1013,25 мбар. На практике полученные при испытаниях значения не соответствуют данным стандартным значениям, поэтому их необходимо исправить, чтобы довести до значений, которые могли бы быть достигнуты при имеющихся стандартных условиях во время испытания на выводе форсунки.
Если скорректированный массовый расход (M0) определяется с использованием массового расхода (Mmeas), используется формула

(4)
где M0 - скорректированный массовый расход, полученный в условиях испытаний, кг/ч;
Mmeas - массовый расход, полученный в условиях испытаний, кг/ч;
pa - атмосферное давление, мбар;
p - нагнетающее давление газа, мбар;
tg - температура газа в точке измерения, °C;
d - плотность сухого газа относительно сухого воздуха;
dr - плотность эталонного газа относительно сухого воздуха.
Если скорректированный объемный расход (V0) определяется с использованием объемного расхода (Vmeas), используется формула:

(5)
где V0 - скорректированный объемный расход при стандартных условиях, м3/ч;
Vmeas - объемный расход, полученный в условиях испытаний, м3/ч;
pa - атмосферное давление, мбар;
p - нагнетающее давление газа, мбар;
tg - температура газа в точке измерения, °C;
d - плотность сухого газа относительно сухого воздуха;
dr - плотность эталонного газа относительно сухого воздуха.
Скорректированный массовый расход (M0) в стандартных условиях рассчитывается по формуле
M0 = 1,226V0·d, (6)
где M0 - скорректированный массовый расход, полученный в условиях испытаний кг/ч;
V0 - скорректированный объемный расход при стандартных условиях, м3/ч;
d - плотность сухого газа относительно сухого воздуха.
Формулы (4) и
(5) используются для расчета соответствующих скорректированных расходов
M0 или
V0, которые были бы получены при стандартных условиях, по массовому расходу
Mmeas или объемному расходу
Vmeas, измеренному во время испытания.
Формулы (4) и
(5) применяются, если используемый испытательный газ сухой.
Если используется влажный счетчик или если используемый газ является насыщенным, значение d заменяется значением плотности влажного газа dh и определяется по формуле

(7)
где dh - плотность влажного газа относительно сухого воздуха;
d - плотность сухого газа относительно сухого воздуха;
p - нагнетающее давление газа, мбар;
pa - атмосферное давление, мбар;
pw - давление насыщенного пара испытуемого газа при температуре tg, мбар.
6.3.2 Номинальное подводимое тепло
Подводимое тепло нерегулируемых приборов без регуляторов расхода газа или с регуляторами расхода газа, установленными в соответствии с инструкциями по монтажу, полученными при нормальном давлении
Q0, должно находиться в пределах +/- 5% от номинального подводимого тепла
Qn при испытании в соответствии с
6.3.2, перечисление b).
Испытание проводят при давлении, указанном в инструкции по монтажу, в соответствии с требованиями
6.1.4.
На прибор последовательно устанавливаются все форсунки, указанные изготовителем для каждой группы газов, и регулируются в соответствии с требованиями
6.1.3.2.1. Подводимое тепло определяется для каждого эталонного газа, как описано в
6.3.1.
Измерения проводятся, когда прибор находится в состоянии теплового равновесия и при отключенном термостате.
6.3.3 Подводимое тепло пускового газа
Подводимое тепло пускового газа, полученное при нормальном давлении, должно находиться в пределах +/- 5% от подводимого тепла пускового газа, заявленного в инструкциях по монтажу, при испытании в соответствии с
6.3.3, перечисление b). Этот допуск увеличен до +/- 10%, если диаметр форсунки 0,5 мм или меньше.
Испытания проводятся при давлении, указанном в инструкции по монтажу, в соответствии с требованиями
6.1.4, с использованием устройства, которое позволяет работать с пламенем пускового газа самостоятельно.
На прибор последовательно устанавливаются все форсунки, указанные в инструкциях по монтажу для каждой группы газов, и регулируются в соответствии с
6.1.3.2.1. Подводимое тепло определяется для каждого эталонного газа, как описано в
6.3.1.
Измерения производятся сразу после зажигания пламени пускового газа.
6.3.4 Эффективность регуляторов расхода газа
a) Требование
Для приборов без регулятора газа, но с регулятором расхода газа, который не выводится из строя.
Подводимое тепло, полученное в соответствии с
6.3.4, перечисление b), испытание N 1, не должно быть меньше номинального расхода. Подводимое тепло, полученное в соответствии с
6.3.4, перечисление b), испытание N 2, не должно превышать номинальный расход.
Испытание N 1
Подводимое тепло измеряется при полностью открытом регуляторе и минимальном нагнетающем давлении, указанном в
6.1.4 для определенного эталонного газа.
Испытание N 2
Подводимое тепло измеряется при полностью закрытом регуляторе и максимальном нагнетающем давлении, указанном в
6.1.4 для определенного эталонного газа.
Испытания проводятся для каждого эталонного газа для категории прибора, за исключением случаев, когда регулятор был установлен и опломбирован производителем в заданном положении. В этом случае регулятор считается несуществующим.
6.3.5 Эффективность регулятора давления
a) Требование
Подводимое тепло, полученное в соответствии с
6.3.5, перечисление b), не должно отличаться более чем на +7,5% и -10% для газов первого, второго и третьего семейства. Для приборов типа A это значение снижено до +/- 5% для газов 2 и 3 семейства.
Если прибор оснащен регулируемым регулятором, его при необходимости регулируют, чтобы получить номинальный объемный расход, соответствующий номинальному подводимому теплу с эталонным газом при нормальном давлении, указанном в
6.1.4, и соответствующий этому газу. Сохраняя первоначальную настройку, нагнетающее давление изменяется между соответствующими минимальным и максимальным значениями.
Это испытание проводится для всех эталонных газов, для которых регулятор не выводится из строя. Однако для газов первого семейства эта проверка проводится между номинальным и максимальным давлением.
6.3.6 Эффективность устройства для измерения диапазона
a) Требование
Для приборов, оснащенных устройством определения диапазона, в отличие от регулятора скорости газа, для двух крайних положений устройства определения диапазона:
a) номинальное подводимое тепло должно быть получено с точностью +/- 5% от номинального подводимого тепла, указанного в инструкциях по монтажу, с устройством измерения диапазона в положении, обеспечивающем максимальную скорость;
b) минимальное подводимое тепло должно быть получено с точностью +/- 5% от минимального подводимого тепла, указанного в инструкциях по монтажу, с устройством измерения диапазона в положении, обеспечивающем минимальную скорость.
Для приборов категорий I
2L и I
2H, оснащенных устройством определения диапазона, не отличным от регулятора расхода газа, минимум и максимум заявленного диапазона подводимого тепла должны быть получены с точностью до +/- 5%. Испытания проводятся в соответствии с
6.3.6, перечисление b).
Прибор регулируется в соответствии с инструкциями по монтажу. Испытания проводят, как описано в
6.3.2, перечисление b). Для каждого крайнего положения устройства для измерения диапазона измеряется подводимое тепло.
6.4 Система контроля пламени
6.4.1 Для приборов с полезным подводом тепла <= 70
6.4.1.1 Приборы с неавтоматическими горелками
a) Требование
Горелка должна быть оборудована устройством контроля пламени для контроля пламени запальной горелки и защиты основного пламени. При пропадании пламени система управления должна вызывать, как минимум, временную блокировку. Время безопасного погасания для системы контроля пламени для отключения горелки не должно превышать 60 с для приборов с запальными горелками, защищенными термоэлектрической системой контроля пламени. Время безопасного погасания подтверждается испытанием, указанным в
6.4.1.1, перечисление b).
Если термоэлектрические устройства контроля пламени используются в сочетании с электрическим зажиганием, газ не должен поступать в основную горелку, если запальная горелка не горит, когда любой контрольный кран или эквивалентное устройство, доступное пользователю, переводится в положение "ВЫКЛ", а затем в положение "ВКЛ" через 3 с. В рамках этого требования пьезоэлектрическое зажигание не рассматривается в качестве электрического зажигания.
Когда прибор находится в рабочем состоянии, подача газа к основной горелке изолирована. Измеряется время между потуханием основной горелки и закрытием предохранительного клапана.
6.4.1.2 Приборы с естественной тягой с системами автоматической горелки
a) Требование
Когда горелка запускается из отключенного состояния, система контроля пламени должна предотвращать любые попытки воспламенения или открытия любого газового клапана при наличии пламени или условий имитации пламени. Проверка безопасного запуска должна длиться более 5 с и прекращаться не более чем за 5 с до любой попытки зажигания.
Если система контроля пламени включает в себя компоненты (например, термоэмиссионные клапаны), требующие времени для прогрева, проверка безопасного запуска должна длиться на 5 с дольше максимального времени нагрева.
При исчезновении пламени во время работы система управления должна вызвать аварийное отключение или однократную попытку восстановления искры. Для систем управления, которые включают в себя зажигание от горячей поверхности, аварийное отключение должно происходить после пропадания пламени. Общее время безопасного погасания для системы контроля пламени для обнаружения отсутствия пламени и отключения горелки не должно превышать 3 с. Время безопасности тушения проверяют, выполняя процедуру, указанную в
6.4.1.2, перечисление b).
Когда прибор находится в рабочем состоянии, подача газа к основной горелке изолирована. Измеряется время между потуханием основной горелки и закрытием предохранительного клапана.
6.4.1.3 Приборы с вентиляторными горелками и автоматическими горелками с предварительной продувкой
Устройство контроля пламени должно включать в себя подходящие средства обеспечения безопасного отключения или блокировки, если детектор пламени сигнализирует о наличии пламени в любое время во время предварительной продувки.
Проверка наличия пламени может быть прекращена в течение 5 с перед попыткой зажигания. Если состояние имитации пламени длится 5 с или более, должно произойти отключение.
При исчезновении пламени во время нормальной работы устройство контроля пламени должно обеспечивать автоматический перезапуск или отключение.
Время отключения автоматических запорных клапанов горелки устройством погашения пламени при исчезновении пламени должно быть не более 1 с.
Прибор установлен и испытан в соответствии с
6.1.5. Проверяются требования пункта
6.4.1.3, перечисление a). Когда прибор находится в рабочем состоянии, отключают подачу газа к основной горелке. Измеряют время между моментом, когда основная горелка погаснет, и появлением сигнала на закрытие клапана.
6.4.1.4 Приборы с вентиляторными горелками и автоматическими горелками без предварительной продувки
Для приборов с полезным подводом тепла <= 70 кВт предварительная продувка не является обязательной. Когда горелка запускается из отключенного состояния, система контроля пламени должна предотвращать любые попытки воспламенения и открытия любого газового клапана, если присутствует пламя или условия имитации пламени.
Конструкция прибора должна быть такой, чтобы во время отключения обеспечивалось достаточное количество естественной вентиляции для безопасного проветривания любой незначительной утечки газа.
Проверка наличия пламени должна длиться более 5 с и прекращаться не более чем за 5 с до любой попытки воспламенения. Если система контроля пламени включает в себя термоэмиссионные клапаны и т.д., для которых требуется время для разогрева, проверка наличия пламени должна длиться как минимум на 5 с дольше максимального времени разогрева.
При исчезновении пламени система управления должна вызвать аварийное отключение. Однако в случае систем управления, которые включают в себя зажигание от горячей поверхности, аварийное отключение и блокировка должны происходить после пропадания пламени. Общее время безопасного погасания для системы контроля пламени для обнаружения отсутствия пламени и отключения горелки должно быть не более 3 с.
Прибор установлен и испытан в соответствии с
6.1.5. Проверяются требования
6.4.1.4, перечисление a). Если прибор находится в рабочем состоянии, отключают подачу газа к основной горелке. Измеряют время между моментом, когда основная горелка погаснет, и появлением сигнала на закрытие клапана.
6.4.2 Для приборов с полезным подводом тепла > 70 кВт
6.4.2.1 Приборы типов B11, B14, B41 и B44
a) Требование
Время зажигания термочувствительных устройств контроля пламени не должно превышать 20 с. Это подтверждается проведением испытания, указанного в
6.4.2.1, перечисление b), абзац 1.
При пропадании пламени система управления должна вызывать энергонезависимую блокировку. Время безопасного погасания системы контроля пламени для отключения горелки не должно превышать 60 с для приборов с горелками постоянного зажигания, защищенными термочувствительной системой контроля пламени. Однако для приборов с подводимым теплом более 135 кВт время безопасного тушения не должно превышать 3 с. Это подтверждается проведением испытания, указанного в
6.4.2.1, перечисление b), абзац 2.
Если термоэлектрические устройства контроля пламени используются вместе с электрическим зажиганием, система управления должна включать в себя блокировку перезапуска. В рамках этого требования пьезоэлектрическое зажигание не рассматривается в качестве электрического зажигания.
b) Процедура испытания
Когда прибор находится в холодном состоянии, включается подача газа, и запальная горелка зажигается. Через 20 с после зажигания запальной горелки ручное вмешательство отменяется и проверяется, горит ли запальная горелка.
Когда прибор находится в рабочем состоянии, отключают подачу газа к основной горелке. Измеряют время между моментом, когда основная горелка погаснет, и появлением сигнала на закрытие клапана.
6.4.2.2 Приборы с автоматическими горелками
a) Требование
Когда горелка запускается из отключенного состояния, система контроля пламени должна предотвращать любые попытки воспламенения или открытия любого газового клапана, если присутствует пламя или условия, имитирующие пламя.
Эта проверка безопасного запуска должна длиться более 5 с и прекращаться не более чем за 5 с до любой попытки зажигания.
Время безопасного погасания для системы контроля пламени для обнаружения отсутствия пламени и отключения горелки не должно превышать 3 с. Это подтверждается испытанием, указанным в
6.4.2.2, перечисление b).
Когда прибор находится в рабочем состоянии, отключают подачу газа к основной горелке. Измеряют время между моментом, когда основная горелка погаснет, и появится сигнал на закрытие клапана.
6.4.2.3 Все приборы типов B и C, за исключением типов B11, B14, B41 и B44
a) Требование
Устройство контроля пламени должно включать подходящие средства обеспечения безопасного отключения или блокировки, если детектор пламени сигнализирует о наличии пламени в любое время во время предварительной продувки. Это проверка безопасного пуска. Проверка безопасного пуска может быть прекращена в течение 5 с до попытки зажигания. Если состояние, имитирующее пламя, длится 5 с или более, должно произойти отключение.
При пропадании пламени устройство контроля пламени должно либо вызвать энергонезависимую или энергозависимую блокировку, либо разрешать повторное зажигание путем восстановления искры, и разрешать автоматическую переработку.
Если используется повторное зажигание путем восстановления искры, попытка немедленного повторного зажигания должна начинаться в течение 1 с. Если попытка повторного зажигания не удалась к концу первого времени безопасности, должно произойти энергонезависимое отключение.
Если в случае автоматической рециркуляции зажигание не возникает в конце первого безопасного времени, должно произойти энергонезависимое отключение.
Время отключения автоматических запорных клапанов устройством контроля пламени при пропадании пламени должно быть не более 1 с. Однако, если используется самопроверяющееся устройство контроля пламени, время, в течение которого устройство контроля пламени отключит питание автоматических запорных клапанов после пропадания пламени, должно соответствовать требованиям, указанным в
таблице 8. Это подтверждается испытанием, указанным в
6.4.2.3, перечисление b).
Таблица 8
Время отключения устройства контроля пламени
Частота проверок | Время отключения, исключая любую задержку из-за контрольных цепей, с | Время отключения, включая любую задержку из-за контрольных цепей, с |
Чаще, чем каждые 2 с | - | - |
Реже, чем каждые 2 с, но чаще, чем раз в минуту | 1 | 2 |
Реже, чем раз в минуту, но чаще, чем раз в час | 1 | 3 |
Когда прибор находится в рабочем состоянии, отключите подачу газа к основной горелке. Измерьте время между моментом, когда основная горелка погаснет, и появлением сигнала на закрытие клапана.
6.4.3 Приборы типов A2 и A3
Система контроля пламени должна быть спроектирована или устроена так, чтобы она не могла обнаруживать источник зажигания как ложный сигнал пламени.
Система контроля пламени должна включать в себя средства, обеспечивающие безопасное отключение или энергонезависимую блокировку, если детектор пламени сигнализирует о наличии пламени в любой момент во время предварительной продувки.
Если продолжительность проверки безопасного пуска менее 5 с, обнаружение пламени или условий, имитирующих пламя во время предварительной продувки, должно привести к энергонезависимой блокировке.
Если продолжительность проверки безопасного пуска превышает 5 с, обнаружение пламени или условий имитации пламени во время предварительной продувки должно привести к аварийному отключению или энергонезависимой блокировке.
Однако, если состояние имитации пламени длится 5 с или более, должно произойти энергонезависимое отключение.
При пропадании пламени система контроля пламени должна приводить к энергонезависимой блокировке. Не должно быть автоматических попыток повторного зажигания при помощи восстановления искры, автоматической утилизации или других средств. Цикл перезапуска должен происходить только после ручного сброса.
Время отключения автоматических предохранительных запорных клапанов горелки системой контроля пламени при пропадании пламени должно быть не более 1 с.
Если используется система самоконтроля пламени, время отключения предохранительных запорных клапанов системой при пропадании пламени должно составлять не более 1 с при нормальной работе и не более 2 с при выполнении проверки. Это подтверждается испытанием, указанным в
6.4.3, перечисление b).
Когда прибор находится в рабочем состоянии, отключают подачу газа к основной горелке. Измеряют время между моментом, когда основная горелка погаснет, и появлением сигнала на закрытие клапана.
6.5 Установка пламени пускового газа
6.5.1 Приборы с полезным подводом тепла <= 70 кВт
6.5.1.1 Приборы с естественной тягой с неавтоматическими горелками
a) Требование
Время зажигания не должно превышать 30 с, оно может быть увеличено до 60 с, если при этом не требуется ручного вмешательства. Это время проверяется в условиях испытаний, указанных в
6.5.1.1, перечисление b).
Когда прибор находится в холодном состоянии, включается подача газа и запальная горелка зажигается через 30 с после розжига запальной горелки, ручное вмешательство отменяется и проверяется, горит ли зажженная запальная горелка.
Должны быть приняты меры для безопасного и легкого установления пламени пускового газа вручную или при помощи запального устройства, встроенного в прибор. Если в прибор встроено запальное устройство, должна быть предусмотрена возможность зажигания запальной горелки вручную.
Газ не должен поступать в основную горелку до тех пор, пока пламя пускового газа не будет обнаружено устройством контроля пламени.
Устройство контроля пламени при любых условиях эксплуатации должно обнаруживать пламя пускового газа только с такой скоростью, которая обеспечивает надежное и плавное зажигание основного газа.
6.5.1.2 Приборы с естественной тягой с автоматическими горелками
a) Требование
Расход пускового газа должен быть таким, чтобы при испытании в условиях испытания в соответствии с
6.5.1.2, перечисление b) система была безопасной при зажигании.
Когда прибор находится в холодном состоянии, включается подача газа и зажигается запальная горелка. Через 30 с после зажигания запальной горелки ручное вмешательство отменяется и проверяется, горит ли зажженная запальная горелка.
Детектор пламени во всех условиях эксплуатации должен обнаруживать пламя пускового газа только на таких скоростях, которые обеспечивают надежное и плавное зажигание основного газа.
Первое безопасное время не должно превышать:
- 30 с - для запальных горелок с входной мощностью <= 600 Вт;
- 15 с - для запальных горелок с входной мощностью > 600 Вт и <= 1,5 кВт;
- 5 с (а лучше не менее 2 с) - для приборов, у которых расход пускового газа превышает 1,5 кВт.
Первое безопасное время проверяется при следующих условиях испытаний. Перекрыть подачу газа к прибору. Зажигают прибор в соответствии с инструкциями по монтажу и измеряют время между сигналами открытия и закрытия клапана. Сравнивают это время с временем безопасности, указанным производителем.
Кроме того, при испытании в следующих условиях прибор не должен иметь повреждений, которые могут повлиять на его безопасную работу. Прибор устанавливается, как описано в
6.1.5, сначала настраивается в соответствии с требованиями
6.1.3.2.1. С ним подается соответствующий эталонный газ (см. EN 437) при номинальном подводимом тепле.
Проверяется зажигание запальной горелки или основной горелки, если она зажигается напрямую. Испытание повторяется с постепенной задержкой зажигания до окончания безопасного времени.
Чтобы отсрочить зажигание, необходимо обеспечить независимое управление автоматическими запорными клапанами основного газа или пускового газа и работой устройства зажигания. Подходящим устройством является подача напряжения на соответствующий газовый клапан и устройство зажигания, независимо от системы автоматического управления горелкой. В целях безопасности задержку зажигания следует увеличивать поэтапно.
Если зажигание не происходит, искра должна появляться до истечения безопасного времени.
Источник зажигания не должен включаться до тех пор, пока не будет произведена проверка безопасного запуска системы контроля пламени. Источник зажигания должен быть обесточен в конце первого безопасного времени или до него. Если пламя пускового газа не было обнаружено к концу первого безопасного времени, должно произойти аварийное отключение и, как минимум, временная блокировка.
В случае пропадания пламени пускового газа после установления пламени пускового газа должно произойти аварийное отключение или немедленная однократная попытка повторного зажигания для приборов, у которых расход пускового газа, установленный на отдельной запальной горелке, не превышает 0,6 кВт. Если предпринята попытка повторного зажигания и пламя пускового газа не обнаружено в течение первого безопасного времени, должно произойти аварийное отключение и, как минимум, временная блокировка.
Для приборов, у которых расход пускового газа превышает 0,6 кВт, в случае пропадания пускового газового пламени после его установления должно произойти аварийное отключение и, как минимум, временная блокировка.
Однако автоматический запорный клапан при подаче основного газа может быть открыт, чтобы обеспечить поток газа, если подача пускового газа происходит ниже по потоку от первого автоматического запорного клапана основного газа, при условии, что:
- предусмотрено средство, подтверждающее закрытие запорного клапана до зажигания.
Примечание - Система проверки клапана, переключатель закрытия или переключатель индикатора закрытого положения считаются соответствующими этому требованию;
Если автоматический запорный клапан основного газа представляет собой двухступенчатый клапан, регулирующий как начальный расход газа, так и расход основного газа, необходимо проверить начальное положение клапана. Если проверка показывает, что клапан находится не в начальном положении, запуск необходимо предотвратить или должна произойти, как минимум, временная блокировка.
6.5.1.3 Вентиляторные горелки без предварительной продувки
6.5.1.3.1 Приборы с неавтоматическими горелками
a) Требование
Время зажигания не должно превышать 30 с. Время зажигания можно увеличить до 60 с, если не требуется ручное вмешательство. Это время проверяют в условиях испытаний в соответствии с
6.5.1.3.1, перечисление b).
Прибор устанавливают, как описано в
6.1.5, и испытания проводят с использованием соответствующего эталонного газа для данной категории прибора. Когда прибор холодный, включается подача газа и зажигается запальная горелка. Через 20 с после зажигания ручное вмешательство отменяется и проверяется, горит ли запальная горелка.
Должны быть приняты меры для безопасного и легкого установления пламени пускового газа вручную или при помощи устройства зажигания, встроенного в прибор. Если в прибор встроено запальное устройство, должна быть предусмотрена возможность зажигания запальной горелки вручную.
Газ не должен поступать в основную горелку до тех пор, пока пламя пускового газа не будет обнаружено устройством контроля пламени.
Устройство контроля пламени должно обнаруживать пламя пускового газа только на таких скоростях, которые могут обеспечить надежное и плавное зажигание основного газа.
6.5.1.3.2 Приборы с автоматическими горелками
6.5.1.3.2.1 Общие положения
a) Требование
Скорость пускового газа должна быть такой, чтобы при испытании в условиях, указанных в
6.5.1.3.2.1, перечисление b), система была безопасной при зажигании.
Прибор устанавливается, как описано в
6.1.5, и первоначально настраивается в соответствии с требованиями
6.1.3.2.1, и на него подается соответствующий эталонный газ (см. EN 437:2003+A1:2009) при номинальном подводимом тепле.
Проверяется зажигание запальной горелки или основной горелки, если она зажигается напрямую. Испытание повторяется с постепенной задержкой зажигания до окончания безопасного времени.
Чтобы отсрочить зажигание, необходимо обеспечить независимое управление запорными клапанами основного газа или пускового газа и работой устройства зажигания. Подходящим устройством является подача напряжения на соответствующий газовый клапан и устройство зажигания, независимо от системы автоматического управления горелкой. В целях безопасности задержку зажигания следует увеличивать поэтапно.
Источник зажигания не должен включаться до тех пор, пока не будет произведена проверка безопасного пуска системы контроля пламени. Источник зажигания должен быть обесточен в конце первого безопасного времени или до него. Если пламя пускового газа не было обнаружено к концу первого безопасного времени, должно произойти аварийное отключение и блокировка.
6.5.1.3.2.2 Приборы с вентиляторными горелками с отдельной запальной горелкой
a) Требование
Если расход газа запальной горелки не превышает 0,25 кВт, первое безопасное время не ограничено.
Если расход газа запальной горелки превышает 0,25 кВт, но не превышает 0,6 кВт, первое безопасное время не должно превышать 30 с.
Для приборов, у которых расход пускового газа не превышает 0,6 кВт, в случае пропадания пламени пускового газа должно происходить или аварийное отключение, или однократная немедленная попытка повторного зажигания путем прямого восстановления искры, но до подачи сигнала об открытии автоматических запорных клапанов основного газа.
Если предпринята попытка повторного зажигания и пламя пускового газа не обнаружено в течение первого безопасного времени, должно произойти аварийное отключение и блокировка.
Если расход газа запальной горелки превышает 0,6 кВт, первое безопасное время не должно превышать 5 с. Для этих приборов аварийное отключение и блокировка должны происходить в случае пропадания пламени пускового газа после его возникновения и до получения сигнала об открытии автоматических запорных клапанов основного газа.
Однако автоматический запорный клапан при подаче основного газа может быть открыт для разрешенного потока газа, если подача пускового газа происходит ниже по потоку от первого автоматического запорного клапана основного газа, при условии, что:
- установлено средство подтверждения закрытия главного запорного клапана до зажигания;
- соблюдены требования, указанные в
6.6.4.1.2.
Примечание - Считается, что система проверки клапана, переключатель закрытия или переключатель индикатора закрытого положения соответствуют этому требованию.
Расход пускового газа должен быть таким, чтобы при испытании в условиях, указанных в
6.5.1.3.2.1, перечисление b), система была безопасной при зажигании.
6.5.1.3.2.3 Приборы с вентиляторными горелками, если пламя пускового газа установлено на основной горелке
a) Требование
Если расход газа запальной горелки не превышает 0,25 кВт, первое безопасное время не ограничено.
Если расход газа запальной горелки превышает 0,25 кВт, но не превышает 0,6 кВт, первое безопасное время не должно превышать 30 с.
Если расход пускового газа не превышает 0,6 кВт, первое безопасное время не должно превышать 5 с. Для этих приборов аварийное отключение и блокировка должны происходить в случае пропадания пламени пускового газа после его возникновения и до возникновения сигнала об открытии автоматических запорных клапанов основного газа.
Однако, автоматический запорный клапан источника основного газа может быть открыт, чтобы пропускать поток газа, если подача пускового газа осуществляется между автоматическими запорными клапанами основного газа, при условии, что автоматический запорный клапан основного газа, расположенный ниже по потоку, проверяется на закрытие перед запуском, например, клапаны, оснащенные переключателями индикатора закрытого положения. Если проверка показывает, что клапан не закрыт, запуск должен быть прекращен или произойдет блокировка.
Если автоматический запорный клапан основного газа, расположенный ниже по потоку, представляет собой двухступенчатый клапан, регулирующий как расход пускового газа, так и расход основного газа, необходимо проверить начальное положение клапана. Если проверка показывает, что клапан ниже по потоку не находится в начальном положении, запуск должен быть отложен или должна произойти, как минимум, временная блокировка. Кроме того, любые средства регулировки расхода пускового газа должны быть предварительно установлены и опломбированы производителем.
Расход пускового газа должен быть таким, чтобы при испытании в условиях, указанных в
6.5.1.3.2.1, перечисление b), система была безопасной при зажигании.
6.5.1.3.2.4 Приборы с вентиляторными горелками и непосредственным зажиганием основной горелки
Для приборов с прямым зажиганием основной горелки разрешается однократная попытка зажигания с безопасным временем, не превышающим 5 с.
Искра сохраняется до тех пор, пока пламя не установится и не будет обнаружено или пока не истечет безопасное время.
Если основное пламя горелки не установлено и не обнаружено к концу безопасного времени, должно произойти аварийное отключение и блокировка.
Если автоматический запорный клапан основного газа, расположенный ниже по потоку, представляет собой двухступенчатый клапан, регулирующий как расход пускового газа, так и расход основного газа, необходимо проверить начальное положение клапана. Если проверка показывает, что клапан ниже по потоку находится не в начальном положении, запуск должен быть предотвращен или должна произойти, как минимум, временная блокировка. Кроме того, любые средства регулировки расхода пускового газа должны быть предварительно установлены и опломбированы производителем.
Расход пускового газа должен быть таким, чтобы при испытании в условиях, указанных в
6.5.1.3.2.1, перечисление b), система была безопасной при зажигании.
6.5.1.4 Вентиляторные горелки с предварительным продуванием
6.5.1.4.1 Общие положения
a) Требование
Запальная горелка или расход пускового газа должны быть такими, чтобы при испытании в условиях, указанных в
6.5.1.4.1, перечисление b), система была безопасной при зажигании.
Прибор устанавливается, как описано в
6.1.5, и первоначально настраивается в соответствии с требованиями
6.1.3.2.1 и поставляется с соответствующим эталонным газом (см. EN 437) при номинальном подводимом тепле.
Проверяется зажигание запальной горелки или основной горелки, если она зажигается напрямую. Испытание повторяется с постепенной задержкой зажигания до окончания безопасного времени.
Чтобы отложить зажигание, необходимо обеспечить независимое управление запорными клапанами основного газа или пускового газа и работой устройства зажигания. Подходящим устройством является подача напряжения на соответствующий газовый клапан и устройство зажигания, независимо от системы автоматического управления горелкой. В целях безопасности задержку зажигания следует увеличивать поэтапно.
6.5.1.4.2 Приборы с отдельной запальной горелкой
a) Требование
Если пламя пускового газа создается на отдельной запальной горелке с расходом газа более 0,25 кВт, но не более 0,6 кВт, первое безопасное время не должно превышать 30 с.
Если пламя пускового газа создается на отдельной запальной горелке с расходом газа не более 0,25 кВт, первое безопасное время не ограничено.
Если в течение безопасного времени необходимое пламя не установилось, должно произойти аварийное отключение.
Если требуемое пламя не установилось после четвертой попытки перезапуска, произойдет блокировка.
Запальная горелка или расход пускового газа должны быть такими, чтобы при испытании в условиях, указанных в
6.5.1.4.1, перечисление b), система была безопасной при зажигании.
6.5.1.4.3 Приборы, в которых пламя пускового газа устанавливается на основной горелке
a) Требование
Если расход пускового газа не превышает 0,25 кВт, первое безопасное время не ограничено.
Если расход пускового газа превышает 0,25 кВт, но не превышает 0,6 кВт, первое безопасное время не должно превышать 30 с.
Если в течение безопасного времени необходимое пламя не установилось, должно произойти аварийное отключение.
Если требуемое пламя не установилось после четвертой попытки перезапуска, произойдет блокировка.
Запальная горелка или расход пускового газа должны быть такими, чтобы при испытании в условиях, указанных в
6.5.1.4.1, перечисление b), система была безопасной при зажигании.
6.5.1.4.4 Приборы с прямым зажиганием основной горелки
a) Требование
Для приборов с прямым зажиганием основной горелки время безопасности не должно превышать 5 с.
Запальная искра (или другое средство зажигания) не должна подаваться до завершения периода предварительной продувки и должна сохраняться до тех пор, пока не установится пламя или не истечет безопасное время.
Клапан пускового газа не должен быть под напряжением, пока не будет подана искра зажигания (или другое средство зажигания). Если используется воспламенитель с горячей поверхностью, зажигание должно быть таким, чтобы источник воспламенения мог зажечь поступающий газ до открытия газового клапана.
Если необходимое пламя не было установлено и обнаружено в течение безопасного времени, должно произойти аварийное отключение.
Если необходимое пламя не было установлено и обнаружено после четвертой попытки перезапуска, произойдет блокировка.
Если автоматический запорный клапан основного газа, расположенный ниже по потоку, представляет собой двухступенчатый клапан, регулирующий как расход пускового газа, так и расход основного газа, необходимо проверить начальное положение клапана. Если проверка показывает, что клапан ниже по потоку находится не в начальном положении, запуск должен быть предотвращен или должна произойти временная блокировка. Кроме того, любые средства регулировки расхода пускового газа должны быть предварительно установлены и опломбированы производителем.
Запальная горелка или расход пускового газа должны быть такими, чтобы при испытании в условиях, указанных в
6.5.1.4.1, перечисление b), система была безопасной при зажигании.
6.5.2 Приборы с полезным подводимым теплом > 70 кВт
6.5.2.1 Приборы типов B11, B14, B41, B44, C11 и C31
6.5.2.1.1 Автоматические горелки
a) Требование
Источник зажигания не должен включаться до тех пор, пока не будет проведена проверка безопасного пуска системы контроля пламени, и он должен быть обесточен в конце первого безопасного времени или до него. Если используется система зажигания с горячей поверхностью, система зажигания должна быть под напряжением, чтобы источник зажигания мог зажечь поступающий газ до открытия газовых клапанов.
Если пламя пускового газа не было обнаружено к концу первого безопасного времени, должно произойти аварийное отключение и энергонезависимая блокировка.
Если пламя пускового газа образуется на отдельной горелке, детектор пламени должен обнаруживать пламя пускового газа только при такой скорости, которая обеспечивает надежное и плавное зажигание основного газа.
Подача газа к прибору изолирована. Попытка зажечь прибор предпринимается в соответствии с инструкцией по монтажу, измеряется время между сигналами открытия и закрытия клапана. Это время сравнивается с временем безопасности, указанным производителем, первое безопасное время не должно превышать:
a) 30 с - для пусковых газовых горелок с тепловой мощностью не более 0,6 кВт;
b) 15 с - для пусковых газовых горелок с тепловой мощностью более 0,6 кВт и не более 1,5 кВт;
c) 5 с (желательно не менее 2 с) - для приборов, у которых скорость пускового газа превышает 1,5 кВт.
Для приборов с системами автоматического управления, допускающими переработку, автоматическое управление должно перейти в режим энергонезависимой блокировки после количества попыток переработки, указанного в проектной документации.
В случае пропадания пламени пускового газа после установления пламени пускового газа, но до получения сигнала об открытии автоматических запорных клапанов основного газа, должно произойти или аварийное отключение, или однократная немедленная попытка повторного зажигания путем прямой искры. Эта однократная попытка повторного зажигания в течение 1 с разрешена только:
a) для приборов с подводимой теплотой 135 кВт и ниже, где расход пускового газа, установленный на отдельной горелке, не превышает 0,6 кВт или 1% от скорости основной горелки, в зависимости от того, что больше;
b) для приборов с подводимой теплотой более 135 кВт, у которых расход пускового газа, установленный на отдельной горелке, составляет менее 1 кВт плюс 1% от расхода основной горелки.
Если предпринята попытка повторного зажигания и пламя пускового газа не обнаружено в течение первого безопасного времени, должно произойти аварийное отключение и энергонезависимая блокировка.
Для приборов, у которых расход пускового газа превышает вышеуказанные значения, в случае пропадания пламени пускового газа после его установления и до того, как сработают автоматические запорные клапаны основного газа, должно произойти аварийное отключение и энергонезависимая блокировка.
6.5.2.2 Все приборы типов B и C, за исключением типов B
11, B
14, B
41, B
44, C
11 и C
31
a) Требование
Установка пламени пускового газа должна включать:
a) период зажигания пускового газа, продолжительность которого не должна быть более:
- 30 с - для пусковых газовых горелок с тепловой мощностью не более 0,6 кВт;
- 15 с - для пусковых газовых горелок с тепловой мощностью более 0,6 кВт и не более 1,5 кВт;
- 5 с (а желательно не менее 2 с) - для приборов, у которых расход пускового газа превышает 1,5 кВт;
b) в случае приборов с номинальным подводимым теплом более 135 кВт, период проверки пламени пускового газа, продолжительность которого должна быть не менее 5 с.
Источник зажигания не должен включаться до завершения периода предварительной продувки и должен быть обесточен в конце периода зажигания пламени пускового газа или до него.
Клапан пускового газа не должен быть под напряжением до подачи питания на источник зажигания. Однако, если используется система зажигания с горячей поверхностью, система зажигания должна быть под напряжением, чтобы источник зажигания смог зажечь поступающий газ до открытия газового клапана.
Если пламя пускового газа не было обнаружено к концу первого безопасного времени, должно произойти или автоматическое аварийное отключение, или энергонезависимая блокировка, или разрешены четыре попытки автоматической переработки; после четвертой неудачной попытки перезапуска должны произойти аварийное отключение и энергонезависимая блокировка.
Если пламя пускового газа возникает на отдельной запальной горелке, детектор пламени должен выявить пламя запальной горелки только на таких скоростях, которые обеспечат надежное и плавное зажигание основного газа. Это требование подтверждается испытанием, указанным в
6.5.2.2, перечисление b).
Данное испытание проводится с прибором, установленным в соответствии с требованиями
6.1.5, изначально настроенным в соответствии с требованиями
6.1.3.2.1 с соответствующими эталонными газами (см. EN 437) при номинальном подводимом тепле.
Расход газа в запальной горелке снижается до минимума, необходимого для поддержания подачи газа к основной горелке.
Необходимое снижение расхода газа в запальной горелке может быть достигнуто:
a) при помощи регулировки регулятора расхода газа запальной горелки, если такой имеется, или, если это невозможно,
b) при помощи регулятора, вставленного в газопровод запальной горелки.
Затем проверяется правильность разжигания основной горелки запальной горелкой.
Если в запальной горелке имеется несколько отверстий, которые могут быть заблокированы, испытание проводится при всех заблокированных отверстиях запальной горелки, за исключением того, которое создает пламя, которое нагревает детектор пламени.
Энергия, выделяемая во время периода зажигания пускового газа, должна быть ограничена таким образом, чтобы любое повышение давления в результате отсроченного зажигания не приводило к повреждению прибора или воздуховода. Это требование считается соблюденным, если расход пускового газа не превышает 25% от расхода основного газа.
Когда расход пускового газа контролируется положением расхода пускового газа, содержащегося в автоматическом отсечном клапане основного газа, этот клапан должен соответствовать EN 161. Кроме того, любые средства регулировки расхода пускового газа или рабочего положения блокировки, если таковая имеется, должны быть предварительно установлены и опломбированы производителем.
На горелках с подачей тепла 135 кВт и более, где положение клапана пускового газа регулируется блокировкой, блокировка должна быть проверена в правильном состоянии в течение всего периода установления пламени пускового газа.
Если блокировка указывает на то, что расход пускового газа превышен, время, необходимое для обесточивания клапана, не должно превышать 1 с, и горелка должна перейти в режим блокировки.
На горелках с номинальной подачей тепла 135 кВт и более, без блокировки пускового газа необходимо проверить клапан на закрытие перед запуском при помощи переключателя индикатора закрытого положения. Если проверка указывает на то, что клапан не закрыт, запуск должен быть предотвращен.
6.5.3 Приборы типов A2 и A3
6.5.3.1 Общие положения
a) Требование
Первое безопасное время должно составлять не более 5 с и предпочтительно не менее 2 с.
Должен быть установлен период проверки пламени пусковой горелки, продолжительность которого должна быть указана в проектной документации. Запальная искра (или другие средства зажигания) не должна быть под напряжением до завершения периода предварительной продувки и должна быть обесточена в конце первого безопасного времени или до него.
На автоматический запорный клапан пускового газа не должно подаваться питание, пока не будет подано напряжение на искру зажигания (или другие средства зажигания).
В течение периода проверки пламени пускового газа должно быть установлено, что пламя стабильно. Если пламя пропадет в течение этого периода, произойдет аварийное отключение и энергонезависимая блокировка.
Энергия, выделяемая в течение первого безопасного времени, должна быть ограничена таким образом, чтобы любое повышение давления в результате задержки воспламенения не привело к повреждению прибора или связанных с ним воздуховодов. Это требование считается выполненным, если расход пускового газа не превышает:
a) 20% от стехиометрического расхода газа для подтвержденного расхода воздуха через камеру сгорания для газов 1 и 3 семейства;
b) 33% от стехиометрического расхода газа, соответствующего доказанному расходу воздуха через камеру сгорания для газов 2 семейства.
На приборах со скоростью подведения энергии 180 кВт и более, и на котором подача пускового газа берется из автоматических запорных клапанов основного газа, должны быть предусмотрены средства для того, чтобы запорный клапан основного газа был закрыт до запуска.
Примечание - Считается, что система проверки клапана или переключатель закрытия соответствует этому требованию. Если не подтверждено, что клапан закрыт, запуск должен быть прекращен.
На приборах со скоростью подведения энергии менее 180 кВт, у которых пусковой газ берется из автоматических запорных клапанов основного газа:
c) должны быть предусмотрены средства, подтверждающие закрытие запорного клапана основного газа. Если не доказано, что клапан закрыт, запуск должен быть предотвращен;
d) зажигание при полном расходе основного газа в соответствии с
6.5.2.1.1, перечисление b), не должно приводить к возникновению опасной ситуации.
Если скорость пускового газа регулируется положением скорости пускового газа, содержащегося в автоматическом запорном клапане основного газа, этот клапан должен соответствовать EN 161. Кроме того, любые средства регулировки расхода пускового газа или рабочего положения блокировки, если таковая имеется, должны быть предварительно установлены и опломбированы производителем.
В приборах с тепловой мощностью 180 кВт и выше, где положение клапана пускового газа регулируется блокировкой, блокировка должна быть в правильном состоянии в течение первого безопасного времени и периода проверки пламени пускового газа.
Если блокировка указывает на то, что расход пускового газа был превышен, время, необходимое для снятия напряжения с клапана, должно быть не более 1 с, иначе прибор перейдет в режим энергонезависимой блокировки.
Там, где расход пускового газа регулируется положением расхода пускового газа, содержащегося в автоматических запорных клапанах основного газа и без блокировки управления положением пускового газа, необходимо проверить, чтобы зажигание запальной горелки в условиях испытаний, указанных в
6.5.2.1.1, перечисление b) не создавало опасной ситуации.
Испытание проводится при установке прибора в соответствии с требованиями
6.1.5.
Изначально прибор настраивают в соответствии с требованиями
6.1.3.2.1, он поставляется с соответствующими эталонными газами (см. EN 437) при номинальном подводимом тепле.
6.5.3.2 Зажигание запальной горелки с нагнетающим открытым автоматическим запорным клапаном основного газа
a) Требование
Если напорный автоматический запорный клапан основного газа остается открытым искусственно, необходимо проверить, чтобы зажигание запальной горелки не приводило к опасной ситуации при испытании в соответствии с
6.5.3.1, перечисление b).
b) Процедура испытания
Это испытание проводится, когда газовая линия спроектирована таким образом, что подача газа к запальной горелке осуществляется между двумя запорными клапанами основной горелки, а главный нагнетающий газовый кран не имеет средств, подтверждающих, что он закрыт во время зажигания запальной горелки.
Испытание проводят при установке прибора в соответствии с требованиями
6.1.5.
Изначально прибор настраивают в соответствии с требованиями
6.1.3.2.1 и поставляют соответствующий эталонный газ (см. EN 437) при номинальном подводимом тепле.
6.6 Зажигание, перекрестное зажигание и устойчивость пламени
6.6.1 Общие положения
Если не указано иное, испытания проводят в условиях, описанных в
6.1.5, с прибором в холодном состоянии и при тепловом равновесии.
6.6.2 Зажигание и перекрестное зажигание
6.6.2.1 Все приборы (условия безветрия)
6.6.2.1.1 Зажигание горелки
a) Требование
b) Процедура испытания N 1
Прибор поставляется с соответствующими эталонными и предельными газами при нормальном давлении в соответствии с
6.1.4.
В этих условиях проверяется, правильно ли происходит зажигание основной горелки или запальной горелки, а также правильно ли происходит зажигание основной горелки запальной горелкой, а также перекрестное зажигание различных частей горелки.
Это испытание повторяется с минимальным подводимым теплом, заданным при помощи управления, если зажигание возможно в этих условиях при нормальной работе в соответствии с руководством по эксплуатации.
c) Процедура испытания N 2
Без изменения начальных настроек горелки и запальной горелки, в устройство подается эталонный газ с давлением на входе в устройство, сниженным до 70% от нормального или минимального давления, указанного в
6.1.4, в зависимости от того, какое из значений меньше.
В этих условиях проверяется, правильно ли происходит зажигание основной горелки или запальной горелки, а также правильно ли происходит зажигание основной горелки запальной горелкой, а также перекрестное зажигание различных частей горелки.
Это испытание повторяется с минимальным подводимым теплом, заданным при помощи управления, если зажигание возможно в этих условиях при нормальной работе в соответствии с руководством по эксплуатации.
d) Процедура испытания N 3
Без изменения первоначальной настройки основной горелки или запальной горелки, соответствующие предельные газы подъема пламени и выброса пламени последовательно заменяются на эталонный газ, и давление на входе в устройство снижается до минимального давления, указанного в
6.1.4.
В этих условиях проверяется, правильно ли происходит зажигание основной горелки или запальной горелки, а также правильно ли происходит зажигание основной горелки запальной горелкой, а также перекрестное зажигание различных частей горелки.
Это испытание повторяется с минимальным подводимым теплом, заданным при помощи управления, если зажигание возможно в этих условиях при нормальной работе в соответствии с руководством по эксплуатации.
6.6.2.1.2 Снижение пламени запальной горелки
a) Требование
Правильное зажигание основной горелки должно быть без излишнего шума, когда расход газа любой запальной горелки снижен до минимума, необходимого для поддержания открытой подачи газа к основной горелке в условиях испытаний, указанных в
6.6.2.1.2, перечисление b).
Данное испытание проводят при установке прибора в соответствии с
6.1.5. Изначально прибор настраивают в соответствии с требованиями
6.1.3.2.1 и поставляют с соответствующими эталонными газами с номинальным подводом тепла.
Затем расход газа в запальной горелке снижается до минимума, необходимого для поддержания подачи газа к основной горелке. Необходимое снижение расхода газа в запальной горелке может быть достигнуто или при помощи:
a) регулировки регулятора расхода газа запальной горелки, если таковой имеется, или, если это невозможно,
b) при помощи регулятора, вставленного для этого в газопровод запальной горелки.
Затем проверяется правильность зажигания основной горелки запальной горелкой.
Если у запальной горелки имеется несколько отверстий, которые могут быть заблокированы, испытание проводится при всех заблокированных отверстиях запальной горелки, за исключением того, которое создает пламя, нагревающее детектор пламени.
6.6.3 Приборы с полезным подводом тепла <= 70 кВт
6.6.3.1 Приборы с автоматическими горелками
6.6.3.1.1 Общие положения
a) Требование
Система должна быть безопасной при зажигании, и прибор не должен иметь повреждений, которые могут повлиять на его безопасную работу в условиях испытаний, указанных в
6.6.3.1.1, перечисление b).
Устройство устанавливают, как описано в
6.1.5.
Изначально прибор настраивают в соответствии с требованиями
6.1.3.2.1 и поставляют с соответствующим эталонным газом (см. EN 437) с номинальным подводимым теплом.
Проверяется зажигание запальной горелки или основной горелки, если она зажигается напрямую. Испытание повторяется с постепенным задерживанием зажигания до истечения безопасного срока, заявленного в проектной документации.
Чтобы отсрочить зажигание, необходимо обеспечить независимое управление запорными клапанами основного или пускового газа и работой устройства зажигания. Подходящим устройством является подача напряжения на соответствующий газовый клапан и устройство зажигания, независимо от системы автоматического управления горелкой.
В целях безопасности задержку зажигания следует увеличивать поэтапно.
6.6.3.1.2 Приборы с естественной тягой
a) Требование
Второе безопасное время не должно превышать 3 с.
Для приборов с прямым зажиганием основной горелки допускается однократная попытка зажигания с безопасным временем, не превышающим 5 с. Это проверяется в соответствии с процедурой испытаний, указанной в
6.6.3.1.2, перечисление b).
Первое безопасное время: перекрывают подачу газа к прибору. Зажигают прибор в соответствии с руководством по эксплуатации и измеряют время между сигналами открытия и закрытия клапана. Сравнивают это время с безопасным временем, указанным в проектной документации.
Второе безопасное время: перекрывают подачу газа только к основной горелке. Зажигают прибор в соответствии с руководством по эксплуатации и измеряют время между сигналами открытия и закрытия клапана. Сравнивают это время с указанным безопасным временем в проектной документации.
Отсутствие пламени до конца безопасного времени должно привести к аварийному отключению и энергонезависимой блокировке.
6.6.3.2 Приборы с вентиляторными горелками
a) Требование
Второе безопасное время не должно превышать 5 с.
Отсутствие пламени в любой момент после подачи сигнала об открытии автоматических запорных клапанов основного газа должно привести к аварийному отключению.
| | ИС МЕГАНОРМ: примечание. В официальном тексте документа, видимо, допущена опечатка: перечисление b) в пункте 6.6.3.2 отсутствует. | |
Это проверяется в соответствии с процедурой испытаний, указанной в
6.6.3.2, перечисление b).
6.6.4 Приборы с полезным подводом тепла > 70 кВт
6.6.4.1 Все приборы типов B и C
6.6.4.1.1 Прямая установка основного пламени
a) Требование
Подача газа к прибору изолирована. Попытка зажечь прибор в соответствии с руководством по эксплуатации предпринимается, измеряется время между сигналами открытия и закрытия клапана. Это время сравнивается со временем безопасности, указанным в проектной документации.
6.6.4.1.2 Приборы, в которых пусковой газ берется из двух запорных клапанов основной горелки
a) Требование
Там, где газопровод выполнен таким образом, что подача пускового газа происходит из двух запорных клапанов основного газа, а также не предусмотрено средств для проверки закрытия нагнетающего главного запорного клапана до зажигания, то зажигание пускового газа не должно создавать опасную ситуацию в условиях испытаний, указанных в
6.6.4.1.2, перечисление b).
Изначально прибор настраивают в соответствии с требованиями
пункта 6.1.3.2.1 и поставляют с соответствующим эталонным газом с номинальным подводимым теплом.
Если нагнетающий автоматический газовый клапан основного газопровода искусственно удерживается открытым, прибор зажигается.
6.6.5 Приборы типов A2 и A3
6.6.5.1 Установка при помощи пламени пускового газа
a) Требование
Если пламя пускового газа было зажжено и подтверждено на отдельном пламени запальной горелки, второе безопасное время должно составлять не более 5 с и не менее 2 с, по окончании которого пламя запальной горелки должно быть погашено и должно возникнуть только основное пламя. Если основное пламя не обнаруживается после этого периода, должно произойти аварийное отключение и энергонезависимая блокировка. Это подтверждается испытанием, указанным в
6.6.5.1, перечисление b).
Изначально прибор настраивают в соответствии с требованиями
6.1.3.2.1 и поставляют с соответствующим эталонным газом с номинальным подводимым теплом. Когда прибор находится в рабочем состоянии, подача газа к основной горелке изолирована. Измеряется время между затуханием основной горелки и закрытием предохранительного клапана.
6.6.5.2 Установление при помощи прямого зажигания
a) Требование
Когда основная горелка зажигается прямым зажиганием, должны применяться следующие условия:
i) источник зажигания не должен быть под напряжением до завершения периода предварительной продувки;
ii) газовые клапаны не должны быть под напряжением, пока не будет включен источник зажигания. Если используется система зажигания с горячей поверхностью, система зажигания должна быть под напряжением, чтобы источник зажигания мог зажигать газ до открытия газовых клапанов;
iii) первое безопасное время должно быть не более 5 с и не менее 2 с, по истечении которого источник зажигания должен быть обесточен;
iv) если пламя не обнаружено до окончания первого безопасного времени, произойдет энергонезависимая блокировка.
Изначально прибор настраивают в соответствии с требованиями
6.1.3.2.1 и поставляют с соответствующим эталонным газом с номинальным подводимым теплом. Когда прибор находится в рабочем состоянии, подача газа к основной горелке изолирована. Измеряется время между затуханием основной горелки и закрытием предохранительного клапана.
6.6.6 Специальные условия
6.6.6.1 Все приборы типов B11, B12, B13, B41, B42 и B43
a) Требование
Запальная горелка или основная горелка, если зажигание происходит при расходе пускового газа на основной горелке, должны зажигаться и оставаться стабильными без выброса или подъема пламени, а любое устройство контроля пламени должно продолжать нормально работать. Если зажигание происходит на запальной горелке, вышеупомянутые требования должны быть оценены с зажиганием основной горелки и без нее.
В прибор подается соответствующий эталонный газ при нормальном давлении. Он подсоединяется к вторичному дымоходу или POCED того же номинального диаметра, что и соединение дымохода, и является прямым с длиной не менее 10 диаметров непосредственно над переключателем тяги. Нижняя тяга до 3 м/с подается через вторичный дымоход с использованием подходящего устройства для нижней тяги (см.
рисунок 6).
A и B - перепускные вентили для получения или нисходящего,
или восходящего потока; C - вентилятор; D - гибкий
воздуховод; E - измерение скорости при помощи трубки Пито
Рисунок 6 - Испытание прибора в условиях аномальной тяги
Второе испытание проводится с заблокированным дымоходом или POCED.
6.6.6.2 Все приборы типов B14 и B44
a) Требования
В условиях испытаний, указанных в
6.6.6.2, перечисление b), зажигание запальной горелки с ручным зажиганием должно быть правильным, пламя должно оставаться стабильным без выброса или подъема, любое устройство контроля пламени должно продолжать нормально функционировать, даже когда дымоход полностью заблокирован.
Прибор испытывают в тех же условиях, что указаны в
6.2.2.2. Однако для приборов, имеющих запальную горелку с ручным зажиганием, ограничение выхода дымохода осуществляется поэтапно и продолжается до тех пор, пока дымоход не будет полностью заблокирован. Зажигание любой запальной горелки, а также зажигание и полное перекрестное зажигание основной горелки должны продолжаться до тех пор, пока дымоход не будет заблокирован настолько, чтобы сработало устройство контроля воздуха, отключив подачу газа.
6.6.6.3 Приборы типов C
11, C
12 и C
13
a) Требование
В условиях испытаний, указанных в
6.6.6.3, перечисление b), зажигание любой запальной горелки, зажигание основной горелки и полное перекрестное зажигание основной горелки должны быть правильными. Основная горелка и любое пламя пускового газа должны оставаться стабильными, а любое устройство контроля пламени должно продолжать функционировать нормально.
b) Испытательная установка
Прибор устанавливается на аппарате, указанном на
рисунке 7, с использованием дымохода длиной 350 мм, если в инструкциях по монтажу не указано, что можно использовать дымоход меньшей длины. В этом случае используется минимальная длина дымохода, указанная в инструкции по монтажу, если применимо, используется воздуховод для воздуха для горения, указанный в инструкции по монтажу, или каналы эквивалентного сопротивления.
A - ветряной генератор; H - горизонтальная плоскость;
V - вертикальная плоскость;

(горизонтальный воздушный
поток), +30° и -30°;

(вертикальный воздушный поток),
15°, 30°, 45°, 60°, 75°, 90° (перпендикулярно стене)
Примечание - Если вывод не симметричен, испытания продолжают при следующих углах падения: 105°, 120°, 135°, 150°, 165°, 180°.
Рисунок 7 - Испытательная установка для прибора типа C
1
Угол

может изменяться или путем изменения положения ветрогенератора (неподвижная стена), или путем поворота испытываемой стены вокруг центральной вертикальной оси.
Испытуемая стена состоит из прочной вертикальной стены площадью не менее 1,8 м со съемной панелью в центре. Вывод прибора устанавливается так, чтобы его геометрический центр находился в центре 0 испытываемой стены, а его выступ от стены рекомендован в инструкциях по монтажу.
Характеристики ветрогенератора и расстояние от испытуемой стены, на котором он размещается, выбираются таким образом, чтобы на уровне стены соблюдались следующие критерии после удаления центральной панели:
- фронт воздушного потока имеет квадратное, примерно 90 см, или круглое сечение диаметром 60 см;
- скорость воздушного потока 2,5 м/с, 5 м/с и 10 м/с может быть получена с точностью до 10% по всему фронту воздушного потока;
- воздушный поток практически параллелен и не имеет остаточного вращательного движения.
Когда центральная съемная панель недостаточно велика для проверки этих критериев, они проверяются без стены на расстоянии, соответствующем расстоянию, существующему на практике между стеной и выпускным патрубком ветрогенератора.
Прибор поставляется с соответствующим эталонным газом и настроен на получение номинального подводимого тепла.
Выполняются три серии испытаний:
Процедура испытания N 1
Вывод устройства подвергается воздействию воздушного потока с разной скоростью в следующих трех плоскостях (см. также
рисунок 7):
- горизонтальная;
- восходящая под углом 30° к горизонтали;
- погружающая под углом 30° к горизонтали.
В каждой из этих трех плоскостей угол падения воздушного потока изменяется с шагом 15° от 0° до 90° включительно. Если вывод не симметричен относительно вертикальной оси, испытания проводятся с шагом 15° от 0° до 180° включительно.
Испытания проводятся при трех скоростях воздушного потока 1; 2,5; 12,5 м/с. В каждом из этих 63 условий (117, если не симметричный) проводится визуальная проверка:
- зажигания и стабильности любой запальной горелки без горения основной горелки;
- зажигания основной горелки любой запальной горелкой;
- зажигания и стабильности основной горелки при любом расходе пускового газа;
- перекрестного зажигания основной горелки;
- стабильности любой запальной горелки (и основной горелки при одновременной работе).
Эти испытания проводятся с прибором в состоянии теплового равновесия.
Концентрации CO и CO2 отмечаются в продуктах сгорания для каждой комбинации скорости воздушного потока и угла падения.
Процедура испытания N 2
Три комбинации скорости воздушного потока и угла падения, обеспечивающие самые низкие концентрации CO2 в продуктах сгорания, выбираются для каждой из трех плоскостей падения. Для этих девяти комбинаций проверяется, можно ли зажечь запальную горелку, если таковая имеется, а затем основную горелку при помощи запальной горелки или устройства для прямого зажигания.
Процедура испытания N 3
Первая и вторая процедуры повторяются с минимальным подводимым теплом, заданном средствами управления, если такая операция предусмотрена производителем.
6.6.6.4 Приборы типов C21 и C41 (1 и 2 семейство газов)
a) Требования
В условиях испытаний, указанных в
6.6.6.4, перечисление b), зажигание любой запальной горелки, зажигание основной горелки и полное перекрестное зажигание основной горелки должны быть правильными. Основная горелка и любое пламя пускового газа должны оставаться стабильными, а любое устройство контроля пламени должно продолжать нормально функционировать.
Прибор устанавливается на аппарат, показанный на
рисунках 8,
9 и
10.
A - заслонка; B - заслонка; C - заслонка; D - заслонка;
E - заслонка; F - затвор управления воздухом;
G - нагреватель воды; H - термопара и пробоотборник
для соединения анализаторов CO и CO2; J - соединение
с анализаторами CO и CO2 для испытаний с нарушением
восходящего потока; K - испытуемый прибор; L - термодатчик;
M - датчик давления; N - два анемографа (взаимозаменяемые);
O - двусторонний разветвленный поточный вентилятор;
X - исходное положение; Y - исходное положение
Рисунок 8 - Испытательная установка для приборов
типов C21 и C41
A - прибор; B - канал для продуктов сгорания;
C - как указано в инструкциях по монтажу; D - внутренний
диаметр D выхода дымохода
Рисунок 9 - Установка прибора типа C
21 или C
41
на испытуемом трубопроводе
A - прибор; D - внутренний диаметр выхода дымохода
Рисунок 10 - Положение образца для приборов типа C
21 и C
41
Он состоит из полностью замкнутого контура прямоугольного воздуховода размером (230 x 400) мм, по которому циркулирует воздух при помощи реверсивного раздвоенного поточного вентилятора. Условия скорости и давления регулируются серией одностворчатых заслонок.
Водонагреватель поставляется для обеспечения дополнительного источника повреждения, его входное отверстие открыто для воздуха и имеет регулирующую заслонку F. Испытательный прибор устанавливается в соответствии с инструкциями по монтажу на длинной стороне канала, при этом прибор должен располагаться на расстоянии не менее 2 м над верхней частью горизонтального основания и не менее 1 м вертикального воздуховода над устройством. Панели доступа предусмотрены сзади монтажных панелей для облегчения установки измерительных трубок и термопары.
Поток в канале может быть измерен при помощи лопастного анемометра фотоэлектрического типа, который помещают на 1 м выше верхней части горизонтального основания. Калибровочный коэффициент используется для преобразования показания анемометра в средний расход, определенный по статическим трубкам Пито.
Примечания
1 Для покрытия диапазона расхода от 0,3 до 5 м/с могут потребоваться два сменных анемометра. Устройство предназначено для работы в режиме закрытого или открытого контура, или в любом промежуточном состоянии между этими крайними значениями.
2 На практике для указанных испытаний требуется или закрытый контур, или промежуточное состояние.
Работа аппарата для получения условий закрытого и открытого контура следующая:
a) Закрытый контур.
Заслонки A, B, E и F закрыты (см.
рисунок 8). Заслонки C и D используются для регулирования как расхода, так и давления в воздуховоде. Для восходящего потока в испытательной секции положительное давление может создаваться при полностью открытой C и потоке, контролируемом D. Отрицательное давление может создаваться при полностью открытой D и потоке, контролируемом C.
Примечание - На практике необходимо регулировать обе заслонки по очереди, чтобы установить требуемые условия испытаний.
Когда в условиях испытания при восходящем потоке требуется увеличить степень повреждения, открывают воздушную заслонку в точке F и зажигают водонагреватель.
Если температура в воздуховоде в точке Y превышает 65 °C, ее необходимо снизить, пропустив воду через теплообменник с оребренной поверхностью, введенный в контур в точке X.
Примечание - На практике, если канал изготовлен из металла, этот теплообменник, скорее всего, не потребуется.
b) Открытый контур.
Заслонки C, E и F закрыты. Заслонка A полностью открыта, а заслонки B и D используются для регулирования как потока, так и давления в воздуховоде. Для восходящего потока в испытательной секции должно быть отрицательное давление, но величина для данного потока определяется регулировкой B и D.
Когда заслонки E и F закрыты, вентилятор запускается, а скорость и повреждение системы регулируются при помощи заслонок A, B, C и D для достижения условий, указанных в
таблице 9 +/- 10% с использованием соответствующего эталонного газа при нормальном давлении.
Таблица 9
Семейство | Объем вентиляции, % CO2 | Скорость воздуха в канале, м/с |
1 | 1 | 4,5 |
2 | 2,0 |
2 | 0,75 | 4,5 |
1,6 | 2,0 |
Соотношение свежего и рециркуляционного воздуха регулируется комбинациями регулировок заслонок A, B и C; заслонка D обеспечивает преимущественное регулирование расхода.
Во время испытаний зажигание любой запальной горелки, зажигание основной горелки и полное перекрестное зажигание основной горелки должны быть правильными, а основная горелка и любое пусковое газовое пламя должны оставаться стабильными.
a) Требования
В условиях испытаний в соответствии с
6.6.6.5, перечисление b) зажигание любой запальной горелки, зажигание основной горелки и полное перекрестное зажигание основной горелки должны быть правильными. Основная горелка и пламя пускового газа должны оставаться стабильными.
Прибор устанавливается на устройство, как показано на
рисунках 11 и
12, с наименьшей длиной воздуховодов для воздуха для горения и продуктов горения, указанной в инструкции по монтажу. Прибор поставляется с соответствующим эталонным газом и настроен на получение номинального подводимого тепла.
1 - воздухозаборник двигателя и выход дымохода;
2 - ветрогенератор (должен быть таким, чтобы он мог
воспроизводить заданные скорости воздушного потока
с точностью до +/- 10% по фронту воздушного потока);
3 - диффузор; 4 - фронт воздушного потока (должен быть
достаточным для обеспечения того, чтобы вход и выход
терминала были закрыты); 5 - испытуемая поверхность
Рисунок 11 - Испытательное устройство для прибора типа C
3.
Наклонная крыша
1 - воздухозаборник двигателя и выход дымохода;
2 - ветрогенератор (должен быть таким, чтобы он мог
воспроизводить заданные скорости воздушного потока
с точностью до +/- 10% по фронту воздушного потока);
3 - диффузор; 4 - фронт воздушного потока (должен быть
достаточным для обеспечения того, чтобы вход и выход
терминала были закрыты); 5 - испытуемая поверхность
Рисунок 12 - Испытательное устройство для прибора типа C
3.
Плоская крыша
Выполняются три серии испытаний:
Процедура испытания N 1
Вывод устройства подвергается воздействию воздушного потока с разной скоростью в следующих трех плоскостях:
- горизонтальная;
- восходящая под углом 20° к горизонтали;
- погружающая под углом 45° к горизонтали.
В каждой из этих трех плоскостей угол падения воздушного потока меняется от 0° до 90° включительно, при этом промежуточные испытания проводят под углом 35° и 70°. Кроме того, если выход подходит для использования на наклонной крыше, испытания повторяют с испытательной поверхностью под углом 25° и 55° (см.
рисунок 11).
Испытания проводятся при трех скоростях воздушного потока 1; 2,5; 12,5 м/с. В каждом из этих условий проводится визуальная проверка:
a) зажигания и стабильности любой запальной горелки без горения основной горелки;
b) зажигания основной горелки любой запальной горелкой;
c) зажигания и стабильности основной горелки при любом расходе пускового газа;
d) перекрестного зажигания основной горелки;
e) стабильности любой запальной горелки (и основной горелки при одновременной работе.
Эти испытания проводятся с прибором в состоянии теплового равновесия.
Концентрации CO и CO2 отмечаются в продуктах сгорания для каждой комбинации скорости воздушного потока и угла падения.
Процедура испытания N 2
Для каждой из комбинаций, отмеченных в серии N 1, проверяется, можно ли при холодном приборе зажечь запальную горелку, если таковая имеется, а затем основную горелку при помощи запальной горелки или устройства для прямого розжига.
Процедура испытания N 3
Первая и вторая серии повторяются с минимальным подводимым теплом, заданным средствами управления, если такая операция предусмотрена производителем.
6.6.6.6 Приборы типов C32 и C33
a) Требование
В условиях испытаний, указанных в
6.6.6.6, перечисление b), зажигание любой запальной горелки, зажигание основной горелки и полное перекрестное зажигание основной горелки должны быть правильными. Основная горелка и любое пламя пускового газа должны оставаться стабильными, а любое устройство контроля пламени должно продолжать нормально функционировать.
Прибор устанавливается на устройство, как показано на
рисунках 11 и
12. Полная серия испытаний должна проводиться с минимально возможными длинами или эквивалентным сопротивлением канала для продуктов сгорания и воздуховода для воздуха для горения, как указано производителем. В дополнение к приборам, предназначенным для использования в однокорпусных жилых домах с полезным подводом тепла < 70 кВт, должна быть проведена полная серия испытаний с максимальными длинами канала для продуктов сгорания и воздуховода воздуха для горения, как указано производителем.
Прибор поставляется с соответствующим эталонным газом и настроен для получения номинального подводимого тепла. Затем должны быть проведены три серии испытаний, описанных в
6.6.6.3, для приборов типа C
11, C
12 и C
13, за исключением следующих изменений плоскости и углов воздушного потока в трех плоскостях:
- горизонтальная;
- восходящая под углом 20° к горизонтали;
- погружающая под углом 45° к горизонтали.
В каждой из этих трех плоскостей угол падения воздушного потока меняется от 0° до 90° включительно, при этом промежуточные испытания проводят под углом 35° и 70°.
Кроме того, если окончание (дымохода) подходит для использования на наклонной крыше, испытания повторяют с испытательной поверхностью под углом 25° и 55° (см.
рисунок 11).
Испытания проводятся при скорости воздушного потока: 0 м/с, 2,5 м/с и 12,5 м/с.
6.6.6.7 Приборы типов C62 и C63
a) Требование
Для приборов с полезным подводом тепла <= 70 кВт зажигание любой запальной горелки, зажигание основной горелки и полное перекрестное зажигание основной горелки должны быть правильными в условиях испытаний, указанных в
6.6.6.7, перечисление b). Основная горелка и любое пламя пускового газа должны оставаться стабильными, а любое устройство контроля пламени должно продолжать нормально функционировать.
Прибор установлен с испытательным воздуховодом, описанным в
6.1.5.
Три серии испытаний проводятся, как описано в
6.6.6.3 для приборов типов C
11, C
12 и C
13, со следующими изменениями:
a) дроссель в испытательном воздуховоде устанавливается в положение, имитирующее наименьшее возможное сопротивление в системе воздуховодов, как указано в инструкциях по монтажу;
b) дроссель в испытательном воздуховоде устанавливается в положение максимально допустимого падения давления в системе воздуховодов;
c) дроссель в испытательном воздуховоде установлен в положение минимального сопротивления в системе воздуховодов, внешний вентилятор используется для создания отрицательного давления (всасывания), которое снижает фактическое давление на 0,5 мбар на выходе из прибора.
6.6.7 Устойчивость пламени
6.6.7.1 Все приборы (условия безветрия)
a) Требование
В условиях испытаний, указанных в
6.6.7.1, перечисление b), пламя должно быть устойчивым. Небольшая тенденция к подъему в момент зажигания допустима, но пламя должно оставаться стабильным при нормальной работе.
b) Испытательная установка
Следующие испытания применимы ко всем приборам. Однако для приборов типа C
6 испытания должны проводиться с дросселем в системе испытательных каналов (см.
рисунок 4), настроенным таким образом, чтобы имитировать минимально возможное падение давления/сопротивление в системе воздуховодов, указанное в инструкциях по монтажу. Дроссель установлен для имитации максимально допустимого падения давления/сопротивления в системе воздуховодов.
Испытание N 1
Не меняя первоначальную основную горелку или регулировку запальной горелки, соответствующий обратный газ заменяется на эталонный газ, и давление на входе в прибор снижается до минимального давления, указанного в
6.1.4.
В этих условиях проверяется устойчивость пламени.
Затем это испытание повторяется при минимальном вводе, заданном при помощи управления, при котором прибор может нормально функционировать в соответствии с инструкциями производителя.
Испытание N 2
Не меняя первоначальную основную горелку или регулировку запальной горелки, соответствующие предельные газы подъема и выброса пламени последовательно заменяются на эталонный газ, а давление на входе в устройство повышается до максимального значения, указанного в
6.1.4.
В этих условиях проверяется устойчивость пламени.
Затем это испытание повторяется при минимальном вводе, заданном при помощи управления, при котором прибор может нормально функционировать в соответствии с инструкциями производителя.
6.6.7.2 Специальные условия
6.6.7.2.1 Приборы типов B
11, B
12, B
13, B
41, B
42 и B
43
a) Требование
В условиях, указанных в
6.6.7.2.1, перечисление b), основная горелка и пламя любой запальной горелки должны оставаться стабильными, а любое устройство контроля пламени должно продолжать нормально функционировать.
В прибор подается эталонный газ при нормальном давлении, и на уровне горелки он подвергается воздействию воздушного потока со скоростью 2 м/с. Воздушный поток имеет минимальный диаметр 0,5 м, но охватывает ширину прибора и, по существу, является параллельным (скорость равномерная с точностью до +/- 20%).
Ось воздушного потока находится в горизонтальной плоскости и перемещается на один или несколько (по усмотрению испытательной лаборатории) углов падения в пределах полного круга в 360° вокруг прибора, центр круга проходит через две вертикальные плоскости симметрии устройства для приборов, предназначенных для использования в других жилых домах, кроме однокомнатных.
Испытание проводится при одновременном горении основной горелки и любой запальной горелки и, при необходимости, только при горящей запальной горелке. Все лючки для розжига горелки остаются закрытыми во время испытания.
Испытание повторяется при минимальном вводе, заданном при помощи управления, если такая операция предусмотрена производителем.
Во время испытания следует принять меры предосторожности для защиты от воздействия воздушного потока со скоростью 2 м/с на переключатель тяги.
6.6.7.2.2 Приборы типов C11, C12 и C13
В условиях в соответствии с
6.6.6.3, перечисление b), зажигание любой запальной горелки, зажигание основной горелки и полное поперечное зажигание основной горелки должны быть правильными.
6.6.7.2.3 Приборы типов C21 и C41 (1 и 2 семейство газов)
В условиях в соответствии с
6.6.6.4, перечисление b), зажигание любой запальной горелки, зажигание основной горелки и полное поперечное зажигание основной горелки должны быть правильными.
6.6.7.2.4 Приборы типа C31
В условиях в соответствии с
6.6.6.5, перечисление b), зажигание любой запальной горелки, зажигание основной горелки и полное поперечное зажигание основной горелки должны быть правильными.
6.6.7.2.5 Приборы типов C32 и C33
В условиях в соответствии с
6.6.6.6, перечисление b), пламя основной горелки и любой запальной горелки должно быть стабильным.
6.6.7.2.6 Приборы типов C62 и C63
Для приборов с полезным подводом тепла <= 70 кВт в условиях в соответствии с
6.6.6.7, перечисление b), пламя основной горелки и любое пламя запальной горелки должно быть стабильным.
6.6.7.3 Особые условия для приборов, предназначенных для наружной установки
a) Требования
Во время условий испытаний, указанных в
6.6.7.3, перечисление b), пламя основной горелки и запальной горелки должно быть стабильным, а любое устройство контроля пламени должно продолжать нормально функционировать.
Для приборов, которые могут быть установлены не с вертикальным дымоходом, не должно происходить подъема или выброса пламени на основной горелке и любой запальной горелке при испытании, как указано в
6.6.7.3, перечисление b)
Испытание N 1
Прибор испытывают, как описано в
6.6.7.2.1, перечисление b), только при нормальном давлении, с направленным на прибор воздушным потоком 10 м/с.
Экран, достаточно большой для того, чтобы закрыть выходное отверстие вентилятора, размещается за вентилятором между вентилятором и прибором.
Сразу после зажигания прибора экран снимают на 3 с, чтобы возник порыв пламени. Это испытание повторяется с шагом 30° вокруг прибора в горизонтальной плоскости.
Испытание N 2
Прибор устанавливается в соответствии с условиями
6.1.5 с использованием соответствующего эталонного газа.
Используя процедуру испытания, описанную в
6.6.7.2.1, прибор подвергается воздействию горизонтального воздушного потока со скоростью 10 м/с по центру выхода. Прибор медленно вращают вокруг вертикальной оси относительно вентилятора и наблюдают за пламенем. В тех местах, где обнаруживается максимальное препятствие пламени, вращение устройства прекращается.
Прибор выключается и остывает до комнатной температуры.
Между вентилятором и выходом находится экран, достаточно большой для того, чтобы закрывать выходное отверстие вентилятора.
Сразу же после зажигания прибора экран снимают на 3 с, чтобы возник порыв пламени. За пламенем наблюдают еще раз.
Испытания с возрастающим и стремительным воздушным потоком проводят так же, как и с горизонтальным воздушным потоком, за исключением того, что воздушный поток непрерывный и направлен под углом 45° к горизонтальной плоскости вверх и вниз.
Все вышеупомянутые испытания повторяются с выходом, подвергающимся воздействию горизонтального, возрастающего и стремительного воздушного потока со скоростью 5 м/с и 2,5 м/с.
6.7 Горение - оксид углерода, углекислый газ
6.7.1 Испытательная установка
6.7.1.1 Общие положения
Оборудование установлено в соответствии с надлежащими
пунктами 6.1.5 со следующими дополнениями:
6.7.1.2 Приборы типов B22 и B23
Приборы, предназначенные для установки в дымоходе, с выходом на стене, должны быть подсоединены к дымоходу с минимальным и максимальным допустимым перепадом давления, как указано в инструкциях по монтажу.
Приборы, предназначенные для установки в вертикальном дымоходе с выходом над уровнем крыши, должны быть подсоединены к дымоходу высотой 1 м или менее, как указано в инструкциях по монтажу, и к дымоходу с максимально допустимым перепадом давления, указанным в инструкциях по монтажу.
6.7.1.3 Приборы типов B44, B52 и B53
Приборы поочередно подсоединяются к POCED, поставляемым или указанным производителем прибора, с минимальным и максимальным эквивалентным падением давления, указанным в инструкциях по монтажу.
6.7.1.4 Приборы типа C11
Приборы устанавливаются с дымоходом максимальной длины, указанной в инструкциях по монтажу.
Испытания проводятся дважды: один раз с самой короткой и один раз с самой длинной длиной воздуховода для продуктов сгорания и воздуха для горения, как указано производителем.
6.7.1.6 Приборы типов A2 и A3
Если в приборе нет устройства для рециркуляции воздуха, испытания на горение должны проводиться в условиях, указанных в
6.7.2 и
6.7.3, с расходом воздуха, настроенным таким образом, чтобы обеспечить расход воздуха, указанный в инструкциях по монтажу, соответствующий номинальному подводимому теплу.
Если в приборе имеется возможность рециркуляции воздуха, испытания на горение должны проводиться в условиях, указанных в
6.7.2 и
6.7.3, и:
a) температура рециркуляционного воздуха должна поддерживаться во время испытаний в пределах, указанных в
6.1.5.2;
b) если производитель указывает фиксированный уровень рециркуляции воздуха, испытания на горение должны проводиться с заслонкой рециркуляционного воздуха, установленной на указанную скорость рециркуляции воздуха;
c) если скорость циркуляции воздуха задана как переменная до максимального уровня, испытания сгорания должны проводиться с заслонкой рециркуляции воздуха, настроенной на максимальную и минимальную скорости рециркуляции воздуха;
d) если уровень рециркуляционного воздуха не указан, испытания на горение должны проводиться с любой заслонкой рециркуляционного воздуха, установленной в полностью открытом и в полностью закрытом положении;
e) если воздухозаборник рециркуляционного воздуха находится перед горелкой, рециркуляционный воздух будет загрязнен продуктами сгорания таким образом, что концентрация CO2 будет составлять 2800·10-6.
Чтобы поддерживать температуру загрязненного рециркуляционного воздуха в указанных пределах, может потребоваться разбавить рециркуляционный воздух загрязненным воздухом, с более низким содержанием тепла, чем у нагнетаемого воздуха (например, при помощи газового котла). В этом случае потребуется дополнительная вентиляция помещения.
Если отрегулировать уровень загрязнения рециркуляционного воздуха сложно, испытания должны проводиться при достаточной концентрации CO2 в рециркуляционном воздухе для определения характеристик сгорания при указанной концентрации CO2 2800·10-6. Экстраполяция не производится.
6.7.2 Процедура испытания
Изначально прибор настраивают на номинальное подводимое тепло в соответствии с
6.1.3.2.
Продукты сгорания должны быть собраны так, чтобы обеспечить типичные пробы, с использованием подходящего пробоотборника, как указано в
приложении K.
Концентрации оксида углерода (CO), диоксида углерода (CO2) и кислорода (O2) измеряются методом с точностью до 6% от показаний (для приборов типов A2 и A3 CO измеряется с точностью до +/- 10%).
Во всех испытаниях образец должен быть взят, когда прибор достиг теплового равновесия во время работы в заданных условиях.
Концентрация оксида углерода в сухих, безвоздушных продуктах сгорания (нейтральное сгорание) определяется по
формуле (8)

(8)
где VCO,N - концентрация окиси углерода в сухих безвоздушных продуктах сгорания, %;

- расчетное содержание углекислого газа в сухих безвоздушных продуктах сгорания, %;
VCO,M и
- концентрации оксида углерода и оксида углерода, измеренные в образце во время испытания на горение, %.
Значения

(нейтральное сгорание) приведены для испытательных газов в
таблице 10.
Таблица 10
Значения

Обозначение газа | G110 | G20 | G21 | G25 | G26 | G30 | G31 |
| 7,6 | 11,7 | 12,2 | 11,5 | 11,8 | 14,0 | 13,7 |
Концентрация окиси углерода в сухих, безвоздушных продуктах сгорания (
VCO,N) также может быть рассчитана по
формуле (9)

(9)
где VCO,N - концентрация окиси углерода от сухих, безвоздушных продуктов сгорания, %;

- концентрация кислорода, измеренная в образце, %;
VCO,M - концентрация окиси углерода, измеренная в образце, %.
Рекомендуется использовать эту формулу там, где она помогает получить большую точность, чем формула, основанная на концентрации CO2.
6.7.3 Особые требования и испытания для всех приборов (условия безветрия)
6.7.3.1 Общие положения
Испытания, описанные в
6.7.3, проводят в условиях безветрия.
6.7.3.1.1 Испытание 1
a) Требование
Концентрация CO сухих безвоздушных продуктов сгорания не должна превышать 0,10% при испытании при высоком входном давлении, как указано в
6.7.3.1.1, перечисление b) (для приборов A
2 и A
3 см.
6.7.3.2.13).
Не меняя первоначальные настройки горелки, прибор поставляется с соответствующими эталонными газами в соответствии с его категорией, а давление на входе прибора повышается до максимального давления, указанного в
6.1.4.
6.7.3.1.2 Испытание 2
a) Требование
Концентрация CO сухих безвоздушных продуктов сгорания не должна превышать 0,20% при испытании при высоком входном давлении, как указано в
6.7.3.1.2, перечисление b) (приборы A
2 и A
3 см. в
6.7.3.2.13).
Без изменения первоначальной настройки горелки, в прибор нагнетаются соответствующие эталонные газы в соответствии с его категорией, при этом давление на входе прибора снижается до 70% от нормального давления или до минимального давления, указанного в
6.1.4, в зависимости от того, какое из значений ниже.
a) Требование
Концентрация CO сухих безвоздушных продуктов сгорания не должна превышать 0,20% при испытании с предельным газом неполного сгорания, как указано в
6.7.3.1.3, перечисление b) (для приборов A
2 и A
3 см.
6.7.3.2.13).
Не меняя первоначальные настройки горелки, соответствующие предельные газы неполного сгорания, последовательно заменяются эталонным газом, и давление на входе в прибор повышается до максимального давления, указанного в
6.1.4.
a) Требование
Концентрация CO в сухих безвоздушных продуктах сгорания не должна превышать 0,20%, кроме того, прибор должен зажечься и продолжать работать в этих условиях при испытании при нормальных колебаниях напряжения питания, как указано в
6.7.3.1.4, перечисление b) (для приборов типов A
2 и A
3 см.
6.7.3.2.13).
Без изменения первоначальной настройки горелки, в устройство подаются соответствующие эталонные газы в соответствии с его категорией и с нормальным давлением газа на входе в устройство.
Испытание проводится при подаче электроэнергии на прибор с напряжением 85% от минимального значения, а затем с напряжением 110% от максимального напряжения в диапазоне, указанном в инструкции по монтажу.
a) Требование
Концентрация CO в сухих безвоздушных продуктах сгорания не должна превышать 0,20% при испытании на пониженной скорости вентилятора, как указано в
6.7.3.1.5, перечисление b).
Для приборов с вентиляторной горелкой, без изменения первоначальной настройки горелки, в прибор поставляются соответствующие эталонные газы в соответствии с его категорией и с нормальным давлением газа на входе в прибор.
В целях настоящего испытания только вентилятор воздуха для горения должен быть под электричеством при помощи подходящего устройства, которое допускает изменение напряжения.
Когда прибор работает в условиях теплового равновесия, постепенно уменьшайте напряжение, подаваемое на вентилятор в контуре сгорания, пока не отключится подача газа. Отбирайте образцы продуктов сгорания до момента отключения подачи газа.
Для приборов с полезным подводом тепла <= 70 кВт напряжение питания увеличивается до тех пор, пока устройство контроля воздуха не позволит перезапуск прибора. Дать прибору работать до тех пор, пока не будут восстановлены условия теплового равновесия, а затем отобрать образцы продуктов сгорания.
6.7.3.2 Специальные условия
6.7.3.2.1 Приборы типов B22, B23, B52, B53, C12, C13, C32, C33, C62 и C63 с полезным подводом тепла <= 70 кВт и с горелками с предварительно смешанным газом/воздухом под управлением регулятора нулевого давления
a) Требование
Концентрация CO в сухих безвоздушных продуктах сгорания не должна превышать 0,10% при испытании в ненормальных условиях дымохода, как указано в
6.7.3.2.1, перечисление b).
Без изменения первоначальной настройки в прибор поставляются соответствующие эталонные газы согласно его категории при нормальном давлении.
Когда прибор находится в холодном состоянии, длина дымохода/канала для продуктов сгорания постепенно ограничивается до максимального значения, при котором горелка все еще может быть зажжена. Ограничения не должны приводить к рециркуляции продуктов сгорания. В этих условиях прибор работает до тех пор, пока не будет достигнуто тепловое равновесие, а затем будут отбираться образцы продуктов сгорания.
6.7.3.2.2 Приборы с полезным подводом тепла <= 70 кВт без горелок с предварительно смешанным газом/воздухом под управлением регулятора нулевого давления
a) Требование
Концентрация CO в сухих безвоздушных продуктах сгорания не должна превышать 0,20% при испытании в ненормальных условиях дымохода, как указано в
6.7.3.2.2, перечисление b).
Без изменения первоначальной настройки горелки, в устройство подаются соответствующие эталонные газы согласно его категории и с нормальным давлением газа на входе в устройство.
Заборник первичного воздуха или выпуск продуктов горения постепенно закрывается по соглашению между изготовителем и испытательной лабораторией. Необходимо выполнить отбор образцов продуктов сгорания до момента отключения подачи газа.
6.7.3.2.3 Приборы типов B12, B13, B42 и B43
a) Требование
Концентрация CO в сухих безвоздушных продуктах сгорания не должна превышать 0,10% при испытании в ненормальных условиях дымохода, как указано в
6.7.3.2.3, перечисление b)
Без изменения первоначальной настройки горелки в прибор подаются соответствующие эталонные газы согласно его категории, и прибор работает при номинальной тепловой мощности.
Первое испытание проводится при заблокированном дымоходе.
Второе испытание проводится путем применения непрерывной нисходящей тяги 3 м/с и 1 м/с внутри испытательного дымохода с использованием соответствующего устройства нисходящей тяги (см.
рисунок 6).
Продукты сгорания собираются таким образом, чтобы можно было получить типичную пробу с использованием подходящего устройства, расположенного по отношению к переключателю тяги.
6.7.3.2.4 Приборы типов B14 и B44
a) Требование
Концентрация CO в сухих безвоздушных продуктах сгорания не должна превышать 0,10% при испытании в ненормальных условиях дымохода, как указано в
6.7.3.2.4, перечисление b).
Устройство устанавливается, как описано в
6.1.5, и подключается к дымоходу, как описано в
6.1.5.3. Испытание проводят с каждым из эталонных газов, соответствующих категории прибора, который нагнетается при номинальном давлении.
После достижения условий теплового равновесия выход дымохода постепенно сужается до тех пор, пока основная горелка не будет отключена под действием устройства контроля воздуха. Образцы продуктов сгорания отбираются в период, когда выход дымохода ограничен.
Продукты сгорания отбираются так, чтобы можно было получить типичную пробу, при помощи подходящего устройства, расположенного внутри переключателя тяги.
6.7.3.2.5 Приборы типов B22, B23, B52, B53, C12, C13, C32, C33, C62 и C63
a) Требование
Концентрация CO в сухих безвоздушных продуктах сгорания не должна превышать 0,10% при испытании в ненормальных условиях дымохода, как указано в
6.7.3.2.5, перечисление b).
Без изменения первоначальной настройки в прибор подаются соответствующие эталонные газы согласно его категории при нормальном давлении.
Когда прибор находится в холодном состоянии, длина дымохода/канала продуктов сгорания постепенно подводится к максимальному значению, при котором горелка все еще может быть зажжена. Ограничения не должны приводить к рециркуляции продуктов сгорания. В этих условиях прибор работает до тех пор, пока не будет достигнуто тепловое равновесие, а затем будут отбираться образцы продуктов сгорания.
6.7.3.2.6 Приборы типов B22, B23, B52 и B53
a) Требование
Концентрация CO в сухих безвоздушных продуктах сгорания не должна превышать 0,20% при испытании в ненормальных условиях дымохода, как указано в каждом из условий испытания в пункте
6.7.3.2.6, перечисление b).
Без изменения первоначальной настройки в прибор подаются соответствующие эталонные газы согласно его категории при нормальном давлении.
Прибор, предназначенный для использования с дымоходом с выходом на стене, должен быть испытан после достижения условий теплового равновесия:
a) если прибор подсоединен к дымоходу с максимально допустимым падением давления, указанным в инструкциях по монтажу, выпускное отверстие постепенно ограничивается до тех пор, пока подача газа не будет отключена устройством контроля воздуха или регулятором соотношения газ/воздух и повышение давления на выходе из установки должно быть не менее 0,75 мбар при всасывании у выхода дымохода, давление на выходе из прибора снижается до 0,5 мбар, это ниже, чем в дымоходе с минимально допустимым падением давления, указанным в инструкциях по монтажу.
Прибор, предназначенный для использования с вертикальным дымоходом, с выходом над уровнем крыши, должен быть испытан после достижения условий теплового равновесия;
b) с прибором, подсоединенным к дымоходу с максимально допустимым падением давления, указанным в инструкциях по монтажу, выпускное отверстие постепенно ограничивается до тех пор, пока подача газа не будет перекрыта устройством контроля воздуха или регулятором соотношения газ/воздух. Повышение давления при выходе из установки должно быть не менее 0,5 мбар;
c) при всасывании у выхода дымохода давление на выходе из прибора снижается до 0,5 мбар, это ниже, чем в дымоходе с минимально допустимым падением давления, указанным в инструкциях по монтажу.
6.7.3.2.7 Приборы типа C11
a) Требования
6.7.3.2.8 Приборы типов C12 и C13
a) Требование
Концентрация CO в сухих безвоздушных продуктах сгорания не должна превышать 0,20% при испытании в соответствии с
6.7.3.2.8, перечисление b).
Образцы продуктов сгорания отбираются в условиях испытаний, указанных в
6.6.6.3, перечисление b), с использованием дымохода и воздуховода максимальной (эквивалентной) длины, указанной в инструкциях по монтажу.
6.7.3.2.9 Приборы типов C21 и C41 (газы 1 и 2 семейства)
a) Требование
После 15 мин горения прибора пробы входящего воздуха и продуктов сгорания отбираются и анализируются. В приборах типа C21 процентное содержание CO принимается как разность между процентным содержанием CO в продуктах сгорания и процентным содержанием CO на входе воздуха для горения.
6.7.3.2.10 Приборы типа C31
a) Требование
6.7.3.2.11 Приборы типов C32 и C33
a) Требование
Образцы продуктов сгорания отбираются в условиях испытаний, указанных в
6.6.6.6, перечисление b), с использованием воздуховода для воздуха для горения и продуктов сгорания максимальной длины, указанной в инструкции по монтажу.
6.7.3.2.12 Приборы типов C62 и C63
6.7.3.2.12.1 Работа при рециркуляции продуктов сгорания
a) Требование
Канал подачи воздуха для горения системы испытательных каналов снабжен дугой, которую можно поворачивать на 360° (см.
рисунок 13). Дуга расположена так, чтобы продукты сгорания втягивались во впускной канал воздуха для горения.
A - дроссель; B - вращающаяся дуга; C - датчик CO2;
D - прибор; P1 и P2 - диагностические точки давления
Рисунок 13 - Система испытательных воздуховодов C
6
для испытания на рециркуляцию
Поскольку выпускной канал для продуктов сгорания не ограничен, прибор работает в нормальных рабочих условиях при номинальном расходе распределяемого воздуха. При тепловом равновесии выпускной канал для продуктов сгорания ограничивается для имитации максимального сопротивления потоку в системе воздуховодов, указанного в инструкциях по монтажу. Дуга, установленная на впускном воздуховоде для воздуха для горения, поворачивается таким образом, чтобы продукты сгорания из выпускного воздуховода попадали во впускной воздуховод с целью обеспечения концентрации CO2 во впускном воздуховоде 10% от концентрации CO2, первоначально измеренной в выпускном воздуховоде для продуктов сгорания.
6.7.3.2.12.2 Работа при минимальном потоке воздуха для горения
a) Требование
Прибор работает в нормальных рабочих условиях при номинальном распределении потока воздуха. При тепловом равновесии дроссель в испытательной системе воздуховода устанавливается таким образом, чтобы обеспечить минимальный поток через устройство для активации устройства проверки воздуха.
6.7.3.2.12.3 Работа при всасывании
a) Требование
Прибор работает в нормальных рабочих условиях при номинальном распределении потока воздуха. При тепловом равновесии дроссель в системе воздуховодов для испытаний настраивается таким образом, что имитирует минимальное сопротивление потоку в системе воздуховодов.
Прибор подвергается всасыванию при помощи внешнего вентилятора, которое снижает давление, измеренное в вышеуказанных условиях, на 0,5 мбар на выходе из устройства.
6.7.3.2.13 Приборы типов A
2 и A
3
6.7.3.2.13.1 Низкотемпературные воздухонагреватели
a) Требование
Концентрации оксидов углерода в выпускаемом воздухе, связанные с прибором (концентрация в выпускаемом воздухе минус концентрация во входящем воздухе), измеренные в сухом состоянии, не должны превышать значений, указанных в
таблице 11 при испытании по
6.7.3.2.13.1, перечисление b).
Таблица 11
Предельные концентрации излучений
Компонент | Предельная концентрация (CL) |
10-6 об/об | % об/об |
Угарный газ CO | 10 | 0,001 |
Углекислый газ CO2 | 2500 | 0,25 |
6.7.3.2.13.2 Высокотемпературные воздухонагреватели
a) Требование
При проведении испытаний в соответствии с
6.7.3.2.13.2, перечисление b), измеренные концентрации оксидов углерода, связанные с прибором, в выпускаемом воздухе должны быть такими, чтобы предельные концентрации
EQ, рассчитанные по
формуле (10), не превышали значений, указанных в
таблице 11.

(10)
где CL - предельная концентрация компонента, выраженная в 10-6 или в процентах;
Cm - измеренная концентрация компонента выраженная в 10-6 или в процентах;
Va - максимальный объемный расход (в м3/с) свежего воздуха, подаваемого через прибор, соответствующий максимальному номинальному подводимому теплу;
Vs - минимальный объемный расход (в м3/с) дополнительного свежего воздуха, указанный в инструкциях по монтажу, который должен подаваться в отапливаемое помещение, соответствующий максимальному номинальному подводимому теплу.
6.7.3.2.13.3 Изменения дополнительной энергии
a) Требование
Прибор должен зажечься и продолжать работать во время испытания, как указано в
6.7.3.2.13.3, перечисление b). Содержание оксидов углерода в выпускаемом воздухе, измеренное в сухом виде, не должно превышать значений, указанных в
таблице 11.
Без изменения первоначальной настройки горелки в прибор подают соответствующий эталонный газ согласно его категории и продолжают с ним работать с номинальной подводимой теплотой.
Испытание проводится при подаче электроэнергии на прибор с напряжением 85% от минимального значения, а затем с напряжением 110% от максимального диапазона напряжения, указанного в инструкциях по монтажу.
6.7.3.2.14 Приборы, предназначенные для установки снаружи
a) Требование
Концентрация CO в сухих безвоздушных продуктах сгорания не должна превышать 0,20% при испытании в соответствии с
6.7.3.2.14, перечисление b).
Без изменения первоначальной настройки горелки, в прибор подается соответствующий эталонный газ в соответствии с его категорией и продолжают с ним работать с номинальной подводимой теплотой.
При использовании устройства, описанного в
6.6.6.3, перечисление b), прибор подвергается воздействию горизонтального ветра со скоростью 2,5 м/с по центру выхода. Прибор медленно вращается вокруг вертикальной оси относительно вентилятора.
Испытание повторяют при скорости ветра 5 м/с и 10 м/с.
Вышеупомянутые испытания повторяются с восходящим и падающим ветром под углом 45° к горизонтали.
6.8 Горение - оксиды азота
6.8.1 Для всех приборов типов B и C
a) Требования
Взвешенная концентрация NO
X в сухих безвоздушных продуктах сгорания не должна превышать 260 мг/кВт·ч или заявленную максимальную концентрацию, в зависимости от того, какое из значений ниже при испытании, указанном в
6.8.1, перечисление b).
Однако для приборов, предназначенных только для газов третьего семейства, предельное значение необходимо умножить на коэффициент 1,30. В приборах, предназначенных только для использования пропана, предельное значение умножается на коэффициент 1,20.
Прибор устанавливается в соответствии с
6.7.1.
Для приборов, предназначенных для использования газов второго и третьего семейства, испытания проводятся с использованием эталонного газа G20. В приборах, предназначенных для использования только G25 в качестве эталонного газа, испытания проводятся с использованием G25. В приборах, предназначенных для использования только газов третьего семейства, испытания проводятся с использованием эталонного газа G30. В приборах, предназначенных для использования пропана, испытания проводятся с использованием эталонного газа G31.
Прибор настраивают на его номинальное подводимое тепло и, при необходимости, на другое подводимое тепло, обеспечиваемое средствами управления.
Затем проводятся измерения NO
X, когда прибор находится в тепловом равновесии, подходящие методы испытаний и измерительное оборудование см. в
приложении E.
Стандартные условия для воздуха для горения:
a) температура: 20 °C;
b) влажность: 10 г H2O/кг воздуха.
Если условия испытаний отличаются от этих стандартных условий, необходимо будет откорректировать значения NOX при помощи формулы

(11)
где NOX,0 - значение NOX, скорректированное к стандартным условиям, выраженное в миллиграммах на киловатт-час (мг/кВт·ч);
NOX,m - NOX, измеренное при hm и ta (мг/кВт·ч) в диапазоне от 50 до 300 мг/кВт·ч;
hm - влажность во время измерения NOX,m (г/кг) в диапазоне от 5 до 15 г/кг;
ta - температура окружающей среды во время измерения NOX,m (°C) в диапазоне от 15 °C до 25 °C.
Измеренные значения NO
X взвешиваются в соответствии с
6.7.2. Для расчета преобразования NO
X см.
приложение E.
6.8.2.1 Общие положения
Измеренные значения NOX взвешиваются, учитывая эффективность устройства, его теплоемкость и характеристики использования.
6.8.2.2 Для всех приборов, за исключением типов A2 и A3
6.8.2.2.1 Включение/выключение приборов
6.8.2.2.2 Высокие/низкие и модулирующие приборы
NOXseas = 15NOXnom + 0,85NOXmin, (13)
где NOXseas - взвешенный показатель выбросов;
NOXnom - показатель выбросов с номинальным подводимым теплом;
NOXmin - показатель выбросов с минимальным подводимым теплом.
6.8.2.3 Приборы типов A2 и A3
6.8.2.3.1 Низкотемпературные воздухонагреватели
a) Требование
Концентрации оксидов азота в выпускаемом воздухе, связанные с прибором (концентрация в выпускаемом воздухе минус концентрация во входящем воздухе), измеренные в сухом состоянии, не должны превышать значений, указанных в
таблице 12, при проведении испытания в соответствии с
6.8.2.3.1, перечисление b).
Таблица 12
Предельные концентрации излучений
Компонент | Предельная концентрация (CL) |
10-6 об/об | % об/об |
Оксид азота NO | 5 | 0,0005 |
Двуокись азота NO2 | 1 | 0,0001 |
6.8.2.3.2 Высокотемпературные воздухонагреватели
a) Требование
Измеренные концентрации оксидов азота, связанные с прибором, в выпускаемом воздухе должны быть такими, чтобы предельные концентрации, рассчитанные по
формуле 12, не превышали значений, указанных в
таблице 12, при испытании в соответствии с
6.8.2.3.2, перечисление b).
6.8.2.3.3 Изменения дополнительной энергии
a) Требование
Прибор должен зажечься и продолжать работу, а количество оксидов азота в выпускаемом воздухе, измеренное в сухом состоянии, не должно превышать значений, указанных в
таблице 12, при испытании в соответствии с
6.8.2.3.3, перечисление b).
6.8.3 Данные по выбросам NOX, требуемые в соответствии с нормами экодизайна (201x/xxxx)
Выбросы NOX всех газовых воздушных отопительных агрегатов, подпадающих под действие норм по экодизайну, не должны превышать требований, указанных в последней версии этих норм.
Взвешенное значение NOX преобразуется в GCV следующим образом:
Значение NO
Xseas,NCV, рассчитывается в соответствии с
6.8.2.
Значение NOXseas,GCV рассчитывается по формуле

(14)
где NOXseas,GCV - сезонное взвешенное значение концентрации NOX, основанное на высшей теплоте сгорания соответствующего семейства газов (мг/кВт·ч, GCV);
NOXseas,NCV - сезонное взвешенное значение концентрации NOx, основанное на низшей теплоте сгорания соответствующего семейства газов (мг/кВт·ч, NCV);
Hi/Hs - отношение высшей теплоты сгорания к низшей теплоте сгорания для соответствующего семейства газов, взятое из EN 437.
6.9.1 Для приборов с полезным подводом тепла <= 70 кВт
i) подача газа к горелке должна быть отключена или устройством ограничения при перегреве, или устройством отключения при перегреве с целью предотвращения:
- опасного состояния;
- любого повреждения прибора;
- средней температуры воздуха на выходе из прибора более 100 °C;
ii) ни устройство ограничения при перегреве, ни устройство отключения при перегреве (если установлено), ни выключатель двигателя вентилятора с тепловой защитой (для вентиляторных горелок) не должны работать во время нормальной циклической работы прибора;
iii) стабильность пламени должна быть удовлетворительной на протяжении всего испытания.
В канальных и бесканальных приборах повышение температуры во время испытания 1 не должно превышать 3 К/мин.
Прибор устанавливают, как описано в
6.1.5.
В канальных приборах патрубок выпуска воздуха снабжен каналом длиной 1 м, имеющим такую же форму, что и выпускной патрубок. В конце воздуховода устанавливаются две сдвижные крышки для регулировки свободного выходного отверстия.
Датчики для измерения температуры воздуха и точки измерения статического давления воздуха размещаются за 100 мм до выходного конца испытательного канала (см.
рисунок 14).
A и B - размеры выпускного отверстия; C - статическое
давление воздуха; D - температура воздуха на корпусе;
E - прибор
Рисунок 14 - Положения датчика для испытания защиты
от перегрева
Данный испытуемый канал должен поставляться производителем.
Бесканальные приборы, предназначенные для одного или нескольких выпускных отверстий, испытываются с выпускными отверстиями, установленными в соответствии с инструкциями по монтажу. Заслонки могут быть регулируемыми. Датчики измерения температуры воздуха размещаются снаружи каждого выпускного отверстия и в плоскости этого выпускного отверстия, а точка измерения статического давления воздуха находится в центре выпускного отверстия прибора на расстоянии не менее 100 мм от любых заслонок.
Прибор работает в номинальных условиях или при температуре воздуха, минимум, на 20 К ниже ожидаемой температуры срабатывания устройства ограничения при перегреве или устройства отключения при перегреве, с использованием соответствующего эталонного газа. Линейный газ можно использовать вместо эталонного газа, если число Воббе находится в пределах +/- 5% от соответствующего эталонного газа.
Защита от перегрева не должна работать.
Приборы с номинальным диапазоном работают при максимальной и минимальной тепловой нагрузке, как указано в инструкциях по монтажу.
В канальных приборах поток воздуха постепенно уменьшается путем сдвигания крышек на воздуховоде до тех пор, пока не сработает защита от перегрева, чтобы прекратить подачу газа к основной горелке. В бесканальных приборах поток воздуха постепенно уменьшается путем закрытия заслонок до тех пор, пока не сработает защита от перегрева, которая прекратит подачу газа к основной горелке. В случае нескольких воздуховодов определяется эффект закрытия каждого воздуховода.
Прибор включает в себя контроль перегрева в течение достаточного периода времени, чтобы обеспечить достижение наихудших условий.
Вентилятор подачи воздуха и регуляторы температуры воздуха, кроме защиты от перегрева, не работают.
Прибор работает из холодного состояния при номинальной тепловой нагрузке с использованием соответствующего эталонного газа. Линейный газ можно использовать вместо эталонного газа, если число Воббе находится в пределах +/- 5% от соответствующего эталонного газа.
Приборы с номинальным диапазоном работают при максимальном подводе тепла, указанном в инструкции по монтажу.
В случае типа управления с автоматическим сбросом прибор переключается на контроль перегрева в течение достаточного периода времени, чтобы гарантировать достижение наихудшего состояния.
В случае механизма ручного сброса он срабатывает после первого отключения и через каждую минуту и каждого последующего периода охлаждения, пока система управления не позволит повторный нагрев.
6.9.2 Для приборов с полезным подводом тепла > 70 кВт
6.9.2.1 Приборы типов A2 и A3
i) необходимо отключить подачу газа к горелке во избежание:
- опасного состояния;
- любого повреждения прибора;
- в случае низкотемпературных приборов средняя температура воздуха на выходе из прибора, превышающая температуру 100 °C, или для приборов с несколькими выходами средняя температура на любом одном выходе превышает 125 °C;
- в случае высокотемпературных приборов - средняя температура воздуха на выходе из прибора, превышающая температуру 200 °C.
Примечание - Эта температура применяется к воздуху, подаваемому на выходе из прибора и перед дальнейшим разбавлением для распределения в отапливаемом пространстве;
ii) устройство отключения при перегреве не должно срабатывать во время нормальной циклической работы прибора (например, вследствие срабатывания комнатного термостата или управления по времени);
iii) стабильность пламени должна быть удовлетворительной на протяжении всего испытания.
Прибор устанавливают, как описано в
6.1.5, и в него подается эталонный испытательный газ, соответствующий категории прибора при нормальном давлении. Линейный газ можно использовать вместо эталонного газа, если число Воббе находится в пределах +/- 5% от соответствующего эталонного газа.
Кроме того, выпускной патрубок воздуха канального прибора имеет воздуховод такой же формы и длины, в шесть раз превышающей основной размер выпускных отверстий.
Контроллер температуры воздуха и любое устройство проверки воздуха считаются неработающими.
Прибор работает в холодном состоянии при максимальной номинальной подводимой теплоте, и поток воздуха постепенно уменьшается до тех пор, пока не сработает устройство отключения при перегреве, которое отключит подачу газа к основной горелке. После этого после ручного сброса прибор запускает цикл на устройстве отключения при перегреве в течение достаточного периода времени, чтобы гарантировать достижение наихудшего состояния.
Механизм ручного сброса приводится в действие после первого отключения и после этого с регулярными интервалами до тех пор, пока устройство отключения не позволит выполнить сброс.
6.9.2.2 Приборы типов B и C
6.9.2.2.1 Испытание N 1
i) необходимо отключить подачу газа к горелке во избежание:
- опасного состояния;
- любого повреждения прибора;
- средней температуры воздуха на выходе из прибора, превышающей 100 °C;
- для приборов с несколькими воздуховодами и теми, что предназначены для установки с основанием прибора на расстоянии более 2,5 м от уровня пола, независимо от того, имеют ли они несколько воздуховодов или нет, средняя температура на любом одном воздуховоде превышает 125 °C;
ii) контроль перегрева не должен срабатывать во время нормального циклического действия прибора (например, в результате срабатывания комнатного термостата или другого регулятора);
iii) стабильность пламени должна быть удовлетворительной на протяжении всего испытания.
Прибор должен быть установлен, как описано в
6.1.5, и в него должен подаваться распределяемый газ (см.
6.1.3.1) или соответствующий эталонный газ, соответствующий его категории, прибор должен работать в пределах +/- 2% от максимального номинального подводимого тепла. Линейный газ можно использовать вместо эталонного газа, если число Воббе находится в пределах +/- 5% от соответствующего эталонного газа.
Любые устройства контроля температуры или расхода воздуха считаются неактивными.
c) Приборы, предназначенные для подсоединения к распределительным каналам, или приборы, в которых статическое давление потока воздуха >= 100 Па
Все выпускные жалюзи установлены так, чтобы обеспечивать минимальное возможное отклонение подаваемого воздуха. К каждому выходу должен быть подключен канал длиной 1,0 м, имеющий такое же поперечное сечение и размеры, что и выход прибора (в рамках этого испытания изготовитель должен предоставить необходимый канал).
Открытый конец воздуховода оборудован устройством, которое симметрично уменьшает площадь поперечного сечения выходного отверстия воздуховода.
В центре открытого конца воздуховода помещается одна термопара или подобное устройство для измерения температуры воздуха, выходящего из прибора.
Прибор работает, и поток воздуха постепенно уменьшается при помощи дросселя до тех пор, пока устройство отключения при перегреве не сработает, чтобы отключить горелку, и не будет отмечена температура воздуха.
Затем устройство отключения при перегреве сбрасывается, испытание повторяется.
Если зарегистрированная температура выше, чем первая зарегистрированная температура, испытание повторяется до достижения наихудшего состояния.
d) Приборы, предназначенные для беспрепятственного обдува в отапливаемом помещении и снабженные одним выходом
Все выпускные жалюзи установлены так, чтобы обеспечивать минимальное возможное отклонение подаваемого воздуха. К каждому выходу должен быть подключен канал длиной 1,0 м, имеющий такое же поперечное сечение и размеры, что и выход прибора (в рамках этого испытания изготовитель должен предоставить необходимый канал).
Достаточное количество термопар или подобных устройств размещается на расстоянии 0,5 м от выхода из прибора и параллельно плоскости этого выхода внутри воздуховода, и они располагаются так, чтобы обеспечивать среднюю температуру подаваемого воздуха. Как правило, используется пять термопар в форме креста.
Прибор работает, поток воздуха постепенно уменьшается за счет уменьшения напряжения, подаваемого на вентилятор или других подходящих средств, до тех пор, пока устройство отключения от перегрева не сработает, чтобы выключить горелку, и не будет отмечена средняя температура воздуха.
Затем устройство отключения при перегреве сбрасывается, испытание повторяется.
Если зарегистрированная температура выше, чем первая зарегистрированная температура, испытание повторяется до достижения наихудшего состояния.
e) Приборы, предназначенные для беспрепятственного обдува в отапливаемом помещении и снабженные несколькими выходами
Все выпускные жалюзи установлены так, чтобы обеспечивать минимальное отклонение подаваемого воздуха.
Для измерения средней температуры воздуха на каждом выходе и в плоскости этого выхода помещают достаточное количество термопар или подобных устройств. Как правило, используется пять термопар в форме креста.
Прибор работает, поток воздуха постепенно уменьшается за счет постепенного перекрытия входа воздуха к вентилятору симметричным образом или других подходящих средств до тех пор, пока устройство отключения при перегреве не отключит горелку, и не будет отмечена средняя температура воздуха.
Затем устройство отключения при перегреве сбрасывается, испытание повторяется.
Если зарегистрированная температура выше, чем первая зарегистрированная температура, испытание повторяется до достижения наихудшего состояния.
a) Требование
При испытании в соответствии с методом, указанным в
6.9.2.2.2, перечисление b), подача газа к горелке должна быть отключена для предотвращения:
i) опасного состояния;
ii) любого повреждения прибора.
Прибор установлен в соответствии с требованиями
6.1.5.
Регулятор температуры воздуха и вентилятор распределения воздуха считаются нерабочими.
Прибор работает в холодном состоянии при помощи стандартного распределяемого газа (см.
6.1.3.1) или соответствующего эталонного газа, соответствующего его категории, и работает в пределах +/- 2% от максимального номинального подводимого тепла. Линейный газ можно использовать вместо эталонного газа, если число Воббе находится в пределах +/- 5% от соответствующего эталонного газа.
Прибор работает до тех пор, пока не сработает регулятор перегрева, отключающий подачу газа в основную горелку, после чего регулятор сбрасывается в исходное положение, чтобы повторно зажечь горелку. Прибор включает контроль перегрева в течение достаточного времени, чтобы убедиться в достижении наихудшего состояния.
6.10 Устройство проверки потока воздуха
a) Требование
Устройство контроля воздуха должно приводить к аварийному отключению или энергонезависимой блокировке прибора в условиях испытаний, указанных в
6.10, перечисление b).
Испытание проводят при установке прибора в соответствии с требованиями
6.1.5.
Прибор настраивают в соответствии с требованиями
6.1.3.2.1 и поставляют соответствующий эталонный газ при номинальной подводимой теплоте.
Концентрация CO
2 в распределенном воздухе, связанная с прибором, определяется в соответствии с требованиями
6.7.
Поступление воздуха в прибор постепенно ограничивается и контролируется концентрация CO2 в распределенном воздухе.
Необходимо проверить, чтобы устройство контроля воздушного потока вызывало аварийное отключение или энергонезависимую блокировку до того, как концентрация CO2, связанная с устройством, превысит 1,25-кратное значение, полученное в нормальных условиях эксплуатации.
В рамках этого испытания может потребоваться отмена функции любого контроля температуры воздуха и устройства отключения при перегреве.
6.11 Датчики - измерители атмосферы
6.11.1 Датчики - измерители атмосферы (типы B11AS, B12AS, B13AS, B14AS, B41AS, B42AS, B43AS и B44AS)
6.11.1.1 Общие положения
a) Требование
Приборы мощностью <= 70 кВт типов B
11AS, B
12AS, B
13AS, B
14AS, B
41AS, B
42AS, B
43AS и B
44AS должны быть оборудованы датчиком атмосферы, который предотвращает выброс продуктов сгорания в опасном количестве в помещение для установки в условиях ненормальной тяги. Работа атмосферного датчика подтверждается испытаниями, указанными в
6.11.1.1, перечисление b),
6.11.1.2, перечисление b), и
6.11.1.3, перечисление b).
b) Испытательная установка
Прибор должен быть установлен в герметичном помещении. Размеры минимального помещения:
a) длина 3,5 м;
b) ширина 2,0 м;
c) высота 2,5 м;
d) объем 17,5 м3.
По согласованию между производителем и уполномоченным органом могут использоваться другие помещения.
Герметичность помещения должна быть такой, чтобы после установления однородной концентрации CO2 примерно (4,0 +/- 0,2)% в помещении она не уменьшалась более чем на 0,15% через 1 час.
Помещение должно быть спроектировано так, чтобы:
e) оператор мог в любое время наблюдать за работой прибора;
f) атмосфера в помещении поддерживалась, как однородная смесь;
g) температура в центре помещения поддерживалась от 15 °C до 35 °C.
Прибор устанавливается в соответствии с инструкциями по монтажу, отличными от требований к вентиляции, и с дымоходом длиной 1 м, установленным на самой узкой стене герметичного помещения или рядом с ним, и настроен на номинальное подводимое тепло с использованием соответствующих эталонных газов.
При использовании соответствующего эталонного газа прибор работает с максимальной тепловой мощностью. Возвратный и нагнетаемый воздух должны быть изолированы от воздуха в испытательной комнате. Если прибор предназначен для бесканальной эксплуатации, производитель должен предоставить подходящий канал. Отбор проб атмосферного воздуха на угарный газ в помещении следует проводить в горизонтальной плоскости на высоте 1,5 м над уровнем пола.
6.11.1.2 Нормальные условия эксплуатации
a) Требование
Прибор работает с максимальным подводимым теплом, дверь в комнату открыта, а дымоход выходит за пределы комнаты в течение 30 мин.
6.11.1.3 Герметичные комнатные условия
a) Требование
По окончании 30 минут работы дымоход закрывают, помещение изолируют и атмосферу в помещении постоянно проверяют на предмет концентрации CO до тех пор, пока не погаснет горелка, а затем еще в течение 5 мин для обеспечения стабильности показаний.
6.11.2 Защитное устройство отвода продуктов сгорания (типы B11BS, B12BS, B13BS, B14BS, B41BS, B42BS, B43BS и B44BS)
6.11.2.1 Общие положения
a) Требование
Приборы <= 70 кВт типов B
11BS, B
12BS, B
13BS, B
14BS, B
41BS, B
42BS, B
43BS и B
44BS должны быть оборудованы защитным устройством для отвода продуктов сгорания, которое предотвращает выброс продуктов сгорания в опасном количестве в помещение для установки в условиях аномальной тяги. Работа атмосферного датчика подтверждается при помощи испытаний, указанных в
6.11.2.1, перечисление b),
6.11.2.2, перечисление b),
6.11.2.3, перечисление b),
6.11.2.4, перечисление b),
6.11.2.5, перечисление b),
6.11.2.6, перечисление b), и
6.11.2.7, перечисление b).
A - затрубное пространство; B - площадь, равная 35%
от номинальной площади дымохода; C - датчик системы защиты
отвода продуктов сгорания; D - прибор
Рисунок 15 - Испытательное устройство для прибора
безопасного отвода продуктов сгорания (приборы типов B11BS,
B12BS, B13BS, B14BS, B41BS, B42BS, B43BS и B44BS)
6.11.2.2 Функция переключения
В ответ на небезопасную ситуацию защитное устройство для отвода продуктов сгорания должно осуществлять безопасное отключение основной горелки автоматическим или ручным сбросом. Если предусмотрен автоматический сброс, подача газа к основной горелке должна оставаться закрытой в течение не менее 600 с, если причина аварийного отключения не устранена. В этом случае допустимо включение предохранителя отвода продуктов сгорания в цепь управления. Это проверяется при помощи испытания, указанного в
6.11.2.2, перечисление b).
Защитное устройство для отвода продуктов сгорания испытывают в соответствии с
6.11.2.3, перечисление b),
6.11.2.4, перечисление b),
6.11.2.5, перечисление b),
6.11.2.6, перечисление b), и
6.11.2.7, перечисление b). Если не указано иное, испытания должны проводиться со стандартной дымовой трубой (после переключателя тяги) длиной 0,5 м и диаметром, равным диаметру дымохода.
6.11.2.3 Время реакции при нулевой тяге дымохода
В случае прибора с номинальным диапазоном или прибора с регулируемым подводимым теплом время реакции не должно превышать 240 с. Если наименьшее значение диапазона подводимого тепла и/или диапазона регулирования составляет более 50% от максимального подводимого тепла, время срабатывания защитного устройства для отвода продуктов сгорания не должно превышать
Tr секунд, определяемое по
формуле (15). Это проверяется при помощи испытания, указанного в
6.11.2.3, перечисление b)
Tr <= 120·
Qin,nom/
Qin,min, (15)
где Tr - время срабатывания защитного устройства отвода продуктов сгорания, с;
Qin,nom - максимальная или номинальная тепловая мощность, кВт;
Qin,min - минимальный диапазон тепловой мощности (вход/управление), кВт.
Прибор снабжен дымовой трубой, как указано в
6.11.2.1, перечисление b). Используя соответствующий эталонный газ, прибор настраивают на номинальное подводимое тепло или на максимальное подводимое тепло в случае прибора для измерения диапазона. Поток нагнетаемого воздуха установлен на максимум.
После этого выходное отверстие дымохода полностью закрывается и измеряется время, прошедшее между закрытием дымохода и срабатыванием защитного устройства для выпуска продуктов сгорания. По истечении этого времени время срабатывания защитного устройства для выпуска продуктов сгорания не должно превышать 120 с при номинальной подводимой теплоте или при максимальной подводимой теплоте в случае прибора с переменным подводимым теплом или прибора для измерения номинального диапазона.
В случае прибора для измерения номинального диапазона или прибора с регулируемым подводимым теплом данное испытание также должно проводиться при 50% номинального подводимого тепла или максимального диапазона подводимого тепла. Если наименьшее значение диапазона подводимого тепла и/или диапазона регулирования превышает 50% от максимального подводимого тепла, данное испытание должно проводиться при наименьшем значении.
6.11.2.4 Предотвращение ненамеренного отключения
Прибор устанавливается с дымоходом в соответствии с
6.11.2.1, перечисление b), и настраивается на его номинальную тепловую нагрузку или на максимальный диапазон подвода тепла в случае прибора с заданным диапазоном с использованием соответствующего эталонного газа. Поток нагнетаемого воздуха устанавливается на номинальное значение, указанное в инструкции по монтажу.
В этих условиях прибор проработает 30 мин.
6.11.2.5 Время реакции в случае частичной утечки
Прибор испытывают, как указано в
6.11.2.5, перечисление b). Если защитное устройство для отвода продуктов сгорания отключает прибор до достижения точки, при которой утечка продуктов сгорания не происходит, время, прошедшее между установкой пластины и срабатыванием защитного устройства для отвода продуктов сгорания не должно превышать 600 с.
Прибор настраивается на его номинальную тепловую нагрузку или на максимальный диапазон подвода тепла в случае прибора с заданным диапазоном, используя соответствующий эталонный газ. Поток нагнетаемого воздуха устанавливается на номинальное значение, указанное в инструкциях по монтажу.
Вместо дымохода, указанного в
6.11.2.1, перечисление b), на приборе устанавливается телескопическая дымовая труба, установленная на минимальную высоту дымохода, указанную в инструкциях по монтажу, и с диаметром, равным диаметру дымохода.
Когда труба установлена на эту высоту, прибор работает до тех пор, пока не будет достигнуто тепловое равновесие.
Затем дымовая труба регулируется таким образом, чтобы утечка продуктов сгорания не происходила через преобразователь тяги. Это проверяется при помощи подходящих средств (например, отражатель температуры конденсации) на краях преобразователя тяги.
Если защитное устройство для отвода продуктов сгорания отключает прибор до достижения точки, в которой утечка продуктов сгорания просто не происходит, время срабатывания такого устройства является удовлетворительным и дальнейшие испытания не требуются.
Если это не так, испытание продолжают.
Выход регулируемого дымохода закрыт пластиной с отверстием, площадь которого составляет 35% от номинальной площади дымохода (см.
рисунок 15). Время между установкой пластины и срабатыванием защитного устройства для отвода продуктов сгорания является мерой.
6.11.2.6 Действие в случае дефекта датчика
В случае выхода датчика из строя защитное устройство отвода продуктов сгорания должно, как минимум, выполнить аварийное отключение основной горелки. Это подтверждается испытанием прибора в соответствии с
6.11.2.6, перечисление b).
Отключение без блокировки допустимо в том случае, если подача газа к основной горелке прервана минимум на 600 с из-за неисправного датчика. В этом случае основная горелка должна гореть не более 120 с.
Прибор работает с номинальным подводимым теплом в нормальных рабочих условиях, а проводка датчика отсоединена.
6.11.2.7 Термостойкость
a) Требование
После периода испытания, указанного в
6.11.2.6, перечисление b), выполняется проверка соответствия работы системы контроля отвода продуктов сгорания требованиям
6.11.2.2, перечисление a),
6.11.2.3, перечисление a),
6.11.2.4, перечисление a),
6.11.2.5, перечисление a), и
6.11.2.6, перечисление a). После этого испытания устройство контроля продуктов сгорания, его крепление и проводка не должны быть повреждены.
Прибор снабжен дымовой трубой, как указано в
6.11.2.1, перечисление b). Используя соответствующий эталонный газ, прибор настраивают на номинальное подводимое тепло или на максимальное подводимое тепло в случае прибора для определения диапазона. Поток нагнетаемого воздуха установлен на минимум.
Защитное устройство отвода продуктов сгорания отключено намеренно без удаления каких-либо его компонентов.
Выход дымохода полностью закрывается, и прибору дают поработать в этом состоянии в течение 4 ч.
6.12 Эффективность предварительной продувки
a) Требование
Для приборов с вентиляторными горелками эффективность предварительной продувки, если она имеется, должна быть проверена, как указано в
6.12, перечисление b). Предварительная продувка должна быть такой, чтобы объем воздуха, доступного для горения (
Vc), был как минимум в пять раз больше, чем измеренный объем цепи сгорания.
b) Испытательная процедура
Прибор устанавливается и регулируется в соответствии с инструкциями по монтажу, указанными в
6.1.5. Испытания проводятся в условиях неподвижного воздуха.
Без изменения первоначальной настройки горелки прибор снабжается соответствующим эталонным газом при номинальном подводимом тепле.
Продукты сгорания собираются, как описано в
6.7, когда прибор достигает теплового равновесия.
Объем воздуха, доступного для горения, Vc (м3) рассчитывается по формуле

(16)
где As - стехиометрическая потребность в воздухе для топлива, об/об;
Ae - избыток воздуха, об/об;
Vg - расход газа, м3/ч;
Tp - время предварительной продувки, с.
Стехиометрическая потребность в воздухе для топлива As рассчитывается по формуле

(17)
Избыточный воздух Ae рассчитывается по формуле

(18)
где
- объем углекислого газа, полученного при полном сгорании 1 м
3 эталонного газа (об/об);
- концентрация углекислого газа, измеренная в образце продуктов сгорания;

- объем воды, полученной при полном сгорании 1 м
3 эталонного газа (об/об);
K - отношение общего объема влажных продуктов сгорания к общему объему газа и воздуха, подаваемых в прибор.
Значения
As,

,

и
K для эталонных газов приведены в
таблице 13.
Таблица 13
Эталонные значения для определения избыточного воздуха
Эталонный газ | G110 | G120 | G20 | G25 | G30 | G31 |
As | 3,67 | 4,17 | 9,52 | 8,19 | 30,95 | 23,8 |
| 0,26 | 0,32 | 1 | 0,86 | 4 | 3 |
| 1,02 | 1,11 | 2 | 1,72 | 5 | 4 |
K | 0,946 | 0,955 | 1 | 1 | 1,047 | 1,04 |
6.13 Управление соотношением воздух/газ
6.13.1 Утечка неметаллических контрольных трубок
a) Требование
Если контрольные трубки изготовлены не из металла или других материалов, с эквивалентными свойствами, их отсоединение, поломка или утечка не должны приводить к опасной ситуации. Это означает либо блокировку, либо безопасную работу без утечки газа за пределы устройства. Это подтверждается испытанием, указанным в
6.13.1, перечисление b).
Примечание - Если контрольные трубки изготовлены из металла или других материалов, с эквивалентными свойствами, они не подлежат испытанию в соответствии с
6.13.1, перечисление b).
Прибор устанавливают, как описано в
6.1.5. В него подается эталонный газ с его номинальным подводимым теплом. Безопасность работы проверяется в различных ситуациях, которые могут возникнуть, в частности:
a) имитация утечки из трубы под давлением воздуха путем отсоединения трубки;
b) имитация утечки из трубы сгорания давления в камере, отсоединив трубу;
c) имитация утечки из трубы давления газа путем отсоединения трубы.
6.13.2 Регулировка соотношения давления газа и воздуха
Если соотношение газа и воздуха регулируется, то управление должно функционировать, когда регулировка находится в предельных значениях, а диапазон достигнутых соотношений давлений должен охватывать заявленный диапазон регулировки, когда контроль соотношения воздуха/газа работает при настройке максимального и минимального соотношения газа/воздуха.
6.14 Предельные температуры
6.14.1 Общая процедура испытания
Прибор работает с любым эталонным газом для данной категории прибора в пределах +/- 2% от номинального подводимого тепла, при этом минимальный расход циркулирующего воздуха соответствует уровню срабатывания устройства отключения при перегреве, предварительно установленного изготовителем, и любым регулируемым термостатом при максимальной настройке. Если не указано иное, испытания проводят, когда прибор находится в состоянии теплового равновесия.
Минимальный расход воздуха, при котором срабатывает устройство отключения при перегреве или устройство отключения перегрева, определяется, как описано в
6.9.
Для бесканальных нагревателей выпускные заслонки должны быть установлены в положение закрытия, соответствующее срабатыванию устройства отключения при перегреве или устройства отключения перегрева, как это установлено изготовителем. В случае приборов, предназначенных для использования не в однокорпусных жилых домах, выпускные заслонки должны быть установлены в положение максимального закрытия, как указано в инструкциях по монтажу.
Приборы с номинальным диапазоном работают при максимальном подводимом тепле.
6.14.2 Температуры деталей прибора, к которым нужно будет прикасаться
a) Требования
В условиях испытаний в соответствии с
6.14.2, перечисление b) температура поверхности ручек управления и всех деталей, к которым нужно прикасаться во время нормального использования прибора, измеренная в зонах, предназначенных для захвата, не должна превышать температуру окружающей среды более чем на:
a) 35 К - для металлов;
b) 45 К - для фарфора или подобных материалов;
c) 60 К - для пластика.
Если температура газового соединения на входе в прибор превышает температуру окружающей среды более чем на 30 К, в инструкции по монтажу должны быть указаны меры предосторожности, которые необходимо предпринять в отношении такого соединения.
Компоненты испытываются в соответствии с
6.14.1, температуры деталей измеряются с точностью до +/- 2 К, например, при помощи контактных термопар.
6.14.3 Температура поверхности прибора
Температура боковых стенок, передней части, задней части, основания и верхней части прибора не должна превышать температуру окружающей среды более чем на 80 К, за исключением рабочих поверхностей, таких как внешний первичный дымоход и переключатель тяги.
Это требование не распространяется на те части корпуса, которые находятся в пределах 150 мм от дымохода. Это также не распространяется на те части прибора, которые способствуют передаче тепла, или на детали, которые находятся на высоте более 1,8 м над уровнем пола при установке прибора.
Части устройства, предназначенные для размещения в непосредственной близости от пола или других поверхностей, не должны нагреваться до температуры, представляющей опасность в окружающей среде, как указано в инструкциях по монтажу.
В условиях испытаний в соответствии с
6.14.1 прибор используют до тех пор, пока подъем температуры корпуса не превысит 2 К/10 мин. Температуры наиболее горячих частей поверхности прибора измеряются подходящими средствами (например, термопарами) с точностью +/- 2 К с чувствительными элементами, приложенными к внешним поверхностям соответствующих частей.
6.14.4 Температура компонентов
a) Требование
Максимальная температура компонентов устройства не должна превышать максимальную температуру, указанную производителем отдельных компонентов.
Измерения температуры компонентов считаются удовлетворительными, если соблюдены требования формулы
tm <= ts + ta - 25 °C, (19)
где tm - максимальная температура, измеренная при испытании, °C;
ts - максимальная температура, указанная производителем компонента, °C;
ta - температура окружающей среды в помещении, °C.
Если максимальная температура компонента была указана для температуры окружающей среды, отличной от 25 °C, следует использовать ее.
Температуру компонентов измеряют при достижении теплового равновесия при испытании, описанном в
6.7, и после выключения прибора в конце испытания.
Температуры компонентов измеряются при помощи прикрепленных термопар, имеющих термоэлектрические спаи с точностью +/- 2 К. Могут использоваться альтернативные устройства эквивалентной точности.
Если максимальная температура указана и определена изготовителем компонента для конкретной точки на поверхности компонента, эта температура должна быть проверена при достижении теплового равновесия.
Если производитель компонента не определил конкретной точки или если электрический компонент сам может вызвать подъем температуры (например, автоматические запорные клапаны), температура компонента не измеряется. В этом случае температура окружающей среды измеряется на расстоянии 20 мм от компонента при помощи термопары или альтернативного устройства с точностью до +/- 2 К. Измеренную температуру окружающей среды необходимо проверять с учетом максимально допустимой температуры окружающей среды, как указано производителем компонента.
6.14.5 POCED (все приборы типов B4, B5, C1 и C3)
Если при установке в соответствии с инструкциями по монтажу любая часть POCED может находиться на расстоянии менее 25 мм от горючих частей корпуса здания, то необходимо провести испытание в соответствии с
6.14.5, перечисление b).
В конце испытания максимальное превышение температуры POCED не должно превышать температуру окружающей среды более чем на 50 К.
Если при установке в соответствии с инструкциями по монтажу требуется, чтобы POCED был заключен в другой канал, воздуховод или изоляцию, когда он проходит через горючую стену или потолок, внешние температуры этого канала, воздуховода или изоляции, то проводится испытание в соответствии с
6.14.5, перечисление c).
В конце испытания максимальный подъем температуры на внешней поверхности канала, воздуховода или изоляции, окружающей POCED, не должен превышать температуру окружающей среды более чем на 50 К.
b) Процедура испытания N 1
Установите прибор в соответствии с
6.1.5.3 и прикрепите спаи термопар к внешней поверхности тех частей POCED, которые могут находиться на расстоянии менее 25 мм от горючих частей корпуса здания. Термопары должны использоваться в соответствии с EN 60584-1 с предельными значениями точности используемого термоэлектрического напряжения в соответствии с классом 2 EN 60584-1.
Прибор поставляется с одним из эталонных газов, указанных в
6.1.1, в соответствии с его категорией, и настраивается в соответствии с
6.1.3.2.1.
Испытание проводится при работе прибора с номинальным подводимым теплом. Все измерения проводятся при достижении теплового равновесия. Рекомендуется, чтобы для этого испытания прибор был помещен в комнату с температурой окружающей среды примерно 20 °C.
c) Процедура испытания N 2
Устанавливают прибор в соответствии с
6.1.5.3. Канал, воздуховод или изоляция, закрывающие POCED, должны быть установлены в соответствии с инструкциями по монтажу. Этот канал, воздуховод или изоляция должны иметь такие размеры и расположение, чтобы они охватывали часть POCED длиной 350 мм, как можно ближе к прибору, насколько это позволяют инструкции по монтажу.
Прикрепляют спаи термопар к внешней поверхности канала, воздуховода или изоляции, а затем закрывают канал, воздуховод или изоляцию слоем изоляции толщиной 25 мм. Термопары должны использоваться в соответствии с EN 60584-1:2013 с предельными значениями точности используемого термоэлектрического напряжения в соответствии с классом 2 EN 60584-1.
Прибор поставляется с одним из эталонных газов, указанных в
6.1.1, в соответствии с его категорией, и настроенным в соответствии с
6.1.3.2.1.
Испытание проводится при работе прибора с номинальным подводом тепла. Все измерения проводятся при достижении теплового равновесия. Рекомендуется, чтобы для этого испытания прибор был помещен в комнату с температурой окружающей среды примерно 20 °C.
6.15 Тепловой цикл теплообменника
a) Требование
a) в конце каждых 2000 циклов работы горелка должна работать правильно при работающем вентиляторе распределения воздуха, и при визуальном осмотре теплообменника (не снимая его с прибора) не должно быть трещин, отверстий или перфораций в теплообменнике, видимых невооруженным глазом;
b) по окончании 5000 рабочих циклов в теплообменнике не должно быть видимых невооруженным глазом трещин, отверстий или перфораций.
Примечание - Если физическая форма теплообменника или принятый тип управления делают такое испытание неприемлемым, эквивалентное испытание может быть разработано и согласовано путем проведения переговоров между производителем и уполномоченным органом. Это относится ко всем приборам независимо от полезного подвода тепла.
Необходимо провести испытание для оценки характеристик теплообменника в условиях термоциклирования.
Перед проведением испытания элементы теплообменника тщательно проверяются. Выявляются производственные отклонения (например, повреждение инструмента, плохая сварка, небрежная сборка) насколько это возможно, и не учитываются при оценке испытания. Должны быть предприняты все необходимые действия для защиты других компонентов, на которые может быть оказано неблагоприятное воздействие во время испытания, и во избежание вредного воздействия на теплообменник.
Прибор устанавливают, как описано в
6.1.5.
Испытание проводится при нормальном давлении с использованием соответствующего эталонного газа.
К корпусу устройства отключения при перегреве присоединяется термопара, подсоединенная к независимому контроллеру. Устройство контроля температуры воздуха отключается, и прибор работает до тех пор, пока не сработает устройство отключения при перегреве, которое отключит подачу газа к основной горелке. Температура, измеренная термопарой в момент отключения, регистрируется независимым контролем.
Затем отключается устройство отключения при перегреве, его заменяют независимой системой управления, чтобы отключить прибор при температуре на 10 К выше температуры, зарегистрированной термопарой ранее.
Примечание - Если прибор оснащен настраиваемым устройством ограничения перегрева в дополнение к устройству отключения при перегреве, первый может быть использован в качестве основы для проведения испытания (т.е. зафиксировано при температуре на 10 К выше заданного значения).
Затем прибор работает при включенном газе и выключенном вентиляторе распределения воздуха до тех пор, пока независимое управление не отключит прибор. Затем включается вентилятор распределения воздуха и работает в течение 3,5 мин.
Цикл повторяется 5000 раз.
6.16 Стойкость к атмосферным воздействиям
a) Требование
Прибор, предназначенный для установки на открытом воздухе, должен продолжать нормально работать, при этом основная горелка и запальная горелка должны работать нормально при испытании в условиях, указанных в
6.16, перечисление b).
Кроме того, при наличии смотровых люков или панелей, вода не должна накапливаться в какой-либо части прибора, чтобы его нормальная работа была нарушена.
Используется два независимых набора регулируемых разбрызгивателей, каждый показан на
рисунках 16 и
17. Каждый разбрызгиватель регулируется по высоте от 2 до 3 м над полом и в любом боковом направлении.
A - вид сверху; B - вид сбоку; a - датчик давления;
b - водяной клапан; c - фокальная точка водяной струи
Рисунок 16 - Расположение насадок и присоединенных
трубопроводов для испытания на устойчивость
против атмосферных влияний
A - узел; B - корпус; C - вставка; a - прямое отверстие,
максимальная длина 0,8 мм, отверстие с углом 115°, глубиной
0,8 мм; b - три паза квадратного сечения, глубиной 1,5 мм,
равномерно расположенные друг от друга (120°), угол спирали
60°, передние кромки по касательной к радиальным кромкам;
c - коническая резьба 1/2 дюйма по стандарту B.S.P.
Рисунок 17 - Данные о конструкции и сборке
распылительной головки
Два распылителя расположены напротив распылительных головок, равноудаленных от испытуемого прибора.
Прибор устанавливают, как описано в
6.1.5, на испытательной платформе такого размера, чтобы его было легко разместить, и снабжают эталонным газом, соответствующим категории прибора, при нормальном давлении.
Распылительные головки настроены на работу при давлении 350 мбар, а устройства отрегулированы на разную высоту и горизонтальные расстояния от прибора для определения наиболее важного места. Воздействие в месте, которое считается наиболее важным, сохраняется на протяжении всего испытания.
После настройки распылителей зажигают любую запальную горелку и проводят испытание в течение 15 мин. Затем зажигают основные горелки, и испытание продолжается еще 15 мин.
Испытание повторяется с прибором, расположенным в любом другом положении относительно распылительных устройств, которые могут потребоваться.
6.17 Дополнительные требования к конденсационным приборам
Если не указано иное, испытания проводят при общих условиях испытаний, как описано в
6.1.5.1. Особые условия настройки, необходимые для конденсационных воздухонагревателей, указаны ниже.
Если не указано иное, прибор оборудован дымоходом с минимальной длиной, указанной в инструкции по монтажу.
Температура нагреваемого воздуха и воздуха для горения на входе в устройство должна поддерживаться на уровне (20 +/- 5) °C, воздух для горения должен иметь относительную влажность (50 +/- 10)%.
6.17.2 Слив конденсата
a) Требование
Конденсат образуется только в предназначенных для этого точках и должен быть легким. Конденсат не должен попадать в части прибора, которые не предназначены для сбора и отвода конденсата, а также конденсат не должен мешать нормальной работе прибора. Это подтверждается испытанием, указанным в
6.17.2, перечисление b), и
6.17.3, перечисление b).
Прибор работает непрерывно в течение 4 ч в режиме конденсации при подводимом тепле, соответствующем образованию максимального количества конденсата.
6.17.3 Герметичность частей с конденсатом
a) Требование
Конденсат не должен вытекать из конденсатного контура прибора. Это подтверждается испытанием, проведенным в соответствии с
6.17.3, перечисление b).
6.17.4 Состав конденсата
a) Требование
Концентрации компонентов, указанные производителем, и измеренный состав должны соответствовать заявленным производителем. Это подтверждается испытанием, проведенным в соответствии с
6.17.4, перечисление b).
Если в проектной документации указан химический состав конденсата, то в течение последнего периода испытания в соответствии с
пунктом 6.17.2, перечисление b) достаточное количество конденсата собирается в подходящую (например, стеклянную) емкость из выпускного отверстия прибора, независимо от того, оборудован он системой нейтрализации или нет. Собранный конденсат анализируется на предмет концентраций компонентов, указанных в проектной документации.
6.17.5 Система нейтрализации компонента
a) Требование
Если воздухонагреватель снабжен системой нейтрализации конденсата, в течение последнего периода испытания в соответствии с
6.17.2, перечисление b) достаточное количество конденсата собирается в подходящую (например, стеклянную) емкость из выпускного отверстия прибора. Это может быть конденсат, собранный в соответствии с
6.17.4, перечисление b). Измеряется величина pH этого конденсата.
6.17.6 Система слива конденсата
6.17.6.1 Емкость
a) Требование
Размеры системы слива конденсата или мощность насоса для слива конденсата должны быть такими, чтобы можно было слить максимальное количество конденсата, который может образоваться в экстремальных условиях. Это подтверждается испытанием, проведенным в соответствии с
6.17.6.1, перечисление b).
Это проверяется при помощи введения в дренажную систему следующих эквивалентных норм воды:
a) для природного газа - 2 л/ч воды на м3/ч природного газа;
b) для пропана - 3 л/ч воды на м3/ч пропана;
c) для бутана - 4 л/ч воды на м3/ч бутана.
Минимальный объем воды, используемой для этого испытания, составляет 2 л. Если слив конденсата является комбинированным сливом для контура сгорания и дымохода, то указанные выше объемы увеличиваются в два раза.
Примечание - Приведенные выше объемы учитывают возможность попадания дождя или снега в дымоходную систему, разработанную некоторыми производителями.
6.17.6.2 Действия в случае блокировки или неисправности насоса
a) Требование
Блокировка слива конденсата или отключение насоса для слива конденсата не должны приводить к концентрации CO в продуктах сгорания выше 0,1%, а утечка конденсата не должна происходить до аварийного отключения или блокировки. Это подтверждается испытанием, проведенным в соответствии с
6.17.6.2, перечисление b).
Прибор работает непрерывно в режиме конденсации при номинальном подводимом тепле. При заблокированном сливе конденсата или при отключенном насосе для слива конденсата прибор отключить. Для ускорения испытания в контур конденсации можно добавить воду.
6.17.7 Герметичность контура сгорания
a) Требование
| | ИС МЕГАНОРМ: примечание. В официальном тексте документа, видимо, допущена опечатка: пункт 6.17.6.3 отсутствует. | |
Водоотделитель или сифон должны иметь водонепроницаемое уплотнение не менее 25 мм. Это подтверждается испытанием, проведенным в соответствии с 6.17.6.3, перечисление b).
b) Процедура испытания
Когда прибор установлен с максимальной длиной дымохода, указанной в инструкции по монтажу, и работает с максимальным давлением в камере сгорания, уровень воды в водоотделителе или сифоне измеряется.
6.17.8 Ограничение температуры продуктов сгорания
a) Требование
| | ИС МЕГАНОРМ: примечание. В официальном тексте документа, видимо, допущена опечатка: пункт 6.17.6.4 отсутствует. | |
Если предусмотрено устройство для ограничения температуры продуктов сгорания, как указано в
5.14.4, температура измеряемых продуктов сгорания не должна превышать максимально допустимую рабочую температуру для материалов контура сгорания и материалов сгорания, указанную в проектной документации. Это подтверждается испытанием, проведенным в соответствии с 6.17.6.4, перечисление b).
Срабатывание устройства ограничения температуры продуктов сгорания должно приводить к энергонезависимой блокировке.
b) Процедура испытания
Прибор устанавливается в соответствии с
6.17.1 и инструкциями по монтажу и работает при номинальном подводимом тепле. Прибор поставляется с одним из соответствующих эталонных газов для данной категории прибора.
После достижения теплового равновесия устройство отключения при перегреве прибора или устройство ограничения перегрева отключаются, вентилятор нагнетания воздуха отключается. Температура продуктов сгорания измеряется до выключения прибора устройством ограничения температуры продуктов сгорания.
6.18 Требования к приборам, оборудованным горелками с искусственной тягой
6.18.1 Требования к приборам, состоящим из корпуса воздушного отопительного агрегата и горелки с искусственной тягой, собранным вместе производителем прибора
Корпус воздушного отопительного агрегата должен быть оснащен горелкой с искусственной тягой, которая продается вместе с корпусом воздухонагревателя. Этот узел должен быть испытан в соответствии с положениями настоящего европейского стандарта и соответствовать ему.
6.18.2 Требования к приборам, состоящим из корпуса воздушного отопительного агрегата и горелки с искусственной тягой, спроектированным и продаваемым отдельно
Корпус воздушного отопительного агрегата должен быть оснащен различными горелками в составе различных узлов. Один из этих узлов должен быть испытан в соответствии с настоящим стандартом и соответствовать ему.
Результаты, полученные на этом испытуемом узле, могут распространяться без дополнительных испытаний других узлов, созданных с таким же корпусом воздушного отопительного агрегата и другими горелками, при условии, что критерии, указанные в
приложении H, соблюдены для этих других узлов.
7.1 Общие условия испытания
7.1.1 Принцип
Измерения эффективности подходят для приборов типов B и C.
7.1.2 Испытательное помещение
Помещение должно хорошо вентилироваться, но быть без сквозняков, которые могут повлиять на работу прибора. Комнатная температура должна поддерживаться на уровне (20 +/- 5) °C и в ходе испытания не должна изменяться более чем на 2 К.
Прибор установлен в соответствии с
6.1.5 и работает в соответствии с инструкциями по монтажу с эталонным газом (см. EN 437), за исключением того, что приборы типа C
3 устанавливаются на каналах для воздуха и продуктов сгорания наименьшей длины (минимальное сопротивление), указанной в инструкциях по монтажу, и тип B <= 70 кВт устанавливается с использованием самого широкого испытательного дымохода, указанного в инструкциях по монтажу.
7.2 Термическая эффективность
Термическая эффективность определяется методом потерь в дымоходе на основании измерений концентрации CO2 (или O2) и температуры продуктов сгорания.
Минимальная эффективность должна составлять 84% (на основании NCV) для приборов без конденсации и 90% (на основании NCV) для приборов с конденсацией при испытаниях в соответствии с
7.2.2,
7.2.3,
7.2.4 и
7.2.5.
Прибор поставляется со стандартным распределенным газом или эталонным газом, соответствующим его категории. Для приборов с полезным подводом тепла <= 70 кВт прибор работает в пределах +/- 2% от указанного подводимого тепла в сравнении с максимальным статическим давлением в канале подачи теплого воздуха, рекомендованного в инструкциях по монтажу. Скорость вентилятора такая, что подъем температуры нагнетаемого воздуха согласно инструкциям по монтажу составляет +/- 5 К, если прибор работает с максимальным номинальным подводимым теплом. Для приборов с полезным подводом тепла > 70 кВт прибор работает с минимальным нагнетаемым воздухом, заявленным в инструкции по монтажу. Концентрация CO2 (или, при необходимости, O2) и температура продуктов сгорания измеряются при помощи подходящего зонда, включающего в себя устройство для измерения температуры, расположенного во вторичном дымоходе или канале продуктов сгорания, в зависимости от ситуации. Скорость отбора проб продуктов сгорания для измерения температуры составляет примерно 100 дм3/ч (100 л/ч).
Испытательные зонды, которые будут использоваться для измерения, приведены в
приложении K.
7.2.3 Процедура испытания
Если прибор установлен и отрегулирован, как описано в
7.1.3, прибор работает в течение времени, достаточного для достижения теплового равновесия. Затем производятся измерения температуры и концентрации CO
2 в продуктах сгорания и в воздухе для горения.
Точность эффективности, рассчитанной по измеренным значениям, должна находиться в пределах +/- 2%. Показатели точности, указанные в
приложении I, можно использовать в качестве руководства.
7.2.5 Дополнительное испытание для приборов с модуляцией или высоким/низким контролем
Если прибор имеет модуляцию или высокий/низкий контроль, проводится дополнительное испытание и измеряется эффективность, как указано в
7.2.1 -
7.2.4, при этом прибор настраивается на минимальную скорость.
7.3 Измерение потока нагретого воздуха
7.3.1 Общие положения
Объемный расход нагретого воздуха измеряется для всех приборов типов B и C.
Приборы устанавливают в соответствии с
7.1.3, прибор работает в течение времени, достаточного для достижения теплового равновесия.
Расход воздуха может быть получен с использованием методов испытаний, основанных на использовании приемника воздушных давлений или диафрагмы.
Поток воздуха следует измерять при номинальном и минимальном подводимом тепле, что дает

и

соответственно.
Температура воздуха, подаваемого воздухонагревателем, и температура воздуха на входе в воздухонагреватель должны измеряться в начале и в конце испытания на измерение расхода воздуха. Повышение температуры воздуха должно основываться на среднем значении двух измерений.
7.3.2 Методы с использованием статической трубки Пито
Методы испытаний для измерения объемного расхода с использованием статической трубки Пито описаны в ISO 3966. Этот метод использует измеренные дифференциальные давления для расчета локальных скоростей. Расход можно получить путем интеграции скорости.
Этот метод может использоваться для воздуховодов круглого и прямоугольного сечения.
7.3.3 Методы с использованием диафрагмы с отверстиями
Методы испытаний для измерения объемного расхода с использованием диафрагмы описаны в EN ISO 5167-1 и EN ISO 5167-2. Этот метод основан на установке диафрагмы с отверстиями в воздуховоде, которая вызывает разницу статического давления между входной и выходной сторонами пластины.
Диафрагмы с отверстиями могут использоваться только в том случае, если воздухораспределительный канал является круглым с диаметром D, где:
50 мм <= D <= 1000 мм.
А в трубе числа Рейнольдса расхода воздуха >= 5000.
7.4 Расчет тепловой эффективности
Тепловая эффективность устройства (на основе общей теплотворной способности), выраженная в процентах, определяется при номинальном и минимальном подводимом тепле в инструкциях по монтажу с использованием следующих формул в зависимости от типа газа:
G20 | | (20) |
G25 | | (21) |
G30 (бутан) | | (22) |
G31 (пропан) | | (23) |
где

- тепловая эффективность;
%CO2 - CO2 в продуктах сгорания, %;
t1 - средняя температура воздуха для горения, °C;
t2 - средняя температура продуктов сгорания, °C.
Для приборов без конденсации S = 0.
Для конденсационных приборов значение S определяется по формулам:
G20 | S = mcond(6,40 + 0,0050·(t2 - t1)); | (24) |
G25 | S = mcond(7,50 + 0,0060·(t2 - t1)); | (25) |
G30 | S = mcond(1,91 + 0,0015·(t2 - t1)); | (26) |
G31 | S = mcond(2,50 + 0,0020·(t2 - t1)), | (27) |
где mcond - сумма образованного конденсата, кг/м3.
7.5 Эффективный КПД сезонного отопления помещений
7.5.1 Общие положения
Полученные формулы основаны на методе, указанном в
приложении F.
7.5.2 При определении эффективности сезонного отопления помещений газовыми воздухонагревателями учитываются влияющие параметры:
a) сезонный - тепловая эффективность при номинальном и минимальном подводимом тепле;
b) эффективность выбросов;
c) потребление постоянного контрольного пламени (если применимо);
d) потребление электроэнергии;
e) способ транспортировки воздуха для горения.
Эффективность сезонного отопления помещений

определяется в виде:

(28)
где

- эффективность сезонного отопления помещений в активном режиме, в %;
F(
i) - поправки, рассчитанные в соответствии с
7.5.5, и выраженные в %.
Эффективность сезонного отопления помещений в активном режиме рассчитывается следующим образом:

(29)
где

- эффективность сезонной тепловой энергии в активном режиме, в %;

- эффективность эмиссии для определенного потока воздуха, в %.
7.5.3 Расчет эффективного к.п.д. сезонной тепловой энергии
Эффективность сезонной тепловой энергии

рассчитывается следующим образом:

(30)
где

- эффективный КПД при номинальной (максимальной) нагрузке, в % и основана на GCV;

- эффективный КПД при минимальной нагрузке, в % и основана на GCV;
Fenv - коэффициент потерь в оболочке теплогенератора, в %.
7.5.4 Расчет потерь в оболочке
Коэффициент потерь в оболочке Fenv зависит от предполагаемого размещения устройства и рассчитывается следующим образом:
Если воздухонагреватель будет установлен в отапливаемом помещении, то
Fenv = 0. (31)
Если защита от проникновения воды части изделия, в которую встроен теплогенератор, имеет степень защиты IPx4 или выше (степень защиты IP согласно 4.1 EN 60529), коэффициент потерь в оболочке зависит от теплопроводности оболочки теплогенераторов в соответствии с
таблицей 14.
Таблица 14
Коэффициент потерь в оболочке теплогенератора
Коэффициент теплоотдачи U (Вт/м2·К) | Коэффициент Fenv |
U <= 0,5 | 0,4% |
0,5 < U <= 1,0 | 0,6% |
1,0 < U <= 1,4 | 1,0% |
1,4 < U <= 2,0 | 1,5% |
Нет требований | 5,0% |
7.5.5 Расчет эмиссионной эффективности 
Эмиссионная эффективность

рассчитывается по формуле

(32)
где Pnom - выходная мощность при номинальной (максимальной) нагрузке, выраженная в кВт;
Pmin - выходная мощность при минимальной нагрузке, выраженная в кВт;
AFnom - расход воздуха при номинальной (максимальной) нагрузке, выраженный в м3/ч, скорректированный до эквивалента 15 °C (V15 °C);
AFmin - расход воздуха при минимальной нагрузке, выраженный в м3/ч, скорректированный до эквивалента 15 °C (V15 °C).
Эмиссионная эффективность потока воздуха основана на температуре 15 °C. В случае, если прибор предназначен для другой температуры (t), фактический расход воздуха V должен быть пересчитан в эквивалентный поток воздуха V15 °C по формуле

(33)
где V15 °C - эквивалент потока воздуха при 15 °C;
Vact - фактический расход воздуха;
t - фактическое увеличение температуры.
7.5.6 Расчет 

- это суммирование разных поправочных коэффициентов, выражено в процентных точках.

(34)
a) Поправочный коэффициент F(1) для адаптации тепловой мощности учитывает способ адаптации продукта к тепловой нагрузке (которая может быть одноступенчатой, двухступенчатой, плавное регулирование) и диапазон нагрузки [1 - (Pmin/Pnom)], нагреватель может работать в современном диапазоне нагрузок данной технологии.
Для нагревателей с современным или более высоким диапазоном нагрузок можно принять во внимание полное значение параметра B, что приведет к более низкому значению поправочного коэффициента F(1). Для нагревателей с меньшим диапазоном нагрузки учитывается меньшее, а не максимальное значение B.
Значение
F(1) рассчитывается в соответствии с
таблицей 15.
Таблица 15
Расчет
F(1) в зависимости от контроля теплоотдачи
и диапазона нагрузки
Контроль теплоотдачи | Расчет F(1) | B рассчитывается в виде: |
Одна стадия (без диапазона нагрузки) | F(1) = 5% - B | B = 0% |
Две стадии (высокий диапазон нагрузки: 50%) | где B составляет максимум 2,5% |
Модуляция (высокий диапазон нагрузки: 70%) | где B составляет максимум 5% |
b) Поправочный коэффициент F(2) учитывает отрицательный вклад, выраженный в %, в сезонную энергоэффективность отопления помещения за счет дополнительного потребления электроэнергии для воздухонагревателей и определяется следующим образом

(35)
где elmax - потребление электроэнергии, когда продукция обеспечивает номинальную тепловую мощность без учета энергии, необходимой для транспортного вентилятора, кВт;
elmin - потребление электроэнергии, когда продукция обеспечивает минимальную тепловую мощность, без учета энергии, необходимой для транспортного вентилятора, кВт;
elsb - потребление электроэнергии, когда продукция находится в режиме простоя, кВт.
Или может применяться значение по умолчанию, указанное в EN 15316-1.
c) Поправочный коэффициент F(3) учитывает отрицательный вклад в сезонную энергоэффективность отопления помещений для систем сжигания с вентиляцией (воздух для горения, перемещаемый естественной тягой), поскольку необходимо учитывать дополнительные тепловые потери во время выключения горелки.
Для воздухонагревателей, в которых воздух для горения транспортируется при помощи естественной тяги:
F(3) = 3%.
Для воздухонагревателей, в которых воздух для горения транспортируется при помощи искусственной тяги:
F(3) = 0%.
d) Поправочный коэффициент F(4) учитывает отрицательный вклад, выраженный в %, в сезонную энергоэффективность отопления помещения за счет постоянного потребления энергии контрольным пламенем и рассчитывается следующим образом:

(36)
где значение "4" представляет собой отношение среднего периода нагрева (4000 часов/год) к средней продолжительности работы в рабочем состоянии (1000 часов/год).
Должна быть проведена оценка риска. В проектной документации должны быть указаны все неотъемлемые риски, связанные со сжиганием (использованием) газа и нагревом воздуха, и определены меры по рассмотрению этих рисков. По возможности риски следует исключить. Если это невозможно, конструкция прибора должна предусматривать меры защиты. Если меры защиты оставляют возможность сохранения остаточных рисков, в проектной документации это должно быть указано для пользователей, а также, требуются ли какие-либо особые меры предосторожности в руководствах по эксплуатации.
При проведении оценки рисков в проектной документации должны быть учтены риски, связанные с любой прогнозируемой эксплуатацией и использованием. Не являясь исчерпывающим списком, оценка рисков должна включать в себя влияние производственных дефектов на важные компоненты, отказ ключевых компонентов безопасности, риск ошибок установки (с учетом уровня квалификации установщиков в стране назначения) и потенциальные ошибки оператора. Анализ рисков должен учитывать не только предполагаемое использование прибора, но также прогнозируемое использование при проектировании, изготовлении и инструкции.
В проектной документации должен быть указан используемый метод оценки рисков. В методе должно быть указано опасное событие, вероятность наступления события и последствия, связанные с возникновением события.
Метод оценки риска и обоснование допущений в этой оценке должны быть задокументированы в проектной документации.
9 Маркировка и инструкции
9.1 Общие положения
Инструкции и предупреждения должны быть написаны на официальном языке страны или стран назначения и действительны для этой или этих стран.
Если инструкции и предупреждения написаны на официальном языке, который используется более чем в одной стране, страна или страны, в которых они действительны, должны быть идентифицированы при помощи кодов, указанных в
9.5.4.
Инструкции для стран, помимо тех, что указаны на приборе, могут поставляться вместе с прибором при условии, что в каждой инструкции имеется следующее начальное утверждение:
"Настоящие инструкции действительны только в том случае, если на приборе указан код следующей страны
<1>. Если этот код отсутствует на приборе, необходимо смотреть технические инструкции, в которых представлена необходимая информация о модификации прибора в соответствии с условиями использования для данной страны".
--------------------------------
<1> Например, "DE", следовательно, за исключением AT и CH.
9.2 Маркировка прибора
Приборы описываются по:
a) категории;
b) номинальному входу или диапазону регулируемых входов.
И для приборов типа A2 и A3:
c) принципу распределения теплого воздуха;
d) повышению проектной температуры.
На приборе должна быть табличка с техническими данными, которая надежно прикреплена к прибору так, чтобы предоставленная информация была видна и могла быть прочитана установщиком.
Табличка технических данных
9.2.4,
9.3 должна содержать нестираемые символы
<1>:
a) маркировка CE, за которой следует идентификационный номер уполномоченного органа, участвующего в этапе производственного контроля, и последние две цифры года, в котором была нанесена маркировка CE;
b) название производителя или идентификационный символ;
c) торговое наименование прибора;
d) характер и напряжение используемого тока, максимальная электрическая мощность (вольты, амперы, герцы и киловатты) для всех предполагаемых условий электроснабжения;
e) категория или категории прибора; если указано более одной категории приборов, каждая из этих категорий должна быть идентифицирована в отношении соответствующей страны или стран назначения.
--------------------------------
<1> Нестираемость маркировки проверяют при помощи испытания, проводимого в соответствии с EN 60335-1, 7.14.
9.2.3 Дополнительная информация, применимая к прибору
Следующая дополнительная информация должна быть указана или на фирменной табличке, или на отдельной этикетке:
a) адрес производителя;
c) товарный код (PIN), выданный уполномоченным органом;
d) символ торгового обозначения прибора;
e) тип газа по отношению к давлению и/или паре давлений, на который настроен прибор; любое указание давления должно быть идентифицировано относительно соответствующего индекса категории; если на приборе необходимо вмешательство для перехода от одного давления к другому в пределах пары давлений третьего семейства, необходимо отобразить давление, соответствующее текущей настройке прибора;
f) номинальное подводимое тепло и, при необходимости, диапазон потребляемой энергии для прибора с регулируемой потребляемой мощностью, выраженный в киловаттах, с указанием, основан ли он на низшей или высшей теплоте сгорания;
g) страна или страны прямого назначения устройства;
h) заданное давление регулируемых приборов;
i) если необходимо, степень защиты указывается в виде кода IP.
Дополнительно для приборов типа A2 и A3:
j) внешнее давление воздуха;
k) проектный расход воздуха;
l) повышение проектной температуры.
Никакая другая информация не должна указываться на приборе, если это может привести к путанице в отношении текущего состояния настройки прибора, соответствующей категории (или категорий) прибора и страны (или стран) назначения.
Для прибора с регулируемой номинальной потребляемой мощностью требуется место для установщика, чтобы отметить номинальное значение тепловой мощности, на которое оно было настроено во время ввода в эксплуатацию.
9.2.4 Предупредительные надписи
Для пользователя прибор должен быть промаркирован следующим образом:
"Прочтите руководство по эксплуатации перед зажиганием прибора".
Для установщика прибор должен быть промаркирован следующим образом:
"Настоящий прибор должен быть установлен в соответствии с действующими правилами и использоваться только в хорошо вентилируемом помещении. Ознакомьтесь с инструкциями перед установкой и использованием этого прибора".
Для приборов типов B11, B12, B13, B14, B42, B43 и B44 необходимо четко указать, что прибор предназначен для установки в пространстве, отделенном от жилых комнат и с соответствующей вентиляцией снаружи.
"Этот прибор ЗАПРЕЩАЕТСЯ устанавливать в помещении с горючими материалами".
Если прибор спроектирован как конденсационный прибор, то должно быть четко указано, что это конденсационный прибор, и что местные правила могут применяться в отношении отвода конденсата в виде стоков.
Конденсационные приборы типа C6 должны иметь прочно прикрепленную этикетку с указанием ограничений материалов, подходящих для использования с прибором, включая максимальную рабочую температуру, которую дымоход должен выдерживать во время использования. Этикетка должна указывать на инструкции по монтажу и находиться рядом с выходом продуктов сгорания.
Для приборов типов A2 и A3 прибор также должен содержать всю необходимую информацию, связанную с любым электрическим оборудованием, в частности, напряжение и ток, которые будут использоваться, и соответствующий код изоляции в соответствии с требованиями EN 60529.
Постоянные предупреждающие надписи должны располагаться на видном месте на приборе, указывая, чтобы прибор был выключен, и подача газа отключена перед выполнением любых операций по обслуживанию.
На упаковке должно быть указано следующее:
a) тип газа по отношению к давлению и/или паре давлений, на который настроен прибор; любое указание давления должно быть идентифицировано относительно соответствующего индекса категории; если на приборе необходимо вмешательство для перехода от одного давления к другому в пределах пары давлений третьего семейства, необходимо отобразить давление, соответствующее текущей настройке прибора;
b) страна или страны прямого назначения устройства;
c) категория или категории прибора; если указано более одной категории приборов, каждая из этих категорий должна быть идентифицирована в отношении соответствующей страны или стран назначения.
Кроме того, на упаковке должно быть указано:
"Данный прибор должен быть установлен в соответствии с действующими правилами и использоваться только в хорошо вентилируемом помещении. Ознакомьтесь с инструкциями перед установкой и использованием данного прибора".
Для приборов типов B11, B12, B13, B14, B42, B43 и B44 необходимо четко указать, что прибор предназначен для установки в помещении, отделенном от жилых комнат, с соответствующей вентиляцией снаружи.
"Этот прибор ЗАПРЕЩАЕТСЯ устанавливать в помещении с горючими материалами".
Если прибор спроектирован как конденсационный прибор, то должно быть четко указано, что это конденсационный прибор, и что местные правила могут применяться в отношении отвода конденсата в виде стоков.
Никакая другая информация не должна указываться на упаковке, если это может привести к путанице в отношении текущего состояния настройки прибора, соответствующей категории (или категорий) прибора и страны (или стран) назначения.
9.4 Профильная пластина
Если прибор оснащен профильной пластиной, положение пластины, соответствующее оптимальным скоростям воздуха для удовлетворительного сгорания номинального подводимого тепла или диапазона подводимого тепла, это должно быть четко указано на пластине.
Если в инструкции по монтажу допускается регулировка профильной пластины при вводе прибора в эксплуатацию, в инструкциях по вводу в эксплуатацию должна быть четко указана подробная информация для маркировки правильного положения пластины.
9.5 Использование символов на приборе и упаковке
9.5.1 Электроснабжение
Маркировка электрических величин должна соответствовать EN 60335-1.
9.5.2 Тип газа
Чтобы представить все индексы категории, соответствующие настройке прибора, необходимо использовать символ эталонного газа, который является общим для всех этих индексов, в соответствии с
таблицей 16.
Таблица 16
Символ типа газа | Указатель соответствующей категории |
| G110 | 1a |
G120 | 1b |
G130 | 1c |
Второе семейство | G20 | |
G25 | |
Третье семейство | G30 | |
G31 | |
<a> Если в текущем состоянии настройки прибор может использовать газы из разных групп, должны быть указаны все эталонные газы, соответствующие этим группам. <b> Когда прибор настроен на G20. <c> Когда прибор настроен на G25. <d> Применяется только к приборам, которые не нуждаются в регулировке между G30 и G31, или к приборам, которые нуждаются в регулировке, и которые настроены на G30. <e> Применяется только к приборам, для которых требуется регулировка между G30 и G31, и настроенным на G31. <f> Для приборов, которым требуется регулировка между G30 и G31, этикетка, связанная с настройкой на другой газ и другое давление пары давления, должна поставляться вместе с техническими инструкциями. |
Для удовлетворения потребностей, выраженных членами CEN, разрешено, чтобы их страны утверждали средства идентификации в дополнение к символу. Эти дополнительные средства указаны в
приложении C.
9.5.3 Нагнетающее давление газа
Нагнетающее давление газа может быть выражено числовым значением с использованием единицы измерения (мбар). Тем не менее, если необходимо пояснить это значение, следует использовать символ "p".
Названия стран назначения должны быть представлены символами, указанными в EN ISO 3166-1.
9.5.5 Категория
Категория может быть обозначена в соответствии с EN 437. Тем не менее, если это необходимо пояснить, термин "категория" следует обозначать словом "кат".
9.5.6 Прочая информация
Приведенные ниже символы являются необязательными, но рекомендуются под заголовком "предпочтительные", за исключением любых других символов, чтобы избежать использования множества различных обозначений.
Номинальное подводимое тепло горелки: Qn.
Номинальное подводимое тепло всех горелок прибора:

.
9.5.7 Излучения
В проектной документации может быть указано взвешенное значение выбросов NOX или выражаться в виде класса в соответствии со следующим списком:
a) класс 4 для значений, не превышающих 100 мг/кВт·ч;
b) класс 5 для значений, не превышающих 70 мг/кВт·ч.
Значение или класс могут быть указаны на приборе или быть указаны в технических характеристиках.
9.6 Инструкции
9.6.1 Технические инструкции для установщика
9.6.1.1 Инструкции по монтажу и вводу в эксплуатацию
9.6.1.1.1 Общие положения
Производитель должен предоставить все приборы с инструкциями по монтажу и вводу в эксплуатацию. Эти технические инструкции предназначены для установщика. В этих инструкциях должна быть указана информация, приведенная в
9.2.1,
9.2.2, за исключением двух последних цифр года, в котором была нанесена маркировка CE
(9.2.2, перечисление a),
9.2.3, за исключением серийного номера
(9.2.3, перечисление b),
9.2.4.
Кроме того, технические инструкции могут включать информацию, указывающую, что прибор был сертифицирован для использования в странах, помимо тех, что указаны на приборе
<1>. Если такая информация предоставляется, в инструкциях должно быть предупреждение о том, что модификация устройства и метод его установки необходимы для безопасного и правильного использования прибора в любой из этих дополнительных стран. Это предупреждение должно быть повторено на официальном языке каждой из этих стран. Кроме того, в инструкциях должно быть указано, как получить информацию, инструкции и детали, необходимые для безопасного и правильного использования в соответствующих странах. Предупреждение следует изложить:
"Перед установкой проверьте:
- чтобы местные условия распределения, характер газа и давления, а также регулировка текущего состояния прибора были совместимы;
- чтобы местные условия электроснабжения соответствовали электрическим характеристикам, указанным на табличке".
--------------------------------
<1> Страна косвенного назначения.
Принимая во внимание национальные правила в этой области, если таковые имеются, технические инструкции по монтажу и настройке:
a) должны объяснять условия установки прибора (на полу, стене и т.д.) и его аксессуаров (комнатный термостат и т.д.);
b) в них должно быть указано минимальное необходимое расстояние между поверхностями прибора (включая поверхности POCED в случае приборов типов B4, B5, C1 и C3) и любыми близлежащими стенами;
c) должны содержать все меры предосторожности, которые необходимо предпринять, чтобы избежать перегрева пола, стен или потолка, если они сделаны из горючих материалов. Эти меры предосторожности должны включать подробную информацию о любой изоляции или воздуховоде, необходимом, когда POCED проходит через стену или потолок, изготовленные из горючих материалов;
d) должны указывать, что в инструкциях также должны быть указаны минимальная и максимальная температуры окружающей среды, при которой прибор предназначен для работы;
e) должны включать тепловую мощность прибора и класс NOX, если он заявлен производителем.
Для приборов таблица технических данных должна включать подводимое тепло прибора, тепловую мощность, мощность любой запальной горелки, давление горелки, размеры форсунки, количество форсунок, размер газового соединения, размер дымохода, физические размеры, массу, данные электродвигателя, мощность вентилятора, объемы подачи воздуха и другие технические данные, которые могут потребоваться установщику и инженеру по вводу в эксплуатацию.
9.6.1.1.2 Дополнительные требования к приборам типов A2 и A3
Для приборов типов A2 и A3 в них должна быть представлена вся необходимая информация для регулировки расхода газа и воздуха. В них также должна быть указана таблица для категории прибора, в которой указаны различные значения теплотворной способности и настройки расхода газа в м3/час по отношению к средним условиям использования (15 °C, 1013,25 мбар) или в кг/час вместе с инструкциями по регулировке расхода воздуха.
В них должно быть разъяснено, что установщику необходимо смотреть табличку технических данных устройства для получения информации о расходах воздуха и газа для определенного устанавливаемого устройства.
В них должно быть разъяснено, что установщику необходимо смотреть табличку технических данных устройства для получения информации о расходах воздуха и газа для определенного устанавливаемого устройства.
В них должен быть указан максимальный и минимальный перепад давления на любой профильной пластине.
| | ИС МЕГАНОРМ: примечание. В официальном тексте документа, видимо, допущена опечатка: пункт 5.9.7 отсутствует. | |
Если настройка устройства проверки воздуха имеет важное значение для ввода прибора в эксплуатацию, в них должна быть указана информация о правильной настройке прибора и средствах герметизации или блокировки устройства после настройки. Если прибор не имеет регулятора температуры воздуха, в инструкциях должно быть указано место, установка и настройка регулятора температуры воздуха, поставляемого изготовителем, в соответствии с требованиями 5.9.7.
В них должно быть представлено руководство для установщика, чтобы пределы воздействия на выбросы диоксида углерода (CO2) в отапливаемом помещении поддерживались в соответствии с локальными требованиями по ограничениям выбросов.
Примечания
1 В
приложении J представлены рекомендации по расчетам, основанным на эталонном газе типа G20. Значения требований к CO
2 и воздуху для горения для других газов приведены в
таблице J.1.
2 Пределы выбросов других газов, содержащихся в продуктах, не будут превышены, если поддерживается предельное значение CO2.
В них должна быть указана сборка деталей, которые можно заменять, а также смазка кранов, электродвигателя и вентилятора, а также очистка.
Для облегчения понимания в технических инструкциях должно быть указано описание прибора и заменяемых или переоборудованных деталей с иллюстрацией и, при необходимости, пронумерованными ключами для основных деталей, подлежащих очистке, обслуживанию или замене.
9.6.1.1.3 Дополнительные требования к приборам типов B и C
Для приборов типов B11, B12, B13 и B14 должна быть указана минимальная высота дымохода для прибора и, при необходимости, также должен быть описан метод крепления отвода тяги и соединительной детали для дымохода. В них должен быть указан метод проверки утечки продуктов сгорания из отвода тяги.
Для приборов типа B14 в инструкциях по монтажу должен быть указан метод регулировки любой заслонки или другого устройства управления воздухом для горения.
Для приборов типов B22, B23 должны быть указаны минимальное и максимальное эквивалентное сопротивление или другая подобная информация для сборки системы дымохода, а также приведена подробная информация для расчета эквивалентного сопротивления, например, допуск на изгибы и т.д.
Для всех приборов типа B
4, B
5 и типа C, за исключением типа C
6, должна быть указана максимальная и минимальная длина каналов нагнетания воздуха и продуктов сгорания или минимальное и максимальное эквивалентное сопротивление
<1>.
--------------------------------
<1> Для приборов типов B
4, B
5, C
1 и C
3 минимальное и максимальное эквивалентное сопротивление соответствует POCED, поставляемому или указанному производителем с минимальным и максимальным сопротивлением потоку. Следует учитывать сопротивление потоку любого вывода, поставляемого или указанного в инструкциях по монтажу, а для приборов типа C - сопротивление потоку в воздуховоде.
Для всех этих приборов в спецификации должно быть указано описание POCED, включая любые изгибы, материалы его конструкции и любые критические допуски, например, по длине, диаметру, толщине, глубине вставки и т.д.; метод установки POCED, включая все необходимые опорные элементы, способ крепления к зданию и заявление, подтверждающее, что POCED может выдержать собственный вес.
Для приборов типа B в них также должны быть указаны минимальные требования к вентиляции прибора.
| | ИС МЕГАНОРМ: примечание. Текст дан в соответствии с официальным текстом документа. | |
Для приборов типов B11AS, B11BS, B12AS, B12BS, B13AS, B13BS, B14AS, B42BS, B42AS, B42BS, B43AS, B43BS, B44AS и B44BS должны быть инструкции в отношении устройства измерения атмосферы и устройства безопасности по выпуску продуктов сгорания, а также должно быть дополнительно указано, что:
a) устройство является очень важным предохранительным устройством;
b) устройство не подлежит настройке установщиком;
c) устройство не должно выводиться из строя;
d) при замене устройства или любой из его деталей должны использоваться только оригинальные детали производителя.
Для приборов типа C6 должны быть указаны максимально допускаемое падение давления и эквивалентное сопротивление, допустимые во впускном канале воздуха для горения и выпускном канале для продуктов сгорания, а также соответствующая температура и концентрация CO2 или массовый расход продуктов сгорания, чтобы можно было рассчитать возможный канал системы. Кроме того, в них должен быть указан метод расчета падения давления в системе воздуховодов с использованием вышеуказанных параметров.
Примечание - При проверке вышеупомянутых параметров, указанных в проектной документации, испытательный центр проверяет, чтобы отклонения температуры и концентрации CO2 продуктов сгорания находились в пределах 10 К и 0,5% соответственно. Если в проектной документации указан массовый расход, необходимо убедиться в том, что фактический массовый расход находится в пределах 5% от заявленного значения.
Для бесканальных приборов:
e) объясняется способ установки, расположения и настройки одиночных или множественных воздуховодов, поставляемых производителем;
f) предоставлена вся необходимая информация для регулировки расхода газа, включая метод герметизации регулировки;
g) включать в себя таблицу для категории прибора, в которой указаны различные значения теплотворной способности и настройки расхода газа в кубических метрах в час (м3/ч) по отношению к стандартным условиям (15 °C, 1013,25 мбар) или в килограммах в час (кг/час) вместе с инструкциями по регулировке расхода воздуха;
h) объясняются операции и настройки, которые должны проводиться при переходе с одного газа на другой, и, в частности, маркировка на деталях и форсунках, поставляемых для каждого из газов, которые могут быть использованы;
i) инструкции по настройке регуляторов соотношения газ/воздух (если разрешено) или других регуляторов, как их проверять, и что делать в случае неправильных настроек (если возможно), в частности, должны быть даны четкие ссылки на метод регулировки, настройки, необходимое оборудование и точность необходимого оборудования, должны быть объяснены последствия неточной настройки;
j) описывается обслуживание, замена и очистка функциональных частей, где это необходимо;
k) содержится описание устройства и заменяемых или переоборудованных деталей с иллюстрацией и, при необходимости, пронумерованный ключ для идентификации основных деталей, подлежащих очистке, обслуживанию или замене.
Если в инструкции по монтажу указано, что прибор подходит для использования в гаражах, то в инструкциях по монтажу должны быть учтены соответствующие национальные правила установки приборов.
Если прибор предназначен для использования на открытом воздухе, это должно быть четко указано в инструкции.
В дополнение к этим инструкциям, для приборов, запланированных как конденсационные, в инструкциях по монтажу должна быть указана следующая информация:
l) точные спецификации для дымохода, каналов для воздуха для горения и систем отвода конденсата, включая количество конденсата, производимого прибором и/или его системой дымохода; в особенности, следует обратить внимание на необходимость предотвращения горизонтальных участков дымоходов и водостоков;
m) список соответствующих материалов, подходящих для использования в дымоходных системах, и любых действующих температурных пределов;
n) при необходимости инструкции по демонтажу теплообменника, в котором образуется конденсат;
o) инструкции по монтажу прибора в ситуациях, когда должна быть установлена система нейтрализации конденсата;
p) ссылка на национальные и/или местные правила, которые могут применяться в отношении слива конденсата;
q) обратить внимание установщика на возможность замерзания конденсата в системе отвода конденсата и наружных элементах дымохода;
r) любые специальные инструкции по вводу в эксплуатацию и обслуживанию.
9.6.1.2 Инструкции по преобразованию прибора
В инструкциях по преобразованию должна быть указана техническая информация о процедурах, которые необходимо соблюдать при переводе прибора с работы на одном газе в семействе на газ другого семейства или с одной газовой группы на другую в семействе.
В частности, в них должны быть разъяснены операции и регулировки, которые должны быть выполнены, и маркировка на деталях и форсунках, поставляемых для каждого из газов, которые могут использоваться.
9.6.2 Инструкции по применению и обслуживанию
9.6.2.1 Инструкции по применению прибора
Все приборы должны иметь руководства по эксплуатации от производителя. В руководствах по эксплуатации должна быть указана вся необходимая информация для безопасного и разумного использования прибора.
Должны быть предоставлены инструкции по освещению и отключению. Если они прикреплены к прибору, они должны находиться в доступном и хорошо видимом месте.
В инструкциях должна быть указана любая задержка, рекомендованная изготовителем после отказа от зажигания или отключения основной горелки.
Для приборов типов B11, B12, B13, B14, B42, B43 и B44 в инструкциях необходимо указать, что прибор предназначен для использования только в помещении, отделенном от жилых комнат, с соответствующей вентиляцией снаружи.
Если прибор может вызвать повышение температуры окружающей среды выше 85 °C, как описано в
6.4.3, перечисление a), это должно быть промаркировано следующим образом:
"Этот прибор ЗАПРЕЩАЕТСЯ устанавливать в помещении с горючими материалами".
В руководствах по эксплуатации внимание пользователя должно быть обращено на эту маркировку.
Кроме того, инструкции должны быть связаны с использованием различных элементов управления, которыми может быть оснащен прибор, с простой очисткой и обслуживанием прибора, а также упоминаться характер рекомендуемых материалов там, где это необходимо. В них также должно быть указано, что для установки, настройки и, при необходимости, перенастройки прибора для работы с другими газами требуется квалифицированный монтажник.
В инструкциях должно быть указано, необходимы ли какие-либо особые меры предосторожности при эксплуатации прибора, чтобы избежать риска возникновения угрозы для безопасности.
В них также должна быть указана рекомендуемая частота периодического обслуживания.
Помимо конденсационных приборов, руководство по эксплуатации должно содержать краткое описание работы воздухонагревателя. Должны быть рассмотрены следующие моменты:
a) прибор оборудован теплообменником, в котором образуется конденсат;
b) меры, принятые для отвода конденсата из прибора и дымоходной системы;
c) сливы конденсата не должны быть модифицированы или закупорены;
d) меры, которые необходимо принять в случае опасности замерзания конденсата в отношении дренажной системы и внешних компонентов дымохода;
e) при необходимости, необходимые действия и частота очистки кранов, сифонов и т.д. конденсата между интервалами обслуживания прибора;
f) если применимо, описание процедур и интервалов времени для замены реагентов в системе нейтрализации конденсата.
9.6.2.2 Инструкции по обслуживанию приборов
Все приборы должны иметь инструкции по обслуживанию от производителя. В инструкциях по обслуживанию должна быть указана частота обслуживания и объем сервисной программы, рекомендованной производителем. В них также должны быть указаны специальные инструменты, которые необходимы для любой процедуры обслуживания.
Процедура удаления или получения доступа к обслуживаемым частям или компонентам, вместе с рекомендуемыми работами по обслуживанию и соответствующими процедурами, должна быть четко определена.
Инструкции также должны включать в себя полные электрические, функциональные и электрические схемы, а также краткий список частей приборов и номера деталей элементов, которые, по мнению производителя, могут потребоваться для замены в течение установленного срока службы прибора.
Также должна быть сделана ссылка на необходимость консультации с производителем прибора перед заменой деталей, отличных от тех, что указаны или рекомендованы в инструкциях по обслуживанию.
В помощь при обслуживании должна быть представлена таблица поиска неисправностей. В инструкциях по обслуживанию также должны быть указаны линии или блок-схема, показывающие расположение газовых регуляторов.
В инструкциях по обслуживанию также должны быть указаны любые рекомендации по аварийному обслуживанию во влажных условиях, включая обеспечение защиты от атмосферных воздействий, для приборов, предназначенных для установки на открытом воздухе.
В инструкциях по обслуживанию необходимо указать на необходимость повторного ввода в эксплуатацию прибора после обслуживания.
Они должны касаться сборки деталей, которые можно заменить, а также смазки кранов, электродвигателя и вентилятора, а также очистки.
Производители должны указать в инструкциях, где требуется дополнительная осторожность, или где было бы целесообразно, чтобы любую из вышеуказанных работ осуществлял профессионал. Это не должно нарушать национальные требования в этом отношении.
9.7 Информационные требования к Директиве по экодизайну (2016/2281) локальных обогревателей
С 1 января 2018 года производители оборудования для воздушного отопления должны предоставлять следующую техническую информацию, подпадающую под действие Директивы по экодизайну N 2016/2281, реализующей Директиву
2009/125/ЕС Европейского парламента и Совета.
Информация должна быть предоставлена вместе с прибором в технических инструкциях и инструкциях по эксплуатации:
a) технические параметры, установленные законодательством;
b) соответствующая информация для утилизации по окончании установленного срока службы.
(справочное)
НАЦИОНАЛЬНЫЕ ОСОБЕННОСТИ
A.1 Общие положения
В каждой из стран, которая применяет настоящий стандарт, разрешается использовать только такие приборы, которые выполняют специальные условия газоснабжения соответствующей страны.
Для того, чтобы во время испытания устройства и во время его продажи можно было сделать правильный выбор из всех рассмотренных ситуаций, различные национальные особенности кратко изложены в
A.2 и
A.3.
A.2 Газовые соединения в разных странах
В
таблице A.1 показаны национальные особенности, связанные с различными типами газовых соединений, указанных в
5.1.6.1.
Таблица A.1
Разрешенные входные соединения
Страна | Приборы категорий I3+, I3p, I3b, I3b/p | Приборы других категорий |
Резьбовые соединения по | Прочие соединения | Резьбовые соединения по | Прочие соединения |
EN 10226-1 EN 10226-2 | EN ISO 228-1 | EN 10226-1 EN 10226-2 | EN ISO 228-1 |
AT | Да | - | Да | Да | - | - |
BE | Да | - | Да | - | - | - |
BG | - | - | - | - | - | - |
CH | - | - | - | - | - | - |
CY | - | - | - | - | - | - |
CZ | - | - | - | - | - | - |
DE | Да | - | Да | Да | - | - |
DK | Да | Да | Да | - | Да | - |
EE | - | - | - | - | - | - |
ES | - | - | - | - | - | - |
FI | - | - | - | - | - | - |
FR | - | Да | Да | - | Да | - |
GB | Да | - | Да | Да | - | Да |
GR | Да | - | Да | Да | - | - |
HU | - | - | - | - | - | - |
IE | Да | - | Да | Да | - | - |
IS | - | - | | | - | - |
IT | Да | - | Да | Да | - | - |
LT | - | - | - | - | - | - |
LU | - | - | - | - | - | - |
LV | - | - | - | - | - | - |
MT | - | - | - | - | - | - |
NL | Да | - | - | Да | - | - |
NO | - | - | - | | - | - |
PT | Да | Да | Да | Да | Да | Да |
RO | - | - | - | - | - | - |
SE | - | - | - | - | - | - |
SI | Да | Да | Да | Да | Да | Да |
SK | - | - | - | - | - | - |
A.3 Патрубок дымохода в разных странах
В
таблице A.2 представлены национальные особенности, связанные с диаметром стандартных дымоходов.
Таблица A.2
Диаметры стандартных дымоходов
Страна | Диаметры стандартных дымоходов (внешних), мм |
AT | 60 | 70 | 80 | 90 | 100 | 110 | 120 | 130 | 140 | 150 | 160 | 180 | 200 | |
BE | Все диаметры допустимы |
BG | | | | | | | | | | | | | | | | | |
CH | 60 | 70 | 80 | 90 | 100 | 110 | 120 | 130 | 150 | 160 | 170 | 180 | 200 | |
CY | |
CZ | |
DE | 60 | 70 | 80 | 90 | 100 | 110 | 120 | 130 | 150 | 200 | | | | | | | |
DK | Диаметры не стандартизированы |
EE | |
ES | |
FI | 90 | 100 | 110 | 130 | 150 | 180 | 200 | |
FR | 66 | 83 | 97 | 111 | 125 | 139 | 153 | 167 | 180 | |
GB | 76 | 102 | 127 | 153 | Металлические трубы (допуски 0, -1) |
GR | 60 | 70 | 80 | 90 | 100 | 110 | 120 | 130 | 150 | 180 | 200 | |
IE | 76 | 102 | 127 | 153 | Металлические трубы (допуски 0, -1) |
84 | 109 | 137 | 162 | Волокнистые цементные трубы (допуски +/- 3) |
IS | |
IT | 60 | 80 | 100 | 110 | 120 | 150 | |
LT | |
LU | |
LV | |
MT | |
NL | 60 | 70 | 80 | 90 | 100 | 110 | 130 | 150 | 180 | 200 | |
NO | |
PL | |
PT | 60 | 85 | 90 | 95 | 105 | 110 | 115 | 120 | 125 | 130 | 135 | 145 | 155 | 205 | 255 | 305 | 355 |
RO | |
SE | |
SL | 60 | 70 | 80 | 90 | 100 | 110 | 120 | 130 | 140 | 150 | 160 | 180 | 200 | |
SK | |
(обязательное)
B.1 Преобразование в категории в рамках ограниченного диапазона числа Воббе
Любой прибор, принадлежащий к одной категории, может быть отнесен к категории приборов, принадлежащих к другой категории, охватывающей более ограниченный диапазон числа Воббе, при условии соблюдения требований, указанных в
5.1.1,
5.2.2.2,
5.2.2.3 и
5.2.6, о том, что состояние преобразования соответствует стране (или странам) назначения, а информация, указанная на приборе, соответствует его настройке.
Как правило, такая эквивалентность признается без необходимости новых испытаний прибора.
Однако могут потребоваться дополнительные испытания с использованием давления и испытательных газов, действующих в это время в предполагаемой стране (или странах) назначения, если:
a) нагнетающее давление в стране (или странах), в которой прибор был испытан, отличается от давления в стране назначения;
b) прибор с регуляторами, даже если он опломбирован, был испытан в условиях первоначальной категории с испытательными газами, которые отличаются от тех, что используются в стране, где он будет продаваться;
c) требования к регуляторам (см.
5.2.6) в отношении существующей категории отличаются от требований новой категории.
Во всех случаях эти дополнительные испытания - это самое большее, что указано в
6.1.5.1.
Примеры
1 Прибор категории I2E для G20 при 20 мбар может быть отнесен к категории прибора категории I2H для G20 при 20 мбар без дополнительных испытаний. Если, однако, давление другое, испытания, указанные в 6.1.5.1, должны быть проведены после замены форсунки, если необходимо.
2 Прибор категории I2E+ для G20 при 20 мбар может быть отнесен к категории I2H для G20 при 20 мбар при условии, что он проходит соответствующие испытания, указанные в 6.1.5.1, после замены форсунки и после настройки регулятора в соответствии с требованиями пункта 5.2.6.
B.2 Преобразование в категории в пределах идентичного диапазона числа Воббе
Любой прибор, принадлежащий к одной категории, может быть отнесен к категории приборов, принадлежащих к другой категории, охватывающей идентичный диапазон числа Воббе, при условии, что выполняются требования, указанные в
5.1.1,
5.2.2.2,
5.2.2.3 и
5.2.6, о том, что его состояние преобразования соответствует стране (или странам) назначения и что информация, указанная на приборе, соответствует его настройке.
Как правило, такая эквивалентность признается без необходимости новых испытаний прибора.
Однако могут потребоваться дополнительные испытания с использованием давления и испытательных газов, действующих в это время в предполагаемой стране (или странах) назначения, если:
a) нагнетающее давление в стране (или странах), в которой прибор был испытан, отличается от давления в стране назначения;
b) прибор с регуляторами, даже если он опломбирован, был испытан в условиях первоначальной категории с испытательными газами, которые отличаются от тех, что используются в стране, где он будет продаваться;
c) требования к регуляторам (см.
5.2.6) в отношении существующей категории отличаются от требований новой категории.
Во всех случаях эти дополнительные испытания - самое большее, что указано в
6.1.5.1.
Примеры
1 Прибор категории I2E+ может быть отнесен к категории I2Esi или I2Er при условии, что он проходит испытания, указанные в пункте 6.1.5.1 для испытательного давления и испытательных газов, относящихся к категории I2Esi или I2Er, и с соответствующими форсунками и настройками. В этих настройках должны учитываться требования, указанные в 5.2.6.
2 Прибор категории I2Esi или I2Er может быть отнесен к категории I2E+ при условии, что он соответствует испытаниям, указанным в пункте 6.1.5.1 для испытательного давления, соответствующего категории I2E+. Кроме того, любые регуляторы должны быть заблокированы и опломбированы в соответствующих положениях с учетом требований пункта 5.2.6.
Если предполагаемой страной назначения является Бельгия, Италия или Польша, следует учитывать особые условия, указанные в EN 437.
B.3 Преобразование в категории в более широком диапазоне числа Воббе
Прибор, принадлежащий к одной категории, может быть отнесен к другой категории числа Воббе, если он соответствует всем конструктивным требованиям предлагаемой новой категории.
Кроме того, прибор должен быть испытан, как указано в
6.1.5.1, с использованием испытательных газов и испытательного давления для предложенной новой категории. При необходимости следует учитывать особые условия, указанные в EN 437.
(справочное)
ИДЕНТИФИКАЦИЯ ВИДОВ ГАЗОВ ПРИ ИСПОЛЬЗОВАНИИ В РАЗНЫХ СТРАНАХ
Таблица C.1
Средства идентификации типов газов
при использовании в разных странах
| Тип газа |
G110 | G120 | G130 | G150 | G20 | G25 | G30 | G31 |
AT | | | | | Erdgas | | |
BE | | | | | Aardgas, Gaz naturel | Aardgas, Gaz naturel | Butaan, Butane | Propaan, Propane |
BG | | | | | | | | |
CH | | | | | Erdgas H | | Butan | Propan |
CY | | | | | | | | |
CZ | | | | | | | | |
DE | | | | | Erdgas E W0, (12,0 - 15,7) kWh/m3 0 °C | Erdgas LL W0, (10,0 - 13,1) kWh/m3 0 °C | |
Butan | Propan |
DK | Bygas | | | | Naturgas | | F-Gas | F-Gas |
EE | | | | | | | | |
ES | Gas manufacturado | | Aire propanado | Aire metanado | Gas natural | | Butano | Propano |
FI | | | | | Maakaasu, Naturgas | | Butaani, Butan | Propaani, Propan |
| | | Air  / Air  | | Gas naturel Lacq | Gas naturel Groningue | Butane | Propane |
GB | | | | | Natural Gas | | Butane | Propane |
GR | | | | | | | | |
HU | | | | | | | | |
IE | | | | | Natural Gas | | Butane | Propane |
IS | | | | | | | | |
IT | Gas di Citta | | | | Gas naturale/ Gas metano | | GPL |
LT | | | | | | | | |
LU | | | | | | | | |
LV | | | | | | | | |
MT | | | | | | | | |
NL | | | | | | Aardgas | Butaan | Propaan |
NO | | | | | | | Butan | Propan |
PL | | | | | | | | |
PT | | | | | Gaz Natural | | Butano | Propano |
SE | | | | | | | | |
SI | | | | | Zemeljski plin | |  ni naftni plin (UNP) Butan |  ni naftni plin (UNP) Propan |
SK | | | | | | | | |
<a> Значение символа, соответствующего виду газа, следует подробно объяснить в технических инструкциях. Что касается системы и ее упаковки, если производитель предусматривает дополнительную маркировку для пояснения символа, такой текст должен соответствовать описанию, указанному в этой таблице. В случае пар давления необходимо указать два описания семейства. |
(обязательное)
МЕТОД ПОДАЧИ ВОЗДУХА И ОТВОДА ПРОДУКТОВ СГОРАНИЯ
D.1 Тип A: Прибор, не предназначенный для подсоединения к дымоходу или устройству для отвода продуктов сгорания за пределы помещения, в котором установлен прибор;
тип A1: Прибор типа A без вентилятора;
тип A2: Прибор типа A с вентилятором ниже по потоку от камеры горения;
тип A3: Прибор типа A с вентилятором на входе камеры горения.
D.2 Тип B: Прибор, предназначенный для подключения к дымоходу, отводящему продукты сгорания за пределы помещения, в котором находится прибор. Воздух для горения вытягивается прямо из помещения;
тип B1: Прибор типа B с переключателем тяги;
тип B11: Прибор типа B1 с естественной тягой;
тип B11AS: Прибор типа B11 с датчиком газовой среды;
тип B11BS: Прибор типа B11 с системой безопасности отвода продуктов сгорания;
тип B12: Прибор типа B1, предназначенный для дымохода с естественной тягой, с вентилятором по потоку от камеры горения/теплообменника и на входе переключателя тяги;
тип B12AS: Прибор типа B12 с датчиком газовой среды;
тип B12BS: Прибор типа B12 с системой безопасности отвода продуктов сгорания;
тип B13: Прибор типа B1, предназначенный для дымохода с естественной тягой, с вентилятором на входе камеры горения/теплообменника;
тип B13AS: Прибор типа B13 с датчиком газовой среды;
тип B13BS: Прибор типа B13 с системой безопасности отвода продуктов сгорания;
тип B14: Прибор типа B1 с встроенным вентилятором по потоку от камеры горения/теплообменника и переключателем тяги;
тип B14AS: Прибор типа B14 с датчиком газовой среды;
тип B14BS: Прибор типа B14 с системой безопасности отвода продуктов сгорания;
тип B2: Прибор типа B без переключателя тяги;
тип B22: Прибор типа B2 с вентилятором по потоку от камеры горения/теплообменника;
тип B23: Прибор типа B2 с вентилятором на входе камеры горения/теплообменника;
тип B4: Прибор типа B с переключателем тяги, который используется для соединения с окончанием дымохода через дымоход;
тип B41: Прибор с естественной тягой типа B4;
тип B41AS: Прибор типа B41 сдатчиком газовой среды;
тип B41BS: Прибор типа B41 с системой безопасности отвода продуктов сгорания;
тип B42: Прибор типа B4, предназначенный для дымохода с естественной тягой, с вентилятором по потоку от камеры горения/теплообменника и на входе переключателя тяги;
тип B42AS: Прибор типа B42 с датчиком газовой среды;
тип B42BS: Прибор типа B42 с системой безопасности отвода продуктов сгорания;
тип B43: Прибор типа B4, предназначенный для дымохода с естественной тягой, с вентилятором на входе камеры горения/теплообменника;
тип B43AS: Прибор типа B43 с датчиком газовой среды;
тип B43BS: Прибор типа B43 с системой безопасности отвода продуктов сгорания;
тип B44: Прибор типа B4 с встроенным вентилятором по потоку от камеры горения/теплообменника и с переключателем тяги;
тип B44AS: Прибор типа B44 с датчиком газовой среды;
Тип B44BS: Прибор типа B44 с системой безопасности отвода продуктов сгорания;
тип B5: Прибор типа B без переключателя тяги, который используется для соединения с окончанием дымохода через дымоход;
тип B52: Прибор типа B5 с вентилятором по потоку от камеры горения/теплообменника;
тип B52AS: Прибор типа B52 с датчиком газовой среды;
тип B52BS: Прибор типа B52 с системой безопасности отвода продуктов сгорания;
тип B53: Прибор типа B5 с вентилятором на входе камеры горения/теплообменника;
тип B53AS: Прибор типа B53 с датчиком газовой среды;
тип B53BS: Прибор типа B53 с системой безопасности отвода продуктов сгорания.
D.3 Тип C: Прибор, в котором цепь сгорания (подача воздуха, камера сгорания, теплообменник, отвод продуктов сгорания) изолирована от помещения, в котором установлен прибор.
Настоящий стандарт применяется к следующим приборам:
тип C1: Прибор типа C, который предназначен для соединения с горизонтальным выводом через воздуховоды, который одновременно подает свежий воздух к горелке и отводит продукты сгорания наружу через отверстия, которые являются либо концентрическими, либо близко друг к другу при аналогичных ветровых условиях;
тип C11: Прибор с естественной тягой типа C1;
тип C12: Прибор типа C1 с вентилятором по потоку от камеры горения/теплообменника;
тип C13: Прибор типа C1 с вентилятором на входе камеры горения/теплообменника;
тип C2: Прибор типа C, соединенный двумя своими воздуховодами с общей системой воздуховодов, обслуживающей более одного прибора. Эта система состоит из одного воздуховода, который подает воздух для горения и выводит продукты сгорания;
тип C21: Прибор с естественной тягой типа C2;
тип C3: Прибор типа C, который предназначен для соединения с вертикальным выводом через воздуховоды, который также пропускает свежий воздух в горелку и выводит продукты сгорания наружу через отверстия, которые или концентрические, или находятся достаточно близко, что находятся в аналогичном ветровом режиме;
тип C31: Прибор с естественной тягой типа C3;
тип C32: Прибор типа C3 с вентилятором по потоку от камеры горения/теплообменника;
тип C33: Прибор типа C3 с вентилятором на входе камеры горения/теплообменника;
тип C4: Прибор типа C, соединенный с общей системой воздуховодов, обслуживающей более одного устройства, через свои два воздуховода. Эта система состоит из двух воздуховодов, один из которых подает воздух для горения, а другой отводит продукты сгорания;
тип C41: Прибор с естественной тягой типа C4;
тип C6: Прибор типа C, предназначенный для соединения с отдельно утвержденной и продаваемой системой подачи воздуха для горения и отвода продуктов сгорания;
тип C62: Прибор типа C6 с вентилятором по потоку от камеры горения/теплообменника;
тип C63: Прибор типа C6 с вентилятором на входе камеры горения/теплообменника.
Подробная информация о типах приборов представлена в CEN/TR 1749.
(справочное)
E.1 Определение NOX
Подходящие методы испытаний и измерительное оборудование, необходимое для измерения NOX, указано в PD 6574:1994/CR 1404:1994.
Измерения NOX основаны на более низких значениях теплоты сгорания.
E.2 Расчет преобразования NOX
Таблица E.1
Преобразование значения выбросов NOX
для газов первого семейства
1·10-6 = 2,054 мг/м3 (1·10-6 = 1 см3/м3) | G110 |
мг/кВт·ч | мг/МДж |
O2 = 0% | 1·10-6 = | 1,714 | 0,476 |
1 мг/м3 = | 0,834 | 0,232 |
O2 = 3% | 1·10-6 = | 2,000 | 0,556 |
1 мг/м3 = | 0,974 | 0,270 |
Таблица E.2
Преобразование значения выбросов NOX
для газов второго семейства
1·10-6 = 2,054 мг/м3 (1·10-6 = 1 см3/м3) | G20 | G25 |
мг/кВт·ч | мг/МДж | мг/кВт·ч | мг/МДж |
O2 = 0% | 1·10-6 = | 1,764 | 0,490 | 1,797 | 0,499 |
1 мг/м3 = | 0,859 | 0,239 | 0,875 | 0,243 |
O2 = 3% | 1·10-6 = | 2,059 | 0,572 | 2,098 | 0,583 |
1 мг/м3 = | 1,002 | 0,278 | 1,021 | 0,284 |
Таблица E.3
Преобразование значения выбросов NOX
для газов третьего семейства
1·10-6 = 2,054 мг/м3 (1·10-6 = 1 см3/м3) | G30 | G31 |
мг/кВт·ч | мг/МДж | мг/кВт·ч | мг/МДж |
O2 = 0% | 1·10-6 = | 1,792 | 0,498 | 1,778 | 0,494 |
1 мг/м3 = | 0,872 | 0,242 | 0,866 | 0,240 |
O2 = 3% | 1·10-6 = | 2,091 | 0,581 | 2,075 | 0,576 |
1 мг/м3 = | 1,018 | 0,283 | 1,010 | 0,281 |
(справочное)
ПОЛУЧЕНИЕ УРАВНЕНИЙ ТЕПЛОВОЙ ЭФФЕКТИВНОСТИ
Тепловая эффективность (по высшей теплоте сгорания),

, выраженная в процентах, прибора основана на косвенном методе. Формулы для расчета тепловой эффективности для различных газов приведены в
пункте 7.4. Эти формулы основаны на следующей теории с заменой данных о свойствах газа в формулах.
где Hi - низшая теплотворность газа при 1013,25 мбар и 15 °C, сухого в мегаджоулях на кубический метр (мДж/м3);
Hs - высшая теплотворность газа при 1013,25 мбар и 15 °C, сухого в мегаджоулях на кубический метр (мДж/м3);
q1 - теплота сухих продуктов горения (процент тепла, выделяемого на единицу объема газа);
q2 - теплота водяного пара, содержащегося в продуктах горения (процент тепла, выделяемого на единицу объема газа);
S - поправка на конденсацию
и
где C1 - средняя удельная теплоемкость сухих продуктов горения в мегаджоулях на кубический метр Кельвина (мДж/м3·К);
t1 - средняя температура воздуха для горения °C;
t2 - средняя температура продуктов сгорания °C;
Vf - объем сухих продуктов горения на единицу объема газа в кубических метрах (м3).
Vf рассчитывается на основе объема CO
2 
, образующегося при сгорании одного кубического метра газа (см.
таблицу F.1), и концентрации CO
2 в продуктах горения

по
формуле (F.1)

(F.1)
Таблица F.1
Значения

Обозначение газа | |
G110 | 0,26 |
G120 | 0,32 |
G20 | 1 |
G25 | 0,86 |
G30 | 4 |
G31 | 3 |
Определение поправочного коэффициента конденсации S
Коэффициент основан на собранном конденсате в кг конденсата на м3 использованного газа.
Для приборов конденсационного типа S рассчитывается по следующей формуле:
где SA - теплота конденсации, выделяемая собранным конденсатом (в мДж/м3 газа) при стандартной температуре (15 °C);
SA = собранный конденсат (кг/м3 газа)·теплота конденсации при 15 °C (2466 мДж/кг);
SB - физическое тепло в (мДж/м3 газа) между эталонной температурой (15 °C) и температурой продуктов сгорания конденсируемого водяного пара;
SB = собранный конденсат (кг/м
3 газа) x 1,294 x энтальпия (водяной пар) x

;
Примечание 1 - Это количество физического тепла, которое не было утрачено в дымоходе, поэтому потери физического тепла уменьшаются на величину, поэтому:
Примечание 2 - Цифра 1,294 - соотношение водяного пара в м3 на кг конденсата при 15 °C. Это число можно округлить до 1,3, чтобы учесть потери пара в конденсатной линии.
Примечание 3 - Энтальпия водяного пара принята равной 0,00142 мДж/(м3·К).
SC - потери физического тепла жидкого конденсата выше эталонного значения (15 °C) в мДж/м3 газа;
SC = собранный конденсат (кг/м
3 газа) x удельная теплоемкость (0,00418 мДж/кг·К) x

.
Примечание 4 -

- разность температур между эталонным значением (15 °C) и температурой конденсата спускного отверстия прибора, по сравнению с

, который представляет собой повышение температуры продуктов горения выше эталонного значения.
(справочное)
ОБОРУДОВАНИЕ ДЛЯ ВВОДА В ДЕЙСТВИЕ И ИСПЫТАНИЯ (СМ. 5.12)
G.1 Приборы с автоматическим розжигом пламени пускового газа
Для облегчения ввода в эксплуатацию необходимо предусмотреть следующее:
a) ручной клапан за главным газовым автоматическим отсечным клапаном;
b) съемное электрическое соединение, кроме разъединения электропроводки (например, держатель предохранителя/картридж или специально предназначенное соединение) в электрическом питании к главным газовым автоматическим отсечным клапанам или к функции главного газового управления в пределах автоматического отсечного клапана;
c) воздушный переключатель, для которого требуется использование инструмента для работы, чтобы изолировать электрическое питание главных газовых автоматических отсечных клапанов или функции главного газового управления внутри автоматического отсечного клапана;
d) воздушный переключатель, для которого не требуется использование инструмента для работы, чтобы изолировать электрическое питание главных газовых автоматических отсечных клапанов или функции главного газового управления внутри автоматического отсечного клапана.
В этом случае, если главный газовый клапан снабжен переключателем закрытого положения или переключателем подтверждения закрытия, тогда переключатель необходимо проверить на правильность положения в течение всего периода зажигания пускового газа и последующего периода изоляции основного газа. Неспособность доказать правильное положение приведет к защитному отключению.
Примечание - Для соблюдения
требования d) может потребоваться дополнительная схема помимо той, что предусмотрена блоком управления.
Проектировщики должны знать о том, что целью этого требования является предотвращение случайного выброса источника основного газа в любое время, когда инженер по вводу в эксплуатацию устанавливает или проверяет пламя пускового газа.
Все воздухонагреватели должны быть оснащены ручными клапанами, которые необходимы для нормальной работы и ввода в эксплуатацию прибора.
Должны быть предусмотрены средства проверки газонепроницаемости автоматических отсечных клапанов.
Должны быть предусмотрены средства для проверки входного и выходного давления регулятора и давления в каналах форсунки.
Должны быть предусмотрены соединения или контрольные точки для измерения сигнала датчика воспламенения на всех устройствах, кроме тех, что оснащены термоэлектрическими устройствами контроля пламени.
G.2 Приборы с прямым автоматическим розжигом основной горелки
Для облегчения ввода в эксплуатацию необходимо предусмотреть следующее:
a) проверка целостности газовой цепи;
b) первичная проверка работы системы управления горелкой при отключенной подаче газа.
Для этого ручной клапан необходимо установить после автоматических отсечных клапанов.
(обязательное)
ТРЕБОВАНИЯ НАСТОЯЩЕГО СТАНДАРТА, КОТОРЫЕ СВЯЗАНЫ С ДИЗАЙНОМ
И КОНСТРУКЦИЕЙ ГОРЕЛОК С ПРИНУДИТЕЛЬНЫМ ВОЗДУШНЫМ
ОХЛАЖДЕНИЕМ, РАССМАТРИВАЕМЫЕ В EN 676
H.1 Требования к горелкам с искусственной тягой
Следующие пункты настоящего стандарта должны быть соблюдены для горелок с искусственной тягой при соблюдении требований EN 676.
Таблица H.1
Пункт настоящего стандарта | Структурный элемент EN 676 |
| Разделы 2 (приборы типов B4 и B5), 3, 4 |
| Раздел 2 |
| Разделы 1, 4 |
| Разделы 4, 6 |
| Все |
| Раздел 1 |
| Разделы 3, 4, 5, 6 |
| Все |
| Раздел 1 |
| Все |
| Разделы 1, 5 |
| Раздел 1 |
| Разделы 1, 3 |
| Все |
| Разделы 1, 2 [за исключением перечисления b)], 3, 4 |
| Разделы 1, 3 (частично), 4 (частично) |
| Разделы 1, 2, 3 [кроме перечисления b)], 4 |
| Все |
H.2 Критерии, которым должны соответствовать непроверенные сборки
Минимальные размеры камеры сгорания не должны быть меньше значений линий a и b, указанных на
рисунке H.1, где:
- размер "a" - расстояние от отражательной плиты горелки до противоположной стенки камеры сгорания;
- размер "b" - диаметр камеры сгорания или диаметр эквивалентного кругового сечения, если реальное сечение не круглое.
(a) - номинальная полезная мощность, Pn, в кВт;
(b) - диаметр и длина камеры сгорания, м; a - расстояние
от отражательной плиты горелки до противоположной стенки
камеры сгорания; b - диаметр камеры сгорания или диаметр
эквивалентного кругового сечения, если реальное сечение
не круглое
Рисунок H.1 - Минимальные размеры камеры сгорания
Рабочая точка воздухонагревателя, соответствующая номинальной подводимой теплоте, должна находиться внутри диаграммы горелки, как указано в EN 676.
Режим работы горелки (вкл./выкл., двухступенчатый или модулирующий) должен соответствовать инструкциям изготовителя корпуса воздухонагревателя.
(обязательное)
Если иное не указано, измерения должны проводиться с использованием оборудования с максимальными допустимыми отклонениями, указанными ниже:
Измеренная величина | Точность измерения |
<= 70 кВт | > 70 кВт |
Электричество |
Вольтметр | +/- 2% показания |
Амперметр | +/- 2% показания |
Ваттметр | +/- 2% показания |
Температура (датчик + устройство для считывания) |
Окружающая среда (5 - 35 °C) | +/- 1 К | +/- 0,5 К |
Воздух (0 - 200 °C) | +/- 2 К |
Вода (0 - 100 °C) | +/- 3 К |
Дымовой газ (0 - 200 °C) | +/- 2 К |
Дымовой газ (200 - 500 °C) | +/- 1% показания |
Газ | +/- 1 К | +/- 1% образца |
Поверхность | +/- 5 К (0 - 500 °C) |
Давление |
Атмосферное давление | +/- 5 мбар (900 - 1050 мбар) |
Давление газа | +/- 3% показания |
Давление воздуха (> 200 Па) | +/- 5% показания |
Давление воздуха (0 - 200 Па) | +/- 10 Па |
Время |
до 1 ч | +/- 0,2 с |
после 1 ч | +/- 0,1% показания |
Скорость воздуха |
до 5 м/с | +/- 0,5 м/с |
5 - 12 м/с | +/- 10% показания |
Расстояние |
Микрометр | +/- 0,05 мм (0 - < 25 мм) |
Штангенциркуль | +/- 0,1 мм (0 - < 150 мм) |
Измерительная лента | +/- 1 мм (10 см - < 100 см) |
Измерительная лента | +/- 5 мм (1 м - < 10 м) |
Анализ продуктов сгорания |
O2 | +/- 6% показания |
CO | +/- 6% показания |
CO2 | +/- 6% показания |
NOX | +/- 8% показания |
Сажа | +/- 1 деление шкалы Бахараха |
Количество |
Расход газа | +/- 1% показания |
Расход воздуха | +/- 2% показания |
Вес (потребление СПГ) | +/- 1% показания |
Газы |
Удельная теплота сгорания газа | +/- 1% показания |
Плотность газа | +/- 0,5% показания |
Прочее |
Вес | +/- 2% показания |
Влажность | +/- 5% Rh |
Для определения скорости утечки во время испытаний на герметичность используется метод, при котором точность, погрешность ее определения не превышает 10 см3/ч.
Указанная неопределенность измерения относится к отдельным измерениям. Для измерений, при которых требуется комбинация отдельных измерений, более низкие значения неопределенности, связанные с отдельными измерениями, могут потребоваться для достижения общей требуемой неопределенности.
Примечание - Допуски измерительного оборудования камеры для испытания эффективности описаны в соответствующих приложениях и требованиях.
(справочное)
РУКОВОДСТВО ПО ОГРАНИЧЕНИЮ ПРИМЕНЕНИЯ НАГРЕВАТЕЛЕЙ ВОЗДУХА
С ПРЯМЫМ НАГРЕВОМ В ЗДАНИЯХ
J.1 Введение
Приведенные примеры являются теоретическими значениями для приборов, работающих на эталонном газе указанных категорий. Условия различаются в зависимости от типа газа, характеристик горения устройства, качества приточного воздуха и т.д. Необходимо соблюдать требования, указанные в инструкциях по монтажу устройства; поэтому данное приложение предназначено только для ознакомления.
J.2 Общие принципы
Если присутствуют пар и/или газы или взвешенная пыль, которая разлагается до продуктов, потенциально вредных для здоровья при прохождении через зону горения пламени, весь воздух, поступающий в нагреватель воздуха с прямым нагревом, должен быть наружным воздухом.
Рециркуляция, если она используется, должна проходить после зоны горения горелки.
J.3 Безопасные уровни выбросов
Вся установка, то есть обогреватели или обогреватели и вентиляционные устройства помещения или помещений, в которые будет подаваться нагретый воздух, должна быть спроектирована и эксплуатироваться таким образом, чтобы концентрация углекислого газа в местах, где воздух будет вдыхаться, не превышала 0,28% (об/об) (2800 x 10-6). Этот уровень может отличаться в зависимости от местных требований.
J.4 Оценка концентраций
Заданную максимальную концентрацию углекислого газа можно определить по
таблице J.1.
Таблица J.1
Максимальные концентрации CO
2 в сравнении
со свежим воздухом
Описание | Единица измерения | Тип газа |
G110 | G130 | G20 | G21 | G25 | G26 | G30 | G31 |
Эталонная концентрация CO2 в сухих безвоздушных продуктах (нейтрального) горения | % (об) | 7,60 | 13,70 | 11,70 | 12,20 | 11,50 | 11,80 | 14,00 | 13,70 |
Требование к стехиометрическому количеству воздуха при 15 °C | м3/м3 | 3,67 | 5,68 | 9,52 | 11,38 | 8,19 | 9,29 | 30,95 | 23,81 |
Объем свежего воздуха на объем продуктов горения для ограничения концентрации CO2 в воздухе помещения до 0,28% | м3/м3 | 28,30 | 45,36 | 37,80 | 39,20 | 36,34 | 29,70 | 47,60 | 46,30 |
Объем свежего воздуха на объем входящего газа для ограничения концентрации CO2 в воздухе помещения до 0,28% | м3/м3 | 102,7 | 315,0 | 396,9 | 503,3 | 341,2 | 402,5 | 1651,3 | 1215,2 |
Объемный расход свежего воздуха на кВт подводимого тепла для ограничения концентрации CO2 в воздухе помещения до 0,28% | (м3/ч)/кВт | 23,3 | 44,1 | 37,8 | 40,4 | 37,8 | 39,3 | 47,3 | 45,7 |
Примечания 1 Эти значения предполагают наличие в свежем воздухе 0,03% CO2. 2 Указанные значения являются теоретическими и основаны на эталонных испытательных газах. При расчете требований к вентиляционному воздуху см. инструкции по монтажу. |
J.5 Примеры
J.5.1 Общие положения
В этом подпункте описаны два очень кратких примера, которые показывают, как показатель 86 кДж/м
3 наружного воздуха, указанный в
таблице C.1, используется при расчете количества непосредственного нагрева пламенем, которое может быть разрешено из-за воздухообмена. Для этих исследований предполагается, что здание:
a) имеет размеры (15 x 30 x 4) м и внутренний объем 1800 м3;
b) имеет теплопотери через поверхность ограждающих конструкций 264 МДж/ч;
c) рассчитано на температуру 20 °C при минимальной наружной температуре минус 1 °C;
d) рассчитано на природный газ (G20).
Формула (J.1) используется для расчета требуемого количества
H (в МДж/ч) входящего воздуха
H = (
A·
V·
Cv·
T)10
-3, (J.1)
где A - кратность обмена воздуха в час;
V - объем помещения в м3;
Cv - удельная теплоемкость воздуха;
T - разность температур, К.
Примечание - Cv также известна как удельная теплоемкость воздуха 1,207 (кДж/м3·К).
J.5.2 Пример 1
Для здания требуется 10-кратный воздухообмен в час. Тепло, необходимое для повышения температуры свежего воздуха
H = 10·1800·1,207·(20 - (-1))·10-3 = 456 МДж/ч.
Общая потребность в тепловой энергии:
264 + 456 = 720 МДж/ч. (J.2)
Затем рассчитывается фактическое общее тепловыделение прибора с учетом потерь в корпусе и воздуховоде. Оставьте 3% для, например, обогревателя, установленного на крыше, и 10% для скоростного нагрева.
Реальный подвод тепла:

(J.3)
Но максимальная теплоотдача, допустимая при непосредственном сжигании, составляет 86 кДж/м3 кратности воздухообмена, что для кратности воздухообмена составляет:
(86·10
-3)·1800·10 = 1548 МДж/ч. (J.4)
Сравнивая
формулы (J.3) и
(J.4), можно увидеть, что здание можно отапливать только при помощи системы пылеприготовления с прямым вдуванием пыли.
Полный подвод тепла можно рассчитать по принятому отношению чистой теплотворной способности к высшей теплотворной способности 90:100.
Таким образом, полный подвод тепла прибора составляет:
J.5.3 Пример 2
J.5.3.1 Альтернативные критерии
Рассмотрим то же здание, что и в примере 1, но только с 1,5 воздухообменом в час. Тепло, необходимое для повышения температуры свежего воздуха:
H = 1,5·180·1,207·[20 - (-1)]·10-3 = 68 МДж/ч.
Общая потребность в тепловой энергии здания:
264 + 68 = 332 МДж/ч. (J.5)
Но максимальная теплоотдача, разрешенная при непосредственном сжигании, составляет 86 кДж/м3 кратности воздухообмена, что для скорости воздухообмена в этом здании составляет:
(86·10
-3)·1,5·1800 = 232 МДж/ч. (J.6)
Сравнивая
(J.5) и
(J.6), можно увидеть, что здание нельзя отапливать только при помощи системы пылеприготовления с прямым вдуванием пыли.
Полный подвод тепла к нагревателю с прямым обогревом рассчитывается на основе ранее принятого отношения чистой и высшей теплоты сгорания.
Таким образом, полный подвод тепла прибора составляет:

(J.7)
Количество доступного тепла необходимо будет увеличить, чтобы обеспечить скоростной нагрев и покрыть дефицит в 100 мДж/ч [определяется
формулами (J.5) -
(J.6)].
Этот общий дефицит может быть восполнен нагревателями с косвенным обогревом с предполагаемой эффективностью (КПД) 75%, размер которого составляет:

(J.8)
Таким образом, общая нагрузка подключенного отопительного прибора составляет:
258 + 178 = 436 МДж/ч. (J.9)
J.5.3.2 Альтернативная возможность
Проектировщик может увеличить кратность воздухообмена до такой степени, чтобы все потребности в нагреве удовлетворялись за счет нагревателей прямого нагрева. Затем применяется
формула J.10.

(J.10)
Можно преобразовать:
где L - теплопотери через поверхность ограждающих конструкций, МДж/ч;
Q - (= AV) объем обмена воздухом в, м3/ч;
N - максимально допускаемое отводимое тепло (86 кДж/м3);
Cv - теплоемкость воздуха;
T - разность температур, К.
Показатель

предусматривает допуск 10% для скоростного нагрева.
Показатель

предусматривает нормы потерь 3%.
Кратность воздухообмена в этом случае:
Кратность воздухообмена в час:
Тепло, необходимое для подъема температуры свежего воздуха с минус 1 °C до 20 °C при 3,0 воздухообменах в час:
3,0·1800·1,207·(21·10-3) = 137 МДж/ч.
Общее требуемое количество тепла для здания: 264 + 137 = 401 МДж/ч.
Таким образом, полный подвод тепла к нагревателю прямого нагрева будет равен:
J.5.3.3 Обзор
Использование нагревателя воздуха с прямым нагревом, обеспечивающего повышенную скорость воздухообмена, приводит к нагрузке примерно на 2% больше, чем требуется для воздухонагревателей с сочетанием прямого и косвенного нагрева.
Однако метод увеличения скорости воздухообмена следует использовать с осторожностью, так как для некоторых установок он может чрезмерно увеличить расход топлива и подключенную газовую нагрузку.
(обязательное)
ЗОНДЫ ДЛЯ ИСПЫТАНИЙ ДЫМОХОДА
Для приборов типа B с диаметром выходного отверстия 100 мм или более используемый испытательный датчик показан на
рисунке K.1. Датчик устанавливается в дымоходе на расстоянии 800 мм ниже по потоку от выхода дымохода прибора, как показано на
рисунке K.2, и на расстоянии не менее 1 м от окончания дымохода, переключателя тяги или излома дымохода.
c - датчик температуры в зонде для отбора проб
D (номинальный) | d1 = 0,97D | d2 = 0,90D | d3 = 0,83D | d4 = 0,75D | d5 = 0,66D | d6 = 0,56D | d7 = 0,43D | d8 = 0,25D |
100 | 9 | 9 | 8 | 7 | 6 | 5 | 4 | 2 |
110 | 10 | 9 | 9 | 8 | 7 | 6 | 4 | 2 |
120 | 11 | 10 | 10 | 9 | 7 | 6 | 5 | 3 |
130 | 12 | 11 | 10 | 9 | 8 | 7 | 5 | 3 |
150 | 14 | 13 | 12 | 113 | 9 | 8 | 6 | 3 |
180 | 17 | 16 | 14 | 135 | 11 | 10 | 7 | 4 |
200 | 19 | 18 | 16 | 150 | 13 | 11 | 8 | 5 |
250 | 24 | 22 | 20 | 188 | 16 | 14 | 108 | 6 |
300 | 29 | 27 | 24 | 225 | 19 | 16 | 129 | 7 |
400 | 38 | 36 | 33 | 300 | 26 | 22 | 173 | 10 |
500 | 48 | 45 | 41 | 375 | 33 | 28 | 216 | 12 |
Рисунок K.1 - Пробоотборник для приборов типов B
12, B
13,
B22, B23, B42, B43, B52, B53, C32, C33, C52 и C53 с выходным
диаметром 100 мм или более
| | ИС МЕГАНОРМ: примечание. В официальном тексте документа, видимо, допущена опечатка: рисунок N.1 отсутствует. Возможно, имеется в виду рисунок K.1. | |
A - стойка; B - насос для отбора контрольных проб;
E - листовой металл; F - устройство для регулировки зазора
Рисунок K.2 - Расположение пробоотборников для приборов
типов B12, B13, B22, B23, B42, B43, B52, B53, C32, C33, C52
и C53 с выходным диаметром 100 мм или более
Если диаметр выпускного отверстия меньше 100 мм, следует использовать зонд, показанный на
рисунке K.3. По возможности его устанавливают так же, как и образец для испытаний для больших диаметров.
A - термопара
Рисунок K.3 - Пробоотборник для приборов типов B
12, B
13,
B22, B23, B42, B43, B52, B53, C32, C33, C52 и C53 с выходным
диаметром менее 100 мм
Для приборов типов C
12 и C
13 следует использовать зонд, показанный на
рисунке K.4. По возможности его устанавливают, как показано на
рисунке K.5.
Примечание - Для приборов типов C12 и C13, где вышеупомянутое расположение не подходит, место отбора проб будет согласовываться между изготовителем и испытательным стендом, при этом должны быть соблюдены измерения для обеспечения согласованности результатов.
A - провод термопары из хромеля и алюмеля; B - изоляционный
цемент; C - керамическая втулка с двойным отверстием;
D - три отверстия для присоединения пробоотборника давления
Примечания
1 Материал - нержавеющая сталь с полированной отделкой.
2 Рекомендуется выбирать размер Y в соответствии с диаметром воздухозаборника и его изоляцией.
3 Размеры зонда диаметром 6 мм (подходящего для выпускных труб продукта диаметром (D) более 75 мм):
a) наружный диаметр зонда (d) 6 мм;
b) толщина стенок 0,6 мм;
c) диаметр отверстий для присоединения пробоотборника давления (D) 1,0 мм;
d) керамическая втулка с двумя отверстиями

;
e) провод термопары

.
Для выпускных труб продуктов диаметром менее 75 мм необходимо использовать зонд меньшего размера с выбранными d и x таким образом, чтобы:
f) площадь, закрываемая зондом, составляет менее 5% поперечного сечения воздуховода;
g) общая площадь отверстий для присоединения пробоотборника давления составляет менее трех четвертей поперечного сечения зонда.
Рисунок K.4 - Пробоотборник приборов типов C
12 и C
13
1 - индикатор температуры; 2 - насос для отбора
контрольных проб; D - диаметр канала
Рисунок K.5 - Расположение пробоотборников
приборов типов C12 и C13
Рисунок K.6 - Пробоотборник для приборов
(справочное)
СВЯЗЬ МЕЖДУ НАСТОЯЩИМ СТАНДАРТОМ И ТРЕБОВАНИЯМИ К ЭКОДИЗАЙНУ
В СООТВЕТСТВИИ С РЕГЛАМЕНТОМ КОМИССИИ (ЕС) N 2016/2281
Настоящий стандарт подготовлен в соответствии с мандатом Европейской комиссии по стандартизации "M/560"/"C(2019) 1725 final" для соблюдения требований Регламента Комиссии (ЕС) N 2016/2281 от 30 ноября 2016 г. о реализации Директивы
2009/125/ЕС Европейского парламента и Совета в отношении к экодизайну изделий для воздушного отопления.
После того как на настоящий стандарт будет сделана ссылка в официальном вестнике Европейского Союза для целей настоящего Регламента, соблюдение нормативных положений этого стандарта, перечисленных в
таблице ZА.1, создает в рамках сферы применения этого стандарта презумпцию соответствия соответствующим основным требованиям Регламента к экодизайну и связанными с ним положениями Европейской ассоциацией свободной торговли (FACT).
Таблица ZА.1
Связь между настоящим европейским стандартом, подготовленным
в соответствии с мандатом Европейской комиссии
по стандартизации "M/560"/"C(2019) 1725 final" и Регламентом
Комиссии (ЕС) N 2016/2281 от 30 ноября 2016 г, реализующим
в отношении требований к экодизайну изделий
для воздушного отопления
Требования по экодизайну Регламента (ЕС) N 2016/2281 | Пункты/подпункты настоящего европейского стандарта | Заметки/Примечания |
Приложение II, пункт 1 (a), (b) | 7.8 | Минимальная эффективность сезонного отопления помещений |
Приложение II, пункт 4 (a), (b) | 6.8 | Особые требования к выбросам |
Приложение II, пункт 5 (a) (1) (9) (11) | 9.7 | Информация о продукции |
Приложение II, пункт 5 (b) | 9.7 | Информация о разборке, переработке и утилизации по окончании установленного срока службы |
Приложение II, пункт 5 (c) | 9.7 | Информация для оценки соответствия |
Приложение III, пункт 3 | 9.6 | Измерения и расчеты |
Предупреждения
1 Презумпция соответствия действует только до тех пор, пока ссылка на настоящий европейский стандарт остается в списке, опубликованном в Официальном вестнике Европейского Союза. Пользователи настоящего стандарта должны регулярно обращаться к списку, публикуемому в Официальном вестнике Европейского союза.
2 К продукции, подпадающей под область применения настоящего стандарта, может применяться прочее законодательство Европейского союза.
(справочное)
СВЕДЕНИЯ О СООТВЕТСТВИИ ССЫЛОЧНЫХ ЕВРОПЕЙСКИХ
И МЕЖДУНАРОДНЫХ СТАНДАРТОВ МЕЖГОСУДАРСТВЕННЫМ СТАНДАРТАМ
Таблица ДА.1
Обозначение ссылочного европейского или международного стандарта | Степень соответствия | Обозначение и наименование соответствующего межгосударственного стандарта |
EN 88-1:2011+A1 2016 | - | |
EN 125:2010+A1 2015 | - | |
EN 126:2012 | IDT | ГОСТ EN 126-2016 "Устройства управления многофункциональные для газовых приборов" |
EN 161:2011+A3:2013 | MOD | ГОСТ 32028-2017 (EN 161+A3:2013) "Клапаны отсечные автоматические для газовых горелок и газовых приборов" |
EN 257:2010 | - | |
EN 298:2012 | IDT | ГОСТ EN 298-2015 "Автоматические системы контроля горения для горелок и аппаратов, сжигающих газообразное или жидкое топливо" |
EN 437:2003+A1:2009 | - | |
EN 676:2003+A2:2008 | - | |
EN 682:2002 | - | |
EN 1859:2009+A1:2013 | - | |
EN 10226-2:2005 | - | |
EN 12067-2:2004 | - | |
EN 50090 (все части) | - | |
EN 60335-1:2012 | - | |
EN 60335-2-102:2016 | - | |
EN 60529:1991 | - | |
EN 60584-1:2013 | - | |
EN 60730-1:2016 | - | |
--------------------------------
<1> Действует
ГОСТ ЕН 125-2009 "Устройства контроля пламени для газовых аппаратов. Термоэлектрические устройства контроля пламени. Общие технические требования и методы испытаний", идентичный EN 125:1991+A1:1996.
<2> Действует
ГОСТ 32029-2012 (ЕН 257:1992) "Термостаты (терморегуляторы) механические для газовых приборов. Общие технические требования и методы испытаний", модифицированный по отношению к EN 257:1992/A1:1996.
<3> Действует ГОСТ EN 437-2012 "Газы испытательные. Давления испытательные. Категории приборов", идентичный EN 437:2003.
<4> Действует
ГОСТ IEC 60335-1-2015 "Бытовые и аналогичные электрические приборы. Безопасность. Часть 1. Общие требования", идентичный IEC 60335-1:2013.
<5> Действует
ГОСТ IEC 60335-2-102-2014 "Бытовые и аналогичные электрические приборы. Безопасность. Часть 2-102. Дополнительные требования к приборам, работающим на газовом, жидком и твердом топливе и имеющим электрические соединения", идентичный IEC 60335-2-102:2012.
<6> Действует
ГОСТ 14254-2015 (IEC 60529:2013) "Бытовые и аналогичные электрические приборы. Безопасность. Часть 2-102. Дополнительные требования к приборам, работающим на газовом, жидком и твердом топливе и имеющим электрические соединения", модифицированный по отношению к IEC 60529:2013.
<7> Действует
ГОСТ IEC 60730-1-2016 "Автоматические электрические управляющие устройства. Часть 1. Общие требования", идентичный IEC 60730-1:2013.
Окончание таблицы ДА.1
Обозначение ссылочного европейского или международного стандарта | Степень соответствия | Обозначение и наименование соответствующего межгосударственного стандарта |
EN 60730-2-9:2010 | - | |
EN 61058-1:2002 | - | |
EN 61558-2-6:2009 | IDT | ГОСТ IEC 61558-2-6-2012 "Безопасность трансформаторов, источников питания электрических реакторов и аналогичных изделий. Часть 2-6. Дополнительные требования и методы испытаний безопасных разделительных трансформаторов и источников питания с безопасными разделительными трансформаторами" |
EN 61558-2-16:2009 | - | |
EN ISO 228-1:2003 | NEQ | ГОСТ 6357-81 "Основные нормы взаимозаменяемости. Резьба трубная цилиндрическая" |
EN ISO 1182:2010 | - | |
EN ISO 3166-1:2014 | - | |
EN ISO 5167-1:2003 | - | |
EN ISO 5167-2:2003 | - | |
ISO 3966:2008 | - | |
ISO 7005-1:2011 | NEQ | ГОСТ 33259-2015 "Фланцы арматуры, соединительных частей и трубопроводов на номинальное давление до PN 250. Конструкция, размеры и общие технические требования" |
ISO 7005-2:1988 | NEQ | ГОСТ 33259-2015 "Фланцы арматуры, соединительных частей и трубопроводов на номинальное давление до PN 250. Конструкция, размеры и общие технические требования" |
ISO 7005-3:1988 | - | |
<*> Соответствующий межгосударственный стандарт отсутствует. До его принятия рекомендуется использовать перевод на русский язык данного европейского, международного стандарта. Примечание - В настоящей таблице использованы следующие условные обозначения степени соответствия стандартов: - IDT - идентичные стандарты; - MOD - модифицированный стандарт; - NEQ - неэквивалентные стандарты. |
--------------------------------
<1> Действует
ГОСТ IEC 60730-2-9-2011 "Автоматические электрические управляющие устройства бытового и аналогичного назначения. Часть 2-9. Частные требования к термочувствительным управляющим устройствам", идентичный IEC 60730-2-9:2008.
<2> Действует
ГОСТ IEC 61058-1-2012 "Выключатели для электроприборов. Часть 1. Общие требования", идентичный IEC 61058-1:2008.
<3> Действует
ГОСТ IEC 61558-2-16-2015 "Безопасность трансформаторов, реакторов, блоков питания и аналогичного оборудования с напряжением питания до 1100 В. Часть 2-16. Дополнительные требования и испытания для переключаемых блоков питания и трансформаторы для переключаемых блоков питания", идентичный IEC 61558-2-16:2013.
[1] | EN 60730-2-14:1997 | Automatic electrical controls for household and similar use - Part 2-14: Particular requirements for electric actuators (Автоматические электрические управляющие устройства бытового и аналогичного назначения. Часть 2-14. Дополнительные требования к электрическим силовым приводам) |
[2] | EN 15316-1:2017 | Energy performance of buildings - Method for calculation of system energy requirements and system efficiencies - Part 1: General and Energy performance expression, Module M3-1, M3-4, M3-9, M8-1, M8-4 (Энергоэффективность зданий. Метод расчета потребности в энергии и эффективности систем. Часть 1. Общие положения и выражение энергоэффективности, Модуль M3-1, M3-4, M3-9, M8-1, M8-4) |
[3] | EN ISO 6976:2016 | Natural gas - Calculation of calorific values, density, relative density and Wobbe indices from composition (Природный газ. Расчет теплотворной способности, плотности, относительной плотности и индекса Воббе для смеси) |
[4] | PD 6574:1994/CR 1404:1994 | Determination of emissions from appliances burning gaseous fuels during type testing (Определение выбросов приборов, жгущих газообразные топлива во время сертификационного испытания) |
[5] | EN 10226-1:2004 | Pipe threads where pressure tight joints are made on the threads - Part 1: Taper external threads and parallel internal threads - Dimensions, tolerances and designation (Резьбы трубные, где плотное соединение под давлением, выполнено на резьбе. Часть 1. Конусообразные наружные резьбы и параллельные внутренние резьбы. Размеры, допуски и обозначение) |
[6] | CEN/TR 1749:2014 | European scheme for the classification of gas appliances according to the method of evacuation of the combustion products (types) [Европейская схема классификации газовых устройств согласно методу вакуумирования продуктов сгорания (типы)] |
УДК 697.245:006.354 | | IDT |
Ключевые слова: воздухонагреватель, классификация, конструктивные требования, эксплуатация, технические требования, испытание, эффективность, оценка риска, маркировка |