Главная // Актуальные документы // Актуальные документы (обновление 2025.02.03-2025.03.01) // Методические рекомендацииСПРАВКА
Источник публикации
М.: Союздорнии, 1976
Примечание к документу
Название документа
"Методические рекомендации по укреплению откосов земляного полотна в легковыветривающихся скальных породах"
"Методические рекомендации по укреплению откосов земляного полотна в легковыветривающихся скальных породах"
Минтрансстроем
МЕТОДИЧЕСКИЕ РЕКОМЕНДАЦИИ
ПО УКРЕПЛЕНИЮ ОТКОСОВ ЗЕМЛЯНОГО ПОЛОТНА
В ЛЕГКОВЫВЕТРИВАЮЩИХСЯ СКАЛЬНЫХ ПОРОДАХ
Приведены рациональные конструкции и технология укрепления откосов насыпей из легковыветривающихся скальных грунтов, а также выемок, разрабатываемых в таких породах.
Даны конструкции защитных покрытий на откосах, в том числе выполняемые методом пневмонабрызга материалов, таких как торкрет, шприц-бетон, аэроцем, пневмобетон. Определены области их применения; даны специальные методики по определению требований к рекомендуемым материалам; предложены новые рациональные технологические схемы по производству укрепительных работ; разработаны основные схемы комплектации необходимых машин и оборудования, позволяющих полностью механизировать все технологические операции по укреплению откосов из скальных грунтов.
В работе использованы авторские свидетельства N 343709 ("Бюллетень изобретений", 1972, N 21); N 390244 ("Бюллетень изобретений", 1973, N 30); N 378748 ("Бюллетень изобретений", 1973, N 19)
При строительстве и эксплуатации железных и автомобильных дорог возникают трудности с обеспечением устойчивости откосов, особенно их поверхностных слоев, которые под воздействием погодно-климатических факторов могут снижать свою прочность. Устранение образуемых при этом деформаций требует дополнительных затрат.
Для обеспечения устойчивости поверхностных слоев откосов земляного полотна из скальных легковыветривающихся пород Союздорнии и ЦНИИС разработаны конструкции и методы их укрепления.
Для откосов насыпей предложены защитные слои из морозостойких неусадочных грунтов, решетчатые конструкции, биологическая защита; для откосов выемок - биологическая защита, а также конструкции, выполняемые методом пневмонабрызга.
Союздорнии исследовал и опробовал конструкции укрепления методом пневмонабрызга на основе сухих смесей (торкрет и шприц-бетон), а ЦНИИС - конструкций на основе аэрированных цементопесчаных растворов (аэроцем). Было создано оборудование, разработана технология укрепительных работ и проведено обследование состояния защитных покрытий после нескольких лет эксплуатации.
"Методические рекомендации", разработанные на основе теоретических, экспериментальных и полевых исследований с использованием авторских свидетельств N 343709 ("Бюллетень изобретений", 1972, N 21), N 390244 ("Бюллетень изобретений", 1973, N 30), N 378748 ("Бюллетень изобретений", 1973, N 19), могут быть полезны при проектировании и строительстве автомобильных и железных дорог в сложных инженерно-геологических условиях, в частности в условиях БАМ.
"Методические рекомендации" разработали инженеры Ю.М. Львович, И.А. Режко, канд. геол.-минерал. наук Н.С. Бирюков (Союздорнии), кандидаты технических наук Ф.И. Целиков, А.И. Песов, Е.А. Яковлова и инж. Л.М. Бирюкова (ЦНИИС).
Все замечания и пожелания просьба высылать по адресу: 143900 Московская обл., Балашиха-6, Союздорнии.
1.1. Настоящие "Методические рекомендации" предназначены для выбора и назначения рациональных защитных конструкций, а также технологии производства работ по укреплению откосов земляного полотна автомобильных и железных дорог при наличии выветрелых и легковыветривающихся скальных пород.
1.2. Степень выветрелости горных пород устанавливают в зависимости от показателя разуплотнения породы
Bв по классификации, приведенной в
табл. 1 и
приложении 1.
Группа пород | Степень выветрелости | Показатель разуплотнения Bв |
I | Невыветрелые | 0 |
II | Слабовыветрелые | 0 - 0,25 |
III | Средневыветрелые | 0,25 - 0,5 |
IV | Выветрелые | 0,5 - 1 |
| Сильновыветрелые | > 1 |
1.3. К легковыветривающимся относятся горные породы различной степени выветрелости, физико-механические свойства которых быстро изменяются под воздействием погодно-климатических факторов.
1.4. Защитные конструкции на поверхности откосов необходимы для предотвращения процессов выветривания горных пород и нарушений местной устойчивости
(табл. 2).
Вид деформации | Характер деформации | Причины |
Размывы | | Эрозия поверхности откосов насыпей и выемок | Движение воды |
Осадки, заколы | | Трещины в прибровочных и откосных частях | Недоуплотнение откосной части |
Осыпи | | Накопление продуктов выветривания | Циклическое увлажнение-высушивание |
Сплывы | | Смещение увлажненных продуктов выветривания | То же |
Вывалы | | Выпадение отдельных обломков | Технология разработки выемок |
1.5. Защитные покрытия откосов не являются несущими конструкциями, в связи с чем их следует применять только на тех откосах, общая устойчивость которых обеспечена.
1.6. Защитные конструкции и технологию их устройства необходимо назначать на основе данных инженерно-геологических изысканий, лабораторных исследований степени подверженности скальных пород выветриванию (см.
приложение 1), оценки общей и местной устойчивости, способа возведения земляного полотна и технико-экономического сравнения вариантов укреплений.
1.7. При использовании настоящих "Методических рекомендаций" необходимо учитывать положения
СНиП II-Д.5-72,
СНиП III-Д.5-73, "Указаний по проектированию земляного полотна железных и автомобильных дорог"
СН 449-72, а также "Методических указаний по проектированию земляного полотна в сложных инженерно-геологических условиях" (М., ЦНИИС, 1974).
2. Конструкции укрепления откосов земляного полотна
в легковыветривающихся скальных грунтах
2.1. В зависимости от типа сооружения (насыпь, выемка) могут быть рекомендованы различные конструктивные решения по защите поверхности откосов от процессов выветривания
(рис. 1).
Рис. 1
. Конструкции укрепления откосов земляного
полотна из скальных легковыветривающихся пород:
I - биологическая защита насыпи (выемки); II - защитные слои
насыпи; III - решетчатые конструкции насыпей; IV - защитные
покрытия выемки; 1 - погребенный экран
2.2. Для укрепления откосов насыпей из скальных легковыветривающихся грунтов целесообразны следующие конструкции:
биологическая защита (посев трав методом гидропосева, посадка деревьев и кустарников);
защитные слои из местных морозостойких, неусадочных связных грунтов;
защитные слои из скальных выветривающихся грунтов;
решетчатые конструкции с заполнением ячеек различными материалами, в том числе и посевом трав.
2.3. При биологической защите траву высевают методом гидропосева при достаточно плотном слое "мульчи" или обычным способом по слою растительного грунта толщиной не менее 20 см. Посев трав необходимо комбинировать с посадкой кустарника или деревьев, подбирая специальные виды растительности, образующие устойчивую дернину на естественных склонах.
При отсутствии или недостатке растительного грунта целесообразно плакировать поверхность откосов местным делювиальным грунтом вскрыши выемок. После прорастания травы определяют дефектные места для повторного посева с удвоенной нормой удобрения.
2.4. Защитные слои из местных морозостойких, неусадочных грунтов устраивают толщиной от 0,3 до 1 м (в плотном теле) с обязательным посевом трав методом гидропосева.
2.5. Для укрепления откосов выемок, разрабатываемых в скальных легковыветривающихся породах, применяют биологическую защиту и конструкции, выполняемые методом пневмонабрызга.
2.6. Пневмонабрызг - это процесс укладки цементогрунтовых или цементопесчаных, а также бетонных смесей с помощью сжатого воздуха на наклонные и вертикальные поверхности грунтовых и скальных откосов на любую высоту специальными машинами (
табл. 3 и
приложение 2), выполняющими транспортировку и уплотнение уложенных строительных смесей.
Материал пневмонабрызга | Способ приготовления рабочей смеси | Размеры фракций инертных компонентов, мм, не более | Машина для приготовления смеси | Машина для пневмонабрызга ( табл. 2 приложения 2) |
песок | щебень |
Торкрет | Сухой (затворение в сопле при набрызге) | 5 | 8 | Бетоно- и растворосмесители ( табл. 1 приложения 2) | Цемент-пушка или шприцмашина |
Шприц-бетон | То же | 5 | 20 | То же | Шприцмашина |
Пневмобетон | Мокрый (затворение в смесителях) | 5 | 8 | " | Прямоточный растворонасос с приставкой НИИмосстроя |
Аэроцем | То же | 3 | - | Специальная растворомешалка с вертикальным валом | Пневморастворонагнетатель |
Пневмонабрызг исключает применение опалубки, специальных машин и механизмов вибрационного действия для уплотнения строительных смесей.
2.7. Все конструкции, выполняемые методом пневмонабрызга, можно разделить на следующие типы: облегченные - толщиной 25 мм; средние - 40 - 60 мм; усиленные - до 100 мм с металлической сеткой; мощные - 100 мм и более с металлической сеткой и анкерами.
Тип конструкции выбирают в зависимости от состояния поверхности скальной выемки, генезиса пород, степени выветрелости, подверженности выветриванию, а также характера ожидаемых деформаций и устраивают в один или несколько слоев из различных набрызг-материалов.
2.8. Принципиальная конструкция укрепления, выполняемая методом пневмонабрызга
(рис. 2), состоит: из металлической сетки, монтажных анкеров, несущих анкеров, набрызг-материала.
Рис. 2. Конструктивная схема защитного покрытия
из пневмонабрызга:
1 - планка для крепления края сетки; 2 - шайба анкера;
3 - монтажная сетка; 4 - слой материала пневмонабрызга;
5 - защитный слой на откосе; 6 - монтажный анкер;
7 - поверхность за бровкой откоса; 8 - опорный вкладыш;
9 - металлический стержень несущего анкера;
10 - скважина анкера; 11 - раствор
2.9. Металлическая сетка из мягкой проволоки диаметром до 3 мм должна иметь ячейки размером 50 x 50 - 200 x 200 мм. При этом расход металла сетки не должен превышать 0,5 кг/м2. Целесообразно использовать гибкие сетки промышленного изготовления (в рулонах). В случае необходимости допускается плетение сетки по месту работы.
Сетка может быть расположена по всей поверхности откоса выемки либо в отдельных ее местах
(рис. 3).
Рис. 3. Распределение монтажной сетки
на поверхности скального откоса:
1 - монтажная сетка; 2 - анкер; 3 - проволока
2.10. Пространство между сетками заполняют монтажными анкерами с оплеткой из мягкой проволоки.
Монтажные анкеры изготовляют из арматуры периодического профиля диаметром не более 16 мм, длиной от 0,5 до 1 м. Монтажные анкеры могут быть Т-образной конфигурации или состоять из отдельных стержней и накладных шайб с затяжными гайками.
При этом величина заглубления анкера в прочную (невыветрелую) породу должна быть не менее 5 - 10 см.
Количество монтажных анкеров назначают из расчета 1 анкер на 1,5 - 2 м2 металлической сетки.
2.11. Несущие анкеры предназначены для закрепления отдельных неустойчивых блоков породы, а также металлической сетки за пределами верхней бровки выемки на расстоянии от нее не менее 2 м (см.
рис. 2).
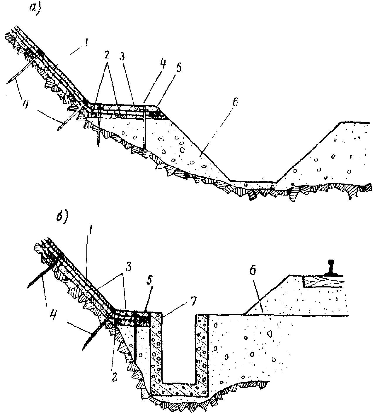
2.12. Элементы конструкции укрепления возле подошвы откоса приведены на
рис. 4.
Рис. 4. Конструкция защитного покрытия у подошвы откоса
при наличии кювета (а) и железобетонного лотка (б):
1 - сетка; 2 - вкладыш; 3 - материал пневмонабрызга;
4 - монтажный анкер; 5 - покрытие у подошвы;
6 - земляное полотно; 7 - лоток
2.13. Для всех типов защитных конструкций из материалов пневмонабрызга необходимо устраивать коптажи с дренажными окнами размером 10 x 10 см в шахматном порядке через 2 м для выпуска грунтовых вод, а для предотвращения попадания жидких атмосферных осадков или вод снеготаяния под слой покрытия - специальные козырьки.
3. Область применения защитных конструкций
3.1. Применение защитных конструкций необходимо в каждом случае устанавливать в зависимости от высоты и крутизны откоса, свойств скальных грунтов или пород, наличия местных строительных материалов, машин и оборудования.
3.2. Для укрепления откосов насыпей, возводимых из скальных грунтов различной степени выветрелости, но устойчивых против дальнейшего выветривания, следует применять посев трав методом гидропосева.
Защитные слои целесообразно устраивать на откосах насыпей высотой более 2 м в тех случаях, когда для их сооружения используют скальные грунты, не устойчивые к погодно-климатическим воздействиям (набуханию-высушиванию, промерзанию-оттаиванию).
Материал для защитных слоев выбирают на основе экономического сравнения с другими конструкциями с учетом дальности возки морозостойких, неусадочных грунтов, а также характера разработки и стоимости скальных легковыветривающихся пород.
Для насыпей высотой более 12 м защитные слои целесообразно устраивать комбинированного типа, максимально используя скальные грунты (путем уширения земляного полотна), укладывая привозные грунты только в верхней части защитной конструкции.
Во II дорожно-климатической зоне (зона избыточного увлажнения) при высоте насыпей более 6 м следует устраивать погребенный водонепроницаемый экран из вязкого битума.
Сборные решетчатые конструкции целесообразно применять вместо защитных слоев, когда дальность возки грунтов более 10 - 15 км. Кроме того, решетчатые конструкции целесообразно использовать для укрепления откосов насыпей высотой более 3 м при их максимальной крутизне, рекомендованной
СНиП II-Д.5-72, а также в стесненных условиях.
3.3. Для откосов выемок биологическая защита определяется мощностью слоя делювиальной части вскрыши, которая должна составлять не менее 1/3 глубины выемки. Гидропосев трав необходимо осуществлять непосредственно по грунту делювиального слоя. Рекомендуется применять семена местных вьющихся растений, которые после прорастания свешиваются сверху вниз и закрывают скальные легковыветривающиеся породы от чрезмерного увлажнения и высушивания.
3.4. Область применения конструкций укрепления, выполняемых методом пневмонабрызга, устанавливают путем сопоставления с мероприятиями, дающими аналогичный эффект с точки зрения обеспечения безопасности движения поездов и автомобильного транспорта, обеспечения местной устойчивости, обосновывая принятые решения технико-экономическим сравнением вариантов.
Такие конструкции целесообразно применять для укрепления откосов выемок глубиной от 5 до 20 м при интенсивности выветривания не менее 2 мм/сутки.
3.5 В зависимости от состояния укрепляемой скальной поверхности и наличия соответствующего оборудования выбирают конструкцию и технологию метода пневмонабрызга:
пневмобетон и аэроцем - при относительно ровной и пологой поверхности откосов, когда возможно создание защитного покрытия минимальной толщины;
торкрет и шприц-бетон - при "рваной" и крутой (вплоть до вертикальной) поверхности откосов, вероятности образования вывалов, наличии углублений и т.п., когда общая толщина защитного покрытия может достигать в отдельных местах 15 - 20 см.
Конструкции укрепления, устраиваемые сухим способом, целесообразно применять, когда требуется немедленная защита и необходима высокая производительность.
3.6. Для комбинированных конструкций широко используют местные материалы, создавая основной слой покрытия из торкрета или шприц-бетона (цемент:заполнитель 1:5 - 1:7), а замыкающий слой износа - из аэроцема минимальной толщины.
3.7. Облегченные и средние типы конструкций, выполняемые пневмонабрызгом, рекомендуются при вероятности развития осыпей, а усиленные и мощные - при вывалах, а также при необходимости увеличить крутизну откоса выемки до максимально возможной (по оценке на общую устойчивость).
4. Требования к материалам
и проектирование составов смесей
| | ИС МЕГАНОРМ: примечание. Постановлением Госстроя СССР от 10.07.1985 N 116 с 01.01.1987 введен в действие ГОСТ 10178-85. | |
4.1. Для приготовления сухих смесей и растворов в зависимости от агрессивности выклинивающихся на откос подземных вод рекомендуется применять цементы, удовлетворяющие требованиям ГОСТ 10178-62
(табл. 4).
Характеристика укрепляемого откоса | Вид цемента | Марка цемента, не менее |
Отсутствие горизонтов подземных вод | Портландцемент | 400 |
Фильтрация воды с углекислой агрессией | Пуццолановый портландцемент | 300 |
Фильтрация воды с сульфатной агрессией | Сульфатостойкий портландцемент | 300 |
Для производства укрепительных работ при отрицательной температуре целесообразно использовать алитовые и низкоалюминатные портландцементы с содержанием трехкальциевого алюмината не более 6%.
| | ИС МЕГАНОРМ: примечание. Взамен ГОСТ 8268-74 Постановлением Госстроя СССР от 26.07.1982 N 190 с 01.01.1984 введен в действие ГОСТ 8268-82. | |
| | ИС МЕГАНОРМ: примечание. Взамен ГОСТ 10268-70 Постановлением Госстроя СССР от 22.07.1980 N 111 с 01.01.1982 введен в действие ГОСТ 10268-80. | |
4.2. Заполнители (щебень, гравий, песок), входящие в состав сухих смесей и растворов, должны удовлетворять требованиям
СНиП I-В.1-62, а также ГОСТ 8268-74,
ГОСТ 8267-64* и ГОСТ 10268-70*. Крупность заполнителя не должна превышать размеров, указанных в
табл. 3. Кроме того, количество зерен пластинчатой (лещадной) формы должно быть не более 10%.
4.3. Гравийно-песчаные смеси разрешается применять без разделения на фракции только в том случае, если кривая их рассева соответствует зоне А на
рис. 5.
Рис. 5. Требуемый зерновой состав
естественной гравийно-песчаной смеси
| | ИС МЕГАНОРМ: примечание. Постановлением Госстроя СССР от 30.08.1990 N 75 с 01.01.1991 введен в действие ГОСТ 9757-90. | |
4.4. Допускается применять пористые неорганические заполнители, отвечающие требованиям ГОСТ 9757-73.
| | ИС МЕГАНОРМ: примечание. Взамен ГОСТ 10268-70 Постановлением Госстроя СССР от 22.07.1980 N 111 с 01.01.1982 введен в действие ГОСТ 10268-80. | |
4.5. Песок (морской, речной, горный или дробленый) должен соответствовать требованиям
ГОСТ 8736-67*,
ГОСТ 8735-65, а также ГОСТ 10268-70* (см.
табл. 3).
4.6. В целях снижения количества отскока (при укладке торкрета, шприц-бетона, пневмобетона) рекомендуется использовать крупно- и среднезернистые пески.
Дробленые пески увеличивают расход цемента и износ шлангов.
Весовая влажность песка (для сухих смесей) должна быть не более 4 - 5%. Меньшее значение рекомендуется для мелкозернистых песков, большее - для крупнозернистых.
4.7. Вода для затворения сухих смесей и приготовления растворов должна удовлетворять требованиям ГОСТ 4797-69*. При необходимости использования минерализованных вод следует проверять их взаимодействие с цементом и соответствующими добавками.
4.8. Рекомендуется вводить в растворы и сухие смеси добавки-ускорители схватывания и твердения
(приложение 3), а также воздухововлекающие добавки, смолу нейтрализованную воздухововлекающую (СНВ), мылонафт.
Добавки повышают липкость (адгезию) набрызг-материалов, уменьшают их размываемость при нанесении на фильтрующую поверхность и ускоряют срок схватывания и твердения в 80 - 100 раз.
4.9. Добавки в набрызг-материалы вводят в виде жидкости, пасты или порошка.
Пасты или жидкости добавляют в воду затворения, что рационально при смешении составляющих при сухом способе приготовления исходных смесей на стационарном бетонном узле. В пневмобетон и аэроцем такие добавки вводят при применении двухпоточного или трехпоточного пистолета или сопла.
| | ИС МЕГАНОРМ: примечание. Взамен ГОСТ 450-70 Постановлением Госстандарта СССР от 19.04.1977 N 962 с 01.01.1979 введен в действие ГОСТ 450-77. | |
| | ИС МЕГАНОРМ: примечание. Взамен ГОСТ 4233-66 Постановлением Госстандарта СССР от 08.04.1977 N 882 с 01.01.1978 введен в действие ГОСТ 4233-77. | |
| | ИС МЕГАНОРМ: примечание. Взамен ГОСТ 13078-67 Постановлением Госстандарта СССР от 29.04.1981 N 1868 с 01.01.1982 введен в действие ГОСТ 13078-81. | |
К жидким добавкам относятся растворы кальция хлористого (по ГОСТ 450-70), натрия хлористого (по ГОСТ 4233-66), стекла натриевого жидкого (по ГОСТ 13078-67*), алюмината натрия (по техническим условиям, приведенным в
приложении 3).
К пастообразным относится добавка НКА (NaF - 1, K2CO3 - 8, раствор Na2AlO3 - 6 вес. ч). Применяют 4 - 6%-ный раствор НКА в воде.
Добавку в виде порошка обычно перемешивают с готовой сухой смесью на месте производства укрепительных работ непосредственно перед началом укладки бетона.
В качестве порошка применяют добавку ОЭС (смесь боксита с содой и известью, см.
приложение 3).
Рекомендуется вводить в исходные растворы (пневмобетон и аэроцем) смолу МФ-17, удовлетворяющую ВТУ МХП 2538-51, а в качестве отвердителя - 10%-ную щавелевую кислоту по ГОСТ 5873-68 в количестве 20% от массы смолы.
4.10. При выборе добавки-ускорителя твердения необходимо руководствоваться следующими положениями:
добавки растворов хлористых солей следует применять при производстве укрепительных работ в холодное время года при температуре наружного воздуха не ниже минус 5 °C на сухих поверхностях.
Рекомендуемые концентрации растворов добавок приведены в
табл. 5.
Температура наружного воздуха, °C | Количество соли, кг, на 100 л воды |
NaCl | KCl | NaCl + KCl |
+5 - +2 | 2 | 2 | 1 + 1 |
+2 - 0 | 4 | 4 | 2 + 2 |
0 - -2 | - | 6 | 3 + 3 |
-2 - -5 | - | - | 3 + 3 |
Примечания: 1. Общее количество хлористых солей в смесях не должно быть более 6% от массы цемента.
2. Добавку силиката натрия в количестве 3 - 5% от массы цемента применяют при набрызге на обводненные поверхности.
3. Добавку смолы МФ-17 в количестве 2 - 3% от массы цемента применяют для повышения водонепроницаемости и адгезии и уменьшения усадки пневмобетона и аэроцема.
4. Добавки ОЭС в количестве 3 - 4% и НКА в количестве 2 - 3% от массы цемента являются комплексными (для торкрета и шприц-бетона).
4.11. Набрызг-материалы, нанесенные на поверхность откоса, должны немедленно схватываться, не размываться и не иметь водоотделения.
4.12. Вспенивающие добавки, применяемые для приготовления аэроцема, могут быть жидкими и порошкообразными (жидкость "Прогресс" Новочеркасского завода - с содержанием активного вещества 30%, порошок "Сульфанол" Сумгаитского завода - с содержанием активного вещества 78%). Они способствуют увеличению пластичности аэроцема, повышают его пористость и увеличивают удерживающую способность материала при нанесении на более крутые откосы. Целесообразное количество вспенивающей добавки должно быть в пределах от 0,05 до 0,6% от массы цемента.
4.13. Пластичность наносимого набрызг-материала оценивают по осадке конуса (СтройЦНИИЛа) и принимают для торкрета, шприц-бетона - 2 - 3 см (уложенный), пневмобетона - 8 - 14 см и аэроцема - 9 - 12 см (исходный).
4.14. Марки шприц-бетона и торкрета по прочности и морозостойкости должны соответствовать требованиям СНиП II-Д.8-62 (пп. 3.11 и 3.12) и СНиП I-В.11-62.
Проектирование состава смесей
4.15. Составы сухих и предварительно затворенных смесей должны обеспечивать получение раствора или бетона, образующих слой защитной облицовки требуемого проектом качества.
4.16. При проектировании состава набрызг-материалов необходимо:
подбирать оптимальный состав смеси заполнителей;
устанавливать содержание цемента, расход материалов на 1 м3 сухой смеси;
4.17. Состав исходной смеси для шприц-бетона по массе в сухом состоянии следует подбирать с учетом следующих рекомендаций, принимая во внимание, что лучшие смеси ограничиваются линиями графика (см.
рис. 5). Соотношение фракций гравия (щебня): 5 - 10 мм - 56 - 60%; 10 - 20 мм - 40 - 44%; модуль крупности песка 2,2 - 2,8. Максимальное отношение цемента и крупного заполнителя (щебень, гравий) должно быть не более 1:0,2. Коэффициент выхода шприц-бетона равен 0,62.
4.18. Величина отскока снижается с уменьшением доли крупного заполнителя в сухой смеси, а также с повышением расхода цемента.
4.19. Водоцементное отношение шприц-бетона следует принимать в пределах 0,45 - 0,50, а торкрета 0,35 - 0,40 (с учетом влажности заполнителей).
4.20. В качестве исходных составов смесей пневмобетона, транспортируемого растворонасосами, следует применять соотношения цемент:песок:заполнитель как 1:1:1 и 1:1:2.
4.21. Состав набрызг-материала следует корректировать на основании результатов испытания контрольных образцов и величины откоса при нанесении набрызг-материалов на вертикальную поверхность
(приложение 5).
4.22. Состав аэроцема подбирают по методике, изложенной в
приложении 4, с учетом количества вспенивающей добавки, ее активности и климатических условий района.
4.23. Материалы пневмонабрызга в защитных покрытиях должны удовлетворять требованиям, приведенным в
табл. 6.
Наименование механических свойств | Торкрет | Пневмобетон | Аэроцем | Шприц-бетон |
Подвижность по погружению стандартного конуса СтройЦНИИЛа, см | 2 - 3 | 2 - 4 (исходная 7,5 - 9,5) | - (исходная 9 - 12) | 2 - 3 |
Прочность при сжатии, кгс/см2 | 120 - 150 | 120 - 150 | 120 - 150 | 120 - 150 |
Прочность на растяжение при изгибе, кгс/см2 | 15 - 20 | 15 - 20 | 15 - 20 | 15 - 20 |
Морозостойкость, циклы | 150 | 150 | 150 | 150 |
Водонепроницаемость при толщине 5 см | В-5 | В-5 | В-5 | В-5 |
Сцепление со скальной породой, кгс/см2 | Не менее 5 |
5. Технология и механизация укрепительных работ
5.1. Технологические операции, необходимые для устройства конструкций укрепления откосов из скальных легковыветривающихся пород, разделяют на подготовительные и основные работы.
Подготовительные работы
5.2. Подготовительные работы, выполняемые при укреплении откосов насыпей, включают планировку поверхности с удалением крупных включений скального грунта, устройство выравнивающего слоя и бетонного упора возле подошвы откоса (для решетчатых конструкций).
Для указанных работ целесообразно применять бульдозеры с гидравлическим управлением, экскаваторы-драглайны, оснащенные ковшами со сплошной режущей кромкой, крановое оборудование на автомобильном и железнодорожном ходу, специальные планировщики откосов типа Э-4010.
5.3. При укреплении откосов выемок необходимо выполнить:
грубую планировку поверхности скального откоса с удалением отдельных кусков и глыб выветрелой породы;
укрепление неустойчивых, трещиноватых частей массива несущими анкерными устройствами;
отвод напорных грунтовых вод с помощью дренажных конструкций и осушение фильтрующих участков укрепляемой поверхности;
расчистку площади за верхней бровкой откоса от кустарника, деревьев, грунта делювиального слоя и забивку несущих анкеров;
бурение шурфов и заделку в них монтажных анкеров;
очистку поверхности откоса от пыли и грязи;
навешивание и крепление арматурной металлической сетки к несущим и монтажным анкерам с подготовкой маячков для контроля за толщиной будущей облицовки.
5.4. Поверхность откосов очищают от выветрелой породы с помощью отбойных молотков типа "ОМ" и "ОМСП", неустойчивые камни удаляют клиньями и ломами. Взрывные работы проводят в исключительных случаях для ликвидации крупных скальных глыб, не поддающихся механическому разрушению.
5.5. На обводненных участках концентрированные выходы грунтовых вод необходимо отвести при помощи наружного дренажа
(приложение 6).
5.6. Слой из набрызг-материалов на участки скальной поверхности с капельным дебитом наносят без предварительного осушения.
5.7. Для уменьшения объемов облицовочных работ и получения ровной поверхности крупные вывалы и углубления в откосе выемок следует предварительно заделывать бутобетонной или бетонной кладкой (бетоном марки "200").
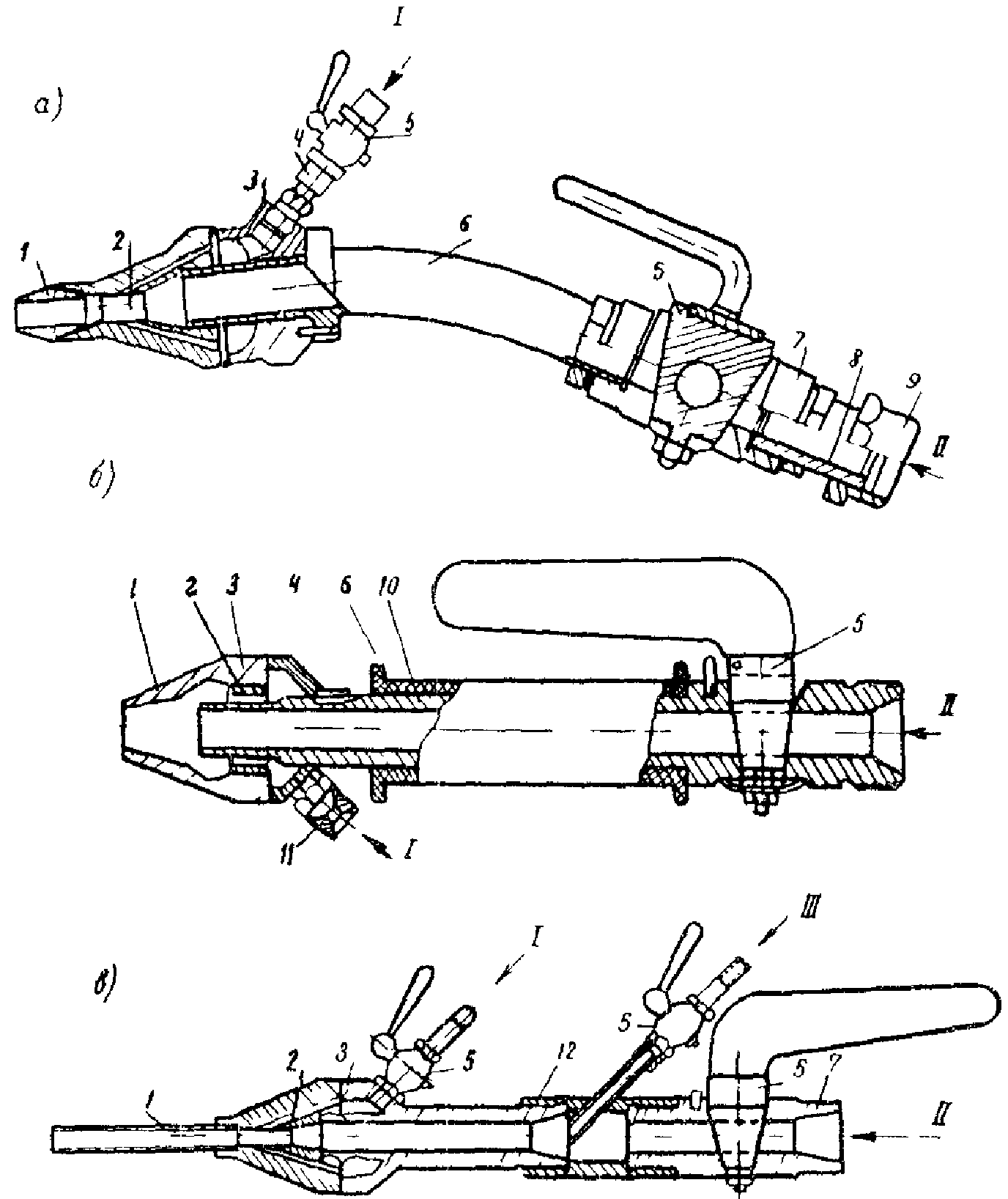
5.8. Монтажные анкеры в породах откоса устанавливают следующими способами:
забивкой непосредственно в породу (в непрочные литологические разности) или в предварительно пробуренные скважины (
рис. 6, а);
забивкой завершенных на конце анкеров в деревянные пробки (из сухого дерева прочных пород), устанавливаемые (забиваемые) в предварительно пробуренные отверстия (
рис. 6, б);
заделкой анкеров в пробуренные отверстия и последующей заливкой (инъекцией) шпуров (вместе с анкерами) цементным раствором (
рис. 6, в).
Рис. 6. Конструкции монтажных анкеров:
а - клино-щелевой; б - в деревянной пробке;
в - в монолитном цементобетоне (растворе); 1 - скважина;
2 - анкер; 3 - деревянная пробка; 4 - цементный
раствор; 5 - поверхность скального откоса;
6 - гайка; 7 - шайба; 8 - клин
5.9. Шпуры для установки анкеров бурят диаметром 20 - 22 мм наклонно к рабочей поверхности откоса. На откосах с ломаным очертанием шпуры целесообразно устраивать в характерных местах перелома поперечного профиля.
В пробуренные шпуры устанавливают монтажные анкерные стержни, а затем нагнетают цементный раствор, который целесообразно приготавливать на основе расширяющегося цемента.
5.10. Для подачи цементного раствора в горизонтальные и восходящие шпуры применяют нагнетатели различных конструкций, а при небольших объемах работ - ручные шприцы. В нисходящие шпуры просто заливают раствор.
5.11. Монтажные анкерные стержни должны выступать над поверхностью откоса на 4 - 5 см, обеспечивая после твердения раствора в шпурах возможность крепления арматурной сетки, и служат частично в качестве маячков для контроля за толщиной защитного покрытия.
5.12. Несущие анкеры устанавливают за бровкой откоса в предварительно пробуренные скважины с обязательной заделкой в прочный скальный грунт не менее чем на 1 м. Шпуры с установленными в них анкерами заливают цементным раствором.
5.13. Монтаж металлической сетки начинают сверху, закрепляя края каждого рулона за стержни несущих анкеров. Рулоны опускают, постепенно разматывая сетку и прикрепляя ее к монтажным анкерам
(рис. 7). При этом следует иметь в виду, что монтаж сетки возможен и до установки монтажных анкеров, которые затем крепят в откосах выемки согласно
пп. 5.8 -
5.9 через ячейки сетки.
1 - анкер; 2 - рулон сетки
5.14. Металлическую сетку следует плотно притягивать к поверхности откоса и привязывать к анкерным стержням вязальной проволокой, приваривать электросваркой или крепить с помощью опорных плит (20 x 20 см) на концах монтажных анкеров с последующей обваркой, обвязкой или затяжкой гайками.
5.15. При отсутствии анкеров или установке их только в характерных местах поперечного профиля откоса толщину защитного покрытия контролируют по предварительно установленным маячкам.
Маячки изготавливают из проволоки диаметром 5 - 6 мм и закрепляют на поверхности откоса цементопесчаным раствором с ускорителем твердения из расчета один маячок на 5 - 6 м2 поверхности.
5.16. Поверхность откоса от пыли, грязи, а также мелких фракций продуктов выветривания очищают водяной или воздушно-водяной струей.
В случае сильновыветрелых пород, значительной мощности делювиального слоя верхней части, большого скопления неустойчивого выветревшегося материала поверхность очищают после монтажа сетки (промывка через сетку). Для промывки целесообразно использовать поливомоечные машины, пневмонагнетатели, цемент-пушки и бетоншприцмашины при выключенных дозаторах смеси.
5.17. Работы, указанные в
пп. 5.14 -
5.16, следует выполнять с помощью машин и механизмов, позволяющих перемещать платформу с людьми и оборудованием вдоль поверхности откоса, например, с помощью гидравлического подъемника для буровых работ МШТС-2ТБ (см.
приложение 2), а также подвесных люлек на базе лебедок грузоподъемностью 5 т, установленных на площадке за бровкой выемки.
Основные работы
5.18. При биологической защите откосов земляного полотна гидропосев осуществляют с помощью гидросеялки на автомобильном (Д-16) или железнодорожном ходу. Для выемок гидропосев производят по обнаженной (раскрытой) верхней части слоя, представленного делювиальными грунтами, а для насыпей - по слою растительного грунта, делювиального грунта, либо по защитному слою, предварительно уложенным на поверхности скального откоса.
5.19. Защитные слои отсыпают одновременно либо после сооружения насыпи.
5.20. Погребенный под защитным слоем экран из вязкого битума устраивают следующим образом. После отсыпки выравнивающего слоя на его поверхность наносят равномерный тонкий слой битума с помощью автогудронаторов, оборудованных выносными трубой или форсунками на гибких шлангах. После того, как битум застынет, на откосе распределяют грунт защитного слоя экскаватором-драглайном, бульдозером или откосопланировщиком Э-4010. Бульдозеры при этом можно использовать только после засыпки битумного экрана слоем защитного грунта толщиной не менее 0,2 м.
5.21. Монтаж решетчатых конструкций на откосе насыпей следует начинать после укладки выравнивающего слоя и устройства упорной бермы. Сборные элементы монтируют снизу вверх в соответствии с требованиями "Технических указаний по применению сборных решетчатых конструкций для укрепления конусов и откосов земляного полотна"
ВСН 181-74. Ячейки конструкции заполняют растительным грунтом заподлицо с железобетонными сборными элементами и высевают семена трав методом гидропосева.
5.22. Технологические процессы по устройству защитных конструкций укрепления откосов скальных выемок включают комплекс работ, связанных с приготовлением рабочих смесей для набрызг-материалов, транспортировкой и укладкой их энергией сжатого воздуха на подготовленную поверхность, а также уходом за свежеуложенным покрытием.
5.23. Общую технологическую схему приготовления рабочих смесей для набрызг-материалов необходимо разрабатывать с учетом обязательного использования следующего оборудования:
транспортных средств для доставки компонентов смесей;
системы грохотов и сит для получения заданных фракций заполнителя;
дозаторов компонентов растворов и сухих смесей;
емкостей для воды.
5.24. В зависимости от объемов работ по устройству защитных покрытий и выбранного способа пневмонабрызга рабочие смеси приготавливают на стационарных бетоносмесителях либо непосредственно на месте производства укрепительных работ.
5.25. Сухие смеси целесообразно приготавливать на стационарных бетонных заводах, используя установки принудительного перемешивания типа С-932, С-946 и С-984 (см.
приложение 2).
При этом необходимо применять сушильные агрегаты типа Д-288 (ДС-4) или Д-386 (ДС-14) (с отключенными смесителями и дозаторами битума) для подсушки песка, если его влажность более 4 - 5%.
5.26. В случае приготовления сухой смеси непосредственно на месте производства укрепительных работ смеситель устанавливают на эстакаде выше уровня цемент-пушек или шприцмашин для гравитационной загрузки в них получаемого перемешанного материала.
5.27. Производительность применяемых растворо- или бетоносмесителей должна быть равна или больше производительности ведущих машин для пневмонабрызга. При этом емкость одного замеса смесителя должна обеспечивать бесперебойную работу машин для пневмонабрызга и равна: 250 л для двухкамерной бетоншприцмашины БМ-60 или 500 л - для однокамерной.
5.28. Компоненты загружают в смесители в следующем порядке: гравий (щебень), цемент, добавки, песок - дозируя по массе с точностью: цемент - 2%; заполнитель - 3%. Минимальное время перемешивания сухой смеси - 1,5 мин.
5.29. Транспортировать сухую смесь следует самосвалами, оборудованными брезентовыми кожухами для прикрытия кузовов. Сухую смесь разгружают в промежуточный накопительный бункер, затем она поступает в скиповый подъемник цемент-пушек или бетоншприцмашин.
5.30. Сухая смесь должна быть использована в течение рабочей смеси (считая с момента ее приготовления).
Промежуток времени между приготовлением смеси и процессом ее набрызга следует всегда ограничивать из-за снижения активности цемента и образования комьев, что ухудшает пневмоподачу смеси по шлангам и снижает прочность получаемого материала
(рис. 8).
Рис. 8. Изменение прочности шприц-бетона
в зависимости от влажности сухой смеси
при ее шестичасовом хранении:
1 - Ц:П = 1:4; 2 - Ц:П = 1:3
5.31. При централизованном приготовлении сухой смеси добавки-ускорители твердения следует вводить с водой затворения на месте укрепительных работ. В случае приготовления смеси возле цемент-пушек и бетоншприцмашин возможно также использование порошкообразной добавки ускорителя схватывания в процессе перемешивания. При этом исходная смесь должна быть использована немедленно.
5.32. Смеси для получения пневмобетона и аэроцема (мокрый способ) целесообразно приготавливать на месте укрепительных работ из-за опасности их сегрегации (расслоения) при транспортировке.
В некоторых случаях допускают приготовление данных смесей централизованно с обязательным повторным перемешиванием перед набрызгом для восстановления нарушенной структуры.
5.33. Рабочую смесь для пневмобетона приготавливают в растворомешалках или смесителях, указанных в
п. 5.25. При этом следует тщательно просеивать песок, а также готовый раствор на виброситах перед загрузкой его в бункер растворонасоса.
5.34. Аэрированный цементопесчаный раствор приготавливают не ранее чем за 10 - 15 мин до его нанесения в следующем порядке: заполняют барабан смесителя (с вертикальным валом) необходимым количеством воды и вводят вспенивающую добавку; закрывают барабан смесителя крышкой и перемешивают воду со вспенивающей добавкой до получения устойчивой пенной эмульсии (ориентировочно в течение 1,5 - 2 мин при 300 - 500 об/мин вала смесителя); засыпают третью часть нормы песка, затем попеременно цемент и песок, непрерывно перемешивая смесь при максимальных оборотах вала смесителя (при закрытой крышке и воронке) до момента образования аэрированного раствора необходимой консистенции, определяемой визуально. Готовый раствор должен удерживаться, не сплывая, слоем толщиной до 20 - 30 мм на каком-либо предмете (линейке, стержне и т.п.), устанавливаемом вертикально. Ориентировочное время перемешивания при этом составляет: при 500 - 700 оборотах - 4 - 5 мин; 700 - 900 оборотах - 3 - 4 мин; 900 - 1200 оборотах - 2 - 3 мин.
В случае использования ускорителей твердения хлористых кальция и натрия их вводят после перемешивания воды со вспенивающей добавкой и дополнительно перемешивают в течение 1 мин. Жидкое стекло в качестве такой добавки вводят непосредственно в трехпоточный пистолет
(рис. 9).
Рис. 9. Схема конструкции пистолета:
а - для инъецирования (и заделки швов) аэрированными
растворами; б - для торкретирования аэрированными
растворами; в - трехпоточный пистолет; I - сжатый воздух;
II - раствор; III - добавка для ускорения схватывания;
1 - наконечник; 2 - камера смешения; 3 - корпус; 4 - штуцер;
5 - кран; 6 - трубка; 7 - корпус крана; 8 - ниппель;
9 - гайка; 10 - ствол; 11 - кран; 12 - муфта
Допускается засыпать в смеситель предварительно перемешанные цемент и песок.
Готовый раствор загружают (по возможности самотеком) из барабана смесителя в пневмонагнетатель, пропуская его через сито (с отверстиями размером 5 - 6 мм), установленное над приемным бункером нагнетателя.
5.35. В соответствии с классификацией (см.
табл. 3) технология получения различных материалов пневмонабрызга имеет свои отличительные особенности в зависимости от способа приготовления рабочих смесей.
5.36. Торкрет и шприц-бетон получают на основе сухих смесей, которые загружают в цемент-пушки (С-320А) и бетоншприцмашины (БМ-60, БМ-68). Отдозированная рабочая сухая смесь по материальному (резинотканевому) шлангу с внутренним диаметром 38 - 50 мм, длиной не менее 6 м транспортируется сжатым воздухом к смесительному соплу
(рис. 10), куда по дополнительному шлангу подведена вода для затворения. Затворенная смесь энергией сжатого воздуха набрызгивается из сопла на подготовленную скальную поверхность.
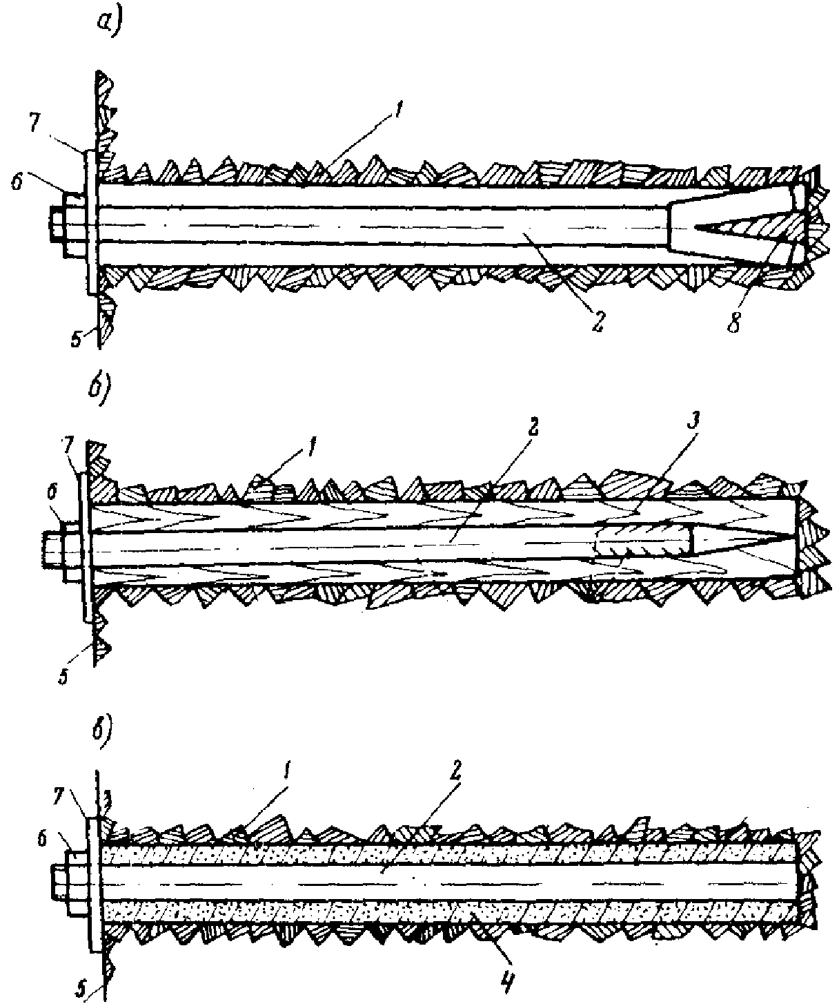
Рис. 10. Схема бетоншприцмашины БМ-60 и насосной станции:
1 - бетоншприцмашина БМ-80; 2 - водопроводная магистраль;
3 - регулировочный вентиль; 4 - линия сброса расхода;
5 - вентиль с манометром; 6 - трехходовой кран;
7 - ротаметр; 8 - дроссель; 9 - смесительная камера сопла;
10 - сопло; 11 - сливной кран; 12 - ресивер; 13 - насос;
14 - резервуар; 15 - материальный шланг;
16 - дозатор сухой смеси
Подачу воды и ускорителя твердения к соплу обеспечивают с помощью специальной насосной станции (см.
рис. 10).
Расчет расхода воды для затворения сухой смеси приведен в
приложении 7.
5.37. Пневмобетон и аэроцем получают путем пневмоподачи на поверхность скального откоса цементопесчаных или аэрированных смесей с помощью растворонасосов или пневмонагнетателей по материальным шлангам через сопло или специальный пистолет.
5.38. Набрызг пневмобетона выполняют прямоточными растворонасосами (
рис. 11,
12) на базе отдельных узлов серийно выпускаемых плунжерных диафрагменных моделей (см.
приложение 2).
Рис. 11. Растворонасос прямоточного действия:
1 - электродвигатель; 2 - промежуточная жидкость;
3 - насосная коробка; 4 - заливочное отверстие;
5 - диафрагма; 6 - вибрационное сито; 7 - загрузочный
бункер; 8 - шаровой всасывающий клапан; 9 - скобы
ограничителя; 10 - шаровой нагнетательный клапан;
11 - клапанная коробка; 12 - смесительная камера;
13 - материальный шланг; 14 - завихритель; 15 - штуцеры
подачи воздуха; 16 - рабочая камера; 17 - плунжер;
18 - шатун; 19 - коленчатый вал; 20 - шестерни
Рис. 12. Схема стационарной установки "Пневмобетон":
1 - компрессор; 2 - воздушные шланги; 3 - вибрационное
сито; 4 - растворомешалка; 5 - скиповый подъемник;
6 - приемный бункер; 7 - растворонасос прямоточного
действия; 8 - столик; 9 - смесительная камера
насоса; 10 - материальный шланг; 11 - насадка
5.39. Аэроцем наносят с помощью двух- или трехпоточного пистолета с укороченным наконечником (соплом).
Трехпоточный пистолет имеет три канала: центральный - для раствора, два боковых - соответственно для сжатого воздуха и ускорителя твердения (см.
рис. 9).
Аэрированный раствор подают из растворосмесителя в пневморастворонагнетатель
(рис. 13), из которого аэрированный цементный раствор транспортируется сжатым воздухом по шлангам с внутренним диаметром 25 - 30 мм к месту нанесения на откос. Объем пневморастворонагнетателя, как правило, не должен быть больше объема растворосмесителя
(приложение 8). Сжатый воздух к пистолетам подают шлангом с внутренним диаметром 12 - 16 мм.
для приготовления и укладки аэроцема:
1 - растворонагнетатель; 2 - редукционный клапан;
3 - предохранительный клапан; 4 - привод подъема ковша;
5 - растворосмеситель; 6 - загрузочный ковш;
7 - пневмоцилиндр для установки смесителя
под заданным углом
5.40. Режим процесса пневмонабрызга регулируют, наблюдая за характером "факела" смеси, вылетающей из сопла. Получаемый материал должен быть плотным, равномерно покрывать поверхность, не стекать; количество отскока (торкрет, шприц-бетон, пневмобетон) не должно превышать 15% при набрызге на вертикальные поверхности откосов.
5.41. Ведущие машины для пневмонабрызга, независимо от принятой технологии (сухой или мокрый способ), должны быть обеспечены электроэнергией и подачей сжатого воздуха от передвижных или стационарных компрессорных установок производительностью не менее 5 м
3/мин (см.
приложение 2).
Комплектовать энерго- и компрессорные группы необходимо на основе имеющегося оборудования на конкретном строительном объекте в зависимости от объемов укрепительных работ и удобства размещения всего оборудования для пневмонабрызга.
5.42. При использовании передвижных компрессорных установок для снижения сопротивления воздухопровода рекомендуется подключать ведущие машины непосредственно к ресиверам компрессоров, заменив торцевые заглушки на фланцы с патрубком диаметром не менее диаметра материального шланга.
В тех случаях, когда производительности одного компрессора (по расходу воздуха) недостаточно, целесообразно использовать две машины с общей подачей воздуха к оборудованию для пневмонабрызга.
5.43. В связи с линейным характером укрепительных работ на объектах транспортного строительства комплект машин и механизмов для пневмонабрызга целесообразно размещать на двухосном автоприцепе (или железнодорожной платформе) (
рис. 14 -
16).
Рис. 14. Схема установки "Пневмобетон":
1 - вибросито; 2 - вибратор; 3 - разгрузочное устройство;
4 - водомерный бак; 5 - смесительный барабан; 6 - лопастной
вал; 7 - скиповый подъемник; 8 - бункер насоса;
9 - растворонасос; 10 - воздуховод
Рис. 15. Передвижная бетонирующая станция (ПБС):
1 - автоприцеп; 2 - бетоншприцмашина; 3 - накопительный
бункер; 4 - бак для воды; 5 - элеватор;
6 - смеситель; 7 - скиповый подъемник
Рис. 16. Передвижной комплект Союздорнии для пневмонабрызга:
1 - автоприцеп; 2 - стойки бортов-подмостей;
3 - подмости-борта; 4 - электростанция; 5 - компрессор РК-6;
6 - вибратор; 7 - бетоншприцмашина БМ-80 с насосной
станцией; 8 - скиповый подъемник
При комплектации рекомендуется использовать малогабаритные компрессоры РКВН-6 (см.
приложение 2) и передвижные электростанции. Кроме того, должна быть предусмотрена возможность подключения электроэнергии и воздуха от внешних источников. Откидные борта автоприцепа следует оборудовать в виде инвентарных подмостей, которые устанавливают в рабочее положение на специальных металлических стойках (см.
рис. 16).
5.44. Технологическая схема организации и производства укрепительных работ по набрызгу защитного покрытия должна быть строго увязана с принятой технологией разработки выемки. В зависимости от технологии разработки скальной выемки, степени выветрелости, а также склонности пород к выветриванию устройство защитного покрытия может быть либо совмещено с разработкой выемки, либо проведено после ее завершения.
При этом взрывные работы выполняют на расстоянии более 30 см от места нанесения набрызг-материалов спустя 3 - 5 суток (время, необходимое для набора 50%-ной прочности материала защитного покрытия при использовании добавок ускорителей твердения).
5.45. Подачу на откос системы материальных шлангов, сопел, пистолетов, а также рабочих, осуществляющих процесс набрызга, производят в зависимости от глубины выемки одним из способов, указанных в
табл. 7.
Глубина выемки, м | Рекомендуемое оборудование для подачи шлангов и размещения рабочих | Расположение оборудования для пневмонабрызга |
До 4 | Инвентарные подмости, переносные лестницы, эстакады, автопогрузчики с навесной площадкой | Возле подошвы откоса |
4 - 12 | Автопогрузчики с навесной площадкой, гидроподъемники АГП-12 | То же |
12 - 35 | | " |
8 - 35 и более | Подвесные люльки на базе лебедок (ручных, электрических) грузоподъемностью не менее 5 т | На площадке за бровкой выемки |
Наиболее целесообразна подача применяемого оборудования и рабочих к поверхности укрепляемого откоса с использованием гидроподъемников (см.
приложение 2). На выносной стреле таких машин в специальной подвесной кабине на турели закрепляют сопло (или другой рабочий орган). Оператор, находящийся там же, управляет процессом набрызга, поворачивая турель, поднимая и опуская стрелу.
С одной стоянки может быть укреплена поверхность откоса площадью до 300 м
2 (рис. 17).
Рис. 17. Технологическая схема устройства
защитного покрытия с помощью гидроподъемника и автоприцепа
с оборудованием для пневмонабрызга
5.46. В тех случаях, когда отсутствует оборудование, рекомендованное в
табл. 7, допускается осуществлять процесс набрызга с помощью рабочих, которые должны быть снабжены специальным инвентарем для скалолазания (тросы, карабины, спецодежда и обувь).
При этом пеньковые тросы должны быть надежно закреплены за бровкой откоса, шланги подвязаны к дополнительным тросам и уложены по образующей откоса; следует предусматривать систему страховок при вертикальном и горизонтальном перемещениях сопловщика и подсобного рабочего.
5.47. Процесс набрызга начинают с увлажнения подготовленной скальной поверхности воздушно-водяной струей. При наличии монтажной сетки увлажняют через нее. Воду подают через сопло, распыляя ее сжатым воздухом. При использовании пиевмонагнетателей их предварительно заполняют водой, которую затем под давлением воздуха через пистолет подают на откос.
Увлажнение обязательно перед началом работ, а также после каждого технологического перерыва в течение смены.
5.48. Набрызг материалов, приготовленных сухим способом (торкрет, шприц-бетон), производят, включая последовательно воду, воздух, дозатор смеси (цемент-пушки или бетоншприцмашины). По мокрой технологии цементопесчаный или аэрированный раствор подается под давлением в готовом виде через сопло или пистолет.
Поверхность, подготовленную для укрепления, целесообразно разделять на отдельные участки шириной 1 - 2 м, каждый из которых следует покрывать слоем набрызг-материала последовательно, начиная снизу.
При этом сопло или пистолет направляют перпендикулярно к поверхности, выдерживая оптимальное расстояние, указанное в
табл. 8.
Материал пневмонабрызга | Расстояние от среза сопла или пистолета до покрываемой поверхности, м |
Торкрет | 0,7 - 0,9 |
Пневмобетон | 0,9 - 1,0 |
Шприц-бетон | 1,0 - 1,2 |
Аэроцем | 0,4 - 0,5 |
5.49. Для получения равномерного слоя защитного покрытия оператор в процессе набрызга выполняет соплом или пистолетом одновременно круговые и горизонтальные перемещения
(рис. 18); толщина образуемого слоя обратно пропорциональна скорости таких перемещений. При задержке рабочего органа на одном месте возникает утолщение, а излишне быстрое движение приводит к получению тонкого слоя набрызг-материала.
Рис. 18. Порядок перемещения сопла при пневмонабрызге:
1 - круговые движения сопла; 2 - горизонтальные
перемещения; 3 - материал защитного покрытия
В первую очередь следует заполнить углубления на поверхности скального откоса и выровнять "рваный" профиль выемки.
5.50. Минимально возможная толщина покрытия из набрызг-материалов равна 10 - 30 мм (меньшие значения рекомендуются для пневмобетона, аэроцема, а также торкрета).
При этом цементопесчаные и аэрированные цементопесчаные растворы наносят на поверхность откоса такими слоями, чтобы не было стекания раствора по откосу.
Минимальная толщина слоя материала над монтажной сеткой должна быть не менее 20 мм.
5.51. Пневмонабрызг по монтажной сетке осуществляют таким образом, чтобы смесь сквозь ячейки достигала скальной поверхности, а сама металлическая сетка была бы утоплена внутри набрызг-материала. Для этой цели рабочие органы (сопло, пистолет) отклоняют от нормального положения до +/- 15°, чтобы перекрыть наклонно поставленные анкеры и неплотно прилегающие участки сеток.
5.52. Работы по устройству защитных покрытий рекомендуется проводить при температуре не ниже 5 °C. В исключительных случаях допускается набрызг при более низких температурах, но не ниже минус 5°.
5.53. Вертикальные рабочие швы в защитном покрытии устраивают с шагом 8 - 10 м путем торцевого сопряжения отдельных захваток.
5.54. Процесс пневмонабрызга должен быть по возможности непрерывным. При технологических перерывах, а также после окончания смены цемент-пушки и бетоншприцмашины выключают в следующем порядке: дозатор смеси, воздух, вода.
В случае перерыва в работе до 10 - 15 мин цементопесчаные и аэрированные растворы, оставшиеся в шлангах, должны быть перемещены обратно в растворонасос или в нагнетатель.
При перерыве свыше 20 мин (мокрый способ) оборудование и шланги должны быть освобождены от раствора и промыты водой.
5.55. Завершающей технологической операцией по устройству защитного покрытия является нанесение набрызг-материала на площадку за бровкой откоса, омоноличивание несущих анкеров и горизонтального участка монтажной сетки.
5.56. В начальный период схватывания защитного покрытия необходимо:
поддерживать температурно-влажностный режим, обеспечивающий нарастание прочности бетона заданными темпами;
предотвращать значительные температурно-усадочные деформации и образование трещин;
предохранять твердеющий материал от ударов, сотрясений и других механических воздействий, ухудшающих качество бетона в конструкции;
предохранять слой из набрызг-материалов от соприкосновения с текучей водой в первые 3 суток твердения при использовании добавки-ускорителя твердения и 14 суток - без нее;
поддерживать в сухую погоду поверхность облицовки во влажном состоянии до достижения набрызг-материалами 70% проектной прочности.
5.57. В зависимости от климатических условий облицовку следует поливать распыленной водой с частотой, указанной в
табл. 9.
Температура воздуха в тени, °C | 20 | 30 | 40 | 50 |
Наименьшее число увлажнений облицовки в течение суток | 2 | 4 | 6 | 8 |
Первые трое суток с момента нанесения набрызг-материалов, а также при нахождении покрытия на солнце число увлажнений следует увеличить в 1,5 раза против указанного в
табл. 9.
5.58. Вода для поливки набрызг-материалов должна удовлетворять требованиям, предъявляемым к воде для затворения тяжелого бетона, предусмотренного ГОСТ 4797-69*.
5.59. При пасмурной погоде и отсутствии добавки-ускорителя твердения увлажнение набрызг-материалов защитной конструкции следует производить не позднее, чем через 6 - 10 ч после ее устройства, а в жаркую, ветреную погоду и при использовании добавки - через 1 - 2 ч.
5.60. При относительной влажности воздуха более 80% облицовку достаточно поливать один раз в сутки, а при температуре наружного воздуха до 5 °C и ниже - поливать не следует.
5.61. Бурить шпуры в облицовке, например, для установки анкеров, закрепляющих переносные лестницы, следует не раньше, чем через 5 суток после нанесения набрызг-материалов.
5.62. Набрызг-материалы неудовлетворительного качества (смывы, отслоения, выкрашивание и т.д.) подлежат удалению сразу же после нанесения.
Дефектные места площадью более 0,05 м2 после вырубки очищают, промывают и снова заделывают набрызг-материалами, площадью менее 0,05 м2 заделывают раствором на основе расширяющегося цемента.
5.63. Все проводимые работы по уходу за набрызг-материалами следует записывать в журнал производства работ согласно СНиП III-В.1-70.
6. Контроль качества и приемка работ
6.1. Качество защитного покрытия зависит от качества исходных материалов; активности вспенивающей добавки; влажности заполнителей; готовности участков поверхности к укреплению (правильность установки анкеров, крепление монтажной сетки и т.д.); дозирования составляющих и приготовления смесей (продолжительность и качество перемешивания); времени использования приготовленной смеси; введения добавки-ускорителя твердения; состава сухой смеси или растворов (для пневмобетона и аэроцема); технологии набрызга; толщины наносимого слоя; сроков ухода; физико-механических свойств набрызг-материалов по контрольным образцам или путем неразрушающих методов.
Контроль отдельных процессов и технологических операций пневмонабрызга проводят один раз в течение рабочей смены и получаемые данные фиксируют в журнале производства работ.
6.2. Качество цемента проверяют один раз в 15 дней, а также при поступлении новой партии.
6.3. Физико-механические свойства набрызг-материалов контролируют в соответствии с требованиями СНиП III-В.1-70, а также путем испытаний образцов в виде кубиков и балочек, которые получают, заполняя набрызг-материалом соответствующие формы. Заполняют минимум три формы при устройстве покрытия у подошвы откоса, в его средней части и у верхней бровки. Общее количество образцов должно быть не менее 18.
При набрызге материалов на основе сухих смесей в контрольные формы две противоположные боковые стенки должны быть с отверстиями диаметром 10 - 12 мм, которые сверлят в шахматном порядке с шагом 20 - 30 мм.
Перед испытанием балочек и кубиков краевые полосы материала срезают на всю глубину формы.
Получаемые образцы выдерживают в условиях, аналогичных производственным.
По требованию заказчика может производиться испытание кернов, выпиленных из готового защитного покрытия.
6.4. Для контроля физико-механических свойств набрызг-материалов испытывают образцы на прочность при сжатии, растяжении и изгибе, определяют сцепление с поверхностью скального откоса, а также водонепроницаемость, водопоглощение и морозостойкость (см.
приложение 5).
6.5. Изготовление и испытание образцов:
ежемесячно - испытания на прочность;
на каждые 500 м2 защитного покрытия - испытания на водонепроницаемость, водопоглощение и морозостойкость;
на каждые 1000 м2 покрытия - испытания на сцепление с породой (адгезию).
Допускается дополнительное определение прочности материала пневмонабрызга простукиванием эталонным молотком (Шмидта или Кашкарова) согласно "Временным указаниям по определению прочности бетона и раствора в конструкциях эталонным молотком" ВСН 13-61 (Главмосстрой).
6.6. Готовое защитное покрытие должно удовлетворять следующим требованиям:
соответствовать проекту;
на поверхности его не должно быть усадочных трещин, отслаиваний и других деформаций;
прочность покрытия должна быть не ниже предусмотренной проектом.
6.7. Исправление дефектов облицовки рекомендуется производить согласно
п. 5.62.
7. Техника безопасности производства укрепительных работ
7.1. Работы, связанные с устройством защитного покрытия методом пневмонабрызга, выполняют в соответствии со
СНиП III-А.11-62 "Техника безопасности в строительстве", а также "
Правилами технической эксплуатации и безопасности обслуживания электроустановок промышленных предприятий" и "
Правилами устройства и безопасной эксплуатации сосудов, работающих под давлением".
7.2. Обслуживание машин, механизмов и приспособлений необходимо выполнять в соответствии с требованиями типовых инструкций и указаний по технике безопасности для данного оборудования.
7.3. Неустойчивые куски породы на откосах и склонах высотой более 5 м удаляют специальные скалолазные бригады с соблюдением правил безопасности для горно-обвальных бригад
(приложение 9).
7.4. Удаление неустойчивых обломков скальных пород, а также выветрившегося слоя с поверхности откосов или склонов производят только сверху вниз. Запрещается проводить работы сразу на нескольких ярусах.
7.5. Для работы на высоте необходимо устраивать прочные настилы, подмости или применять подъемные устройства (подвесные подмости, люльки и гидроподъемники) с ограждениями-перилами и лестницами. Скорость опускания люльки не должна превышать 20 м/мин.
Лестницы высотой до 20 м рассчитывают на устойчивость и прикрепляют анкерами к откосу.
Подмости и леса перед началом работ должны быть проверены и приняты по акту.
7.6. Рабочие, находясь на переносных лестницах, подмостях и в люльках, обязаны закрепляться предохранительными поясами.
7.7. Рабочие, непосредственно связанные с приготовлением смеси, получают спецодежду и спецобувь, предохранительные очки и респираторы, а сопловщики - каски, предохранительные маски и биологические перчатки.
7.8. При работе с добавками следует не допускать их попадания в глаза и на слизистые оболочки. Вблизи мест, где производятся работы с добавками, должны находиться бак с питьевой водой и специальные растворы для оказания первой помощи (2%-ный раствор борной, 1%-ный раствор уксусной кислот или 0,5%-ный раствор питьевой соды).
7.9. На эксплуатируемых железных дорогах оборудование и необходимый инвентарь следует располагать за пределами габарита приближения строений "С" (ГОСТ 9238-73) в состоянии, исключающем возможность опрокидывания или произвольного смещения.
На эксплуатируемых автомобильных дорогах оборудование и инвентарь следует располагать на обочине с ограждением опасной зоны соответствующими дорожными знаками.
7.10. Между оператором машины и сопловщиком должна быть установлена постоянная устойчивая сигнализация (зрительная, световая, звуковая). Оператор машины без команды сопловщика не должен начинать подачу смеси.
7.11. Бригада рабочих по укреплению поверхности откоса должна пройти обязательный техминимум и специальный инструктаж по эксплуатации оборудования.
7.12. Бетоншприцмашины БМ-60, БМ-68 и растворонагнетатели, работающие под давлением сжатого воздуха, до начала работ должны быть испытаны.
Давление в них не должно превышать величины рабочего давления, установленного паспортом.
Исправность манометров проверяют ежедневно перед началом работ. Манометры и предохранительные клапаны пломбируют.
7.13. Устранение неисправностей в оборудовании и ликвидацию пробок в материальных шлангах производят только при снятом давлении сжатого воздуха и выключенной электроэнергии.
7.14. Открывать крышки бетоншприцмашин БМ-60, БМ-68 и пневмонагнетателей для загрузки их смесью разрешается только после выпуска через специальный кран оставшегося в резервуаре сжатого воздуха.
| | ИС МЕГАНОРМ: примечание. Взамен ГОСТ 10362-63 Постановлением Госстандарта СССР от 14.06.1976 N 1417 с 01.01.1978 введен в действие ГОСТ 10362-76. | |
7.15. Воздухоподводящие, водяные и материальные трубопроводы монтируются из резинотканевых шлангов, соответствующих требованиям ГОСТ 8318-57*, ГОСТ 10362-63* или ГОСТ 90-61.
7.16. Соединения шлангов должны быть выполнены с помощью накидной гайки и штуцера. Шланги в штуцерах закрепляют четырьмя закрепками диаметром 8 мм или металлическими стяжными хомутами. Запрещается применять для закрепления шлангов проволоку (закрутки), а также гайки и штуцера с поврежденной резьбой.
7.17. Не допускаются задиры шлангов, закраины концов труб, острые углы и изломы в местах соединений.
7.18. Закупорка материального шланга может произойти в результате:
попадания в сопло фракций щебня большего размера, чем выходное отверстие наконечника;
попадания воды в материальный шланг при перерывах в работе и схватывания в результате этого сухой смеси внутри шланга;
налипания на внутреннюю поверхность шлангов смеси с влажностью выше 4 - 5%;
нарушений в соединениях шлангов;
разрыва внутреннего резинового слоя шланга и внедрения смеси между резиной и слоями корда.
7.19. При образовании в материальном шланге пробок следует немедленно прекратить подачу в шланг сжатого воздуха и смеси; выпустить собравшийся в машине сжатый воздух через специальный кран; простукать материальный шланг деревянной кувалдой в месте предполагаемого образования пробки и, отсоединив секции шланга, удалить скопившуюся в шланге смесь. После сборки секций шлангов всю магистраль продувают сжатым воздухом. При этом сопло должно быть отведено в сторону от людей и надежно закреплено.
7.20. В темное время суток место работ по нанесению набрызг-материалов должно быть освещено (яркость не менее 50 люкс).
РЕКОМЕНДАЦИИ ПО ОЦЕНКЕ СТЕПЕНИ ВЫВЕТРЕЛОСТИ
И СКЛОННОСТИ ГОРНЫХ ПОРОД К ВЫВЕТРИВАНИЮ
Для назначения защитных конструкций необходима качественная и количественная оценка степени выветрелости и склонности горных пород к дальнейшему выветриванию.
Качественную оценку осуществляют на стадии изысканий по следующим инженерно-геологическим признакам: мощности и зональности распространения выветрелых пород; геолого-петрографическим и инженерно-геологическим особенностям пород в зонах выветривания; скорости выветривания пород при вскрытии их естественными образованиями, горными выработками и т.д.; изменению интенсивности и характера процессов выветривания в зависимости от местных гидрогеологических, геоморфологических и геологических условий.
Основными методами качественной оценки характера выветриваемости и скорости выветривания являются визуальные наблюдения пород в естественных и искусственных обнаженных с отбором образцов пород (средних проб и отдельных образцов) для лабораторного исследования их состава и физико-механических свойств.
Скорость выветривания пород изучается на специальных разрезах и расчистках с различной экспозицией по странам света и по отношению к направлению господствующих ветров.
В результате качественной оценки устанавливают целесообразность применения тех или иных конструкций для защиты скальных откосов от процессов выветривания, а также определяют способ производства работ. На основе качественной оценки устанавливают также необходимость проведения количественной оценки.
Количественная оценка выветрелых горных пород включает специальные лабораторные исследования образцов как невыветрелых, так и разной степени выветрелости (см.
табл. 1 настоящих "Методических рекомендаций").
Для проведения количественной оценки необходимы следующие данные:

,

- коэффициенты пористости выветрелой и невыветрелой горных пород;
Rв, Rвс - временные сопротивления на одноосное сжатие в водонасыщенном и воздушно-сухом состоянии;

,

- объемная масса соответственно выветрелой и невыветрелой горных пород.
Указанные данные позволяют на стадии проектного задания определить простейшие показатели, необходимые для количественной оценки:

- показатель разуплотнения;

- степень выветрелости;

- коэффициент размягчаемости.
На основе показателей Bв, Kвс устанавливают вероятность развития деформаций в виде вывалов в поверхностных слоях откосов скальных выемок.
Наиболее опасными с этой точки зрения являются породы с показателями Bв >= 0,5 и Kвс <= 0,9.
Выветриваемость пород характеризуется скоростью изменения показателя степени выветрелости, т.е. изменением показателя разуплотнения

за данный промежуток времени

.
Однако значения
Vв могут быть сопоставимы только в том случае, если условия выветривания сравниваемых пород не изменяются за данный промежуток времени

.
Ускоренное определение выветриваемости, т.е. склонности горных пород с той или иной степенью выветрелости (после обнажения их в откосных частях) к дальнейшему выветриванию, целесообразно осуществлять в лабораторных условиях. Простейшими являются испытания на размокание. В процессе таких испытаний определяют скорость размокания, т.е. скорость распада образца на отдельные мелкие фракции, а также качественно устанавливают изменения, происходящие в породе: расслоение, трещинообразование и т.п.
Количественным показателем при таких испытаниях может служить
Kрз - коэффициент размягчаемости. В тех случаях, когда с образцом не происходит никаких видимых изменений, а
Kрз >= 0,75 (СНиП II-15-74,
табл. 1), осуществляют испытания на циклические воздействия размокания-высушивания, качественно и количественно оценивая изменения свойств после каждого цикла.
Для этих целей устанавливают графически зависимость от количества циклов. Наклон получаемой кривой качественно характеризует склонность породы к выветриванию, а тангенс угла наклона кривой (или касательной) к оси абсцисс является количественным показателем, с увеличением которого резко снижаются физико-механические свойства горных пород и возрастает условная скорость выветривания.
В некоторых случаях (особенно для районов I и II дорожно-климатических зон) производят испытания на циклическое промерзание-оттаивание или на воздействие двух совместных факторов промерзания-оттаивания, набухания-высушивания, осуществляя при этом как качественную, так и количественную оценки после каждого цикла (или группы циклов).
Для ориентировочных прогнозов о вероятной интенсивности выветривания пород следует использовать методику, которая изложена в "Методических указаниях по проектированию земляного полотна выемок в легковыветривающихся скальных породах" (ЦНИИС, М., 1974). Там же приведены способы прогнозирования интенсивности выветривания во времени.
ТЕХНИЧЕСКИЕ ХАРАКТЕРИСТИКИ СЕРИЙНО ВЫПУСКАЕМЫХ МАШИН
И ОБОРУДОВАНИЯ ДЛЯ КОМПЛЕКТАЦИИ ТЕХНОЛОГИЧЕСКИХ ГРУПП
ПРИ ПНЕВМОНАБРЫЗГЕ
Таблица 1
Техническая характеристика растворо- и бетоносмесителей
принудительного действия
Параметры машины | С-742Б | С-945 | СБ-80 | С-773 | СБ-97 | С-632 |
Объем загрузки, л | 250 | 250 | 250 | 500 | 250 | - |
Производительность, м3/ч, не более | 2,5 | 2,5 | 2,5 | 5,0 | 2,5 | 5,0 |
Наличие скипового подъемника | Имеется | Не имеется | Имеется | Не имеется |
Тип смесителя | Передвижной циклического действия | Стационарный циклического действия | Передвижной циклического действия | Стационарный непрерывного действия |
Установленная мощность двигателя, кВт | 5,5 | 4,5 | 5,5 | 14 | 5,5 | 4 |
Габариты, мм | | | | | | |
длина | 1900 | 1780 | 1900 | 2200 | 1795 | 2400 |
ширина | 1550 | 1625 | 1500 | 2000 | 2245 | 692 |
высота | 2000 | 2035 | 2070 | 2000 | 2130 | 1230 |
Масса, т | 1,200 | 1,430 | 1,200 | 1,900 | 1,360 | 0,670 |
Таблица 2
Техническая характеристика цемент-пушки и бетоншприцмашин
Параметры машины | Цемент-пушка С-320 (СБ-13) | Бетоншприцмашины |
БМ-60 | БМ-68 |
С-1007 (СБ-67) | С-1004 (СБ-66) |
Производительность, м3/ч, по сухой смеси | 1,5 | 2 - 2,5 | 3 - 4 | 5 - 6 |
Максимальная крупность фракций заполнителя, мм | 10 | 20 | 20 | 20 |
Принцип действия | Непрерывный | Циклический | Непрерывный |
Количество камер | | 1 | 2 | - |
Расход воздуха, м3/мин | 5 | 6 - 8 | 6 - 8 | 9 |
Максимальное давление воздуха, кгс/см2 | 3,5 | 6 | 6 | 5 |
Диаметр материального шланга, мм | 32 | 50 | 50 | 50 |
Наличие скипового подъемника | Не имеется | Имеется | Не имеется |
Дальность подачи сухой смеси, м | | | | |
по горизонтали | 45 | 200 | 200 | 250 |
по вертикали | 10 | 35 | 35 | 100 |
Мощность электродвигателя, кВт | 4,5 | 2,8 | 2,8 | 5,5 |
Габариты, мм | | | | |
длина | 1500 | 2000 | 2490 | 1450 |
ширина | 1000 | 1100 | 1100 | 850 |
высота | 1550 | 1900 | 2695 | 1680 |
Масса, т | 1,0 | 1,0 | 1,235 | 1,0 |
Таблица 3
Техническая характеристика механизированных
установок для приготовления растворов и бетонов
Параметры установки | С-932 | С-946 | С-984 |
Производительность, м3/ч | До 6 | До 5 | 30 |
Объем загрузки смесителя, л | 250 | - | - |
Тип смесителя | Циклического действия | Непрерывного действия |
Емкость склада заполнителей, м3 | 70 | 4,2 | 24 |
Емкость бункера цемента, м3 | 2 | 1,2 | 4,5 |
Установленная мощность двигателей, кВт | 21,6 | 27,4 | 46 |
Габариты, мм | | | |
длина | 20846 | 16300 | 28800 |
ширина | 16760 | 16300 | 7100 |
высота | 5300 | 4300 | 8400 |
Обслуживающий персонал, чел. | 2 | 2 | 2 |
Масса, т | 2 | 11 | 28,4 |
Таблица 4
Техническая характеристика прямоточных
растворонасосов для нанесения пневмобетона
Параметры насоса | С-683 | С-684 |
Производительность, м3/ч | | |
при осадке конуса 11 см | 1,5 | 3 |
при осадке конуса 6 - 7 см | 1,0 | 2 |
Максимальное рабочее давление, кгс/см2 | 15 | 15 |
Расход воздуха при набрызге раствора, м3/мин | 5 | 9 |
Давление сжатого воздуха, максимальное, кгс/см2 | 7 | 7 |
Диаметры шлангов, мм | | |
воздухоподводящего | 38 | 50 |
воздушного и смесительной камер | 38 | 38 |
материального | 38 | 50 |
Установленная мощность, кВт | 2,2 | 4,0 |
Дальность подачи, м | | |
по горизонтали | 150 | 150 |
по вертикали | 40 | 40 |
Примечание. Комплекты деталей для переоборудования насосов С-683 (С-251, С-263), С-684 и С-317Б на прямоточную схему выпускает экспериментально-механический завод НИИмосстроя по адресу: Москва В-192, пос. 1-ые Раменки, 40, тел. 143-58-37.
Таблица 5
Техническая характеристика компрессоров
и компрессорных станций
Параметры компрессоров | ЗИФ-55 | ЗИФ-51 | ДК-9М | КС-9 | ПК-10 | ЗИФ-Рп-6 | Пр-10 | ПВ-10 | ЗИФ-55В | РКВН-6 |
Производительность, м3/мин | 5 | 4,6 | 10 | 8,5 | 10,5 | 6,3 | 10 | 7 | 5,5 | 6 |
Максимальное рабочее давление, кгс/см2 | 7 | 7 | 6 | 6 | 7 | 7 | 7 | 10 | 7 | 1,4 |
Двигатель | ЗИЛ-157М | АК-82-6 | Д-108 | Д-108 | Д-108 | СМД-14А | АМ-01 | ЯМЗ-236 | ЗИЛ-157М | А71-4 (АО72-4) |
Мощность двигателя, л.с. | 104 | 60 | 108 | 108 | 108 | 75 | 110 | 120 | 104 | 20 |
Электронапряжение, В | - | 220/380 | - | - | - | - | - | - | - | 220/380 |
Скорость вращения вала двигателя, об/мин | 2600 | 965 | 1070 | 1070 | 1070 | 1300 | 1500 | 2000 | 2600 | 1500 |
Число раздаточных штуцеров | 5 | 5 | 4 | 3 | 6 | 6 | 6 | 5 | 5 | 1 |
Габариты, мм | | | | | | | | | | |
длина с дышлом | 4410 | 4410 | 6500 | 6100 | 6300 | 4420 | 5650 | 4550 | 4440 | - |
длина без дышла | 3450 | 3450 | 5160 | 5046 | 4700 | 3270 | 3970 | 3370 | 3400 | 700 |
ширина | 1820 | 1820 | 1850 | 2020 | 1890 | 1750 | 1600 | 1730 | 1820 | 600 |
высота | 1770 | 1770 | 2550 | 2125 | 2610 | 2020 | 2170 | 1870 | 1770 | 600 |
Масса, т (сухая) | 2,75 | 2,3 | 5,2 | 6,10 | 5,0 | 2,30 | 3,20 | 3,20 | 2,05 | |
--------------------------------
<*> Без электродвигателя.
Таблица 6
Техническая характеристика гидроподъемников
Параметры гидроподъемников | МШТС-3А | МШТС-2П | КТС-2Т | МШТС-2А | ВС-26МС | ВРТ-35В |
База | Автомобиль ЗИЛ-130 | Двухосная грузовая ж/д платформа | Трактор трелевочный (ТДТ-60(75)) | Автомобиль ЗИЛ-131 или ЗИЛ-157К | Автомобиль ЗИЛ-131 | Автомобиль КрАЗ-257К |
Высота подъема люлек, м | | | | | | |
со вставкой | 20,2 | - | - | - | - | - |
без вставки | 18,6 | 17,9 | 17,8 | 17,8 | 26 | 39 |
Грузоподъемность люлек, кг | | | | | | |
стрела со вставкой | 300 | - | - | - | - | - |
стрела без вставки | 400 | 400 | 400 | 400 | 250 | 350 |
Скорость подъема люлек, м/мин | 20 | 20 | 18 - 20 | 18 - 20 | До 20 | До 20 |
Скорость поворота в плане, об/мин | 0,5 - 1,0 | 0,5 - 1,0 | 0,6 | 0,6 | До 0,5 | До 0,5 |
Грузоподьемность кранового оборудования на нижней стреле, т | 1,0 | 2,0 | 2,0 | 2,0 | - | - |
Наибольший вылет стрелы, м | 14,95 | 14,95 | 15,35 | 15,35 | 10,5 | 10,0 |
Расположение пульта управления | На платформе | На платформе и в люльке | На платформе | На платформе и в люльке |
Габариты транспортные, мм | | | | | | |
длина | 12400 | 12000 | 10730 | 11000 | 12400 | |
ширина | 2600 | 2800 | 2370 | 2500 | 2600 | |
высота | 3300 | 7000 | 3135 | 3400 | 3700 | |
Масса машины, т | 8,92 | 28,2 | 15,6 | 11,38 | 10,8 | |
Таблица 7
Техническая характеристика МШТС-2ТБ
Максимальная высота производства
буровых работ на откосах, м ................................ 15
База машины ............................................... Трелевочный
трактор
ТДТ-60(75)
Грузоподъемность в люльке при снятом
бурильном оборудовании, кг ................................. 400
Грузоподъемность кранового оборудования
на нижнем плече стрелы при вылете 5,3 м, т ................. 2
Количество перфораторов Пр-24ЛС, шт. ....................... 2
Поворот перфоратора, град.
по вертикали ............................................. 100
по горизонтали ........................................... 40
Диаметр шпура, мм .......................................... 43
Глубина бурения, м ......................................... 3
Скорость бурения пород крепостью X - XII
категории, мм/мин .......................................... 150 - 250
Источник сжатого воздуха .................................. Компрессоры
ДК-9М
или ЗИФ-55
Расход воздуха на один перфоратор, м3/мин .................. 3,5
Максимальный вылет стрелы, м ............................... 15,35
ДОБАВКИ УСКОРИТЕЛЕЙ ТВЕРДЕНИЯ
1. Добавка ОЭС (ускоритель схватывания и твердения) представляет собой молотый спек боксита с содой. Спек является производственным продуктом глиноземных заводов и состоит в основном из алюмината и ферритов натрия. Порошок имеет коричневато-бурый цвет и отличается большой гигроскопичностью.
2. Добавка ОЭС обеспечивает быстрое (в течение 3 - 5 мин) схватывание бетона и цементных растворов и неразмываемость материала. Лучшие результаты получают при использовании пуццолановых цементов и алитового портландцемента.
3. Добавка должна удовлетворять следующему требованию: завершение схватывания цементного раствора состава 1:3 с водоцементным отношением 0,4 - 0,5 при введении 3 - 4% (от массы цемента) добавки ОЭС должно наступать не позже 3 - 5 мин с момента затворения.
4. Перед началом работ необходимо:
высушить добавку при t = 100 °C, размолоть до частиц размером 1,2 мм, порошок просеять через сито с отверстиями размером 1,2 мм.
5. Влажность порошка при хранении не должна превышать 2 - 3%.
6. Алюминат натрия представляет собой бесцветный или с сероватым оттенком прозрачный раствор, являющийся отходом при производстве аскорбиновой кислоты на витаминных заводах.
7. Раствор алюмината натрия применяют в качестве добавки к растворам и бетонам, изготовляемым на портландцементе, для понижения их водопроницаемости и для повышения стойкости к размыву свежих растворных и бетонных смесей в соответствии с "Временной инструкцией по применению добавки алюмината натрия к растворам и бетонам при борьбе с фильтрацией в сооружениях" И-196-54 (Минстрой).
8. Раствор алюмината натрия должен иметь удельную массу в пределах 1,28 - 1,44 (см.
таблицу) и содержать Na
2O от 16 до 19% и Al
2O
3 от 14 до 18% по массе.
Удельная масса исходного раствора, кг/л | Соотношение по объему раствора алюмината натрия и воды для получения концентрации раствора |
2%-ной | 3%-ной | 5%-ной |
1,44 | 1:15 | 1:10 | 1:6 |
1,41 | 1:14 | 1:9 | 1:5,5 |
1,38 | 1:13 | 1:8,5 | 1:5 |
1,35 | 1:12 | 1:8 | 1:4,5 |
1,32 | 1:11 | 1:7 | 1:4 |
1,28 | 1:9,5 | 1:6 | 1:3,5 |
9. Содержание Na2O и Al2O3, а также наличие органических примесей в растворе алюмината натрия проверяется химическим анализом.
Перед производством химического анализа раствор алюмината натрия следует выпаривать до удельной массы 1,44 (см.
таблицу).
10. Раствор алюмината натрия хранится при положительной температуре и транспортируется в закрывающейся стальной или стеклянной таре.
Примечание. Алюминиевая, оцинкованная или деревянная тара не допускается.
Определение оптимального количества
добавки-ускорителя схватывания и влияние ее
на прочность цементного раствора
Срок схватывания растворов с добавкой определяют на приборе Вика.
Навеску цемента принимают 100 г.
Цемент массой 100 г тщательно перемешивают с порошкообразной добавкой, количество которой принимают в начале опыта 2%. В смесь заливают воду в количестве, соответствующем нормальной густоте данного цемента.
Примечание. Нормальная густота цемента определяется по стандартной методике; при применении жидкой добавки-ускорителя схватывания ее вводят в смесь вместе с водой.
После затворения смесь быстро перемешивают и укладывают в кольца прибора Вика. Иглу доводят до соприкосновения с поверхностью теста, после чего стержень иглы освобождают и игла свободно погружается. За начало схватывания принимают время от начала затворения до того момента, когда игла не доходит до дна на 1 мм. За конец схватывания принимается время от начала затворения до момента, когда игла проникает в раствор не глубже 1 мм.
Оптимальное количество добавки должно соответствовать времени окончания схватывания - не более 3 мин.
После определения оптимального количества добавки проверяют прочность цементного раствора на образцах-кубиках размером 3 x 3 x 3 см, приготовленных из цементного раствора состава цемент:песок 1:3 по массе. 50 г цемента, 150 г песка и добавку перемешивают в металлической или фарфоровой чашке, затем вводят воду в количестве 20 - 25 см3, что соответствует водоцементному отношению 0,4 - 0,5.
После перемешивания раствор быстро (до начала схватывания) укладывают в форму. Через час после укладки раствора в форму образцы распалубливают.
Одновременно изготавливают по три образца в возрасте 1, 3, 7 и 28 суток и контрольные образцы из цементопесчаного раствора аналогичного состава без добавки.
Прочность образцов с добавкой в возрасте 1, 3, 7 и 28 суток не должна быть ниже прочности контрольных образцов того же состава.
ОПРЕДЕЛЕНИЕ ТРЕБУЕМОЙ ПРОЧНОСТИ АЭРОЦЕМА
И ПОДБОР СОСТАВЛЯЮЩИХ
Требуемая прочность защитных покрытий назначается исходя из предпосылки, что покрытие по всей образующей откоса удерживается полностью лишь несущими анкерами, так как монтажные анкеры вследствие возможного выветривания пород слоя, в который они первоначально были заглублены, перестают выполнять удерживающие функции.
Формулы для расчета требуемой прочности аэроцема

приведены в
табл. 1.
Формулы | Обозначения |
| Q - масса полосы защитного слоя шириной 1 м, толщиной  , длиной l, объемной массой  |
| R - равнодействующая усилий на анкер |
|  - растягивающие напряжения в материале аэроцема, кгс/см 2 - сжимающие напряжения в материале аэроцема, кгс/см 2Fn - площадь поперечного сечения покрытия (полосы шириной 1 м по длине выемки), см2  - коэффициент трения покрытия по скальной поверхности |
|
Требуемая прочность аэроцема

должна обеспечиваться на конечном этапе эксплуатации покрытия, когда наступает необходимость его ремонта или замены.
До наступления этого состояния условия работы покрытия более благоприятны, так как в начальный период работают не только несущие, но и монтажные анкеры, а прочность аэроцема со временем имеет тенденцию к повышению. С другой стороны, на прочность покрытия отрицательно действуют процессы выветривания, которые в период эксплуатации снижают крепость аэроцема.
Требуемую прочность аэроцема подбирают по формуле

(1)
где М - марка цемента;

- отношение массы цемента к массе песка;
Si - отношение вспенивающей добавки к массе цемента, %;
Ai - содержание активного вещества в применяемой вспенивающей добавке, %;
A78 - вспенивающая добавка, содержащая активного вещества 78%;

- водоцементное отношение;
Z - количество циклов замораживания и оттаивания, под воздействием которых происходит снижение прочности раствора в покрытии;
K - коэффициент, равный 1,5.
Практически при подборе состава аэроцема целесообразно задаваться всеми параметрами, перечисленными в
формуле (1), и находить по ней количество циклов
Z, снижающих со временем прочность его до

. После этого по
табл. 2 и формуле

(2)
можно определить в зависимости от климатического пояса срок службы покрытия без ремонта Tс.
Климатический пояс | Среднемноголетнее ежегодное количество переходов температуры через нуль при наличии осадков ni |
Северные районы Сибири | 40 - 50 |
Южная Сибирь и Дальний Восток | 30 - 40 |
Средняя полоса Европейской части Союза | 20 - 30 |
Южная полоса Европейской части Союза | 10 - 20 |
Кавказ | 5 - 10 |
Для увеличения продолжительности срока службы (межремонтного периода) защитного покрытия при заданной величине

можно варьировать параметры, входящие в
формулу (1), например, уменьшать процент вспенивающей добавки, увеличить марку цемента и т.п.
Учет естественной влажности песка при определении
составляющих аэрированного раствора
При учете естественной влажности песка необходимо вносить поправки в количество составляющих (при заданном их соотношении) за счет влаги, содержащейся в песке, по формулам, приведенным в
табл. 3.
Формулы | Обозначения |
|  - масса замеса заданного объема; П, Ц, В, S - расчетные значения составляющих замеса (соответственно песка, цемента, воды и вспенивающей добавки); |
| W - естественная влажность используемого песка (в долях единицы); |
|  - количество воды, содержащееся в расчетном количестве песка естественной влажности;  - фактически требующееся для вливания количество воды (с учетом влажности песка); |
| Пс - количество песка в расчетном замесе при вычете содержащейся в нем влаги; |
|  - поправка к расчетному количеству песка естественной влажности; |
|  - фактически требующееся для замеса количество песка (откорректированное за счет влажности песка) |
Примечание. Количество цемента и вспенивающей добавки не корректируется.
МЕТОДИКА ПРИГОТОВЛЕНИЯ И ИСПЫТАНИЯ ОБРАЗЦОВ
ИЗ НАБРЫЗГ-МАТЕРИАЛОВ
Образцы, необходимые для лабораторных испытаний (на прочность, морозостойкость и водонепроницаемость), изготавливают путем нанесения набрызг-материалов в специальные формы. Форма для испытаний на прочность и морозостойкость представляет собой металлическую разъемную конструкцию высотой 6 см, образующую ячейку размером 32 x 24 см. Форма для испытаний материала на водонепроницаемость имеет ту же высоту и размер в плане 38 x 38 см. Перед нанесением набрызг-материалов формы смазывают минеральным маслом.
Набрызг-материал наносят в форму слоем 6 см. После заполнения формы края ее очищают для свободной разборки формы без повреждения образцов. Затирать, заглаживать и срезать поверхность, а также уплотнять нанесенный материал запрещается. Вынимать образцы из формы разрешается через сутки после набрызга с добавкой ускорителя твердения и через трое суток - без добавки. Хранить образцы следует в условиях, аналогичных производственным.
При достижении 50%-ной прочности от проектной образцы опиливают по контуру на 4 см для получения плит размерами 16 x 24 и 30 x 30 см, а неровную верхнюю грань спиливают таким образцом, чтобы толщина плит составила 4 см. Из этих плит нарезают балочки 4 x 4 x 16 см - 6 шт., плитки 15 x 15 x 4 см - 4 шт. на каждое испытание.
Две противоположные грани балочек шлифуют. Обрабатывать образцы целесообразно на циркульной пиле камнерезного станка.
| | ИС МЕГАНОРМ: примечание. Постановлением Госстроя СССР от 22.11.1978 N 220 с 01.01.1980 введен в действие ГОСТ 10180-78. Взамен ГОСТ 10180-78 с 01.01.1991 в части определения прочности бетона по контрольным образцам Постановлением Госстроя СССР от 29.12.1989 N 168 введен в действие ГОСТ 10180-90; в части определения прочности по образцам, отобранным из конструкций, Постановлением Госстроя СССР от 24.05.1990 N 50 введен в действие ГОСТ 28570-90. | |
Для каждого испытания изготовляют не менее 6 балочек. Контрольные балочки на сжатие и растяжение при изгибе испытывают по ГОСТ 10180-67, на морозостойкость - по ГОСТ 10060-62. Оставшиеся после испытания на растяжение при изгибе половинки балочек испытывают на сжатие.
Четыре плитки испытывают на водонепроницаемость на приборе (см. рисунок) в соответствии с ГОСТ 10181-62.
Прибор для испытания набрызг-материалов
на водонепроницаемость:
1 - стальные пластины; 2 - резиновые прокладки;
3 - образец материала; 4 - трубка для подачи воды
Сцепление (адгезию) набрызг-материалов целесообразно определять по ГОСТ 5802-66.
Количество "отскока" набрызг-материалов определяют пробным нанесением на месте производства работ. Участок откоса размером 2 x 2 м ограждают деревянными щитами высотой 30 см. Снизу устанавливают деревянный поддон, имеющий борт высотой 30 см.
Определяют массу и влажность сухой смеси и наносят набрызг-материалы на огражденную площадь. Толщина слоя должна быть не менее 5 см.
Накопившийся на поддоне "отскок" собирают, высушивают и взвешивают. Процент "отскока" учитывают поправочным коэффициентом при определении расхода материалов.
Правильно подобранный состав набрызг-материалов при нанесении на вертикальную поверхность должен иметь "отскок" не более 15%.
УСТРОЙСТВО ДРЕНАЖНЫХ КОНСТРУКЦИЙ
ПРИ ПОДГОТОВКЕ ПОВЕРХНОСТИ СКАЛЬНЫХ ОТКОСОВ
Поверхность осушают "методом шланга" или путем непосредственной заделки трещин и течей.
При отводе грунтовых вод "методом шланга" на поверхности породы устраивают канал из неразмываемой водонепроницаемой замазки, по которому грунтовые воды стекают в водоотводную канаву.
Каналы устраивают следующим образом: отрезок полого резинового шланга длиной 50 - 80 см, диаметром 3 - 20 см с гладкой поверхностью, толстыми и упругими стенками обмазывают цементным тестом на 1/2 - 2/3 длины шланга. Диаметр шланга должен соответствовать расходу фильтрующей воды.
После затвердения теста шланг вытягивается вниз, причем часть шланга остается под обмазкой.
Между затвердевшей замазкой и породой остается полый канал круглого сечения, а шланг служит лишь внутренней опалубкой.
Попеременно обмазывая шланг и вытягивая его вниз, канал подводят к водоотводной канаве у подошвы откоса.
Края обмазки, примыкающие к породе, тщательно выравниваются и заглаживаются так, чтобы вода не могла проникнуть под обмазку. Небольшие течи воды заключают таким же методом в каналы, которые примыкают к основному дренажу.
При наличии концентрированной течи с большим расходом воды в породе создают лунку и в нее заделывают отрезок шланга, по которому вытекает вода.
В непосредственной близости от лунки устраивают наружный дренаж "методом шланга", в который вставляют шланг, заделанный в лунке.
Фильтрующие трещины, подлежащие заделке, на всем протяжении разделывают в канавку глубиной 30 - 50 мм и шириной 15 - 50 мм.
Подготовленные трещины послойно заполняют цементным раствором с ускорителем схватывания.
Для устранения притока воды на время работы в трещинах через 1 м бурятся скважины глубиной до 10 см и диаметром 25 - 30 мм, в которые для отвода воды заделывают трубки. По окончании заполнения трещин трубки заливают тампонажным раствором.
При устройстве поверхностного дренажа и заделке трещин применяют цементные или цементопесчаные растворы с добавкой ускорителя схватывания.
Тесто приготовляют вручную небольшими порциями, чтобы успеть обмазать шланг и прилегающую к нему поверхность породы до начала схватывания. При устройстве дренажа на малообводненных участках приготавливают пластичное тесто, при сильном обводнении - жесткое. Точная рецептура состава устанавливается непосредственно на месте производства работ.
Для осушения поверхности рекомендуется также применять замазки из водонепроницаемого расширяющегося цемента (ВРЦ) согласно "Временной инструкции по заделке фильтрующих воду трещин, щелей и каверн в бетонных и железобетонных сооружениях с применением водонепроницаемого расширяющегося цемента" (И-145-50, МСПТИ).
Цементное тесто из ВРЦ затворяют вручную в количестве, которое может быть израсходовано в течение 4 мин от начала затворения. Водоцементное отношение должно быть не более 0,3.
При фильтрации воды через первые слои заделки дальнейшие работы следует производить почти сухим раствором.
Места, заделанные ВРЦ, должны увлажняться через каждые 2 ч в течение первых суток.
РАСЧЕТ РАСХОДА ВОДЫ ПРИ РАБОТЕ
С БЕТОНШПРИЦМАШИНОЙ ТИПА БМ-60
1. Для торкрета расход воды В определяют по формуле
| | ИС МЕГАНОРМ: примечание. Взамен ГОСТ 310-60 Постановлением Госстроя СССР от 14.10.1976 N 169 с 01.01.1978 в части общих положений введен в действие ГОСТ 310.1-76, в части определения тонкости помола введен в действие ГОСТ 310.2-76, в части определения нормальной густоты, сроков охватывания и равномерности изменения объема введен в действие ГОСТ 310.3-76, в части определения прочности при изгибе и сжатии введен в действие ГОСТ 310.4-76. ГОСТ 310.4-76 утратил силу в связи с введением в действие ГОСТ 310.4-81 (Постановление Госстроя СССР от 21.08.1981 N 151). Постановлениями Госстроя СССР от 26.02.1985 N 19 и 22.04.1988 N 65 введены в действие с 01.01.1986 ГОСТ 310.6-85 и с 01.01.1989 ГОСТ 310.5-88 соответственно. | |
где Вн - количество воды, необходимое для получения цементного теста нормальной густоты (ГОСТ 310-60, прибор Вика);
Всм - количество воды, необходимое для смачивания поверхности зерен заполнителя.
Значения Вн и Всм даны в долях единицы.

- потери влаги в свободной турбулентной струе в зависимости от высоты среза наконечника сопла
H, м, над покрываемой поверхностью, %;

- то же, в зависимости от скорости истечения воздуха
V на выходе из сопла, %;

- то же, при скорости истечения воздуха, равной 150 м/с, и высоте сопла над покрываемой поверхностью
H = 1 м, %;
Q - производительность бетоншприцмашины по сухой смеси, кг/с;
К - количество заполнителя в готовой сухой смеси;
Wn - влажность заполнителя, %.
Значения коэффициентов
a,
b,
c и
d приведены в
табл. 1.
Состав смеси цемент:песок по массе | Значения коэффициента |
a | b | c | d |
1:1 | 1,44 | 0,300 | 0,199 | 0,395 |
1:2 | 1,74 | 0,307 | 0,270 | 0,382 |
1:3 | 2,19 | 0,400 | 0,265 | 0,482 |
1:4 | 2,52 | 0,467 | 0,265 | 0,447 |
1:5 | 2,73 | 0,352 | 0,315 | 0,434 |
| | ИС МЕГАНОРМ: примечание. Значение в графе "d" дано в соответствии с официальным текстом документа. | |
|
1:6 | 3,07 | 0,342 | 0,310 | 9,455 |
1:7 | 3,56 | 0,324 | 0,367 | 0,450 |
1:8 | 4,00 | 0,332 | 0,642 | 0,360 |
Для предварительных расчетов величину
Всм можно определять по
табл. 2, составленной для кварцевого песка.
Размер частиц заполнителя, мм | 0,15 - 0,3 | 0,3 - 0,6 | 0,6 - 1,2 | 1,2 - 2,5 | 2,5 - 5,0 |
Процент от массы заполнителя | 7,0 | 5,5 | 4,5 | 3,5 | 2,5 |
Результирующую величину Всм находят в зависимости от процентного состава фракций.
2. Для шприц-бетона требуемое количество воды затворения сухой смеси определяется по формуле
где Q - производительность машины по сухой смеси, кг/с;
Кп - потери воды в свободной турбулентной струе Кп = 1,2;
Щ - относительная масса щебня в сухой смеси;
W - оптимальное водосодержание растворной части шприц-бетона, зависящее от размера зерен мелкого заполнителя (по
табл. 3);
Wн - влажность готовой смеси, %;
Wщ - влажность щебня, %.
Размер зерен заполнителя, мм | 0,14 - 0,63 | 0,14 - 1,2 | 0,14 - 2,5 |
Оптимальное водосодержание, % | 13 - 14 | 12,5 - 13,5 | 12 - 13 |
3. Порядок расчета производительности бетоншприцмашины БМ-60 Q заключается в следующем:
в соответствии с влажностью Wн готовой смеси и составом смеси (цемент:заполнитель) определяют ее среднюю влажность Wсм по формуле
где К - количество частей заполнителя в готовой сухой смеси;
по общепринятой методике определяют насыпную массу сухой смеси

и песка

при влажности
Wсм;
рассчитывают коэффициент перехода q от насыпной массы песка к насыпной массе смеси при одной и той же влажности
по графику (см.
рисунок) для песка влажностью
Wсм устанавливают производительность бетоншприцмашины
Qп по песку при соответствующем числе оборотов колеса дозатора.
Влияние влажности песка на производительность
бетоншприцмашины. Цифры на кривых -
обороты дозатора в минуту
Производительность Qп соответствует производительности машины БМ-60, оборудованной горизонтальным шлангом длиной 10 м и соплом без наконечника.
С увеличением дальности и высоты подачи смеси, а кроме того, в случае сужения диаметра наконечника сопла производительность бетоншприцмашины БМ-60 уменьшается до величины
где

- величина уменьшения производительности машины БМ-60 в зависимости от длины шлангов;
Z - длина шланга, м;
a и
b - коэффициенты, значения которых приведены в
табл. 4;

- производительность бетоншприцмашины с учетом конкретной дальности подачи смеси.
Число оборотов колеса дозатора в минуту | Коэффициенты |
a | b |
10 | 0,00006466 | 0,001632 |
11,5 | 0,00008146 | 0,002063 |
16 | 0,00011473 | 0,006182 |
18,5 | 0,00017057 | 0,006102 |
Для определения величины снижения производительности машины не только в зависимости от длины шланга, но одновременно от высоты подачи смеси или сужающегося наконечника сопла приведенные единичные снижения производительности

суммируют

, рассчитывая их каждый раз условно через длину горизонтального шланга
L. При этом необходимо иметь в виду, что изменение диаметра наконечника сопла от 50 до 25 мм соответствует увеличению длины шланга от 10 до 20 м, а подъем смеси на высоту от 0 до 20 м - увеличению длины шланга от 25 до 35 м.
Определяют фактическую производительность бетоншприцмашины БМ-60 по смеси с влажностью Wсм:
где q - коэффициент перехода.
Путем регулировки дросселя насосной станции устанавливают необходимый секундный расход воды для затворения в сопле готовой сухой смеси. Заданную величину расхода контролируют визуально по положению поплавка на шкале ротаметра типа РС-7 насосной станции (диапазон расхода воды составляет 0,16 - 1,25 м3/ч).
ЭКСПЛУАТАЦИЯ ОБОРУДОВАНИЯ ДЛЯ ПРИГОТОВЛЕНИЯ
И НАНЕСЕНИЯ АЭРИРОВАННЫХ РАСТВОРОВ
1. Оборудование для приготовления и нанесения аэрированных растворов целесообразно размещать так, чтобы в процессе производства работ требовалось их минимальное перемещение (т.е. с одной стоянки охватывать наибольший фронт работ).
2. При подводе сжатого воздуха к растворонагнетателю и пистолетам необходимо следить за тем, чтобы подводящие резиновые шланги не имели резких перегибов, уменьшающих их сечение.
3. При длительности перерыва в работе оборудования свыше 15 суток, а также при консервации его наружные и внутренние поверхности растворосмесителя и растворонагнетателя, а также вспомогательных устройств к ним необходимо протереть машинным маслом.
4. В процессе работы по нанесению раствора аэроцема следует предотвращать появление в шланге и пистолете пробок, для этого необходимо:
а) не допускать засорения этих устройств крупными частицами заполнителя, для чего раствор загружать из смесителя в нагнетатель через сетку;
б) не применять растворы, приготовленные задолго до их использования;
в) обеспечивать требуемое давление воздуха в нагнетателе;
г) укладывать раствор непрерывно;
д) не загружать в нагнетатель аэрированные растворы подвижностью менее 9 см (согласно конусу СтройЦНИИЛа);
е) ежегодно после окончания смены тщательно промывать смеситель, нагнетатель, шланги и пистолеты.
5. В случае прекращения подачи раствора из пистолета при заполненном нагнетателе необходимо:
повысить давление сжатого воздуха в нагнетателе или подать поступающий к пистолету сжатый воздух в шланг, при этом прекратить подачу сжатого воздуха в нагнетатель, закрыв редукционный клапан;
выпустить воздух из нагнетателя, открыв спускной кран;
закрыть выходное отверстие пистолета рукой (в рукавице) или специальным наконечником.
Операцию повторяют два-три раза, в результате чего раствор, находящийся в раствороводе, перемещается в нагнетатель. При необходимости отверстия и каналы пистолета, а также горловину нагнетательной установки прочищают после съема давления в резервуаре стальной проволокой.
6. При образовании пробки в шланге, которую невозможно устранить способами, указанными в
п. 5, следует перекрыть подачу сжатого воздуха в нагнетатель, снизить в нем давление до нуля, после этого разъединить шланг и очистить его металлическим стержнем или промывкой водой.
7. Уход за оборудованием осуществляется в соответствии с инструкцией завода-изготовителя.
8. При перерыве в работе смесителя, заполненного раствором, следует через каждые 10 - 12 мин в течение 0,5 - 1 мин раствор перемешивать. Если общий перерыв превышает полтора часа, смеситель надо очистить от раствора и тщательно промыть.
9. Для исключения потерь и разбрызгивания раствора в процессе его приготовления загрузочное отверстие барабана смесителя следует закрывать крышкой. Заполнение раствором осуществляется на 5 см ниже края емкости нагнетателя.
В момент открывания выпускного крана нагнетателя растворный кран пистолета должен быть открытым.
РЕКОМЕНДАЦИИ ПО ТЕХНИКЕ БЕЗОПАСНОСТИ
ДЛЯ ГОРНО-ОБВАЛЬНЫХ БРИГАД
1. К работе в горно-обвальных бригадах допускаются мужчины в возрасте от 18 до 55 лет, овладевшие альпинистской техникой восхождения к труднодоступным местам горных склонов, освоившие приемы страховки и самостраховки, сдавшие испытания в знании правил и инструкций по кругу своих обязанностей и признанные медицинской комиссией годными для выполнения верхолазных работ.
2. Все работы верхолазами (скалолазами) осуществляются под постоянным надзором производителя работ.
3. Работы на скальном откосе (склоне) во время дождя прекращаются и возобновляются лишь после подсыхания поверхности откоса (склона).
4. Верхолазы в процессе работы на откосе (склоне) должны быть в защитных касках, специальных горных ботинках (или обуви на резиновой подошве) и предохранительных очках (из небьющегося стекла). Прикрепление верхолазов к канатам (тросам) осуществляется во всех случаях через карабин, укрепленный на предохранительном поясе. Предпочтительным (а при высоких и крутых склонах обязательным) является закрепление каждого верхолаза, работающего на откосе, двумя канатами, каждый из которых связывается через карабин с предохранительным поясом (одним или двумя).
5. Предохранительные пояса и канаты должны иметь паспорта и бирки.
| | ИС МЕГАНОРМ: примечание. Постановлением Госстандарта России от 02.06.1994 N 159 с 01.01.1985 введен в действие ГОСТ 30055-93. | |
Канаты и пояса периодически испытываются в соответствии с ГОСТ 483-55 или ГОСТ 10293-67*.
6. При работе на откосе (склоне) один из членов бригады должен постоянно находиться у места закрепления канатов.
7. При удалении (сбрасывании) камней верхолаз, рабочие и сигналисты должны находиться в безопасном месте.
Производство работ способом подкопа на откосе запрещено.
8. Ответственность за соблюдение правил личной безопасности при производстве работ несет бригадир горно-обвальной бригады. Перед началом работ он должен объяснить рабочим бригады их обязанности и правила личной безопасности.
Приступить к работе следует лишь после того, как бригадир убедится в исправности канатов и поясов, а также в знании рабочими правил техники безопасности.