Главная // Актуальные документы // ГОСТ (Государственный стандарт)СПРАВКА
Источник публикации
М.: ГУП ЦПП, Госстрой РФ, 2000
Примечание к документу
Документ утратил силу с 1 июля 2013 года в связи с изданием
Приказа Росстандарта от 27.12.2012 N 2071-ст. Взамен введен в действие
ГОСТ 10180-2012.
Документ включен в
Перечень национальных стандартов, содержащих правила и методы исследований (испытаний) и измерений, в том числе правила отбора образцов, необходимые для применения и исполнения технического
регламента о безопасности объектов внутреннего водного транспорта и осуществления оценки соответствия (
Распоряжение Правительства РФ от 29.06.2011 N 1100-р).
С 1 июля 2003 года до вступления в силу технических регламентов акты федеральных органов исполнительной власти в сфере технического регулирования носят рекомендательный характер и подлежат обязательному исполнению только в части, соответствующей целям, указанным в
пункте 1 статьи 46 Федерального закона от 27.12.2002 г. N 184-ФЗ.
Введен в действие с 1 января 1991 года.
Взамен ГОСТ 10180-78 в части определения прочности бетона по контрольным образцам.
Название документа
"ГОСТ 10180-90 (СТ СЭВ 3978-83). Бетоны. Методы определения прочности по контрольным образцам"
(утв. Постановлением Госстроя СССР от 29.12.1989 N 168)
"ГОСТ 10180-90 (СТ СЭВ 3978-83). Бетоны. Методы определения прочности по контрольным образцам"
(утв. Постановлением Госстроя СССР от 29.12.1989 N 168)
Утвержден и введен в действие
Постановлением Госстроя СССР
от 29 декабря 1989 г. N 168
ГОСУДАРСТВЕННЫЙ СТАНДАРТ СОЮЗА ССР
БЕТОНЫ
МЕТОДЫ ОПРЕДЕЛЕНИЯ ПРОЧНОСТИ ПО КОНТРОЛЬНЫМ ОБРАЗЦАМ
Concretes. Methods for strength determination
using reference specimens
ГОСТ 10180-90
(СТ СЭВ 3978-83)
Дата введения
1 января 1991 года
1. Разработан Научно-исследовательским, проектно-конструкторским и технологическим институтом бетона и железобетона (НИИЖБ) Госстроя СССР;
Всесоюзным научно-исследовательским институтом заводской технологии сборных железобетонных конструкций и изделий (ВНИИжелезобетон) Госстроя СССР;
Министерством энергетики и электрификации СССР;
Министерством транспортного строительства СССР;
Государственным комитетом СССР по управлению качеством продукции и стандартам.
Разработчики: М.И. Бруссер, канд. техн. наук (руководитель темы); Л.А. Малинина, д-р техн. наук; Г.С. Митник, канд. техн. наук; С.А. Подмазова, канд. техн. наук; И.М. Дробященко, канд. техн. наук; Т.А. Ухова, канд. техн. наук; Н.И. Левин, канд. техн. наук; И.Л. Цветков, канд. техн. наук; И.Ф. Руденко, д-р техн. наук; О.В. Белоусов, канд. техн. наук; М.Ю. Лещинский, д-р техн. наук; О.П. Денисенко; В.Г. Довжик, канд. техн. наук; А.Л. Усколовский; Ю.Г. Хаютин, д-р техн. наук; В.А. Дорф, канд. техн. наук; Г.Л. Гершанович, канд. техн. наук; А.И. Марков, канд. техн. наук; Р.О. Красновский, канд. техн. наук; Л.С. Павлов, канд. техн. наук; Е.Н. Щербаков, д-р техн. наук; Н.Г. Хубова, канд. техн. наук; Н.В. Смирнов, канд. техн. наук; А.М. Шейнин, канд. техн. наук; Д.А. Коршунов, канд. техн. наук; Ю.И. Кураш, канд. техн. наук; И.С. Кроль; С.П. Абрамова; В.В. Тишенко; И.Н. Нагорняк.
2. Внесен Научно-исследовательским, проектно-конструкторским и технологическим институтом бетона и железобетона (НИИЖБ) Госстроя СССР.
3. Утвержден и введен в действие постановлением Государственного строительного комитета СССР от 29 декабря 1989 г. N 168.
4. Взамен ГОСТ 10180-78 в части определения прочности бетона по контрольным образцам.
5. ГОСТ 10180-90 соответствует Международным стандартам ИСО 1920-1976; ИСО 4012-1987; ИСО 4013-1978; ИСО 4108-1980; СТ СЭВ 3978-83.
6. Ссылочные нормативно-технические документы:
────────────────────────────────────────┬─────────────────────────
Обозначение НТД, на который дана ссылка│Номер пункта, подпункта,
│ приложения
────────────────────────────────────────┼─────────────────────────
ИС МЕГАНОРМ: примечание.
Приказом Ростехрегулирования от 22.06.2006 N 118-ст введен в
ГОСТ 2.601-68 (СТ СЭВ 1798-79) │
3.4
ИС МЕГАНОРМ: примечание.
Взамен ГОСТ 8.001-80, утратившего силу на территории
Российской Федерации с 1 декабря 2001 года, действует
утверждения типа средств измерений" (Постановление Госстандарта
РФ от 27.09.2001 N 394-ст).
ГОСТ 8.001-80 (СТ СЭВ 1708-79) │
3.2
ИС МЕГАНОРМ: примечание.
Взамен ГОСТ 8.326-89, утратившего силу на территории
Российской Федерации с 1 декабря 2001 года, действует
типа средств измерений" (Постановление Госстандарта РФ от
27.09.2001 N 394-ст).
ИС МЕГАНОРМ: примечание.
Взамен ГОСТ 8.383-80, утратившего силу на территории
Российской Федерации с 1 декабря 2001 года, действует
типа средств измерений" (Постановление Госстандарта РФ от
27.09.2001 N 394-ст).
СТ СЭВ 707-77; СТ СЭВ 1309-78) │
ИС МЕГАНОРМ: примечание.
Взамен ГОСТ 7855-84 Постановлением Госстандарта СССР от
29.12.1990 N 3530 с 1 января 1993 года введен в действие
ИС МЕГАНОРМ: примечание.
Взамен ГОСТ 8905-82 Постановлением Госстандарта СССР от
29.12.1990 N 3530 с 1 января 1993 года введен в действие
ИС МЕГАНОРМ: примечание.
В официальном тексте документа, видимо, допущена опечатка:
стандарт имеет номер ГОСТ 9542-89, а не ГОСТ 9542-87.
ИС МЕГАНОРМ: примечание.
Взамен ГОСТ 10181.0-81 Постановлением Госстроя РФ от
14.12.2000 N 127 с 1 июля 2001 года введен в действие
ИС МЕГАНОРМ: примечание.
Взамен ГОСТ 23676-79 Постановлением Госстандарта РФ от
27.03.1992 N 294 с 1 января 1994 года введен в действие
ИС МЕГАНОРМ: примечание.
Взамен ГОСТ 24104-88 Постановлением Госстандарта РФ от
26.10.2001 N 439-ст с 1 июля 2002 года введен в действие
ИС МЕГАНОРМ: примечание.
ГОСТ 24555-81 утратил силу на территории Российской Федерации
с 1 июля 1998 года. Действует ГОСТ Р 8.568-97, утв. Постановлением
Госстандарта РФ от 10.11.1997 N 364 (ИУС "Государственные
стандарты", N 2, 1998).
СТ СЭВ 3978-83 │Вводная часть,
Настоящий стандарт распространяется на бетоны всех видов по
ГОСТ 25192, применяемые во всех областях строительства.
Стандарт устанавливает методы определения предела прочности (далее - прочности) бетонов на сжатие, осевое растяжение, растяжение при раскалывании и растяжение при изгибе путем разрушающих кратковременных статических испытаний специально изготовленных контрольных образцов бетона.
Стандарт не распространяется на специальные виды бетонов, для которых предусмотрены другие стандартизированные методы определения прочности.
При производственном контроле прочности бетона стандарт следует применять с учетом требований
ГОСТ 18105, в котором установлены правила оценки прочности бетона в конструкциях на основе результатов испытаний образцов бетона по настоящему стандарту.
Стандарт соответствует СТ СЭВ 3978. Степень соответствия приведена в
Приложении 1.
Определение прочности бетона состоит в измерении минимальных усилий, разрушающих специально изготовленные контрольные образцы бетона при их статическом нагружении с постоянной скоростью роста нагрузки и последующем вычислении напряжений при этих усилиях в предположении упругой работы материала.
2. КОНТРОЛЬНЫЕ ОБРАЗЦЫ БЕТОНА
2.1. Форма, размеры и число образцов
2.1.1. Форма и номинальные размеры образцов в зависимости от метода определения прочности бетона должны соответствовать указанным в табл. 1.
────────────────────────┬──────────────────┬──────────────────────
Метод │ Форма образца │ Размеры образца, мм
────────────────────────┼──────────────────┼──────────────────────
Определение прочности на│ Куб │Длина ребра: 100; 150;
сжатие и на растяжение│ │ 200; 300
при раскалывании │ Цилиндр │Диаметр d: 100; 150;
│ │ 200; 300
│ │Высота h, равная 2d
Определение прочности │ Призма │ 100 x 100 x 400
на осевое растяжение │ квадратного │ 150 x 150 x 600
│ сечения │ 200 x 200 x 800
│ Цилиндр │Диаметр d: 100; 150;
│ │ 200; 300
│ │Высота h, равная 2d
Определение прочности на│ Призма │ 100 x 100 x 400
растяжение при изгибе и │ квадратного │ 150 x 150 x 600
при раскалывании │ сечения │ 200 x 200 x 800
Допускается применять:
кубы с ребром длиной 70 мм;
призмы размером 70 x 70 x 280 мм, цилиндры диаметром 70 мм;
цилиндры высотой, равной соответствующему диаметру, при определении прочности на растяжение при раскалывании и высотой, равной четырем диаметрам при определении прочности на осевое растяжение;
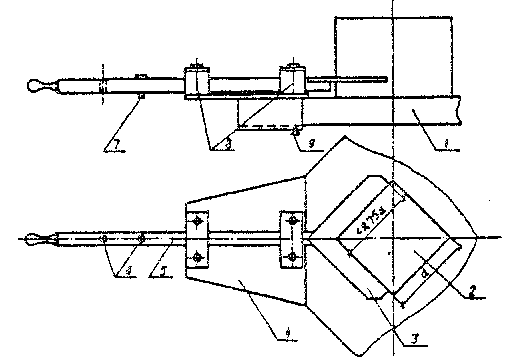
восьмерки по черт. 1 и табл. 2 при определении прочности на осевое растяжение;
половинки образцов-призм, полученных после испытания на растяжение при изгибе образцов-призм, для определения прочности бетона на сжатие;
кубы, изготовленные в неразъемных формах с технологическим уклоном.
Черт. 1
Таблица 2
────────────────────┬─────────────────────────────────────────────
Обозначение размера│ Значение при поперечном сечении образца, мм
├─────────┬───────────┬─────────┬─────────────
│ 70 x 70 │ 100 x 100 │150 x 150│ 200 x 200
────────────────────┼─────────┼───────────┼─────────┼─────────────
a │ 70 │ 100 │ 150 │ 200
b │ 100 │ 150 │ 250 │ 350
l │ 490 │ 700 │ 1050 │ 1400
l │ 210 │ 300 │ 450 │ 600
1 │ │ │ │
l │ 45 │ 65 │ 110 │ 160
2 │ │ │ │
l │ 95 │ 135 │ 180 │ 250
3 │ │ │ │
За базовый образец при всех видах испытаний следует принимать образец с размером рабочего сечения 150 x 150 мм.
2.1.2. Размеры образцов в зависимости от наибольшей номинальной крупности заполнителя в пробе бетонной смеси должны соответствовать указанным в табл. 3.
мм
────────────┬─────────────────┬────────────┬──────────────────────
Наибольший │Наименьший размер│ Наибольший │ Наименьший размер
номинальный│ образца (ребра │номинальный │ образца (ребра куба,
размер зерна│ куба, стороны │размер зерна│ стороны поперечного
заполнителя│ поперечного │заполнителя │ сечения призмы или
│ сечения призмы │ │ восьмерки, диаметра и
│ или восьмерки, │ │ высоты цилиндра)
│ диаметра и │ │
│ высоты │ │
│ цилиндра) │ │
────────────┼─────────────────┼────────────┼──────────────────────
20 и менее │ 100 │ 70 │ 200
40 │ 150 │ 100 │ 300
Примечания. 1. Для испытания конструкционно-теплоизоляционного и теплоизоляционного бетонов класса В5 (М75) и менее на пористых заполнителях (независимо от наибольшей крупности заполнителя) следует применять образцы с наименьшим размером 150 мм.
2. При изготовлении образцов из бетонной смеси должны быть удалены отдельные зерна крупного заполнителя, размер которых превышает более чем в 1,5 раза наибольший номинальный размер заполнителя, указанный в
табл. 3, а также все зерна заполнителя размером более 100 мм.
3. При изготовлении образцов с минимальным размером 70 мм максимальная крупность заполнителя не должна превышать 20 мм.
2.1.3. Образцы изготавливают и испытывают сериями.
Число образцов в серии (кроме ячеистого бетона) принимают по табл. 4 в зависимости от среднего внутрисерийного коэффициента вариации прочности бетона

, рассчитываемого по
Приложению 2 не реже одного раза в год. Для ячеистого бетона число образцов в серии принимают равным 3.
Таблица 4
──────────────────────────┬─────────┬───────────────────┬─────────
Внутрисерийный коэффициент│5 и менее│Более 5 до 8 включ.│ Более 8
_ │ │ │
вариации V , % │ │ │
s │ │ │
──────────────────────────┼─────────┼───────────────────┼─────────
Требуемое число образцов │ 2 │ 3 <*> или 4 │ 6
бетона в серии шт., не │ │ │
менее │ │ │
--------------------------------
<*> При применении форм типа 2ФК принимают четыре образца в серии, а для форм типа 1ФК и 3ФК - три образца.
2.1.4. Отклонения от плоскостности опорных поверхностей кубов и цилиндров, прилегающих к плитам пресса, не должны превышать 0,1 мм.
2.1.5. Отклонения от прямолинейности образующей образцов-цилиндров, предназначенных для испытания на раскалывание, не должны превышать 0,1 мм.
2.1.6. Отклонения от перпендикулярности смежных граней кубов и призм, а также опорных поверхностей и образующих цилиндров, предназначенных для испытания на сжатие, не должны превышать 1 мм.
2.2. Отбор проб и изготовление образцов
| | ИС МЕГАНОРМ: примечание. Взамен ГОСТ 10181.0-81 Постановлением Госстроя РФ от 14.12.2000 N 127 с 1 июля 2001 года введен в действие ГОСТ 10181-2000. | |
2.2.1. Пробы бетонной смеси для изготовления контрольных образцов при производственном контроле прочности бетона следует отбирать в соответствии с требованиями ГОСТ 10181.0.
2.2.2. Пробы бетонной смеси для изготовления контрольных образцов, предназначенных для лабораторных исследований, при подборе состава бетона, обосновании норм расхода цемента, изучении влияния на свойства бетонов различных технологических факторов и для других целей следует отбирать из специально изготовленных лабораторных замесов бетонной смеси.
2.2.3. Объем пробы бетонной смеси должен превышать требуемый для изготовления всех серий контрольных образцов не менее чем в 1,2 раза.
Отобранная проба бетонной смеси должна быть дополнительно вручную перемешана перед формованием образцов.
Бетонные смеси, содержащие воздухововлекающие и газообразующие добавки, а также предварительно разогретые смеси перед формованием образцов дополнительно перемешивать не следует.
2.2.4. Образцы следует изготавливать в поверенных формах, соответствующих требованиям
ГОСТ 22685.
Перед использованием форм их внутренние поверхности должны быть покрыты тонким слоем смазки, не оставляющей пятен на поверхности образцов и не влияющей на свойства поверхностного слоя бетона.
2.2.5. Укладку и уплотнение бетонной смеси следует производить не позднее, чем через 20 мин после отбора пробы.
2.2.6. При изготовлении одной или нескольких серий образцов, предназначенных для определения различных характеристик бетона, все образцы следует изготавливать из одной пробы бетонной смеси и уплотнять их в одинаковых условиях. Отклонения между собой значений средней плотности бетона отдельных серий и средней плотности отдельных образцов в каждой серии к моменту их испытания не должны превышать 50 кг/м3.
При несоблюдении этого требования результаты испытаний не учитывают.
2.2.7. При производственном контроле формование контрольных образцов, а также контрольных блоков из ячеистых бетонов следует производить по той же технологии и с теми же параметрами уплотнения, что и конструкции.
2.2.8. Образцы из тяжелого и легкого бетонов при лабораторных исследованиях, а также при производственном контроле в случаях, когда условия
пункта 2.2.7 не могут быть выполнены, формуют следующим образом:
формы заполняют бетонной смесью слоями высотой не более 100 мм. Каждый слой укладывают штыкованием стальным стержнем диаметром 16 мм с закругленным концом. Число нажимов стержня рассчитывают из условия, чтобы один нажим приходился на 10 см2 верхней открытой поверхности образца, штыкование выполняют равномерно по спирали от краев формы к ее середине.
При подвижности бетонной смеси менее 10 см или жесткости менее 11 с форму с уложенной бетонной смесью жестко закрепляют на лабораторной виброплощадке и дополнительно уплотняют, вибрируя до полного уплотнения, характеризуемого прекращением оседания бетонной смеси, выравниванием ее поверхности, появлением на ней тонкого слоя цементного теста и прекращением выделения пузырьков воздуха.
При изготовлении образцов из бетонной смеси жесткостью 11 с и более на форме закрепляют насадку. Форму с насадкой жестко закрепляют на лабораторной виброплощадке и устанавливают на поверхность смеси пригруз, обеспечивающий давление 4 +/- 0,5 кПа, и вибрируют до прекращения оседания пригруза плюс дополнительно 5 - 10 с.
После окончания укладки и уплотнения бетонной смеси в форме верхнюю поверхность образца заглаживают мастерком или пластиной.
2.2.9. В случаях применения на производстве способов и режимов уплотнения бетона, приводящих к изменению его состава, способ изготовления контрольных образцов бетона или поправочный коэффициент к прочности образцов должен быть указан в стандартах или технических условиях на сборные конструкции или в рабочих чертежах монолитных конструкций.
2.2.10. Образцы в цилиндрических формах после заглаживания верхней поверхности закрывают крышками, кладут на боковую сторону и хранят в таком положении до распалубливания.
2.2.11. Образцы из ячеистого или других бетонов выпиливают или выбуривают из контрольных неармированных блоков, изготовленных одновременно с изделиями из той же бетонной смеси, или из готовых изделий после их остывания, или эксплуатируемых конструкций по
ГОСТ 28570.
Контрольные блоки из ячеистого бетона должны иметь следующие размеры (черт. 2).
СХЕМЫ ВЫПИЛИВАНИЯ И ВЫБУРИВАНИЯ
ОБРАЗЦОВ ЯЧЕИСТОГО БЕТОНА, мм
При горизонтальном формировании При вертикальном формировании
изделия изделия
При горизонтальном формовании изделий:
длину и ширину - не менее 400 мм;
высоту, равную толщине изделия.
При вертикальном формовании изделий:
длину - не менее 400 мм;
высоту и толщину, равные высоте и толщине изделия.
Образцы выпиливают или выбуривают из средней части изделия или контрольного блока по схеме, приведенной на
черт. 2.
Образцы выпиливают или выбуривают без увлажнения, отступив от граней изделия или блока не менее чем 20 мм.
Допускается при подборе состава ячеистого бетона, а для пенобетона и при производственном контроле прочности изготавливать контрольные образцы в формах по
пп. 2.2.7 -
2.2.9.
2.2.12. Непосредственно после изготовления образцов на них должна быть нанесена маркировка. Маркировка не должна повреждать образец или влиять на результаты испытания.
2.3. Твердение, хранение и транспортирование образцов
2.3.1. Способ и режим твердения образцов бетона, предназначенных для производственного контроля прочности, следует принимать по
ГОСТ 18105.
2.3.2. Образцы, предназначенные для твердения в нормальных условиях, после изготовления до распалубливания хранят в формах, покрытых влажной тканью или другим материалом, исключающим возможность испарения из них влаги, в помещении с температурой воздуха (20 +/- 5) °С.
При определении прочности бетона на сжатие образцы распалубливают не ранее чем через 24 ч для бетонов класса В7,5 (М100) и выше и не ранее чем через 48 ч - для бетонов класса В5 (М75) и ниже, а также для бетонов с добавками, замедляющими их твердение в раннем возрасте.
При определении прочности бетона на растяжение образцы распалубливают не ранее чем через 96 ч после их изготовления.
После распалубливания образцы должны быть помещены в камеру, обеспечивающую у поверхности образцов нормальные условия, т.е. температуру (20 +/- 3) °С и относительную влажность воздуха (95 +/- 5)%. Образцы укладывают на подкладки так, чтобы расстояние между образцами, а также между образцами и стенками камеры было не менее 5 мм. Площадь контакта образца с подкладками, на которых он установлен, не должна составлять более 30% площади опорной грани образца. Образцы в камере нормального твердения не должны непосредственно орошаться водой. Допускается хранение образцов под слоем влажных песка, опилок или других систематически увлажняемых гигроскопичных материалов.
Образцы, предназначенные для твердения в условиях тепловой обработки, должны быть помещены в формах в тепловой агрегат (пропарочную камеру, автоклав, отсек формы или кассеты и т.д.) и твердеть там вместе с конструкциями или отдельно по принятому на производстве режиму.
После окончания тепловой обработки образцы распалубливают и испытывают или хранят в нормальных условиях в соответствии с
п. 2.3.1.
2.3.3. Образцы, предназначенные для твердения в условиях, аналогичных условиям твердения бетона в монолитных конструкциях, могут твердеть или в формах, или в распалубленном виде.
2.3.4. Допускаются другие условия твердения образцов, например, водное или комбинированное, если эти условия установлены стандартами, техническими условиями или указаны в рабочих чертежах конструкции.
2.3.5. При транспортировании образцов бетона необходимо предохранять их от повреждений, изменения влажности и замораживания.
Прочность бетона образцов к началу их транспортирования должна быть не менее 2 МПа.
3.1. Перечень оборудования для изготовления образцов, средств измерения их размеров, формы, массы, испытательного оборудования, приборов, устройств, приспособлений и их технические характеристики приведены в Приложении 3
(табл. 7).
Рекомендуемые конструктивные схемы устройств и некоторых приспособлений для испытаний на растяжение приведены в Приложениях
8 -
10.
Допускается использовать другие средства измерения, оборудование, приспособления, если их технические характеристики удовлетворяют требованиям, указанным в Приложении 3
(табл. 7).
| | ИС МЕГАНОРМ: примечание. Взамен ГОСТ 8.001-80, ГОСТ 8.383-80, утративших силу на территории Российской Федерации с 1 декабря 2001 года, действует ПР 50.2.009-94 "ГСИ. Порядок проведения испытаний и утверждения типа средств измерений" (Постановление Госстандарта РФ от 27.09.2001 N 394-ст). | |
3.2. Средства измерения, выпускаемые серийно (большими или малыми сериями), допускается использовать, если они прошли государственные или ведомственные испытания в соответствии с ГОСТ 8.001 и ГОСТ 8.383 и внесены в государственный или ведомственный реестр, о чем должна быть сделана отметка или запись в эксплуатационных документах (паспортах, формулярах, инструкциях по эксплуатации), а также прошли первичную поверку при их выпуске из производства, что удостоверено свидетельством о поверке или записью в паспорте.
| | ИС МЕГАНОРМ: примечание. Взамен ГОСТ 8.326-89, утратившего силу на территории Российской Федерации с 1 декабря 2001 года, действует ПР 50.2.009-94 "ГСИ. Порядок проведения испытаний и утверждения типа средств измерений" (Постановление Госстандарта РФ от 27.09.2001 N 394-ст). | |
3.3. Средства измерения, выпускаемые единичными экземплярами или ввозимые из-за границы в единичных экземплярах, допускается использовать, если они прошли аттестацию в соответствии с ГОСТ 8.326, что удостоверяется свидетельством о метрологической аттестации.
| | ИС МЕГАНОРМ: примечание. Приказом Ростехрегулирования от 22.06.2006 N 118-ст введен в действие с 1 сентября 2006 года ГОСТ 2.601-2006. | |
| | ИС МЕГАНОРМ: примечание. ГОСТ 24555-81 утратил силу на территории Российской Федерации с 1 июля 1998 года. Действует ГОСТ Р 8.568-97, утв. Постановлением Госстандарта РФ от 10.11.1997 N 364 (ИУС "Государственные стандарты", N 2, 1998). | |
3.4. Испытательное оборудование допускается использовать, если оно прошло первичную аттестацию в соответствии с ГОСТ 24555, что для серийно выпускаемого оборудования удостоверяется аттестатом или записью в эксплуатационных документах, а для выпускаемого в единичных экземплярах или ввозимого из-за границы в единичных экземплярах - аттестатом, протоколом аттестации и формуляром по ГОСТ 2.601.
3.5. В процессе эксплуатации средства измерения должны проходить периодическую поверку, а испытательное оборудование - периодическую аттестацию.
Необходимость проведения этих операций и наличие требуемых документов указаны в
Приложении 3.
3.6. Поверку средств измерения проводят органы государственной или ведомственной метрологической службы в соответствии с указаниями в эксплуатационной документации для средств, выпускаемых серийно или в акте метрологической аттестации.
3.7. Периодическую аттестацию испытательного оборудования проводят испытательные подразделения - строительные или заводские лаборатории, отделы технического контроля, испытаний и другие, применяющие это оборудование, с участием метрологической службы данного предприятия (организации).
3.8. Межповерочный срок между двумя последовательными поверками средств измерений указывается в эксплуатационной документации или в акте метрологической аттестации.
Периодическая аттестация испытательного оборудования проводится в сроки, установленные при первичной аттестации.
После ремонта или перебазирования, а также замены средств измерений или испытательного оборудования следует проводить внеочередные поверки и аттестации.
4. ПОДГОТОВКА К ИСПЫТАНИЯМ ОБРАЗЦОВ
И УСЛОВИЯ ИХ ПРОВЕДЕНИЯ
4.1. В помещении для испытания образцов следует поддерживать температуру воздуха в пределах (20 +/- 5) °С и относительную влажность воздуха не менее 55%. В этих условиях образцы должны быть выдержаны до испытания в распалубленном виде в течение не менее 24 ч, если они твердели в воде, и в течение не менее 4 ч, если они твердели в воздушно-влажностных условиях или в условиях тепловой обработки.
Образцы, предназначенные для испытаний для определения передаточной или распалубочной прочности бетона на сжатие в горячем состоянии, а также образцы, предназначенные для определения прочности на растяжение после водного твердения, следует испытывать без предварительной выдержки.
4.2. Перед испытанием образцы подвергают визуальному осмотру, устанавливая наличие дефектов в виде околов ребер, раковин и инородных включений. Образцы, имеющие трещины, околы ребер глубиной более 10 мм, раковины диаметром более 10 мм и глубиной более 5 мм (кроме бетона крупнопористой структуры), а также следы расслоения и недоуплотнения бетонной смеси, испытанию не подлежат. Наплывы бетона на ребрах опорных граней образцов должны быть удалены напильником или абразивным камнем. Результаты осмотра записывают в журнал испытаний, форма которого приведена в
Приложении 4. В случае необходимости фиксируют схему расположения дефектов.
4.3. На образцах выбирают и отмечают грани, к которым должны быть приложены усилия в процессе нагружения.
Опорные грани отформованных образцов-кубов, предназначенных для испытания на сжатие, выбирают так, чтобы сжимающая сила при испытании была направлена параллельно слоям укладки бетонной смеси в формы.
Опорные грани образцов-кубов и призм, предназначенных для испытания на растяжение при раскалывании, должны быть выбраны так, чтобы оси колющих прокладок, передающих усилие, были перпендикулярны к слоям укладки бетонной смеси.
Плоскость изгиба образцов-призм при испытании на растяжение при изгибе должна быть параллельна слоям укладки.
4.4. Линейные размеры образцов измеряют с погрешностью не более 1%. Результаты измерений линейных размеров образцов записывают в журнал испытаний.
Примечание. При использовании для изготовления образцов бетона поверенных форм, линейные размеры которых соответствуют требованиям
ГОСТ 22685, допускается не измерять линейные размеры образцов, а принимать их равными номинальным по
табл. 1 настоящего стандарта.
4.5. Отклонения от прямолинейности образующей образцов-цилиндров определяют с помощью поверочных плиты или линейки и щупов путем установления наибольшего зазора между боковой поверхностью образца и поверхностью плиты.
4.6. Отклонения от перпендикулярности смежных граней образцов-кубов и призм, а также опорных и боковых поверхностей цилиндров определяют по методике
Приложения 5.
4.7. Отклонения от плоскостности поверхностей образцов определяют по методике
Приложения 5.
4.8. Отклонения от плоскостности, прямолинейности и перпендикулярности по
пп. 4.5 -
4.7 следует проверять на образцах, изготовленных в формах одного комплекта не реже одного раза в 6 мес, а также при каждой замене форм для изготовления образцов.
4.9. Если опорные грани образцов-кубов или цилиндров не удовлетворяют требованиям
п. 2.1.4, то они должны быть выровнены. Для выравнивания опорных граней применяют шлифование или нанесение слоя быстротвердеющего материала толщиной не более 3 мм и прочностью к моменту испытания не менее половины ожидаемой прочности бетона образца.
4.10. Если при определении прочности бетона на растяжение при раскалывании не применяют кондукторы по
черт. 12 и
13, то на боковые грани образцов-кубов, призм и торцевые поверхности образцов-цилиндров, предназначенных для этих испытаний, наносят осевые линии, с помощью которых образец центрируют при испытании.
4.11. Образцы, предназначенные для испытания на осевое растяжение, закрепляют в захватах.
| | ИС МЕГАНОРМ: примечание. Взамен ГОСТ 23676-79 Постановлением Госстандарта РФ от 27.03.1992 N 294 с 1 января 1994 года введен в действие ГОСТ 29329-92. | |
4.12. Перед испытанием образцы взвешивают с целью определения их средней плотности по
ГОСТ 12730.1. При автоматическом определении массы образцов погрешность принимают по среднему классу точности по ГОСТ 23676.
5.1. Общие требования
5.1.1. Все образцы одной серии должны быть испытаны в расчетном возрасте в течение не более 1 ч.
5.1.2. Перед установкой образца на пресс или испытательную машину удаляют частицы бетона, оставшиеся от предыдущего испытания на опорных плитах пресса.
5.1.3. Шкалу силоизмерителя испытательной машины, пресса или испытательной установки выбирают из условия, что ожидаемое значение разрушающей нагрузки должно быть в интервале 20 - 80% максимальной нагрузки, допускаемой выбранной шкалой.
5.1.4. Нагружение образцов производят непрерывно со скоростью, обеспечивающей повышение расчетного напряжения в образце до его полного разрушения в пределах (0,6 +/- 0,4) МПа/с при испытаниях на сжатие и в пределах (0,05 +/- 0,02) МПа/с при испытаниях на растяжение. При этом время нагружения одного образца должно быть не менее 30 с.
5.1.5. Максимальное усилие, достигнутое в процессе испытания, принимают за разрушающую нагрузку и записывают его в журнал испытаний.
5.1.6. Разрушенный образец необходимо подвергнуть визуальному осмотру и отметить в журнале испытаний:
характер разрушения;
наличие крупных (объемом более 1 см3) раковин и каверн внутри образца;
наличие зерен заполнителя размером более 1,5

, комков глины, следов расслоения.
Результаты испытаний образцов, имеющих перечисленные дефекты структуры и характер разрушения, учитывать не следует.
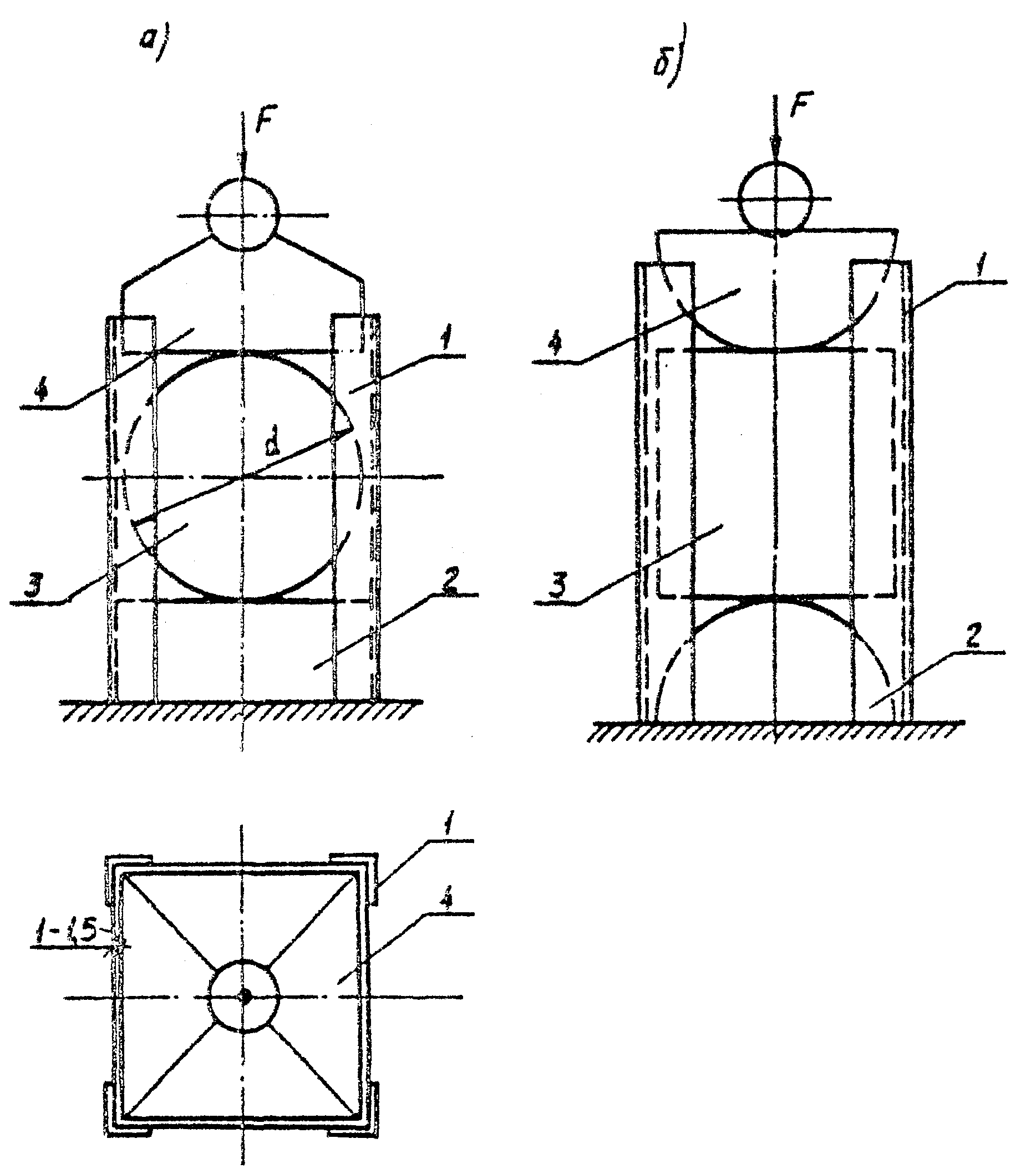
5.2. Испытание на сжатие
5.2.1. При испытании на сжатие образцы-кубы и цилиндры устанавливают одной из выбранных граней на нижнюю опорную плиту пресса (или испытательной машины) центрально относительно его продольной оси, используя риски, нанесенные на плиту пресса, дополнительные стальные плиты или специальное центрирующее устройство, приведенное в
Приложении 6.
Между плитами пресса и опорными поверхностями образца допускается прокладывать дополнительные стальные опорные плиты.
5.2.2. Образцы-половинки призм при испытании на сжатие помещают между двумя дополнительными стальными плитами. Дополнительные плиты центрируют относительно оси пресса, используя риски, нанесенные на плиту пресса и дополнительные стальные плиты, или специальное центрирующее устройство.
5.2.3. После установки образца на опорные плиты пресса (дополнительные стальные плиты) совмещают верхнюю плиту пресса с верхней опорной гранью образца (дополнительной стальной плитой) так, чтобы их плоскости полностью прилегали одна к другой. Далее начинают нагружение.
5.2.4. В случае разрушения образца по одной из дефектных схем по
Приложению 7 при определении средней прочности серии этот результат не учитывают.
5.3. Испытание на растяжение при изгибе
5.3.1. Образцы-призмы устанавливают в испытательное устройство по схеме черт. 3 и
Приложению 8 и нагружают до разрушения.
СХЕМА ИСПЫТАНИЯ НА РАСТЯЖЕНИЕ ПРИ ИЗГИБЕ
1 - образец; 2 - шарнирно неподвижная опора;
3 - шарнирно-подвижная опора
Черт. 3
5.3.2. Если образец разрушился не в средней трети пролета или плоскость разрушения образца наклонена к вертикальной плоскости более чем на 15°, то при определении средней прочности бетона серии образцов этот результат испытания не учитывают.
5.4. Испытания на растяжение при раскалывании
5.4.1. Образцы устанавливают на плиты пресса или в испытательное устройство по черт. 4 и
Приложению 9 и нагружают до разрушения.
Схемы испытания на растяжение при раскалывании
Черт. 4
Для равномерной передачи усилия на образец между стальной колющей прокладкой и поверхностью куба или между опорными плитами пресса и поверхностью образца-цилиндра допускается дополнительно устанавливать прокладку из фанеры, картона длиной не менее длины образца.
5.4.2. Образцы-призмы последовательно раскалывают в нескольких сечениях по длине. Расстояние между сечениями раскалывания должно быть не менее половины высоты призмы.
5.5. Испытание на осевое растяжение
5.5.1. Образцы закрепляют в разрывной машине по одной из схем
Приложения 10 и нагружают до разрушения.
5.5.2. Результат испытаний не учитывают, если разрушение образца произошло не в рабочей зоне или плоскость разрушения образца наклонена к его горизонтальной оси более чем на 15°.
ПОГРЕШНОСТИ РАСПОЛОЖЕНИЯ ПЛОСКОСТЕЙ
ДЕЙСТВИЯ НАГРУЗКИ ПРИ ИСПЫТАНИИ НА РАСКАЛЫВАНИЕ
а) с эксцентриситетом б) взаимно-непараллельно
6. ОБРАБОТКА И ОЦЕНКА РЕЗУЛЬТАТОВ
6.1. Прочность бетона, МПа (кгс/см2), следует вычислять с точностью до 0,1 МПа (1 кгс/см2) при испытаниях на сжатие и до 0,01 МПа (0,1 кгс/см2) при испытаниях на растяжение для каждого образца по формулам:
на сжатие

; (1)
на осевое растяжение

; (2)
на растяжение при раскалывании

; (3)
на растяжение при изгибе

, (4)
где F - разрушающая нагрузка, Н (кгс);
А - площадь рабочего сечения образца, мм2 (см2);
a, b, l - соответственно ширина, высота поперечного сечения призмы и расстояние между опорами при испытании образцов на растяжение при изгибе, мм (см);

,

,

,

- масштабные коэффициенты для приведения прочности бетона к прочности бетона в образцах базовых размера и формы;

- поправочный коэффициент для ячеистого бетона, учитывающий влажность образцов в момент испытания.
6.2. Значения масштабных коэффициентов следует определять экспериментально по
Приложению 11. Допускается значения масштабных коэффициентов

,

,

и

для отдельных видов бетонов принимать по табл. 5.
───────────────┬──────────────────────────────────────────────────
Форма и размеры│ Масштабные коэффициенты
образца, мм ├──────┬───────────────────┬──────────┬────────────
│сжатия│растяжения при рас-│растяжения│ осевого
│альфа,│калывании гамма │при изгибе│ растяжения
│всех ├────────┬──────────┤ тяжелого │ бета
│видов │тяжелого│мелкозер- │ бетона │
│бето- │ бетона │нистого │ дельта │
│нов, │ │бетона │ │
│кроме │ │ │ │
│ячеис-│ │ │ │
│того │ │ │ │
───────────────┼──────┼────────┼──────────┼──────────┼────────────
Куб (ребро) или│ │ │ │ │
квадратная │ │ │ │ │
призма (сторо- │ │ │ │ │
на) │ │ │ │ │
70 │ 0,85 │ 0,78 │ 0,87 │ 0,86 │ 0,85
100 │ 0,95 │ 0,88 │ 0,92 │ 0,92 │ 0,92
150 │ 1,00 │ 1,00 │ 1,00 │ 1,00 │ 1,00
200 │ 1,05 │ 1,10 │ 1,05 │ 1,15 │ 1,08
300 │ 1,10 │ - │ - │ 1,34 │ -
Цилиндры (диа- │ │ │ │ │
метр x высота) │ │ │ │ │
100 x 200 │ 1,16 │ 0,98 │ 0,99 │ - │ -
150 x 300 │ 1,20 │ 1,13 │ 1,08 │ - │ -
200 x 400 │ 1,24 │ - │ - │ - │ -
300 x 600 │ 1,28 │ - │ - │ - │ -
│ │ │ │ │
Примечания. 1. Для ячеистого бетона со средней плотностью менее 400 кг/м3 масштабный коэффициент

следует принимать равным 1,0 независимо от размеров и формы образцов.
2. Для ячеистого бетона со средней плотностью 400 кг/м3 и более масштабный коэффициент

для выбуренных цилиндров диаметром и высотой 70 мм и выпиленных кубов с ребром длиной 70 мм принимают равным 0,90, а для цилиндров диаметром и высотой 100 мм и кубов с ребром длиной 100 мм - равным 0,95.
3. Применение экспериментальных масштабных коэффициентов

,

,

и

по
Приложению 11, отличающихся от единицы в сторону увеличения или уменьшения более, чем это указано в
табл. 5, для отдельных видов бетонов и размеров образцов не допускается.
6.3. Значения коэффициента

, для ячеистого бетона принимают по табл. 6. Коэффициент

при промежуточных значениях влажности бетона определяют по линейной интерполяции. Для других видов бетона принимают

равным единице.
Таблица 6
───────────────────┬───────────┬───────────────────┬──────────────
Влажность ячеистого│Поправочный│Влажность ячеистого│ Поправочный
бетона по массе в │коэффициент│ бетона по массе в │коэффициент k
момент испытания │ k │ момент испытания │ w
w, % │ w │ w, % │
───────────────────┼───────────┼───────────────────┼──────────────
0 │ 0,8 │ 15 │ 1,05
5 │ 0,9 │ 20 │ 1,10
10 │ 1,0 │ 25 и более │ 1,15
6.4. Прочность бетона (кроме ячеистого) в серии образцов определяют как среднее арифметическое значение в серии:
из двух образцов - по двум образцам;
из трех образцов - по двум наибольшим по прочности образцам;
из четырех образцов - по трем наибольшим по прочности образцам;
из шести образцов - по четырем наибольшим по прочности образцам.
При отбраковке дефектных образцов прочность бетона в серии образцов определяют по всем оставшимся образцам, если их не менее двух. Результаты испытания серии из двух образцов при отбраковке одного образца не учитывают.
6.5. Для ячеистого бетона прочность в серии образцов определяют как среднее арифметическое значение всех испытанных образцов серии.
6.6. При производственном контроле значения переходных коэффициентов от прочности бетона при одном виде испытаний к другому виду испытаний допускается определять экспериментально по
Приложению 11.
6.7. Оценку результатов определения прочности бетона производят по
ГОСТ 18105.
6.8. В случаях, если средний внутрисерийный коэффициент вариации прочности бетона на сжатие превышает 8%, необходимо провести внеочередную переаттестацию испытательной лаборатории.
Справочное
О СООТВЕТСТВИИ ГОСТ 10180 СТ СЭВ 3978
─────────────────────────────────┬────────────────────────────────
ГОСТ 10180 │ СТ СЭВ 3978
─────────────────────────────────┼────────────────────────────────
Номер пункта │ Номер пункта
─────────────────────────────────┼────────────────────────────────
Обязательное
ОПРЕДЕЛЕНИЕ СРЕДНЕГО ВНУТРИСЕРИЙНОГО
КОЭФФИЦИЕНТА ВАРИАЦИИ ПРОЧНОСТИ БЕТОНА
Средний внутрисерийный коэффициент вариации прочности бетона

, %, определяют по результатам испытания любых последовательных 30 серий образцов бетона одного класса (марки). Для этого определяют размах

в каждой серии, а также средний размах

, МПа, и среднюю прочность

, МПа, по всем 30 сериям по формулам

; (5)

; (6)

; (7)

, (8)
где

и

- максимальное и минимальное значения прочности бетона в каждой серии образцов, МПа;

,

- средние прочность и размах прочности бетона в каждой серии образцов, МПа;
d - коэффициент, принимаемый в зависимости от числа образцов n в каждой серии:
при n = 2 d = 1,13;
" n = 3 d = 1,69;
" n = 4 d = 2,06;
" n = 6 d = 2,50.
Обязательное
ПЕРЕЧЕНЬ ОБОРУДОВАНИЯ ДЛЯ ИЗГОТОВЛЕНИЯ ОБРАЗЦОВ,
СРЕДСТВ ИЗМЕРЕНИЯ ИХ РАЗМЕРОВ, ФОРМЫ И МАССЫ,
ИСПЫТАТЕЛЬНОГО ОБОРУДОВАНИЯ, УСТРОЙСТВ, ПРИСПОСОБЛЕНИЙ
И ИХ ТЕХНИЧЕСКИЕ ХАРАКТЕРИСТИКИ
───────────────────┬────────────────┬───────────┬──────────────────────────────────
Наименование, тип, │ Технические │Необходи- │ Справочные данные
марка оборудования │характеристики │мость пе- ├──────────────────────────────────
или средства │ │риодической│ Организация,
измерения, их │ │поверки ├────────────────┬─────────────────
определяющий │ │средств │распространяющая│ поставляющая
документ │ │измерений │чертежи и мето- │ оборудование
│ │или аттес- │дики аттестации │
│ │тации испы-│ │
│ │тательного │ │
│ │оборудова- │ │
│ │ния │ │
───────────────────┼────────────────┼───────────┼────────────────┼─────────────────
1. Оборудование │ │ │ │Территориальные
для изготовле-│ │ │ │управления Гос-
ния образцов │ │ │ │снаба СССР
1.1. Формы с крыш- │По
ГОСТ 22685 │Аттестация │Центральный инс-│Выпускаются
ками и насад- │ │ │титут типового │серийно Симферо-
ками по │ │ │проектирования │польским механи-
│ │ │СССР. │"Сантехпром"
<1>
│ │ │ │и другими заво-
│ │ │ │дами по прямым
│ │ │ │договорам
│ │ │ │Территориальные
1.2. Лабораторная │Частота верти- │Аттестация │ - │управления Гос-
виброплощадка │кальных колеба- │ │ │снаба СССР. Вы-
типа 435А или │ний с формой, │ │ │пускаются серий-
СМЖ 539 по │заполненной бе- │ │ │но Челябинским
ТУ 22-4419, │тонной смесью │ │ │ПО
СМЖ 739 по │(2900 +/- 100) │ │ │"Строммашина"
<2>
ТУ 22-109-24 │ -1 │ │ │
│мин ; ампли- │ │ │
│туда вертикаль- │ │ │
│ных колебаний │ │ │
│(0,5 +/- 0,05) │ │ │
│мм. │ │ │
│Амплитуда гори- │ │ │
│зонтальных коле-│ │ │
│баний не более │ │ │
│0,1 мм; отклоне-│ │ │
│ние амплитуд ко-│ │ │
│лебаний краев │ │ │
│площадки от ее │ │ │
│середины не бо- │ │ │
│лее 20% │ │ │
1.3. Лабораторная │Погрешность под-│Аттестация │ Институт "Оргэнергострой"
пропарочная │держания задан- │ │ Минэнерго СССР, выпускается
камера типа │ной температуры │ │ мелкими сериями
<3>
ЭК-1 │не более 2 °С в │ │ │
│диапазоне от │ │ │
│20 °С до 100 °С │ │ │
1.4. Камера нор- │Температура │Аттестация │ - │ -
мального │(20 +/- 3) °С, │ │ │
твердения │влажность возду-│ │ │
│ха (95 +/- 5)%, │ │ │
│наличие стел- │ │ │
│лажей для уста- │ │ │
│новки образцов, │ │ │
│обеспечивающих │ │ │
│зазор не менее │ │ │
│5 мм между │ │ │
│образцами и │ │ │
│стенками каме- │ │ │
│ры или проклад- │ │ │
│ками │ │ │
2. Средства │ │ │ │Территориальные
измерения │ │ │ │управления Гос-
ИС МЕГАНОРМ: примечание.
Взамен ГОСТ 24104-88 Постановлением Госстандарта РФ от
26.10.2001 N 439-ст с 1 июля 2002 года введен в действие
2.1. Весы по │Погрешность │Поверка │ - │снаба СССР, вы-
ГОСТ 24104 │определения мас-│ │ │пускаются серий-
│сы не более 0,1%│ │ │но
<4>
2.2. Линейки │Цена деления не │ - │ - │Территориальные
стальные по │более 1 мм │ │ │управления Гос-
│ │ │ │пускаются се-
│ │ │ │серийно
2.3. Штангенцирку- │По ГОСТ 166 │Поверка │ - │То же
ли ШД-П 2-го │ │ │ │
класса по │ │ │ │
ГОСТ 166 │ │ │ │
2.4. Щупы (набор │По ТУ 2-034-225 │ - │ - │"
N 2) 2-го │ │ │ │
класса по │ │ │ │
ТУ 2-034-225 │ │ │ │
2.5. Поверочные │По
ГОСТ 10905 │Поверка │ - │Территориальные
плиты по │ │ │ │управления Гос-
2.6. Поверочные │По
ГОСТ 3749 │Поверка │ │пускаются серий-
угольники 90° │ │ │ │но
2.7. Прибор для │Погрешность │Поверка │ ЦИТП Госстроя │ -
определения │измерения не бо-│(только │ СССР │
отклонений от │лее 0,01 мм │измерите- │ │
плоскостности │на 100 мм; нали-│лей пере- │ │
опорных по- │чие трех фикси- │мещений) │ │
верхностей │рованных опор и │ │ │
образцов │двух измерителей│ │ │
│перемещений по │ │ │
│схеме │ │ │
2.8. Прибор для │Погрешность │Поверка │ ЦИТП Госстроя │ -
определения │измерения не │(только │ СССР │
отклонений от │более 0,01 мм на│измерите- │ │
перпендикуляр-│100 мм; наличие │лей пере- │ │
ности смежных │двух фиксирован-│мещений) │ │
граней образ- │ных опор в одной│ │ │
цов │плоскости и │ │ │
│одной опоры и │ │ │
│измерителя пере-│ │ │
│мещений в пер- │ │ │
│пендикулярной │ │ │
│плоскости по │ │ │
│схеме │ │ │
3. Испытательные │ │ │ │Территориальные
машины для │ │ │ │управления Гос-
статических │ │ │ │снаба СССР, вы-
испытаний │ │ │ │пускаются серий-
ИС МЕГАНОРМ: примечание.
Взамен ГОСТ 8905-82 Постановлением Госстандарта СССР от
29.12.1990 N 3530 с 1 января 1993 года введен в действие
3.1. Прессы для │По ГОСТ 8905 │Поверка │ - │но
<5> Армавирс-
испытаний на │ │ │ │ким ПО "Точмаш-
сжатие по │ │ │ │прибор"
ГОСТ 8905 │ │ │ │
ИС МЕГАНОРМ: примечание.
Взамен ГОСТ 7855-84 Постановлением Госстандарта СССР от
29.12.1990 N 3530 с 1 января 1993 года введен в действие
3.2. Разрывные и │По ГОСТ 7855 │" │ - │"
универсальные │ │ │ │
испытательные │ │ │ │
машины по │ │ │ │
ГОСТ 7855 │ │ │ │
4. Устройства и │ │ │ │
приспособления│ │ │ │
для испытаний │ │ │ │
на сжатие │ │ │ │
4.1. Устройства для│Обеспечение │Аттестация │ЦНИЛКиевгорстрой│Институт
центрирования │эксцентриситета │ │Киевгорстроя │"Оргэнергострой"
образцов отно-│приложения осе- │ │<6>, Институт │Минэнерго СССР
сительно гео- │вой нагрузки не │ │"Оргэнергострой"│
метрической │более 1% размера│ │Минэнерго СССР │
оси испыта- │поперечного се- │ │ │
тельной машины│чения образца по│ │ │
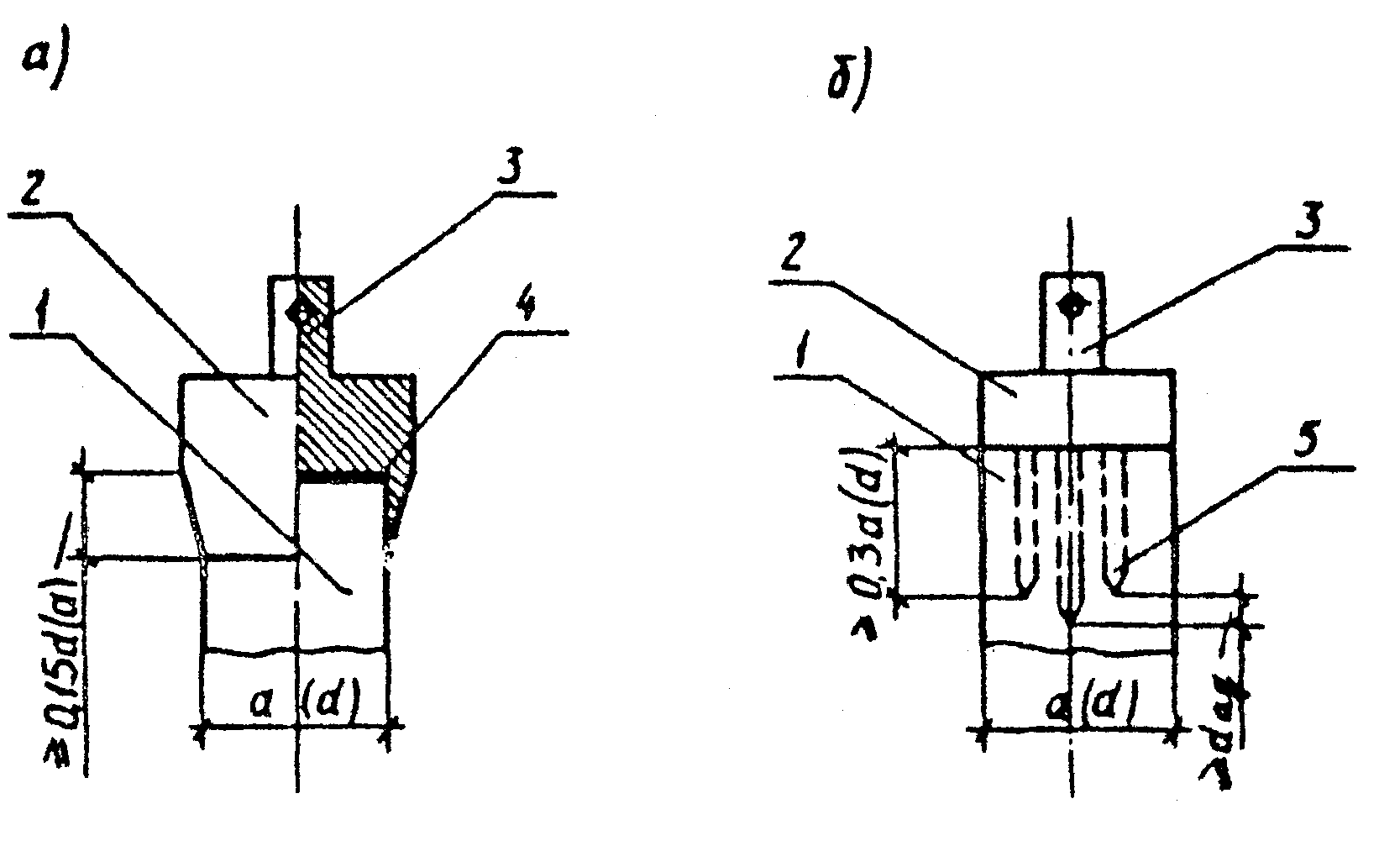
4.2. Дополнительные│Твердость стали │Аттестация │ Институт "Оргэнергострой"
стальные плиты│HRC 55 ... 60; │ │ Минэнерго СССР
│ Э │ │ │
│неплоскостность │ │ │
│опорных поверх- │ │ │
│ностей не более │ │ │
│0,05 мм на │ │ │
│100 мм; │ │ │
│толщина не менее│ │ │
│0,25а (0,25d) │ │ │
│при передаче │ │ │
│нагрузки через │ │ │
│шаровой шарнир; │ │ │
│размеры в плане │ │ │
│должны соот- │ │ │
│ветствовать раз-│ │ │
│мерам поперечно-│ │ │
│го сечения куба │ │ │
│или цилиндра с │ │ │
│погрешностью не │ │ │
│более 1% │ │ │
5. Устройства и │Обеспечение схе-│ │ │
приспособления│мы испытания │ │ │
для испытаний │согласно
черт. 3│ │ │
при изгибе │ │ │ │
5.1. Устройство в │Обеспечение за- │Аттестация │ Межотраслевой
целом │данных размеров │ │ научно-технический центр по
│схемы испытания │ │ испытаниям в строительстве
│с погрешностью, │ │ "НТЦ ТЕСТ"
<7>
│не более: 0,3% -│ │ │
│для расчетного │ │ │
│пролета; 1% - │ │ │
│для остальных │ │ │
│размеров │ │ │
5.2. Шарнирно- │Поворот (переме-│ │ │
подвижные опо-│щение) в плос- │ │ │
ры │кости изгиба │ │ │
│образца (без │ │ │
│нагрузки) уси- │ │ │
│лием не более 1Н│ │ │
5.3. Шарнирно-не- │Обеспечение воз-│ │ │
подвижные опо-│можности поворо-│ │ │
ры │та образца (без │ │ │
│его перемещения)│ │ │
│в плоскостях из-│ │ │
│гиба и перпенди-│ │ │
│кулярной │ │ │
5.4. Стальные опор-│Толщина не менее│ │ │
ные пластины │0,15а, ширина │ │ │
между образцом│(0,3 - 0,4)а, │ │ │
и шарнирами │длина не менее а│ │ │
6. Устройства и │Обеспечение схем│Аттестация │ Межотраслевой
приспособления│испытаний сог- │ │ научно-технический центр по
для испытаний │ласно
черт. 4 и │ │ испытаниям в строительстве
на растяжение │
11; исключение │ │ "НТЦ ТЕСТ"
при раскалыва-│возможности пог-│ │ │
нии │решностей в рас-│ │ │
│положении плос- │ │ │
│костей действия │ │ │
│нагрузки (при │ │ │
│испытании кубов)│ │ │
6.1. Устройство в │Эксцентриситет │Аттестация │ Институт "Оргэнергострой"
целом │плоскостей дейс-│ │ Минэнерго СССР
│твия равномерно │ │ Межотраслевой научно-
│распределенных │ │ технический центр по
│сил при испыта- │ │ испытаниям в строительстве
│нии кубов │ │ "НТЦ ТЕСТ"
│не более 0,01а; │ │ │
│взаимная непа- │ │ │
│раллельность │ │ │
│плоскостей дейс-│ │ │
│твия равномерно │ │ │
│распределенных │ │ │
│сил при испыта- │ │ │
│нии кубов (черт.│ │ │
│1 мм на 100 мм │ │ │
6.2. Колющие сталь-│Твердость стали │ │ │
ные прокладки │HRC 55 ... 60; │ │ │
│ Э │ │ │
│диаметр цилинд- │ │ │
│рического │ │ │
│стержня │ │ │
│(75 +/- 5) мм; │ │ │
│сторона │ │ │
│призматического │ │ │
│стержня │ │ │
│(10 +/- 1) мм; │ │ │
│отклонение от │ │ │
│прямолинейности │ │ │
│образующей ци- │ │ │
│линдрического │ │ │
│стержня или │ │ │
│опорных поверх- │ │ │
│ностей призмати-│ │ │
│ческого стержня │ │ │
│не более │ │ │
│0,05 мм на │ │ │
│100 мм; │ │ │
│длина стержня не│ │ │
│менее длины (вы-│ │ │
│соты) образца │ │ │
6.3. Прокладки из │Толщина │ │ │
картона по │(3 +/- 1 ) мм, │ │ │
трехслойной │размера попереч-│ │ │
фанеры по │ного сечения ку-│ │ │
ОСТ 34-13-892 │ба, призмы или │ │ │
│высоты цилиндра │ │ │
6.4. Опорные плиты │Твердость стали │ │ │
при испытании │HRC 55 ... 60, │ │ │
образцов-ци- │ Э │ │ │
линдров │отклонение от │ │ │
│плоскостности │ │ │
│вдоль линии при-│ │ │
│ложения усилия │ │ │
│не более 0,05 мм│ │ │
│на 100 мм; │ │ │
│толщина не менее│ │ │
│0,25d │ │ │
7. Устройства для│Обеспечение │Аттестация │ Межотраслевой
испытания на │соосности и │ │ научно-технический центр
осевое растя- │эксцентрисите- │ │ по испытаниям в строительстве
жение призм │та приложения │ │ "НТЦ ТЕСТ"
цилиндров │осевого растяги-│ │ │
│вающего усилия- │ │ │
│относительно │ │ │
│продольной оси │ │ │
│образца не бо- │ │ │
│лее 1% размера │ │ │
│его поперечного │ │ │
│сечения; по │ │ │
--------------------------------
<1> - 333017, Симферополь, ул. Киевская, 41, Симферопольский механический завод "Сантехпром".
<2> - 454007, Челябинск, ул. Артиллерийская, 124, Челябинское ПО "Строммашина".
<3> - 113105, Москва, Варшавское шоссе, 17.
<4> - 192007, Ленинград, Курская ул., 23, Ленинградский завод "Госметр".
142600, Московская обл., г. Орехово-Зуево, Ликкинское шоссе,
4, Орехово-зуевский завод "Прибордеталь".
316050, Кировоград, ул. Кирова, 86, Кировоградский опытный завод дозирующих автоматов.
<5> - 325913, Армавир-13, Армавирское ПО "Точмашприбор".
<6> - 252061, Киев, пр. Чубаря, 103, ЦНИЛКиевгорстрой Киевгорстроя.
<7> - 117071, Москва, ул. Орджоникидзе, 14-116, "НТЦ ТЕСТ".
Обязательное
──────┬──────┬─────┬────────────────────┬──────┬───────┬──────┬──────┬───────────────────┬──────┬───────┬───────┬────────┬──────┬──────┬──────┬──────┬────┬──────
Дата │Марки │Наи- │Нормируемые характе-│Удобо-│Ф.И.О. │Дата │Масса │Размеры образца, см│Сред- │Номер │Показа-│Разру- │Проч- │Сред- │Сред- │Сред- │При-│Под-
изго- │ровка │мено-│ристики прочности и │укла- │лица, │испы- │образ-│ │няя │испыта-│ния си-│шающая │ность │няя │няя │няя │ме- │пись
тов- │серии │вание│плотности бетона │дывае-│изгото-│тания │ца, г │ │плот- │тельной│лоизме-│нагруз- │бето- │влаж- │плот- │проч- │ча- │лица,
ления │обра- │конт-├──────┬──────┬──────┤мость │вившего│ │ │ │ность │машины;│рителя │ка, кН │на, │ность │ность │ность │ния │испы-
об- │зцов │роли-│Проек-│Отпус-│Сред- │бетон-│образ- │ │ │ │образ-│шкала │испыта-│(кгс) │приве-│(для │в се- │серии │ │тав-
раз- │ │руе- │тный │кная │няя │ной │цы, или│ │ │ │ца │ │тельной│ │денная│лег- │рии в │образ-│ │шего
ца и │ │мых │класс │и пе- │плот- │смеси │наиме- │ │ │ │в мо- │ │машины │ │к ба- │кого │сухом │цов, │ │образ-
номер │ │конс-│(мар- │реда- │ность,│ОК,см │нование│ │ │ │мент │ │ │ │зовому│и │состо-│МПа │ │цы
смены │ │трук-│ки) │точная│кг/м3 │----- │органи-│ │ │ │испы- │ │ │ │разме-│ячеис-│янии │ │ │
│ │ций и│ │проч- │(для │ Ж,с │зации, │ │ │ │тания,│ │ │ │ру │того │(для │ │ │
│ │(или)│ │ность,│легких│ │прис- │ │ │ │г/см3 │ │ │ │образ-│бето- │легко-│ │ │
│ │номер│ │МПа │и │ │лавшей │ │ │ │ │ │ │ │ца, │нов) в│го и │ │ │
│ │сос- │ │(для │ячеис-│ │образцы│ │ │ │ │ │ │ │МПа (с│серии,│ячеис-│ │ │
│ │тава │ │сбор- │тых │ │на │ │ │ │ │ │ │ │учетом│% по │того │ │ │
│ │и │ │ных │бето- │ │испы- │ │ │ │ │ │ │ │влаж- │массе │бето- │ │ │
│ │(или)│ │конс- │нов) │ │тание │ │ │ │ │ │ │ │ност- │ │нов), │ │ │
│ │номер│ │трук- │ │ │ │ │ │ │ │ │ │ │ного │ │кг/м3 │ │ │
│ │тех- │ │ций) │ │ │ │ │ │ │ │ │ │ │коэф- │ │ │ │ │
│ │ноло-│ │ │ │ │ │ │ │ │ │ │ │ │фи- │ │ │ │ │
│ │ги- │ │ │ │ │ │ │ │ │ │ │ │ │циента│ │ │ │ │
│ │чес- │ │ │ │ │ │ │ │ │ │ │ │ │для │ │ │ │ │
│ │кого │ │ │ │ │ │ │ │ │ │ │ │ │ячеис-│ │ │ │ │
│ │комп-│ │ │ │ │ │ │ │ │ │ │ │ │того │ │ │ │ │
│ │лекса│ │ │ │ │ │ │ │ │ │ │ │ │бето- │ │ │ │ │
│ │ │ │ │ │ │ │ │ │ │ │ │ │ │на) │ │ │ │ │
──────┼──────┼─────┼──────┼──────┼──────┼──────┼───────┼──────┼──────┼───────────────────┼──────┼───────┼───────┼────────┼──────┼──────┼──────┼──────┼────┼──────
1 │ 2 │ 3 │ 4 │ 5 │ 6 │ 7 │ 8 │ 9 │ 10 │ 11 │ 12 │ 13 │ 14 │ 15 │ 16 │ 17 │ 18 │ 19 │ 20 │ 21
──────┴──────┴─────┴──────┴──────┴──────┴──────┴───────┴──────┴──────┴───────────────────┴──────┴───────┴───────┴────────┴──────┴──────┴──────┴──────┴────┴──────
Пример заполнения журнала для тяжелого бетона
15.05.│ Ф-53 │ Ф-14│М200 │ 14,0 │ - │ 4 │Иванова│16.05.│ 2360 │9,8 x 10,1 x 10,0 │ 2384 │200 кН │ 357,5 │ 143 │ 13,6 │ - │ - │ 14,0 │ │
89 г. │ │ │ │ │ │ │М.И. │89 г. │ │ │ │ │ │ (14300)│ │ │ │ │ │
I см. │ │ │ │ │ │ │ │ │ 2390 │10,0 x 10,0 x 10,0 │ 2390 │200 кН │ 382,5 │ 153 │ 14,5 │ │ │ │ │
│ │ │ │ │ │ │ │ │ │ │ │ │ │ (15300)│ │ │ │ │ │
15.05.│ Ф-53 │ Ф-14│М200 │ - │ - │ 4 │ │13.06.│ 2380 │10,1 x 10 x 9,9 │ 2380 │500 кН │ 227 │ 227 │ 21,6 │ - │ - │ 21,7 │ │
89 г. │ │ │ │ │ │ │ │89 г. │ │ │ │ │ │ (22700)│ │ │ │ │ │
I см. │ │ │ │ │ │ │ │ │ 2350 │10 x 10 x 9,8 │ 2397 │500 кН │ 231 │ 231 │ 21,9 │ │ │ │ │
│ │ │ │ │ │ │ │ │ │ │ │ │ │ (23100)│ │ │ │ │ │
Пример заполнения журнала для легкого бетона
15.05.│ С-54 │ НС │ М50 │ 4,0 │ 900 │ - │ │16.05.│ 3240 │15,1 x 15 x 14,9 │ 960 │200 кН │ 266 │ 106,5 │ 4,7 │ 13 │ 854 │ 4,6 │ │
89 г. │ │ │ │ │ │ -- │ │89 г. │ │ │ │ │ │ (10650)│ │ │ │ │ │
II см.│ │ │ │ │ │ 10 │ │ │ │ │ │ │ │ │ │ │ │ │ │
│ │ │ │ │ │ │ │ │ 3300 │15 x 15,1 x 15 │ 970 │200 кН │ 255 │ 102 │ 4,5 │ - │ │ │ │
│ │ │ │ │ │ │ │ │ │ │ │ │ │ (10200)│ │ │ │ │ │
15.05.│ С-54 │ НС │ М50 │ - │ - │ - │ │13.06.│ 3180 │15 x 14,9 x 14,9 │ 995 │200 кН │ 340 │ 136 │ 6,1 │ 12 │ 855 │ 6,2 │ │
89 г. │ │ │ │ │ │ -- │ │89 г. │ │ │ │ │ │ (13600)│ │ │ │ │ │
II см.│ │ │ │ │ │ 10 │ │ │ │ │ │ │ │ │ │ │ │ │ │
│ │ │ │ │ │ │ │ │ 3200 │15,1 x 15,1 x 15 │ 960 │200 кН │ 359 │ 143,6 │ 6,3 │ - │ │ │ │
│ │ │ │ │ │ │ │ │ │ │ │ │ │ (14360)│ │ │ │ │ │
Рекомендуемое
ОПРЕДЕЛЕНИЕ ОТКЛОНЕНИЙ ОТ ПЛОСКОСТНОСТИ
И ПЕРПЕНДИКУЛЯРНОСТИ РАБОЧИХ ГРАНЕЙ ОБРАЗЦОВ
1. Отклонения опорных граней образцов от плоскости, принимаемой за прилегающую, измеряют прибором с погрешностью не более 0,01 мм на 100 мм длины, который при любом исполнении должен иметь три фиксированные опоры по углам и не менее двух индикаторов часового типа по
ГОСТ 577 или других измерителей перемещений той же точности - один по четвертому углу и один в середине (черт. 6).
СХЕМА ПРИБОРА ДЛЯ ИЗМЕРЕНИЯ ОТКЛОНЕНИЙ
ОТ ПЛОСКОСТНОСТИ
1 - корпус (рамка); 2 - опора; 3 - индикатор;

- база прибора
Черт. 6
2. Перед измерением образца прибор устанавливают на поверочную плиту по
ГОСТ 10905 в трех точках и приводят показания стрелок всех индикаторов в нулевое положение.
При отсутствии поверочной плиты допускается устанавливать прибор на зеркало с размерами, превышающими расстояние между угловыми опорами, не менее чем на 20 мм.
Примечание. При использовании зеркала вместо поверочной плиты предварительно проверяют качество его поверхности. С этой целью прибор после установки стрелок индикаторов на нуль смещают на 10 - 15 мм в разные стороны по поверхности зеркала. Если при этом стрелки индикаторов отклоняются от нулевого положения не более, чем на 0,5 деления, то зеркало пригодно для использования.
3. Прибор приставляют к измеряемой грани образца и фиксируют, опирая в трех точках. Вслед за тем снимают отсчеты по двум индикаторам.
4. Отклонение от плоскостности относительно угловых точек А, мм, рассчитывают по формуле

, (9)
где

- постоянная прибора, рассчитывается по формуле

, (10)
здесь 100 - длина, к которой относится допуск, мм;

- база прибора, принимаемая на 20 - 25 мм меньше длины ребра или диаметра образца, мм (см.
черт. 6);

- показание углового индикатора, мм.
5. Вогнутость (выпуклость) В, мм, рассчитывают по формуле

, (11)
где

- показание индикатора, установленного в середине, мм.
Отрицательное значение В показывает, что грань образца вогнута, а положительное значение - выпукла.
6. Отклонение от плоскостности опорных граней образца соответствует
п. 2.1.4, если значения параметров А и В не превышают 0,1 мм независимо от размеров образца.
7. Отклонения от плоскостности проверяют по двум противоположным опорным граням, которыми образец при испытании будет контактировать с плитами пресса.
8. Отклонения от перпендикулярности опорных граней образцов проверяют прибором с погрешностью не более 0,01 мм на 100 мм длины (черт. 7), который при любом исполнении должен иметь три фиксированные опоры: две на одной стороне, одну на второй стороне, на которой закреплен индикатор часового типа по
ГОСТ 577.
СХЕМА ПРИБОРА ДЛЯ ИЗМЕРЕНИЯ ОТКЛОНЕНИЯ
ОТ ПЕРПЕНДИКУЛЯРНОСТИ
1 - корпус (угольник); 2 - опора; 3 - индикатор;

- база прибора
Черт. 7
9. Перед измерением прибор прижимают к поверочному угольнику тремя фиксированными опорами. При таком положении прибора стрелку индикатора приводят в нулевое положение.
10. Прибор приставляют к измеряемой грани образца и фиксируют, прижимая к смежной грани двумя опорами и к измеряемой грани третьей опорой. Вслед за тем снимают отсчет по индикатору.
Отклонения от перпендикулярности в образце с ребром длиной не более 100 мм определяют в сечении посередине, а в образцах с ребром большей длины - в двух сечениях на расстоянии 20 - 50 мм от краев.
11. Отклонение от перпендикулярности С, мм, рассчитывается по формуле

, (12)
где

- постоянная прибора;

; (13)
100 - длина, к которой относится допуск, мм;

- база прибора, принимаемая на 50 мм меньше длины ребра или диаметра образца, мм (см.
черт. 7);

- показание индикатора, мм.
12. Отклонение от перпендикулярности граней образца соответствует
п. 2.1.6, если значения параметра С не превышают 1 мм независимо от размеров образца.
13. Отклонения от перпендикулярности определяют по опорным граням относительно смежных граней; отклонения грани, открытой при бетонировании образца, не оценивают.
Рекомендуемое
ПРИСПОСОБЛЕНИЕ ДЛЯ ЦЕНТРИРОВАНИЯ КОНТРОЛЬНЫХ ОБРАЗЦОВ
ПРИ ИСПЫТАНИИ НА СЖАТИЕ
1 - плита пресса; 2 - бетонный образец; 3 - угольник;
4 - основание приспособления; 5 - шток;
6 - гнезда для установки ограничителя; 7 - ограничитель;
8 - направляющие; 9 - крепежные болты
Черт. 8
Справочное
СХЕМА ХАРАКТЕРА РАЗРУШЕНИЙ ОБРАЗЦОВ
ПРИ ИСПЫТАНИЯХ НА СЖАТИЕ
1 - нормальное разрушение; 2 - 5 - дефектные разрушения
Черт. 9
Рекомендуемое
УСТРОЙСТВО ДЛЯ ИСПЫТАНИЯ НА РАСТЯЖЕНИЕ ПРИ ИЗГИБЕ
Рекомендуемые конструктивные решения и размеры устройств и приспособлений для реализации схемы испытания на растяжение при изгибе приведены на черт. 10.
Схема устройств испытания на растяжение при изгибе
1 - образец; 2 - шар; 3 - опорная подушка;
4 - качающаяся призма; 5 - опорная сегментная подушка;
6 - опорная плоская подушка; 7 - распределительная траверса;
8 - шарнирно-неподвижная опора; 9 - шарнирно-подвижная опора;
10 - шаровой шарнир
Черт. 10
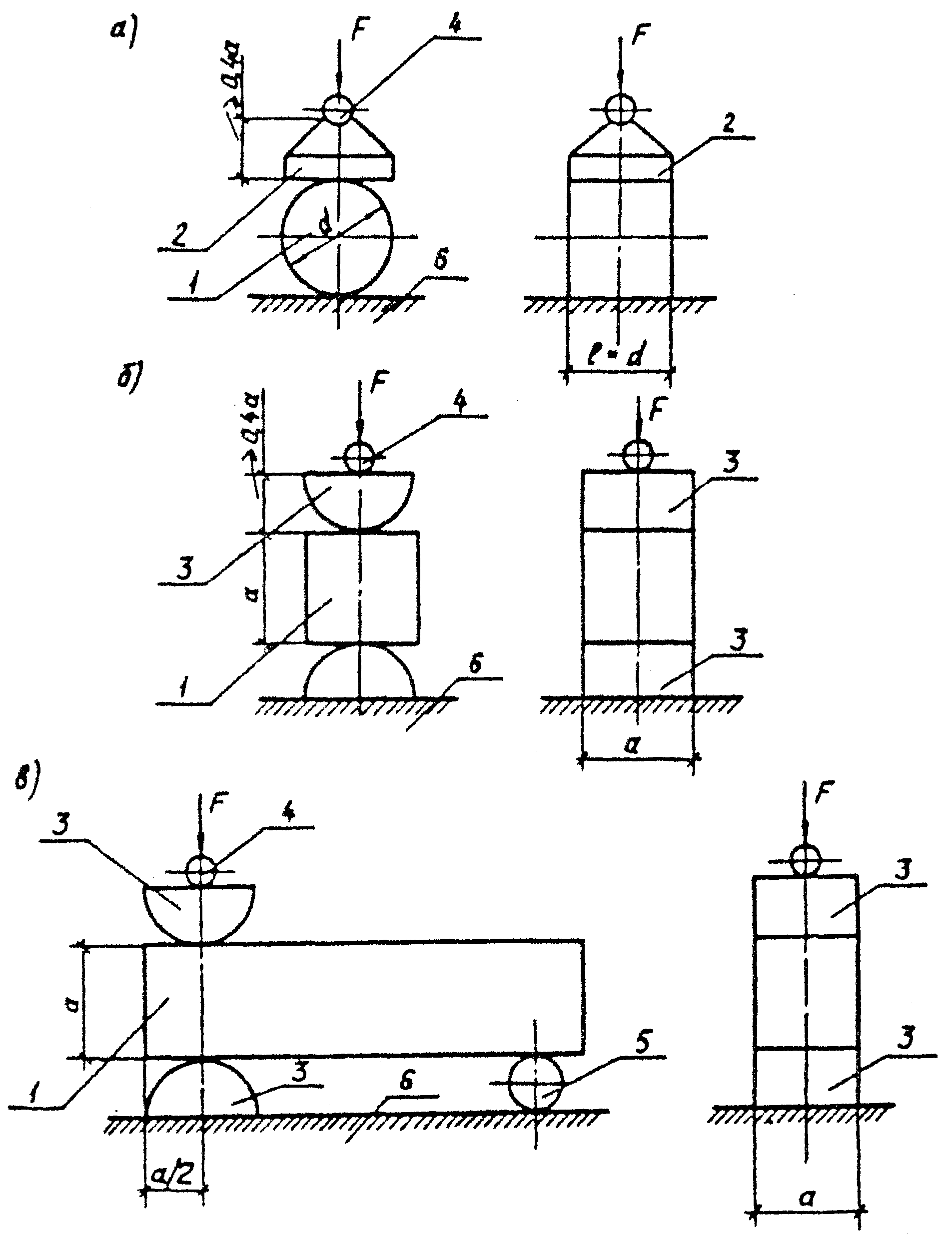
Одна из опор, на которую образец 1 устанавливают в испытательную машину (установку), является шарнирно-неподвижной, т.е. обеспечивает только поворот образца, а вторая - шарнирно-подвижной, т.е. обеспечивает как поворот образца, так и его смещение в плоскости изгиба.
Шарнирно-неподвижная опора (узел Б) выполнена в виде шара 2, устанавливаемого центрально относительно поперечной оси образца между опорными подушками 3 со сферическими поверхностями. Такая конструкция обеспечивает поворот образца как в плоскости изгиба, так и в перпендикулярной ей плоскости без перемещения образца и исключает косой изгиб, который может быть вызван неплоскостностью опорных поверхностей образца.
Шарнирно-подвижная опора (узел А) выполнена в виде качающейся призмы 4, опирающейся на верхнюю сегментную 5 и нижнюю плоскую 6 опорные подушки, и устанавливается также центрально относительно поперечной оси образца. Такая конструкция обеспечивает как поворот, так и смещение образца в плоскости изгиба и практически исключает возникновение усилия распора вследствие прогиба образца.
Нагрузка от испытательной машины (установки) передается на образец через распределительную траверсу 7, выполненную в виде однопролетной балки. Длина траверсы должна быть не менее половины длины образца, а ее прогиб под нагрузкой - не более 1/500 ее пролета. Траверса устанавливается на образец центрально относительно его осей и опирается на образец в двух сечениях в третях пролета. Шарнирно-неподвижная опора 8 траверсы выполнена так же, как и соответствующая опора образца. Шарнирно подвижная опора 9 траверсы выполнена в виде цилиндрического катка, устанавливаемого между опорными пластинами, размеры которых должны соответствовать размерам опорных подушек.
Длина опорных пластин и подушек должна быть не менее размера поперечного сечения образца.
Нагрузка от испытательной машины (установки) на траверсу должна передаваться центрально через шаровой шарнир 10, в качестве которого может быть использован верхний шарнир испытательной машины.
Рекомендуемое
УСТРОЙСТВА ДЛЯ ИСПЫТАНИЯ НА РАСТЯЖЕНИЕ ПРИ РАСКАЛЫВАНИИ
1. Рекомендуемые конструктивные решения устройств и приспособлений для реализации схем испытания на растяжение при раскалывании образцов-цилиндров, кубов и призм приведены на черт. 11 -
13.
Схема устройств испытаний
на растяжение при раскалывании
1 - образец; 2 - нагрузочное устройство (плита) при испытании
цилиндра; 3 - нагрузочное устройство (колющий стержень)
при испытании куба, призмы; 4 - шаровой шарнир;
5 - дополнительная шаровая опора;
6 - нижняя опорная плита пресса (испытательной машины)
Черт. 11
СХЕМА КОНДУКТОРА
1 - направляющие; 2 - нижнее нагрузочное устройство;
3 - образец; 4 - верхнее нагрузочное устройство
Черт. 12
СХЕМА КОНДУКТОРА
1 - направляющие; 2 - нижнее нагрузочное устройство;
3 - образец; 4 - верхнее нагрузочное устройство
Черт. 13
Усилие F от испытательной машины (установки) прикладывают к образцу 1
(черт. 11) через шаровой шарнир и нагрузочные устройства 2 или 3, которые при испытании цилиндров выполняют в виде плиты
(черт 11, а), а при испытании кубов или призм в виде колющих стальных прокладок, (цилиндров, полуцилиндров или сегментов) по
табл. 7 (черт. 11, б и в). В качестве шарового шарнира допускается использовать верхний шарнир испытательной машины. В этом случае при испытании цилиндра, если толщина верхней опорной плиты испытательной машины удовлетворяет предъявляемым требованиям, дополнительного нагружающего устройства не требуется.
При испытании призм для обеспечения заданного напряженного состояния следует применять поддерживающую шаровую опору 5 (см.
черт. 11).
Для обеспечения требуемой схемы приложения нагрузки рекомендуется применять кондуктор (см.
черт. 12 и
13). Направляющие кондуктора 1 жестко соединены с нижним нагрузочным устройством 2, выполненным в виде плоской плиты
(черт. 12, а) или плиты с колющим стержнем
(черт. 12, б). Верхнее нагрузочное устройство 4 устанавливают в направляющие кондуктора
(черт. 12) или надевают на них
(черт. 13). Размеры элементов кондуктора назначают исходя из требований
табл. 7.
Рекомендуемое
УСТРОЙСТВА ДЛЯ ИСПЫТАНИЯ НА ОСЕВОЕ РАСТЯЖЕНИЕ
1. Выбор схемы захвата определяют типом образца (призмой или цилиндром), конструкцией сочленения захвата с испытательной машиной (жесткая, гибкая, шарнирная), способом крепления захвата к образцу (за галтели, с помощью клея, анкеров, закладываемых в образец при его изготовлении, или за счет трения о его поверхность), черт. 14 -
17.
Схема захватов для образца с галтелями
1 - образец; 2 - захват; 3 - концевой элемент
шарнира Гука; 4 - гибкая тяга; 5 - ось; 6 - жесткая тяга
Черт. 14
СХЕМА ПРИКЛЕИВАЕМЫХ И АНКЕРНЫХ ЗАХВАТОВ
1 - образец; 2 - захват; 3 - концевой
элемент шарнира Гука; 4 - клей; 5 - анкер
Черт. 15
СХЕМЫ ЗАЖИМНЫХ ЗАХВАТОВ
1 - образец; 2 - захват; 3 - концевой элемент шарнира Гука;
4 - ось; 5 - цанга; 6 - стягивающие винты
Черт. 16
СХЕМА САМОЗАЖИМНОГО ЗАЖИМА
1 - образец; 2 - прижимная пластина; 3 - концевой элемент
шарнира Гука; 4 - ось; 5 - тяга; 6 - подвижная опора захвата
(каток); 7 - неподвижная опора захвата
Черт. 17
2. На
черт. 14 приведены схемы захватов для крепления образцов квадратного сечения с галтелями
(черт. 14, а, б, в). Образцы, как правило, захватывают за две противоположные грани.
На
черт. 14, а приведена схема жесткого захвата, в качестве которого допускается использовать опорные части испытательных машин, в случае, если их устройство обеспечивает соосность передачи между ними растягивающего усилия.
На
черт. 14, б, в приведены схемы гибкой конструкции сочленения элементов захвата соответственно для образцов квадратного и цилиндрического сечений, в которых самоцентрирование образца в процессе установки и испытания облегчается за счет гибкой тяги 4. В приведенной на
черт. 14, в шарнирной конструкции захвата жесткая тяга 6 выполняет ту же функцию, что и гибкая. В случае применения захвата, схема которого приведена на
черт. 14, в, в галтельную часть образца при его изготовлении закладывают трубу для пропуска захвата.
3. На
черт. 15 - 18 приведены схемы захватов, которые используют для крепления образцов без галтелей.
СХЕМА ШАРНИРА ГУКА
1 - центральный элемент; 2, 3 - концевые элементы; 4 - ось
Черт. 18
3.1. Приклеиваемые и анкерные захваты
(черт. 15) требуют специальной подготовки образца при его изготовлении или перед испытанием (закладки анкеров или приклеивания захвата клеем). Анкеры следует выполнять с заостренными концами и разной длины, при этом разница в длине анкеров должна быть не менее среднего диаметра крупного заполнителя

. При разрушении образца необходимо обращать внимание, как проходит плоскость разрушения. Если она проходит более чем через 50% концов анкеров, то образец следует браковать по результатам измерения прочностных характеристик. Приклеивать захваты
(черт. 15, а) рекомендуется эпоксидной смолой с наполнителями: цементом или тонкомолотым песком для снижения усадочных напряжений и деформаций. Приклеиваемые и анкерные захваты могут быть использованы как для образцов-призм, так и для образцов-цилиндров.
3.2. Зажимные (см.
черт. 16) и самозажимные (см.
черт. 17) захваты не требуют специальной подготовки образца и устанавливаются на нем непосредственно перед испытанием. Образец удерживается в захвате за счет трения деталей захвата (прижимных пластин или цанг) о его поверхность. С целью увеличения силы трения на поверхности деталей, прилегающих к образцу (2 на черт.
16, а и 17 и 5 на
черт. 16, б и
16, в) рекомендуется делать насечку, а в зажимных захватах эти детали дополнительно прижимать к образцу винтами (6 на
черт. 16). Усилие затяжки винтов предварительно подбирают в зависимости от размеров образца, вида и прочности бетона. Число винтов рекомендуется принимать равным числу цанг.
Число цанг 5 в зажимном захвате для образца цилиндра (черт.
16, б) должно быть не менее четырех, что позволяет нивелировать возможные отклонения формы и размеров поперечного сечения образца от номинальных. Рекомендуется в этом типе захватов делать винтовое дно, которое служит для предварительного закрепления образца и удобства освобождения остатков образца после испытания.
В самозажимном захвате для образцов-призм (см.
черт. 17) каток 6 должен свободно перемещаться по пластине 2 захвата, а неподвижная опора 7 должна быть жестко закреплена на ней. При установке захвата на образце для предотвращения его разрушения в захвате подвижный каток 6 должен располагаться на расстоянии не менее, чем 0,1 а от торца образца.
4. Для обеспечения соосности передачи усилия между захватами их следует соединять с опорными устройствами испытательной машины через шарнир Гука, схема которого приведена на
черт. 18. Концевой элемент 2 шарнира входит в состав захвата, а концевой элемент 3 устанавливают в опорном устройстве испытательной машины.
Применение шаровых шарниров вместо шарниров Гука допускается только при гибкой конструкции сочленения захвата с испытательной машиной.
Обязательное
МЕТОДИКА ЭКСПЕРИМЕНТАЛЬНОГО ОПРЕДЕЛЕНИЯ МАСШТАБНЫХ
КОЭФФИЦИЕНТОВ И КОЭФФИЦИЕНТОВ ПЕРЕХОДА ОТ ПРОЧНОСТИ
ПРИ ОДНОМ ВИДЕ НАПРЯЖЕННОГО СОСТОЯНИЯ К ПРОЧНОСТИ
ПРИ ДРУГОМ ВИДЕ НАПРЯЖЕННОГО СОСТОЯНИЯ
1. Экспериментальные масштабные коэффициенты устанавливают отдельно для каждой марки и вида бетона и для каждой испытательной машины и комплекта форм, используемых для изготовления образцов небазового размера и формы.
2. Для установления значений масштабных коэффициентов испытывают по 8 парных серий образцов базового и небазового размера, если число образцов в каждой серии равно двум, и по 6 серий образцов, если число образцов в каждой серии равно трем или более.
Образцы небазового размера изготавливают в различных формах из находящегося в обращении комплекта, при этом все формы должны быть поверены.
3. Образцы каждой парной серии базового и небазового размеров изготовляют из одной пробы бетонной смеси и выдерживают в одинаковых условиях. После окончания твердения все образцы испытывают в одном возрасте.
Средняя плотность бетона в каждой парной серии образцов базового и небазового размеров в момент испытания не должна отличаться более чем на 2%.
4. Для каждой парной серии необходимо определить значение масштабного коэффициента

по формуле:

, (14)
где

и

- средние значения прочности бетона в сериях базового и небазового размеров, вычисленные по результатам испытаний всех образцов серии.
По всем сериям вычисляют средний масштабный коэффициент

, среднее квадратическое отклонение

и коэффициент вариации V по формулам

, (15)

, (16)

, (17)
где n - число пар серий образцов, равное 8 или 6.
Экспериментально установленный масштабный коэффициент

может быть использован, если величина коэффициента вариации V не превышает 15%.
5. Получение значения экспериментальных коэффициентов сравнивают со значениями, приведенными в
табл. 5, и оценивают для случаев, предусмотренных
табл. 5, существенность их отличия от табличных по значению

, вычисляемому по формуле

, (18)
где

- значения коэффициентов

,

,

,

по
табл. 5 настоящего стандарта для образцов, имеющих форму и размеры, соответствующие испытываемым.
При

>= 1,4 отличие признают существенным и принимают экспериментальное значение масштабного коэффициента.
При

< 1,4 отличие признают несущественным и принимают значение масштабного коэффициента по
табл. 5.
6. Значения экспериментальных масштабных коэффициентов устанавливает лаборатория предприятия или строительной организации и утверждает главный инженер этого предприятия или организации.
7. Проверку установленных экспериментальных значений масштабных коэффициентов следует проводить не реже одного раза в два года, а также при ремонте и замене прессов или испытательных машин и парка форм для изготовления образцов.
8. По настоящей методике при производственном контроле прочности по
ГОСТ 18105 следует определять также коэффициенты перехода от прочности образцов различной формы по
п. 2.1.1 к эталонным и коэффициенты перехода от прочности при одном виде испытаний к другому, например, от прочности на растяжение при изгибе к прочности на осевое растяжение

(19)
или от прочности на растяжение при раскалывании к прочности на осевое растяжение

. (20)
Для тяжелого бетона значения переходных коэффициентов

и

от прочности на растяжение при изгибе и растяжение при раскалывании к прочности на осевое растяжение допускается принимать:

= 0,55 и

= 0,83.