Главная // Актуальные документы // Актуальные документы (обновление 01.01.2026 по 01.02.2026) // ЗаключениеСПРАВКА
Источник публикации
М., 2025
Примечание к документу
Документ
введен в действие с 01.10.2025.
Название документа
"ИТС 53-2025. Информационно-технический справочник по наилучшим доступным технологиям. Ликвидация объектов накопленного вреда окружающей среде"
(утв. Приказом Росстандарта от 29.09.2025 N 2095)
"ИТС 53-2025. Информационно-технический справочник по наилучшим доступным технологиям. Ликвидация объектов накопленного вреда окружающей среде"
(утв. Приказом Росстандарта от 29.09.2025 N 2095)
Содержание
Приложение Г. Рекомендации для совместного применения справочников НДТ ИТС 1-2023, ИТС 8-2022, ИТС 9-2020, ИТС 14-2020, ИТС 16-2023, ИТС 17-2024, ИТС 23-2017, ИТС 25-2023, ИТС 26-2022, ИТС 27-2023, ИТС 37-2023, ИТС 38-2024, ИТС 41-2023, ИТС 42-2023, ИТС 43-2023, ИТС 47-2023, ИТС 49-2024, ИТС 52-2022 и справочника НДТ ИТС 53-2025 "Ликвидация объектов накопленного вреда окружающей среде"
от 29 сентября 2025 г. N 2095
ИНФОРМАЦИОННО-ТЕХНИЧЕСКИЙ СПРАВОЧНИК
ПО НАИЛУЧШИМ ДОСТУПНЫМ ТЕХНОЛОГИЯМ
ЛИКВИДАЦИЯ ОБЪЕКТОВ НАКОПЛЕННОГО ВРЕДА ОКРУЖАЮЩЕЙ СРЕДЕ
The elimination of objects of accumulated
environmental impact
ИТС 53-2025
Дата введения
1 октября 2025 года
В соответствии с Федеральным
законом от 10 января 2002 года N 7-ФЗ "Об охране окружающей среды"
[1] применение наилучших доступных технологий (далее - НДТ) направлено на комплексное предотвращение и (или) минимизацию негативного воздействия на окружающую среду.
Цель создания информационно-технического справочника по наилучшим доступным технологиям "Ликвидация объектов накопленного вреда окружающей среде" (далее - справочник НДТ) заключается в систематизации сведений о технологических процессах, методах, способах, оборудовании и средствах, применяемых при ликвидации объектов накопленного вреда окружающей среде в Российской Федерации, и в подготовке упорядоченных данных о наилучших доступных технологиях, технологических и организационных решениях ликвидации объектов накопленного вреда окружающей среде, применяемых в Российской Федерации и направленных на комплексное предотвращение и (или) минимизацию негативного воздействия на окружающую среду.
Настоящий справочник НДТ содержит систематизированные данные в области ликвидации объектов накопленного вреда окружающей среде и разработан с учетом имеющихся в Российской Федерации технологий, оборудования, ресурсов, а также с учетом климатических, геоморфологических, геологических, экономических и социальных особенностей Российской Федерации.
Справочник НДТ разработан в соответствии с
ГОСТ Р 113.00.03-2019 "Наилучшие доступные технологии. Структура информационно-технического справочника"
[2].
Краткое содержание справочника НДТ
Введение. Во введении приведены краткое содержание справочника НДТ и цель его разработки.
Предисловие. В предисловии указаны статус справочника НДТ, информация о разработчиках, краткая характеристика справочника НДТ, взаимосвязь с международными и региональными аналогами, краткие сведения о сборе данных.
В разделе 1 справочника НДТ представлены общая информация об объектах накопленного вреда окружающей среде, их классификация, сведения о воздействии объектов накопленного вреда окружающей среде на компоненты природной среды.
В разделе 2 справочника НДТ последовательно описаны технологические и организационные решения, применяемые при обследовании и ликвидации объектов накопленного вреда окружающей среде.
В разделе 3 справочника НДТ по фактическим данным, полученным в результате анкетирования и анализа проектно-изыскательской документации, представлены сведения о текущих уровнях потребления ресурсов и эмиссий в окружающую среду при выполнении работ по ликвидации объектов накопленного вреда окружающей среде.
В разделе 4 справочника НДТ описана методика определения технологии ликвидации объектов накопленного вреда окружающей среде в качестве наилучшей доступной, разработанная в соответствии с
приказом Минпромторга России от 23 августа 2019 года N 3134 "Об утверждении методических рекомендаций по определению технологий в качестве наилучшей доступной"
[3] и учитывающая специфику объектов накопленного вреда окружающей среде.
В разделе 5 справочника НДТ представлено описание наилучших доступных технологий ликвидации объектов накопленного вреда окружающей среде; дается комплексная оценка преимуществ, которые могут быть достигнуты при внедрении НДТ; указываются сведения об ограничении применимости НДТ.
В разделе 6 справочника НДТ описаны технологии, находящиеся на стадии научно-исследовательских, опытно-конструкторских работ или на стадии опытно-промышленного внедрения, а также технологии, которые не соответствуют в полном объеме критериям отнесения технологий к НДТ, изложенным в
п. 4 ст. 28.1 Федерального закона от 10 января 2002 года N 7-ФЗ "Об охране окружающей среды"
[1], но имеют перспективы внедрения в отношении сокращения эмиссий в окружающую среду, снижения количества потребляемых ресурсов, повышения энергоэффективности или уменьшения капитальных или эксплуатационных затрат.
При подготовке справочника НДТ "Ликвидация объектов накопленного вреда окружающей среде" использованы следующие нормативные правовые акты и документы:
- Федеральный
закон от 10 января 2002 года N 7-ФЗ (ред. от 08.08.2024) "Об охране окружающей среды" (с изм. и доп., вступ. в силу с 01.03.2025)
[1];
-
Постановление Правительства Российской Федерации от 23 декабря 2014 года N 1458 (ред. от 17.11.2022) "О порядке определения технологии в качестве наилучшей доступной технологии, а также разработки, актуализации и опубликования информационно-технических справочников по наилучшим доступным технологиям"
[4];
-
Постановление Правительства Российской Федерации от 27 декабря 2023 года N 2323 (ред. от 28.10.2024) "Об утверждении Правил организации ликвидации накопленного вреда окружающей среде"
[5];
-
Постановление Правительства Российской Федерации от 23 декабря 2023 года N 2268 (ред. от 14.03.2024) "О ведении государственного реестра объектов накопленного вреда окружающей среде" (вместе с "Правилами ведения государственного реестра объектов накопленного вреда окружающей среде")
[6];
-
Постановление Правительства Российской Федерации от 19 января 2006 года N 20 (ред. от 15.09.2020) "Об инженерных изысканиях для подготовки проектной документации, строительства, реконструкции объектов капитального строительства" (вместе с "Положением о выполнении инженерных изысканий для подготовки проектной документации, строительства, реконструкции объектов капитального строительства")
[7];
-
Постановление Правительства Российской Федерации от 27 декабря 2023 года N 2335 "Об утверждении критериев, на основании которых территории, расположенные на них объекты капитального строительства могут быть отнесены к объектам накопленного вреда окружающей среде"
[8];
-
распоряжение Правительства Российской Федерации от 24 декабря 2014 года N 2674-р (ред. от 01.11.2021) "Об утверждении Перечня областей применения наилучших доступных технологий"
[9];
-
приказ Минпромторга России от 23 августа 2019 года N 3134 "Об утверждении методических рекомендаций по определению технологии в качестве наилучшей доступной технологии"
[3];
-
приказ Минпромторга России от 18 декабря 2019 года N 4841 (ред. от 21.03.2023) "Об утверждении порядка сбора и обработки данных, необходимых для разработки и актуализации информационно-технических справочников по наилучшим доступным технологиям"
[10];
-
ГОСТ Р 113.00.03-2019 "Наилучшие доступные технологии. Структура информационно-технического справочника" (утвержден приказом Росстандарта от 12 ноября 2019 года N 1102-ст)
[11];
-
ГОСТ Р 54003-2010 "Экологический менеджмент. Оценка прошлого накопленного в местах дислокации организаций экологического ущерба. Общие положения" (утвержден приказом Росстандарта от 30 ноября 2010 года N 594-ст)
[12];
- Свод правил "Инженерные изыскания для строительства. Основные положения"
СП 47.13330.2016 (утвержден приказом Министерства строительства и жилищно-коммунального хозяйства Российской Федерации от 30 декабря 2016 года N 1033/пр)
[13];
- Свод правил "Полигоны для твердых коммунальных отходов. Проектирование, эксплуатация и рекультивация"
СП 320.1325800.2017 (утвержден приказом Министерства строительства и жилищно-коммунального хозяйства Российской Федерации от 17 ноября 2017 года N 1555/пр)
[14].
В дополнение к перечисленным выше нормативным правовым актам и документам при разработке справочника НДТ использованы:
- сведения справочных изданий;
- сведения из открытых источников, в том числе печатных и электронных книг и публикаций в периодических изданиях;
- результаты научно-исследовательских и проектно-изыскательских работ;
- результаты анкетирования.
Цели, основные принципы и порядок разработки справочника НДТ установлены
Постановлением Правительства Российской Федерации от 23 декабря 2014 года N 1458 "О порядке определения технологии в качестве наилучшей доступной технологии, а также разработки, актуализации и опубликования информационно-технических справочников по наилучшим доступным технологиям"
[4].
Перечень областей применения наилучших доступных технологий определен распоряжением Правительства Российской Федерации от 24 декабря 2014 года N 2674-р (редакция от 1 ноября 2021 года)
[9].
1 Статус документа
Настоящий информационно-технический справочник по наилучшим доступным технологиям является документом по стандартизации.
2 Информация о разработчиках
Справочник НДТ разработан технической рабочей группой (ТРГ 53), состав которой утвержден приказом Минпромторга России от 15 апреля 2025 года N 1816.
Справочник НДТ представлен на утверждение Бюро наилучших доступных технологий (далее - Бюро НДТ) (www.burondt.ru).
3 Краткая характеристика
Справочник НДТ не применим к:
- технологиям по размещению, обезвреживанию и утилизации отходов, изъятых при проведении работ по ликвидации объектов накопленного вреда окружающей среде, осуществляемых вне территории (акватории) расположения объектов накопленного вреда окружающей среде;
- технологиям ликвидации объектов накопленного вреда окружающей среде, содержащих медицинские, биологические, радиоактивные отходы.
Настоящий справочник НДТ содержит описание технологических и организационных решений, методов, способов, оборудования и средств, применяемых в Российской Федерации при ликвидации объектов накопленного вреда окружающей среде.
Из описанных технологий, методов, способов, оборудования и средств выбраны решения, соответствующие наилучшим доступным технологиям. Эти решения соответствуют современным достижениям науки и техники и отвечают наилучшему сочетанию критериев достижения целей охраны окружающей среды, определенных
п. 4 ст. 28.1 Федерального закона от 10 января 2002 года N 7-ФЗ "Об охране окружающей среды"
[1].
Справочник НДТ применяется для достижения целей комплексного предотвращения и (или) минимизации негативного воздействия на окружающую среду при ликвидации объектов накопленного вреда окружающей среде.
4 Взаимосвязь с международными, региональными аналогами
При разработке справочника НДТ "Ликвидация объектов накопленного вреда окружающей среде" аналогов в европейском законодательстве не выявлено.
При разработке справочника НДТ "Ликвидация объектов накопленного вреда окружающей среде" учитывался опыт европейских стран и США в проведении работ по очистке и восстановлению нарушенных территорий, представленный на следующих информационных ресурсах:
- Технологии очистки загрязненных территорий, представленные на сайте Агентства по охране окружающей среды США https://www.epa.gov/remedytech (Technologies for Cleaning Up Contaminated Sites).
- Заключительный отчет исследовательского проекта Департамента окружающей среды, продовольствия и сельского хозяйства Великобритании (Defra Research Project Final Report, 2010).
5 Сбор данных
Информация о технологических и организационных решениях, оборудовании, технических способах, методах и средствах, применяемых при ликвидации объектов накопленного вреда окружающей среде в Российской Федерации, собрана в соответствии с
Порядком сбора и обработки данных, необходимых для разработки и актуализации информационно-технических справочников по наилучшим доступным технологиям, утвержденным приказом Минпромторга России от 18 декабря 2019 года N 4841
[10].
6 Взаимосвязь с другими справочниками НДТ
Настоящий справочник НДТ является межотраслевым - в нем определены основные аспекты НДТ по ликвидации объектов накопленного вреда окружающей среде и сопутствующая информация, он связан с отраслевыми справочниками НДТ по видам деятельности, в результате которых образовались объекты накопленного вреда окружающей среде, со справочниками НДТ в области утилизации, обезвреживания и размещения отходов производства и потребления:
-
ИТС 8-2022 Очистка сточных вод при производстве продукции (товаров), выполнении работ и оказании услуг на крупных предприятиях;
-
ИТС 9-2020 Утилизация и обезвреживание отходов термическими способами;
-
ИТС 15-2021 Утилизация и обезвреживание отходов (кроме термических способов);
-
ИТС 16-2023 Горнодобывающая промышленность. Общие процессы и методы;
-
ИТС 17-2024 Размещение отходов производства и потребления;
-
ИТС 23-2017 Добыча и обогащение руд цветных металлов;
-
ИТС 26-2022 Производство чугуна, стали и ферросплавов;
-
ИТС 27-2023 Производство изделий дальнейшего передела черных металлов;
-
ИТС 38-2024 Сжигание топлива на крупных установках в целях производства энергии;
-
ИТС 42-2023 Интенсивное разведение сельскохозяйственной птицы;
-
ИТС 43-2023 Убой продуктивных животных и производство мясной продукции и (или) продукции из мяса птицы;
-
ИТС 47-2023 Системы обработки (обращения) со сточными водами и отходящими газами в химической промышленности;
-
ИТС 52-2022 Обращение с отходами I и II классов опасности.
7 Информация об утверждении, опубликовании и введении в действие
Настоящий справочник НДТ утвержден
приказом Росстандарта от 29 сентября 2025 года N 2095.
Настоящий справочник НДТ введен в действие с 1 октября 2025 года, официально опубликован в информационной системе общего пользования - на официальном сайте Федерального агентства по техническому регулированию и метрологии в сети Интернет (www.rst.gov.ru).
Настоящий справочник НДТ распространяется на деятельность по ликвидации накопленного вреда окружающей среде применительно к объектам накопленного вреда окружающей среде, включенным в государственный реестр объектов накопленного вреда окружающей среде, в том числе:
- территориям и акваториям, на которых выявлен накопленный вред окружающей среде;
- объектам капитального строительства, являющимся источником накопленного вреда окружающей среде.
В справочнике НДТ рассматриваются технические, технологические и организационные мероприятия при:
- организации и проведении необходимых обследований объекта накопленного вреда окружающей среде, в том числе инженерных изысканий;
- проведении работ по ликвидации накопленного вреда окружающей среде, включая рекультивацию нарушенных земель;
- подготовке изъятых при ликвидации накопленного вреда окружающей среде отходов к транспортировке в место их утилизации, и/или обезвреживания, и/или захоронения.
Деятельность по ликвидации объектов накопленного вреда окружающей среде согласно "ОК 029-2014 (КДЕС Ред. 2). Общероссийский классификатор видов экономической деятельности" (утвержден приказом Росстандарта от 31 января 2014 года N 14-ст, редакция от 25 декабря 2023 года) относится к
коду 39.0, за исключением реабилитации радиационно загрязненных участков территорий и объектов, мониторинга радиационной обстановки окружающей среды.
Настоящий справочник НДТ не распространяется на:
- технологии утилизации и обезвреживания отходов, изъятых при проведении работ по ликвидации накопленного вреда окружающей среде, осуществляемых вне территории расположения объекта накопленного вреда окружающей среде;
- ликвидацию накопленного вреда, связанного с радиоактивными, биологическими и медицинскими отходами.
Выбор технологических процессов, методов, способов, оборудования и средств для ликвидации накопленного вреда окружающей среде определяется видами негативного воздействия прошлой экономической или иной деятельности, в результате которой образовался накопленный вред окружающей среде.
Виды деятельности, непосредственно не связанные с ликвидацией накопленного вреда окружающей среде, описываются в той мере, в которой они способствуют снижению негативного воздействия объектов накопленного вреда на окружающую среду.
Раздел 1 Общие сведения об объектах накопленного вреда
окружающей среде
Накопленный вред окружающей среде - вред окружающей среде, возникший в результате прошлой экономической и иной деятельности, обязанности по устранению которого не были выполнены либо были выполнены не в полном объеме
[1].
Ликвидация накопленного вреда окружающей среде - мероприятия по устранению вреда окружающей среде, возникшего в результате прошлой экономической и иной деятельности, обязанности по устранению которого не были выполнены либо были выполнены не в полном объеме
[1].
Объекты накопленного вреда окружающей среде - территории, в том числе акватории, на которых выявлен накопленный вред окружающей среде, объекты капитального строительства, являющиеся источником накопленного вреда окружающей среде
[1].
Порядок организации работ по ликвидации накопленного вреда окружающей среде установлен
Постановлением Правительства Российской Федерации от 27 декабря 2023 года N 2323 "Об утверждении Правил организации ликвидации накопленного вреда окружающей среде"
[5]. Ликвидация накопленного вреда окружающей среде осуществляется в отношении объектов накопленного вреда, включенных в государственный реестр объектов накопленного вреда окружающей среде. Организация ликвидации накопленного вреда окружающей среде применительно к территории, расположенной в границах земельных участков, находящихся в собственности муниципального образования, осуществляется органами местного самоуправления такого муниципального образования или подведомственными ему муниципальными бюджетными учреждениями, муниципальными казенными учреждениями, применительно к иным территориям - органами государственной власти субъектов Российской Федерации или подведомственными им государственными бюджетными учреждениями, государственными казенными учреждениями в случаях, установленных Правительством Российской Федерации, Министерством природных ресурсов и экологии Российской Федерации.
Организация работ по ликвидации накопленного вреда
[5] включает в себя:
- проведение необходимых обследований объекта;
- разработку проекта ликвидации;
- утверждение проекта ликвидации с прохождением государственной экспертизы проектной документации и проверкой достоверности определения сметной стоимости проектов ликвидации;
- проведение ликвидации накопленного вреда.
Заказчик осуществляет контроль за выполнением контракта на проведение ликвидации накопленного вреда окружающей среде в порядке, определенном законодательством Российской Федерации о контрактной системе в сфере закупок товаров, работ, услуг для обеспечения государственных и муниципальных нужд.
Работы по ликвидации накопленного вреда окружающей среде осуществляются в объемах, необходимых для достижения нормативов качества окружающей среды, санитарно-гигиенических и строительных норм и правил.
В настоящем справочнике НДТ в
разделе 2 рассмотрены технологии, технические и организационные решения по ликвидации объектов накопленного вреда окружающей среде, включенных в государственный реестр объектов накопленного вреда окружающей среде (далее - ГРОНВОС).
По состоянию на 17 июля 2025 года в ГРОНВОС зарегистрирован 1481 объект накопленного вреда окружающей среде следующих групп:
I Объекты размещения и обезвреживания отходов коммунальных, подобных коммунальным, на производстве и при предоставлении услуг населению:
- свалки твердых коммунальных отходов (в том числе несанкционированные);
- полигоны твердых коммунальных отходов.
II Объекты, являющиеся результатом деятельности по добыче, обогащению и переработке полезных ископаемых:
- отвалы отходов добычи полезных ископаемых;
- хранилища, предназначенные для хранения отходов добычи и/или обогащения полезных ископаемых, кроме отвалов (шламохранилища, хвостохранилища);
- отработанные участки угольных месторождений.
III Объекты, являющиеся результатом деятельности химического производства:
- бесхозяйные объекты капитального строительства, производственные здания/сооружения;
- объекты размещения промышленных отходов (пруды-накопители, шламонакопители);
- земли, загрязненные химическими соединениями;
- земли, загрязненные промышленными отходами.
IV Объекты, являющиеся результатом деятельности предприятий нефтепереработки, нефтехимического производства:
- нефте-, мазутохранилища;
- нефтешламовые амбары, нефтебазы;
- линзы нефтепродуктов.
V Объекты, расположенные в акватории водных объектов, участках акваторий:
- затонувшие суда;
- инженерные сооружения разной степени сложности, используемые для транспортировки жидких и газообразных веществ.
VI Объекты, являющиеся результатом деятельности агропромышленного комплекса:
- хранилища пестицидов и ядохимикатов;
- пометохранилища;
- земли, загрязненные пестицидами и ядохимикатами.
VII Прочие объекты накопленного вреда окружающей среде, включенные в ГРОНВОС:
- объекты размещения и обезвреживания отходов при сборе и обработке сточных вод, вод систем оборотного водоснабжения (хранилища иловых осадков, образующихся в биологических очистных сооружениях);
- объекты, являющиеся результатом деятельности топливно-энергетической отрасли (отвалы отходов производства электроэнергии и пара - золошлакоотвалы);
- объекты, являющиеся результатом деятельности целлюлозно-бумажной промышленности;
- иные объекты накопленного вреда окружающей среде (участок уничтожения химического оружия, объекты, содержащие лом и отходы черных и (или) цветных металлов (в том числе заброшенные здания, металлоконструкции и сооружения), полигон строительных отходов, свалки отходов лесозаготовок и вырубок, загрязненные участки воинских частей и др.).
Распределение объектов накопленного вреда окружающей среде, включенных в ГРОНВОС, по группам представлено на
рисунке 1.1.
Рисунок 1.1 - Распределение объектов накопленного вреда
окружающей среде по группам
Как видно из
рисунка 1.1, более 86% объектов накопленного вреда окружающей среде относятся к объектам размещения и обезвреживания коммунальных отходов. Более 9% объектов относятся к объектам, являющимся результатом деятельности по добыче, обогащению и переработке полезных ископаемых, химического и нефтехимического производства и нефтепереработки.
Распределение объектов накопленного вреда окружающей среде, включенных в ГРОНВОС, по федеральным округам представлено в
таблице 1.1.
Таблица 1.1
Распределение объектов накопленного вреда окружающей среде,
включенных в государственный реестр объектов накопленного
вреда окружающей среде, по федеральным округам
(по состоянию на 17 июля 2025 года)
N | Классификация объектов накопленного вреда | Федеральный округ |
Центральный | Северо-Западный | Южный | Северо-Кавказский | Приволжский | Уральский | Сибирский | Дальневосточный | Всего по России |
1 | Объекты размещения и обезвреживания отходов коммунальных, подобных коммунальным на производстве и при предоставлении услуг населению | 154 | 61 | 108 | 110 | 188 | 71 | 147 | 437 | 1276 |
2 | Объекты, являющиеся результатом деятельности по добыче, обогащению и переработке полезных ископаемых | 1 | 0 | 0 | 7 | 21 | 2 | 3 | 5 | 39 |
3 | Объекты, являющиеся результатом деятельности химического производства | 7 | 2 | 3 | 0 | 17 | 4 | 5 | 3 | 41 |
4 | Объекты, являющиеся результатом деятельности предприятий нефтепереработки, нефтехимического производства | 6 | 2 | 2 | 25 | 15 | 2 | 1 | 2 | 55 |
5 | Объекты, расположенные в акватории водных объектов, участках акваторий | 0 | 13 | 0 | 0 | 1 | 1 | 0 | 0 | 15 |
6 | Объекты, являющиеся результатом деятельности агропромышленного комплекса | 1 | 2 | 1 | 1 | 1 | 0 | 3 | 1 | 10 |
7 | Прочие объекты накопленного вреда окружающей среде, в том числе: | 7 | 8 | 2 | 0 | 8 | 8 | 9 | 3 | 45 |
объекты размещения и обезвреживания отходов при сборе и обработке сточных вод, вод систем оборотного водоснабжения | 2 | 0 | 1 | 0 | 1 | 0 | 0 | 0 | 4 |
объекты, являющиеся результатом деятельности топливно-энергетической отрасли | 0 | 1 | 0 | 0 | 1 | 0 | 0 | 0 | 2 |
объекты, являющиеся результатом деятельности целлюлозно-бумажной промышленности | 0 | 3 | 1 | 0 | 3 | 2 | 5 | 0 | 14 |
иные объекты накопленного вреда окружающей среде | 5 | 4 | 0 | 0 | 3 | 6 | 4 | 3 | 25 |
Всего по округам | 176 | 88 | 116 | 143 | 251 | 88 | 168 | 451 | 1481 |
Как видно из
таблицы 1.1, количество выявленных объектов накопленного вреда окружающей среде преобладает в Дальневосточном, Центральном, Приволжском, Сибирском федеральных округах, основное количество из которых относится к объектам размещения и обезвреживания отходов коммунальных, подобных коммунальным на производстве и при предоставлении услуг населению.
В Приволжском федеральном округе в связи с развитой добывающей и обрабатывающей промышленностью, помимо объектов размещения и обезвреживания коммунальных отходов, преобладают объекты, являющиеся результатом деятельности по добыче, обогащению и переработке полезных ископаемых, и объекты, являющиеся результатом деятельности химического производства.
В Северо-Кавказском и Северо-Западном федеральных округах преобладают объекты, являющиеся результатом деятельности предприятий нефтепереработки, нефтехимического производства (в основном в Чеченской Республике), и объекты, расположенные в акватории водных объектов, участках акваторий (в основном в Мурманской области).
Объекты накопленного вреда окружающей среде оказывают негативное воздействие на компоненты природной среды и население.
Как правило, загрязнения на объектах накопленного вреда окружающей среде носят сложный комплексный характер и связаны не только с основными, но и вспомогательными производствами.
Атмосферный воздух в зоне влияния объектов накопленного вреда окружающей среде, прилегающие к ним земли, поверхностные водоемы, а также подземные воды загрязнены самыми разнообразными органическими и неорганическими веществами (тяжелыми металлами, нефтепродуктами, плохо растворимыми в воде химическими соединениями, стойкими органическими загрязнителями - полихлорированными бифенилами, пестицидами, ядохимикатами и др.), опасными микроорганизмами. Набор загрязняющих веществ определяется видом деятельности, в результате которой образован объект.
Согласно данным инвентаризации объектов накопленного вреда окружающей среде на объектах размещения и обезвреживания отходов коммунальных, подобных коммунальным на производстве и при предоставлении услуг населению накоплены отходы III - V классов опасности. Объем накопленных отходов на одном объекте в среднем составляет 618,3 тыс. куб. м. Средняя площадь загрязнения отходами составляет 128,22 тыс. кв. м.
Основное воздействие объекты размещения и обезвреживания коммунальных отходов оказывают на почвы, поверхностные и подземные воды. Превышения установленных нормативов загрязняющих веществ в пробах почв выявлены на 55,75% объектов, в пробах поверхностной воды - на 30,53%, в пробах подземной воды - на 37,17%. В ходе исследования проб атмосферного воздуха вблизи объектов превышения установленных нормативов загрязняющих веществ выявлены в 8,85% случаев. Следует отметить, что в случае возгорания таких объектов или выбросов биогаза их влияние на атмосферный воздух многократно усиливается.
В зоне влияния объектов размещения и обезвреживания коммунальных отходов основными загрязнителями почвы являются: медь (в 35% случаев), цинк (в 56% случаев), никель (в 33% случаев), мышьяк (в 33% случаев), свинец (в 34% случаев), кадмий (в 24% случаев), бенз(а)пирен (в 31% случаев).
В зоне влияния объектов размещения и обезвреживания коммунальных отходов в поверхностных водах чаще всего фиксируется превышение предельно допустимых концентраций следующих загрязняющих веществ: марганца (в 22% случаев), железа (в 71% случаев), меди (в 30% случаев), нефтепродуктов (в 33% случаев), аммоний-иона (в 36% случаев), а также превышение установленных нормативов по показателям БПК5 (в 41% случаев), ХПК (в 41% случаев).
В зоне влияния объектов размещения и обезвреживания коммунальных отходов в подземных водах чаще всего фиксируется превышение предельно допустимых концентраций следующих загрязняющих веществ: железа (в 64% случаев), марганца (в 33% случаев), свинца (в 24% случаев), хлорид-ионов (в 29% случаев), нефтепродуктов (в 23% случаев), аммоний-ионов (в 27% случаев), а также превышение установленных нормативов по показателям БПК5 (в 26% случаев), ХПК (в 37% случаев) и обобщенных показателей качества - общая минерализация (сухой остаток) (в 31% случаев).
Выявленные в ходе обследования объектов накопленного вреда окружающей среде превышения установленных нормативов загрязняющих веществ в компонентах природной среды представлены в
таблице 1.2.
Таблица 1.2
Воздействие объектов накопленного вреда окружающей среде
на компоненты природной среды
Компонент природной среды |
Почва | Поверхностные воды | Подземные воды | Атмосферный воздух |
Наименование загрязняющего вещества | Выявленные превышения, доли ПДК, ОДК <1> | Наименование загрязняющего вещества | Выявленные превышения, доли ПДК <1> | Наименование загрязняющего вещества | Выявленные превышения, доли ПДК <1> | Наименование загрязняющего вещества | Выявленные превышения доли ПДК, ОБУВ <1> |
Объекты размещения и обезвреживания отходов коммунальных, подобных коммунальным на производстве и при предоставлении услуг населению |
Бенз(а)пирен | 1,85 | БПК | 2,14 | ХПК | 4,25 | Формальдегид | 3,20 |
Медь | 1,70 | ХПК | 2,27 | Сухой остаток | 1,67 | Ксилол | 3,80 |
Цинк | 1,60 | Ртуть | 4,00 | Железо | 6,77 | Этилбензол | 10,00 |
Никель | 1,50 | Марганец | 3,42 | Марганец | 7,00 | Трихлорметан | 2,60 |
Мышьяк | 1,54 | Аммоний-ион | 2,10 | Свинец | 6,20 | Диоксид серы | 2,60 |
Свинец | 1,63 | Нитрит-анион | 2,81 | Фенол | 12,70 | Диоксид азота | 1,90 |
Кадмий | 1,75 | Железо | 4,10 | Хлорид-анион | 1,87 | Аммиак | 9,85 |
Кобальт | 2,36 | Медь | 3,30 | Кадмий | 3,70 | Дигидросульфид | 4,75 |
Хром | 2,20 | Фосфат-ион | 5,15 | Нефтепродукты | 3,05 | Бензол | 2,00 |
Нефтепродукты | | Нефтепродукты | 2,10 | Мышьяк | 1,97 | Оксид азота | 1,45 |
Сера | 5,00 | Цинк | 4,00 | Никель | 4,20 | Оксид углерода | 1,06 |
Ванадий | 1,13 | Сульфат-анион | 2,02 | Цинк | 1,87 | Бенз(а)пирен | 12,50 |
Ртуть | 2,00 | Бенз(а)пирен | 2,00 | Аммоний-ион | 10,33 | Метан | 3,32 |
Нитрат-ион | 2,84 | Сухой остаток | 1,74 | Магний | 1,84 | Пыль | 2,57 |
Марганец | 1,32 | АПАВ | 1,05 | Барий | 2,10 |
Полихлорированные бифенилы | 3,05 | Кадмий | 1,90 | Сульфат-анион | 2,00 |
Сурьма | 4,50 | Литий | 2,05 | Нитрат-анион | 1,75 |
Свинец | 2,45 | Литий | 1,36 |
Магний | 1,59 | Нитрит-анион | 2,00 |
Хлорид-анион | 2,40 | Ртуть | 20,00 |
Нитрат-анион | 1,14 | Стирол | 1,50 |
Натрий | 2,26 | Натрий | 1,61 |
Фторид-анион | 5,43 | БПК | 4,80 |
Фенолы | 8,40 | Хром | 6,13 |
Никель | 1,40 | Медь | 1,40 |
Алюминий | 1,35 | АПАВ | 45,00 |
Бензол | 120,00 |
Объекты, являющиеся результатом деятельности по добыче, обогащению и переработке полезных ископаемых: |
Отвалы |
| Медь | 421 | Магний | 2,3 | |
Цинк | 129 | Железо | 363 |
Мышьяк | 3,95 | Нитрат-анион | 10,6 |
Железо | 42 | Сульфат-анион | 1,88 |
Фторид-анион | 91,72 | Фторид-анион | 88 |
Сульфат-анион | 12,1 |
Кальций | 1,2 |
Магний | 1,14 |
Нитрат-анион | 1,42 |
Хвостохранилища |
Мышьяк | 7,45 | Мышьяк | 4 | Ртуть | 1,41 | Диоксид серы | 1,39 |
Марганец | 2 | Сурьма | 2,3 | Свинец | 1,34 | Пыль | 1,3 |
Ванадий | 3 | Магний | 1,5 | Мышьяк | 21,68 |
Кадмий | 8 | БПК | 1,08 | Кадмий | 1,06 |
Сурьма | 5 | Взвешенные вещества | 2,55 |
Хром | 2,35 | Алюминий | 1,7 |
Бенз(а)пирен | 2,35 | Нитрат-анион | 1,13 |
Нитрат-анион | 30,5 | Сульфат-анион | 4,91 |
Цинк | 6 | Фторид-анион | 5,6 |
Свинец | 5,56 | Марганец | 106,3 |
Никель | 1,5 | Железо | 27,45 |
Кобальт | 2,31 |
Никель | 4,8 |
Медь | 113 |
Цинк | 63,435 |
Кадмий | 1,87 |
Отработанные участки угольных месторождений |
| Марганец | 2,6 | Алюминий | 79 | |
Алюминий | 6 | Аммоний-ион | 2,48 |
Железо | 57,83 | Бериллий | 75 |
Сульфат-анион | 1,4 | Бор | 4,2 |
Сухой остаток | 1,341 | Железо | 3760 |
Литий | 1,75 | Кадмий | 1,5 |
Бериллий | 13 | Кобальт | 1,211 |
Кремний | 1,5035 |
Литий | 5,7765 |
Магний | 3,489 |
Марганец | 28,1 |
Мышьяк | 1,22 |
Никель | 3,665 |
Свинец | 1,67 |
Селен | 2,55 |
Сульфат-анион | 5 |
Сухой остаток | 5,905 |
Таллий | 7,5 |
Объекты, являющиеся результатом деятельности химического производства |
Свинец | 146,89 | Аммоний-ион | 1,30 | Фенолы | 7,02 | Пыль | 4,80 |
Марганец | 4,23 | ХПК | 7,53 | Нефтепродукты | 25,91 | Формальдегид | 2,28 |
Медь | 11,45 | БПК | 5,47 | Железо | 293,96 | Метан | 3,21 |
Цинк | 11,21 | Нефтепродукты | 2,69 | Марганец | 366,26 | Фенол | 3,20 |
Никель | 5,12 | Медь | 30,25 | Кадмий | 5,00 | Оксид углерода | 1,02 |
Мышьяк | 266,00 | Цинк | 7,01 | Свинец | 141,40 | Ртуть | 170 |
Бенз(а)пирен | 1140,13 | Никель | 1,37 | Натрий | 1,48 |
Кадмий | 161,42 | Железо | 5,87 | Сульфат-анион | 3,04 |
Нефтепродукты | | Марганец | 42,14 | Нитрат-анион | 1,11 |
Ртуть | 10,55 | Алюминий | 9,93 | ХПК | 3,26 |
Кадмий | 17,37 | БПК | 7,38 |
Сульфат-анион | 2,49 | Аммоний | 7,74 |
Свинец | 30,92 | Кальций | 98,25 |
Кальций | 1,49 | Алюминий | 215,90 |
Магний | 2,49 | Хром | 1,20 |
Калий | 7,12 | Ртуть | 14,80 |
Натрий | 4,74 | Бензол | 350,00 |
Хлорид-анион | 3,35 | Мышьяк | 260,00 |
Нитрит-анион | 4,10 | Кадмий | 450,00 |
Хром | 1,90 | Бор | 7,40 |
Кобальт | 4,00 | Литий | 23,00 |
Фенолы | 83,00 | Никель | 52,00 |
Бор | 8,00 | Магний | 84,70 |
Литий | 3,60 | Барий | 23,00 |
Сухой остаток | 16,33 | Бромид-анион | 575,00 |
Хлорид-анион | 7,53 |
| | | | Сухой остаток | 7,18 | | |
Объекты, являющиеся результатом деятельности предприятий нефтепереработки, нефтехимического производства |
Нефтепродукты | | Нефтепродукты | 90,78 | Нефтепродукты | 7805,63 | Фенол | 1,4 |
Никель | 4,55 | Свинец | 3,6 | Марганец | 49,9 |
Цинк | 22,73 | БПК | 4,025 | Железо | 17,17 |
Кадмий | 7 | Железо | 27 | Барий | 1,3 |
Бенз(а)пирен | 9,5 | Марганец | 78 | Аммоний-ион | 8,5 |
Хром | 25 | Сульфат-анион | 2,66 | Магний | 1,32 |
Свинец | 3,53 | Магний | 1,1 | Фенолы | 7,8 |
Мышьяк | 4,1 | Аммоний-ион | 27,4 | АПАВ | 1,5 |
Марганец | 1,9 | Нитрит-анион | 1,25 | Сухой остаток | 1,26 |
Медь | 1,2 | Железо | 2,5 |
Цинк | 1,9 | БПК | 43,2 |
Молибден | 8 | Марганец | 15,3 |
Фенол | 1,27 | Мышьяк | 181,6 |
Сухой остаток | 1,13 |
Кальций | 19,685 |
ХПК | 10,81 |
Объекты, расположенные в акватории водных объектов, участках акваторий |
не оказывает | Нефтепродукты | 1,80 | не оказывает | не оказывает |
Никель | 9,65 |
Мышьяк | 2,39 |
Медь | 5,93 |
Цинк | 1,34 |
Кобальт | 1,15 |
Объекты, являющиеся результатом деятельности агропромышленного комплекса |
ДДТ | 5,98 | БПК | 6,2 | Сухой остаток | 9,1 | |
ДДЭ | 3,935 | ХПК | 9,7 | Ртуть | 1,6 |
ДДЭ + ДДТ | 17,5 | Аммоний-ион | 4,3 | Свинец | 17,5 |
Мышьяк | 3,6 | Железо | 61,05 | Никель | 2,05 |
Свинец | 7,2 | Медь | 107 | Марганец | 4,6 |
Цинк | 2,7 | Марганец | 504 | Железо | 307,3 |
Ртуть | 11,9 | Фенол | 9,4 | БПК | 4,4 |
Мышьяк | 3,4 | Фенол | 6 |
Формальдегид | 2,3 | Формальдегид | 1,2 |
Ртуть | 11 | Мышьяк | 2,4 |
Нефтепродукты | 1,8 | Бериллий | 4 |
Нефтепродукты | 1,2 |
Прочие объекты накопленного вреда окружающей среде, в том числе: |
Объекты размещения и обезвреживания отходов при сборе и обработке сточных вод, вод систем оборотного водоснабжения |
Цинк | 2,53 | ХПК | 108,00 | Нитрат-анион | 1,00 | |
Медь | 2,14 | Марганец | 112,00 | Марганец | 18,00 |
Никель | 4,90 | Фенол | 15,00 | Фенол | 15,00 |
Кадмий | 18,60 | Нефтепродукты | 11,60 | Нефтепродукты | 12,10 |
Железо | 4,00 | Железо | 13,00 |
Фторид-анион | 9,60 | Сероводород | 1,33 |
Медь | 22,00 | Хром | 1,04 |
Нитрит-анион | 1,33 |
Хром | 1,31 |
Фосфат-ион | 2,55 |
БПК | 2,67 |
Аммоний-ион | 1,03 |
Цинк | 8,20 |
| | ИС МЕГАНОРМ: примечание. Текст в графах 3 и 4 дан в соответствии с официальным текстом документа. | |
|
| | Цинк | 8,20 | | | |
Объекты, являющиеся результатом деятельности топливно-энергетической отрасли |
Мышьяк | 9,90 | Железо | 1,94 | ХПК | 3,17 | |
Бенз(а)пирен | 1,11 | Марганец | 1,12 | Сухой остаток | 1,40 |
Марганец | 7,55 | Алюминий | 2,80 | Железо | 1570,00 |
Марганец | 85,00 |
Никель | 2,70 |
Свинец | 2,80 |
Объекты, являющиеся результатом деятельности целлюлозно-бумажной промышленности |
Цинк | 2 | Железо | 9 | Нитрат-анион | 2,8 | Фенол | 1,5 |
Мышьяк | 5,25 | Медь | 2 | АПАВ | 4,6 | Оксид углерода | 1,55 |
Никель | 2,13 | Марганец | 2 | Взвешенные вещества | 250 |
Свинец | 1,5 | Аммоний-ион | 7,58 | Алюминий | 9,6 |
Медь | 3 | Нитрит-анион | 1,13 | Марганец | 44 |
Кадмий | 1,24 | Фосфат-ион | 11 | Свинец | 11 |
БПК | 2,42 | Железо | 96,67 |
Нефтепродукты | 1,8 | Ртуть | 2600 |
Взвешенные вещества | 17,4 |
Алюминий | 2,75 |
Свинец | 1,2 |
Фенол | 1,7 |
Ртуть | 55 |
Иные объекты накопленного вреда окружающей среде |
Нефтепродукты | | Железо | 30 | Сухой остаток | 5,7 | |
Люизит | 10 | Аммоний-ион | 16 | Фосфаты | 18,5 |
Свинец | 2,96 |
Бенз(а)пирен | 1,8 |
Примечание:
<1> - средние значения превышения установленных нормативов;
<2> - содержание нефтепродуктов в мг/кг;
<3> - нет данных, воздействие не выявлено.
Таблица 1.2 составлена на основе анализа информации о воздействии объектов НВОС на компоненты природной среды в рамках подготовки заключений о включении объектов НВОС в ГРОНВОС.
Выявленные в ходе обследования объектов НВОС концентрации загрязняющих веществ в сопредельных к объекту средах сравнивались с установленными нормативами допустимых концентраций загрязняющих веществ в атмосферном воздухе, подземных и поверхностных водах, почвах, по
СанПиН 1.2.3685-21 "Гигиенические нормативы и требования к обеспечению безопасности и (или) безвредности для человека факторов среды обитания" (в ряде случаев для поверхностной воды с
нормативами, установленными приказом Росрыболовства от 26 мая 2025 года N 296 "Об утверждении нормативов качества воды водных объектов рыбохозяйственного значения, в том числе нормативов предельно допустимых концентраций загрязняющих веществ в водах водных объектов рыбохозяйственного значения").
Объекты по добыче, обогащению и переработке полезных ископаемых (отвалы, хвостохранилища) имеют площади от 56,5 до 5 800,0 тыс. кв. м с накопленными на них отходами I - V классов опасности объемом от 383,6 тыс. куб. м до 23 500,0 тыс. куб. м.
Основными загрязняющими веществами, выявленными в компонентах природной среды в ходе инвентаризации объектов по добыче, обогащению и переработке полезных ископаемых, являются: железо, мышьяк, марганец, цинк, медь, фторид-ионы, сульфат-ионы, нитрат-ионы.
Количество загрязняющих веществ, изливающихся с кислыми шахтными водами отработанных угольных месторождений, составляет от 46,03 т/год до 986 532,00 т/год. Максимальные превышения установленных нормативов в пробах подземных и поверхностных вод вблизи отработанных участков угольных месторождений зафиксированы по содержанию железа, алюминия, марганца, бериллия.
Объекты, являющиеся результатом деятельности химического производства, имеют площади от 0,284 до 22 000,000 тыс. кв. м с накопленными на них отходами I - V классов опасности объемом от 0,035 тыс. куб. м до 44 500,000 тыс. куб. м. Почвы в зоне влияния объектов, являющиеся результатом деятельности химического производства, загрязнены: свинцом - превышение ОДК в среднем в 147 раз; мышьяком - превышение ОДК в среднем в 266 раз; бенз(а)пиреном - превышение ПДК в среднем в 1140 раз; кадмием - превышение ОДК в среднем в 161 раз; ртутью - превышение ПДК в среднем в 10 раз.
Превышения установленных нормативов в поверхностных водах в зоне влияния объектов, являющихся результатом деятельности химического производства, зафиксированы по содержанию меди (30 ПДК), марганца (42 ПДК), кадмия (17 ПДК), свинца (31 ПДК), фенолов (83 ПДК), сухого остатка (16 ПДК). Высокие значения концентраций загрязняющих веществ в подземных водах зафиксированы по следующим веществам: железу (до 608 мг/куб. дм), нефтепродуктам (до 33,4 мг/куб. дм), марганцу (до 181 мг/куб. дм), свинцу (до 6,9 мг/куб. дм), алюминию (до 86 мг/куб. дм), бензолу (до 0,35 мг/куб. дм), мышьяку (до 2,6 мг/куб. дм), кадмию (до 0,45 мг/куб. дм), литию (до 0,7 мг/куб. дм), никелю (до 1,04 мг/куб. дм), магнию (до 2700 мг/куб. дм), барию (до 16,1 мг/куб. дм), бромид-ионам (до 115 мг/куб. дм).
Атмосферный воздух на объектах, являющихся результатом деятельности химического производства, загрязнен взвешенными веществами, формальдегидом, фенолом, оксидом углерода, метаном, ртутью.
Объекты, являющиеся результатом деятельности предприятий нефтепереработки, нефтехимического производства, имеют площади от 4,7 до 61,3 тыс. кв. м с накопленными на них отходами III - V классов опасности объемом от 1,6 тыс. куб. м до 96,0 тыс. куб. м.
Основное воздействие объекты, являющиеся результатом деятельности предприятий нефтепереработки, нефтехимического производства, оказывают на подземные и поверхностные воды.
Поверхностные воды в зоне влияния объектов, являющихся результатом деятельности предприятий нефтепереработки, нефтехимического производства, в основном загрязнены марганцем (до 13 мг/куб. дм), нефтепродуктами (до 60 мг/куб. дм), железом (до 8,1 мг/куб. дм), аммоний-ионом (до 41,1 мг/куб. дм).
Содержание нефтепродуктов, марганца, железа, мышьяка в подземных водах в зоне влияния объектов, являющихся результатом деятельности предприятий нефтепереработки, нефтехимического производства, превышает установленные нормативы в десятки, сотни и тысячи раз.
К объектам, расположенным в акваториях водных объектов, участках акваторий, включенным в ГРОНВОС, относятся затонувшие плавсредства и инженерные сооружения разной степени сложности, в том числе используемые для транспортировки жидких и газообразных веществ (понтоны, баржи, буксировщики, затопленные секции плавучего причала, трубопроводы и др.), являющиеся источниками загрязняющих поверхностные воды веществ и отходов III - V классов опасности, расположенные в акваториях Кольского залива Баренцева моря и акватории Нижнекамского водохранилища. Масса объектов варьируется от 20 до 1 000 т. Поверхностные воды в зоне влияния объектов загрязнены нефтепродуктами, никелем, мышьяком, медью, цинком, кобальтом.
На объектах, являющихся результатом деятельности агропромышленного комплекса, накоплены опасные вещества (стойкие органические загрязнители) I - V классов опасности массой от 108,045 до 963,000 т. В компонентах природной среды вблизи объектов, являющихся результатом деятельности агропромышленного комплекса, фиксируются экстремально высокие концентрации железа (в подземной воде до 307 ПДК), марганца и меди (в поверхностной воде до 504 ПДК и до 107 ПДК соответственно), ДДТ + ДДЭ и ртути (в почве до 17,5 ПДК и до 11,9 ПДК соответственно).
На объектах, являющихся результатом деятельности целлюлозно-бумажной промышленности, накоплены отходы III - V классов опасности объемом от 1,030 до 2 879,815 тыс. куб. м. В компонентах природной среды вблизи объектов, являющихся результатом деятельности целлюлозно-бумажной промышленности, фиксируются высокие и экстремально высокие превышения по железу, ртути, взвешенным веществам, марганцу.
Компоненты природной среды вблизи объектов, являющихся результатом деятельности топливно-энергетической отрасли, объектов размещения и обезвреживания отходов при сборе и обработке сточных вод, вод систем оборотного водоснабжения, иных объектов накопленного вреда окружающей среде (загрязненные территории, здания, сооружения воинских частей, участки доконвенциального уничтожения химического оружия, объекты, содержащие лом и отходы черных и (или) цветных металлов (в том числе заброшенные здания, металлоконструкции и сооружения), свалки несортированных и строительных отходов, отходов стекольного производства и др.), загрязнены различными химическими веществами. Высокие и экстремально высокие превышения фиксируются по нефтепродуктам, фенолам, кадмию, меди, марганцу, железу, мышьяку.
Раздел 2 Описание технологий, используемых при ликвидации
объектов накопленного вреда окружающей среде
в Российской Федерации
В
разделе 2 справочника НДТ описаны технологии ликвидации объектов накопленного вреда окружающей среде, используемые в настоящее время в Российской Федерации.
Раздел подготовлен на основе информации, полученной в результате обработки сведений из открытых информационных источников, сведений, полученных от субъектов Российской Федерации для подготовки информационно-аналитических заключений для включения объектов в государственный реестр объектов накопленного вреда окружающей среде (в том числе информации, содержащейся в проектно-изыскательской документации), консультации с экспертами, сведений, предоставленных в результате анкетирования организациями, разрабатывающими технологии и оборудование для ликвидации объектов накопленного вреда окружающей среде, и организациями, осуществляющими деятельность по ликвидации объектов накопленного вреда окружающей среде в Российской Федерации.
2.1 Краткое описание технологии ликвидации объектов
накопленного вреда окружающей среде
Технические, технологические решения и организационные мероприятия, используемые для обследования и ликвидации объектов накопленного вреда окружающей среде, реабилитации загрязненных или деградированных территорий, можно условно разбить на три группы.
Первая группа относится к техническим, технологическим решениям и организационным мероприятиям, используемым при обследовании объекта накопленного вреда окружающей среде, в том числе в рамках проведения инженерных изысканий.
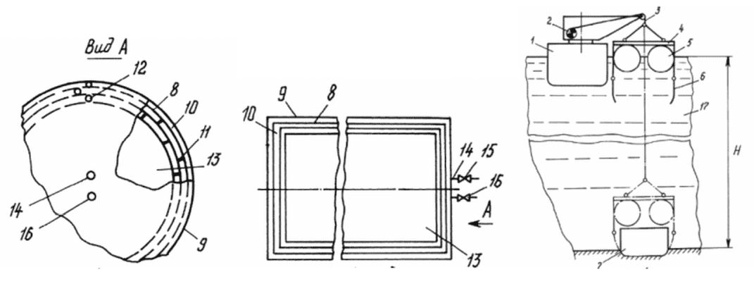
Вторая группа относится к технологическим решениям "in situ", которые можно реализовать по месту размещения объекта. В свою очередь, данную группу можно разделить на подгруппы. Первая подгруппа охватывает инженерные решения, цель которых сводится к изоляции загрязняющих веществ за счет создания вокруг них ограждающего барьера или за счет отверждения фрагмента среды (воды, почвы, грунта, донного осадка), содержащего загрязняющие вещества. Вторая подгруппа объединяет технологические решения, позволяющие либо удалить из обрабатываемого фрагмента окружающей среды загрязняющие вещества, либо их обезвредить (расщепить на безвредные компоненты).
Третья группа технологических решений, или решений "ex situ", охватывает по крайней мере две стадии операций: извлечение (экскавация) фрагмента среды, подлежащего обработке, из места расположения; перемещение его на место, где должно происходить обезвреживание или утилизация, и/или захоронение
[15].
2.2 Технические, технологические решения и организационные
мероприятия при проведении необходимых обследований объекта
накопленного вреда окружающей среде,
в том числе инженерных изысканий
Инвентаризация объектов накопленного вреда окружающей среде в соответствии со
ст. 80.1 Федерального закона от 10 января 2002 года N 7-ФЗ "Об охране окружающей среды"
[1] осуществляется посредством выявления таких объектов, их обследования и оценки.
По результатам выявления объектов накопленного вреда окружающей среде осуществляются их обследование и оценка, включающие в себя определение:
- объема или массы загрязняющих веществ и их видов;
- объема или массы отходов производства и потребления, а также классов их опасности;
- площади территорий и компонентов природной среды, на которые оказывается негативное воздействие объекта накопленного вреда окружающей среде, степени такого воздействия;
- степени воздействия объекта накопленного вреда окружающей среде на жизнь и здоровье граждан.
Обследование и оценка объектов накопленного вреда окружающей среде осуществляются с целью подготовки проектной документации по ликвидации, рекультивации объектов с использованием методов инженерных изысканий.
Инженерные изыскания - изучение природных условий и факторов техногенного воздействия в целях рационального и безопасного использования территорий и земельных участков в их пределах, подготовки данных по обоснованию материалов, необходимых для территориального планирования, планировки территории и архитектурно-строительного проектирования
[13].
Согласно
Постановлению Правительства Российской Федерации от 19 января 2006 года N 20 "Об инженерных изысканиях для подготовки проектной документации, строительства, реконструкции объектов капитального строительства"
[7] к основным видам инженерных изысканий относятся:
- инженерно-геодезические изыскания;
- инженерно-геологические изыскания;
- инженерно-гидрометеорологические изыскания;
- инженерно-экологические изыскания;
- инженерно-геотехнические изыскания.
К специальным видам инженерных изысканий относятся:
- геотехнические исследования;
- обследования состояния грунтов оснований зданий и сооружений, их строительных конструкций;
- поиск и разведка подземных вод для целей водоснабжения;
- локальный мониторинг компонентов природной среды;
- разведка грунтовых строительных материалов;
- локальные обследования загрязнения грунтов и грунтовых вод.
Состав работ при инженерных изысканиях, методика их выполнения, требования к объемам работ и содержанию отчетной документации определяются
СП 47.13330.2016 [13].
В настоящее время при обследовании объектов накопленного вреда окружающей среде можно выделить технические, технологические решения, организационные мероприятия, которые можно разбить на пять групп:
- решения, направленные на определение объема или массы загрязняющих веществ, отходов и их классов опасности;
- решения, направленные на установление площади территорий и акваторий, на которых расположен объект накопленного вреда окружающей среде;
- решения, направленные на установление уровня и объема негативного воздействия на окружающую среду;
- решения, направленные на автоматизацию сбора исходных и обработки полученных в ходе обследования объекта накопленного вреда окружающей среде данных;
- решения, направленные на установление зон с особыми условиями использования территорий в границах расположения объекта накопленного вреда окружающей среде, и территорий, имеющих особый правовой режим, который закреплен в нормативных актах.
2.2.1 Решения, направленные на определение объема или массы
загрязняющих веществ, отходов и их классов опасности
Определение объема/массы загрязняющих веществ, отходов на объектах накопленного вреда окружающей среде осуществляется с использованием следующих методов:
- метод бурения инженерно-геологических скважин с построением разрезов, профилей, картограмм. Построение разрезов, профилей, картограмм выполняется с помощью специализированных программных продуктов;
- георадарный (георадиолокационный) метод - геофизический метод обследования грунтовых сред, который заключается в зондировании среды полем электромагнитных волн радиодиапазона с получением георадарных профилей, георадарограмм. Компьютерная обработка данных георадиолокации выполняется с помощью специализированных программных продуктов;
- электроразведочный метод - метод изучения строения земной коры, основанный на изучении естественных или искусственных электромагнитных полей с построением геоэлектрических разрезов по профилям и картограмм. Обработка результатов выполняется с помощью специализированных программных продуктов;
- метод сейсморазведки - геофизический метод изучения геологических объектов с помощью упругих колебаний сейсмических волн [
16,
17];
- гидроакустический метод - метод излучения распространения звуковых волн в реальной водной среде (в океанах, морях, озерах и т.д.) для целей подводной локации, связи и т.п. Примером возможного использования гидроакустического метода на объектах накопленного вреда окружающей среде является метод поиска затонувшего морского объекта
[18];
- маршрутно-полевое обследование для выявления наличия загрязнений и визуальной оценки возможных объемов свалочных масс;
- работа с архивными данными (сведениями статистической отчетности 2-ТП отходы, материалами исследования прошлых лет, в том числе архивными сведениями о технологических процессах, в результате которых образовались отходы).
Для камеральной обработки полученных в результате обследованной территории данных используются различные программные продукты: Autodesk Civil 3D, CREDO_MIX, CREDO_DAT, CREDO_TER, Credo Объемы, nanoCAD, GeoniCS.
С целью определения классификационных признаков (происхождение, состав, агрегатное и физическое состояние) и класса опасности отходов, расположенных на объекте, для идентификации и отнесения накопленных отходов к видам отходов, включенных в ФККО; определения способов, методов дальнейшего обращения с отходами в соответствии с требованиями действующего законодательства (Федерального
закона от 24 июня 1998 года N 89-ФЗ; Федерального
закона от 10 января 2002 года N 7-ФЗ; Федерального
закона от 4 мая 2011 года N 99-ФЗ;
СанПиН 2.1.3684-21, иных документов, регулирующих обращение с отходами), при проведении обследований объекта накопленного вреда окружающей среде используются следующие методы:
- отбор проб накопленных отходов в соответствии с действующими методиками;
- исследования проб отходов с составлением протокола количественного химического (морфологического) анализа в соответствии с действующими методиками;
- установление класса опасности на основе исследований морфологического состава твердых отходов с отнесением отходов к конкретному классу опасности на основе ФККО расчетным методом по сумме степеней опасности веществ (компонентов), составляющих отход. В случае отсутствия отходов в ФККО необходимо осуществить их отнесение к конкретному классу опасности в порядке, установленном уполномоченным Правительством Российской Федерации федеральным органом исполнительной власти;
- исследования токсического действия водной вытяжки из отходов на гидробионты с составлением протокола биотестирования водной вытяжки отходов в соответствии с действующими методиками (биотестирование с использованием 2-х тест-объектов (инфузорий, пресноводных рачков, водорослей и др.);
- установление компонентного состава и класса опасности отходов путем анализа, проектных и иных материалов по объекту.
Критерии отнесения отходов к I - V классам опасности утверждены приказом Минприроды России от 31 марта 2025 года N 158
[19].
Исследования проб отходов проводят в специализированных аккредитованных лабораториях с использованием аттестованного в установленном порядке оборудования по методикам, прошедшим метрологическую аттестацию.
В случае ликвидации объектов накопленного вреда окружающей среде, связанных с размещением твердых коммунальных и промышленных отходов, выполняются работы по выявлению и исследованию накопившегося на объектах фильтрата (необходимые исследования по определению химического состава, токсичности для окружающей природной среды) с целью определения дальнейших действий по обращению с ним.
В соответствии с
п. 8 ст. 12 Федерального закона от 24 июня 1998 года N 89 ФЗ "Об отходах производства и потребления" захоронение отходов, в состав которых входят полезные компоненты, подлежащие утилизации, запрещается.
Перечень видов отходов, в состав которых входят полезные компоненты, захоронение которых запрещается, установлен распоряжением Правительства Российской Федерации от 25 июля 2017 года N 1589-р "Об утверждении перечня видов отходов производства и потребления, в состав которых входят полезные компоненты, захоронение которых запрещается".
В случае установления на объекте накопленного вреда окружающей среде отходов производства и потребления, в состав которых входят полезные компоненты, должна быть проведена сортировка отходов с целью извлечения полезных компонентов.
2.2.2 Решения, направленные на установление площади
территорий и акваторий, на которых расположен объект
накопленного вреда окружающей среде
Для установления площади объекта накопленного вреда окружающей среде используются следующие методы:
- анализ фондовых, проектных, эксплуатационных и иных материалов по объекту;
- анализ данных Росреестра с корректировкой площадей по результатам инженерных изысканий;
- рекогносцировочное и маршрутное обследования местности с установлением реперных точек с применением глобальных навигационных спутниковых систем ГЛОНАСС и GPS, в том числе с выполнением полевых инженерно-геодезических работ, планово-высотной съемки, построением картограмм топографо-геодезической изученности и земляных масс;
- аэрофотосъемка с использованием беспилотных летательных аппаратов с построением цифровой модели рельефа [
16,
20];
- анализ спутниковых снимков.
При выполнении инженерно-геодезических изысканий используется различное оборудование для топографической съемки территории, а также программные продукты для последующей камеральной обработки полученных результатов обследования.
Топографическая съемка территории осуществляется кинематическим или статическим методами в масштабе 1:500 или 1:1000 с высотой сечения рельефа 0,5 м. Для топографической съемки спутниковым методом используются следующие геодезические приемники: Trimble R8; Trimble 3605DR Arctic; Javad Maxor; Javad Triumph-1-G3T; EFT М3 GNS; CX-106; Leica1202+; Price i50.
Для обработки данных GPS используется следующее программное обеспечение: Credo DAT; CREDO_TER; Auto DAT; Pinnacle; Topcon Tools; FieldView; Hi-Tfrget Geomatics Office.
Для построения топографических планов применяется следующее программное обеспечение: AutoCAD; Civil 3D компании Autodesk; Microstation Power Draft.
Для обработки космических снимков используется следующее программное обеспечение: Google Earth Pro; MapInfo Pro, ArcGIS Pro, Qgis, ГИС панорама и иное программное обеспечение.
2.2.3 Решения, направленные на установление уровня и объема
негативного воздействия на окружающую среду
Для определения уровня и объема негативного воздействия объекта накопленного вреда окружающей среде на компоненты природной среды используются следующие способы и методы обследования:
- анализ фондовых, литературных и других материалов по объекту, в том числе в части экологических условий района расположения объекта накопленного вреда окружающей среде, сведений о растительном и животном мире;
- рекогносцировочное и маршрутное обследование территории (в том числе в рамках инженерно-экологических изысканий), в том числе с обходом территории, выявлением и нанесением на схемы и карты фактического материала, визуальных признаков загрязнения, свалок, промпредприятий и т.д.
Рекогносцировочные и маршрутные обследования выполняются с целью:
- предварительного выбора возможных мест отбора проб и размещения измерительной аппаратуры;
- получения качественных и количественных характеристик состояния всех компонентов природной среды, а также комплексной ландшафтной характеристики территории с учетом ее функциональной значимости и экосистем в целом.
Маршрутное экологическое обследование реализуется на самом объекте и на прилегающих к объекту территориях. В состав маршрутного обследования входят работы:
- по выявлению и уточнению природных особенностей территории объекта ликвидации (экологически значимые особенности рельефа, выраженные ландшафтные образования, сформировавшиеся экологические системы и их состояние, состояние растительности, водных объектов и другие природные особенности территории);
- по выявлению существующих источников техногенного воздействия (источники выбросов загрязняющих веществ, места образования стоков и точки сброса сточных вод, места размещения отходов и иные источники техногенного воздействия в пределах объекта накопленного вреда) с указанием характера и объемов возможных загрязнений;
- по выявлению и нанесению на карты (картосхемы) визуально обнаруженных участков загрязнения почв (грунтов), вод, нарушения состояния растительности, следов разлива загрязняющих веществ, мест размещения отходов с ориентировочным указанием их объема и состава;
- по выявлению и нанесению на карты (картосхемы) визуально обнаруженных экзогенных процессов;
- по выявлению и нанесению на карты (картосхемы) визуально обнаруженных растений, животных, занесенных в Красные книги;
- по выявлению объектов, которые могут быть подвержены сверхнормативному воздействию со стороны ликвидируемого объекта (в частности, жилой застройки, учреждений здравоохранения, зон отдыха и др.);
- по уточнению ландшафтно-индикационных признаков для дешифрирования снимков с БПЛА, аэрокосмических снимков;
- по фотофиксации обнаруженных особенностей состояния окружающей среды, а также объектов, которые могут подвергаться сверхнормативному воздействию со стороны ликвидируемого объекта.
Маршрутное обследование выполняется в соответствии с установленными стандартами и правилами для соблюдения требований технических регламентов при производстве работ [
21 -
24].
Методы исследования компонентов природной среды
Методы исследования компонентов природной среды включают: методы аналитической химии для количественного химического анализа компонентов природной среды и методы математического моделирования для прогнозной оценки состояния компонентов природной среды.
Оценка загрязнения почв (грунтов) в районе расположения объекта накопленного вреда окружающей среде
Исследование почв (грунтов) на объекте изысканий выполняется с целью:
- оценки их современного экологического состояния;
- прогнозной оценки загрязнения почв (грунтов) при проведении работ по рекультивации и ликвидации, а также для разработки мероприятий по их охране;
- выявления участков загрязнения и определения допустимых условий по обращению с загрязненными почвами (грунтами) в процессе ликвидации объекта накопленного вреда;
- оценки пригодности почв (грунтов) по экологическим условиям для целей ликвидации объекта накопленного вреда.
При исследовании почв (грунтов) количество шурфов определяется исходя из однородности природно-техногенных условий территорий, прилегающих к зоне ликвидации объекта накопленного вреда.
В ходе исследований почв (грунтов) на ликвидируемом объекте в зависимости от исходных характеристик объекта и требуемых послепроектных характеристик согласно специфике намечаемой деятельности и с учетом требований нормативных документов проводятся следующие виды работ:
- санитарно-химические исследования почв (грунтов), включающие оценку их кислотности и засоленности, определение содержания валовых форм тяжелых металлов и металлоидов, нефтепродуктов, бенз(а)пирена и пр.;
- санитарно-эпидемиологические исследования почв (грунтов), включающие методы микробиологического, паразитологического, энтомологического контроля состояния почвы (грунта);
- агрохимический анализ почв (грунтов), включающий определение степени ее обеспеченности основными элементами минерального питания (макро- и микроэлементами), степени насыщения органическим веществом, выявление присутствия токсичных элементов (кадмий, свинец, хром, ртуть, мышьяк, бенз(а)пирен, нефтепродукты), установление гранулометрического состава и пр.;
- оценка специфических характеристик почв (грунтов), включающая определение содержания пестицидов, инсектицидов, высокотоксичных, отравляющих и взрывчатых веществ.
Оценка степени загрязнения почв проводится путем сравнения выявленных концентраций загрязняющих веществ с гигиеническими нормативами и требованиями к обеспечению безопасности и (или) безвредности для человека факторов среды обитания, при отсутствии установленного норматива качества окружающей среды (для конкретного загрязняющего вещества) или при определении загрязнения на территориях, не относящихся к территориям с почвами населенных мест и сельскохозяйственных угодий - с концентрациями этого загрязняющего вещества на сопредельной территории аналогичного целевого назначения и вида использования, не испытывающей негативного воздействия от данного вида нарушения.
Оценка природных вод в районе размещения объекта накопленного вреда окружающей среде и разгрузки подземных вод в поверхностный водный объект
Исследования поверхностных водных объектов в зоне влияния объекта при проведении экологических изысканий выполняются с целью:
- оценки их современного экологического состояния и контроля возможных изменений в результате реализации проекта;
- прогнозной оценки загрязнения поверхностных вод при проведении работ по ликвидации и рекультивации, а также для разработки мероприятий по их охране;
- выявления существующих источников загрязнения;
- оценки экологического состояния водоохранных зон.
Под загрязнением вод понимаются вызванные хозяйственной деятельностью изменения качества воды (физических, химических, биологических свойств) по сравнению с ее естественным состоянием, которые делают эту воду частично или полностью непригодной для использования. Для оценки влияния объекта накопленного вреда окружающей среде на состояние поверхностных вод отбирают как минимум 3 пробы: фоновую - выше по течению; контрольную - ниже по течению, в точке сброса сточных вод - в зоне предполагаемого влияния объекта накопленного вреда (организованного, неорганизованного берегового и т.д.), места разгрузки подземных вод с объекта.
При наличии загрязнения поверхностные воды сами становятся агентом переноса и распространения этого загрязнения.
Оценка экологического состояния поверхностных вод включает количественный химический анализ компонентов и определение биологических факторов риска по паразитарным и микробиологическим формам в соответствии с требованиями, установленными санитарными нормами.
Качество поверхностной воды оценивается по нормативам хозяйственно-питьевого и культурно-бытового водопользования, а также по нормативам качества воды водных объектов рыбохозяйственного значения.
Оценка экологического состояния донных отложений
В случае выявления воздействия объекта накопленного вреда окружающей среде на поверхностный водный объект производится отбор проб донных отложений для оценки продолжительности воздействия объекта на природные воды.
Необходимо учитывать вид поверхностного водного объекта - море, река, озеро и др.
Донные отложения являются информативным компонентом, так как представляют собой наносы и твердые частицы, образовавшиеся и осевшие на дно в результате внутриводоемных процессов, в которых участвуют вещества как естественного, так и антропогенного происхождения. Аккумулируя загрязнители, поступающие с различных водосборов в течение длительного временного периода, донные осадки являются индикатором экологического состояния территории, своеобразным интегральным показателем уровня загрязненности.
Оценка экологического состояния донных отложений включает количественный химический анализ специфических для объекта изысканий компонентов.
Утвержденные экологические нормативы содержания загрязняющих веществ в донных отложениях отсутствуют, поэтому достоверная оценка уровня их загрязнения может быть проведена только на основе сравнительного анализа фактических полученных концентраций токсикантов с данными по фоновым уровням (по фоновой точке отбора донных отложений выше по течению или вдали от береговой линии (море, озеро) при их установлении на основании долговременного мониторинга конкретного водного объекта.
Оценка экологического состояния подземных вод
Опробование подземных вод производится в пределах возможного ореола загрязнения ниже по потоку грунтовых вод от объекта накопленного вреда после желонирования или прокачки скважины (шурфа) и восстановления уровня.
Оценка экологического состояния подземных вод включает количественный химический анализ компонентов и определение биологических факторов риска по паразитарным и микробиологическим формам в соответствии с требованиями, установленными санитарными нормами.
Качество подземной воды оценивается путем сравнения выявленных концентраций загрязняющих веществ с гигиеническими нормативами и требованиями к обеспечению безопасности и (или) безвредности для человека факторов среды обитания и/или путем сравнения выявленных концентраций загрязняющих веществ с содержанием загрязняющих веществ в фоновой скважине, пробуренной вверх по потоку подземных вод за пределами воздействия объекта накопленного вреда окружающей среде.
Оценка экологического состояния атмосферного воздуха
Аналитические измерения содержания примесей в атмосферном воздухе проводятся с использованием аттестованных методик (методов) измерения в соответствии с законодательством Российской Федерации об обеспечении единства измерений. В качестве контролируемых показателей выбирают характерные для исследуемого объекта загрязняющие вещества.
Оценку степени загрязнения атмосферного воздуха проводят путем сравнения полученных концентраций с фоновыми значениями загрязняющих веществ в атмосферном воздухе и с установленными предельно допустимыми концентрациями, согласно санитарным нормам и правилам по обеспечению безопасности и (или) безвредности для человека факторов среды обитания.
При проведении инженерно-экологических изысканий, в особенности при ликвидации объектов размещения и обезвреживания отходов коммунальных, подобных коммунальным на производстве и при предоставлении услуг населению при необходимости осуществляются инструментальные измерения содержания загрязняющих веществ в атмосферном воздухе.
Данные проведенных измерений в дальнейшем будут использоваться при:
- проведении количественной оценки воздействия на атмосферный воздух;
- обосновании необходимости и выборе системы дегазации;
- обосновании необходимости проведения мониторинга загрязняющих веществ в атмосферном воздухе и определения перечня показателей.
Перечень загрязняющих веществ принимается на основе соответствующей методики измерения выбросов, аттестованной в соответствии с законодательством Российской Федерации об обеспечении единства измерений.
Оценка экологического состояния растительного мира
Исследование воздействия объекта на растительный мир проводится на основании маршрутно-рекогносцировочного и маршрутно-полевого обследования местности в два этапа:
- ознакомление с пространственным распределением основных типов растительности и факторов, влияющих на их формирование, а также определение ключевых участков для последующей характеристики фитоценозов;
- изучение разнообразия типов растительности в типичных участках фитобиоценозов с использованием стандартных методов геоботанических исследований.
Оценка состояния растительности на объекте производится путем сравнения состояния его компонентов в границах объекта с состоянием компонентов на прилегающей территории, эталонном участке или с данными, полученными при анализе фондовых, литературных и других материалов.
Оценка экологического состояния животного мира
Исследование воздействия объекта на животный мир проводится на основании фондовых данных и данных литературных источников, а также данных рекогносцировочного обследования.
При рекогносцировочном обследовании проводятся следующие виды работ:
- изучается состав фауны объекта изысканий по типам ландшафтов в зоне воздействия объекта;
- характеризуется состояние популяций функционально значимых видов, которые типичны для данных мест;
- ведутся наблюдения за тропами миграций животных;
- определяются особо значимые виды животных и места их обитания (в том числе виды, подлежащие особой охране).
Оценка потенциальной газопродуктивности отходов
Целевым назначением работ являются оценка газогенерирующих свойств массива накопленных отходов, определение площади газогенерирующего участка объекта и объема выделяемого биогаза. Газогеохимическое состояние грунтов оценивается по содержанию основных компонентов биогаза в грунтовом воздухе (CH4, CO2, H2, O2).
Оценка потенциальной газопродуктивности отходов включает следующие виды работ:
- шпуровая газовая съемка;
- измерение эмиссии биогаза с поверхности объекта;
- измерение эмиссии биогаза из геологических скважин в теле объекта;
- расчет площади свалки, генерирующей биогаз, и объемов биогаза, поступающего в атмосферный воздух.
Для определения объемов биогаза, поступающего в атмосферный воздух, используются методы измерения потока газа, такие как газовые расходомеры и периодический отбор газа с помощью газового шприца для последующего анализа. Для расчета объема также применяются расчетные методы, основанные на удельном выходе газа из субстрата и объеме подаваемого на переработку сырья.
По результатам исследований определяют степень газогеохимической опасности грунтов в соответствии с установленными правилами и нормами.
Исследование и оценка радиационной обстановки
Целью радиационно-экологических работ является изучение существующей радиационной обстановки на обследуемом объекте.
Радиационно-экологические исследования включают в себя:
- поисковую гамма-съемку;
- измерение мощности дозы гамма-излучения.
Пешеходная гамма-съемка территории проводится с целью выявления возможных радиационных аномалий и определения объема дозиметрического контроля при измерениях мощности дозы гамма-излучения. Пешеходные гамма-поиски выполняются с помощью поискового гамма-радиометра при непрерывном наблюдении за показаниями прибора с постоянным прослушиванием скорости счета импульсов в головной телефон и фиксированием замеров по прямолинейным профилям, расстояние между которыми в пределах контура обследованного объекта должно соответствовать требованиям установленных нормативов.
Измерение мощности дозы гамма-излучения проводится в контрольных точках, расположенных равномерно по территории участка, в число контрольных включены также точки с максимальными показаниями поискового радиометра.
Исследование и оценка радиационной обстановки выполняются на основании установленных санитарных норм и правил в сфере радиационной безопасности.
Отбор проб компонента природной среды осуществляется в соответствии с нормативной документацией.
Исследования проб проводят в специализированных аккредитованных лабораториях с использованием аттестованного в установленном порядке оборудования по методикам, прошедшим метрологическую аттестацию [
22,
23,
25].
Методы математического моделирования негативного воздействия и прогноза состояния компонентов природной среды при выполнении ликвидационных мероприятий
Методы математического моделирования негативного воздействия и прогноза состояния компонентов природной среды при выполнении ликвидационных мероприятий включают в себя:
- моделирование миграции токсичных компонентов в почву, подстилающие породы и грунтовые воды;
- моделирование движения потоков воздуха;
- конвективно-турбулентный диффузионный перенос пыли в зоне действия объекта;
- моделирование процессов обтекания поверхности объекта с целью определения объемов промоин, впадин
[26];
- гидрогеологическое моделирование, применяемое как для оценки текущего состояния рассматриваемой территории и установления наиболее значимых путей миграции загрязнителей в гидросферу в рамках инженерно-геологических и инженерно-экологических изысканий, так и для построения прогнозно-сценарного моделирования изменения гидрогеологических и гидрогеохимических характеристик участка при реализации мероприятий по ликвидации объекта накопленного вреда окружающей среде и установления расчетных сроков восстановления территории после завершения предусмотренных проектом ликвидационных мероприятий.
В рамках гидрогеологического моделирования производятся:
- анализ и обобщение материалов гидрогеологических условий исследуемой территории;
- разработка гидрогеологической модели существующих условий и ее калибровка;
- прогнозно-сценарное моделирование изменения гидродинамических и гидрохимических условий в результате реализации альтернативных вариантов технологических решений по ликвидации объекта накопленного вреда окружающей среде.
Материалы гидрогеологического моделирования могут быть использованы для дальнейшей проработки, обоснования, оценки эффективности проектных решений, прогнозирования долгосрочных изменений качества подземных вод и сроков достижения гигиенических нормативов качества подземных вод, определения потенциальных источников риска и мероприятий по их минимизации, а также для обоснования схемы расположения точек мониторинга грунтовых вод в период производства работ по ликвидации накопленного вреда окружающей среде и после их завершения.
2.2.4 Решения, направленные на автоматизацию сбора исходных
и обработки полученных в ходе обследования объекта
накопленного вреда окружающей среде данных
При обследовании и оценке объектов накопленного вреда окружающей среде используются следующие системы автоматизации, учета и управления данными:
- данные публичной кадастровой карты (в том числе сведения о земельных участках, кадастровых кварталах, категории земельных участков, виде разрешенного использования, различные ограничения (водоохранные зоны, подтопление, затопление и т.д.);
- визуальная база данных почв и экосистем
[27];
- Единый государственный реестр почвенных ресурсов России
[28];
- информационная система "Почвенно-географическая база данных России"
[29];
- Государственный водный реестр Российской Федерации
[30];
- Федеральный классификационный
каталог отходов, утвержденный приказом Федеральной службы по надзору в сфере природопользования от 22 мая 2017 года N 242
[31];
- информационные ресурсы Всероссийского научно-исследовательского геологического института им. А.П. Карпинского
[32], в том числе: цифровые каталоги геологических карт; цифровые географические основы; электронные атласы и справочники; ГИС Атлас "Недра России";
- единый фонд геологической информации о недрах
[33];
- реестр открытых данных Федеральной службы по гидрометеорологии и мониторингу окружающей среды
[34], в том числе: информация об опасных гидрометеорологических явлениях погоды; информация о водных и климатических ресурсах на территории Российской Федерации; данные приземных метеорологических наблюдений; информация космического мониторинга; данные об аварийном, экстремально высоком и высоком загрязнении окружающей среды на территории Российской Федерации; аэрологические данные; гидрологические данные;
- реестр открытых данных Министерства природных ресурсов и экологии Российской Федерации
[35], в том числе: характеристики уровня загрязнения атмосферного воздуха в субъектах Российской Федерации; информация об особо ценных видах диких животных и водных биологических ресурсов, которые принадлежат к видам, занесенным в Красную книгу Российской Федерации, и (или) охраняются международными договорами Российской Федерации; информация об объектах животного мира, занесенных в Красную книгу Российской Федерации;
- реестр особо охраняемых природных территорий Российской Федерации
[36];
- базы данных биоразнообразия
[37];
- Красные книги субъектов Российской Федерации
[38];
- реестр инновационных разработок в области инженерно-геологических и инженерно-геотехнических изысканий
[39].
К программным продуктам, используемым для автоматизации сбора исходных сведений и обработки, полученных в ходе обследования объекта накопленного вреда окружающей среде данных, относятся:
- программы для обработки материалов изысканий - программы для автоматизированной обработки данных инженерно-геологических, инженерно-геодезических, инженерно-экологических изысканий, создания графических, табличных и текстовых приложений для выпуска отчетной документации с целью повышения производительности труда. Программы для ведения проекта от рассылки запросов до автоматического создания технического отчета в соответствии с
СП 47.13330.2016 [13];
- программы для выполнения лабораторных исследований - программы для автоматизации процесса проведения лабораторных испытаний, обработки данных, визуализации и создания отчетов;
- программы для осуществления мониторинга - программы для управления и сбора данных с различных сенсоров и инструментов, сохранения этой информации в базы данных, а также визуализации данных и экспорта в различные табличные и графические форматы при экологическом мониторинге.
2.2.5 Решения, направленные на установление зон с особыми
условиями использования территорий в границах расположения
объекта накопленного вреда окружающей среде, и территорий,
имеющих особый правовой режим, который закреплен
в нормативных актах
В соответствии с
Постановлением Правительства Российской Федерации от 23 ноября 2023 года N 1967 "Об утверждении Правил обследования и оценки объектов накопленного вреда окружающей среде" обследование и оценка объектов накопленного вреда включают в себя в том числе уточнение информации о нахождении объекта накопленного вреда в границах Арктической зоны Российской Федерации, на Байкальской природной территории, особо охраняемых природных территорий, а также в границах первой - шестой подзон приаэродромной территории, в границах водоохранной зоны, прибрежной защитной полосы, охранной зоны особо охраняемой природной территории (государственного природного заповедника, национального парка, природного парка, памятника природы), округа санитарной (горно-санитарной) охраны лечебно-оздоровительных местностей, курортов и природных лечебных ресурсов, зоны санитарной охраны источников питьевого и хозяйственно-бытового водоснабжения, рыбохозяйственной заповедной зоны), сведений о наличии на территории объекта накопленного вреда объектов культурного наследия, скотомогильников, полезных ископаемых, опасных производственных объектов, зарегистрированных пожаров и инцидентов.
Сбор, обработка и анализ сведений о зонах с особыми условиями использования территорий в границах расположения объекта накопленного вреда окружающей среде, и территориях, имеющих особый правовой режим, который закреплен в нормативных актах, обеспечиваются согласно
Постановлению Правительства Российской Федерации от 21 декабря 2023 года N 2239 "Об утверждении Правил выявления объектов накопленного вреда окружающей среде", в том числе посредством:
- использования систем (методов) дистанционного наблюдения;
- присутствия на территории объекта накопленного вреда окружающей среде;
- визуального осмотра объекта накопленного вреда окружающей среде;
- применения специальных технических средств, имеющих функции фотосъемки, аудио- и видеозаписи, измерения, иных средств сбора или фиксации информации;
- запроса в органы государственной власти, органы местного самоуправления и организации в порядке межведомственного информационного и иного взаимодействия о предоставлении информации, необходимой в соответствии с
п. 3 ст. 80.1 Федерального закона от 10 января 2002 года N 7-ФЗ "Об охране окружающей среды" для выявления объектов накопленного вреда, а также информации о месте нахождения объекта накопленного вреда в границах Арктической зоны Российской Федерации, на Байкальской природной территории, особо охраняемых природных территорий, а также в границах первой - шестой подзон приаэродромной территории, в границах водоохранной зоны, прибрежной защитной полосы, охранной зоны особо охраняемой природной территории (государственного природного заповедника, национального парка, природного парка, памятника природы), округа санитарной (горно-санитарной) охраны лечебно-оздоровительных местностей, курортов и природных лечебных ресурсов, зоны санитарной охраны источников питьевого и хозяйственно-бытового водоснабжения, рыбохозяйственной заповедной зоны), сведений о наличии на территории объекта накопленного вреда объектов культурного наследия, скотомогильников, полезных ископаемых, опасных производственных объектов, зарегистрированных пожаров и инцидентов;
- запроса из Единого государственного реестра недвижимости выписки об объекте недвижимости, содержащей сведения о праве собственности на объекты накопленного вреда окружающей среде и (или) земельные участки;
- иной информации, полученной в результате выявления объектов накопленного вреда окружающей среде.
2.2.6 Типовые ошибки при обследовании и проектировании
мероприятий по ликвидации объектов накопленного вреда
окружающей среде
Целью настоящего раздела является систематизация основных ошибок, выявленных в ходе анализа реализуемых проектов, а также формирование базы знаний, необходимой для их предупреждения.
К числу типичных ошибок относятся:
- недостаточность или избыточность инженерных изысканий. Ошибки возникают при отсутствии обоснования объема и глубины инженерных изысканий. В ряде случаев это приводит к недостаточности исходных данных для принятия проектных решений, а в других - к избыточным затратам на полевые и лабораторные исследования без прироста качества исходной информации;
- игнорирование скрытых источников загрязнения. При обследовании часто упускаются подземные коммуникации, шламовые накопители, аварийные сбросы и зоны глубинного загрязнения, не выявляемые при поверхностном осмотре, источники потенциального воздействия, расположенные за границами объекта, но потенциально оказывающие воздействие на территорию расположения объекта накопленного вреда окружающей среде. Это приводит к неполноте проектных решений, возникновению вторичного загрязнения и новых рисков уже в ходе ликвидационных работ;
- неполное обследование зданий, сооружений и инженерной инфраструктуры. Отсутствие обследования конструкций, фундаментов, технологических каналов и резервуаров препятствует корректной оценке степени техногенной трансформации территории и приводит к ошибкам в выборе методов ликвидации;
- слабая реконструкция технологической истории объекта. Без анализа производственной специфики, схем технологических потоков, истории аварий и утилизации отходов невозможно корректно установить источники загрязнений, пути миграции и распределения загрязняющих веществ;
- недостаточное использование ретроспективных и дистанционных данных. Игнорирование материалов дистанционного зондирования, архивных спутниковых снимков, топографических карт и актов технического состояния территории ограничивает полноту анализа и приводит к ошибочной оценке масштабов загрязнения;
- отсутствие аудирования и опроса осведомленных сторон. Неиспользование практической информации от бывших сотрудников предприятия, местных жителей и представителей надзорных органов лишает проектировщиков критически важной информации, особенно на объектах с утраченной документацией;
- выбор избыточных или нерелевантных проектных решений. На практике это проявляется в применении сложных и дорогостоящих технологий при наличии более простых и эффективных альтернатив, выборе более трудоемких, менее эффективных и, соответственно, более дорогостоящих решений, не адаптированных к конкретным условиям объекта;
- формальный подход к вариантности проектных решений, что зачастую приводит к сравнению не принципиально разных технологий, а лишь к сравнению с нулевым вариантом незначительных модификаций одной технологии или однотипных технологий (например различия в применяемых материалах, реагентах, конструктивных элементах) без полноценной оценки их экологических, технических, социальных и стоимостных эффектов, что снижает достоверность выбора оптимального варианта;
- недооценка сценарных и рисковых подходов. При отсутствии анализа чувствительности решений к внешним условиям и неопределенности проекты оказываются слабо адаптируемыми к изменяющимся вводным данным или выявленным рискам;
- ошибки в определении границ объекта и параметров, вносимых в ГРОНВОС. В ряде случаев фактические границы загрязнения, площади воздействия и объемы размещенных отходов не соответствуют сведениям, внесенным в ГРОНВОС. Это требует последующей актуализации и может затруднить финансирование и реализацию проекта;
- для объектов ликвидации накопленного вреда окружающей среде - объектов размещения отходов, подобных коммунальным (санкционированных и несанкционированных свалок, полигонов ТКО), определение выбросов загрязняющих веществ часто выполняется расчетным методом на основании действующих расчетных методик для полигонов ТКО, без учета: компонентного состава отходов; морфологического состава отходов; сроков размещения отходов; данных газогеохимических исследований на участке объекта накопленного вреда;
- для объектов ликвидации накопленного вреда окружающей среде - объектов размещения отходов, подобных коммунальным (санкционированных и несанкционированных свалок, полигонов ТКО), отнесение к кодам ФККО отходов, накопленных на объекте, выполняется некорректно;
- при разработке программ производственного экологического контроля и мониторинга объем исследований не обоснован вследствие отсутствия требований к объему исследований в действующих нормативно-правовых актах в данной области.
Системный учет указанных факторов при обследовании и проектировании мероприятий по ликвидации объектов накопленного вреда окружающей среде позволит обеспечить обоснованность решений, повысить эффективность бюджетного финансирования и снизить экологические и социальные риски.
2.3 Технологии, используемые при проведении работ
по ликвидации накопленного вреда окружающей среде,
включая рекультивацию нарушенных земель
Основные технологические решения по ликвидации объектов накопленного вреда окружающей среде, применяемые в Российской Федерации, представлены в
таблице 2.1.
Таблица 2.1
Технологические решения по ликвидации объектов накопленного
вреда окружающей среде, применяемые в Российской Федерации
Вид объекта накопленного вреда окружающей среде | Технологии, методы, способы изоляции и защиты компонентов природной среды от негативного воздействия объекта | Технологии, методы, способы ликвидации объектов накопленного вреда окружающей среде, расположенных на территориях, в акваториях и являющихся объектами капитального строительства и объектами размещения отходов (включая рекультивацию нарушенных земель) |
"in situ" | "ex situ" |
I Объекты размещения и обезвреживания отходов коммунальных, подобных коммунальным на производстве и при предоставлении услуг населению |
- свалки твердых коммунальных отходов (в том числе несанкционированные) | ПФЭ, ПФЗ, НС, ДС, СД | ПР, РМП, ОХЛ, УПЛ, МАМ, КОН, ФИ | ЭКСК, ВЫВ, ПЕР, ОБ |
- полигоны твердых коммунальных отходов | ПФЭ, ПФЗ, НС, ДС, СД | ПР, РМП, СТ, ОХЛ, УПЛ, МАМ, КОН, ФИ, ОЧ | ЭКСК, ВЫВ, ПЕР, ОБ |
II Объекты, являющиеся результатом деятельности по добыче, обогащению и переработке полезных ископаемых |
- отвалы отходов добычи полезных ископаемых | ПФЗ | ПР, МАМ, АК, КОН | ЭКСК, ОБ, ВЫВ |
- хранилища, предназначенные для хранения отходов добычи и/или обогащения полезных ископаемых, кроме отвалов (шламохранилища, хвостохранилища) | ПФЗ, ПФЭ | ПР, ГТС, КОН, МАМ, ОЧ | ЭКСК, ОБ, ВЫВ |
- отработанные участки угольных месторождений | ДС, ПФЗ | Т, ГТС, З, КОН | ОТ, ОБ |
III Объекты, являющиеся результатом деятельности химического производства |
- бесхозяйные объекты капитального строительства, производственные здания/сооружения | ПЫЛ | ОБ, Д | ВЫВ |
- объекты размещения промышленных отходов (пруды-накопители, шламонакопители) | ПФЭ | ПР, ВЫМ, ОТВ, СМ, МАМ | ОТ, ОБ, ФИБ |
- земли, загрязненные химическими соединениями | ПФЗ | МАМ, БМ | ЭКСК, ВЫВ, ОБ |
- земли, загрязненные промышленными отходами (в том числе полигоны промышленных отходов) | ПФЭ | МАМ, БМ, ОБ | ЭКСК, ВЫВ, ОБ |
IV Объекты, являющиеся результатом деятельности предприятий нефтепереработки, нефтехимического производства |
- нефте-, мазутохранилища, пруды-накопители кислых гудронов | ПФЭ | СМ, ОТВ, БМ | ОТ, ОБ, ОБЕЗВ |
- нефтешламовые амбары, нефтебазы | ПФЭ | СМ, ОТВ, БМ | ОТ, ОБ |
- линзы нефтепродуктов | ПФЗ | ВЗ, В, ХО, БМ, Э, ПЭП, МАМ | ОТ, ОБ |
V Объекты, расположенные в акватории водных объектов, участках акваторий |
- затонувшие суда | н/д | Д, Р, СБ, ОЧ | П, Д, Р, ОЧ, К, ВЫВ |
- инженерные сооружения разной степени сложности, используемые для транспортировки жидких и газообразных веществ | н/д | Д, Р, СБ, ОЧ | П, Д, Р, ОЧ, К, ВЫВ |
- донные отложения | н/д | БМ | ЭКСК, ОБ, ОБЕЗВ, ВЫВ |
VI Объекты, являющиеся результатом деятельности агропромышленного комплекса |
- хранилища пестицидов и ядохимикатов | ПФЭ | БМ | ЭКСК, ОТ, ОБ, ИМ, ВЫВ |
- пометохранилища | ПФЭ | БМ, ОЧ | ЭКСК, ОТ, ОБ, ИМ, КОМП, ФЕР, ВЫВ |
- земли, загрязненные пестицидами и ядохимикатами | ПФЭ | БМ | ЭКСК, ОБ, ИМ, ВЫВ |
VII Прочие объекты накопленного вреда окружающей среде |
- объекты размещения и обезвреживания отходов при сборе и обработке сточных вод, вод систем оборотного водоснабжения (хранилища иловых осадков, образующихся в биологических очистных сооружениях) | СД, ПФЭ | н/д | ОТ, ОБ, КОМП, ОБЕЗВ |
- объекты, являющиеся результатом деятельности топливно-энергетической отрасли (отвалы отходов производства электроэнергии и пара - золошлакоотвалы) | ПФЗ, АК | СМ | ЭКСК, ОБ, ВЫВ |
- объекты, являющиеся результатом деятельности целлюлозно-бумажной промышленности | ПФЭ, ДС, СД | ПР, ОТВ, СМ, ФИ, БМ | ЭКСК, ОБ, ВЫВ, КОМП |
- иные объекты накопленного вреда окружающей среде (участок уничтожения химического оружия, объекты, содержащие лом и отходы черных и (или) цветных металлов (в том числе заброшенные здания, металлоконструкции и сооружения), полигон строительных отходов и др.) | н/д | н/д | ЭКСК, ОБ, ВЫВ |
Условные обозначения: ПФЭ - противофильтрационный экран; ПФЗ - противофильтрационная завеса, барьер (в том числе геохимический, биологический); НС - наблюдательная скважина; ДС - дренажная система; СД - система дегазации; ПР - планировочные работы; РМП - рекультивационное многофункциональное покрытие; СТ - стабилизация свалочного тела; ОХЛ - охлаждение отвальной массы; УПЛ - уплотнение; МАМ - мелиоративные агротехнические мероприятия; АК - армогрунтовые конструкции; Т - тампонаж скважин; ГТС - гидротехническое сооружение; З - закачка реагентов; КОН - консервация; ФИ - фиторемедиация; ЭКСК - экскавация; ВЫВ - вывоз; ПЕР - переукладка; ОБ - обезвреживание; ОТ - откачка; ОБЕЗ - обеззараживание; Д - демонтаж; ВЫМ - вымораживание; ОТВ - отверждение; СМ - смешение с инертными материалами и отходами; БМ - биотехнологический метод по внесению микроорганизмов и биопрепаратов; ФИБ - фитобиоремедиация; ВЗ - взрыв; В - вымывание водой; ХО - химическое оксидирование; Э - электрокинетический метод; ПЭП - паровая экстракция почвы; П - подъем; СБ - сбор загрязняющих веществ с поверхности воды; Р - резка; ОЧ - очистка донных отложений, загрязненных вод и фильтрата; К - компактирование; ИМ - иммобилизация; КОМП - компостирование; ФЕР - ферментация; ОБЕЗВ - обезвоживание; ПЫЛ - пылеподавление; н/д - недостаточно данных |
Примечание: на свалках твердых коммунальных отходов (в том числе несанкционированных) небольших площадей, не содержащих опасные отходы, а также в случае наличия естественного гидроизоляционного экрана под свалкой, устройство противофильтрационного экрана и противофильтрационной завесы осуществляется по мере необходимости.
В случае установления на объекте накопленного вреда окружающей среде отходов производства и потребления, в состав которых входят полезные компоненты, должна быть проведена сортировка отходов с целью извлечения полезных компонентов.
Пример выбора обоснования решений при ликвидации накопленного вреда окружающей среде применительно к объектам размещения ТКО и/или промышленных отходов, включенным в государственный реестр объектов накопленного вреда окружающей среде, представлено на
рисунке 2.1.
Рисунок 2.1 - Обоснование решений при ликвидации
накопленного вреда окружающей среде применительно к объектам
размещения ТКО и/или промышленных отходов, включенным
в государственный реестр объектов накопленного вреда
окружающей среде
2.3.1 Технологии, методы, способы изоляции и защиты
компонентов природной среды от негативного
воздействия объекта
Основными направлениями, технологиями, методами, способами изоляции и защиты компонентов природной среды от негативного воздействия объекта являются:
- закрепление пылящей поверхности массива отходов для предотвращения пыления и разноса загрязняющих веществ;
- изоляция массива отходов с целью защиты атмосферного воздуха, грунтовых и поверхностных вод, почвы (устройство защитных экранов и др.);
- защита поверхностных и грунтовых вод, почвы посредством устройства дренажных систем (системы сбора, отвода и обезвреживания (утилизации) фильтрационных, ливневых и талых вод);
- защита атмосферного воздуха посредством устройства систем дегазации (пассивных и активных);
- локализация, сбор и очистка загрязненных грунтовых вод.
Технологии, применяемые для закрепления пылящих поверхностей массива отходов, пылеподавления
Дефляционные процессы на территории хвостохранилищ и отвалов зависят от влажности размещенных отходов, их дисперсного состава и скорости ветра. Для предотвращения дефляционных процессов применяют различные способы закрепления пылящих поверхностей.
К известным способам закрепления пылящих поверхностей относятся
[40]:
- физические;
- физико-химические;
- биологические.
Физические методы
Для ликвидации вредного воздействия пылящих поверхностей искусственных сооружений используется устройство для закрепления пылящих поверхностей хвостохранилищ и отвалов горных пород, содержащее раму и каток, отличающееся тем, что оно снабжено емкостью с трубопроводами и соплами, а также рядами вогнутых дисков, установленных соосно на осях
(рисунок 2.2) [41].
Рисунок 2.2 - Устройство для закрепления пылящих
поверхностей хвостохранилищ и отвалов горных пород:
1 - диски; 2 - каток; 3 - пневматические колеса;
4 - расходная емкость; 5 - подающие трубопроводы;
6 - датчик давления в емкости; 7 - заливное устройство;
8 - гидроцилиндры для перемещения рамы с дисками;
9 - сопла для подачи реагента и для очистки внутренних
поверхностей дисков; 10 - шарнирное соединение оси
дисков-смесителей с рамой; 11 - пластина с отверстиями;
12 - узел креплений трособлочной системы
Для ускорения предотвращения пыления хвостохранилищ до начала биологической рекультивации могут проводить сплошное покрытие поверхности хвостов не пылящим материалом (щебень, глины и др.)
[40].
Физико-химические методы
Технологические решения основаны на нанесении на пылящие поверхности растворов активных химических добавок, латексов, битумных эмульсий для закрепления нестабильных поверхностей.
Для закрепления пылящих поверхностей хвостохранилищ обогатительных фабрик на отвалах горных пород используется метод химической обработки поверхности следующими реагентами:
- продуктами реакции кислоторастворимых алюмосиликатов с фосфорной кислотой или с пульпой сернокислотного разложения фосфорсодержащего сырья
[42];
- водным раствором сульфатного мыла концентрацией 4 - 20 мас. % в количестве 0,5 - 5,0 л/кв. м с последующим засеванием семенами озимой ржи в количестве 6 - 30 г/кв. м, семенами многолетних трав в количестве 1 - 5 г/кв. м обрабатываемой поверхности. После обработки поверхность уплотняется. Образующееся защитное покрытие сохраняется 80 - 102 дня, при этом также образуется мощный растительный покров с наземной корневой биомассой 288 - 315 г/кв. м и корневой биомассой 26 - 33 г/кв. м, который способствует увеличению пылеудерживающих и водопрочностных свойств поверхности
[43];
- раствором хлористого кальция концентрацией 10 - 20%, а затем - серной кислотой 10 - 20-процентной концентрации для борьбы с пылью на хвостохранилищах обогатительных фабрик, содержащих кислоторастворимые алюмосиликаты
[44].
Для снижения пылеобразования при демонтажных работах на объектах накопленного вреда окружающей среде, представляющих собой бесхозяйные объекты капитального строительства, производственные здания/сооружения, могут применяться следующие методы пылеподавления:
- системы водяного или реагентного орошения. Ручные установки или автоматизированные пылеподавляющие пушки распыляют тонкодисперсную водяную или реагентную взвесь непосредственно в зону разрушения конструкций. Вода или реагент (химический раствор) мгновенно связывает пылевые частицы, препятствуя их подъему в воздух;
- пылеулавливающие фильтры, встроенные в вентиляционные и вытяжные системы. Особенно актуальны при внутреннем демонтаже, когда работы ведутся в замкнутом пространстве. В этом случае необходимо создать избыточное давление чистого воздуха в соседних помещениях, чтобы исключить проникновение загрязнений;
- промышленные пылесосы высокой мощности. Позволяют в реальном времени забирать пыль непосредственно с точки разрушения конструкций
[45].
Так, например, при проведении работ по сносу и демонтажу зданий и сооружений на одном из объектов накопленного вреда окружающей среде применяются мероприятия по мокрому пылеподавлению, предотвращающие возможные увеличения концентрации взвешенных веществ, ртути в атмосферном воздухе
[46].
Биологические методы
Технологические решения основаны на создании растительного покрова для снижения или полного устранения дефляционных процессов, а также для восстановления фито-, зоо- и микробоценозов; усиления газовой и фотосинтетической деятельности; роста биологической массы и видового разнообразия на нарушенных территориях.
Применение биологических методов на объектах накопленного вреда окружающей среде должно быть обосновано, учитывать географические климатические характеристики района размещения объекта, а также виды загрязнения (перечень и концентрации загрязняющих веществ), для которых метод не утратит эффективности.
Один из способов рекультивации хвостохранилищ заключается в поэтапном процессе укладки субстрата, состоящего из цеолитсодержащей глины и торфа, модифицированных минеральной сероводородной водой, и дальнейшего высева амаранта, однолетних бобовых трав, рыжика озимого
[47].
Для захоронения отработанных хвостохранилищ калийного производства известен способ повышения эффективности покрытия за счет повышения надежности закрепления защитного и растительного грунтов
[48]. Для этого на хвостохранилище формируют наклонную поверхность и укладывают на нее рассолонепроницаемый экран из полиэтиленовой пленки
(рисунок 2.3).
Рисунок 2.3 - Покрытие отходов калийного производства
в плане: 1 - слой защитного грунта; 2 - слой растительного
грунта; 3 - наклонное основание; 4 - пленочный
перфорированный материал; 5 - полотнища пленочного
перфорированного материала; 6 - края полотнищ
пленочного перфорированного материала; 7 - отверстия;
8 - корневая система; 9 - растительность; 10 - каналы;
11 - дренируемый материал; 12 - отходы
калийного производства
На поверхности экрана отсыпают защитный растительный грунт. Причем отсыпку слоя защитного грунта ведут с формированием в слое в шахматном порядке упорных призм в виде охваченной перфорированным полотнищем части защитного грунта. Края перфорированного полотнища скрепляют с рассолонепроницаемым экраном. При этом на наклонном гладком пленочном основании образуются островки грунта, которые препятствуют смещению (сползанию) остальной части грунта, находящейся между ними. Отверстия перфорированного полотнища не препятствуют фильтрации влаги и обеспечивают закрепление растительного слоя грунта на наклонном основании за счет прорастания через них корневой системы растительности.
Технологии, применяемые для изоляции массива отходов с целью защиты компонентов природной среды
Для изоляции массива отходов с целью защиты компонентов природной среды применяются противофильтрационные устройства.
Технические решения используются для полного прекращения поступления загрязняющих веществ из массива отходов в окружающую среду. Противофильтрационные устройства предназначены для предотвращения негативного воздействия отходов на подземные воды, почвы, атмосферный воздух и недра путем предотвращения прямого контакта отходов и подземных вод и исключения фильтрации жидкой фазы из объекта накопленного вреда окружающей среде вместе с растворенными в ней токсичными веществами.
Для обоснования устройства противофильтрационного экрана в основании массива отходов необходимо учитывать фильтрационные свойства грунтов основания, степень водонасыщения, мощность водоупора, влажность отходов, фракционный состав отходов, мощность свалочного тела, степень воздействия объекта ликвидации на все компоненты природной среды.
Необходимо обосновать экономическую целесообразность применяемых технологий с учетом оценки негативного воздействия на окружающую среду.
Установка противофильтрационных устройств в основании массива отходов требует выемки и переукладки массива отходов.
При ликвидации объектов накопленного вреда окружающей среде (свалок и полигонов твердых коммунальных отходов) в соответствии с
СП 320.1325800.2017 [14] применяются технологические решения по формированию многослойного многофункционального покрытия, выполняющего следующие функции
[49]:
- изоляция массива отходов от инфильтрации атмосферных осадков;
- защита свалочного тела от всех видов эрозии (ветровой, водной эрозии);
- компенсация просадок свалочного грунта;
- предотвращение бесконтрольных выбросов биогаза и летучих соединений в атмосферный воздух;
- создание искусственных форм рельефа, соответствующих выбранному направлению рекультивации;
- формирование в границах свалочного тела устойчивого растительного покрова.
Многослойное многофункциональное покрытие включает в себя следующие слои (снизу вверх):
- газодренажный выравнивающий слой. Кроме выравнивания поверхности слой выполняет функцию элемента системы дегазации - пластового дренажа. Выполняется из несвязных пористых грунтов (песок, ПГС);
- удерживающий защитный слой. Служит для повышения устойчивости грунтовых откосов, для разделения грунтовых слоев различного фракционного состава. Выполняется из синтетического нетканого материала;
- гидроизолирующий слой. Функциональное назначение слоя - изоляция отходов от проникновения атмосферных осадков и предотвращение неконтролируемой эмиссии биогаза. Выполняется из различных материалов: синтетических (синтетической геомембраны, пленки ПНД); минеральных (глина, суглинок); комбинированных (бентонитовые маты);
- вододренажный слой. Функциональное назначение - отведение фильтрующихся атмосферных осадков и талых вод по гидроизолирующему слою вниз по склону. Выполняется из песка;
- рекультивационный буферный слой - выполняется из любых незагрязненных местных грунтов. Функциональное назначение - сглаживание поверхности свалочного тела при неравномерных просадках, противоэрозионная защита, обеспечение жизненного пространства для развития корневой системы травянистой и в дальнейшем древесно-кустарниковой растительности на рекультивированной территории;
- слой плодородных грунтов для формирования почвенного покрова - выполняется из специально подготовленных плодородных грунтов. Функциональное назначение - обеспечение условий для произрастания сеяных трав, задернения рекультивированной площади с целью придания поверхности эрозионной устойчивости и улучшения качества ландшафта.
Верхние защитные экраны в зависимости от материала могут быть минеральными, синтетическими и комбинированными.
Пример минерального защитного экрана представлен на
рисунке 2.4.
Рисунок 2.4 - Защитный экран поверхности полигона ТКО
с использованием естественных минеральных грунтов
При ликвидации шламонакопителей химических отходов применяются различные конструкции защитных экранов [
50 -
52]. Пример комбинированного многослойного защитного экрана поверхности, состоящего из выравнивающего, изолирующего и противоэрозионного слоев, представлен на
рисунке 2.5.
Рисунок 2.5 - Проектируемая конструкция защитного экрана
шламонакопителя ("Белое море")
[15]
На объектах накопленного вреда окружающей среде, представляющих собой хвостохранилища [
52 -
53], применяется следующая конструкция защитного экрана:
- защитный слой: геотекстиль;
- противоэрозионный слой: объемная георешетка с заполнением щебнем;
- промежуточный слой: геотекстиль;
- выравнивающий слой: песчано-гравийная смесь природная;
- гидроизоляционный слой: бентонитовые маты, геомембрана;
- защитный слой: песчано-гравийная смесь природная;
- рекультивационный слой: щебенистый грунт.
На объектах накопленного вреда окружающей среде, представляющих собой короотвалы [
52,
54], применяется следующая конструкция защитного экрана:
Дренажный слой:
- дренажный геокомпозитный материал;
- слой из грунта (супесь) мощностью 0,4 м.
Гидроизоляционный слой:
- бентонитовый мат;
- геомембрана.
Дренажный слой:
- слой из грунта (супесь) мощностью 0,4 м;
- дренажный геокомпозитный материал.
Рекультивационный слой:
- плодородный грунт мощностью 0,2 м.
Технологии устройства противофильтрационных экранов, верхних изоляционных покрытий и противофильтрационных завес подробно описаны в
ИТС 17-2021 "Размещение отходов производства и потребления"
[55].
Технологии, применяемые для устройства дренажных систем с целью защиты компонентов природной среды
Дренажные системы используются для отвода и сбора поверхностных и фильтрационных вод при выполнении работ по рекультивации с целью защиты почвы, грунтовых и поверхностных вод от загрязняющих веществ, находящихся на объекте накопленного вреда окружающей среде.
Организация отвода, сбора и обезвреживания поверхностных (ливневых и паводковых), а также фильтрационных вод позволяет исключить попадание загрязняющих веществ, находящихся на объекте, за пределы массива отходов.
Для отвода и сбора поверхностных и фильтрационных вод при рекультивации полигонов твердых коммунальных отходов используются дренажные системы различных типов
[49]:
- выполненные в виде дренирующего слоя, расположенного над изолирующими слоями противофильтрационного экрана, - пластовый дренаж;
- выполненные из дренажных перфорированных и неперфорированных труб, укладываемых в дренирующем слое, - линейный дренаж;
- выполненные в виде водоотводных канав по внутреннему периметру объекта размещения отходов;
- выполненные в виде лучевого дренажа для сбора и откачки фильтрата из свалочного тела;
- выполненные в виде дренажного слоя и устройства водосборных лотков в верхнем защитном экране посредством формирования необходимого угла уклона при планировке свалочного тела
[14].
Технологические решения и наилучшие доступные технологии обращения с фильтрационными, дренажными, ливневыми водами подробно описаны в справочнике НДТ
ИТС 17-2024 "Размещение отходов производства и потребления"
[55].
Пример устройства кольцевой дренажной системы при ликвидации несанкционированной свалки путем преобразования ее в полигон твердых коммунальных отходов представлен на
рисунке 2.6. По периметру свалочного тела осуществляют кольцевой дренаж открытого типа, включающий гидроизоляцию дна, внешнего склона и нижней части внутреннего склона дренажной траншеи, которую в точке с самой нижней отметкой дна сообщают с водосборным колодцем, соединенным с накопительной емкостью станции водоочистки.
Рисунок 2.6 - Конструкция полигона ТКО, реконструированного
из несанкционированной свалки [
56 -
57]: 1 - свалочное тело;
2 - кольцевой дренаж открытого типа; 3 - гидроизоляция;
4 - дно дренажной траншеи; 5 - внешний склон дренажной
траншеи; 6 - нижняя часть внутреннего склона дренажной
траншеи; 7 - дренажная траншея; 8 - место соединения
дренажной траншеи с водосборным колодцем;
9 - водосборный колодец; 10 - накопительная емкость;
11 - станция водоочистки; 12 - основание полигона;
13 - строение полигона; 14 - верхняя часть внутренней стенки
дренажной траншеи; 15 - горизонтальная скважина;
16 - перфорированный трубопровод; 17 - насыпной грунт
На
рисунке 2.7 показана система улавливания токсичных стоков на вечномерзлых грунтах, включающая фильтрующую дамбу и трубчатый дренаж, дренажно-пригрузочную призму, расположенную в нижней части дамбы со стороны ее низовой грани, водонепроницаемый экран, размещенный на дренажно-пригрузочной призме, зуб из водопроницаемого материала, расположенный под дренажно-пригрузочной призмой и соединенный верхней частью с водонепроницаемым экраном, а нижней частью с зоной вечной мерзлоты, пруд-накопитель, расположенный от зуба на расстоянии не менее удвоенной мощности многолетнемерзлых пород и выполненный с дном из слоев водонепроницаемого материала с расположенными между ними слоями теплоизоляции.
Рисунок 2.7 - Система улавливания стоков из хвостохранилищ
на вечномерзлых грунтах:
1 - хвостохранилище; 2 - дамба хвостохранилища;
3 - депрессионная кривая;
4 - трубопровод оборотной воды; 5 - насос;
6 - дренажно-пригрузочная призма;
7 - дренажная труба; 8 - экран из водонепроницаемого
материала; 9 - зуб; 10 - насос пруда-накопителя;
11 - пруд-накопитель; 12 - дамба пруда-накопителя
из водонепроницаемого материала; 13 - граница
многолетнемерзлых пород (ММП)
[58]
С целью сбора фильтрата, аккумулированного в теле короотвала, известно решение, предусматривающее устройство кольцевой системы сбора фильтрационных вод [
52,
54].
Технологии, применяемые для устройства систем дегазации с целью защиты атмосферного воздуха
Технические решения используются для защиты атмосферного воздуха от биогаза, образующегося в массиве полигонов ТКО, а также устранения риска взрыво- и пожароопасности. Система дегазации организуется для контролируемого удаления биогаза из массива отходов, предотвращения эмиссии свалочного газа в атмосферный воздух, утилизации биогаза путем производства тепловой и электрической энергии
[59].
При ликвидации объекта размещения и обезвреживания отходов коммунальных, подобных коммунальным, на месте инженерные системы газоотвода интегрируются в сформированное тело ликвидируемого объекта. Такие системы применимы на сформированных полигонах и позволяют организовать газоотвод практически на любой стадии жизненного цикла полигона. Конструктивное исполнение вертикальных газоотводных шахт, как правило, представляет собой перфорированную трубу из стойкого к агрессивным средам материала, помещенного в шахту, заполненную щебнем или гравием.
Принципиальная схема выбора системы дегазации приведена на
рисунке 2.8.
Рисунок 2.8 - Система дегазации: обоснование и выбор
Системы дегазации делятся на:
- пассивные;
- активные.
Выбор системы дегазации производится исходя из емкости ликвидируемого объекта (массе/объеме размещенных на объекте отходов) и значения минимального расчетного метанового потенциала, куб. м/час [
60,
61].
Пассивная дегазация реализуется посредством:
- устройства газовых скважин - для сбора и рассеивания биогаза в атмосферном воздухе без очистки [
52,
62];
- биофильтров - для сбора и очистки биогаза метанотрофными микроорганизмами. Примером конструкции биофильтра, принятого проектными решениями при рекультивации полигона ТКО [
52,
63] является биофильтр съемной конструкции цилиндрической формы высотой 1 м. Порядок укладки сорбционных слоев и их объемное соотношение следующее: щепа, опил, скоп и кора - 1:1:2:1. В основание биофильтра засыпается слой гравия толщиной 5,0 см. На поверхность биофильтра добавляются специфические группы микроорганизмов (метанокисляющие, нитрифицирующие, сульфатокисляющие бактерии) и простейших (инфузории, коловратки). Режим работы биофильтра до смены загрузки составляет 45 - 50 суток. Работа биофильтров осуществляется строго в условиях положительных температур окружающей среды.
Системы сбора биогаза, основывающиеся на активных процессах дегазации, включают в себя устройства, создающие градиент давления (компрессоры, вентиляторы), экстракционные скважины и горизонтальную систему сбора биогаза.
Активная дегазация реализуется посредством:
- установки по сбору и рассеиванию свалочного газа в атмосферном воздухе через высотную трубу [
52,
64];
- системы бесфакельного обезвреживания (сжигания) биогаза. Известна технология обезвреживания биогаза на объекте накопленного вреда окружающей среде, предусматривающая технологический комплекс, состоящий из 3-х технологических модулей закрытого бесфакельного обезвреживания горючих газов. Комплекс предназначен для сжигания биологического газа с теплотворной способностью 23000 - 26000 кДж/м
3 по заданному температурному режиму с избытком атмосферного воздуха [
52,
65];
- газосжигательные установки факельного типа. Одним из наиболее простых способов обезвреживания свалочного газа является также сжигание на факелах
[66]. Высокотемпературное окисление в основном используется для сжигания горючих компонентов некондиционных газовых в открытом пламени. Факельные установки открытого типа для сжигания подробно рассмотрены в
разделе 2.9.6 "Факельные установки" информационно-технического справочника по наилучшим доступным технологиям ИТС 29-2017 "Добыча природного газа", утвержденного приказом Росстандарта от 15 декабря 2017 года N 2844
[67].
Выбор системы сбора и утилизации биогаза на эксплуатируемом полигоне твердых коммунальных отходов зависит от количества размещенных ТКО и возраста полигона
[14].
Системы обустройства для обращения с биогазом на объектах размещения и обезвреживания отходов коммунальных, подобных коммунальным на производстве и при предоставлении услуг населению подробно описаны в справочнике НДТ
ИТС 17-2024 "Размещение отходов производства и потребления"
[55].
Монтаж установок пассивной дегазации на короотвалах позволяет сократить выбросы загрязняющих веществ в атмосферный воздух, а также предотвращает самовозгорание [
52,
54].
Технологии, применяемые для локализации и обезвреживания загрязнения грунтовых вод
Технологии водопонижения грунтовых вод
Для понижения уровня грунтовых вод с целью обеспечения безопасных условий для ликвидационных работ и предотвращения нежелательных последствий, связанных с повышенным уровнем грунтовых вод, таких как подтопление и повреждение конструкций, используют следующие методы водопонижения
[68]:
1. Обезвоживание путем откачки из глубокой скважины.
Это надежный, простой, дешевый и наиболее эффективный метод обезвоживания. Метод подходит для грунтов с проницаемостью от умеренной (например, пески) до высокой (например, гравий), что делает его универсальным.
При использовании технологии обезвоживания путем откачки из глубокой скважины пробуривают водоотливные скважины с использованием обсадной трубы с отверстиями, в трубу погружают насос для откачивания воды. При откачке воды из глубокой скважины образуется гидравлический градиент, и вода стекает в скважину, образуя конус депрессии вокруг скважины, в котором в поровых пространствах окружающего грунта практически не остается воды.
Этот метод хорошо работает для большинства грунтов и горных пород (может применяться в грубозернистых грунтах с хорошей градацией или в твердых трещиноватых породах).
2. Горизонтальный дренаж.
Горизонтальный дренаж грунтовых вод - это система каналов, траншей, труб, лотков, расположенных в одной плоскости, которая собирает и отводит поверхностные и грунтовые воды с участка для предотвращения переувлажнения, разрушения конструкций. Любая дренажная система включает в себя три основные части - собирающую, отводящую и приемную. Горизонтальные системы значительно преобладают над вертикальными и используются как на больших, так и на незначительных площадях. Система дренажа может быть открытой (канавы) или закрытой (перфорированные трубы с фильтрующей обсыпкой), а сбор воды происходит за счет уклона и гравитации, направляя ее в дренажные или водосборные колодцы для дальнейшего отвода или использования.
3. Эжекторное водопонижение.
Эжекторные иглофильтровые установки - особая разновидность систем водопонижения, которые используют эжектор для создания разрежения и откачки воды из грунта. Эжектор - это устройство, которое использует поток жидкости, проходящий через сопло, для создания разрежения в рабочей зоне. Это разрежение позволяет притягивать воду из грунта и перенаправлять ее в систему откачки. Преимущество эжекторных иглофильтровых установок заключается в их высокой производительности и способности работать с большими объемами воды.
Технологии, применяемые при изливе шахтных вод
Для защиты компонентов природной среды от негативного воздействия шахтных вод отработанных угольных месторождений применяется ряд технических решений, направленных на ликвидацию изливов шахтных вод. Для примера приводятся технологические решения, реализуемые на территории Кизеловского угольного бассейна
[69]:
- возведение перемычек в горных выработках;
- обваловка изливов на высоту выше максимального напора шахтных вод;
- объединение нескольких изливов с созданием централизованного выпуска;
- отвод поверхностных вод (ливневых, паводковых) нагорными канавами, водопонижение или откачка подземных вод;
- создание каскада прудов с щелочным реагентом для нейтрализации шахтных вод;
- понижение уровня шахтных вод;
- закачка щелочного реагента в выработанное пространство
(рисунок 2.11).
Рисунок 2.9 - Ликвидационное тампонирование скважин:
а - полный тампонаж; б - засыпка зоны водоносного горизонта;
в - с обрушением ствола скважины в зоне водоносного
горизонта; 1 - ствол скважины; 2 - горизонт шахтных вод;
3 - цементный расход; 4 - сыпучий материал; 5 - доломитовая
крошка или гравий; 6 - глинистый раствор;
7 - воронка обрушения
Рисунок 2.10 - Схема отвода и очистки шахтных вод
Рисунок 2.11 - Закачка щелочного раствора
в выработанное пространство
Метод геохимических барьеров и метод Funnel & Gate
В случаях загрязнения грунтовых вод со значительным распространением и с четко разделенными водоносными пластами для предотвращения опасности путем разложения или извлечения растворенных загрязнений в реактивных стенах применяются метод геохимических барьеров и метод Funnel & Gate (проницаемых химически активных барьеров)
(рисунок 2.12).
Рисунок 2.12 - Схема реализации технологии
геохимических барьеров и метода Funnel & Gate
Метод применяется при достаточно высокой скорости потока грунтовых вод, достаточном коэффициенте фильтрации грунта, отсутствии ограничений во времени.
Основная суть данного метода защиты заключается в том, что с помощью геохимического барьера осуществляется перевод загрязняющих компонентов в малоподвижные формы с целью снижения их концентраций в природных водах после прохождения барьера до допустимых уровней, при этом подвижность, активность и токсичность загрязнителей также сокращаются.
Метод геохимических барьеров и метод Funnel & Gate включает:
- санацию грунтовых вод после прохождения ими очага загрязнения путем пропускания через "реакторы", помещаемые в потоке;
- использование карбонилов, то есть соединений, в которых железо формально проявляет степень окисления 0 для дегалогенирования хлорированных углеводородов;
- использование активированного угля или других сорбентов для адсорбции загрязнений;
- микробиологическая очистка шахтных вод от стойких органических соединений.
Примером геохимического барьера может служить противомиграционная завеса высокой проницаемости, исключающая распространение загрязнений с грунтовыми водами и обеспечивающая их очистку за счет перехвата загрязняющих веществ.
Основное назначение противомиграционной завесы высокой проницаемости:
- локализация основных источников загрязнения на рассматриваемой территории путем создания вертикальных геохимических барьеров;
- предотвращение выноса загрязняющих веществ с грунтовой водой в соответствии с данными гидрогеологического моделирования;
- обеспечение защиты поверхностных водных объектов, в которые осуществляется разгрузка грунтовых вод;
- обеспечение постепенного очищения грунтов территории объекта в результате сорбции вымываемых загрязнителей;
- обеспечение защиты недр от загрязнения.
Эффективность работы завесы может подтверждаться регулярными данными гидрогеологического мониторинга.
Противомиграционная завеса представляет собой стену из реактивного материала, которая располагается на пути потока загрязненных подземных вод. Загрязненные подземные воды фильтруются через завесу (реактивная стена) под действием естественного градиента
(рисунок 2.13).
Рисунок 2.13 - Схематичное изображение
противомиграционной завесы
Процесс создания реактивных стен включает:
- создание котлована, в случае необходимости - с применением специальных технологий подземного строительства;
- внесение реактивного материала.
Расчетная глубина завесы определяется как технологическими особенностями проведения строительно-монтажных работ, так и положением в разрезе зоны интенсивного водообмена, где в балансовом отношении проходит большая часть загрязненного объема подземных вод с территории проектируемого объекта, что позволит сорбировать основную массу загрязняющих веществ.
В качестве реактивного материала может быть использован песчано-гелевый материал на основе щавелево-алюмосиликатного гелеобразующего компонента, обладающего высокой сорбционной способностью в отношении тяжелых металлов и радионуклидов
[70].
Процесс создания противофильтрационной стены с технологией Funnel & Gate включает:
- установку классической вертикальной противофильтрационной стены, как, например, шпунтовая стенка, однофазовая глухая стена и т.п. так, что ведущие стенки образуют воронку;
- внесение реагента, как в случае с "реактивной стеной" в области одного или нескольких окон
[24].
Пример использования щелочных геохимических барьеров для очистки стоков кислых вод с отвалов, образующихся при добыче и переработке угля, представлен на
рисунке 2.14.
Рисунок 2.14 - Геохимический барьер для очистки стоков
Биологический барьер
Технология биологического барьера (метод стимулированного биоразложения) заключается в подаче питательных веществ и питательных солей в водоносный поток через галереи скважин/инъекционные трубки для стимуляции микробиологического разложения с целью предотвращения распространения загрязнений после прохода через биологический барьер.
Метод включает различные пассивные процедуры микробиологической санации, в первую очередь для обработки загрязнений грунтовых вод после прохождения очага загрязнения для прекращения дальнейшего распространения загрязнений с грунтовой водой. Реализуется путем оптимизации микробиологических процессов разложения с помощью создания одной или нескольких галерей скважин в оттекающем потоке загрязненных грунтовых вод (
рисунки 2.15,
2.16)
[24].
Рисунок 2.15 - Стимулированное одностадийное биоразложение
Рисунок 2.16 - Стимулированное двухстадийное биоразложение
Метод разрезных стенок
Метод используется для обеспечения безопасности с помощью закапсулирования загрязнений, мест складирования отходов и полигонов для предотвращения попадания загрязнений в грунтовые воды. Включает создание вертикальной стены низкой проницаемости, преимущественно с установкой в естественные гидравлические барьеры
(рисунок 2.17). Чаще всего связан с гидравлическими мероприятиями для создания гидравлических градиентов при "камерном хозяйствовании".
Рисунок 2.17 - Схема реализации технологии разрезных стенок
Метод применяется для загрязненных участков, большая часть захороненных веществ которых или загрязненная почва находятся в грунтовых водах; имеется загрязнение грунтовых вод. Метод эффективен только в случае большой области распространения загрязнений с глубиной в пределах 30 - 40 м. Применяемы почти все меры, ограничение при высокой доле содержания органики (гуминовые кислоты) и солей ввиду их влияния на процесс связывания. В результате обработки грунтовых вод в рамках изоляции создается инверсивный гидравлический перепад.
Технология применима для всех грунтов и всех загрязнений.
Для реализации технологии необходимо наличие водоносного потока на доступной глубине для установки основания герметичной стены, по возможности отсутствие в грунтах мешающих блоков и валунов.
Технология включает производство классической разрезной стенки с помощью фрезы или грейфера. Также в зависимости от грунта, потенциала загрязнений и рисков возможно применение трех типов герметичных стен:
- однофазная стена: масса герметичной стенки (бентонитовая суспензия) остается в разрезе и затвердевает сама;
- двухфазная герметичная стена: как стена раздела из монолитного бетона, встройка раздела с бентонитовой суспензией и обмен массы герметичной стены (земляной бетон) способом "контрактор";
- комбинированная стена: однофазная или двухфазная с установленной стальной шпунтовой стенкой или синтетическим гидроизоляционным материалом.
Массы герметичной стены должны иметь минимальную проницаемость. Обязательно требуется проведение проверок на годность различных масс герметичной стены с оригинальными проникающими водами. Возможны ограничения при высоком содержании в грунте гуминовых кислот
[24].
2.3.2 Технологии, методы, способы ликвидации объектов
накопленного вреда окружающей среде, являющихся объектами
капитального строительства и объектами размещения отходов,
включая рекультивацию нарушенных земель
2.3.2.1 Технологии, технологические решения, методы, способы
ликвидации объекта накопленного вреда "in situ"
Технологии, способы ликвидации объектов накопленного вреда окружающей среде, основанные на физических методах
Физические методы ликвидации объектов накопленного вреда окружающей среде (планировочные (земляные) работы, работы по оптимизации и стабилизации массива отходов, технологии, основанные на смешении с инертными материалами) применяются достаточно широко. В основном они используются в качестве вспомогательных и предварительных мер при ликвидации объектов накопленного вреда окружающей среде
[15].
Для сокращения негативного влияния объектов, являющихся результатом деятельности по добыче, обогащению и переработке полезных ископаемых, на окружающую среду и сохранения ресурсного потенциала отходов используется технология консервации. Известно техническое решение по консервации крупнотоннажных отходов угледобычи в виде террикоников
[73], позволяющее сохранить ресурсный потенциал террикоников за счет предотвращения их контакта с агрессивными природными факторами, которые приводят не только к физическим потерям массы пород террикоников в результате ветровой и водной эрозии, но и к снижению важных потребительских свойств их компонентов в результате трансформации под воздействием негативных физико-химических и биохимических процессов, инициированных проникновением воды, кислорода воздуха и микроорганизмов в тело террикоников.
Технологии, методы, способы проведения планировочных (земляных) работ
Планировочные работы используются для выравнивания поверхности нарушенных земель, рельефа, выполаживания откосов, отвалов и бортов карьера в соответствии с последующим использованием
[74], а также для снижения риска возникновения деформационных процессов, включая сплошную, грубую, чистовую планировку поверхности.
При ликвидации объекта накопленного вреда окружающей среде осуществляется его выполаживание (планировка). Выполаживание производится сверху вниз путем перемещения грунта с верхней на нижнюю бровку отвала либо путем подсыпки
[75].
Планировочные (земляные) работы выполняются с использованием экскаваторов, бульдозеров, скреперов.
Технологии, способы, методы оптимизации и стабилизации массива отходов
Используются для оптимизации места и площади расположения, плотности, устойчивости к внешним воздействиям массива отходов.
Технологии размещения, уплотнения, обеспечения стабильности массива отходов подробно описаны в справочнике НДТ
ИТС 17-2024 "Размещение отходов производства и потребления"
[55].
Технологии, способы, основанные на включении механизмов самоочищения
К основным технологическим решениям, направленным на включение механизмов самоочищения, относятся: паровая экстракция; вымораживание; вымывание; мелиоративные агротехнические мероприятия: вспашка, рыхление, снегозадержание, террасирование, бороздование, гребневание, землевание.
Методы террасирования, бороздования, гребневания, землевания, используемые при ликвидации объектов накопленного вреда окружающей среде, в том числе на биологическом этапе рекультивации, направлены на повышение устойчивости к внешним воздействиям, оптимизации воздушного и водного режимов и приводят к улучшению физических свойств почвы
[76].
Самоочищение почвы - это естественное избавление от загрязняющих веществ в результате природных физических, биологических и химических процессов в почвах
[77]. К физическим процессам при самоочищении почвы относится миграция загрязняющих веществ как в более глубокие слои, так и эмиссия в атмосферный воздух. К химическим процессам самоочищения можно отнести химические реакции, в результате которых происходит связывание загрязняющих веществ, а также их деградация до более безопасных соединений. К биологическим процессам самоочищения относится деятельность почвенной биоты, прежде всего - микроорганизмов, разрушающих органические загрязняющие вещества до более безопасных соединений и неорганических веществ, а также иммобилизация в организме.
Агротехнические мероприятия, такие как террасирование, бороздование, гребневание, землевание, влияют на изменение водного, воздушного, температурного режимов почвы, благотворно влияют на биоту и позволяют интенсифицировать процесс самоочищения почвы.
Террасирование склоновых земель заключается в создании техническими средствами на склонах ступенчатого профиля в виде системы последовательно расположенных ступеней, используемых для выращивания сельскохозяйственных культур (и других растений) и повышающих устойчивость склонов против обрушения и оползания, а почвенного покрова - против стоковой эрозии.
С целью уменьшения поверхностного стока, увеличения просачивания воды в почву осуществляется водозадержание путем производства работ почвозащитных фитопосадок и использования мелиоративной агротехники (бороздование, гребневание и др.).
Так, откосы породных отвалов более 10 м формируют по специальным технологиям, реализация которых позволяет оформить контурную часть отвала в виде террас высотой 5 - 7 м, на площадки и откосы которых предлагается также наносить рекультивационный слой мощностью 2,0 м
[78].
В условиях засушливого ветреного климата предлагается отказаться от выполаживания отвалов в пользу создания неровностей рельефа (гребней, западин), ориентированных по направлению преобладающих ветров, для формирования "очагов" почвообразования, за счет скопления в понижениях рельефа частиц мелкозема, образующихся при физическом выветривании породы, а также за счет возможного эолового привноса с прилегающей территории. В указанных выше климатических условиях вклад дефляции в процессы почвообразования относительно выше, чем вклад процессов выветривания
[79].
Для укрепления неустойчивых почвенных массивов на откосах и склонах насыпей, отвалов используются подпорные армогрунтовые конструкции с озеленением поверхностей (система Зеленый Террамеш
(рисунок 2.18), конструкции из фашин, зеленых габионов [
80 -
83]).
Рисунок 2.18 - Схема поперечного профиля насыпи, усиленного
армогрунтовой стеной системы Зеленый Террамеш
Технологии вспашки, рыхления направлены на увеличение контактирующей с воздухом площади поверхности грунта, что приводит к интенсивному выветриванию, испарению и частичному разрушению легких фракций (нефтепродуктов), фотоокисление нефтяных компонентов на загрязненной поверхности грунтовой толщи (почвы), восстановление микробиологических сообществ и развитие нефтеокисляющих организмов, улучшению воздушного и водного режима почвы, а также активирует жизнедеятельность аэробных бактерий
[84].
Паровая экстракция почвы происходит за счет откачки воздуха из вадозной зоны вакуумными насосами. Откачка порового воздуха способствует удалению летучих органических веществ, содержащихся в грунте, из сконструированных определенным образом экстракционных скважин
[85]. Откачанный загрязненный воздух улавливается и очищается в специальном приемнике на поверхности. За рубежом паровая экстракция почвы - одна из наиболее широко используемых технологий, которая имеет множество модификаций. Нагрев, позволяющий значительно повысить летучесть загрязнителей, растворенных в подпочвенных водах и самой почве, можно осуществлять с помощью электромагнитного излучения, пропускания электрического тока сквозь загрязненный участок, закачки горячего воздуха или пара и
т.п. [15].
Электрокинетический метод заключается во вводе электродов в подпочву и подсоединении источника постоянного тока, индуктировании электрического поля, способствующего целенаправленному движению воды из пор почвы и растворенных в ней подвижных загрязнений параллельно с линиями поля за счет процессов электроосмоса, электромиграции.
Технология применяется при загрязнении почв близко к поверхности для среднесрочного уменьшения уровня загрязнений почвы
(рисунок 2.19).
Рисунок 2.19 - Схема реализации технологии, использующей
электрокинетический метод
Технология применима при низком коэффициенте фильтрации грунта и только в том случае, когда исключено наличие в грунте металлических предметов (при создании электрического поля бочки, трубопроводы, бетонные арматуры могут пострадать от коррозии, металлические предметы разрушаются)
[24].
Электрокинетический метод и методы паровой экстракции имеют ряд ограничений и недопустимы к применению на территориях, где сохранилась почвенная биота, включившаяся в переработку загрязнений. Также электрокинетические методы не рекомендуется применять в условиях Арктики, так как их применение связано с риском оттаивания многолетнемерзлых грунтов и увеличением эмиссии парниковых газов.
Отдельную категорию образуют специализированные технологии, такие как обработка загрязняющих веществ/отходов ультразвуком, ультрафиолетовым или рентгеновским излучением, СВЧ или нагретым водяным паром и т.д.
[15].
Технологии, способы, основанные на смешении с инертными материалами
Технологические решения основаны на ликвидации объектов накопленного вреда окружающей среде путем смешения накопленных на объекте отходов с инертными материалами (песок, суглинок, супесь, золошлак, прошедший гидрозолоудаление, и другие подходящие материалы, в том числе техногенного происхождения) в определенных соотношениях спецтехникой [
86 -
88].
Технологии, способы ликвидации объектов накопленного вреда окружающей среде, основанные на термических методах
Многие производственные отходы из-за сложного неоднородного химического состава и разнообразия веществ, относящихся к различным классам, не удается обезвредить полностью механическими, физико-химическими, химическими или биологическими методами. Наиболее распространены как в нашей стране, так и за рубежом термические методы обезвреживания. Методы термического обезвреживания отходов основаны на разложении химических веществ при высоких температурах
[89].
Для применения термических методов при ликвидации накопленного вреда окружающей среде технологии, реализующие данные методы, должны иметь положительное заключение государственной экологической экспертизы.
Известна технология обезвреживания химических и нефтесодержащих отходов на установке, реализуемой в виде двух взаимосвязанных процессов - бескислородного низкотемпературного термолиза и термического обезвреживания в кислородной среде. В комплектность установки входят четыре основных технологических блока: блок извлечения и подготовки отходов; блок низкотемпературного термолиза; блок термического обезвреживания; блок охлаждения и газоочистки.
Камера сжигания термической установки представляет собой барабанную вращающуюся топку, оборудованную камерой загрузки и камерой разгрузки. Образовавшиеся в камере сжигания дымовые газы поступают в камеру дожигания. В камере дожигания парогазовая смесь и дымовые газы обезвреживаются при температуре 1000 °C с добавлением атмосферного воздуха. Далее дымовые газы с температурой 1000 °C поступают на участок охлаждения, химической и механической очистки. Участок охлаждения состоит из полого противоточного форсуночного полусухого скруббера, циклона-пылеуловителя и рукавного фильтра.
Охлажденные, химически и частично механически очищенные дымовые газы поступают на воздушный циклон-пылеуловитель. Для окончательной очистки от частиц пыли, не осевшей в циклоне-пылеуловителе, дымовые газы поступают на блочный рукавный фильтр. Охлажденные до 200 °C и очищенные дымовые газы центробежным вентилятором выбрасываются в дымовую трубу высотой не менее 20 м и далее в атмосферный воздух.
Зольный остаток, полученный в ходе обезвреживания твердых отходов, является материалом, пригодным для использования на техническом этапе рекультивации [
52,
90 -
94].
Технологии, способы ликвидации объектов накопленного вреда окружающей среде, основанные на химических методах
Химические методы ликвидации накопленного ущерба основаны на взаимодействии загрязняющих веществ и вводимых реагентов. В результате химических реакций токсичные загрязнения переходят в нетоксичные соединения или менее токсичные вещества, которые могут быть утилизированы в дальнейшем.
К химическим методам очистки относят следующие группы технологических решений: методы реагентной нейтрализации (стабилизации); окислительно-восстановительные методы
[15].
Технологии, способы, основанные на методах реагентной нейтрализации (стабилизации)
Реагентная нейтрализация (стабилизация) - это химический процесс, в ходе которого загрязняющие вещества переходят в безопасную для окружающей среды форму. Например, при нейтрализации реагентным капсулированием твердые вязкотекучие или жидкие загрязнители под воздействием химически активных реагентов преобразуются в тонкодисперсные порошкообразные твердые продукты. Каждая частица такого продукта представляет собой микрокапсулу, внутри которой находится загрязняющее вещество, покрытое прочной карбонатной водонепроницаемой оболочкой, биологически нейтральной для природной среды
[15].
Распространенными способами ликвидации объектов накопленного вреда окружающей среде является обработка отходов химическими реагентами, способствующими отверждению, литификации, омоноличиванию, капсулированию, гидрофобизации.
В качестве отверждающих составов при ликвидации объектов накопленного вреда окружающей среде используются минеральные вяжущие с активными добавками (окись алюминия, жидкое стекло, хлорид железа), фенолформальдегидные смолы, фосфогипсполугидрат, кристаллический бишофит или карналлит, доломитовая мука, карбамидная смола, лигнин, портландцемент, безводный гипс, зола-уноса, образующаяся при производстве и распределении энергии, и др. [
95 -
98].
Для рекультивации карт-шламонакопителей предприятий по производству целлюлозы известна технология получения золошламлигнинного субстрата. Технология предусматривает нанесение на поверхность карты слоя золы от сжигания углей, нейтрализованной до pH 7,0 - 8,0, в объемном соотношении шлама и золы 1:1 - 2:1
[99].
Примером широко используемых в мировой практике технических решений по отверждению являются технологии экобетонирования и литификации/иммобилизации промышленных отходов. Данные технологии обеспечивают обезвреживание отходов и перевод их в твердое состояние в результате омоноличивания вследствие процессов литификации, предельно снижая миграционную активность токсикантов [
100 -
104].
Технологии, способы, основанные на очистке и обеззараживании промышленных сточных вод и фильтрата
Распространенными способами ликвидации объектов накопленного вреда окружающей среде, содержащих промышленные стоки и жидкие отходы, являются очистка и обезвреживание на локальных очистных сооружениях.
Так, основным способами утилизации фильтрата при рекультивации полигонов ТКО являются:
1) передача (вывоз) специализированными организациями на очистные сооружения;
2) устройство готового комплекса локальных очистных сооружений. При этом очищенный сток направляется в резервуар-накопитель/накопительный пруд и далее используется на объекте для технических нужд, а концентрат фильтрата поступает в накопительную емкость и по мере накопления передается (вывозится) специализированными организациями на утилизацию
[52].
Известна технология очистки и обезвреживания пруда с промышленными водами на территории хвостохранилища [
52 -
53], предусматривающая очистку и обеззараживание сточных вод на установке (комплексе очистных сооружений) "Альфа-7" в контейнерном исполнении по схеме: механическая очистка - известкование - осаждение - обессоливание - накопление очищенной воды, обработка концентрата после обратного осмоса.
Подача воды на очистной комплекс осуществляется от существующей на территории карты с помощью плавучей насосной станции.
После прохождения стадии механической очистки на сетчатом фильтре сточная вода поступает параллельно в два реактора, где обрабатывается Ca(OH)2 или CaO. При известковании происходит удаление практически всех водорастворимых форм металлов, в том числе марганца, меди и цинка. Затем стоки направляются в пруд, который служит отстойником и осветлителем (время отстаивания 24 часа). Осветленный раствор направляется на установку обратного осмоса. Для замедления выпадения осадков на мембране в воду предварительно вводится антискалант для солей жесткости. В процессе очистки воды на установке образуется два потока: пермеат (80%) и концентрат (20%).
Концентрат отводится в реактор на 20-минутную обработку известковым молоком. Далее концентрат самотеком поступает в малый отстойник (время отстаивания 24 часа). Осветленный концентрат по напорному трубопроводу подмешивается в реакторы для дальнейшей обработки.
Из отстойников осадок периодически удаляется и складируется в специально отведенном месте.
Пермеат поступает в накопительную емкость очищенной воды и смешивается с осветленным стоком из отстойника до требуемой концентрации для сброса в водоем.
Условно очищенная вода в технологии применяется для приготовления реагентов и промывки оборудования [
52 -
53].
Одним из технических решений при ликвидации пометохранилищ является обезвреживание стоков на месте с применением комплекса локальных очистных сооружений, в которых производят очистку от органических загрязнений, растворенных в воде микроэлементов с последующим обеззараживанием стоков [
52,
105].
Технологии, способы, основанные на окислительно-восстановительных методах
Окислительно-восстановительные методы являются разновидностью реагентного способа очистки. В их основе лежит способ использования различных соединений для осуществления химических реакций. В качестве окислителей могут быть использованы самые разные вещества, чаще всего - озон, пероксиды, кислоты (азотная, серная, соляная), перманганат калия. В качестве восстановителей применяют реактивы на основе щелочных и щелочноземельных металлов
[15].
Известен метод химического оксидирования, заключающийся в химическом преобразовании токсичных загрязняющих веществ, содержащихся в грунте, в нетоксичные посредством взаимодействия с окисляющим реагентом. В качестве окисляющего реагента используются озон, перекись водорода, хлорная известь и т.п.
[85].
Для ликвидации линз нефтепродуктов используется метод окисления (KMnO
4, H
2O
2) и восстановления (активированное Fe). Метод заключается во введении сильных окислителей в определенных точках в области санации (KMnO
4, H
2O
2, O
3, Na
2S
2O
8), в результате чего происходит химическое окисление загрязнений, например, винилхлорид + KMnO
4 -> CO
2 + KCl + MnO
2 + H
2O или: нефтепродукты + H
2O
2 -> CO
2 + H
2O
(рисунок 2.20).
Рисунок 2.20 - Схема реализации технологии окисления
(KMnO4, H2O2) и восстановления (активированное Fe)
Технология включает:
- насыщенная зона почв: ввод растворенного окислителя через трубы закачки; подачу окислителя с грунтовыми водами, непрерывно или сериями; контролируемую гидравлическую подачу окислителя через колодцы инфильтрации и экстракции, непрерывно;
- ненасыщенная зона почв: прямой ввод окислителя через дренажную систему или через прямую инфильтрацию, в случае необходимости - повтор процедуры
[24].
Технологии, способы ликвидации объектов накопленного вреда окружающей среде, основанные на биологических методах
Технологические решения, основанные на биологических методах, заключаются в снижении негативного воздействия за счет снижения концентраций загрязняющих веществ до безопасных для окружающей среды значений посредством биодеградации
[15].
Применение биологических методов на объектах накопленного вреда окружающей среде должно быть обосновано, учитывать географические климатические характеристики района размещения объекта, а также виды загрязнения (перечень и концентрации загрязняющих веществ), для которых метод не утратит эффективности.
Технологии, способы, основанные на использовании дополнительно внесенных микроорганизмов и биопрепаратов
Технологические решения предусматривают внесение в очищаемую среду или утилизируемые отходы специально отобранных видов микроорганизмов (консорциумов) высокой концентрации. Эти микроорганизмы ранее были выделены из почвы, селекционированы и размножены в форме препарата, готового к применению. Правильный выбор микроорганизмов позволяет с высокой степенью эффективности нейтрализовать угнетающее действие загрязняющих веществ на естественные процессы самоочищения почвы и воды, стимулировать микробиологический метаболизм, активизировать соответствующую аборигенную микрофлору и естественные процессы самоочищения, почвообразования, дыхания
[15].
Применение консорциумов микроорганизмов и биопрепаратов на их основе, способных к разрушению определенного круга загрязнителей, достаточно широко используется на биологическом этапе рекультивации при ликвидации объектов накопленного вреда окружающей среде [
85,
106 -
110].
В практике ликвидации объектов, являющихся результатом деятельности агропромышленного комплекса, можно отметить биотехнологический метод переработки помета эффективными организмами на основе растворов, содержащих частицы кластерного серебра размером 12 нм, с концентрацией 10 000 мкг/мл
[109]. В состав биопрепарата входит специально подобранный консорциум микроорганизмов - деструкторов, модифицированных кластерным серебром. Конечным продуктом такого способа переработки помета является гумусоподобное вещество, которое предлагается использовать в качестве эффективного, а главное, безопасного органического удобрения, которое способно не только повысить урожайность земель, но и применяться для рекультивации загрязненных территорий.
При ликвидации нефтяных загрязнений известен способ внесения в отбеливающую землю добавки, содержащей, кроме биомассы консорциума нефтеокисляющих микроорганизмов Bacillus brevis ИБ ДТ 5-1 и Arthrobacter species ИБ ДТ 5-3, биомассу аэробных азотфиксирующих микроорганизмов Azotobacter vinelandii ИБ 4, вносимой в массовом соотношении 1:1 к консорциуму нефтеокисляющих микроорганизмов
[111], позволяющий активировать процесс биодеградации нефтепродуктов. Также при ликвидации объектов, являющихся результатом деятельности предприятий нефтепереработки, нефтехимического производства, проводят рекультивационные работы с использованием специальных биопрепаратов, таких как "Деворойл", "Путидойл", микробно-ферментный препарат-биодеструктор нефтяных углеводородов Микрозим(tm) ПетроТрит, "Бациспецин" и других, способствующих реактивному развитию нефтеокисляющих бактерий, при этом не исключается возможность использования метода диспергирования на основе ПАВ [
85,
112].
При ликвидации пометохранилищ известна технология обеззараживания обезвоженного куриного помета биопрепаратом Compost-10 на площадке складирования и на дне карт пометохранилища с последующей засыпкой грунтом. Обеззараженный помет частично вывозится на лицензированный полигон ТКО, частично используется для благоустройства площадки рекультивации (для формирования плодородного слоя, посева трав) [
52,
105].
Одним из известных технологических решений рекультивации короотвалов является комплексная технология переработки кородревесных отходов, основанная на глубокой биотехнологической деструкции. Биотехнологическая переработка предполагает использование для ускоренной биодеструкции реакторов открытого типа, монтируемых в тело короотвала [
52,
113].
Реактор представляет собой трубчатую систему с перфорированной наружной стенкой, обеспечивающей массообмен с внешней средой и формирование периферической зоны ускоренной биодеструкции. Во внутреннюю часть реактора с иммобилизованным биокатализатором через систему труб подается раствор с оптимизированной средой, активная смешанная культура микроорганизмов-биодеструкторов и воздух для аэрации. Через перфорированную стенку оптимизированная среда поступает в тело короотвала с радиусом диффузии до 10 м, обеспечивая многократное ускорение биодеструкции и гумификации тела короотвала. Реактор является дешевой легкой коррозионно-стойкой трубчатой конструкцией из уникальных высокопрочных базальтопластиковых композиционных материалов. Глубина переработки кородревесных отходов составляет выше 80%. Степень снижения массы твердой фазы по сухому весу выше 30%. Переработанный материал не является пожароопасным и может быть использован в качестве активного грунта и биоудобрения, а также тампонажного материала и препаратов для нефтеочистки.
Продуктами переработки являются:
- жидкая фаза, которую можно использовать в качестве биоудобрения, при ускоренной переработке - тампонажного материала для нефтедобычи;
- твердая фаза, которую можно использовать в качестве биоудобрения и биогрунта, при ускоренной переработке - биокатализатора для ликвидации нефтяных разливов;
- наноцеллюлоза, фенольные и терпеновые соединения, гуминовые кислоты (малотоннажные продукты);
- при снижении степени аэрации и модификации технологии возможно получение биогаза [
52,
113].
Технологии, способы, основанные на смешении с отходами производства и потребления
Технологические решения основаны на ликвидации объектов накопленного вреда окружающей среде путем смешения накопленных на объекте отходов с отходами производства и потребления, за исключением твердых коммунальных отходов (отходы коры, отходы щепы, отходы золы и шлака, отходы карбоната кальция, осадки сточных вод, шламы химводоочистки теплоэлектроцентралей и др.) в определенных соотношениях спецтехникой [
114 -
117]. Отходы коры, щепы, золы и шлака являются естественным источником органических соединений, минеральных веществ, они повышают плодородие почвы, создают благоприятные условия для развития корневой системы растений. Древесная зола является хорошим калийным и фосфорным удобрением для кислых или нейтральных почв, она не только обогащает почву элементами питания, но и улучшает ее физические свойства, в частности, почвенную структуру, а кроме того, снижает кислотность. Осадки сточных вод содержат в себе азот, необходимый для питания растений. В качестве нейтрализующего агента используются отходы карбоната кальция, шламы химводоочистки теплоэлектроцентралей, позволяющие создать благоприятные окислительно-восстановительные условия для развития устойчивого фитоценоза.
Так, покрытие хвостохранилищ отходами от разработок фельзитовых и вулканических туфовых карьеров с последующей посадкой на них быстрорастущих "канадских" саженцев тополя позволяет через короткий промежуток времени получить древесину производственного значения [
118 -
120].
К этой же группе методов относится получение органоминеральных удобрений. Например, в кородревесные отходы добавляются минеральные удобрения. Также известны способы с добавлением активного ила, осадков сточных вод, свиного навоза, куриного помета [
121 -
123].
Для обезвреживания твердых нефтесодержащих отходов с низким содержанием горючих веществ известна технология смешения отходов с минеральными и органическими удобрениями, активным илом и торфом с получением технического рекультиванта.
В состав рекультиванта входят:
- ил активный (20 - 30%);
- отходы обезвреживания (10 - 20%);
- структурирующие добавки - торф (5 - 10%);
- агрохимикаты - минеральные удобрения, гашеная известь (0,5 - 1%);
- гуминовые препараты - удобрения органические (0,5 - 1%).
Приготовление рекультиванта осуществляется на специально отведенной для этого площадке, расположенной в непосредственной близости от чаши объекта накопленного вреда окружающей среде [
52,
93,
124,
125].
Для рекультивации полигонов фосфогипса, являющегося вторичным материалом (отходом) при производстве фосфорной кислоты, а также для рекультивации аналогичных по форме многоярусных плоских отвалов, которые сформированы из сыпучих пород, например, доломито-известковых, известен способ консервации полигонов складирования фосфогипса методом ускоренной биологической рекультивации
[126]. После завершения отсыпки фосфогипса осуществляют покрытие поверхности полигона искусственным почвенным субстратом. Для этого на горизонтальной поверхности (берме) готовят смесь осадка сточных вод из очистных сооружений с фосфогипсом при среднем соотношении этих компонентов смеси около 2:1 по объему.
Технологии, способы, основанные на методе фиторемедиации
Метод основан на высаживании растений для экстракции, разложения или стабилизации вредных веществ в почве и воде. В зависимости от типа загрязнения и его расположения действуют различные механизмы: фитоэкстракция, фитостабилизация, фитодеградация, гидроконтроль и покровная система вегетации и др.
(рисунок 2.21).
Рисунок 2.21 - Схема реализации технологии фиторемедиации
Метод предназначен для обработки обширных площадей преимущественно в ненасыщенных зонах почв, особенно тогда, когда другие мероприятия санации не подходят, предназначен для стабилизации загрязнений в среде и предотвращения миграции загрязнений.
Технология применима при условии, что растения способны к аккумуляции токсичных элементов или их деградации при сохранении нормальных темпов роста и развития. Однако, реализация данной технологии требует значительных временных затрат. Также должен отсутствовать риск образования недопустимых метаболитов в области корней из-за бактерий, грибов или растительных энзимов.
Механизмы технологии фиторемедиации:
- фитоэкстракция: прием растениями тяжелых металлов, например, индийской горчицей, подсолнечником;
- фитостабилизация: стабилизация в почве тяжелых металлов, например, гибридным просвирником, травами;
- фитодеградация и корневая деградация: разложение органических загрязнений в почве, как и в грунтовых и поверхностных водах, например, с помощью шелковицы красной, харовых водорослей, черной ивы;
- гидроконтроль: изменение потоков грунтовых и поверхностных вод, например, с помощью тополя и ивы;
- покровная система вегетации: повышение эвапотранспирации путем увеличения проективного покрытия и замены травянистой растительности на древесную, за счет большей испаряющей поверхности листьев у древесных растений [
24,
85].
2.3.2.2 Технологии, технологические решения, методы, способы
ликвидации объекта накопленного вреда "ex situ"
Технологии выемки отходов и загрязненного грунта с использованием специализированной техники и оборудования
Выемка отходов и загрязненного грунта при ликвидации объектов накопленного вреда окружающей среде производится для перемещения отходов за пределы объекта в процессе демонтажа непригодных для эксплуатации зданий и сооружений, срезке загрязненного грунта, при переукладке (переформировании) массива отходов, при вывозе отходов на утилизацию, обезвреживании или захоронении.
Демонтаж зданий и сооружений
Демонтаж (снос) - это контролируемая ликвидация здания или сооружения путем разборки и обрушения.
Демонтаж осуществляется в соответствии с установленными нормами и правилами организации работ по демонтажу и утилизации конструкций зданий, сооружений и иных объектов.
Свод правил
СП 325.1325800.2017 "Здания и сооружения. Правила производства работ при демонтаже и утилизации (с Изменениями N 1, 2)" устанавливает требования к организации демонтажа (сноса) и утилизации конструкций зданий и сооружений гражданского и производственного назначения, а также на объекты, исключенные (снятые с учета) из государственного реестра опасных производственных объектов
[127].
Так, на одном из объектов накопленного вреда окружающей среде используется следующий подход к демонтажу надземной и подземной части зданий и сооружений:
Порядок демонтажа надземной части зданий:
1. Демонтаж металлоконструкций в зданиях (батареи, трубы, воздуховоды, металлические лестницы, перила, электрические щиты, провода, оконные решетки, металлические ворота, швеллеры, двутавры и т.д.) с последующей погрузкой в самосвалы и транспортировкой на вторчермет.
2. Разборка конструкций перекрытий краном (если перекрытия из сборного железобетона или легких сэндвич-панелей) или экскаватором с гидромолотом (если перекрытия из монолитного бетона или деревянные).
3. Демонтаж легких конструкций с помощью автокрана.
4. Разрушение стен и перекрытий без сохранения годных материалов экскаватором, а также гидромолотом на базе экскаватора.
5. Дробление гидромолотом демонтируемых стен и панелей до состояния, пригодного для погрузки данного строительного боя фронтальным погрузчиком в самосвалы с последующей транспортировкой на дробильно-сортировочный комплекс.
6. Погрузка дополнительного строительного мусора с прилегающей территории здания экскаватором, а также фронтальным погрузчиком в самосвалы.
Порядок демонтажа подземной части зданий:
1. Подработка (земляные работы) экскаватором с ковшом типа "обратная лопата" фундаментов. Разработку грунта под фундамент выполнять с заложением откоса 1:1.
2. Разрушение экскаватором с гидромолотом фундаментов и железобетонных перекрытий.
3. Разрушение стен и перегородок подвальных помещений выполнить экскаватором, а также навесным гидромолотом на базе экскаватора.
4. Обратная засыпка котлованов, а также обратная засыпка от демонтированных фундаментов
[128].
На ряде объектов накопленного вреда окружающей среде демонтаж заброшенных объектов капитального строительства, зданий, сооружений осуществляется с последующей транспортировкой отходов на лицензированный полигон ТКО [
52,
129 -
131].
В соответствии с
ГОСТ Р 57678-2017 "Ресурсосбережение. Обращение с отходами. Ликвидация строительных отходов"
[132] строительные отходы, в состав которых входят бетон, кирпич или щебень, могут использоваться в различных направлениях, в том числе рекультивации, при наличии соответствующей документации с соблюдением природоохранных, санитарно-эпидемиологических, противопожарных требований законодательства.
Выбор способа обращения с отходами от демонтажных работ зависит от вида и класса опасности образуемых отходов. Перед проведением работ по демонтажу зданий и сооружений должна быть проведена оценка класса опасности образующихся отходов, по результатам которой выбираются соответствующие технологические решения.
Экскавация твердых отходов и загрязненных грунтов
Выемка, разработка и погрузка твердых отходов и загрязненного грунта осуществляются методом экскавации с использованием специализированной техники и оборудования (экскаваторов, бульдозеров, тракторов, скреперов и др.).
При переукладке, обратной засыпке свалочных масс, после проведения необходимых мероприятий по обезвреживанию работы выполняются поэтапно. Складирование отходов и загрязненного грунта производится на свободных площадях участка проведения работ. Для предотвращения разлета легких фракций отходов сверху они изолируются изъятой из выемки смесью отходов и грунта (пограничный слой).
Для удобства работы техники могут быть предусмотрены дополнительные работы по разравниванию и уплотнению поверхности отходов.
Для проезда техники к разгрузочной площадке по уплотненным и изолированным отходам прокладываются технологические дороги. Технологии экскавации отходов широко применяются в практике ликвидации объектов накопленного вреда окружающей среде [
84,
133 -
139].
Одним из решений ликвидации последствий загрязнения территории от деятельности по добыче и обогащению вольфрамо-молибденовых руд является выемка техногенных и переотложенных песков с последующей транспортировкой их на специализированное лицензированное предприятие для дальнейшего обезвреживания и утилизации [
52,
140].
Откачка жидких отходов и загрязнителей
Выемка жидких отходов осуществляется путем откачки с использованием специализированной техники и насосного оборудования.
При ликвидации объектов, являющихся результатом деятельности химического производства, и объектов, являющихся результатом деятельности агропромышленного комплекса, откачка жидких отходов осуществляется плавучими насосными станциями и центробежными насосами [
91,
124,
141].
При ликвидации линз нефти (нефтепродуктов) известен способ откачки через скважины посредством сооружения нефтезабора, водных откачных и нагнетательных скважин с реализацией гидрогеоэкологического мониторинга
[142].
Для извлечения фазы продукта, например, минерального топлива (нефтепродуктов), смазочных масел и фазы растворителя, децентрализованного вторичного извлечения свободной, нерастворимой фазы продукта в очаге загрязнения из скважин грунтовых вод (или из дренажных канав), известна технология обратного извлечения жидкой фазы продукта с использованием плавающих насосов (скиммеров).
Для извлечения легких гидрофобных веществ (нефтепродуктов, ароматических углеводородов) выполняются следующие мероприятия:
- установка скиммера у оголовка скважины/колодца;
- откачка всплывающей фазы (легкая фаза), "очистка" и сбор фазы из скважин или откачка;
- регулярный вывоз и переработка фазы продукта;
- в случае необходимости осуществляется поддержка понижением уровня грунтовых вод, связанная с "ex situ" очисткой грунтовых вод.
Для извлечения тяжелой фракции органических веществ (ПАУ, летучие хлорированные углеводороды, ПХБ, нелетучие хлорированные углеводороды) с помощью насосов выполняются следующие мероприятия:
- установка системы забора тяжелых фаз в скважине;
- откачивание тяжелой фазы на подошве водоносного пласта;
- регулярный вывоз и переработка фазы продукта;
- в случае необходимости осуществляется поддержка понижением уровня грунтовых вод, связанная с "ex situ" очисткой грунтовых вод.
Схема реализации технологии обратной откачки представлена на
рисунке 2.22.
Рисунок 2.22 - Схема реализации технологии
При ликвидации хранилищ кислых гудронов известна технология откачки загрязненной, нейтрализованной известняковым щебнем воды мотопомпой непосредственно с чаши хранилища [
52,
125].
Одним из решений ликвидации шламонакопителей является выемка отходов с последующей транспортировкой их на специализированное лицензированное предприятие для дальнейшего обезвреживания и утилизации [
52,
143].
Определение комплекса технических решений, предназначенных для обезвреживания жидких отходов и загрязнителей, может быть выполнено на основании сведений об эффективности применяемых на объектах ликвидации накопленного вреда окружающей среде технологических комплексов, включающих узлы мембранного обессоливания, реагентной, ионообменной и сорбционной очистки, а также наилучших доступных технологий, представленных в справочниках НДТ
ИТС 17-2021 "Размещение отходов производства и потребления"
[55] и
ИТС 8-2015 "Очистка сточных вод при производстве продукции (товаров), выполнении работ и оказании услуг на крупных предприятиях"
[144].
Технологии подготовки отходов и загрязненных грунтов перед выемкой и транспортировкой
Подготовка отходов перед выемкой и транспортировкой заключается в их обработке и обезвреживании с целью уменьшения массы (объема), изменения состава, физических и химических свойств, обеззараживания.
Обработка непригодных к эксплуатации зданий и сооружений
Перед выполнением работ по демонтажу зданий и сооружений в случае необходимости выполняются мероприятия, направленные на обезвреживание поверхности специальными реагентами, подбираемыми с учетом вида загрязнения.
Известна технология (опытная установка) термообезвреживания металлоконструкций, предназначенная для обжига разного рода металлоконструкций, образующихся при подготовке к демонтажу и в процессе сноса зданий, после их демонтажа и очистки от остатков рабочей среды.
Оборудование установки позволяет провести безопасный обжиг различного рода металлоконструкций в пламени газовых горелок и обеспечивает защиту окружающей среды за счет дистанционного управления процессом и работой газовых горелок, аппаратов очистки газовых выбросов, автоматизированной системы противоаварийной защиты. Безопасность также обеспечивается путем разделения оборудования установки на изолированные друг от друга функциональные части
[145].
Методы обезвоживания отходов
Снижение влажности отходов на объектах накопленного вреда окружающей среде осуществляется методом обезвоживания массы отходов с применением различных гидротехнических сооружений (водопонижающие колодцы, дренажные прослойки, водоотводные канавы), технологического оборудования (фильтры различной конструкции, геосинтетические тубы), сорбентов.
Мероприятия по снижению влажности отходов часто применяются при ликвидации накопителей осадков биологических очистных сооружений. Иловые площадки устраивают с искусственным дренирующим основанием, куда поступают осадки влажностью около 93 - 97%. Наиболее целесообразно снижение объемной влажности осадка на 20% от начальной, это существенно повышает его плотность, а объем уменьшается в 6 - 8 раз. Обезвоживание является неотъемлемым этапом ликвидации объекта вне зависимости от дальнейших мероприятий
[146].
Вибрационное фильтрование осадка сточных вод прямо на существующих иловых площадках позволяет повысить эффективность обезвоживания. Для осуществления такого процесса предлагается вибрационная машина
(рисунок 2.23). Применение такого устройства позволяет обезвоживать осадки сточных вод в непосредственной близости от фильтрующей поверхности без нарушения структуры остальной части осадка
[147].
Рисунок 2.23 - Устройство для обезвоживания осадков сточных
вод на иловых полях: 1 - корпус; 2 - фильтрующий элемент;
3 - накопительная емкость; 4 - осадок сточных вод;
5 - вибровозбудитель; 6 - направление колебаний; 7 - донный
дренаж иловой площадки; 8 - направление течения
отфильтрованной жидкости; 9 - отфильтрованная
жидкость; 10 - отвод влаги через дренаж
Другим способом подготовки иловых осадков сточных вод является использование сорбентов (например, природного диатомита) с целью получения илового осадка необходимой влажности, пригодного для дальнейшей переработки
[148].
Технология предусматривает внесение в иловые карты влажностью 75 - 90% специально подготовленного влагопоглотителя на основе диатомита. Диатомит - природный адсорбент, его впитывающая способность в 100 раз выше, чем у активированного угля. Он стоек к агрессивным средам, не растворим кислотами и щелочами, на 86 - 90% состоит из кремнезема. Благодаря своей структуре и свойствам он хорошо впитывает жидкости и практически не имеет обратной десорбции, при насыщении не меняет своей формы и объема. Внесение диатомита в переувлажненные иловые карты позволит снизить влажность илового осадка до требуемого для пиролиза (60%), исключив при этом процесс предварительной сушки илового осадка.
Широко распространен способ обезвоживания отходов в геосинтетических тубах (геотубирование). После реализации такого способа перемещение отходов осуществляется в "фильтрационных рукавах", что упрощает процесс транспортировки
[102].
Для оптимизации процесса очистки жидких нефтесодержащих отходов кислогудронных прудов с низким содержанием горючих веществ на объектах накопленного вреда окружающей среде известно применение геотуб, выполняющих функции песколовки, нефтеловушки, отстойника и обезвоживателя осадка. Наполнение геотуб производят несколько раз, по мере освобождения объема геотубы при обезвоживании осадка. Геотубы размещают в открытых резервуарах из полимерных материалов, предназначенных для сбора и временного использования нефтесодержащих отходов и стоков, используемых при аварийных и плановых работах по очистке нефтяных амбаров, нефтехранилищ, прудов-отстойников и т.д. Вода, прошедшая сквозь полотно геотубы, аккумулируется в накопителе, откуда откачивается и передается на дальнейшую обработку [
52,
124 -
125].
Реагентные методы
Изменение физических и химических свойств отходов может быть достигнуто при помощи использования различных химических веществ (реагентов).
Известно технологическое решение, при котором территория объекта накопленного вреда окружающей среде (свалки ТКО) разбивается на участки, в границах которых осуществляется подбор концентраций растворов реагентов в зависимости от токсичности свалочных масс, прошедших предварительное сепарирование (разделение) на барабанных грохотах. Отсепарированные свалочные массы обрабатываются раствором гуминовых препаратов, тем самым снижаются их токсичность и вредность с получением грунта-рекультиванта, который используется для рекультивации объекта накопленного вреда окружающей среде
[149].
Обезвреживание отходов
Для обеззараживания, уплотнения, концентрирования осадка при ликвидации объектов накопленного вреда окружающей среде применяются органические и неорганические коагулянты (флокулянты), негашеная известь. Применение извести приводит к повышению pH, остановке кислого брожения, гибели практически всех патогенных микроорганизмов (в том числе сальмонеллы), яиц гельминтов, вирусов, образованию нерастворимых форм соединений. В сочетании с известью может применяться трехвалентное хлорное железо, что способствует образованию хлопьев с высокоразвитой поверхностью и более эффективному осаждению осадка за счет соосаждения. В качестве коагулянтов также используют сульфаты железа и алюминия. Для обеззараживания осадков также применяют химические вещества, обычно используемые для удобрения почвы и уничтожения вредных почвенных микроорганизмов, сорняков. Применение безводного аммиака позволяет получить обеззараженный осадок меньшей влажности
[150].
Для обезвреживания содержимого прудов - накопителей сточных вод предприятий органического синтеза известен метод утилизации органических веществ илистых отложений с использованием ультрадисперсной суспензии, в состав которой входят наноструктурированные металлы и оксиды металлов [
151 -
152], механизм действия которой заключается в фотокаталитической окислительной деструкции молекул органического вещества с образованием соответствующего оксида и воды. Технология включает два этапа:
- приготовление ультрадисперсной суспензии на воде, очищенной сорбентом УСВР, фотообработка суспензии и распыление ее над поверхностью пруда;
- после повторной обработки происходит глубинное удаление органических веществ из илистых отложений.
Известно технологическое решение по обезвреживанию отходов, размещенных на полигоне "Красный Бор"
[153], основанное на процессе очистки загрязнений с помощью синтетических моющих средств. Основными свойствами синтетических моющих средств, играющими важную роль в процессе очистки, являются смачивание, пенообразующая способность, эмульгирующая способность, диспергирующее действие и удерживание загрязнений
[154].
При ликвидации объектов накопленного вреда, содержащих ртутное загрязнение, проводят мероприятия по демеркуризации территории и объектов капитального строительства.
Так, демеркуризация строительных и металлических конструкций производится путем опрыскивания 10-процентным водным раствором сульфата меди (медного купороса) с нормой расхода 0,1 - 0,15 л/м2, после 1 - 2 минут пропитки на ту же площадь наносится с нормой расхода 0,2 - 0,3 л/м2 10% водный раствор йодистого калия с нормой расхода 0,2 - 0,3 л/м2 с экспозицией на 24 часа. Далее производят разбор конструкций, складирование на площадке временного накопления отходов IV класса опасности с последующим вывозом на полигон.
Демеркуризация металлических конструкций (стальное технологическое оборудование, сантехнические системы, трубопроводы, строительные металлоконструкции, электрические кабели) осуществляется в теплый период аппаратами высокого давления.
В результате реакции образуются высокоактивные демеркуризаторы, взаимодействие которых с ртутью приводит к получению водонерастворимых, малотоксичных и не разлагающихся при нормальных условиях до металлической ртути химических соединений.
Избыток прореагировавших растворов стекает по спланированной поверхности технологической площадки и собирается в лоток, далее в резервуары ливневых стоков. По мере необходимости осуществляется вывоз на локальные очистные сооружения. После очистки вода подается на технологические нужды в резервуар запаса технической воды для приготовления 10-процентного рабочего раствора полисульфида кальция.
Направляемый на переработку металл не должен содержать на поверхности более 10 мг/м
2 остаточной ртути
[155].
Повышение стабильности отходов и загрязненных грунтов путем иммобилизации мигрирующих компонентов
Повышение устойчивости объектов накопленного вреда для снижения миграции загрязняющих веществ в окружающую среду заключается в обеспечении стабильности физических и химических свойств отходов и загрязненных грунтов посредством иммобилизации мигрирующих компонентов.
Для утилизации отходов грунтов, загрязненных в процессе хозяйственной деятельности, и других грунтов антропогенного генезиса применимы технологии получения геокомпозита посредством добавления щелочной комплексообразующей добавки для активации физико-химических процессов щелочного гидролиза и генерации вяжущих веществ. В результате одновременно с получением геокомпозита повышенной плотности, связности частиц грунта и пониженной пористости достигаются обеззараживание и обезвреживание всех компонентов, входящих в состав техногенных грунтов антропогенного генезиса, в том числе максимальное подавление миграционной активности экотоксикантов [
156 -
157].
Для иммобилизации пестицидов может быть использован алюмосиликатный раствор
[158].
Методы биологического обезвреживания отходов и загрязненных грунтов
Обезвреживание отходов и загрязненных грунтов, содержащих органические соединения, может быть осуществлено биологическими методами, которые основаны на способности живых организмов разлагать или усваивать органические компоненты.
Компостирование
Компостирование - это биохимический процесс, предназначенный для преобразования органосодержащих твердых отходов в стабильный, подобный биогумусу, продукт - компост
[159].
Ускорение природных процессов биодеструкции отходов достигается путем реализации технологии в емкостях, ямах, кучах или реакторах емкостного типа ограниченного объема.
Компостирование может осуществляться в условиях незначительного избыточного воздушного давления в укрытой полупроницаемой мембранной среде (мембранное компостирование)
[160].
Технология управляемого мембранного компостирования известна при обезвреживании и утилизации иловых осадков сточных вод.
Максимальная скорость биологического разложения органической субстанции при управляемом мембранном компостировании достигается с помощью оптимизации содержания кислорода электронным блоком управления процессом, регулирующим периодическую подачу воздуха. Тепло вырабатывается самими бактериями в процессе их жизнедеятельности в толще материала, использование внешних источников тепла не предусмотрено. Покрывной тент с полупроницаемой мембраной обеспечивает равномерность климатических условий по всему объему перерабатываемого материала. Мембрана задерживает источники неприятных запахов - метана, сероводорода, меркаптана, углекислого газа и др. По достижении температуры гигиенизации уничтожаются болезнетворные микроорганизмы (бактерии и их споры), вирусы
[159].
Часть методов компостирования включает смешивание и двухкомпонентное компостирование древесных отходов с фекальными отходами животноводства (навоз, птичий помет) или антропогенными (бытовые сточные воды или их осадки) [
116,
161].
Схема процесса компостирования с применением мембран представлена на
рисунке 2.24.
Рисунок 2.24 - Принципиальная схема
мембранного компостирования отходов
При небольшом объеме органических отходов применимы способы компостирования отходов с использованием высших форм организмов, к примеру, вермикультуры (разведение дождевых червей) или мускакультуры (разведение личинок мух). В этом случае процесс компостирования можно сократить до 5 - 6 суток и получить дополнительный продукт в виде биомассы живых организмов [
109,
110,
162].
При рекультивации территории техногенно деградированной несанкционированным размещением спиртовой барды известно решение, предусматривающие компостирование загрязненных грунтов на месте с целью получения инертного рекультивационного материала [
52,
163].
Технология компостирования реализуется в буртах, размещаемых в бетонных картах, укрываемых пологом из мембраны. Пол карты оснащен перфорированными лотками (аэрационные каналы). Технология сочетает в себе преимущества систем открытого и закрытого компостирования.
В основе рассматриваемой технологии лежит применение специального покрытия, которое представляет собой мембрану, непроницаемую для больших молекул биоаэрозолей и газообразных веществ с неприятным запахом, но не препятствующую прохождению воздуха, углекислого газа и водяных паров. Биоаэрозоли конденсируются с внутренней стороны мембранной системы и остаются в компостируемой массе, где впоследствии разлагаются микроорганизмами. Данная технология выделяет в атмосферный воздух значительно меньше вредных веществ по сравнению с технологией закрытого компостирования. Мембрана также является непреодолимым барьером для микроорганизмов и их спор. Покрытие имеет трехслойную структуру, в которой полупроницаемая мембрана защищена с двух сторон слоями материала, обладающими высокой устойчивостью к атмосферным осадкам и ультрафиолетовому излучению. Компостируемая масса полностью защищена от природных воздействий, что создает оптимальные условия для получения высококачественного продукта компостирования.
В ходе реализации технологии компостирования органических отходов образуется фильтрат в количестве, не превышающем 5% от компостируемой массы. Аккумулирование фильтрата осуществляется в емкости 60 м
3. По мере накопления сток откачивается специализированным автотранспортом и идет на увлажнение компостируемой массы с целью поддержания ее влажности в диапазоне от 40 до 60% [
52,
163].
При рекультивации лигнинохранилищ известно технологическое решение утилизации гидролизного лигнина с получением на его основе восстановителя - заменителя грунта и органоминеральных удобрений посредством компостирования в буртах [
52,
164].
При ликвидации короотвалов известно техническое решение использования коры в качестве удобрения. Для получения компоста используют кору с влажностью 70 - 75%. Кору измельчают и обогащают необходимыми минеральными добавками. Компостирование проводят в буртах шириной по основанию 2 - 10 м высотой 1,5 - 2 м. Оптимальная влажность бурта в период компостирования - 60 - 75%, температура - 40 - 60 °C, кислотность - pH 5,5 - 8,0. В период компостирования содержимое буртов периодически перемешивают. Процесс компостирования длится в зависимости от свойств, степени измельчения коры и режима компостирования 6 - 18 недель. На продолжительность компостирования оказывает влияние степень измельчения коры. Слишком крупные частицы компостируются медленнее, а очень мелкие слипаются в комки и ухудшают аэрацию бурта, требуют больше азота для разложения
[54].
Технологические решения и наилучшие доступные технологии компостирования и сбраживания твердых коммунальных отходов подробно описаны в справочнике НДТ
ИТС 15-2021 "Утилизация и обезвреживание отходов (кроме термических способов)"
[165].
Ферментация
Аэробная твердофазная ферментация заключается в смешении отходов, загрязненных грунтов и других органических компонентов (торф, солома, древесные опилки, лигнин) в определенных соотношениях в установках барабанного типа и длительном (1 - 2 года) хранении полученной массы в буртах, в результате которого происходит ее естественное созревание
[109].
Анаэробная (метановая) ферментация осуществляется в метантенках.
Метод фитобиоремедиационной очистки загрязненных вод
Метод фитобиоремедиационной очистки заключается в использовании в качестве основного очищающего компонента специфической бактериальной микрофлоры, адаптированной водорослевой флоры и водных плавающих растений (ряска, сальвиния), способных развиваться в воде прудов-накопителей и обеспечивающих очистку, аккумуляцию и сорбцию токсикантов среднего слоя накопителя. Метод включает изъятие сточных вод из пруда-накопителя. Процесс обезвреживания реализуется в биореакторах или аэротенках
[166].
2.3.3 Технологии, методы, способы ликвидации объектов
накопленного вреда окружающей среде, расположенных
в акваториях, участках акваторий
2.3.3.1 Технологии, технологические решения, методы, способы
ликвидации объекта накопленного вреда "in situ"
Объекты накопленного вреда окружающей среде, расположенные в пределах акваторий водных объектов, представляют из себя донные отложения, водные объекты с затонувшими судами, бочкотарой, трубопроводами и др.
К технологическим решениям, используемым на месте ("in situ"), относятся:
- технологии очистки донных отложений, основанные на физических принципах, и методы биодеградации донных отложений с использованием сорбентов, микроорганизмов и представителей донной фауны;
- демонтаж, резка;
- сбор ГСМ с поверхности воды;
- очистка конструкций на месте.
Технологии, применяемые для очистки загрязненных донных отложений
Для очистки донных отложений известны способы использования малощетинковых червей подсемейства Tubificinae. Турбифициды, как типичные представители донной фауны, способны выдерживать сильные загрязнения донных отложений и активно участвовать в процессах самоочищения, поэтому наиболее подходят для использования в биологическом этапе очистки донных отложений от нефти
[167].
Известен сорбент, после погружения которого в нефтезагрязненный водоем происходит процесс активного размножения и увеличения численности нефтеокисляющих микроорганизмов на сорбенте, которые способствуют биодеградации загрязняющих веществ, присутствующих в донных отложениях
[168].
Технологии, применяемые для демонтажа подводных металлических сооружений и конструкций, в том числе трубопроводов
Для демонтажа подводных металлических сооружений и конструкций, в том числе трубопроводов, применяются технологи: подводной резки и разборки сооружений и конструкций.
При демонтаже продуктопроводов предварительно необходимо слить остатки ГСМ из продуктопровода в специально подготовленные емкости. Затем осуществляется разборка (при возможности) либо разделка конструкций.
Метод подводной лазерной резки металлических конструкций
Метод применяется для демонтажа сооружений и конструкций под водой.
Среди известных изобретений в области подводной резки, разборки сооружений и конструкций можно выделить способ подводной лазерной резки металлических конструкций
[169], включающий нагрев участка разрезаемой поверхности металла, находящейся в водной среде, до температуры, равной или более температуры плавления металла посредством лазерного излучения, которое передают по волоконно-оптическому каналу через оптическую систему, фокусирующую лазерное излучение в пятно с заданными пространственно-энергетическими характеристиками на разрезаемую поверхность, и формирование газового пузыря путем подачи основного газового потока на место реза
(рисунок 2.25).
Рисунок 2.25 - Схемы реализации заявляемого способа
подводной лазерной резки: а - дополнительный газовый поток
формируют перед пятном сфокусированного лазерного излучения;
б - дополнительный газовый поток формируют за пятном
сфокусированного лазерного излучения; 1 - пятно лазерного
излучения; 2 - поперечное сечение потока основного рабочего
газа; 4 - основное сопло; 5 - дополнительное сопло;
6 - поверхность разрезаемого металла; 7 - пятно лазерного
излучения; 8 - сквозной прожиг; 9 - фокусирующий объектив;
10 - лазерный резак
Метод разделки объектов с использованием термической резки
Метод применяется для снижения трудоемкости разделения металлоконструкций на части, в частности днищевой части корпусов судов.
Среди известных изобретений в области разделки объектов можно выделить способ с использованием термической резки
[170]. На предварительно загерметизированных по границам разделки и осушенных корпусах судов термической резкой наносят на внутренней стороне наружной обшивки корпуса в поперечном сечении в пределах одной шпации два параллельных надреза, расстояние между которыми превышает диаметр троса в 12 - 15 раз, эти надрезы охрупчивают путем насыщения их сначала углеродом (путем нанесения графита и последующим нагревом, использованием графитового электрода и др.), затем водородом (путем использования ацетиленовой горелки, нанесения водородсодержащего покрытия и др.) при нагреве до 700 - 950 °C, а после охлаждения до 20 - 0 °C разделяют объект на части путем натяжения установленного под ним троса, один конец которого закреплен на борту объекта, а другой соединен со стрелой грузоподъемного устройства. Подъем троса может быть осуществлен рывком.
Технологии, применяемые для предотвращения загрязнения акватории при подъеме затонувших водных объектов и демонтаже сооружений и конструкций, в том числе продуктопроводов
Технические решения направлены на предотвращение вторичного загрязнения акватории при подъеме затонувших объектов.
Перед началом работ по подъему затонувших объектов устанавливается боновое заграждение для предотвращения возможного вторичного загрязнения окружающей среды.
Одним из вариантов является боновое заграждение переменной плавучести
(рисунок 2.26), которое может быть использовано для локализации и сбора пятна нефти или нефтепродукта, в том числе мощного его потока на проточном водоеме, преимущественно реке. Возможно использование изобретения вокруг морских и речных нефтеналивных терминалов, а также водозаборных устройств
[171].
Рисунок 2.26 - Боновое заграждение переменной плавучести:
1 - секция бонового заграждения; 2 - заглушка; 3,
4 - патрубки; 5 - компрессор; 6 - насос для подачи воды;
7 - патрубки для крепления эластичных рукавов;
8 - трубопровод; 9 - подогревающее устройство (например,
парогенератор); 10 - полые гребни; 11 - электрический
кабель; 12 - насос нефтеоткачивающего устройства;
13 - подогревающие трубопроводы; 14 - площадка;
15 - надувная подушка; 16 - слой поролона; 17 - сорбирующие
маты; 18 - балласты; 19 - понтоны; 20 - стальная полоса
для гашения турбулентности; 21 - щиты для варианта
заграждения с возможностью пожаротушения; 22 - форсунки
для выхода пены; 23 - напорный рукав для подачи пены;
24 - пеногенератор; 25 - тросы; 26 - якоря "мертвяки"
Устройство содержит последовательно соединенные между собой и прикрепленные к якорям герметичные цилиндрические секции, сообщающиеся полости которых подключены к источнику сжатого воздуха или газа, отличающееся тем, что секции выполнены из металлических труб, имеющих на концах заглушки, а полости секций дополнительно подключены к насосу для подачи в них воды, при этом каждая секция в верхней части снабжена металлическими гребнями, предпочтительно двумя, расположенными вдоль нее на расстоянии друг от друга.
2.3.3.2 Технологии, технологические решения, методы, способы
ликвидации объекта накопленного вреда "ex situ"
К технологическим решениям, используемым на месте ("ex situ"), относятся:
- подъем;
- выемка загрязненных донных отложений с применением технологий (технических решений) дноуглубительных работ;
- демонтаж, резка;
- очистка конструкций и подготовка к транспортированию.
Технологии, применяемые для подъема затонувших объектов
Среди технологических решений, используемых для поднятия затонувших объектов, можно выделить подъем без использования специальных устройств и подъем с применением специальных устройств.
Методы подъема затонувших объектов без использования специальных устройств
Метод применяется для подъема затонувших объектов у берега, на небольшой глубине.
Подъем затонувших судов осуществляется механизированным способом при помощи экскаваторов и бульдозеров. При подъеме устанавливаются боновые заграждения для предотвращения загрязнения акватории ГСМ
[172].
Технологии подъема затонувших объектов с использованием базового надводного судна
Для подъема затонувших объектов с использованием базового судна существует ряд запатентованных изобретений. Для подъема судов с морского дна при аварии с любой глубины предлагается способ, включающий в себя подъем маркером двух концов его троса, пропущенного через скобу на судне, и конца троса кольца, надетого на одну из ветвей троса маркера, вытягивание тросом кольца для распутывания троса маркера, протягивание троса маркера за один конец с наращиванием его второго конца силовым тросом и после соединения обоих концов силового троса с грузоподъемным механизмом подъем судна
(рисунок 2.27). Такое выполнение способа обеспечивает удешевление оборудования для его реализации и возможность использования на действующих судах
[173].
| | | |
Положение судна и всплывшие маркеры | Все тросы натянуты и один из маркеров отсоединен | Протягивание троса маркера с наращиванием его силовым тросом | Закрепление обоих концов силового троса на грузоподъемном механизме |
Рисунок 2.27 - Способ подъема затонувшего судна
с использованием маркера:
1 - судно; 2 - скобка; 3 - маркеры; 4 - единый трос;
5 - кольцо; 6 - трос
Для подъема затонувших плавсредств на поверхность моря с разной глубины их залегания используются системы, включающие базовое надводное судно, понтонные устройства и обслуживаемые ими средства контакта с затонувшим судном (
рисунки 2.28 -
2.30) [
174 -
177].
Рисунок 2.28 - Система подъема затонувшего судна:
1 - базовое надводное судно; 2 - грузовая лебедка;
3 - компрессор; 4 - этажерка для укладки контейнеров;
5 - контейнеры; 6 - рабочая площадка; 7 - носовой
глубоководный якорь; 8 - кормовой глубоководный якорь;
9 - глубоководный якорь; 10 - трос; 11 - клюз;
12 - затонувшее судно; 13 - цилиндрическая станина;
14 - фланец; 15 - предохранительный клапан; 16 - отверстия;
17 - обратный клапан; 18 - воздушный шланг; 19 - воздушная
емкость (шар); 20 - футляр; 21 - фланец; 23 - цепь;
24 - гак; 25 - фиксированная планка; 26, 27 - шланги
| | ИС МЕГАНОРМ: примечание. Текст дан в соответствии с официальным текстом документа. | |
Рисунок 2.29 - Устройство для подъема затонувшего объекта:
1 - базовое судно; 2 - подъемный механизм; 3 - гибкий
элемент крепления обоймы понтонов; 4 - обойма понтонов;
5 - понтон; 6 - грузозахватные приспособления; - затонувший
объект; 8 - герметизированная оболочка понтона; 9 - корпус
понтона; 10 - полости в корпусе понтона; 11 - жесткие
перемычки; 12 - патрубок с запорным приспособлением;
13 - центральная часть понтона; 14 - патрубок; 15 - запорное
приспособление; 16 - приспособление для заполнения
центральной части понтона водой; 17 - водоем
Рисунок 2.30 - Комплекс для подъема затонувшего объекта:
1, 2 - два корпуса базового судна-катамарана;
3 - грузоподъемный механизм (например, мостовой кран);
4 - система стальных проволочных канатов; 5 - траверса;
6 - грузозахватное приспособление; 7 - продольная ось;
8 - блок из ракетных движителей с регулируемой силой тяги;
9 - затонувший объект;

- углы оси движителей
к вертикальной оси симметрии; 10, 11 - дно водоема;
12 - поверхность водоема; 13, 14 - вымоины в донном грунте,
образующиеся в результате его размыва после предварительного
включения ракетных движителей на неполную мощность
Для выравнивания и подъема затонувших объектов известен способ, основанный на использовании устройства, содержащего балластируемые понтоны, шарнирно закрепленные на грузоподъемной раме, с возможностью их поворота относительно горизонтальной оси
[178].
Для упрощения подъема затонувших объектов и снижения затрат известен способ
(рисунок 2.31), заключающийся в придании затонувшему объекту вращательного движения в ходе выполнения подготовительной операции, спрямления объекта за счет усилия расположенного вблизи него судоподъемного модуля, соединенного гибкими связями с надпалубными конструкциями затонувшего объекта, а затем придания этому объекту вертикально-поступательного движения указанным модулем в ходе операции подъема
[179].
| |
Исходное положение затонувшего судна на грунте и судоподъемного судна перед началом спрямления объекта | Стадия спрямления затонувшего судна |
| |
Положение затонувшего судна после завершения операции спрямления | Взаимное положение затонувшего и судоподъемного судов перед началом операции подъема |
| |
Положение затонувшего судна после его подъема до выхода из воды надпалубных конструкций | Взаимное положение затонувшего и судоподъемного судов с частичным оголением корпуса последнего |
Рисунок 2.31 - Способ подъема затонувшего объекта
с приданием объекту вращательного движения:
1 - судоподъемное судно; 2 - затонувшее судно;
3 - спрямляющие тросы; 4 - подъемные тросы; 5 - бортовые
отсеки; 6 - направляющие; 7 - надпалубные конструкции;
8 - блоки; 9 - тросовые зажимы; 10 - палубные обухи
Известен способ подъема крупных судов и кораблей с больших глубин с помощью криогена, преимущественно жидкого азота. Способ включает подачу по трубопроводу в теплообменники криогена, где его газифицируют и направляют во внутреннюю полость понтонов, вытесняя при этом из них воду
[180]. За счет холода, образующегося при газификации, происходит замораживание пространства между теплообменниками. Вода превращается в лед и прочно соединяет теплообменники с затонувшим судном. После вытеснения воды из понтонов вся система, спаянная льдом (понтоны, теплообменники и затонувшее судно), всплывает на поверхность
(рисунок 2.32).
Рисунок 2.32 - Пример устройства для подъема затонувших
объектов с помощью криогена:
1 - понтон; 2 - нижнее отверстие; 3 - трубчатый сифон;
4 - внутренняя труба; 5 - воздушный вентиль; 6 - датчик
верхнего уровня воды; 7 - датчик нижнего уровня воды;
8 - крепления каркаса; 9 - теплообменники;
10 - теплоизолированный криогенопровод; 11 - вантуз;
12 - теплоизолированные перегородки; 13 - гидромониторы;
14 - всасывающие водоводы; 15 - осветительные приборы;
16 - подводные телекамеры; 17 - подрегулирующие движители;
18 - связные и силовые кабели; 19 - трос;
20 - затонувший объект
После подъема объектов накопленного вреда окружающей среде, расположенных в акваториях, участках акваторий, на временной площадке на берегу выполняются подготовительные для транспортирования мероприятия: резка, очистка, отмывка, компактирование (прессование).
С площадки временного накопления лом и отходы цветных и (или) черных металлов вывозятся спецтехникой или суднами для дальнейшей переработки.
Технологии выемки и очистки загрязненных донных отложений
Для выемки загрязненных донных отложений известно устройство, включающее в себя плавсредство, ковш, бункер-накопитель и лебедку. Ковш выполнен с возможностью возвратно-поступательного движения и изменения положения относительно дна водоема. Разгрузку содержимого ковша в бункер-накопитель самосвального типа обеспечивает использование двухбарабанной лебедки с реверсом
[181].
Также известно техническое решение, направленное на очистку русел рек от загрязненных донных отложений с использованием геотекстильных контейнеров
[182]. Загрязненные донные отложения с использованием напорных труб передают пульпу от насоса или земснаряда в геотекстильный контейнер. Для ускорения обезвоживания осадка, улучшения качества вытекающей воды, а также получения большей концентрации твердого осадка внутри трубы предусматривается использование полимеров (флокулянты и коагулянты).
В зависимости от уровня загрязненности и состава, извлеченные донные отложения могут быть потенциально использованы в качестве сырья для производства органоминеральных удобрений, плодородных грунтов и рекультивационных смесей при соблюдении определенных ограничений и условий применения.
Допускается смешивание обезвоженных донных отложений с торфом, песком, грунтом и другими материалами в пропорциях, обеспечивающих безопасность для почв.
Для научно обоснованной утилизации отходов донных отложений целесообразно руководствоваться положениями
ГОСТ Р 54000-2010 "Удобрения органические. Сапропели. Общие технические условия"
[183].
2.4 Краткое описание зарубежных технологий ликвидации
объектов накопленного вреда окружающей среде, рекультивации
и реабилитации загрязненных территорий
(справочная информация)
В данном разделе представлены зарубежные технологии, которые применяются при ликвидации объектов, оказывающих негативное воздействие на окружающую среду после вывода их из эксплуатации.
Технология на основе активированного угля для восстановления "in situ" (Activated Carbon-Based Technology for In Situ Remediation) [184]
Технология на основе активированного угля (АУ) включает внесение добавок на основе АУ для восстановления почвы и грунтовых вод "in situ". Помимо АУ, в качестве добавки могут использоваться и другие реагенты
(таблица 2.2), обычно используемые с технологиями восстановления "in situ", такими как химическое восстановление, химическое окисление и биовосстановление. Эту технологию обычно называют "инъекцией на основе углерода".
Таблица 2.2
Свойства некоторых коммерческих продуктов на основе
активированного угля, которые использовались
для применения "in situ"
[184]
Продукт | Характеристики | Целевые загрязнения | Путь деградации |
| Гранулированный АУ, пропитанный нуль-валентным (металлическим) железом - FeO (ZVI) | Хлорированные растворители | Абиотическое восстановительное дехлорирование |
| Порошкообразный АУ, смешанный с питательными веществами, акцепторами электронов и смесью факультативных бактерий | Нефтяные углеводороды | Аэробная и анаэробная биоаугментация |
|  и штаммы восстановительно-дехлорирующих бактерий | Хлорированные растворители | Абиотическое и биотическое восстановительное дехлорирование |
| Порошкообразный АУ, смешанный с пероксидом кальция и персульфатом натрия | Хлорированные растворители или нефтяные углеводороды | Химическое окисление, аэробная и анаэробная биостимуляция |
| Коллоидная суспензия АУ с запатентованным органическим стабилизатором, нанесенным совместно с соединениями, высвобождающими водород или кислород, и/или соответствующими бактериальными штаммами | Хлорированные растворители или нефтяные углеводороды | Усиленное биотическое восстановительное дехлорирование хлорированных растворителей и аэробное биоразложение нефтяных углеводородов |
| Коллоидный АУ, пропитанный ZVI | Хлорированные растворители | Абиотическое восстановительное дехлорирование |
EHC-Plus | 35% (вес.) ZVI в микромасштабе, 50% (вес.) органического углерода с контролируемым высвобождением, смешанный с 15% порошка АС | Хлорированные растворители | Абиотическое и биотическое восстановительное дехлорирование |
Добавки на основе АУ удаляют загрязняющие вещества посредством двух процессов: адсорбции АУ и разложения реагентами. Адсорбция приводит к быстрому начальному удалению загрязнителей из водной фазы, тогда как последующая деградация разрушает загрязнители. Синергизм между адсорбцией и разложением, как биотическим, так и абиотическим, изучался в многочисленных лабораторных исследованиях.
Сочетание адсорбции и деградации делает эту технологию перспективным вариантом для устранения устойчивых шлейфов загрязнителей, сорбированных в почве, остаточной неводной фазе жидкости или массы, находящейся в зонах с низкой проницаемостью. Такие шлейфы обычно встречаются на геологически сложных участках и, как правило, не поддаются обычной обработке, включая закачку и обработку. Эта технология также может быть применима вблизи или в районе источника загрязнения, особенно в сочетании с другими средствами очистки.
Барботаж воздухом (Air Sparging) [185]
Барботаж воздухом представляет собой нагнетание воздуха или кислорода через загрязненный водоносный горизонт. Нагнетаемый воздух проходит горизонтально и вертикально по каналам через толщу почвы, создавая подземный стриппер, который удаляет летучие и полулетучие органические загрязнители. Нагнетаемый воздух помогает смывать загрязнения в ненасыщенную зону. В сочетании с барботированием обычно осуществляется метод экстракции почвенного воздуха с целью удаления образующихся парофазных загрязнений из зоны аэрации. Кислород также может усилить биоразложение загрязняющих веществ ниже и выше уровня грунтовых вод.
Полигоны-биореакторы (Bioreactor Landfills) [186]
Полигон-биореактор предназначен для быстрой трансформации и разложения органических отходов. Увеличение разложения и стабилизации отходов достигается за счет добавления жидкости и воздуха для усиления микробных процессов. Эта концепция биореактора отличается от традиционного подхода, используемого на муниципальных свалках "сухого захоронения".
Существует три основных типа конфигураций полигонов-биореакторов
[186]:
- аэробный - фильтрат удаляется из нижнего слоя, направляется в резервуары для хранения жидкости и рециркулируется на свалку. Воздух нагнетается в массу отходов с помощью вертикальных или горизонтальных колодцев, чтобы стимулировать аэробную активность и ускорить стабилизацию отходов;
- анаэробный - к массе отходов добавляется влага в виде рециркулируемого фильтрата и других источников для достижения оптимального уровня влажности. Биоразложение происходит в отсутствие кислорода (анаэробно) с образованием свалочного газа. Свалочный газ, в первую очередь метан, может улавливаться для минимизации выбросов парниковых газов и для получения энергии;
- гибридный (аэробно-анаэробный) - ускоряет разложение отходов за счет последовательной аэробно-анаэробной обработки для быстрого разложения органических веществ в верхних частях полигона и сбора газа из нижних секций. Такая технология приводит к более раннему началу метаногенеза по сравнению с аэробными полигонами-биореакторами.
Ассоциация твердых отходов Северной Америки (Solid Waste Association of North America (SWANA)) определила полигон-биореактор как "любой разрешенный полигон типа D или полигон, где жидкость или воздух вводят контролируемым образом в массу отходов для ускорения или улучшения биостабилизации отходов". В настоящее время Агентство по охране окружающей среды США (United States Environmental Protection Agency (US EPA)) собирает информацию о преимуществах и недостатках полигонов-биореакторов посредством исследований существующих полигонов, чтобы определить конкретные стандарты или параметры биореакторов.
Биоремедиация (Bioremediation) [187]
При биоремедиации используются микроорганизмы для разложения органических загрязнителей в почве, грунтовых водах, шламе и твердых веществах. Микроорганизмы расщепляют загрязняющие вещества, используя их в качестве источника энергии или совместно метаболизируя их с источником энергии. В биоремедиацию могут быть вовлечены различные типы классов микробных акцепторов электронов, такие как восстанавливающие кислород, нитраты, марганец, железо (III), сульфаты или углекислый газ и соответствующие им окислительно-восстановительные потенциалы.
Для стимуляции и усиления микробной активности могут вноситься специализированные микроорганизмы (биоаугментация) или вещества, стимулирующие деятельность нужных микроорганизмов, уже находящихся в загрязненной почве (биостимуляция), органические субстраты или другие доноры/акцепторы электронов, питательные вещества и другие соединения, которые оказывают влияние и могут ограничивать развитие микроорганизмов в их отсутствие. В некоторых случаях проводят мероприятия, направленные на улучшение воздушного режима почв. Биостимуляцию и биоаугментацию можно использовать для обработки почвы и других твердых веществ, подземных или поверхностных вод.
При надлежащих условиях контролируемое естественное затухание может включать внутренний процесс биоразложения, который зависит от местных микроорганизмов, разлагающих загрязняющие вещества без каких-либо изменений.
Биоремедиация может проводиться "in situ" или "ex situ". При технологии "in situ" обрабатывается почва и грунтовые воды без удаления или транспортировки за пределы участка. Процессы "ex situ" включают удаление загрязненной среды в зону обработки.
Первым шагом любой программы биоремедиации является разработка концептуальной модели ситуации для оценки потенциала применения биоремедиации на месте. Модель учитывает характер и степень загрязнения, а также характеристики объекта; гидрогеологию участка, геохимию и окислительно-восстановительные условия; способность к биоразложению; превращение загрязняющих веществ и перемещение; пути воздействия. После создания и уточнения модели можно определить характеристику существующего микробного сообщества или характеристики, необходимые для создания соответствующего микробного сообщества. Мероприятия, предпринятые до реализации программы биоремедиации, часто включают исследования восстановления, изучение сопоставимости почвы, а также структуры и функции микробного сообщества для предотвращения нежелательных реакций с загрязняющими веществами или продуктами их разложения. Успех применения биоремедиации в значительной степени зависит от характеристик и мониторинга, проведенного до и во время его внедрения.
Виды биоремедиации:
- аэробная биоремедиация включает микробные реакции, для работы которых требуется кислород. Бактерии используют углеродный субстрат в качестве донора электронов и кислород в качестве акцептора электронов;
- анаэробная биоремедиация включает микробные реакции, происходящие в отсутствие кислорода, и охватывает многие процессы, включая ферментацию, метаногенез, восстановительное дехлорирование и восстановление сульфатов и нитратов. В зависимости от загрязняющего вещества можно культивировать комплекс этих реакций. В анаэробном метаболизме нитраты, сульфаты, углекислый газ, окисленные материалы или органические соединения могут заменить кислород в качестве акцептора электронов;
- кометаболическая биоремедиация: микробы не получают энергию или углерод от разложения загрязнителя. Вместо этого загрязняющее вещество разлагается в результате побочной реакции.
Электрокинетика: технологии электрического тока (Electrokinetics: Electric Current Technologies) [188]
Электрокинетика основана на пропускании постоянного тока низкой интенсивности через почву между керамическими электродами, которые разделены на матрицу катодов и матрицу анодов. Это мобилизует заряженные частицы, заставляя ионы и воду двигаться к электродам. Ионы металлов, ионы аммония и положительно заряженные органические соединения движутся к катоду. Анионы, такие как хлорид, цианид, фторид, нитрат и отрицательно заряженные органические соединения, движутся к аноду. Удаление загрязнений с электрода может быть осуществлено несколькими способами, среди которых
[188]:
- гальваническое покрытие электрода;
- осаждение или соосаждение на электроде;
- откачка воды возле электрода;
- комплексообразование с ионообменными смолами.
Технологии разрыва пласта (Environmental Fracturing) [189]
Технологии гидроразрыва разрыва пласта (фрекинг, гидравлический разрыв пласта, гидрофрекинг) - это методы, которые улучшают или создают полости в коренных породах или почве с низкой эффективной пористостью, например, в глине, чтобы повысить эффективность методов очистки почвы и грунтовых вод
[189]. Для разрыва пласта может применяться технология гидроразрыва, широко распространенная в нефте- и газодобыче
(рисунок 2.33). В результате образуются трещины вторичной полости и разрывы. Гидравлический разрыв пласта можно использовать для повышения эффективности таких технологий первичной обработки, как закачка и очистка, химическое окисление/восстановление "in situ", биоремедиация "in situ" или экстракция почвенных паров. Например, за счет улучшения связи между трещинами в загрязненной породе гидроразрыв пласта может привести к сокращению количества дренажных скважин, которые необходимо пробурить, а также к увеличению скорости откачки из скважин.
Рисунок 2.33 - Гидравлический разрыв пласта
Метод экстракции почвенных паров зависит от способности загрязняющих веществ проникать через зону аэрации в извлекающую скважину, откуда они могут быть извлечены и обработаны на поверхности. Загрязненные участки с низкой эффективной пористостью пропускают почвенный газ очень медленно, что увеличивает потенциальное время восстановления. Гидроразрыв может создать несколько каналов вторичной пористости для миграции загрязняющих веществ в грунте с низкой эффективной пористостью, что может ускорить очистку.
Многие технологии очистки "in situ" требуют использования реагентов, таких как химические окислители, восстановители или биологически стимулирующие агенты и микроорганизмы. В почве с низкой эффективной пористостью добавки часто будут следовать по тонким порам, которые не контактируют с большей частью объема загрязнителя. Разрыв может создать сеть пор в загрязненных почвах, что позволит обрабатывать участки, которые раньше были недоступны напрямую.
Рекультивационные добавки могут быть размещены в недрах с использованием методов разрыва пласта или инъекционных методов. Инъекционные методы - это процесс проникновения агентов в первичную матрицу или сеть вторичной системы пор корректирующими агентами без изменения матрицы или структуры трещины. Инъектирование обычно производится в более проницаемых грунтах или в горных породах, где существующая сеть трещин достаточна для достижения целей ремедиации.
Существуют три основные технологии разрыва пласта:
- гидроразрыв пласта;
- пневморазрыв пласта;
- взрывные работы.
Покрытие с эвапотранспирацией (Evapotranspiration Covers) [191, 192]
Традиционные финишные покрытия, используемые при рекультивации полигонов, имеют ряд недостатков, и прежде всего недолговечность. Покрытия с эвапотранспирацией относятся к альтернативным покрытиям и рассматриваются как экономически эффективный вариант финишных покрытий территории. Они эстетично выглядят, поскольку в них используется естественная растительность, а после формирования вегетативной системы они требуют меньше ухода, в том числе не нуждаются в стрижке, и могут нуждаться в меньшем количестве ремонтных работ, чем барьерные системы. Однако их использование в значительной степени зависит от конкретных характеристик территории, которые должны быть исследованы перед принятием решения об использовании подобных систем. Покрытия должны не только обеспечивать защиту, то есть соответствовать целям покрытия с точки зрения защиты, а также учитывать возможные риски от содержащегося в покрытии материала и жизненного цикла системы защиты
[192].
Покрытия с эвапотранспирацией зарекомендовали себя как эффективное средство локализации отходов на муниципальных свалках, полигонах опасных и промышленных отходов.
К покрытиям с эвапотранспирацией относятся покрытия, содержащие структурные элементы, позволяющие управлять водным балансом для снижения просачивания воды с поверхности в отходы (перколяцию). В таких системах почва улавливает и удерживает осадки до тех пор, пока они не испарятся с поверхности почвы или не будут использованы растениями. Такие покрытия включают в себя различные комбинации земляных материалов и растений и обычно могут быть разделены на следующие типы покрытий:
- монолитный: любые атмосферные осадки накапливаются в слое почвы, а затем удаляются за счет эвапотранспирации;
- капиллярный разрыв: в этом покрытии используется двухслойная система для увеличения влагоемкости покрытия. Капиллярный разрыв образован двумя слоями - слоем мелкозернистого грунта поверх слоя более крупного материала (например, песка или гравия). Капиллярная сила заставляет слой мелкозернистой почвы, покрывающий более крупный материал, удерживать больше воды, чем если бы размер частиц между слоями не менялся;
- сухой барьер: покрытие сухого барьера использует поток воздуха, создаваемого ветром, через слой грубого материала для удаления воды из накопительного слоя.
Циркуляционные скважины с грунтовыми водами (Ground-Water Circulating Wells) [193, 194]
Циркуляционные скважины представляют собой метод восстановления подземных вод путем создания трехмерной схемы циркуляции
[193]. Грунтовая вода забирается в скважину через одну экранированную секцию и перекачивается через скважину во вторую экранированную секцию, где она снова подается в водоносный горизонт. Направление потока через скважину может быть задано как восходящее или нисходящее в зависимости от условий на конкретном участке. Поскольку грунтовые воды не выкачиваются на поверхность, сокращаются затраты на перекачивание. В дополнение к очистке грунтовых вод системы циркуляционных скважин могут обеспечивать одновременную очистку зоны аэрации в виде биовентиляции или откачки почвенного воздуха.
Системы циркуляционных скважин могут обеспечивать очистку внутри скважины, в водоносном горизонте или их сочетание. Для эффективной внутрискважинной обработки загрязняющие вещества должны быть достаточно растворимыми и подвижными, чтобы они могли переноситься циркулирующими грунтовыми водами. Поскольку системы циркуляционных скважин предоставляют широкий спектр вариантов ремедиации, они обеспечивают некоторую степень гибкости в работах по удалению загрязняющих веществ из грунтовых вод и водонасыщенных почв, а также могут обеспечивать одновременную обработку вадозной зоны в форме биовентилирования или экстракции почвенных паров. Метод эффективен прежде всего для удаления ЛОС и нефтепродуктов.
Горизонтальные восстановительные скважины (Horizontal Remediation Wells (HRWs)) [195]
Горизонтальные восстановительные скважины прокладывают под землей параллельно поверхности или под небольшим углом с помощью горизонтально-направленного бурения
(рисунок 2.34). Такие скважины могут достигать областей, недоступных напрямую через вертикальные скважины из-за препятствий на поверхности. HRWs могут проходить через центр или следовать вдоль длинной оси шлейфа загрязнения или геологического образования, чтобы обеспечить максимальный контакт с подземным загрязнением. HRWs могут использоваться самостоятельно или в сочетании с вертикальными скважинами, в зависимости от поставленных задач и особенностей территории.
Рисунок 2.34 - Бурение горизонтальной скважины
[195]
Горизонтальные скважины бурятся под небольшим углом с использованием специализированного оборудования для горизонтально-направленного бурения, что позволяет создать скважину с плавным изгибом на нужную глубину. После достижения нужной глубины буровое долото можно направить по прямой или изогнутой траектории, чтобы добраться до определенного объекта или обойти препятствия. Его также можно направить так, чтобы оно следовало по нисходящей траектории шлейфа загрязняющих веществ в грунтовых водах. Скважины заканчивают, проталкивая или вытягивая обсадную трубу и фильтр в изогнутую скважину.
Геометрия горизонтально-направленной скважины требует, чтобы расстояние от нее до поверхности было примерно в три - пять раз превышало целевую глубину скважины. Из-за этого входное отверстие для скважины, возможно, придется располагать за пределами участка.
Горизонтальные восстановительные скважины являются альтернативой установке обычных вертикальных скважин или рытью траншей, особенно там, где доступ к загрязнению почвы и грунтовых вод затруднен из-за поверхностных или приповерхностных препятствий. Такие скважины используются для отбора проб и обработки загрязнений под зданиями, инженерными сетями, дорогами, железнодорожными станциями, взлетно-посадочными полосами аэропортов, свалками, резервуарными парками, поверхностными водоемами и уязвимыми экологическими зонами.
Применение данной технологии также может упростить очистку протяженных шлейфов грунтовых вод за счет увеличения площади контакта между скважинами и загрязнением. Одиночная длинная горизонтальная скважина, расположенная вдоль оси шлейфа растворенной фазы, может достичь зоны влияния, сравнимой с зоной влияния нескольких вертикальных скважин
(рисунок 2.35). Зона влияния скважины принимает эллиптическую форму по всей длине горизонтальной части во время экстракции или инжекции и имеет наибольшую ширину к центру. Радиус зоны влияния наименьший на концах горизонтальной части и аналогичен радиусу вертикальной скважины в том же пласте. Таким образом, зона влияния горизонтальных восстановительных скважин больше, чем для вертикальных скважин.
Рисунок 2.35 - Сравнение зоны воздействия технологии
горизонтальных скважин (справа) с зонами влияния
вертикальных скважин (слева)
[195]
Химическое восстановление "in situ" (In Situ Chemical Reduction) [197]
Химическое восстановление "in situ" (ISCR) - разновидность метода восстановления окружающей среды, используемого для восстановления почвы и/или грунтовых вод с целью снижения концентрации целевых загрязнителей окружающей среды до приемлемых уровней. Метод заключается во введении химически восстанавливающих добавок в жидкой форме в загрязненный участок или помещения твердой среды с химическими восстановителями на пути потока загрязняющих веществ, с целью разложения токсичных органических соединений до потенциально нетоксичных или менее токсичных соединений, иммобилизации металлов, таких как Cr (VI), путем адсорбции или осаждения, и разложения неметаллических оксианионов, таких как нитраты. Наиболее часто используемым восстановителем является нуль-валентное (металлическое) железо - FeO (ZVI), которое используется для очистки галогенированных этиленов и этанов, радиоактивных элементов и некоторых металлов/металлоидов (хром (VI), мышьяк и уран). Другие восстановители, которые используются для обработки металлов, включают двухвалентное железо, дитионит натрия, сульфидные соли (полисульфид кальция) и сероводород.
Метод ISCR подходит для восстановления неорганических веществ. Неорганические вещества присутствуют в почвенном растворе в двух видах:
- анионы и оксианионы (мышьяк, хром, молибден, селен, уран);
- двухвалентные катионы (кадмий, медь, свинец, ртуть, никель, цинк).
Растворимость металлов зависит от pH, восстановительного потенциала, водных концентраций реагирующих частиц, наличия центров сорбции и кинетики реакции. Растворимость и, следовательно, подвижность многих неорганических соединений, таких как хром, медь, цинк и никель, снижается в диапазоне pH от нейтральной до слабощелочной, в то время как растворимость и подвижность могут увеличиваться как при очень кислом, так и при очень щелочном значении pH растворов. Растворимость двухвалентных металлов обычно увеличивается в восстановительных условиях, если только не присутствует достаточное количество сульфидов для удаления металлов в форме сульфидов металлов.
Восстановление металлов и металлоидов "in situ" достигается за счет механизма стабилизации, при котором изменяют геохимию загрязненной области, чтобы вызвать прямое осаждение, совместное осаждение или непрямую адсорбцию и осаждение (например, адсорбцию на гидроксидах железа) загрязняющих веществ. В
таблице 2.3 представлен список элементов и их возможных осадков при различных геохимических условиях.
Таблица 2.3
Химические элементы и возможные осадки
[197]
Элемент (первичные степени окисления в окружающей среде) | Возможные осадки на месте <1> |
Сурьма (+3, +5) | Сульфид |
Мышьяк (+3, +5) | Обычно требует соосаждения <2> |
Барий (+2) | Сульфат |
Бор (+3) | Обычно требует соосаждения |
Кадмий (+2) | Карбонат, фосфат, сульфид |
Хром (+3, +6) | Гидроксид |
Медь (+1, +2) | Гидроксид, фосфат, сульфид |
Железо (+2, +3) | Гидроксид, карбонат, сульфид |
Свинец (+2) | Карбонат, фосфат, сульфид |
Марганец (+2, +3, +4) | Оксид, карбонат, сульфид |
Ртуть (0, +1, +2) | Сульфид |
Молибден (+4, +5, +6) | Сульфид |
Никель (+2) | Гидроксид, сульфид |
Селен (2, 0, +4, +6) | Элементарное, смешанное железо-Se |
Таллий (+1, +3) | Гидроксид, карбонат, сульфид |
Уран (+4, +6) | Оксид, фосфат |
Ванадий (+3, +4, +5) | Обычно требует соосаждения |
Цинк (+2) | Гидроксид, карбонат, сульфид |
<1> Отражает легко образующиеся осадки, необходимые для восстановления на месте, а не все возможные твердые фазы. <2> Под соосаждением понимается вынос с осадком веществ, обычно растворимых в используемых условиях (Patnaik 2004). Для мышьяка это включает адсорбцию на (окси)гидроксиде железа или образование арсенопирита (AsFeS). |
Хотя с помощью данных механизмов стабилизации можно решить проблему загрязнения растворенными металлами, важно определить, останутся ли стабилизированные формы металлов в таком состоянии, когда подземные условия вернутся к естественным.
При загрязнении неорганическими веществами наиболее часто применяют следующие технологии химического восстановления
[197]:
- анаэробная биостимуляция. Восстановление металлов с помощью анаэробной биостимуляции, как правило, не связано с непосредственным воздействием микроорганизмов на металлы. Некоторые продукты дыхания микроорганизмов могут быть использованы для стабилизации металлов посредством прямого осаждения или соосаждения. В сильных анаэробных восстановительных условиях, которые могут быть созданы с использованием донора электронов и источника углерода (например, метанола, лактата, мелассы), в водоносном горизонте (или в аэрационной зоне) могут создаваться условия для восстановления сульфатов. В результате микробного восстановления сульфатов образуется H
2S, высвобождается

, что приводит к увеличению щелочности и pH. Биостимуляция создает условия для восстановления железа (от трехвалентного до двухвалентного). Ферритный метод - использование сульфата двухвалентного железа - хорошо показывает себя при нейтрализации шестивалентного хрома, реакция протекает с достаточно высокой скоростью не только в кислой, но и в нейтральной и щелочной средах. Недостатком метода является более чем 4-кратное увеличение объема образующихся при последующей нейтрализации твердых осадков;
- восстановление полисульфидом кальция. Полисульфид кальция (CaSx) является сильным восстановителем с pH около 11. Он обычно используется для осаждения металлов в системах очистки сточных вод. При внесении в почву он вызывает осаждение катионов в виде сульфидов (FeS, ZnS, PbS, CdS и CuS) и восстанавливает окисленные металлы, такие как шестивалентный хром, которые обычно осаждаются в виде гидроксида. Мышьяк является исключением при использовании CaSx, так как, в отличие от других металлов и металлоидов, встречающихся преимущественно в виде оксианионов в подземных водах, таких как селен и уран, растворимость мышьяка является самой низкой в его наиболее окисленном состоянии As (V) и увеличивается в его слегка восстановленное состояние As (III). Преобладающими формами мышьяка в нормальных условиях являются оксианионы трехвалентного арсенита и пятивалентного арсената, растворимость которых увеличивается с увеличением pH. CaSx с его сильным восстанавливающим действием и высоким pH делает мышьяк более подвижным;
- нуль-валентное (металлическое) железо - FeO (ZVI) можно использовать для обработки как оксианионов металлов, так и двухвалентных металлов, но механизмы действия в этих случаях несколько различаются. Для шестивалентного хрома механизм заключается в восстановлении до трехвалентного хрома с последующим осаждением труднорастворимых гидроксидов и оксидов хрома (Cr(OH)3, Cr2O3). Трехвалентный хром также можно удалить из раствора путем соосаждения с соединениями железа, такими как FeOOH или Fe2O3.
Адсорбция как мышьяка (III), так и мышьяка (V), является ключевым механизмом при использовании ZVI. Мышьяк образует комплексы внутренней сферы с продуктами коррозии железа, включая гидроксид железа, оксиды и гидроксиды железа смешанной валентности и оксигидроксиды железа. Мышьяк (III) и мышьяк (V), которые адсорбируются на поверхности ZVI, впоследствии покрываются последовательными слоями продуктов коррозии. Присутствие частиц ZVI в недрах создает среду для удаления катионов двухвалентных металлов посредством восстановительного осаждения, поверхностной адсорбции, комплексообразования или осаждения с оксигидроксидами железа
[197];
- комбинированные восстановители. Комбинация восстановительных методов часто может повысить эффективность очистки. Две распространенные комбинации - использование железа с дитионитом натрия и железо с биостимуляцией. Дитионит натрия является сильным восстановителем и используется в качестве восстановителя металла при очистке сточных вод. Биостимуляция и использование железа (ZVI и Fe+2) могут быть эффективными технологиями очистки от двухвалентных металлов и оксианионов металлов. В зависимости от целевых металлов и условий в недрах сочетание этих технологий может дать лучшие результаты, особенно при наличии нескольких загрязняющих веществ
[197].
Органические загрязнения (Organic Contaminants)
Нуль-валентное (металлическое) железо - FeO (ZVI) - также эффективно при обработке хлорированных алкенов и алканов, а также активных соединений, таких как гексагидро-1,3,5-тринитро-1,3,5-триазин (гексоген), октагидро-1,3,5,7-тетранитро-1,3,5,7-тетразоцин (октоген) и 2,4,6-тринитротолуол (ТНТ). Один из методов обработки загрязнения заключается в смешивании ZVI и глины в зоне загрязнения с целью восстановительного дегалогенирования хлорированных растворителей. Смешивание с глиной необходимо для того, чтобы создать застойную гидрологическую среду, препятствующую переносу загрязняющих веществ из зоны источника загрязнения в грунтовые воды, в то время как реакция с ZVI происходит внутри зоны источника загрязнения. При низкой проницаемости почвы можно вносить ZVI непосредственно в зоны источника загрязнения.
Эмульгированное нуль-валентное железо (EZVI) можно использовать для более эффективного разрушения хлорированных растворителей DNAPL (жидкости в плотной неводной фазе) в зонах их образования за счет создания тесного контакта между DNAPL и ZVI. EZVI состоит из пищевого поверхностно-активного вещества, биоразлагаемого растительного масла, воды и частиц ZVI (нано- или микрочастиц железа). EZVI образует эмульсионные частицы, содержащие ZVI в воде, окруженной масляно-жидкой мембраной. Внешняя масляная мембрана обладает гидрофобными свойствами, аналогичными свойствам DNAPL, поэтому эмульсия смешивается с DNAPL. Инкапсуляция ZVI в гидрофобную мембрану защищает железо от других компонентов грунтовых вод, которые в противном случае могли бы значительно снизить восстановительную способность железа. Такой подход позволяет уменьшить массу EZVI, необходимую для очистки, по сравнению с незащищенным ZVI. EZVI будет напрямую взаимодействовать с целевыми загрязняющими веществами до тех пор, пока масляная мембрана не разрушится в результате биологической активности. Помимо абиотической деградации, связанной с ZVI, инъекция EZVI приводит к усилению биоразложения растворенных хлорированных этиленов, поскольку растительное масло и поверхностно-активное вещество выступают в качестве доноров электронов, способствуя процессам анаэробного биоразложения
[197].
Эмульгированное масло - не единственный субстрат, который можно смешивать или вводить с ZVI для создания биологической и химической реакционной зоны. Некоторые коммерческие продукты содержат углеродный субстрат вместе с ZVI. Несмотря на различия в составе, эти продукты разработаны таким образом, чтобы использовать преимущества синергетических реакций абиотического и биотического восстановления, возникающих при их сочетании. Помимо комбинированных продуктов, ZVI можно смешивать или вводить отдельно с обычными субстратами (лактатом, мелассой, спиртом), подходящими для конкретного загрязнителя и гидрогеологических условий.
Промывка на месте (In Situ Flushing) [198]
Промывка "in situ" включает затопление зоны загрязнения соответствующим раствором для удаления загрязняющего вещества из почвы. Вода или раствор впрыскивается или инфильтрируется в зону загрязнения. Загрязняющие вещества мобилизуются за счет солюбилизации, образования эмульсий или химической реакции с промывочными растворами. После прохождения зоны загрязнения загрязняющая жидкость, содержащая загрязняющие вещества, обычно собирается и поднимается на поверхность для утилизации, рециркуляции или обработки на месте и обратной закачки
(рисунок 2.36). Традиционные методы промывки основаны на возможности подачи, контроле потока и извлечении промывочной жидкости с помощью системы откачки и обработки.
Рисунок 2.36 - Концептуальный проект системы промывки
поверхностно-активным веществом/сорастворителем
[198]
Как и в случае с откачкой и обработкой, эффективность промывки водой может быть ограничена растворимостью загрязнителя, зависящей от скорости десорбции (то есть когда десорбция загрязнителя из твердой фазы в водную фазу происходит медленно), и наличием низкопроницаемых зон и других неоднородностей недр. Химически усиленные промывочные растворы могут быть адаптированы для устранения стойких загрязняющих веществ.
В качестве жидкости для промывки может выступать вода, а также используют промывочные растворы: кислые водные растворы, щелочные растворы, хелатирующие или комплексообразующие агенты, восстановители, сорастворители или поверхностно-активные вещества. Вода экстрагирует водорастворимые (гидрофильные) или водоподвижные компоненты. Кислотные растворы можно использовать для удаления металлов или органических загрязнителей. Щелочные растворы можно использовать для некоторых металлов, таких как цинк, олово или свинец, и некоторых фенолов. Хелатирующие, комплексообразующие и восстановительные реагенты используются для восстановления некоторых металлов. Сорастворители обычно смешиваются и эффективны для некоторых органических веществ. Поверхностно-активные вещества используются для гидрофобных органических веществ. Нагрев промывочного раствора также может способствовать извлечению органических загрязнителей
[198].
Сроки для промывки "in situ" будут варьироваться в зависимости от метода промывки, типа загрязнения и конкретных характеристик участка, таких как размер загрязненной территории, ее геохимия.
Промывка почвы считается проверенной технологией, поскольку она десятилетиями использовалась на нефтяных месторождениях для повышения нефтеотдачи. Наиболее часто используются для промывки поверхностно-активные вещества и сорастворители, служащие для очистки от нефтепродуктов и хлорированных растворителей.
Окисление "in situ" (In Situ Oxidation) [199]
Химическое окисление "in situ" представляет собой агрессивную технологию, которая применяется к широкому спектру летучих и полулетучих опасных загрязнителей, включая зоны источников DNAPL, а также к растворенным химическим веществам.
Химическое окисление обычно включает окислительно-восстановительные реакции, которые превращают опасные соединения в неопасные или менее токсичные, являющиеся более стабильными, менее подвижными или инертными. Окислительно-восстановительные реакции включают перенос электронов от одного соединения к другому. Окислителями, наиболее часто используемыми для очистки от опасных загрязнителей в почве и подземных водах, являются перекись водорода, катализированная перекись водорода, перманганат калия, перманганат натрия, персульфат натрия и озон. Каждый окислитель имеет свои преимущества и недостатки, и, хотя данную технологию можно применять для очистки почвы, окислители применяются в основном для очистки грунтовых вод.
Многофазная экстракция (Multi-Phase Extraction) [200]
Многофазная экстракция заключается в использовании вакуумной системы, которая также может быть объединена со скважинным насосом, для удаления различных комбинаций загрязненных грунтовых вод, отдельных фаз нефтепродуктов и паров из недр. Система снижает уровень грунтовых вод вокруг скважины, обнажая большую часть пласта, что приводит к испарению загрязняющих веществ в открытой зоне аэрации. Оказавшись над землей, извлеченные пары или жидкие органические вещества и грунтовые воды отделяются и обезвреживаются.
Естественное восстановление (Natural Attenuation) [201]
Естественное восстановление основано на процессах самоочистки почвы и грунтовых вод. На большинстве загрязненных участков происходит естественное восстановление. Однако для надлежащей очистки участков под землей необходимо обеспечить подходящие условия, иначе очистка не будет достаточно быстрой или достаточно полной. Ученые контролируют или проверяют эти условия, чтобы убедиться, что естественное восстановление работает. Это называется контролируемым естественным восстановлением
[201].
Метод естественного восстановления лучше всего работает там, где источник загрязнения удален.
Нанотехнологии: решения для восстановления окружающей среды (Nanotechnology: Applications for Environmental Remediation) [202, 203]
К наноразмерным материалам, способным существовать в природе или созданным искусственно, можно отнести наноразмерные оксиды металлов, которые включают диоксид титана (TiO
2), оксид цинка (ZnO), оксид церия (CeO
2) и оксид железа (Fe
3O
4), некоторые из которых способны блокировать ультрафиолетовый свет. Они состоят из плотно упакованных полупроводниковых кристаллов, состоящих из сотен или тысяч атомов. Оксиды металлов могут применяться в фотокатализаторах, для обеззараживания/обезвреживания воды, окисления загрязняющих веществ органического происхождения. Мембранные фильтры с покрытием из фотокатализаторов показывают более высокую активность в разложении загрязняющих веществ
[202].
Нуль-валентные металлы, такие как наноразмерное нуль-валентное железо (ZVI), обладают высокой поверхностной реакционной способностью и используются для очистки воды, донных отложений и почв, подробно рассмотрено в разделе "Химическое восстановление" "in situ".
Бимодальные наночастицы используются для очистки почвы и грунтовых вод от загрязняющих веществ. Бимодальные наночастицы состоят из частиц элементарного железа или других металлов в сочетании с металлическим катализатором, таким как платина, золото, никель и палладий. Сочетание металлов повышает кинетику окислительно-восстановительной (редокс) реакции, тем самым ускоряя ее.
Применение наноразмерных материалов для обработки на месте зависит от конкретного объекта. Способ закачки, а также расстояние между точками закачки и их распределение будут зависеть от типа геологических пород в зоне обработки, типа и распределения загрязняющих веществ, а также от формы наноразмерных материалов, которые будут закачиваться. Кроме того, следует указать, что наноразмерные материалы могут быть потенциально токсичны и в настоящее время активно идут исследования, изучающие биоаккумуляцию наноразмерных материалов, их влияние на компоненты природной среды и влияние на организм человека
[203].
Проницаемые реакционные барьеры, проницаемые зоны реакции и применение ZVI (Permeable Reactive Barriers, Permeable Treatment Zones, and Application of Zero-Valent Iron) [204]
Проницаемый реактивный барьер представляет собой подземное сооружение из реактивных материалов, через которое должен проходить поток растворенных загрязняющих веществ, как правило, под естественным уклоном. Очищенная вода выходит с другой стороны ПРБ. Этот метод очистки грунтовых вод от растворенных загрязняющих веществ на месте их залегания сочетает в себе пассивную зону химической или биологической очистки с управлением подземным потоком жидкости.
Проницаемые реакционные барьеры могут быть решены как стационарные или полустационарные устройства. Наиболее распространенная конфигурация - траншея, заполненная реактивным материалом и расположенная перпендикулярно шлейфу грунтовых вод и пересекающая его.
Проницаемые реакционные барьеры могут быть решены как стационарные или полустационарные устройства. Наиболее распространенная конфигурация - траншея, заполненная реактивным материалом и расположенная перпендикулярно шлейфу грунтовых вод и пересекающая его.
Некоторые воронки представляют собой реакторы "in situ", которые обеспечивают легкое удаление и замену реакционной среды. В таких барьерах используются сборные траншеи, воронки или полная локализация для улавливания потока и прохождения грунтовых вод под действием силы тяжести или гидравлического напора через емкость, содержащую одну обрабатывающую среду либо несколько последовательных сред.
Для строительства подземных проницаемых реакционных барьеров также используются технологии нагнетания или гидроразрыва. Для этого используются постоянные или временные нагнетательные скважины для размещения в недрах реагентов, таких как ZVI, пищевые масла или патентованные коммерческие продукты. Точки инъекции расположены так, чтобы обеспечить перекрытие радиусов воздействия между ними, образуя зону очищения.
В большинстве траншейных барьеров используется ZVI в качестве реакционной среды для преобразования загрязняющих веществ в нетоксичные или неподвижные соединения. ZVI - мягкий восстановитель, обладающий способностью восстановительно дегалогенировать многие галогенированные углеводороды, а также удалять шестивалентный хром, мышьяк и уран.
Скорость дегалогенирования будет варьироваться для различных галогенсодержащих загрязнителей. Основным фактором, определяющим скорость разложения, является удельная площадь поверхности или площадь поверхности железа на единицу объема поровой воды.
Также существуют другие реагенты, которые можно использовать для очистки от загрязнений. Например, потоки углеводородов, вымываемые из креозота и не реагирующие с ZVI, могут быть обработаны методом биобарботажа или барьера с кислородом с медленным прохождением потока. Аэробные условия, созданные внутри барьера, обеспечивают биоразложение растворенных загрязняющих веществ.
Мульча и другие растительные материалы могут использоваться в традиционных траншейных барьерах для обработки ряда загрязняющих веществ. Биостены из проницаемой мульчи используются для очистки от хлорированных растворителей. Преимущество биологических систем в проницаемых барьерах по сравнению с чисто абиотическими системами заключается в том, что процессы очистки могут распространяться вниз по уклону из-за миграции растворимого органического углерода, что обеспечивает эффект анаэробного разложения за пределами биостены. Еще одним преимуществом является способность одной системы взаимодействовать с несколькими загрязняющими веществами с различными химическими характеристиками, включая как органические, так и неорганические соединения (например, нитраты, сульфаты, перхлораты и металлы).
В
таблице 2.4 представлен список некоторых наиболее распространенных загрязняющих веществ и реагентов, которые используются для их обработки.
Таблица 2.4
Загрязняющие вещества и материалы для обработки
[204]
Загрязнитель | ZVI | Биобарьеры | Апатит | Цеолит | Шлак | Комбинации ZVI-углерод | Органофильная глина |
Хлорированные этилены, этаны | F | F | - | - | L | F | - |
Хлорированные метаны, пропаны | - | - | - | - | - | F | - |
Хлорированные пестициды | - | - | - | - | - | P | - |
Фреоны | - | - | - | - | - | L | - |
Нитробензол | P | - | - | - | - | - | - |
Бензол, толуол, этилбензол и ксилолы | - | F | - | - | - | - | - |
Полициклические ароматические углеводороды | - | - | - | - | - | - | L |
Энергетика | P | F | - | - | - | P | - |
Перхлорат | - | F | F | L | - | L | - |
Креозот | - | - | - | - | - | - | F |
Катионные металлы (например, Cu, Ni, Zn) | L | F | F | - | L | F | - |
Мышьяк | F | - | - | L | F | F | - |
Хром (VI) | F | - | - | L | L | F | - |
Уран | F | P | F | - | - | F | - |
Стронций-90 | - | - | F | F | - | - | - |
Селен | L | - | - | - | - | L | - |
Фосфат | - | - | - | - | F | - | - |
Нитрат | - | F | F | - | - | F | - |
Аммоний | - | - | - | L | - | - | - |
Сульфат | - | F | - | - | - | L | - |
Метил-трет-бутиловый эфир | - | L | - | - | - | - | - |
F - полномасштабное применение, L - лабораторное применение, P - пилотное применение |
Технология "in situ redox manipulation" (ISRM) - это пассивная барьерная технология, основанная на управлении естественными процессами in situ для изменения подвижности или формы растворенных загрязняющих веществ в недрах. ISRM была разработана для очистки грунтовых вод, содержащих химически восстанавливаемые металлические и органические загрязняющие вещества (например, хлорированные растворители). Технология ISRM создает проницаемую зону очистки путем закачки химических реагентов и/или питательных веществ для микроорганизмов в недра ниже по течению от источника загрязнения. Тип реагента выбирается в зависимости от его способности изменять окислительно-восстановительное состояние грунтовых вод, тем самым разрушая или иммобилизуя определенные загрязняющие вещества. Поскольку безнапорные водоносные горизонты обычно являются окислительной средой, а многие загрязняющие вещества в этих водоносных горизонтах подвижны в окислительных условиях, правильное регулирование окислительно-восстановительного потенциала может привести к иммобилизации чувствительных к окислительно-восстановительным процессам неорганических загрязняющих веществ и разрушению органических загрязняющих веществ.
Проницаемые реакционные барьеры можно адаптировать для включения последовательной обработки (или полагаться на этап контролируемого естественного очищения) для очистки потоков подземных вод, содержащих смесь загрязняющих веществ.
В
таблице 2.5 представлено описание характеристик условий, при которых целесообразно или проблематично устройство проницаемых реакционных барьеров.
Таблица 2.5
Условия применения проницаемых реакционных барьеров
[204]
Условия | Идеальный вариант для проницаемого реакционного барьера | Применимость неясна - требуется дальнейшая оценка |
Пиковые концентрации загрязняющих веществ (только хлорированные алифатические углеводороды (ХАУ)) | Концентрации ХАУ < 10000 мкг/л, в зависимости от среды | Следует с осторожностью относиться к концентрациям ХАУ > 10000 мкг/л. Смешанные потоки загрязнителей требуют дальнейшей оценки, чтобы определить, могут ли все загрязнители разрушаться в результате одного или нескольких выбранных процессов в одной и той же стене или потребуется несколько стен |
Доказательства анаэробного дехлорирования (только ХАУ) | Наличие продуктов дехлорирования | Ограниченные доказательства анаэробного дехлорирования. Нет доказательств какой-либо деградации ХАУ в зависимости от конкретной очищающей среды, применяемой в проницаемом реакционном барьере |
Литология | Связные илы и пески | Хорошо консолидированная или твердая порода. Рыхлые, текучие пески |
Стратиграфия | Проницаемый реакционный барьер распространяется на нижний ограничивающий слой | Отсутствие нижнего водоудерживающего слоя, но где проницаемый реакционный барьер может распространяться на всю глубину загрязнения. Отсутствие нижнего водоудерживающего слоя и неопределенность общей глубины загрязнения требуют дополнительной оценки |
Гидравлическая проводимость | < 1,0 фут/день (< 3,5 м*10-4 см/сек) | 1,0 - 10 фут/сут (от 3,5 м*10-4 до 3,5 м*10-3 см/сек) |
Скорость грунтовых вод | < 1,0 фут/день (обычно, но не во всех случаях) | 1,0 - 10 фут/день, > 10 фут/день |
pH | 6,5 - 7,5 (нейтральный) | < 6,0 > 8,0 |
Растворенный кислород | < 4,0 мг/л | > 4,0 мг/л в сочетании с высоким расходом грунтовых вод (> 1,0 фут/сутки) |
Концентрация сульфата (ХАУ) | < 1000 мг/л | > 1000 мг/л с осторожностью, может подойти для процессов абиотического разложения |
Фитотехнологии (Phytotechnologies) [205]
Термин "фитотехнологии" в широком смысле относится к использованию растений для борьбы с загрязнением окружающей среды, включая почву, грунтовые воды, поверхностные воды, отложения и сточные воды, такие как фильтраты, кислые шахтные воды и сточные воды. Фитотехнологии считаются "зелеными" технологиями. Как правило, они менее энергоемки, менее затратны и требуют меньше обслуживания, чем более активные методы очистки, такие как выемка грунта или откачка и обработка
[205].
Технологии с использованием растений могут применяться для устранения, иммобилизации загрязняющих веществ. Из-за ограниченного охвата корнями растений фитотехнологии лучше всего подходят для борьбы с большими площадями неглубокого загрязнения, хотя некоторые фреатофиты доказали свою эффективность для обработки водоносных горизонтов на больших глубинах. Поскольку высокие уровни загрязняющих веществ могут быть токсичными для растений и подавлять рост, фитотехнологии лучше всего применять при низких и средних уровнях загрязнения, использовать с другими методами обработки или применять на завершающем этапе работ.
Фитотехнологии, как правило, применяются "in situ", хотя возможно применение "ex situ", например, гидропонные системы и искусственная обработка водно-болотных угодий. Технологии с использованием растений могут применяться для ряда органических загрязнителей, включая нефтяные углеводороды, газовые конденсаты, сырую нефть, хлорированные соединения, пестициды и взрывчатые вещества, а также для неорганических загрязнителей, таких как тяжелые металлы, металлоиды, радиоактивные материалы и соли. Кроме того, продолжаются исследования потенциала фитотехнологий для обработки пер- и полифторалкильных веществ и других загрязняющих веществ.
Многие специфические особенности участка, такие как свойства почвы, климат, наличие подходящих видов растений, сопутствующие ризосферные микробы, а также типы и концентрации загрязняющих веществ, влияют на выбор и эффективность фитотехнологических систем. Системы проектируются, устанавливаются и эксплуатируются с учетом уникальных характеристик участка. Например, пригодность вида растения определяется на основе его способности расти и выживать с учетом типа почвы, загрязняющих веществ, климата, высоты над уровнем моря и наличия воды на участке. Кроме того, комплекс должен быть в состоянии поглощать, извлекать или перерабатывать необходимые загрязняющие вещества. Другие важные факторы - скорость роста, габитус (многолетнее, однолетнее, двухлетнее, листопадное, вечнозеленое), форма (трава, цветущее растение, кустарник, дерево), глубина укоренения, устойчивость к болезням/вредителям, чувствительность.
Фитотехнологии используют шесть основных механизмов для удаления, уничтожения, переноса, стабилизации загрязняющих веществ
[205]:
1. Фитоэкстракция: поглощение загрязняющих веществ корнями растений с последующим связыванием в тканях растений. Типичные растения, используемые в фитоэкстракции (например, индийская горчица, альпийская мята, подсолнухи, папоротники, травы), наиболее эффективны в верхнем слое почвы из-за их неглубокой корневой системы и, как правило, медленного роста. Растения, которые накапливают загрязняющие вещества, могут потребовать периодического сбора урожая и надлежащей утилизации, чтобы избежать повторного загрязнения почвы, когда растения отмирают или сбрасывают листья. Хотя при использовании растений, известных как гипераккумуляторы (например, себартия (пикнандра) заостренная, мятлик альпийский), потребность в частом сборе урожая снижается, поскольку эти растения способны выдерживать повышенные концентрации загрязняющих веществ (меньшая фитотоксичность) за счет их накопления в надземных частях. Данный метод обычно применяется к неорганическим загрязнителям, таким как металлы, металлоиды и радионуклиды, поскольку органические загрязнители с большей вероятностью трансформируются, а не накапливаются в тканях растений. Тестирование показывает, что фитоэкстракция может даже оказаться полезной для извлечения ценных металлов для повторного использования.
2. Фитодеградация: поглощение загрязняющих веществ корнями растений с последующим разложением или преобразованием в менее токсичные соединения в результате метаболических процессов внутри растения. Фитодеградация также включает расщепление загрязняющих веществ в почве под действием ферментов и других соединений, вырабатываемых тканями растений, кроме корней. Фитодеградация обычно применяется для органических загрязнителей. На поглощение влияют гидрофобность, растворимость и полярность загрязнителя. Умеренно гидрофобные и полярные соединения с большей вероятностью поглощаются после того, как они сорбируются корнями растений. Хлорированные растворители, гербициды, инсектициды, полиароматические углеводороды (ПАУ), пентахлорфенол (ПХФ), полихлорированные бифенилы (ПХБ) и компоненты боеприпасов потенциально могут подвергаться фитодеградации.
3. Фитоулетучивание: транспирация загрязняющих веществ в атмосферный воздух после поглощения растением или после возможного разложения, а также трансформация загрязнителя внутри растения. Метод обычно используется для очистки грунтовых вод, но также может применяться для обработки растворимых загрязнителей в почве. Он применим для обработки летучих органических соединений, хотя возможно фитоиспарение неорганических (например, селен, ртуть, мышьяк) загрязнителей. Следует отметить, что разложение некоторых загрязняющих веществ, таких как трихлорэтилен, может привести к образованию еще более токсичных соединений (например, винилхлорида), которые будут испаряться. При попадании загрязняющих веществ в атмосферный воздух солнечный свет может фоторазлагать испаряемые соединения. Потенциальные преимущества и недостатки фитоулетучивания должны оцениваться в зависимости от конкретного участка.
4. Ризодеградация: расщепление органических загрязнителей из-за усиленной микробной активности в ризосфере растений (почвенная зона, на которую оказывают влияние корни растений). Технология считается "биологической ремедиацией с помощью растений". Присутствие корней растений снижает влажность и увеличивает аэрацию почвы, создавая более благоприятные условия для микробной среды обитания и, следовательно, для биоремедиации. Корневые экссудаты (вещества, выделяемые растением) стимулируют микробные сообщества или индуцируют в организмах специфические ферменты для усиления ризодеградации. Ризосфера небольшая, простирается примерно на один миллиметр от корней. В любой момент времени процент почвы в ризосфере невелик, и может потребоваться время, чтобы новый рост корней достиг загрязненных территорий. Ризодеградация может применяться к почвенным загрязнителям, поддающимся биоремедиации, таким как нефтяные углеводороды, ПАУ, пестициды, хлорированные растворители, ПХФ, ПХБ и поверхностно-активные вещества. Ризодеградация разрушает загрязняющие вещества в почве, а в некоторых случаях полностью минерализует их. Таким образом, сбор и утилизация растений не требуются. Однако успех этого метода зависит от конкретного места, и лабораторные сообщества микроорганизмов могут не соответствовать микробным условиям, встречающимся в полевых условиях.
5. Фитосеквестрация: иммобилизация загрязняющих веществ в корневой зоне. Также называется фитостабилизацией. Метод ограничивает миграцию загрязняющих веществ, в основном металлов, за счет адсорбции их корнями растений, образования комплексов металлов, осаждения ионов металлов (например, из-за изменения pH) или перехода в менее токсичное окислительно-восстановительное состояние. Условия, способствующие фитосеквестрации, возникают, когда растения изменяют химический и микробный состав почвы (например, за счет образования экссудатов (жидкостей, обычно сахаров и аминокислот, выделяемых корнями) или углекислого газа), что влияет на преобразование и перенос растениями почвенных металлов. Поскольку фитосеквестрация задерживает загрязняющие вещества в почве, сбор и утилизация растений не требуются. Однако необходима оценка системы, чтобы убедиться, что переноса загрязняющих веществ в растительную ткань не происходит. Из-за постоянного присутствия загрязняющих веществ в корневой зоне необходимо контролировать и поддерживать здоровье растений, чтобы обеспечить целостность системы и предотвратить выброс загрязняющих веществ в будущем. Фитосеквестрация также может использоваться для предотвращения миграции загрязнителей почвы в результате ветровой и водной эрозии, рассеивания почвы и выщелачивания.
6. Фитогидравлика: способность растений испарять воду для ограничения вертикальной или горизонтальной миграции загрязняющих веществ. Растения перехватывают часть осадков. Вода удерживается на листьях, стеблях и ветвях, где она испаряется, прежде чем достичь земли, грунтовых вод и мобилизовать загрязняющие вещества. Растения также испаряют воду, поступающую через корневую систему, что ограничивает нисходящую миграцию атмосферных осадков и грунтовых вод. Горизонтальную миграцию подземных вод можно контролировать или сдерживать с помощью глубоко укоренившихся видов, таких как степные растения и деревья, для перехвата, поглощения и испарения воды. Деревья, отнесенные к фреатофитам (глубоко укоренившиеся, хорошо испаряющие, влаголюбивые организмы) лучше всего подходят для реализации фитогидравлики. К типичным фреатофитам относятся такие виды, как тополь, ивы.
Технологии очистки донных отложений (Sediments) [206]
Под донными отложениями понимаются органические и неорганические материалы, находящиеся на дне водоема. Донные отложения могут включать, среди прочего, глину, ил, песок, гравий, разлагающиеся органические вещества и ракушки, но исключают антропогенный мусор.
Донные отложения могут загрязняться разными способами:
- городские стоки, сбрасываемые в поверхностные воды, часто содержат полициклические ароматические углеводороды (ПАУ), масла и жиры, а также тяжелые металлы;
- сельскохозяйственные стоки могут содержать удобрения и пестициды;
- промышленные разливы и выбросы, особенно те, которые произошли до введения мер контроля. Химические вещества с большей плотностью, чем вода, такие как полихлорированные бифенилы (ПХБ) и некоторые пестициды, такие как ДДТ, оседают на дно водоемов и напрямую загрязняют донные отложения;
- осадки, содержащие опасные вещества;
- сброс загрязненных грунтовых вод выше по течению.
Наиболее распространенными технологиями очистки отложений являются контролируемое естественное восстановление, изоляция "in situ", дноуглубительные работы и выемка грунта
[206]. Контролируемое естественное восстановление использует преимущества естественных процессов абиотической и биологической деградации и включает естественное покрытие загрязненных донных отложений чистыми отложениями.
Изоляция "in situ" заключается в размещении чистого материала поверх загрязненных отложений. Когда загрязняющие вещества относительно неподвижны в донных отложениях, покрытие предотвращает контакт с ними растений и животных. Относительно непроницаемое покрытие может предотвратить выход грунтовых вод через загрязненные отложения путем их отвода от загрязненного участка. Реакционные покрытия - это те, в которых используются маты из активированного угля или органоглины (природная глина, обработанная четвертичными аммониевыми соединениями) для сорбции любых загрязняющих веществ, которые вымываются из загрязненных отложений.
При дноуглубительных работах используется либо гидравлическая режущая головка, либо ковш для выемки отложений на берег для обработки и/или удаления. Оба этих метода отличаются образованием большого количества сточных вод, требующих очистки перед возвращением в окружающую среду.
Земляные работы аналогичны дноуглубительным работам, за исключением того, что отложения частично обезвоживаются путем отвода поверхностных вод из естественного русла или путем строительства вокруг них заграждения. Затем загрязненные отложения удаляются с помощью обычного строительного оборудования. Преимущество этого метода по сравнению с дноуглублением заключается в том, что при его использовании для обработки требуется гораздо меньше загрязненной воды.
Такие технологии очистки донных отложений выгодны в сильно загрязненных зонах, где необходимо быстро ликвидировать источник загрязнения. Однако в районах с низким или умеренным уровнем загрязнения альтернативный вариант может быть более привлекательным в зависимости от устойчивости экосистемы и конечной цели проекта. Недавние исследования, в том числе полевые, показали возможность применения добавок, которые могут быть нацелены на определенные или различные загрязняющие вещества в загрязненных донных отложениях. Сильные сорбенты, такие как активированный уголь, могут быть внесены в отложения для снижения биодоступности гидрофобных органических загрязнителей (ПХБ, ПАУ, ДДТ и так далее). Аналогичные сорбенты имеются и для очистки от различных загрязнений тяжелыми металлами.
Экстракция почвенного воздуха (Soil Vapor Extraction) [207]
Экстракция почвенного воздуха используется для восстановления ненасыщенной (аэрированной) зоны почвы. Посредством вакуума создается контролируемый поток воздуха и удаляются из почвы летучие и некоторые полулетучие органические загрязнители. Реализация данного метода обычно выполняется "in situ".
Промывка почвы (Soil Washing) [208]
При применении промывки почвы загрязняющие вещества, сорбированные мелкими частицами почвы, отделяются из почвенной толщи водой или водным раствором. Промывочная вода может быть дополнена основным выщелачивающим агентом, поверхностно-активным веществом или хелатообразующим агентом, а также иметь определенную pH, для лучшего удаления органических веществ и тяжелых металлов. Почва и промывная вода смешиваются "ex situ" в резервуаре или другой установке. Промывную воду и различные фракции почвы обычно разделяют с помощью гравитационного отстаивания.
Технология затвердевания/стабилизации (Solidification/Stabilization) [209]
Затвердевание/стабилизация - это технологии обработки, которые применяются для очищения путем смешивания загрязненных материалов с реагентами, уменьшающими выщелачивание и, следовательно, подвижность загрязняющих веществ. Дождь, ливневые стоки и подземные воды могут вымывать загрязняющие вещества из почвы, ила и других субстратов в окружающей среде и переносить их в грунтовые воды или близлежащие поверхностные водоемы, увеличивая потенциальные пути воздействия на человека и окружающую среду. Хотя эти две технологии обработки основаны на разных механизмах иммобилизации загрязняющих веществ, отверждение и стабилизация часто применяются вместе и обсуждаются как единая технология.
При отверждении реагенты связывают загрязненную среду в твердый материал, не проницаемый для воды. В результате площадь поверхности загрязненной среды, подверженной выщелачиванию, уменьшается. Внешний вид затвердевшего материала может варьироваться от гранулированного до монолитного блока материала.
При стабилизации реагенты вызывают химическую реакцию, снижающую вымываемость загрязняющих веществ. Реакция либо химически иммобилизует загрязняющие вещества, либо снижает их растворимость за счет образования, например, нерастворимых гидроксидов, карбонатов или силикатов металлов. Процесс чаще всего не изменяет физическую природу обрабатываемых отходов.
Реагенты, используемые для уменьшения выщелачивания, называются "связывающими". Наиболее распространенными связывающими реагентами являются портландцемент и пуццолан. Другие реагенты, называемые "добавками", нацелены на определенные загрязняющие вещества, чтобы уменьшить их способность к вымыванию или улучшить определенные свойства обрабатываемого материала (например, чтобы ускорить отверждение/время отверждения смеси).
Метод можно применять "in situ" или "ex situ" к различным твердым и жидким отходам. Чаще всего метод применяется для обработки почвы, но иногда используется для обработки грунтовых вод. Чтобы еще больше ограничить инфильтрацию воды, вокруг материала, обработанного "in situ", могут быть построены сооружения локализации, такие как инженерное покрытие или стены. Материал, обработанный "ex situ", может быть повторно использован на месте, например, в качестве обратной засыпки для раскопок или вывезен за пределы участка на свалку для захоронения.
Преимущества технологии
[209]:
- можно обрабатывать сложные смеси различных отходов, включая некоторые виды органических химикатов и жидкостей в плотной неводной фазе (например, каменноугольная смола);
- может осуществляться "in situ" или "ex situ";
- может применяться в сухих или влажных условиях, что позволяет решить проблемы, связанные с обезвоживанием и утилизацией отходов;
- используется простое и доступное оборудование и материалы;
- большинство связывающих реагентов относительно недороги;
- может осуществляться с использованием общедоступной строительной техники и не требует специальных навыков;
- при отсутствии летучих загрязнителей вторичные загрязняющие вещества не образуются;
- возможность применения "in situ" экономит место на объекте размещения отходов и снижает транспортные расходы;
- метод быстро реализуемый.
Ограничения применения технологии:
- обычно загрязняющие вещества не разрушаются, их токсичность не снижается;
- глубина загрязнения может ограничивать применение технологии в зависимости от характеристик землеройного и смешивающего оборудования;
- перед обработкой необходимо удалить крупные камни, мусор;
- перемешивание и обработка "in situ" зависит от неоднородности подповерхностной среды;
- из-за тепла, выделяющегося при смешивании с реактивными химическими веществами, могут выделяться летучие органические соединения, требующие предварительной очистки или сбора и обработки паров;
- может увеличиться объем отходов, требующих утилизации или обезвреживания на месте;
- оставление стабилизированного продукта в зоне, подверженной сейсмической активности, атмосферным воздействиям, циклам замерзания-оттаивания или другим физическим воздействиям, может нарушить его целостность и увеличить вероятность высвобождения загрязняющих веществ;
- прогнозирование долгосрочного поведения и безопасности может быть сложной задачей;
- может изменить физическую обстановку (например, создать насыпь или изменить направление потока грунтовых вод);
- варианты технологий ликвидации после омоноличивания могут быть ограничены из-за физических изменений загрязненной среды;
- может препятствовать будущему, более всестороннему восстановлению участка работ.
Экстракция растворителем (Solvent Extraction) [210]
Технология "ex situ". Метод осуществляется с использованием органического растворителя в качестве экстрагента для отделения органических и металлических загрязнителей от почвы. Растворитель смешивается с загрязненной почвой в экстракционной установке, затем извлекаемый раствор проходит через сепаратор, где загрязняющие вещества и экстрагент отделяются от почвы. Органически связанные металлы могут быть извлечены вместе с целевыми органическими загрязнениями.
Термическая обработка "ex situ" (Thermal Treatment: Ex Situ) [211]
Термическая обработка "ex situ" обычно включает разрушение или удаление загрязняющих веществ путем воздействия высокой температуры в камерах обработки, камерах сгорания или других установках, используемых для локализации загрязненной среды в процессе ремедиации. Основное преимущество обработки "ex situ" заключается в том, что она обычно требует более коротких периодов времени, и существует большая уверенность в однородности обработки из-за возможности просеивания, гомогенизации и непрерывного перемешивания загрязненной среды. Однако процессы "ex situ" требуют выемки грунта, что увеличивает затраты.
Термические процессы используют тепло для отделения, разрушения или иммобилизации загрязняющих веществ. Термическая десорбция и обеззараживание горячими газами являются технологиями разделения. Пиролиз и обычное сжигание уничтожают загрязняющие вещества.
Инсинерация (мусоросжигание) - термический метод обезвреживания отходов с использованием большой печи для сжигания мусора (инсинератора). Поскольку процесс утилизации происходит в специализированном оборудовании, это позволяет добиться максимальной производительности
[212].
Термическая десорбция "ex situ" предполагает тепловую обработку извлеченных отходов с целью испарения органических загрязнителей и воды. Как правило, газ-носитель или вакуумная система транспортируют испарившуюся воду и органические вещества в систему обработки, например установку термического окисления или регенерации. В зависимости от рабочей температуры десорбера процессы термической десорбции можно разделить на высокотемпературную термическую десорбцию (от 320 до 560 °C) или низкотемпературную термическую десорбцию (от 90 до 320 °C).
Обеззараживание горячим газом включает повышение температуры загрязненного субстрата или оборудования до 260 °C в течение определенного периода времени. Газ, выходящий из субстрата, направляется в систему дожига для уничтожения всех летучих загрязняющих веществ.
Пиролиз - химическое разложение органических материалов под действием тепла в отсутствие кислорода. Пиролиз обычно происходит под давлением и при рабочих температурах выше 430 °C. Пиролизные газы требуют дополнительной обработки. Данный метод применяется для летучих органических соединений и пестицидов, для отделения органических веществ от отходов нефтепереработки, отходов каменноугольной смолы, отходов обработки древесины, почв, загрязненных креозотом, почв, загрязненных углеводородами, смешанных (радиоактивных и опасных) отходов, отходов переработки синтетического каучука и отходов краски.
Термическая обработка отходящих газов - это один из нескольких методов очистки отходящих газов, образующихся в результате технологий первичной обработки, таких как откачка и экстракция почвенного воздуха. В дополнение к имеющимся технологиям термической обработки органические загрязнители в газообразной форме могут быть уничтожены с использованием инновационных технологий, оборудования, например реакторов с щелочным слоем.
Технология витрификации (остекловывания) использует электрический ток для расплавления загрязненной почвы при повышенных температурах (от 1600 до 2000 °C). После охлаждения продукт витрификации представляет собой химически стабильный, устойчивый к выщелачиванию материал из стекла и кристаллов, подобный обсидиану или базальтовой породе. Высокотемпературный компонент процесса разрушает или удаляет органические материалы. Радионуклиды и большинство тяжелых металлов остаются в остеклованном продукте. Витрификацию можно проводить "in situ" или "ex situ".
Термическая обработка "in situ" (Thermal Treatment: In Situ) [213]
Основное преимущество термических методов "in situ" заключается в том, что они позволяют обрабатывать почву без ее выемки и транспортировки, что приводит к значительной экономии средств. Однако обработка "in situ" обычно требует более длительных периодов времени, чем обработка "ex situ", и существует меньше уверенности в равномерности обработки из-за различных характеристик почвы и водоносных горизонтов.
Электронагрев осуществляется с использованием электродов, установленных вокруг центрального нейтрального электрода, чтобы создать концентрированный поток тока к центральной точке. Сопротивление в почве приводит к выделению тепла выше 100 °C, образованию пара и легкоподвижных загрязняющих веществ, которые извлекаются с помощью вакуумной экстракции и обрабатываются на поверхности. Нагрев электрическим сопротивлением - это чрезвычайно быстрая форма ремедиации с эффективной обработкой почвы и грунтовых вод менее чем за 40 дней. Разновидностями этой технологии являются трехфазный обогрев и шестифазный обогрев грунта.
Нагнетание горячего воздуха может привести к испарению органических загрязнителей (например, углеводородов топлива) в почве или донных отложениях. При более глубоких подземных работах горячий воздух под высоким давлением подается через скважины или трещины в почве. В поверхностных слоях почв горячий воздух обычно применяется в сочетании с перемешиванием или обработкой почвы либо "in situ", либо "ex situ".
Закачка горячей воды через нагнетательные скважины нагревает почву и грунтовые воды, что увеличивает вымывание загрязняющих веществ. Нагнетание горячей воды также вытесняет жидкости (включая продукты, не содержащие жидкости в легкой и плотной неводной фазе) и снижает вязкость загрязняющих веществ в недрах.
Инжекция (впрыск) пара нагревает почву и грунтовые воды и усиливает высвобождение загрязняющих веществ из матрицы почвы за счет снижения вязкости и ускорения испарения. Впрыск пара также может уничтожить некоторые загрязнения. Когда пар нагнетается через ряд скважин внутри и вокруг области источника, паровая зона расширяется радиально вокруг каждой нагнетательной скважины. Паровой фронт переносит загрязнение в систему скважин для откачки грунтовых вод в зоне насыщения и скважин для извлечения почвенного воздуха в зоне аэрации.
Радиочастотный нагрев - это процесс "in situ", в котором используется электромагнитная энергия для нагрева почвы и улучшения извлечения почвенного воздуха. Этот метод реализуется с помощью рядов вертикальных электродов, встроенных в почву или другую среду. Обогреваемые объемы грунта ограничены двумя рядами заземлителей, а энергия подводится к третьему ряду посередине между заземляющими рядами. Три ряда действуют как скрытый тройной конденсатор. Когда энергия подается на электродную решетку, нагрев распространяется от центра сверху вертикально вниз и в поперечном направлении наружу через слой почвы. Этот метод позволяет нагревать почву до температуры более 300 °C.
Теплопроводность (также называемая электропроводным нагревом или тепловой десорбцией на месте) осуществляется за счет подачи тепла в почву через стальные колодцы или с помощью покрытия поверхности земли. При нагревании загрязненного участка загрязняющие вещества разрушаются или испаряются. Стальные колодцы применяют при глубоком загрязнении почвы. Покрытие используется там, где почва загрязнена неглубоко. Как правило, газ-носитель или вакуумная система транспортируют испарившуюся воду и органические вещества в систему очистки.
Раздел 3 Текущие уровни потребления ресурсов и эмиссий
в окружающую среду
Текущие уровни потребления ресурсов и эмиссий в окружающую среду установлены в отношении технологий (технических решений), используемых при проведении ликвидационных работ на объектах накопленного вреда, относящихся к области применения НДТ по фактическим данным (по результатам анализа проектно-изыскательской документации (в рамках научно-исследовательских работ по заказу Минприроды России [
52,
214 -
218])), а также по результатам анкетирования.
Текущие уровни эмиссий в окружающую среду от технологий (технических решений), используемых при проведении ликвидационных работ для объектов размещения и обезвреживания отходов коммунальных, подобных коммунальным, на производстве и при предоставлении услуг населению
Согласно фактическим данным, полученным в результате анкетирования и анализа проектной документации по ликвидации/рекультивации объектов, установлены текущие уровни потребления ресурсов и текущие уровни эмиссий в окружающую среду от технологий (технологических решений) для объектов размещения и обезвреживания отходов коммунальных, подобных коммунальным, на производстве и при предоставлении услуг населению.
Основными источниками (технологии, процессы) потребления ресурсов являются:
1. Проведение рекультивации (подготовительный, технический, биологический этапы).
2. Установка дренажных систем и скважин.
3. Установка защитных экранов.
4. Работа и установка дегазационных скважин.
5. Локализация загрязнений.
6. Благоустройство территории (вспашка, посев многолетних трав, восстановление плодородия почв, растительного покрова (озеленение)).
7. Откачка и вывоз фильтрата и загрязненного грунта.
Текущие уровни потребления ресурсов для объектов размещения и обезвреживания отходов коммунальных, подобных коммунальным, на производстве и при предоставлении услуг населению на этапе ликвидации приведены в
таблице 3.1.
Таблица 3.1
Текущие уровни потребления ресурсов для объектов размещения
и обезвреживания отходов коммунальных, подобных
коммунальным, на производстве и при предоставлении услуг
населению на этапе ликвидации (по фактическим
данным анкетирования)
Ресурс | Источники (технологии), в результате которых потребляются ресурсы | Единица измерения | Диапазон расходов |
Несанкционированные свалки твердых коммунальных отходов |
Материальные ресурсы |
Вода (в том числе проливка местности) | Создание противофильтрационного экрана, защитного экрана, биологический этап рекультивации, локализация загрязнений, вспашка, посев многолетних трав, выращивание растительного покрова | т/га | 0,2 - 185 |
Геоматериалы (геомембрана, георешетка, геотекстиль) | Создание дренажной системы, защитного экрана, изолирующего слоя, технический и подготовительный этапы рекультивации | кв. м/га | 1505 - 61238 |
Трубы (ПВХ, дренажные и др.) | Создание дренажной системы, дегазационных скважин | м/га | 0,059 - 372 |
Глина | Создание противофильтрационного экрана полигона, защитного экрана, технический этап рекультивации | куб. м/га | 0,956 - 63480 |
Гравий | Создание защитного экрана, подготовительный и технический этапы рекультивации | куб. м/га | 4,477 - 2595,1 |
Грунт (суглинок) | Биологический этап рекультивации, создание плодородного слоя на теле свалки, восстановление плодородия почв, рекультивация | т/га | 28 - 3000 |
Бетон | Создание газоотводных скважин по периметру тела свалки, дегазационные скважины | куб. м/га | 0,13 - 2,1 |
Песок | Создание защитного экрана, технический этап рекультивации | куб. м/га | 230 - 9133,5 |
Щебень | Создание защитного экрана, газоотводных скважин по периметру тела свалки, рекультивация, устройство карты складирования | куб. м/га | 12,5 - 1030 |
Стройматериалы (плиты, профнастил, кабельная продукция, панели, анкеры) | Локализация загрязнений | т/га | 0,447 - 1,8 |
Мат (бетонный, противоэрозионный) | Создание защитного экрана, изолирующего слоя | кв. м/га | 8450,262 |
Электроды сварочные | Создание защитного экрана | т/га | 0,0002 - 0,0004 |
Семена (трав, многолетних трав) | Создание защитного экрана, биологический этап рекультивации, вспашка, посев многолетних трав | кг/га | 22,87 - 184,228 |
Минеральные удобрения | Вспашка, посев многолетних трав | т/га | 1,1 - 1,2 |
Топливные ресурсы |
Дизельное топливо | Создание противофильтрационного экрана, дренажной системы, защитного экрана, системы газоудаления, изолирующего слоя, технический и биологический этапы рекультивации, локализация загрязнений, создание газоотводных скважин по периметру тела свалки, создание плодородного слоя на теле свалки, откачка и вывоз фильтрата и загрязненного грунта, восстановление плодородия почв, растительного покрова | т/га | 0,15 - 15,5 |
Бензин | Создание изолирующего слоя, откачка и вывоз фильтрата и загрязненного грунта | т/га | 0,03 - 11,9 |
Энергетические ресурсы |
Электроэнергия | Создание противофильтрационного экрана, дренажной системы, защитного экрана, системы газоудаления, локализация загрязнений, рекультивация | кВт/ч/га | 3 - 152 |
Свалки, полигоны твердых коммунальных отходов |
Материальные ресурсы |
Вода (заправка, полив, увлажнение и др.) | Вспашка, посев многолетних трав, подготовительные работы, техническая и биологическая рекультивация, верхний защитный экран, выравнивание слоя, противофильтрационная завеса, локализация загрязнений | т/га | 2,7 - 4536 |
Геоматериалы (георешетка, геомембрана, геотекстиль) | Технический этап рекультивации, экран полигона, подпорная стена, дренаж фильтра, верхний защитный экран, сбор фильтрата, изолирующий слой | кв. м/га | 354 - 121615 |
Трубы ПВХ | Создание скважин, сбор фильтрата, дренаж | пог. м/га | 6,459 |
Песок | Создание экрана полигона, подпорной стены, дренажа | куб. м/га | 1010 - 5093 |
Грунт | Тело, экран полигона, создание плодородного слоя, выравнивание слоя, верхний защитный экран, противофильтрационная завеса, защитное рекультивационное покрытие | куб. м/га | 8635 - 33167 |
Щебень | Технический этап рекультивации, подпорная стена, дренаж фильтра, создание скважин, сбор фильтрата | куб. м/га | 77 - 930 |
Глина | Создание скважин | т/га | 0,134 |
Гравий | Создание скважин, дренаж | т/га | 0,129 |
Бетон | Создание скважин, противофильтрационная завеса | т/га | 0,172 |
Мат (бетонный, противоэрозионный) | Технический этап рекультивации | кв. м/га | 67590 - 123686 |
Стройматериалы (анкеры, арматура и др.) | Технический этап рекультивации, противофильтрационная завеса, сбор фильтрата, резервуар для сбора фильтрата | т/га | 26 - 26,5 |
Семена (травосмесь, многолетние травы) | Биологический этап рекультивации, вспашка, посев многолетних трав, верхний защитный экран, благоустройство | кг/га | 22,87 - 2243 |
Минеральные удобрения | Биологический этап рекультивации, вспашка, посев многолетних трав | т/га | 0,2 - 4,205 |
Топливные ресурсы |
Бензин | Подготовительные работы, техническая и биологическая рекультивация | т/га | 2,2 - 1626 |
Дизельное топливо | Подготовительные работы, техническая и биологическая рекультивация | т/га | 0,38 - 27 |
Энергетические ресурсы |
Электроэнергия | Обслуживание полигона, выполнение работ по рекультивации, локализация загрязнений | кВт/ч/га | 82 - 543 |
Основными источниками выбросов в атмосферный воздух при ликвидации объектов размещения и обезвреживания отходов коммунальных, подобных коммунальным, на производстве и при предоставлении услуг населению являются:
1. Строительная техника и грузовой автотранспорт (выхлопные газы от двигателей внутреннего сгорания экскаваторов, погрузчиков, бульдозеров, самосвалов, тракторов и др.).
2. Свалочное тело (биогаз).
3. Дизель-генераторные установки.
4. Земляные работы (пыление при перемещении земляных масс, погрузочно-разгрузочных работах, пересыпке сыпучих материалов).
5. Площадки хранения грунта.
6. Топливозаправщики, дыхательные клапаны резервуаров в процессе хранения (малое дыхание) и слива (большое дыхание) топлива, топливные баки автомобилей в процессе их заправки, места испарения топлива при случайных проливах.
7. Сварочные работы (в том числе сварка полимерных материалов).
8. Лакокрасочные работы.
9. Площадки накопления хозяйственно-бытовых стоков.
10. Площадки обезвреживания сточных вод на локальных очистных сооружениях.
Перечень загрязняющих веществ и удельные выбросы загрязняющих веществ при ликвидации 1 куб. м отходов приведены в
таблице 3.2.
Таблица 3.2
Текущие уровни эмиссий загрязняющих веществ в атмосферный
воздух для объектов размещения и обезвреживания отходов
коммунальных, подобных коммунальным, на производстве
и при предоставлении услуг населению на этапе ликвидации
(по фактическим данным, указанным в проектной документации
на ликвидацию/рекультивацию объекта и данным анкетирования)
Источник образования выбросов | Наименование загрязняющего вещества | Удельный выброс загрязняющих веществ в результате ликвидации 1 куб. м отходов/загрязняющих веществ, г/куб. м |
Строительная техника и грузовой автотранспорт | Азота диоксид | 0,0192 - 175,185 |
Азота оксид | 0,000051 - 28,471 |
Углерод (сажа) | 0,000052 - 27,94 |
Серы диоксид | 0,00057 - 41,828 |
Углерода оксид | 0,0137 - 255,022 |
Бензол | 0,0000735 - 0,14 |
Бензин | 0,0002369 - 2,98 |
Керосин | 0,000158 - 17,6 |
Свалочное тело | Азота диоксид | 0,0152 - 59,9 |
Азота оксид | 0,00004 - 9,65 |
Серы диоксид | 0,0034 - 114 |
Углерода оксид | 0,034 - 320 |
Формальдегид | 0,000313 - 210 |
Сероводород | 0,000005 - 57 |
Аммиак | 0,00049 - 1160 |
Метан | 0,0006 - 115000 |
Диметилбензол (ксилол) | 0,0000078 - 960 |
Метилбензол (толуол) | 0,000075 - 1570 |
Этилбензол | 0,0000026 - 210 |
Дизель-генераторные установки | Азота диоксид | 0,022 - 86,6 |
Азота оксид | 0,000058 - 14 |
Углерод (сажа) | 0,000036 - 13,5 |
Серы диоксид | 0,00083 - 27 |
Углерода оксид | 0,0152 - 142 |
Бенз(а)пирен | 0,0000000027 - 0,289 |
Формальдегид | 0,00000731 - 4,8 |
Керосин | 0,00032 - 36 |
Земляные работы | Пыль неорганическая: 70 - 20% SiO2 | 0,0000028 - 120 |
Площадка хранения грунта, материалов | Пыль неорганическая: 70 - 20% SiO2 | 0,00000151 - 63,3 |
Заправка техники и хранение ГСМ | Азота диоксид | 0,00002 - 0,0786 |
Азота оксид | 0,000000053 - 0,0127 |
Углерод (сажа) | 0,000000022 - 0,008 |
Серы диоксид | 0,00000151 - 0,04969 |
Углерода оксид | 0,000046 - 0,43 |
Керосин | 0,0000015 - 0,168 |
Сероводород | 0,0000000003 - 0,0033 |
Смесь предельных углеводородов C12 - C19 (алканы C12 - C19) | 0,000000197 - 16,23 |
Сварочные работы (сварка металлических изделий) | диЖелезо триоксид | 0,0000013 - 0,093 |
Марганец и его соединения | 0,00000043 - 0,0073 |
Фториды | 0,00000235 - 0,011 |
Хром | 0,000023 - 0,01 |
Сварочные работы (сварка полимерных материалов) | Углерода оксид | 0,00000023 - 0,00213 |
Формальдегид | 0,000000003 - 1,49 |
Ацетальдегид | 0,000000003 - 0,018 |
Этановая кислота | 0,0000000187 - 0,019 |
Лакокрасочные работы | Диметилбензол (ксилол) | 0,0000000016 - 0,2 |
Метилбензол (толуол) | 0,0000000113 - 0,24 |
Бутилацетат | 0,00377 - 0,031 |
Пропан-2-он (Ацетон) | 0,0000089 - 0,0026 |
Уайт-спирит | 0,00039 - 0,44 |
Площадки накопления хозяйственно-бытовых стоков | Азота диоксид | 0,000000005 - 0,00002 |
Азота оксид | 0,0000000009 - 0,00021 |
Формальдегид | 0,0000000003 - 0,00019 |
Сероводород | 0,000000000039 - 0,00042 |
Аммиак | 0,0000000007 - 0,0016 |
Метан | 0,0000000003 - 0,053 |
Гидроксибензол (фенол) | 0,0000015 - 0,077 |
Этантиол | 0,000000057 - 0,0141 |
Площадки обезвреживания сточных вод на локальных очистных сооружениях | Гидрохлорид | 0,039 - 2,68 |
Хлор | 0,00000048 - 1510 |
Суммарные эмиссии от процесса ликвидации/рекультивации объектов | 0,17 - 122233,52 |
В процессе ликвидации объектов размещения и обезвреживания отходов коммунальных, подобных коммунальным, на производстве и при предоставлении услуг населению образуются фильтрационные воды, вывоз и обезвреживание которых осуществляются специализированной организацией на очистных сооружениях за пределами объекта накопленного вреда окружающей среде. Хозяйственно-бытовые сточные воды, поверхностные стоки (сток дождевых и талых вод) собираются в специализированные емкости, очищаются на месте с использованием фильтр-патрона, локальных очистных сооружений и в дальнейшем используются для производственных нужд или откачиваются ассенизационными машинами с вывозом на очистные сооружения или направляются в централизованную систему водоотведения.
Перечни загрязняющих веществ и удельное образование фильтрационных вод в результате ликвидации 1 куб. м отходов/загрязняющих веществ, куб. м/куб. м приведены в
таблице 3.3.
Таблица 3.3
Удельное образование фильтрационных вод для объектов
размещения и обезвреживания отходов коммунальных, подобных
коммунальным, на производстве и при предоставлении услуг
населению на этапе ликвидации
Источник образования сбросов | Загрязняющие вещества | Удельное образование сбросов загрязняющих веществ в результате ликвидации 1 куб. м отходов/загрязняющих веществ, куб. м/куб. м (в целом при ликвидации объекта размещения и обезвреживания отходов коммунальных, подобных коммунальным, на производстве и при предоставлении услуг населению отходов) |
Общий объем фильтрационных сточных вод | Взвешенные вещества | 0,0027 - 0,08184528 |
БПК20 |
Нефтепродукты |
Железо |
Сульфат-ион |
Нитрат-ион |
Фосфат-ион |
Хром |
Хлорид-ион |
Никель |
Сухой остаток |
Нитрат-ион |
ХПК |
Аммиак |
АПАВ |
Свинец |
Кадмий |
Медь |
Цинк |
Мышьяк |
Марганец |
Кобальт |
Алюминий |
Ртуть |
Бенз(а)пирен |
Принятыми проектными решениями исключаются сброс неочищенных сточных вод и негативное воздействие на водные объекты в результате забора воды.
В процессе ликвидации и рекультивации объектов размещения и обезвреживания отходов коммунальных, подобных коммунальным, на производстве и при предоставлении услуг населению образуются отходы III - V классов опасности.
Удельное образование отходов в результате ликвидации 1 куб. м отходов/загрязняющих веществ (в целом при ликвидации объекта размещения и обезвреживания отходов коммунальных, подобных коммунальным, на производстве и при предоставлении услуг населению отходов) составляет от 0,000016 до 0,06151818 т/куб. м.
Все образуемые в процессе работ отходы передаются специализированным организациям для утилизации, обезвреживания, размещения. Основными источниками образования отходов являются:
- хозяйственно-бытовая деятельность персонала. Образуются следующие виды отходов: мусор от офисных и бытовых помещений организаций несортированный (исключая крупногабаритный); отходы очистки накопительных баков мобильных туалетных кабин; спецодежда из хлопчатобумажного и смешанных волокон, утратившая потребительские свойства, незагрязненная; спецодежда из натуральных, синтетических, искусственных и шерстяных волокон, загрязненная нефтепродуктами (содержание нефтепродуктов менее 15%); обувь кожаная рабочая, утратившая потребительские свойства; респираторы фильтрующие текстильные, утратившие потребительские свойства; каски защитные пластмассовые, утратившие потребительские свойства; пищевые отходы кухонь и организаций общественного питания несортированные; лампы накаливания, утратившие потребительские свойства; лампы ртутные, ртутно-кварцевые, люминесцентные, утратившие потребительские свойства и другие виды отходов;
- демонтажные, монтажные, строительно-ремонтные работы, ликвидационные работы. Образуются следующие виды отходов: отходы бетона, загрязненные нефтью или нефтепродуктами в количестве не более 15%; лом железобетонных изделий, отходы железобетона в кусковой форме; лом железобетонных изделий, отходы железобетона в кусковой форме; лом кирпичной кладки от сноса и разборки зданий; отходы строительного щебня; отходы (мусор) от строительных и ремонтных работ; грунт, образовавшийся при проведении землеройных работ; отходы бентонитовой глины при ремонтно-строительных работах; другие виды отходов;
- временные очистные сооружения сточных вод. Образуются следующие виды отходов: осадок механической очистки нефтесодержащих сточных вод, содержащий нефтепродукты в количестве менее 15%; мусор с защитных решеток при совместной механической очистке дождевых и нефтесодержащих сточных вод; осадок очистных сооружений дождевой (ливневой) канализации малоопасный; всплывшие нефтепродукты из нефтеловушек и аналогичных сооружений; фильтрующая загрузка из угля активированного и нетканых полимерных материалов, загрязненная нефтепродуктами (содержание нефтепродуктов менее 15%); всплывшие нефтепродукты из нефтеловушек и аналогичных сооружений; осадок механической очистки смеси ливневых и производственных сточных вод, не содержащий специфических загрязнителей, и другие виды отходов;
- распаковка материалов. Образуются следующие виды отходов: тара из разнородных полимерных материалов, загрязненная удобрениями; отходы пленки полипропилена и изделий из нее незагрязненные; упаковка полипропиленовая, загрязненная нерастворимыми или малорастворимыми неорганическими веществами природного происхождения (исключая крупногабаритный); тара из разнородных полимерных материалов, загрязненная дезинфицирующими средствами; тара полиэтиленовая, загрязненная лакокрасочными материалами (содержание менее 5%); тара полиэтиленовая загрязненная щелочами (содержание менее 5%); упаковка полиэтиленовая загрязненная реагентами для водоподготовки; упаковка из разнородных полимерных материалов, загрязненная неорганическими водорастворимыми солями; упаковка полипропиленовая отработанная незагрязненная (упаковка от рулонов геомембраны); тара из черных металлов, загрязненная лакокрасочными материалами (содержание менее 5%), и другие виды отходов;
- расчистка территории от древесной растительности, мелколесья и кустарников. Образуются следующие виды отходов: отходы сучьев, ветвей, вершинок от лесоразработок; отходы корчевания пней и другие виды отходов;
- сварочные работы. Образуются следующие виды отходов: окалина при сварке черных металлов; огарки стальных сварочных электродов и другие виды отходов;
- обслуживание автотранспорта, оборудования. Образуются следующие виды отходов: обтирочный материал, загрязненный нефтью или нефтепродуктами (содержание нефти или нефтепродуктов менее и более 15%); песок, загрязненный нефтью или нефтепродуктами (содержание нефти или нефтепродуктов менее и более 15%); опилки и стружка древесные, загрязненные нефтью или нефтепродуктами (содержание нефти или нефтепродуктов менее и более 15%); опилки, пропитанные лизолом; покрышки пневматических шин с металлическим кордом отработанные; аккумуляторы свинцовые отработанные неповрежденные, с электролитом; отходы минеральных масел моторных; отходы минеральных масел трансмиссионных; фильтры очистки масла автотранспортных средств и другие виды отходов.
Представленный примерный перечень образуемых в процессе ликвидации и рекультивации объектов размещения и обезвреживания отходов коммунальных, подобных коммунальным, на производстве и при предоставлении услуг населению отходов может быть дополнен другими отходами для каждого объекта накопленного вреда окружающей среде.
Принятыми проектными решениями исключается прямое негативное воздействие отходов, образуемых в период проведения работ по ликвидации/рекультивации полигонов и свалок ТКО, на компоненты природной среды (атмосферный воздух, почвы, поверхностные и подземные воды).
Воздействие на почвенный, растительный покров и животный мир в период производства работ по ликвидации/рекультивации полигонов и свалок ТКО носит вынужденный, ограниченный по времени характер и не является существенным.
Проектные решения по ликвидации и рекультивации полигонов и свалок ТКО (в том числе несанкционированных) направлены на восстановление продуктивности и народнохозяйственной ценности земель, улучшение условий окружающей среды, восстановление территорий с целью их дальнейшего использования. При производстве работ осуществляется восстановление плодородия земель посредством посева травосмеси, посадки древесной и кустарниковой растительности на поверхности рекультивируемого объекта.
Текущие уровни эмиссий в окружающую среду от технологий (технологических решений), используемых при проведении ликвидационных работ для объектов, являющихся результатом деятельности предприятий нефтепереработки, нефтехимического производства
Согласно фактическим данным, полученным в результате анкетирования и анализа проектной документации по ликвидации/рекультивации объектов, установлены текущие уровни потребления ресурсов и текущие уровни эмиссий в окружающую среду для объектов, являющихся результатом деятельности предприятий нефтепереработки, нефтехимического производства.
Текущие уровни потребления ресурсов для объектов, являющихся результатом деятельности предприятий нефтепереработки и нефтехимического производства, на этапе ликвидации, приведены в
таблице 3.4.
Таблица 3.4
Текущие уровни потребления ресурсов для объектов, являющихся
результатом деятельности предприятий нефтепереработки,
нефтехимического производства, в процессе ликвидационных
работ (по фактическим данным анкетирования)
Ресурс | Источники (технологии), в результате которых потребляются ресурсы | Единица измерения | Диапазон расходов |
Материальные ресурсы |
Саженцы деревьев, кустарников (ель, сосна, ива, бузина, сосна) | Планировка и уплотнение, восстановление плодородного слоя, посадка деревьев и кустарников, посев трав, заполнение и укрепление русла реки, устройство дамбы, устройство металлической трубы, устройство временного русла | кг/га | 31,2 - 77,46 |
Семена растений (рогоз, ежа, клевер, костер, камыш, овсянница, тимофеевка) | Планировка и уплотнение, восстановление плодородного слоя, посадка деревьев и кустарников, посев трав, заполнение и укрепление русла реки, устройство дамбы, устройство металлической трубы, устройство временного русла | кг/га | 1,4 - 115,09 |
Грунт (производственный, плодородный) | Заполнение и укрепление русла реки, устройство дамбы, устройство металлической трубы, устройство временного русла, формирование/восстановление плодородного слоя | куб. м | 1977 - 28589 |
Укладка труб | Заполнение и укрепление русла реки, устройство дамбы, устройство металлической трубы, устройство временного русла, устройство дренажей | п.м | 11,5 - 754 |
Устройство слоя (торф, гравий, грунт, песок, керамзит, глина и др.) | Заполнение и укрепление русла реки, устройство дамбы, устройство металлической трубы, устройство временного русла | куб. м | 8,5 - 3364,4 |
Основными источниками выбросов в атмосферный воздух при ликвидации объектов являются:
1. Строительная техника и грузовой автотранспорт (выхлопные газы от двигателей внутреннего сгорания экскаваторов, бульдозеров, самосвалов, тракторов и др.).
2. Дизель-генераторные установки.
3. Земляные работы (пыление при перемещении земляных масс, погрузочно-разгрузочных работах, пересыпке сыпучих материалов).
4. Площадки хранения грунта.
5. Топливозаправщики, дыхательные клапаны резервуаров в процессе хранения (малое дыхание) и слива (большое дыхание) топлива, топливные баки автомобилей в процессе их заправки, места испарения топлива при случайных проливах.
Перечень загрязняющих веществ и удельные выбросы загрязняющих веществ при ликвидации 1 куб. м отходов приведены в
таблице 3.5.
Таблица 3.5
Текущие уровни эмиссий загрязняющих веществ в атмосферный
воздух для объектов, являющихся результатом деятельности
предприятий нефтепереработки, нефтехимического производства
в процессе ликвидационных работ (по фактическим данным,
указанным в проектной документации
на ликвидацию/рекультивацию объекта и данным анкетирования)
Источник образования выбросов | Наименование загрязняющего вещества | Удельный выброс загрязняющих веществ в результате ликвидации 1 куб. м отходов/загрязняющих веществ, г/куб. м |
Двигатели внутреннего сгорания спецтехники и автотранспорта в период проведения работ, в том числе при осуществлении погрузочно-разгрузочных работ | Азота оксид | 0,000163 - 4,87 |
Углерод (сажа) | 0,000109 - 4,14 |
Серы диоксид | 0,000217 - 3,07 |
Углерода оксид | 0,00244 - 25,2 |
Бензин | 0,00212 |
Керосин | 0,00038 - 7,24 |
Пыль неорганическая: 70 - 20% SiO2 | 8,53 |
Смесь предельных углеводородов C12-19 | 72,5 |
Формальдегид | 0,00329 |
Воздействие на водные ресурсы при выполнении работ носит локальный и кратковременный характер. При соблюдении природоохранных мероприятий прямое негативное влияние на поверхностные и подземные воды в процессе ликвидации объектов отсутствует.
В процессе ликвидации нефтешламовых амбаров и рекультивации нефтезагрязненных земель образуются отходы III - V классов опасности. Основными источниками образования отходов являются:
- хозяйственно-бытовая деятельность персонала. Образуются следующие виды отходов: мусор от офисных и бытовых помещений организаций несортированный (исключая крупногабаритный); отходы очистки накопительных баков мобильных туалетных кабин;
- демонтажные, монтажные, строительно-ремонтные работы. Образуются следующие виды отходов: отходы бетона, загрязненные нефтью или нефтепродуктами в количестве не более 15%; лом железобетонных изделий, отходы железобетона в кусковой форме; лом железобетонных изделий, отходы железобетона в кусковой форме; лом кирпичной кладки от сноса и разборки зданий и другие виды отходов;
- временные очистные сооружения сточных вод. Образуются следующие виды отходов: осадок механической очистки нефтесодержащих сточных вод, содержащий нефтепродукты в количестве менее 15%; мусор с защитных решеток при совместной механической очистке дождевых и нефтесодержащих сточных вод; осадок очистных сооружений дождевой (ливневой) канализации малоопасный; всплывшие нефтепродукты из нефтеловушек и аналогичных сооружений; фильтрующая загрузка из угля активированного и нетканых полимерных материалов, загрязненная нефтепродуктами (содержание нефтепродуктов менее 15%), и другие виды отходов;
- распаковка материалов. Образуются следующие виды отходов: тара из разнородных полимерных материалов, загрязненная удобрениями; отходы пленки полипропилена и изделий из нее незагрязненные и другие виды отходов;
- расчистка территории от древесной растительности, мелколесья и кустарников. Образуются следующие виды отходов: отходы сучьев, ветвей, вершинок от лесоразработок; отходы корчевания пней и другие виды отходов;
- ликвидация нефтяных загрязнений. Образуются следующие виды отходов: отходы битума нефтяного строительного; грунт, загрязненный нефтью или нефтепродуктами (содержание нефти или нефтепродуктов менее и более 15%); песок, загрязненный нефтью или нефтепродуктами (содержание нефти или нефтепродуктов менее 15%); отходы песка незагрязненные; отходы строительного щебня незагрязненные; цеолит отработанный, загрязненный нефтью и нефтепродуктами (содержание нефтепродуктов менее и более 15%); силикагель отработанный, загрязненный нефтью и нефтепродуктами (содержание нефтепродуктов менее и более 15%); сорбенты на основе торфа и/или сфагнового мха, загрязненные нефтепродуктами (содержание нефтепродуктов менее и более 15%), и другие виды отходов;
- сварочные работы. Образуются следующие виды отходов: окалина при сварке черных металлов; огарки стальных сварочных электродов и другие виды отходов;
- обслуживание автотранспорта, оборудования. Образуются следующие виды отходов: обтирочный материал, загрязненный нефтью или нефтепродуктами (содержание нефти или нефтепродуктов менее 15%); опилки и стружка древесные, загрязненные нефтью или нефтепродуктами (содержание нефти или нефтепродуктов менее и более 15%); покрышки пневматических шин с металлическим кордом отработанные; аккумуляторы свинцовые отработанные неповрежденные, с электролитом; отходы минеральных масел моторных; отходы минеральных масел трансмиссионных и другие виды отходов.
Все образуемые в процессе работ отходы передаются специализированным организациям для утилизации, обезвреживания, размещения.
Принятыми проектными решениями исключается прямое негативное воздействие отходов на компоненты природной среды (атмосферный воздух, почвы, поверхностные и подземные воды).
Воздействие на почвенный, растительный покров и животный мир в период производства работ по ликвидации/рекультивации объектов носит вынужденный, ограниченный по времени характер и не является существенным.
Проектные решения по ликвидации нефтешламовых амбаров и рекультивации нефтезагрязненных земель предусматривают расчистку территории от отходов, восстановление плодородия почвы путем посева травосмесей, а также посадки деревьев и кустарников на рекультивируемых участках. Это способствует регулированию поверхностного стока и активации природных процессов самоочищения почв.
Текущие уровни эмиссий в окружающую среду от технологий (технологических решений), используемых при проведении ликвидационных работ для объектов, являющихся результатом деятельности химического производства
Согласно фактическим данным, полученным в результате анкетирования и анализа проектной документации по ликвидации/рекультивации объектов, установлены текущие уровни потребления ресурсов и текущие уровни эмиссий в окружающую среду для объектов, являющихся результатом деятельности химического производства.
Текущие уровни потребления ресурсов для объектов, являющихся результатом деятельности химического производства, в процессе работ на этапе ликвидации, приведены в
таблице 3.6.
Таблица 3.6
Текущие уровни потребления ресурсов для объектов, являющихся
результатом деятельности химического производства в процессе
ликвидационных работ (по фактическим данным анкетирования)
Ресурс | Источники (технологии), в результате которых потребляются ресурсы | Единица измерения | Диапазон расходов |
Материальные ресурсы |
Вода (производственная, хозяйственно бытовая) | Загрязненные химическими веществами территории в границах НВОС, биоремедиация, территория производственной площадки, шламонакопителя, полигон ТКО, комплекс иловых карт | куб. м/сут | 4,91 - 172,76 |
Элемент рулонный обратноосмотический | Установка обезвреживания жидких отходов карт, установка очистки поверхностных (ливневых и талых) сточных вод | шт./год | 80 - 608 |
Элемент рулонный обратноосмотический | Установка очистки дренажных вод | шт./период ликвидации | 72 - 192 |
Геоматериалы (геомембрана, геотекстиль) | Противофильтрационный экран | кв. м/га | 11000 - 25000 |
Колодцы | Устройство системы сбора и отвода поверхностного стока и дренажных вод | шт. | 110 |
Трубопроводы | Устройство системы сбора и отвода поверхностного стока и дренажных вод | п.м | 4000 |
Грунт | Верхнее изоляционное покрытие | т/га | 3653,4 |
Материалы минеральные сыпучие (минеральные удобрения) | Верхнее изоляционное покрытие, биологический этап рекультивации | т/га | 0,013 - 3102,2 |
Щебень | Верхнее изоляционное покрытие | т/га | 3414,6 |
Семена многолетних трав | Биологический этап рекультивации | кг/га | 13,34 |
Топливные ресурсы |
Бензин | Загрязненные химическими веществами территории в границах НВОС, биоремедиация, территория производственной площадки, шламонакопителя, полигон ТКО, комплекс иловых карт | л | 44880 - 179520 |
Дизельное топливо | Загрязненные химическими веществами территории в границах НВОС, биоремедиация, территория производственной площадки, шламонакопителя, полигон ТКО, комплекс иловых карт | л | 652714 - 5084006 |
Энергетические ресурсы |
Электроэнергия | Загрязненные химическими веществами территории в границах НВОС, биоремедиация | тыс. кВт*ч/год | 122,949 - 177,722 |
Основными источниками выбросов в атмосферный воздух при ликвидации объектов являются:
1. Работа строительной техники и грузового автотранспорта (выхлопные газы от двигателей внутреннего сгорания экскаваторов, бульдозеров, самосвалов, тракторов).
2. Дизель-генераторные установки.
3. Демонтажные и строительные работы.
4. Земляные работы (пыление при перемещении земляных масс, погрузочно-разгрузочных работах, пересыпке сыпучих материалов).
5. Сварочные и лакокрасочные работы.
Перечень загрязняющих веществ и удельные выбросы загрязняющих веществ при ликвидации 1 т отходов приведены в
таблице 3.7.
Таблица 3.7
Текущие уровни эмиссий загрязняющих веществ в атмосферный
воздух для объектов, являющихся результатом деятельности
химического производства в процессе ликвидационных работ
(по фактическим данным, указанным в проектной документации
на ликвидацию/рекультивацию объекта и данным анкетирования)
Источник образования выбросов | Наименование загрязняющего вещества | Удельный выброс загрязняющих веществ в результате ликвидации 1 т отходов/загрязняющих веществ, г/т |
Эмиссия от всех источников в период ликвидации объекта | диЖелезо триоксид (железа оксид) (в пересчете на железо) | 0,00116 - 0,684 |
Марганец и его соединения (в пересчете на марганец (IV) оксид) | 0,000124 - 0,0589 |
Азота диоксид (Двуокись азота; пероксид азота) | 2,075 - 1018,15 |
Азот (II) оксид (Азот монооксид) | 0,337 - 165,449 |
Углерод (Пигмент черный) | 0,0312 - 108,31 |
Сера диоксид | 0,0198 - 321,332 |
Дигидросульфид (Водород сернистый, дигидросульфид, гидросульфид) | 0,00088 - 1,089 |
Углерода оксид (Углерод окись; углерод моноокись; угарный газ) | 0,167 - 641,09 |
Фториды газообразные | 0,00006 |
Фториды неорганические плохо растворимые | 0,000297 |
Смесь предельных углеводородов C1H4 - C5H12 | 0,487 |
Смесь предельных углеводородов C6H14 - C10H22 | 0,244 - 2,865 |
Пентилены (амилены - смесь изомеров) | 0,0019 - 0,185 |
Бензол (Циклогексатриен; фенилгидрид) | 0,0017 - 0,087 |
Диметилбензол (смесь о-, м-, п-изомеров) (Метилтолуол) | 0,0071 - 4,51 |
Метилбензол (Фенилметан) | 0,053 - 7,362 |
Этилбензол (Фенилэтан) | 0,0015 - 0,97 |
Фенол | 0,0028 - 0,013 |
Бенз(а)пирен | 0,0000035 - 0,00043 |
Формальдегид (Муравьиный альдегид, оксометан, метиленоксид) | 0,0223 - 3,965 |
Этановая кислота | 0,00894 |
Бензин (нефтяной, малосернистый) (в пересчете на углерод) | 0,0638 - 0,283 |
Керосин (Керосин прямой перегонки; керосин дезодорированный) | 0,0465 - 774,73 |
Алканы C12-19 (в пересчете на C) | 0,094 - 220,637 |
Пыль неорганическая > 70% SiO2 | 0,000028 - 26,997 |
Пыль неорганическая: 70 - 20% SiO2 | 0,0896 - 15,692 |
Пыль неорганическая: до 20% SiO2 | 0,279 - 3,08 |
Взвешенные вещества | 102,856 |
Ацетальдегид (уксусный альдегид) | 0,0342 |
Кальций карбонат | 0,261 |
Пыль древесная | 2,643 |
Пыль тонко измельченного резинового вулканизата | 0,873815292 |
Натрий гидроксид | 0,000369097 |
Натрий хлорид | 0,026169888 |
диНатрий карбонат | 0,008561491 |
диНатрий сульфат (Натрий сернокислый; динатриевая соль серной кислоты) | 0,002730818 |
Кальций дигидрооксид (Кальций гидрат; кальций гидрат окиси) | 0,004746136 |
Гидроцианид (Синильная кислота) | 0,000159459 |
| | ИС МЕГАНОРМ: примечание. Текст в третьей графе дан в соответствии с официальным текстом документа. | |
|
| Серная кислота | 1,05578E-05 |
Хлор | 1,14072E-05 |
Аммоний хлорид | 0,006371788 |
1,2-Дихлорэтан | 0,114012852 |
Дихлорметан | 0,666536673 |
Тетрахлорэтилен | 0,004783756 |
Трихлорметан | 0,342835848 |
Трихлорэтилен | 0,037472756 |
Хлорбензол (фенилхлорид) | 0,007175634 |
Бутан-1-ол (Бутиловый спирт) | 0,000371949 |
Пропан-2-ол | 0,047040268 |
Этанол (Этиловый спирт; метилкарбинол) | 0,038949264 |
Этилацетат (Этиловый эфир уксусной кислоты) | 0,001594585 |
(1-Метилэтил)ацетат (Изопропиловый эфир уксусной кислоты) | 0,003986463 |
Проп-2-ен-1-аль | 0,004549301 |
Пропаналь (Пропиональдегид, метилацетальдегид) | 0,001403575 |
Пропан-2-он (Диметилкетон; диметилформальдегид) | 0,10444534 |
4-Метилпентан-2-он (Изобутилметилкетон; гексон; 2-метил-4-пентан | 0,000558226 |
Пентановая кислота | 0,000075 |
Гексановая кислота (Капроновая кислота) | 0,005806524 |
Метантиол (метилмеркаптан) | 0,000595603 |
Метиламин (Аминометан; метанамин) | 0,029777243 |
Пыль неорганическая > 70% SiO2 | 0,027307699 |
Алюмосиликаты (цеолиты; цеолитовые туфы) | 0,027307699 |
Полимеры и сополимеры на основе проп-2-ена и 2-метилпроп-2-ена | 0,005689053 |
Кальций карбонат (Кальций углекислый; кальциевая соль карбоновой | 29,67626568 |
диКалий сульфат (Калий сернокислый) | 0,003185894 |
Нитроаммофоска NPK 17:0,1:28 | 0,000999346 |
Воздействие на водные ресурсы при выполнении работ является локальным и кратковременным. Соблюдение всех природоохранных мероприятий, предусмотренных проектом, исключает прямое негативное влияние на поверхностные и подземные воды. Забор воды из поверхностных источников и сброс сточных вод в водоемы и поглощающие горизонты в ходе выполнения работ не предусмотрены.
Проектные решения по ликвидации объектов, являющихся результатом деятельности химического производства, содержат мероприятия, направленные на предотвращение загрязнения водных объектов и подземных вод. Образуемые фильтрационные, надшламовые, хозяйственно-бытовые воды, поверхностный сток очищаются на локальных очистных сооружениях, либо собираются в емкость и вывозятся специализированной организацией по договору на очистные сооружения, либо сбрасывают в существующие сети хозяйственно-фекальной канализации.
Примерный перечень загрязняющих веществ, характерных для сточных вод, образующихся при проведении ликвидационных работ на объектах, являющихся результатом деятельности химического производства, представлен в
таблице 3.8.
Таблица 3.8
Примерный перечень загрязняющих веществ, характерных
для сточных вод, образующихся на объектах, являющихся
результатом деятельности химического производства
на этапе ликвидации (по данным анкетирования)
Источник образования сбросов | Загрязняющие вещества |
Производственная деятельность в процессе ликвидации объекта, фильтрат и надшламовые воды объекта | Алюминий |
Аммоний-ион (азот аммонийный) |
АПАВ |
Бенз(а)пирен |
БПК5 |
Ванадий |
Взвешенные вещества |
Железо |
Кадмий |
Калий |
Кальций |
Кобальт |
Магний |
Марганец |
Медь |
Мышьяк |
Натрий |
Нефтепродукты |
Никель |
Нитраты |
Нитриты |
Полихлорированные бифенилы (сумма) |
Ртуть |
Свинец |
Сульфат-ион (сульфаты) |
Сульфид-ион (сульфиды) |
Трихлорэтилен |
Фенол (гидроксибензол) |
Формальдегид |
Фториды |
Хлорид-ион (хлориды) |
Хлороформ |
Хром (III) |
Хром (VI) |
Цинк |
В процессе производства работ по ликвидации шламонакопителя образуются отходы III - V классов опасности. Основными источниками образования отходов являются:
- хозяйственно-бытовая деятельность персонала. Образуются следующие виды отходов: мусор от офисных и бытовых помещений организаций несортированный (исключая крупногабаритный); отходы очистки накопительных баков мобильных туалетных кабин; обувь кожаная, резиновая рабочая, потерявшая потребительские свойства; спецодежда из хлопчатобумажного и смешанных волокон, утратившая потребительские свойства, незагрязненная и другие виды отходов;
- эксплуатация и обслуживание спецтехники и автотранспорта. Образуются следующие виды отходов: обтирочный материал, загрязненный маслами (содержание масел 15% и более); песок, загрязненный нефтью или нефтепродуктами (содержание нефти или нефтепродуктов менее 15%); сальниковая набивка асбестографитовая промасленная (содержание масла менее 15%); смесь масел минеральных отработанных и другие виды отходов;
- строительные (демонтажные, сварочные) работы. Образуются следующие виды отходов: шлак сварочный; остатки и огарки стальных сварочных электродов; лом и отходы изделий из полиэтилентерефталата незагрязненные; лом и отходы стальные несортированные; лом и отходы изделий из полиэтилена незагрязненные (кроме тары); лом кирпичной кладки от сноса и разборки зданий; лом железобетонных изделий, отходы железобетона в кусковой форме; мусор от строительных и ремонтных работ, содержащий материалы, изделия, отходы которых отнесены к V классу опасности; древесные отходы от сноса и разборки зданий и другие виды отходов;
- эксплуатация временных локальных очистных сооружений. Образуются следующие виды отходов: отходы очистки прочих сточных вод, не содержащих специфические загрязнители; осадок (шлам) механической очистки нефтесодержащих сточных вод, содержащий нефтепродукты в количестве менее 15%, обводненный; мембраны обратного осмоса полиамидные отработанные при водоподготовке; фильтрующие элементы мембранные на основе полимерных мембран, утратившие потребительские свойства; всплывшие нефтепродукты из нефтеловушек и аналогичных сооружений и другие виды отходов;
- растаривание (распаковка) материалов. Образуются следующие виды отходов: отходы полиэтиленовой тары незагрязненной; тара из черных металлов загрязненная; тара стеклянная загрязненная; тара деревянная, утратившая потребительские свойства, незагрязненная; отходы тары деревянной;
- расчистка территории. Образуются следующие виды отходов: отходы сучьев, ветвей, вершинок от лесоразработок, отходы корчевания пней.
Все отходы, образуемые в процессе работ по ликвидации шламонакопителя, передаются специализированным организациям для размещения на полигоне ТКО, обезвреживания, утилизации.
Проектные решения исключают прямое негативное воздействие отходов на компоненты природной среды (атмосферный воздух, почвы, поверхностные и подземные воды).
Поскольку почвы на территории шламонакопителя в значительной степени являются антропогенно измененными, то воздействие, связанное с нарушением и изъятием почвенных горизонтов, оценивается как допустимое.
В ходе ликвидационных и рекультивационных работ на территории шламонакопителя будет произведено восстановление потенциально плодородного и плодородного слоев почвы. После завершения всех мероприятий территория объекта будет представлять собой оптимально организованный и экологически сбалансированный устойчивый ландшафт.
Текущие уровни эмиссий в окружающую среду от технологий (технологических решений), используемых при проведении ликвидационных работ для объектов, являющихся результатом деятельности по добыче, обогащению и переработке полезных ископаемых
Согласно фактическим данным, полученным в результате анкетирования и анализа проектной документации по ликвидации/рекультивации объектов, установлены текущие уровни эмиссий в окружающую среду для объектов, являющихся результатом деятельности по добыче, обогащению и переработке полезных ископаемых.
Основными источниками выбросов в атмосферный воздух при ликвидации объектов являются:
1. Двигатели спецтехники/автотранспорта при выполнении земляных и рекультивационных работ.
2. Пересыпка сыпучих материалов.
3. Дизель-генераторные установки.
4. Заправка баков машин и механизмов, испарения от резервуаров дизтоплива.
5. Сварочные работы.
6. Тело хвостохранилища.
Перечни загрязняющих веществ и количество выбросов загрязняющих веществ в период производства работ представлены в
таблице 3.9.
Таблица 3.9
Текущие уровни эмиссий загрязняющих веществ в атмосферный
воздух для объектов, являющихся результатом деятельности
по добыче, обогащению и переработке полезных ископаемых
(хвостохранилище) в процессе ликвидационных работ
(по фактическим данным, указанным в проектной документации
на ликвидацию/рекультивацию объекта и данным анкетирования)
Источник образования выбросов | Наименование загрязняющего вещества | Выброс загрязняющих веществ в период производства работ |
Эмиссия от всех источников в период рекультивации объекта | Марганец | 0,000034 - 0,002516 |
Азота диоксид | 0,412739 - 11,93723 |
Азота (II) оксид | 0,06707 - 1,939628 |
Углерод (сажа) | 0,006615 - 0,910529 |
Сера диоксид | 0,067 - 1,898029 |
Оксид углерода | 0,531 - 8,467407 |
Формальдегид | 0,00016 - 0,47 |
Керосин | 0,15 - 4,528549 |
Пыль неорганическая: 70 - 20% SiO2 | 0,000055 - 1,770541 |
Железа оксид | 0,000607 |
Хром | 0,000004 |
Фториды | 0,000008 - 0,000056 |
Ксилол | 0,014625 |
Уайт-спирит | 0,006975 |
Аммофос | 0,000688 |
Кальций гидрофосфат дигидрат | 0,000995 |
Калий сульфат | 0,000909 |
Смесь предельных углеводородов C12 - C19 | 0,0000164 - 0,041468 |
Бенз(а)пирен | 0,000000016 - 0,000008 |
Дигидросульфид | 0,000000046 - 0,000116 |
Воздействие на водные ресурсы при выполнении работ является локальным и кратковременным. Соблюдение всех природоохранных мероприятий, предусмотренных проектом, исключает прямое негативное влияние на поверхностные и подземные воды. Забор воды из поверхностных источников и сброс сточных вод в водоемы и поглощающие горизонты в ходе выполнения работ не предусмотрены.
Проектные решения по ликвидации хвостохранилищ содержат мероприятия, направленные на предотвращение загрязнения водных объектов и подземных вод.
В процессе производства работ по ликвидации хвостохранилищ образуются отходы III - V классов опасности. Основными источниками образования отходов являются:
- хозяйственно-бытовая деятельность персонала. Образуются следующие виды отходов: мусор от офисных и бытовых помещений организаций несортированный (исключая крупногабаритный); пищевые отходы кухонь и организаций общественного питания несортированные; отходы (осадки) из выгребных ям;
- эксплуатация и обслуживание спецтехники и автотранспорта. Образуются следующие виды отходов: обтирочный материал, загрязненный нефтью или нефтепродуктами (содержание нефти или нефтепродуктов менее 15%);
- демонтажные работы. Образуются следующие виды отходов: лом и отходы, содержащие незагрязненные черные металлы в виде изделий, кусков, несортированные;
- эксплуатация временных локальных очистных сооружений. Образуются следующие виды отходов: отходы при физико-химической очистке нефтесодержащих сточных вод;
- растаривание (распаковка) материалов. Образуются следующие виды отходов: упаковка полипропиленовая отработанная незагрязненная; отходы пленки полипропилена и изделий из нее незагрязненные;
- сварочные работы. Образуются следующие виды отходов: остатки и огарки стальных сварочных электродов.
Все отходы, образуемые в процессе работ по рекультивации хвостохранилищ, передаются специализированным организациям для размещения на полигоне ТКО, обезвреживания, утилизации.
Проектные решения исключают прямое негативное воздействие отходов на компоненты природной среды (атмосферный воздух, почвы, поверхностные и подземные воды).
Поскольку почвы на территории хвостохранилищ в значительной степени являются антропогенно измененными, то воздействие, связанное с нарушением и изъятием почвенных горизонтов, оценивается как допустимое.
В процессе работ по рекультивации объекта будет произведено восстановление потенциально плодородного и плодородного слоев почвы. После завершения всех мероприятий территория объекта будет представлять собой оптимально организованный и экологически сбалансированный устойчивый ландшафт.
Работы рекультивации хвостохранилищ предотвращают периодические затопления и загрязнения тяжелыми металлами территории обитания местной флоры и фауны. Они также останавливают дефляцию мелких частиц почвы, эрозионные процессы вдоль береговой линии и способствуют созданию условий для восстановления почвенного и растительного покрова, улучшая тем самым кормовую базу для обитающих видов.
Текущие уровни эмиссий в окружающую среду от технологий (технических решений), используемых при проведении ликвидационных работ для объектов, являющихся результатом деятельности целлюлозно-бумажной промышленности
Согласно фактическим данным, полученным в результате анкетирования и анализа проектной документации по ликвидации/рекультивации объектов, установлены текущие уровни потребления ресурсов и текущие уровни эмиссий в окружающую среду для объектов, являющихся результатом деятельности целлюлозно-бумажной промышленности.
Текущие уровни потребления ресурсов для объектов, являющихся результатом деятельности целлюлозно-бумажной промышленности, представлены в
таблице 3.10.
Таблица 3.10
Текущие уровни потребления ресурсов для объектов, являющихся
результатом деятельности целлюлозно-бумажной промышленности
(по фактическим данным, указанным в проектной документации
на ликвидацию/рекультивацию объекта и данным анкетирования)
Ресурс | Источники (технологии), в результате которых потребляются ресурсы | Единица измерения | Расход ресурса |
Материальные ресурсы |
Хозяйственно-питьевая вода | Очистные сооружения щелокосодержащих сточных вод и осадка | м3/период ликвидации | 11692,80 |
Кислота соляная | т/год | 88,22 |
Натр едкий технический | т/год | 197,10 |
Коагулянт | т/год | 471,40 |
Флокулянт | т/год | 14,15 |
Ингибитор солеотложения | т/год | 31,96 |
Пеногаситель | т/год | 6,12 |
Соль поваренная таблетированная | т/год | 723,00 |
Перекись водорода техническая | л/год | 490,00 |
Триполифосфат натрия | т/год | 4,72 |
Лимонная кислота | т/год | 4,72 |
Пиросульфит натрия технический | т/год | 0,39 |
Гидроантрацит | т/год | 0,30 |
Песок кварцевый | т/год | 0,21 |
Уголь активированный | т/год | 28,32 |
Гравий кварцевый | т/год | 10,78 |
Катионообменная обменная смола | т/год | 1,37 |
Анионообменная обменная смола | т/год | 0,31 |
Элемент рулонный обратноосмотический | шт./год | 270,00 |
Фильтровальная салфетка | компл./год | 12,00 |
Масло гидравлическое | т/год | 1,68 |
Топливные ресурсы |
Дизельное топливо | Очистные сооружения щелокосодержащих сточных вод и осадка | л/период ликвидации | 51500,00 |
Энергетические ресурсы |
Электрическая энергия | Очистные сооружения щелокосодержащих сточных вод и осадка | тыс. кВт*ч/период ликвидации | 10539,10 |
Материальные ресурсы |
Хозяйственно-питьевая вода | Станция очистки надшламовых вод | м3/сут | 8,50 |
Кислота соляная | т/период ликвидации | 162,21 |
Натр едкий технический | т/период ликвидации | 581,79 |
Коагулянт | т/период ликвидации | 42,24 |
Флокулянт | т/период ликвидации | 1,47 |
Железо хлорное | т/период ликвидации | 2,92 |
Сода кальцинированная | т/период ликвидации | 187,39 |
Ингибитор солеотложения | т/период ликвидации | 27,44 |
Пеногаситель | т/период ликвидации | 3,10 |
Порошок гидроксида магния | т/период ликвидации | 15,98 |
Перекись водорода техническая | л/период ликвидации | 410,00 |
Пиросульфит натрия технический | т/период ликвидации | 0,500 |
Кислота щавелевая | т/период ликвидации | 0,030 |
Гипохлорит натрия | л/период ликвидации | 4,00 |
Гидроантрацит | т/период ликвидации | 4,54 |
Песок кварцевый | т/период ликвидации | 8,10 |
Уголь активированный | т/период ликвидации | 36,63 |
Гравий кварцевый | т/период ликвидации | 9,70 |
Катионообменная обменная смола | л/период ликвидации | 3750,00 |
Анионообменная обменная смола | л/период ликвидации | 4950,00 |
Фильтрующий элемент мешочного типа гофрированный | шт. | 128,00 |
Фильтровальная салфетка | компл. | 16,00 |
Масло гидравлическое | т/период ликвидации | 2,26 |
Энергетические ресурсы |
Сжатый воздух | Станция очистки надшламовых вод | тыс. нм3/период ликвидации | 2,08 |
Электрическая энергия | тыс. кВт*ч/период ликвидации | 4413,00 |
Материальные ресурсы |
Песок | Рекультивация короотвала бывшего целлюлозно-бумажного завода | м3/га | 4013,9 |
Песчано-гравийная смесь | м3/га | 373,1 |
Плодородная почва | м3/га | 1205 |
Гравий | м3/га | 2175 |
Плиты | м3/га | 197 |
Лоток водоотводной пластиковый | м3/га | 153,4 |
Дренажный геокомпозитный материал | м3/га | 6,025 |
Геомембрана гидроизоляционная полиэтиленовая рулонная | м3/га | 13255,7 |
Геополотно высокопрочное | м3/га | 6628 |
Полотно нетканое иглопробивное геотекстильное | м/м2 | 2737/17243,1 |
Топливные ресурсы |
Бензин | Рекультивация короотвала бывшего целлюлозно-бумажного завода | т/га | 0,86 |
Дизельное топливо | т/га | 620,54 |
Энергетические ресурсы |
Электрическая энергия | Рекультивация короотвала бывшего целлюлозно-бумажного завода | МВт/год*га | 5,6 |
Вода | м3/га | 960,019 |
К основным источникам выбросов в атмосферный воздух при ликвидации объектов, являющихся результатом деятельности целлюлозно-бумажной промышленности, относятся:
1. Строительная техника и грузовой автотранспорт (выхлопные газы от двигателей внутреннего сгорания экскаваторов, бульдозеров, самосвалов, тракторов и др.).
2. Сварочные работы.
3. Земляные работы (пыление при перемещении земляных масс, погрузочно-разгрузочных работах, пересыпке сыпучих материалов).
4. Площадки хранения грунта.
5. Топливозаправщики, дыхательные клапаны резервуаров в процессе хранения (малое дыхание) и слива (большое дыхание) топлива, топливные баки автомобилей в процессе их заправки, места испарения топлива при случайных проливах.
Перечень загрязняющих веществ и удельные выбросы загрязняющих веществ при ликвидации 1 куб. м отходов приведены в
таблице 3.11.
Таблица 3.11
Текущие уровни эмиссий загрязняющих веществ в атмосферный
воздух для объектов, являющихся результатом деятельности
целлюлозно-бумажной промышленности (по данным анкетирования)
Источник образования выбросов | Наименование загрязняющего вещества | Выброс загрязняющих веществ в период производства работ, г/куб. м |
Эмиссия от всех источников в период рекультивации объекта | диЖелезо триоксид | 0,0000424 - 1,302 |
Марганец | 0,0000038 - 0,112 |
Азота диоксид | 9,018 - 151,894 |
Аммиак | 0,441 - 7,389 |
Азот (II) оксид | 1,466 - 24,653 |
Углерод (сажа) | 1,360 - 8,169 |
Сера диоксид | 1,151 - 26,037 |
Дигидросульфид | 0,022 - 13,411 |
Оксид углерода | 8,328 - 46,503 |
Гидрофторид | 0,0000029 - 86,540 |
Фториды | 0,0000130 - 0,199 |
Метан | 43,638 - 733,912 |
Смесь предельных углеводородов C1 - C5 | 0,674 |
Смесь предельных углеводородов C6 - C10 | 0,852 |
Смесь предельных углеводородов C12 - C19 | 0,166 - 0,206 |
Бензол | 0,040 |
Диметилбензол | 0,026 - 6,069 |
Метилбензол | 0,016 - 10,023 |
Этилбензол | 0,023 - 1,317 |
Бенз(а)пирен | 0,0000007 - 0,001 |
Гидроксибензол (фенол) | 0,000077 - 0,000259 |
Ацетальдегид | 0,0000091 - 0,034 |
Формальдегид | 0,134 - 1,366 |
Этановая кислота | 0,0000098 - 0,036 |
Диметилдисульфид | 0,014 |
Диметилсульфид | 0,312 |
Метантиол | 0,165 |
Этантиол | 0,0000143 |
Бензин | 0,002 - 0,181 |
Керосин | 2,268 - 42,203 |
Пыль неорганическая: 70 - 20% SiO2 | 0,022 - 0,216 |
Пыль неорганическая: до 20% SiO2 | 1,687 |
Принятыми проектными решениями исключаются сброс неочищенных сточных вод и негативное воздействие на водные объекты в результате забора воды.
Установлен случай, когда сточные воды, образующиеся при проведении мероприятий по водопонижению, сбору фильтрационных вод и стоков с площадки компостирования и сортировки, откачиваются ассенизационной машиной и вывозятся на площадку с локальными очистными сооружениями. Далее предусматривается использование очищенных сточных вод на производственные нужды, излишки передаются в специализированную организацию.
Примерный перечень загрязняющих веществ, характерных для сточных вод, образующихся при проведении ликвидационных работ на объектах, являющихся результатом деятельности целлюлозно-бумажной промышленности, представлен в
таблице 3.12.
Таблица 3.12
Примерный перечень загрязняющих веществ, характерных
для сточных вод, образующихся на объектах, являющихся
результатом деятельности целлюлозно-бумажной промышленности
на этапе ликвидации (по данным анкетирования)
Источник образования сбросов | Загрязняющие вещества |
Проведение мероприятий по водопонижению, сбору фильтрационных вод и стоков с площадки компостирования и сортировки | Взвешенные вещества |
БПКполн |
ХПК |
АПАВ |
АОХ |
Сухой остаток |
Аммоний-ион |
Сульфат-ион |
Нитрат-ион |
Фосфат-ион |
Хлорид-ион |
Нитрит-ион |
Фторид-ион |
Нефтепродукты |
Калий |
Натрий |
Железо |
Хром |
Никель |
Свинец |
Кадмий |
Медь |
Цинк |
Молибден |
Марганец |
Стронций |
Алюминий |
Ртуть |
Фенол, гидроксибензол |
Диметилсульфид |
Диметилдисульфид |
Метилмеркаптан (метантиол) |
Сероводород, сульфид |
Формальдегид |
В процессе ликвидации объектов целлюлозно-бумажной промышленности образуются отходы II - V классов опасности. Основными источниками образования отходов являются:
- хозяйственно-бытовая деятельность персонала. Образуются следующие виды отходов: мусор от офисных и бытовых помещений организаций несортированный (исключая крупногабаритный); отходы очистки накопительных баков мобильных туалетных кабин и другие виды отходов;
- демонтажные, монтажные, строительно-ремонтные работы. Образуются следующие виды отходов: отходы бетона, загрязненные нефтью или нефтепродуктами в количестве не более 15%; лом железобетонных изделий, отходы железобетона в кусковой форме и другие виды отходов;
- временные отходы очистных сооружений сточных вод. Образуются следующие виды отходов: осадок механической очистки нефтесодержащих сточных вод, содержащий нефтепродукты в количестве менее 15% и другие виды отходов;
- распаковка материалов. Образуются следующие виды отходов: тара из разнородных полимерных материалов, загрязненная удобрениями; отходы пленки полипропилена и изделий из нее незагрязненные и другие виды отходов;
- расчистка территории от древесной растительности, мелколесья и кустарников. Образуются следующие виды отходов: отходы сучьев, ветвей, вершинок от лесоразработок; отходы корчевания пней и другие виды отходов;
- обслуживание и ремонт машин и оборудования. Образуются фильтры воздушные электрогенераторных установок отработанные, фильтры очистки топлива электрогенераторных установок отработанные, остатки и огарки стальных сварочных электродов, шлак сварочный, песок, загрязненный нефтью или нефтепродуктами (содержание нефти или нефтепродуктов менее 15%), обтирочный материал, загрязненный нефтью или нефтепродуктами (содержание нефти или нефтепродуктов менее 15%) и другие виды отходов.
Все образуемые в процессе работ отходы передаются специализированным организациям для утилизации, обезвреживания, размещения.
Принятыми проектными решениями исключается прямое негативное воздействие отходов на компоненты природной среды (атмосферный воздух, почвы, поверхностные и подземные воды).
Воздействие на почвенный, растительный покров и животный мир в период производства работ по ликвидации/рекультивации объектов носит вынужденный, ограниченный по времени характер.
Проектные решения предусматривают расчистку территории от отходов, восстановление плодородия почвы путем посева травосмесей, а также посадки деревьев и кустарников на рекультивируемых участках. Это способствует регулированию поверхностного стока дождевой воды и активации природных процессов самоочищения почв.
Удельное образование вторичных отходов в результате ликвидации 1 куб. м отходов/загрязняющих веществ, т/куб. м приведены в
таблице 3.13.
Таблица 3.13
Удельное образование вторичных отходов для объектов,
являющихся результатом деятельности целлюлозно-бумажной
промышленности, на этапе ликвидации (по данным
анкетирования, усредненные значения)
Вторичные отходы (группы отходов) | Удельное образование отходов в результате ликвидации 1 куб. м отходов/загрязняющих веществ, т/куб. м (в целом при ликвидации объекта) |
Отходы древесины от лесоразработок | 0,00696394 |
Отходы получения и хранения реагентов при производстве целлюлозы | 0,00146065 |
Отходы каустизации зеленого щелока известью при производстве целлюлозы | 0,02695896 |
Отходы зачистки оборудования производства целлюлозы | 0,00006136 |
Отходы защитных решеток механической очистки сточных вод целлюлозно-бумажного производства | 0,00214385 |
Осадок механической очистки сточных вод целлюлозно-бумажного производства обезвоженный | 0,08619041 |
Осадок реагентной очистки сточных вод целлюлозно-бумажного производства | 0,01923422 |
Жидкие отходы зачистки резервуаров хранения серной кислоты | 0,00000153 |
Отходы ликвидации открытых карт хранения осадка реагентной очистки сточных вод целлюлозно-бумажного производства, содержащие преимущественно оксиды кремния, алюминия и железа | 0,00025026 |
Бой строительного кирпича | 0,00004546 |
Отходы потребления производственные и непроизводственные; материалы, изделия, утратившие потребительские свойства | 0,01586505 |
Отходы при водоподготовке | 0,01305236 |
Отходы при очистке сточных вод дождевой (ливневой) канализации | 0,00257768 |
Осадок механической очистки нефтесодержащих сточных вод, содержащий нефтепродукты в количестве менее 15% | 0,00001056 |
Отходы коммунальные, подобные коммунальным на производстве и при предоставлении услуг населению | 0,00416989 |
Отходы грунта при проведении открытых земляных работ практически неопасные | 0,03655697 |
Отходы от сноса и разборки зданий | 0,04522418 |
Отходы строительного щебня незагрязненные | 0,00033742 |
Отходы строительства зданий и сооружений | 0,71533014 |
Отходы обслуживания и ремонта машин и оборудования | 0,00000736 |
Отходы при ликвидации загрязнений прочими веществами | 0,00070912 |
Лабораторные отходы и остатки химикалиев | 0,00002958 |
В
таблице 3.13 представлен примерный перечень образуемых отходов, который может быть дополнен другими отходами для каждого объекта накопленного вреда окружающей среде.
Принятыми проектными решениями исключается прямое негативное воздействие отходов, образуемых в период проведения работ по ликвидации/рекультивации объектов, являющихся результатом деятельности целлюлозно-бумажной промышленности, на компоненты природной среды (атмосферный воздух, почвы, поверхностные и подземные воды).
Текущие уровни эмиссий в окружающую среду от технологий (технических решений), используемых при проведении ликвидационных работ для объектов, расположенных в акватории водных объектов, участках акваторий; объектов, являющихся результатом деятельности агропромышленного комплекса; объектов размещения и обезвреживания отходов при сборе и обработке сточных вод, вод систем оборотного водоснабжения; объектов, являющихся результатом деятельности топливно-энергетической отрасли (золошлакоотвалы); иных объектов накопленного вреда окружающей среде (участок уничтожения химического оружия, объекты, содержащие лом и отходы черных и (или) цветных металлов, полигон строительных отходов и др.), в анкетах не представлены или недостаточны для оценки удельного образования загрязняющих веществ в компонентах природной среды.
Раздел 4 Определение наилучших доступных технологий
ликвидации объектов накопленного вреда окружающей среде
В
разделе 4 справочника НДТ изложена методика определения наилучших доступных технологий ликвидации объектов накопленного вреда окружающей среде.
Назначение методики
Настоящая методика разработана в целях идентификации технологий ликвидации объектов накопленного вреда окружающей среде (технологических процессов, методов и способов, оборудования и материалов) в качестве НДТ в процессе разработки и актуализации справочника НДТ.
Методика также может быть использована иными заинтересованными лицами, осуществляющими деятельность в области ликвидации объектов накопленного вреда окружающей среде, для выбора НДТ.
Исходные сведения для определения технологии в качестве НДТ
Источниками информации о применяемых на практике технологиях ликвидации объектов накопленного вреда окружающей среде, а также технологических способах, методах, оборудовании и материалах, относящихся к НДТ, являются сведения, полученные по результатам анкетирования организаций, анализа информации из научно-исследовательских и диссертационных работ, монографий и публикаций в ведущих периодических изданиях, проектно-изыскательских работ, а также сведения, полученные в ходе консультаций с экспертами в области ликвидации объектов накопленного вреда окружающей среде.
С целью сбора актуальной информации проводится анкетирование органов государственной власти, местного самоуправления, осуществляющих организацию работ по ликвидации объектов накопленного вреда, а также организаций, осуществляющих проектно-изыскательские работы и работы по ликвидации объектов накопленного вреда окружающей среде.
Сбор данных от заинтересованных организаций, необходимых для определения технологических процессов, оборудования, технических способов, методов в качестве НДТ, осуществляется согласно "
Порядку сбора и обработки данных, необходимых для разработки и актуализации информационно-технических справочников по наилучшим доступным технологиям", утвержденному Приказом Минпромторга России от 18 декабря 2019 года N 4841
[10].
Основные принципы определения технологии ликвидации объектов накопленного вреда окружающей среде в качестве НДТ
Оценка технологий ликвидации объектов накопленного вреда окружающей среде в качестве НДТ включает пять последовательных шагов, заключающихся в рассмотрении
"критериев достижения целей охраны окружающей среды для определения наилучшей доступной технологии", которые установлены нормативными правовыми актами, положенными в основу данной методики [
1,
3,
4].
Критерий 1 -
"Наименьший уровень негативного воздействия технологии на окружающую среду в расчете на единицу времени или объем производимой продукции (товара), выполняемой работы, оказываемой услуги либо уровень, соответствующий другим показателям воздействия на окружающую среду, предусмотренным международными договорами Российской Федерации".
Критерий 2 -
"Экономическая эффективность внедрения и эксплуатации".
Критерий 3 -
"Применение ресурсо- и энергосберегающих методов".
Критерий 4 -
"Период внедрения".
Критерий 5 -
"Промышленное внедрение технологических процессов, оборудования, технических способов и методов на двух и более объектах в Российской Федерации, оказывающих негативное воздействие на окружающую среду".
Рассмотрение критериев достижения целей охраны окружающей среды для определения наилучших доступных технологий ликвидации объектов накопленного вреда окружающей среде осуществляется в последовательности, представленной в
таблице 4.1.
Таблица 4.1
Алгоритм определения технологий (технологических процессов,
методов и способов, оборудования и материалов), используемых
при ликвидации объектов накопленного вреда окружающей среде,
в качестве НДТ
Последовательность рассмотрения | Основные действия |
1 | Рассмотрение критерия 5: Промышленное внедрение технологических процессов, оборудования, технических способов и методов на двух и более объектах в Российской Федерации, оказывающих негативное воздействие на окружающую среду |
2 | Рассмотрение критерия 1: Наименьший уровень негативного воздействия технологии на окружающую среду в расчете на единицу времени или объем производимой продукции (товара), выполняемой работы, оказываемой услуги либо уровень, соответствующий другим показателям воздействия на окружающую среду, предусмотренным международными договорами Российской Федерации |
3 | Рассмотрение критерия 3: Применение ресурсо- и энергосберегающих методов |
4 | Рассмотрение критерия 2: Экономическая эффективность внедрения и эксплуатации НДТ |
5 | |
4.1 Рассмотрение критерия 5 "Промышленное внедрение
технологических процессов, оборудования, технических
способов и методов на двух и более объектах
в Российской Федерации, оказывающих негативное воздействие
на окружающую среду"
Идентификация согласно
критерию 5 "Промышленное внедрение технологических процессов, оборудования, технических способов и методов на двух и более объектах в Российской Федерации, оказывающих негативное воздействие на окружающую среду" осуществляется в соответствии со сведениями о технологиях, используемых при проведении ликвидационных работ на объектах накопленного вреда окружающей среде, собранных по результатам анкетирования.
При рассмотрении анкет для каждого технологического решения, способа, метода, технологии и организационного мероприятия проводится оценка количества внедрений на объектах накопленного вреда окружающей среде, включенных в государственный реестр объектов накопленного вреда окружающей среде.
Результатом оценки технологий по
критерию 5 должен стать перечень технологий (технологических решений, методов, способов), используемых в Российской Федерации более чем на двух объектах накопленного вреда окружающей среде.
Дальнейшее определение технологий (технологических решений, методов, способов, оборудования, материалов) в качестве НДТ производится для технологий, внедренных на двух и более объектах накопленного вреда окружающей среде.
В случае если внедрение технологии выявлено на одном объекте накопленного вреда окружающей среде, технология оценивается в соответствии с критериями достижения целей охраны окружающей среды для определения наилучшей доступной технологии и в случае ее соответствия уровню НДТ включается в перечень перспективных технологий, которые в настоящее время не получили достаточного распространения.
4.2 Рассмотрение критерия 1 "Наименьший уровень негативного
воздействия технологии на окружающую среду в расчете
на единицу времени или объем производимой продукции
(товара), выполняемой работы, оказываемой услуги либо
уровень, соответствующий другим показателям воздействия
на окружающую среду, предусмотренным международными
договорами Российской Федерации"
Идентификация согласно
критерию 1 "Наименьший уровень негативного воздействия технологии на окружающую среду в расчете на единицу времени или объем производимой продукции (товара), выполняемой работы, оказываемой услуги либо уровень, соответствующий другим показателям воздействия на окружающую среду, предусмотренным международными договорами Российской Федерации" осуществляется для перечня технологий ликвидации накопленного вреда окружающей среде, внедренных на двух и более объектах накопленного вреда окружающей среде в Российской Федерации.
Целью оценки уровня негативного воздействия на окружающую среду в расчете на единицу накопленных отходов, загрязнений (т, куб. м), на единицу рекультивируемой площади (га) является выявление технологий (технологических решений, методов, способов, оборудования, материалов), используемых при ликвидации объектов накопленного вреда окружающей среде и обеспечивающих защиту окружающей среды от вторичного загрязнения.
Уровень негативного воздействия на окружающую среду в расчете на единицу накопленных отходов, загрязнений (т, куб. м) на единицу рекультивируемой площади (га) оценивается по двум основным показателям:
- удельному образованию эмиссий, поступающих в окружающую среду при ликвидации объекта накопленного вреда окружающей среде (на 1 т, 1 куб. м, 1 га рекультивируемой площади объекта);
- результатам оценки качества выполненных ликвидационных работ, полученных при анализе данных мониторинга состояния и загрязнения окружающей среды на рекультивированном объекте накопленного вреда окружающей среде и в пределах его воздействия на окружающую среду.
Оценка уровня негативного воздействия технологий, применяемых при обращении с дренажными, фильтрационными, ливневыми и талыми водами, проводится с применением следующих показателей:
- объем образования дренажных, фильтрационных, ливневых и талых вод;
- направление сброса дренажных, фильтрационных, ливневых и талых вод.
Оценка уровня негативного воздействия технологий, применяемых при обращении с выбросами в атмосферный воздух, проводится с использованием показателя массы выбросов загрязняющих веществ.
При рассмотрении физических факторов воздействия на окружающую среду при размещении отходов (шум, запах, электромагнитные и тепловые воздействия) оценивается уровень воздействия на окружающую среду.
При оценке уровня негативного воздействия на окружающую среду учитывается характеристика вторичных отходов, образующихся в процессе ликвидации объекта накопленного вреда окружающей среде.
Основным условием отнесения технологии к НДТ в соответствии с
Критерием 1 является наименьший уровень воздействия на окружающую среду.
Результатом оценки технологий по
критерию 1 является перечень технологий, применяемых при ликвидации объектов накопленного вреда окружающей среде и обеспечивающих снижение (исключение) негативного воздействия на окружающую среду.
4.3 Рассмотрение критерия 3 "Применение ресурсо-
и энергосберегающих методов"
Идентификация согласно
критерию 3 "Применение ресурсо- и энергосберегающих методов" осуществляется для перечня технологий, внедренных в Российской Федерации, обеспечивающих снижение негативного воздействия на окружающую среду.
Целью оценки технологий на предмет применения ресурсо- и энергосберегающих методов является выявление технологий ликвидации объектов накопленного вреда окружающей среде, характеризующихся меньшими затратами энергии и ресурсов.
Оценка технологий на предмет применения ресурсо- и энергосберегающих методов проводится на основании сведений об удельном расходе (на единицу площади ликвидируемого объекта (1 га) т (1 куб. м) отходов):
- материальных ресурсов (сырье и материалы);
- энергетических ресурсов (электроэнергия, природное топливо, энергия водных ресурсов);
- людских ресурсов (наличие квалифицированного персонала).
Результатом оценки технологий по
критерию 3 является перечень технологий ликвидации объектов накопленного вреда окружающей среде, внедренных в Российской Федерации, обеспечивающих снижение негативного воздействия на окружающую среду и характеризующихся меньшими затратами энергии и ресурсов.
4.4 Рассмотрение критерия 2 "Экономическая эффективность
внедрения и эксплуатации НДТ"
Идентификация согласно
критерию 2 "Экономическая эффективность внедрения и эксплуатации НДТ" осуществляется для перечня технологий, сформированного при рассмотрении критериев достижения целей охраны окружающей среды N 1, 3, 5.
Целью оценки экономической эффективности внедрения НДТ является выявление технологий ликвидации объектов накопленного вреда окружающей среде, использование которых являются менее затратными без ущерба для окружающей среды.
Оценка экономической эффективности внедрения НДТ проводится на основании информации об экономических показателях технологий ликвидации объектов накопленного вреда окружающей среде, полученной в результате анкетирования органов государственной власти, местного самоуправления, осуществляющих организацию работ по ликвидации объектов накопленного вреда, а также организаций, осуществляющих проектно-изыскательские работы и работы по ликвидации объектов накопленного вреда окружающей среде, в качестве которых могут рассматриваться:
- капитальные затраты на ввод технологии (технологического решения), оборудования, системы, установки для ликвидации объекта накопленного вреда окружающей среде (с указанием года, в соответствии с ценами которого произведен расчет затрат);
- эксплуатационные затраты технологии (технологического решения), оборудования, системы, установки для ликвидации объекта накопленного вреда окружающей среде в ценах текущего года;
- стоимость ликвидации 1 га объекта накопленного вреда окружающей среде в текущем периоде;
- стоимость и количество продукции, получаемой в результате применения технологии (технологического решения), оборудования, системы, установки для ликвидации объекта накопленного вреда окружающей среде в ценах текущего года;
- оценка надежности технологического оборудования, используемого при реализации данной технологии (оценка технического риска состояния оборудования).
При наличии сведений о ценах и затратах на внедрение конкретных технологий (технологического решения), оборудования, системы, установки для ликвидации объекта накопленного вреда окружающей среде проводится их сравнительная оценка.
Для корректного сравнения экономических показателей производится их индексация в цены текущего года с использованием индексов изменения сметной стоимости проектных, изыскательских, строительно-монтажных работ [
219 -
225].
При оценке экономических показателей технологий ликвидации объектов накопленного вреда окружающей среде учитываются следующие факторы, влияющие на себестоимость работ по ликвидации:
- вид объекта накопленного вреда окружающей среде;
- объем/масса выявленных на объекте накопленного вреда окружающей среде отходов, загрязнителей;
- площадь объекта накопленного вреда окружающей среде;
- климатические условия расположения объектов накопленного вреда окружающей среде;
- особые природные условия расположения объектов накопленного вреда окружающей среде (карстовые породы, просадочные породы, заболоченные территории, периодическое затопление поверхностными водами и подземными водами, шельф, многолетняя мерзлота).
Условием выбора технологии ликвидации объектов накопленного вреда окружающей среде в качестве НДТ в соответствии с
критерием 2 является относительно низкий диапазон затрат на ликвидацию единицы загрязняющих веществ/отходов (1 куб. м) или единицы площади (1 га) при приемлемом уровне воздействия на окружающую среду.
4.5 Рассмотрение критерия 4 "Период внедрения НДТ"
Идентификация согласно
критерию 4 "Период внедрения НДТ" осуществляется для перечня технологий, сформированного при рассмотрении критериев достижения целей охраны окружающей среды N 1 - 3, 5.
Оценка периода внедрения НДТ проводится для определения срока, за который может быть внедрена НДТ, и для выявления НДТ с наименьшим периодом внедрения.
Результатом оценки технологий по
критерию 4 является перечень НДТ, имеющих меньшие периоды внедрения относительно аналогичных технологий.
Результатом рассмотрения технологий с применением критериев достижения целей охраны окружающей среды для определения наилучшей доступной технологии, обозначенных нормативными правовыми актами [
1,
3,
4], является перечень наилучших доступных технологий ликвидации объектов накопленного вреда окружающей среде, представленный в
разделе 4 справочника НДТ.
При наличии особого мнения по определению технологии в качестве НДТ, не поддерживаемого всеми членами ТРГ, такая технология может быть определена в качестве НДТ и включена в справочник НДТ. Включение такой технологии сопровождается специальными указаниями на особое мнение и допускается при соблюдении следующих условий:
- в основе особого мнения лежат данные, которыми располагают ТРГ и федеральный орган исполнительной власти, ответственные за разработку справочников НДТ, на момент подготовки выводов относительно НДТ;
- заинтересованными членами ТРГ представлены обоснованные доводы для включения технологии в перечень НДТ; доводы являются обоснованными, если они подтверждены техническими, экономическими данными, данными о воздействии на различные компоненты природной среды, соответствием технологии определению термина "наилучшая доступная технология" и критериям определения НДТ, указанными в Федеральном
законе от 10 января 2002 года N 7-ФЗ "Об охране окружающей среды"
[1].
Раздел 5 Наилучшие доступные технологии ликвидации объектов
накопленного вреда окружающей среде
Концепция НДТ настоящего справочника направлена на применение при ликвидации объектов накопленного вреда окружающей среде методов и способов, которые обеспечивают сокращение негативного воздействия на окружающую среду, содействуют соблюдению требований в области охраны окружающей среды и поощрению технологических инноваций, направлены на ресурсо- и энергосбережение.
Перечень наилучших доступных технологий подготовлен в результате оценки технологий, применяемых при ликвидации объектов накопленного вреда окружающей среде, согласно методике, описанной в
разделе 4 справочника НДТ, и выполненной по фактическим данным (по результатам анализа проектно-изыскательской документации, по результатам научно-исследовательских работ по заказу Минприроды России [
52,
214 -
218]), данным анкетирования органов государственной власти, местного самоуправления, осуществляющих организацию работ по ликвидации объектов накопленного вреда, а также организаций, осуществляющих проектно-изыскательские работы и работы по ликвидации объектов накопленного вреда окружающей среде.
Сводные результаты анкетирования представлены в
таблице 5.1.
Таблица 5.1
Информация об объектах накопленного вреда окружающей среде
и технологиях их ликвидации, поступивших в обработку
для разработки справочника НДТ
Вид объекта накопленного вреда окружающей среде | Количество объектов накопленного вреда окружающей среде |
I Объекты размещения и обезвреживания отходов коммунальных, подобных коммунальным на производстве и при предоставлении услуг населению | 266 |
II Объекты, являющиеся результатом деятельности по добыче, обогащению и переработке полезных ископаемых | 6 |
- отвалы отходов добычи полезных ископаемых | 1 |
- хранилища, предназначенные для хранения отходов добычи и/или обогащения полезных ископаемых, кроме отвалов (шламохранилища, хвостохранилища) | 5 |
- отработанные участки угольных месторождений | 0 |
III Объекты, являющиеся результатом деятельности химического производства | 11 |
- бесхозяйные объекты капитального строительства, производственные здания/сооружения | 0 |
- объекты размещения промышленных отходов (пруды-накопители, шламонакопители) | 6 |
- земли, загрязненные химическими соединениями | 2 |
- земли, загрязненные промышленными отходами | 3 |
IV Объекты, являющиеся результатом деятельности предприятий нефтепереработки, нефтехимического производства | 23 |
- нефте-, мазутохранилища | 1 |
- нефтешламовые амбары, нефтебазы | 22 |
- линзы нефтепродуктов | 0 |
V Объекты, расположенные в акватории водных объектов, участках акваторий | 2 |
- затонувшие суда | 1 |
- инженерные сооружения разной степени сложности, используемые для транспортировки жидких и газообразных веществ | 1 |
VI Объекты, являющиеся результатом деятельности агропромышленного комплекса | 3 |
- хранилища пестицидов и ядохимикатов | 2 |
- пометохранилища | 0 |
- земли, загрязненные пестицидами и ядохимикатами | 1 |
VII Прочие объекты накопленного вреда окружающей среде | 11 |
- объекты размещения и обезвреживания отходов при сборе и обработке сточных вод, вод систем оборотного водоснабжения (хранилища иловых осадков, образующихся в биологических очистных сооружениях) | 2 |
- объекты, являющиеся результатом деятельности топливно-энергетической отрасли (отвалы отходов производства электроэнергии и пара - золошлакоотвалы) | 0 |
- объекты, являющиеся результатом деятельности целлюлозно-бумажной промышленности | 3 |
- иные объекты накопленного вреда окружающей среде (участок уничтожения химического оружия, объекты, содержащие лом и отходы черных и (или) цветных металлов (в том числе заброшенные здания, металлоконструкции и сооружения), полигон строительных отходов и др.) | 6 |
ИТОГО | 322 |
Таблица составлена на основе данных, содержащихся: - в 70 поступивших анкетах, включающих сведения о 84 объектах накопленного вреда окружающей среде в 2022 году; - в 90 поступивших анкетах, включающих сведения о 149 объектах накопленного вреда окружающей среде в 2023 году; - в 84 поступивших анкетах, включающих сведения о 80 объектах накопленного вреда окружающей среде в 2025 году; - в проектно-изыскательской документации ликвидированных в рамках федерального проекта "Чистая страна", входящего в национальный проект "Экология", объектов накопленного вреда окружающей среде. |
Наилучшие доступные технологии, выявленные при обработке анкет и применяемые в Российской Федерации при выявлении, обследовании и ликвидации объектов накопленного вреда окружающей среде, представлены в
таблице 5.2.
Таблица 5.2
Применимость наилучших доступных технологий, выявленных
при обработке анкет и используемых при ликвидации объектов
накопленного вреда, включенных в область справочника НДТ
Вид объекта накопленного вреда окружающей среде | Технические, технологические решения и организационные мероприятия при проведении необходимых обследований объекта накопленного вреда окружающей среде, в том числе инженерных изысканий | Технологии, методы, способы изоляции и защиты компонентов природной среды от негативного воздействия объекта | Технологии, методы, способы ликвидации объектов накопленного вреда окружающей среде, расположенных на территориях, в акваториях и являющихся объектами капитального строительства (включая рекультивацию нарушенных земель) | Технологии, методы, способы мониторинга состояния окружающей среды после ликвидации объектов накопленного вреда окружающей среде, расположенных на территориях, в акваториях и являющихся объектами капитального строительства |
in situ | ex situ |
I Объекты размещения и обезвреживания отходов коммунальных, подобных коммунальным на производстве и при предоставлении услуг населению |
- свалки твердых коммунальных отходов (в том числе несанкционированные) | | | | | |
- полигоны твердых коммунальных отходов | | | | | |
II Объекты, являющиеся результатом деятельности по добыче, обогащению и переработке полезных ископаемых |
- отвалы отходов добычи полезных ископаемых | | н/д | | | н/д |
- хранилища, предназначенные для хранения отходов добычи и/или обогащения полезных ископаемых, кроме отвалов (шламохранилища, хвостохранилища) | | | | н/д | н/д |
- отработанные участки угольных месторождений | | н/д | н/д | н/д | н/д |
III Объекты, являющиеся результатом деятельности химического производства |
- бесхозяйные объекты капитального строительства, производственные здания/сооружения | | н/д | н/д | | н/д |
- объекты размещения промышленных отходов (пруды-накопители, шламонакопители) | | | | | н/д |
- земли, загрязненные химическими соединениями | | | н/д | н/д | н/д |
- земли, загрязненные промышленными отходами (в том числе полигоны промышленных отходов) | | | | | н/д |
IV Объекты, являющиеся результатом деятельности предприятий нефтепереработки, нефтехимического производства |
- нефте-, мазутохранилища, пруды накопители кислых гудронов | | н/д | н/д | | н/д |
- нефтешламовые амбары, нефтебазы | | | | | н/д |
- линзы нефтепродуктов | | н/д | | | н/д |
V Объекты, расположенные в акватории водных объектов, участках акваторий |
- затонувшие суда | | н/д | н/д | н/д | н/д |
- инженерные сооружения разной степени сложности, используемые для транспортировки жидких и газообразных веществ | | н/д | н/д | н/д | н/д |
VI Объекты, являющиеся результатом деятельности агропромышленного комплекса |
- хранилища пестицидов и ядохимикатов | | н/д | н/д | н/д | н/д |
- пометохранилища | | н/д | | н/д | н/д |
- земли, загрязненные пестицидами и ядохимикатами | | н/д | н/д | н/д | н/д |
VII Прочие объекты накопленного вреда окружающей среде |
- объекты размещения и обезвреживания отходов при сборе и обработке сточных вод, вод систем оборотного водоснабжения (хранилища иловых осадков, образующихся в биологических очистных сооружениях) | | н/д | н/д | н/д | н/д |
- объекты, являющиеся результатом деятельности топливно-энергетической отрасли (отвалы отходов производства электроэнергии и пара - золошлакоотвалы) | | н/д | н/д | н/д | н/д |
- объекты, являющиеся результатом деятельности целлюлозно-бумажной промышленности | | | | | н/д |
- иные объекты накопленного вреда окружающей среде (участок уничтожения химического оружия, объекты, содержащие лом и отходы черных и (или) цветных металлов (в том числе заброшенные здания, металлоконструкции и сооружения), полигон строительных отходов, объекты, содержание отходы пищевой промышленности и др.) | | н/д | н/д | | н/д |
Условные обозначения: н/д - недостаточно данных |
5.1 Наилучшие доступные технологии при проведении
необходимых обследований объекта накопленного вреда
окружающей среде, в том числе инженерных изысканий
Основным принципом НДТ при проведении необходимых обследований объекта накопленного вреда окружающей среде, в том числе инженерных изысканий, является выбор таких решений, которые могли бы обеспечить получение достоверных сведений об объекте накопленного вреда окружающей среде и его воздействии на окружающую среду, жизнь и здоровье граждан.
Основные способы, технические, технологические решения, организационные мероприятия при проведении необходимых обследований объектов накопленного вреда окружающей среде, применяемые в Российской Федерации, представлены в
разделе 2 справочника НДТ.
НДТ при проведении необходимых обследований объекта накопленного вреда окружающей среде, в том числе инженерных изысканий выявлены на основании обработки сведений, представленных в анкетах и проектно-изыскательской документации
(таблица 5.1), с использованием методики определения НДТ, описанной в
разделе 4 справочника НДТ.
При обследовании объектов накопленного вреда окружающей среде в результате анализа анкет и проектно-изыскательской документации выявлены следующие НДТ: установление объема размещенных на объекте накопленного вреда окружающей среде загрязняющих веществ/отходов путем построения цифровой модели местности, картограмм свалочных масс/загрязнений, созданной на основе результатов комплекса инженерно-геологических изысканий, с использованием специализированного программного обеспечения; установление класса опасности отходов с сочетанием расчетного и экспериментального способов; установление площади объекта накопленного вреда окружающей среде с применением глобальных навигационных спутниковых систем, построением топографических планов на основе топографической съемки с использованием специализированного программного обеспечения; установление уровня и объема негативного воздействия объекта накопленного вреда окружающей среде на окружающую среду путем проведения маршрутного обследования, отбора проб и анализа лабораторных исследований; использование данных электронных карт и реестров для автоматизации сбора данных об объекте накопленного вреда окружающей среде на подготовительном этапе.
При выявлении новых НДТ, связанных с изоляцией и защитой компонентов природной среды от негативного воздействия объектов накопленного вреда окружающей среде,
раздел 5.1 справочника НДТ может быть дополнен.
НДТ 1.1 Установление объема размещенных на объекте накопленного вреда окружающей среде загрязняющих веществ/отходов путем построения цифровой модели местности, картограмм свалочных масс/загрязнений, созданных на основе результатов комплекса инженерно-геологических изысканий, с использованием специализированного программного обеспечения
Область применения: технология применима для ликвидации накопленного вреда окружающей среде применительно к объектам накопленного вреда окружающей среде, включенным в государственный реестр объектов накопленного вреда окружающей среде, за исключением случаев, когда объект расположен в акватории водного объекта.
Краткое описание технологии: расчет объема отходов осуществляется на основе данных, полученных при инженерно-геологических, инженерно-геодезических изысканиях, в т.ч. бурении свалочного тела на всю глубину залегания отходов с построением разрезов, профилей, картограмм, цифровой модели местности.
Преимущества экологические: выполнение требований природоохранного законодательства Российской Федерации. Применение технологии позволяет определить объем отходов/загрязнений с целью выбора дальнейшего метода/технологии ликвидации с устранением негативного воздействия на компоненты природной среды.
Преимущества экономические: зависят от оборудования и программных продуктов, используемых на стадии рекогносцировочного обследования и камеральной обработки полученных данных.
Преимущества ресурсо- и энергосберегающие: зависят от оборудования и программных продуктов, используемых на стадии рекогносцировочного обследования и камеральной обработки полученных данных.
Применение в особых природных условиях: не выявлено.
Ограничения для внедрения и использования технологии: не выявлены.
Количество внедрений - 90, из них:
- объекты размещения и обезвреживания отходов коммунальных, подобных коммунальным на производстве и при предоставлении услуг населению (свалки твердых коммунальных отходов, в том числе несанкционированные; полигоны твердых коммунальных отходов) - 66;
- объекты, являющиеся результатом деятельности предприятий нефтедобычи, нефтепереработки, нефтехимического производства (нефтешламовые амбары, нефтезагрязненные территории) - 22;
- объекты, являющиеся результатом деятельности предприятий целлюлозно-бумажной промышленности - 1;
- объекты размещения и обезвреживания отходов при сборе и обработке сточных вод, вод систем оборотного водоснабжения (хранилища иловых осадков) - 1.
Период внедрения: до 6 месяцев.
Контрольные показатели технологии: объем отходов/загрязнений определен.
НДТ 1.2 Установление класса опасности отходов с сочетанием расчетного и экспериментального способов
Область применения: технология применима для обследования накопленного вреда окружающей среде применительно к объектам накопленного вреда окружающей среде, включенным в государственный реестр объектов накопленного вреда окружающей среде.
Краткое описание технологии: для определения класса опасности отходов используется расчетный метод с использованием результатов количественного химического анализа проб загрязняющих веществ/отходов и экспериментальный метод, основанный на установлении токсичности среды с помощью биологических индикаторов, сигнализирующих об опасности веществ, вызывающих изменения жизненно важных функций у тест-объектов.
Преимущества экологические: выполнение требований природоохранного законодательства Российской Федерации. Применение технологии позволяет максимально точно определить класс опасности отходов/загрязнений, что повышает эффективность выбора дальнейшего метода/технологии ликвидации с устранением негативного воздействия на компоненты природной среды.
Преимущества экономические: зависят от оборудования и методик измерения, используемых при определении морфологического и химического состава отходов, выборе тест-объектов для биотестирования.
Преимущества ресурсо- и энергосберегающие: зависят от оборудования и методик измерения, используемых при определении морфологического и химического состава отходов, выборе тест-объектов для биотестирования.
Применение в особых природных условиях: не выявлено.
Ограничения для внедрения и использования технологии: не выявлены.
Количество внедрений - 75, из них:
- объекты размещения и обезвреживания отходов коммунальных, подобных коммунальным на производстве и при предоставлении услуг населению (свалки твердых коммунальных отходов, в том числе несанкционированные; полигоны твердых коммунальных отходов) - 49;
- объекты, являющиеся результатом деятельности предприятий нефтедобычи, нефтепереработки, нефтехимического производства (нефтешламовые амбары, нефтезагрязненные территории) - 20;
- объекты, являющиеся результатом деятельности предприятий химической промышленности (шламонакопитель) - 4;
- объекты, являющиеся результатом деятельности агропромышленного комплекса - 1;
- объекты размещения и обезвреживания отходов при сборе и обработке сточных вод, вод систем оборотного водоснабжения (хранилища иловых осадков) - 1.
Период внедрения: до 6 месяцев.
Контрольные показатели технологии: класс опасности отходов установлен.
НДТ 1.3 Установление площади объекта накопленного вреда окружающей среде с применением глобальных навигационных спутниковых систем, построением топографических планов на основе топографической съемки с использованием специализированного программного обеспечения
Область применения: технология применима для ликвидации накопленного вреда окружающей среде применительно к объектам накопленного вреда окружающей среде, включенным в государственный реестр объектов накопленного вреда окружающей среде, за исключением случаев, когда объект расположен в акватории водного объекта.
Краткое описание технологии: расчет площади объекта накопленного вреда окружающей среде осуществляется на основе данных, полученных при инженерно-геодезических изысканиях, в том числе при рекогносцировочном и маршрутном обследовании местности с установлением реперных точек с применением глобальных навигационных спутниковых систем ГЛОНАСС и GPS, планово-высотной съемки, построением картограмм топографо-геодезической изученности и земляных масс.
При выполнении инженерно-геодезических изысканий на объектах накопленного вреда окружающей среде используется различное оборудование для топографической съемки территории, а также программные продукты для последующей камеральной обработки полученных результатов обследования. Топографическая съемка территории осуществляется кинематическим или статическим методами в масштабе 1:500 или 1:1000 с высотой сечения рельефа 0,5 м. Для топографической съемки спутниковым методом могут использоваться геодезические приемники: Trimble R8; Trimble 3605DR Arctic; Javad Maxor; Javad Triumph-1-G3T; EFT M3 GNS; CX-106; Leica1202+; Price i50 и другое оборудование. Для обработки данных GPS могут использоваться программное обеспечение: Credo DAT; CREDO_TER; Auto DAT; Pinnacle; Topcon Tools; FieldView; Hi-Target Geomatics Office и другие программные продукты. Для построения топографических планов может применяться программное обеспечение: AutoCAD; Civil 3D компании Autodesk; Microstation Power Draft и другие программные продукты.
Преимущества экологические: выполнение требований природоохранного законодательства Российской Федерации. Применение технологии позволяет максимально точно определить площадь загрязненной территории с целью выбора дальнейшего метода/технологии ликвидации с устранением негативного воздействия на компоненты природной среды.
Преимущества экономические: зависят от оборудования и программных продуктов, используемых на стадии рекогносцировочного обследования и камеральной обработки полученных данных.
Преимущества ресурсо- и энергосберегающие: зависят от оборудования и программных продуктов, используемых на стадии рекогносцировочного обследования и камеральной обработки полученных данных.
Применение в особых природных условиях: не выявлено.
Ограничения для внедрения и использования технологии: не выявлены.
Количество внедрений - 69, из них:
- объекты размещения и обезвреживания отходов коммунальных, подобных коммунальным на производстве и при предоставлении услуг населению (свалки твердых коммунальных отходов, в том числе несанкционированные; полигоны твердых коммунальных отходов) - 43;
- объекты, являющиеся результатом деятельности предприятий нефтедобычи, нефтепереработки, нефтехимического производства (нефтешламовые амбары, нефтезагрязненные территории) - 20;
- объекты, являющиеся результатом деятельности предприятий химической промышленности (шламонакопитель) - 3;
- объекты, являющиеся результатом деятельности предприятий целлюлозно-бумажной промышленности - 2;
- объекты размещения и обезвреживания отходов при сборе и обработке сточных вод, вод систем оборотного водоснабжения (хранилища иловых осадков) - 1.
Период внедрения: до 6 месяцев.
Контрольные показатели технологии: площадь объекта накопленного вреда окружающей среде определена.
НДТ 1.4 Установление уровня и объема негативного воздействия на окружающую среду объекта накопленного вреда окружающей среде путем проведения маршрутного обследования, отбора проб и анализа лабораторных исследований
Область применения: технология применима для обследования накопленного вреда окружающей среде применительно к объектам накопленного вреда окружающей среде, включенным в государственный реестр объектов накопленного вреда окружающей среде.
Краткое описание технологии: уровень и объем негативного воздействия на окружающую среду определяются в ходе выполнения комплекса инженерных изысканий, включающих, в том числе, инженерные обследования, инженерно-экологические и инженерно-геологические изыскания. В рамках данных видов изысканий:
- выполняются рекогносцировочные обследования с детальным визуальным осмотром объектов накопленного вреда окружающей среде;
- отбираются пробы почв, поверхностных и подземных вод, атмосферного воздуха;
- производится оценка текущего состояния компонентов природной среды, радиационного состояния территории;
- выполняются лабораторно-аналитические работы по определению степени загрязнения отобранных проб компонентов природных сред.
Преимущества экологические: выполнение требований природоохранного законодательства Российской Федерации. Применение технологии позволяет определить уровень загрязнения компонентов природной среды с целью выбора дальнейшего метода/технологии ликвидации с устранением негативного воздействия на окружающую среду.
Преимущества экономические: зависят от оборудования и программных продуктов, используемых на стадии маршрутного обследования, отбора и анализа проб компонентов природной среды и камеральной обработки полученных данных.
Преимущества ресурсо- и энергосберегающие: зависят от оборудования и программных продуктов, используемых на стадии маршрутного обследования, отбора и анализа проб компонентов природной среды и камеральной обработки полученных данных.
Применение в особых природных условиях: не выявлено.
Ограничения для внедрения и использования технологии: не выявлены.
Количество внедрений - 43, из них:
- объекты размещения и обезвреживания отходов коммунальных, подобных коммунальным на производстве и при предоставлении услуг населению (свалки твердых коммунальных отходов, в том числе несанкционированные; полигоны твердых коммунальных отходов) - 36;
- объекты, являющиеся результатом деятельности предприятий нефтедобычи, нефтепереработки, нефтехимического производства (нефтешламовые амбары, нефтезагрязненные территории) - 1;
- объекты, являющиеся результатом деятельности предприятий химической промышленности (шламонакопитель) - 2;
- объекты, являющиеся результатом деятельности предприятий целлюлозно-бумажной промышленности - 1;
- объекты, являющиеся результатом деятельности агропромышленного комплекса - 2;
- объекты размещения и обезвреживания отходов при сборе и обработке сточных вод, вод систем оборотного водоснабжения (хранилища иловых осадков) - 1.
Период внедрения: до 6 месяцев.
Контрольные показатели технологии: уровень и объем воздействия объекта накопленного вреда окружающей среде на компоненты природной среды определены.
НДТ 1.5 Использование данных электронных карт и реестров для автоматизации сбора данных об объекте накопленного вреда окружающей среде на подготовительном этапе
Область применения: технология применима для обследования накопленного вреда окружающей среде применительно к объектам накопленного вреда окружающей среде, включенным в государственный реестр объектов накопленного вреда окружающей среде.
Краткое описание технологии: при обследовании и оценке объектов накопленного вреда окружающей среде используются разнообразные базы данных, государственные реестры, информационные системы, каталоги, содержащие информацию о территории под объектом, наличие ограничений, информацию об опасных гидрометеорологических явлениях погоды; информацию о водных и климатических ресурсах на территории объекта; данные приземных метеорологических наблюдений; информацию космического мониторинга; данные об аварийном, экстремально высоком и высоком загрязнении окружающей среды на территории объекта; аэрологические данные; гидрологические данные, информацию об особо ценных видах диких животных и водных биологических ресурсов, которые принадлежат к видам, занесенным в Красную книгу Российской Федерации, и (или) охраняются международными договорами Российской Федерации; информацию об объектах животного мира, занесенных в Красную книгу Российской Федерации, и другие сведения.
Преимущества экологические: выполнение требований природоохранного законодательства Российской Федерации. Применение технологии позволяет оптимизировать процесс сбора исходной информации об объекте накопленного вреда окружающей среде с целью выбора дальнейшего метода/технологии ликвидации с устранением негативного воздействия на компоненты природной среды.
Преимущества экономические: зависят от вида и доступа запрашиваемых электронных карт и реестров.
Преимущества ресурсо- и энергосберегающие: зависят от вида и доступа запрашиваемых электронных карт и реестров.
Применение в особых природных условиях: не выявлено.
Ограничения для внедрения и использования технологии: не выявлены.
Количество внедрений - 36, из них:
- объекты размещения и обезвреживания отходов коммунальных, подобных коммунальным на производстве и при предоставлении услуг населению (свалки твердых коммунальных отходов, в том числе несанкционированные; полигоны твердых коммунальных отходов) - 30;
- объекты, являющиеся результатом деятельности предприятий химической промышленности (шламонакопитель) - 3;
- объекты, являющиеся результатом деятельности предприятий целлюлозно-бумажной промышленности - 1;
- объекты размещения и обезвреживания отходов при сборе и обработке сточных вод, вод систем оборотного водоснабжения (хранилища иловых осадков) - 2.
Период внедрения: до 6 месяцев.
Контрольные показатели технологии: сведения об объекте накопленного вреда окружающей среды получены.
5.2 Наилучшие доступные технологии изоляции и защиты
компонентов природной среды от негативного воздействия
объектов накопленного вреда окружающей среде
Основным принципом НДТ изоляции и защиты компонентов природной среды от негативного воздействия объекта является выбор таких решений, которые могли бы обеспечить прекращение загрязнения компонентов природной среды.
Основные способы изоляции и защиты компонентов природной среды от негативного воздействия объектов накопленного вреда окружающей среде, применяемые в Российской Федерации, представлены в
разделе 2 справочника НДТ.
НДТ изоляции и защиты компонентов природной среды от негативного воздействия объектов накопленного вреда окружающей среде выявлены на основании обработки сведений, представленных в анкетах и проектно-изыскательской документации
(таблица 5.1), с использованием методики определения НДТ, описанной в
разделе 4 справочника НДТ.
При ликвидации объектов накопленного вреда окружающей среде в результате анализа анкет и проектно-изыскательской документации выявлены следующие НДТ изоляции и защиты компонентов природной среды от негативного воздействия объекта: устройство верхнего изоляционного покрытия; противофильтрационный экран; устройство системы сбора и отвода поверхностного стока; устройство системы дегазации; устройство системы сбора и отведения фильтрата; устройство системы водопонижения; строительство гидротехнических сооружений; устройство сорбционной противофильтрационной завесы, барьера.
При выявлении новых НДТ, связанных с изоляцией и защитой компонентов природной среды от негативного воздействия объектов накопленного вреда окружающей среде,
раздел 5.2 справочника НДТ может быть дополнен.
НДТ 2.1 Устройство верхнего изоляционного покрытия
Наилучшей доступной технологией обеспечения изоляции отходов и предотвращения попадания загрязняющих веществ из отходов в окружающую среду, сохранения устойчивости массива отходов, организации отвода биогаза для объектов захоронения твердых коммунальных отходов, обеспечения сохранности ресурсного потенциала отходов, вписывания объекта размещения отходов в окружающий ландшафт является верхнее изоляционное покрытие.
Область применения: технология применима для ликвидации накопленного вреда окружающей среде применительно к объектам накопленного вреда окружающей среде, включенным в государственный реестр объектов накопленного вреда окружающей среде, за исключением случаев, когда отходы перемещаются с территории и/или в результате проведения работ по обезвреживанию/очистке территории показатели качества для почвы и грунтовых вод достигают санитарно-гигиенических значений, когда объект расположен в акватории водного объекта.
Краткое описание технологии: верхнее изоляционное покрытие создается с целью обеспечения изоляции отходов и предотвращения попадания загрязняющих веществ из отходов в окружающую среду, сохранения устойчивости массива отходов, организации отвода биогаза для объектов захоронения твердых коммунальных отходов, обеспечения сохранности ресурсного потенциала отходов, вписывания объекта размещения отходов в окружающий ландшафт.
Покрытие может создаваться из природных и (или) искусственных материалов. Для устройства верхнего изоляционного покрытия при ликвидации объектов накопленного вреда окружающей среде используются природные (плодородный грунт, грунт глинистый (суглинок), грунт песчаный, торф, мергель, песчано-щебеночная смесь), антропогенные (грунт антропогенный, отходы производства - золошлаковые смеси) и синтетические материалы (гидроматы и другие дренажные маты; бентонитовый мат; геомембрана; геотекстиль; георешетка; геоматы; тризопласт; экранирующие материалы).
Конкретная конструкция верхнего изоляционного покрытия выбирается исходя из результатов обследования объекта накопленного вреда окружающей среде, в том числе инженерных изысканий, в соответствии с проектом работ по ликвидации накопленного вреда.
Преимущества экологические:
- предотвращение проникновения вод поверхностного стока (ливневых и талых) в массив отходов и, как следствие, исключение образования фильтрационных вод;
- предотвращение распространения легких фракций отходов;
- предотвращение загрязнения атмосферного воздуха;
- предотвращение ветровой и водной эрозии, в результате которой могут быть обнажены размещенные отходы;
- создание эстетически и экологически приемлемого ландшафта.
Преимущества экономические:
- возможна экономия средств при выборе материалов;
- восстановление растительного и почвенного покрова;
- возможно применение материалов российского производства.
Преимущества ресурсо- и энергосберегающие: за счет использования в составе верхнего защитного экрана местных грунтов; экономия трудовых ресурсов и времени реализации технологии в случае использования местных материалов.
Применение в особых природных условиях:
- на заболоченных территориях;
- в районах резко континентального климата;
- в районах с холодным климатом.
Ограничения по внедрению и применению технологии: не выявлены.
Количество внедрений - 263, из них:
- объекты размещения и обезвреживания отходов коммунальных, подобных коммунальным на производстве и при предоставлении услуг населению (свалки твердых коммунальных отходов, в том числе несанкционированные; полигоны твердых коммунальных отходов) - 236;
- объекты, являющиеся результатом деятельности по добыче, обогащению и переработке полезных ископаемых (хвостохранилища) - 5;
- объекты, являющиеся результатом деятельности предприятий нефтедобычи, нефтепереработки, нефтехимического производства (нефтешламовые амбары) - 18;
- объекты, являющиеся результатом деятельности предприятий целлюлозно-бумажной промышленности - 1;
- объекты, являющиеся результатом деятельности предприятий химической промышленности - 3.
Период внедрения: до 6 месяцев.
Контрольные показатели технологии: установленные проектом работ по ликвидации накопленного вреда нормативы качества окружающей среды, санитарно-гигиенические, строительные нормы и правила состояния земель по окончании работ достигнуты. Накопленный вред окружающей среде ликвидирован.
Наилучшая доступная технология
НДТ 2.1 аналогична
НДТ 3.1 справочника НДТ ИТС 17-2024 "Размещение отходов производства и потребления".
НДТ 2.2 Противофильтрационный экран
Наилучшей доступной технологией защиты от загрязнения подземных вод и геологической среды, поверхностных вод, почв является противофильтрационный экран, обеспечивающий предотвращение попадания в компоненты природной среды загрязняющих веществ из отходов, в том числе с фильтрационными водами.
Область применения: технология применима для ликвидации накопленного вреда окружающей среде применительно к объектам накопленного вреда окружающей среде, включенным в государственный реестр объектов накопленного вреда окружающей среде, за исключением случаев, когда отходы перемещаются с территории и/или в результате проведения работ по обезвреживанию/очистке территории показатели качества для почвы и грунтовых вод достигают санитарно-гигиенических значений, когда фильтрационные свойства подстилающих пород не требуют создания дополнительной защиты и/или на объекте уже применяется
НДТ 2.1, предотвращающая попадание атмосферных осадков, когда объект расположен в акватории водного объекта.
Краткое описание технологии: противофильтрационный экран проектируется и сооружается при условии полной экскавации массива отходов. Противофильтрационный экран создается из природных и (или) искусственных материалов. Для устройства водонепроницаемого основания (противофильтрационного экрана) при ликвидации объектов накопленного вреда окружающей среде используются природные (грунт глинистый (суглинок), грунт песчаный), антропогенные (грунт антропогенный, отходы производства - золошлаковые смеси) и синтетические материалы (гидроматы и другие дренажные маты; бентонитовый мат; геомембрану; геотекстиль).
Способы противофильтрационной защиты определяются исходя из результатов обследования объекта накопленного вреда окружающей среде, в том числе инженерных изысканий, в соответствии с проектом работ по ликвидации накопленного вреда.
Преимущества экологические: исключается попадание загрязняющих веществ из отходов в геологическую среду и подземные воды, в почвы и опосредованно в поверхностные водные объекты.
Преимущества экономические:
- возможна экономия средств при выборе материалов;
- возможно применение материалов российского производства.
Преимущества ресурсо- и энергосберегающие: за счет использования в качестве противофильтрационной защиты естественного грунтового основания (при условии ее достаточности для обеспечения защиты геологической среды и подземных вод), местных грунтов.
Применение в особых природных условиях:
- на заболоченных территориях;
- в районах с резко континентальным климатом;
- в районах с холодным климатом.
Ограничения по внедрению и применению технологии: не выявлены.
Ограничения для внедрения и использования технологии: технология применима только при полной экскавации массива отходов.
Количество внедрений - 28. Из них:
- объекты размещения и обезвреживания отходов коммунальных, подобных коммунальным на производстве и при предоставлении услуг населению (свалки твердых коммунальных отходов, в том числе несанкционированные; полигоны твердых коммунальных отходов) - 24;
- объекты, являющиеся результатом деятельности предприятий химической промышленности - 2;
- объекты, являющиеся результатом деятельности по добыче, обогащению и переработке полезных ископаемых - 1;
- объекты, являющиеся результатом деятельности целлюлозно-бумажной промышленности - 1.
Период внедрения: до 6 месяцев.
Контрольные показатели технологии: установленные проектом работ по ликвидации накопленного вреда нормативы качества окружающей среды, санитарно-гигиенические, строительные нормы и правила состояния земель по окончании работ достигнуты. Накопленный вред окружающей среде ликвидирован.
Наилучшая доступная технология
НДТ 2.2 аналогична
НДТ 1.1 справочника НДТ ИТС 17-2024 "Размещение отходов производства и потребления".
НДТ 2.3 Устройство системы сбора и отвода поверхностного стока
Область применения: технология применима для ликвидации накопленного вреда окружающей среде применительно к объектам накопленного вреда окружающей среде, включенным в государственный реестр объектов накопленного вреда окружающей среде, за исключением случаев, когда отходы перемещаются с территории и/или в результате проведения работ по обезвреживанию/очистке территории показатели качества для почвы и грунтовых вод достигают санитарно-гигиенических значений, когда объект расположен в акватории водного объекта.
В случае если по завершении ликвидации объекта накопленного вреда окружающей среде остаются в эксплуатации инженерные сооружения (например, дегазационные скважины, очистные сооружения, отстойники сточных вод и др.), их эксплуатация и содержание осуществляется собственником земельного участка (администрацией или иным лицом, установленным администрацией).
Краткое описание технологии: при ликвидации объектов накопленного вреда окружающей среде "in situ" для сбора поверхностного стока обустраивается водоотводная система. Выбор материалов и оборудования для устройства системы сбора и отвода поверхностных вод определяется видом системы сбора и отвода поверхностного стока.
Преимущества экологические: исключается инфильтрация поверхностного стока в массив отходов, исключается попадание загрязняющих веществ из отходов в геологическую среду и подземные воды, в почвы и опосредованно в поверхностные водные объекты.
Преимущества экономические: зависят от конструкции системы сбора и отвода поверхностного стока.
Преимущества ресурсо- и энергосберегающие: за счет использования вод поверхностного стока для орошения по завершении биологического этапа рекультивации, для технических нужд (пожаротушение).
Применение в особых природных условиях: не выявлено.
Ограничения для внедрения и использования технологии: не выявлены.
Количество внедрений - 13. Из них:
- объекты размещения и обезвреживания отходов коммунальных, подобных коммунальным на производстве и при предоставлении услуг населению (свалки твердых коммунальных отходов, в том числе несанкционированные; полигоны твердых коммунальных отходов) - 6;
- объекты, являющиеся результатом деятельности по добыче, обогащению и переработке полезных ископаемых (хвостохранилища) - 3;
- объекты, являющиеся результатом деятельности предприятий целлюлозно-бумажной промышленности - 1;
- объекты, являющиеся результатом деятельности предприятий химической промышленности - 3;
Период внедрения: до 6 месяцев.
Контрольные показатели технологии: установленные проектом работ по ликвидации накопленного вреда нормативы качества окружающей среды, санитарно-гигиенические, строительные нормы и правила состояния земель по окончании работ достигнуты. Накопленный вред окружающей среде ликвидирован.
НДТ 2.4 Устройство системы дегазации при ликвидации объектов накопленного вреда окружающей среде
Область применения: технология применима при продолжении образования газов на момент завершения работ по ликвидации накопленного вреда окружающей среде применительно к объектам накопленного вреда окружающей среде, включенным в государственный реестр объектов накопленного вреда окружающей среде, за исключением случаев, когда объект расположен в акватории водного объекта.
В случае если по завершении ликвидации объекта накопленного вреда окружающей среде остаются в эксплуатации инженерные сооружения (например, дегазационные скважины, очистные сооружения, отстойники сточных вод и др.), их эксплуатация и содержание осуществляется собственником земельного участка (администрацией или иным лицом, установленным администрацией).
Краткое описание технологии: сбор и отведение биогаза выполняются с использованием системы горизонтальных траншей, газоотводящих труб, газодренажных слоев, колодцев или скважин. В качестве элементов пассивной дегазации для очистки биогаза используются биосорбционные фильтры. В качестве сорбентов в биофильтрах (при ликвидации объектов накопленного вреда) используются инертные материалы (опилки, измельченная кора, песок, керамзит и пр.), пропитанные субстратом накопительной культуры метанотрофных бактерий, выделенной из осадков иловых чеков, в количестве не менее 10% по массе, активированный уголь, гранулированный сорбент Агроинит. В качестве элемента активной дегазации для утилизации биогаза используется технологическое оборудование/установки по сжиганию биогаза.
Преимущества экологические:
- снижение взрыво- и пожароопасности массива отходов;
- прекращение выбросов в атмосферный воздух.
Преимущества экономические:
- низкая стоимость оборудования и материалов для дегазации;
- простота строительства.
Преимущества ресурсо- и энергосберегающие: возможность использования биогаза в качестве вторичного энергетического ресурса.
Применение в особых природных условиях: не выявлено.
Ограничения для внедрения и использования технологии: не выявлены.
Количество внедрений - 143, из них:
- объекты размещения и обезвреживания отходов коммунальных, подобных коммунальным на производстве и при предоставлении услуг населению (свалки твердых коммунальных отходов, в том числе несанкционированные; полигоны твердых коммунальных отходов) - 140;
- объекты, являющиеся результатом деятельности целлюлозно-бумажной промышленности - 2;
- объекты, являющиеся результатом деятельности предприятий химической промышленности - 1.
Период внедрения: до 6 месяцев.
Контрольные показатели технологии: установленные проектом работ по ликвидации накопленного вреда нормативы качества окружающей среды, санитарно-гигиенические, строительные нормы и правила состояния земель по окончании работ достигнуты. Накопленный вред окружающей среде ликвидирован.
Наилучшая доступная технология
НДТ 2.4 аналогична
НДТ 2.15 справочника НДТ ИТС 17-2024 "Размещение отходов производства и потребления".
НДТ 2.5 Устройство системы сбора и отведения фильтрата при ликвидации объектов накопленного вреда окружающей среде
Область применения: технология применима при продолжении образования фильтрата на момент завершения работ по ликвидации накопленного вреда окружающей среде применительно к объектам накопленного вреда окружающей среде, включенным в государственный реестр объектов накопленного вреда окружающей среде, за исключением случаев, когда отходы перемещаются с территории и/или в результате проведения работ по обезвреживанию/очистке территории показатели качества для почвы и грунтовых вод достигают санитарно-гигиенических значений, когда объект расположен в акватории водного объекта.
В случае если по завершении ликвидации объекта накопленного вреда окружающей среде остаются в эксплуатации инженерные сооружения (например, дегазационные скважины, очистные сооружения, отстойники сточных вод и др.), их эксплуатация и содержание осуществляется собственником земельного участка (администрацией или иным лицом, установленным администрацией).
Краткое описание технологии: технология состоит из комплекса решений по устройству дренажных ветвей (дрен) в теле объекта накопленного вреда окружающей среде; устройству магистральных коллекторов в основании объекта; устройству резервуара сбора фильтрата.
Преимущества экологические: минимизация воздействия фильтрата на подземные воды.
Преимущества экономические: снижении рисков штрафных санкций за нарушение экологических норм.
Преимущества ресурсо- и энергосберегающие: зависят от конструкции системы сбора и отведения фильтрата.
Применение в особых природных условиях: не выявлено.
Ограничения для внедрения и использования технологии: не выявлены.
Количество внедрений - 98, из них:
- объекты размещения и обезвреживания отходов коммунальных, подобных коммунальным на производстве и при предоставлении услуг населению (свалки твердых коммунальных отходов, в том числе несанкционированные; полигоны твердых коммунальных отходов) - 96;
- объекты, являющиеся результатом деятельности целлюлозно-бумажной промышленности - 1;
- объекты, являющиеся результатом деятельности предприятий химической промышленности - 1.
Период внедрения: до 6 месяцев.
Контрольные показатели технологии: установленные проектом работ по ликвидации накопленного вреда нормативы качества окружающей среды, санитарно-гигиенические, строительные нормы и правила состояния земель по окончании работ достигнуты. Накопленный вред окружающей среде ликвидирован.
НДТ 2.6 Устройство системы водопонижения
Наилучшей доступной технологией обеспечивается откачка скоплений подземных вод, загрязненных фильтратом, шахтных вод из затопленных выработок в выработанное пространство шахт.
Область применения: технология применима для ликвидации накопленного вреда окружающей среде применительно к объектам накопленного вреда окружающей среде, включенным в государственный реестр объектов накопленного вреда окружающей среде, за исключением случаев, когда отходы перемещаются с территории и/или в результате проведения работ по обезвреживанию/очистке территории показатели качества для почвы и грунтовых вод достигают санитарно-гигиенических значений, когда объект расположен в акватории водного объекта.
В случае если по завершении ликвидации объекта накопленного вреда окружающей среде остаются в эксплуатации инженерные сооружения (например, дегазационные скважины, очистные сооружения, отстойники сточных вод и др.), их эксплуатация и содержание осуществляется собственником земельного участка (администрацией или иным лицом, установленным администрацией).
Краткое описание технологии: устройство системы водопонижения, состоит из: монтажа трубопроводов, устройства водопонизительных скважин, систем откачки шахтных вод из затопленных выработок в выработанное пространство шахт, подземных вод, загрязненных фильтратом. Скважины располагаются внутри контура ограждения и оборудуются погружными центробежными насосами.
Преимущества экологические: снижение негативного воздействия подземных вод, загрязненных фильтратом, снижение водопритока шахтных вод.
Преимущества экономические: зависят от конструкции системы.
Преимущества ресурсо- и энергосберегающие: зависят от конструкции системы.
Применение в особых природных условиях: не выявлено.
Ограничения для внедрения и использования технологии: не выявлены.
Количество внедрений - 3, из них объекты размещения и обезвреживания отходов коммунальных, подобных коммунальным на производстве и при предоставлении услуг населению (свалки твердых коммунальных отходов, в том числе несанкционированные; полигоны твердых коммунальных отходов) - 3.
Период внедрения: до 6 месяцев.
Контрольные показатели технологии: установленные проектом работ по ликвидации накопленного вреда нормативы качества окружающей среды, санитарно-гигиенические, строительные нормы и правила состояния земель по окончании работ достигнуты. Накопленный вред окружающей среде ликвидирован.
НДТ 2.7 Строительство гидротехнических сооружений
Область применения: технология применима для ликвидации накопленного вреда окружающей среде применительно к объектам накопленного вреда окружающей среде, включенным в государственный реестр объектов накопленного вреда окружающей среде.
В случае если по завершении ликвидации объекта накопленного вреда окружающей среде остаются в эксплуатации инженерные сооружения (например, дегазационные скважины, очистные сооружения, отстойники сточных вод и др.), их эксплуатация и содержание осуществляется собственником земельного участка (администрацией или иным лицом, установленным администрацией).
Краткое описание технологии: технология предусматривает строительство, восстановление гидротехнических сооружений (строительство берегоукрепительных дамб, селенаправляющих дамб, восстановление защитных дамб и плотин) и направлена на защиту компонентов природной среды (в основном поверхностных вод) от загрязнения и защиты от паводков.
Преимущества экологические: защита от загрязнения и паводков.
Преимущества экономические: зависят от конструкции системы.
Преимущества ресурсо- и энергосберегающие: за счет рационального использования техники. Восстановление ресурсного потенциала территории/акватории.
Применение в особых природных условиях: не выявлено.
Ограничения для внедрения и использования технологии: не выявлены.
Количество внедрений - 4, из них:
- объекты, являющиеся результатом деятельности по добыче, обогащению и переработке полезных ископаемых (хвостохранилища) - 3;
- объекты, являющиеся результатом деятельности предприятий целлюлозно-бумажной промышленности - 1.
Период внедрения: до 1 года.
Контрольные показатели технологии: установленные проектом работ по ликвидации накопленного вреда нормативы качества окружающей среды, санитарно-гигиенические, строительные нормы и правила состояния земель по окончании работ достигнуты. Накопленный вред окружающей среде ликвидирован.
НДТ 2.8 Локализация очага загрязнения путем устройства сорбционной противофильтрационной завесы, барьера
С точки зрения минимизации и предотвращения негативного воздействия на окружающую среду применение сорбционной противофильтрационной завесы является наилучшей доступной технологией, поскольку обеспечивает предотвращение попадания в компоненты природной среды загрязняющих веществ из отходов, в том числе с фильтрационными водами [
71 -
72,
226].
Противофильтрационная завеса создается в качестве альтернативы противофильтрационному экрану или дополнения к нему.
Способы устройства противофильтрационной завесы определяются, исходя из результатов обследования объекта накопленного вреда окружающей среде, в том числе инженерных изысканий, в соответствии с проектом работ по ликвидации накопленного вреда.
Область применения: технология применима для ликвидации накопленного вреда окружающей среде применительно к объектам накопленного вреда окружающей среде, включенным в государственный реестр объектов накопленного вреда окружающей среде, за исключением случаев, когда отходы перемещаются с территории и/или в результате проведения работ по обезвреживанию/очистке территории показатели качества для почвы и грунтовых вод достигают санитарно-гигиенических значений.
Краткое описание технологии: технология состоит из комплекса решений по устройству контура противофильтрационной завесы (специального подземного сооружения) высокой сорбционной способности и высокой проницаемости для поглощения загрязняющих веществ, содержащихся в загрязненных водах и фильтрате с объектов накопленного вреда окружающей среде.
Преимущества экологические: снижение негативного воздействия фильтрата, загрязненных вод от объекта на компоненты природной среды.
Преимущества экономические: зависят от конструкции и материалов, используемых для строительства противофильтрационной завесы.
Преимущества ресурсо- и энергосберегающие: зависят от конструкции и материалов, используемых для строительства противофильтрационной завесы.
Применение в особых природных условиях: не выявлено.
Ограничения для внедрения и использования технологии: не выявлены.
Количество внедрений - 5, из них:
- объекты размещения и обезвреживания отходов коммунальных, подобных коммунальным на производстве и при предоставлении услуг населению (свалки твердых коммунальных отходов, в том числе несанкционированные; полигоны твердых коммунальных отходов) - 2;
- объекты, являющиеся результатом деятельности химического производства - 3.
Период внедрения: до 120 календарных дней.
Контрольные показатели технологии: установленные проектом работ по ликвидации накопленного вреда нормативы качества окружающей среды, санитарно-гигиенические, строительные нормы и правила состояния земель по окончании работ достигнуты. Накопленный вред окружающей среде ликвидирован.
5.3 Наилучшие доступные технологии ликвидации объектов
накопленного вреда окружающей среде, расположенных
на территориях, в акваториях и являющихся объектами
капитального строительства (включая рекультивацию
нарушенных земель) "in situ"
Ликвидация объектов накопленного вреда окружающей среде "in situ" включает технологические операции по оптимизации формы и плотности массива отходов, укреплению внешних откосов, организации сбора и отвода поверхностных вод, организации сбора и отвода фильтрата, устройству систем дегазации, ликвидации негативного воздействия объектов накопленного вреда окружающей среде на месте.
Основные способы ликвидации объектов накопленного вреда окружающей среде, расположенных на территориях, в акваториях и являющихся объектами капитального строительства и объектами размещения отходов (включая рекультивацию нарушенных земель) "in situ", применяемые в Российской Федерации, представлены в
разделе 2 справочника НДТ.
НДТ ликвидации объектов накопленного вреда окружающей среде, расположенных на территориях, в акваториях и являющихся объектами капитального строительства и объектами размещения отходов (включая рекультивацию нарушенных земель) "in situ", выявлены на основании обработки сведений, представленных в анкетах и проектно-изыскательской документации
(таблица 5.1), с использованием методики определения НДТ, описанной в
разделе 4 справочника НДТ.
При ликвидации объектов накопленного вреда окружающей среде в результате анализа анкет и проектно-изыскательской документации выявлены следующие НДТ ликвидации объектов накопленного вреда окружающей среде, расположенных на территориях, в акваториях и являющихся объектами капитального строительства и объектами размещения отходов (включая рекультивацию нарушенных земель) "in situ": оптимизация формы массива отходов; укрепление внешних откосов; формирование рельефа, земляные работы, планировка территории и поверхности отходов; санация почв сорбентами; химическая мелиорация; реализация комплекса агротехнических, фитомелиоративных мероприятий; использование искусственных почвогрунтов; очистка фильтрата и загрязненных вод с территории объекта накопленного вреда окружающей среде на локальных очистных сооружениях; технология, основанная на использовании дополнительно внесенных биопрепаратов.
При выявлении новых НДТ, связанных с изоляцией и защитой компонентов природной среды от негативного воздействия объектов накопленного вреда окружающей среде,
раздел 5.3 справочника НДТ может быть дополнен.
НДТ 3.1 Оптимизация формы массива отходов
Наилучшей доступной технологией оптимизации формы ликвидируемого объекта накопленного вреда окружающей среде, размещения полного объема отходов в границах землеотвода, вписывания объекта в окружающий ландшафт, восстановления ландшафта, предотвращения эрозионных явлений является планировка, включающая перемещение накопленных отходов, формирование массива отходов, профилирование, выполаживание, террасирование.
Область применения: технология применима для ликвидации накопленного вреда окружающей среде применительно к объектам накопленного вреда окружающей среде, включенным в государственный реестр объектов накопленного вреда окружающей среде, за исключением случаев, когда объект расположен в акватории водного объекта.
Краткое описание технологии: работы по оптимизации формы массива отходов осуществляются путем перемещения отходов в границы землеотвода, планирования поверхности, исходя из условий прилегающего рельефа, нормативных углов наклона.
Преимущества экологические:
- размещение отходов производится в границах землеотвода;
- за счет достижения нормативных углов наклона осуществляется отвод дождевых и талых вод;
- предотвращаются эрозионные явления;
- ликвидируемый объект вписывается в окружающий ландшафт.
Преимущества экономические: повышение эффективности сбора и отвода поверхностных (ливневых и талых) вод.
Преимущества ресурсо- и энергосберегающие: предотвращение последствий механических нарушений растительности и почвы; ресурсосбережение за счет рационального использования техники, размещения большего количества отходов в границах землеотвода.
Применение в особых природных условиях: не выявлено.
Ограничения для внедрения и использования технологии: не выявлены.
Количество внедрений - 7, из них:
- объекты размещения и обезвреживания отходов коммунальных, подобных коммунальным на производстве и при предоставлении услуг населению (свалки твердых коммунальных отходов, в том числе несанкционированные; полигоны твердых коммунальных отходов) - 6;
- объекты, являющиеся результатом деятельности по добыче, обогащению и переработке полезных ископаемых (отвалы отходов добычи полезных ископаемых) - 1.
Период внедрения: до 1 года.
Контрольные показатели технологии: установленные проектом работ по ликвидации накопленного вреда нормативы качества окружающей среды, санитарно-гигиенические, строительные нормы и правила состояния земель по окончании работ достигнуты. Накопленный вред окружающей среде ликвидирован.
НДТ 3.2 Укрепление внешних откосов
Наилучшей доступной технологией обеспечения устойчивости ограждающих устройств (откосов) и защиты от загрязнения поверхностных вод, почв являются мероприятия по укреплению внешних откосов.
Область применения: технология применима для ликвидации накопленного вреда окружающей среде применительно к объектам накопленного вреда окружающей среде, включенным в государственный реестр объектов накопленного вреда окружающей среде, за исключением случаев, когда объект расположен в акватории водного объекта.
Краткое описание технологии: для укрепления откосов при ликвидации свалок твердых коммунальных отходов (в том числе несанкционированных) применяют механическое уплотнение, георешетки, армогрунтовые стены.
Армогрунтовая подпорная стена проектируется и сооружается с целью укрепления откосов, а также размещения полного объема накопленных отходов в пределах землеотвода. Для сооружения армогрунтовой стены применяются геосинтетические материалы, габионы.
Преимущества экологические: размещение полного объема накопленных отходов в пределах землеотвода, предотвращение эрозии склонов, минимизация рисков оползней.
Преимущества экономические: защита от разрушения под воздействием атмосферных явлений, создание конструкций, способных выдерживать высокие нагрузки.
Преимущества ресурсо- и энергосберегающие: за счет размещения большего количества отходов в границах землеотвода, защита от разрушения под воздействием атмосферных явлений.
Применение в особых природных условиях: не выявлено.
Ограничения для внедрения и использования технологии: не выявлены.
Количество внедрений - 6. Из них:
- объекты размещения и обезвреживания отходов коммунальных, подобных коммунальным на производстве и при предоставлении услуг населению (свалки твердых коммунальных отходов, в том числе несанкционированные;
- полигоны твердых коммунальных отходов) - 5;
- объекты, являющиеся результатом деятельности по добыче, обогащению и переработке полезных ископаемых (хвостохранилища) - 1.
Период внедрения: до 3 месяцев.
Контрольные показатели технологии: установленные проектом работ по ликвидации накопленного вреда нормативы качества окружающей среды, санитарно-гигиенические, строительные нормы и правила состояния земель по окончании работ достигнуты. Накопленный вред окружающей среде ликвидирован.
НДТ 3.3 Формирование рельефа, земляные работы, планировка территории и поверхности отходов
Наилучшей доступной технологией обеспечивается формирование оптимального рельефа и формы ликвидируемого объекта накопленного вреда окружающей среде.
Область применения: технология применима для ликвидации накопленного вреда окружающей среде применительно к объектам накопленного вреда окружающей среде, включенным в государственный реестр объектов накопленного вреда окружающей среде, за исключением случаев, когда объект расположен в акватории водного объекта.
Краткое описание технологии: работы по формированию оптимального рельефа включают в себя комплекс земляных и планировочных работ, к которым относятся: срезка отходов; выемка грунта и отходов; обратная засыпка материалами; вывоз грунта на участок; перемещение привозного грунта; разравнивание грунта; уплотнение грунта и отходов; пересыпка существующих отходов на свалке привозным грунтом; погрузка привозного грунта и отходов; разработка котлованов и траншей; выравнивание и профилирование поверхности свалочного тела и прочие работы.
Преимущества экологические: создание основы для восстановления плодородия почв и растительного покрова, выравнивание участка с помощью планировочного грунта помогает свести к минимуму заболоченность и загрязненность почвы.
Преимущества экономические: возврат земель в хозяйственный оборот, использование восстановленных территорий для развития различных видов деятельности.
Преимущества ресурсо- и энергосберегающие: ресурсосбережение за счет рационального использования земель и техники. Восстановление ресурсного потенциала территории.
Применение в особых природных условиях: не выявлено.
Ограничения для внедрения и использования технологии: не выявлены.
Количество внедрений - 267, из них:
- объекты размещения и обезвреживания отходов коммунальных, подобных коммунальным на производстве и при предоставлении услуг населению (свалки твердых коммунальных отходов, в том числе несанкционированные; полигоны твердых коммунальных отходов) - 241;
- объекты, являющиеся результатом деятельности по добыче, обогащению и переработке полезных ископаемых (хвостохранилища) - 5;
- объекты, являющиеся результатом деятельности предприятий нефтедобычи, нефтепереработки, нефтехимического производства (нефтешламовые амбары, нефтезагрязненные территории) - 19;
- объекты, являющиеся результатом деятельности предприятий целлюлозно-бумажной промышленности - 1;
- объекты, являющиеся результатом деятельности предприятий химической промышленности (шламонакопитель) - 1.
Период внедрения: до 6 месяцев.
Контрольные показатели технологии: установленные проектом работ по ликвидации накопленного вреда нормативы качества окружающей среды, санитарно-гигиенические, строительные нормы и правила состояния земель по окончании работ достигнуты. Накопленный вред окружающей среде ликвидирован.
НДТ 3.4 Санация почв сорбентами
Наилучшей доступной технологией обеспечивается очистка почв от ионов тяжелых металлов, нефтепродуктов, органических веществ, которые являются продуктами деструкции ТКО.
Область применения: технология применима для ликвидации накопленного вреда окружающей среде применительно к объектам накопленного вреда окружающей среде, включенным в государственный реестр объектов накопленного вреда окружающей среде, за исключением случаев, когда отходы перемещаются с территории и/или в результате проведения работ по обезвреживанию/очистке территории показатели качества для почвы и грунтовых вод достигают санитарно-гигиенических значений, когда объект расположен в акватории водного объекта.
Краткое описание технологии: технология санации почв с применением различных сорбционных материалов представляет собой систему организационных, технологических и иных мероприятий, направленных на обезвреживание почвы и включающих контроль эффективности процесса детоксикации. Доза (расход) сорбента определяется в каждом конкретном случае исходя из вида загрязнения и рассчитывается исходя из концентрации ионов тяжелых металлов и нефтепродуктов с учетом сорбционной емкости по указанным компонентам.
Преимущества экологические: применение сорбентов позволяет обеспечить наиболее эффективную очистку почвы от ионов тяжелых металлов и органических загрязняющих веществ при достаточно простом техническом оснащении и минимуме затрат.
Преимущества экономические: возврат земель в хозяйственный оборот, снижение затрат на восстановление экосистем и улучшение здоровья населения, использование восстановленных территорий для развития различных видов деятельности.
Преимущества ресурсо- и энергосберегающие: за счет использования сорбентов природного происхождения. Восстановление ресурсного потенциала территории.
Применение в особых природных условиях: не выявлено.
Ограничения для внедрения и использования технологии: не выявлены.
Количество внедрений - 4, из них объекты размещения и обезвреживания отходов коммунальных, подобных коммунальным на производстве и при предоставлении услуг населению (свалки твердых коммунальных отходов, в том числе несанкционированные; полигоны твердых коммунальных отходов) - 4.
Период внедрения: до 6 месяцев.
Контрольные показатели технологии: установленные проектом работ по ликвидации накопленного вреда нормативы качества окружающей среды, санитарно-гигиенические, строительные нормы и правила состояния земель по окончании работ достигнуты. Накопленный вред окружающей среде ликвидирован.
НДТ 3.5 Химическая мелиорация
Область применения: технология применима для ликвидации накопленного вреда окружающей среде применительно к объектам накопленного вреда окружающей среде, включенным в государственный реестр объектов накопленного вреда окружающей среде, за исключением случаев, когда отходы перемещаются с территории и/или в результате проведения работ по обезвреживанию/очистке территории показатели качества для почвы и грунтовых вод достигают санитарно-гигиенических значений, когда объект расположен в акватории водного объекта.
Краткое описание технологии: технология заключается во внесении в почвы специальных реагентов - мелиорантов, направленных на улучшение физических и химических свойств почвы (в том числе для устранения повышенной щелочности и замены в почвенном поглощающем комплексе натрия на кальций). К основным мелиорантам можно отнести известковую и доломитовую муку, пушонку (гашеную известь), гипс и другие мелиоранты. Доза (расход) мелиорантов выбирается в зависимости от вида объекта накопленного вреда окружающей среде, вида загрязнения окружающей среды, физических свойств почвы (pH, засоленность, механический состав).
Преимущества экологические: ликвидация загрязнения почв, улучшение свойств почв и повышение урожайности сельскохозяйственных культур.
Преимущества экономические: возможность обогащения почв питательными веществами, возврат земель в хозяйственный оборот, восстановленных территорий для развития различных видов деятельности.
Преимущества ресурсо- и энергосберегающие: за счет использования мелиорантов природного происхождения. Восстановление ресурсного потенциала территории.
Применение в особых природных условиях: не выявлено.
Ограничения для внедрения и использования технологии: не выявлены.
Количество внедрений - 18, из них:
- объекты, являющиеся результатом деятельности предприятий нефтедобычи, нефтепереработки, нефтехимического производства (нефтешламовые амбары, нефтезагрязненные территории) - 18.
Период внедрения: до 6 месяцев.
Контрольные показатели технологии: установленные проектом работ по ликвидации накопленного вреда нормативы качества окружающей среды, санитарно-гигиенические, строительные нормы и правила состояния земель по окончании работ достигнуты. Накопленный вред окружающей среде ликвидирован.
НДТ 3.6 Реализация комплекса агротехнических, фитомелиоративных мероприятий
Наилучшей доступной технологией обеспечивается восстановление экологических функций почв, биологической продуктивности и видового разнообразия экосистем на поврежденных участках с помощью биологических процессов.
Область применения: технология применима для ликвидации накопленного вреда окружающей среде применительно к объектам накопленного вреда окружающей среде, включенным в государственный реестр объектов накопленного вреда окружающей среде, за исключением случаев, когда объект расположен в акватории водного объекта.
Краткое описание технологии: для восстановления экологических функций почв, биологической продуктивности и видового разнообразия экосистем используется комплекс агротехнических, фитомелиоративных мероприятий, направленных на улучшение агрофизических, агрохимических, биохимических свойств почв: вспашка, рыхление, снегозадержание, террасирование, бороздование, гребневание, землевание, внесение удобрений, посев многолетних трав, древесно-кустарниковой растительности и пр. Для восстановления растительного покрова на объектах накопленного вреда применяются как традиционные методы - укладка рулонного газона и ручной посев, так и инновационные методы - метод гидропосева путем распыления по заданной территории специального водного раствора на оборудованной для этих целей машине. Приоритетное применение для работ по предотвращению эрозии почв, озеленению откосов, склонов, благоустройству территорий находит технология гидропосева. Одним из видов рулонных газонов, используемых на объектах накопленного вреда окружающей среде, является биомат - это экологически чистый материал, изготовленный на основе растительных волокон, предназначенный для защиты почвы от эрозии, вызванной воздействием воды и ветра, а также для восстановления растительного покрова.
Преимущества экологические: восстановление плодородия почв и растительного покрова.
Преимущества экономические: возврат земель в хозяйственный оборот, снижение затрат на восстановление экосистем и улучшение здоровья населения, использование восстановленных территорий для развития различных видов деятельности.
Преимущества ресурсо- и энергосберегающие: ресурсосбережение за счет рационального использования техники. Восстановление ресурсного потенциала территории.
Применение в особых природных условиях: не выявлено.
Ограничения для внедрения и использования технологии: не выявлены.
Количество внедрений - 270, из них:
- объекты размещения и обезвреживания отходов коммунальных, подобных коммунальным на производстве и при предоставлении услуг населению (свалки твердых коммунальных отходов, в том числе несанкционированные; полигоны твердых коммунальных отходов) - 241;
- объекты, являющиеся результатом деятельности по добыче, обогащению и переработке полезных ископаемых (хвостохранилища) - 5;
- объекты, являющиеся результатом деятельности предприятий нефтедобычи, нефтепереработки, нефтехимического производства (нефтешламовые амбары, нефтезагрязненные территории) - 19;
- объекты, являющиеся результатом деятельности предприятий целлюлозно-бумажной промышленности - 1;
- объекты, являющиеся результатом деятельности предприятий химической промышленности - 4.
Период внедрения: до 6 месяцев.
Контрольные показатели технологии: установленные проектом работ по ликвидации накопленного вреда нормативы качества окружающей среды, санитарно-гигиенические, строительные нормы и правила состояния земель по окончании работ достигнуты. Накопленный вред окружающей среде ликвидирован.
НДТ 3.7 Использование искусственных почвогрунтов
Наилучшей доступной технологией обеспечивается улучшение качества земли путем замены (частичной или полной) верхнего грунтового слоя.
Область применения: технология применима для ликвидации накопленного вреда окружающей среде применительно к объектам накопленного вреда окружающей среде, включенным в государственный реестр объектов накопленного вреда окружающей среде, за исключением случаев, когда объект расположен в акватории водного объекта.
Краткое описание технологии: искусственные почвенные грунты представляют собой готовые к применению сыпучие питательные смеси, обогащенные всеми необходимыми элементами питания растений.
Преимущества экологические: возвращают почвам потенциал для развития растений и более эффективной защиты от эрозии.
Преимущества экономические: возврат земель в хозяйственный оборот, снижение затрат на восстановление экосистем и улучшение здоровья населения, использование восстановленных территорий для развития различных видов деятельности.
Преимущества ресурсо- и энергосберегающие: сохранение плодородного слоя почв.
Применение в особых природных условиях: не выявлено.
Ограничения для внедрения и использования технологии: не выявлены.
Количество внедрений - 9, из них объекты размещения и обезвреживания отходов коммунальных, подобных коммунальным на производстве и при предоставлении услуг населению (свалки твердых коммунальных отходов, в том числе несанкционированные; полигоны твердых коммунальных отходов) - 9.
Период внедрения: до 6 месяцев.
Контрольные показатели технологии: установленные проектом работ по ликвидации накопленного вреда нормативы качества окружающей среды, санитарно-гигиенические, строительные нормы и правила состояния земель по окончании работ достигнуты. Накопленный вред окружающей среде ликвидирован.
НДТ 3.8 Очистка фильтрата и загрязненных вод с территории объекта накопленного вреда окружающей среде на локальных очистных сооружениях
Область применения: технология применима для ликвидации накопленного вреда окружающей среде применительно к объектам накопленного вреда окружающей среде, включенным в государственный реестр объектов накопленного вреда окружающей среде, за исключением случаев, когда отходы перемещаются с территории и/или в результате проведения работ по обезвреживанию/очистке территории показатели качества для почвы и грунтовых вод достигают санитарно-гигиенических значений, когда объект расположен в акватории водного объекта.
В случае если по завершении ликвидации объекта накопленного вреда окружающей среде остаются в эксплуатации инженерные сооружения (например, дегазационные скважины, очистные сооружения, отстойники сточных вод и пр.), их эксплуатация и содержание осуществляются собственником земельного участка (администрацией или иным лицом, установленным администрацией).
В случае если по завершении ликвидации объекта накопленного вреда окружающей среде остаются источники загрязнения атмосферного воздуха и/или физического воздействия, при необходимости осуществляется установление границ санитарно-защитной зоны и дальнейший мониторинг. Мониторинг на границе санитарно-защитной зоны осуществляется администрацией или иным лицом, установленным администрацией, на балансе которого находятся объекты и территории, имеющие источники выбросов в атмосферный воздух и/или источники физического воздействия после завершения работ по ликвидации.
В случае если объектом накопленного вреда окружающей среде является полигон ТКО, после рекультивации которого в соответствии с требованиями
ГОСТ Р 56598-2015 осуществляется мониторинг в течение установленного периода, программа мониторинга разрабатывается и осуществляется администрацией или иным лицом, установленным администрацией.
Краткое описание технологии: технология предусматривает очистку и обеззараживание фильтрата и загрязненных вод на комплексе локальных очистных сооружений с использованием механических и физико-химических методов.
Преимущества экологические: минимизация воздействия фильтрата и загрязненных вод на компоненты природной среды.
Преимущества экономические: зависят от конструкции локальных очистных сооружений.
Преимущества ресурсо- и энергосберегающие: зависят от конструкции локальных очистных сооружений.
Применение в особых природных условиях: не выявлено.
Ограничения для внедрения и использования технологии: не выявлены.
Количество внедрений - 5, из них:
- объекты размещения и обезвреживания отходов коммунальных, подобных коммунальным на производстве и при предоставлении услуг населению (свалки твердых коммунальных отходов, в том числе несанкционированные; полигоны твердых коммунальных отходов) - 2;
- объекты, являющиеся результатом деятельности целлюлозно-бумажной промышленности - 2;
- объекты, являющиеся результатом деятельности по добыче, обогащению и переработке полезных ископаемых (хвостохранилища) - 1.
Период внедрения: до 1 года.
НДТ 3.9 Технология, основанная на использовании дополнительно внесенных биопрепаратов
Область применения: технология применима для ликвидации накопленного вреда окружающей среде применительно к объектам накопленного вреда окружающей среде, включенным в государственный реестр объектов накопленного вреда окружающей среде, за исключением случаев, когда отходы перемещаются с территории и/или в результате проведения работ по обезвреживанию/очистке территории показатели качества для почвы и грунтовых вод достигают санитарно-гигиенических значений, когда объект расположен в акватории водного объекта.
Краткое описание технологии: технология (биоремедиация) направлена на очистку и обезвреживание загрязненной химическими веществами почвы и промышленных отходов путем внесения в них биопрепаратов (раствор активных культур микроорганизмов-биодеструкторов).
Преимущества экологические: исключение воздействия накопленного вреда на загрязненных территориях и промышленных отходов на компоненты природной среды.
Преимущества экономические: зависят от выбора биопрепаратов для ликвидации загрязнений.
Преимущества ресурсо- и энергосберегающие: ресурсосбережение за счет восстановления свойств почвы. Восстановление ресурсного потенциала территории.
Применение в особых природных условиях: не выявлено.
Ограничения для внедрения и использования технологии: зависимость от благоприятных условий (температуры, влажности, pH, питательных веществ), необходимость контроля за процессом, сложность работы с различными типами загрязнений и низкая эффективность в условиях высокого содержания токсичных веществ, что требует дополнительных мер по стимуляции (технология не эффективна для удаления большинства солей и неприменима для очистки объектов складирования минеральных отходов).
Количество внедрений - 4, из них:
- объекты размещения и обезвреживания отходов коммунальных, подобных коммунальным на производстве и при предоставлении услуг населению (свалки твердых коммунальных отходов, в том числе несанкционированные; полигоны твердых коммунальных отходов) - 1;
- объекты, являющиеся результатом деятельности агропромышленного комплекса - 1;
- объекты, являющиеся результатом деятельности предприятий целлюлозно-бумажной промышленности - 1;
- объекты, являющиеся результатом деятельности химического производства - 1.
Период внедрения: до 6 месяцев.
Контрольные показатели технологии: установленные проектом работ по ликвидации накопленного вреда нормативы качества окружающей среды, санитарно-гигиенические, строительные нормы и правила состояния земель по окончании работ достигнуты. Накопленный вред окружающей среде ликвидирован.
5.4 Наилучшие доступные технологии ликвидации объектов
накопленного вреда окружающей среде, расположенных
на территориях, в акваториях и являющихся объектами
капитального строительства "ex situ"
Ликвидация объектов накопленного вреда окружающей среде "ex situ" включает технологические операции по выемке, перемещению и складированию отходов, подготовке площадок временного хранения.
Основные способы ликвидации объектов накопленного вреда окружающей среде, расположенных на территориях, в акваториях и являющихся объектами капитального строительства и объектами размещения отходов "ex situ", применяемые в Российской Федерации, представлены в
разделе 2 справочника НДТ.
НДТ ликвидации объектов накопленного вреда окружающей среде, расположенных на территориях, в акваториях и являющихся объектами капитального строительства и объектами размещения отходов "ex situ", выявлены на основании обработки сведений, представленных в анкетах и проектно-изыскательской документации
(таблица 5.1), с использованием методики определения НДТ, описанной в
разделе 4 справочника НДТ.
При ликвидации объектов накопленного вреда окружающей среде в результате анализа анкет и проектно-изыскательской документации выявлены следующие НДТ ликвидации объектов накопленного вреда окружающей среде, расположенных на территориях, в акваториях и являющихся объектами капитального строительства и объектами размещения отходов "ex situ": выемка, перемещение (переукладка), вывоз отходов; очистка поверхностных сточных вод на фитоочистных сооружениях (биоплато); обезвреживание отходов методом термодеструкции; очистка жидких нефтесодержащих отходов методом биодесорбции, технология компостирования.
При выявлении новых НДТ, связанных с изоляцией и защитой компонентов природной среды от негативного воздействия объектов накопленного вреда окружающей среде,
раздел 5.4 справочника НДТ может быть дополнен.
НДТ 4.1 Выемка, перемещение (переукладка), вывоз отходов, демонтаж строений
Область применения: технология применима для ликвидации накопленного вреда окружающей среде применительно к объектам накопленного вреда окружающей среде, включенным в государственный реестр объектов накопленного вреда окружающей среде.
Краткое описание технологии: способы выемки, перемещения (переукладки) размещенных на объекте накопленного вреда окружающей среде отходов, загрязненной почвы (грунта), демонтажа строений определяются в зависимости от типа объекта, свойств размещенных отходов, свойств загрязненной почвы (грунта), условий прилегающей территории.
Преимущества экологические:
- полное прекращение негативного воздействия объекта накопленного вреда окружающей среде на освобождаемых территориях;
- приближение формы рельефа к естественной;
- исключение источника загрязнения окружающей среды.
Преимущества экономические: определяются способом выемки и перемещения.
Преимущества ресурсо- и энергосберегающие: ресурсосбережение за счет рационального использования техники. Восстановление ресурсного потенциала территории.
Применение в особых природных условиях: не выявлено.
Ограничения для внедрения и использования технологии: определяются типом объекта, свойствами размещенных отходов, свойствами загрязненной почвы (грунта), условиями прилегающей территории.
Количество внедрений - 168, из них:
- объекты размещения и обезвреживания отходов коммунальных, подобных коммунальным на производстве и при предоставлении услуг населению (свалки твердых коммунальных отходов, в том числе несанкционированные; полигоны твердых коммунальных отходов) - 136;
- объекты, являющиеся результатом деятельности по добыче, обогащению и переработке полезных ископаемых (отвалы отходов добычи полезных ископаемых) - 1;
- объекты, являющиеся результатом деятельности предприятий химической промышленности (шламонакопитель, заброшенные объекты капитального строительства, производственные здания, сооружения) - 5;
- объекты, являющиеся результатом деятельности предприятий нефтедобычи, нефтепереработки, нефтехимического производства (нефтешламовые амбары, нефтезагрязненные территории, пруды-накопители кислых гудронов, мазутохранилища) - 24;
- объекты, являющиеся результатом деятельности предприятий целлюлозно-бумажной промышленности - 2.
Период внедрения: до 1 года.
Контрольные показатели технологии: установленные проектом работ по ликвидации накопленного вреда нормативы качества окружающей среды, санитарно-гигиенические, строительные нормы и правила состояния земель по окончании работ достигнуты. Накопленный вред окружающей среде ликвидирован.
НДТ 4.2 Очистка поверхностных сточных вод на фитоочистных сооружениях (биоплато)
Наилучшей доступной технологией обеспечивается очистка поверхностных сточных вод на объектах накопленного вреда окружающей среде.
Область применения: технология применима для ликвидации накопленного вреда окружающей среде применительно к объектам накопленного вреда окружающей среде, включенным в государственный реестр объектов накопленного вреда окружающей среде.
В случае если по завершении ликвидации объекта накопленного вреда окружающей среде остаются в эксплуатации инженерные сооружения (например, дегазационные скважины, очистные сооружения, отстойники сточных вод и пр.), их эксплуатация и содержание осуществляется собственником земельного участка (администрацией или иным лицом, установленным администрацией).
В случае если по завершении ликвидации объекта накопленного вреда окружающей среде остаются источники загрязнения атмосферного воздуха и/или физического воздействия при необходимости осуществляется установление границ санитарно-защитной зоны и дальнейший мониторинг. Мониторинг на границе санитарно-защитной зоны осуществляется администрацией или иным лицом, установленным администрацией, на балансе которого находятся объекты и территории, имеющие источники выбросов в атмосферный воздух и/или источники физического воздействия после завершения работ по ликвидации.
В случае если объектом накопленного вреда окружающей среде является полигон ТКО, после рекультивации которого в соответствии с требованиями
ГОСТ Р 56598-2015, осуществляется мониторинг в течение установленного периода, программа мониторинга разрабатывается и осуществляется администрацией или иным лицом, установленным администрацией.
Краткое описание технологии: биоплато создается в виде прямоугольной площадки в водоотводящей канаве около выпуска поверхностного стока объектов накопленного вреда окружающей среде. На днище водоотводящей канавы насыпается крупнозернистый песок и торфо-минеральный грунт для укоренения высших водных растений (камыш, рогоз, тростник и др.). Посадка растений производится ручным методом.
Преимущества экологические:
- фитоочистные сооружения эффективно удаляют широкий спектр загрязняющих веществ (в том числе ксенобиотики - синтезированные человеком искусственные соединения, чуждые для природных экосистем), используя все типы процессов, формирующих качество воды (физических, химических и биологических);
- основная часть поллютантов в фитоочистных сооружениях удаляется за счет растительно-бактериальных сообществ, благодаря чему отсутствует необходимость применения химических реагентов, происходит обеззараживание естественным путем;
- для фитоочистных сооружений характерна пастбищная трофическая цепь, основой которой является биомасса фотоавтотрофов (т.е. энергия солнца используется напрямую).
Преимущества экономические: низкие эксплуатационные расходы за счет минимального потребления энергии и отсутствия необходимости в дорогостоящих реагентах.
Преимущества ресурсо- и энергосберегающие: минимальное потребление энергии, стабильность работы даже при колебаниях уровня загрязнения.
Ограничения для внедрения и использования технологии, в том числе применение в особых природных условиях: фитоочистные сооружения (биоплато) требуют значительной площади. В период весеннего снеготаяния биоплато, работающее на очистку поверхностных сточных вод, неработоспособно до его оттаивания при устойчивой плюсовой температуре воздуха, так как зимой, если оно не обогревается теплыми сточными водами, замерзает. Также существенно то, что при температуре воды порядка 3 - 5 °C биологические процессы протекают крайне медленно. В этой ситуации биоплато будет работать с меньшей эффективностью, как фильтровально-сорбционное сооружение (
раздел 4.3.3.2 справочника НДТ ИТС 10-2019 "Очистка сточных вод с использованием централизованных систем водоотведения поселений, городских округов").
Количество внедрений - 3, из них объекты размещения и обезвреживания отходов коммунальных, подобных коммунальным на производстве и при предоставлении услуг населению (свалки твердых коммунальных отходов, в том числе несанкционированные; полигоны твердых коммунальных отходов) - 3.
Период внедрения: до 1 года.
Контрольные показатели технологии: установленные проектом работ по ликвидации накопленного вреда нормативы качества окружающей среды, санитарно-гигиенические, строительные нормы и правила состояния земель по окончании работ достигнуты. Накопленный вред окружающей среде ликвидирован.
Наилучшая доступная технология
НДТ 4.2 аналогична
технологии 4.3.3.2 справочника НДТ ИТС 10-2019 "Очистка сточных вод с использованием централизованных систем водоотведения поселений, городских округов" как возможной НДТ для очистки поверхностных сточных вод.
НДТ 4.3 Обезвреживание отходов методом термодеструкции
Наилучшей доступной технологией обеспечивается обезвреживание отходов термическим методом.
Область применения: технология применима для ликвидации накопленного вреда окружающей среде применительно к объектам накопленного вреда окружающей среде, включенным в государственный реестр объектов накопленного вреда окружающей среде, за исключением случаев, когда объект расположен в акватории водного объекта.
Краткое описание технологии: технология заключается в разложении и обезвреживании отходов методом термодеструкции. Принцип процесса основан на термическом воздействии на отходы в бескислородной среде под воздействием высоких температур, с выделением горючего пиролизного газа (пирогаза), жидких и твердых продуктов (сухого обуглероженного остатка).
Преимущества экологические: получение обезвреженного грунта (шлама), исключение негативного воздействия отходов на компоненты природной среды, значительное сокращение объема отходов, утилизация широкого спектра отходов (в том числе опасных).
Преимущества экономические: повышение окупаемости оборудования за счет получения тепловой/электрической энергии.
Преимущества ресурсо- и энергосберегающие: получение тепловой/электрической энергии.
Применение в особых природных условиях: не выявлено.
Ограничения для внедрения и использования технологии: высокая стоимость оборудования и эксплуатации, необходимость контроля выбросов загрязняющих веществ в атмосферный воздух, образование золы и шлака, требующих дальнейшей утилизации. Некоторые виды отходов, например, влажные или негорючие материалы, неэффективны для термодеструкции или требуют специальных условий для сжигания. Также существует необходимость предварительной сортировки для удаления материалов, не подлежащих термической обработке.
Количество внедрений - 26, из них:
- объекты, являющиеся результатом деятельности предприятий нефтедобычи, нефтепереработки, нефтехимического производства (нефтешламовые амбары, нефтезагрязненные территории, пруды-накопители кислых гудронов, мазутохранилище) - 23;
- объекты, являющиеся результатом деятельности химического производства - 2;
- объекты, являющиеся результатом деятельности агропромышленного комплекса - 1.
Период внедрения: до 1 года.
Контрольные показатели технологии: установленные проектом работ по ликвидации накопленного вреда нормативы качества окружающей среды, санитарно-гигиенические, строительные нормы и правила состояния земель по окончании работ достигнуты. Накопленный вред окружающей среде ликвидирован.
НДТ 4.4 Очистка жидких нефтесодержащих отходов методом биодесорбции
Наилучшей доступной технологией обеспечивается обезвреживание жидких нефтесодержащих отходов биологическим методом.
Область применения: технология применима для ликвидации накопленного вреда окружающей среде применительно к объектам накопленного вреда окружающей среде, включенным в государственный реестр объектов накопленного вреда окружающей среде.
Краткое описание технологии: технология заключается во внесении в нефтешлам биопрепарата, предназначенного для биодеградации нефти и нефтепродуктов в комплексе с минеральными добавками.
Преимущества экологические: высокая эффективности биодеградации углеводородов нефти и нефтепродуктов, включая трудноокисляемые ПАУ, а также в присутствии солей тяжелых металлов, исключение негативного воздействия на компоненты природной среды.
Преимущества экономические: сокращение сроков очистки и общих затрат на восстановление территории.
Преимущества ресурсо- и энергосберегающие: в зависимости от состава расхода биопрепарата и кратности обработки.
Применение в особых природных условиях: не выявлено.
Ограничения для внедрения и использования технологии: не выявлены.
Количество внедрений - 18, из них объекты, являющиеся результатом деятельности предприятий нефтедобычи, нефтепереработки, нефтехимического производства (нефтешламовые амбары, нефтезагрязненные территории) - 18.
Период внедрения: до 1 года.
Контрольные показатели технологии: установленные проектом работ по ликвидации накопленного вреда нормативы качества окружающей среды, санитарно-гигиенические, строительные нормы и правила состояния земель по окончании работ достигнуты. Накопленный вред окружающей среде ликвидирован.
НДТ 4.5 Технология компостирования
Область применения: технология применима для накопленного вреда окружающей среде применительно к объектам накопленного вреда окружающей среде, включенным в государственный реестр объектов накопленного вреда окружающей среде, за исключением случаев, когда объект расположен в акватории водного объекта.
Краткое описание технологии: технология компостирования заключается в преобразовании органосодержащих отходов в стабильный, подобный биогумусу, продукт - компост (удобрение) и техногенный грунт (рекультивационный материал).
Технология компостирования реализуется в буртах, укрываемых пологом из мембраны. Пол карты оснащен перфорированными лотками (аэрационные каналы). Технология сочетает в себе преимущества систем открытого и закрытого компостирования. В основе технологии лежит применение специального покрытия, которое представляет собой мембрану, непроницаемую для больших молекул биоаэрозолей и газообразных веществ с неприятным запахом, но не препятствующую прохождению воздуха, углекислого газа и водяных паров. Биоаэрозоли конденсируются с внутренней стороны мембранной системы и остаются в компостируемой массе, где впоследствии разлагаются микроорганизмами. Данная технология выделяет в атмосферный воздух значительно меньше загрязняющих веществ по сравнению с технологией закрытого компостирования. Мембрана также является непреодолимым барьером для микроорганизмов и их спор. Компостируемая масса полностью защищена от природных воздействий, что создает оптимальные условия для получения высококачественного продукта компостирования.
Преимущества экологические: обезвреживание отходов на месте, исключение негативного воздействия на компоненты природной среды.
Преимущества экономические: простота и доступность технологии, не требует применения дорогостоящего оборудования, получение органического удобрения, которое позволяет сократить или полностью отказаться от использования химических удобрений.
Преимущества ресурсо- и энергосберегающие: рациональное использование отходов с получением на их основе удобрений и рекультивационного материала.
Применение в особых природных условиях: особенности зависят от климата (зимой необходимо дополнительное утепление и теплоносители).
Ограничения для внедрения и использования технологии: невозможность утилизации неорганических отходов (стекло, пластик, металл), невозможность получения качественного компоста из смешанных ТКО из-за примесей. Компост из смешанных ТКО может содержать тяжелые металлы или другие опасные компоненты, что ограничивает его использование. Необходимо учитывать санитарные нормы (изоляция от вредителей и запахов, удаленность от источников воды).
Количество внедрений - 3, из них:
- объекты, являющиеся результатом деятельности целлюлозно-бумажной промышленности - 2;
- иные объекты накопленного вреда окружающей среде (объекты пищевой промышленности, отходы размещения спиртовой барды) - 1.
Период внедрения: до 6 месяцев.
Контрольные показатели технологии: установленные проектом работ по ликвидации накопленного вреда нормативы качества окружающей среды, санитарно-гигиенические, строительные нормы и правила состояния земель по окончании работ достигнуты. Накопленный вред окружающей среде ликвидирован.
5.5 Наилучшие доступные технологии мониторинга состояния
окружающей среды после ликвидации объектов накопленного
вреда окружающей среде, расположенных на территориях,
в акваториях и являющихся объектами
капитального строительства
НДТ мониторинга состояния окружающей среды после ликвидации объектов накопленного вреда окружающей среде, расположенных на территориях, в акваториях и являющихся объектами капитального строительства, выявлены на основании обработки сведений, представленных в анкетах и проектно-изыскательской документации
(таблица 5.1), с использованием методики определения НДТ, описанной в
разделе 4 справочника НДТ.
В постликвидационный период мониторинг состояния окружающей среды осуществляется по тем показателям и загрязняющим веществам, по которым в период инвентаризации объекта накопленного вреда окружающей среде были установлены превышения нормативов качества окружающей среды.
В постликвидационный период в результате анализа анкет и проектно-изыскательской документации выявлены следующие НДТ мониторинга состояния окружающей среды после ликвидации объектов накопленного вреда окружающей среде, расположенных на территориях, в акваториях и являющихся объектами капитального строительства: организация системы мониторинга подземных вод (устройство наблюдательных скважин).
При выявлении новых НДТ, связанных с мониторингом состояния окружающей среды после ликвидации объектов накопленного вреда окружающей среде, расположенных на территориях, в акваториях и являющихся объектами капитального строительства,
раздел 5.5 справочника НДТ может быть дополнен.
НДТ 5.1 Организация системы мониторинга подземных вод (устройство наблюдательных скважин)
Область применения: технология применима для ликвидации накопленного вреда окружающей среде применительно к объектам накопленного вреда окружающей среде, включенным в государственный реестр объектов накопленного вреда окружающей среде, за исключением случаев, когда отходы перемещаются с территории и/или в результате проведения работ по обезвреживанию/очистке территории показатели качества для почвы и грунтовых вод достигают санитарно-гигиенических значений, когда объект расположен в акватории водного объекта.
Краткое описание технологии: с целью экологического мониторинга состояния подземных вод организуется сеть наблюдательных скважин. Количество режимных скважин их расположение и конструкция принимается исходя из особенностей содержания решаемых проектных задач, особенностей природной обстановки (геоморфологического, геологического и гидрогеологического строения участка), контролирующей пути миграции, аккумуляции и выноса загрязнений, а также с учетом параметров полигона ТКО.
Преимущества экологические: обеспечение контроля за состоянием подземных вод в зоне возможного неблагоприятного влияния объекта накопленного вреда окружающей среде, своевременное выявление утечек фильтрата, снижение экологических рисков для населения и экосистем.
Преимущества экономические: получение объективной информации о состоянии подземных вод, что позволит оперативно выявить ранние признаки нарушений технологии ликвидации объекта накопленного вреда окружающей среде (например, герметичности) или каких-либо аварийных ситуаций, тем самым позволяя быстро принять меры по их устранению и избежать штрафных санкций за несоблюдение требований законодательства.
Преимущества ресурсо- и энергосберегающие: повышение эффективности управления территорией после ликвидации накопленного вреда окружающей среде.
Применение в особых природных условиях: не выявлено.
Ограничения для внедрения и использования технологии: не выявлены.
Количество внедрений - 59, из них:
- объекты размещения и обезвреживания отходов коммунальных, подобных коммунальным на производстве и при предоставлении услуг населению (свалки твердых коммунальных отходов, в том числе несанкционированные; полигоны твердых коммунальных отходов) - 59.
Период внедрения: до 1 года.
Контрольные показатели технологии: установленные проектом работ по ликвидации накопленного вреда нормативы качества окружающей среды, санитарно-гигиенические, строительные нормы и правила состояния земель по окончании работ достигнуты. Накопленный вред окружающей среде ликвидирован.
Раздел 6 Перспективные технологии ликвидации объектов
накопленного вреда окружающей среде
Перспективные технологии определяются в соответствии с критериями минимизации или предотвращения негативного воздействия на окружающую среду, срока потенциального внедрения, отсутствия дополнительного загрязнения окружающей среды, экономической эффективности.
К перспективным технологиям относятся технологии, которые находятся на стадии научно-исследовательских, опытно-конструкторских работ или опытно-промышленного внедрения, позволяющие повысить эффективность производства и сократить эмиссии в окружающую среду.
К перспективным технологиям в области ликвидации объектов накопленного вреда окружающей среде также относятся технологии, имеющие признаки наилучших доступных технологий, но не отнесенные к ним по одному или нескольким критериям.
6.1 Перспективные технологии при проведении необходимых
обследований объекта накопленного вреда окружающей среде,
в том числе инженерных изысканий
Применение геофизических методов для выявления зон загрязнения на объекте накопленного вреда окружающей среде
Геофизические методы исследований являются перспективными, поскольку позволяют с высокой эффективностью обнаруживать зоны скопления фильтрата и свалочного газа, а также выполнять экспресс-оценку физико-механических свойств свалочных грунтов [
227 -
228].
К перспективным геофизическим методам относятся:
- сейсмотомография - позволяет оценить наличие разуплотненных зон в теле объекта накопленного вреда окружающей среде, к которым могут быть приурочены скопления биогаза;
- электротомография - позволяет выделить зоны скопления фильтрата как в теле объекта накопленного вреда окружающей среде, так и за его пределами в грунтах естественного основания;
- георадиолокация - метод обследования подземной среды, основанный на излучении импульсов электромагнитных волн и регистрации сигналов, отраженных от различных объектов зондируемой среды. Сигнал испускается передающей антенной георадара, отклик принимается приемной антенной георадара
[229].
К достоинствам современных геофизических технологий и методов относятся: высокая детальность и полнота исследований; высокая производительность; высокая скорость проведения наблюдений; низкая трудоемкость; высокая разрешающая способность.
Основной проблемой для внедрения этих технологий является отсутствие нормативных документов, регулирующих их применение при ликвидации объектов накопленного вреда окружающей среде. Следствием этого являются малый практический опыт, отсутствие рекомендаций по технологии проведения как полевых, так и камеральных работ.
Геофизические методы могут применяться для ликвидации накопленного вреда окружающей среде применительно к объектам накопленного вреда окружающей среде, включенным в государственный реестр объектов накопленного вреда окружающей среде.
Контрольные показатели технологии: установленные проектом работ по ликвидации накопленного вреда нормативы качества окружающей среды, санитарно-гигиенические, строительные нормы и правила состояния земель по окончании работ достигнуты. Накопленный вред окружающей среде ликвидирован.
Оценка площади объекта накопленного вреда окружающей среде с использованием данных дистанционного зондирования Земли
Способ позволяет получать массивы цифровых моделей местности аэрокосмическими средствами с высоким пространственным разрешением с разбивкой участка местности на фрагменты с окном |3 x 3| смежных пикселей, вычислением площади рельефа местности численным методом
[230].
Преимущества заявляемого способа перед аналогами состоит в том, что он позволяет оперативно оценивать площадь объекта накопленного вреда окружающей среде с высокой достоверностью, воспроизводимостью, точностью.
Способ может применяться для ликвидации накопленного вреда окружающей среде применительно к объектам накопленного вреда окружающей среде, включенным в государственный реестр объектов накопленного вреда окружающей среде.
Контрольные показатели технологии: установленные проектом работ по ликвидации накопленного вреда нормативы качества окружающей среды, санитарно-гигиенические, строительные нормы и правила состояния земель по окончании работ достигнуты. Накопленный вред окружающей среде ликвидирован.
Технология использования беспилотных летательных аппаратов для оценки площади и зон загрязнения на объекте накопленного вреда окружающей среде
Технология позволяет осуществлять аэрофотосъемку объектов накопленного вреда окружающей среде и осуществлять дистанционный мониторинг на объектах после проведения ликвидационных работ [
231 -
233].
Технология обладает рядом преимуществ перед распространенными методами обнаружения и оценки площади загрязнений: оперативностью; высокой скоростью проведения наблюдений; низкой трудоемкостью; работа не связана с риском для человека.
Применение технологии ограничено следующими факторами: свойствами беспилотного летательного аппарата; отсутствием набора геофизических датчиков и программного обеспечения.
Технология может применяться для ликвидации накопленного вреда окружающей среде применительно к объектам накопленного вреда окружающей среде, включенным в государственный реестр объектов накопленного вреда окружающей среде.
Контрольные показатели технологии: установленные проектом работ по ликвидации накопленного вреда нормативы качества окружающей среды, санитарно-гигиенические, строительные нормы и правила состояния земель по окончании работ достигнуты. Накопленный вред окружающей среде ликвидирован.
Технология информационного моделирования
Технология представляет собой инструмент, позволяющий осуществлять углубленную систематизацию информации, в том числе в цифровом виде для автоматизированного решения задач управления процессами, и повышение эффективности разработки и реализации проектно-изыскательских работ на объекте накопленного вреда окружающей среде [
234 -
235].
К преимуществам технологии относятся: возможность формировать окончательные результаты сразу в цифровой форме (формирование информационной цифровой модели, цифрового портрета объекта); оперативность подготовки материалов; точность; высокое качество.
Технология может применяться для ликвидации накопленного вреда окружающей среде применительно к объектам накопленного вреда окружающей среде, включенным в государственный реестр объектов накопленного вреда окружающей среде.
Контрольные показатели технологии: установленные проектом работ по ликвидации накопленного вреда нормативы качества окружающей среды, санитарно-гигиенические, строительные нормы и правила состояния земель по окончании работ достигнуты. Накопленный вред окружающей среде ликвидирован.
6.2 Перспективные технологии изоляции и защиты компонентов
природной среды от негативного воздействия объекта
Закрепление пылящих поверхностей
Технология заключается в закреплении пылящих поверхностей объектов накопленного вреда окружающей среде с помощью вяжущих и структурообразных неорганических, органических, полимерных веществ [
42 -
44,
48,
236].
Виды объектов накопленного вреда окружающей среде, на которых может применяться технология:
- объекты, являющиеся результатом деятельности по добыче, обогащению и переработке полезных ископаемых;
- объекты, являющиеся результатом деятельности топливно-энергетической отрасли.
Контрольным показателем технологии является снижение выбросов в атмосферный воздух твердых частиц.
Технология закачки щелочного реагента на основе отходов производства в выработанное пространство
Технология основана на нейтрализации кислых шахтных вод щелочными отходами производства [
237 -
239].
Способ нейтрализации кислых шахтных вод включает закачку в канал самоизлива шахтных вод пульпы из шлама отходов содового завода, состоящую из мелкодисперсного карбоната кальция не менее 80 мас. % и приготовленную в смесителе с использованием воды из шахтного самоизлива. Приготовление пульпы в смесителе ведут в течение 12 - 20 минут. Пульпу берут из расчета 1,2 - 1,8 кг на 1 куб. м сточных шахтных вод.
Способ нейтрализации кислых шахтных вод заключается в использовании шлака, образующегося при производстве феррованадия силикоалюминотермическим методом и включающего до 97 мас. % частиц размером менее 2 мм в виде фильтрующей дамбы, сооружаемой из расчета 14 - 16 кг шлака на нейтрализацию 1 куб. м кислой шахтной воды с начальным значением pH = 4. Шлак содержит оксид кальция в количестве 53,0 - 60,0 мас. % и оксид магния в количестве 8,0 - 9,0 мас. %. Нейтрализацию осуществляют проточным методом.
Преимуществами технологии являются снижение влияния шахтных вод на подземные воды, упрощение и удешевление процесса нейтрализации кислых шахтных вод за счет использования отходов производства.
Виды объектов накопленного вреда окружающей среде, на которых может применяться технология: объекты, являющиеся результатом деятельности по добыче, обогащению и переработке полезных ископаемых.
Контрольные показатели технологии: установленные проектом работ по ликвидации накопленного вреда нормативы качества окружающей среды, санитарно-гигиенические, строительные нормы и правила состояния земель по окончании работ достигнуты. Накопленный вред окружающей среде ликвидирован.
6.3 Перспективные технологии "in situ" при ликвидации
объектов накопленного вреда окружающей среде, расположенных
на территориях, в акваториях и являющихся объектами
капитального строительства и объектами размещения
отходов (включая рекультивацию нарушенных земель)
Технология иммобилизации загрязнителей
Технология основана на включении механизмов химической активности химических веществ, входящих в состав токсичных отходов, путем внесения вяжущих веществ (цемент марки М-400, М-600), песка, суглинка (легкий песчанистый или легкий пылеватый) и модифицирующей комплексообразующей добавки, представляющей собой микрочастицы алюмосиликатных минералов, модифицированных ионами щелочноземельных металлов
[240].
При ликвидации опасного объекта накопленного вреда окружающей среде используется технологическое решение, направление на литификацию вторичных отходов (солевой концентрат после многоступенчатой очистки загрязненных химическими веществами надшламовых вод).
Преимущества технологии заключаются в воспроизведении природных процессов минералообразования. Экотоксиканты участвуют в процессах синтеза новообразований, не связываются, встраиваются в новую равновесную структуру, формирующую композиционный материал, в результате чего максимально снижается миграционная способность загрязняющих веществ.
Виды объектов накопленного вреда окружающей среде, на которых может применяться технология: объекты, являющиеся результатом деятельности предприятий нефтепереработки, нефтехимического производства, объекты, являющиеся результатом деятельности химического производства.
Контрольные показатели технологии. Установленные проектом работ по ликвидации накопленного вреда нормативы качества окружающей среды, санитарно-гигиенические, строительные нормы и правила состояния земель по окончании работ достигнуты. Накопленный вред окружающей среде ликвидирован.
Технологии фиторемедиации загрязненного грунта
Технологии, основанные на очистке почв от загрязняющих веществ путем высаживания определенных видов растений, способных к экстракции, разложению или стабилизации вредных веществ в почве
[241].
К преимуществам технологии относятся: низкие затраты по сравнению с традиционными методами санации; повышение физического, химического и экологического качества почвы.
Недостатки технологии - использование технологии не влечет за собой моментальное действие; не предполагает краткосрочного существенного уменьшения содержания загрязнений и их распространения.
Виды объектов накопленного вреда окружающей среде, на которых может применяться технология:
- объекты размещения и обезвреживания отходов коммунальных, подобных коммунальным на производстве и при предоставлении услуг населению;
- объекты, являющиеся результатом деятельности химического производства;
- объекты, являющиеся результатом деятельности предприятий нефтепереработки, нефтехимического производства;
- объекты, являющиеся результатом деятельности целлюлозно-бумажной промышленности;
- объекты, являющиеся результатом деятельности агропромышленного комплекса.
Контрольные показатели технологии: установленные проектом работ по ликвидации накопленного вреда нормативы качества окружающей среды, санитарно-гигиенические, строительные нормы и правила состояния земель по окончании работ достигнуты. Накопленный вред окружающей среде ликвидирован.
Технология естественного вымораживания отходов
Технология, основанная на естественном вымораживании осадков шлам-лигнина, приводящем к уплотнению осадков, разрушению коллоидной структуры, уменьшению объема, влажности, снижению содержания загрязняющих веществ [
242 -
244].
Преимущества технологии по сравнению с другими методами концентрирования: экономичность в связи с возможностью использования естественного холода (природных криогенных процессов).
Виды объектов накопленного вреда окружающей среде, на которых может применяться технология: объекты, являющиеся результатом деятельности целлюлозно-бумажной промышленности.
Контрольные показатели технологии: установленные проектом работ по ликвидации накопленного вреда нормативы качества окружающей среды, санитарно-гигиенические, строительные нормы и правила состояния земель по окончании работ достигнуты. Накопленный вред окружающей среде ликвидирован.
Технология очистки донных отложений от нефти и нефтепродуктов
Технология, основанная на физических принципах, включает отделение нефти и нефтепродуктов от донных отложений путем размыва водовоздушной струей, подъем нефтесодержащей смеси эрлифтным потоком на поверхность водоема и сбор нефти и нефтепродуктов с последующей их утилизацией. Нефтесодержащую смесь сепарируют на газ, сопутствующую воду, легкую всплывающую и тяжелую тонущую гидрофобные нефтяные фракции, газ сбрасывают в атмосферный воздух, гидрофобные нефтяные фракции отделяют от воды и накапливают в нефтесборной емкости, а сопутствующую воду с остатками нефтепродуктов очищают нефтесорбирующими материалами и сбрасывают в очищаемый водоем [
245 -
246].
Преимущества технологии по сравнению с другими методами очистки донных отложений от нефти и нефтепродуктов: очистка водоемов производится без использования препаратов и выемки грунтов; способ допускает множество конструктивных воплощений; увеличение степени очистки воды и уменьшение вторичного загрязнения водоема.
Виды объектов накопленного вреда окружающей среде, на которых может применяться технология: объекты, расположенные в акватории водных объектов, участках акваторий.
Контрольные показатели технологии: установленные проектом работ по ликвидации накопленного вреда нормативы качества окружающей среды, санитарно-гигиенические, строительные нормы и правила состояния земель по окончании работ достигнуты. Накопленный вред окружающей среде ликвидирован.
6.4 Перспективные технологии "ex situ" при ликвидации
объектов накопленного вреда окружающей среде, расположенных
на территориях, в акваториях и являющихся объектами
капитального строительства и объектами размещения отходов
Технология геотубирования
Технология заключается в гравитационном процессе обезвоживания жидких отходов [
247 -
249]. Преимущества по сравнению с другими технологиями обезвоживания: отсутствие сложных элементов; отсутствие обводнения атмосферными осадками и ожижения кека; возможность обезвоживания осадка, временного складирования или постоянного захоронения на месте его образования; низкое энергопотребление; экономичность. К недостаткам относится длительный срок процесса обезвоживания (до 5 лет).
Виды объектов накопленного вреда окружающей среде, на которых может применяться технология:
- объекты, являющиеся результатом деятельности химического производства;
- объекты, являющиеся результатом деятельности предприятий нефтепереработки, нефтехимического производства;
- объекты, являющиеся результатом деятельности целлюлозно-бумажной промышленности;
- объекты размещения и обезвреживания отходов при сборе и обработке сточных вод, вод систем оборотного водоснабжения.
Контрольные показатели технологии: установленные проектом работ по ликвидации накопленного вреда нормативы качества окружающей среды, санитарно-гигиенические, строительные нормы и правила состояния земель по окончании работ достигнуты. Накопленный вред окружающей среде ликвидирован.
Заключительные положения и рекомендации
Информационно-технический справочник по наилучшим доступным технологиям "Ликвидация объектов накопленного вреда окружающей среде" (ИТС 53-2025) разработан технической рабочей группой ТРГ 53, в состав которой вошли представители государственных органов власти, промышленных предприятий и ассоциаций, научно-исследовательских институтов и экспертных организаций, образовательных учреждений, научно-производственных и конструкторских компаний, а также некоммерческих и общественных организаций. Состав ТРГ 53 был утвержден приказом Минпромторга России от 15 апреля 2025 года N 1816.
В целях сбора информации о применяемых при ликвидации объектов накопленного вреда окружающей среде технологических процессах, оборудовании, об источниках загрязнения окружающей среды, технологических, технических и организационных мероприятиях, направленных на снижение загрязнения окружающей среды и повышение энергоэффективности и ресурсосбережения, была подготовлена анкета для предприятий, содержащая формы для сбора данных, необходимых для разработки проекта настоящего справочника НДТ. В качестве основы для формирования анкеты был использован
ГОСТ Р 113.00.04-2020 "Наилучшие доступные технологии. Формат описания технологий".
Анкета была направлена в 89 субъектов Российской Федерации в адреса органов государственной власти, местного самоуправления, осуществляющих организацию работ по ликвидации объектов накопленного вреда, а также в 146 организаций, которые осуществляют проектно-изыскательские и ликвидационные работы на объектах накопленного вреда окружающей среде. Сведения, полученные в результате анкетирования предприятий, были систематизированы и использованы при разработке справочника НДТ.
Также при формировании разделов справочника НДТ была использована информация, содержащаяся в проектно-изыскательской документации ликвидированных в рамках федерального проекта "Чистая страна", входящего в национальный проект "Экология" объектов накопленного вреда окружающей среде.
Процесс совершенствования справочника НДТ должен отражать принцип последовательного улучшения - основной принцип современных систем менеджмента. Разработчики информационно-технического справочника по наилучшим доступным технологиям "Ликвидация объектов накопленного вреда окружающей среде" надеются, что коллеги готовы разделить эту позицию и поддержать совершенствование данного документа и продвижение наилучших доступных технологий в сфере ликвидации объектов накопленного вреда окружающей среде.
(обязательное)
N | Наименование НДТ | Краткое описание НДТ | Область применения |
| Установление объема размещенных на объекте накопленного вреда окружающей среде загрязняющих веществ/отходов путем построения цифровой модели местности, картограмм свалочных масс/загрязнений, созданной на основе результатов комплекса инженерно-геологических изысканий, с использованием специализированного программного обеспечения | НДТ содержит подходы, связанные с расчетом объема отходов с использованием данных, полученных при инженерно-геологических, инженерно-геодезических изысканиях, в т.ч. бурении свалочного тела на всю глубину залегания отходов с построением разрезов, профилей, картограмм, цифровой модели местности | Для ликвидации накопленного вреда окружающей среде применительно к объектам накопленного вреда окружающей среде, включенным в государственный реестр объектов накопленного вреда окружающей среде, за исключением случаев, когда объект расположен в акватории водного объекта |
| Установление класса опасности отходов с сочетанием расчетного и экспериментального способов | НДТ содержит подходы, связанные с определением класса опасности отходов расчетным методом с использованием результатов количественного химического анализа проб загрязняющих веществ/отходов и экспериментальным методом, основанным на установлении токсичности среды с помощью биологических индикаторов, сигнализирующих об опасности веществ, вызывающих изменения жизненно важных функций у тест-объектов | Для обследования накопленного вреда окружающей среде применительно к объектам накопленного вреда окружающей среде, включенным в государственный реестр объектов накопленного вреда окружающей среде |
| Установление площади объекта накопленного вреда окружающей среде с применением глобальных навигационных спутниковых систем, построением топографических планов на основе топографической съемки с использованием специализированного программного обеспечения | НДТ содержит подходы, связанные с расчетом площади объекта накопленного вреда окружающей среде с использованием данных, полученных при инженерно-геодезических изысканиях, в том числе при рекогносцировочном и маршрутном обследовании местности с установлением реперных точек с применением глобальных навигационных спутниковых систем ГЛОНАСС и GPS, планово-высотной съемки, построением картограмм топографо-геодезической изученности и земляных масс | Для ликвидации накопленного вреда окружающей среде применительно к объектам накопленного вреда окружающей среде, включенным в государственный реестр объектов накопленного вреда окружающей среде, за исключением случаев, когда объект расположен в акватории водного объекта |
| Установление уровня и объема негативного воздействия объекта накопленного вреда окружающей среде на окружающую среду путем проведения маршрутного обследования, отбора проб и анализа лабораторных исследований | НДТ содержит подходы, связанные с выполнением комплекса работ (комплекса инженерных изысканий, включавших, в том числе, инженерные обследования, инженерно-экологические и инженерно-геологические изыскания), направленных на установление уровня и объема негативного воздействия на компоненты природной среды | Для обследования накопленного вреда окружающей среде применительно к объектам накопленного вреда окружающей среде, включенным в государственный реестр объектов накопленного вреда окружающей среде |
| Использование данных электронных карт и реестров для автоматизации сбора данных об объекте накопленного вреда окружающей среде на подготовительном этапе | НДТ содержит подходы, связанные с использованием разнообразных баз данных, государственных реестров, информационных систем, каталогов, содержащих информацию о территории под объектом, наличие ограничений, информацию об опасных гидрометеорологических явлениях погоды; информацию о водных и климатических ресурсах на территории объекта; данные приземных метеорологических наблюдений; информацию космического мониторинга; данные об аварийном, экстремально высоком и высоком загрязнении окружающей среды на территории объекта; аэрологические данные; гидрологические данные, информацию об особо ценных видах диких животных и водных биологических ресурсов, которые принадлежат к видам, занесенным в Красную книгу Российской Федерации, и (или) охраняются международными договорами Российской Федерации; информацию об объектах животного мира, занесенных в Красную книгу Российской Федерации, и другие сведения | Для обследования накопленного вреда окружающей среде применительно к объектам накопленного вреда окружающей среде, включенным в государственный реестр объектов накопленного вреда окружающей среде |
| Устройство верхнего изоляционного покрытия | НДТ содержит подходы, связанные с устройством верхнего изоляционного покрытия, обеспечивающего изоляцию массива отходов, предотвращение попадания загрязняющих веществ из отходов в окружающую среду, вписывание территории в окружающий ландшафт. В зависимости от конструкции верхнее изоляционное покрытие может включать дренажные системы, плодородный слой. Покрытие может быть из природных и (или) искусственных материалов | Для ликвидации накопленного вреда окружающей среде применительно к объектам накопленного вреда окружающей среде, включенным в государственный реестр объектов накопленного вреда окружающей среде, за исключением случаев, когда отходы перемещаются с территории и/или в результате проведения работ по обезвреживанию/очистке территории показатели качества для почвы и грунтовых вод достигают санитарно-гигиенических значений, когда объект расположен в акватории водного объекта |
| Противофильтрационный экран | НДТ содержит подходы, связанные с устройством противофильтрационного экрана, обеспечивающего изоляцию массива отходов, предотвращение попадания загрязняющих веществ из отходов в геологическую среду и подземные воды. Противофильтрационный экран может быть из природных и (или) искусственных материалов | Для ликвидации накопленного вреда окружающей среде применительно к объектам накопленного вреда окружающей среде, включенным в государственный реестр объектов накопленного вреда окружающей среде, за исключением случаев, когда отходы перемещаются с территории и/или в результате проведения работ по обезвреживанию/очистке территории показатели качества для почвы и грунтовых вод достигают санитарно-гигиенических значений, когда фильтрационные свойства подстилающих пород не требуют создания дополнительной защиты и/или на объекте уже применяется НДТ 2.1, предотвращающая попадание атмосферных осадков, когда объект расположен в акватории водного объекта |
| Устройство системы сбора и отвода поверхностного стока | НДТ содержит подходы, связанные с устройством системы сбора и отвода поверхностного стока (ливневых и паводковых вод), позволяющей предотвратить попадание вод в массив отходов, возникновение эрозионных и деформационных процессов. Выполняются в виде канав с гидроизоляцией, лотков | Для ликвидации накопленного вреда окружающей среде применительно к объектам накопленного вреда окружающей среде, включенным в государственный реестр объектов накопленного вреда окружающей среде, за исключением случаев, когда отходы перемещаются с территории и/или в результате проведения работ по обезвреживанию/очистке территории показатели качества для почвы и грунтовых вод достигают санитарно-гигиенических значений, когда объект расположен в акватории водного объекта. В случае если по завершении ликвидации объекта накопленного вреда окружающей среде остаются в эксплуатации инженерные сооружения (например, дегазационные скважины, очистные сооружения, отстойники сточных вод и др.), их эксплуатация и содержание осуществляются собственником земельного участка (администрацией или иным лицом, установленным администрацией) |
| Устройство системы дегазации при ликвидации объектов накопленного вреда окружающей среде | НДТ содержит подходы, связанные с устройством систем дегазации, позволяющих предотвратить взрыво- и пожароопасность, попадание биогаза в атмосферный воздух. Системы дегазации могут быть дополнены установками утилизации биогаза, позволяющими получать электрическую и тепловую энергию | При продолжении образования газов на момент завершения работ по ликвидации накопленного вреда окружающей среде применительно к объектам накопленного вреда окружающей среде, включенным в государственный реестр объектов накопленного вреда окружающей среде, за исключением случаев, когда объект расположен в акватории водного объекта. В случае если по завершении ликвидации объекта накопленного вреда окружающей среде остаются в эксплуатации инженерные сооружения (например, дегазационные скважины, очистные сооружения, отстойники сточных вод и др.), их эксплуатация и содержание осуществляются собственником земельного участка (администрацией или иным лицом, установленным администрацией) |
| Устройство системы сбора и отведения фильтрата при ликвидации объектов накопленного вреда окружающей среде | НДТ содержит подходы, связанные с устройством дренажных ветвей (дрен) в теле свалки/полигона ТКО; устройству магистральных коллекторов в основании свалки/полигона ТКО; устройству резервуара сбора фильтрата | При продолжении образования фильтрата на момент завершения работ по ликвидации накопленного вреда окружающей среде применительно к объектам накопленного вреда окружающей среде, включенным в государственный реестр объектов накопленного вреда окружающей среде, за исключением случаев, когда отходы перемещаются с территории и/или в результате проведения работ по обезвреживанию/очистке территории показатели качества для почвы и грунтовых вод достигают санитарно-гигиенических значений, когда объект расположен в акватории водного объекта. В случае если по завершении ликвидации объекта накопленного вреда окружающей среде остаются в эксплуатации инженерные сооружения (например, дегазационные скважины, очистные сооружения, отстойники сточных вод и др.), их эксплуатация и содержание осуществляются собственником земельного участка (администрацией или иным лицом, установленным администрацией) |
| Устройство системы водопонижения | НДТ содержит подходы, связанные с устройством системы водопонижения, которая состоит из: монтажа трубопроводов, устройства скважин, систем откачки и очистки подземных вод, загрязненных фильтратом. Скважины располагаются внутри контура ограждения и оборудуются погружными центробежными насосами | Для ликвидации накопленного вреда окружающей среде применительно к объектам накопленного вреда окружающей среде, включенным в государственный реестр объектов накопленного вреда окружающей среде, за исключением случаев, когда отходы перемещаются с территории и/или в результате проведения работ по обезвреживанию/очистке территории показатели качества для почвы и грунтовых вод достигают санитарно-гигиенических значений, когда объект расположен в акватории водного объекта. В случае если по завершении ликвидации объекта накопленного вреда окружающей среде остаются в эксплуатации инженерные сооружения (например, дегазационные скважины, очистные сооружения, отстойники сточных вод и др.), их эксплуатация и содержание осуществляются собственником земельного участка (администрацией или иным лицом, установленным администрацией) |
| Строительство гидротехнических сооружений | НДТ содержит подходы, связанные со строительством, восстановлением гидротехнических сооружений (строительство берегоукрепительных дамб, селенаправляющих дамб, восстановление защитных дамб и плотин) и направлена на защиту компонентов природной среды (в основном поверхностных вод) от загрязнения и защиты от паводков | Для ликвидации накопленного вреда окружающей среде применительно к объектам накопленного вреда окружающей среде, включенным в государственный реестр объектов накопленного вреда окружающей среде. В случае если по завершении ликвидации объекта накопленного вреда окружающей среде остаются в эксплуатации инженерные сооружения (например, дегазационные скважины, очистные сооружения, отстойники сточных вод и др.), их эксплуатация и содержание осуществляются собственником земельного участка (администрацией или иным лицом, установленным администрацией) |
| Локализация очага загрязнения путем устройства сорбционной противофильтрационной завесы, барьера | НДТ содержит подходы, связанные с устройством сорбционной противофильтрационной завесы, обеспечивающей предотвращение попадания в компоненты природной среды загрязняющих веществ из отходов, в том числе с фильтрационными водами | Для ликвидации накопленного вреда окружающей среде применительно к объектам накопленного вреда окружающей среде, включенным в государственный реестр объектов накопленного вреда окружающей среде, за исключением случаев, когда отходы перемещаются с территории и/или в результате проведения работ по обезвреживанию/очистке территории показатели качества для почвы и грунтовых вод достигают санитарно-гигиенических значений |
| Оптимизация формы массива отходов | НДТ содержит подходы, связанные с формированием оптимальной формы массива отходов, достижения нормативных углов наклона, вписыванием объекта в окружающий ландшафт. Выполняется с применением строительной техники путем срезки, экскавации, перемещения, выполаживания, террасирования, уплотнения | Для ликвидации накопленного вреда окружающей среде применительно к объектам накопленного вреда окружающей среде, включенным в государственный реестр объектов накопленного вреда окружающей среде, за исключением случаев, когда объект расположен в акватории водного объекта |
| Укрепление внешних откосов | НДТ содержит подходы, связанные с укреплением внешних откосов путем уплотнения, укладки георешеток, строительства армогрунтовых стен | Для ликвидации накопленного вреда окружающей среде применительно к объектам накопленного вреда окружающей среде, включенным в государственный реестр объектов накопленного вреда окружающей среде, за исключением случаев, когда объект расположен в акватории водного объекта |
| Формирование рельефа, земляные работы, планировка территории и поверхности отходов | НДТ содержит подходы, связанные с формированием оптимального рельефа, включающего в себя комплекс земляных и планировочных работ, к которым относятся: срезка отходов; выемка грунта и отходов; обратная засыпка материалами; вывоз грунта на участок; перемещение привозного грунта; разравнивание грунта; уплотнение грунта и отходов; пересыпка существующих отходов на свалке привозным грунтом; погрузка привозного грунта и отходов; разработка котлованов и траншей; выравнивание и профилирование поверхности свалочного тела и прочие работы | Для ликвидации накопленного вреда окружающей среде применительно к объектам накопленного вреда окружающей среде, включенным в государственный реестр объектов накопленного вреда окружающей среде, за исключением случаев, когда объект расположен в акватории водного объекта |
| Санация почв сорбентами | НДТ содержит подходы, основанные на санации почв с применением различных сорбционных материалов. Доза (расход) сорбента определяется в каждом конкретном случае исходя из вида загрязнения и сорбента, рассчитывается исходя из концентрации ионов тяжелых металлов и нефтепродуктов с учетом сорбционной емкости по указанным компонентам | Для ликвидации накопленного вреда окружающей среде применительно к объектам накопленного вреда окружающей среде, включенным в государственный реестр объектов накопленного вреда окружающей среде, за исключением случаев, когда отходы перемещаются с территории и/или в результате проведения работ по обезвреживанию/очистке территории показатели качества для почвы и грунтовых вод достигают санитарно-гигиенических значений, когда объект расположен в акватории водного объекта |
| Химическая мелиорация | НДТ содержит подходы, связанные с внесением в почвы специальных реагентов - мелиорантов, направленных на улучшение физических и химических свойств почвы (в том числе для устранения повышенной щелочности и замены в почвенном поглощающем комплексе натрия на кальций). Доза (расход) мелиорантов выбирается в зависимости от вида объекта накопленного вреда окружающей среде, вида загрязнения окружающей среды, физических свойств почвы (pH, засоленность, механический состав) | Для ликвидации накопленного вреда окружающей среде применительно к объектам накопленного вреда окружающей среде, включенным в государственный реестр объектов накопленного вреда окружающей среде, за исключением случаев, когда отходы перемещаются с территории и/или в результате проведения работ по обезвреживанию/очистке территории показатели качества для почвы и грунтовых вод достигают санитарно-гигиенических значений, когда объект расположен в акватории водного объекта |
| Реализация комплекса агротехнических, фитомелиоративных мероприятий | НДТ содержит подходы, связанные с восстановлением экологических функций почв, биологической продуктивности и видового разнообразия экосистем с использованием комплекса агротехнических, фитомелиоративных мероприятий, направленных на улучшение агрофизических, агрохимических, биохимических свойств почв: вспашка, рыхление, снегозадержание, террасирование, бороздование, гребневание, землевание, внесение удобрений, посев многолетних трав, древесно-кустарниковой растительности и пр. Для восстановления растительного покрова на объектах накопленного вреда применяются как традиционные методы - укладка рулонного газона и ручного посева, так и инновационные методы - метод гидропосева путем распыления по заданной территории специального водного раствора на оборудованной для этих целей машине. Приоритетное применение для работ по предотвращению эрозии почв, озеленению откосов, склонов, благоустройству территорий находит технология гидропосева. Одним из видов рулонных газонов, используемых на объектах накопленного вреда окружающей среде, является биомат - это экологически чистый материал, изготовленный на основе растительных волокон, предназначенный для защиты почвы от эрозии, вызванной воздействием воды и ветра, а также для восстановления растительного покрова | Для ликвидации накопленного вреда окружающей среде применительно к объектам накопленного вреда окружающей среде, включенным в государственный реестр объектов накопленного вреда окружающей среде, за исключением случаев, когда объект расположен в акватории водного объекта |
| Использование искусственных почвогрунтов | НДТ содержит подходы, связанные с использованием искусственных почвенных грунтов, представляющих собой готовые к применению сыпучие питательные смеси, обогащенные всеми необходимыми элементами питания растений | Для ликвидации накопленного вреда окружающей среде применительно к объектам накопленного вреда окружающей среде, включенным в государственный реестр объектов накопленного вреда окружающей среде, за исключением случаев, когда объект расположен в акватории водного объекта |
| Очистка фильтрата и загрязненных вод с территории объекта накопленного вреда окружающей среде на локальных очистных сооружениях | НДТ содержит подходы, связанные с очисткой и обеззараживанием фильтрата и загрязненных вод на комплексе локальных очистных сооружений с использованием механических и физико-химических методов | Для ликвидации накопленного вреда окружающей среде применительно к объектам накопленного вреда окружающей среде, включенным в государственный реестр объектов накопленного вреда окружающей среде, за исключением случаев, когда отходы перемещаются с территории и/или в результате проведения работ по обезвреживанию/очистке территории показатели качества для почвы и грунтовых вод достигают санитарно-гигиенических значений, когда объект расположен в акватории водного объекта. В случае если по завершении ликвидации объекта накопленного вреда окружающей среде остаются в эксплуатации инженерные сооружения (например, дегазационные скважины, очистные сооружения, отстойники сточных вод и пр.), их эксплуатация и содержание осуществляются собственником земельного участка (администрацией или иным лицом, установленным администрацией). В случае, если по завершении ликвидации объекта накопленного вреда окружающей среде остаются источники загрязнения атмосферного воздуха и/или физического воздействия, при необходимости осуществляется установление границ санитарно-защитной зоны и дальнейший мониторинг. Мониторинг на границе санитарно-защитной зоны осуществляется администрацией или иным лицом, установленным администрацией, на балансе которого находятся объекты и территории, имеющие источники выбросов в атмосферный воздух и/или источники физического воздействия после завершения работ по ликвидации. В случае если объектом накопленного вреда окружающей среде является полигон ТКО, после рекультивации которого в соответствии с требованиями ГОСТ Р 56598-2015 осуществляется мониторинг в течение установленного периода, программа мониторинга разрабатывается и осуществляется администрацией или иным лицом, установленным администрацией |
| Технология, основанная на использовании дополнительно внесенных биопрепаратов | НДТ содержит подходы, направленные на очистку и обезвреживание загрязненной химическими веществами почвы и промышленных отходов путем внесения в них биопрепаратов (раствор активных культур микроорганизмов-биодеструкторов) | Для ликвидации накопленного вреда окружающей среде применительно к объектам накопленного вреда окружающей среде, включенным в государственный реестр объектов накопленного вреда окружающей среде, за исключением случаев, когда отходы перемещаются с территории и/или в результате проведения работ по обезвреживанию/очистке территории показатели качества для почвы и грунтовых вод достигают санитарно-гигиенических значений, когда объект расположен в акватории водного объекта |
| Выемка, перемещение (переукладка), вывоз отходов, демонтаж строений | НДТ содержит подходы, связанные с выемкой и перемещением (переукладкой) отходов, демонтажом строений для дальнейшей их утилизации и/или обезвреживания, и/или захоронения. Выполняется путем выемки, срезки, откачки отходов, демонтажа строений специализированной техникой с последующей погрузкой и транспортировкой | Для ликвидации накопленного вреда окружающей среде применительно к объектам накопленного вреда окружающей среде, включенным в государственный реестр объектов накопленного вреда окружающей среде, за исключением случаев, когда объект расположен в акватории водного объекта |
| Очистка поверхностных сточных вод на фитоочистных сооружениях (биоплато) | НДТ содержит подходы, связанные с очисткой поверхностных сточных вод на фитоочистных сооружениях (биоплато). Биоплато создается в виде прямоугольной площадки в водоотводящей канаве около выпуска поверхностного стока объектов накопленного вреда окружающей среде. На днище водоотводящей канавы насыпается крупнозернистый песок и торфо-минеральный грунт для укоренения высших водных растений (камыш, рогоз, тростник и др.). Посадка растений производится ручным методом | Для ликвидации накопленного вреда окружающей среде применительно к объектам накопленного вреда окружающей среде, включенным в государственный реестр объектов накопленного вреда окружающей среде. В случае если по завершении ликвидации объекта накопленного вреда окружающей среде остаются в эксплуатации инженерные сооружения (например, дегазационные скважины, очистные сооружения, отстойники сточных вод и проч.), их эксплуатация и содержание осуществляются собственником земельного участка (администрацией или иным лицом, установленным администрацией). В случае если по завершении ликвидации объекта накопленного вреда окружающей среде остаются источники загрязнения атмосферного воздуха и/или физического воздействия, при необходимости осуществляются установление границ санитарно-защитной зоны и дальнейший мониторинг. Мониторинг на границе санитарно-защитной зоны осуществляется администрацией или иным лицом, установленным администрацией, на балансе которого находятся объекты и территории, имеющие источники выбросов в атмосферный воздух и/или источники физического воздействия после завершения работ по ликвидации. В случае если объектом накопленного вреда окружающей среде является полигон ТКО, после рекультивации которого в соответствии с требованиями ГОСТ Р 56598-2015, осуществляется мониторинг в течение установленного периода, программа мониторинга разрабатывается и осуществляется администрацией или иным лицом, установленным администрацией |
| Обезвреживание отходов методом термодеструкции | НДТ содержит подходы, связанные с разложением и обезвреживанием отходов методом термодеструкции. Принцип процесса основан на термическом воздействии на отходы в бескислородной среде под воздействием высоких температур, с выделением горючего пиролизного газа (пирогаза), жидких и твердых продуктов (сухого обуглероженного остатка) | Для ликвидации накопленного вреда окружающей среде применительно к объектам накопленного вреда окружающей среде, включенным в государственный реестр объектов накопленного вреда окружающей среде, за исключением случаев, когда объект расположен в акватории водного объекта |
| Очистка жидких нефтесодержащих отходов методом биодесорбции | НДТ содержит подходы, связанные с внесением в нефтешлам биопрепарата, предназначенного для биодеградации нефти и нефтепродуктов в комплексе с минеральными добавками | Для ликвидации накопленного вреда окружающей среде применительно к объектам накопленного вреда окружающей среде, включенным в государственный реестр объектов накопленного вреда окружающей среде |
| Технология компостирования | НДТ содержит подходы, связанные с преобразованием органосодержащих отходов в стабильный, подобный биогумусу, продукт - компост (удобрение) и техногенный грунт (рекультивационный материал) | Для накопленного вреда окружающей среде применительно к объектам накопленного вреда окружающей среде, включенным в государственный реестр объектов накопленного вреда окружающей среде, за исключением случаев, когда объект расположен в акватории водного объекта |
| Организация системы мониторинга подземных вод (устройство наблюдательных скважин) | НДТ содержит подходы, связанные с организацией мониторинга в постликвидационный период. С целью экологического мониторинга состояния подземных вод организуется сеть наблюдательных скважин. Количество режимных скважин, их расположение и конструкция принимается исходя из особенностей содержания решаемых проектных задач, особенностей природной обстановки (геоморфологического, геологического и гидрогеологического строения участка), контролирующей пути миграции, аккумуляции и выноса загрязнений, а также с учетом параметров полигона ТКО | Для ликвидации накопленного вреда окружающей среде применительно к объектам накопленного вреда окружающей среде, включенным в государственный реестр объектов накопленного вреда окружающей среде, за исключением случаев, когда отходы перемещаются с территории и/или в результате проведения работ по обезвреживанию/очистке территории показатели качества для почвы и грунтовых вод достигают санитарно-гигиенических значений |
(обязательное)
РЕСУРСНАЯ И ЭНЕРГЕТИЧЕСКАЯ ЭФФЕКТИВНОСТЬ
Б.1 Краткая характеристика сферы деятельности с точки зрения ресурсо- и энергопотребления
Справочник НДТ содержит описание применяемых в настоящее время в Российской Федерации технических, технологических решений и организационных мероприятий, применяемых для ликвидации объектов накопленного вреда окружающей среде.
Приоритетным направлением отрасли является предотвращение негативного воздействия объектов накопленного вреда на компоненты природной среды, а также восстановление ресурсного потенциала нарушенных земель.
Технические, технологические решения и организационные мероприятия, применяемые в области ликвидации объектов накопленного вреда окружающей среде, осуществляются с рациональным ресурсо- и энергопотреблением.
Б.2 Основные энерго- и ресурсоемкие технологические процессы
В справочнике НДТ рассматриваются технологические процессы, применяемые при ликвидации объектов накопленного вреда окружающей среде. Ресурсоемкость технологии ликвидации зависит от вида объекта накопленного вреда окружающей среде.
Технологические процессы, связанные с ликвидацией объектов накопленного вреда окружающей среде, описаны в соответствующих разделах справочника НДТ.
Б.3 Уровни потребления основных видов ресурсов и энергии
Уровни ресурсопотребления сведены к минимуму и лимитируются потребностями для выполнения технологических операций по ликвидации накопленного вреда окружающей среде, предотвращения и минимизации негативного воздействия на окружающую среду.
При ликвидации объектов накопленного вреда окружающей среде применяются технологии, направленные на вторичное использование (утилизацию) размещенных отходов, использование биогаза для получения энергии, использование отходов для создания планировочного (технического) грунта, использование загрязненного грунта в качестве рекультивационного материала, сбор и использование поверхностных вод для орошения и пожаротушения, использование очищенной почвы и грунта.
После проведения работ по ликвидации накопленного экологического вреда восстанавливаются земельные, водные, биологические ресурсы. Территория используется в соответствии с целевым назначением.
Б.4 Наилучшие доступные технологии, направленные на повышение энергоэффективности и ресурсной эффективности
N | Наименование НДТ | Примечание |
| Установление объема размещенных на объекте накопленного вреда окружающей среде загрязняющих веществ/отходов путем построения цифровой модели местности, картограмм свалочных масс/загрязнений, созданной на основе результатов комплекса инженерно-геологических изысканий, с использованием специализированного программного обеспечения | Зависят от оборудования и программных продуктов, используемых на стадии рекогносцировочного обследования и камеральной обработки полученных данных |
| Установление класса опасности отходов с сочетанием расчетного и экспериментального способов | Зависят от оборудования и программных продуктов, используемых при определении морфологического и химического состава отходов, выборе тест-объектов для биотестирования |
| Установление площади объекта накопленного вреда окружающей среде с применением глобальных навигационных спутниковых систем, построением топографических планов на основе топографической съемки с использованием специализированного программного обеспечения | Зависят от оборудования и программных продуктов, используемых на стадии рекогносцировочного обследования и камеральной обработки полученных данных |
| Установление уровня и объема негативного воздействия объекта накопленного вреда окружающей среде на окружающую среду путем проведения маршрутного обследования, отбора проб и анализа лабораторных исследований | Зависят от оборудования и программных продуктов, используемых на стадии маршрутного обследования, отбора и анализа проб компонентов природной среды и камеральной обработки полученных данных |
| Использование данных электронных карт и реестров для автоматизации сбора данных об объекте накопленного вреда окружающей среде на подготовительном этапе | Зависят от вида и доступа запрашиваемых электронных карт и реестров |
| Устройство верхнего изоляционного покрытия | Ресурсосбережение за счет использования в составе верхнего защитного экрана местных грунтов. Экономия трудовых ресурсов и времени реализации технологии в случае использования местных материалов |
| Противофильтрационный экран | Ресурсосбережение за счет использования в качестве противофильтрационной защиты естественного грунтового основания (при условии ее достаточности для обеспечения защиты геологической среды и подземных вод), местных грунтов |
| Устройство системы сбора и отвода поверхностного стока | Ресурсосбережение за счет использования вод поверхностного стока для орошения по завершении биологического этапа рекультивации, для технических нужд (пожаротушение) |
| Устройство системы дегазации при ликвидации объектов накопленного вреда окружающей среде | Энерго- и ресурсосбережение за счет использования биогаза в качестве вторичного энергетического ресурса |
| Устройство системы сбора и отведения фильтрата при ликвидации объектов накопленного вреда окружающей среде | Энерго- и ресурсосбережение зависят от конструкции системы сбора и отведения фильтрата, в том числе выбора оптимального угла уклонов, применения более долговечных материалов, что снижает затраты на ремонт и замену в долгосрочной перспективе |
| Устройство системы водопонижения | Энерго- и ресурсосбережение зависят от конструкции системы сбора и отведения фильтрата |
| Строительство гидротехнических сооружений | Ресурсосбережение за счет рационального использования техники. Восстановление ресурсного потенциала территории/акватории |
| Локализация очага загрязнения путем устройства сорбционной противофильтрационной завесы, барьера | Энерго- и ресурсосбережение зависят от конструкции и материалов, используемых для строительства противофильтрационной завесы |
| Оптимизация формы массива отходов | Предотвращение последствий механических нарушений растительности и почвы за счет рационального использования техники, размещения большего количества отходов в границах землеотвода |
| Укрепление внешних откосов | Ресурсосбережение за счет размещения большего количества отходов в границах землеотвода, защита от разрушения под воздействием атмосферных явлений |
| Формирование рельефа, земляные работы, планировка территории и поверхности отходов | Ресурсосбережение за счет рационального использования техники. Восстановление ресурсного потенциала территории |
| Санация почв сорбентами | Ресурсосбережение за счет использование сорбентов природного происхождения. Восстановление ресурсного потенциала территории |
| Химическая мелиорация | Ресурсосбережение за счет использования мелиорантов природного происхождения. Восстановление ресурсного потенциала территории |
| Реализация комплекса агротехнических, фитомелиоративных мероприятий | Ресурсосбережение за счет рационального использования техники. Восстановление ресурсного потенциала территории |
| Использование искусственных почвогрунтов | Ресурсосбережение на счет сохранения плодородного слоя почв |
| Очистка фильтрата и загрязненных вод с территории объекта накопленного вреда окружающей среде на локальных очистных сооружениях | Энерго- и ресурсосбережение зависят от конструкции локальных очистных сооружений |
| Технология, основанная на использовании дополнительно внесенных биопрепаратов | Ресурсосбережение за счет восстановления свойств почвы. Восстановление ресурсного потенциала территории |
| Выемка, перемещение (переукладка), вывоз отходов, демонтаж строений | Ресурсосбережение за счет рационального использования техники. Восстановление ресурсного потенциала территории/акватории |
| Очистка поверхностных сточных вод на фитоочистных сооружениях (биоплато) | Энерго- и ресурсосбережение за счет минимального потребления энергии, стабильности работы даже при колебаниях уровня загрязнения |
| Обезвреживание отходов методом термодеструкции | Энерго- и ресурсосбережение за счет получения тепловой/электрической энергии |
| Очистка жидких нефтесодержащих отходов методом биодесорбции | Энерго- и ресурсосбережение в зависимости от состава расхода биопрепарата и кратности обработки |
| Технология компостирования | Ресурсосбережение за счет рационального использования отходов с получением на их основе удобрений и рекультивационного материала |
| Организация системы мониторинга подземных вод (устройство наблюдательных скважин) | Ресурсосбережение за счет повышения эффективности управления территорией после ликвидации накопленного вреда окружающей среде |
Б.5 Целевые показатели ресурсной и энергетической эффективности
Качественным целевым показателем ресурсной и энергетической эффективности ликвидации накопленного вреда окружающей среде является достижение нормативов качества окружающей среды, санитарно-гигиенических, строительных норм и правил состояния земель, а также прогнозной оценки состояния компонентов природной среды по окончании работ при рациональном использовании ресурсов и энергии.
Количественным целевым показателем ресурсосбережения при ликвидации накопленного вреда окружающей среде являются площади территории/акватории, накопленный вред на которых ликвидирован.
Б.6 Перспективные технологии, направленные на повышение энергоэффективности и ресурсной эффективности, в том числе - на сокращение потребления природных ресурсов и повышение уровня вовлечения отходов производства и потребления в хозяйственный оборот в качестве дополнительных источников сырья
В справочнике НДТ рассмотрены перспективные технологии в области ликвидации объектов накопленного вреда окружающей среде, характеризующиеся ресурсо- и/или энергоэффективностью:
Характеристика технологии | Примечание |
Технология закачки щелочного реагента на основе отходов производства в выработанное пространство | Ресурсосбережение за счет сокращения потребления природных ресурсов и вовлечения отходов в хозяйственный оборот |
Технологии фиторемедиации загрязненного грунта | Ресурсосбережение за счет восстановления свойств почвы. Восстановление ресурсного потенциала территории |
Технология естественного вымораживания отходов | Ресурсосбережение за счет использования природных криогенных процессов |
(обязательное)
ЗАКЛЮЧЕНИЯ ПО НАИЛУЧШИМ ДОСТУПНЫМ ТЕХНОЛОГИЯМ
Краткое описание области применения НДТ
Настоящий справочник НДТ распространяется на деятельность по ликвидации накопленного вреда окружающей среде применительно к объектам накопленного вреда окружающей среде, включенным в государственный реестр объектов накопленного вреда окружающей среде, в том числе:
- территориям и акваториям, на которых выявлен накопленный вред окружающей среде;
- объектам капитального строительства, являющимся источником накопленного вреда окружающей среде.
В справочнике НДТ рассматриваются технические, технологические и организационные мероприятия при:
- организации и проведении необходимых обследований объекта накопленного вреда окружающей среде, в том числе инженерных изысканий;
- проведении работ по ликвидации накопленного вреда окружающей среде, включая рекультивацию нарушенных земель;
- подготовке изъятых при ликвидации накопленного вреда окружающей среде отходов к транспортировке в место их утилизации и/или обезвреживания, и/или захоронения.
Деятельность по ликвидации объектов накопленного вреда окружающей среде согласно "ОК 029-2014 (КДЕС Ред. 2). Общероссийский классификатор видов экономической деятельности" (утвержден приказом Росстандарта от 31 января 2014 года N 14-ст, редакция от 27.12.2024) относится к
коду 39.0, за исключением реабилитации радиационно загрязненных участков территорий и объектов, мониторинга радиационной обстановки окружающей среды.
Настоящий справочник НДТ не распространяется на:
- технологии утилизации и обезвреживания отходов, изъятых при проведении работ по ликвидации накопленного вреда, осуществляемых вне территории расположения объекта накопленного вреда окружающей среде;
- ликвидацию накопленного вреда, связанного с радиоактивными, биологическими и медицинскими отходами.
Выбор технологических процессов, методов, способов, оборудования и средств для ликвидации накопленного вреда окружающей среде определяется видами негативного воздействия прошлой экономической или иной деятельности, в результате которой данные объекты образовались.
Настоящий справочник НДТ является межотраслевым - в нем определены основные аспекты НДТ по ликвидации объектов накопленного вреда окружающей среде и сопутствующая информация, он связан с отраслевыми справочниками НДТ по видам деятельности, в результате которых образовались объекты накопленного вреда окружающей среде, со справочниками НДТ в области утилизации, обезвреживания и размещения отходов производства и потребления:
-
ИТС 8-2022 Очистка сточных вод при производстве продукции (товаров), выполнении работ и оказании услуг на крупных предприятиях;
-
ИТС 9-2020 Утилизация и обезвреживание отходов термическими способами;
-
ИТС 15-2021 Утилизация и обезвреживание отходов (кроме термических способов);
-
ИТС 16-2023 Горнодобывающая промышленность. Общие процессы и методы;
-
ИТС 17-2024 Размещение отходов производства и потребления;
-
ИТС 23-2017 Добыча и обогащение руд цветных металлов;
-
ИТС 26-2022 Производство чугуна, стали и ферросплавов;
-
ИТС 27-2023 Производство изделий дальнейшего передела черных металлов;
-
ИТС 38-2024 Сжигание топлива на крупных установках в целях производства энергии;
-
ИТС 42-2023 Интенсивное разведение сельскохозяйственной птицы;
-
ИТС 43-2023 Убой продуктивных животных и производство мясной продукции и (или) продукции из мяса птицы;
-
ИТС 47-2023 Системы обработки (обращения) со сточными водами и отходящими газами в химической промышленности;
-
ИТС 52-2022 Обращение с отходами I и II классов опасности.
Виды деятельности, непосредственно не связанные с ликвидацией накопленного вреда окружающей среде, описываются в той мере, в которой они способствуют снижению негативного воздействия объектов накопленного вреда на окружающую среду.
В.1 Перечень наилучших доступных технологий
НДТ 1.1 Установление объема размещенных на объекте накопленного вреда окружающей среде загрязняющих веществ/отходов путем построения цифровой модели местности, картограмм свалочных масс/загрязнений, созданных на основе результатов комплекса инженерно-геологических изысканий, с использованием специализированного программного обеспечения.
НДТ 1.2 Установление класса опасности отходов с сочетанием расчетного и экспериментального способов.
НДТ 1.3 Установление площади объекта накопленного вреда окружающей среде с применением глобальных навигационных спутниковых систем, построением топографических планов на основе топографической съемки с использованием специализированного программного обеспечения.
НДТ 1.4 Установление уровня и объема негативного воздействия объекта накопленного вреда окружающей среде на окружающую среду путем проведения маршрутного обследования, отбора проб и анализа лабораторных исследований.
НДТ 1.5 Использование данных электронных карт и реестров для автоматизации сбора данных об объекте накопленного вреда окружающей среде на подготовительном этапе.
НДТ 2.1 Устройство верхнего изоляционного покрытия.
НДТ 2.2 Противофильтрационный экран.
НДТ 2.3 Устройство системы сбора и отвода поверхностного стока.
НДТ 2.4 Устройство системы дегазации при ликвидации объектов накопленного вреда окружающей среде.
НДТ 2.5 Устройство системы сбора и отведения фильтрата при ликвидации объектов накопленного вреда окружающей среде.
НДТ 2.6 Устройство системы водопонижения.
НДТ 2.7 Строительство гидротехнических сооружений.
НДТ 2.8 Локализация очага загрязнения путем устройства сорбционной противофильтрационной завесы, барьера.
НДТ 3.1 Оптимизация формы массива отходов.
НДТ 3.2 Укрепление внешних откосов.
НДТ 3.3 Формирование рельефа, земляные работы, планировка территории и поверхности отходов.
НДТ 3.6 Реализация комплекса агротехнических, фитомелиоративных мероприятий.
НДТ 3.7 Использование искусственных почвогрунтов.
НДТ 3.8 Очистка фильтрата и загрязненных вод с территории объекта накопленного вреда окружающей среде на локальных очистных сооружениях.
НДТ 3.9 Технология, основанная на использовании дополнительно внесенных биопрепаратов.
НДТ 4.1 Выемка, перемещение (переукладка), вывоз отходов, демонтаж строений.
НДТ 4.2 Очистка поверхностных сточных вод на фитоочистных сооружениях (биоплато).
НДТ 4.3 Обезвреживание отходов методом термодеструкции.
НДТ 4.4 Очистка жидких нефтесодержащих отходов методом биодесорбции.
НДТ 4.5 Технология компостирования.
НДТ 5.1 Организация системы мониторинга подземных вод (устройство наблюдательных скважин).
(справочное)
РЕКОМЕНДАЦИИ
ДЛЯ СОВМЕСТНОГО ПРИМЕНЕНИЯ СПРАВОЧНИКОВ НДТ ИТС 1-2023,
ОБЪЕКТОВ НАКОПЛЕННОГО ВРЕДА ОКРУЖАЮЩЕЙ СРЕДЕ"
Общие рекомендации
1. Анализ соответствия НДТ: перед началом разработки проекта по ликвидации объекта накопленного вреда необходимо провести сравнительный анализ применимых НДТ из различных справочников НДТ. Это позволит выбрать наиболее подходящие технологии для конкретного случая.
2. Использование дополнительных источников: помимо анализа НДТ, рекомендуется обращаться к другим источникам информации, таким как нормативные документы, стандарты и руководства, для получения полной картины возможных подходов к решению проблемы.
3. Оценка рисков и последствий: при выборе технологий следует учитывать возможные риски (технические, экологические) и последствия их применения, включая экологический, социальный и экономический аспекты.
Детальные рекомендации
Совместно с положениями справочника НДТ ИТС 53-2025 "Ликвидация объектов накопленного вреда окружающей среде" рекомендуется применять следующие технологии/технологические решения:
1) для ликвидации/рекультивации объектов размещения и обезвреживания отходов коммунальных, подобных коммунальным на производстве и при предоставлении услуг населению (полигонов и свалок ТКО, в том числе несанкционированных):
- при устройстве верхнего изоляционного покрытия применять положения
ИТС 17-2024 "Размещение отходов производства и потребления" в части используемых в настоящее время технологий, наилучших доступных технологий -
НДТ 3.1 "Устройство верхнего изоляционного покрытия", перспективных технологий - "Применение цеолитов в защитных слоях" (
раздел 6.1 ИТС 17-2024), "Применение шлаков с преобладающим содержанием оксида кальция в конструкции послойного изолирующего покрытия ОРО" (
раздел 6.3 ИТС 17-2024);
- при устройстве противофильтрационного экрана применять положения
ИТС 17-2024 "Размещение отходов производства и потребления" в части наилучших доступных технологий:
НДТ 1.1 "Противофильтрационный экран", перспективных технологий - "Применение цеолитов в защитных слоях" (
раздел 6.1 ИТС 17-2024);
- при устройстве дренажных систем применять положения справочника НДТ
ИТС 17-2024 "Размещение отходов производства и потребления" в части используемых в настоящее время технологий и перспективных технологий - "Способ сбора и отвода фильтрационных вод и биогаза на объектах захоронения ТКО" (
раздел 6.2.5 ИТС 17-2024);
- при устройстве систем дегазации применять положения справочника НДТ
ИТС 17-2024 "Размещение отходов производства и потребления" в части используемых в настоящее время технологий, наилучших доступных технологий -
НДТ 2.15 "Устройство системы дегазации на объекте захоронения твердых коммунальных отходов", перспективных технологий - "Технология системы извлечения, сжигания биогаза и очистки отходящих газов на объекте захоронения ТКО" и "Способ термического обезвреживания биогаза объектов захоронения ТКО" (
раздел 6.2.5 ИТС 17-2024);
- при реализации мелиоративных агротехнических мероприятий применять положения справочника НДТ
ИТС 17-2024 "Размещение отходов производства и потребления" в части используемых в настоящее время технологий;
- при земляных работах применять положения справочника НДТ
ИТС 17-2024 "Размещение отходов производства и потребления" в части используемых в настоящее время технологий и наилучших доступных технологий -
НДТ 1.3 "Укрепление внешних откосов ограждающих устройств",
НДТ 2.7 "Уплотнение отходов при их размещении навалом (насыпью)",
НДТ 2.8 "Укрепление внешних откосов отходов при их размещении навалом (насыпью)",
НДТ 2.10 "Послойное покрытие твердых коммунальных отходов навалом (насыпью), обеспечивающее соблюдение нормативных требований и сохраняющее вместимость объекта захоронения отходов";
- при устройстве противофильтрационной завесы применять положения справочника НДТ
ИТС 17-2024 "Размещение отходов производства и потребления" в части используемых в настоящее время технологий, наилучших доступных технологий -
НДТ 1.2 "Вертикальная противофильтрационная завеса", а также перспективных технологий - "Применение цеолитов в защитных слоях" (
раздел 6.1 ИТС 17-2024);
- при организации противопожарных мероприятий применять положения справочника НДТ
ИТС 17-2024 "Размещение отходов производства и потребления" в части наилучших доступных технологий -
НДТ 2.9 "Гидроорошение твердых коммунальных отходов при их захоронении навалом (насыпью)";
- при очистке дренажных и ливневых вод применять положения справочника НДТ
ИТС 17-2024 "Размещение отходов производства и потребления" в части наилучших доступных технологий -
НДТ 2.13 "Очистка дренажных и ливневых вод перед их сбросом в водные объекты";
- при внедрении системы рециркуляции сточных вод применять положения справочника НДТ
ИТС 17-2024 "Размещение отходов производства и потребления" в части наилучших доступных технологий -
НДТ 2.14 "Рециркуляция фильтрационных и дренажных вод при размещении твердых коммунальных отходов", перспективных технологий - "Литификация фильтрата, образующегося на объектах захоронения твердых коммунальных отходов, с последующим его использованием для послойной изоляции" (
раздел 6.2.4 ИТС 17-2024);
- при обеспечении процессов захоронения ТКО в зоне распространения многолетнемерзлых пород применять положения справочника НДТ
ИТС 17-2024 "Размещение отходов производства и потребления" в части перспективных технологий - "Технология захоронения ТКО с использованием термостабилизации многолетнемерзлых грунтов" (
раздел 6.2.3 ИТС 17-2024);
- при использовании методов биологической обработки ТКО применять положения справочника НДТ
ИТС 17-2024 "Размещение отходов производства и потребления" в части перспективных технологий - "Технология биоактивации отходов объектов захоронения твердых коммунальных отходов" (
раздел 6.2.3 ИТС 17-2024);
- при устройстве многофункциональной рабочей площади размещения объекта применять положения справочника НДТ
ИТС 17-2024 "Размещение отходов производства и потребления" в части перспективных технологий - "Оптимизация устройства объекта захоронения ТКО за счет применения многофункциональной рабочей площадки" (
раздел 6.2.3 ИТС 17-2024);
- при организации мероприятий по закреплению пылящих поверхностей применять положения справочника НДТ
ИТС 17-2024 "Размещение отходов производства и потребления" в части перспективных технологий - "Закрепление пылящих поверхностей ОРО" (
раздел 6.2.5 ИТС 17-2024);
- при организации системы мониторинга применять положения справочника НДТ
ИТС 17-2024 "Размещение отходов производства и потребления" в части перспективных технологий - "Контроль состояния изолирующего покрытия ОРО с использованием промышленного рентгеновского сканера", "Контроль состояния ОРО при помощи дистанционного зондирования", "Контроль состояния склонов ОРО на основе системы датчиков", "Мониторинг состояния и загрязнения подземных вод при захоронении жидких и разжиженных отходов в системах подземного захоронения" (
разделы 6.4 и
6.5 ИТС 17-2024);
- при обнаружении на ликвидируемом объекте отходов I и II классов опасности применять положения справочника НДТ
ИТС 52-2022 "Обращение с отходами I и II классов опасности" в части используемых в настоящее время наилучших доступных и перспективных технологий;
2) для ликвидации/рекультивации отвалов отходов добычи полезных ископаемых и хранилищ, предназначенных для хранения отходов добычи и/или обогащения полезных ископаемых, кроме отвалов:
- при организации земляных работ применять положения справочника НДТ
ИТС 16-2023 "Горнодобывающая промышленность. Общие процессы и методы" в части используемых в настоящее время технологий, наилучших доступных технологий -
НДТ 5.9.2 "Восстановление рельефа территории ведения работ", а также перспективных технологий - "Организация выемки и укладки пригодных для биологической рекультивации вскрышных и вмещающих горных пород в тело отвалов по селективной, валовой или комбинированной технологии" (
раздел 7.7 ИТС 16-2023), а также применять положения справочника НДТ
ИТС 23-2017 "Добыча и обогащение руд цветных металлов" в части наилучших доступных технологий -
НДТ 35 "Восстановление рельефа территории";
- при устройстве дренажных систем применять положения справочника НДТ
ИТС 16-2023 "Горнодобывающая промышленность. Общие процессы и методы" в части используемых в настоящее время технологий;
- при устройстве верхнего изоляционного покрытия применять положения справочника НДТ
ИТС 16-2023 "Горнодобывающая промышленность. Общие процессы и методы" в части используемых в настоящее время технологий;
- при реализации мелиоративных агротехнических мероприятий применять положения справочника НДТ
ИТС 16-2023 "Горнодобывающая промышленность. Общие процессы и методы" в части используемых в настоящее время технологий и наилучших доступных технологий -
НДТ 5.9.4 "Создание благоприятного корнеобитаемого слоя на рекультивируемой территории" и
5.9.5 "Проведение агротехнических и фитомелиоративных мероприятий"; а также применять положения справочника НДТ
ИТС 23-2017 "Добыча и обогащение руд цветных металлов" в части наилучших доступных технологий -
НДТ 37 "Создание продуктивного слоя при рекультивации",
НДТ 38 "Проведение агротехнических и фитомелиоративных мероприятий";
- при организации противоэрозийных мероприятий применять положения справочника НДТ
ИТС 16-2023 "Горнодобывающая промышленность. Общие процессы и методы" в части используемых в настоящее время технологий;
- при использовании в процессе технической рекультивации вскрышных и вмещающих пород и/или отходов IV, V класса опасности применять положения справочника НДТ
ИТС 16-2023 "Горнодобывающая промышленность. Общие процессы и методы" в части используемых в настоящее время технологий и перспективных технологий - "Использование вскрышных и вмещающих горных пород, в том числе укрепленных композиционными материалами, при ликвидации горных выработок (карьеров, шахт)", "Использование отходов недропользования (и других техногенных материалов)" (
раздел 7.7 ИТС 16-2023), а также применять положения справочника НДТ
ИТС 23-2017 "Добыча и обогащение руд цветных металлов" в части наилучших доступных технологий -
НДТ 36 "Использование отходов при рекультивации нарушенных земель"; и положения справочника НДТ
ИТС 49-2024 "Добыча драгоценных металлов" в части наилучших доступных технологий -
НДТ 62 "Использование вскрышных и вмещающих пород",
НДТ 63 "Применение специальных систем складирования вскрышных и вмещающих пород" и
НДТ 65 "Формирование техногенных месторождений из складируемых отходов недропользования в том числе вскрышных и вмещающих горных пород";
- при организации мероприятий по закреплению пылящих поверхностей применять положения справочника НДТ
ИТС 17-2024 "Размещение отходов производства и потребления" в части наилучших доступных технологий -
НДТ 2.12 "Предотвращение пыления сухих пляжей при размещении отходов в хранилищах путем поддержания уровня "водного зеркала" выше верхней границы пляжей" и перспективных технологий - "Закрепление пылящих поверхностей ОРО" (
раздел 6.2.5 ИТС 17-2024), а также применять положения справочника НДТ
ИТС 49-2024 "Добыча драгоценных металлов" в части наилучших доступных технологий -
НДТ 21 "Рекультивация пылящих поверхностей";
- при организации системы мониторинга применять положения справочника НДТ
ИТС 17-2024 "Размещение отходов производства и потребления" в части перспективных технологий - "Контроль состояния изолирующего покрытия ОРО с использованием промышленного рентгеновского сканера", "Контроль состояния ОРО при помощи дистанционного зондирования", "Контроль состояния склонов ОРО на основе системы датчиков" (
раздел 6.4 ИТС 17-2024);
- при строительстве гидротехнических сооружений применять положения справочника НДТ
ИТС 49-2024 "Добыча драгоценных металлов" в части наилучших доступных технологий -
НДТ 66 "Применение методов для оптимизации конструктивных параметров площадок россыпной добычи" и
НДТ 70 "Организация прудов-отстойников карьерных и шахтных вод";
- при организации систем очистки карьерных и шахтных вод применять положения справочника НДТ
ИТС 49-2024 "Добыча драгоценных металлов" в части наилучших доступных технологий -
НДТ 71 "Очистка сбрасываемых в водные объекты карьерных и шахтных вод" и перспективных технологий -
ПТ-16 "Ионообменная очистка шахтных и карьерных вод";
- при обработке и обезвреживании отходов добычи применять положения справочника НДТ
ИТС 49-2024 "Добыча драгоценных металлов" в части наилучших доступных технологий -
НДТ 67 "Применение кондиционирования медьсодержащих цианистых растворов",
НДТ 68 "Дорастворение драгоценных металлов в хвостохранилище или в технологической емкости", перспективных технологий -
ПТ-14 "Цианирование золотосодержащих хвостов обогащения полиметаллических руд",
ПТ-15 "Обезвреживание от токсичных соединений озоном";
3) для ликвидации/рекультивации отработанных угольных месторождений:
- при разработке технического этапа рекультивации нарушенных земель применять положения справочника НДТ
ИТС 37-2023 "Добыча и обогащение угля" в части наилучших технологий -
НДТ 36 "Техническая рекультивация нарушенных земель";
- при организации земляных работ применять положения справочника НДТ
ИТС 16-2023 "Горнодобывающая промышленность. Общие процессы и методы" в части используемых в настоящее время технологий, наилучших доступных технологий -
НДТ 5.9.2 "Восстановление рельефа территории ведения работ", а также перспективных технологий - "Организация выемки и укладки пригодных для биологической рекультивации вскрышных и вмещающих горных пород в тело отвалов по селективной, валовой или комбинированной технологии" (
раздел 7.7 ИТС 16-2023), а также применять положения справочника НДТ
ИТС 23-2017 "Добыча и обогащение руд цветных металлов" в части наилучших доступных технологий -
НДТ 35 "Восстановление рельефа территории";
- при устройстве дренажных систем применять положения справочника НДТ
ИТС 16-2023 "Горнодобывающая промышленность. Общие процессы и методы" в части используемых в настоящее время технологий;
- при устройстве верхнего изоляционного покрытия применять положения справочника НДТ
ИТС 16-2023 "Горнодобывающая промышленность. Общие процессы и методы" в части используемых в настоящее время технологий;
- при реализации мелиоративных агротехнических мероприятий применять положения справочника НДТ
ИТС 16-2023 "Горнодобывающая промышленность. Общие процессы и методы" в части используемых в настоящее время технологий и наилучших доступных технологий -
НДТ 5.9.4 "Создание благоприятного корнеобитаемого слоя на рекультивируемой территории" и
5.9.5 "Проведение агротехнических и фитомелиоративных мероприятий"; а также применять положения справочника НДТ
ИТС 23-2017 "Добыча и обогащение руд цветных металлов" в части наилучших доступных технологий -
НДТ 37 "Создание продуктивного слоя при рекультивации",
НДТ 38 "Проведение агротехнических и фитомелиоративных мероприятий" и положения справочника НДТ
ИТС 37-2023 "Добыча и обогащение угля" в части используемых в настоящее время технологий, наилучших доступных технологий -
НДТ 37 "Биологическая рекультивация нарушенных земель", а также перспективных технологий -
N 3 "Гидропосев и гидромульчирование";
- при организации противоэрозийных мероприятий применять положения справочников НДТ
ИТС 16-2023 "Горнодобывающая промышленность. Общие процессы и методы" и
ИТС 37-2023 "Добыча и обогащение угля" в части используемых в настоящее время технологий;
- при использовании в процессе технической рекультивации вскрышных и вмещающих пород и/или отходов IV, V класса опасности применять положения справочника НДТ
ИТС 16-2023 "Горнодобывающая промышленность. Общие процессы и методы" в части используемых в настоящее время технологий и перспективных технологий - "Использование вскрышных и вмещающих горных пород, в том числе укрепленных композиционными материалами, при ликвидации горных выработок (карьеров, шахт)", "Использование отходов недропользования (и других техногенных материалов)" (
раздел 7.7 ИТС 16-2023), а также применять положения справочника НДТ
ИТС 23-2017 "Добыча и обогащение руд цветных металлов" в части наилучших доступных технологий -
НДТ 36 "Использование отходов при рекультивации нарушенных земель" и положения справочника НДТ
ИТС 37-2023 "Добыча и обогащение угля" в части используемых в настоящее время технологий и перспективных технологий -
N 14 "Использование технологического грунта, состоящего из осадка со станции очистных сооружений производственных стоков, при рекультивации земель";
- при организации системы мониторинга применять положения справочника НДТ
ИТС 37-2023 "Добыча и обогащение угля" в части перспективных технологий -
N 1 "Мониторинг состояния окружающей среды с использованием цифровых технологий и беспилотных летательных аппаратов";
- при организации противопожарных мероприятий применять положения справочника НДТ
ИТС 16-2023 "Горнодобывающая промышленность. Общие процессы и методы" в части наилучших доступных технологий -
НДТ 5.9.3 "Предупреждение самовозгорания породных отвалов угледобычи";
- при внедрении способов утилизации отходов с получением новых продуктов и/или извлечением ценных компонентов применять положения справочника НДТ
ИТС 37-2023 "Добыча и обогащение угля" в части перспективных технологий -
N 11 "Использование отходов недропользования для производства гуминовых удобрений и препаратов",
N 12 "Извлечение ценных компонентов из угля и отходов обогащения";
- при организации рекультивации с использованием микроорганизмов применять положения справочника НДТ
ИТС 37-2023 "Добыча и обогащение угля" в части перспективных технологий -
N 13 "Микробиологическая рекультивация нарушенных земель";
4) для ликвидации/рекультивации объектов, являющихся результатом деятельности химического производства (объекты размещения промышленных отходов):
- при внедрении способов утилизации отходов с получением новых продуктов и/или извлечением ценных компонентов применять положения справочника НДТ
ИТС 14-2020 "Производство драгоценных металлов" в части наилучших доступных технологий -
НДТ 28 "Обращение с отходами, полупродуктами и оборотными материалами"; а также применять положения справочника НДТ
ИТС 26-2022 "Производство чугуна, стали и ферросплавов" -
НДТ 5.7.4 "Снижение образования отходов при производстве ферросплавов";
- при устройстве изоляции тела объекта от компонентов природной среды применять положения справочника НДТ
ИТС 14-2020 "Производство драгоценных металлов" в части наилучших доступных технологий -
НДТ 27 "Предотвращение загрязнения почвы и грунтовых вод"; применять положения справочника НДТ
ИТС 27-2023 "Производство изделий дальнейшего передела черных металлов" -
НДТ 10.15 "Предотвращение загрязнения почв и грунтовых вод"; а также применять положения справочника НДТ
ИТС 17-2024 "Размещение отходов производства и потребления" в части перспективных технологий - "Применение цеолитов в защитных слоях" (
раздел 6.1 ИТС 17-2024);
- при организации гидротермического окисления жидких отходов, содержащих органические соединения и соли металлов применять положения справочника НДТ
ИТС 17-2024 "Размещение отходов производства и потребления" в части перспективных технологий - "Гидротермическое окисление жидких отходов добывающих и обрабатывающих производств, содержащих органические соединения и соли металлов" (
раздел 6.2.2 ИТС 17-2024);
- при организации мероприятий по закреплению пылящих поверхностей применять положения справочника НДТ
ИТС 17-2024 "Размещение отходов производства и потребления" в части перспективных технологий - "Закрепление пылящих поверхностей ОРО" (
раздел 6.2.5 ИТС 17-2024); применять положения справочника НДТ
ИТС 25-2023 "Добыча и обогащение железных руд" -
НДТ 10 "Снижение эмиссий при процессах отвалообразования";
- при организации системы мониторинга применять положения справочника НДТ
ИТС 17-2024 "Размещение отходов производства и потребления" в части перспективных технологий - "Контроль состояния изолирующего покрытия ОРО с использованием промышленного рентгеновского сканера", "Контроль состояния ОРО при помощи дистанционного зондирования", "Контроль состояния склонов ОРО на основе системы датчиков", "Мониторинг состояния и загрязнения подземных вод при захоронении жидких и разжиженных отходов в системах подземного захоронения" (
разделы 6.4 и
6.5 ИТС 17-2024);
5) для ликвидации/рекультивации объектов, являющихся результатом деятельности агропромышленного комплекса (пометохранилища, навозохранилища):
- при внедрении методов разделения отходов на фракции применять положения справочника НДТ
ИТС 41-2023 "Интенсивное разведение свиней" в части используемых в настоящее время технологий;
- при внедрении методов биотехнологической обработки и утилизации отходов в аэробных и анаэробных условиях применять положения справочника НДТ
ИТС 41-2023 "Интенсивное разведение свиней" в части используемых в настоящее время технологий и перспективных технологий - "Технологии биологической обработки навоза и удаления аммиака" (
раздел 6.6 ИТС 41-2023), "Процесс и технологии для полной глубокой переработки сельскохозяйственных отходов в биологические удобрения и энергию" (
раздел 6.12 ИТС 41-2023), "Экологически безопасная и безотходная переработка (утилизация) побочных продуктов (отходов) животноводства (
раздел 6.12 ИТС 41-2023), а также применять положения справочника НДТ
ИТС 42-2023 "Интенсивное разведение сельскохозяйственной птицы" в части используемых в настоящее время технологий и перспективных технологий - "Переработка помета с помощью личинок насекомых" (
раздел 6.13 ИТС 42-2023), "Анаэробная переработка помета" (
раздел 6.15 ИТС 42-2023);
- при внедрении способов утилизации отходов с извлечением ценных компонентов применять положения справочника НДТ
ИТС 41-2023 "Интенсивное разведение свиней" в части перспективных технологий - "Отделение фосфора на основе гипсового осадка" (
раздел 6.7 ИТС 41-2023);
- при внедрении термической утилизации отходов применять положения справочника НДТ
ИТС 42-2023 "Интенсивное разведение сельскохозяйственной птицы" в части перспективных технологий - "Сжигание помета" (
раздел 6.14 ИТС 42-2023);
- при внедрении систем очистки сточных вод применять положения справочника НДТ
ИТС 43-2023 "Убой продуктивных животных и производство мясной продукции и (или) продукции из мяса птицы" в части используемых в настоящее время технологий и наилучших доступных технологий -
НДТ 13 "Технологические и технические решения, применяемые в качестве НДТ для очистки сточных вод";
6) для ликвидации/рекультивации объектов размещения и обезвреживания отходов при сборе и обработке сточных вод, вод систем оборотного водоснабжения:
- при внедрении мероприятий по обезвоживанию отходов применять положения справочника НДТ
ИТС 8-2022 "Очистка сточных вод при производстве продукции (товаров), выполнении работ и оказании услуг на крупных предприятиях" в части наилучших доступных технологий -
НДТ В-10 "Сокращение массы осадка, образующегося на очистных сооружениях";
- при внедрении мероприятий по стабилизации органического осадка применять положения справочника НДТ
ИТС 8-2022 "Очистка сточных вод при производстве продукции (товаров), выполнении работ и оказании услуг на крупных предприятиях" в части наилучших доступных технологий -
НДТ В-11 "Стабилизация органического вещества осадка"; а также положения справочника НДТ
ИТС 47-2023 "Системы обработки (обращения) со сточными водами и отходящими газами в химической промышленности" в части наилучших доступных технологий -
НДТ 20 "Стабилизация органического вещества осадка";
- при использовании многотопливных котлов для попутной термической утилизации отходов осадков очистных сооружений применять положения справочника НДТ
ИТС 1-2023 "Целлюлозно-бумажное производство" в части используемых в настоящее время технологий;
- при использовании технологического грунта из осадков сточных вод применять положения справочника НДТ
ИТС 37-2023 "Добыча и обогащение угля" в части перспективных технологий -
N 14 "Использование технологического грунта, состоящего из осадка со станции очистных сооружений производственных стоков, при рекультивации земель";
7) для ликвидации/рекультивации объектов, являющихся результатом деятельности топливно-энергетической отрасли (золоотвалы):
- при внедрении методов обработки и обезвреживания зольных остатков применять положения справочника НДТ
ИТС 9-2020 "Утилизация и обезвреживание отходов термическими способами" в части наилучших доступных технологий -
НДТ 5.1.8 "Цементирование остатков", "Остекловывание и плавление", "Экстрагирование кислотой", "Обработка остатков";
- при организации мероприятий по закреплению пылящих поверхностей применять положения справочника НДТ
ИТС 17-2024 "Размещение отходов производства и потребления" в части наилучших доступных технологий -
НДТ 2.12 "Предотвращение пыления сухих пляжей при размещении отходов в хранилищах путем поддержания уровня "водного зеркала" выше верхней границы пляжей", а также перспективных технологий - "Закрепление пылящих поверхностей ОРО" (
раздел 6.2.5 ИТС 17-2024);
- при устройстве изоляции тела объекта от компонентов природной среды применять положения справочника НДТ
ИТС 17-2024 "Размещение отходов производства и потребления" в части перспективных технологий - "Применение цеолитов в защитных слоях" (
раздел 6.1 ИТС 17-2024);
- при организации гидротермического окисления жидких отходов, содержащих органические соединения и соли металлов, применять положения справочника НДТ
ИТС 17-2024 "Размещение отходов производства и потребления" в части перспективных технологий - "Гидротермическое окисление жидких отходов добывающих и обрабатывающих производств, содержащих органические соединения и соли металлов" (
раздел 6.2.2 ИТС 17-2024);
- при организации системы мониторинга применять положения справочника НДТ
ИТС 17-2024 "Размещение отходов производства и потребления" в части перспективных технологий - "Контроль состояния изолирующего покрытия ОРО с использованием промышленного рентгеновского сканера", "Контроль состояния ОРО при помощи дистанционного зондирования", "Контроль состояния склонов ОРО на основе системы датчиков" (
раздел 6.4 ИТС 17-2024);
- при использовании материалов на основе сухой золы, шлаков, золошлаковой смеси применять положения справочника НДТ
ИТС 38-2024 "Сжигание топлива на крупных установках в целях производства энергии" в части наилучших доступных технологий -
НДТ 2.27 "Применение материалов на основе сухой золы, шлаков, золошлаковой смеси по направлениям";
8) для ликвидации/рекультивации объектов, являющихся результатом деятельности целлюлозно-бумажной промышленности (лигнинохранилища, короотвалы):
- при внедрении методов получения лигносульфонатов и их переработки, а также при термической и биотехнологический утилизации кородревесных остатков применять положения справочника НДТ
ИТС 1-2023 "Целлюлозно-бумажное производство" в части используемых в настоящее время технологий.
Более обширно при ликвидации объектов накопленного вреда окружающей среде рекомендуется использовать положения справочников НДТ
ИТС 8-2022 "Очистка сточных вод при производстве продукции (товаров), выполнении работ и оказании услуг на крупных предприятиях",
ИТС 47-2023 "Системы обработки (обращения) со сточными водами и отходящими газами в химической промышленности" и
ИТС 52-2022 "Обращение с отходами I и II классов опасности". Данные справочники НДТ включают информацию о технологиях/технологических решениях, которые могут входить в проект ликвидации объекта накопленного вреда окружающей среде любого вида.
(справочное)
ОБЩИЕ РЕКОМЕНДАЦИИ
ПО СОСТАВЛЕНИЮ ПРОГРАММЫ ПРОИЗВОДСТВЕННОГО ЭКОЛОГИЧЕСКОГО
КОНТРОЛЯ И МОНИТОРИНГА НА ЭТАПАХ ПРОВЕДЕНИЯ РАБОТ
ПО ЛИКВИДАЦИИ ОБЪЕКТОВ НАКОПЛЕННОГО ВРЕДА ОКРУЖАЮЩЕЙ СРЕДЕ
Производственный экологический контроль (ПЭК) в период проведения работ по ликвидации объектов накопленного вреда осуществляется в установленном порядке на основании программы, разработанной в соответствии с требованиями
приказа Минприроды России от 18 февраля 2022 года N 109 "Об утверждении требований к содержанию программы производственного экологического контроля, порядка и сроков представления отчета об организации и о результатах осуществления производственного экологического контроля".
Программы ПЭК разрабатывают для объектов ликвидации накопленного вреда окружающей среде (кроме радиационно опасных объектов). При этом учитывают:
- результаты исследований фонового загрязнения окружающей среды;
- фондовые данные наблюдений за состоянием и загрязнением окружающей среды;
- результаты инженерно-экологических изысканий;
- сведения об источниках негативного воздействия на окружающую среду;
- природные и климатические условия;
- установленные нормативы допустимого воздействия на окружающую среду;
- нормативы качества окружающей среды;
- надежность, доступность и экономическую целесообразность применения соответствующих методов измерений;
- результаты проверки работы очистных сооружений и природоохранного оборудования;
- планируемые и реализованные мероприятия по снижению негативного воздействия на окружающую среду и восстановлению природной среды;
- результаты ПЭК, в том числе производственного экологического мониторинга (ПЭМ), за прошлые периоды.
Производственный экологический мониторинг после завершения работ по ликвидации объекта накопленного вреда окружающей среде проводится в рамках проекта по ликвидации в обязательном порядке, не менее одного раза по всем показателям, предусмотренным программой.
Атмосферный воздух
Выбор перечня показателей
Выбор перечня контролируемых загрязняющих веществ по ПЭК осуществляется по критерию превышения 0,1 ПДК на границе земельного участка объекта накопленного вреда окружающей среде. Мониторинг химического загрязнения атмосферного воздуха осуществляется по тем же веществам, что и ПЭК.
Мониторинг физических факторов осуществляется в части измерений уровней шума один раз на каждом этапе работ в период максимального количества одновременно работающих источников шума.
Выбор точек мониторинга
Точки мониторинга выбираются на границе территории ближайшей жилой зоны и иных территорий по критерию зоны влияния выбросов объекта 0,05 ПДК. Если за границами зоны влияния такие территории отсутствуют, то проведение мониторинга нецелесообразно.
Точки мониторинга физических факторов те же, что для атмосферного воздуха.
Периодичность мониторинга
Периодичность исследований устанавливается ежегодно, но не менее 1 раза на каждом этапе проведения работ (технический этап, биологический этап).
Контроль шума в дневное/ночное время должен быть обоснован графиком рабочего времени при осуществлении работ по ликвидации.
Мониторинг на границе санитарно-защитной зоны проводится в случае, если она была установлена ранее для действующего объекта. В случае необходимости мониторинг атмосферного воздуха выполняется на контурах участка объекта накопленного вреда.
Подземные воды
Мониторинг подземных вод проводится при наличии выявленных превышений концентраций загрязняющих веществ в подземных водах при проведении инженерно-экологических изысканий и/или при наличии потенциальных источников загрязнения подземных вод.
Выбор перечня показателей
Выбор перечня показателей должен опираться на данные о степени загрязненности подземных вод, полученные в результате инженерно-экологических изысканий и на физико-химических свойствах отходов, накопленных на объекте ликвидации. Приоритетные загрязнения для некоторых объектов допускается принимать по данным
Приложения N 6 к СП 2.1.3684-21 "Правила выбора приоритетных показателей воды в подземных водоисточниках в зонах влияния различных объектов хозяйственной деятельности при проведении лабораторных исследований в рамках производственного контроля". Следует дополнить перечень показателями, по которым были выявлены превышения при проведении изысканий и нет данных, что такое превышение можно отнести к фоновым значениям для места производства работ либо источник загрязнения не выявлен.
Выбор точек мониторинга
Организация наблюдательных скважин проводится до начала работ по ликвидации, одна (фоновая) выше по потоку грунтовых вод участка объекта накопленного вреда, и, как правило, 1 - 2 скважины ниже участка по направлению потока грунтовых вод. Общее количество скважин обосновывается данными гидрогеологического моделирования и геометрическими параметрами земельного участка.
Периодичность мониторинга
Периодичность мониторинга должна быть установлена не менее 1 раза на каждом этапе работ, на биологическом этапе не менее 1 раза в год, в период активного снеготаяния по данным ИГМИ. При выявлении повышения уровней грунтовых вод в другие периоды года необходимо обосновать периодичность и целесообразность контроля (например, в зимний период) результатами изысканий.
Мониторинг почв
Нормативы для контроля почв рекомендуется устанавливать в зависимости от категории земель:
- для земель поселений и сельскохозяйственного назначения - на уровне ПДК/ОДК загрязняющих веществ в почве в соответствии с
СанПиН 1.2.3685-21 "Гигиенические нормативы и требования к обеспечению безопасности и (или) безвредности для человека факторов среды обитания";
- для земель промышленности, неразграниченных земель - на уровне фонового загрязнения смежных (незагрязненных, ненарушенных) участков с аналогичной категорией.
Выбор перечня показателей
Выбор перечня показателей должен опираться на данные о степени загрязненности почв и грунтов, полученные в результате инженерно-экологических изысканий и на физико-химических свойствах отходов, находящихся на объекте ликвидации, категории земель и выбранного направления рекультивации. Определение физических свойств и структуры почвы не производится. Определение микробиологических показателей производится при наличии сведений о первоначальном загрязнении и источников загрязнения.
Выбор точек мониторинга
Выбор и обоснование количества пробных площадок осуществляется в зависимости от структуры почвенного покрова на основании
ГОСТ 17.4.3.01-2017 "Охрана природы (ССОП). Почвы. Общие требования к отбору проб".
Периодичность мониторинга
Периодичность отбора проб почвы регламентирована
ГОСТ 17.4.4.02-2017 "Охрана природы (ССОП). Почвы. Методы отбора и подготовки проб для химического, бактериологического, гельминтологического анализа" для химического, микробиологического и гельминтологического анализов - не реже 1 раза в год.
Рекомендуется осуществлять мониторинг почв не менее 1 раза на каждом этапе работ, на биологическом этапе не менее 1 раза в год.
ПЭК растительного и животного мира
Цель: оценка состояния биоразнообразия, выявление изменений в составе флоры и фауны, оценка эффективности восстановительных мероприятий.
Показатели:
- видовой состав растений и животных (в том числе наличие охраняемых видов, занесенных в Красную книгу);
- покрытие и проективное покрытие растительности;
- наличие и активность животных (птиц, млекопитающих, насекомых), в том числе охраняемых видов;
- состояние среды обитания (почва, наличие кормовой базы).
Выбор точек мониторинга
Пробные площадки на участке ликвидации и на контрольных (фоновых) участках вне зоны влияния. Маршрутные учеты фауны.
Периодичность мониторинга
Не реже 1 раза в год (в вегетационный период).
На биологическом этапе - ежегодно в течение всего срока мониторинга.
Производственный экологический контроль и мониторинг поверхностного водного объекта в зоне влияния
Выбор перечня показателей
Опирается на данные инженерно-экологических изысканий о степени загрязнения подземных вод и физико-химических свойствах отходов на объекте.
Показатели качества определяются в зависимости от рыбохозяйственного значения поверхностного водного объекта, на который может осуществляться потенциальное влияние объекта ликвидации накопленного вреда.
Дополнительно учитываются показатели, по которым при изысканиях были выявлены превышения и не было доказано, что это фоновые значения.
Точки мониторинга
Выше и ниже по течению от зоны влияния объекта.
В местах возможного поверхностного стока с территории объекта.
Периодичность мониторинга
Не реже 1 раза в год (в том числе в период активного таяния снега).
Иные виды мониторинга
В зависимости от характеристик объектов ликвидации накопленного вреда в некоторых случаях проводится геотехнический мониторинг.
1. Об охране окружающей среды [Электронный ресурс]: Федеральный
закон от 10.01.2002 N 7-ФЗ (ред. от 08.08.2024) (с изм. и доп., вступ. в силу с 01.03.2025). Не опубликован // "ИС МЕГАНОРМ".
2. Об утверждении
ГОСТ Р 113.00.03-2019 "Наилучшие доступные технологии. Структура информационно-технического справочника" [Электронный ресурс]: приказ Росстандарта от 11.12.2019 N 1102-ст. Не опубликован // СПС "ТехЭксперт".
3. Об утверждении методических рекомендаций по определению технологии в качестве наилучшей доступной технологии [Электронный ресурс]:
приказ Минпромторга России от 23.08.2019 N 3134. Не опубликован // "ИС МЕГАНОРМ".
4. О порядке определения технологии в качестве наилучшей доступной технологии, а также разработки, актуализации и опубликования информационно-технических справочников по наилучшим доступным технологиям (вместе с "Правилами определения технологии в качестве наилучшей доступной технологии, а также разработки, актуализации и опубликования информационно-технических справочников по наилучшим доступным технологиям") [Электронный ресурс]:
Постановление Правительства Российской Федерации от 23.12.2014 N 1458 (ред. от 17.11.2022). Не опубликован // "ИС МЕГАНОРМ".
5. Об утверждении Правил организации ликвидации накопленного вреда окружающей среде [Электронный ресурс]:
Постановление Правительства Российской Федерации от 27.12.2023 N 2323 (ред. от 28.10.2024). Не опубликован // "ИС МЕГАНОРМ".
6. О ведении государственного реестра объектов накопленного вреда окружающей среде (вместе с "Правилами ведения государственного реестра объектов накопленного вреда окружающей среде") [Электронный ресурс]:
Постановление Правительства Российской Федерации от 23.12.2023 N 2268 (ред. от 14.03.2024). Не опубликован // "ИС МЕГАНОРМ".
7. Об инженерных изысканиях для подготовки проектной документации, строительства, реконструкции объектов капитального строительства [Электронный ресурс]:
Постановление Правительства Российской Федерации от 19.01.2006 N 20 (ред. от 15.09.2020). Не опубликован // "ИС МЕГАНОРМ".
8. Об утверждении критериев, на основании которых территории, расположенные на них объекты капитального строительства могут быть отнесены к объектам накопленного вреда окружающей среде [Электронный ресурс]:
Постановление Правительства Российской Федерации от 27.12.2023 N 2335. Не опубликован // "ИС МЕГАНОРМ".
9. Об утверждении Перечня областей применения наилучших доступных технологий [Электронный ресурс]:
распоряжение Правительства Российской Федерации от 24.12.2014 N 2674-р (ред. от 01.11.2021 года). Не опубликован // "ИС МЕГАНОРМ".
10. Об утверждении порядка сбора и обработки данных, необходимых для разработки и актуализации информационно-технических справочников по наилучшим доступным технологиям [Электронный ресурс]:
приказ Министерства промышленности и торговли Российской Федерации от 18.12.2019 N 4841 (ред. 21.03.2023): зарегистрировано в Минюсте России 21.02.2020 N 57577. Официальный интернет-портал правовой информации
http://www.pravo.gov.ru, 25.02.2020 // "ИС МЕГАНОРМ".
11.
ГОСТ Р 113.00.03-2019. Национальный стандарт Российской Федерации. Наилучшие доступные технологии. Структура информационно-технического справочника [Электронный ресурс]: утв. приказом Росстандарта от 12.11.2019 N 1102-ст. Москва: Стандартинформ, 2019 // "ИС МЕГАНОРМ".
12.
ГОСТ Р 54003-2010. Национальный стандарт Российской Федерации. Экологический менеджмент. Оценка прошлого накопленного в местах дислокации организаций экологического ущерба. Общие положения [Электронный ресурс]: утв. приказом Росстандарта от 30.11.2010 N 594-ст. Москва: Стандартинформ, 2011 // "ИС МЕГАНОРМ".
13.
СП 47.13330.2016. Свод правил. Инженерные изыскания для строительства. Основные положения [Электронный ресурс]: утв. приказом Министерства строительства и жилищно-коммунального хозяйства Российской Федерации от 30.12.2016 N 1033/пр. Москва: Стандартинформ, 2017 // СПС "Техэксперт".
14.
СП 320.1325800.2017. Свод правил. Полигоны для твердых коммунальных отходов. Проектирование, эксплуатация и рекультивация [Электронный ресурс]: утв. приказом Министерства строительства и жилищно-коммунального хозяйства Российской Федерации от 17.11.2017 N 1555/пр. Москва: Стандартинформ, 2018 // СПС "Техэксперт".
15. Соловьянов, А.А. Ликвидация накопленного вреда окружающей среде в Российской Федерации / А.А. Соловьянов, С.Я. Чернин. - Москва: Наука РАН, 2017.
16. Ликвидация несанкционированной свалки в черте городского поселения город Давлеканово МР Давлекановский район Республики Башкортостан. Технический отчет по результатам инженерно-геологических изысканий для разработки проектной и рабочей документации: шифр 28319-ИГИ. - Москва, 2019.
17. Рекультивация иловых полей биологических очистных сооружений г. Казани. Технический отчет по результатам инженерно-геологических и гидрогеологических изысканий: шифр 10344-ИГИ1.1. - Казань, 2020.
18. Пат. 2221256C2 Российская Федерация МПК G01S3/00 15/04. Способ поиска и подъема на поверхность моря затонувшего морского объекта / Бахарев Сергей Алексеевич. Патентообладатель: Бахарев Сергей Алексеевич. N 2001124526/09; заявл. 03.09.2001; опубл. 10.01.2004.
19. Об утверждении Критериев отнесения отходов к I - V классам опасности по степени негативного воздействия на окружающую среду [Электронный ресурс]:
приказ Минприроды России от 31.03.2025 N 158: зарегистрирован в Минюсте России 29.04.2025 N 82010. Официальный интернет-портал правовой информации
http://www.pravo.gov.ru, 23.07.2025 // "ИС МЕГАНОРМ".
20. Ликвидация (рекультивация) несанкционированной свалки на территории муниципального образования "Село Енотаевка", расположенной в 800 м юго-западнее села Енотаевка Енотаевского района Астраханской области. Технический отчет по результатам инженерно-геодезических изысканий: шифр 135/2019-ТГИ. - Казань, 2019.
21. Рекультивация городской свалки твердых коммунальных отходов г. Озерска Калининградской области. Технический отчет по результатам инженерно-экологических изысканий: шифр 228-19-ИЭИ1. - Санкт-Петербург, 2019.
22. Разработка проектно-сметной документации на ликвидацию объекта накопленного вреда окружающей среде - Псковской городской свалки в рамках реализации Федерального проекта "Чистая страна". Технический отчет по результатам инженерно-экологических изысканий: шифр 158-ИЭИ. - Санкт-Петербург, 2019.
23. Рекультивация земельного участка со свалкой отходов на 9 км Велижанского тракта г. Тюмени. Отчетная документация по инженерным изысканиям. Инженерно-экологические изыскания: шифр 657/01672000034190042110001/134/О-19-ИЭИ. - Тюмень, 2020.
24. Данилов-Данильян, В.И. Выявление и оценка объектов накопленного вреда окружающей среде на территории Бурнаковской низины г. Нижнего Новгорода. Отчет о НИР / В.И. Данилов-Данильян [и др.]. - Москва: ФГБУН Института водных проблем Российской академии наук, 2019.
25. Ликвидация несанкционированной свалки в г. Сердобске. Инженерно-экологические изыскания: шифр 15.001-ИЭИ. - Саранск, 2019.
26. Консервация хвостохранилища Благодатской обогатительной фабрики. Разработка проектно-сметной документации. Технический отчет по результатам инженерно-экологических изысканий: шифр ИЦМиОДГО-10.4-ИЭИ. - Тула, 2020.
27. Визуальная база данных почв и экосистем [Электронный ресурс]: сайт Photosoil // URL: http://photosoil.tsu.ru/ (дата обращения 24.07.2025).
28. Единый государственный реестр почвенных ресурсов России [Электронный ресурс]: Почвенный институт им. В.В. Докучаева // URL: https://egrpr.esoil.ru/content/1DB.html (дата обращения 24.07.2025).
29. Почвенно-географическая база данных России [Электронный ресурс]: Информационная система // URL: https://soil-db.ru/ (дата обращения 24.07.2025).
30. Государственный водный реестр Российской Федерации [Электронный ресурс] // URL: https://textual.ru/gvr/ (дата обращения 24.07.2025).
31. Федеральный классификационный каталог отходов [Электронный ресурс]:
приказ Росприроднадзора от 22.05.2017 N 242 (ред. от 20.12.2024). Не опубликован // "ИС МЕГАНОРМ".
32. База данных Государственных геологических карт [Электронный ресурс]: Информационные ресурсы Всероссийского научно-исследовательского геологического института им. А.П. Карпинского (ВСЕГЕИ) // URL: https://vsegei.ru/ru/info/webmapget/ (дата обращения 07.07.2025).
33. Реестр первичной и интерпретированной информации [Электронный ресурс]: Единый фонд геологической информации о недрах // URL: https://efgi.ru/ (дата обращения 07.07.2025).
34. Открытые данные [Электронный ресурс]: Росгидромет // URL:
https://www.meteorf.gov.ru/opendata/ (дата обращения 07.07.2025).
35. Министерство природных ресурсов Российской Федерации [Электронный ресурс]: официальный сайт // URL:
https://www.mnr.gov.ru (дата обращения 07.07.2025).
36. Перечень ООПТ [Электронный ресурс]: Особо охраняемые природные территории России: информационно-аналитическая система // URL: http://oopt.aari.ru/oopt/ (дата обращения 07.07.2022).
37. База биоразнообразия [Электронный ресурс]: Особо охраняемые природные территории России: информационно-аналитическая система // URL: http://oopt.aari.ru/bio (дата обращения 07.07.2022).
38. Красные книги [Электронный ресурс]: Особо охраняемые природные территории России: информационно-аналитическая система // URL: http://oopt.aari.ru/rbdata (дата обращения 07.07.2022).
39. Инновационные разработки в области инженерно-геологических и инженерно-геотехнических изысканий [Электронный ресурс]: Технический отчет. - Москва, 2020 // URL:
https://www.nopriz.ru/upload/iblock/db6/pril_2.pdf.
40. Егоров, В.Г. Некоторые аспекты биологического закрепления пылящих поверхностей хвостохранилища Михайловского ГОКа / В.Г. Егоров, Р.В. Глаголев // Современная наука: проблемы, инновации, решения - III: материалы международной научно-практической конференции. - Курск, 2015. - С. 80 - 84.
41. Пат. 2175065C2 Российская Федерация, МПК E21F5/02. Устройство для закрепления пылящих поверхностей хвостохранилищ и отвалов горных пород / Мязин В.П., Бабелло В.А., Оциферов В.Ф., Ходкевич Д.В. Правообладатель: Читинский государственный технический университет N 99108902/03; заявл. 26.04.1999; опубл. 20.10.2001.
42. Пат. 949205 Союз Советских Социалистических Республик, МПК E21F5/06. Способ закрепления поверхности хвостохранилищ / Ахаров Виктор Иванович, Зосин Анатолий Петрович, Матвеев Виктор Алексеевич, Коновалова Наталия Георгиевна N 3212493/22-03; заявл. 04.12.1980; опубл. 07.08.1982.
43. Пат. 1645561A1 Союз Советских Социалистических Республик, МПК T21F5/02, C09K17/00. Способ закрепления пылящей поверхности хвостохранилищ / Благоев В.В., Большунов В.Г., Бойко В.В., Иванов В.А., Благоев Р.В., Ленчук Н.Н., Коломиец В.И., Литвин А.С. N 4690791/03; заявл. 15.05.1989; опубл. 30.04.1991.
44. Пат. 994774 Союз Советских Социалистических Республик, МПК E21F5/06. Способ обеспыливания хвостохранилищ, содержащих кислоторастворимые алюмосиликаты / Коновалова Наталия Георгиевна, Решетова Зинаида Ивановна, Зосин Анатолий Петрович, Крашенинников Олег Николаевич, Гуревич Бася Израилевна N 3339141/22-03; заявл. 21.09.1981; опубл. 07.02.1983.
45. Эффективная защита территории от пыли и грязи при демонтаже зданий: подход профессионалов // Интегратор полного цикла строительной подготовки "OASIS": [сайт]. - URL: https://oasis-trade.ru/info/articles/effektivnaya-zashchita-territorii-ot-pyli-i-gryazi-pri-demontazhe-zdaniy-podkhod-professionalov/ (дата обращения 15.07.2025).
46. Выполнение работ по проектированию ликвидации накопленного вреда окружающей среде на территории городского округа г. Усолье-Сибирское Иркутской области. Этап 2. Раздел 12. Иная документация в случаях, предусмотренных федеральными законами. Подраздел 1. Оценка воздействия на окружающую среду. Часть 1. Текстовая часть 5/2020-2-ЕИ-ОВОС1 Том 12.1.1. ФГУП "ФЭО", 2022. - 335 с.
47. Пат. 2703068C1 Российская Федерация, МПК B09C 1/00 (2006.01), A01B 79/02 (2006.01). Способ рекультивации хвостохранилища / Заалишвили Владислав Борисович, Бекузарова Сарра Абрамовна, Алборов Иван Давыдович, Бурдзиева Ольга Германовна, Качмазов Джони Гаврилович. Патентообладатель: Федеральное государственное бюджетное учреждение науки Федеральный научный центр "Владикавказский научный центр Российской академии наук" N 2018139235; заявл. 06.11.2018; опубл. 15.10.2019.
48. Пат. 1681001A1 Союз Советских Социалистических Республик, МПК E21C 41/32 (2006.01). Способ покрытия хвостохранилищ калийного производства / Шемет Сергей Фёдорович, Воробьёв Александр Васильевич, Корбут Сергей Юрьевич, Иванов Геннадий Павлович, Клементьев Виктор Петрович, Витовец Виктор Арсеньевич, Куницкий Михаил Михайлович N 4354940/03; заявл. 04.01.1988; опубл. 30.09.1991.
49. Альбом типовых технологических решений по рекультивации полигонов ТКО: шифр РЭО-209/2021. - Москва: АО "ФИРМА ГЕОПОЛИС", 2021.
50. Выполнение работ по разработке проектной документации по мероприятию "Ликвидация химически опасных объектов от прошлой деятельности на ВОАО "Химпром". Обезвреживание шламонакопителя "Белое море". Рекультивация загрязненных участков". Сведения об инженерном оборудовании, о сетях инженерно-технического обеспечения, перечень инженерно-технических мероприятий, содержание технологических решений. Технологические решения. Технологические решения рекультивации шламонакопителя: проектная документация. - ООО "ГеоТехПроект", 2018. - 82 с.
51. Обследование объектов накопленного вреда окружающей среде. Объект N 4 - Полигон промышленных отходов бывшего ПО "Корунд" (Капролактам). Инженерные изыскания: сводный технический отчет по инженерным изысканиям. - ООО Институт "Газэнергопроект", 2019. - 186 с.
52. Аналитический доклад о выполнении мероприятий по ликвидации объектов накопленного вреда окружающей среде в части реализации региональных проектов [Текст]: отчет о НИР (заключ.): Государственное задание от 28.06.2023 N 051-00149-23-01 на 2023 год и на плановый период 2024 и 2025 годов / ФГБУ УралНИИ "Экология"; рук. Пичугин Е.А.; исполн. Пичугин Е.А, Зырянова Е.В., Соловьёва А.С. и др. - Пермь, 2023. - 745 с. N госрегистрации 123082500023-8. Инв. N УР-932-23.
53. Корректировка проектно-сметной документации "Консервация хвостохранилища депутатского горно-обогатительного комбината". Оценка воздействия на окружающую среду: предпроектная документация. - Красноярск, ООО "ГеоТехПроект", 2020. - 488 с.
54. Ликвидация ущерба окружающей среде, накопленного в результате прошлой хозяйственной деятельности бывшего целлюлозно-бумажного завода г. Немана Калининградской области (короотвал). Оценка воздействия на окружающую среду: проектная документация. - ООО "Институт Транснефтегазпроект", 2019. - 107 с.
55.
ИТС 17-2024 Размещение отходов производства и потребления [Электронный ресурс]: сайт Бюро НДТ // URL:https://burondt.ru/NDT/NDTDocsDetail.php?UrlId=2281&etkstructure_id=1872 (дата обращения 15.04.2025).
56. Пат. 2697095C1 Российская Федерация, МПК B09B 1/00 (2006.01). Способ реконструкции несанкционированной свалки с преобразованием ее в полигон ТБО / Кошелев Алексей Васильевич, Атаманова Ольга Викторовна, Тихомирова Елена Ивановна, Заматырина Валентина Алексеевна. Патентообладатель: Федеральное государственное бюджетное образовательное учреждение высшего образования "Саратовский государственный технический университет имени Гагарина Ю.А." N 2018122606; заявл. 19.06.2018, опубл. 12.08.2019.
57. Кошелев, А.В. Реконструкция стихийной мусорной свалки в полигон твердых коммунальных отходов / А.В. Кошелев, Е.И. Тихомирова, О.В. Атаманова. // Современные проблемы и перспективы развития строительства, теплогазоснабжения и энергообеспечения: материалы конференции. - Саратов, 2020. - С. 113 - 116.
58. Пат. 2223362C2 Российская Федерация, МПК E02B 11/00, 13/00. Система улавливания стоков из хвостохранилищ на вечномерзлых грунтах / Бабелло В.А., Петров В.С., Беляков А.Е. Патентообладатель: Читинский государственный технический университет N 2001127345/13 заявл. 08.10.2001; опубл. 10.02.2004.
59. Садчиков, А.В. Дегазация полигонов твердых коммунальных отходов / А.В. Садчиков // Фундаментальные исследования. - 2017. - N 2. - С. 82 - 86.
60.
Рекомендации по расчету образования биогаза и выбору систем дегазации полигонов захоронения твердых бытовых отходов. Утверждены Государственным комитетом Российской Федерации по строительству и жилищно-коммунальному комплексу 25.04.2003. Москва, 2003.
61.
СП 502.1325800.2021 Инженерно-экологические изыскания для строительства. Общие правила производства работ [Электронный ресурс]: утв. приказом Министерства строительства и жилищно-коммунального хозяйства Российской Федерации от 16.07.2021 N 475/пр. Опубликован: официальное издание. М.: ФГБУ "РСТ", 2021 // СПС "ТехЭксперт".
62. Рекультивация полигона твердых бытовых отходов Торбеевского муниципального района. Сведения об инженерном оборудовании, о сетях инженерно-технического обеспечения, перечень инженерно-технических мероприятий, содержание технологических решений. Технологические решения. Система отведения биогаза: проектная документация. - Саранск, ООО "ЭкоПланПроект", 2020. - 17 с.
63. Рекультивация полигона твердых коммунальных отходов вблизи с. Кабардинка муниципального образования город-курорт Геленджик. Сведения об инженерном оборудовании, о сетях инженерно-технического обеспечения, перечень инженерно-технических мероприятий, содержание технологических решений. Технологические решения: проектная документация. - Москва, ООО "Институт проектирования, экологии и гигиены", 2022. - 39 с.
64. Рекультивация земельного участка, расположенного в городе-курорте Анапа, хут. Красный. Эколого-экономическое обоснование рекультивации земель. Система отведения свалочного газа: проектная документация. - Москва, ООО "Стройинженерсервис", 2021. - 19 с.
65. Рекультивация полигона ТБО "Кулаковский" на территории городского округа Чехов. Пояснительная записка: проектная документация. - ООО Институт "Газэнергопроект", 2018. - 401 с.
66. Выполнение работ по разработке проекта по выводу из эксплуатации полигона для захоронения твердых бытовых отходов и рекультивации нарушенных земель при размещении отходов IV - V классов опасности второй очереди муниципального полигона для захоронения твердых бытовых отходов. Сведения об инженерном оборудовании, о сетях инженерно-технического обеспечения, перечень инженерно-технических мероприятий, содержание технологических решений. Технологические решения: проектная документация. - ООО "ГеоТехПроект", 2020. - 129 с.
67.
ИТС 29-2017 Добыча природного газа [Электронный ресурс]: сайт Бюро НДТ // URL:
https://burondt.ru/NDT/NDTDocsDetail.php?Urlld=1114&etkstructure_id=1872 (дата обращения 27.08.2025)
68. Четыре метода водопонижения // Грунтвакуум: [сайт]. - URL: https://gruntvacuum.ru/blog/chetyre-metoda-vodoponizheniya/?ysclid=md481iworj954566481 (дата обращения 15.07.2025).
69. Выполнение научно-исследовательской работы по минимизации и ликвидации воздействия кислых шахтных вод Кизеловского угольного бассейна на водные объекты Пермского края. Итоговый отчет: Книга 1.3. - Пермь, 2019.
70. Выполнение работ по проектированию ликвидации накопленного вреда окружающей среде на территории городского округа г. Усолье-Сибирское Иркутской области. Проектная документация. Сведения об инженерном оборудовании, о сетях инженерно-технического обеспечения, перечень инженерно-технических мероприятий, содержание технологических решений. Технологические решения. Часть 2 "Территория производственной площади "Усольехимпром": шифр 5/2020ЕИ-ИОС7.1.1 - 2021.
71. Максимович, Н.Г. Создание геохимических барьеров для очистки стоков породных отвалов / Н.Г. Максимович // Уголь. - 2006. - N 9. - С. 64.
72. Максимович, Н.Г. М18 Геохимические барьеры и охрана окружающей среды: учеб. пособие / Н.Г. Максимович, Е.А. Хайрулина. - Пермь: Перм. гос. ун-т, 2011.
73. Вайсман, Я.И. Разработка технологии консервации террикоников в целях снижения их негативного воздействия на окружающую среду и сохранения ресурсного потенциала / Я.И. Вайсман, М.Ф. Гайдай // Вестник Пермского национального исследовательского политехнического университета. Геология. Нефтегазовое и горное дело. - 2016. - Т. 15. - N 19. - С. 175 - 184.
74.
ГОСТ Р 59070-2020 Охрана окружающей среды. Рекультивация нарушенных и нефтезагрязненных земель. Термины и определения [Электронный ресурс]: утв. приказом Росстандарта от 01.10.2020 N 731-ст. Не опубликован // "ИС МЕГАНОРМ".
75. Шукель, П.В. Проблематика рекультивации земель, загрязненных твердыми бытовыми отходами / П.В. Шукель, Л.А. Сенькова // Молодежь и наука. - 2016. - N 6. - С. 43 - 44.
76.
ГОСТ Р 58330.2-2018 Мелиорация. Виды мелиоративных мероприятий и работ. Классификация [Электронный ресурс]: утв. приказом Росстандарта от 25.12.2018 N 1143-ст. Москва: Стандартинформ, 2019 // "ИС МЕГАНОРМ".
77.
ГОСТ Р 57447-2017 Наилучшие доступные технологии. Рекультивация земель и земельных участков, загрязненных нефтью и нефтепродуктами. Основные положения [Электронный ресурс]: утв. приказом Росстандарта от 18.04.2017 N 284-ст. Москва: Стандартинформ, 2019 // СПС "ТехЭксперт".
78. Зеньков, И.В. Технологии формирования и рекультивации породных отвалов при добыче угля открытым способом / И.В. Зеньков, Б.Н. Нефедов, И.М. Барадулин, Е.В. Кирюшина, В.Н. Вокин // Экология и промышленность России. - 2013. - Июнь. - С. 30 - 33.
79. Гуркова, Е.А. Ресурсы и специфика рекультивации отвалов угледобывающей промышленности Хакасии / Е.А. Гуркова, В.А. Андроханов, А.Т. Лавриненко // Почвы и окружающая среда. - 2020. - Том 3. - N 4. - С. 1 - 13.
80. Дормидонтова, Т.В. Укрепление откосов с помощью системы "Зеленый Террамеш" // Традиции и инновации в строительстве и архитектуре. Строительство. - Самара: Самарский государственный архитектурно-строительный университет, 2016. - С. 96 - 99.
81. Оленичев, Д.В. Использование армогрунтовых конструкций для создания элементов транспортной инфраструктуры ГОКОВ / Д.В. Оленичев // Инженерная защита. - 2014. - N 2 (2). - С. 54 - 57.
82. Карданов, Х.Х. Исследование технологии возведения противооползневых сооружений комбинированных и биопозитивных конструкций / Х.Х. Карданов, С.О. Курбанов // Естественные и технические науки. - 2015. - N 8 (86). - С. 95 - 100.
83. Костоусов, А.Н. Совершенствование методики расчета армогрунтовых стен для усиления земляного полотна / А.Н. Костоусов: дис. на соиск. уч. степ. канд. техн. наук. - Москва, 2015.
84. Карпов, А.В. Рекультивация нефтезагрязненных земель на рабочих площадках ООО "ЛУКОЙЛ-Волгограднефтепереработка" как способ создания биогеохимического барьера с использованием нанотехнологий / А.В. Карпов, О.А. Макаров, Г.К. Лобачёва // Вестник ВолГУ. - 2012. - Серия 10. - Вып. 6. - С. 110 - 118.
85. Вобликов, Б.Г. Проблемы экологической опасности и способы рекультивации земель, загрязненных нефтепродуктами, в Чеченской Республике / Б.Г. Вобликов, Ж.В. Калашник, А.Х. Усманов, Ю.В. Корнилов // Вестник АГТУ. - 2011. - N 2 (52). - С. 73 - 77.
86. Пат. 2470721C2, МПК B09B 3/00 (2006.01). Способ ликвидации шламовых амбаров и утилизации нефтесодержащих отходов / Позднышев Леонид Геннадьевич. Патентообладатель: Позднышев Леонид Геннадьевич N 2010150443/13; заявл. 08.12.2010; опубл. 27.12.2012.
87. Пат. 2492943 Российская Федерация, МПК, B09B3/00; B09C1/00. Способ восстановления земель с использованием буровых шламов, образованных в результате нефтегазодобычи / Габасов Т.Х. Патентообладатель: общество с ограниченной ответственностью "Аристей" N 2012123636/13; заявл. 08.06.2012; опубл. 20.09.2013.
88. Пат. 2491135 Российская Федерация, МПК B09B1/00. Смесь почвенная шламово-грунтовая (варианты) для рекультивации нарушенных земель и способ рекультивации карьеров и нарушенных земель / Кольцов И.Н., Митрофанов Н.Г., Петухова В.С., Скипин Л.Н. Патентообладатель: Салым Петролеум Девелопмент Н.В. N 2011152564/13; заявл. 23.12.2011; опубл. 27.08.2013.
89. Швецова Л.А., Громова Т.В., Швецова-Шиловская Т.Н., Кондратьев В.Б. Анализ методов обезвреживания опасных промышленных отходов и аппаратурного оформления для их реализации применительно к отходам, содержащим нитроцеллюлозу // Химия и технология органических веществ. 2024. N 3 (31). С. 42 - 53.
90. Ликвидация объектов накопленного экологического ущерба на территории городского округа город Дзержинск Нижегородской области. Объект N 1. Ликвидация неорганизованной свалки "Черная дыра" промышленных отходов бывшего производства ОАО "Оргстекло". Пояснительная записка: проектная документация. - ООО Институт "Газэнергопроект", 2016. - 261 с.
91. Обследование объектов накопленного вреда окружающей среде. Объект N 1. Свалка промышленных отходов, расположенная по адресу ул. Вокзальная, 15, г. Павлово Нижегородской области (территория бывшей нефтебазы ООО "ЭкоТехОйл"). Технический отчет по обследованию объекта и загрязненных земель. Пояснительная записка: предпроектная документация. - ООО Институт "Газэнергопроект", 2019. - 2016 с.
92. Обследование объектов накопленного вреда окружающей среде. Объект N 3. Мазутохранилище открытого типа "Нефтеямы", расположенного в черте города Балахна Нижегородской области в районе ул. Фурманова на 28 + 400 км автодороги Н. Новгород - Иваново - Шопша. Технический отчет по обследованию объекта и загрязненных земель. Пояснительная записка: предпроектная документация. - ООО Институт "Газэнергопроект", 2019. - 181 с.
93. Обследование объектов накопленного вреда окружающей среде. Объект N 6. Хранилище кислых гудронов, расположенное по адресу Нижегородская обл., г. Нижний Новгород, 21 км Московского шоссе, пос. Лесная поляна, у поворота на п. Берёзовая Пойма. Технический отчет по обследованию объекта и загрязненных земель. Пояснительная записка: предпроектная документация. - ООО Институт "Газэнергопроект", 2019. - 196 с.
94. Обследование объектов накопленного вреда окружающей среде. Объект N 5. Свалка промышленных отходов на территории бывшего завода "Заря". Технический отчет по обследованию объекта и загрязненных земель. Пояснительная записка: предпроектная документация. - ООО Институт "Газэнергопроект", 2019. - 177 с.
95. Булатов, А.И. Экология при строительстве нефтяных и газовых скважин / А.И. Булатов и др. - Краснодар: Изд-во "Просвещение-Юг", 2011.
96. Матыцын В.И. Практика использования обезвреженных полужидких отходов бурения в качестве экологически безопасного строительного материала / В.И. Матыцын, А.П. Филиппов, М.В. Петросьян [Электронный ресурс]: портал Neftegaz.ru // URL: https://neftegaz.ru/science/booty/332133-praktika-ispolzovaniya-obezvrezhennykh-poluzhidkikh-otkhodov-bureniya-v-kachestve-ekologicheski-bezo/ (дата обращения 21.05.2025).
97. Комплекс технических средств отверждения бурового шлама (модульная установка переработки буровых шламов) [Электронный ресурс]: сайт компании "Техномехсервис" // URL: http://www.tmc.su/produkciya/kompleks-tehnicheskih-sredstv-otverzhdeniya-burovogo-shlama-modulnaya-ustanovka (дата обращения 20.05.2022).
98. Пат. 2199569 Российская Федерация, МПК C09K7/00, B09C1/08. Смесь для обезвреживания и литификации буровых шламов и нефтезагрязненных грунтов / Кнатько В.М., Кнатько М.В., Щербакова Е.В., Гончаров А.В. Патентообладатели: Кнатько Василий Михайлович, Кнатько Михаил Васильевич, Гончаров Андрей Васильевич N 2001132552/03; заявл. 23.11.2001; опубл. 27.02.2003.
99. Пат. 2526983C2, МПК C02F 11/14 (2006.01), B09B 3/00 (2006.01). Способ рекультивации карт-шламонакопителей предприятий по производству беленой сульфатной целлюлозы / Сутурин Александр Николаевич, Гончаров Алексей Иванович, Минаев Виктор Васильевич, Куликова Наталья Николаевна, Дамбинов Юрий Алексеевич. Патентообладатель: Федеральное государственное бюджетное учреждение науки Лимнологический институт Сибирского отделения Российской академии наук N 2012148449/05; заявл. 14.11.2012; опубл. 27.08.2014.
100. Пат. 2162918С1, МПК E21B21/06. Способ ликвидации земляного амбара-накопителя отходов бурения / Безродный Ю.Г., Бочкарев Б.И., Ботвинкин В.Н., Чалренко В.П., Новикова В.В. Патентообладатель: дочернее открытое акционерное общество "ВолгоградНИПИнефть" N 99115443/03; заявл. 14.07.1999; опубл. 10.02.2001.
101. Технология обезвреживания отходов бурения методом реагентного капсулирования. Оценка воздействия на окружающую среду. Техническая документация. - М.: 2014. - 314 с. [Электронный ресурс]: сайт Экосфера // URL: http://ecosfera.com.ru/shared/OBOC_TO.pdf (дата обращения 16.05.2022).
102. Самарин, Е.Н. Омоноличивание отходов Байкальского ЦБК для снижения нагрузки на экосистему оз. Байкал / Е.Н. Самарин, Н.С. Кравченко, О.В. Зеркаль, М.С. Чернов, И.А. Родькина // Сергеевские чтения: материалы годичной сессии Научного совета РАН по проблемам геоэкологии, инженерной геологии и гидрогеологии. - Пермь: изд-во ПГНИУ, 2019. - С. 533 - 538.
103. Пат. 2678295C1 Российская Федерация, МПК C02F 11/00 (2006.01). Способ рекультивации шламонакопителей предприятий по производству беленой целлюлозы по сульфатному методу / Панов Роман Сергеевич, Горринг Руслан Израилович, Кондратьев Виктор Викторович, Горовой Валерий Олегович, Иванов Николай Аркадьевич, Стом Дэвард Иосифович, Колосов Александр Дмитриевич, Спирин Василий Иванович, Будюков Юрий Евдокимович, Саламатин Александр Петрович. Патентообладатель: Акционерное общество "Тульское научно-исследовательское геологическое предприятие" N 2017134216; заявл. 03.10.2017; опубл. 24.01.2019.
104. Полигон "Красный Бор": Характеристики НВОС [Электронный ресурс]: сайт Федеральное государственное казенное учреждение "Дирекция по организации работ по ликвидации накопленного вреда окружающей среде, а также по обеспечению безопасности гидротехнических сооружений полигона "Красный Бор" // URL: http://www.poligonkb.spb.ru/content/pictures/470/763/939/4707cbb6393a944b/484ef227db91f52f.pdf (дата обращения 16.06.2022).
105. Рекультивация пометохранилища бывшего ООО "Птицефабрика "Мурманская": технический отчет по результатам инженерно-экологических изысканий. - ООО "Институт Транснефтегазпроект", 2020.
106. Аверина, М.Б. Исследование возможности бактериальной деструкции некоторых пестицидов с целью разработки биопрепарата для рекультивации почв / М.Б. Аверина. - 2019.
107. Пат. 2279325C2 Российская Федерация, МПК B09C 1/10 (2006.01), C12M 1/00 (2006.01), C12M 1/10 (2006.01). Способ получения микробного препарата для утилизации пестицидов, способ утилизации пестицидов (варианты) и устройство для утилизации пестицидов / Афанасьев Вячеслав Николаевич, Гамова Маргарита Владимировна, Гаранькина Надежда Григорьевна, Круглов Юрий Владимирович, Максимов Дмитрий Анатольевич, Пароменская Людмила Николаевна. Патентообладатель: Государственное научное учреждение Всероссийский научно-исследовательский институт сельскохозяйственной микробиологии N 2002114831/13; заявл. 20.01.2005; опубл. 10.07.2006.
108. Пат. 2395966C2 Российская Федерация, МПК A01N 63/00 (2006.01). Препарат для переработки пестицидов и способ переработки пестицидов (варианты) / Ярцев Сергей Викторович, Воронович Наталья Владимировна, Романовский Сергей Александрович, Шерстнев Анатолий Михайлович. Патентообладатель: Ярцев Сергей Викторович, N 2008120292/13; заявл. 21.05.2008; опубл. 10.08.2010.
109. Пискаева, А.И. Анализ способов переработки сельскохозяйственных органических отходов на примере куриного помета [Электронный ресурс]: электронный журнал Аэкономика: экономика и сельское хозяйство. - 2016. - N 4 (12) // URL: http://aeconomy.ru/science/agro/analizsposobovpererabotkiselskokh/ (дата обращения 13.05.2022).
110. Суховеркова, В.Е. Способы утилизации птичьего помета, представленные в современных патентах / В.Е. Суховеркова // Вестник Алтайского государственного аграрного университета. - 2016. - N 9 (143). - С. 45 - 55.
111. Пат. 2297290C1 Российская Федерация, МПК B09C 1/10 (2006.01), C12N 1/26 (2006.01), C12R 1/065 (2006.01), C12R 1/08 (2006.01), C12R 1/06 (2006.01). Способ рекультивации отбеливающей земли, загрязненной нефтепродуктами / Логинов Олег Николаевич, Биккинина Альмира Габдулахатовна, Силищев Николай Николаевич, Бойко Таисия Филипповна, Галимзянова Наиля Фауатовна, Нуртдинова Лариса Амирхановна. Патентообладатель: Закрытое акционерное общество научно-производственное предприятие "Биомедхим" N 2005130840/13; заявл. 04.10.2005, опубл. 20.04.2007.
112. Городилов, А.И. Анализ методов рекультивации земель, загрязненных нефтью и нефтепродуктами / А.И. Городилов // Научно-практический электронный журнал Аллея Науки. - 2019. - N 8 (35). - С. 19 - 22.
113. Отчет по теме "Проведение исследований объекта накопленного вреда окружающей среде "Короотвал города Краснокамск", в 2-х томах. - Пермь. - ЕНИ ПГНИУ, 2019. - Том 1 (384 с.), Том 2 (288 с.).
114. Соколова, В.М. Использование отходов лесопромышленного комплекса для рекультивации шламонакопителя / В.М. Соколова, Д.О. Нагорнов // Проблемы рекультивации отходов быта, промышленного и сельскохозяйственного производства: сборник научных трудов по материалам V Международной научной экологической конференции, посвященной 95-летию Кубанского ГАУ. - Краснодар: Кубанский государственный аграрный университет имени И.Т. Трубилина, 2017 - С. 635 - 637.
115. Пат. 2450873C2 Российская Федерация, МПК B09C 1/10 (2006.01). Способ переработки нефтешламов и очистки замазученных грунтов / Чертес Константин Львович, Быков Дмитрий Евгеньевич, Тупицына Ольга Владимировна, Радомский Владимир Маркович, Уварова Наталья Александровна, Самарина Оксана Алексеевна, Истомина Елена Павловна, Зеленцов Данила Владимирович. Патентообладатель: Государственное образовательное учреждение высшего профессионального образования Самарский государственный технический университет N 2010134446/05; заявл. 17.08.2021; опубл. 20.05.2012.
116. Костарев, С.Н. Разработка технологий переработки древесной коры Краснокамского короотвала Пермского края / С.Н. Костарев, Т.Г. Середа // Экология и безопасность в техносфере: современные проблемы и пути решения: сборник трудов Всероссийской научно-практической конференции молодых ученых, аспирантов и студентов. - Томск: Изд-во Томского политехнического университета, 2020. - С. 26 - 28.
117. Пат. 2520022C2 Российская Федерация, МПК C05F 11/00 (2006.01). Способ переработки короотвала и технологическая площадка для его осуществления / Горелов Валерий Васильевич, Иларионов Сергей Александрович, Басов Вадим Наумович, Кузовкина Валентина Александровна, Басов Алексей Вадимович, Зонова Людмила Дмитриевна. Патентообладатель: Общество с ограниченной ответственностью "Пермский научно-исследовательский институт бумаги" N 2011136981/13; заявл. 08.09.2011, опубл. 20.06.2014.
118. Демирчян, А.Р. Некоторые аспекты рекультивации и озеленения хвостохранилищ / А.Р. Демирчян, А.В. Галстян. // Дальневосточная весна 2014: материалы 12-й Междунар. науч.-практ. конференции. - Комсомольск-на-Амуре, 2014. - С. 270 - 273.
119. Виноградова, Н.О. Рекультивация земель хвостохранилища Абагуровской аглофабрики / Н.О. Виноградова, Е.С. Черданцева // Наука и молодежь: проблемы, поиски, решения. Труды Всероссийской научной конференции студентов, аспирантов и молодых ученых. - 2014 г. - С. 289 - 291.
120. Пат. 2513468C1 Российская Федерация, МПК E21C 41/32 (2006.01), A01B 79/02 (2006.01), C09K 17/00 (2006.01). Способ рекультивации хвостохранилищ / Сариев Абибулла Ханбиевич, Зеленский Владимир Михайлович, Терентьева Наталья Юрьевна, Очиколова Наталья Николаевна, Слепова Ольга Николаевна, Кайзер Андрей Александрович. Патентообладатель: Государственное научное учреждение Научно-исследовательский институт сельского хозяйства Крайнего Севера Российской академии сельскохозяйственных наук N 2014121712/13; заявл. 01.11.2012, опубл. 20.04.2014.
121. Аликин, В.Н. Разработка высокопроизводительной шнековой технологии переработки короотвалов с длительным сроком хранением / В.Н. Аликин, С.Ю. Петухов // Наука России: Цели и задачи. - С. 57 - 58.
122. Пат. 2729366C1 Российская Федерация, МПК C05F 11/00 (2006.01). Способ переработки кородревесных отходов, биореактор и технологическая линия для осуществления способа / Максимов Александр Юрьевич, Шилова Анна Владимировна, Максимова Юлия Геннадьевна. Патентообладатель: общество с ограниченной ответственностью "ИМБИОКОМ" N 2020111369; заявл. 18.03.2020, опубл. 06.08.2020.
123. Виноградов, Ю.О. Переработка отходов целлюлозно-бумажной промышленности для создания удобрений и топливных брикетов / Ю.О. Виноградов, Е.А. Воронцова // Химия. Экология. Урбанистика. - 2019. - Том 2019-1. - С. 56 - 60.
124. Корректировка проектно-сметной документации на ликвидацию кислогудронного пруда N 1, 2 со склонами и рекультивацию земель, нарушенных сооружением и эксплуатацией пруда. Проект организации строительства: шифр 28-19-49-ПОС, 2020.
125. Обследование объектов накопленного вреда окружающей среде Объект N 2 Пруды-накопители кислых гудронов (объекты бывшего АООТ "Фирма "Варя"), расположенные по адресу: Нижегородская обл., Балахнинский район, 56 квартал Козинского лесничества Балахнинского районного лесничества. Предпроектная документация. Технический отчет по обследованию объекта и загрязненных земель. Пояснительная записка: шифр 16/19-ЭА-2-П3. - Москва, 2019.
126. Пат. 2509457C1 Российская Федерация, МПК A01B 79/02 (2006.01), B09B 3/00 (2006.01), B09C 1/00 (2006.01). Способ рекультивации отвалов и полигонов промышленных отходов / Богач Евгений Владимирович, Миронов Владимир Евгеньевич, Мартынюк Александр Александрович, Коженков Леонид Леонидович, Жидков Андрей Николаевич. Патентообладатель: открытое акционерное общество "Воскресенские минеральные удобрения" N 2012146128/13; заявл. 29.10.2012, опубл. 20.03.2014.
127.
СП 325.1325800.2017 Здания и сооружения. Правила производства работ при демонтаже и утилизации (с Изменениями N 1, 2) [Электронный ресурс]: утв. приказом Министерства строительства и жилищно-коммунального хозяйства Российской Федерации от 28.08.2017 N 1170-ст. Москва: Стандартинформ, 2018 // СПС "ТехЭксперт".
128. Выполнение работ по проектированию ликвидации накопленного вреда окружающей среде на территории городского округа г. Усолье-Сибирское Иркутской области. Этап 2. Раздел 12. Иная документация в случаях, предусмотренных федеральными законами. Подраздел 1. Оценка воздействия на окружающую среду. Часть 1. Текстовая часть 5/2020-2-ЕИ-ОВОС1 Том 12.1.1. ФГУП "ФЭО", 2022. - 335 с.
129. Ликвидация объектов накопленного экологического ущерба на территории города Мончегорска Мурманской области, район бывшего н.п. Нижний Нюд, кадастровый номер земельного участка: 51:10:0040401. Перечень мероприятий по охране окружающей среды: проектная документация. - ООО "Северный морской проектный институт", 2021. - 140 с.
130. Ликвидация объектов накопленного экологического ущерба на территории города Мончегорска Мурманской области, район бывшего н.п. Верхний Нюд, кадастровый номер земельного участка: 51:11:0030301:6. Перечень мероприятий по охране окружающей среды: проектная документация. - ООО "Северный морской проектный институт", 2021. - 143 с.
131. Ликвидация объектов накопленного экологического ущерба на территории города Мончегорска Мурманской области, а/д М-18, отворотка на песчаный карьер, кадастровый номер земельного участка: 51:11:0000000:1. Перечень мероприятий по охране окружающей среды: проектная документация. - ООО "Северный морской проектный институт", 2021. - 144 с.
132.
ГОСТ Р 57678-2017 Ресурсосбережение. Обращение с отходами. Ликвидация строительных отходов [Электронный ресурс]: утвержден приказом Росстандарта от 19.09.2017 N 1163-ст. Москва: Стандартинформ, 2019 // СПС "Техэксперт".
133. Разработка проектно-сметной документации на рекультивацию земельного участка, нарушенного при складировании, захоронении промышленных, бытовых и иных отходов, расположенного на земельном участке с кадастровым номером 18:20:076001:1138 по адресу: Удмуртская Республика, Сюмсинский район, карьер "Русская Бабья. Проект организации строительства: шифр 1818-ПОС-Т. - Ижевск, 2020.
134. Рекультивация свалки в п. Стеклозавод г. Улан-Удэ Республики Бурятия. Содержание, объемы и график работ по рекультивации земель, консервации земель. Проект организации строительства: шифр 003-2021-ПОС. - Москва, 2021.
135. Проект рекультивации земельных участков, использованных, но не предназначенных для размещения отходов (ликвидация несанкционированных свалок на земельных участках, расположенных в границах муниципального образования город Саяногорск Республики Хакасия). Сведения об инженерном оборудовании, о сетях инженерно-технического обеспечения, перечень инженерно-технических мероприятий, содержание технологических решений: шифр 09-03-2021-ИОС7-ТХ. - Пермь, 2021.
136. Рекультивация свалки твердых коммунальных отходов города Стародуба. Проект организации строительства: шифр 01-2021-ПОС. - Брянск, 2021.
137. Рекультивация объекта размещения отходов вблизи г. Медынь по адресу: Калужская обл., Медынский район, северо-западная часть г. Медынь, на выезде справа от дороги. Проект организации строительства: шифр ИГ-0420-6-ПОС. - Москва, 2020.
138. Ликвидация накопленного вреда окружающей среде. Рекультивация свалки промышленных отходов (опила), расположенной в г. Луза Кировской области. Оценка воздействия на окружающую среду: шифр Луза/29.06.21/ОВОС. - Санкт-Петербург, 2021.
139. Ликвидация объекта "Склад коры" в м. Лесозавод. Проект организации строительства: шифр 71097888-40-13-ПОС. - Сыктывкар, 2013.
140. Ликвидация экологических последствий деятельности Джидинского вольфрамо-молибденового комбината. Мероприятия капитального характера. Пояснительная записка: проектная документация. - ООО "Гидроспецстрой", 2017. - 45 с.
141. Рекультивация пометохранилища бывшей ОАО "Птицефабрика "Снежная". Проект организации строительства: шифр 3-11-16-ПОС. - Мурманск, 2017.
142. Зенкевич, М.Ю. Экологический риск нефтепродуктового загрязнения и концептуальные подходы к решению данной проблемы / М.Ю. Зенкевич, А.С. Афромеев // Новая наука и интеграционные процессы в современной системе знаний. - Казань, 2018 - С. 250 - 254.
143. Ликвидация 4-х объектов размещения химических отходов, расположенных на территории г. Заволжск Ивановской области. Сведения об инженерном оборудовании, о сетях инженерно-технического обеспечения, перечень инженерно-технических мероприятий, содержание технологических решений. Технологические решения: проектная документация. - ООО "Эколекарь", 2019. - 18 с.
144.
ИТС 8-2022 Очистка сточных вод при производстве продукции (товаров), выполнении работ и оказании услуг на крупных предприятиях [Электронный ресурс]: сайт Бюро НДТ // URL:
https://burondt.ru/NDT/NDTDocsDetail.php7UrlId=1850&etkstructure_id=1872 (дата обращения 15.04.2025).
145. Швецова Л.А., Громова Т.В., Швецова-Шиловская Т.Н., Куткин А.В. Оценка надежности и безопасности опытной установки обжига металлоконструкций на территории ФГУП "ПО КХК "Енисей" // Химия и технология органических веществ. 2023. N 4 (28). С. 67 - 79.
146. Денисов, С.Е. Вибрационное обезвоживание осадков сточных вод на иловых полях / С.Е. Денисов, Е.Н. Гордеев [Электронный ресурс]: электронный журнал Universum: Технические науки. - 2015. - N 6 (18) // URL: http://7universum.com/ru/tech/archive/item/2252 (дата обращения 06.06.2022).
147. Пат. 167216U1 Российская Федерация, МПК B01D 21/00 (2006.01), B01D 35/05 (2006.01), B01D 35/20 (2006.01). Устройство для обезвоживания осадков сточных вод на иловых полях / Гордеев Евгений Николаевич, Денисов Сергей Егорович. Патентообладатель: федеральное государственное автономное образовательное учреждение высшего образования "Южно-Уральский государственный университет (национальный исследовательский университет)" N 2015144412/05; заявл. 15.10.2015; опубл. 27.12.2016.
148. Сафаров, Р.Н. Технология оздоровления среды обитания от отходов сельского хозяйства и иловых осадков сточных вод на урбанизированных территориях Республики Татарстан / Р.Н. Сафаров, И.Ю. Квашнина, Г.М. Ахмадиев // Бюллетень науки и практики. - 2018. - Т. 4. - N 4. - С. 246 - 256.
149. Разработка проекта рекультивации земельного участка занятого свалкой промышленных и бытовых отходов, расположенной за кладбищем "Красная Этна" на территории Шуваловской промзоны в Ленинском районе города Нижнего Новгорода. Пояснительная записка: шифр МК 7-2019-НН-ПЗ.
150. Валиев, В.С. Способы утилизации осадков городских сточных вод (обзор) / В.С. Валиев, Д.В. Иванов, Р.Р. Шагидуллин // Российский журнал прикладной экологии. - 2020. - N 4. - С. 52 - 63.
151. Эктов, А.В. Утилизация прудов-накопителей промышленных предприятий / А.В. Эктов, А.А. Логачёва, А.В. Баев // Отборочный тур программы У.М.Н.И.К. в рамках Шестой научной студенческой конференции "Проблемы ноосферной безопасности и устойчивого развития" ассоциации "Объединенный университет им. В.И. Вернадского". - 2011. - С. 219 - 222.
152. Космынин, Ф.Г. Способ утилизации прудов-накопителей предприятий органического синтеза / Ф.Г. Космынин // Экология ЦЧО РФ. - 2012. - N 2 (29). - С. 107 - 109.
153. Карыпкин, Л.М. Полигон "Красный Бор": пути и методы решения / Л.М. Карыпкин, В.П. Суетинов, Ю.А. Рахманов // Твердые бытовые отходы. - 2017. - N 4. - С. 26 - 27.
154. Вотинов, А.В. Новые технологии ликвидации подземных углеводородных загрязнений / А.В. Вотинов, В.В. Минаков, С.В. Даценко, Ю.В. Сушко // Гидротехника. - 2009. - N 2 (15). - С. 83 - 86.
155. Заключение государственной экологической экспертизы проектной документации "Ликвидация (демеркуризация) выведенного из эксплуатации цеха ртутного электролиза в г. Усолье-Сибирское" от 14.12.2018.
156. Пат. 2759620C1 Российская Федерация, МПК E02D 3/12 (2006.01), E01C 3/04 (2006.01), E01C 21/00 (2006.01), C04B 28/04 (2006.01). Геокомпозиты на основе техногенных грунтов антропогенного генезиса и способ их получения / Кнатько Михаил Васильевич, Жабриков Станислав Юрьевич. Патентообладатель: общество с ограниченной ответственностью "Экорециклинг" N 2020126905; заявл. 11.08.2020; опубл. 16.11.2021.
157. Пат. 2771838C1 Российская Федерация, МПК B01J 20/12 (2006.01), C04B 28/22 (2006.01), C04B 103/65 (2006.01), E02B 3/16 (2006.01). Щелочная комплексообразующая добавка на основе природных алюмосиликатных минералов и способ ее получения / Кнатько Михаил Васильевич, Жабриков Станислав Юрьевич. Патентообладатель: общество с ограниченной ответственностью "ГЕКСОКОН"; заявл. 01.06.2020; опубл. 01.12.2021.
158. Делицын, Л.М. Новый способ иммобилизации конденсированных вредных промышленных веществ / Л.М. Делицын, А.С. Власов, П.А. Гусев // Экология и промышленность России. - 2006. - Август. - С. 10 - 12.
159. Обезвреживание и утилизация иловых осадков сточных вод методом управляемого мембранного компостирования. Материалы оценки воздействия на окружающую среду: шифр ОВОС-001-7743292691-2021. - Москва, 2021.
160. Теплых, С.Ю. Технология компостирования осадка иловых полей очистных сооружений / С.Ю. Теплых, В.В. Тополова // Градостроительство и архитектура. - 2022. - Т. 12. - N 1. - С. 143 - 153.
161. Пат. 2752759C1 Российская Федерация, МПК C05F 11/00 (2006.01), C05F 11/08 (2006.01), C05F 17/20 (2020.01). Способ получения органического удобрения путем переработки отходов окорки / Горбатова Марина Юрьевна. Патентообладатели: Горбатова Марина Юрьевна, Силуянов Алексей Юрьевич N 2020136193; заявл. 03.11.2020; опубл. 02.08.2021.
162. Шувалов, Ю.В., Биогенные методы повышения плодородия почв рекультивируемых земель / Ю.В. Шувалов, А.П. Бульбашев, Ю.Д. Смирнов, Ю.Д. Ковшов // Горный информационно-аналитический бюллетень (научно-технический журнал). - 2010. - N 6. - С. 293 - 298.
163. Рекультивация территорий в районе сельского поселения Рождествено Самарской области, техногенно деградированных несанкционированным размещением спиртовой барды (в том числе проектирование). Сведения об инженерном оборудовании, о сетях инженерно-технического обеспечения, перечень инженерно-технических мероприятий, содержание технологических решений. Технологические решения: проектная документация. - Самара, ФГБОУ ВО "СамГТУ", "Научно-аналитический центр промышленной экологии", 2020. - 64 с.
164. Изыскательские и научно-исследовательские работы по оценке объекта накопленного вреда окружающей среде, образованного в результате прошлой хозяйственной деятельности ОАО "МИБИЭКС": технический отчет о результатах проведения изыскательских и научно-исследовательских работ. - Минусинск, ООО "Минусинский гидрогеолог, 2020. - 120 с.
165.
ИТС 15-2021 Утилизация и обезвреживание отходов (кроме термических способов) [Электронный ресурс]: сайт Бюро НДТ // URL:
https://burondt.ru/NDT/NDTDocsDetail.php?UrlId=1667&etkstructure_id=1872 (дата обращения 27.08.2025).
166. Палагин, Е.Д. Биологическая очистка сточных вод прудов-накопителей жидких отходов / Е.Д. Палагин, А.И. Илюшина В сборнике: Традиции и инновации в строительстве и архитектуре. Электронный ресурс: материалы 71-й Всероссийской научно-технической конференции по итогам НИР 2013 года, под редакцией М.И. Бальзанникова, Н.Г. Чумаченко. 2014. С. 758 - 759.
167. Воробьёв, Д.С. Использование Limnodrilus hoffmeistery (Tubificidae, Olichaeta) в очистке донных отложений от нефти и нефтепродуктов / Д.С. Воробьёв, Ю.А. Франк, С.В. Пушников, Н.А. Залозный, Ю.А. Носков // Сибирский экологический журнал. - 2010. - N 1. - С. 21 - 27.
168. Пат. 2356856C2 Российская Федерация, МПК C02F3/34 (2006.01), B01J20/30 (2006.01). Сорбент для биодеградации поверхностных и донных отложений нефтепродуктов / Рядинский Виктор Юрьевич, Антропов Александр Анатольевич. Патентообладатель: ГОУ ВПО "Тюменский государственный университет" N 2007128256/15; заявл. 23.07.2007; опубл. 27.05.2009.
169. Пат. 2751501C1 Российская Федерация, МПК B23K 26/122 (2014.01), B23K 26/38 (2014.01). Способ подводной лазерной резки металлических конструкций / Агеев Антон Сергеевич, Журба Владимир Михайлович, Волков Михаил Владимирович, Орлов Николай Леонидович, Пуйша Александр Эдуардович, Кудрин Евгений Владимирович, Леонтьева Ирина Григорьевна. Патентообладатель: общество с ограниченной ответственностью "Научно-производственное предприятие Волоконно-Оптического и Лазерного Оборудования" N 2020126944; заявл. 11.08.2020; опубл. 14.07.2021.
170. Пат. 1825699A1 Союз Советских Социалистических Республик, МПК B23K31/00, B26F3/00. Способ разделки объектов: патент / Новиков Николай Николаевич, Зеленов Юрий Борисович; заявл. 28.06.1991; опубл. 07.07.1993.
171. Пат. 2221109C1 Российская Федерация, МПК E02B15/04 E02B15/06 E02B15/08. Боновое заграждение переменной плавучести / Левагин Владимир Михайлович. Патентообладатель: Левагин Владимир Михайлович N 2002111944/13; заявл. 06.05.2002; опубл. 10.01.2004.
172. Проект по ликвидации накопленного вреда на акватории п. Амдерма Ненецкого автономного округа. Пояснительная записка. - Москва, 2019.
173. Пат. 2151079C1 Российская Федерация, МПК B63C 7/02. Способ подъема судна со дна водоема / Таланов Борис Петрович. Патентообладатель: Таланов Борис Петрович N 99105144/28; заявл. 12.03.1999; опубл. 20.06.2000.
174. Пат. 2479461C1 Российская Федерация, МПК B63C 7/10 (2006.01). Система подъема затонувшего судна / Белозёров Виктор Николаевич, Бирюлин Игорь Борисович, Ветрова Анжелика Амировна, Школьник Борис Иосифович. Патентообладатель: Федеральное государственное бюджетное образовательное учреждение высшего профессионального образования "Астраханский государственный университет" N 2011144601/11; заявл. 02.11.2011; опубл. 20.04.2013.
175. Пат. 19281U1 Российская Федерация, МПК B63C 7/02 (2000.01). Понтонное устройство для подъема затонувших судов / Кобылянский Валентин Александрович, Свиридов Владимир Степанович. Патентообладатель: Свиридов Владимир Степанович. N 2000126648/20; заявл. 30.10.2000; опубл. 20.08.2001.
176. Пат. 2316446C1 Российская Федерация, МПК B63C7/08 (2006.01), B63C7/06 (2006.01). Способ подъема затонувшего объекта и устройство для его осуществления / Тарасов Юрий Дмитриевич. Патентообладатель: Государственное образовательное учреждение высшего профессионального образования "Санкт-Петербургский государственный горный институт имени Г.В. Плеханова (технический университет)" N 2006121771/11; заявл. 19.06.2006, опубл. 10.02.2008.
177. Пат. 2363613C1 Российская Федерация, МПК B63C 7/02 (2006.01). Способ подъема затонувшего объекта / Тарасов Юрий Дмитриевич. Патентообладатель: Государственное образовательное учреждение высшего профессионального образования "Санкт-Петербургский государственный горный институт имени Г.В. Плеханова (технический университет)" N 2008123444/11; заявл. 09.06.2008, опубл. 10.08.2009.
178. Пат. 1782864A1 Союз Советских Социалистических Республик, МПК B63C 7/08 (2006.01). Устройство для подъема затонувшего объекта / Мамедов Афлатун Кямал Оглы, Васин Валерий Яковлевич N 4887637; заявл. 04.12.1990, опубл. 23.12.1992.
179. Пат. 2200111C2 Российская Федерация, МПК B63C 7/02. Способ подъема затонувшего объекта / Москаленко А.Д., Лапин Е.И., Субботин В.А., Федин Э.А. Патентообладатель: Федеральное государственное образовательное учреждение "Морской государственный университет им. адм. Г.И. Невельского" N 98116239/28; заявл. 25.08.1998; опубл. 10.03.2003.
180. Пат. 1785948A1 Союз Советских Социалистических Республик, МПК B63C7/06. Способ подъема затонувшего судна / Седых Николай Артёмович, Седых Алексей Николаевич N 4859366; заявл. 26.06.1990; опубл. 07.01.1993.
181. Пат. 2614877C1 Российская Федерация, МПК E02B15/00 (2006.01). Устройство для очистки водоемов от донных отложений / Бородулин Игорь Васильевич, Милюткин Владимир Александрович, Антонова Зоя Павловна, Стребков Николай Федорович, Котов Дмитрий Николаевич. Патентообладатель: Общество с ограниченной ответственностью "Эковолга" N 2015131618; заявл. 28.12.2015; опубл. 30.03.2017.
182. Кравченко, А.С. Технология очистки малых рек от донных отложений с использованием геотекстильных контейнеров / А.С. Кравченко [Электронный ресурс]: автореферат дис. на соиск. уч. степ. канд. техн. наук. - Москва, 2017 // URL: http://www.dslib.net/selxoz-melioracia/tehnologija-ochistki-malyh-rek-ot-donnyh-otlozhenij-s-ispolzovaniem-geotekstilnyh.html (дата обращения 12.09.2022).
183.
ГОСТ Р 54000-2010. Национальный стандарт Российской Федерации. Удобрения органические. Сапропели. Общие технические условия [Электронный ресурс]: утв. приказом Росстандарта от 30.11.2010 N 590-ст. Москва: Стандартинформ, 2020 // СПС "ТехЭксперт.
184. Activated Carbon-Based Technology for In Situ Remediation // Clean-Up Information: [сайт]. - URL: https://www.clu-in.org/techfocus/default.focus/sec/Activated_Carbon-Based_Technology_fo_In_Situ_Remediation/cat/Overview/ (дата обращения 03.10.2024).
185. Air Sparging // Clean-Up Information: [сайт]. - URL: https://www.clu-in.org/techfocus/default.focus/sec/Air_Sparging/cat/Overview/ (дата обращения 03.10.2024).
186. Bioreactor Landfills // Clean-Up Information: [сайт]. - URL: https://www.clu-in.org/techfocus/default.focus/sec/Bioreactor_Landfills/cat/Overview/ (дата обращения 03.10.2024).
187. Bioremediation // Clean-Up Information: [сайт]. - URL: https://www.clu-in.org/techfocus/default.focus/sec/Bioremediation/cat/Overview/ (дата обращения 03.10.2024).
188. Electrokinetics: Electric Current Technologies // Clean-Up Information: [сайт]. - URL: https://www.clu-in.org/techfocus/default.focus/sec/Electrokinetics%3A_Electric_Current_Technologies/cat/Overview/ (дата обращения 03.10.2024).
189. Environmental Fracturing // Clean-Up Information: [сайт]. - URL: https://www.clu-in.org/techfocus/default.focus/sec/Environmental_Fracturing/cat/Overview/ (дата обращения 03.10.2024).
190. Критерии подбора скважин для ГРП // Строительный магазин "Стройтех": [сайт]. - URL: https://stroiteh-msk.ru/foto/kriterii-podbora-skvazhin-dlya-grp.html (дата обращения 11.10.2024).
191. Evapotranspiration Covers // Clean-Up Information: [сайт]. - URL: https://www.clu-in.org/products/evap/ (дата обращения 03.10.2024).
192. Rock, S., Myers, B., Fiedler, L. Evapotranspiration (ET) covers. Int J Phytoremediation. 2012; 14 Suppl 1:1-25. doi: 10.1080/15226514.2011. 609195. PMID: 22574378: [сайт]. - URL: https://pubmed.ncbi.nlm.nih.gov/22574378/ (дата обращения: 02.09.2025).
193. Ground-Water Circulating Wells // Ciean-Up Information: [сайт]. - URL: https://www.clu-in.org/techfocus/default.focus/sec/Ground-Water_Circulating_Wells/cat/Overview/ (дата обращения 03.10.2024).
194. Field applications of in situ remediation technologies: ground-water circulation wells 1998, U.S. Environmental Protection Agency, Office of Solid Waste and Emergency Response, Technology Innovation Office Microform: [сайт]. - URL: https://www.epa.gov/sites/default/files/2015-04/documents/gwcirc.pdf (дата обращения 02.09.2025).
195. Horizontal Remediation Wells // Clean-Up Information: [сайт]. - URL: https://www.clu-in.org/techfocus/default.focus/sec/Horizontal_Remediation_Wells/cat/Overview/ (дата обращения 03.10.2024).
196. Технология бурения наклонно-направленных и горизонтальных скважин // Система дистанционного обучения Техноимпульс: [сайт]. - URL: https://timpuls56.ru/course/info.php?id=98 (дата обращения 11.10.2024).
197. In Situ Chemical Reduction // Clean-Up Information: [сайт]. - URL: https://www.clu-in.org/techfocus/default.focus/sec/In_Situ_Chemica_Reduction/cat/Overview/ (дата обращения 03.10.2024).
198. In Situ Flushing // Clean-Up Information: [сайт]. - URL: https://www.clu-in.org/techfocus/default.focus/sec/In_Situ_Flushing/cat/Overview/ (дата обращения 03.10.2024).
199. In Situ Oxidation // Clean-Up Information: [сайт]. - URL: https://www.clu-in.org/techfocus/default.focus/sec/In_Situ_Oxidation/cat/Overview/ (дата обращения 03.10.2024).
200. Multi-Phase Extraction // Clean-Up Information: [сайт]. - URL: https://www.clu-in.org/techfocus/default.focus/sec/Multi-Phase_Extraction/cat/Overview/ (дата обращения 03.10.2024).
201. Natural Attenuation // Clean-Up Information: [сайт]. - URL: https://www.clu-in.org/techfocus/default.focus/sec/Natural_Attenuation/cat/Overview/ (дата обращения 03.10.2024).
202. Nanotechnology: Applications for Environmental Remediation // Clean-Up Information: [сайт]. - URL: https://www.clu-in.org/techfocus/default.focus/sec/Nanotechnology:_Applications_for_Environmental_Remediation/cat/Overview/ (дата обращения 03.10.2024).
203. Nanotechnology: Applications for Environmental Remediation: [сайт]. - URL: https://www.clu-in.org/techfocus/default.focus/sec/Nanotechnology:_Applications_for_ Environmental_Remediation/cat/Application/#1 (дата обращения: 02.09.2025).
204. Permeable Reactive Barriers, Permeable Treatment Zones, and Application of Zero-Valent Iron // Clean-Up Information: [сайт]. - URL: https://www.clu-in.org/techfocus/default.focus/sec/Permeable_Reactive_Barriers%2C_Permeable_Treatment_Zones%2C_and_Application_of_Zero-Valent_Iron/cat/Overview/ (дата обращения 03.10.2024).
205. Phytotechnologies // Clean-Up Information: [сайт]. - URL: https://www.clu-in.org/techfocus/default2.focus/sec/Phytotechnologies/cat/Overview/ (дата обращения 03.10.2024).
206. Sediments // Clean-Up Information: [сайт]. - URL: https://www.clu-in.org/issues/default.focus/sec/Sediments/cat/Overview/ (дата обращения 03.10.2024).
207. Soil Vapor Extraction // Clean-Up Information: [сайт]. - URL: https://www.clu-in.org/techfocus/default.focus/sec/Soil_Vapor_Extraction/cat/Overview/ (дата обращения 03.10.2024).
208. Soil Washing // Clean-Up Information: [сайт]. - URL: https://www.clu-in.org/techfocus/default.focus/sec/Soil_Washing/cat/Overview/ (дата обращения 03.10.2024).
209. Solidification/Stabilization // Clean-Up Information: [сайт]. - URL: https://www.clu-in.org/techfocus/default2.focus/sec/Solidification-Stabilization/cat/Overview/ (дата обращения 03.10.2024).
210. Solvent Extraction // Clean-Up Information: [сайт]. - URL: https://www.clu-in.org/techfocus/default.focus/sec/Solvent_Extraction/cat/Overview/ (дата обращения 03.10.2024).
211. Thermal Treatment: Ex Situ // Clean-Up Information: [сайт]. - URL: https://www.clu-in.org/techfocus/default.focus/sec/Thermal_Treatment%3A_Ex_Situ/cat/Overview/ (дата обращения 03.10.2024).
212. Инсинерация как эффективный метод утилизации отходов / ООО "Эко-Спектрум" [сайт]. - URL: https://ecospectrum.ru/articles/541/ (дата обращения 11.10.2024).
213. Thermal Treatment: In Situ // Clean-Up Information: [сайт]. - URL: https://www.clu-in.org/techfocus/default.focus/sec/Thermal_Treatment%3A_In_Situ/cat/Overview/ (дата обращения 03.10.2024).
214. Исследование, систематизация и анализ выполненных и заложенных проектной документацией мероприятий по ликвидации объектов накопленного вреда с разработкой классификатора типовых технологических решений, применяемых для ликвидации однотипных объектов накопленного вреда окружающей среде [Текст]: отчет о НИР (заключ.): Государственное задание от 09.08.2022 N 051-00151-22-01 на 2022 год и на плановый период 2023 и 2024 годов / ФГБУ УралНИИ "Экология"; рук. Пичугин Е.А.; исполн. Пичугин Е.А., Зырянова Е.В., Соловьёва А.С. и др. - Пермь, 2022. - 437 с. N госрегистрации 122021800214-7. Инв. N УР-890-22.
215. Подготовка материалов для актуализации и доработки информационно-технического справочника по наилучшим доступным технологиям "Ликвидация объектов накопленного вреда окружающей среде [Текст]: отчет о НИР (заключ.): Государственное задание от 28.06.2023 N 051-00149-23-01 на 2023 год и на плановый период 2024 и 2025 годов / ФГБУ УралНИИ "Экология"; рук. Пичугин Е.А.; исполн. Пичугин Е.А., Зырянова Е.В., Соловьёва А.С. и др. - Пермь, 2023. - 276 с. N госрегистрации 123082500025-2. Инв. N УР-934-23.
216. Научно-методическое обеспечение деятельности Минприроды России по рассмотрению материалов выявления и оценки объектов накопленного вреда окружающей среде и подготовке информационно-аналитических заключений о возможности/невозможности их включения в ГРОНВОС [Текст]: отчет о НИР (заключ.): Государственное задание от 28.06.2023 N 051-00149-23-01 на 2023 год и на плановый период 2024 и 2025 годов / ФГБУ УралНИИ "Экология"; рук. Пичугин Е.А., Симакова Е.В.; исполн. Пичугин Е.А., Зырянова Е.В., Соловьёва А.С. и др. - Пермь, 2023. - 294 с. Инв. N УР-909-23.
217. Научно-методическое обеспечение деятельности Минприроды России по рассмотрению материалов выявления и оценки объектов накопленного вреда окружающей среде и подготовке информационно-аналитических заключений о возможности/невозможности их включения в ГРОНВОС [Текст]: отчет о выполнении работы по научно-методическому обеспечению (заключ.): Государственное задание от 17.09.2024 г. N 051-00139-24-02 на 2024 год и на плановый период 2025 и 2026 годов / ФГБУ "ВНИИ Экология"; рук. Пичугин Е.А.; исполн. Пичугин Е.А., Зырянова Е.В., Соловьёва А.С. и др. - Пермь, 2024. - 197 с.
218. Разработка предложений по актуализации информационно-технического справочника по наилучшим доступным технологиям
ИТС 53-2022 "Ликвидация объектов накопленного вреда окружающей среде" в части установления маркерных веществ в отношении выбросов, сбросов загрязняющих веществ, образованию отходов от технологий и выдачи рекомендаций для совместного применения справочников НДТ в части технологических решений по рекультивационным и ликвидационным мероприятиям на объектах накопленного вреда окружающей среде [Текст]: отчет о НИР (заключ.): Государственное задание от 17.09.2024 г. N 051-00139-24-02 на 2024 год и на плановый период 2025 и 2026 годов / ФГБУ "ВНИИ Экология"; рук. Пичугин Е.А.; исполн. Пичугин Е.А., Зырянова Е.В., Соловьёва А.С. и др. - Пермь, 2024. - 514 с. N госрегистрации 1023033000336-8.
219. Об индексах изменения сметной стоимости строительно-монтажных работ, индексах изменения сметной стоимости проектных и изыскательских работ и иных индексах на II квартал 2015 года [Электронный ресурс]:
письмо Минстроя России от 26.06.2015 N 19823-ЮР/08. Не опубликован // "ИС МЕГАНОРМ".
220. Об индексах изменения сметной стоимости на I квартал 2008 года [Электронный ресурс]:
письмо Росстроя от 16.01.2008 N ВБ-82/02. Не опубликован // "ИС МЕГАНОРМ".
221. Индексы изменения сметной стоимости строительно-монтажных работ, в том числе стоимости материалов, оплаты труда и эксплуатации машин и механизмов на I квартал 2009 года [Электронный ресурс]:
письмо Минрегиона Российской Федерации от 12.02.2009 N 3652-СК/08. Не опубликован // "ИС МЕГАНОРМ".
222. О мерах по завершению перехода на новую сметно-нормативную базу ценообразования в строительстве [Электронный ресурс]:
постановление Госстроя Российской Федерации от 08.04.2002 N 16 (ред. от 21.10.2003). Не опубликован // "ИС МЕГАНОРМ".
223. Об индексах изменения сметной стоимости строительства на I квартал 2005 года [Электронный ресурс]:
письмо Минрегиона Российской Федерации от 25.02.2005 N 645-ВГ/70. Не опубликован // "ИС МЕГАНОРМ".
224. Индексы изменения сметной стоимости строительно-монтажных работ, в том числе стоимости материалов, оплаты труда и эксплуатации машин и механизмов на I квартал 2010 года [Электронный ресурс]:
письмо Минрегиона Российской Федерации от 20.01.2010 N 1289-СК/08. Не опубликован // "ИС МЕГАНОРМ".
225. О рекомендуемых к применению в I кв. 2009 г. индексов изменения сметной стоимости СМР, индексов изменения сметной стоимости проектных и изыскательских работ, индексов изменения сметной стоимости прочих работ и затрат, а также индексов изменения сметной стоимости технологического оборудования [Электронный ресурс]:
письмо Минрегиона Российской Федерации от 12.02.2009 N 3652-СК/08. Не опубликован // "ИС МЕГАНОРМ".
226. Баюрова, Ю.Л. Искусственные геохимические барьеры для решения экологических и технологических задач / Ю.Л. Баюрова, Д.П. Нестеров, Е.А. Корнева, А.В. Светлов, Д.В. Макаров, В.А. Маслобоев // Вестник МГТУ. Труды Мурманского государственного технического университета. - 2013. - Т. 16. - N 3. - С. 536 - 541.
227. Романов, В.В. Комплекс геофизических методов исследований полигонов твердых отходов горнодобывающих предприятий / В.В. Романов, К.С. Мальский, А.И. Посеренин, А.Н. Дронов, А.А. Иванов [Электронный ресурс]: Горный информационно-аналитический бюллетень (научно-технический журнал). - 2018. - N 11. - С. 114 - 120 // URL: https://cyberleninka.ru/article/n/kompleks-geofizicheskih-metodov-issledovaniy-poligonov-tverdyh-othodov-gornodobyvayuschih-predpriyatiy/viewer.
228. Гапонов, Д.А. Выявление и оценка геофизическими методами локального техногенного загрязнения геологической среды в местах размещения отходов производства и потребления / Д.А. Гапонов [Электронный ресурс]: автореферат дис. на соиск. уч. степ. канд. геолого-мин. наук. - Ростов-на-Дону, 2011 // URL: https://www.geokniga.org/bookfiles/geokniga-vyyavlenie-i-ocenka-geofizicheskimi-metodami.pdf.
229. Основы георадиолокации [сайт]. - URL: https://geotim.ru/o-georadiolokacii/osnovy-georadiolokacii/ (дата обращения 03.10.2024).
230. Пат. 2251075C1 Российская Федерация, МПК G01C 11/00 (2006.01). Способ определения площади рельефа / Давыдов В.Ф., Новосёлов О.Н., Корольков А.В., Чернобровина О.К. Патентообладатель: Московский государственный университет леса N 2004104743/28; заявл. 19.02.2004; опубл. 27.04.2005.
231. Шарафутдинов, А.А. Применение беспилотных летательных аппаратов для дистанционного мониторинга окружающей среды / А.А. Шарафутдинов, С.А. Имамутдинов, А.Н. Мухаметьянова, А.Т. Табульдина, Т.А. Маннанов // Электронный научный журнал Нефтегазовое дело. - 2018. - N 2. - С. 99 - 116.
232. Вернюк, Ю.И. Опыт применения локальной аэрофотосъемки, геодезических методов и ГИС технологий при исследовании почв и объектов окружающей среды для экологической экспертизы / Ю.И. Вернюк, И.Ю. Савин, К.А. Гайдаров // Науки о Земле. - 2012. - N 2. - С. 7 - 12.
233. Исмагилов, А.А. Использование беспилотных летательных аппаратов при оценке окружающей среды в условиях Арктики / А.А. Исмагилов, А.А. Хайдаршин, Э.В. Нафикова // Приоритетные направления инновационной деятельности в промышленности. Сборник научных статей по итогам международной научной конференции. - 2020. - С. 98 - 99.
234. Калинин, А. Технологии информационного моделирования в изысканиях / А. Калинин [Электронный ресурс]: Качество в строительстве. - 2019. - Январь // URL: https://riastk.ru/kvs/adetail.php?ID=175257.
235. Флеенко, А.С. Разработка методики перехода к технологиям информационного моделирования в инженерных изысканиях (на примере инженерно-экологических изысканий) / А.С. Флеенко, А.Ф. Демьяненко // Вестник Новосибирского государственного университета. Серия: Информационные технологии. - 2021. - Т. 19. - N 3. - С. 70 - 82.
236. Комонов, С.В. Ветровая эрозия и пылеподавление [Электронный ресурс]: курс лекций / С.В. Комонов и др. - 2008 // URL: https://ekolog.org/books/15/.
237. Пат. 2293063C2 Российская Федерация, МПК C02F 1/66 (2006.01), C02F 103/10 (2006.01). Способ нейтрализации кислых шахтных вод и установка для его осуществления / Максимович Николай Георгиевич, Басов Вадим Наумович, Холостое Сергей Борисович. Правообладатель: Федеральное государственное научное учреждение "Естественнонаучный институт" N 2005106659/15; заявл. 14.03.2005; опубл. 10.02.2007.
238. Максимович, Н.Г. Очистка шахтных вод Кизеловского угольного бассейна с использованием отходов ОАО "Березниковский содовый завод" / Н.Г. Максимович, С.М. Блинов, С.Б. Холостов, В.Н. Басов // Экологические проблемы и здоровье населения Верхнекамья: материалы научно-практической конференции. - Пермь, 2002. - С. 94 - 97.
239. Пат. 2622132C1 Российская Федерация, МПК C02F 1/66 (2006.01), C02F 101/10 (2006.01), C02F 103/10 (2006.01). Способ нейтрализации кислых шахтных вод / Вайсман Яков Иосифович, Рудакова Лариса Васильевна, Пугин Константин Георгиевич, Глушанкова Ирина Самуиловна, Волкова Марина Валерьевна, Сахабиева Айсылу Рафилевна, Ефремчик Марина Сергеевна, Кадыров Шухрат Хасанжонович. Патентообладатель: Федеральное государственное бюджетное образовательное учреждение высшего образования "Пермский национальный исследовательский политехнический университет" N 2016119136; заявл. 17.05.2016; опубл. 13.06.2017.
240. Жабриков, С.Ю. Интеграционный минерально-матричный метод экологической нейтрализации отходов бурения и технологическое оборудование для его реализации / С.Ю. Жабриков // Естественные и математические науки в современном мире. - 2014. - N 22. - С. 65 - 78.
241. Пат. 2403102 Российская Федерация, МПК B09C 1/10 (2006.01). Способ фиторемедиации грунта, загрязненного углеводородами / Муратова Анна Юрьевна, Бондаренкова Анастасия Дмитриевна, Голубев Сергей Николаевич, Панченко Леонид Владимирович, Турковская Ольга Викторовна. Патентообладатели: Учреждение Российской академии наук Институт биохимии и физиологии растений и микроорганизмов РАН; Федеральное агентство по науке и инновациям N 2009118275/10; заявл. 15.05.2009; опубл. 10.11.2010.
242. Богданов, А.В. Разработка экологически безопасной технологии утилизации отходов ОАО "Байкальский ЦБК" / А.В. Богданов, А.С. Шатрова, О.Л. Качор // Геоэкология. Инженерная геология. Гидрогеология. Геокриология. - 2017. - N 2. - С. 47 - 53.
243. Богданов, А.В. Использование накопленных отходов целлюлозно-бумажной промышленности в качестве компонентного сырья для получения цементов / А.В. Богданов, А.С. Шатрова, О.Л. Качор // Экология и промышленность России - 2017. - Т. 21. - N 11. С. 15 - 19.
244. Шатрова А.С. Разработка экологически безопасной технологии переработки накопленных коллоидных осадков шлам-лигнина ОАО "Байкальский ЦБК" / А.С. Шатрова: дис. на соиск. уч. степ. канд. техн. наук. - Иркутск, 2018.
245. Пат. 2570460C1 Российская Федерация, МПК C02F 9/02 (2006.01). Способ очистки донных отложений водоемов от нефти и нефтепродуктов и устройство для его осуществления / Воробьёв Данил Сергеевич, Франк Юлия Александровна, Мерзляков Олег Эдуардович, Кулижский Сергей Павлинович. Патентообладатель: Федеральное государственное автономное образовательное учреждение высшего образования "Национальный исследовательский Томский государственный университет" (ТГУ, НИ ТГУ) N 2014142327/05; заявл. 21.10.2014; опубл. 10.12.2015.
246. Аэрощуп. Технология оценки, картирования и очистки донных отложений от нефти и пластикового мусора // АЭРОЩУП [сайт]. - URL: http://aeroprobe.ru/ (дата обращения 12.09.2022).
247. Валиев, В.С. Анализ мирового опыта утилизации осадка городских сточных вод / В.С. Валиев, Д.В. Иванов, Р.Р. Шагидуллин // Российский журнал прикладной экологии. - 2020. - N 4. - С. 43 - 50.
248. Пат. 2704420C1 Российская Федерация, МПК B01D 29/11. Геотуба и способ ее использования (варианты) / Погожев Пётр Иванович. Патентообладатель: Погожев Пётр Иванович N 2019109502; заявл. 01.04.2019, опубл. 28.10.2019.
249. Пат. 2712603C1 Российская Федерация, МПК B01D 29/11. Геотуба и установка для разделения суспензий при помощи фильтрования с использованием геотубы (варианты) / Погожев Пётр Иванович. Патентообладатель: Погожев Пётр Иванович N 2019119395; заявл. 21.06.2019, опубл. 29.01.2020.