Главная // Актуальные документы // ПриказСПРАВКА
Источник публикации
ИУС "Национальные стандарты", N 11, 2018
Примечание к документу
Документ
введен в действие на территории Российской Федерации с 1 февраля 2019 года (
Приказ Росстандарта от 24.08.2018 N 524-ст).
Название документа
"Изменение N 1 ГОСТ 25555.5-2014 "Продукты переработки фруктов и овощей. Методы определения диоксида серы"
(принято Протоколом Межгосударственного совета по стандартизации, метрологии и сертификации от 27.06.2018 N 53-2018)
"Изменение N 1 ГОСТ 25555.5-2014 "Продукты переработки фруктов и овощей. Методы определения диоксида серы"
(принято Протоколом Межгосударственного совета по стандартизации, метрологии и сертификации от 27.06.2018 N 53-2018)
Принято
Протоколом Межгосударственного
совета по стандартизации,
метрологии и сертификации
от 27 июня 2018 г. N 53-2018
ИЗМЕНЕНИЕ N 1 ГОСТ 25555.5-2014
"ПРОДУКТЫ ПЕРЕРАБОТКИ ФРУКТОВ И ОВОЩЕЙ.
МЕТОДЫ ОПРЕДЕЛЕНИЯ ДИОКСИДА СЕРЫ"
Принято Межгосударственным советом по стандартизации, метрологии и сертификации (протокол N 53-2018 от 27.06.2018)
Зарегистрировано Бюро по стандартам МГС N 14182
За принятие изменения проголосовали национальные органы по стандартизации следующих государств: AM, BY, KG, RU [коды альфа-2 по МК (ИСО 3166) 004]
Дату введения в действие настоящего изменения устанавливают указанные национальные органы по стандартизации <1>
--------------------------------
<1> Дата введения в действие на территории Российской Федерации - 2019-02-01.
"5 В настоящем стандарте учтены основные положения метода АОАС 990.28 "Определение сульфитов в пищевых продуктах. Оптимизированный метод Моньер-Вильямса" ("Sulfites in food. Optimized Monier-Williams Method").
"Настоящий стандарт распространяется на продукты переработки фруктов и овощей, в том числе сушеные фрукты, овощи, грибы и орехи (далее - продукты), и устанавливает методы определения массовой доли общего, свободного и связанного диоксида серы и сульфитов (сернистой кислоты):".
"
ГОСТ 26313-84 Продукты переработки плодов и овощей. Правила приемки, методы отбора проб" на "
ГОСТ 26313-2014 Продукты переработки фруктов и овощей. Правила приемки и методы отбора проб";
"
ГОСТ 26671-85 Продукты переработки плодов и овощей, консервы мясные и мясорастительные. Подготовка проб для лабораторных анализов" на "
ГОСТ 26671-2014 Продукты переработки фруктов и овощей, консервы мясные и мясорастительные. Подготовка проб для лабораторных анализов";
"
ГОСТ 12.1.007-76 Система стандартов безопасности труда. Вредные вещества. Классификация и общие требования безопасности";
"ГОСТ ISO 3696-2013 Вода для лабораторного анализа. Технические требования и методы контроля <**>";
"
ГОСТ 25336-82 Посуда и оборудование лабораторные стеклянные. Типы, основные параметры и размеры";
"
ГОСТ 8.417-2002 Государственная система обеспечения единства измерений. Единицы величин
ГОСТ 4517-2016 Реактивы. Методы приготовления вспомогательных реактивов и растворов, применяемых при анализе
ГОСТ ИСО 5725-2-2003 <*> Точность (правильность и прецизионность) методов и результатов измерений. Часть 2. Основной метод определения повторяемости и воспроизводимости стандартного метода измерений
ГОСТ 6552-80 Реактивы. Кислота ортофосфорная. Технические условия
ГОСТ 29252-91 (ИСО 385-2-84) Посуда лабораторная стеклянная. Бюретки. Часть 2. Бюретки без установленного времени ожидания
ГОСТ 34125-2017 Фрукты и овощи сушеные. Правила приемки, отбор и подготовка проб";
"--------------------------------
"4 Отбор и подготовка проб
"Метод основан на дистилляции в потоке инертного газа диоксида серы, выделяющегося из продукта при нагревании в кислой среде, окислении его раствором пероксида водорода (поглотительным раствором) и последующем титровании образовавшейся серной кислоты гидроокисью натрия в присутствии индикатора.
Метод не распространяется на продукты из сушеных лука, чеснока и капусты, содержащие в своем составе сероорганические соединения природного происхождения (диметилсульфид, метантиол и другие), которые дают ложноположительный результат.
Диапазон измерений массовой доли общего диоксида серы - от 10 мг/кг до 10000 мг/кг (от 0,001% до 1%).
Примечание - 1 мг/кг соответствует 1 млн
-1 (или 0,0001%). Пересчет из млн
-1 в % проводят по
ГОСТ 8.417.
Метод А применяют при возникновении разногласий".
"Весы неавтоматического действия по
ГОСТ OIML R 76-1, с пределами допускаемой абсолютной погрешности однократного взвешивания +/- 0,001 г.
Бюретки 1-2-2-10-0,02 или 1-2-2-25-0,05 по
ГОСТ 29252";
"Установка для дистилляции (см. рисунок 1), состоящая из:
- холодильника обратного шарикового ХШ или ХСН по
ГОСТ 25336 с длиной кожуха 300 мм;
- склянки для промывания газов с насадкой, оснащенной сетчатым диском из спеченной стеклянной крошки <*>, или склянки Дрекселя, вместимостью 100 см3.
Примечание - Допускается применение установок других типов <**> (см. приложение Б).
Перекись водорода по
ГОСТ 10929, ч.д.а., водный раствор объемной долей 30%";
"--------------------------------
<*> Например, каталожный номер 1632442281202, SIMAX. Данная информация приведена для удобства пользователей настоящего стандарта и не исключает возможность применения склянок других типов.
<**> Например, установка для дистилляции Behr Labor-Technik KSO2 (Германия) или установки для дистилляции с водяным паром KjeltecTM FOSS и K-355 BUCHI (Швейцария). Данная информация приведена для удобства пользователей настоящего стандарта и не исключает возможность применения установок других типов";
"Азот газообразный по
ГОСТ 9293 повышенной чистоты, в баллоне, оснащенном редуктором и регулятором (вентилем) расхода газа".
"6.3.5 Приготовление раствора пероксида водорода с массовой долей 3%
Приготовление раствора пероксида водорода с массовой долей 3% - по ГОСТ 4517-2016
(пункт 4.43).
6.3.6 Приготовление раствора серной кислоты с массовой долей 25%
Приготовление раствора серной кислоты с массовой долей 25% - по ГОСТ 4517-2016
(пункт 4.89)".
"Проводят два параллельных измерения в условиях повторяемости в соответствии с требованиями ГОСТ ИСО 5725-2-2003 (подраздел 3.14)";
"6.4.1 Перегонка
В зависимости от предполагаемого содержания диоксида серы (см. таблицу 1) пробу, подготовленную по разделу 4, взвешивают в стакане с точностью до 0,001 г и количественно переносят через воронку в перегонную колбу, ополаскивая стакан и воронку небольшими порциями воды так, чтобы общий объем воды в колбе составлял 200 - 300 см3.
Таблица 1
Рекомендуемая масса пробы в зависимости
от ожидаемого содержания диоксида серы в продуктах
Ожидаемое содержание SO2 в продукте, мг/кг | Масса пробы для определения, г |
До 10 | 150 - 100 |
От 10 " 20 | 50 - 100 |
" 20 " 100 | 50 - 10 |
" 100 " 200 | 5 - 10 |
" 200 " 500 | 2 - 5 |
Свыше 500 | Менее 2 |
Перегонную колбу помещают в колбонагреватель, соединяют с обратным холодильником капельной воронкой и поглотителями (см. рисунок 1, позиция 6). В поглотители приливают по 30 - 50 см3 раствора пероксида водорода с массовой долей 3%, 1 см3 смешанного индикатора, приготовленного по 6.3.4, и нейтрализуют смесь, добавляя по каплям раствор гидроокиси натрия молярной концентрации 0,01 моль/дм3 до появления зеленой окраски.
В капельную воронку наливают 30 - 50 см3 серной кислоты.
Баллон с азотом присоединяют через вентиль точной регулировки (регулятор расхода) к перегонной колбе.
Включают регулируемый нагрев и быстро добавляют из капельной воронки кислоту в колбу. Когда вся кислота будет добавлена, открывают подачу газа, устанавливая расход 0,2 дм3/мин, одновременно нагревая содержимое до кипения в течение 15 - 30 мин так, чтобы не происходило бурного вскипания или вспенивания. Выделяющийся диоксид серы увлекается потоком газа в поглотитель, о чем свидетельствует изменение окраски из зеленой в сине-зеленую или фиолетовую.
Примечания
1 Если изменение зеленой окраски произошло только в одном из поглотителей, то его содержимое используют для дальнейшего титрования по 6.4.2, ополаскивая водой наружные части сетчатого диска и трубки.
2 Если изменение зеленой окраски произошло в обоих поглотителях, то их содержимое объединяют и используют для дальнейшего титрования по 6.4.2, ополаскивая водой наружные части сетчатого диска и трубки.
3 При использовании установки для перегонки с водяным паром вместо серной кислоты используют ортофосфорную и сокращают время перегонки до 7 - 10 мин.
По истечении указанного времени сначала отсоединяют поглотители (во избежание всасывания содержимого из них обратно в перегонную колбу), затем прекращают нагрев и отключают подачу газа.
6.4.2 Титрование
Содержимое поглотителей количественно переносят в коническую колбу вместимостью 250 см3 и быстро титруют из бюретки раствором гидроокиси натрия молярной концентрации 0,01 моль/дм3 или 0,1 моль/дм3, приготовленным по 6.3.2 или 6.3.3, до перехода окраски раствора из сине-зеленой (фиолетовой) в зеленую.
Регистрируют объем раствора гидроокиси натрия V, пошедшего на титрование содержимого поглотителей".
"6.5.1 Массовую долю общего диоксида серы и сульфитов (сернистой кислоты)

, мг/кг, вычисляют по формуле

(1)
где V - объем раствора гидроокиси натрия, израсходованный на титрование содержимого поглотителей, см3;
C - фактическая молярная концентрация раствора гидроокиси натрия, моль/дм3;
32 - молярная масса эквивалента диоксида серы, г/моль;
1000 - коэффициент пересчета из г в мг;
m - масса пробы продукта, г.
За результат определения принимают среднеарифметическое значение результатов двух параллельных измерений, вычисленное до второго десятичного знака и округленное до первого десятичного знака".
"Конечную точку титрования определяют визуально в присутствии индикатора крахмала или потенциометрически";
"Диапазон измерений массовой доли диоксида серы - от 100 мг/кг до 20000 мг/кг (от 0,01% до 2%).
Примечание - 1 мг/кг соответствует 1 млн
-1 (или 0,0001%). Пересчет из млн
-1 в % проводят по
ГОСТ 8.417".
"Весы неавтоматического действия по
ГОСТ OIML R 76-1, с пределами допускаемой абсолютной погрешности однократного взвешивания +/- 0,001 г";
"Бюретки 1-2-2-10-0,02 или 1-2-2-25-0,05 по
ГОСТ 29252";
"Глиоксаль, водный раствор с массовой долей 40% <*>";
"--------------------------------
<*> Например, каталожный номер 128465, Aldrich. Данная информация приведена для удобства пользователей настоящего стандарта и не исключает возможность применения реактивов других марок";
"Титратор потенциометрический любого типа с диапазоном измерения напряжения от минус 2000 до 2000 мВ и основной погрешностью измерения +/- 1 мВ, оснащенный дозирующим устройством с наименьшим дозируемым объемом титранта 0,01 см3, магнитной мешалкой и комбинированным платиновым электродом".
"7.3.7 Приготовление раствора серной кислоты с массовой долей 10%
Приготовление раствора серной кислоты с массовой долей 10% - по ГОСТ 4517-2016
(пункт 4.89)".
"Проводят два параллельных измерения в условиях повторяемости в соответствии с требованиями ГОСТ ИСО 5725-2-2003 (подраздел 3.14)";
"Примечания
1 Визуальное титрование с индикатором крахмалом применяют только для светлоокрашенных или прозрачных продуктов.
2 При потенциометрическом титровании конечную точку определяют по скачку потенциала на кривой титрования с использованием программного обеспечения титратора или расчетным путем".
"Метод основан на прямом кулонометрическом титровании диоксида серы электрохимически генерированным йодом. Диоксид серы предварительно отгоняют из продукта.
Конечную точку титрования устанавливают биамперометрически с двумя поляризованными платиновыми электродами.
Диапазон измерений массовой доли общего диоксида серы - от 10 мг/кг до 10000 мг/кг (от 0,001% до 1%).
Примечание - 1 мг/кг соответствует 1 млн
-1 (или 0,0001%). Пересчет из млн
-1 в % проводят по
ГОСТ 8.417".
"Титратор кулонометрический автоматический любого типа, обеспечивающий кулонометрическое титрование в гальваностатическом режиме с интервалом токов от 1 до 50 мА и измерение количества электричества с относительной погрешностью не более 0,2% и состоящий из измерительного преобразователя, электрохимической ячейки, включающей вспомогательный и генераторный электроды, магнитную мешалку";
"В измерительную ячейку титратора, заполненную фоновым электролитом, вносят 0,1 см3 раствора пробы и включают режим автоматического титрования.
По окончании процесса прибор отключают. Показания цифрового индикатора соответствуют значению массы общего диоксида серы в пробе или значению количества электричества, затраченного на окисление диоксида серы (в зависимости от модификации прибора)".
"8.4.2.2 Массовую долю общего диоксида серы

, %, в пробе вычисляют по формуле

(4)
где 32 - молярная масса электрохимического эквивалента диоксида серы, г/моль;
I - сила тока, А;

- время пропускания тока через раствор, с;
V - объем аликвоты раствора, внесенного в ячейку для титрования, см3;
1000 - коэффициент пересчета из массовой доли в проценты;
m - масса пробы продукта, г;
F - константа Фарадея 96485,3415 (А·с)/моль".
"
Наименование показателя | Метод А | Метод Б | Метод В |
Значение показателя при диапазонах измерений массовой доли, мг/кг |
от 10 до 10000 включ. | от 100 до 20000 включ. | от 10 до 500 включ. | св. 500 до 10000 включ. |
";
заменить слова: "Окончание таблицы 3" на "Окончание таблицы 4".
"9.7 В случае если результат измерения массовой доли диоксида серы выходит за пределы границ диапазона измерений, то приводят следующую запись:
- для методов А и В: "Массовая доля общего диоксида серы менее 10 мг/кг" или "Массовая доля общего диоксида серы менее 0,001%";
- для метода Б: "Массовая доля общего диоксида серы менее 100 мг/кг" или "Массовая доля общего диоксида серы менее 0,01%".
Приложение А.
Подраздел А.1 изложить в новой редакции (кроме заголовка):
"Методика устанавливает приготовление аттестованных растворов общего диоксида серы, предназначенных для проведения оперативного контроля погрешности методики и для проверки работы установки.
Аттестованные растворы представляют собой водный раствор сернистой кислоты.
Примечание - Допускается использование образцов для контроля по [3]".
Таблица А.1. Графа "AP1-SO
2". Заменить
значение: 0,10 на 0,01;
графа "AP2-SO
2". Заменить
значение: 0,01 на 0,10.
"Кислота сернистая, водный раствор с массовой долей 5% - 6% <**>";
"--------------------------------
<**> Например, каталожный номер 1.00761.000 EMSURE, Merck. Данная информация приведена для удобства пользователей настоящего стандарта и не исключает возможность применения реактивов других марок";
Пункт А.4.1 изложить в новой редакции (кроме заголовка):
"В мерную колбу вместимостью 100 см3 пипеткой вносят 0,2 см3 раствора сернистой кислоты (см. А.3.2), доводят до метки водой при температуре (20 +/- 5) °C и перемешивают".
Пункт А.4.2 изложить в новой редакции (кроме заголовка):
"В мерную колбу вместимостью 100 см3 пипеткой вносят 2,0 см3 раствора сернистой кислоты (см. А.3.2), доводят до метки водой при температуре (20 +/- 5) °C и перемешивают".
Раздел А.7 изложить в новой редакции (кроме заголовка):
"Аттестованные растворы А.4.2 и А.4.3 используют свежеприготовленными в течение рабочего дня".
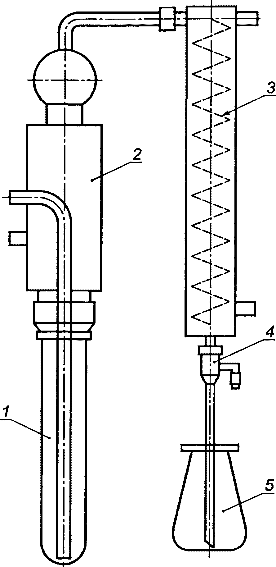
"Приложение Б
(справочное)
КОНСТРУКЦИЯ УСТАНОВКИ ДЛЯ ДИСТИЛЛЯЦИИ С ВОДЯНЫМ ПАРОМ
Б.1 Конструкция установки для дистилляции с водяным паром приведена на рисунке Б.1.
1 - емкость для продукта; 2 - каплеуловитель;
3 - холодильник; 4 - трубка для сбора конденсата;
5 - приемная колба
Рисунок Б.1 - Конструкция установки для дистилляции
с водяным паром".
"[3]
РМГ 57-2003 Государственная система обеспечения единства измерений. Образцы для контроля точности результатов испытаний пищевой продукции. Общие положения".