ИС МЕГАНОРМ: примечание. Взамен СНиП III-20-74 Постановлением Госстроя СССР от 04.12.1987 N 280 с 1 июля 1988 года введены в действие СНиП 3.04.01-87. |
Районы строительства | Мастика | Марки мастик для устройства | |||
участков кровель с уклоном, % | мест примыканий | ||||
< 2,5 | 2,5 < i <10 | 10 < i < 2,5 | |||
Севернее: 50° с. ш. для европейской и 53° с. ш. для азиатской частей СССР | Битумная горячая (ГОСТ 2889-80) | МБК-Г-55 | МБК-Г-65 | МБК-Г-75 | МБК-Г-85 |
Битумно-резиновая горячая | МБР-Г-55 | МБР-Г-65 | МБР-Г-75 | МБР-Г-85 | |
Битумно-бутилкаучуковая горячая (ТУ 21-27-40-83) | МПБП-65 | МББГ-70 | МББГ-80 | МББГ-80 | |
Битумная холодная | МБК-Х-65 | БМК-Х-65 | Не допускается | ||
Битумно-латексная кукерсольная | БЛК-Х-65 | БЛК-Х-65 | " | ||
Битумно-кукерсольная холодная | БК-Х-65 | БК-Х-65 | " | ||
Южнее этих районов | Битумная горячая | МБК-Г-65 | МБК-Г-75 | МБК-Г-85 | МБК-Г-100 |
Битумно-резиновая горячая | МБР-Г-65 | МБР-Г-75 | МБР-Г-85 | МБР-Г-100 | |
Битумно-бутилкаучуковая горячая | МББГ-65 | МББГ-70 | МББГ-80 | МББГ-80 | |
Битумная холодная | МБК-Х-75 | МБК-Х-75 | Не допускается | ||
Битумно-латексная кукерсольная холодная | БЛК-Х-75 | БЛК-Х-75 | " | ||
Битумно-кукерсольная холодная | БК-Х-75 | БК-Х-75 | " | ||


ИС МЕГАНОРМ: примечание. Взамен ГОСТ 10923-82 МНТКС 10.11.1993 принят ГОСТ 10923-93, введенный в действие с 1 января 1995 года. |
ИС МЕГАНОРМ: примечание. Взамен ГОСТ 7415-74 Постановлением Госстроя СССР от 30.12.1985 N 285 с 1 января 1987 года введен в действие ГОСТ 7415-86. |
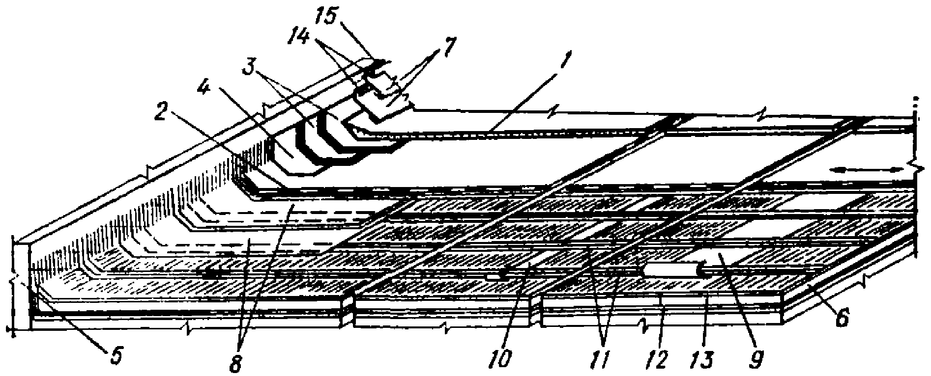
уклонах необходимо закрепление полотнищ рулонных материалов, как показано на рис. 3.
ИС МЕГАНОРМ: примечание. Взамен ГОСТ 5494-71 Постановлением Госстандарта России от 26.03.1996 N 204 с 1 января 1997 года введен в действие ГОСТ 5494-95. |
ИС МЕГАНОРМ: примечание. Постановлением Минстроя России от 28.11.1994 N 18-29 с 1 июля 1995 года введен в действие ГОСТ 8736-93. |
ИС МЕГАНОРМ: примечание. Взамен ГОСТ 5494-71 Постановлением Госстандарта России от 26.03.1996 N 204 с 1 января 1997 года введен в действие ГОСТ 5494-95. |
N пп. | Дефекты, встречающиеся при освидетельствовании кровель | Основные причины, вызывающие появление дефектов | Рекомендуемые мероприятия по устранению дефектов в кровлях при капитальном и текущем ремонте | ||||
Сквозные трещины в слоях водоизоляционного ковра на основных плоскостях кровель, выполненных по выравнивающим стяжкам | а) Отсутствие температурно-усадочных швов, появление трещин в основании под кровлей; | При капитальном ремонте следует: 2) применять кровельные мастики в соответствии с требованиями табл. 1. При текущем ремонте необходимо: 1) вдоль трещин освободить водоизоляционный ковер от защитного слоя (или крупнозернистой посыпки) по ширине до 1 м; 2) на трещину наложить полоску из рулонного материала шириной 150 - 200 мм и склеить ее в отдельных местах трещины с верхним слоем водоизоляционного ковра по одной стороне; 3) произвести сплошную наклейку трех, а на кровлях, заполняемых водой, четырех полотнищ кровельных материалов так, чтобы каждое верхнее полотнище перекрывало нижележащее и склеивалось с основным водоизоляционным ковром на 100 - 150 мм с каждой стороны трещины; 4) выполнить защитный окрасочный слой или крупнозернистую посыпку с применением материалов, указанных в разд. 4. Если площадь, где появились трещины в результате применения тугоплавких мастик, не превышает 15 - 20%, необходимо выполнить: по всей площади кровли, предварительно очищенной от гравия, окрасочного слоя или крупнозернистой посыпки, наклеить дополнительный слой рулонного материала с применением мастик, указанных в табл. 1; выполнить защитный окрасочный слой или крупнозернистую посыпку с применением материалов, указанных в разд. 4. Если площадь с трещинами превышает 15 - 20% - выполняется капитальный ремонт. | |||||
2. | Сквозные трещины в слоях водоизоляционного ковра, уложенного по плитным и композиционным утеплителям | Провисание водоизоляционного ковра вследствие больших зазоров, швов между плитами утеплителя, а также скошенных углов | При капитальном ремонте следует: 1) зазоры, швы между плитами, превышающие 5 мм, заполнить рейками из плитного утеплителя, скошенные углы заделать утеплителем. При устройстве теплоизоляции из двух слоев плит швы второго слоя не должны совпадать со швами первого слоя; 2) выполнить водоизоляционный ковер в соответствии с требованиями СНиП II-26-76. При текущем ремонте необходимо: 1) вдоль трещин по ширине 1 м освободить водоизоляционный ковер от защитного слоя или крупнозернистой посыпки; 2) отогнуть для удобства работы слои кровельных материалов, расположенных выше трещин; 3) заполнить швы рейками из теплоизоляции; 4) наклеить отогнутые слои кровельных материалов; 5) на трещину наложить полоску из рулонного материала шириной 150 - 200 мм и склеить ее в отдельных местах с одной стороны трещины с верхним слоем водоизоляционного ковра; 6) произвести сплошную наклейку трех, а на кровлях, заполняемых водой, четырех полотнищ кровельных материалов так, чтобы каждое верхнее полотнище перекрывало нижележащее и склеивалось с основным водоизоляционным ковром на 100 - 150 мм с каждой стороны трещины; 7) выполнить защитный окрасочный слой или крупнозернистую посыпку с применением материалов, указанных в разд. 4. | ||||
3. | Сквозные трещины в слоях водоизоляционного ковра, выполненного по монопанелям | Некачественное крепление монопанелей, отсутствие утеплителя на стыках панелей, зазоры между плитами утеплителя | При капитальном ремонте следует выполнять требования "Руководства по применению двухслойных кровельных панелей в покрытиях промышленных зданий" (М.: Стройиздат, 1980). При текущем ремонте следует: 1) на ширине 600 мм с каждой стороны трещины удалить гравийный слой, расчистить трещину от гравия и мусора; 2) разрезать водоизоляционный ковер на расстоянии 200 мм от концов трещины, удлинив трещину, и отогнуть ковер в обе стороны от трещины; 3) выполнить дополнительное крепление панелей самонарезающими винтами 6 x 25 по ТУ 67-72-75, ОСТ 34-1316-77 или комбинированными заклепками ЗК-10 ТУ 67-64-75, ОСТ 34-13-017-78, для чего нужно произвести выемку покровного слоя и теплоизоляции трубчатой фрезой диаметром 35 - 40 мм, отверстия в металле выполняются электрическими и пневматическими сверлами. Для закрепления панелей комбинированными заклепками применяют специальные клещи с удлиненной головкой-захватом, а для установки самонарезающих болтов - пневматические или электрические гайковерты; 4) после операции по закреплению и соединению панелей места установки самонарезающих винтов и комбинированных заклепок заполняют теплоизоляцией и гидроизолируют. Для этого используют ранее извлеченную теплоизоляцию либо специально нарезанные по размеру отверстий вкладыши из теплоизоляции, которые устанавливаются в отверстия "насухо" для восстановления кровли; 5) при наличии зазоров между панелями шириной более 5 мм необходимо заполнить их на толщину теплоизоляционных плит рейками из пенополиуретана, пенополистирола, асбестовым шнуром или минеральной ватой; 6) отогнутый ковер уложить на кровельную мастику и прижать от краев к трещине; 7) на трещину уложить "насухо" два слоя полиэтиленовой пленки шириной 400 - 500 мм, слой пленки перекрыть слоем рубероида шириной 600 - 700 мм, склеив с существующим ковром по ширине 100 мм с каждой стороны; 8) наклеить на битумной мастике три слоя рубероида так, чтобы каждое верхнее полотнище перекрывало нижележащее и склеивалось с существующей кровлей на 100 мм с каждой стороны трещины; 9) восстановить защитный гравийный или окрасочный слой. | ||||
Трещины в слоях водоизоляционного ковра у примыканий кровель к стенам | Осадка и прогиб несущих конструкций, отсутствие наклонного переходного бортика | При капитальном ремонте кровель, у которых осадка несущих конструкций продолжается, следует устраивать деформационные швы в соответствии с пп. 3.6; 3.9; 3.10; 3.14 и типовыми проектами серий 2.460-17, 2.460-18. При текущем ремонте необходимо: 1) снять или отогнуть для удобства работы защитный фартук и убрать слои кровельных материалов, расположенные выше трещины; 2) установить наклонный переходный бортик в соответствии с п. 3.6; 3) освободить водоизоляционный ковер от защитного слоя или крупнозернистой посыпки на ширину не менее 750 мм от низа переходного бортика; 4) наклеить три слоя рулонных материалов с напуском нижнего края полотнищ на основной водоизоляционный ковер не менее чем на 150 мм; 6) восстановить защитный окрасочный слой или крупнозернистую посыпку. | |||||
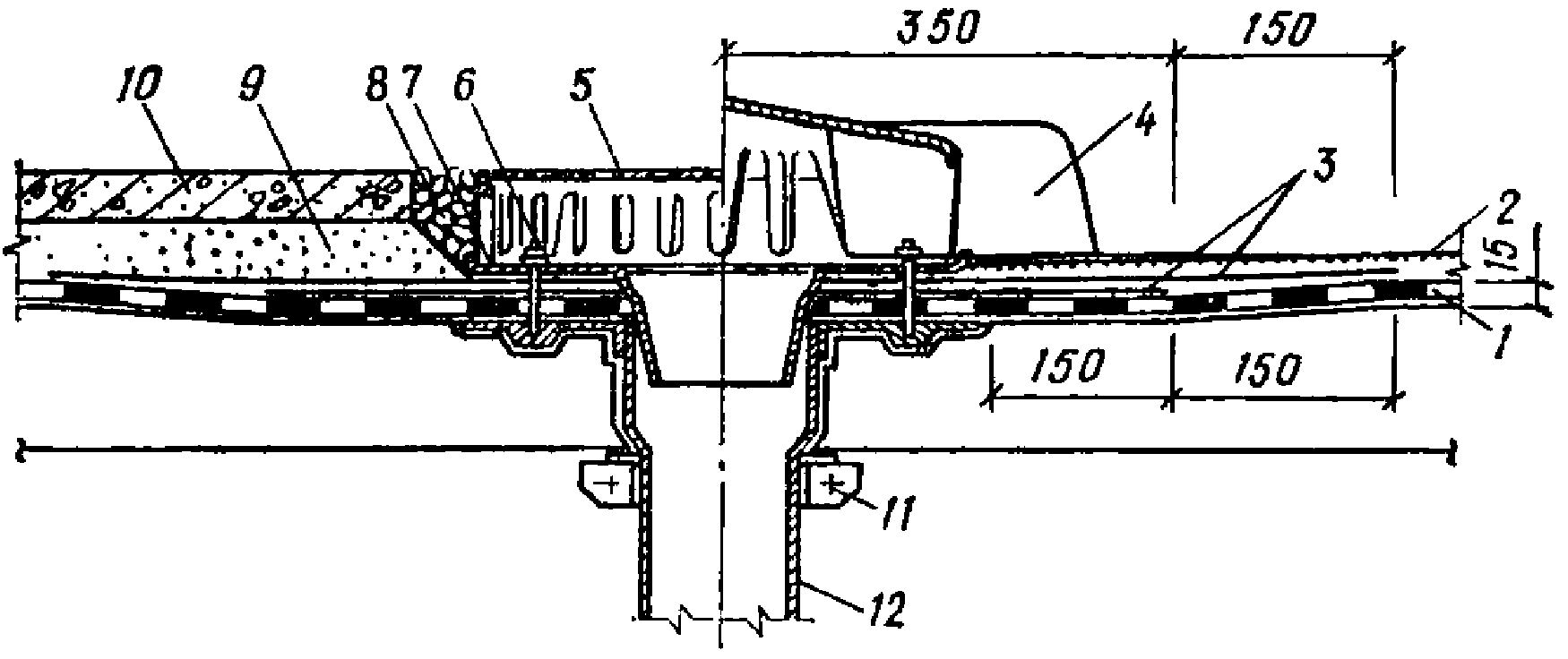
5. | Трещины в слоях водоизоляционного ковра у примыканий к трубам | Осадка и прогиб несущих конструкций, покрытий, отсутствие переходного бортика | При капитальном ремонте следует устанавливать патрубки для пропуска труб в соответствии с требованиями п. 3.6 и типовыми проектами серий 2.460-17, 2.460-18. При текущем ремонте необходимо: 1) снять защитный фартук, убрать часть кровельных материалов и материалы основания под кровлю, расположенные выше трещины; 2) установить патрубок из оцинкованной кровельной стали или поливинилхлорида высотой 250 мм, для кровель, заполняемых водой, 350 мм (считая от основания под кровлю), по периметру трубы (с зазором 20 - 25 мм). Пространство между патрубком и трубой заполнить минераловатным утеплителем; 3) установить переходный наклонный бортик (см. п. 3.6); 4) освободить водоизоляционный ковер от защитного слоя или крупнозернистой посыпки на ширине до 1 м по периметру от низа переходного бортика; 5) наклеить три слоя рулонных материалов с напуском нижнего края полотнищ на основной водоизоляционный ковер на 150 мм (см. рис. 1); 6) установить защитный фартук, приварив его к трубе или прикрепив хомутом с последующей герметизацией мастиками (п. 4.8); восстановить защитный окрасочный слой или крупнозернистую посыпку. | ||||
6. | Трещины в слоях водоизоляционного ковра в местах примыкания кровли по углам фонарей | Разрывы рулонного ковра образуются при воздействии температурных перепадов, т.к. кровли на участках углов фонарей являются местами концентрации напряжений | При капитальном ремонте следует выполнять работы в соответствии с п. 3.10, при этом нижний слой дополнительного водоизоляционного ковра в местах примыканий наклеивается только к вертикальным поверхностям, далее укладывается "насухо". При текущем ремонте необходимо: 1) освободить водоизоляционный ковер от защитного слоя или крупнозернистой посыпки на ширину 400 мм с каждой стороны трещины; 2) на трещину "насухо" наложить полоску полиэтиленовой пленки шириной 150 мм; 3) наклеить слои дополнительного водоизоляционного ковра так, чтобы нижний слой перекрывал пленку не менее чем на 100 мм и каждый вышележащий слой перекрывал нижележащий на 100 мм. Верхний слой должен закрепляться; 4) восстановить защитный окрасочный слой или крупнозернистую посыпку и защитный фартук. | ||||
7. | Вздутия под водоизоляционным ковром или же между слоями рубероида (так называемые воздушные и водяные мешки), срыв или отрыв полотнищ водоизоляционного ковра | Попадание влаги между слоями рубероида или в полость покрытия (под водоизоляционный ковер) в процессе строительства и эксплуатации кровель. | При капитальном ремонте следует наклеивать полотнища рулонных материалов с локализованной минеральной посыпкой (см. п. 3.8) по хорошо выровненным поверхностям основания под кровлю (см. п. 3.5). Наклеивать рулонные материалы необходимо по сухим и обеспыленным поверхностям в соответствии с типовым проектом (п. 4 серии 2.460-17 и 2.460-18). При текущем ремонте приемы устранения вздутий зависят от их площади и характера расположений. 1) В случаях когда вздутия площадью до 0,5 м2 располагаются под слоями ковра, необходимо: а) в центре вздутия освободить водоизоляционный ковер от защитного слоя или крупнозернистой посыпки на площади 10 x 10 см; б) заостренной металлической трубкой диаметром 8 мм, имеющей на острие конца 2 - 3 поперечных отверстия, сделать прокол в водоизоляционном ковре и выпустить влажный воздух из вздутия; в) заклеить место прокола одним слоем рубероида марки РКП-350А (РКП-350Б, РПП-300А, РПП-300Б) на кровельной мастике, покрыть его той же мастикой и восстановить защитный окрасочный слой или крупнозернистую посыпку. При появлении на этом участке повторного вздутия рубероидная полоска снимается и выполняются операции по пп. б, в. Для упрощения ремонта кровель в местах вздутия, расположенных между слоями водоизоляционного ковра, предлагается использовать способ, предложенный авторским свидетельством N 653364 <*>, который заключается в том, что вздутия прокалывают, а в полученные отверстия инъецируют растворитель из расчета 45 - 60 г на 1 м2 вздутия. Растворитель размягчает мастику, после чего через 3 - 4 часа ремонтируемый участок уплотняют. В качестве растворителя рекомендуется применять уайт-спирит. Для прокалывания вздутий используют такие же заостренные металлические трубки, которые рекомендованы в п. б. | ||||
2) При вздутиях водоизоляционного ковра большого размера и в местах, где после прокола и прикатки (по п. 1 б, в) не произошло склеивания ковра, а также в местах деформированных вздутий необходимо: а) освободить водоизоляционный ковер от защитного гравийного слоя или крупнозернистой посыпки на участке предполагаемого крестообразного разреза слоев кровли; б) разрезать слои рубероида до паровоздушной полости и отогнуть их в стороны для просушки; в) найти складки, по которым поступает вода к местам вздутий, разрезать их и отогнуть в стороны; г) после высыхания вскрытую поверхность покрыть слоем холодной или горячей кровельной мастики (при применении горячей мастики вскрытую поверхность цементно-песчаной стяжки следует огрунтовать); д) отогнутые части вздувшихся полотнищ, а в необходимых случаях и ведущих к ним складок сразу же уложить на кровельную мастику и тщательно прижать от краев к разрезу; е) по местам разреза слоев кровли наклеить полоски рубероида, которые покрываются мастикой; ж) восстановить защитный окрасочный слой или крупнозернистую посыпку. 3) При повторных групповых вздутиях водоизоляционного ковра необходимо: а) в центре вздутия на площади 80 x 80 см кровлю освободить от гравийного защитного слоя или крупнозернистой посыпки; б) сделать крестообразный разрез 20 x 20 мм во вздувшемся водоизоляционном ковре и отвернуть его; | |||||||
| |||||||
![]() Эск. к табл. 2 1 - утеплитель; 2 - основание под кровлю; 3 - основной водоизоляционный ковер; 4 - защитный слой из гравия, втопленного в мастику; 5 - гравий (щебень) из теплоизоляционного материала; 6 - стальной оцинкованный фланец с патрубком диаметром 38 мм; 7 - вытяжная пластмассовая трубка с раструбом; 8 - манжета из мастичного материала, наклеенного на холодной каучуковой мастике; 9 - герметизирующая тиоколовая мастика строительного назначения | в) по центру крестообразного разреза установить оцинкованный фланец с патрубком, предназначенный для выравнивания упругости водяных паров с наружным воздухом (рис. 4); наклеить на фланец отвернутые слои водоизоляционного ковра и загерметизировать сопряжение с патрубком; г) установить вытяжную пластмассовую трубку, наклеить манжету из эластичного материала (бутизола, бутилкора, гидробутила или др.) на каучуковом клее; д) восстановить защитный слой и сделать герметизацию манжеты с вытяжной трубкой. | ||||||
8. | Полотнища рулонных материалов приклеиваются к неподготовленной выступающей поверхности; отсутствует надежное закрепление верхнего края водоизоляционного ковра и фартука | При капитальном ремонте следует наклеивать полотнища дополнительного водоизоляционного ковра к оштукатуренным и предварительно огрунтованным выступающим вертикальным поверхностям. При текущем ремонте необходимо: 1) у примыканий к поверхностям кладки снять защитный фартук; отставший рулонный ковер отогнуть вниз; в выступающей поверхности сделать штрабу и установить деревянные пробки (на высоте не менее 200 мм от основания под кровлю), к которым закрепить антисептированный деревянный брусок; поверхность примыкания ниже деревянного бруска оштукатурить цементно-песчаным раствором и огрунтовать; отогнутую часть водоизоляционного ковра очистить от пыли и огрунтовать; нанести горячую кровельную мастику на вертикальную поверхность примыкания и отвернутую часть водоизоляционного ковра, затем плотно склеить их. Край отогнутого ковра прибить к деревянному бруску. Затем наклеить дополнительный слой рулонного материала; выполнить работы по установке защитных фартуков с закреплением их краев в штрабе (пп. 3.9, 3.14) и заделать цементно-песчаным раствором часть штрабы выше защитного фартука; 2) у примыканий к бетонным поверхностям снять защитный фартук; отставший рулонный ковер отогнуть вниз; поверхность примыкания ковра затереть цементно-песчаным раствором; отогнутую часть водоизоляционного ковра, а также поверхность примыкания очистить от пыли и огрунтовать; после высыхания грунтовки нанести горячую мастику на вертикальную поверхность примыкания и отогнутую часть водоизоляционного ковра, затем склеить их; при помощи дюбелей закрепить к бетонной поверхности стальную полосу (пп. 3.9, 4.8); закрепить верхний край защитного фартука на стальной полосе, обрезать край рулонного ковра и загерметизировать мастиками (см. п. 4.8) шов между бетонной поверхностью и защитным фартуком. Мастику окрасить краской БТ-177; 3) у примыканий к металлическим вертикальным поверхностям снять защитный фартук; отставший рулонный ковер отогнуть вниз; отогнутую часть водоизоляционного ковра, а также поверхность примыкания очистить от пыли и огрунтовать; после высыхания грунтовки нанести горячую мастику на вертикальную поверхность примыкания и отогнутую часть водоизоляционного ковра, после чего склеить их; закрепить комбинированными заклепками или самонарезающими винтами стальную полосу 4 x 40 мм по всей длине крепления водоизоляционного ковра и защитного фартука; примыкание защитных фартуков зачеканить герметизирующими мастиками марок АМ-05; эластосил 11-06; УТ-31; УТ-32; бутепрол 2М; УМС-50; сверху мастику окрасить краской БТ-177; 4) при сильной изношенности отставшего водоизоляционного ковра (при наличии в нем сквозных трещин, разрывов) необходимо: | |||||
9. | Сползание кровли в местах примыкания к вертикальным поверхностям. Расслаивание полотнищ рулонных материалов и появление в них повреждений | Недостаточная теплостойкость мастик, применяемых для наклейки слоев дополнительного водоизоляционного ковра. Отсутствие крепления водоизоляционного ковра и защитных фартуков | При капитальном ремонте следует применять кровельные мастики, рекомендуемые табл. 1 для мест примыканий, и своевременно выполнить мероприятия, предусмотренные п. 3.9. При текущем ремонте следует: 1) при небольших, только наметившихся сползаниях мастики: закрепить водоизоляционный ковер; окрасить места примыканий краской БТ-177; выполнить защитные фартуки в соответствии с п. 3.9; 2) при сползании мастики, расслоении и повреждении полотнищ водоизоляционного ковра (встречающихся в случаях, когда на плоских кровлях места примыканий выполняются с использованием легкоплавких кровельных мастик, применяемых на основных плоскостях кровель) необходимо: освободить от закрепления в верхней части и убрать все отставшие полотнища рулонных материалов совместно со сплывшей вниз мастикой; освободить водоизоляционный ковер у мест примыкания от защитного слоя или крупнозернистой посыпки на ширину 350 - 400 мм; выполнить слои дополнительного водоизоляционного ковра (пп. 3.10 и 3.11) на мастиках с требуемой теплостойкостью, закрепив их в верхней части; выполнить защитный окрасочный слой или крупнозернистую посыпку (в случае, если рулонный материал верхнего слоя не имеет крупнозернистой посыпки) из материалов, приведенных в п. 4.1; | ||||
10. | Сползание полотнищ рулонных материалов защитного битумного или окрасочного слоя на основных плоскостях кровель | Применение битумов или кровельных мастик с недостаточной теплостойкостью, наклейка рулонных материалов вдоль конька кровель | При капитальном ремонте следует применять кровельные мастики с требуемой теплостойкостью (см. табл. 1); наклеивать основные слои водоизоляционного ковра вдоль ската; при этом каждый слой кровли должен поочередно заходить через конек, перекрывая соответствующий слой на другом скате на ширину 0,25 м. При текущем ремонте необходимо: 1) после устранения складчатости, вызванной сползанием полотнищ рулонных материалов, произвести окраску водоизоляционного ковра краской БТ-177. Окраска должна периодически возобновляться; 2) если краска БТ-177 не дает желаемых результатов, сползающие полотнища снимают и на их место наклеивают рулонные материалы вдоль ската на мастиках с требуемой теплостойкостью (см. табл. 1). | ||||
11. | Протекание кровель в местах установки водосточных воронок | Отсутствие зажимных хомутов и компенсирующих стыков между водоотводящим патрубком и стояком, герметичного соединения между водоприемной чашей и поддоном | При капитальном ремонте следует выполнять требования п. 3.13 и типовых проектов серий 2.460-17, 2.460-18. При текущем ремонте необходимо: 1) переделать соединение между водоотводящим патрубком и стояком с компенсирующим стыком и установить зажимные хомуты; 2) загерметизировать соединение между водоприемной чашей и поддоном мастиками марок УМС-50 (п. 4.8); перед нанесением мастик места герметизации должны быть высушены, очищены от пыли и огрунтованы; | ||||
| |||||||
12. | Протекание кровли в местах пропуска через кровлю вентиляционных труб | Отсутствие герметичности в соединении дождезащитных зонтов с трубами | При капитальном ремонте следует выполнять требования СНиП II.26-76 и типовых проектов серий 2.460-17, 2.460-18 При текущем ремонте необходимо: 1) ослабить хомут, закрепляющий зонт на трубе, и заложить между зонтом и трубой прокладку из атмосферостойкой резины (ГОСТ 7338-77 с изм.); промазать герметиком место соединения зонта с трубой и затянуть хомуты; 2) уплотнить герметизирующую мастику, а место соединения трубы с дождезащитным зонтом окрасить краской БТ-177. | ||||
13. | Протекание кровли в местах пропуска сигнальных трубок | Отсутствие переходных наклонных бортиков либо металлических рамок, заполненных герметиком | При капитальном ремонте следует выполнить требования СНиП II.26-76, типовых проектов серий 2.460-17, 2.460-18 При текущем ремонте необходимо: 1) освободить водоизоляционный ковер вокруг трубы от гравийного защитного слоя или крупнозернистой посыпки на площади 200 x 200 мм; 2) установить металлическую рамку размером 150 x 150 мм так, чтобы труба проходила через ее центр, и залить ее герметиком; 3) восстановить защитный окрасочный слой или крупнозернистую посыпку. | ||||
14. | Просадка участков кровель | Применение сжимаемых утеплителей и неармированных выравнивающих стяжек, а также битума, температура которого превышала 120 °C, для наклейки рулонного ковра по пенополистирольному утеплителю | При капитальном ремонте следует применять: 1) утеплители, не деформирующиеся при воздействии эксплуатационных нагрузок; 2) армированные выравнивающие стяжки (п. 3.5) по сжимаемым утеплителям, при этом теплозащитные качества утеплителя должны приниматься с учетом его обжатия под длительно действующей нагрузкой; 3) температура битума для наклейки нижнего слоя водоизоляционного ковра не должна превышать 120 °C. При текущем ремонте необходимо: при использовании сжимаемых утеплителей: 1) снять слои водоизоляционного ковра на просевшем участке, убрать выравнивающую стяжку и добавить слои более жесткого теплоизоляционного материала; 2) выполнить стяжку из армированного цементно-песчаного раствора (п. 3.5) по уплотненному теплоизоляционному материалу; 3) наклеить слои водоизоляционного ковра так, чтобы каждый из них перекрывал нижележащий и склеивался со старым участком кровли не менее чем на 150 мм; при использовании пенополистирольного утеплителя: | ||||
| |||||||
1) снять слои водоизоляционного ковра на просевшем участке и добавить утеплителя (пенополистирольные плиты, минераловатные плиты повышенной жесткости, плиты теплоизоляционные из пенопласта на основе резольных фенолформальдегидных смол ГОСТ 20915-75); | |||||||
15. | Гравий защитного слоя полностью втоплен в мастику и не выполняет функций защиты от воздействия солнечных лучей, поверхность кровли черная | Избыточное количество мастики, нанесенной на водоизоляционный ковер для устройства защитного слоя | При капитальном ремонте следует выполнять требования п. 3.2. При текущем ремонте необходимо: 1) при возможности дополнительных нагрузок поверх имеющегося защитного слоя насыпать слой гравия; 2) если по условиям дополнительных нагрузок не допускается засыпка дополнительного слоя гравия, избыток мастики необходимо удалить и заново выполнить защитный гравийный слой. Для снятия лишней мастики следует использовать металлические скребки с электроподогревом - электрошпатели, выполненные по типу электропаяльников. | ||||
Потеря крупнозернистой посыпки кровельным материалом. Появление каверн и трещин в покровном слое | Низкая степень адгезии крупнозернистой посыпки к покровному слою. Расклинивающее действие воды и выветривание крупнозернистой посыпки. Старение покровного слоя | При капитальном ремонте рекомендуется применять кровельный рубероид с крупнозернистой посыпкой или посыпкой из сланцевой гали, имеющих высокую степень адгезии к битумному покровному слою. Для повышения долговечности кровель рекомендуется наносить окрасочные составы по "Руководству по применению защитных окрасочных составов для повышения долговечности скатных кровель". М.; Стройиздат, 1981. При текущем ремонте следует: 1) смести отставшую посыпку; 2) окрасить водоизоляционный ковер защитным составом холодной, что более предпочтительно, или горячей кровельной мастикой с немедленным втапливанием в нее крупнозернистой посыпки из материалов, приведенных в п. 4.4; 3) после высыхания окрасочного состава или мастики излишек крупнозернистой посыпки смести. | |||||
17. | Продольная и поперечная усадка полотнищ рулонных материалов | Недостаточная пропитка картонной основы рулонных материалов. Дефекты появляются вместе с потерей крупнозернистой посыпки кровельным материалом | При капитальном ремонте, если площадь складчатости кровли более 40%, рекомендуется применять новые рулонные кровельные материалы с показателями, не ниже предусмотренных ГОСТами. В этом случае необходимо: 1) складки разрезать и поднявшуюся часть удалить; 2) по подготовленной поверхности наклеить кровельный рубероид с крупнозернистой посыпкой или рубероид с пылевидной посыпкой. При применении последнего необходимо выполнить работы по устройству защитного окрасочного слоя и крупнозернистой посыпки. При текущем ремонте необходимо: 1) складки разрезать и поднявшиеся части полотнищ отвернуть в стороны; 2) после просушивания дефектного места нанести горячую мастику на полость, находящуюся под складкой, и прижать к ней отвернутые части полотнищ; 3) после устранения складчатости по поверхности водоизоляционного ковра выполнить работы, предусмотренные при текущем ремонте, поз. 16 настоящей таблицы. | ||||
18. | Появление трещин в битумной окраске | Старение битума под воздействием солнечной радиации и атмосферных факторов, которое происходит особенно интенсивно при применении тугоплавких битумов и при отсутствии защитного слоя | При капитальном ремонте следует применять битумные кровельные мастики (ГОСТ 2889-80), в состав которых входят битумные вяжущие и наполнители. Наполнители повышают прочность и трещиностойкость мастик. Нельзя оставлять битумные мастики не защищенными от воздействия солнечной радиации. При текущем ремонте необходимо: 1) битумную окраску, а также трещины очистить от пыли; 2) покрыть ремонтируемую поверхность холодной битумной мастикой толщиной 1,5 мм или окрасочным слоем и выполнить по ней посыпку из материалов, приведенных в разд. 4. | ||||
19. | Вырывы верхнего слоя водоизоляционного ковра | Наличие вздутий с механическими повреждениями по их периметру и воздействие порывов ветрового отсоса | При капитальном ремонте для предупреждения вырывов следует выполнять требования, изложенные в п. 3.9. При текущем ремонте необходимо: 1) участок с вырванным верхним полотнищем рулонного материала высушить, очистить от пыли, а прилегающий к нему (примерно на 20 см по периметру) водоизоляционный ковер освободить от крупнозернистой посыпки; 2) наклеить полотнище рулонного материала, которое должно перекрывать поврежденный участок и склеиваться с неповрежденной частью водоизоляционного ковра на ширину 10 - 15 см; 3) на отремонтированный участок нанести слой кровельной мастики или защитный окрасочный слой и восстановить крупнозернистую посыпку. | ||||
Механические повреждения кровель в местах перепадов высот | Отсутствие защитного слоя, предохраняющего кровлю от ударов сосулек в местах перепадов высот; небрежное выполнение смежных строительных и монтажных работ, которые приводят к механическим повреждениям кровель | При капитальном ремонте рекомендуется устраивать внутренние водостоки. При наличии перепадов высот и кровель с наружным отводом воды не должно допускаться сбрасывание талой воды с вышерасположенных участков кровель на участки с медленным подтаиванием снега и льда. На участках возможного повреждения кровель необходимо предусматривать специальные защитные слои из гравия, армоцемента, асфальтобетона. На участках примыканий к стенам слои дополнительного водоизоляционного ковра должны иметь подъем на высоту не менее 35 см. Верхний край водоизоляционного ковра закрепляют и защищают в соответствии с п. 3.9. При текущем ремонте необходимо: 1) очистить от пыли и освободить от защитного слоя или крупнозернистой посыпки участок вокруг поврежденного места на расстоянии не менее 250 мм и высушить; 2) наклеить на поврежденный участок два или три слоя рубероида с таким расчетом, чтобы нижний слой склеивался с поверхностью основного водоизоляционного ковра не менее чем на 100 мм по всему периметру; каждый последующий наклеиваемый слой должен перекрывать нижележащий и склеиваться с основным водоизоляционным ковром не менее чем на 100 мм; 3) выполнить защитный слой из гравия, армоцемента или асфальтобетона. | |||||
21. | Механические повреждения при очистке кровель от снега, наледей, пыли | Небрежное выполнение работ по очистке кровель | При капитальном ремонте рекомендуется устраивать защитные слои, предохраняющие водоизоляционный ковер от механических повреждений (пп. 3.2 и 3.3). Для уменьшения отложений снега следует выполнять покрытия с возможно меньшим количеством фонарей, которые должны располагаться параллельно господствующим в зимнее время ветрам. Для уменьшения отложений пыли на кровлях необходимо предусматривать эффективные средства по улавливанию пыли у источников пылевыделения. При текущем ремонте рекомендуется выполнять работы, приведенные в поз. 20 настоящей таблицы; при этом крупнозернистая посыпка или защитный слои из гравия, втопленного в кровельную мастику, должны соответствовать типам кровель, на которых осуществляется ремонт. | ||||
22. | Участки кровель, на которых длительное время застаивается вода | Образование микрорельефа вследствие неравномерной осадки несущих конструкций, расположения водосточных воронок на повышенных местах и местах, близких к парапетам и стенам, что создает трудности в выполнении изоляции вокруг воронок и обеспечении слива воды | При текущем ремонте необходимо: 1) на пониженных участках, где застаивается вода слоем до 30 мм, выполнить дополнительный слой из гравия на мастике; 2) на более низких участках установить дополнительные водосточные воронки. | ||||
N пп. | Оборудование | Назначение | Техническая характеристика |
Машина СО-98А | Для двухсторонней или односторонней очистки от посыпки и перемотки рулонных материалов | Средняя скорость протягивания материалов, м/с - 0,25 Установленная мощность, кВт - 2,2 Габариты, мм - 1250 x 1450 x 1180 Масса, кг - 270 | |
2. | Машина СО-99 | Для наклейки рулонных материалов на плоских кровлях промышленных зданий, а также для устройства аналогичных кровель | Производительность, м2/ч - 250 Ширина рулонов, мм - 1000 - 1025 Расход мастики, л/м2 - 1 Вместимость бака для мастики, л - 100 Рабочая скорость передвижения, м/мин - 12,6 Мощность электродвигателя, кВт - 0,75/1/1 Габариты, мм - 1370 x 1666 x 1040 Масса, кг - 370 |
3. | Машина СО-100А | Для подогрева, перемешивания и транспортирования горячих битумных мастик на кровлю, приготовляемых централизованно и доставляемых к месту производства работ битумовозами | Вместимость, м3 - 1,5 Высота подачи мастики на кровлю, м - 50 Производительность насоса, м3/ч - 6 Установленная мощность, кВт - 60 Габариты, мм - 5260 x 2400 x 3430 Масса, кг - 4300 |
4. | Машина СО-106 | Для удаления воды с основания кровли в гражданском и промышленном строительстве при производстве кровельных работ | Производительность, л/мин - 20 Вместимость бака, л - 20 Потребляемая мощность, кВт - 2,2 Длина всасывающего рукава, м - 2 Габариты, мм - 910 x 535 x 1000 Масса, кг - 60 |
5. | Машина СО-107 | Для сушки основания кровли и удаления наледи с основания кровли. Машина применяется в строительстве при производстве работ в любых климатических условиях | Производительность, м2/ч: при сушке основания кровли - 50, при удалении наледи толщиной 1 - 1,5 мм - 100 Производительность вентилятора, м3/ч - 2000 Расход топлива, л/ч - 20 Вместимость бака, л - 30 Габариты, мм - 1770 x 945 x 1150 Масса, кг - 135 |
6. | Машина СО-108 | Для раскатки и прикатки рулонных материалов к основанию кровли при устройстве гидроизоляционного ковра кровли в промышленном и гражданском строительстве | Производительность, м2/ч - 400 Максимальная ширина прикатываемого материала, мм - 1025 Количество обслуживаемого персонала, чел. - 1 Габариты, мм - 1065 x 960 |
7. | Машина СО-118 | Для подачи и нанесения методом распыления связующих и армирующих материалов при мастичных кровлях | Производительность, м3/ч - 1,5 Дальность подачи, м: по горизонтали - 80 по вертикали - 60 Мощность, кВт - 13,3 Габариты, мм - 6900 x 2500 x 2800 Масса, кг - 4150 Обслуживающий персонал, чел. - 2 |
8. | Агрегат СО-119А и СО-120А | Для перекачки битумных мастик с пылевидным, волокнистым или комбинированным наполнителем | Производительность, м3/ч - 1,5; 6 Давление нагнетания, МПа - 0,7; 1,5 Мощность двигателя, кВт - 2,5; 8,5 Габариты, мм - 710 x 360 x 320; 920 x 520 x 470 Масса, кг - 90; 200 |
Машина СО-122А | Для приема битумных мастик, поддержания заданной температуры и для нанесения их на кровлю при устройстве гидроизоляционного ковра, пароизоляции и огрунтовки | Производительность, м3/ч - 0,9 Температура наносимых мастик, °C - 50 - 200 Емкость бака для мастик, л - 90 Потребляемая мощность, кВт - 4,9 Габариты, мм - 1600 x 85 x 1100 Масса, кг - 160 | |
10. | Автогудронатор Д-251 Д-640 Д-640А С-447 С-447М С-953 | Транспортирование битумов и мастик | - |
11. | Подъемник Т-41 | Поднятие грузов | - |
12. | Битумный котел для хранения мастики | - | СКБ Мосстрой. Чертеж 516.00.00 |
13. | Компрессор СО-7А | - | - |
14. | Контейнер типа "Р" для перевозки, хранения и подачи рубероида | - | СКБ "Кассет-деталь". Чертеж ОР-2042 |
15. | Бачок для битумной мастики с крышкой | Для переноса мастик по кровле | СКБ Мосстрой. Чертеж 07.00.00 |
16. | Дифференцированный каток ДК-1 | Для прикатки рулонных материалов | - |