Главная // Актуальные документы // МетодикаСПРАВКА
Источник публикации
М.: НИИЖБ Госстроя СССР, 1981
Примечание к документу
Название документа
"Руководство по отделке внутренних поверхностей стеновых панелей из ячеистого бетона для производственных зданий"
(утв. НИИЖБ Госстроя СССР 13.01.1981)
"Руководство по отделке внутренних поверхностей стеновых панелей из ячеистого бетона для производственных зданий"
(утв. НИИЖБ Госстроя СССР 13.01.1981)
директором НИИЖБ
13 января 1981 года
НАУЧНО-ИССЛЕДОВАТЕЛЬСКИЙ ИНСТИТУТ
БЕТОНА И ЖЕЛЕЗОБЕТОНА ГОССТРОЯ СССР
(НИИЖБ)
РУКОВОДСТВО
ПО ОТДЕЛКЕ ВНУТРЕННИХ ПОВЕРХНОСТЕЙ СТЕНОВЫХ ПАНЕЛЕЙ
ИЗ ЯЧЕИСТОГО БЕТОНА ДЛЯ ПРОИЗВОДСТВЕННЫХ ЗДАНИЙ
Печатается по решению расширенного научно-технического совещания лаборатории ячеистых бетонов и конструкций НИИЖБ от 26 сентября 1980 г.
| | ИС МЕГАНОРМ: примечание. В официальном тексте документа, видимо, допущена опечатка: имеется в виду СН 277-80 "Инструкция по изготовлению изделий из ячеистого бетона", а не СН 277-81 "Инструкции по технологии изготовления изделий из ячеистого бетона". | |
Руководство составлено в развитие "Инструкции по технологии изготовления изделий из ячеистого бетона"
(СН 277-81) и содержит основные положения по выбору способов защиты и отделки внутренних поверхностей стеновых панелей из ячеистого бетона для производственных зданий.
Изложены требования к материалам и их физико-технические свойства. Даны рекомендации по подготовке поверхности, приготовлению и нанесению защиты и отделки, хранению и контролю качества исходных материалов и панелей с защищенной поверхностью.
Руководство предназначено для инженерно-технических работников проектных и строительных организаций, выполняющих защиту и отделку панелей в заводских и построечных условиях, а также организаций, эксплуатирующих здания с влажным режимом помещений.
В промышленных и животноводческих зданиях с влажным режимом помещений для наружных стен широко применяют панели из ячеистого бетона. Применение их регламентировано главой
СНиП II-28-73* "Защита строительных конструкций от коррозии" для помещений с относительной влажностью воздуха не выше 75% при условии защиты внутренней поверхности панелей и арматуры от коррозии. Согласно "Руководству по проектированию бетонных и железобетонных конструкций из ячеистых бетонов" (М., Стройиздат, 1977) допускается применять наружные стеновые панели во влажных и мокрых средах, но в виде двухслойных панелей с внутренним слоем из тяжелого или плотного силикатного бетона или при наличии надежной внутренней защиты.
До последнего времени не было обобщающего нормативного документа, регламентирующего способы защиты и отделки внутренних поверхностей панелей из ячеистого бетона и защиты стыков между ними. Некоторые способы защиты лакокрасочными материалами даны в "Руководстве по защите от коррозии лакокрасочными покрытиями строительных бетонных и железобетонных конструкций, работающих в газовлажных средах" (М., Стройиздат, 1978). Однако это Руководство распространяется в основном на защиту лакокрасочными материалами бетонных и железобетонных конструкций, эксплуатируемых в агрессивных средах, и в нем отсутствуют такие способы защиты, как пропитка бетона и нанесение покрытий на основе полиэтиленовой пленки.
Во "Временных указаниях по защите изделий из автоклавного бетона пропиткой составами на основе битума" (М., ВНИИстром, 1974) отсутствуют способы поверхностной пропитки битумными составами и кремнийорганическими жидкостями.
| | ИС МЕГАНОРМ: примечание. В официальном тексте документа, видимо, допущена опечатка: имеется в виду СН 277-80 "Инструкция по изготовлению изделий из ячеистого бетона", а не СН 277-81 "Инструкции по технологии изготовления изделий из ячеистого бетона". | |
Настоящее Руководство составлено в развитие "Инструкции по технологии изготовления изделий из ячеистого бетона"
(СН 277-81) и включает в себя все известные и вновь разработанные способы защиты и отделки внутренних поверхностей ячеистобетонных стен, рекомендуемые к применению во влажных средах.
Руководство разработано в лаборатории ячеистых бетонов и конструкций НИИЖБ Госстроя СССР (арх. Т.В. Косточкина) при участии БВ НИИЖБ Госстроя СССР (инженеры Т.А. Щербакова, М.Д. Кантак, канд. техн. наук В.Б. Бобров), центральной лаборатории коррозии НИИЖБ Госстроя СССР (канд. техн. наук В.В. Шнейдерова), лаборатории полимербетонов НИИЖБ Госстроя СССР (канд. техн. наук О.М. Сысоев), лаборатории экономики НИИЖБ Госстроя СССР (инженеры Т.В. Михайлова, Н.М. Белозерцева), а также НИПИсиликатобетона Минстройматериалов СССР (кандидаты техн. наук Х.Ф. Иоости, М.М. Планкен), Харьковского ИСИ Минвуза СССР (канд. техн. наук Г.Г. Александров), Киевского НИИСМИ Минстройматериалов УССР (кандидаты техн. наук И.Б. Удачкин, Ю.Д. Нациевский, В.И. Брель), ВНИИстром Минстройматериалов СССР (канд. техн. наук Ю.В. Гонтарь), ЦНИИпромзданий Госстроя СССР (канд. техн. наук В.Н. Макарцев, инженеры Р.В. Химшиашвили, Л.А. Андреева), НИИСФ Госстроя СССР (инженеры В.А. Могутов, В.А. Гагарин), НИИстроительства Госстроя ЛатвССР (канд. техн. наук В.А. Бриеда), ВНИИстройполимер Минстройматериалов СССР (канд. техн. наук Г.Ф. Слипченко), ВНИИкровля Минстройматериалов СССР (канд. техн. наук Э.М. Спектор), НИИстроительства Госстроя ЭССР (кандидаты техн. наук Э.Х. Лийв, А. Машегиров).
В Руководстве использованы материалы ЦНИИЭПсельстроя Госстроя СССР.
Все замечания и предложения по настоящему Руководству просим направлять в НИИЖБ Госстроя СССР по адресу: 109389, Москва, 2-я Институтская ул., д. 6.
Дирекция НИИЖБ
1.1. Руководство распространяется на проектирование способов защиты и отделки внутренних поверхностей однослойных стеновых ограждающих конструкций, выполненных из автоклавного ячеистого бетона объемной массой 700 кг/м3 и эксплуатируемых в производственных зданиях с влажным режимом помещений (
СНиП II-3-79 "Строительная теплотехника"), указанном в табл. 1.
─────────────────┬───────────────────────────────────────────────────────
Режим │ Влажность внутреннего воздуха (%) при температуре, °C
├─────────────────┬──────────────────┬──────────────────
│ до 12 │ свыше 12 до 24 │ свыше 24
─────────────────┼─────────────────┼──────────────────┼──────────────────
Влажный │ Свыше 75 │ Свыше 60 до 75 │ Свыше 50 до 60
─────────────────┴─────────────────┴──────────────────┴──────────────────
Виды ячеистого бетона, рекомендуемые для стеновых ограждающих конструкций производственных зданий с влажным режимом помещений, указаны в "Руководстве по проектированию бетонных и железобетонных конструкций из ячеистых бетонов" (М., Стройиздат, 1977).
1.2. Защиту стеновых ограждений выполняют также при эксплуатации их в помещениях с нормальным влажностным режимом, когда параметры внутреннего воздуха превышают расчетные и на внутренней поверхности стен может выпадать конденсат или когда возможно систематическое накопление влаги в стене, т.е. не обеспечиваются требования
п. 6.1, б главы СНиП II-3-79 по величине допускаемого приращения расчетной влажности ячеистого бетона за период влагонакопления

.
1.3. Для защиты стен от парообразной и капельной влаги в проекте следует предусматривать конструктивные мероприятия и способы защиты поверхностей панелей.
1.4. В животноводческих и птицеводческих зданиях защиту внутренних поверхностей панелей можно не производить при условиях, обеспечивающих соблюдение требований "
Рекомендаций по проектированию и применению однослойных наружных ограждающих конструкций из ячеистого бетона в животноводческих и птицеводческих зданиях" (Таллин, НИИстроительства Госстроя ЭССР, 1979).
| | ИС МЕГАНОРМ: примечание. Взамен СНиП III-23-76 Постановлением Госстроя СССР от 13.12.1985 N 223 введены в действие с 1 июля 1986 года СНиП 3.04.03-85. | |
1.5. Выбор способа защиты поверхностей стеновых панелей следует производить согласно требованиям главы
СНиП II-28-73* "Защита строительных конструкций от коррозии", главы СНиП III-23-76 "Защита строительных конструкций и сооружений от коррозии. Правила производства и приемки работ", "Руководства по защите от коррозии лакокрасочными покрытиями строительных бетонных и железобетонных конструкций, работающих в газовлажных средах" (М., Стройиздат, 1978) и требованиям настоящего Руководства.
1.6. Руководство не распространяется на защиту панелей из объемногидрофобизированного ячеистого бетона, изготовление которого производят согласно "Руководству по изготовлению изделий из гидрофобизированного малоусадочного ячеистого бетона" (М., НИИЖБ, 1977).
2. КОНСТРУКТИВНЫЕ ЗАЩИТНЫЕ МЕРОПРИЯТИЯ
2.1. Для обеспечения стенам в период эксплуатации условия ограничения накопления влаги помимо защиты внутренних поверхностей панелей в проекте рекомендуется предусматривать:
сквозные подоконные доски из цементно-песчаного раствора или плотного бетона, выступающие на расстояние не менее 50 мм от плоскости стены и защищенные влагоизолирующими покрытиями, либо подоконные сливы с наружной и внутренней стороны стены, выполненные из алюминия, оцинкованной жести, пластмассы, которые должны крепиться к оконным переплетам через герметизирующие прокладки для исключения появления теплопроводных включений;
оконные переплеты с двойным или тройным остеклением для предотвращения появления конденсата на внутренней поверхности остекления и устройство для отвода влаги, стекающей с остекления;
надежную гидроизоляцию в местах примыкания оконных переплетов к панелям и защиту торцевых и горизонтальных граней панели. Способы защиты даны в
пп. 4.10,
5.55 -
5.57 настоящего Руководства;
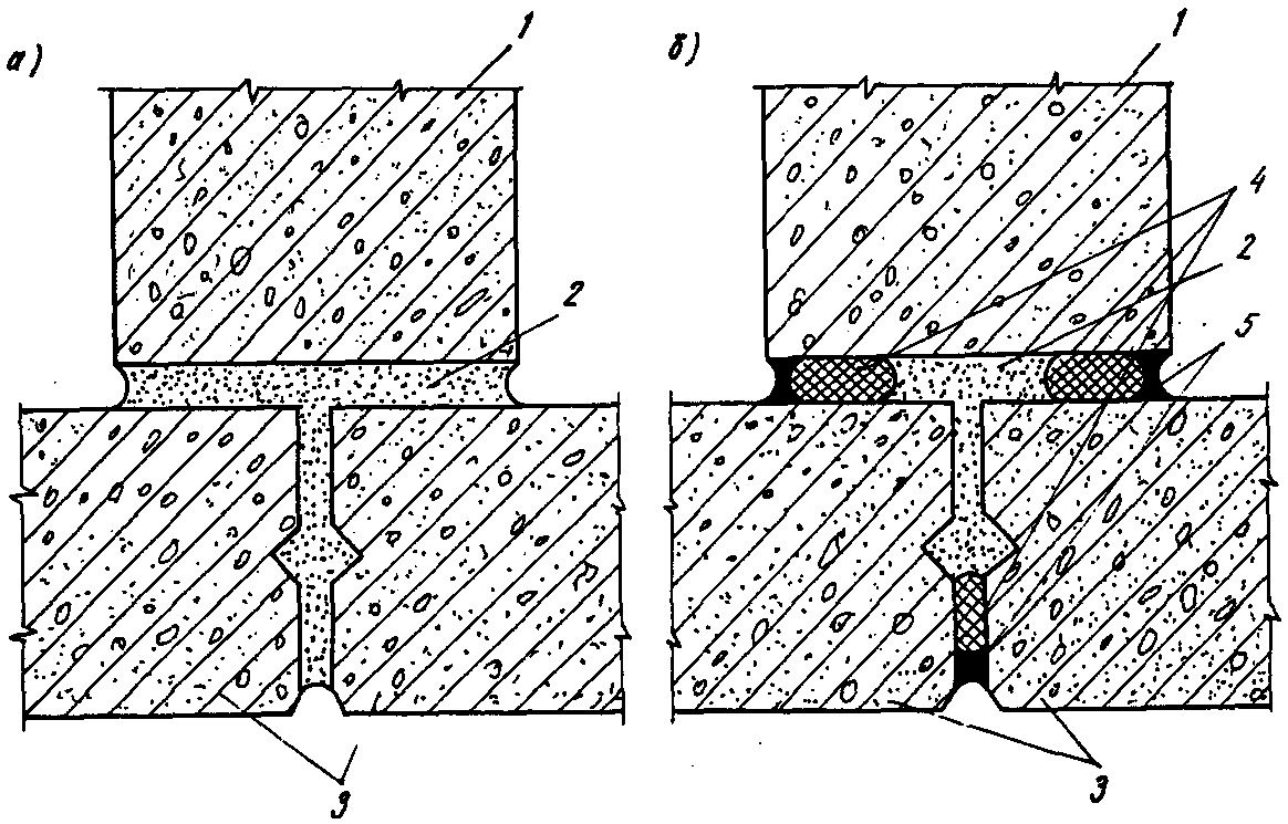
заполнение швов между панелями легким или поризованным цементно-песчаным раствором объемной массой 1200 кг/м3 или теплоизолирующими прокладками типа пороизол, гернит с последующей герметизацией швов изолом, полиизобутиленовыми мастиками типа УМ-40, УМС-50, тиоколовыми мастиками типа У-30М. Зазоры между стеновыми панелями и несущей конструкцией должны быть заделаны, как показано на
рис. 1;
увеличение толщины защитного слоя арматуры до 35 - 40 мм и сокращение количества хомутов в арматурных каркасах, оказывающих наиболее неблагоприятное влияние на теплозащитные свойства панели (сопротивление теплопередачи стены снижается на 10% при существующем каркасном армировании);
защиту нижнего ряда панелей животноводческих зданий на высоту до 80 см слоем плотного цементно-песчаного раствора толщиной 40 - 50 мм.
Рис. 1. Заполнение швов между стеновыми панелями
и зазоров между стеной и колонной
а - поризованным цементно-песчаным раствором;
б - мастикой с полимерной прокладкой
1 - железобетонная колонна; 2 - цементно-песчаный раствор;
3 - стеновые панели; 4 - полимерная прокладка; 5 - мастика
2.2. При изготовлении панелей не допускается применение арматурных стержней диаметрами больше проектных.
2.3. При опирании панелей на стальные опорные консоли (столики) должны быть тщательно заделаны швы между панелями против полок консолей, чтобы избежать контакта стальных деталей с наружным воздухом.
3. СПОСОБЫ ЗАЩИТЫ ПОВЕРХНОСТЕЙ ПАНЕЛЕЙ
3.1. Защите подлежат внутренние поверхности, торцевые и горизонтальные грани панелей. Защиту последних рекомендуется выполнять полимерцементными составами, пропиткой битума, глубинной гидрофобизацией или нанесением активированной полиэтиленовой пленки.
3.2. Для защиты внутренних поверхностей панелей рекомендуется применять покрытия на основе лакокрасочных, полимерных и кремнийорганических составов, производить пропитку битумом или кремнийорганическими жидкостями, а также наносить активированную полиэтиленовую пленку.
3.3. Защиту поверхностей панелей должны производить в заводских условиях; допускается осуществлять ее в построечных условиях после окончания монтажа стен. Способы защиты панелей на стадии строительства даны в
разд. 9 настоящего Руководства.
Выбор способа защиты и предъявляемые к ней требования
3.4. Выбор способа защиты внутренних поверхностей панелей зависит от температурно-влажностного режима помещений, средней минимальной температуры окружающего воздуха, от сопротивления паропроницанию наружной отделки, от толщины стены, объемной массы ячеистого бетона.
3.5. Требования к физико-техническим свойствам защитного покрытия приведены в табл. 2, а методика их определения дана в
Прил. 2 настоящего Руководства.
Таблица 2
──────────────────────┬───────────────────┬──────────────────────────────
Физико-технические │Требуемые значения │ Метод определения
свойства │ │
──────────────────────┼───────────────────┼──────────────────────────────
Сопротивление │ R >= 3 │По диффузии насыщенного
паропроницанию │ п.в │водяного пара в среду
│ │ненасыщенного в стационарных
│м2 x ч x мм рт. ст.│условиях (относительная
│-------------------│влажность воздуха гамма = 50%)
│ г │
Водопроницаемость │W <= 5% по объему│При капиллярной впитываемости
отделки после 24 ч │ об │
водного хранения │ │
│ нач │
Адгезия к ячеистому │ R >= 0,5 МПа │Отрыв отделки после 14 сут
бетону │ сц │лабораторного хранения
Устойчивость к разрыву│ Не менее 0,25 мм │Растяжение отделки при изгибе
по трещине в бетоне │ │образца до образования трещины
──────────────────────┴───────────────────┴──────────────────────────────
3.6. Требуемое сопротивление паропроницанию

для защиты внутренних поверхностей стен определяют расчетом, проведенным согласно требованиям "Руководства по расчету влажностного режима ограждающих конструкций зданий" (М., НИИСФ, 1980). Для типовых панелей из ячеистого бетона объемной массой 700 кг/м3, применяемых в различных температурно-влажностных режимах помещений, климатических условиях районов строительства и при

, требуемое сопротивление паропроницанию для защиты внутренних поверхностей дано в табл. 3.
──────┬─────────┬────┬───────────────────┬─────────────────────────────────
Район │Осреднен-│Тол-│ Сопротивление │ Сопротивление паропроницанию
строи-│ные сред-│щина│ паропроницанию │ тр
тель- │немесяч- │па- │ наружной отделки │ R
<***>,
ства │ные тем- │не- │ R
<***>, │ п.в
<*> │пературы │ли, │ п.н │ м2 x ч x мм рт. ст.
│наружного│мм │м2 x ч x мм рт. ст.│ -------------------,
│воздуха │ │-------------------│ г
│наиболее │ │ г │ при температуре воздуха внутри
│холодного│ │ │ помещения, °C
│месяца, │ │ ├──────┬────────┬────────┬────────
│°C │ │ │6 - 12│12 - 20 │20 - 24 │свыше 24
│ │ │ ├──────┴────────┴────────┴────────
│ │ │ │ относительной влажности
│ │ │ │ воздуха помещения гамма, %
│ │ │ ├──────┬────────┬────────┬────────
│ │ │ │свыше │свыше 60│свыше 60│свыше 50
│ │ │ │ 75 │ до 75 │ до 75 │ до 60
──────┼─────────┼────┼───────────────────┼──────┼────────┼────────┼────────
1 │ 2 │ 3 │ 4 │ 5 │ 6 │ 7 │ 8
──────┼─────────┼────┼───────────────────┼──────┼────────┼────────┼────────
I │ -5 │250 │ 1,5 │ 3 │ 3 │ 5 │ 5
│ │ │ 3 │ 3 │ 3 │ 8 │ 8
──────┼─────────┼────┼───────────────────┼──────┼────────┼────────┼────────
II │ -10 │250 │ 1,5 │ 3 │ 3 │ 5 │ 5
│ │ │ 3 │ 3 │ 5 │ 8 │ 8
──────┼─────────┼────┼───────────────────┼──────┼────────┼────────┼────────
III │ -15 │300 │ 1,5 │ 3 │ 3 │ 5 │ 5
│ │
<**>│ 3 │ 3 │ 5 │ 8 │ 8
──────┼─────────┼────┼───────────────────┼──────┼────────┼────────┼────────
IV │ -25 │300 │ 1,5 │ 3 │ 5 │ 8 │ 8
│ │
<**>│ 3 │ 5 │ 5 │ 8 │ 8
--------------------------------
<*> Перечень городов, относящихся к каждому району строительства, дан в
Прил. 1 настоящего Руководства.
<**> Типовые панели в этих условиях эксплуатации имеют

.
<***> Первое значение относится к покрытиям на основе водоэмульсионных красок типа ПВАЦ, Э-КЧ-26; второе - к покрытиям типа штукатурки из цементно-песчаного раствора, облицовки стеклянной плиткой по поризованному раствору.
Требуемое сопротивление паропроницанию покрытий

дано на основании расчетов на ЭВМ нестационарного влажностного режима стеновых панелей из ячеистого бетона, проведенного методом последовательного увлажнения.
3.7. Способы защиты и отделки панелей в зависимости от требования к их сопротивлению паропроницанию

и водопроницаемости

(%) приведены в табл. 4.
─────────────────────────────────┬───────────────────────┬─────────────────
тр │ тр │ тр
3 <= R < 5 │ 5 <= R < 8 │ R > 8
п.в │ п.в │ п.в
───────────────┬─────────────────┼───────────────────────┼─────────────────
W < 3 │ 5 > W > 5 │ W < 3 │ W < 3
об │ об │ об │ об
───────────────┼─────────────────┼───────────────────────┼─────────────────
1 │ 2 │ 3 │ 4
───────────────┼─────────────────┼───────────────────────┼─────────────────
Поверхностная │Состав СИПА-0. │Глубинная пропитка │Состав ЛСП-145
пропитка │Состав СИПА Н-2. │жидкостью 136-41 │(4 - 5 слоев).
(2 - 3 мм) │Водоэмульсионные │(4 - 25 мм) с │Эмаль ХП-799.
"горбушки" │краски Э-КЧ-26, │нанесением эмалей │Перхлорвиниловые
и ячеистого │Э-ВА-27 (3 слоя).│ПФ-115, ПФ-133 │эмали ХВ-785,
бетона кремний-│Полимерцементная │(1 - 2 слоя). │ХВ-1100 (3 слоя).
органической │краска ПВАЦ │Состав ЛСГ-905. │Глубинная
жидкостью │с увеличенным │Перхлорвиниловая эмаль │пропитка битумным
136-41, АМРС, │содержанием │ХС-710 (2 слоя). │составом
ГКЖ-10, ГКЖ-11,│полимера │Органосиликатная краска│(10 - 15 мм).
ФЭС-1 с после- │(2 слоя). │ОСМ-ВН-30 ДТС │Нефтеполимерная
дующим нанесе- │Состав на основе │(3 - 4 слоя). │краска СПП
нием красок │модифицированных │Эмаль КЧ-749 (1 слой). │(2 - 3 слоя).
Э-КЧ-26, │кремнийорганичес-│Пентафталевые эмали │Активированная
Э-ВА-27, эмалей│ких соединений │ПФ-115, ПФ-133 │полиэтиленовая
КО-174, ХП-71Ф,│МКС (3 слоя). │(3 - 4 слоя). │пленка по клею
МКС (1 - 2 │Полимерцементные │Поверхностная пропитка │на основе лака
слоя) │краски ПВАЦ, │битумным составом │Э-ВА-5189,
│ПВАГ (2 слоя). │(от 3 до 6 мм) с │модифицированного
│Состав ЛИГА. │последующим нанесением │эпоксидной смолой
│Масляная краска │краски БТ-177 (1 слой).│
│(для внутренних │Керамическая плитка │
│работ) по краске │размером 15 x 15 см │
│ПВАЦ │по полимерцементному │
│ │раствору │
───────────────┴─────────────────┴───────────────────────┴─────────────────
3.8. Для производственных зданий защитные покрытия должны обладать и декоративными качествами.
3.9. Защитные покрытия должны быть нанесены сплошным, равномерным слоем, обеспечивающим по всей площади панели требуемые физико-технические свойства.
4. ОБЛАСТЬ ПРИМЕНЕНИЯ СПОСОБОВ ЗАЩИТЫ И МАТЕРИАЛЫ ДЛЯ НЕЕ
Гидрофобизация <*> и пропитка поверхности панелей
--------------------------------
<*> "Руководство по защите бетона и других строительных материалов методом гидрофобизации" (М., НИИЖБ, 1978).
4.1. Гидрофобизацию как глубинную, так и поверхностную применяют для защиты ячеистого бетона панелей от увлажнения атмосферной и конденсационной влагой. Выбор материала для гидрофобизации и способа обработки производят по табл. 5.
──────────────────────────┬───────────┬──────────────────┬─────────────────
Цель гидрофобизации │ Обработка │ Материалы │Способ обработки
│ │и их концентрация │ и толщина
│ │ │гидрофобного слоя
──────────────────────────┼───────────┼──────────────────┼─────────────────
Защита панелей от увлажне-│Поверхност-│2 - 3%-ный раствор│Одноразовое
ния атмосферными осадками │ная кратко-│ГКЖ-10, ГКЖ-11 или│нанесение
при транспортировании, │временная │1 - 2%-ный раствор│пульверизатором
хранении на заводских │ │жидкости 136-41 │или кистью,
и приобъектных складах, │ │(ГКЖ-94); АМРС, │1 - 2 мм
а также в процессе │ │ФЭС-1 │
производства и монтажа │ │ │
Уменьшение отсоса влаги │То же │То же │То же
поверхностью панелей при │ │ │
нанесении на нее полимер- │ │ │
цементного, кремнийоргани-│ │ │
ческого и водоэмульсион- │ │ │
ного отделочного покрытия │ │ │
и улучшение водозащитных │ │ │
свойств │ │ │
Предотвращение отслоения │Поверхност-│5%-ный раствор │2 - 3-разовое
лакокрасочных │ная долго- │жидкости 136-41 │нанесение
паронепроницаемых покрытий│временная │или 5%-ный │пульверизатором
и мастичных герметиков при│ │ее раствор │или кистью,
диффузионном увлажнении │ │в уайт-спирите │2 - 3 мм
ячеистого бетона панели │ │или толуоле │
Уменьшение сорбционной │Глубинная │3 - 5%-ный раствор│Гидрофобизация в
и равновесной влажности │долго- │жидкости 136-41 │пропиточной ванне
ячеистого бетона панелей и│временная │ │с применением
увеличение их термического│ │ │термоградиентного
сопротивления в стене │ │ │или комбинирован-
│ │ │ного способа
│ │ │пропитки,
│ │ │4 - 25 мм
──────────────────────────┴───────────┴──────────────────┴─────────────────
Глубинную долговременную пропитку с максимальной толщиной гидрофобного слоя применяют при ежедневном гидросмыве стены либо при возможном длительном выпадении конденсата на поверхность стены в холодный период года.
При расчете температурно-влажностного режима стен с гидрофобным слоем расчетные коэффициенты паропроницаемости гидрофобизированного ячеистого бетона для объемной массы 700 кг/м3 принимают 0,11 г/(м2 x ч x мм рт. ст.).
4.2. Декоративную отделку гидрофобизированных панелей рекомендуется производить водоэмульсионными красками Э-ВА-27, Э-КЧ-26, ПВАЦ, масляными красками и эмалями на основе кремнийорганических соединений: КО-174, ХП-71Ф, МКС. Выравнивание поверхности полимерцементными составами производят по гидрофобизированному слою.
4.3. Пропитку панелей битумными составами рекомендуется применять для защиты ячеистого бетона от конденсационной и парообразной влаги, а также при периодическом гидросмыве поверхности панелей. Требуемая степень кольматации пор находится в пределах 0,3 - 0,85 при глубине пропитки соответственно 4 - 15 мм.
4.4. Поверхностную пропитку панелей выполняют методом низкотемпературной обработки маловязкими битумными составами поверхности панели до и после автоклавной обработки. При этом эффект вакуумирования пропитываемого слоя возникает как на стадии твердения цементного теста после вспучивания массы (контракционный вакуум), так и на стадии остывания панели после запарки (конденсационный вакуум).
4.5. Глубинную пропитку панелей в заводских условиях производят на специальном посту в вертикальной пропиточной ванне путем окунания панели в битумный состав. Толщина слоя при поверхностной пропитке составляет 4 - 6 мм, при глубинной - 10 - 15 мм.
4.6. Декоративные качества пропитанной поверхности достигаются путем нанесения водоэмульсионных лакокрасочных материалов, битумной краски БТ-177 или битумно-алюминиевой краски, состоящей из битумного лака БТ-577 и пудры алюминиевой пигментной ПАП-1.
Лакокрасочные покрытия
4.7. Покрытия на основе эмалей ХП-799, ХВ-785 и глубинную пропитку битумными составами рекомендуется применять в помещениях с повышенной влажностью воздуха при длительной (более 1 мес) конденсации влаги на поверхности стен. Покрытия на основе эмали ХП-799, обладающие высокой трещиностойкостью, влаго- и паронепроницаемостью, рекомендуется применять при гидросмыве стен.
4.8. Покрытия на основе лакокрасочных материалов типа красок ХС-710, ХВ-1100, ХВ-785, ПФ-115, ПФ-133, КЧ-749, состав МКС, глубинную пропитку ячеистого бетона кремнийорганическими жидкостями рекомендуется применять в производственных помещениях с повышенной упругостью водяного пара воздуха и при условии возможного кратковременного выпадения конденсата на поверхности стен.
4.9. Покрытия типа СИПА, ЛИГА, ПВАЦ, ПВАГ, краски Э-КЧ-26, Э-ВА-27 рекомендуется применять при условии отсутствия выпадения конденсата на поверхности стен и при пониженной упругости водяного пара воздуха (см.
табл. 3, графы 5 и 6).
Они обладают декоративными качествами, имеют хорошее сцепление с ячеистым бетоном. При необходимости для повышения их водозащитных свойств можно рекомендовать применение в качестве грунта кремнийорганических жидкостей ГКЖ-10, ГКЖ-11, АМРС, ФЭС-1 и т.п.
4.10. Покрытия типа водоэмульсионных составов ЛСП-145, ЛСГ-905 рекомендуется применять для защиты торцевых и горизонтальных граней панели с целью надежной их защиты от влаги в период транспортирования, складирования и эксплуатации. Состав ЛСП-145, обладающий водонепроницаемостью и имеющий хорошее сцепление с остывшим и горячим бетоном, целесообразно применять для защиты внутренних поверхностей панелей, эксплуатируемых в условиях повышенной влажности воздуха.
Пленочные покрытия
4.11. Активированную полиэтиленовую пленку рекомендуется применять для защиты панелей в помещениях с повышенной влажностью воздуха, при наличии гидросмыва и при возможной длительной конденсации влаги на поверхности стен.
Активированная пленка не должна содержать скользящих (индекс Т) и антистатических добавок (индекс А). Она не должна быть изготовлена из вторичного гранулята.
Впредь до освоения выпуска активированной пленки промышленностью ее можно получать на опытно-промышленной установке НИИЖБ. Декоративные качества достигаются нанесением поверх пленки красок Э-ВА-27, БТ-177.
4.12. Облицовку керамической глазурованной плиткой применяют для защиты стен помещений, к которым предъявляются повышенные санитарно-гигиенические требования. Плитку наносят по полимерцементному раствору со швом 2 - 5 мм.
4.13. Материалы, рекомендуемые для защиты поверхностей панелей, должны удовлетворять требованиям нормативных документов, приведенных в табл. 6.
───────────────┬─────────────────────────────────────────┬─────────────────
Способ защиты │ Наименование материала │ Нормативный
│ │ документ
───────────────┼─────────────────────────────────────────┼─────────────────
1 │ 2 │ 3
───────────────┼─────────────────────────────────────────┼─────────────────
Гидрофобизация │Кремнийорганические водные растворы │ТУ 6-02-696-76
и пропитка │ГКЖ-10, ГКЖ-11 │
кремнийоргани- │Полиэтилгидросилоксановая жидкость 136-41│
ГОСТ 10834-76
ческими │50%-ная водная эмульсия 136-41 марки │ТУ 6-02-816-78
составами │КЭ-30-04 │
───────────────┼─────────────────────────────────────────┼─────────────────
ИС МЕГАНОРМ: примечание.
Взамен ГОСТ 5494-71 Постановлением Госстандарта России от 26.03.1996
Пропитка │Битум нефтяной марки БН-90/10, БН-70/30 │
ГОСТ 6617-76
составами │Пудра алюминиевая пигментная ПАП-1 │ГОСТ 5494-71
│Алюминиевая краска │ТУ 6-10-1298-72
ИС МЕГАНОРМ: примечание.
Взамен ГОСТ 5631-70 Постановлением Госстандарта СССР от 13.03.1979
│Битумная краска БТ-177 (алюминиевая) │ГОСТ 5631-70
│Керосин осветительный │ГОСТ 4753-68
───────────────┼─────────────────────────────────────────┼─────────────────
ИС МЕГАНОРМ: примечание.
Взамен ГОСТ 10354-73 Постановлением Госстандарта СССР от 02.06.1982
Пленочные │Полиэтиленовая пленка активированная, │ГОСТ 10354-73
покрытия │сорт I, марки М, С с индексами Т и А │
│Клей, включающий: │
│ дисперсию сополимера винилацетата │ТУ 6-10-1079-70
│с дибутилмалеинатом С-135 │
│ дисперсию ПВА 50%-ную │ГОСТ 18992-73
│ лак Э-ВА-5189 │ТУ 6-10
ИС МЕГАНОРМ: примечание.
Взамен ГОСТ 10587-76 Постановлением Госстандарта СССР от 06.02.1984
│ эпоксидную смолу ЭД-20 │ГОСТ 10587-76
│ полиэтиленполиамин │ТУ 6-02-594-70
───────────────┼─────────────────────────────────────────┼─────────────────
ИС МЕГАНОРМ: примечание.
Взамен ГОСТ 18992-73 Постановлением Госстандарта СССР от 30.12.1980
Лакокрасочные │Дисперсия ПВА 50%-ная │ГОСТ 18992-73
│Лак ХП-734 │ТУ 6-02-13-47-77
│Перхлорвиниловая краска ХВ-1100 │ГОСТ 6993-79
│Эмаль ХП-799 │ТУ 84-618-75
│Эмаль ХП-71Ф │ТУ 205/8
│ │ЭССР 44-80
│Пентафталевая эмаль ПФ-133 │ГОСТ 926-63
│Органосиликатная краска ОМС ВН-30 ДТС │ГОСТ 5-1496-72
│Составы СИПА │РСТ ЭССР 434-79
│Полимерцементная краска ПВАЦ │РСН 40-76
│ │Госстроя ЭССР
│Нефтеполимерная краска СПП │ТУ 21-01-6295-65
ИС МЕГАНОРМ: примечание.
Взамен ГОСТ 20833-75 Постановлением Госстандарта СССР от 03.08.1989
│Краска Э-ВА-27 │ГОСТ 20833-75
│Краска Э-КЧ-26 │ГОСТ 19214-73
│Эмаль КО-174 │ТУ 6-02-576-75
───────────────┼─────────────────────────────────────────┼─────────────────
Полимерные │Состав ЛСГ-905 │ТУ 21-29-42-76
покрытия │Модифицированный кремнийорганический │
│состав (МКС), включающий: │
│ фенол-инден-кумароновую смолу (50%-ный │ГОСТ 9263-66
│раствор) │
│ сополимер СКН-26-1А (50%-ный раствор) │ТУ ЗКП 8-68
│ лак Силикон-1 │ТУ ЗКП 8-68
│ тальк │ГОСТ 879-52
│ титановые белила │ГОСТ 9808-75
───────────────┼─────────────────────────────────────────┼─────────────────
ИС МЕГАНОРМ: примечание.
Постановлением Госстроя СССР от 29.12.1990 N 120 с 1 июля 1991 года
Облицовка │Керамическая плитка для внутренней │ГОСТ 6141-76
керамической │облицовки │
плиткой │Клей, включающий: │
ИС МЕГАНОРМ: примечание.
Взамен ГОСТ 965-78 Постановлением Госстроя СССР от 29.12.1988 N 260
│ портландцемент серый │ГОСТ 965-78
ИС МЕГАНОРМ: примечание.
Взамен ГОСТ 10178-76 Постановлением Госстроя СССР от 10.07.1985 N 116
│ или белый │ГОСТ 10178-76
│ дисперсию ПВА 50%-ную │ГОСТ 18992-73
│ КМЦ │ГОСТ 5588-70
───────────────┴─────────────────────────────────────────┴─────────────────
5. ТЕХНОЛОГИЯ НАНЕСЕНИЯ ЗАЩИТНЫХ ПОКРЫТИЙ
| | ИС МЕГАНОРМ: примечание. Взамен СНиП III-23-76 Постановлением Госстроя СССР от 13.12.1985 N 223 введены в действие с 1 июля 1986 года СНиП 3.04.03-85. | |
5.1. В технологическом процессе нанесения защитных покрытий должны быть учтены требования главы СНиП III-23-76, "Временных указаний по защите изделий из автоклавного ячеистого бетона пропиточными составами на основе битума" (М., ВНИИстром, 1974), а также рекомендации "Руководства по защите от коррозии лакокрасочными покрытиями строительных бетонных и железобетонных конструкций, работающих в газовлажных средах" (М., Стройиздат, 1978) и настоящего Руководства.
Технологический процесс включает в себя требования к подготовке поверхности панелей, методы и параметры нанесения защиты и отделки, сушку покрытий.
Требования к поверхности панели и ее подготовка перед нанесением защитных покрытий
5.2. Поверхности, подлежащие защите и отделке, должны удовлетворять требованиям
ГОСТ 11118-73 и "Руководства по проектированию бетонных и железобетонных конструкций из ячеистого бетона" (М., Стройиздат, 1977).
На поверхности не допускаются: а) раковины, местные наплывы, бетона, выколы, впадины, размеры которых превышают значения, приведенные в табл. 7;
б) трещины, за исключением местных, поверхностных, шириной не более 0,2 мм;
в) жировые и ржавые пятна, "зуб" высотой более 1,5 мм;
г) газобетонная пыль.
──────────────────────────────────────────┬────────────────────────────────
Поверхности панелей │ Дефекты поверхности
├────────┬────────┬──────────────
│диаметр │глубина │высота местных
│раковин,│раковин,│ наплывов,
│ мм │ мм │ впадин, мм
──────────────────────────────────────────┼────────┼────────┼──────────────
Внутренние, обращенные в производственные │ 3 │ 2 │ 2
помещения (после резки или прикатки) │ │ │
Торцевые, в зоне уплотнения стыка │ 6 │ 2 │ 2
герметиком │ │ │
Нелицевые (невидимые после монтажа) │ 10 │ 5 │ 5
──────────────────────────────────────────┴────────┴────────┴──────────────
5.3. Поверхность панели, изготовленной по резательной технологии, которая имеет неровности глубиной более 1,5 мм, необходимо покрывать сплошным слоем шпаклевки (табл. 8).
───────────────────────────────────────────────┬───────────────────────────
Компоненты │ Содержание компонентов
│ (мас.ч.) в составах
├──────┬──────┬──────┬──────
│ ПЦ │ ПВАЦ │ ПВАГ │ ПЦР
───────────────────────────────────────────────┼──────┼──────┼──────┼──────
Портландцемент белый марки не ниже 300
<*> │ 1 │ 1 │ - │ 1
Измельченный газобетон, уд. поверхность │ - │ - │ 1 │ -
600 - 4000 см2/г │ │ │ │
Песок фракцией до 1,2 мм │ - │ 3 │ 2 │ 3
Дисперсия ПВА 50%-ная, пластифицированная │ 0,3 │ 0,35 │ 0,2 │ 0,1
или латекс СКС-65-ГП
<**>, СКС-65-ГПБ │ │ │ │
Вода │ 0,55 │ 0,35 │ 0,6 │ 0,4
--------------------------------
<*> Для ускорения твердения раствора портландцемент можно заменить глиноземистым цементом.
<**> Латекс СКС-65 ГП стабилизируют составами ОП-7, ОП-10 или казеинатом аммония в количестве 0,6 - 1,5% массы состава (см.
Прил. 4).
5.4. При нанесении лакокрасочных материалов на растворителях и составов СИПА 0 и СИПА Н-2 влажность ячеистого бетона в поверхностном слое (5 мм) не должна превышать 4% (по массе). Ее рекомендуется определять экспресс-методом (см.
Прил. 3).
При нанесении водоэмульсионных красок и полимерцементных составов влажность поверхности не регламентируется.
5.5. Бездефектные внутренние поверхности панелей можно получить прикаткой верхнего слоя вспученной ячеистой массы (горбушки) в процессе формования или нанесением на нее после автоклавной обработки панели выравнивающего состава на основе ПЦ или ПВАЦ и ПВАГ.
Выравнивание поверхности составами ПЦ, ПВАЦ и ПВАГ повышает качество и защитную способность покрытия, обеспечивает ему надежное сцепление с ячеистым бетоном, сокращает расход дефицитных лакокрасочных и полимерных материалов.
| | ИС МЕГАНОРМ: примечание. В официальном тексте документа, видимо, допущена опечатка: имеется в виду СН 277-80 "Инструкция по изготовлению изделий из ячеистого бетона", а не СН 277-81 "Инструкции по технологии изготовления изделий из ячеистого бетона". | |
5.6. Прикатку горбушки рекомендуется осуществлять машиной УралНИИстромпроекта МПСМ РСФСР или машиной ВНИИжелезобетона МПСМ СССР - Оргтехстроя Минстроя Литовской ССР. Параметры работы машины, технология прикатки ячеистой массы должны соответствовать требованиям "Инструкции по технологии изготовления изделий из ячеистого бетона"
(СН 277-81).
5.7. Выравнивание верхнего слоя, полученного после срезки горбушки (без прикатки) или после вертикальной резки массива ячеистого бетона, производят после заделки дефектов, ремонта отдельных выбоин, околов составами ПЦ, ПВАЦ, ПВАГ на основе дисперсии ПВА или латекса СКС-65ГП
(табл. 8). Максимальная толщина слоя нанесенных составов должна быть 5 мм.
5.8. Дефекты величиной, большей, чем указано в
табл. 7, заделывают полимерцементным раствором ПЦР (см.
табл. 8).
5.9. Компоненты составов загружают в мешалку в следующей последовательности: половинное количество воды и дисперсию ПВА 50%-ную перемешивают 2 - 3 мин, затем вводят песок, портландцемент или смесь цементов, или измельченный газобетон и остальное количество воды затворения. Полученную смесь перемешивают еще 4 - 6 мин. Пластичность полученного раствора должна быть 8 - 10 см по конусу СтройЦНИЛ.
| | ИС МЕГАНОРМ: примечание. В официальном тексте документа, видимо, допущена опечатка: имеется в виду ГОСТ 4028-63, а не ГОСТ 4028-73. | |
5.10. Ремонт околов ребер производят раствором состава 1:0,2:4 мас.ч. (цемент:известь:песок) с добавлением 10% (от массы цемента) дисперсии ПВА 50%-ной. Вода добавляется до консистенции 8 - 10 см по конусу СтройЦНИЛ. При больших околах растворы следует наносить по металлической сетке или оцинкованной проволоке, закрепленной оцинкованными гвоздями. Для этой цели рекомендуется применять сетки тканые N 12 с диаметром проволоки 1,2 мм, оцинкованные гвозди, круглые с конической головкой и гвозди строительные с перемычкой
(ГОСТ 4028-73) длиной 200 мм, диаметром 6 мм, имеющие антикоррозионную защиту, оцинкованную проволоку диаметром 1,5 - 3 мм.
5.11. Защиту наносят на подготовленную просохшую поверхность.
Нанесение лакокрасочных и полимерных составов
5.12. Нанесение эмалей, красок и других составов следует производить на поверхность, подготовленную согласно рекомендациям
пп. 5.5 -
5.10 настоящего Руководства.
5.13. На внутренние поверхности панелей лакокрасочные и полимерные составы рекомендуется наносить на конвейерных линиях с вертикальным и горизонтальным положением панелей или на стационарных постах.
5.14. Посты и линия должны быть обязательно оснащены приточно-вытяжной вентиляцией и иметь оборудование, выполненное во взрывобезопасном исполнении при использовании лакокрасочных материалов на растворителях.
5.15. Конвейерная линия с электростатическим оборудованием
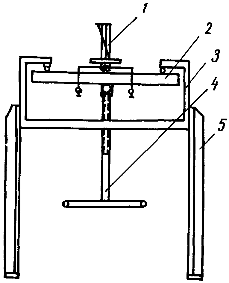
(рис. 2) предназначена для одновременного нанесения лакокрасочных материалов и полимерных составов при вертикальном положении панелей на наружные и внутренние поверхности. Длина линии 76 м, ширина 6 м. Производительность, в зависимости от количества типоразмеров панелей и площади защищаемых поверхностей, может быть 900 - 1100 м2 в смену.
Рис. 2. Схема конвейерной линии с электростатическим
оборудованием
1 - пост комплектации и навески панели;
2 - камера нанесения грунта; 3 - камера нанесения клеящей
основы и декоративной присыпки; 4 - камера сушки;
5 - камера нанесения закрепляющего или окрасочного слоя;
6 - камера сушки
5.16. Линия состоит из постов комплектации панелей, навески и съема их с конвейера, очистки поверхности от пыли, трех камер электроокраски и двух проходных конвекционных паровых камер сушки.
Перемещение панелей осуществляется цепным подвесным конвейером с двумя параллельными ветвями (грузовой и холостой), по которым с помощью замкнутой цепи перемещаются несущие каретки с подвесками.
5.17. Посты комплектации, навески на конвейер и съема панелей состоят из подъемника и кассетной тележки, на которую через каждые 30 см устанавливают в вертикальном положении 12 панелей. Тележка автоматически перемещается поперек конвейера на шаг, равный толщине панели, а подъемник поднимает ее до подвесок конвейера.
5.18. В камерах электроокраски устанавливают по два робота (механизмы перемещения распылителей). На каждом из них закрепляют по одному или два вихревых пневмоэлектростатических пистолета-распылителя типа РВПЭ (для водоэмульсионных составов) или чашечные распылители (для красок на растворителях).
5.19. Подача тока высокого напряжения к распылителям осуществляется с помощью высоковольтного кабеля, идущего от высоковольтного выпрямительного устройства В-140-5-2 с селеновыми трубками или от генератора марки ПВС-120. Высоковольтное устройство для каждой камеры электроокраски индивидуальное.
5.20. При нанесении эмалей на органических растворителях камера электроокраски должна быть оборудована искропредупреждающими устройствами типа ИПУ-1 или ИГУ-1 конструкции НПО "Лакокраспокрытие". В этом случае оборудование камер должно быть также выполнено во взрывобезопасном исполнении.
5.21. В чашечные распылители и пистолеты-распылители типа РВПЭ рабочие составы подают с помощью красконагнетательного бачка типа С-441 (емкостью 65 л) или дозатора ДКХ-2.
5.22. Камеры сушки (проходные, конвекционные, паровые) обеспечивают при температуре 60 °C сушку первых слоев покрытий за 15 - 20 мин, сушку всего покрытия - за 20 - 25 мин.
5.23. Технические характеристики транспортирующих устройств, камер и электростатического оборудования даны в
Прил. 4 настоящего Руководства.
5.24. Стационарные посты должны быть оборудованы вертикальными наклонными или горизонтальными стендами.
На стационарных постах грунтовочные и покрывные составы в зависимости от вязкости материалов наносят с помощью краскораспылителей КРВ-2, пистолетов-распылителей 0-45, С-592 и ГСХ (Р-68), а также установки С-562. Шпаклевочные и выравнивающие составы с цементом, песком наносят с помощью пистолета-распылителя ГСХ (Р-68), установки С-562, растворонасоса с форсункой ФН-1 или любого другого устройства, распыляющего вязкие составы с наполнителем.
| | ИС МЕГАНОРМ: примечание. Сноска дана в соответствии с официальным текстом документа. | |
--------------------------------
<*> Разработана НИИЖБ Госстроя СССР, НПО "Лакокраспокрытие" МХП СССР, КБ по железобетону Госстроя РСФСР.
5.25. Системы защитных покрытий на основе лакокрасочных и полимерных составов даны в табл. 9.
Таблица 9
────────────┬─────────────────────────────────┬──────────────────────────────┬───────
Покрытие │ Грунтовочные слои
<*> │ Покрывные слои │Толщина
├─────────────────┬─────────┬─────┼──────────────┬─────────┬─────┤покры-
│ материал │вязкость,│коли-│ материал │вязкость │коли-│тия, мк
│ │ с, │чест-│ │ │чест-│
│ │ по ВЗ-4 │во │ │ │во │
│ │ │слоев│ │ │слоев│
────────────┼─────────────────┼─────────┼─────┼──────────────┼─────────┼─────┼───────
1 │ 2 │ 3 │ 4 │ 5 │ 6 │ 7 │ 8
────────────┼─────────────────┼─────────┼─────┼──────────────┼─────────┼─────┼───────
Эмаль ХП-799│Лак ХП-734 │ 40 │ 1 │Эмаль ХП-799 │50 - 60 с│2 - 3│100 -
│ │ │ │ │по ВЗ-4 │ │ 150
────────────┼─────────────────┼─────────┼─────┼──────────────┼─────────┼─────┼───────
Перхлор- │ - │ - │ - │Эмаль ХВ-785 │20 - 50 с│ 2 │ -
виниловая │ │ │ │ │по ВЗ-4 │ │
эмаль ХВ-785│ │ │ │ │ │ │
────────────┼─────────────────┼─────────┼─────┼──────────────┼─────────┼─────┼───────
Краска ПВАЦ │Дисперсия ПВА │ 15 │ 1 │Краска ПВАЦ │120 - │ 2 │1500 -
с увеличен- │50%-ная, латекс │ │ │с добавлением │150 с │ │ 2000
ным содер- │СКС-65ГП, ГКЖ-10,│ │ │песка (до 90% │по ВЗ-4 │ │
жанием │жидкость 136-41 │ │ │массы краски) │ │ │
полимера │ │ │ │ │ │ │
────────────┼─────────────────┼─────────┼─────┼──────────────┼─────────┼─────┼───────
Эмаль │Лак ХВ-784 │ 20 - 30 │ 1 │Эмаль ХВ-1100 │40 - 50 с│1 - 2│100 -
ХВ-1100 │Краска ПВАЦ │90 - 120 │ │ │по ВЗ-4 │ 2 │ 200
────────────┼─────────────────┼─────────┼─────┼──────────────┼─────────┼─────┼───────
Краски │Краски Э-КЧ-26, │ 25 - 30 │ 1 │Краска Э-КЧ-26│40 - 50 с│ 2 │300 -
Э-КЧ-26, │Э-ВА-27 │ │ │или краска │по ВЗ-4 │ │ 400
Э-ВА-27 │Латекс СКС-65ГП │ 15 │ │Э-ВА-27 с │до │ │
│или дисперсия │ │ │добавлением │введения │ │
│ПВА 50%-ная │ │ │цемента или │наполни- │ │
│ГКЖ-10, жидкость │ 15 │ │молотого песка│теля │ │
│136-41 │ │ │(40% массы │ │ │
│ │ │ │краски) │ │ │
────────────┼─────────────────┼─────────┼─────┼──────────────┼─────────┼─────┼───────
Латексный │Состав ЛСП-145, │ - │ 1 │Состав ЛСП-145│23 см по │3 - 4│1000
состав │разведенный │ │ │с добавлением │вискози- │ │
ЛСП-145 │водой в │ │ │40% песка; │метру │ │
│соотношении 1:1 │ │ │состав ЛСП-145│Суттарда │ │
│ │ │ │с пигментом │ │ │
│ │ │ │ │ │ │
────────────┼─────────────────┼─────────┼─────┼──────────────┼─────────┼─────┼───────
Нефтеполи- │Краска СПП │ 20 - 25 │ 1 │Краска СПП │50 - 60 с│2 - 3│100 -
мерная │ │ │ │ │по ВЗ-4 │ │ 150
краска СПП │ │ │ │ │ │ │
────────────┼─────────────────┼─────────┼─────┼──────────────┼─────────┼─────┼───────
Пентафтале- │Лак НФ-170 │ 25 - 28 │ 1 │Эмали ПФ-115, │25 - 30 с│2 - 3│50 -
вые эмали │ГКЖ-10, жидкость │ 15 │ │ПФ-133 │по ВЗ-4 │ │ 100
ПФ-115, │136-41 │ │ │ │ │ │
ПФ-133 │ │ │ │ │ │ │
────────────┼─────────────────┼─────────┼─────┼──────────────┼─────────┼─────┼───────
Перхлорви- │Лак ХВ-784 │ 20 - 25 │ 1 │Эмаль ХВ-1100 │17 - 23 с│3 - 4│50 -
ниловая │ГКЖ-10 │ 15 │ │ │по ВЗ-4 │ │ 100
эмаль │ │ │ │ │ │ │
ХВ-1100 │ │ │ │ │ │ │
────────────┼─────────────────┼─────────┼─────┼──────────────┼─────────┼─────┼───────
Органосили- │Краска ОМС │ 15 │ 1 │Краска ОМС │25 с │2 - 3│50 -
катная │ВН-30 ДТС │ │ │ВН-30 ДТС │по ВЗ-4 │ │ 100
краска ОМС │Краска ПВАЦ │ 90 │ 2 │ │ │ │
ВН-30 ДТС │ │ │ │ │ │ │
────────────┼─────────────────┼─────────┼─────┼──────────────┼─────────┼─────┼───────
Масляные │Краска ПВАЦ │ 90 │ 1 │Масляные │30 - 35 с│2 - 3│150 -
краски │ │ │ │краски (для │по ВЗ-4 │ │ 200
│ │ │ │внутренних │ │ │
│ │ │ │работ) │ │ │
────────────┼─────────────────┼─────────┼─────┼──────────────┼─────────┼─────┼───────
Состав ЛИГА │Дисперсия ПВА │ 20 │ 1 │Состав ЛИГА │14 - │1 - 2│2000 -
│50%-ная или │ │ │ │18 см по │ │ 3500
│латекс СКС-65ГП │ │ │ │вискози- │ │
│ │ │ │ │метру │ │
│ │ │ │ │Суттарда │ │
────────────┼─────────────────┼─────────┼─────┼──────────────┼─────────┼─────┼───────
Составы СИПА│Состав СИПА 0 │15 см по │ 1 │Состав СИПА │50 - │2 - 3│2000 -
│ │коничес- │ │Н-2 │55 мм по │ │ 3000
│ │кому │ │ │коничес- │ │
│ │пласто- │ │ │кому │ │
│ │метру │ │ │пласто- │ │
│ │ │ │ │метру │ │
────────────┼─────────────────┼─────────┼─────┼──────────────┼─────────┼─────┼───────
Составы на │Лак Силикон-1, │ 20 │ 1 │Состав МКС │100 с │1 - 2│200 -
основе моди-│СКН-26-1А │ │ │ │по ВЗ-4 │ │ 300
фицированных│ │ │ │ │ │ │
кремний- │ │ │ │ │ │ │
органических│ │ │ │ │ │ │
соединений │ │ │ │ │ │ │
(МКС) │ │ │ │ │ │ │
────────────┴─────────────────┴─────────┴─────┴──────────────┴─────────┴─────┴───────
--------------------------------
<*> Для данного покрытия применяют один из указанных материалов.
5.26. Эмаль ХП-799 и лак ХП-734 поступают на предприятия ячеистого бетона в готовом к употреблению виде. Срок хранения до 1 года.
5.27. Шпаклевку готовят на месте потребления путем смешивания лака ХП-734 вязкостью 40 с по ВЗ-4 при температуре 20 °C с наполнителем (портландцемент, молотый песок, андезитовая или диабазная мука), взятых в соотношении 1:1 (по массе) для общего шпаклевания поверхности и 1:2,5 (по массе) - для местного.
5.28. Лак и эмаль наносят пневматическим пистолетом-распылителем или кистью. Местную шпаклевку наносят резиновым шпателем, общую - пистолетом-распылителем для шпаклевочных составов. До рабочей вязкости лак и эмаль при нанесении краскораспылителем и кистью разбавляется ксилолом или толуолом.
5.29. Послойную сушку покрытий производят в течение 1,5 - 2 ч, местную и общую шпаклевку сушат 3 - 6 ч при температуре 18 - 23 °C. При повышенной температуре время сушки может быть сокращено.
5.30. Составы на основе модифицированных кремнийорганических соединений (МКС) <*> приготавливают на месте.
--------------------------------
<*> А.с. 392715 (СССР). Состав покрытия/О.М. Сысоев, О.М. Иванов, Т.В. Косточкина и др. - Опубл. в Б.И., 1973, N 45.
5.31. Приготовление грунта, шпаклевки и покрывного состава производят в краскозаготовительных отделениях, оснащенных приточно-вытяжной вентиляцией.
5.32. Грунтовочный состав приготавливают путем смешивания лака Силикон-1, 50%-ного раствора фенол-инден-кумароновой смолы и 50%-ного раствора сополимера дивинила с акрилнитрилом (СКН-26-1А) в соотношении 1:0,25:0,15 (мас.ч.).
5.33. Состав для шпаклевки и покрывных слоев приготавливают путем перемешивания в краскотерке сухих компонентов с полимерами (табл. 10).
Таблица 10
───────────────────────────────────────────┬───────────────────────────────
Компоненты │ Содержание компонентов
│ (% по массе) в составах
├───────────────┬───────────────
│ для шпаклевки │ для защиты
───────────────────────────────────────────┼───────────────┼───────────────
Лак Силикон-1 │ 39,9 │ 51,7
Фенол-инден-кумароновая смола (50%-ный │ 14,7 │ -
раствор) │ │
Сополимер СКН-26-1А (50%-ный раствор) │ 10,5 │ 9,2
Двуокись титана │ 7 │ 7,9
Аморфный кремнезем │ 3,9 │ 4
Тальк │ 24 │ 35
───────────────────────────────────────────┴───────────────┴───────────────
Сначала приготавливают 50%-ный раствор сополимера СКН-26-1А введением в него растворителя, состоящего из смеси бутилацетата с толуолом в соотношении 3:1 (мас.ч.); затем раствор сополимера смешивают с лаком Силикон-1 и 50%-ным раствором фенол-инден-кумароновой смолы. Полученное полимерное связующее вводят в краскотерку, а затем загружают в нее сухие компоненты. Смесь тщательно перемешивают в течение 20 - 30 мин. Жизнеспособность состава - 4 - 5 ч.
5.34. Пентафталевые эмали ПФ-115 и ПФ-133 и лак ПФ-170 поступают с завода-изготовителя в готовом виде. До требуемой вязкости их разбавляют растворителем РЭ-4 состава: сольвент - 50%, спирт этиловый гидролизный - 20%, ацетон - 30%.
Перед употреблением эмали размешивают и фильтруют через сетку с 2400 отв./см2. Лак и эмали наносят краскораспылителями или пистолетами-распылителями.
При работе с пентафталевыми эмалями для заделки мелких дефектов можно применять лаковую шпаклевку ПФ-00-2.
5.35. Перхлорвиниловая эмаль ХВ-785 поступает на заводы ячеистого бетона в готовом виде. На поверхность панели ее наносят пистолетом-распылителем. Для шпаклевки поверхности применяют состав, состоящий из лака ХВ-785 (30 мас.ч.), эмульгатора в виде 5%-ного раствора хозяйственного мыла (7 мас.ч.) и цемента (38 мас.ч.). Поверх шпаклевки наносят 2 - 3 слоя эмали ХВ-785. Расход эмали 200 - 300 г/м2.
5.36. Нефтеполимерная краска СПП поступает с завода-изготовителя в готовом виде. На поверхность панели ее наносят пистолетом-распылителем. Для шпаклевки применяют состав (мас.ч.): цемент - 33,3, молотый мел - 33,3, асбест N 7 или тальк - 33,3, казеиновый клей - 3, дисперсия ПВА 50%-ная - 8 и вода - 44.
5.37. Эмаль КЧ-749 поступает с завода-изготовителя в готовом виде. На поверхность панели ее наносят пистолетом-распылителем. Для шпаклевки применяют состав, приведенный в
п. 5.36 настоящего Руководства.
5.38. Органосиликатные краски ОМС ВН-30 ДТС поступают в готовом виде. До рабочей вязкости их разбавляют толуолом и перемешивают до полной гомогенизации. Краски наносят кистью, пистолетами-распылителями в специальных помещениях, оборудованных приточно-вытяжной вентиляцией. Для увеличения сопротивления паропроницанию защитного покрытия рекомендуется грунтовочный слой выполнять краской ПВАЦ по
п. 5.40 или подготовку поверхности производить в соответствии с
п. 5.7 настоящего Руководства.
5.39. При сушке покрытий (при температуре до 35 °C) в органосиликатные краски добавляют 1 - 2% отвердителя ТБТ и ПБТ (от массы краски в пересчете на сухой остаток) и тщательно перемешивают до получения однородного состава. Срок годности красок с отвердителем - 48 ч. Расход краски составляет 400 - 500 г/м2.
5.40. Краски ПВАЦ с повышенным содержанием полимера приготавливают на месте потребления путем перемешивания компонентов с водой (табл. 11). Краску ПВАЦ наносят пистолетом-распылителем для вязких составов.
Таблица 11
──────────────────────────────────────────┬────────────────────────────────
Компоненты │ Содержание компонентов, мас.ч.
──────────────────────────────────────────┼────────────────────────────────
Портландцемент │ 1
Дисперсия ПВА 50%-ная │ 0,7
Песок фракцией 0,1 - 1,2 мм │ 1
Вода │ 0,2 - 0,3
──────────────────────────────────────────┴────────────────────────────────
5.41. Неоднородную по впитываемости поверхность панели рекомендуется предварительно грунтовать латексом СКС-65ГП, разведенным водой в количестве 40% от массы латекса.
5.42. Водоэмульсионные краски Э-ВА-27, Э-КЧ-26 разных цветов поступают на предприятия ячеистого бетона в готовом виде. До рабочей вязкости их разбавляют водой.
5.43. Шпаклевочные составы приготавливают на месте потребления путем перемешивания краски с цементом или молотым песком (40% массы краски) в мешалках принудительного действия в течение 5 мин. Для предотвращения коагуляции шпаклевки на основе краски Э-КЧ-26 в состав вводят 10 - 15% стабилизатора ОП-7 или 20%-ного раствора казеината аммония. Способ приготовления раствора казеината аммония дан в
Прил. 5.
5.44. Водоэмульсионные краски перед употреблением тщательно перемешивают и фильтруют через двойной слой марли.
5.45. Краски наносят пистолетом-распылителем КРВ-2, шпаклевку - пистолетом-распылителем ГСХ (Р-68).
5.46. Покрытия на основе водоэмульсионных красок хорошо моются водой и моющими растворами, отличаются светостойкостью.
5.47. Составы СИПА 0, СИПА Н-2 (табл. 12) приготавливают на месте потребления из сухого порошка, затворенного водой.
Таблица 12
──────────────────────────────────────────┬────────────────────────────────
Компоненты │ Содержание компонентов
│ (% по массе) в составах
├───────────────┬────────────────
│ СИПА 0 │ СИПА Н-2
──────────────────────────────────────────┼───────────────┼────────────────
Известняк фракцией до 0,63 мм │ 42 │ -
" " до 0,45 мм │ - │ 91,5
Молотый силикатобетон │ 42,5 │ -
Мел │ 5 │ 5
Цемент │ 7,5 │ -
Сульфонол │ 0,5 │ 0,5
КМЦ │ 2,5 │ 3
Вода (от массы сухих компонентов) │ 25 - 35 │ 25 - 35
──────────────────────────────────────────┴───────────────┴────────────────
5.48. Порошок СИПА 0 и СИПА Н-2 поступает на завод ячеистого бетона во влагонепроницаемых мешках. Перед употреблением его затворяют водой.
5.49. Состав СИПА рекомендуется приготавливать в лопастном смесителе со скоростью вращения 650 об/мин. Время перемешивания состава 2 мин. Жизнеспособность состава 6 ч с момента затворения водой.
5.50. Состав СИПА наносят с помощью пистолетов-распылителей для вязких составов, агрегатом типа АНШ или НБ-8. При необходимости заглаживание поверхности состава СИПА можно производить шпателем шириной 600 - 900 мм.
5.51. Нанесение масляных красок (для внутренних работ) производят без предварительной грунтовки на подготовленную поверхность или с грунтовкой краской ПВАЦ. Рабочие составы рекомендуется приготавливать в аппаратах с пропеллерными мешалками путем перемешивания густотертых красок с соответствующими разбавителями. Срок хранения готовых красок 1 мес.
5.52. Состав ЛИГА наносят на подготовленную поверхность или на выровненную тем же составом ЛИГА более густой консистенции.
Состав ЛИГА приготавливают в краскозаготовительном отделении. Соотношение компонентов дано в табл. 13.
Таблица 13
───────────────────────────────────────────┬───────────────────────────────
Компоненты │Содержание компонентов, мас.ч.
───────────────────────────────────────────┼───────────────────────────────
Гипс, частично обожженный, или фосфогипс │ 85,2
Портландцемент │ 5
КМЦ │ 1,5
Стабилизатор ОП-7, ОП-10 │ 0,3
Дисперсия ПВА 50%-ная или латекс СКС-65 ГПБ│ 8
Вода - до консистенции 14 - 18 см по вискозиметру Суттарда
───────────────────────────────────────────────────────────────────────────
5.53. Состав ЛИГА приготавливают в растворомешалке перемешиванием сухих компонентов с полимерным связующим и водой. Его наносят агрегатом типа АНШ или любым другим пистолетом для вязких составов.
5.54. Эмали КО-174 разных цветов наносят для придания декоративного вида поверхности, пропитанной кремнийорганическими соединениями. Они поступают на предприятие ячеистого бетона в готовом виде. Их наносят пистолетом-распылителем в камерах или на постах, оборудованных приточно-вытяжной вентиляцией. При необходимости эмали разбавляют толуолом, ксилолом.
5.55. Нанесение состава ЛСП-145 <*>
(табл. 14) производят на горячую поверхность и боковые грани панели (сразу после автоклавной обработки) с помощью агрегата СО-21А или пистолетом с красконагнетательным бачком.
--------------------------------
<*> А.с. 461914 (СССР). Способ гидроизоляции поверхностей строительных материалов/Э.М. Спектор, А.М. Гутман. - Опубл. в Б.И., 1975, N 8.
───────────────────────────────────────────┬───────────────────────────────
Компоненты │ Содержание компонентов,
│ % по массе
───────────────────────────────────────────┼───────────────────────────────
Латекс СКС-65ГП │ 100
Добавка АО-20 (нетемнеющая) │ 2
Жидкое стекло │ 3
Тиурам │ 2
Алюминат натрия │ 2,6
Сульфонол │ 0,2
Пигмент (органический) │ 0,5
Вода - до консистенции 20 - 23 см по вискозиметру Суттарда
───────────────────────────────────────────────────────────────────────────
5.56. Состав ЛСП-145 приготавливают на предприятиях ячеистого бетона согласно регламенту и технологии, разработанной ВНИИкровля Минстройматериалов СССР.
5.57. Состав ЛСГ-905 представляет собой смесь водной дисперсии бутилкаучука, талька и загустителя гипана. На предприятия ячеистого бетона состав ЛСГ-905 поступает в готовом виде. Состав наносят за два раза пистолетом-распылителем или кистью на остывшую и влажную, горячую поверхность панели. Каждый нанесенный слой рекомендуется просушивать в течение 15 мин при температуре 50 - 70 °C. Толщина слоя должна быть в пределах 0,8 - 1 мм.
Гидрофобизация и пропитка
5.58. Пропитку поверхности, включая и боковые грани панели, рекомендуется производить кремнийорганическими соединениями или битумными растворами.
5.59. Поверхностную гидрофобизацию панелей производят 2 - 3%-ным раствором ГКЖ-10 или 1 - 2%-ным раствором жидкости 136-41 по подготовленной поверхности.
5.60. В зависимости от цели гидрофобизации ее наносят за один или два-три раза пистолетом-распылителем. Перерыв между нанесением слоев не должен превышать 10 мин. При использовании растворов жидкости 136-41 в органических растворителях посты отделки должны быть оборудованы приточно-вытяжной вентиляцией.
5.61. Глубинную гидрофобизацию выполняют термоградиентным или комбинированным способом пропитки панели в специальных ваннах 3 - 5%-ным водным раствором жидкости 136-41. Толщина гидрофобного слоя назначается в зависимости от целей гидрофобизации по
табл. 5 настоящего Руководства.
5.62. Для получения гидрофобного слоя толщиной 4 - 9 мм панель (или пакет панелей), имеющую после автоклавной обработки температуру 50 °C, погружают в ванну с гидрофобизирующим составом, охлажденным до температуры 4 - 5 °C. При меньшей температуре ее можно погружать в состав, имеющий температуру 20 - 25 °C.
5.63. Глубину пропитки H, в зависимости от термоградиента в системе "панель-жидкость", определяют по формуле

,
где

- величина термоградиента в системе "материал-пропиточный состав", °C (разность температур панели и состава - от 20 до 80 °C);

- скорость охлаждения панели в растворе, °C/мин (от 0,5 до 1,8 °C/мин).
5.64. Продолжительность пропитки в зависимости от объемной массы ячеистого бетона корректируют по результатам опытной пропитки панелей, она принимается в пределах 10 - 15 мин. Увеличение продолжительности пропитки не приводит к увеличению глубины гидрофобизации.
5.65. Для получения гидрофобного слоя толщиной 10 - 25 мм производят комбинированную пропитку - термоградиентную в сочетании с предварительным вакуумированием или компрессированием. Для этого применяют комплект технологического оборудования, содержащий герметичную пропиточную камеру, систему вакуумирования, систему приготовления и подачи гидрофобизирующего состава, систему контроля и управления процессом пропитки
(рис. 3). Производительность оборудования - 5 м3/ч; полное время цикла обработки изделий - 47 мин. Комбинированную пропитку выполняют после автоклавной обработки при температуре панели около 50 °C. Последовательность и продолжительность операции по пропитке указаны в
табл. 15.
Рис. 3. Технологическая схема для комбинированной пропитки
1 - пропиточная камера; 2 - панели;
3 - вакуум-насос; 4 - устройство контроля процесса пропитки;
5 - центробежный насос; 6 - емкость с пропиточным составом
───────────────────────────────────────────────────┬───────────────────────
Наименование операции │Минимальная продолжи-
│тельность операции, мин
───────────────────────────────────────────────────┼───────────────────────
1 │ 2
───────────────────────────────────────────────────┼───────────────────────
Загрузка панелей в пропиточную камеру │ 7
<*>
Герметизация пропиточной камеры │ 1
Предварительное вакуумирование до 0,095 МПа │ 10
<**>
Заполнение пропиточной камеры гидрофобизирующим │ 5
составом и создание гидростатического давления │
+0,05 МПа │
Выдержка в режиме пропитки │ 5
<*>
Слив гидрофобизирующего состава │ 5
Повторное вакуумирование до 0,095 МПа │ 5
Сброс вакуума в камере │ 1
Разгерметизация пропиточной камеры │ 1
Выгрузка панелей из камеры │ 7
<*>
--------------------------------
<**> Для бетона объемной массой 600 - 700 кг/м3.
5.66. Выдержку панелей в режиме пропитки продолжают до тех пор, пока не будет достигнута требуемая глубина пропитки, которая контролируется по количеству поглощенного ячеистым бетоном пропиточного состава (табл. 16).
Таблица 16
───────────────────┬───────────────────────────────────────────────────────
Объемная масса │ Количество поглощенного пропиточного состава
ячеистого бетона, │ для получения гидрофобного слоя толщиной, мм
кг/м3 ├─────────────┬─────────────┬─────────────┬─────────────
│ 10 │ 15 │ 20 │ 25
───────────────────┼─────────────┼─────────────┼─────────────┼─────────────
900 │ 2,95 │ 4,42 │ 5,89 │ 7,37
800 │ 3,36 │ 5,04 │ 6,72 │ 8,4
700 │ 3,77 │ 5,66 │ 7,55 │ 9,43
600 │ 4,19 │ 6,28 │ 8,37 │ 10,47
───────────────────┴─────────────┴─────────────┴─────────────┴─────────────
5.67. Для полной полимеризации гидрофобизатора после выгрузки из пропиточной камеры панели должны быть выдержаны на складе не менее 72 ч при температуре не ниже 10 °C.
5.68. Глубинную пропитку (под вакуумом) панелей битумными составами производят в вертикальной пропиточной ванне (рис. 4).
Рис. 4. Схема отделения пропитки панелей битумным составом
1 - приемный бак емкостью 12 м3;
2 - расходные баки объемом 7 м3; 3 - фильтры ТМ-25-30-40;
4 - битумные насосы Д-171; 5 - теплообменники ПМ-40-15;
6 - ванна для пропитки изделий; 7 - рельсовые пути
и тележка для перемещения панелей;
8 - кассета для панелей
Перед началом пропитки в кассетное устройство устанавливают по 2 панели фасадной поверхностью друг к другу, в зазор между ними вставляют резиновые прокладки и обжимают панели специальными винтами, затем кассетное устройство с панелями вставляют в пропиточную ванну. Одновременно в ванну можно устанавливать 3 кассеты (6 панелей).
5.69. Процесс пропитки заключается в следующем: из первого расходного бака вязкий битумный состав с температурой 140 - 150 °C подается в пропиточную ванну. После полного погружения панелей в битумный состав подача его прекращается.
Для поддержания температуры состава 140 - 150 °C его насосами по замкнутой системе трубопроводов перекачивают из ванны через теплообменники снова в ванну. Процесс прогрева панелей длится 1,5 - 2 ч.
После прогрева панелей состав перекачивают обратно в первый расходный бак. Затем для окончательной пропитки панелей из второго расходного бака битумный состав с температурой 100 - 110 °C подается в ванну.
По достижении составом температуры 30 - 40 °C панели освобождают от кассетного устройства и на тележке направляют на склад готовой продукции.
5.70. Способ приготовления маловязкого и вязкого битумного состава, содержащего битум 70 - 75% и керосин соответственно 30 - 25% (по массе), и техническая характеристика оборудования даны в
Прил. 6 и
7 настоящего Руководства. Расход состава на 1 м2 поверхности составляет 3 - 5 кг в зависимости от плотности ячеистого бетона в пропиточном слое.
5.71. Поверхностную пропитку панели 33%-ным раствором битума в керосине производят дважды: по свежеотформованному ячеистому бетону после срезки горбушки (или прикатки) и сразу после выгрузки из автоклава. Температура поверхности в последнем случае должна быть не менее 60 - 70 °C. Расход раствора при первом нанесении 1,5 кг/м2, при втором - 2 кг/м2.
5.72. В заводских условиях поверхностную пропитку производят на специальных постах, оборудованных автоклавной тележкой, механизмом перемещения тележки, вентиляционной камерой с воздуховодами, краскораспылителем. Технологическая линия по пропитке панелей разработана НИИСМИ МПСМ УССР для Славутского завода стеновых силикатных материалов.
Эти посты могут быть включены в общую технологическую схему производства по изготовлению панелей или быть отдельно стоящими. При этом содержание паров растворителя в воздухе рабочей зоны помещений не должно превышать концентраций, предусмотренных "Санитарными нормами проектирования промышленных предприятий"
(СН 245-71).
5.73. Приготовление раствора битума в керосине следует производить в приготовительном отделении отдельно стоящего здания в соответствии с требованиями пожарной безопасности. Отделение оборудовано двумя установками для приготовления битумного раствора, промежуточными емкостями и битумным насосом. Технические характеристики оборудования даны в
Прил. 8 настоящего Руководства.
Приготовление раствора начинают с дробления битума на куски массой 0,5 - 1,5 кг. Затем в мешалке, обогреваемой паром, его расплавляют и с помощью насоса в него вводят керосин. Смесь перемешивают 3 - 3,5 ч до полного растворения битума в керосине. Плотность раствора должна быть 0,87 г/см3 (контроль по ареометру). Готовый состав сливают в промежуточную емкость и выдерживают 2 - 3 ч для остывания до рабочей температуры 25 +/- 10 °C, при этом вязкость состава должна быть в пределах 0,5 - 1 П.
5.74. Пропитку поверхности свежеотформованного ячеистого бетона после срезки горбушки (или прикатки) осуществляют раствором битума в керосине, который наносят краскораспылителем на панель, медленно передвигающуюся на тележке в камере, оборудованной вентиляцией. Там панель находится 2 - 3 мин, затем ее подают на вагонетку для последующей автоклавной обработки.
5.75. После автоклавной обработки панель краном снова подают на пост пропитки, где вторично краскораспылителем наносят на нее раствор битума в керосине. Время повторного нахождения панели в камере 5 - 7 мин.
5.76. Пропитанную панель краном подают на пост распалубки, а затем на пост отделки.
5.77. Отделку поверхности пропитанного слоя можно производить нанесением двух слоев битумной краски БТ-177 или битумно-алюминиевой краски, приготовленной смешиванием битумного лака БТ-577 с алюминиевой пудрой ПАП-1 (табл. 17).
Таблица 17
─────────────┬──────────┬─────────┬──────────┬─────────┬──────────┬────────
Компоненты │Содержание│ Цвет │Содержание│ Цвет │Содержание│ Цвет
│компонен- │ │компонен- │ │компонен- │
│тов, % │ │тов, % по │ │тов, % │
│по массе │ │массе │ │по массе │
─────────────┼──────────┼─────────┼──────────┼─────────┼──────────┼────────
Битумный лак │ 80 │Серебрис-│ 90 │Бронзовый│ 95 │Темно-
БТ-577 │ │тый │ │ │ │бронзо-
ПАП-1 │ 20 │ │ 10 │ │ 5 │вый
─────────────┴──────────┴─────────┴──────────┴─────────┴──────────┴────────
Остывшую поверхность (через 1 сут пропитки) можно отделывать водоэмульсионной краской Э-ВА-27, Э-КЧ-26 либо известковой побелкой.
Нанесение пленочных покрытий
5.78. Наклеивание активированной полиэтиленовой пленки на поверхность панели производят на специальном посту (рис. 5), оборудованном рельсовым путем для автоклавной тележки и перемещающейся рамой, на которой подвижно укреплены рулоны полиэтиленовой пленки, направляющие ролики, прижимной вал, бункер для клея и боковые ограничители.
Рис. 5. Схема устройства для нанесения пароизоляции
на основе активированной полиэтиленовой пленки
на панели из ячеистого бетона
1 - панель; 2 - боковые ограничители; 3 - бункер для клея;
4 - рулон полиэтиленовой пленки; 5 - подвижная рама;
6 - направляющие ролики; 7 - прижимной вал;
8 - наклеенная пленочная пароизоляция
5.79. Перед началом работ пленку разрезают на полотна длиной на 10 см больше длины отделываемой панели, составляют схему расположения полотен с указанием последовательности их наклеивания.
5.80. Приклеивание пленки производят клеевым составом ПВАЭД. Его приготавливают следующим образом: в дисперсию ПВА 50%-ную, дисперсию С-135 или лака Э-ВА-5189 исходной вязкости 300 с по вискозиметру ВЗ-1 вводят эпоксидную смолу ЭД-20 или ЭИС-1 (10 мас.ч.), смешанную с отвердителем ПЭПА (1 мас.ч.). Соотношение компонентов клеящего состава дано в табл. 18. Смесь тщательно перемешивают до получения однородной консистенции. Срок хранения клеящего состава до 2 сут при температуре 5 - 18 °C.
Таблица 18
───────────────────────────────────────┬───────────────────────────────────
Компоненты │Содержание компонентов, % по массе
───────────────────────────────────────┼───────────────────────────────────
Дисперсия ПВА 50%-ная, сополимерная │ 87
дисперсия С-135 или лак Э-ВА-5189 │
Эпоксидная смола ЭД-20 или ЭИС-1 │ 12
Полиэтиленполиамин (ПЭПА) │ 1
───────────────────────────────────────┴───────────────────────────────────
Облицовка керамической плиткой
5.81. Облицовку поверхностей панелей производят керамической глазурованной плиткой размером 15 x 15 см. Для крепления плитки применяют полимерцементные растворы с добавлением карбоксометилцеллюлозы КМЦ (табл. 19).
Таблица 19
────────────────────────────────────┬──────────────────────────────────────
Компоненты │Содержание компонентов состава, мас.ч.
────────────────────────────────────┼──────────────────────────────────────
Портландцемент │ 1
Дисперсия ПВА 50%-ная │ 0,1
5%-ный раствор КМЦ в воде │ 0,8
Песок фракцией до 1,2 мм │ 4
Вода │ До требуемой консистенции
────────────────────────────────────┴──────────────────────────────────────
5.82. Для приготовления раствора КМЦ его порошок выдерживают в воде в течение 15 - 20 ч.
5.83. Полимерцементный раствор приготавливают в мешалках принудительного действия. Жизнеспособность состава с добавкой КМЦ не менее 8 ч.
5.84. Плитку "в стык" наклеивают по раствору, нанесенному на очищенную от пыли и огрунтованную поверхность.
5.85. Грунтовку поверхности стен производят дисперсией ПВА 50%-ной или латексом СКС-65ГП из пистолета-распылителя, просушивают в течение 10 мин. Затем вручную или пневмофорсункой наносят полимерцементный раствор слоем 3 - 5 мм. Перед наклейкой плитку опускают на несколько минут в воду.
6.1. Лакокрасочные, битумные, полимерные материалы, растворители, а также активированную полиэтиленовую пленку хранят в специальных отдельно стоящих складах, оборудованных противопожарными средствами защиты согласно "
Правилам и нормам безопасности, пожарной безопасности и промышленной санитарии для окрасочных цехов" (М., ВНИИПИ охраны труда и ЦК профсоюза рабочих машиностроения, 1971). Температура складского помещения должна быть не ниже 5 °C.
6.2. Лакокрасочные, полимерные, кремнийорганические, битумные материалы и растворители должны храниться в специальных стационарных закрывающихся емкостях или таре (бочках, флягах и т.п.), имеющих этикетки или бирки с указанием наименования материала. На бобине активированной пленки помимо заводских характеристик должна быть указана дата ее обработки. Срок годности ее не более 12 мес.
| | ИС МЕГАНОРМ: примечание. Взамен ГОСТ 10354-73 Постановлением Госстандарта СССР от 02.06.1982 N 2253 с 1 июля 1983 года введен в действие ГОСТ 10354-82. | |
Транспортирование и хранение активированной пленки должно отвечать требованиям ГОСТ 10354-73.
6.3. Порошок СИПА Н-2, СИПА 0 хранят в закрытых отапливаемых складах с температурой от 5 до 40 °C и относительной влажностью воздуха не более 75%.
7. КОНТРОЛЬ КАЧЕСТВА ИСХОДНЫХ МАТЕРИАЛОВ
И ПАНЕЛЕЙ С ЗАЩИЩЕННОЙ ПОВЕРХНОСТЬЮ
7.1. Контроль за выполнением требований по подготовке поверхности, защите и отделке панелей возлагается на лабораторию и отдел технического контроля предприятия.
7.2. Лабораторией предприятия производится контроль качества поступающих для защиты и отделки материалов согласно требованиям соответствующих стандартов.
7.3. Лакокрасочные и полимерные материалы должны иметь паспорт завода-изготовителя, в котором содержатся данные по применяемому растворителю.
7.4. Лаборатория проверяет:
а) качество лакокрасочных материалов по следующим показателям:
малярной консистенции - ОСТ 10086-39* МИ-11;
| | ИС МЕГАНОРМ: примечание. Взамен ГОСТ 8784-58 Постановлением Госстандарта СССР от 17.07.1975 N 1831 с 01.07.1976 введен в действие ГОСТ 8784-75. | |
укрывистости - ГОСТ 8784-58;
б) качество цемента - по активности и срокам схватывания -
ГОСТ 310.3-76;
в) качество песка - по удельной поверхности;
а также соответствие значений следующих характеристик требуемым значениям:
г) вязкости грунтовочных, шпаклевочных составов на основе лакокрасочных и полимерных материалов, полимерцементных составов и растворов, полимерного клея ПВАЭД, а также рабочей концентрации кремнийорганических соединений;
д) консистенции приготовленного битумного состава для глубинной пропитки.
7.5. Лаборатория должна обеспечить контроль за точностью соблюдения технологических операций по приготовлению и нанесению защиты и отделки.
7.6. Лаборатория предприятия обязана проверять следующее:
а) прочность сцепления покрытий на основе лакокрасочных и полимерных материалов с ячеистым бетоном - 1 раз в месяц (см.
Прил. 2);
б) водопроницаемость при капиллярном подсосе защитных покрытий - 1 раз в 3 месяца (см.
Прил. 2).
7.7. ОТК предприятия при визуальном осмотре проверяет:
а) готовность поверхности панелей к нанесению защиты (соблюдение требований
табл. 7);
б) внешний вид защитной отделки (отсутствие трещин, отслоений покрытий, соответствие цвета эталону) и качество панелей согласно требованиям
ГОСТ 11118-73.
8. ОСНОВНЫЕ ПРАВИЛА ПО ТЕХНИКЕ БЕЗОПАСНОСТИ
И ПОЖАРНОЙ БЕЗОПАСНОСТИ
| | ИС МЕГАНОРМ: примечание. В официальном тексте документа, видимо, допущена опечатка: правила имеют название "Правила и нормы техники безопасности, пожарной безопасности и промышленной санитарии для окрасочных цехов". | |
8.1. При хранении, приготовлении составов, нанесении и сушке покрытий должны соблюдаться требования, предусмотренные "
Правилами техники безопасности и пожарной безопасности промышленной санитарии для окрасочных цехов", утвержденными заместителем министра химического и нефтяного машиностроения СССР 17.III.1970, "Правилами безопасности для производства лакокрасочной промышленности" (Госгортехнадзор СССР, 1974) и главы
СНиП III-А.11-70 "Техника безопасности в строительстве".
| | ИС МЕГАНОРМ: примечание. Взамен СНиП III-23-76 Постановлением Госстроя СССР от 13.12.1985 N 223 введены в действие с 1 июля 1986 года СНиП 3.04.03-85. | |
8.2. При производстве и приемке работ по защитной отделке следует соблюдать требования главы СНиП III-23-76, при работе с битумными составами -
СНиП III-А.11-70.
8.3. Рабочие и инженерно-технические работники предприятия, занятые на отделке, перед началом работ должны пройти специальный инструктаж по приготовлению и нанесению защитных и отделочных составов и эксплуатации применяемого оборудования.
8.4. Помещения, где приготавливают составы на растворителях и проводят работы по отделке и сушке покрытий, необходимо оборудовать приточно-вытяжной вентиляцией. Кроме того, стендовые посты при работе с составами на растворителях должны быть оборудованы принудительным отсосом воздуха.
8.5. Рабочие должны иметь спецодежду, рукавицы и защитные очки.
8.6. Эпоксидные смолы, полиэтиленполиамин (ПЭПА), растворители, лакокрасочные материалы на растворителях должны храниться в специальных помещениях с приточно-вытяжной вентиляцией.
8.7. Цехи и краскозаготовительные отделения при работе с лакокрасочными материалами на растворителях и с битумными составами по пожароопасности относятся к категории "б" и должны удовлетворять требованиям "Санитарных норм проектирования промышленных предприятий"
(СН 245-71). При использовании водных составов они не являются пожароопасными.
8.8. Конвейерную линию с электрическим оборудованием для нанесения покрытий следует располагать у оконных проемов наружных стен цехов предприятий ячеистого бетона или в изолированном помещении. По согласованию с пожарной инспекцией допускается размещать ее в общем потоке производства.
8.9. Внутрицеховое краскозаготовительное отделение при применении битумных, лакокрасочных и полимерных материалов на растворителях должно быть расположено у наружной стены с оконными проемами, иметь стены из трудносгораемых материалов с пределом огнестойкости конструкций не менее 1,5 ч и самостоятельный выход наружу.
8.10. Пол помещений краскозаготовительного отделения должен быть бетонным или из цементно-песчаного раствора.
8.11. Камеры электроокраски и сушки должны быть оборудованы первичными средствами пожаротушения и автоматической пожарной сигнализацией.
8.12. Воздух, удаленный из камер электроокраски местными вентиляционными устройствами, не допускается направлять в общую вытяжную систему.
8.13. В краскозаготовительном отделении, цехе и складе материалов не допускается производить работы, связанные с применением открытого огня или искрообразования.
8.14. Помещения, где на постах производятся работы по защите и отделке пожароопасными материалами, должны быть оснащены пожарным инвентарем (огнетушитель, ящик с песком и т.д.).
9. ЗАЩИТА ПОВЕРХНОСТЕЙ СТЕН НА СТАДИИ СТРОИТЕЛЬСТВА
9.1. После монтажа панелей без защитных покрытий или пропитанного слоя и заделки швов на внутреннюю поверхность стен наносят защитные покрытия на основе лакокрасочных, полимерных или кремнийорганических составов.
Выбор вида защиты и способа нанесения защитных покрытий следует производить по
табл. 4,
5,
6 и
пп. 4.7 -
4.10 настоящего Руководства с учетом режимов эксплуатации помещений (см.
табл. 1), условий проведения послемонтажных работ по защите стен и мероприятий по защите торцевых и горизонтальных граней панелей.
В связи с токсичностью и пожароопасностью лакокрасочных и полимерных материалов на растворителях предпочтение следует отдавать водоэмульсионным материалам.
9.2. При монтаже панелей следует строго соблюдать проектную ширину швов между ними. В противном случае при заполнении раствором швов большей ширины повышается теплопроводность стыков. Особенно тщательно должны быть заделаны вертикальные швы.
9.3. Заделку швов между панелями и зазор между стеновыми панелями и несущей конструкцией рекомендуется производить согласно
рис. 1,
2 легкими или поризованными растворами или теплоизолирующими прокладками типа пороизол, гернит с последующей герметизацией швов изолом, полиизобутиленовыми мастиками типа УМ-40, тиоколовыми ГС-1, У-30М согласно требованиям "Указаний по герметизации стыков при монтаже строительных конструкций"
(СН 420-71) и
ГОСТ 14791-79.
Составы легкого и поризованного раствора объемной массой 1200 - 1300 кг/м3 и прочностью не ниже 5 МПа даны в табл. 20.
Таблица 20
─────────────┬───────────────────────────────────────────────────────┬───────
Раствор │ Компоненты │Осадка
├──────┬───────┬───────┬──────────────────┬─────────────┤конуса,
│цемент│известь│ песок │песок керамзитовый│пластифициру-│ см
│ │ │обычный│ или перлитовый │ющая добавка │
├──────┴───────┴───────┴──────────────────┤ПО-6, % массы│
│ мас.ч. │цемента │
─────────────┼──────┬───────┬───────┬──────────────────┼─────────────┼───────
Поризованный │ 1 │ - │ 3 │ - │ 3 │10 - 12
Легкий │ 1 │ 1 │ - │ 6 │ - │ -
─────────────┴──────┴───────┴───────┴──────────────────┴─────────────┴───────
9.4. Щели между панелями и окнами или дверными коробками необходимо тщательно конопатить, с обеих сторон герметизировать мастикой и дополнительно закрывать деревянными рейками. Крепление оконных и дверных коробок к стенам рекомендуется осуществлять оцинкованными дюбелями непосредственно в газобетон или обыкновенными гвоздями в деревянные пробки, забитые в просверленные в газобетоне отверстия.
9.5. Защитные покрытия наносят на прочную, чистую и выровненную поверхность панелей, раствора (герметика) швов с допустимой влажностью бетона для принимаемого вида лакокрасочного материала. В случае, когда поверхность стены имеет дефекты, большие, чем указаны в
табл. 7 настоящего Руководства, их следует заделать согласно рекомендациям
пп. 5.5 -
5.10 настоящего Руководства.
9.6. Исправление повреждений (околов) панелей, возникающих при транспортировании и монтаже, производят поливинилацетатным раствором, состав которого дан в табл. 21, либо составом раствора, приведенным в
п. 5.10 настоящего Руководства.
Таблица 21
────────────────────────────────────────────┬──────────────────────────────
Компоненты │Содержание компонентов, мас.ч.
────────────────────────────────────────────┼──────────────────────────────
Портландцемент марки 400 │ 1
ИС МЕГАНОРМ: примечание.
Постановлением Минстроя России от 28.11.1994 N 18-29 с 1 июля 1995 года
Песок фракцией 0,1 - 0,6 мм по ГОСТ 8736-77 │ 3
Дисперсия ПВА 50%-ная │ 0,12
Вода │ 0,4
────────────────────────────────────────────┴──────────────────────────────
При наличии обнаженной арматуры в раствор добавляют нитрит натрия в количестве 3% массы цемента. Раствор наносят на очищенную от частиц ячеистого бетона, обеспыленную и увлажненную поверхность. Во время его твердения рекомендуется увлажнять поверхность отремонтированных участков во избежание их растрескивания.
9.7. Защитные покрытия наносят на высохшую и отремонтированную поверхность стены с соблюдением технологического процесса нанесения, требуемого для данного лакокрасочного покрытия. Технология нанесения лакокрасочных, полимерных материалов и кремнийорганических составов изложена в
разд. 5 настоящего Руководства.
ГОРОДОВ ПО РАЙОНАМ СО СРЕДНЕМЕСЯЧНЫМИ ПАРАМЕТРАМИ
НАРУЖНОГО ВОЗДУХА <*>
--------------------------------
| | ИС МЕГАНОРМ: примечание. Взамен СНиП II-А.6-72 Постановлением Госстроя СССР от 21.07.1982 N 188 с 1 января 1984 года введены в действие СНиП 2.01.01-82. | |
<*> Для городов, не приведенных в данном перечне, среднемесячные параметры наружного воздуха также следует принимать согласно главе СНиП II-А.6-72 "Строительная климатология и геофизика".
─────┬─────────────────┬───────────────────────────────────────────────────
Район│ Город │ Среднемесячные параметры наружного воздуха
<**>
│ ├──────────────────────────┬────────────────────────
│ │ влажность, % │ температура, °C
─────┼─────────────────┼──────────────────────────┼────────────────────────
1 │ 2 │ 3 │ 4
─────┼─────────────────┼──────────────────────────┼────────────────────────
I │Вильнюс │ 67/88 │ -5,5/18
│Рига │ 71/87 │ -5/17,1
│Таллин │ 80/87 │ -5,5/16,6
│Каунас │ 71/89 │ -4,9/17,9
│Гродно │ 68/80 │ -5,1/18
│Белая Церковь │ 65/88 │ -6/19,3
│Одесса │ 60/88 │ -2,5/22,2
│Ворошиловград │ 50/86 │ -6,6/22,3
│Харьков │ 62/86 │ -7,3/20,8
│Джамбул │ 46/80 │ -6/23,3
│Астрахань │ 46/80 │ -6/23,3
│Запорожье │ 56/89 │ -5,2/22,7
│Могилев │ 67/89 │ -6,9/18
│Гомель │ 66/88 │ -6,9/18
─────┼─────────────────┼──────────────────────────┼────────────────────────
II │Москва │ 58/85 │ -9,4/19,3
│Пенза │ 60/87 │ -12/19,8
│Ленинград │ 66/88 │ -7,9/17,8
│Воронеж │ 60/85 │ -9,3/19,9
│Калинин │ 68/87 │ -10,4/17,2
│Волгоград │ 49/85 │ -9,2/24,2
─────┼─────────────────┼──────────────────────────┼────────────────────────
III │Ижевск │ 60/86 │ -14,2/18,7
│Пермь │ 60/83 │ -15,1/18,1
│Свердловск │ 58/81 │ -15,3/17,4
│Нижне-Камск │ 60/83 │ -13,8/19,6
│Красноярск │ 53/72 │ -17,1/18,7
│Горький │ 62/85 │ -12/18,7
│Новокузнецк │ 62/82 │ -17,8/18,5
│Омск │ 56/83 │ -19,2/18,3
│Новосибирск │ 59/82 │ -19/18,7
│Березники │ 61/86 │ -15,7/19,8
│Павлодар │ 60/83 │ -17,9/21,2
│Тюмень │ 59/83 │ -16,6/18,6
─────┼─────────────────┼──────────────────────────┼────────────────────────
IV │Норильск │ 67/80 │ -27,6/14
│Иркутск │ 56/86 │ -20,9/17,6
│Чита │ 49/78 │ -26,6/18,8
│Надым │ 69/83 │ -23,6/14,7
│Сургут │ 66/82 │ -22/16,9
--------------------------------
<**> Перед чертой - минимальные значения, после черты - максимальные.
ОПРЕДЕЛЕНИЯ ФИЗИКО-ТЕХНИЧЕСКИХ СВОЙСТВ ЗАЩИТНЫХ ПОКРЫТИЙ
1. Методика определения паропроницаемости защитных покрытий
Паропроницаемость определяют на трех защищенных с одной стороны образцах-дисках и трех незащищенных образцах-дисках диаметром 100 мм и толщиной 30 мм, изготовленных из ячеистого бетона объемной массой 700 кг/м3. Образцы до начала испытаний хранятся в течение 14 сут при температуре 20 +/- 2 °C и относительной влажности воздуха 50 +/- 5%.
Перед испытанием боковую поверхность образцов покрывают водонепроницаемой мастикой из смеси парафина и канифоли (1:1) и устанавливают в прибор защитным покрытием вниз. Прибор состоит из трех частей
(рис. 6): конического металлического кольца с внешним верхним диаметром 110 мм и нижним 100 мм, толщиной стенок 2,5 мм и высотой 25 мм; металлической цилиндрической обоймы с внешним диаметром 105 мм, высотой 60 - 70 мм, толщиной стенок 5 мм и испарительной чашечки для воды (бюкс) диаметром 70 - 80 мм и высотой 40 - 50 мм. Сначала образец помещают в металлическое коническое кольцо прибора. Затем коническое кольцо с образцом устанавливают в цилиндрическую обойму. Зазоры между образцом и кольцом, кольцом и обоймой заделывают водонепроницаемой мастикой. Готовый прибор с образцом помещают на резиновом коврике в камеру с относительной влажностью воздуха 50 +/- 5% и температурой 20 +/- 2 °C. Внутрь обоймы под образец устанавливают бюкс с дистиллированной водой. Расстояние от поверхности воды в бюксе до поверхности образца должно быть 25 мм. За счет испарения воды из бюкса и насыщения водяными парами пространства под образцом получается разность парциальных давлений по обе стороны образца. Относительная влажность воздуха внутри прибора под нижней поверхностью образца близка к 100%. В период испытания проводят запись температуры, влажности воздуха и атмосферного давления в камере термографом, гидрографом, барографом. Относительная влажность воздуха в камере ежедневно контролируется психрометром Ассмана.

Рис. 6. Схема прибора для определения
паропроницаемости покрытий
1 - мастика; 2 - образец; 3 - коническое кольцо;
4 - резиновая прокладка; 5 - металлическая цилиндрическая
обойма; 6 - бюкс с водой; 7 - резиновый коврик
Количество водяного пара, проходящее через образец в единицу времени, определяют каждые 24 ч взвешиванием бюкса с водой при закрытой крышке на аналитических весах с точностью до 0,1 мг. Уменьшение массы бюкса с водой принимается равным количеству водяного пара, прошедшего через образец. Испытание прекращают после того, как потеря массы бюкса с водой будет одинаковой, т.е. когда поток пара, проходящий через образец, становится постоянным.
Вычисление коэффициента паропроницаемости

производят по формуле

,
где P - количество водяного пара, прошедшего в час через образец при разности парциальных давлений пара в 100 мм рт. ст., г/(ч x мм рт. ст.);

- толщина образца, м;
F - площадь образца, м2;

- сопротивление паропроницанию слоя воздуха, находящегося в пространстве между уровнем воды в бюксе и нижней поверхностью образца, м2 x ч x мм рт. ст./г.
P определяют по формуле

,
где W - потеря массы бюкса за 1 ч, г;
E - максимальная упругость водяного пара в воздухе (над водой), мм рт. ст. (определяется по психрометрическим таблицам по температуре воздуха);
e - упругость водяного пара в окружающем воздухе, мм рт. ст.

,
где

- относительная влажность воздуха, % (берется по психрометрическим таблицам);
B - барометральное давление, мм рт. ст.

,
где H - толщина воздушного слоя от поверхности воды до поверхности образца после испытания, м;

.
Сопротивление паропроницанию защищенного образца вычисляется по формуле

,
где

- толщина образца с отделкой, м;

- коэффициент паропроницаемости образца, г/(м x ч x мм рт. ст.).
Сопротивление паропроницанию незащищенного образца (контрольного) определяется по формуле

,
где

- толщина образца, м;

- коэффициент паропроницаемости бетона, г/(м x ч x мм рт. ст.).
Сопротивление паропроницанию защитного покрытия R определяется по формуле

.
2. Методика определения водопроницаемости защитного покрытия
Водопроницаемость защитного покрытия оценивают по количеству воды, прошедшей через покрытие в течение 24 ч, и по водонасыщению слоя бетона толщиной 3 см, примыкающего к покрытию.
Испытание на водопроницаемость покрытия проводят на 3 воздушно-сухих образцах из ячеистого бетона размером 10 x 10 x 10 см, на одну из граней которых нанесена защита, а боковые грани образцов покрыты мастикой, приготовленной из смеси парафина и канифоли в соотношении 1:1 (по массе). До испытания образцы взвешивают, затем погружают в воду на глубину 5 мм покрытием вниз и выдерживают в таком положении 24 ч. Взвешивание образцов в первые 8 ч следует производить через каждые 2 ч. После окончания испытания образцы вынимают из ванны, обтирают влажной тряпкой и взвешивают.
Для определения водонасыщения из образца выпиливают слой бетона толщиной 3 см, лежащий под покрытием, взвешивают его, высушивают при температуре 100 - 110 °C до постоянной массы и определяют объемную массу.
Водонасыщение бетона под покрытием определяют по формуле

(по объему),
где

и

- масса слоя бетона толщиной 3 см после насыщения водой и в высушенном состоянии, г;

- объемная масса бетона в сухом состоянии, кг/м3.
При расчете берут средние значения результатов испытания трех образцов.
3. Методика определения прочности сцепления защитной отделки с ячеистым бетоном
Прочность сцепления ячеистого бетона с керамической, стеклянной плиткой, лакокрасочным и полимерным покрытием определяют на трех образцах размером 10 x 10 x 10 см, защищенных покрытием с одной стороны.
Прочность сцепления определяют с помощью прибора, схема которого показана на
рис. 7. На плитку или полимерное пленочное покрытие наклеивают металлическую пластинку высотой 10 мм (диаметром 25 мм или квадратную со стороной 22 мм) с помощью быстротвердеющей мастики состава (мас.ч.): смола ЭД-20:молотый песок или цемент:отвердитель ПЭПА = 1:3:0,4. Отрыв штампа производят не ранее чем через 2 сут после его наклеивания.
Рис. 7. Схема прибора для определения
нормальной прочности сцепления отделки с ячеистым бетоном
1 - маховое колесо; 2 - винт для крепления динамометра;
3 - треножная опора; 4 - динамометр с усилием 2 кН;
5 - стержень прибора; 6 - металлическая пластинка;
7 - образец с отделкой; 8 - металлическая пластинка
Прочность сцепления при отрыве защитного покрытия с ячеистым бетоном вычисляют по формуле

,
где P - разрушающая нагрузка;
F - площадь отрыва.
4. Методика определения трещиностойкости <*>
--------------------------------
<*> А.С. 360580 (СССР). Бетонный армированный образец/Х.Ф. Иоости, Т.В. Косточкина. - Опубл. в Б.И., 1972, N 36.
А.с. 366411 (СССР). Способ определения деформативности и трещиностойкости лакокрасочного покрытия/Х.Ф. Иоости, Т.В. Косточкина. - Опубл. в Б.И., 1973, N 7.
Трещиностойкость покрытий определяют на трех образцах с размерами 27 x 100 x 300 мм, выпиленных из ячеистого бетона. Для восприятия растягивающих усилий, возникающих при изгибе образца (рис. 8), на одну продольную поверхность образца приклеивают эпоксидным клеем две жестяные армирующие планки толщиной 0,5 мм.
Рис. 8. Схема образца для определения
трещиностойкости покрытий
1 - исследуемое покрытие; 2 - непокрытая поверхность
образца; 3 - металлическая планка, наклеенная
эпоксидным клеем; 4 - образец из ячеистого бетона
(Размеры даны в мм)
Исследуемое покрытие необходимой толщины наносят на поверхность образца между армирующими планками полосами шириной 30 мм. Часть поверхности остается без покрытия. Одновременно можно исследовать на одном образце два различных вида покрытий или одно покрытие двух различных толщин.
Образцы подвергаются изгибу на прессе, развивающем силу до 1000 Н (со скоростью нарастания силы не более 200 Н/мин), или на установке, приведенной на рис. 9.
Рис. 9. Схема установки для определения трещиностойкости
1 - тензометр; 2 - образец; 3 - рама;
4 - винт с рукояткой; 5 - опоры
Установка для определения трещиностойкости состоит из рамы с опорными роликами, в которую установлен образец. Рама крепится на опорах, изготовленных из уголка в виде равнобедренных треугольников.
Изгибающее усилие передается на образец при помощи винта с рукояткой. Максимальная деформация растяжения при изгибе в поверхностном слое образца до образования трещин в бетоне измеряется рычажным тензометром (с базой 20 мм и точностью измерения 0,001 мм); в момент образования трещин движение стрелки тензометра заметно ускоряется. Изгибающий момент в образце увеличивается ступенями, после каждого увеличения регистрируется показание тензометра и после открытия трещины ее ширина и целостность покрытия фиксируются микроскопом с 25-кратным увеличением.
ОПРЕДЕЛЕНИЕ ВЛАЖНОСТИ ПОВЕРХНОСТИ ПАНЕЛИ ЭКСПРЕСС-МЕТОДОМ
Экспресс-метод предназначен для определения влажности ячеистобетонных поверхностей.
Метод позволяет определять влажность как поверхностного слоя материала, так и под слоем защитной отделки на глубине до 10 мм.
Метод основан на зависимости между влажностью и электрическим сопротивлением материала в области неполного заполнения пор водой.
По величине электрического сопротивления при помощи тарировочных кривых определяют влажность. Тарировочные кривые получены путем параллельных измерений электрического сопротивления и влажности (по массе) для различных по химическому составу и пористости материалов.
Ориентировочная точность метода:
при влажности по массе 2 - 5% ......... +/- 1%;
" " " " 5 - 14% ......... +/- 2%.
Пределы измерения влажности 2 - 14%.
Определение влажности
1. Электрическое сопротивление измеряют переносным омметром или тестером типа ТЛ-4М <*> с пределами измерения прибора от 5 до 500 кОм и погрешностью показаний прибора не более +/- 3% длины шкалы. Для этого металлические электроды диаметром 1 - 2 мм вводят на расстоянии 30 - 35 мм друг от друга под слой защитной отделки на глубину не более 10 мм.
--------------------------------
<*> Прибор разработан НИИстроительства Госстроя ЭССР.
2. Электроды смачивают токопроводящей вязкой жидкостью (например, поливинилацетатной дисперсией).
3. В случае определения влажности поверхностного слоя, электроды следует прижать к поверхности панели.
4. При определении влажности материала под слоем защитной отделки необходимо просверлить отверстия нужной глубины (до 10 мм), ввести внутрь материала электроды, затем сделать замеры электрического сопротивления. Отсчет по прибору производят после стабилизации показаний (стрелка не движется) приблизительно через 5 - 10 с.
5. Электрическое сопротивление вычисляется как среднее арифметическое пяти измерений.
6. С помощью тарировочных кривых (рис. 10) определяют соответствующее электрическому сопротивлению значение влажности, которое для ячеистого бетона находится в области, ограниченной двумя линиями, изображенными на рисунке.
Рис. 10. Тарировочные кривые зависимости влажности
ячеистого бетона от его электрического сопротивления
Необходимо учитывать, что тарировочные кривые получены при измерении электрического сопротивления поверхностного слоя (5 мм). При измерениях происходит быстрое возрастание показаний прибора вследствие испарения влаги с поверхности (при этом влажность материала в целом остается достаточно высокой).
Для получения более точных данных следует измерять электрическое сопротивление на глубине 4 - 6 мм.
ТЕХНИЧЕСКАЯ ХАРАКТЕРИСТИКА ОБОРУДОВАНИЯ КОНВЕЙЕРНОЙ ЛИНИИ
ОТДЕЛКИ ПАНЕЛЕЙ В ЭЛЕКТРИЧЕСКОМ ПОЛЕ
Таблица 22
Техническая характеристика транспортирующих устройств
───────────┬───────────┬────────────┬──────┬──────────────┬──────┬─────────
Транспорти-│Количество,│ Скорость │Масса,│ Размеры, мм │Мощ- │Грузо-
рующее │ шт. │перемещения,│ кг ├────┬────┬────┤ность,│подъем-
устройство │ │ м/мин │ │ l │ b │ h │кВт │ность, тс
───────────┼───────────┼────────────┼──────┼────┼────┼────┼──────┼─────────
Конвейер │ 1 │ 0,5 - 1,5 │28800 │7400│4000│4000│ 1,7 │ -
Подъемник │ 2 │ 0,02 │ 1231 │7000│4000│ 500│ 3 │ 3
Тележка │ 2 │ 0,02 │ 1922 │4600│2600│1080│ 3 │ 36
───────────┴───────────┴────────────┴──────┴────┴────┴────┴──────┴─────────
Таблица 23
Техническая характеристика электростатического оборудования
──────────────┬───────┬───────────┬──────┬──────────────┬──────┬───────────
Оборудование │Коли- │Скорость │Масса,│ Размеры, мм │Мощ- │ Рабочее
│чество,│перемеще- │ кг ├────┬────┬────┤ность,│напряжение,
│шт. │ния, м/мин │ │ l │ b │ h │кВт │ кВт
──────────────┼───────┼───────────┼──────┼────┼────┼────┼──────┼───────────
Механизм │ 10 │25,2 - 13,1│ 728 │1367│1066│3660│ 0,6 │ -
перемещения │ │ │ │ │ │ │ │
распылителей │ │ │ │ │ │ │ │
(максимальный │ │ │ │ │ │ │ │
ход 2420 мм) │ │ │ │ │ │ │ │
Пневмоэлектро-│ 15 │ 1,5 │ 510 │160 │100 │ - │ - │ 90 - 120
статический │ │ │ │ │ │ │ │
распылитель │ │ │ │ │ │ │ │
Чашечный │ 6 │ - │ 5 │ - │ - │ - │ - │ 80 - 100
распылитель │ │ │ │ │ │ │ │
с боковой │ │ │ │ │ │ │ │
подачей │ │ │ │ │ │ │ │
Камера │ 3 │ - │ 4500 │5000│5000│5000│ 1,7 │ До 120
электроокраски│ │ │ │ │ │ │ │
Камера сушки │ 2 │ - │16400 │1400│2500│4500│ 8 │ -
Примечание. Количество распылителей дано при двухстороннем нанесении покрытий (наружных и внутренних).
ПРИГОТОВЛЕНИЕ РАСТВОРА КАЗЕИНАТА АММОНИЯ
20%-ный раствор казеината аммония приготавливают следующим образом: в мешалку заливают воду и при включенном механизме перемешивания небольшими порциями засыпают казеин. Соотношение воды и сухого казеина принимается равным 4:1. Через 0,5 - 1 ч перемешивания при условии, что вся масса казеина равномерно распределилась в воде, в мешалку выливают 25%-ный водный раствор аммиака из расчета 200 мл раствора на 1 кг казеина, затем всю массу перемешивают еще в течение 1 ч, после чего раствор казеината аммония готов к употреблению.
Раствор казеината аммония может храниться в течение 10 - 15 сут. Перед употреблением его необходимо тщательно перемешать.
ПРИГОТОВЛЕНИЕ БИТУМНОГО СОСТАВА ДЛЯ ПРОПИТКИ ПАНЕЛЕЙ
Приготовление битумного состава производят в приготовительном отделении, снабженном емкостью для битума и насосом для подачи раствора на пост пропитки.
Битум разбивают на куски не более 100 мм в поперечнике и расплавляют в емкости; расплавленный битум охлаждают до температуры 80 - 90 °C, вводят в него небольшими порциями отдозированный керосин и перемешивают в мешалке 3 - 3,5 ч до полного растворения битума. Затем раствор битума сливают в расходную емкость, охлаждают в течение 2 - 3 ч до 25 +/- 10 °C и добавляют кремнийорганическую жидкость 136-41. Составы для пропитки даны в табл. 24.
Таблица 24
Составы для пропитки панелей
──────────────────────────────┬────────────────────────────────────────────
Компоненты │ Содержание компонентов (% по массе)
│ при нанесении состава
├───────────────────────┬────────────────────
│маловязкого распылением│вязкого под вакуумом
──────────────────────────────┼───────────────────────┼────────────────────
Битум марки БН 90/10, │ 40 │ 70 - 75
БН-70/30 │ │
Керосин │ 60 │ 30 - 25
Кремнийорганическая жидкость │ 3 │ -
136-41 (от массы состава) │ │
──────────────────────────────┴───────────────────────┴────────────────────
При приготовлении состава для пропитки под вакуумом кремнийорганическую жидкость не вводят.
ТЕХНИЧЕСКАЯ ХАРАКТЕРИСТИКА ОБОРУДОВАНИЯ ПОСТА ПРОПИТКИ
СОСТАВОМ БИТУМА В КЕРОСИНЕ
Посты пропитки раствором битума в керосине оборудованы:
1. Краскораспылителем для вязких составов.
2. Автоклавной тележкой, снабженной креплением для соединения с механизмом перемещения:
общая масса - 3045 кг;
габариты - 6935 x 2700 x 335 мм.
Механизм перемещения состоит из:
лебедки ЛМ-3,2;
редуктора РМ-650 - передаточное число i = 17;
двигателя МТКВ-312 - мощность 11 кВт, n = 690 об/мин;
ролика натяжного диаметром 200 мм;
троса диаметром 16 мм, длиной 40 м.
3. Вентиляционной камерой:
общая масса - 1450 кг,
габариты - 7200 x 3280 мм, высота - 1300 мм.
Воздуховоды камеры:
диаметр 400 - 500 мм;
длина 80 м;
вентилятор 4,4 - 70 N 8 с электродвигателем ВАО-32-6 мощностью 4 кВт, n = 940 об/мин.
Пост оснащен пультом управления.
ТЕХНИЧЕСКАЯ ХАРАКТЕРИСТИКА ОБОРУДОВАНИЯ
ПРИГОТОВИТЕЛЬНОГО ОТДЕЛЕНИЯ ПРОПИТОЧНОГО БИТУМНОГО СОСТАВА
Отделение для приготовления пропиточного битумного состава имеет следующее оборудование:
1. Установку для приготовления состава:
общая масса - 1800 кг;
объем мешалки - 650 л;
рабочий объем - 450 л;
редуктор РМ-350Б-УП-2Ц;
электродвигатель ВАО-52-4 - мощность 10 кВт, n = 1400 об/мин;
число оборотов якоря электродвигателя n = 34 об/мин;
теплоноситель - острый пар - P = 1 ати.
2. Торговые весы на 200 кг.
3. Расходную емкость парообогревную:
общая масса - 540 кг;
рабочий объем - 600 л;
теплоноситель - острый пар - P = 1 ати.
4. Насос битумный центробежный НК-6:
электродвигатель - мощность 3 кВт, n = 1400 об/мин;
трубопровод закольцованный - диаметр 100 мм.
Приготовительное отделение оборудовано приточно-вытяжной вентиляцией. Управление оборудованием осуществляется автоматически после включения вентиляции.
РАСЧЕТ ЭКОНОМИЧЕСКОЙ ЭФФЕКТИВНОСТИ СПОСОБОВ ЗАЩИТЫ
В настоящем расчете рассматривается экономическая эффективность применения некоторых видов защитных покрытий для панелей из ячеистого бетона при различных температурно-влажностных режимах. Виды защитных покрытий, применяемые при различных температурно-влажностных режимах, приведены в табл. 25.
Таблица 25
───────────────────────────────────────────────────────────────────────────
Виды защитных покрытий при
──────────────────────────┬───────────────────────┬────────────────────────
режиме I │ режиме II │ режиме III
──────────────────────────┼───────────────────────┼────────────────────────
Водоэмульсионные покрытия │Битумная глубинная │Гидрофобизация глубинная
Гидрофобизация глубинная │пропитка │Оклеивание керамической
Покрытие ПВАЦ │Покрытие ЛСП-145 │плиткой
Масляные покрытия │Оклеивание пленкой │Покрытие ХВ-785
Битумная глубинная │Оклеивание керамической│Покрытие ХП-799
пропитка │плиткой │
│Покрытие ХС-710 │
Примечание. Режим I - относительная влажность воздуха

, t = 12 °C; режим II -

, t = 12 - 24 °C; режим III -

, t > 24 °C.
Исходным уровнем для сравнения принята панель из ячеистого бетона размерами 6 x 1,2 м без защитного покрытия с необходимыми дополнительными затратами на тепло для обеспечения нормального эксплуатационного режима в здании.
По новой технике расчет экономического эффекта производится для той же панели с различной защитой отделкой, указанной в
табл. 25. Данные по расходу и стоимости различных видов отделки приведены в
табл. 26. Расчет экономического эффекта произведен в соответствии с "
Руководством по определению экономической эффективности повышения качества и долговечности строительных конструкций" (М., Стройиздат, 1980), разработанным в развитие "Инструкции по определению экономической эффективности использования в строительстве новой техники, изобретений, рационализаторских предложений"
(СН 509-78).
Таблица 26
Виды защитных покрытий, их расход, стоимость
и удельные капитальные вложения
─────────────────────────┬─────────────────────────┬───────────┬───────────
Виды покрытия │Расход материалов, кг, на│ Стоимость │Приведенные
├────────────┬────────────┤материалов,│ удельные
│ 100 м2 │ 1 панель │ руб., на │капитальные
│ │ │ 1 панель │ вложения,
│ │ │ │ руб.
─────────────────────────┼────────────┼────────────┼───────────┼───────────
Битум │ 350 │ 25,2 │ 0,78 │ 0,55
Состав ЛСП-145 │ 200 │ 14,4 │ 10,08 │ 7,92
Пленка полиэтиленовая │ 110 │ 7,9 │ 9,48 │ 9,82
Керамическая плитка │ 3099 │ 223,13 │ 11,88 │ 14,4
Эмаль ХС-710 │ 60 │ 4,32 │ 2,59 │ 3,09
Водоэмульсионная краска │ 53,1 │ 3,82 │ 2,1 │ 2,1
Э-ВА-27 │ │ │ │
Краска БТ-177 │ 11 │ 0,79 │ 0,29 │ 0,43
Водная эмульсия раствора │ 12 │ 0,86 │ 6,02 │ 1,46
ГКЖ-94 (136-41) │ │ │ │
Полимерцементная краска │ 56 │ 4,03 │ - │ 7,74
─────────────────────────┴────────────┴────────────┴───────────┴───────────
Сравнительная экономическая эффективность от повышения качества и долговечности на единицу конструкции определяется по разности приведенных затрат сравниваемых вариантов конструкций по формуле

, (1)
где

- приведенные затраты, определяемые по формуле (2) для строительной конструкции с исходным уровнем качества и долговечности:

, (2)
где

- приведенные затраты, осуществляемые до начала эксплуатации зданий и сооружений;

- приведенные затраты, осуществляемые в процессе эксплуатации зданий или сооружений за срок службы;

- приведенные затраты для конструкции повышенного качества и долговечности (новая техника).
Для учета различий, вытекающих из разновременности рассматриваемых в
формуле (2) затрат и приведения этих затрат к одному моменту времени, используется коэффициент приведения

, определяемый по формуле

, (3)
где E - норматив приведения, равный 0,1;
t - время между моментом осуществления затрат и моментом приведения, годы.
Приведенные затраты, осуществляемые до начала эксплуатации зданий или сооружений, определяются по формуле

, (4)
где n - количество материалов и изделий, отличающихся в сравниваемых конструкциях по виду или расходу;

- приведенные капитальные вложения в сопряженные отрасли, изготавливающие и поставляющие используемые в строительстве материалы и изделия;

- приведенные затраты на возведение сравниваемых строительных конструкций.
Показатель

вычисляется по формуле

, (5)
где

- нормативный коэффициент эффективности капитальных вложений, равный 0,15;

- удельные капитальные вложения в производственную базу сопряженных отраслей для выпуска единицы продукции, приведенные к началу их использования в строительстве;
Р - расход материалов и изделий, используемых для изготовления и возведения сравниваемых конструкций.
Приведенные затраты на возведение сравниваемых конструкций определяются по формуле

, (6)
где

- стоимость единицы конструкции "в деле";
Ф - капитальные вложения в средства труда при строительстве.
В настоящем расчете рассматриваются различные виды покрытий для панелей из ячеистого бетона, применяемые в самых различных районах страны. Величина отклонений в стоимости материалов показана в
табл. 27 на примере единичных расценок на оклеивание полиэтиленовой пленкой

для 1, 2, 9, 15 и 19 территориальных районов страны. Из этой таблицы видно, что отклонение в стоимости материалов в выбранных районах незначительно и составляет немногим более 6%. Поэтому расчет экономического эффекта применения различных видов защиты проведен применительно к 1-му территориальному району.
Таблица 27
Расценка на оклеивание активированной полиэтиленовой
пленкой

на поливинилацетатноэпоксидном клее ПВАЭД
для гидроизоляции подземных частей и сооружений
(для 1, 2, 9, 15 и 19 территориальных районов)
────────────┬────────────┬─────┬─────┬─────────────────────────────┬─────────────────────────────
Основание │Наименование│Еди- │Коли-│Цена за 1 кг по районам, руб.│ Сумма, руб.
│ затрат │ница │чест-├─────┬─────┬─────┬─────┬─────┼─────┬─────┬─────┬─────┬─────
│ │изме-│во │ 1 │ 2 │ 9 │ 15 │ 19 │ 1 │ 2 │ 9 │ 15 │ 19
│ │рения│ │ │ │ │ │ │ │ │ │ │
────────────┼────────────┼─────┼─────┼─────┼─────┼─────┼─────┼─────┼─────┼─────┼─────┼─────┼─────
Ценник I, │Пленка поли-│ кг │21,5 │1,01 │1,01 │1,06 │1,13 │1,11 │21,72│21,72│22,79│24,3 │23,87
ч. I, │этиленовая │ │ │ │ │ │ │ │ │ │ │ │
разд. XIII │толщиной │ │ │ │ │ │ │ │ │ │ │ │
п. 130 │200 мк │ │ │ │ │ │ │ │ │ │ │ │
прейск. │ │ │ │ │ │ │ │ │ │ │ │ │
05-01 ч. II │ │ │ │ │ │ │ │ │ │ │ │ │
п. 888 │ │ │ │ │ │ │ │ │ │ │ │ │
Ценник I, │Смола │ кг │ 11 │4,68 │4,68 │4,72 │4,81 │4,76 │51,48│51,48│51,92│52,91│52,36
ч. I, │эпоксидная │ │ │ │ │ │ │ │ │ │ │ │
разд. XIII │ЭД-20 │ │ │ │ │ │ │ │ │ │ │ │
п. 147 │ │ │ │ │ │ │ │ │ │ │ │ │
Ценник I, │Полиэтилен- │ кг │ 1,1 │2,09 │2,09 │ 2,1 │2,13 │2,11 │ 2,3 │ 2,3 │2,31 │2,34 │2,32
ч. I, │полиамин │ │ │ │ │ │ │ │ │ │ │ │
разд. XIII │ │ │ │ │ │ │ │ │ │ │ │ │
п. 132 │ │ │ │ │ │ │ │ │ │ │ │ │
Ценник I, │Эмульсия │ кг │ 55 │0,772│0,773│0,776│0,784│0,779│42,46│42,52│42,68│43,12│42,85
ч. I, │поливинил- │ │ │ │ │ │ │ │ │ │ │ │
разд. XIII │ацетатная │ │ │ │ │ │ │ │ │ │ │ │
п. 183 │(50% сухого │ │ │ │ │ │ │ │ │ │ │ │
│остатка) │ │ │ │ │ │ │ │ │ │ │ │
ЕРЕР 16-380 │Стоимость │ - │ - │ - │ - │ - │ - │ - │ 44 │ 44 │ 51 │ 53 │ 51
доп. I │монтажных │ │ │ │ │ │ │ │ │ │ │ │
(примечание)│затрат │ │ │ │ │ │ │ │ │ │ │ │
То же │Эксплуатация│ - │ - │ - │ - │ - │ - │ - │ 3 │ 3 │ 3 │ 3 │ 3
│машин │ │ │ │ │ │ │ │ │ │ │ │
────────────┴────────────┴─────┴─────┴─────┴─────┴─────┴─────┴─────┴─────┴─────┴─────┴─────┴─────
Итого: 165 165 173,7 178,7 175,4
Расчет стоимости одной панели (площадь 7,2 м2) из ячеистого бетона (объем 1,8 м3) с защитным покрытием для трех температурно-влажностных режимов помещений даны в табл. 28,
29 и
30. При этом долговечность конструкций принята равной 50 годам.
Таблица 28
Расчет стоимости одной панели из ячеистого бетона с защитным
покрытием "в деле" для I температурно-влажностного режима
─────────┬──────────────┬──────┬──────────┬──────────┬──────────┬──────────┬──────────────
Основание│ Наименование │Аналог│Защита │Глубинная │Защита │ Защита │ Битумная
│ │ │водоэмуль-│гидрофоби-│полимер- │ краской │ глубинная
│ │ │сионной │зация │цементной │ БТ-177 │ пропитка и
│ │ │краской │ │краской │ │окраска БТ-177
│ │ │Э-ВА-27 │ │ │ │
─────────┼──────────────┼──────┼──────────┼──────────┼──────────┼──────────┼──────────────
- │Периодичность │ - │ 10 │ 10 │ 10 │ 10 │ 10
│восстановления│ │ │ │ │ │ (БТ-177)
│защитного │ │ │ │ │ │
│покрытия, годы│ │ │ │ │ │
- │Периодичность │ 12 │ - │ - │ - │ - │ -
│капитальных │ │ │ │ │ │
│ремонтов, годы│ │ │ │ │ │
- │Количество │ - │ 3 │ 7 │ 4 │ 3 │ 3
│защитных слоев│ │ │ │ │ │
Прейск. │Стоимость │62,64 │ 62,64 │ 62,64 │ 62,64 │ 62,64 │ 62,64
06-08 │панели без │ │ │ │ │ │
п. 1-360 │защиты, руб. │ │ │ │ │ │
- │Стоимость │ - │ЕРЕР 20-94│ЕРЕР 20-33│ЕРЕР 20-74│ЕРЕР 20-64│ЕРЕР 20-36, 37
│защитного │ │----------│----------│----------│----------│--------------
│покрытия, руб.│ │ 2,7 │ 22,5 │ 1,36 │ 1,11 │ 1,35
- │Стоимость │ - │ 65,34 │ 85,14 │ 64 │ 63,75 │ 63,99
│панели │ │ │ │ │ │
│с защитным │ │ │ │ │ │
│покрытием, │ │ │ │ │ │
│руб. │ │ │ │ │ │
ЕРЕР │Стоимость │ 10 │ 10 │ 10 │ 10 │ 10 │ 10
11-391 │установки │ │ │ │ │ │
│панелей │ │ │ │ │ │
│наружных стен │ │ │ │ │ │
│площадью до │ │ │ │ │ │
│10 м2, руб. │ │ │ │ │ │
- │Стоимость │ 1,01 │ - │ - │ - │ - │ -
│тепла на сушку│ │ │ │ │ │
│панели, руб. │ │ │ │ │ │
- │Стоимость │73,65 │ 75,34 │ 95,14 │ 74 │ 73,75 │ 73,99
│"в деле", руб.│ │ │ │ │ │
─────────┴──────────────┴──────┴──────────┴──────────┴──────────┴──────────┴──────────────
Таблица 29
Расчет стоимости одной панели
из ячеистого бетона с защитным покрытием "в деле"
для II температурно-влажностного режима
─────────┬───────────────┬──────┬──────────────┬──────────┬───────────┬───────────┬──────────
Основание│ Наименование │Аналог│ Битумная │ Защита │Защита │Облицовка │ Защита
│ │ │ пропитка и │ ЛСП-145 │полиэти- │керами- │ эмалью
│ │ │окраска БТ-177│ │леновой │ческой │ ХС-710
│ │ │ │ │пленкой │плиткой │
─────────┼───────────────┼──────┼──────────────┼──────────┼───────────┼───────────┼──────────
- │Периодичность │ - │ 8 (БТ-177) │ 8 │ 8 │ 18 │ 8
│восстановления │ │ │ │ │ │
│защитного │ │ │ │ │ │
│покрытия, годы │ │ │ │ │ │
- │Периодичность │ 10 │ - │ - │ - │ - │ -
│капитальных │ │ │ │ │ │
│ремонтов, годы │ │ │ │ │ │
- │Количество │ - │ 3 │ 5 │ - │ - │ 4
│защитных слоев │ │ │ │ │ │
Прейск. │Стоимость │62,64 │ 62,64 │ 62,64 │ 62,64 │ 62,64 │ 62,64
06-08 │панели без │ │ │ │ │ │
п. 1-360 │защиты, руб. │ │ │ │ │ │
- │Стоимость │ - │ЕРЕР 20-36, 37│ЕРЕР 20-32│ЕРЕР 18-188│ЕРЕР 17-108│ЕРЕР 20-76
│защитного │ │--------------│----------│-----------│-----------│----------
│покрытия, руб. │ │ 1,35 │ 13,82 │ 6,48 │ 30,6 │ 3,74
- │Стоимость │ - │ 63,99 │ 76,46 │ 69,12 │ 93,24 │ 66,38
│панели │ │ │ │ │ │
│с защитным │ │ │ │ │ │
│покрытием, руб.│ │ │ │ │ │
ЕРЕР │Стоимость │ 10 │ 10 │ 10 │ 10 │ 10 │ 10
11-391 │установки │ │ │ │ │ │
│панелей │ │ │ │ │ │
│наружных стен │ │ │ │ │ │
│площадью │ │ │ │ │ │
│до 10 м2, руб. │ │ │ │ │ │
- │Стоимость │ 1,01 │ - │ - │ - │ - │ -
│тепла на сушку │ │ │ │ │ │
│панели, руб. │ │ │ │ │ │
- │Стоимость │73,65 │ 73,99 │ 86,46 │ 79,12 │ 103,24 │ 76,38
│"в деле", руб. │ │ │ │ │ │
─────────┴───────────────┴──────┴──────────────┴──────────┴───────────┴───────────┴──────────
Таблица 30
Расчет стоимости одной панели
из ячеистого бетона с защитным покрытием "в деле"
для III температурно-влажностного режима
─────────┬───────────────────────┬──────┬──────────┬────────────┬──────────
Основание│ Наименование │Аналог│Гидро- │ Облицовка │ Защита
│ │ │фобизация │керамической│ эмалью
│ │ │глубинная │ плиткой │ ХС-710
─────────┼───────────────────────┼──────┼──────────┼────────────┼──────────
- │Периодичность │ - │ 10 │ 20 │ 10
│восстановления │ │ │ │
│защитного покрытия, │ │ │ │
│годы │ │ │ │
- │Периодичность │ 12 │ - │ - │ -
│капитальных ремонтов, │ │ │ │
│годы │ │ │ │
- │Количество защитных │ - │ 7 │ - │ 4
│слоев │ │ │ │
Прейск. │Стоимость панели │62,64 │ 62,64 │ 62,64 │ 62,64
06-08 │без защиты, руб. │ │ │ │
п. 1-360 │ │ │ │ │
- │Стоимость защитного │ - │ЕРЕР 20-33│ЕРЕР 17-108 │ЕРЕР 20-76
│покрытия, руб. │ │----------│----------- │----------
│ │ │ 22,5 │ 30,6 │ 3,74
- │Стоимость панели │ - │ 85,14 │ 93,24 │ 66,38
│с защитным покрытием, │ │ │ │
│руб. │ │ │ │
ЕРЕР │Стоимость установки │ 10 │ 10 │ 10 │ 10
11-391 │панелей наружных стен │ │ │ │
│площадью до 10 м2, руб.│ │ │ │
- │Стоимость тепла на │ 1,01 │ - │ - │ -
│сушку панели, руб. │ │ │ │
- │Стоимость "в деле", │73,65 │ 95,14 │ 103,24 │ 76,38
│руб. │ │ │ │
─────────┴───────────────────────┴──────┴──────────┴────────────┴──────────
Затраты и издержки, осуществляемые в процессе эксплуатации зданий и сооружений, учитываются за весь срок их службы и определяются по формуле

, (7)
где

,

,

- стоимость проведения капитальных, текущих ремонтов и восстановления защитных покрытий;

,

,

- суммарные коэффициенты приведения эксплуатационных затрат к началу первого года эксплуатации, значения которых принимаются по
прил. 6 "Руководства по определению экономической эффективности повышения качества и долговечности строительных конструкций".
Результаты расчета экономического эффекта применения некоторых видов защитных покрытий панелей из ячеистого бетона приведены в табл. 31.
Таблица 31
Экономический эффект применения некоторых видов покрытий
в зависимости от температурно-влажностного режима
─────────────────────────────────┬─────────────────────────────────────────
Наименование защитного покрытия │ Экономический эффект, руб., по режимам
├─────────────┬─────────────┬─────────────
│ I │ II │ III
├──────┬──────┼──────┬──────┼──────┬──────
│ на 1 │ на │ на 1 │ на │ на 1 │ на
│панель│100 м2│панель│100 м2│панель│100 м2
─────────────────────────────────┼──────┼──────┼──────┼──────┼──────┼──────
Водоэмульсионная краска Э-ВА-27 │29,47 │ 409 │ - │ - │ - │ -
Глубинная гидрофобизация водной │ 9,41 │ 131 │ - │ - │ 9,41 │ 131
эмульсией 136-41 (ГКЖ-94) │ │ │ │ │ │
Битумная глубинная пропитка + │32,54 │ 452 │44,12 │ 613 │ - │ -
1 слой краски БТ-177 │ │ │ │ │ │
Состав ЛСП-145 │ - │ - │18,98 │ 264 │ - │ -
Керамическая плитка │ - │ - │ 7,56 │ 105 │ - │ -
Эмаль ХС-710 │ - │ - │38,88 │ 540 │ 27,8 │ 386
Активированная полиэтиленовая │ - │ - │ 59,7 │ 829 │ - │ -
пленка с краской БТ-177 │ │ │ │ │ │
─────────────────────────────────┴──────┴──────┴──────┴──────┴──────┴──────
В 1984 г. предполагается выпустить 550 тыс. м3 ячеистых бетонов для производства стеновых панелей с защитной отделкой, применяемых в производственных и сельскохозяйственных помещениях с влажным режимом.
Народно-хозяйственный эффект при этом достигнет 9750 тыс. руб. Коэффициент потенциальной экономической эффективности НИР составит 13,38 руб.