Главная // Актуальные документы // Методические указанияСПРАВКА
Источник публикации
Документ опубликован не был
Примечание к документу
Документ
введен в действие с 1 декабря 1989 года.
Взамен Руководящих указаний по эксплуатации трансформаторного масла.
Название документа
"РД 34.43.105-89. Руководящий документ. Методические указания по эксплуатации трансформаторных масел"
(утв. Минэнерго СССР)
"РД 34.43.105-89. Руководящий документ. Методические указания по эксплуатации трансформаторных масел"
(утв. Минэнерго СССР)
научно-техническим управлением
энергетики и электрификации
Заместитель начальника
К.М.АНТИПОВ
РУКОВОДЯЩИЙ ДОКУМЕНТ
МЕТОДИЧЕСКИЕ УКАЗАНИЯ ПО ЭКСПЛУАТАЦИИ
ТРАНСФОРМАТОРНЫХ МАСЕЛ
РД 34.43.105-89
Срок действия установлен
с 1 декабря 1989 года
до 1 декабря 1991 года
Разработано ПО "Союзтехэнерго" и ВТИ им. Ф.Э. Дзержинского.
Исполнители: Р.А. Лиштейн (ВТИ им. Ф.Э. Дзержинского), Д.В. Шуварин, В.М. Ерохин (МГП "Союзтехэнерго"), А.Д. Петриченко (Средазтехэнерго).
Утверждено Главным научно-техническим управлением энергетики и электрификации.
Заместитель начальника К.М. Антипов.
В настоящих Методических указаниях приведены сведения и рекомендации по эксплуатации нефтяных трансформаторных масел в маслонаполненном высоковольтном электрооборудовании.
Настоящие Методические указания предназначены для персонала электрических станций, электрических сетей, подстанций, а также наладочных и ремонтных предприятий.
С выходом настоящих Методических указаний отменяются "Руководящие указания по эксплуатации трансформаторного масла" (М.: Энергия, 1966).
1.1. Настоящие Методические указания распространяются на отечественные и импортные нефтяные масла всех марок, применяемые в электрооборудовании общего назначения.
1.2. Эксплуатация трансформаторных масел должна осуществляться в соответствии с требованиями нормативно-технических документов.
1.3. На основании настоящих Методических указаний на энергопредприятиях должны разрабатываться местные инструкции с учетом конкретных условий (конструкция высоковольтного оборудования, оснащенность оборудованием маслохозяйства, марки применяемых масел и др.), с целью обеспечения всего комплекса необходимых мероприятий по поддержанию качества трансформаторных масел и увеличения срока их службы. При правильной эксплуатации трансформаторных масел срок их службы должен соответствовать сроку службы электрооборудования.
2. КРАТКИЕ СВЕДЕНИЯ О ТРАНСФОРМАТОРНЫХ МАСЛАХ
2.1. Все отечественные трансформаторные масла, поступающие на энергопредприятия, содержат ингибитор окисления - антиокислительную присадку ионол (синонимы - ДБК, топапол - 0, коробит).
2.2. Требования к качеству отечественных трансформаторных масел, выпускаемых предприятиями Миннефтехимпрома СССР по ГОСТ и ТУ, приведены в табл. 1.
Таблица 1
Требования действующих ГОСТ и ТУ к качеству отечественных
трансформаторных масел
Показатель | Вид и значение показателя качества масла | Наименование нормативно-технического документа |
ГК ТУ 38.101.1025-85 | ГБ ТУ 38.401.657-85 | Т-1500 ГОСТ 962-80 | Т-750 ГОСТ 962-80 | ТКп ТУ 38.101.281-80 | ТАп ТУ 38.101.281-80 | ТСп ГОСТ IOI2I-76 | АГК ТУ 38.401.608-86 | МВ ТУ 38.101.857-80 |
Вязкость кинематическая мм2/с (сСт) | | | | | | | | | | |
при 50 °C, не более | 9 | 9 | 8 | 8 | 9 | 9 | 9 | 5 | 2 | ГОСТ 33-82 |
при -30 °C, не более | 1200 | 1500 | 1600 | 1600 | 1500 | - | 1300 | 800 (при -40 °C) | 150 (при -50 °C) | |
Кислотное число, мг KOH на 1 г масла, не более | 0,01 | 0,01 | 0,01 | 0,01 | 0,02 | 0,02 | 0,02 | 0,01 | 0,02 | |
Температура вспышки в закрытом тигле, °C, не ниже | 135 | 135 | 135 | 135 | 135 | 135 | 150 | 135 | 94 (в открытом тигле) | |
Содержание водорастворимых кислот и щелочей | - | - | Отсутствие | Отсутствие | Отсутствие | - | Отсутствие | - | Отсутствие | |
Содержание механических примесей | Отсутствие | Отсутствие | Отсутствие | Отсутствие | Отсутствие | Отсутствие | Отсутствие | Отсутствие | Отсутствие | |
Температура застывания, °C, не выше | -45 | -45 | -45 | -55 | -45 | -50 | -45 | -60 | -70 | ГОСТ 20287-74 |
Зольность, %, не более | - | - | - | - | - | 0,005 | 0,005 | - | - | |
Натровая проба, оптическая плотность, не более | - | - | 0,4 | 0,4 | 0,4 | - | 0,4 | - | - | ГОСТ 19296-73 |
Прозрачность при 5 °C | - | - | Выдерживает | Выдерживает | - | - | Прозрачно | - | - | |
Испытание коррозионного воздействия на пластинки из меди марки М1 или М2 по ГОСТ 859-78 | Выдерживает | Выдерживает | - | Выдерживает | Выдерживает | - | - | Выдерживает | Выдерживает | |
Тангенс угла диэлектрических потерь, град, не более, при 90 °C | 0,5 | 0,5 | 0,5 | 0,5 | 2,2 | 0,5 | 1,7 | 0,5 | 0,5 | |
Стабильность против окисления по ГОСТ 981-75: | | | | | | | | | | |
масса летучих кислот, мг KOH на 1 г, не более | 0,04 | 0,05 | 0,05 | 0,005 | 0,008 | 0,008 | 0,005 | 0,04 | - | ГОСТ 981-75 |
массовая доля осадка, %, не более | 0,015 | 0,01 | Отсутствие | Отсутствие | 0,01 | 0,008 | Отсутствие | Отсутствие | Отсутствие | |
кислотное число окисленного масла, мг KOH на 1 г масла, не более | 0,10 | 0,10 | 0,2 | 0,2 | 0,10 | 0,05 | 0,1 | 0,1 | 0,1 | |
условия процесса окисления | 155 °C, 14 ч, 50 мл/мин  | 155 °C, 16 ч, 50 мл/мин  | 130 °C, 30 ч, 50 мл/мин  | 130 °C, 30 ч, 50 мл/мин  | 120 °C, 14 ч, 220 мл/мин  | 120 °C, 14 ч, 200 мл/мин  | 120 °C, 14 ч, 200 мл/мин  | 155 °C, 14 ч, 50 мл/мин  | 130 °C, 30 ч, 50 мл/мин  | |
Стабильность против окисления, метод МЭК, индукционный период, ч, не более | 150 | 120 | - | - | - | - | - | 150 | - | Публикация МЭК N 474 |
Плотность при 20 °C, кг/м3, не более | 895 | 895 | 895 | 895 | 895 | - | - | 895 | - | |
Цвет на калориметре ЦНТ, единицы ЦНТ, не более | 1 | 1 | 1,5 | 1 | - | - | - | 1 | - | |
Содержание серы, %, не более | - | - | - | - | - | - | 0,6 | - | - | |
Содержание ионола, %, не менее | 0,25 - 0,3 | 0,3 | 0,4 | 0,4 | 0,2 | 0,3 | 0,2 | 0,3 | 0,2 | - |
2.3. В качестве сырья для получения трансформаторных масел используются дистилляты, выкипающие при 280 - 420 °C, из различных нефтей.
В зависимости от количественного содержания в этих дистиллятах сернистых соединений и твердых парафиновых углеводородов в производстве масел используются процессы обессеривания и депарафинизации.
Сырьем для получения трансформаторных масел являются в основном дистилляты из следующих нефтей:
анастасиевской, не требующих обессеривания и депарафинизации;
смеси малосернистых бакинских, требующих депарафинизации;
смеси сернистых западно-сибирских, требующих обессеривания и депарафинизации.
Доля последних в производстве трансформаторных масел постоянно возрастает.
2.4. На энергопредприятиях применяются отечественные масла следующих марок:
ТКп (ТУ 38.101.890-81) - кислотной очистки из анастасиевской и бакинских нефтей;
Т-750
(ГОСТ 982-80) - кислотно-щелочной очистки и контактной доочистки из анастасиевской нефти;
Т-1500
(ГОСТ 982-80) кислотно-щелочной очистки, карбамидной депарафинизации и контактной доочистки из бакинских нефтей;
ТАп (ТУ 38.101.0281-80) адсорбционной очистки из анастасиевской нефти;
ТСп
(ГОСТ 10121-76) селективной очистки, низкотемпературной депарафинизации, контактной или гидроочистки из западно-сибирских нефтей;
ГК (ТУ 38.101.1025-85) гидрокрекинга и каталитической депарафинизации из западно-сибирских нефтей;
ГБ (ТУ 38.401.657-87) селективной очистки каталитической депарафинизации из бакинских нефтей;
АГК (ТУ 38.401.608-86) каталитической депарафинизации остаточной фракции глубокого гидрирования легкого газойля каталитического крекинга из западно-сибирских нефтей;
МВ (ТУ 38.101.857-80) кислотно-щелочной очистки из специальных дистиллятов бакинских нефтей (предназначено для использования только в масляных выключателях);
марки масел, изготовленных по старым ГОСТ и ТУ, такие как:
ТКп (ГОСТ 962-68), ТК (ГОСТ 982-56) без присадки, Т-750 (ГОСТ 5.1710-72), АТМ-65 (ТУ 38.101.169-79) арктическое и другие.
2.5. Отечественные и зарубежные трансформаторные масла содержат минимальное количество серы (от сотых долей до 0,2% массы). Поэтому в ГОСТ и ТУ, а также в рекомендациях Международной электротехнической комиссии (МЭИ) содержание серы не регламентируется. Исключение составляет масло ТСп селективной очистки из западно-сибирских нефтей, выпускаемое по
ГОСТ 10121-76, в котором допускается содержание серы до 0,6% массы.
2.6. Большинство марок масел отвечает требованиям МЭК по предельному значению тангенса угла диэлектрических потерь (не более 0,5% при 90 °C). Исключение составляют масла марок ТКп и ТСп, предельные значения

у которых равны 2,2 и 1,7% при 90 °C соответственно.
2.7. Все отечественные трансформаторные масла отвечают требованиям МЭК по температуре застывания (не выше - 45 °C). Более низкую температуру застывания имеют масла марок ТАп, Т-750, АГК и МВ (ниже -50, -55; -60 и -70 °C соответственно). Последние две марки масел (АГК и МВ) специально предназначаются для работы в районах с холодным климатом.
2.8. По вязкости при 50 °C все марки трансформаторных масел имеют приблизительно одинаковые значения. Исключение составляют специальные масла марок АГК и МВ, вязкость при 50 °C которых значительно ниже, чем у остальных (5 и 2 мм2/с (сСт) соответственно).
По вязкости при низких температурах (-30 °C) масла также мало отличаются друг от друга. Исключение составляют специальные масла АГК и МВ, которые имеют низкую вязкость даже при -40 и -50° соответственно.
2.9. По показателю противоокислительной стабильности товарные масла существенно отличаются друг от друга и их можно условно разбить на три группы:
I группа - масла марок ТКп, ТАп, ТСп;
II группа - масла марок Т-1500, Т-750;
III группа - масла марок ГК, ГБ, АГК.
Если принять индукционный период окисления масел I группы за I, то для масел II группы он продолжительнее в 2 - 2,5 раза, а для масел III группы в 4 - 5 раз, т.е. при одинаковых условиях эксплуатации срок службы масел 3 группы будет значительно большим, чем масел I группы.
Срок службы масла в значительной мере зависит от условий эксплуатации и в первую очередь от температуры, повышение которой снижает срок службы масла.
3. КЛАССИФИКАЦИЯ МАСЛОНАПОЛНЕННОГО ОБОРУДОВАНИЯ
И ТРАНСФОРМАТОРНЫХ МАСЕЛ
3.1. Маслонаполненное электрооборудование можно классифицировать следующим образом.
3.1.1. По назначению:
силовые трансформаторы и реакторы;
измерительные трансформаторы тока и напряжения;
высоковольтные ввода;
масляные выключатели;
генераторы с масляным охлаждением статора.
Примечание. Вопросы, связанные с эксплуатацией масла в последней группе оборудования, не рассматриваются в настоящих Методических указаниях вследствие малочисленности данного оборудования; эксплуатация масла осуществляется в соответствии с инструкциями завода-изготовителя оборудования.
3.1.2. По виду охлаждения маслонаполненных трансформаторов (в соответствии с требованиями ГОСТ 11577-85):
естественная циркуляция воздуха и масла - М (ONAN)
принудительная циркуляция воздуха и
естественная циркуляция масла - Д (ONAF)
естественная циркуляция воздуха
и принудительная циркуляция масла
с ненаправленным потоком масла - МЦ (OFAN)
естественная циркуляция воздуха
и принудительная циркуляция масла
с направленным потоком масла - НМЦ (ODAN)
принудительная циркуляция воздуха
и масла, с ненаправленным потоком масла - ДЦ (OFAF)
принудительная циркуляция воздуха
и масла, с направленным потоком масла - НДЦ (ODAF)
принудительная циркуляция воды и масла
с ненаправленным потоком масла - Ц (OFWF)
принудительная циркуляция воды
и масла с направленным потоком масла - НЦ (ODWF)
Примечание. В скобках дано международное обозначение видов систем охлаждения трансформаторов, принятых СЭВ и МЭК.
3.1.3. По напряжению:
до 15 кВ вкл.;
св. 15 до 35 кВ вкл.;
от 60 до 150 кВ вкл.;
от 220 до 500 кВ вкл.;
750 кВ;
1150 кВ.
3.1.4. По габаритам силовых трансформаторов (табл. 2).
Таблица 2
Классификация силовых трансформаторов по габаритам
Габарит | Мощность, кВ · А | Напряжение, кВ |
1 | До 100 | До 35 |
2 | 100 - 1000 | До 35 |
3 | 1000 - 6300 | До 35 |
4 | Св. 6300 | До 35 |
5 | До 32000 | От 35 до 110 |
6 | 32000 - 80000 | От 35 до 110 |
7 | Св. 80000 до 200000 | До 330 |
8 | Св. 200000 | До 330 |
| Независимо от мощности | 330 и более |
3.2. Трансформаторные масла по состоянию классифицируются на следующие:
свежее, поступающее от завода-изготовителя с возможными отклонениями от нормативных показателей по влагосодержанию и газосодержанию;
чистое, сухое, прошедшее обработку (очистку, осушку) из состояния "свежее", соответствующее всем нормируемым показателям и готовое к заливке в оборудование;
регенерированное, отработанное, прошедшее очистку физическим, химическим или физико-химическим методами, восстановленное до требований нормативно-технической документации и пригодное к дальнейшему применению;
эксплуатационное, залитое в оборудование, показатели которого соответствуют нормам на эксплуатационное масло;
отработанное; слитое из оборудования по истечении установленного срока службы или утратившее в процессе эксплуатации качество по браковочным показателям, установленным нормативно-технической документацией, и слитое из оборудования.
4. ОБЛАСТЬ ПРИМЕНЕНИЯ И ПОРЯДОК СМЕШЕНИЯ
ТРАНСФОРМАТОРНЫХ МАСЕЛ
4.1. Товарные трансформаторные масла различаются между собой по противоокислительной стабильности, электроизоляционным показателям, содержанию серы, температурам вспышки у застывания и другим показателям.
Область применения масел в маслонаполненном оборудовании, определенная с учетом их свойств и объема производства, приведена в табл. 3.
Таблица 3
Область применения трансформаторных масел
Марка масла | ГОСТ или ТУ на масло | Класс напряжения оборудования, кВ |
ГК | ТУ 38.101.1025-85 | Силовые трансформаторы и реакторы напряжением до 1150 кВ включительно |
Т-1500 | | Силовые трансформаторы и реакторы, измерительные |
Т-750 | | трансформаторы тока и напряжения, маслонаполненные вводы напряжением до 1150 кВ включительно |
ТКп | ТУ 38.101.890-81 | Силовые трансформаторы напряжением до 500 кВ включительно |
ТАп | ТУ 38.101.281-80 |
ТСп | | Силовые трансформаторы напряжением до 220 кВ включительно |
МВ | ТУ 38.101.857-80 | Масляные выключатели, эксплуатируемые в районах с холодным климатом |
Масла ТКп и ТАп можно использовать для доливок измерительных трансформаторов тока и напряжения, маслонаполненных вводов напряжением до 500 кВ включительно, а масло ТСп до 220 кВ включительно.
По экономическим соображениям масла Т-1500 и Т-750 рекомендуется использовать для силовых трансформаторов и реакторов напряжением 220 кВ и выше, а для измерительных трансформаторов тока и напряжения и маслонаполненных вводов - напряжением 110 кВ и выше. Все трансформаторные масла можно использовать в масляных выключателях. По экономическим соображениям нецелесообразно использовать для этих целей масла ГК, Т-1500 и Т-750. Масло Т-750 наиболее целесообразно использовать в герметичных маслонаполненных вводах.
Допускается повторно использовать масло, слитое из масляных выключателей при капитальном ремонте, после очистки его от механических примесей, угля и воды до норм по этим показателям на свежее сухое масло.
4.2. Масла, изготовленные по различным стандартам и техническим условиям, рекомендуется хранить раздельно и использовать, как правило, в соответствии с областью применения.
Масло гидрокрекинга ГК рекомендуется применять, как правило, не смешивая с другими маслами. При необходимости для смешения масла ГК с другими маслами наиболее рационально использовать масла марок ГБ, Т-1500 и Т-750.
При необходимости допускается смешивать отечественные ингибированные масла в любых соотношениях, учитывая при этом их область применения.
Если в смеси содержатся масла на различные классы напряжений, то смесь используется в электрооборудовании низшего класса напряжения.
Если

при 90 °C смеси превышает

компонента с наибольшими диэлектрическими потерями, то такую смесь масел можно использовать только для заливки в масляные выключатели.
Трансформаторные масла отечественного производства, содержащие ионол, изготовленные по ранее действовавшим ГОСТ и ТУ, допускается применять так же, как масла аналогичных марок, вырабатываемых в соответствии с действующими стандартами.
Смешение неингибированных масел, ранее выпускавшихся и находящихся в эксплуатации, со свежими ингибированными маслами не допускается. При необходимости смешения таких масел следует ввести присадку ионол в таком количестве, чтобы предполагаемая смесь содержала не менее 0,25% массы присадки, и испытать смесь на стабильность против окисления. Стабильность смеси должна быть выше стабильности неингибированного масла.
Импортные масла, содержащие антиокислительную присадку ДВК (ионол) или после введения ее на месте потребления в концентрации не менее 0,3% по массе и соответствующие требованиям
ГОСТ 10121-76 и имевшие температуру вспышки не ниже 135 °C и содержание серы не более 0,3% по массе, можно смешивать в любых соотношениях с маслами ТКп и ТАп и использовать в электрооборудовании на напряжение до 500 кВ включительно, в случае смешения с маслом ТСп - до 220 кВ включительно.
При содержании серы более 0,35% импортные масла можно применять в электрооборудовании на напряжение до 220 кВ включительно.
В порядке исключения возможно смешение импортного масла, содержащего не более 0,35% серы:
с маслами Т-750 и Т-1500 и использование смеси в электрооборудовании на напряжение до 500 кВ включительно;
с маслом ГК и использование смеси в силовых трансформаторах и реакторах на напряжение до 500 кВ включительно.
Не допускается смешение изоляционного масла МВ с любым трансформаторным маслом.
В силовые трансформаторы напряжением до 220 кВ включительно допускается заливка после капитального ремонта:
эксплуатационного масла с кислотным числом не более 0,05 мг KOH/г, удовлетворяющего нормам на эксплуатационное масло по реакции водной вытяжки, содержанию растворенного шлама, механических примесей и имеющего пробивное напряжение на 10 кВ выше эксплуатационной нормы и

при 90 °C не более 6%;
смеси эксплуатационного масла с любым свежим сухим трансформаторным маслом, если при этом не наблюдается резкого ухудшения качества масел.
Доливка масла в электрооборудование должна проводиться с учетом области применения масла.
Допускается доливка маслом ГК силовых трансформаторов, залитых маслом других марок.
Доливка герметичных вводов может осуществляться маслом из бака трансформатора, оборудованного пленочной защитой.
Доливка должна производиться подготовленным сухим маслом с показателями качества, предъявляемыми к свежим маслам, заливаемым в новое оборудование.
5. ТРЕБОВАНИЯ К КАЧЕСТВУ СВЕЖИХ ТРАНСФОРМАТОРНЫХ
МАСЕЛ И НЕОБХОДИМЫЕ МЕРОПРИЯТИЯ ПО ПОДГОТОВКЕ
МАСЛА К ЗАЛИВУ В ЭЛЕКТРООБОРУДОВАНИЕ
5.1. Правила подготовки трансформаторного масла перед заливом в силовые трансформаторы 110 кВ и выше приведены в РД 16.363-87. Трансформаторы силовые. Транспортировка, разгрузка, хранение, монтаж и ввод в эксплуатацию.
5.2. Качество свежего масла, вновь поступившего на энергопредприятия и хранящегося в резервуарах (таре) масляного хозяйства, должно отвечать всем требованиям действующих ГОСТ и ТУ (см.
табл. 1).
5.3. Поступающая с завода или нефтебазы партия трансформаторного масла должна иметь паспорт или сертификат предприятия-поставщика, в котором указываются показатели качества масла, подтверждающие соответствие требованиям ГОСТ или ТУ.
Проба масла должна отбираться в соответствии с требованиями
ГОСТ 2517-80 из емкости, в которой транспортировалось масло.
Отобранная проба трансформаторного масла должна подвергаться следующим лабораторным испытаниям:
До слива из железнодорожных цистерн - сокращенному анализу (без определения пробивного напряжения), а также проверяется на противоокислительную стабильность и

. В маслах, предназначенных для заливки в оборудование, работающее в районах Крайнего Севера, дополнительно определяется температура застывания. Испытания стабильности,

и температуры застывания можно проводить после слива масла из железнодорожной цистерны;
слитое в баки масляного хозяйства - сокращенному анализу;
находящееся в резерве - сокращенному анализу (не реже одного раза в три года) и проверке на пробивное напряжение (один раз год). В объем сокращенного анализа масла входит определение пробивного напряжения, температуры вспышки, кислотного числа, реакции водной вытяжки (содержания водорастворимых кислот и щелочей), визуального определения механических примесей и нерастворенной воды.
Если результаты анализа покажут, что масло некондиционно, то его поставщику (заводу, нефтебазе) должна быть предъявлена рекламация.
В рекламации должен быть указан поставщик, дата отгрузки и поступления цистерн с маслом, масса масла, номер и дата выдачи паспорта с анализом, по какому показателю (показателям) масло не удовлетворяет требованиям ГОСТ и ТУ. Контрольная проба масла должна быть подвергнута арбитражному анализу в посторонней нейтральной организации в присутствии представителя энергопредприятия.
Одновременно должны быть приняты меры по восстановлению масла.
Масла, не отвечающие требованиям ГОСТ или ТУ, не допускается заливать в оборудование.
5.4. Свежие, сухие и подготовленные к заливу масла в оборудование масла непосредственно до и после залива должны соответствовать предельно допустимым значениям показателей качества, указанным в табл. 4.
Таблица 4
Предельно допустимые значения показателей качества
трансформаторного масла, подготовленного и залитого
в электрооборудование
Наименование | Значение показателя качества трансформаторного масла до залива в электрооборудование | Значение показателя качества трансформаторного масла после залива в электрооборудование | Наименование нормативно-технического документа |
1. Пробивное напряжение, кВ, не менее, для трансформаторов, аппаратов и вводов напряжением: | | | |
до 15 кВ | 30 | 25 | |
св. 15 до 35 кВ | 35 | 30 | |
от 60 до 150 кВ | 60 | 55 | |
от 220 кВ до 500 кВ | 60 | 55 | |
750 кВ | 70 | 65 | |
1150 кВ | 70 | 70 | |
2. Массовое влагосодержание, % (г/т), не более для: | | | |
трансформаторов с пленочной или азотной защитой | 0,001 (10) | 0,001 (10) | |
для трансформаторов без специальных защит | 0,0020 (20) | 0,0025 (25) | |
3. Тангенс угла диэлектрических потерь, %, не более, при 90 °C | | | |
до 500 кВ вкл. | 2,2 | 2,6 | |
750 кВ | 0,5 | 0,7 | |
1150 кВ | 0,5 | 0,5 | |
4. Кислотное число, мг KOH/г масла, не более: | | | |
до 500 кВ вкл. | 0,02 | 0,02 | |
св. 500 кВ | 0,01 | 0,01 | |
5. Содержание растворимых кислот и щелочей | Отсутствие | Отсутствие | |
6. Содержание механических примесей, % массы (г/т), не более: | | | |
до 750 кВ вкл. | Отсутствие | Отсутствие | |
силовые трансформаторы 1150 кВ. | 0,0005 (5) | 0,0005 (5) | |
7. Температура вспышки в закрытом тигле, °C, не ниже | 135 | 135 | |
8. Газосодержание, % объема, не более (для герметичного электрооборудования) | 0,1 | 0,2 | Инструкция завода-изготовителя |
Примечания: 1. Проба трансформаторного масла для определения значения

дополнительной обработке не подвергается.
2. Проверку газосодержания масла допускается производить абсорциометрами, установленными в дегазационных установках или в лаборатории хроматографическим методом.
5.5. Для свежих, сухих масел различных силовых трансформаторов, автотрансформаторов и масляных реакторов должны быть произведены следующие испытания (см.
табл. 4).
5.5.1. Свежее, сухое трансформаторное масло перед заливкой его во вводимые в эксплуатацию трансформаторы, поставляемые без масла, должно испытываться по показателям
п. п. 1,
4,
5,
6,
7, а для трансформаторов напряжением 110 кВ и выше - также и по
п. п. 2,
3. Перед заливкой в трансформаторы с пленочной защитой масло должно быть испытано по показателям
п. п. 2,
8.
5.5.2. Масло из трансформаторов напряжением до 35 кВ включительно при хранении их более одного года должно быть испытано по показателям
п. 1, а из трансформаторов напряжением 110 кВ и выше- по показателям
п. п. 1 -
4 не реже одного раза в два месяца.
5.5.3. Из трансформаторов, транспортируемых без масла, до начала монтажа должен быть произведен отбор проб остатков масла (со дна). Пробивное напряжение остатков масла в трансформаторах должно быть не менее, кВ:
у трансформаторов напряжением 110 - 220 кВ - 35;
у трансформаторов напряжением 330 - 500 кВ - 45.
5.5.4. Масло из трансформаторов напряжением 110 кВ и выше, поставляемых с маслом, должно быть испытано до начала монтажа по показателям
п. п. 1 -
7.
5.5.5. Масло из трансформаторов напряжением до 35 кВ включительно, транспортируемых с маслом, при отсутствии заводского протокола испытания масла должно быть проверено перед включением трансформатора по показателям
п. п. 1,
4,
5,
6,
7.
5.5.6. Масло из трансформаторов мощностью до 1000 кВ. А включительно, напряжением до 35 кВ включительно, транспортируемых заполненными маслом, при наличии документов с удовлетворяющими нормам показателями заводского испытания, проведенного не более чем за шесть месяцев до включения трансформатора в работу, разрешается испытывать только по показателям
п. п. 1 и
6.
5.5.7. Масло из трансформаторов напряжением до 35 кВ включительно перед вводом в работу после монтажа должно быть испытано по показателям
п. п. 1,
4,
5,
6,
7, из трансформаторов напряжением 110 кВ и выше - дополнительно по показателям
п. п. 2 и
3.
Масло из трансформаторов с пленочной защитой, кроме того, должно испытываться по показателям
п. п. 2 и
8, а масло из трансформаторов с азотной защитой - по показателю
п. 2.
5.6. Для масел из измерительных трансформаторов должны быть произведены следующие испытания
(табл. 4).
5.6.1. Свежее, сухое трансформаторное масло перед заливкой его в измерительные трансформаторы должно быть испытано по
п. п. 1,
4,
5,
6,
7, а для измерительных трансформаторов напряжением 220 кВ и выше- дополнительно по
п. п. 2 и
3.
Масло из трансформаторов тока напряжением 35 кВ и выше после их монтажа должно быть испытано по
п. п. 1,
4,
5,
6,
7.
5.6.2. Масло из измерительных трансформаторов напряжением 110 кВ и выше, а также 35 кВ с объемами масла 30 кг и более, после монтажа должно быть испытано по
п. п. 1,
4,
5,
6,
7. Из трансформаторов напряжением до 35 кВ включительно с объемом масла менее 30 кг пробы масла могут не отбираться, полная замена масла допускается лишь при ухудшении характеристик изоляции.
У маслонаполненных каскадных измерительных трансформаторов оценка состояния масла в отдельных ступенях трансформаторов должна производиться по нормам, соответствующим номинальному рабочему напряжению ступени (каскада).
5.7. Для масел из масляных выключателей испытание должно проводиться по
п. п. 1 и
6 (см. табл. 4) при вводе выключателей в эксплуатацию после монтажа, капитального и внепланового ремонтов.
У баковых выключателей испытание должно проводиться до и после заливки масла, а у маломасляных выключателей всех напряжений до заливки масла.
5.8. Свежее, сухое трансформаторное масло перед заливкой во вводы должно испытываться по
п. п. 1,
4,
5,
6,
7 (табл. 4), а для вводов на напряжение 220 кВ и выше - дополнительно по
п. 3. Масло, предназначенное для заливки герметичных вводов, должно быть дегазированным.
Масло из негерметичных маслонаполненных вводов после монтажа испытывается по
п. п. 1,
4,
5,
6,
7.
5.9. Рекомендуется при заливке масла в оборудование отбирать пробу масла (5 - 10 см3). Хранить ее в закрытом состоянии и использовать ее в качестве эталона при оценке срабатываемости (расхода) присадки в процессе эксплуатации.
6. ЭКСПЛУАТАЦИОННЫЙ КОНТРОЛЬ ТРАНСФОРМАТОРНОГО МАСЛА
И ТРЕБОВАНИЯ, ПРЕДЪЯВЛЯЕМЫЕ К ЕГО КАЧЕСТВУ
6.1. Требования к качеству эксплуатационных трансформаторных масел в зависимости от типа оборудования, класса напряжения и мощности, методы испытания и меры, принимаемые в случае превышения предельно допустимых значений некоторых показателей качества масел, приведены в табл. 5.
Таблица 5
Требования к качеству эксплуатационных
трансформаторных масел
Показатель качества масла | Наименование нормативно-технического документа | Место проведения испытания (П - производство, Л - лаборатория) | Группа оборудования | Предельно допустимое значение показателя качества масла | Меры, принимаемые в случае превышения значения показателя выше предельно допустимого | Примечание |
1. Пробивное напряжение, кВ | | П и Л | Трансформаторы, аппараты, вводы напряжением: | | | |
| | | До 15 кВ вкл. | 20 | Обработка вакуумным сепаратором ПСМ по п. 7.9 или цеолитом по п. 8.2 | Входит в объем сокращенного анализа (периодичность сокращенного анализа см. п. 6.3) |
| | | Свыше 15 кВ до 35 кВ вкл. | 25 | То же | Снижение  обусловлено наличием воды и накоплением загрязнений в масле |
| | | От 60 кВ до 150 кВ вкл. | 35 | То же | |
| | | От 220 кВ до 500 кВ вкл. | 45 | Обработка вакуумной установкой УВМ по п. 8.3 или цеолитом по п. 8.2 | |
| | | 750 кВ | 55 | То же | |
| | | 1150 кВ | 65 | То же | |
2. Содержание механических примесей, % массы (г/т) | - | П | Электрооборудование до 750 кВ вкл. | Отсутствие | При наличии следов механических примесей обработка (фильтрация) масла фильтрами тонкой очистки масла (фильтр-пресс ФП; ФОСН; ФГН и др.) или установками (УВМ; ПСМ), оборудованными указанными фильтрами по п. 7.10 | Входит в объем сокращенного анализа |
- визуально | | Л | Силовые трансформаторы 1150 кВ вкл. | 0,0015 (15) | |
3. Кислотное число, мг KOH/г масла | | П и Л | Силовые трансформаторы свыше 630 кВ · А, измерительные трансформаторы 110 кВ и выше, маслонаполненные вводы | 0,1 | Замена в ТСФ или АФ адсорбента, регенерация масла по п. 10.2 | Входит в объем сокращенного анализа (ТСФ - термосифонные фильтры, АФ - адсорбционные фильтры) |
| | | | 0,25 | Регенерация масла крупнопористыми адсорбентами по п. 10 или замена на свежее масло | |
4. Содержание водорастворимых кислот, мг KOH/г масла | | П и Л | То же | 0,014 (0,03 для негерметичных вводов до 500 кВ вкл.) | Замена адсорбента в ТСФ или АФ, регенерация масла по п. 10 | Входит в объем сокращенного анализа. |
Повышение КЧ и ВРК обусловлено процессом окислительного старения масла |
5. Температура вспышки в закрытом тигле (ТВЗТ), °C | | П и Л | Силовые трансформаторы выше 530 кВ · А, измерительные, трансформаторы 110 кВ и выше, маслонаполненные вводы | Снижение не более чем на 6 °C в сравнении с предыдущим анализом | Выявление и устранение причины (дефекта оборудования). Проведение хроматографического анализа. Если ТВЗТ ниже 125 °C, то вакуумная обработка масла установкой УВН по п. 8.3 до ТВЗТ не ниже 130 °C. Если ТВЗТ выше 125 °C и в процессе дальнейшей эксплуатации не снижается, то нет необходимости в обработке масла | Входит в объем сокращенного анализа (см. примечание 2 к данной табл.). Снижение ТВЗТ обусловлено разложением масла в результате местных перегревов и электрических разрядов |
6. Тангенс угла диэлектрических потерь, %, при 90 °C | | Л | Силовые, измерительные трансформаторы, вводы напряжением: | | Регенерация крупнопористым адсорбентом по п. 10.2 замена адсорбента в ТСФ или АФ. (Замена масла на свежее) | Проба масла перед определением дополнительно не обрабатывается. (Периодичность испытания см. п. 6.3, а также при смешении масел). Повышение обусловлено появлением в масле коллоидных частиц (мыл, следов растворимого шлама) и загрязнением масла водой |
110 - 150 кВ вкл. | 15 |
220 - 500 кВ вкл. | 10 |
750 кВ | 5 |
1150 кВ | 4 |
7. Влагосодержание, % массы (г/т) | | Л | Для трансформаторов с азотной и пленочной защитой | 0,002(20) | Обработка цеолитом по п. 8.2 или вакуумной установкой УВМ по п. 8.3 | Периодичность проведения такая же, как и у сокращенного анализа масла. |
| П | Для трансформаторов без специальных средств защиты с системой охлаждения М и Д | Отсутствие (Качественно) | Обработка цеолитом по п. 8.2 или вакуумным сепаратором ПСМ по п. 7.9 | Основные причины увлажнения масла - образование реакционной воды и поглощение влаги из окружающей среды при "дыхании" оборудования |
8. Газосодержание, % объема | Инструкция завода-изготовителя оборудования | П и Л | Для трансформаторов с пленочной защитой | 2 | Дегазация масла с помощью установки УВМ по п. 8.3 | Периодичность проведения такая же, как и сокращенного анализа масла. Заводы-изготовители рекомендуют определять хроматографическим методом или адсорбциометрами на установках УВМ. Повышение газосодержания обуславливается нарушением герметичности пленочной защиты или наличием дефектов оборудования |
9. Растворимый шлам (потенциальный осадок) | | Л | Силовые трансформаторы 220 кВ и выше при КЧ свыше 0,10 мг KOH/г масла | Отсутствие (отсутствием считается содержание менее 0,01% массы) | Регенерация масла по п. 10.2 с последующей заменой адсорбента в ТОФ и АФ, введение присадки ионол в количестве 0,2% массы п. 9.6.4 | Выполнять с периодичностью сокращенного анализа масла. Появление шлама обусловлено глубоким старением масла |
10. Определение содержания антиокислительной присадки ионол | | Л | В основном негерметичных трансформаторов 110 кВ и выше, а также для оборудования с вместимостью маслосистемы , 10 т и более | Не менее 0,1% массы | Введение ионола по п. 9.6.4 в количестве 0,2 - 0,3% массы. При КЧ масла более 0,1 мг KOH/г или наличии растворенного шлама обязательная предварительная регенерация масла по п. 10.2 | Выполнять с периодичностью сокращенного анализа масла. Снижение концентрации присадки обусловлено ее расходом в процессе окислительного старения масла |
Примечания: 1. Кислотное число масла можно определять также по ГОСТ 11362-76 (СТ СЭВ 5025-85) методом потенциометрического титрования. |
2. Для трансформаторов 110 - 150 кВ мощностью 60 МВ · А и более, 220 - 500 кВ включительно всех мощностей, реакторов 500 кВ и выше, трансформаторов напряжением 110 - 150 кВ мощностью менее 60 МВ · А СН блоков 300 МВт и выше, масло которых контролируется хроматографическим методом, температура вспышки может не определяться. |
В процессе эксплуатации трансформаторного масла выполняется сокращенный анализ масла, при необходимости выполняются различные испытания масла, входящие в объем полного анализа (помимо сокращенного анализа).
6.2. Объем эксплуатационного контроля включает в себя сокращенный или полный анализ масла.
6.2.1. Сокращенный анализ масла включает определение следующих показателей качества:
внешнего вида и цвета;
наличия механических примесей и свободной воды (визуальное);
пробивного напряжения;
кислотного числа;
температуры вспышки;
реакции водной вытяжки (количественное определение содержания водорастворимых кислот выполняется при кислой реакции водной вытяжки).
Как правило, при нормальной эксплуатации, когда показатели качества эксплуатационного масла не приближаются к предельно допустимым значениям и не наблюдается ухудшения характеристик твердой изоляции, сокращенного анализа достаточно для контроля состояния масла и прогнозирования срока службы масла.
6.2.2. Полный анализ масла помимо испытаний, входящих в объем сокращенного анализа, включает определение следующих показателей:
- тангенса угла диэлектрических потерь при 90 °C (при необходимости также и при других температурах, например при 20 и 70 °C);
- количественного содержания механических примесей;
- количественного содержания воды;
- газосодержания;
- наличия растворенного шлама (потенциального осадка);
- содержания антиокислительной присадки ионол;
- стабильности против окисления.
Полный анализ эксплуатационного масла следует производить при приближении одного или нескольких показателей качества масла к предельно допустимому значению, а также при ухудшении характеристик твердой изоляции и (или) интенсивном старении масла, с целью определения причин данных процессов. Полный анализ позволяет более достоверно прогнозировать дальнейший срок службы эксплуатационного масла, выявлять причины загрязнения и правильно выбрать необходимые мероприятия по восстановлению его эксплуатационных свойств.
Кроме вышеперечисленных показателей, полный анализ может включать в себя определение таких показателей, как температура застывания, содержание серы, плотность, вязкость, поверхностное натяжение, показатель преломления

и некоторых других. Определение этих показателей, в основном, необходимо для определения типа масла (например для импортных масел) и его химического состава с целью оценки эксплуатационных свойств.
Хроматографический анализ растворенных в масле газов может входить в объем полного анализа эксплуатационного масла. Данный метод является специальным методом, служащим для обнаружения повреждений и дефектов отдельных конструктивных узлов и всей твердой изоляции электрооборудования, но практически не информирующем о качестве и состоянии самого масла.
6.2.3. Различные испытания, входящие в объем эксплуатационного контроля трансформаторного масла, выполняются по стандартным методикам в соответствии с требованиями ГОСТ или ТУ, кроме определения количественного содержания водорастворимых кислот, шлама и антиокислительной присадки (см.
табл. 5).
6.2.4. Цвет трансформаторного масла определяется при рассмотрении в проходящем свете и выражается числовой оценкой, основанной на сравнении с рядом цветовых стандартов. Внешний вид масла может быть мутным, с осадками и взвешенными частицами различных загрязнений. Цвет и внешний вид не являются решающими показателями для отбраковки масла, но дают полезную информацию о проведении необходимого объема испытаний масла.
6.2.5. Пробивное напряжение является важнейшим показателем качества масла, который характеризует способность жидкого диэлектрика выдерживать электростатическое напряжение без пробоя, т.е. определяет безаварийную работу всей системы изоляции оборудования. Определение значений пробивного напряжения по
ГОСТ 6581-75 зависит от температуры испытуемого масла. Следует в протоколе указывать температуру масла при данном испытании и при прочих равных условиях результаты следует считать сопоставимыми, если разность температур при определении

не превышает 2 °C.
6.2.6. При приближении пробивного напряжения к предельно допустимому значению следует определить количественное влагосодержание масла. Влагосодержание также позволяет определить причину ухудшения характеристик твердой изоляции.
6.2.7. Кислотное число (КЧ) является основным показателем, характеризующим степень старения масла. Кроме КЧ степень старения характеризуют такие показатели, как

, влагосодержание и реакция водной вытяжки (содержание водорастворимых кислот).
6.2.8. Тангенс угла диэлектрических потерь является показателем качества масла чувствительным к присутствию в масле различных загрязнений [коллоидных (мелкодисперсных) образований, растворимых металлоорганических соединений (мыл) и различных продуктов старения масла и твердой изоляции]. Определение

позволяет выявить незначительные изменения свойств масла даже при очень малой степени загрязнения, которые не определяются химическими методами контроля. Характер температурной зависимости

позволяет определить тип загрязнения.
6.2.9. Газосодержание в основном характеризует эффективность действия пленочной защиты трансформаторов.
6.2.10. Снижение температуры вспышки трансформаторного масла указывает на наличие в оборудовании дефектов, приводящих к разложению масла и образованию воспламеняющихся летучих фракций.
Данные, полученные с помощью этого метода, в определенной мере дублируются данными, полученными хроматографическим анализом растворенных газов.
6.2.11. Определение наличия растворенного шлама является важным испытанием, так как позволяет выявить наличие растворенных в масле продуктов глубокого старения, способных выпадать в виде осадка на активной части электрооборудования. Продукты старения, выпадающие в осадок, оказывают наиболее отрицательное воздействие на твердую изоляцию.
6.2.12. Содержание ионола в эксплуатационном масле и стабильность против окисления являются наиболее точными показателями, характеризующими срок службы масла.
6.3. Периодичность проведения испытаний определяется классом оборудования и состоянием масла.
6.3.1. Периодичность определения значений показателей качества трансформаторного масла в процессе эксплуатации должна быть следующей:
сокращенный анализ масла должен выполняться не реже одного раза в три года для силовых трансформаторов мощностью более 630 кВ · А напряжением 6 кВ и выше, для измерительных трансформаторов напряжением 110 кВ и выше, негерметичных маслонаполненных вводов;
сокращенный анализ масла должен выполняться для герметичных маслонаполненных вводов при повышенных значениях

изоляции или повышении давления во вводе выше нормы, для силовых трансформаторов при срабатывании газового реле на сигнал;
тангенс угла диэлектрических потерь эксплуатационного масла должен определяться не реже одного раза в три года для силовых и измерительных трансформаторов, негерметичных маслонаполненных вводов напряжением 220 кВ и выше;
тангенс угла диэлектрических потерь эксплуатационного масла должен определяться для герметичных маслонаполненных вводов при повышении давления во вводе выше нормы, а также для всех видов оборудования при значительном ухудшении характеристик твердой изоляции (

и

) или срабатывании газового реле трансформаторов на сигнал;
тангенс угла диэлектрических потерь и пробивное напряжение эксплуатационного масла должны определяться для силовых трансформаторов 500 кВ и выше через три месяца после включения в работу и в дальнейшем с периодичностью, указанной выше;
масло из трансформаторов мощностью менее 630 кВ · А включительно в процессе эксплуатации не проверяется;
масло из баковых масляных выключателей должно испытываться по
п. п. 1 и
2 (см. табл. 5) после капитального и внепланового ремонтов, а также в случае выполнения ими предельно допустимого числа коммутаций (отключения и включения) токов КЗ; масло из баковых выключателей до 35 кВ включительно и маломасляных выключателей всех классов напряжения после выполнения ими предельно допустимого числа коммутаций токов КЗ без ремонта может не испытываться, а заменяться на свежее; после текущего ремонта баковых выключателей испытание масла следует проводить по
п. 1 (см. табл. 5);
масло в баке контактора устройства РПН должно испытываться по
п. п. 1 и
7 (см. табл. 5) после определенного числа переключений, указанного в заводской инструкции по эксплуатации данного переключателя, но не реже одного раза в год, возможно качественное определение п. 7 по
ГОСТ 1547-84, если отсутствует требование завода-изготовителя по количественному определению данного показателя, масло должно быть заменено на свежее в случае превышения предельно допустимого значения, указанного в
п. п. 1 и
7 или достижения предельного числа переключений, указанных в инструкции по эксплуатации данного устройства РПН;
масло из трансформаторов, оборудованных пленочной защитой, должно испытываться по
п. п. 7 и
8 (см. табл. 5), азотной защитой по
п. 7 с периодичностью сокращенного анализа.
6.3.2. Следует отметить, что учащенному контролю должны подвергаться масла из трансформаторов, работающих в перегруженном режиме, из оборудования, к которому предъявляется требование повышенной надежности работы, а также в том случае, если любой из показателей качества (см.
табл. 5) эксплуатационного масла приближается к предельно допустимому значению.
6.4. Основная задача персонала при отборе проб - обеспечить тождественность пробы маслу, содержащемуся в оборудовании или в емкости.
6.4.1. Отбор проб свежих масел из транспортной емкости должен осуществляться в соответствии с требованиями
ГОСТ 2517-80. В случае несоблюдения процедуры отбора проб, указанной в
ГОСТ 2517-80, претензия по качеству поступившего масла не будет обоснованной.
6.4.2. Небрежный отбор проб или загрязнение пробоотборной посуды приводит к ошибочным заключениям в отношении качества масла и к неоправданной потере времени, трудозатрат и расходов на транспортирование и контроль проб.
6.4.3. При отборе проб эксплуатационного масла следует соблюдать следующие основные правила:
отбор проб должен выполняться квалифицированным специалистом;
не следует выполнять отбор проб масла при плохой погоде (осадки, сильный ветер с пылью и другое) с высоким риском попадания загрязнений из окружающей среды в пробу масла, при необходимости срочного отбора проб в неблагоприятных условиях следует соблюдать дополнительные меры предосторожности;
использовать только специально подготовленную сухую и чистую посуду - стеклянные бутылки или бесшовные металлические банки, посуду из пластика можно использовать, если доказана возможность ее применения для этой цели;
слить достаточное количество масла (не менее двух объемов посуды) для удаления каких-либо загрязнений, которые могут находиться на пробоотборном патрубке;
ополоснуть пробоотборную посуду отбираемым маслом;
обеспечить наполнение каждого сосуда не менее 95% его вместимости;
сразу после заполнения сосуд с пробой закупоривается пробкой;
после отбора пробы восстановить первоначальный вид пробоотборной точки;
проверить правильность и полноту маркировки этикетки;
хранить образцы в темном месте, если в качестве пробоотборника использовались прозрачные бутылки.
6.4.4. Отбор проб из оборудования должен производиться при обычном режиме работы оборудования или сразу после его отключения. Эту рекомендацию особенно важно выполнять, когда определяется влагосодержание или зависящие от него характеристики. В этих случаях должна быть измерена и зафиксирована температура масла во время отбора проб.
6.4.5. После доставки проб в лабораторию не рекомендуется сразу открывать бутыль, а необходимо подождать до тех пор, пока температура пробы не достигнет комнатной температуры.
7. ПРИМЕСИ В МАСЛЕ, МЕТОДЫ И ОБОРУДОВАНИЕ ДЛЯ ИХ УДАЛЕНИЯ
7.1. В процессе эксплуатации электротехнического оборудования в трансформаторном масле образуются и накапливаются различные продукты старения масла и твердой изоляции, находящиеся в масле в дисперсном состоянии, такие, как вода, шлам, уголь, волокна твердой изоляции, частица адсорбентов и другие механические примеси.
7.2. Для удаления примесей из трансформаторного масла применяются физические методы очистки, которые не изменяют химического состава масла. К данным методам относятся фильтрация, центрифугирование, отстой и различные способы осушки.
7.3. В эксплуатационном трансформаторном масле содержится вода, образующаяся в процессе старения масла и изоляции, а также попадающая в масло из окружающей среды.
Вода является наиболее опасной примесью в масле, так как даже небольшое количество ее значительно снижает пробивное напряжение трансформаторного масла. В эксплуатационном масле вода может находиться в виде раствора и эмульсии.
Наибольшее отрицательное влияние на электрическую прочность масла оказывает вода в дисперсном (эмульгированном) состоянии. Между растворенным и дисперсным состояниями воды в масле существует определенное равновесие, зависящее от внешних факторов, в первую очередь от температуры масла. С повышением температуры равновесие сдвигается в сторону увеличения содержания растворенной воды.
7.4. Для удаления дисперсной воды целесообразно применять методы центрифугирования и вакуумирования. Растворенная вода, которая не может быть отделена от масла в центробежном поле сепаратора, эффективно удаляется методами вакуумирования и адсорбционной обработки (молекулярными ситами).
7.5. В настоящее время на энергопредприятиях для очистки трансформаторных масел от дисперсной и частично от растворенной влаги, механических примесей и шлама наиболее широко применяются маслоочистительные машины (сепараторы) производства Полтавского турбомеханического завода:
вакуумная маслоочистительная установка ПСМ1-3000. Предназначена дня очистки трансформаторных масел от дисперсной влаги и механических примесей;
вакуумная маслоочистительная установка ПСМ2-4 является модернизированным вариантом установки ПСМ1-3000, серийное производство которой начато в 1984 г. Предназначена для очистки трансформаторных масел от дисперсной воды и механических примесей. По техническим характеристикам и степени очистки масла установка ПСМ2-4 превосходит ПСМ1-3000. В настоящее время предприятием Минэнерго СССР поставляются только установки ПСМ2-4.
7.6. Сепараторы без вакуумирования не обеспечивают необходимую глубину осушки трансформаторного масла от влаги. Эти недостатки значительно уменьшаются в случае применения вакуумных сепараторов, поскольку при их работе происходит частичное удаление из масла растворенной влаги. Кроме того, при работе сепараторов без вакуумирования происходит насыщение горячего масла воздухом, что приводит к ухудшению его эксплуатационных свойств. Поэтому недопустима обработка трансформаторного масла при подготовке его к заливу в электрооборудование на сепараторах без вакуумирования. Оптимальной температурой при осушке масла вакуумными сепараторами является температура 50 - 60 °C.
7.7. Применение сепараторов эффективнее при высоком содержании влаги в трансформаторном масле (при пробивном напряжении менее 10 кВ), так как последние следы влаги удаляются с трудом, даже после многократной циркуляции. Этим объясняются трудности достижения высокого пробивного напряжения масла (60 - 80 кВ). Поэтому не рекомендуется применять схему, при которой отцентрифугированное масло возвращается в тот же бак. Целесообразно применять два бака, так как во второй бак поступает только осушенное масло. Эта схема сокращает длительность процесса осушки масла и расход электроэнергии, устраняет возможное ухудшение стабильности нагретого масла и повышает эффективность действия сепаратора.
7.8. В зависимости от степени загрязнения масла работа маслоочистительных установок может осуществляться в режиме пурификации (при значительном загрязнении масла водой и механическими примесями) или кларификации. Для подготовки масел к заливу в оборудование обработка ведется в режиме кларификации под вакуумом.
7.9. С помощью сепараторов ПСМ из масла (как свежего, так и эксплуатационного) нельзя удалить растворенную в нем воду. Поэтому для глубокой осушки трансформаторного масла следует применять цеолиты или вакуумные установки УВМ. Осушку проводят в соответствии с указаниями
разд. 8. Центрифугирование трансформаторного масла следует рассматривать как предварительную ступень обработки трансформаторного масла, имеющего низкую электрическую прочность (

менее 20 кВ), с целью подготовки его для залива в электрооборудование.
Сепараторы ПСМ (с обязательным вакуумированием масла) можно применять для обработки эксплуатационных трансформаторных масел непосредственно в электрооборудовании до 150 кВ включительно, с целью восстановления их электрической прочности

. Обработка масла осуществляется по замкнутой схеме (бак трансформатора

ПСМ

фильтр тонкой очистки масла

бак трансформатора) и при обеспечении надежной герметичности схемы и требований техники безопасности может осуществляться в оборудовании, находящемся под напряжением.
7.10. Очистку эксплуатационных и отработанных трансформаторных масел от механических примесей и шлама целесообразно производить методом фильтрации.
Для этой цели на энергопредприятиях наиболее широко применяются передвижные рамные фильтры-прессы ФП2-3000 и ФП4-4 производства Полтавского турбомеханического завода, а также фильтры-прессы Ф11 Р-2, 2-315/16У. Основные технические характеристики фильтров-прессов приведены в
Приложении 5.
7.11. Маслоочистительные установки ПСМ2-4 оборудуются фильтрами тонкой очистки масла типа щелевых суперфильтров. Фильтрующие элементы данных суперфильтров представляют собой пакет бумажных колец, набранных на специальном стержне и сжатых пружиной. Оптимальная сила сжатия пакета составляет 20 кГс. Установки ПСМ2-4 также могут оборудоваться фильтрами-прессами вместо щелевых суперфильтров.
7.12. Тонкость очистки трансформаторных масел от механических примесей и шлама зависит от вида и свойств фильтровального материала и конструкции фильтра.
Наиболее широко применяется на энергопредприятиях фильтровальный технический картон ГОСТ 6722-75, задерживающий частицы примесей размером более 20 мкм.
В качестве фильтрующих материалов применяются современные ткани на синтетической и вискозно-штапельной основе. Основные характеристики фильтровальных материалов, применяемых для фильтров-прессов, приведены в
Приложении 6. В случае отсутствия указанных фильтровальных материалов можно использовать ткань Бельтинг (ГОСТ 332-69) или фильтровальную бумагу БФМ (ТУ 81-042-70).
7.13. Перед применением фильтровальный картон необходимо высушить в сушильном шкафу в течение 24 ч при температуре 80 °C. Просушенный картон до употребления хранят в баке, заполненном свежим, сухим трансформаторным маслом.
7.14. При нормальной работе фильтра-пресса давление масла на фильтре должно быть не выше 0,4 МПа (4 кгс/см2). Увеличение давления масла до 0,5 МПа указывает на частичное или полное засорение фильтровального картона.
7.15. На ряде энергопредприятий имеется положительный опыт применения фильтров ФГН и ФОСН для очистки трансформаторных масел от механических примесей и шлама. В качестве фильтрующих элементов в данных фильтрах применяется нетканый материал и специальные фильтрующие патроны (Реготмас 561-1), обеспечивающие тонкость фильтрации порядка 20 мкм. Данные фильтры не комплектуются насосами и, следовательно, их производительность будет зависеть от производительности маслонасоса, используемого для подачи масла на фильтр. Максимальная производительность фильтров по трансформаторному маслу при 20 °C будет составлять не более 40% производительности, указанной в марке фильтра.
Например, для фильтров ФГН-20-20 - 8 м3/ч, ФОСН-60 - 24 м3/ч или ФГН-120 - 48 м3/ч.
Достоинствами фильтров ФОСН и ФГН, разработанных объединениями "Вторнефтепродукт", являются:
высокая производительность при малых габаритах;
отсутствие смешения фильтруемого масла с воздухом;
простота регулирования и обслуживания.
8. ОСУШКА И ДЕГАЗАЦИЯ ТРАНСФОРМАТОРНЫХ МАСЕЛ
8.1. В настоящее время различными руководящими и нормативно-техническими документами, а также инструкциями заводов-изготовителей электротехнического оборудования установлены предельно допустимые значения различных показателей качества трансформаторного масла таких, как пробивное напряжение, влагосодержание и газосодержание (РД 16363-87). Масло с высокими изоляционными свойствами возможно получить лишь при условии глубокой его осушки и дегазации с применением различной вакуумной и адсорбционной техники.
8.2. Эффективная осушка трансформаторных масел достигается путем адсорбционной обработки их цеолитами (молекулярными ситами).
8.2.1. Цеолиты обладают высокой адсорбционной активностью и емкостью по отношению к воде, и поэтому могут обеспечивать удаление из масла значительной части растворенной воды, даже при малом ее содержании. Целесообразнее осушку масла цеолитами производить при пробивном напряжении масла 10 кВ и более.
Средний размер пор синтетического цеолита марки NaA и природного марки ПЦГ-2, наиболее широко используемых на энергопредприятиях, составляет

.
Физико-химические показатели синтетических и природных цеолитов приведены в
Приложении 7.
Данные цеолиты обладают высоким избирательным действием по отношению к воде и практически не адсорбируют углеводородные компоненты масла и продукты его старения (размеры превышают

), поэтому их нельзя использовать для регенерации масел.
8.2.2. При хранении цеолита интенсивно поглощают влагу и некоторые газы из окружающей среды, поэтому перед применением их необходимо восстановить (просушить) одним из следующих способов:
- сушка в тонком слое (10 - 20 мм) при температуре 350 - 400 °C в течение пяти-шести часов, которая осуществляется в сушильном шкафу, электропечи;
- сушка продувкой через слой цеолита горячего сухого воздуха или инертного газа (азота) в течение трех часов при температуре 300 - 350 °C, расход воздуха (газа) составляет 0,5 - 0,6 м3/ч на 1 кг цеолита;
- вакуумная сушка цеолита при температуре 250 °C и остаточном давлении не выше 5332 Па (40 мм рт. ст.) в течение двух-трех часов.
Наиболее эффективны два последних способа, которые позволяют производить сушку цеолитов непосредственно в рабочих адсорберах (патронах) и тем самым предотвратить частичное увлажнение цеолита при его загрузке в адсорберы (патроны).
Перед загрузкой в адсорбер (патрон) цеолит должен быть просеян от пыли и мелких фракций (менее 2,8 мм).
Загруженный в адсорберы (патроны) цеолит, при его применении для осушки масла непосредственно в электротехническом оборудовании, должен дополнительно промываться сухим трансформаторным маслом от остатков пыли.
Хранение подготовленного цеолита осуществляется в герметичном баке под слоем сухого трансформаторного масла (

более 60 кВ) без потери активности достаточно продолжительное время.
8.2.3. В настоящее время осушка масла цеолитами может осуществляться передвижными цеолитовыми установками БЦ 77-1100, ПЦУ (НО-71) или МО.02-А, технические характеристики которых приведены в
Приложении 8. На
рис. 1 изображена технологическая схема блока установки ПЦУ для осушки масла цеолитами. На территории маслохозяйства можно монтировать стационарные цеолитовые установки, используя штатное оборудование маслохозяйства (адсорберы, фильтры-прессы, маслонасосы), по технологическим схемам, аналогичным схеме ПЦУ.
1 - маслонасос; 2 - подогреватель масла; 3, 5 - фильтры
тонкой очистки масла; 4 - адсорберы (патроны);
6 - манометр; 7, 8 - коллекторы; 9 - краны; 10 - вентили
Рис. 1. Технологическая схема блока установки ПЦУ
для осушки трансформаторного масла цеолитом
В настоящее время отечественной промышленностью выпускаются цеолитовые установки БЦ 77-1100 и МО.02-А.
8.2.4. В качестве цеолитовых адсорберов (патронов) целесообразнее применять адсорберы, в которых отношения высоты слоя цеолита к внутреннему диаметру адсорбера составляют не менее 4:1. Расход цеолита марки NaA при осушке трансформаторного масла составляет приблизительно 0,2% массы осушаемого масла (расход природного цеолита ПЦГ-2 выше примерно в два раза).
Оптимальная производительность цеолитовой установки с четырьмя адсорберами (по 50 кг цеолита каждый), работающих по параллельной схеме, составляет 1,6 - 2,5 м3/ч. Осушка масла идет достаточно эффективно при температуре 15 - 25 °C, то есть не требуется дополнительный подогрев масла. За один цикл осушки пробивное напряжение масла поднимается с 10 - 20 до 60 кВ, а содержание воды может снижаться в 10 раз.
8.2.5. В настоящее время наряду с дефицитным и дорогим синтетическим цеолитом марки NaA возможно использовать природный грузинский цеолит марки ПЦГ-2, который значительно дешевле и доступнее синтетического, и его применение не требует какого-либо изменения существующих технологических схем и оборудования.
8.2.6. Рационально совместное применение цеолита и силикагеля при регенерации трансформаторных масел.
Предварительная сушка масла цеолитами перед регенерацией масла силикагелем (или другим крупнопористым адсорбентом) позволяет повысить адсорбционную емкость силикагеля по отношению к продуктам старения масла.
8.3. Эффективную осушку и дегазацию трансформаторного масла обеспечивает вакуумная обработка масла.
8.3.1. Вакуумная обработка масла позволяет выделить из масла растворенную воду и газ (воздух).
Наиболее эффективными способами вакуумной обработки трансформаторных масел являются вакуумирование:
распылением масла в вакуумных камерах большого объема;
в тонком слое при медленном перетекании масла по поверхности специальных насадок (кольца Рашипа, хордовые насадки, спиральные кольца и др.) в вакуумных колоннах.
Учитывая, что при атмосферном давлении в трансформаторном масле может содержаться до 10% объема воздуха, для подготовки масла к заливу в герметичное оборудование трансформаторы с азотной или пленочной защитой, герметичные вводы) необходима дегазация масла.
При вакуумировании масла достигается определенное равновесие между содержанием воды и воздуха (растворенных в масле газов) в жидкой и газовой фазах, которое зависит от температуры и степени разрежения (остаточного давления). Чем ниже остаточное давление и выше температура при вакуумировании, тем полнее и быстрее происходит удаление воды и газов из масла.
Оптимальными параметрами вакуумирования для осушки и дегазации масла следует считать температуру 80 °C и остаточное давление около 133 Па (1 мм рт. ст.).
8.3.2. В настоящее время осушка и дегазация масла может осуществляться на передвижных установках УРТМ-200М, УВМ-1, УВМ-2.
Установки УВМ-1 и УВМ-2 предназначаются для сушки, дегазации, очистки от механических примесей, азотирования и нагрева трансформаторного масла, заливаемого в силовые трансформаторы и другое электротехническое оборудование. Установки могут применяться при ремонте, изготовлении, монтаже маслонаполненного высоковольтного оборудования.
Установки УВМ оборудованы электроподогревателями, масляными и вакуумными насосами, фильтрами тонкой очистки. Они могут использоваться для подготовки масел для залива в оборудование после их регенерации крупнопористыми адсорбентами с применением адсорберов непосредственно на действующем оборудовании.
Совместное применение адсорберов и вакуумных установок УВМ может обеспечивать весь необходимый комплекс мероприятий по восстановлению и поддержанию качества эксплуатационных трансформаторных масел.
Техническая характеристика передвижных установок вакуумной обработки трансформаторных масел УВМ приведена в
Приложении 9.
Установки типа УВМ желательно иметь каждому центральному маслохозяйству.
8.3.3. При необходимости дегазации масла в процессе эксплуатации (например для долива герметичных трансформаторов с пленочной или азотной защитой) и отсутствии вакуумных установок типа УВМ на предприятии или энергосистеме можно осуществлять дегазацию масла разбрызгиванием его при вакууме в герметичной емкости, выдерживающей остаточное давление до 13,3 Па (0,1 мм рт. ст.).
8.3.4. Современные требования к эксплуатации трансформаторных масел создают необходимость широкого использования вакуумной и адсорбционной техники, поэтому на энергопредприятиях необходимо иметь вакуумные насосы серии ВН, НВЗ, АВР, АВМ, 2ДВН, АВЗ и т.д. (при отсутствии вакуумных установок типа УВМ).
Техническая характеристика некоторых вакуумных насосов и агрегатов приведена в
Приложении 10.
9. СРЕДСТВА ЗАЩИТЫ МАСЛА ОТ СТАРЕНИЯ В ПРОЦЕССЕ
ЭКСПЛУАТАЦИИ
9.1. Во время работы в электрооборудовании эксплуатационные свойства трансформаторного масла постепенно ухудшаются. Основной причиной этого процесса является термоокислительное старение масла, интенсивность которого зависит от условий эксплуатации и изначального качества масла. Процесс старения трансформаторного масла ускоряется при повышении температуры и напряженности электрического поля, а также катализируется металлами (в основном медь и железо в твердом и растворенном состоянии).
Продукты старения накапливаются в масле, оказывая отрицательное воздействие на состояние всей изоляционной системы оборудования. На поздних стадиях образуется шлам, который не только ухудшает охлаждение активной части электрооборудования, но и разрушает твердую изоляцию. Кроме того из-за образующейся в процессе старения воды ухудшаются диэлектрические свойства масла.
Наиболее интенсивно процесс старения протекает в масле, которое эксплуатируется в электрооборудовании со "свободным дыханием", где масло соприкасается с воздухом (кислородом) во время работы.
9.2. Основными способами сохранения эксплуатационных свойств масла являются:
- непрерывная регенерация крупнопористыми адсорбентами масла, залитого в оборудование, с использованием термосифонных или адсорбционных фильтров;
- правильная эксплуатация воздухоосушительных фильтров;
- применение специальных средств защиты масла от окисления (пленочная или азотная);
- поддержание необходимой концентрации антиокислительной присадки ионол;
- эффективное охлаждение масла.
9.3. Адсорбционные и термосифонные фильтры применяются для сохранения необходимых свойств масла в эксплуатации, замедления процессов его старения и увеличения срока службы масла и твердой изоляции.
9.3.1. В соответствии с требованиями
ГОСТ 11677-85 масляные трансформаторы мощностью более 1 МВ · А оборудуются термосифонными фильтрами в системах охлаждения с естественной циркуляцией масла (вид "М" и "Д") и адсорбционными фильтрами в системах охлаждения с принудительной циркуляцией масла, а также фильтрами для очистки от механических примесей, с целью предотвращения попадания мелких частиц адсорбента в бак трансформатора (виды ДЦ, НДЦ, Ц, НЦ).
9.3.2. Непрерывная регенерация масла осуществляется при естественной циркуляции масла сверху вниз через термосифонный фильтр на основе термосифонного эффекта, а в адсорбционных фильтрах - с помощью принудительной циркуляции масла, создаваемой насосами охлаждения.
9.3.3. При подготовке к эксплуатации термосифонных и адсорбционных фильтров следует особое внимание обращать на надежность крепления фильтрующей сетки на опорной решетке с тем, чтобы исключить унос потоками масла фракций адсорбента в бак трансформатора, особенно в трансформаторах с принудительной циркуляцией масла, так как, попадая в масляные каналы обмотки, адсорбент вызывает ухудшение охлаждения обмотки, ее перегревы, и, как следствие, ускоренное старение твердой изоляции и масла, сопровождающееся чаще всего газовыделением.
9.3.4. Количество адсорбента, загружаемого в фильтры трансформаторов, различно и зависит от марки оборудования и количества залитого в него масла. Количество адсорбента должно составлять не менее 1,25% массы залитого масла в трансформаторах мощностью до 630 кВ · А, 1% для трансформаторов, масса залитого масла в которых не превышает 30 т и 0,8% для трансформаторов, масса залитого масла в которых более 30 т.
9.3.5. Для регенерации трансформаторных масел применяются крупнопористые адсорбенты (размер пор

): силикагель марок КСКГ и ШСКГ, активная окись алюминия марок АОА-1 и АОА-2, алюмосиликатный адсорбент-катализатор и некоторые другие. Крупнопористые адсорбенты активно поглощают из масел различные продукты старения (органические кислота, перекиси, мыла и т.д.), растворенную воду и асфальто-смолистые соединения, тем самым поддерживают эксплуатационные свойства масла в необходимых пределах. Физико-химические показатели синтетических адсорбентов приведены в
Приложении 11.
Не рекомендуется полная замена в фильтрах силикагеля или другого крупнопористого адсорбента на цеолит, так как цеолиты (NaA, ПЦГ-2) не адсорбируют большинство продуктов старения масла в связи с малым размером пор

.
Также нерационально использование в адсорбционных и термосифонных фильтрах силикагеля - шихты марки ШСКГ, содержащего до 65% зерен размером от 0,5 до 3 мм и уходящих в отсев.
9.3.6. Для регенерации трансформаторных масел можно использовать импортные силикагели марок TC-TROCKENPERLENTR (средний радиус пор

) производства ФРГ. Другие импортные силикагели производства Японии и Румынии в основном следует использовать в воздухоосушительных фильтрах.
9.3.7. Перед загрузкой в фильтры адсорбент должен быть просеян для удаления пыли и мелких фракций. Рабочей фракцией адсорбента является фракция 2,8 - 7 мм.
9.3.8. Адсорбент, загружаемый в фильтры трансформаторов, должен иметь остаточное влагосодержание не более 0,5% массы. Метод определения остаточного влагосодержания адсорбентов приведен в
Приложении 12. Для достижения необходимого влагосодержания просеянные адсорбенты необходимо просушить при температуре 150 - 200 °C в течение пяти-десяти часов тонким слоем. Применение вакуумирования позволяет значительно ускорить процесс осушки и снизить температуру. Для ускорения процесса осушки адсорбентов можно также продувать через слой адсорбента горячий воздух или инертный газ. Использование вакуумирования или продувки позволяет осуществлять осушку адсорбентов непосредственно в фильтрах. После осушки остывший адсорбент загружается в фильтр или при необходимости транспортирования и хранения высыпается в герметичный бак со свежим сухим трансформаторным маслом (

не менее 60 кВ). В герметичном баке под слоем масла адсорбент может храниться без потери активности длительное время. При загрузке адсорбента непосредственно в фильтр, минуя хранение в герметичном баке, необходима дополнительная отмывка его от пыли свежим, сухим маслом.
Недопустимо использование в фильтрах непросушенного адсорбента с остаточным влагосодержанием более 0,5% массы для предотвращения увлажнения масла и твердой изоляции трансформаторов.
9.3.9. Адсорбционные и термосифонные фильтры после сборки и монтажа, загруженные подготовленным адсорбентом, должны быть заполнены маслом из маслосистемы трансформатора путем подачи масла снизу вверх при открытой воздуховыпускной пробке на верхнем патрубке фильтра или маслоохладителе. Фильтры трансформаторов напряжением 110 кВ и выше должны заполняться маслом под вакуумом, а фильтры трансформаторов напряжением 110 кВ и менее - ниже без вакуума, но с принятием мер для предотвращения попадания воздуха в бак. В этом случае фильтр следует включать в работу после длительного отстоя (не менее 12 ч) и периодического выпуска выделявшегося из пор адсорбента воздуха.
9.3.10. Заполнение фильтров трансформаторов напряжением 220 кВ и выше маслом следует проводить при остаточном давлении не выше 5332 Па (40 мм рт. ст.). Для трансформаторов напряжением 110 - 154 кВ глубина вакуумирования при заполнении фильтров маслом должна быть установлена заводами-изготовителями.
9.3.11. Для оценки работоспособности адсорбента в процессе эксплуатации необходимо использовать данные химического анализа масла. Значительное увеличение кислотного числа, содержания водорастворимых кислот и

масла в сравнении с предыдущим анализом указывает на потерю активности адсорбента и необходимость его замены.
9.3.12. Адсорбент в термосифонных и адсорбционных фильтрах должен заменяться в трансформаторах мощностью более 630 кВ · А при превышении значения одного из следующих показателей:
кислотного числа масла - 0,1 мг KOH/г;

соответствующей эксплуатационной нормы для данного класса оборудования (см.
табл. 5).
Для трансформаторов мощностью 630 кВ · А и менее замена адсорбента должна производиться при неудовлетворительных характеристиках твердой изоляции.
Замена адсорбента должна производиться также после капитального ремонта трансформатора и при обнаружении в эксплуатационном масле трансформаторов и реакторов напряжением 500 кВ и выше (рекомендуется также и для 220 и 330 кВ) растворенного шлама (риск появления растворенного шлама повышается при КЧ более 0,08 мг KOH/г и (или) высоком значении

.
Замена адсорбента в процессе эксплуатации может осуществляться без демонтажа фильтра. Для этого необходимо перекрыть верхний и нижний запорные вентили, слить масло из фильтра в подготовленную емкость, а затем выгрузить отработанный адсорбент. Далее загрузка адсорбентом в соответствии с
п. 9.3.9. Замена может производиться на работающем оборудовании.
9.3.13. Эффективность регенерации масла крупнопористым адсорбентом тем выше, чем меньше влаги содержится в эксплуатационном масле. Поэтому представляет практический интерес применение цеолита для удаления из циркулирующего масла влаги. Осушая масло, цеолит повышает эффективность использования крупнопористого адсорбента. Совместное применение цеолита и силикагеля осуществляется следующим образом:
слой цеолита следует засыпать в фильтры первым по ходу движения масла в количестве 0,3 объема фильтра;
один фильтр (из четырех-шести штук, работающих в системе охлаждения трансформатора) полностью должен быть засыпан цеолитом.
Использовать можно как синтетический цеолит марки NaA, так и природный (грузинский) марки ПЦГ-2.
Последний способ предпочтителен для систем охлаждения с принудительной циркуляцией масла (адсорбционные фильтры).
9.3.14. Срок службы (продолжительность эффективной регенерации эксплуатационного масла) силикагеля марки КСКГ составляет не менее пяти лет (в оборудовании без дефектов).
9.4. Воздухоосушительные фильтры применяются:
для осушки от влаги воздуха, поступающего в надмасляное пространство расширителя трансформаторов со "свободным дыханием". Сухой воздух защищает масло, а следовательно, и твердую изоляцию трансформатора от увлажнения. Расширители трансформаторов мощностью 25 кВ · А и более оборудуются воздухоосушительными фильтрами с масляными затворами в соответствии с требованием
ГОСТ 11677-85;
для предохранения от увлажнения масла в резервуарах на маслохозяйстве. Наличие сухого воздуха над маслом предохраняет резервуар от коррозии, а масло от загрязнения ржавчиной;
для предохранения масла и изоляции от увлажнения и загрязнений во вводах напряжением 110 - 500 кВ негерметичного исполнения.
9.4.1. Общий вид наиболее часто применяемого воздухоосушительного фильтра конструкции ОРГРЭС показан на
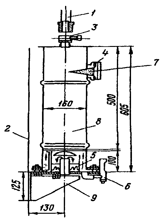
рис. 2. Заводами изготавливаются четыре типоразмера фильтров - на 1, 2, 3 и 5 кг адсорбента. Трансформаторы с массой масла свыше 60 т должны оборудоваться двумя фильтрами по пять кг адсорбента каждый. Использование для трансформаторов воздухоосушительных фильтров конструкций "Энергосетьпроект" и "Гидропроект", которые применяются на резервуарах склада маслохозяйства, не рекомендуется, так как их конструкция несовершенна (не контролируется наличие масла в маслозатворе, трудно менять силикагель-осушитель, нет патрона для индикаторного силикагеля).
1 - дыхательная трубка к расширителю трансформатора;
2 - стенка трансформатора; 3 - соединение фильтра
с дыхательной трубкой; 4 - смотровое окно; 5 - масляный
затвор; 6 - указатель уровня в масляном затворе;
7 - силикагель-индикатор; 8 - силикагель-осушитель;
9 - кронштейн
Рис. 2. Общий вид воздухоосушительного фильтра
конструкции ОРГРЭС
9.4.2. В качестве поглотителя в воздухоосушительных фильтрах наиболее целесообразно использовать крупнопористые силикагели (КСКГ, ШСКГ по
ГОСТ 3956-76), обработанные хлористым кальцием.
Возможно использование в качестве осушителя воздуха природного и синтетического цеолитов, мелкопористых силикагелей (КСМГ, ШСМГ по
ГОСТ 3956-76, импортных силикагелей производства Японии, Румынии, ФРГ), специально предназначенных для осушки газов.
9.4.3. Осушитель перед загрузкой в фильтр должен быть просеян от пыли и просушен для достижения необходимой остаточной влажности (не более 0,5% массы). Условия подготовки осушителей приводятся в
п. п. 8.2.2 (для цеолитов) и
9.3.8 (для силикагелей).
9.4.4. Фильтры должны быть заполнены осушителем через верхний патрубок или через люк в дне. При этом между уровнем осушителя и крышкой фильтра должно оставаться 15 - 20 мм свободного пространства. Для удобства обслуживания фильтр присоединяется к "дыхательному трубопроводу" на высоте 1,5 м от земли.
9.4.5. Для контроля качества осушителя в фильтре применяется индикаторный силикагель, который помещается в патрон напротив смотрового окна фильтра.
В качестве индикаторного силикагеля следует применять силикагель-индикатор
ГОСТ 8984-75. Этот силикагель изменяет свою окраску (от синей до розовой) при повышении относительной влажности осушенного воздуха, проходящего через фильтр, до 50%, что свидетельствует о необходимости замены силикагеля-осушителя в фильтре.
9.4.6. Для изоляции осушителя от окружающего воздуха и очистки воздуха от механических примесей фильтры снабжены масляным затвором. Затвор следует заливать сухим трансформаторным маслом.
9.4.7. Контроль за осушителем в эксплуатации заключается в наблюдении за окраской индикаторного адсорбента и уровнем масла в масляном затворе. При посветлении отдельных зерен следует усилить надзор за фильтром, а когда зерна индикаторного адсорбента примут розовую окраску, следует заменить осушитель в фильтре. Если нельзя осуществлять регулярный контроль за цветом индикаторного силикагеля, то осушитель в фильтре следует заменять не реже одного раза в шесть месяцев.
9.4.8. При замене адсорбента в воздухоосушителе следует сменить и масло в масляном затворе. Замену следует производить в сухую погоду, отключая воздухоосушитель из работы не более чем на три часа. Целесообразно замену производить путем демонтажа воздухоосушителя с отработанным адсорбентом и установкой вместо него подготовленного к работе нового фильтра.
9.4.9. Индикаторный адсорбент, насыщенный хлористым кобальтом, для повторного использования восстанавливается прогревом при 120 °C в течение 15 - 20 ч до принятия всей массы адсорбента голубой окраски. Нагрев адсорбента до 200 - 300 °C не рекомендуется, так как при этом хлористый кобальт разлагается.
9.4.10. Установка воздухоосушительных фильтров к гидрозатворам вводов осуществляется в соответствии с Противоаварийным циркуляром N Э-3/69 "О повышении надежности работы вводов 110-500 кВ с бумажно-масляной изоляцией негерметичного исполнения" (М.: СЦНТИ ОРГРЭС, 1969).
В связи с небольшой вместимостью по адсорбенту воздухоосушительных фильтров вводов, измерительных трансформаторов и воздухоосушительных патронов баков контакторов устройств РПН, в них следует использовать только силикагель-индикатор по ГОСТ 8964-75 или ИС-2 по ТУ 113-12-11.075-87.
9.5. Специальные средства защиты масла от окисления применяются для исключения возможности непосредственного контакта масла в расширителе при "дыхании" трансформатора с кислородом воздуха, т.е. практически полного устранения главной причины старения масла - окисления.
Однако процессы старения масла наблюдаются и при использовании специальных средств защиты от окисления.
Процессы старения масла в герметичном оборудовании будут проявляться, в основном, в потемнении масла и увеличении

.
Чем больше содержит масло смолистых веществ, полициклических ароматических и нафтеноароматических углеводородов, тем интенсивнее идут процессы уплотнения углеводородов, ведущие к потемнению масла и увеличению

. Эти процессы интенсифицируются электрическим полем.
Следовательно, особенно интенсивно процессы уплотнения протекают в маслах с высоким содержанием ароматических углеводородов и смол, таких как ТАп и ТКп.
Поэтому наиболее полно характеризует степень старения масла в герметичных трансформаторах с азотной или пленочной защитой такой показатель качества масла как

. В процессе эксплуатации может происходить снижение пробивного напряжения масла и увеличение влагосодержания за счет образования реакционной воды при старении в основном твердой изоляции.
9.5.1. Трансформатор с пленочной защитой заливается дегазированным маслом.
В эксплуатации для оценки герметичности защиты выполняется контроль общего газосодержания масла. Определение газосодержания можно осуществлять хроматографическим методом для определения растворенных газов. О надежности защиты косвенно можно судить также по показателям кислотного числа и содержанию антиокислительной присадки в масле.
9.5.2. Трансформаторы с азотной защитой необходимо заливать специально обработанным маслом (дегазированное и азотированное).
При эксплуатации трансформаторов с азотной защитой проверяется избыточное давление в системе (оно должно составлять 290 Па) и раз в шесть месяцев определяется чистота азота в надмасленном пространстве с помощью газоанализатора ВТИ-2
ГОСТ 5439-76 или хроматографическим методом.
9.6. Химическая защита масла от старения осуществляется с помощью ингибиторов окисления.
9.6.1. Все отечественные трансформаторные масла, выпускаемые в настоящее время, содержат антиокислительную присадку ионол (2,6-дитретбутил; 4-метилфенол).
Количество ионола в свежем трансформаторном масле зависит от марки масла и должно быть не менее 0,2% массы.
В присутствии ионола процесс термоокислительного старения масла находится в индукционном периоде, который характеризуется малыми скоростями образования различных продуктов окисления и, как следствие, малым изменением показателей качества масла. Оптимальным содержанием присадки в масле является количество 0,2 - 0,3% массы. Ионол в масле находится в растворенном состоянии и практически не извлекается из масла различными адсорбентами при непрерывной регенерации.
Эффективность работы ионола как ингибитора окисления значительно выше в глубоко очищенных маслах с малым содержанием ароматических углеводородов и смол, таких как масло гидрокрекинга марки ГК.
9.6.2. При эксплуатации трансформаторного масла идет процесс непрерывного расхода ионола, скорость которого зависит от многих факторов и в первую очередь от температуры и концентрации кислорода в масле. С их увеличением растет и расход ионола.
При снижении концентрации ионола в эксплуатационном масле ниже определенного предела (ниже 0,1% массы) начинается процесс интенсивного старения масла, обусловленный значительным снижением стабильности против окисления. Снижение стабильности против окисления объясняется тем, что при малых концентрациях ионола в масле он перестает работать как ингибитор окисления и становится инициатором окисления.
Эксплуатация трансформаторного масла с содержанием ионола ниже 0,1% массы недопустима, потому что при этом возможно образование шлама и ухудшение эксплуатационных свойств масла, что ведет к значительному увеличению расхода силикагеля в фильтрах трансформаторов для поддержания эксплуатационных свойств масла или к необходимости последующей замены масла на свежее.
Поэтому необходимо в процессе эксплуатации контролировать содержание ионола и вводить его в масло при снижении концентрации ионола до 0,1% массы в количестве 0,2 - 0,3% массы.
Введение ионола в эксплуатационное масло, в котором образовался шлам, а также с КЧ более 0,1 мг KOH/г, неэффективно, поэтому перед введением присадки необходима регенерация такого масла крупнопористым адсорбентом
(п. 10.2).
9.6.3. Для определения содержания ионола в трансформаторном масле (свежем, эксплуатационном и регенерированном) на энергопредприятиях следует применять метод тонкослойной хроматографии
(Приложение 3).
9.6.4. Присадку ионол следует вводить в масло непосредственно в баке электрооборудования или на маслохозяйстве (для слитого из оборудования масла).
Ионол вводят в трансформатор следующими способами:
подача концентрированного раствора (до 20%) ионола через нижний боковой кран трансформатора в эксплуатационное масло;
долив трансформатора концентрированным раствором ионола через расширитель;
загрузка ионола в один из адсорбционных фильтров трансформатора вместо силикагеля и включения фильтра в работу.
Наиболее предпочтителен способ введения ионола посредством концентрированного раствора через нижний боковой кран трансформатора, так как обеспечивает быстрое и равномерное распределение присадки во всем объеме масла.
Технологическая схема подачи концентрированного раствора ионола в трансформаторное масло, залитое в оборудование, приведена на
рис. 3.
1 - передвижная емкость для раствора ионола;
2 - маслонасос; 3 - фильтр тонкой очистки масла;
4 - нижний боковой кран трансформатора; 5 - бак
трансформатора; 6 - трубопроводы (шланги);
7 - расширитель
Рис. 3. Технологическая схема подачи концентрированного
раствора ионола в трансформаторное масло,
залитое в оборудование
Пунктиром обозначена линия введения раствора ионола в расширитель трансформатора.
Концентрированный (до 20%) раствор ионола в свежем, сухом трансформаторном масле готовят на маслохозяйстве в специальном баке, который оборудуется мешалкой и подогревом. Нагрев бака может осуществляться электронагревателем или змеевиком, через который пропускается пар давлением 0,1 - 0,2 МПа или сетевая вода температурой 85 - 110 °C. Вместо механической мешалки перемешивание раствора в баке может осуществляться путем барботирования его азотом.
Оптимальная температура приготовления раствора 60 °C. Для приготовления раствора бак заполняется на 3/4 объема маслом, затем включается обогрев, и при перемешивании масло нагревают до оптимальной температуры.
Постепенно мелкими порциями в бак вводят расчетное количество присадки при непрерывном перемешивании до полного ее растворения в масле. Затем готовый раствор из бака фильтруют и закачивают в специальную емкость, где он может храниться до введения его в эксплуатационное масло.
Нагрев масла до 60 °C, а также его непрерывную циркуляцию в баке для приготовления раствора можно осуществлять с помощью вакуумного сепаратора типа ПСМ.
При заливе концентрированного раствора в трансформатор раствор должен удовлетворять норме по пробивному напряжению свежего масла для данного класса оборудования (для трансформаторов, оборудованных пленочной или азотной защитой, раствор должен быть дегазирован).
При обеспечении надежной герметичности схемы подачи раствора и требований техники безопасности ионол может вводиться по схеме
рис. 3 в оборудование, находящееся под напряжением.
9.6.5. Определить количество ионола и свежего масла, необходимого для приготовления концентрированного раствора с целью стабилизации эксплуатационного масла, можно по формуле
где P - количество присадки ионол, необходимое для стабилизации эксплуатационного масла, т;
Q - количество эксплуатационного масла, подлежащего стабилизации ионолом, т;
n - задаваемое содержание присадки ионол в стабилизированном масле, % массы (до 20%);
где q - количество свежего трансформаторного масла, необходимого для приготовления концентрированного раствора, т;
N - содержание присадки ионол в концентрированном растворе, % массы (до 20%).
9.6.6. Для продления срока службы эксплуатационных трансформаторных масел в трансформаторах 3 и 4 габаритов, а также для снижения

можно использовать деактивирующие присадки антраниловая кислота, бетол и некоторые другие.
Эти присадки могут вводиться в масло в соответствии с Типовой инструкцией по продлению срока службы трансформаторных масел с помощью присадки "Антраниловая кислота" ТИ 34-70-007-82 (М.: СПО Союзтехэнерго, 1982).
Оптимальное количество присадки "Антраниловая кислота" составляет 0,02 - 0,04% массы и при применении деактивирующих присадок необходимо отключение адсорбционных и термосифонных фильтров на начальной стадии эксплуатации масел с данными присадками.
10. РЕГЕНЕРАЦИЯ ТРАНСФОРМАТОРНОГО МАСЛА В ОБОРУДОВАНИИ
10.1. Непрерывная регенерация масла крупнопористыми адсорбентами с помощью адсорбционных и термосифонных фильтров в процессе эксплуатации позволяет удалить большую часть продуктов старения и замедлить процесс старения масла.
Однако при интенсивном старении масла, вызванном различными факторами (конструктивные дефекты, работа оборудования в перегруженном режиме, малое содержание антиокислительной присадки ионол в масле и другие) и отсутствием возможности своевременной замены адсорбента в термосифонных или адсорбционных фильтрах некоторые показатели качества масла могут превысить предельно допустимые значения и становится необходимой замена или регенерация масла. Регенерация значительно выгоднее, чем замена масла на свежее.
Необходимость регенерации масла крупнопористым адсорбентом возникает при превышении одного или нескольких показателей качества предельного значения, таких как:
кислотное число - 0,25 мг KOH/г масла;
содержание водорастворимых кислот - 0,014 мг KOH/г масла;
тангенс угла диэлектрических потерь при 90 °C для оборудования 1150 кВ - 4%, 750 кВ - 5%, 220 - 500 кВ вкл. - 10%, 110 - 150 кВ вкл. 15%;
наличие растворенного шлама в оборудовании свыше 220 кВ.
10.2. Регенерация масла осуществляется непосредственно в оборудовании с помощью маслорегенерационных установок.
Основной рабочий блок таких установок составляют перколяторы (адсорберы).
Технологическая схема регенерации трансформаторного масла крупнопористым адсорбентом непосредственно в оборудовании приведена на
рис. 4.
1 - бак трансформатора; 2 - расширитель; 3 - маслонасос;
4 - подогреватель; 5 - адсорберы с крупнопористым
адсорбентом; 6 - фильтр тонкой очистки (фильтр-пресс);
7 - манометр; 8 - расходомер; 9 - подсоединительные
трубопроводы (шланги); 10 - трехходовые краны;
11 - вентили; 12 - нижний боковой кран трансформатора
Рис. 4. Технологическая схема регенерации
трансформаторного масла крупнопористым адсорбентом
непосредственно в оборудовании
В качестве подогревателя масла можно использовать электроподогреватель установки ПСМ или УВМ. Совместное применение адсорберов и установки УВМ позволяет проводить регенерацию масла в оборудовании, находящимся под напряжением, при обеспечении полной герметичности технологической схемы и выполнении требований техники безопасности.
Оптимальная температура регенерации масла составляет 70 - 80 °C. Расход силикагеля зависит от степени старения масла и составляет 1 - 2% массы от регенерируемого масла.
В настоящее время промышленные установки для регенерации трансформаторных масел не выпускаются.
Маслорегенерационные установки по приведенной выше технологической схеме могут временно монтироваться рядом с оборудованием из штатного оборудования маслохозяйства или выполняться в передвижном варианте на автоприцепе.
10.3. В процессе регенерации масла рекомендуется определять следующие показатели качества масла:
- кислотное число;
- содержание водорастворимых кислот;
-

при 90 °C.
Наиболее удобно осуществлять контроль за процессом регенерации масла по изменению кислотного числа.
После регенерации необходимо провести сокращенный анализ масла, определить

при 90 °C и отсутствие растворенного шлама (только для масел, в которых шлам был обнаружен до регенерации). Дополнительно необходимо определить содержание ионола и (или) стабильность против окисления. Показатели качества регенерированного масла (без слива из оборудования) должны удовлетворять нормам на эксплуатационное масло (см.
табл. 5) и иметь кислотное число не более 0,05 мг KOH/г, при нейтральной реакции водной вытяжки.
В случае низкой стабильности против окисления регенерированного масла и (или) малого содержания антиокислительной присадки ионол (менее 0,1% массы) необходимо ввести ионол в количестве 0,2 - 0,3% массы в соответствии с
п. 9.6.4 настоящих Методических указаний.
11. ВОССТАНОВЛЕНИЕ ОТРАБОТАННЫХ АДСОРБЕНТОВ
11.1. Применение синтетических адсорбентов для регенерации трансформаторных масел экономически рационально лишь при условии их многократного восстановления и повторного использования.
11.2. Проведенные ПО "Союзтехэнерго" исследования показали, что для энергопредприятий наиболее эффективен комбинированный вакуум-термический метод восстановления адсорбентов. Способ основан на удалении (испарении) нефтепродуктов и воды из пор и с поверхности адсорбентов при высокой температуре в вакууме. Технологическая схема установки для восстановления отработанных адсорбентов приведена на
рис. 5.
1 - реактор-регенератор (отношение высоты к диаметру
не менее 4:1); 2 - отработанный адсорбент; 3 - ложное дно
регенератора (сетка HP 2,8); 4 - электропечь (индукционная
или сопротивления); 5 - вакуумметр; 6 - конденсатор-
холодильник; 7 - приемник сконденсированных нефтепродуктов
и воды; 8 - адсорбционная ловушка; 9 - вакуумсоздающее
оборудование (вакуумные насосы); 10 - вакуумные
трубопроводы; 11 - вакуумный вентиль для отключения
в/насоса; 12 - вакуумные вентили или заглушки для дренажа
нефтепродуктов и воды, выделившихся из адсорбента
Рис. 5. Технологическая схема установки для восстановления
отработанных адсорбентов
Для создания вакуума можно использовать вакуумные насосы и агрегаты серий 2ДВН, АВР, АВЗ, ВН и некоторые другие (например, 2ДВН-500, АВР-150, АВЗ-90, ВН-1Г и другие). В качестве конденсатора-холодильника можно использовать кожухотрубчатые теплообменники или теплообменники типа "труба в трубе". Чем выше температура и ниже остаточное давление в процессе восстановления, тем выше скорость и больше степень извлечения нефтепродуктов из адсорбентов.
11.3. Технологические параметры процесса восстановления определяются видом адсорбента и техническими характеристиками вакуумного оборудования. Крупнопористые адсорбенты (силикагель, активная окись алюминия, алюмосиликатный адсорбент) требует значительно более жесткого режима восстановления (более высоких температур и степени разряжения), чем цеолиты.
Однако температура восстановления силикагеля не должна превышать 400 °C, так как при длительном воздействии более высоких температур он теряет механическую прочность и разрушается.
11.3.1. Для восстановления крупнопористых адсорбентов рекомендуются следующие технологические параметры:
температура не менее 350 °C (для силикагеля не выше 400 °C);
остаточное давление не более 133 Па (1 мм рт. ст.).
После восстановления при остаточном давлении 13,3 Па (0,1 мм рт. ст.) и температуре 350 - 400 °C силикагель КСКГ содержит не более 2% массы нефтепродуктов и обладает достаточно высокой адсорбционной способностью. (Отработанный силикагель КСКГ содержит около 40% массы нефтепродуктов и влаги).
11.3.2. Для восстановления цеолитов рекомендуются следующие технологические параметры:
температура не ниже 200 °C;
остаточное давление не более 1330 Па (10 мм рт. ст.).
Нефтепродукты находятся лишь на поверхности цеолитов и при их восстановлении главным является удаление воды из пор адсорбента. Восстановление цеолитов целесообразнее проводить в тех же адсорберах (патронах), в которых он используется для осушки трансформаторного масла.
Продолжительность процесса восстановления адсорбентов определяется количеством восстанавливаемого адсорбента и конструкцией установки.
11.4. При отсутствии на энергопредприятии вакуумных насосов или агрегатов, способных создавать средний вакуум [

не более 133 Па (1 мм рт. ст.)], целесообразно проводить восстановление адсорбентов по двухстадийной технологической схеме. Данная схема включает следующие стадии процесса:
- предварительное удаление основной массы нефтепродуктов с поверхности адсорбентов (и частично из пор) при низком вакууме (

более 133 Па) и невысокой температуре (около 200 °C);
- дожигание оставшихся нефтепродуктов кислородом воздуха при некотором разряжении.
Предварительное удаление нефтепродуктов позволяет значительно снизить температуру в зоне горения и предотвратить разрушение силикагеля.
В качестве вакуумсоздающего оборудования целесообразно в данной схеме использовать водокольцевые насосы ВВН (ВВН-1-1,5, ВВН-1-3, ВВН-3Н, ВВН-1-6 и др.), а также паровые эжекторы.
Технологическая схема установки, изображенная на
рис. 5, применима к двухстадийному процессу, но при этом отпадает необходимость в защите вакуумного насоса от попадания паров нефтепродуктов и воды (адсорбционная ловушка 8).
11.5. После восстановления целесообразна проверка адсорбционной активности адсорбентов.
12. УКАЗАНИЯ ПО ЭКСПЛУАТАЦИИ МАСЛЯНОГО ХОЗЯЙСТВА
12.1. В соответствии с требованиями ПТЭ и нормативно-техническими документами по научной организации труда масляное хозяйство электростанций и предприятий электрических сетей находятся в подчинении электроцеха электростанции или службы изоляции и грозозащита предприятий электросетей.
12.2. Масляное хозяйство энергопредприятий различных типов (ТЭС, ГЭС, ПЭС) должны обеспечивать следующие технологические операции:
прием, хранение и выдача свежего масла;
обработка свежего масла;
слив подготовленного масла в оборудование;
слив отработанных масел из оборудования;
очистка и регенерация масла в работающем оборудовании;
сбор, хранение, регенерация и стабилизация отработанных масел, а также их сдача на приемные пункты нефтебаз;
учет расхода нефтепродуктов;
хранение, подготовка и восстановление адсорбентов и других вспомогательных материалов.
12.3. В настоящее время сооружение масляных хозяйств предусмотрено на всех ТЭС независимо от количества и единичной мощности установленного оборудования.
На ГЭС и ГАЭС в зависимости от конкретных условий имеются следующие разновидности масляных хозяйств:
стационарное, предназначенное для обслуживания только объекта базирования;
центральное, предназначенное для обслуживания (кроме объекта базирования) также и других объектов (например, ГЭС каскада);
филиальное, предназначенное для обслуживания объекта базирования с использованием оборудования, средств и персонала центрального маслохозяйства.
На предприятиях электрических сетей масляное хозяйство, как правило, сооружается в составе ремонтно-производственных баз и мастерских по ремонту трансформаторов напряжением 330 - 750 кВ.
12.4. Для выполнения операций, указанных в
п. 12.2, в состав масляного хозяйства входит:
открытый склад хранения масел;
маслоаппаратная и складские помещения, расположенные в одном здании;
коммуникации трубопроводов;
передвижное маслоочистительное оборудование.
12.4.1. Открытый склад должен быть оборудован баками для хранения свежих (не менее двух баков), отработанных и регенерированных масел, а также трубопроводами.
Вместимость одного бака для свежего масла должна быть не менее вместимости маслосистемы одного наиболее маслоемкого трансформатора или железнодорожной цистерны (рекомендуется не менее 70 м3).
Вместимость бака для отработанного или регенерированного масла должна быть не менее вместимости маслосистемы одного наиболее маслоемкого трансформатора.
Внутренняя поверхность маслобаков должна иметь маслобензостойкое антикоррозионное покрытие
ГОСТ 1510-84. Баки должны быть оборудованы воздухоосушительными фильтрами. Вокруг открытого склада хранения масел и вокруг баков должно быть обвалование для предотвращения растекания нефтепродуктов при повреждении баков.
12.4.2. Маслоаппаратная должна быть размещена в отдельном помещении и включать в себя следующее оборудование:
расходные баки;
маслонасосы серии III или РЗ;
фильтры тонкой очистки масла (ФОСН, ФГН, фильтры-прессы);
установки для очистки, осушки и регенерации масла (ПСМ, УВМ, цеолитовые установки и др.);
адсорберы;
подогреватели масла;
специальное оборудование для введения присадок;
жидкостные счетчики для учета, приема-выдачи масел;
коммуникации трубопроводов;
раздаточную колонку для выдачи нефтепродуктов в автотранспорт;
приточно-вытяжную вентиляцию;
систему автоматического пожаротушения.
Рекомендуется оснащать маслоаппаратную вакуумными насосами 2ДВН-500, АВР-150, АВЗ-90, ВН-1Г и другими при отсутствии установок УВМ.
12.4.3. Для хранения, подготовки к работе (сушка и просеивание) и восстановление адсорбентов, а также других вспомогательных материалов должны быть оборудованы отдельные помещения.
12.4.4. Масляное хозяйство должно быть оборудовано средствами механизации погрузочно-разгрузочных работ (кран-балка, лебедка, автопогрузчик, захват для бочек и др.).
12.4.5. Масляное хозяйство может быть оборудовано различным передвижным оборудованием для обработки, регенерации, сбора и залива трансформаторных масел (передвижные емкости, передвижные установки типа УВМ, ПЦУ, УТМ и др.).
12.5. Свежее и регенерированное трансформаторные масла одной марки могут храниться в одной емкости, если регенерированное масло отвечает всем требованиям ГОСТ или ТУ на свежее масло (см.
табл. 1). Масла различных марок следует хранить отдельно.
12.6. Система коммуникаций трубопроводов должна быть выполнена в стационарном варианте.
Стационарные трубопроводы (напорные и сливные) изготавливаются из углеродистой стали. При временном пребывании в нерабочем состоянии они должны быть заполнены маслом и в них должно поддерживаться избыточное давление масла.
Перед каждой единицей маслонаполненного оборудования, к которой подходит стационарный трубопровод, должна быть оборудована пробоотборная точка.
Гибкие шланги, используемые при обработке масла передвижным оборудованием, перед применением должны быть тщательно осмотрены и промыты чистым маслом. Шланги, применяемые для чистого и для отработанного масла, должны иметь соответствующую маркировку и храниться с герметично закрытыми пробками.
13. УКАЗАНИЯ МЕР БЕЗОПАСНОСТИ ПРИ ЭКСПЛУАТАЦИИ
МАСЛЯНОГО ХОЗЯЙСТВА
13.1. Для обеспечения пожарной безопасности необходимо:
создать условия, снижающие или полностью исключающие возможность образования горючей паровоздушной смеси;
провести комплекс мероприятий по устранению источников загорания;
провести комплекс мероприятий, направленных на ограничение развития пожара и создание условий для успешного тушения начавшегося пожара.
13.1.1. К условиям, снижающим возможность образования горючей паровоздушной смеси, следует отнести:
безопасные температурные условия хранения;
применение герметичного оборудования;
поддержание нормальной воздушной среды в аппаратной;
обнаружение и ликвидацию аварийной загазованности;
безопасные способы и приемы ликвидации утечек масла.
13.1.2. К комплексу мероприятий по устранению источников загорания относятся следующие мероприятия:
регламентация размеров зон взрывоопасных концентраций;
использование искробезопасных материалов и инструмента;
устранение возможности контакта масла с веществами, способными взрываться и гореть;
применение технологических процессов и оборудования, удовлетворяющих требованиям электростатической искробезопасности.
13.1.3. Комплекс мероприятий по предотвращению развития пожара и созданию условий для его успешного тушения включает:
соблюдение противопожарных разрывов при размещении емкостей и складов масел;
защиту производственных коммуникаций от распространения огня (сооружение огнепреградителей, установка гидравлических затворов);
оборудование автоматической пожарной сигнализации аппаратной масляного хозяйства;
наличие первичных средств пожаротушения на территории склада и маслоаппаратной.
13.1.4. Аппаратная маслохозяйства и склада масла относятся к пожароопасным категориям B.
13.1.5. На территории масляного хозяйства курить, разводить огонь, пользоваться факелами, спичками, зажигалками, фонарями невзрывобезопасного исполнения запрещается.
13.1.6. Дороги, проезды, подъезды к сооружениям, пожарным гидрантам и средствам пожаротушения нельзя загромождать и использовать для складирования материалов, деталей, оборудования и пр.
13.1.7. При ремонте дорог необходимо следить за тем, чтобы были оставлены объезды шириной 3,5 м для проезда пожарных машин или устроены мостики через траншеи.
13.1.8. В летнее время на территории масляного хозяйства трава должна быть скошена и вывезена. Сушка скошенной травы и хранение сена на территории масляного хозяйства запрещаются.
13.1.9. При выполнении ремонтно-монтажных работ огневые работы разрешается проводить на расстоянии не менее:
20 м от аппаратной по перекачке масел, резервуарных парков и отдельно стоящих резервуаров с маслом;
100 м от эстакады маслослива во время слива цистерн и 50 м, когда слив не производится;
20 м от узлов задвижек и мест утечек нефтепродуктов, канализационных колодцев промышленных и ливневых стоков.
13.1.10. К огневым работам относятся: электрическая и газовая сварка; бензо-, керосино- и кислородная резка.
13.1.11. Все огневые работы на территории и в помещениях масляного хозяйства должны выполняться в соответствии с действующей
Инструкцией по проведению огневых работ на объектах Минэнерго СССР.
При производстве огневых работ в помещениях, в резервуарах, на резервуарах и на расстоянии менее 10 м от резервуаров газоанализатором должен быть взят анализ воздуха на отсутствие взрывоопасной смеси.
Суммарное содержание углеводородов не должно превышать 1000 мг/м3.
Производить огневые работы на резервуарах, емкостях без проведения их дегазации запрещается.
13.1.12. Резервуар, предназначенный для ремонта, после освобождения от масла должен быть:
отсоединен от всех трубопроводов (на отсоединенные трубопроводы должны быть поставлены металлические заглушки и составлена схема их установки, которая прикладывается к разрешению на производство огневых работ), все люки и лазы должны быть открыты;
обработан паром (продолжительность обработки - не менее 72 мин);
хорошо проветрен с помощью искусственной вентиляции до температуры окружающей среды;
зачищен от остатков масла (с применением неметаллических инструментов).
13.1.13. По окончании подготовки резервуара к ремонту из него должна быть взята проба воздуха для определения возможности ведения на нем огневых работ. Пробы воздуха должны браться в нижней части резервуара из светового и замерного люков. Необходимо брать пробу воздуха на анализ и в процессе ведения работ, если сварочные работы проводятся с перерывом, - на следующие сутки.
13.1.14. До начала проведения огневых работ на резервуаре и внутри него необходимо:
все задвижки на соседних резервуарах и трубопроводах (во избежание загорания паров и газов нефтепродуктов) прикрыть войлоком, который в жаркое время года должен смачиваться водой;
место электросварки оградить переносными асбестовыми или другими несгораемыми щитами.
13.1.15. В аппаратной до начала ремонтных огневых работ необходимо:
перекрыть задвижки на маслопроводах оборудования, на котором намечаются работы;
освободить от масла оборудование, которое необходимо ремонтировать (насосы, фильтры, подогреватели, задвижки, трубопроводы);
отсоединить трубопроводы и установить на них соответствующие заглушки;
продуть паром все ремонтируемое оборудование;
проветрить помещение аппаратной, взять пробу воздуха на анализ с целью определения возможности ведения в помещении огневых работ.
При ведении огневых работ вентиляция помещения должна быть постоянно включена в работу и должен осуществляться контроль за состоянием воздушной среды путем проведения экспресс-анализов с применением газоанализаторов.
13.1.16. При содержании в помещении паров или газов нефтепродуктов концентрацией более 1000 мг/м3 огневые работы должны быть прекращены до полного устранения паров нефтепродуктов. После этого должна быть взята повторная проба воздуха на анализ.
13.1.17. Если при ремонте одного из насосов (без применения открытого огня) работают другие насосы, перекачивающие нефтепродукты, должны быть приняты меры, предотвращающие появление искр или открытого огня.
Для ремонта должен быть использован инструмент, исключающий возможность искрообразования.
13.1.18. Огневые ремонтные работы в сливных лотках разрешается проводить после полного удаления остатков нефтепродуктов из сливных лотков, проведения их пропаривания и взятия пробы воздуха на анализ.
13.1.19. При ремонте трассы магистральных маслопроводов с проведением огневых работ место ремонта должно быть очищено от различных нефтепродуктов. Ближайшие к месту проведения ремонтных работ задвижки с обеих сторон трубопроводов должны быть закрыты. Отключенный участок трубопровода должен быть освобожден от масла и пропарен.
13.1.20. При возникновении пожара на складе масла необходимо:
вызвать пожарную команду;
сообщить о возникновении пожара начальнику смены станции и начальнику смены цеха;
принять меры по локализации и тушению пожара;
с помощью пожарных рукавов подать воду на охлаждение резервуаров и маслопроводов в зоне пожара.
При возникновении пожара в аппаратной масляного хозяйства и невозможности быстро сбить пламя необходимо:
вызвать пожарную команду;
сообщить начальнику смены станции и начальнику смены цеха;
снять напряжение на всех электродвигателях и кабелях в помещении маслоаппаратной (производит персонал электроцеха).
После снятия напряжения приступить к тушению пожара пенным огнетушителем.
При возникновении пожара на магистральных маслопроводах необходимо:
вызвать пожарную команду;
сообщить начальнику смены станции и начальнику смены цеха;
отключить поврежденный участок (закрыть задвижки);
приступить к тушению пожара распыленной струей воды, песком, огнетушителями;
принять меры к предотвращению растекания горячего масла.
При возникновении пожара в КРУ или на щите маслохозяйства необходимо:
вызвать пожарную команду;
сообщить начальнику смены станции и начальнику смены цеха;
приступить к тушению пожара углекислотным огнетушителем;
снять напряжение с электрооборудования (производит персонал электроцеха).
После снятия напряжения приступить к тушению пожара водой и пенным огнетушителем.
13.2. При работе с нефтяными маслами ремонтные работы на оборудовании масляного хозяйства необходимо производить только по наряду-допуску.
13.2.1. Запрещается производить подтяжку болтовых соединений (сальники насосов, задвижек и вентилей, фланцы арматуры, подогревателей, фильтров, счетчиков, КИП и т.д.) на оборудовании (участке), находящемся в работе без снятия давления и отключения оборудования (участка) от технологической схемы масляного хозяйства.
Допускается производить подтяжку болтовых фланцев соединений при избыточном давлении не более 0,5 МПа (5 кгс/см2) только при опробовании и прогреве трубопроводов, подогревателей, фильтров после ремонта.
13.2.2. Запрещается производить пуск насосов при обнаружении неисправностей заземления корпусов, брони и воронок кабелей электродвигателя при отсутствии ограждения на муфте сцепления.
13.2.3. При длительном ремонте (более суток), а также при недостаточной плотности отключающей фланцевой арматуры ремонтируемое оборудование должно быть отделено от действующего с помощью заглушек.
13.2.4. Запрещается производить пуск шестеренчатых насосов при закрытой напорной задвижке.
13.2.5. Разогрев замерзших трубопроводов и арматуры должен производиться только паром.
13.2.6. Грязный обтирочный материал должен периодически вывозиться с территории масляного хозяйства или сжигаться в специально отведенном месте, согласованном с пожарной охраной ГРЭС.
13.2.7. Разлитое масло следует немедленно убрать, после чего место, где оно было разлито, вытереть досуха или засыпать песком.
13.2.8. Периодически, но не реже одного раза в десять дней необходимо контролировать содержание углеводородов в помещениях аппаратной. Предельно допустимая концентрация углеводородов 300 мг/м3 (ГОСТ 12.1.004-85). Определяется газоанализатором УГ-2.
13.2.9. Проходы, проезды, коридоры, тамбуры, лестницы в производственных помещениях необходимо содержать в исправном состоянии и ничем не загромождать.
13.2.10. Аппаратная масляного хозяйства должна быть оборудована приточно-вытяжной вентиляцией, обеспечивающей кратность воздухообмена не менее 5,5 объемов/ч (СНиП II-106-79).
13.2.11. При отборе проб масла, измерении уровня и открытии люков цистерн и резервуаров следует стоять с наветренной стороны (спиной или боком к ветру) во избежание попадания паров и газов нефтепродуктов в дыхательные пути и масла на одежду.
Запрещается заглядывать в замерный люк или низко наклоняться к его горловине. Крышку замерного люка следует закрывать осторожно, не допуская удара.
13.2.12. Территория масляного хозяйства должна содержаться в чистоте и порядке. Обвалование резервуаров, лестницы и площадки резервуаров необходимо содержать в исправности.
13.2.13. Нельзя приступать к операциям по сливу масла из железнодорожных цистерн до отцепления и отхода локомотива.
13.2.14. Операции по сливу масла из железнодорожных цистерн необходимо производить бригадой в составе не менее двух человек.
13.2.15. Торможение цистерн металлическими тормозными башмаками на сливной эстакаде не допускается.
13.2.16. Дозаливку масла в электропривод погруженных насосов следует производить на остановленном насосе и при снятом с него напряжении.
13.2.17. По степени воздействия на организм человека трансформаторные масла относятся к 4 классу опасности (малоопасные) в соответствии с требованиями
ГОСТ 12.1.007-76. При работе с маслами необходимо применять индивидуальные средства защиты согласно типовым отраслевым нормам.
МЕТОД ОПРЕДЕЛЕНИЯ СОДЕРЖАНИЯ ВОДОРАСТВОРИМЫХ КИСЛОТ
В ЭКСПЛУАТАЦИОННОМ ТРАНСФОРМАТОРНОМ МАСЛЕ
1. В коническую колбу вместимостью 250 мл следует взять навеску эксплуатационного масла 25 г с точностью до 0,1 г, добавить к ней 25 мл дистиллированной воды и нагреть смесь в водяной бане до 70 °C. При анализе эмульгирующих масел к навеске испытуемого масла прилить 20 мл бензина-растворителя, а затем прилить дистиллированную воду и нагреть смесь до 70 °C.
Нагретую смесь из конической колбы перелить в делительную воронку вместимостью 250 мл и взбалтывать в течение 5 мин.
После разделения слоев водный слой опустить в коническую колбу вместимостью 50 мл. Из колбы пипеткой перенести 3 мл водной вытяжки, добавить в нее одну каплю раствора метилового оранжевого и сравнить цвет водной вытяжки с цветом 3 мл дистиллированной воды, налитой в другую пробирку, в которую добавлена также капля раствора метилового оранжевого. При одинаковом цвете в обеих пробирках реакция водной вытяжки масла считается нейтральной.
2. Если реакция водной вытяжки будет кислой, масло из делительной воронки перелить в коническую колбу вместимостью 250 мл и повторно (по
п. 1 Приложения 1) провести экстракцию водорастворимых кислот, при этом водные вытяжки собирать в отдельные колбы.
Экстракцию водорастворимых кислот повторить до получения нейтральной реакции водной вытяжки.
3. Из всех колб с водными вытяжками, в том числе и из колбы с водной вытяжкой с нейтральной реакцией, взять пипеткой по 20 мл водной вытяжки, слить в коническую колбу вместимостью 100 мл.
Смесь водных вытяжек титровать 0,025 Н раствором едкого калия в присутствии трех капель раствора фенолфталеина до появления слабо-розового окрашивания. Параллельно провести контрольный опыт титрования такого же количества дистиллированной воды, какое отобрано для титрования всех водных вытяжек испытуемого масла.
Дистиллированную воду для контрольного опыта предварительно нагреть до 70 °C и затем охладить до комнатной температуры.
4. Содержание водорастворимых кислот в эксплуатационном масле

в мг KOH на 1 г масла следует вычислять по формуле
где

- объем 0,025 Н раствора едкого калия, пошедшего на титрование всех отобранных водных вытяжек в мл;

- объем 0,025 Н раствора едкого калия, пошедшего на титрование дистиллированной воды в контрольном опыте в мл;
T - титр 0,025 Н раствора едкого калия, выраженный в мг.
5. За результат испытания принимают среднее арифметическое результатов определения содержания водорастворимых кислот в двух пробах эксплуатационного масла.
Расхождение между определениями водорастворимых кислот в двух пробах не должно превышать 0,002 мг на 1 г масла.
МЕТОД ОПРЕДЕЛЕНИЯ ШЛАМА В ЭКСПЛУАТАЦИОННЫХ
ТРАНСФОРМАТОРНЫХ МАСЛАХ
Метод включает определение содержания твердого и растворенного осадка в эксплуатационных изоляционных маслах.
Твердый осадок - любое твердое вещество, не растворяющееся в маслах и в смеси равных количеств толуола, ацетона и 95% этилового спирта после разбавления масла Н-гептаном.
Растворимый осадок - продукты окислительного старения масла или загрязняющие примеси, которые становятся нерастворимыми при разбавлении масла Н-гептаном, но растворяющиеся в упомянутой выше смеси толуола, ацетона и спирта.
Конические колбы или цилиндр с притертыми пробками вместимостью 250 мл.
Колбы конические, ГОСТ 10394-72, вместимостью 50 мл.
Воронки стеклянные, ГОСТ 19908-74, диаметром 100 мл.
Водяная баня.
Эксикатор, ГОСТ 6371-73.
Обеззоленный фильтр "синяя лента", диаметр 11 - 12,5 мм.
Ацетон.
Н-гептан.
Спирт этиловый ректификат технический,
ГОСТ 18300-72, высший сорт.
Определение суммы нерастворимого в масле осадка
и растворимого осадка, осаждаемого гептаном
В том случае, если в масле визуально содержится осадок, пробу масла необходимо тщательно перемещать до тех пор, пока осадок равномерно не распределится в масле во взвешенном состоянии.
Взвесить 10 г масла с точностью до 0,1 г в колбе или цилиндре с притертой пробкой и разбавить Н-гептаном из расчета 10 мл на 1 г масла.
Пробу и растворитель тщательно перемешать и оставить в темноте на 18 - 24 ч при температуре окружающей среды для выделения осадка.
Если при этом образуется осадок, раствор профильтровать через тарированный обеззоленный фильтр "синяя лента", 11 - 12,5 мм. Фильтр и осадок промыть гептаном до полного удаления следов масла.
Гептану дать возможность испариться, затем просушить фильтр с осадком в сушильном шкафу в течение часа при температуре 100 - 110 °C, охладить в эксикаторе, взвесить и рассчитать количество осадка в % к массе взятого масла (величина A).
Определение растворимого (осаждаемого) осадка (B)
Полученный на фильтре осадок обработать минимальным количеством смеси (равные количества толуола, ацетона и 98% спирта) при 50 °C, собирая раствор в коническую колбу вместимостью 50 мл, доведенную до постоянной массы.
Смесь отгонять из конической колбы на водяной бане. Осадок в колбе просушить в сушильном шкафу при температуре 110 °C в течение часа, охладить в эксикаторе и взвесить. Количество растворенного (осаждаемого) осадка рассчитать в процентах на масло (величина B).
Определение твердого осадка
Разность A - B, если такая получается, представляет собой процент нерастворимого в масле ("твердого") осадка.
МЕТОД ТОНКОСЛОЙНОЙ ХРОМАТОГРАФИИ ДЛЯ ОПРЕДЕЛЕНИЯ
СОДЕРЖАНИЯ ИОНОЛА В ТРАНСФОРМАТОРНОМ МАСЛЕ
В основу положен метод восходящей хроматографии в закрепленном слое. Сущность метода заключается в нанесении на слой адсорбента строго определенного объема испытуемого масла и эталонных растворов, содержащих различную концентрацию ионола в масле. Разделение ионола и компонентов масла осуществляется Н-гексаном с последующим проявлением пятен ионола в парах йода. О количестве ионола в исследуемом масле судят по пятну эталона, у которого площадь и интенсивность окраски совпадает с пятном испытуемого образца.
Отличительной способностью предлагаемого экспресс-метода является использование стандартных пластин "Силуфол" фирмы Kavalier (Чехословакия), каждая из которых представляет собой алюминиевую фольгу со слоем нанесенного силикагеля для тонкослойной хроматографии.
Применение готовых стандартных пластин значительно упрощает операции определения ионола.
Камеры для хроматографирования и проявления - стеклянные сосуды с плоским дном и пришлифованной стеклянной крышкой, высотой 25 см - 2 шт. В качестве камер допускается использовать обычные стеклянные банки для консервирования вместимостью 1 л, закрываемые полиэтиленовыми крышками.
Микропипетка - 1 шт. Микропипетка представляет собой толстостенный капилляр, конец которого сточен на конус. Микропипетка градуируется с таким расчетом, чтобы диаметр нанесенной пробы масла на пластину "Силуфол" был в интервале 2 - 3 мм.
Резиновая груша - 1 шт.
"Силуфол" - отражательная алюминиевая фольга со слоем силикагеля для тонкослойной хроматографии.
Склянка с притертой пробкой для осушки гексана - 1 шт.
Бюкс с притертой крышкой - 1 шт.
Пипетка на 25 мл - 1 шт.
Гексан нормальный.
Хлористый кальций, безводный.
Йод кристаллический.
Фильтровальная бумага.
Эталонные растворы различной концентрации ионола в исследуемом масле: 0,05%, 0,1%, 0,15%, 0,20%, 0,25%, 0,3%, 0,35%, 0,40%.
3. Приготовление эталонных растворов
Размер и интенсивность окраски пятен ионола зависят от химического состава масел. Чем больше в них ароматических углеводородов, тем больше размер пятна при одинаковой концентрации ионола в масле. Поэтому эталонные растворы готовят на анализируемом образце масла без присадки (базовое масло). Концентрации эталонных растворов указаны выше.
В случае отсутствия базового масла ионол следует удалить из анализируемого масла с последующим приготовлением эталонов на масле, уже не содержащем ионол.
Наиболее простым способом удаления ионола является окисление масла до полного израсходования присадки с последующей очисткой от продуктов окисления.
Для этой цели рекомендуется окислять анализируемое масло в соответствии с требованиями ГОСТ 981-75. Окисление следует вести до покраснения водного раствора метилоранжа в ловушке, после чего можно определить содержание ионола в окисляемом масле. В случае отсутствия ионола окисление прекратить. При наличии ионола окисление следует продолжить и проверить содержание ионола в масле через каждый час испытания. Масло, не содержащее ионол, необходимо подвергнуть контактной очистке (2% зикеевской земли или силикагеля в порошке) при перемешивании в течение 15 мин при 80 °C с последующей фильтрацией масла. На полученном масле готовят эталонные растворы с различной концентрацией ионола.
Применяемый для разделения масла Н-гексан необходимо осушить. С этой целью гексан налить в склянку с притертой пробкой со свежепрокаленным хлористым кальцием. В дальнейшем Н-гексан хранить в той же склянке под тягой.
Хроматографическую камеру для проявления пятен ионола насытить парами йода, для чего на дно камеры бросить несколько крупинок кристаллического йода и закрыть.
Хроматографическую камеру для разделения масла насытить парами Н-гексана. Для этого в камеру поместить лист фильтровальной бумаги таким образом, чтобы он плотно прилегал ко всем боковым поверхностям камеры. Затем с помощью резиновой груши и пипетки на 25 мл налить в камеру необходимое количество высушенного Н-гексана. Вводимое количество Н-гексана должно быть таким, чтобы после насыщения фильтровальной бумаги на дне камеры оставался слой высотой 7 мм. Камера должна быть всегда плотно закрыта крышкой.
Бюкс с притертой крышкой заполнить Н-гексаном, который в процессе определения используется для промывки микропипетки. Микропипетку опустить в бюкс с гексаном и промыть несколько раз с помощью резиновой груши, а затем продуть для удаления гексана. Промывка и просушка микропипетки - обязательные операции перед отбором каждого нового образца масла. Используемый для промывки микропипетки Н-гексан заменить после 20 промывок.
Перед нанесением пробы масла на пластину "Силуфол" от нее следует отрезать полосу необходимой ширины, которая определяется числом проб и диаметром камер. Резать пластину следует вдоль вертикальных полос, отчетливо видных на ее обратной стороне (подложке).
Пластину поместить на столе таким образом, чтобы вертикальные полосы на подложке располагались перпендикулярно линии старта.
С помощью микропипетки отбирать пробу масла, для чего сточенный на конус конец микропипетки отпустить в пробу масла и оставить в масле до тех пор, пока масло не поднимется по капилляру немного выше метки. После этого микропипетку вынуть из образца масла, удалить излишки масла и довести уровень его до метки с помощью фильтровальной бумаги.
Микропипетку с пробой осторожно прикасают к поверхности пластины, так чтобы не нарушить слоя адсорбента, на расстоянии 15 мм от нижнего края ее. Микропипетку следует держать в таком положении до тех пор, пока все масло из капилляра впитается в адсорбент, что контролируется полным отсутствием масла в капилляре микропипетки и прекращением увеличения диаметра пятна.
На пластину нанести последовательно равные количества анализируемого масла и эталонных растворов с постепенно возрастающей концентрацией ионола. Первая и последняя пробы наносятся на расстоянии не менее чем 15 мм от вертикальных краев пластин, расстояние между центрами пятен нанесенных проб должно быть не менее 10 мм.
После нанесения проб пластину поместить в хроматографическую камеру с Н-гексаном таким образом, чтобы конец ее с нанесенными пробами был опущен в Н-гексан, но при этом сами пробы не коснулись поверхности гексана. Камеру закрыть крышкой и оставить пластину в таком положении до тех пор, пока растворитель поднимается на высоту 14 см.
Вынуть пластинку из камеры и выдержать ее на воздухе примерно около минуты, дать гексану испариться.
После испарения растворителя пластинку поместить для проявления в камеру с парами йода до появления четких пятен ионола коричневого цвета в форме эллипса, после чего ее вынуть.
Количественное определение концентрации ионола в исследуемом образце масла следует производить визуально путем сравнения размера и окраски полученного пятна ионола в исследуемом образце с эталонным. Поскольку при хранении пластинок пятна обесцвечиваются, рекомендуется, при необходимости последующей проверки, отмечать размер пятен карандашными точками сразу же после проявления.
Чувствительность метода 0,02%. Точность метода зависит от количества эталонных образцов.
Качественный метод определения ионола сводится к операциям, описанным выше, но без применения эталонных растворов. О наличии ионола судят по образованию характерного для ионола пятна.
Операции, связанные с применением растворителей и паров йода, обязательно выполняются под тягой.
5. Контроль за расходом присадки ионол в процессе
эксплуатации масел
В процессе эксплуатации трансформаторных масел содержание в них присадки ионол уменьшается. При очень незначительной концентрации ионола, порядка 0,05%, присадка уже может работать как инициатор окисления. С целью поддержания достаточной концентрации ионола, его расход должен контролироваться. С этой целью рекомендуется из трансформаторов, залитых свежими маслами, отбирать пробы масла и хранить их в качестве эталонов в темном месте на холоде.
Для определения степени срабатывания присадки в процессе эксплуатации достаточно выполнить следующее: хроматографическим методом определяют площадь пятен (произведение диаметров эллипсов) в двух образцах масла - свежем (эталонном) и эксплуатационном.
Концентрация ионола в свежем масле колеблется от 0,2 до 0,4%.
Опыт показывает, что для одного и того же масла (независимо от состава) между изменением площади пятна и концентрацией ионола существует определенная зависимость.
Ниже приводятся данные, показывающие, во сколько раз изменяется площадь пятна при изменении начальной концентрации ионола до заданного значения.
Изменение Содержание ионола в Концентрация ионола (%) в
площади пятна, эксплуатационном масле, % эксплуатационном масле
S /S исходного значения при начальной
этал x в свежем масле концентрации 0,25%
1,24 60 0,15
1,39 48 0,12
1,54 40 0,10
2,0 28 0,07
2,68 20 0,05
Примечание:

- площадь пятна в эталонном образце свежего масла;

- площадь пятна в эксплуатационном масле.
При снижении концентрации ионола в два раза и более (уменьшение площади пятна в 1,4 раза и более) рекомендуется добавить в масло ионол в соответствии с
п. 9.6 настоящих Методических указаний.
ТЕХНИЧЕСКАЯ ХАРАКТЕРИСТИКА МАСЛООЧИСТИТЕЛЬНОГО
ОБОРУДОВАНИЯ
Характеристика | ПСМ1-3000 | ПСМ2-4 | GM1-3000 | СМ2-4 |
ТУ 34-38-8509-83 | ТУ 34-38-10217-81 | ТУ 34-8518-73 | ТУ 34-38-11043-86 |
Номинальная производительность (при температуре обрабатываемого масла 60 °C) при очистке методом, м3/ч: | | | | |
кларификации | 3 | 4 | 3 | 4 |
пурификации | 2 | 3 | 2 | 3 |
Максимальное содержание механических примесей в масле (при исходном содержании механических примесей до 0,08%), не более: | | | | |
после одного цикла очистки | - | 0,005 | - | 0,005 |
после двух циклов очистки | 0,005 | - | 0,005 | - |
Максимальное содержание влаги в масле после одного цикла очистки при исходном содержании воды до 1% массы, не более, % массы | 0,08 | 0,05 | 0,08 | 0,05 |
Содержание масла в отходах воды, % (мг/л), не более | 1,0 | 1,0 (30) | 1,0 | 1,0 |
Электрическая прочность изоляционного масла, осушенного за один цикл (при исходном 20 кВ), кВ, не менее | - | 50 | - | - |
Температура нагрева масла в электроподогревателе, °C | 25 | 35 | 25 | 30 |
Наименьшее количество масла, которое можно очистить на установке, м3 | 0,22 | 0,3 | 0,22 | 0,3 |
Количество разделительных тарелок, шт. | 56 | 88 | 56 | 88 |
Установленная (потребляемая) мощность, кВт: | | | | |
сепаратора | 5,5/5,1 | 5,5/5,1 | 5,5/5,1 | 5,5/5,1 |
электроподогревателя | 36/36 | 57,6/57,6 | 36/36 | 57,6/57,6 |
вакуум-насоса | 0,55/0,50 | 55/0,50 | - | - |
общая | 42,05/41,6 | 63,6/63,2 | 41,5/41,1 | 63,1/62,7 |
Габаритные размеры, мм: | | | | |
длина | 1800 | 1830 | 1200 | 1500 |
ширина | 1200 | 1300 | 1225 | 1146 |
высота | 1780 | 1528 | 1395 | 1225 |
Масса машины, кг | 1100 | 1100 | 710 | 672 |
Оптовая цена, руб. | 1430 | 2900 | - | - |
ТЕХНИЧЕСКАЯ ХАРАКТЕРИСТИКА РАМНЫХ ФИЛЬТР-ПРЕССОВ
Характеристика | ФП2-3000 | ФП-4-4 | ФПР-2,2-315/16У |
ТУ 34-38-10612-83 | ТУ 34-38-11103-86 | ТУ 26-01-54-75 |
Номинальная производительность по трансформаторному маслу, м3/ч | 3 | 4 | 3 |
Поверхность фильтрации, м2 | 1,8 | 2,0 | 2,2 |
Наибольшее рабочее давление фильтрации, МПа (кгс/см2) | 0,4 (4) | 0,5 (5) | 0,45 (4,5) |
Объем рамного пространства, л/м3 | 17 (0,017) | 20 (0,02) | 14 (0,014) |
Количество рам, шт. | 16 | 19 | 11 |
Содержание механических примесей в масле после трех циклов его обработки (при исходном содержании механических примесей от 0,01 до 0,033% массы), не более, % массы | 0,005 | 0,0004 | - |
Установленная мощность (потребляемая) электродвигателя, кВт | 1,7/1,3 | 2,2/2,0 | 4,0 |
Фильтровальный материал | Фильтровальный картон | Фильтровальная бумага ДРКБ | Фильтровальный картон |
| ГОСТ 6722-75 | ТУ81-04-178-78 | ГОСТ 6722-75 |
Габаритные размеры, мм: | | | |
длина | 1000 | 1480 | 1700 |
ширина | 572 | 605 | 760 |
высота | 982 | 840 | 1120 |
Масса, кг | 215 | 270 | 530 |
Оптовая цена, руб. | 600 | 1200 | 900 |
ХАРАКТЕРИСТИКА ФИЛЬТРОВАЛЬНЫХ МАТЕРИАЛОВ
Характеристика | Фильтровальный технический картон ГОСТ 6722-75 | Бумага фильтровальная ДРКБ ТУ 81-04-178-78 | Материал фильтровальный для масел ТУ 81-04-519-78 |
Основа | Целлюлоза | Целлюлоза с добавкой винола | Вискозно-штапельное волокно |
Относительное сопротивление продавливанию, кг/см2, не менее | 1,14 | 2,5 | - |
Толщина, мм | 0,6 - 1,0 | 0,6 | 1,2 |
Тонкость фильтрации (в один слой), размеры частиц, мкм, более | 20 - 25 | 20 | 10 |
Время фильтрования, с, не более | - | 5,0 | 5,0 |
Капиллярная впитываемость в среднем по двум направлениям, мм, не менее | 51 | - | - |
Масса 1 м2, г | 275 | 240 | 250 |
Плотность, г/см3 | - | 0,25 | - |
Влажность, %, не более | 6 | - | - |
Ширина листа, мм | - | 550 +/- 5 | 830 +/- 5 |
Оптовая цена за 1 т, руб. | 525 | 3000 | - |
ФИЗИКО-ХИМИЧЕСКИЕ ПОКАЗАТЕЛИ СИНТЕТИЧЕСКИХ И ПРИРОДНЫХ
ЦЕОЛИТОВ
Показатель | Синтетический цеолит | Природный цеолит |
NaA-2МШ (ГОСТ 5.1290-72) | NaA без связующих веществ (ТУ 95-400-81) | NaA со связующими веществами (ТУ 38-10281-75) | Грузинский ПЦГ-2 (ТУ 113-12-127-82) |
Химический состав | - | | | |
Насыпная масса, г/см3, не менее (непросушенного цеолита) | 0,97 | 0,97 | 0,97 | 0,94 |
Внешний вид | Гранулы сферической или овальной формы | Твердые розовые зерна | Зерна неправильной формы |
Водостойкость гранул, %: | | | |
не менее | 99,5 | 90 | 80 | - |
Виброизнос, %, не более | 0,15 | 0,15 | 0,15 | 1,0 |
Предельная влагоемкость в динамических условиях: | | | | |
мг/см3, не менее | 92,0 | - | - | 50 |
масса, % | 20 | 17 - 18 | 17 - 18 | 10 - 12 |
Влагоемкость в статических условиях: | | | | |
кг/см3, не менее | 135,0 | - | - | - |
масса, %, не менее | 7 | 7 | 7 | 6 |
Механическая прочность на раздавливание, кг/мм2, не менее | 1,8 | 1,6 | 1,2 | - |
Щелочность водной вытяжки, pH | 8,5 - 10,5 | 8,5 - 10,5 | 8,5 - 10,5 | 9,6 |
Потери при прокаливании, %, не более | 5,0 | 5,0 | 5,0 | 15 |
Эффективный диаметр входных окон, м | | | | |
Механическая прочность, % | 76 - 90 | 86 - 90 | 86 - 90 | 90 - 92 |
Фракционный состав, мм | 1,5 - 3,0 | 2 - 4 | 3 - 5 | 5 - 10 |
Массовая доля клиноптилолита, %, не менее | - | - | - | 70 |
ТЕХНИЧЕСКАЯ ХАРАКТЕРИСТИКА ЦЕОЛИТОВОЙ УСТАНОВКИ
Характеристика | БЦ 77-1100 | ПЦУ (НО-71) |
ТУ 34-43-1090-78 | ТУ 34-3096-73 |
Номинальная подача м3/ч при электрической прочности масла: | | |
до 20 кВ | 1,1 | 1,6 |
выше 20 кВ | - | 2,5 |
Рабочее давление, МПа | 0,1 - 0,25 | |
Потребляемая мощность, кВт: | 24 | - |
подогревателя | 1,5 | - |
электродвигателя насоса | | - |
Масса, кг | 780 | 1585 (без учета фургона) |
Габаритные размеры, мм: | | |
длина | 1710 | 5800 |
ширина | 1370 | 2375 |
высота | 1865 | 3220 |
ТЕХНИЧЕСКАЯ ХАРАКТЕРИСТИКА ПЕРЕДВИЖНОЙ УСТАНОВКИ
ВАКУУМНОЙ ОБРАБОТКИ ТРАНСФОРМАТОРНОГО МАСЛА ТИПА УВМ
Характеристика | УВМ-1 | УВМ-2 |
(ТУ 34431347-78) | (ТУ 341111066-86) |
Подача, м3/ч, не менее | 1,9 | 3,6 |
| - | 9,36 (при перекачке и нагреве) |
Объемное газосодержание масла после вакуумной обработки, %, не более | 0,1 | 0,1 |
Влагосодержание масла после вакуумной обработки, % массы (г/т), не более | 0,001 | 0,001 |
(10) | (10) |
Тонкость фильтрации, м (мкм) | | |
(20) | (5) |
Объемное содержание азота в масле после азотирования, % | 8 +/- 0,5 | 8 +/- 0,5 |
Мощность нагревателя, кВт | 90 +/- 5 | 170 +/- 5 |
Температура масла, °С: | | |
в процессе вакуумирования | 50 - 60 | 55 - 60 |
при прогреве трансформатора | - | 85 |
Остаточное давление при дегазации масла, Па (мм рт. ст.) | 66,6 | 266 |
(0,5) | (2) |
Потребляемая мощность, кВт | 100 | 195 |
Габаритные размеры, мм | 4380 x 2350 x 2625 | 4150 x 2250 x 2350 |
Масса, кг | 5300 | 5400 |
Оптовая цена, руб. | 14268 | 16431 |
ТЕХНИЧЕСКАЯ ХАРАКТЕРИСТИКА ВАКУУМНЫХ НАСОСОВ И АГРЕГАТОВ
Характеристика | Марка насоса и агрегата |
2ДВН-500 | АВЗ-90 | АВР-150 | НВЗ-150 | НВЗ-100Д |
Подача, л/с | 500 | 90 | 150 | 150 | 100 |
Предельное остаточное давление, Па (мм рт. ст.): | | | | | |
полное без газобалласта | | | | | |
полное с газобалластом | - | 400 (3) | - | 400 (3) | |
Тип форвакуумного насоса | НВЗ-50Д | - | НВЗ-20 | - | - |
Рабочая жидкость и ее объем, л | - | ВМ-4, ВН-6 | - | ВМ-4, ВМ-6 | ВМ-4, ВМ-6 |
ГОСТ 23013-78 | ГОСТ 23013-78 | ГОСТ 23013-78 |
14 | 28 | 20 |
Вид охлаждения (расход воды, м3/ч) | Воздушное | Водяное | Воздушное | Водяное | Водяное |
(0,6) | (1,3) | (1,3) |
Габаритные размеры, мм | 1340 x 600 x 850 | 1000 x 630 x 1060 | 896 x 444 x 1165 | 1175 x 874 x 1164 | 1175 x 874 x 1164 |
Масса, кг | 560 | 600 | 295 | 970 | 1000 |
ФИЗИКО-ХИМИЧЕСКИЕ ПОКАЗАТЕЛИ СИНТЕТИЧЕСКИХ АДСОРБЕНТОВ
Показатель | Активный оксид алюминия, сорт АОА-1, АОА-2 ГОСТ 6136-85 | | ШСКГ (силикагельшихта) ТУ 113.08.561-84 | | Алюмосиликатный адсорбент ТУ 38.10119-76 (полуфабрикат) |
Насыпная плотность, г/см3 | 0,45 - 0,55 | 0,4 - 0,5 | 0,35 | 0,4 - 0,5 | 0,58 - 0,65 |
Размер зерен (или гранул), мм: | | | | | |
диаметр | 5,0 | 2,8 - 7,0 | 1,0 - 3,6 | 1,0 - 3,6 | 3,0 - 7,0 |
длина, не более | 18 | - | - | - | - |
Механическая прочность, %, не менее | 97 | 86 | - | 80 | - |
Удельный объем пор, см3/г | - | 0,90 | - | - | 0,55 |
Удельная поверхность, м2/г, не менее | 200 | До 400 | - | - | 370 |
Влагоемкость, %, не менее при относительной влажности 100% | - | 70 | - | 70 | - |
Потери при прокаливании, %, не более | 5,0 | 5,0 | - | 5,0 | 5,0 |
Прочность при истирании, %, не менее | 65 | - | - | - | - |
МЕТОД ОПРЕДЕЛЕНИЯ ОСТАТОЧНОГО ВЛАГОСОДЕРЖАНИЯ АДСОРБЕНТОВ
1. Применяемые материалы и посуда
Фосфорный ангидрид (или хлористый кальций плавленый).
Стаканчик для взвешивания (бюксы) по ГОСТ 7148-70.
2. Отбор пробы адсорбента
Пробу адсорбента отбирают с помощью щупа, погружая его не менее чем на 2/3 глубины емкости, в которой находится адсорбент, по вертикальной оси. Несколько проб, отобранных в разных местах емкости, соединяют вместе и тщательно перемешивают, затем отбирают среднюю пробу и помещают ее в чистую сухую стеклянную, металлическую или полиэтиленовую банку с герметичной крышкой.
Взвесить 1,5 - 2,0 г адсорбента с погрешностью не более 0,0002 г в предварительно высушенной до постоянной массы бюксе. Приоткрыв бюксу, поместить ее в сушильный шкаф и сушить при температуре 150 +/- 5 °C до постоянной массы не менее 3 ч.
Для охлаждения закрытую бюксу помещают в эксикатор с фосфорным ангидридом (или хлористым кальцием) и выдерживают перед взвешиванием каждый раз одно и то же время, но не менее 30 мин.
Остаточное влагосодержание (X) в процентах вычисляют по формуле
где M1 - масса бюксы с адсорбентом до высушивания, г;
M2 - масса бюксы с адсорбентом после высушивания, г;
M - масса навески адсорбента, г.