Главная // Актуальные документы // ГОСТ (Государственный стандарт)СПРАВКА
Источник публикации
М.: Стандартинформ, 2014
Примечание к документу
Документ утратил силу с 01.01.2022 в связи с изданием
Приказа Росстандарта от 20.08.2021 N 734-ст. Взамен введен в действие
ГОСТ IEC 60331-1-2021.
Документ включен в
Перечень международных и региональных (межгосударственных) стандартов, а в случае их отсутствия - национальных (государственных) стандартов, содержащих правила и методы исследований (испытаний) и измерений, в том числе правила отбора образцов, необходимые для применения и исполнения требований технического
регламента Таможенного союза "О безопасности низковольтного оборудования" (ТР ТС 004/2011) и осуществления оценки соответствия объектов технического регулирования (
Решение Коллегии Евразийской экономической комиссии от 11.05.2023 N 55).
Текст данного документа приведен с учетом
поправки, опубликованной в "ИУС", N 7, 2019.
Документ
введен в действие с 1 июля 2015 года.
Название документа
"ГОСТ IEC 60331-1-2013. Межгосударственный стандарт. Испытания электрических кабелей в условиях воздействия пламени. Сохранение работоспособности. Часть 1. Метод испытания кабелей на номинальное напряжение до 0,6/1,0 кВ включительно и наружным диаметром более 20 мм при воздействии пламени температурой не менее 830 °C одновременно с механическим ударом"
(введен в действие Приказом Росстандарта от 19.09.2014 N 1145-ст)
"ГОСТ IEC 60331-1-2013. Межгосударственный стандарт. Испытания электрических кабелей в условиях воздействия пламени. Сохранение работоспособности. Часть 1. Метод испытания кабелей на номинальное напряжение до 0,6/1,0 кВ включительно и наружным диаметром более 20 мм при воздействии пламени температурой не менее 830 °C одновременно с механическим ударом"
(введен в действие Приказом Росстандарта от 19.09.2014 N 1145-ст)
агентства по техническому
регулированию и метрологии
от 19 сентября 2014 г. N 1145-ст
МЕЖГОСУДАРСТВЕННЫЙ СТАНДАРТ
ИСПЫТАНИЯ ЭЛЕКТРИЧЕСКИХ КАБЕЛЕЙ В УСЛОВИЯХ ВОЗДЕЙСТВИЯ
ПЛАМЕНИ. СОХРАНЕНИЕ РАБОТОСПОСОБНОСТИ
ЧАСТЬ 1
МЕТОД ИСПЫТАНИЯ КАБЕЛЕЙ НА НОМИНАЛЬНОЕ НАПРЯЖЕНИЕ
ДО 0,6/1,0 кВ ВКЛЮЧИТЕЛЬНО И НАРУЖНЫМ ДИАМЕТРОМ БОЛЕЕ 20 мм
ПРИ ВОЗДЕЙСТВИИ ПЛАМЕНИ ТЕМПЕРАТУРОЙ НЕ МЕНЕЕ 830 °C
ОДНОВРЕМЕННО С МЕХАНИЧЕСКИМ УДАРОМ
Tests for electric cables under fire conditions. Circuit
integrity. Part 1. Test method for fire with shock
at a temperature of least 830 °C for cables of rated voltage
up to and including 0,6/1,0 kV and with an overall diameter
exceeding 20 mm
(IEC 60331-1:2009, IDT)
ГОСТ IEC 60331-1-2013
Дата введения
1 июля 2015 года
Цели, основные принципы и основной порядок проведения работ по межгосударственной стандартизации установлены
ГОСТ 1.0-92 "Межгосударственная система стандартизации. Основные положения" и
ГОСТ 1.2-2009 "Межгосударственная система стандартизации. Стандарты межгосударственные, правила и рекомендации по межгосударственной стандартизации. Порядок разработки, принятия, применения, обновления и отмены"
1 ПОДГОТОВЛЕН Открытым акционерным обществом "Всероссийский научно-исследовательский, проектно-конструкторский и технологический институт кабельной промышленности (ОАО "ВНИИКП") на основе собственного аутентичного перевода на русский язык международного стандарта, указанного в
пункте 4
2 ВНЕСЕН Межгосударственным техническим комитетом по стандартизации МТК 46 "Кабельные изделия"
3 ПРИНЯТ Межгосударственным советом по стандартизации, метрологии и сертификации (протокол от 14 ноября 2013 г. N 44-2013, приложение N 24)
За принятие проголосовали:
Краткое наименование страны по МК (ИСО 3166) 004-97 | Код страны по МК (ИСО 3166) 004-97 | Сокращенное наименование национального органа по стандартизации |
Армения | AM | Минэкономики Республики Армения |
Казахстан | KZ | Госстандарт Республики Казахстан |
Киргизия | KG | Кыргызстандарт |
Россия | RU | Росстандарт |
Таджикистан | TJ | Таджикстандарт |
Узбекистан | UZ | Узстандарт |
4 Настоящий стандарт идентичен международному стандарту IEC 60331-1:2009 Tests for electric cables under fire conditions - Circuit integrity - Part 1: Test method for fire with shock at a temperature of least 830 °C for cables of rated voltage up to and including 0,6/1,0 kV and with an overall diameter exceeding 20 mm (Испытания электрических кабелей в условиях воздействия пламени. Сохранение работоспособности. Часть 1. Метод испытания кабелей на номинальное напряжение до 0,6/1,0 кВ включительно и наружным диаметром более 20 мм при воздействии пламени температурой не менее 830 °C одновременно с механическим ударом).
Сведения о соответствии межгосударственных стандартов ссылочным международным стандартам приведены в дополнительном
приложении ДА.
Перевод с английского языка (en).
Степень соответствия - идентичная (IDT)
5
Приказом Федерального агентства по техническому регулированию и метрологии от 19 сентября 2014 г. N 1145-ст межгосударственный стандарт ГОСТ IEC 60331-1-2013 введен в действие в качестве национального стандарта Российской Федерации с 01 июля 2015 г.
Информация об изменениях к настоящему стандарту публикуется в ежегодном информационном указателе "Национальные стандарты", а текст изменений и поправок - в ежемесячном информационном указателе "Национальные стандарты". В случае пересмотра (замены) или отмены настоящего стандарта соответствующее уведомление будет опубликовано в ежемесячном информационном указателе "Национальные стандарты". Соответствующая информация, уведомление и тексты размещаются также в информационной системе общего пользования - на официальном сайте Федерального агентства по техническому регулированию и метрологии в сети Интернет
Серия стандартов IEC 60331 состоит из следующих частей под общим наименованием "Испытания электрических кабелей в условиях воздействия пламени. Сохранение работоспособности":
Часть 1 "Метод испытания кабелей на номинальное напряжение до 0,6/1,0 кВ включительно и наружным диаметром более 20 мм при воздействии пламени температурой не менее 830 °C одновременно с механическим ударом";
Часть 2 "Метод испытания кабелей на номинальное напряжение до 0,6/1,0 кВ включительно и наружным диаметром не более 20 мм при воздействии пламени температурой не менее 830 °C одновременно с механическим ударом";
Часть 3 "Метод испытания кабелей на номинальное напряжение до 0,6/1,0 кВ включительно, испытываемых в металлическом корпусе, при воздействии пламени температурой не менее 830 °C одновременно с механическим ударом";
Часть 11 "Испытательное оборудование. Воздействие пламени температурой не менее 750 °C";
Часть 21 "Проведение испытаний и требования к ним. Кабели на номинальное напряжение до 0,6/1,0 кВ включительно";
Часть 23 "Проведение испытаний и требования к ним. Кабели электрические для передачи данных";
Часть 25 "Проведение испытаний и требования к ним. Кабели оптические".
Примечание - Части 21, 23 и 25 касаются условий воздействия пламени температурой не менее 750 °C.
Со времени первого издания IEC 60331 (1970) область его применения расширена, что позволяет использовать испытательное оборудование при испытании силовых кабелей больших и малых размеров, кабелей для передачи данных, контрольных, управления и кабелей оптических.
Положительные результаты испытаний, проведенных в соответствии с настоящим стандартом, являются основанием для нанесения на кабель соответствующей идентификационной маркировки.
Настоящий стандарт устанавливает требования к испытательному оборудованию, используемому при испытании кабелей, с целью определения возможности кабелей сохранять работоспособность при воздействии пламени одновременно с механическим ударом в заданных условиях, а также порядок проведения испытания, в том числе рекомендуемое время воздействия пламени.
Стандарт распространяется на кабели силовые низковольтные на номинальное напряжение до 0,6/1 кВ включительно, кабели управления и контрольные наружным диаметром более 20 мм.
Примечание 1 - Кабели меньшего диаметра испытывают в соответствии с требованиями, указанными в IEC 60331-2.
В настоящем стандарте установлены требования к подготовке образцов, аппаратуре для проверки целостности цепи, электрической нагрузке, способу воздействия пламени на кабели, способу выполнения удара и оценке результатов испытаний.
Примечание 2 - По согласованию между изготовителем и заказчиком (потребителем) данным методом можно испытывать кабели на номинальное напряжение до 3,3 кВ включительно при условии применения соответствующих плавких предохранителей.
В
приложении A приведена методика проверки источника нагрева и системы контроля, используемых при испытании.
В настоящем стандарте также приведены требования к идентификационной маркировке, которая может быть нанесена на кабель для обозначения его соответствия настоящему стандарту.
Для применения настоящего стандарта необходимы следующие ссылочные документы. Для недатированных ссылок применяют последнее издание ссылочного документа (включая все его изменения).
IEC 60584-1:2013 Thermocouples - Part 1: EMF specifications and tolerances (Термопары. Часть 1. Требования к электродвижущей силе (ЭДС) и допуски)
IEC 60269-3:2010 Low-voltage fuses - Part 3: Supplementary requirements for fuses for use by unskilled persons (fuses mainly for household and similar applications) - Examples of standardized systems of fuses A to F (Предохранители плавкие низковольтные. Часть 3. Дополнительные требования к плавким предохранителям (преимущественно бытового и аналогичного назначения), используемым неквалифицированным персоналом. Примеры стандартизированных систем плавких предохранителей от A до F)
IEC 60269-3:2010/Amd.1:2013 Low-voltage fuses - Part 3: Supplementary requirements for fuses for use by unskilled persons (fuses mainly for household and similar applications) - Examples of standardized systems of fuses A to F. Amendment 1 (Предохранители плавкие низковольтные. Часть 3. Дополнительные требования к плавким предохранителям (преимущественно бытового и аналогичного назначения), используемым неквалифицированным персоналом. Примеры стандартизированных систем плавких предохранителей от A до F. Изменение 1)
IEC 60269-3:2010/Amd.1:2013/Cor.1:2013 Low-voltage fuses - Part 3: Supplementary requirements for fuses for use by unskilled persons (fuses mainly for household and similar applications) - Examples of standardized systems of fuses A to F. Corrigendum 1 to Amendment 1 (Предохранители плавкие низковольтные. Часть 3. Дополнительные требования к плавким предохранителям (преимущественно бытового и аналогичного назначения), используемым неквалифицированным персоналом. Примеры стандартизированных систем плавких предохранителей от A до F. Поправка 1 к Изменению 1)
IEC 60269-3:2010/Amd.1:2013/Cor.2:2013 Low-voltage fuses - Part 3: Supplementary requirements for fuses for use by unskilled persons (fuses mainly for household and similar applications) - Examples of standardized systems of fuses A to F. Amendment 1. Corrigendum 2 (Предохранители плавкие низковольтные. Часть 3. Дополнительные требования к плавким предохранителям (преимущественно бытового и аналогичного назначения), используемым неквалифицированным персоналом. Примеры стандартизированных систем плавких предохранителей от A до F. Изменение 1. Поправка 2)
В настоящем стандарте применен следующий термин с соответствующим определением:
3.1 работоспособность кабеля (circuit integrity): Способность кабеля продолжать выполнять заданные функции при воздействии установленного источника пламени в течение заданного периода времени в заданных условиях.
Испытание проводят в камере объемом не менее 10 м3, имеющей систему для отвода газов, выделяющихся при горении. Для поддержания устойчивости пламени при испытании камера должна быть оборудована соответствующей вентиляцией.
Температура окружающей среды снаружи камеры должна быть от 10 °C до 40 °C.
При проведении проверки и испытании кабеля в камере должны поддерживаться одни и те же условия вентиляции и экранирования.
Примечания
2 При испытании по настоящему стандарту могут возникать высокие напряжения и температуры. Следует принять меры, предохраняющие от поражения током, воспламенения, пожара, взрыва, которые могут произойти, а также против токсичных газов, которые могут при этом образоваться.
5. Испытательное оборудование
5.1 Испытательное устройство
Испытательное устройство состоит из:
a) испытательной лестницы по
5.2, на которой крепят кабель;
b) источника нагрева по
5.3;
c) ударного устройства по
5.4;
d) испытательной панели, оборудованной термопарами для контроля источника нагрева в соответствии с
приложением A;
e) аппаратуры по проверке целостности цепи по
5.6;
f) плавких предохранителей по
5.7.
Общее расположение испытательного оборудования показано на
рисунках 1,
2 и
3.
Размеры в миллиметрах
1 - ударное устройство; 2 - стальная испытательная лестница;
3 - резиновая втулка; 4 - газовая горелка ленточного типа;
5 - неподвижный вертикальный элемент; 6 - регулируемый
вертикальный элемент; 7 - жесткая опора; P - плоскость
регулировки
Рисунок 1 - Схема испытательного устройства
Размеры в миллиметрах
1 - подача воздуха; 2 - резиновая втулка; 3 - жесткая опора;
4 - горизонтальный стальной элемент испытательной лестницы;
5 - подача пропана
Рисунок 2 - Испытательное устройство (вид сверху)
Размеры в миллиметрах
1 - ударное устройство; 2 - стальная испытательная лестница;
3 - газовая горелка; 4 - осевая линия фронтальной
поверхности горелки; H - расстояние по горизонтали от осевой
линии испытуемого кабеля до фронтальной поверхности горелки;
V - расстояние по вертикали от осевой линии испытуемого
кабеля до осевой линии горелки
Рисунок 3 - Испытательное устройство (вид сбоку)
5.2 Испытательная лестница и ее крепление
Испытательная лестница состоит из стального каркаса, показанного на
рисунке 1. Два центральных вертикальных элемента лестницы выполнены регулируемыми для того, чтобы можно было размещать испытуемые кабели разных размеров. Длина испытательной лестницы (1200 +/- 100) мм, высота - (600 +/- 50) мм, общая масса - (18 +/- 1) кг. При необходимости на стальные опоры помещают балласт.
На расстоянии не более 200 мм от обоих концов каждого горизонтального элемента лестницы должны быть отверстия для крепления, точное положение и диаметр которых зависят от конкретного исполнения поддерживающих втулок и опорного каркаса. Испытательную лестницу прикрепляют к жесткому опорному каркасу с помощью четырех соединительных резиновых втулок твердостью 50 - 60 единиц по Шору (метод A), устанавливаемых между горизонтальными стальными элементами лестницы и опорным каркасом для обеспечения смещения лестницы при ударе, как показано на
рисунках 1 и
2.
Примечания
1 В качестве материала для конструкции лестницы рекомендуется стальной уголок шириной около 45 мм и толщиной около 6 мм с соответствующими прорезями для фиксации болтов или зажимов.
2 Типичная резиновая втулка изображена на рисунке 4.
Размеры в миллиметрах
(размеры примерные, указаны без отклонений)
Рисунок 4 - Типичная резиновая втулка для крепления
испытательной лестницы
5.3.1 Горелка
Источником нагрева является пропановая газовая горелка ленточного типа с номинальной длиной рабочей части 500 мм, работающая со смесителем Вентури. Рекомендуется горелка с подачей питания по центру. Номинальная ширина рабочей части поверхности горелки 10 мм.
На фронтальной поверхности рабочей части горелки должны быть три ступенчатых ряда отверстий номинальным диаметром 1,32 мм, центры которых находятся на расстоянии 3,2 мм друг от друга, как показано на рисунке 5. На каждой боковой стороне горелки допускается ряд дополнительных небольших отверстий для стабилизации и поддержания пламени при горении.
Размеры в миллиметрах
Рисунок 5 - Фронтальная поверхность рабочей части горелки
Указания по выбору рекомендуемых систем горелки приведены в
приложении B.
5.3.2 Расходомеры и расход газов
В качестве прецизионных устройств контроля расхода топлива и воздуха при подаче их к горелке используют массовые расходомеры/контроллеры.
При проведении испытания температура точки росы воздуха должна быть не более 0 °C.
При проведении испытаний расход газов должен быть следующий:
- воздух - (160 +/- 8) л/мин в нормальных условиях (давление газа 1 бар, температура газа 20 °C) или (3267 +/- 163) мг/с;
- пропан - (10 +/- 0,4) л/мин в нормальных условиях (давление газа 1 бар, температура газа 20 °C) или (319 +/- 13) мг/с.
Примечания
1 Расходомеры типа ротаметр использовать допускается, но не рекомендуется. Указания по их использованию и применению поправочных коэффициентов приведены в IEC 60331-11, приложение C.
2 Примерная схема системы контроля работы горелки с использованием ротаметров изображена на
рисунке 6.
3 Степень чистоты пропана не регламентирована. Допускается использовать пропан промышленных марок, содержащих примеси, при условии выполнения требований по калибровке испытательного оборудования.
1 - редуктор; 2 - пьезоэлектрический воспламенитель;
3 - устройство для прерывания работы горелки;
4 - контрольные термопары; 5 - баллон с пропаном;
6 - винтовой клапан (6A - альтернативное расположение);
7 - вспомогательное питание; 8 - поступление газа;
9 - расходомер типа ротаметр; 10 - смеситель Вентури;
11 - горелка; 12 - шаровой вентиль; 13 - поступление
воздуха; 14 - баллон со сжатым воздухом; 15 - винтовой
клапан предпускового питания
Рисунок 6 - Примерная схема системы контроля работы горелки
с использованием ротаметров
5.3.3 Проверка
Горелку и систему контроля проверяют методом, приведенным в
приложении A.
Ударное устройство представляет собой круглый стержень из низкоуглеродистой стали диаметром (25,0 +/- 0,1) мм и длиной (600 +/- 5) мм. Стержень свободно вращается вокруг оси, которая параллельна испытательной лестнице и находится в горизонтальной плоскости, проходящей через верхний край испытательной лестницы на расстоянии (200 +/- 5) мм от нее. Ось делит стержень на две неравные части: больший отрезок длиной (400 +/- 5) мм ударяет по лестнице. Стержень падает под тяжестью собственного веса из начального положения под углом

к горизонтали, ударяя по верхнему краю испытательной лестницы в ее середине, как показано на
рисунках 1 и
3.
5.5 Расположение источника нагрева
Горелку располагают в испытательной камере так, чтобы ее фронтальная поверхность находилась на расстоянии не менее 200 мм над полом камеры или любым массивным блоком испытательной установки и не менее 500 мм от стен камеры.
Горелку располагают напротив центральной части испытуемого образца кабеля на расстоянии (
H +/- 2) мм по горизонтали от фронтальной поверхности горелки до оси кабеля и на расстоянии (
V +/- 2) мм по вертикали от горизонтальной центральной плоскости горелки до центра испытуемого образца кабеля, как показано на
рисунке 3.
Точное расположение горелки при испытании кабеля проверяют приведенным в
приложении A методом, которым определяют конкретные значения
H и
V.
Примечание - При испытании горелку прочно закрепляют на каркасе для предотвращения ее смещения относительно испытуемого образца.
5.6 Проверка целостности цепи
При испытании для проверки целостности цепи по всем токопроводящим жилам образца пропускают ток. Ток подают от трехфазного трансформатора с соединением "звезда" или однофазного трансформатора (трансформаторов) достаточной мощности для поддержания стабильного испытательного напряжения с учетом максимально допустимого тока утечки.
Требуемую силу тока получают подсоединением к каждой токопроводящей жиле или группе жил нагрузочного индикаторного прибора (например, лампы).
Примечания
1 При определении номинальной мощности трансформатора следует предусмотреть плавкие предохранители с соответствующими характеристиками.
2 Ток 0,25 А, пропускаемый по каждой токопроводящей жиле или группе жил, является достаточным.
5.7 Плавкие предохранители
Плавкие предохранители, используемые при испытании по
разделу 7, должны быть типа DII по IEC 60269-3. Допускается использовать прерыватели цепи с эквивалентными параметрами, соответствующими характеристическим кривым, приведенным в IEC 60269-3.
В спорных случаях следует применять плавкие предохранители.
6.1 Подготовка образца
От строительной длины отбирают отрезок кабеля длиной не менее 4,5 м для подготовки образцов. Каждый образец для испытания должен представлять собой отрезок кабеля длиной не менее 1500 мм, с обоих концов которого должны быть удалены оболочка и другие покрытия на длине около 100 мм.
Концы токопроводящих жил образца должны быть зачищены для электрического подсоединения и разведены в стороны во избежание замыкания.
6.2 Крепление образца
Образец изгибают приблизительно в форме дуги круга. Внутренний радиус изгиба должен соответствовать установленному изготовителем минимальному радиусу изгиба.
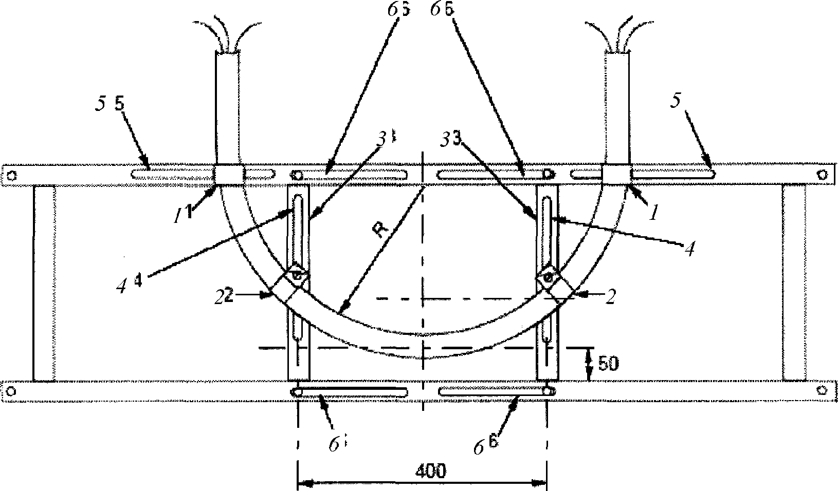
Образец крепят по центру испытательной лестницы, как показано на
рисунке 7, используя металлические зажимы, которые должны быть заземлены. На верхнем горизонтальном элементе лестницы рекомендуется использовать два U-образных болтовых хомута, а на центральных вертикальных элементах - P-образные хомуты, изготовленные из металлической ленты шириной (20 +/- 2) мм для кабелей диаметром в диапазоне от 20 до 50 мм и шириной (30 +/- 3) мм для кабелей

диаметров. P-образные хомуты должны иметь приблизительно тот же диаметр, что испытуемый образец.
Размеры в миллиметрах
1 - U-образный хомут; 2 - P-образный хомут; 3 - регулируемые
вертикальные элементы; 4 - прорезь для фиксации P-образного
хомута; 5 - прорезь для фиксации U-образного хомута;
6 - прорезь для перемещения регулируемых вертикальных
элементов; R - минимальный радиус изгиба кабеля
Рисунок 7 - Способ крепления образца большего диаметра
при испытании
Если образец кабеля слишком мал для крепления на центральных вертикальных элементах в положении, показанном на рисунке 7, вертикальные элементы следует равномерно сдвинуть к центру так, чтобы кабель можно было закрепить, как показано на рисунке 8.
Размеры в миллиметрах
1 - отрегулированное положение вертикальных элементов;
2 - исходное положение вертикального элемента; 3 - нижний
горизонтальный элемент испытательной лестницы;
4 - дополнительный зажим для обеспечения дугообразной формы
кабеля (при необходимости); 5 - U-образный хомут;
6 - прорезь для перемещения регулируемых вертикальных
элементов; 7 - прорезь для крепления P-образного хомута;
8 - P-образный хомут
Рисунок 8 - Способ крепления образца меньшего диаметра
при испытании с отрегулированным положением вертикальных
элементов лестницы
7.1 Испытательное оборудование и его размещение
Образец крепят на испытательной лестнице и регулируют положение горелки по отношению к образцу в соответствии с
5.5.
7.2 Электрические соединения
Со стороны конца образца, подсоединенного к трансформатору, заземляют нейтральную и защитную жилы. Металлические экраны, контактную проволоку и металлическое покрытие соединяют между собой и заземляют. Трансформатор (трансформаторы) подсоединяют к токопроводящим жилам, исключая нейтральную или защитную жилы, как показано на рисунке 9. Если металлическая оболочка, броня или экран выполняют функцию нейтральной или защитной жилы, они должны быть подсоединены, как показано на рисунке 9, в качестве нейтральной или защитной жилы.
1 - трансформатор; 2 - плавкий предохранитель (2 А);
3 - фазы L1, L2 или L3; 4 - металлические зажимы;
5 - испытуемая жила или группа жил; 6 - нагрузочный
индикаторный прибор; 7 - образец; 8 - металлический экран
(при наличии); L1, L2, L3 - фазные жилы
(L2, L3 - при наличии); N - нейтральная жила (при наличии);
PE - защитная жила (при наличии)
Рисунок 9 - Схема основных соединений
Для одно-, двух- или трехфазных кабелей каждую фазную жилу подсоединяют к отдельной фазе трансформатора (трансформаторов) через плавкие предохранители или через прерыватели цепи с эквивалентными характеристиками, рассчитанные на ток 2 А.
Для многожильных кабелей, имеющих четыре или более жил (кроме нейтральной или защитной), жилы делят на три приблизительно равные группы; при этом соседние жилы должны быть, по возможности, в разных группах.
Для многопарных кабелей жилы делят на две равные группы, при этом одну жилу каждой пары подсоединяют к одной фазе, а другую жилу - к другой фазе (L1 и L2 на
рисунке 9). Четверки рассматривают как две пары.
Для многожильных кабелей, скрученных тройками, жилы делят на три равные группы, при этом одну жилу каждой тройки подсоединяют к одной фазе, вторую жилу - к другой фазе, последующую жилу - к третьей фазе трансформатора (L1, L2 и L3 на
рисунке 9).
Жилы каждой группы соединяют последовательно, а каждую группу подсоединяют к отдельной фазе трансформатора через плавкий предохранитель или прерыватель цепи с эквивалентными характеристиками, рассчитанные на ток 2 А.
Примечания
1 В соответствии с указанным выше, нейтральную жилу заземляют. Нейтральную жилу заземляют, если кабель предназначен для использования в системе, где нейтральная жила не заземляется. Допускается испытывать нейтральную жилу аналогично испытанию фазной жилы, если это указано в стандартах или технических условиях на кабели конкретных марок. Если металлическая оболочка, броня или экран выполняют функцию нейтральной жилы, их заземляют. Все перечисленные особенности при проведении испытаний должны быть включены в протокол.
2 Для конструкций кабелей, отличных от указанных выше, испытательное напряжение прикладывают, по возможности, так, чтобы соседние жилы были подсоединены к разным фазам.
3 В некоторых случаях, например при испытании контрольного кабеля или кабеля управления с использованием трехфазного трансформатора, невозможно одновременное приложение испытательного напряжения номинального значения между жилами и между жилой и землей. В таких случаях значение испытательного напряжения либо между жилами, либо между жилой и землей должно быть равным номинальному значению, так что испытательное напряжение между жилами и испытательное напряжение между жилой и землей будут равны или будут превышать значение номинального напряжения.
На конце образца, не подсоединенном к трансформатору:
- каждую фазную жилу или группу жил заземляют через нагрузочный индикаторный прибор (по
5.6);
- нейтральную и защитную жилы через нагрузочный индикаторный прибор (по
5.6) соединяют с жилой L1 (или L2, или L3) на конце образца, соединенном с трансформатором (см.
рисунок 9).
7.3 Использование горелки и ударного устройства
Зажигают горелку и устанавливают расход газа и воздуха на уровне значений, полученных при проверке источника нагрева (см.
приложение A).
После включения горелки ударное устройство подготавливают к выполнению удара и включают секундомер для измерения продолжительности испытания. Ударное устройство должно сработать и ударить по лестнице спустя 5 мин +/- 10 с после включения горелки, а затем срабатывать через каждые 5 мин +/- 10 с. После каждого удара ударяющий стержень должен быть поднят над испытательной лестницей не более чем за 20 с после удара.
7.4 Воздействие электрического тока
Непосредственно после включения секундомера включают электропитание и устанавливают напряжение на уровне номинального напряжения кабеля (но не менее 100 В переменного тока), т.е. испытательное напряжение между жилами должно быть равно номинальному напряжению между жилами, а испытательное напряжение между жилой и землей должно быть равно номинальному напряжению между жилой и землей.
Испытание проводят в течение времени, указанного в
8.1, после чего пламя гасят.
8. Оценка результатов испытания
8.1 Время воздействия пламени
Время воздействия пламени должно быть установлено в стандартах или технических условиях на кабели конкретных марок. Если время воздействия пламени не установлено, то продолжительность воздействия пламени и работы ударного устройства выбирают из ряда: 30, 60, 90, 120 мин.
8.2 Критерии оценки
Кабель считают сохраняющим работоспособность в течение установленного времени в условиях испытания по
разделу 7, если:
- напряжение приложено в течение всего испытания, т.е. плавкий предохранитель не перегорает или не отключается прерыватель цепи;
- токопроводящая жила не разрушается, т.е. лампа не гаснет.
9. Проведение повторного испытания
При получении неудовлетворительных результатов проводят испытание двух дополнительных образцов, отобранных от того же отрезка кабеля, взятого для проведения испытания. Результаты испытания считают удовлетворительными, если оба образца соответствуют установленным требованиям.
Протокол испытания должен содержать следующую информацию:
a) обозначение настоящего стандарта;
b) подробное описание испытуемого кабеля;
c) наименование изготовителя испытуемого кабеля;
d) значение испытательного напряжения;
e) фактический радиус изгиба кабеля при испытании;
f) критерии оценки результатов испытания по
разделу 8;
g) время воздействия пламени;
h) объем испытательной камеры и значение температуры в начале испытания.
Если требуется маркировать кабель для обозначения его соответствия настоящему стандарту, маркировка должна содержать номер международного стандарта и длительность воздействия пламени
IEC 60331-1 (XX),
где XX - длительность в минутах.
Данную маркировку наносят дополнительно к обязательной маркировке, соответствующей требованиям стандарта или технических условий на кабельные изделия конкретной марки.
(обязательное)
ПРОВЕРКИ ИСТОЧНИКА НАГРЕВА
A.1 Измерительное оборудование
Температуру пламени измеряют с помощью двух термопар диаметром 1,5 мм с минеральной изоляцией и в оболочке из нержавеющей стали, соответствующих типу K по IEC 60584-1, установленных на испытательной панели, как показано на
рисунке A.1. Кончики термопар должны находиться на расстоянии (20 +/- 1) мм от фронтальной стороны испытательной панели. Горизонтальная осевая линия термопар должна находиться примерно на (100 +/- 10) мм выше нижнего края панели. Панель представляет собой плиту из теплостойкого негорючего неметаллического материала длиной (900 +/- 100) мм, высотой (300 +/- 50) мм и толщиной (10 +/- 2) мм.
Размеры в миллиметрах
1 - опоры для термопар; 2 - кончик термопары; 3 - горелка;
4 - термопара типа K; H - расстояние до кончика термопары
от фронтальной поверхности горелки по горизонтали;
V - расстояние до кончика термопары от осевой линии горелки
по вертикали
Рисунок A.1 - Расположение системы измерения температуры
Горелку помещают на расстоянии 100 - 120 мм от термопар по горизонтали (
H) и на 40 - 60 мм ниже осевой линии термопар по вертикали (
V), как показано на
рисунке A.1.
A.2 Порядок проведения проверки
Горелку зажигают и регулируют подачу газа и воздуха до значений, указанных в
5.3.
Для обеспечения стабильных условий контролируют температуру по показаниям термопар в течение 10 мин.
Результат проверки считают удовлетворительным, если:
a) среднее значение усредненных показаний каждой из двух термопар в течение 10 мин находится в пределах

и,
b) разность усредненных показаний каждой из двух термопар не превышает 40 °C.
Для получения усредненного значения каждые 30 с проводят не менее одного измерения.
Примечание - Метод получения усредненного значения показаний термопары в течение заданного периода не установлен, однако для уменьшения разброса результатов, обусловленного точечным измерением, рекомендуется использовать записывающую аппаратуру с устройством для усреднения значений.
Если результаты проверки неудовлетворительные, расход газов следует изменить в пределах допуска, указанного в
5.3, и провести новую проверку.
A.4 Новая проверка
Если результаты проверки по
разделу A.3 неудовлетворительные, следует изменить расстояния
H и
V между горелкой и термопарами (в пределах допуска, указанного в
A.1) и провести новую проверку.
Если в пределах указанных допусков нельзя получить удовлетворительный результат, систему горелки считают не соответствующей требованиям настоящего стандарта.
A.5 Отчет по результатам проверки
Значения расстояний H и V, при которых получен удовлетворительный результат, и используемые расходы газов фиксируют.
(справочное)
ПО ВЫБОРУ РЕКОМЕНДУЕМОГО ИСПЫТАТЕЛЬНОГО ОБОРУДОВАНИЯ
B.1 Горелка и смеситель Вентури
Для испытаний можно использовать продукцию компании AGF:
- рабочую часть горелки, соответствующую требованиям настоящего стандарта (код продукта 11-55), а также 500-миллиметровую горелку (код продукта 1857B), включающую в себя указанную рабочую часть;
- смеситель Вентури (код продукта 14-18) <1>.
--------------------------------
<1> Данная информация приведена для сведения потребителей и не означает, что МЭК одобряет или рекомендует именно этот продукт. Допускается использование аналогичных изделий, если очевидно, что их применение приведет к тем же результатам.
Адрес для обращений:
Pemfab, 30 Indel Avenue, PO Box 227, Rancocas, New Jersey 08073-0227, USA
www.amgasfur.com или www.pemfab.com.
B.2 Влияние сквозняков в испытательной камере
На форму пламени влияют сквозняки в испытательной камере. Для защиты горелки от прямого воздействия потоков воздуха следует применять соответствующие экраны.
B.3 Указания по подготовке испытательной камеры
Камера должна иметь достаточный объем, чтобы выбросы пламени во время горения не изменяли условий испытания. Опыт показывает, что этому условию удовлетворяет камера, имеющая форму куба со стороной 3 м по IEC 61034-1, но допускается использовать другие камеры соответствующего объема. Для наблюдения за кабелем во время испытания в стены камеры встраивают окна. Дым должен выводиться через трубу, размещенную не менее 1 м от горелки. Для изменения условий вентиляции используют регулятор тяги.
Поступление воздуха обеспечивают через отверстия, размещенные у основания камеры. Отверстия для поступления воздуха и дымовую трубу располагают так, чтобы пламя горелки не изменялось в течение проверки и испытания.
(справочное)
СВЕДЕНИЯ О СООТВЕТСТВИИ ССЫЛОЧНЫХ МЕЖДУНАРОДНЫХ СТАНДАРТОВ
МЕЖГОСУДАРСТВЕННЫМ СТАНДАРТАМ
Таблица ДА.1
Обозначение и наименование ссылочного международного стандарта | Обозначение и наименование международного стандарта другого года издания | Степень соответствия | Обозначение и наименование межгосударственного стандарта |
IEC 60269-3:2010 Предохранители плавкие низковольтные. Часть 3. Дополнительные требования к плавким предохранителям (преимущественно бытового и аналогичного назначения), используемым неквалифицированным персоналом. Примеры стандартизированных систем плавких предохранителей от A до F | IEC 60269-3-1:1994 Предохранители плавкие низковольтные. Часть 3-1: Дополнительные требования к плавким предохранителям, используемым неквалифицированным персоналом (главным образом бытового и аналогичного назначения). Разделы с I по IV | IDT | ГОСТ IEC 60269-3-1-2011 Предохранители плавкие низковольтные. Часть 3-1. Дополнительные требования к плавким предохранителям для эксплуатации неквалифицированным персоналом (плавкие предохранители бытового и аналогичного назначения). Разделы I - IV (IEC 60269-3-1:1994, IDT) |
IEC 60331-2:2009 Испытания электрических кабелей в условиях воздействия пламени. Сохранение работоспособности. Часть 2. Метод испытания кабелей на номинальное напряжение до 0,6/1,0 кВ включительно и наружным диаметром не более 20 мм при воздействии пламени температурой не менее 830 °C одновременно с механическим ударом | - | IDT | ГОСТ IEC 60331-2-2013 Испытания электрических кабелей в условиях воздействия пламени. Сохранение работоспособности. Часть 2. Метод испытания кабелей на номинальное напряжение до 0,6/1,0 кВ включительно и наружным диаметром не более 20 мм при воздействии пламени температурой не менее 830 °C одновременно с механическим ударом (IEC 60331-2:2009, IDT) |
IEC 60331-11:1999 Испытания электрических кабелей в условиях воздействия пламени. Сохранение работоспособности. Часть 11. Испытательное оборудование. Воздействие пламени температурой не менее 750 °C | - | - | - |
IEC 60584-1:2013 Термопары. Часть 1. Требования к электродвижущей силе (ЭДС) и допуски | - | - | - |
IEC 61034-1:2005 Измерение плотности дыма при горении кабелей в заданных условиях. Часть 1. Испытательное оборудование | - | IDT | ГОСТ IEC 61034-1-2011 Измерение плотности дыма при горении кабелей в заданных условиях. Часть 1. Испытательное оборудование (IEC 61034-1:2005, IDT) |
IEC 60331-2 | Tests for electric cables under fire conditions - Circuit integrity - Part 2: Test method for fire with shock at a temperature of at least 830 °C for cables of rated voltage up to and including 0.6/1.0 kV and with an overall diameter not exceeding 20 mm (Испытания электрических кабелей в условиях воздействия пламени. Сохранение работоспособности. Часть 2. Метод испытания кабелей на номинальное напряжение до 0,6/1,0 кВ включительно и наружным диаметром не более 20 мм при воздействии пламени температурой не менее 830 °C одновременно с механическим ударом) |
IEC 60331-11:1999 | Tests for electric cables under fire conditions - Circuit integrity - Part 11: Apparatus - Fire alone at a flame temperature of at least 750 °C (Испытания электрических кабелей в условиях воздействия пламени. Сохранение работоспособности. Часть 11. Испытательное оборудование. Воздействие пламени температурой не менее 750 °C) |
IEC 61034-1 | Measurement of smoke density of cables burning under defined conditions - Part 1: Test apparatus (Измерение плотности дыма при горении кабелей в заданных условиях. Часть 1. Испытательное оборудование) |