Главная // Актуальные документы // ГОСТ (Государственный стандарт)СПРАВКА
Источник публикации
М.: Стандартинформ, 2013
Примечание к документу
Документ утрачивает силу с 01.07.2025 в связи с изданием
Приказа Росстандарта от 23.08.2024 N 1111-ст. Взамен вводится в действие
ГОСТ IEC 61034-1-2024.
Документ включен в
Перечень международных и региональных (межгосударственных) стандартов, а в случае их отсутствия - национальных (государственных) стандартов, содержащих правила и методы исследований (испытаний) и измерений, в том числе правила отбора образцов, необходимые для применения и исполнения требований технического
регламента Таможенного союза "О безопасности низковольтного оборудования" (ТР ТС 004/2011) и осуществления оценки соответствия объектов технического регулирования (
Решение Коллегии Евразийской экономической комиссии от 11.05.2023 N 55).
Документ включен в
Перечень стандартов, содержащих правила и методы исследований (испытаний) и измерений, в том числе правила отбора образцов, необходимые для применения и исполнения требований технического
регламента Таможенного союза "О безопасности низковольтного оборудования" (ТР ТС 004/2011) и осуществления оценки соответствия объектов технического регулирования (
Решение Комиссии Таможенного союза от 16.08.2011 N 768).
Текст данного документа приведен с учетом
поправки, опубликованной в "ИУС", N 4, 2015.
Документ включен в
Перечень национальных стандартов, содержащих правила и методы исследований (испытаний) и измерений, в том числе правила отбора образцов, необходимых для применения и исполнения Федерального
закона от 22.07.2008 N 123-ФЗ "Технический регламент о требованиях пожарной безопасности" и осуществления оценки соответствия (
Распоряжение Правительства РФ от 10.03.2009 N 304-р).
Документ
введен в действие с 1 января 2013 года.
Название документа
"ГОСТ IEC 61034-1-2011. Межгосударственный стандарт. Измерение плотности дыма при горении кабелей в заданных условиях. Часть 1. Испытательное оборудование"
(введен в действие Приказом Росстандарта от 13.12.2011 N 1454-ст)
"ГОСТ IEC 61034-1-2011. Межгосударственный стандарт. Измерение плотности дыма при горении кабелей в заданных условиях. Часть 1. Испытательное оборудование"
(введен в действие Приказом Росстандарта от 13.12.2011 N 1454-ст)
агентства по техническому
регулированию и метрологии
от 13 декабря 2011 г. N 1454-ст
МЕЖГОСУДАРСТВЕННЫЙ СТАНДАРТ
ИЗМЕРЕНИЕ ПЛОТНОСТИ ДЫМА ПРИ ГОРЕНИИ КАБЕЛЕЙ
В ЗАДАННЫХ УСЛОВИЯХ
ЧАСТЬ 1
ИСПЫТАТЕЛЬНОЕ ОБОРУДОВАНИЕ
Measurement of smoke density of cables burning under
defined conditions. Part 1. Test apparatus
(IEC 61034-1:2005, IDT)
ГОСТ IEC 61034-1-2011
Дата введения
1 января 2013 года
Цели, основные принципы и порядок проведения работ по межгосударственной стандартизации установлены
ГОСТ 1.0-92 "Межгосударственная система стандартизации. Основные положения" и
ГОСТ 1.2-2009 "Межгосударственная система стандартизации. Стандарты межгосударственные, правила и рекомендации по межгосударственной стандартизации. Правила разработки, принятия, применения, обновления и отмены".
1. Подготовлен Федеральным государственным унитарным предприятием "Всероссийский научно-исследовательский институт стандартизации и сертификации в машиностроении" (ВНИИНМАШ).
2. Внесен Федеральным агентством по техническому регулированию и метрологии.
3. Принят Межгосударственным советом по стандартизации, метрологии и сертификации (Протокол N 40-2011 от 29 ноября 2011 г.).
За принятие стандарта проголосовали:
Краткое наименование страны по МК (ИСО 3166) 004-97 | Код страны по МК (ИСО 3166) 004-97 | Сокращенное наименование национального органа по стандартизации |
Беларусь | BY | Госстандарт Республики Беларусь |
Казахстан | KZ | Госстандарт Республики Казахстан |
Кыргызстан | KG | Кыргызстандарт |
Российская Федерация | RU | Росстандарт |
Таджикистан | TJ | Таджикстандарт |
Украина | UA | Минэкономразвития Украины |
Узбекистан | UZ | Узстандарт |
4.
Приказом Федерального агентства по техническому регулированию и метрологии от 13 декабря 2011 г. N 1454-ст межгосударственный стандарт ГОСТ IEC 61034-1-2011 введен в действие в качестве национального стандарта Российской Федерации с 1 января 2013 г.
5. Настоящий стандарт идентичен международному стандарту IEC 61034-1:2005. Measurement of smoke density of cables burning under defined conditions - Part 1: Test apparatus (Измерение плотности дыма при горении кабелей в заданных условиях. Часть 1. Испытательное оборудование).
Перевод с английского языка (en).
Степень соответствия - идентичная (IDT).
Сведения о соответствии межгосударственных стандартов ссылочным международным стандартам приведены в дополнительном
Приложении ДА.
6. Введен впервые.
Информация о введении в действие (прекращении действия) настоящего стандарта публикуется в указателе "Национальные стандарты".
Информация об изменениях к настоящему стандарту публикуется в указателе "Национальные стандарты", а текст изменений - в информационных указателях "Национальные стандарты". В случае пересмотра или отмены настоящего стандарта соответствующая информация будет опубликована в информационном указателе "Национальные стандарты".
Измерение плотности дыма является важным аспектом при оценке характеристик кабелей при их горении, так как это связано с необходимостью эвакуации персонала и организации борьбы с огнем.
IEC 61034 опубликован в двух частях, которые совместно устанавливают метод испытания для измерения плотности дыма при горении кабелей в заданных условиях. При проведении этого испытания следует иметь в виду, что образцы кабеля (т.е. испытуемые отрезки или пучки испытуемых отрезков) не в полной мере моделируют действительные условия прокладки.
В первой части приведены подробное описание испытательного оборудования и процедура проверки оборудования, используемого для измерения плотности дыма продуктов горения кабелей в заданных условиях. Первая часть содержит описание испытательной камеры объемом 27 м3, фотометрической системы для измерения интенсивности светового потока, источника пламени, способа перемешивания дыма и квалификационного испытания. Приложение А содержит указания, касающиеся испытательного оборудования, которые могут быть использованы при конструировании испытательной камеры.
Во второй части приведены метод проведения испытания и справочное приложение, содержащее рекомендуемые требования в том случае, если в стандарте или технических условиях на кабель такие требования не установлены.
Настоящий стандарт устанавливает требования к испытательному оборудованию, используемому для измерения дымовыделения электрических или оптических кабелей при их горении в определенных условиях, например при горении нескольких кабелей в горизонтальном положении. Светопроницаемость

в условиях горения и тления может быть использована для сравнения различных кабелей или проверки соответствия установленным требованиям.
Примечание. К электрическим кабелям относятся все кабели с изолированной металлической токопроводящей жилой, которые используются для передачи энергии или сигналов.
В настоящем стандарте использованы ссылки на следующие международные стандарты:
ISO/IEC 13943:2005. Fire safety - Vocabulary (Пожаробезопасность. Словарь)
IEC 60695-4:2005. Fire hazard testing - Part 4: Terminology concerning fire tests for electrotechnical products (Испытания на пожароопасность. Часть 4. Терминология, относящаяся к испытаниям на огнестойкость).
В настоящем стандарте применены термины по IEC 60695-4 и ISO/IEC 13943.
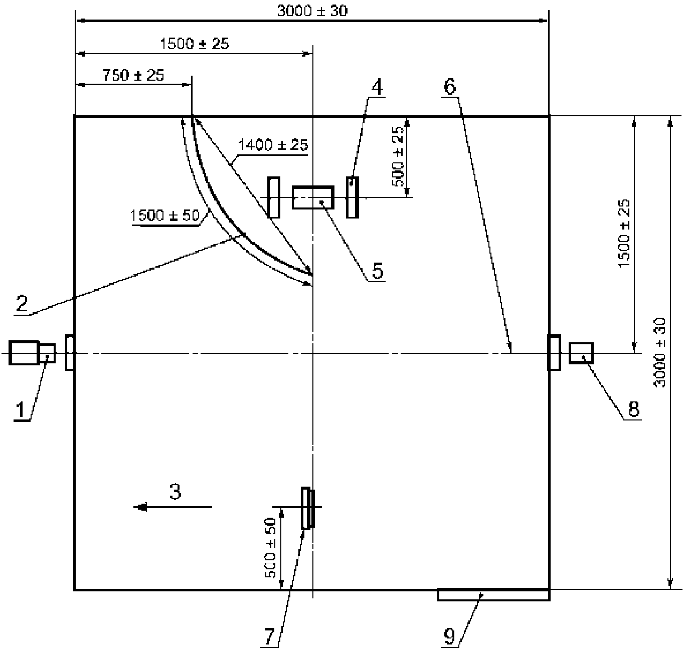
Испытательная камера представляет собой куб с внутренними размерами сторон (3000 +/- 30) мм, изготовленный из соответствующего материала с черным матовым покрытием внутренних стенок, с каркасом из стальных уголков. На одной стороне должна быть дверь со стеклянным окном для наблюдений. На двух противоположных сторонах должны быть прозрачные герметичные окна (размерами не менее 100 x 100 мм), пропускающие луч света горизонтальной фотометрической системы. Расстояние от пола до центра этих окон должно быть (2150 +/- 100) мм
(рисунок 1).
| | ИС МЕГАНОРМ: примечание. Текст дан в соответствии с официальным текстом документа. | |
1 - источник света; 2 - воздушный экран
высотой (1000 + 50) мм; 3 - направление потока воздуха
от вентилятора; 4 - опора для кабеля; 5 - поддон
со спиртом; 6 - высота оптической оси (2150 + 100) мм;
7 - вентилятор (расход воздуха 7 - 15 м3/мин);
8 - фотоэлемент; 9 - дверь
Рисунок 1. Схема плана испытательной камеры (вид сверху)
Стены камеры должны иметь отверстия на уровне пола (т.е. на высоте не более чем 100 мм от пола камеры) для прохода кабелей и т.п., а также для поддержания атмосферного давления в камере.
Отверстий не должно быть непосредственно за источником пламени или в той же стене. Камера должна иметь не менее двух отверстий, и общая площадь отверстий, открытых при испытании, должна быть (50 +/- 10) см2.
Примечание 1. Рекомендуется иметь два отверстия, каждое площадью (25 +/- 5) см2, расположенных на двух противоположных стенах, одно - под источником света, другое - под приемным фотоэлементом.
Температура окружающей среды снаружи камеры должна быть (20 +/- 10) °C, и камера не должна подвергаться воздействию прямых солнечных лучей или резким климатическим воздействиям.
Примечание 2. После каждого испытания из камеры удаляют весь дым через вытяжную трубу с шибером (заслонкой), который при испытании закрыт. Труба может быть снабжена вентилятором для увеличения скорости удаления дыма. Для ускорения этого процесса рекомендуется дверь камеры держать открытой.
Воздушный экран длиной (1500 +/- 50) мм и высотой (1000 +/- 50) мм помещают в камеру в положении, как показано на
рисунке 1. Он должен примыкать к задней стене (с зазором не более 10 мм) в точке, отстоящей на (750 +/- 25) мм от боковой стены, и должен быть изогнут до пересечения с осевой линией камеры в точке, отстоящей на (1400 +/- 25) мм от точки примыкания к задней стене.
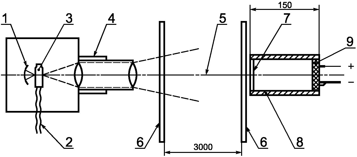
5. Фотометрическая система
5.1. Фотометрическая система показана на рисунке 2. Источник света и приемный фотоэлемент должны быть установлены с наружных сторон камеры по центру окон в двух противоположных стенах камеры, не соприкасаясь с ними. Луч света должен пересекать камеру через стеклянные окна в боковых стенах.
| | ИС МЕГАНОРМ: примечание. Текст дан в соответствии с официальным текстом документа. | |
1 - рефлектор; 2 - подача стабилизированного напряжения
(12,0 + 0,1) В (с предельными отклонениями при стабилизации
+/- 0,01 В); 3 - галогеновая лампа с кварцевой колбой;
4 - система линз; 5 - световой поток; 6 - окна камеры;
7 - пылезащитное стекло; 8 - трубка с внутренней матовой
поверхностью; 9 - фотоэлемент
Источник света и фотоэлемент не должны иметь контакта
со стенками камеры. Диаметр конуса света с противоположной
стороны от источника - около 1,5 м
Рисунок 2. Фотометрическая система
5.2. Источником света должна быть галогеновая лампа с вольфрамовой нитью и с прозрачной кварцевой колбой со следующими характеристиками:
номинальная мощность, Вт ................................ 100
номинальное напряжение постоянного тока, В .............. 12
номинальный световой поток, лм .......................... 2000 - 3000
номинальная цветовая температура, К ..................... 2800 - 3200
| | ИС МЕГАНОРМ: примечание. Текст дан в соответствии с официальным текстом документа. | |
Лампа должна питаться от источника напряжением (12,0 + 0,1) В. При испытании напряжение должно быть стабилизировано в пределах +/- 0,01 В (дополнительные указания приведены в
А.2, перечисление c) Приложения А). Лампа должна быть установлена в рефлекторе, а луч света, отрегулированный системой линз, должен образовывать на внутренней поверхности противоположной стены равномерно освещенное круглое пятно диаметром (1,5 +/- 0,1) м.
5.3. Приемный фотоэлемент должен быть на основе селена или кремния со спектральной чувствительностью, соответствующей стандартному светоприемнику (эквивалентному человеческому глазу) Международной комиссии по освещенности (CIE). Фотоэлемент должен быть установлен на конце трубки длиной (150 +/- 10) мм, на другом ее конце должно быть стекло для защиты от пыли. Во избежание отражений внутренняя поверхность трубки должна быть матовой с чернением. Фотоэлемент должен быть соединен с регистрирующим потенциометром для формирования линейно пропорционального выходного сигнала. Фотоэлемент должен быть нагружен сопротивлением для обеспечения линейности в рабочем диапазоне, а входное полное сопротивление потенциометра должно быть не менее чем в

раз больше, чем сопротивление нагрузки фотоэлемента, которое не должно быть более 100 Ом.
5.4. Фотометрическую систему включают до подготовительной процедуры. При достижении стабильности нулевое и максимальное показания потенциометра должны соответствовать 0% (отсутствие света) и 100% величины светового потока, падающего на приемный фотоэлемент.
Примечание 1. Работу фотоэлемента следует периодически проверять, например в начале серии испытаний, помещая в световой поток стандартные фильтры нейтральной плотности. Эти фильтры должны полностью закрывать оптическое отверстие приемного фотоэлемента, а значения интенсивности светового потока, измеренные фотоэлементом, давать значение параметра A в пределах +/- 5% калиброванного значения фильтра. С помощью фильтров также проверяют линейность чувствительности приемника, которая должна быть пропорциональна интенсивности светового потока в требуемом диапазоне.
Примечание 2. Фильтры с наиболее нейтральной плотностью определяют по параметру, называемому абсорбцией, по тому же, что и параметр A, указанный в
10.5, который может быть использован при преобразовании измеренной светопроницаемости.
6. Стандартный источник пламени
В качестве стандартного источника пламени применяют спирт объемом (1,00 +/- 0,01) л, имеющий следующий состав, % по объему:
этанол ...................................... (90 +/- 1)
метанол ..................................... (4 +/- 1)
вода ........................................ (6 +/- 1)
Если в спирт добавить денатурат, это не повлияет на выделение дыма при горении любого испытуемого кабеля.
Спирт помещают в поддон, изготовленный из оцинкованной или нержавеющей стали, в виде усеченной пирамиды с герметичными соединениями и следующими внутренними размерами, мм (рисунок 3):
нижнее основание ............................ (210 +/- 2) x (110 +/- 2)
верхнее основание ........................... (240 +/- 2) x (140 +/- 2)
высота ...................................... (80 +/- 2)
толщина поддона ............................. (1,0 +/- 0,1)
| | ИС МЕГАНОРМ: примечание. Текст дан в соответствии с официальным текстом документа. | |
Высота - 80 мм. Толщина - (1 + 0,1) мм.
Предельные отклонения для остальных размеров - +/- 2 мм
Рисунок 3. Металлический поддон
Поддон должен быть приподнят на высоту (100 +/- 10) мм от уровня пола на открытом со всех сторон каркасе для обеспечения циркуляции воздуха под ним и вокруг него.
Для обеспечения равномерного распределения дыма на пол камеры, как показано на
рисунке 1, помещают настольный вентилятор на расстоянии от 200 до 300 мм от пола и (500 +/- 50) мм от стены. Размах лопастей вентилятора - (300 +/- 60) мм, объемный расход воздуха - от 7 до 15 м3/мин. При испытании вентилятор подает воздух по горизонтали, поэтому источник пламени должен быть защищен экраном, как показано на
рисунке 1.
Примечание. Соответствующие вентиляторы приведены в стандарте IEC 60879
[1].
8. Подготовительная процедура
8.1. Цель
Цель подготовки состоит в том, чтобы при необходимости перед проведением испытаний довести температуру внутри камеры до установленного уровня.
8.2. Проведение процедуры
8.2.1. Сжигают около 1 л спирта, как указано в
разделе 6, чтобы подогреть испытательную камеру.
8.2.2. Очищают внутренний объем камеры от всех продуктов сгорания, включив систему вытяжки.
9. Проверка испытательного оборудования
С целью гарантии того, что состояние испытательной камеры и оптической системы обеспечит результаты, сопоставимые с полученными в других испытательных камерах при испытаниях идентичных кабелей, сгорающих в одинаковых условиях, проводят квалификационную проверку испытательного оборудования. Проверка осуществляется проведением квалификационного испытания на горение (см. раздел 10). Испытательное оборудование должно соответствовать установленным требованиям.
10. Квалификационное испытание на горение
10.1. Цель
Квалификационное испытание на горение проводят, чтобы подтвердить, что дым, выделяемый в камере обоими источниками пламени - спиртом и толуолом по 10.3, дает значения

в пределах, указанных в
10.6.
10.2. Подготовка камеры
Окна фотометрической системы очищают, чтобы восстановить 100%-ную светопроницаемость после стабилизации напряжения.
Непосредственно перед началом испытания температура внутри камеры, измеренная со стороны внутренней поверхности двери на высоте 1,5 - 2,0 м и на расстоянии не менее 0,2 м от стенок, должна быть (25 +/- 5) °C. При необходимости проводят подготовительную процедуру с целью доведения температуры внутри камеры до установленного уровня.
10.3. Проверка источников пламени
Смеси толуола (аналитического качества) и спирта (см.
раздел 6), составленные с помощью пипетки и мерной колбы, обеспечивающих необходимую точность измерения объема, должны иметь следующий состав по объему:
a) 4 части толуола на 96 частей спирта;
b) 10 частей толуола на 90 частей спирта.
Примечание. Толуол аналитического качества должен иметь чистоту более 99,5%. Смеси помещают в поддон, как указано в
разделе 6.
10.4. Проведение испытания
Сжигают по (1 +/- 0,01) л смесей, указанных в
10.3. Фиксируют минимальный уровень светопроницаемости

при испытании.
10.5. Проведение вычислений
Измеренный параметр

вычисляют по формуле

, (1)
где

- начальный уровень светопроницаемости.
Стандартный параметр

вычисляют по формуле

. (2)
Рассчитанные значения

должны быть в следующих пределах:
при 4%-ном содержании толуола - 0,18 - 0,26 м2;
при 10%-ном содержании толуола - 0,80 - 1,20 м2.
(справочное)
РУКОВОДСТВО ПО ПРОВЕДЕНИЮ ИСПЫТАНИЯ
А.1. Камера и источник пламени
a) Первоначально требования к испытательной камере включали также требования к ее стенкам для обеспечения однородности тепловых потерь, например толщина 2 мм для стальных стенок. Это требование потеряло свою значимость после введения проверки с использованием толуола.
b) Следует предусмотреть соответствующие меры по обеспечению выравнивания давления.
c) Конденсация воды при нижнем значении диапазона температуры испытания может быть причиной искаженных результатов, например: 15 °C - недопустимое значение, 18 °C - минимально допустимое значение, а 20 °C (как установлено) - нормальное минимальное значение.
d) Поддон со смесью с толуолом должен быть приподнят над уровнем пола для обеспечения циркуляции воздуха.
e) Наличие в спирте воды может существенно повлиять на интенсивность образования дыма. Поэтому при калибровке следует обеспечить, чтобы процентное содержание воды в этаноле было в установленных пределах и чтобы испытание было проведено в течение 2 ч после приготовления смеси.
f) Вентилятор следует проверить соответствующими средствами измерения, например анемометром, установленным на конце трубы, имеющей диаметр, равный размеру лопастей, и длину около 1,0 м.
А.2. Оптическая система
a) Проверка мощности источника света не требуется, т.к. фактическая мощность не влияет на точность результатов испытания, а лампа работает до тех пор, пока не перегорит, и измеренное значение

зависит только от начального значения

.
b) Влияние цветовой температуры и излучения лампы на разных длинах волн также минимально, так как приемный фотоэлемент имеет спектральную чувствительность человеческого глаза. Некоторая потеря интенсивности на "голубом" конце или увеличение интенсивности на "красном" конце спектра из-за нормального старения лампы не существенны, так как излучение на этих длинах волн незначительно влияет на величину сигнала, выдаваемого приемным фотоэлементом.
c) Также не существенно установление точности начального значения напряжения постоянного тока, подаваемого на лампу. Так, если вместо 12,0 В постоянного тока подается 12,1 В или 11,9 В, то в первом случае изменяется только абсолютная интенсивность, а во втором - цветовая температура. Эти два параметра, как указано выше, оказывают незначительное влияние на результаты. Решающим параметром является стабильность напряжения, подаваемого на лампу, в пределах очень жестких предельных отклонений. Необходимо поддержание напряжения в пределах +/- 0,01 В в течение всего испытания, и практически не важно, стабилизировано ли напряжение на значениях 11,9; 12,0 или 12,1 В.
d) Приемный фотоэлемент должен работать в пределах своего линейного диапазона. Например элемент на основе селена типа Мегатрон MF 45 <1> становится нелинейным при выходном напряжении 40 мВ. Выходное напряжение в реальных условиях освещения в камере составляет 3,5 мВ.
--------------------------------
<1> Мегатрон MF - пример соответствующего изделия, имеющегося в продаже. Данная информация приведена для ориентации потребителей и не означает, что МЭК одобряет или рекомендует это изделие.
e) Использование стандартных фильтров нейтральной плотности необходимо для подтверждения того, что относительная чувствительность системы из месяца в месяц остается стабильной.
Перед калиброванием фотометрической системы рекомендуется откалибровать фильтры, чтобы подтвердить установленные номинальные значения.
Если после калибрования наблюдается изменение интенсивности светового потока, следует получить подтверждение линейной чувствительности фильтров с помощью соответствующего прибора для измерения интенсивности светового потока.
f) Ввиду относительного характера соотношения

теоретически нет необходимости очищать окна оптической системы перед испытанием. На практике следует обязательно очищать окна после каждого испытания. Это связано с отражением света от окна приемного элемента, интенсивность которого значительно изменяется даже от небольшого количества осевших частиц дыма. Можно получить увеличение передаваемого света при осаждении частиц дыма из-за уменьшения отражательной способности поверхности. Очистка окон после каждого испытания или серии испытаний гарантирует большую сопоставимость результатов.
В качестве варианта допускается для очистки поверхности окна во время испытания использовать непрерывный поток воздуха со скоростью до 2 л/мин.
g) Источник света устанавливают так, чтобы получить рассеянное несфокусированное пятно света по двум причинам. Первая причина уже была указана, главная же состоит в том, чтобы на фотоэлемент падала небольшая часть большого равномерно освещенного пятна. Это позволяет избежать ситуации, когда, например, яркий луч, находящийся вне светового пятна, падающего на элемент, при выделении дыма даст рассеянный свет, который попадет на элемент, что приведет к искаженным показаниям.
Поэтому диаметр светового пятна не должен быть слишком малым и должен соответствовать установленной норме.
(справочное)
СВЕДЕНИЯ О СООТВЕТСТВИИ МЕЖГОСУДАРСТВЕННЫХ СТАНДАРТОВ
ССЫЛОЧНЫМ МЕЖДУНАРОДНЫМ СТАНДАРТАМ
Таблица ДА.1
Обозначение и наименование ссылочного международного стандарта | Степень соответствия | Обозначение и наименование соответствующего межгосударственного стандарта |
ISO/IEC 13943:2005. Пожаробезопасность. Словарь | - | |
IEC 60695-4:2005. Испытания на пожароопасность. Часть 4. Терминология, относящаяся к испытаниям на огнестойкость | - | <*> |
<*> Соответствующий межгосударственный стандарт отсутствует. До его утверждения рекомендуется использовать перевод на русский язык данного международного стандарта. |
[1] IEC 60879:1986 Характеристики рабочие и конструкция электрических
вентиляторов и регуляторов скорости к ним
(IEC 60879:1986. Performance and construction
of electric fans and regulators)