Главная // Актуальные документы // ГОСТ (Государственный стандарт)СПРАВКА
Источник публикации
М.: Стандартинформ, 2019
Примечание к документу
Документ утратил силу с 01.01.2022 в связи с изданием
Приказа Росстандарта от 17.08.2021 N 726-ст. Взамен введен в действие
ГОСТ IEC 60331-2-2021.
Документ включен в
Перечень международных и региональных (межгосударственных) стандартов, а в случае их отсутствия - национальных (государственных) стандартов, содержащих правила и методы исследований (испытаний) и измерений, в том числе правила отбора образцов, необходимые для применения и исполнения требований технического
регламента Таможенного союза "О безопасности низковольтного оборудования" (ТР ТС 004/2011) и осуществления оценки соответствия объектов технического регулирования (
Решение Коллегии Евразийской экономической комиссии от 11.05.2023 N 55).
Документ включен в
Перечень стандартов, содержащих правила и методы исследований (испытаний) и измерений, в том числе правила отбора образцов, необходимые для применения и исполнения требований технического
регламента Таможенного союза "О безопасности низковольтного оборудования" (ТР ТС 004/2011) и осуществления оценки соответствия объектов технического регулирования (
Решение Комиссии Таможенного союза от 16.08.2011 N 768).
Документ
введен в действие с 01.07.2015.
Название документа
"ГОСТ IEC 60331-2-2013. Межгосударственный стандарт. Испытания электрических кабелей в условиях воздействия пламени. Сохранение работоспособности. Часть 2. Метод испытания кабелей на номинальное напряжение до 0,6/1,0 кВ включительно и наружным диаметром не более 20 мм при воздействии пламени температурой не менее 830 °C одновременно с механическим ударом"
(введен в действие Приказом Росстандарта от 19.09.2014 N 1146-ст)
"ГОСТ IEC 60331-2-2013. Межгосударственный стандарт. Испытания электрических кабелей в условиях воздействия пламени. Сохранение работоспособности. Часть 2. Метод испытания кабелей на номинальное напряжение до 0,6/1,0 кВ включительно и наружным диаметром не более 20 мм при воздействии пламени температурой не менее 830 °C одновременно с механическим ударом"
(введен в действие Приказом Росстандарта от 19.09.2014 N 1146-ст)
агентства по техническому
регулированию и метрологии
от 19 сентября 2014 г. N 1146-ст
МЕЖГОСУДАРСТВЕННЫЙ СТАНДАРТ
ИСПЫТАНИЯ ЭЛЕКТРИЧЕСКИХ КАБЕЛЕЙ В УСЛОВИЯХ
ВОЗДЕЙСТВИЯ ПЛАМЕНИ.
СОХРАНЕНИЕ РАБОТОСПОСОБНОСТИ
ЧАСТЬ 2
МЕТОД ИСПЫТАНИЯ КАБЕЛЕЙ НА НОМИНАЛЬНОЕ НАПРЯЖЕНИЕ
ДО 0,6/1,0 кВ ВКЛЮЧИТЕЛЬНО И НАРУЖНЫМ ДИАМЕТРОМ
НЕ БОЛЕЕ 20 мм ПРИ ВОЗДЕЙСТВИИ ПЛАМЕНИ ТЕМПЕРАТУРОЙ
НЕ МЕНЕЕ 830 °C ОДНОВРЕМЕННО С МЕХАНИЧЕСКИМ УДАРОМ
Tests for electric cables under fire conditions.
Circuit integrity. Part 2. Test method for fire
with shock at a temperature of least 830 °C for cables
of rated voltage up to and including 0,6/1,0 kV
and with an overall diameter not exceeding 20 mm
(IEC 60331-2:2009, IDT)
ГОСТ IEC 60331-2-2013
Дата введения
1 июля 2015 года
Цели, основные принципы и общие правила проведения работ по межгосударственной стандартизации установлены
ГОСТ 1.0 "Межгосударственная система стандартизации. Основные положения" и
ГОСТ 1.2 "Межгосударственная система стандартизации. Стандарты межгосударственные, правила и рекомендации по межгосударственной стандартизации. Правила разработки, принятия, обновления и отмены"
1 ПОДГОТОВЛЕН Открытым акционерным обществом "Всероссийский научно-исследовательский, проектно-конструкторский и технологический институт кабельной промышленности (ОАО "ВНИИКП") на основе собственного перевода на русский язык англоязычной версии международного стандарта, указанного в
пункте 5
2 ВНЕСЕН Межгосударственным техническим комитетом по стандартизации МК 46 "Кабельные изделия"
3 ПРИНЯТ Межгосударственным советом по стандартизации, метрологии и сертификации (протокол от 14 ноября 2013 г. N 44, приложение N 24)
За принятие проголосовали:
Краткое наименование страны по МК (ИСО 3166) 004-97 | Код страны по МК (ИСО 3166) 004-97 | Сокращенное наименование национального органа по стандартизации |
Армения | AM | Минэкономики Республики Армения |
Казахстан | KZ | Госстандарт Республики Казахстан |
Киргизия | KG | Кыргызстандарт |
Россия | RU | Росстандарт |
Таджикистан | TJ | Таджикстандарт |
Узбекистан | UZ | Узстандарт |
(Поправка)
4
Приказом Федерального агентства по техническому регулированию и метрологии от 19 сентября 2014 г. N 1146-ст межгосударственный стандарт ГОСТ IEC 60331-2-2013 введен в действие в качестве национального стандарта Российской Федерации с 1 июля 2015 г.
5 Настоящий стандарт идентичен международному стандарту IEC 60331-2:2009 "Испытания электрических кабелей в условиях воздействия пламени. Сохранение работоспособности. Часть 2. Метод испытания кабелей на номинальное напряжение до 0,6/1,0 кВ включительно и наружным диаметром не более 20 мм при воздействии пламени температурой не менее 830 °C одновременно с механическим ударом" ("Tests for electric cables under fire conditions - Circuit integrity - Part 2: Test method for fire with shock at a temperature of least 830 °C for cables of rated voltage up to and including 0,6/1,0 kV and with an overall diameter not exceeding 20 mm", IDT).
При применении настоящего стандарта рекомендуется использовать вместо ссылочных стандартов соответствующие им межгосударственные стандарты, сведения о которых приведены в дополнительном
приложении ДА
6 ВВЕДЕН ВПЕРВЫЕ
7 ИЗДАНИЕ (сентябрь 2019 г.) с Поправкой (ИУС 7-2019)
Информация о введении в действие (прекращении действия) настоящего стандарта и изменений к нему на территории указанных выше государств публикуется в указателях национальных стандартов, издаваемых в этих государствах, а также в сети Интернет на сайтах соответствующих национальных органов по стандартизации.
В случае пересмотра, изменения или отмены настоящего стандарта соответствующая информация будет опубликована на официальном интернет-сайте Межгосударственного совета по стандартизации, метрологии и сертификации в каталоге "Межгосударственные стандарты"
Серия стандартов IEC 60331 состоит из следующих частей под общим наименованием "Испытания электрических кабелей в условиях воздействия пламени. Сохранение работоспособности":
- Часть 1. Метод испытания кабелей на номинальное напряжение до 0,6/1,0 кВ включительно и наружным диаметром более 20 мм при воздействии пламени температурой не менее 830 °C одновременно с механическим ударом;
- Часть 2. Метод испытания кабелей на номинальное напряжение до 0,6/1,0 кВ включительно и наружным диаметром не более 20 мм при воздействии пламени температурой не менее 830 °C одновременно с механическим ударом;
- Часть 3. Метод испытания кабелей на номинальное напряжение до 0,6/1,0 кВ включительно, испытываемых в металлическом корпусе, при воздействии пламени температурой не менее 830 °C одновременно с механическим ударом;
- Часть 11. Испытательное оборудование. Воздействие пламени температурой не менее 750 °C;
- Часть 21. Проведение испытаний и требования к ним. Кабели на номинальное напряжение до 0,6/1,0 кВ включительно;
- Часть 23. Проведение испытаний и требования к ним. Кабели электрические для передачи данных;
- Часть 25. Проведение испытаний и требования к ним. Кабели оптические.
Примечание - Части 21, 23 и 25 касаются условий воздействия пламени температурой не менее 750 °C.
Со времени первого издания IEC 60331 (1970) область его применения расширена, что позволяет использовать испытательное оборудование при испытании силовых кабелей больших и малых размеров, кабелей для передачи данных, контрольных, управления и кабелей оптических.
Положительные результаты испытаний, проведенных в соответствии с настоящим стандартом, являются основанием для нанесения на кабель соответствующей идентификационной маркировки.
Настоящий стандарт устанавливает требования к испытательному оборудованию, используемому при испытании кабелей, с целью определения возможности кабелей сохранять работоспособность при воздействии пламени одновременно с механическим ударом в заданных условиях, а также порядок проведения испытания, в том числе рекомендуемое время воздействия пламени.
Стандарт распространяется на кабели силовые низковольтные на номинальное напряжение до 0,6/1 кВ включительно, кабели управления и контрольные наружным диаметром не более 20 мм.
Примечание - Кабели большего диаметра испытывают в соответствии с требованиями, указанными в IEC 60331-1.
В настоящем стандарте установлены требования к подготовке образцов, аппаратуре для проверки целостности цепи, электрической нагрузке, способу воздействия пламени на кабели, способу выполнения удара и оценке результатов испытаний.
В
приложении A приведен метод проверки источника нагрева и системы контроля, используемых при испытании.
Приведены требования для идентификационной маркировки, которая может быть нанесена на кабель для обозначения его соответствия настоящему стандарту.
В настоящем стандарте использованы нормативные ссылки на следующие стандарты. Для датированных ссылок применяют только указанное издание ссылочного стандарта, для недатированных - последнее издание (включая все изменения).
IEC 60584-1:2013, Thermocouples - Part 1: EMF specifications and tolerances [Термопары. Часть 1. Требования к электродвижущей силе (ЭДС) и допуски]
IEC 60269-3, Low-voltage fuses - Part 3: Supplementary requirements for fuses for use by unskilled persons (fuses mainly for household and similar applications) - Examples of standardized systems of fuses A to F [Предохранители плавкие низковольтные. Часть 3. Дополнительные требования к плавким предохранителям (преимущественно бытового и аналогичного назначения), используемым неквалифицированным персоналом. Примеры стандартизированных систем плавких предохранителей от A до F]
IEC Guide 104, The preparation of safety publications and the use of basic safety publications and group safety publications (Подготовка публикаций по безопасности и использование основополагающих и групповых публикаций по безопасности)
В настоящем стандарте применен следующий термин с соответствующим определением:
3.1 работоспособность (circuit integrity): Способность кабеля продолжать выполнять заданные функции при воздействии установленного источника пламени в течение заданного периода времени в заданных условиях.
Испытание проводят в камере объемом не менее 10 м3, имеющей систему для отвода газов, выделяющихся при горении. Для поддержания устойчивости пламени при испытании камера должна быть оборудована соответствующей вентиляцией.
Температура окружающей среды снаружи камеры должна быть от 10 °C до 40 °C.
При проведении проверки и испытании кабеля в камере должны поддерживаться одни и те же условия вентиляции и экранирования.
Примечания
2 При испытании по настоящему стандарту могут возникать высокие напряжения и температуры. Следует принять меры, предохраняющие от поражения током, воспламенения, пожара, взрыва, которые могут произойти, а также против токсичных газов, которые могут при этом образоваться.
5 Испытательное оборудование
5.1 Испытательное устройство
Испытательное устройство состоит из:
a) испытательной панели по
5.2, на которую крепят кабель;
b) источника нагрева по
5.3;
c) ударного устройства по
5.4;
d) испытательной панели, оборудованной термопарами для контроля источника нагрева в соответствии с
приложением A;
e) аппаратуры для проверки целостности цепи по
5.6;
f) плавких предохранителей по
5.7.
Общее расположение испытательного оборудования показано на
рисунках 1,
2 и
3.
1 - ударное устройство; 2 - стальная опора; 3 - резиновая
втулка; 4 - газовая горелка ленточного типа; 5 - трубка
для подачи воздуха; 6 - трубка для подачи пропана
Рисунок 1 - Схема испытательного устройства
1 - подача воздуха; 2 - панель; 3 - резиновая втулка;
4 - стальная опора; 5 - горизонтальная стальная опора
для панели; 6 - подача пропана
Рисунок 2 - Испытательное устройство (вид сверху)
1 - ударное устройство; 2 - панель; 3 - газовая горелка;
4 - осевая линия фронтальной поверхности горелки;
5 - жесткая опора
Рисунок 3 - Испытательное устройство (вид сбоку)
5.2 Испытательная панель и ее крепление
Испытательная панель состоит из плиты, изготовленной из огнеупорного, негорючего и неметаллического материала, неподвижно прикрепленного к двум горизонтальным стальным опорам, одна в верхней части панели, другая в нижней части панели, как показано на
рисунке 1. Также могут быть использованы вертикальные опоры. Плита должна быть длиной (900 +/- 100) мм, шириной (300 +/- 50) мм и толщиной (10 +/- 2) мм, общая масса испытательной панели (плита и стальные опоры) должна быть (10,0 +/- 0,5) кг. При необходимости на стальные опоры помещают балласт.
На расстоянии не более 100 мм от края панели каждая горизонтальная опора на каждом конце должна иметь отверстия для крепления, точное положение и диаметр которых определяет конкретное исполнение поддерживающих втулок и опорного каркаса. Испытательную панель прикрепляют к жесткому опорному каркасу с помощью четырех соединительных резиновых втулок твердостью от 50 до 60 единиц по Шору (метод A), устанавливаемых между горизонтальными стальными опорами панели и опорным каркасом для обеспечения смещения лестницы при ударе, как показано на
рисунках 1 и
2.
Примечания
1 Опоры, изготовленные из стальной трубы квадратного сечения с приблизительными размерами (25 x 25) мм и имеющие приблизительную длину 1 м, считаются удовлетворяющими условиям испытания.
2 Верхняя опора должна крепиться к плите таким образом, чтобы ее верхняя поверхность была немного выше верхнего края плиты для того, чтобы воздействие ударного устройства приходилось на опору, а не на плиту.
3 Типичная резиновая втулка приведена на
рисунке 4.
Рисунок 4 - Типичная резиновая втулка для крепления
испытательной панели
Для проверки крепления панели следует периодически измерять статический прогиб, возникающий вследствие воздействия массы на центральную часть верхней опоры панели.
Значения массы и прогиба должны соответствовать следующим значениям:
- масса - (25,0 +/- 0,2) кг;
- прогиб - (1,5 +/- 0,3) мм.
5.3.1 Горелка
Источником нагрева является пропановая газовая горелка ленточного типа с номинальной длиной рабочей части 500 мм, работающая со смесителем Вентури. Рекомендуется горелка с подачей питания по центру. Номинальная ширина рабочей части поверхности горелки - 10 мм. На фронтальной поверхности рабочей части горелки должны быть три ступенчатых ряда отверстий номинальным диаметром 1,32 мм, центры которых находятся на расстоянии 3,2 мм друг от друга, как показано на рисунке 5.
Рисунок 5 - Фронтальная поверхность рабочей части горелки
Допускается на каждой боковой стороне горелки ряд дополнительных небольших отверстий для стабилизации и поддержания пламени при горении.
Указания по выбору рекомендуемых систем испытательного оборудования приведены в
приложении B.
5.3.2 Расходомеры и расход газов
В качестве прецизионных устройств контроля расхода топлива и воздуха при подаче их к горелке используют массовые расходомеры/контроллеры.
При проведении испытания температура точки росы воздуха должна быть не более 0 °C.
Расход газов при проведении испытаний должен быть:
- воздуха - (80 +/- 4) л/мин в нормальных условиях (давление газов 1 бар, температура газов 20 °C) или (1600 +/- 80) мг/с;
- пропана - (5,0 +/- 0,2) л/мин в нормальных условиях (давление газов 1 бар, температура газов 20 °C) или (160 +/- 6) мг/с.
Примечания
1 Расходомеры типа ротаметр допускается использовать, но не рекомендуется. Указания по их использованию и применению поправочных коэффициентов приведены в IEC 60331-11, приложение C.
2 Примерная схема системы контроля работы горелки с использованием ротаметра приведена на
рисунке 6.
3 Степень чистоты пропана не регламентирована. Допускается использование пропана промышленных марок, содержащих примеси при условии выполнения требований по калибровке испытательного оборудования.
1 - редуктор; 2 - пьезоэлектрический воспламенитель;
3 - устройство для прерывания работы горелки;
4 - контрольные термопары; 5 - баллон с пропаном;
6 - винтовой клапан (6A - альтернативное расположение);
7 - вспомогательное питание; 8 - поступление газа;
9 - расходомер типа ротаметр; 10 - смеситель Вентури;
11 - горелка; 12 - шаровой вентиль; 13 - система подачи
воздуха; 14 - баллон со сжатым воздухом; 15 - винтовой
клапан предпускового питания
Рисунок 6 - Примерная схема системы контроля подачи
топлива с использованием ротаметров
5.3.3 Проверка
Горелку и систему контроля проверяют методом, приведенным в
приложении A.
Ударное устройство представляет собой круглый стержень из низкоуглеродистой стали диаметром (25,0 +/- 0,1) мм и длиной (600 +/- 5) мм. Стержень свободно вращается вокруг оси, которая параллельна испытательной панели, и находится в горизонтальной плоскости, проходящей через верхний край испытательной панели, на расстоянии (200 +/- 5) мм от нее. Ось делит стержень на две неравные части; больший отрезок длиной (400 +/- 5) мм ударяет по испытательной панели. Стержень падает под тяжестью собственного веса из начального положения под углом к горизонтали, ударяя по верхней стальной опоре испытательной стенки в ее середине, как показано на
рисунках 1 и
3.
5.5 Расположение источника нагрева
Горелку располагают в испытательной камере так, чтобы ее фронтальная поверхность находилась на расстоянии не менее 200 мм над полом камеры или любым массивным блоком испытательной установки и не менее 500 мм от стен камеры.
Горелку располагают напротив центральной части испытуемого кабеля на расстоянии (40 +/- 2) мм по горизонтали от фронтальной поверхности горелки до испытательной панели и на расстоянии (V +/- 2) мм по вертикали от горизонтальной центральной плоскости горелки до центральной горизонтальной плоскости образца, как показано на
рисунках 3 и
A.1, приложение A.
Точное положение горелки при испытании кабеля проверяют методом, приведенным в
приложении A, с помощью которого определяют конкретное значение V.
Примечание - При испытании горелку прочно закрепляют на каркасе для предотвращения ее смещения относительно испытуемого образца.
5.6 Проверка целостности цепи
При испытании для проверки целостности цепи по всем токопроводящим жилам образца пропускают ток. Ток подают от трехфазного трансформатора с соединением "звезда" или однофазного трансформатора (трансформаторов) достаточной мощности для поддержания стабильного испытательного напряжения с учетом максимально допустимого тока утечки.
Требуемую силу тока получают путем подсоединения к каждой токопроводящей жиле или группе жил нагрузочного индикаторного прибора (например, лампы).
Примечания
1 При определении номинальной мощности трансформатора следует предусмотреть плавкие предохранители с соответствующими характеристиками.
2 Ток 0,25 А, пропускаемый по каждой токопроводящей жиле или группе жил, является достаточным.
5.7 Плавкие предохранители
Плавкие предохранители, используемые при испытании по
разделу 7, должны быть типа DII по IEC 60269-3. Допускается использовать прерыватели цепи с эквивалентными параметрами, соответствующими характеристическим кривым, приведенным в IEC 60269-3.
В спорных случаях следует применять плавкие предохранители.
От строительной длины отбирают отрезок кабеля длиной не менее 4,5 м для подготовки образцов. Каждый образец для испытания, должен представлять собой отрезок кабеля длиной не менее 1200 мм, с обоих концов которого должны быть удалены оболочка и другие покрытия на длине около 100 мм.
Концы токопроводящих жил образца должны быть зачищены для электрического подсоединения и разведены в стороны во избежание замыкания.
Образец изгибают приблизительно в U-образную форму. Внутренний радиус каждого изгиба должен соответствовать установленному изготовителем минимальному радиусу изгиба, и общее расстояние между вертикальными частями кабеля должно быть (475 +/- 10) мм, как показано на
рисунке 7.
1 - металлические хомуты;
R - минимальный радиус изгиба кабеля
Рисунок 7 - Способ крепления образца при испытании
Образец крепят по центру испытательной панели, используя металлические хомуты, которые должны быть заземлены. Нижний участок кабеля должен быть на (200 +/- 10) мм ниже верха испытательной панели. P-образные хомуты, изготовленные из металлической ленты шириной (10 +/- 2) мм, должны поддерживать образец на обоих концах закругленной секции и в центре, как показано на
рисунке 7. P-образные хомуты должны иметь приблизительно тот же диаметр, что и испытуемый кабель.
7.1 Испытательное оборудование и его размещение
Образец крепят на испытательной панели и регулируют положение горелки по отношению к образцу в соответствии с
5.5.
7.2 Электрические соединения
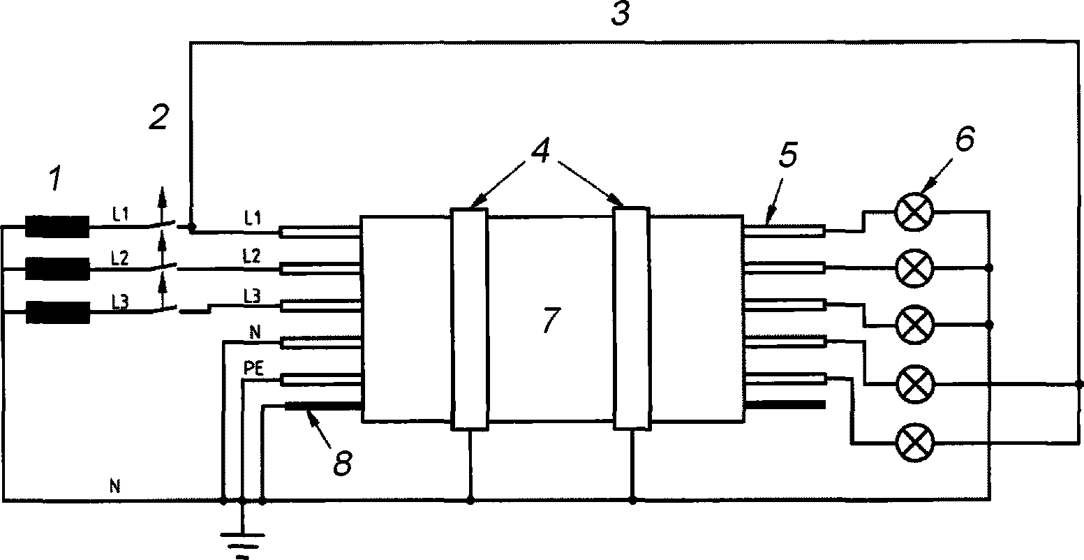
Со стороны конца образца, подсоединенного к трансформатору, заземляют нейтральную и защитную жилы. Металлические экраны, контактную проволоку и металлическое покрытие соединяют между собой и заземляют. Трансформатор (трансформаторы) подсоединяют к токопроводящим жилам, исключая нейтральную или защитную жилы, как показано на
рисунке 8. Если металлическая оболочка, броня или экран выполняют роль нейтральной или защитной жилы, они должны быть подсоединены, как показано на
рисунке 8, в качестве нейтральной или защитной жилы.
1 - трансформатор; 2 - плавкий предохранитель (2 А);
3 - фазы L1, L2 или L3; 4 - металлические зажимы;
5 - испытуемая жила или группа жил; 6 - нагрузочный
индикаторный прибор; 7 - образец; 8 - металлический
экран (при наличии); L1, L2, L3 - фазные жилы (L2, L3
при наличии); N - нейтральная жила (при наличии);
PE - защитная жила (при наличии)
Рисунок 8 - Схема основных соединений. Силовые кабели,
кабели контрольные или управления на номинальное
напряжение до 0,6/1 кВ включительно
Для одно-, двух- или трехфазных кабелей каждую фазную жилу подсоединяют к отдельной фазе трансформатора (трансформаторов) через плавкие предохранители или через прерыватели цепи с эквивалентными характеристиками, рассчитанные на ток 2 А.
Для многожильных кабелей, имеющих четыре или более жил (кроме нейтральной или защитной), жилы делят на три приблизительно равные группы; при этом соседние жилы должны быть по возможности в разных группах.
Для многопарных кабелей жилы делят на две равные группы, при этом одну жилу каждой пары подсоединяют к одной фазе, а другую жилу - к другой фазе (L1 и L2 на
рисунке 8). Четверки рассматривают как две пары.
Для многожильных кабелей, скрученных тройками, жилы делят на три равные группы, при этом одну жилу каждой тройки подсоединяют к одной фазе, вторую жилу - к другой фазе, последующую жилу - к третьей фазе трансформатора (L1, L2 и L3 на
рисунке 8).
Жилы каждой группы соединяют последовательно, а каждую группу подсоединяют к отдельной фазе трансформатора через плавкий предохранитель или прерыватель цепи, рассчитанные на ток 2 А.
Примечания
1 В соответствии с указанным выше, нейтральную жилу заземляют. Нейтральную жилу заземляют, если кабель предназначен для использования в системе, где нейтральная жила не заземляется. Допускается испытывать нейтральную жилу аналогично испытанию фазной жилы, если это указано в стандартах или технических условиях на кабели конкретных марок. Если металлическая оболочка, броня или экран выполняют роль нейтральной жилы, их заземляют. Все перечисленные особенности при проведении испытаний должны быть включены в протокол.
2 Для конструкций кабелей, отличных от указанных выше, испытательное напряжение прикладывают по возможности так, чтобы соседние жилы были подсоединены к разным фазам.
3 В некоторых случаях, например при испытании контрольного кабеля или кабеля управления с использованием трехфазного трансформатора, невозможно одновременное приложение испытательного напряжения номинального значения между жилами и между жилой и землей. В таких случаях значение испытательного напряжения либо между жилами, либо между жилой и землей должно быть равным номинальному значению, так что испытательное напряжение между жилами и испытательное напряжение между жилой и землей будут равны или более значения номинального напряжения.
На конце образца, не подсоединенном к трансформатору:
- каждую фазную жилу или группу жил заземляют через нагрузочный индикаторный прибор
(5.6);
- нейтральную и защитную жилы через нагрузочный индикаторный прибор
(5.6) соединяют с жилой L1, L2 или L3 на конце образца, соединенном с трансформатором (см.
рисунок 8).
7.3 Использование горелки и ударного устройства
Зажигают горелку и устанавливают расход газа и воздуха на уровне значений, полученных при проверке источника нагрева (см.
приложение A).
После включения горелки ударное устройство подготавливают к выполнению удара и включают секундомер для измерения продолжительности испытания. Ударное устройство должно сработать и ударить по стенке спустя 5 мин +/- 10 с после включения горелки, а затем срабатывать через каждые 5 мин +/- 10 с. После каждого удара ударяющий стержень должен быть поднят над испытательной стенкой не более чем за 20 с после удара.
7.4 Воздействие электрического тока
Непосредственно после включения секундомера включают электропитание и устанавливают напряжение на уровне номинального напряжения кабеля (но не менее 100 В переменного тока), т.е. испытательное напряжение между жилами должно быть равно номинальному напряжению между жилами, а испытательное напряжение между жилой и землей должно быть равно номинальному напряжению между жилой и землей.
Испытание проводят в течение времени, указанного в
8.1, после чего пламя гасят.
8 Оценка результатов испытания
8.1 Время воздействия пламени
Время воздействия пламени должно быть установлено в стандартах или технических условиях на кабели конкретных марок. Если время воздействия пламени не установлено, то продолжительность воздействия пламени и работы ударного устройства выбирают из ряда: 30, 60, 90, 120 мин.
Кабель считают сохраняющим работоспособность в течение установленного времени в условиях испытания по
разделу 7, если:
- напряжение приложено в течение всего испытания, плавкий предохранитель не перегорает или не отключается прерыватель цепи;
- токопроводящая жила не разрушается, лампа не гаснет.
9 Проведение повторного испытания
При получении неудовлетворительных результатов проводят испытание двух дополнительных образцов, отобранных от того же отрезка кабеля, взятого для проведения испытания. Результаты испытания считают удовлетворительными, если оба образца соответствуют установленным требованиям.
Протокол испытания должен содержать следующую информацию:
a) обозначение настоящего стандарта;
b) подробное описание испытуемого кабеля;
c) наименование изготовителя испытуемого кабеля;
d) значение испытательного напряжения;
e) фактический радиус изгиба кабеля при испытании;
f) критерии оценки результатов испытания по
разделу 8;
g) время воздействия пламени;
h) объем испытательной камеры и значение температуры в начале испытания.
Если требуется маркировать кабель для обозначения его соответствия настоящему стандарту, маркировка должна содержать номер международного стандарта и длительность воздействия пламени IEC 60331-2 (XX), где XX - длительность в минутах. Данную маркировку наносят дополнительно к обязательной маркировке, соответствующей требованиям стандарта или технических условий на кабели конкретных марок.
(обязательное)
МЕТОДИКА ПРОВЕРКИ ИСТОЧНИКА НАГРЕВА
A.1 Измерительное оборудование
Температуру пламени измеряют с помощью двух термопар диаметром 1,5 мм с минеральной изоляцией и в оболочке из нержавеющей стали, соответствующих типу K по IEC 60584-1, установленных на испытательной панели, как показано на
рисунке A.1. Кончики термопар должны находиться на расстоянии (10 +/- 0,5) мм от фронтальной стороны испытательной панели. Горизонтальная осевая линия термопар должна находиться примерно на (100 +/- 10) мм выше нижнего края панели. Панель представляет собой плиту из теплостойкого негорючего неметаллического материала длиной (900 +/- 100) мм, высотой (300 +/- 50) мм и толщиной (10 +/- 2) мм.
Горелку помещают на расстоянии (40 +/- 10) мм от стенки по горизонтали и на (65 +/- 10) мм ниже осевой линии термопар по вертикали (V), как показано на
рисунке A.1.
1 - опоры для термопар; 2 - кончик термопары; 3 - горелка;
4 - термопара типа K диаметром 1,5 мм в оболочке
Рисунок A.1 - Расположение системы измерения температуры
A.2 Порядок проведения проверки
Горелку зажигают и регулируют подачу газа и воздуха до значений, указанных в
5.3.
Для обеспечения стабильных условий контролируют температуру по показаниям термопар в течение 10 мин.
Результат проверки считают удовлетворительным, если:
a) среднее значение усредненных показаний каждой из двух термопар в течение 10 мин находится в пределах

и
b) разность усредненных показаний каждой из двух термопар не превышает 40 °C.
Для получения среднего значения каждые 30 с проводят не менее одного измерения.
Примечание - Метод получения среднего значения показаний термопары в течение заданного периода не установлен, однако для уменьшения разброса результатов, обусловленного точечным измерением, рекомендуется использовать записывающую аппаратуру с устройством для усреднения значений.
Если результаты проверки неудовлетворительные, расход газов следует изменить в пределах допуска, указанного в
5.3, и провести новую проверку.
A.4 Новая проверка
Если результаты проверки по
A.3 неудовлетворительные, следует изменить расстояние по вертикали V между горелкой и термопарами (в пределах допуска, указанного в
A.1) и провести новую проверку.
Если в пределах указанных допусков нельзя получить удовлетворительный результат, систему горелки считают не соответствующей требованиям настоящего стандарта.
A.5 Отчет по результатам проверки
Значение расстояния V, при котором получен удовлетворительный результат, и используемые расходы газов фиксируют.
(справочное)
РУКОВОДСТВО ПО ВЫБОРУ РЕКОМЕНДУЕМОГО
ИСПЫТАТЕЛЬНОГО ОБОРУДОВАНИЯ
B.1 Горелка и смеситель Вентури
Для испытаний можно использовать продукцию компании AGF:
- рабочую часть горелки, соответствующую требованиям настоящего стандарта (код продукта 11-55), а также пятисотмиллиметровую горелку (код продукта 1857B), включающую в себя указанную рабочую часть;
- смеситель Вентури (код продукта 14-18)
<1>.
Адрес для обращений:
Pemfab, 30 Indel Avenue, PO Box 227, Rancocas, New Jersey 08073-0227, USA,
www.amgasfur.com или www.pemfab.com.
B.2 Материалы для испытательной панели
Примерами материалов
<1>, пригодных для изготовления испытательной панели, могут служить следующие:
a) Tenmat Limited, UK - Sindanyo H61;
b) Frenzelit-Werke, Germany - Isoplan 1100;
c) Skamol, Denmark - Skamolex V-1100 Mk.2;
d) Elit, France - Monolax 500.
--------------------------------
<1> Данная информация приведена для сведения потребителей и не означает, что МЭК одобряет или рекомендует именно этот продукт. Допускается использование аналогичных изделий, если очевидно, что их применение приведет к тем же результатам.
B.3 Влияние сквозняков в испытательной камере
На форму пламени влияют сквозняки в испытательной камере. Для защиты горелки от прямого воздействия потоков воздуха следует применять соответствующие экраны.
B.4 Указания по подготовке испытательной камеры
Камера должна иметь достаточный объем, чтобы выбросы пламени во время горения не изменяли условий испытания. Опыт показывает, что этому условию удовлетворяет камера, имеющая форму куба со стороной 3 м по IEC 61034-1, но допускается использовать другие камеры соответствующего объема. Для наблюдения за кабелем во время испытания в стены камеры встраивают окна. Дым должен выводиться через трубу, размещенную не более 1 м от горелки. Для изменения условий вентиляции используют регулятор тяги.
Поступление воздуха обеспечивают через отверстия, размещенные у основания камеры. Отверстия для поступления воздуха и дымовую трубу располагают так, чтобы пламя горелки не изменялось в течение проверки и испытания.
(справочное)
СВЕДЕНИЯ О СООТВЕТСТВИИ ССЫЛОЧНЫХ МЕЖДУНАРОДНЫХ
СТАНДАРТОВ МЕЖГОСУДАРСТВЕННЫМ СТАНДАРТАМ
Таблица ДА.1
Обозначение ссылочного международного стандарта | Степень соответствия | Обозначение и наименование соответствующего межгосударственного стандарта |
IEC 60584-1:2013 | - | <*> |
IEC 60269-3 | - | <*> |
IEC Guide 104 | - | <*> |
<*> Соответствующий межгосударственный стандарт отсутствует. До его принятия рекомендуется использовать перевод на русский язык данного международного стандарта. |
[1] | IEC 60331-1 | Tests for electric cables under fire conditions - Circuit integrity - Part 1: Test method for fire with shock at a temperature of least 830 °C for cables of rated voltage up to and including 0,6/1,0 kV and with an overall diameter exceeding 20 mm (Испытания электрических кабелей в условиях воздействия пламени. Сохранение работоспособности. Часть 1. Метод испытания кабелей на номинальное напряжение до 0,6/1,0 кВ включительно и наружным диаметром более 20 мм при воздействии пламени температурой не менее 830 °C одновременно с механическим ударом) |
[2] | IEC 60331-11:1999 | Tests for electric cables under fire conditions - Circuit integrity - Part 11: Apparatus - Fire alone at a flame temperature of at least 750 °C (Испытания электрических кабелей в условиях воздействия пламени. Сохранение работоспособности. Часть 11. Испытательное оборудование. Воздействие пламени температурой не менее 750 °C) |
[3] | IEC 61034-1 | Measurement of smoke density of cables burning under defined conditions - Part 1: Test apparatus (Измерение плотности дыма при горении кабелей в заданных условиях. Часть 1. Испытательное оборудование) |
УДК 621.315.2.001.4:006.354 | |
Ключевые слова: электрические кабели, работоспособность при воздействии пламени и механического удара, испытания, испытательное оборудование |