Главная // Актуальные документы // ГОСТ (Государственный стандарт)СПРАВКА
Источник публикации
М.: Стандартинформ, 2015
Примечание к документу
Документ утратил силу на территории Российской Федерации с 01.04.2024 в связи с изданием
Приказа Росстандарта от 28.03.2024 N 365-ст. Взамен введен в действие
ГОСТ EN 303-5-2013.
Документ включен в
Перечень международных и региональных (межгосударственных) стандартов, а в случае их отсутствия - национальных (государственных) стандартов, в результате применения которых на добровольной основе обеспечивается соблюдение требований технического
регламента Таможенного союза "О безопасности машин и оборудования" (ТР ТС 010/2011) и в
Перечень международных и региональных (межгосударственных) стандартов, а в случае их отсутствия - национальных (государственных) стандартов, содержащих правила и методы исследований (испытаний) и измерений, в том числе правила отбора образцов, необходимые для применения и исполнения требований технического
регламента Таможенного союза "О безопасности машин и оборудования" (ТР ТС 010/2011) и осуществления оценки соответствия объектов технического регулирования (
Решение Коллегии Евразийской экономической комиссии от 09.03.2021 N 28).
Документ
введен в действие с 01.01.2016.
Название документа
"ГОСТ 33016-2014 (EN 303-5:2012). Межгосударственный стандарт. Котлы отопительные для твердого топлива с ручной и автоматической загрузкой номинальной тепловой мощностью до 500 кВт. Терминология, требования, методы испытаний и маркировка"
(введен в действие Приказом Росстандарта от 09.06.2015 N 589-ст)
"ГОСТ 33016-2014 (EN 303-5:2012). Межгосударственный стандарт. Котлы отопительные для твердого топлива с ручной и автоматической загрузкой номинальной тепловой мощностью до 500 кВт. Терминология, требования, методы испытаний и маркировка"
(введен в действие Приказом Росстандарта от 09.06.2015 N 589-ст)
агентства по техническому
регулированию и метрологии
от 9 июня 2015 г. N 589-ст
МЕЖГОСУДАРСТВЕННЫЙ СТАНДАРТ
КОТЛЫ ОТОПИТЕЛЬНЫЕ ДЛЯ ТВЕРДОГО ТОПЛИВА
С РУЧНОЙ И АВТОМАТИЧЕСКОЙ ЗАГРУЗКОЙ
НОМИНАЛЬНОЙ ТЕПЛОВОЙ МОЩНОСТЬЮ ДО 500 кВт
ТЕРМИНОЛОГИЯ, ТРЕБОВАНИЯ, МЕТОДЫ ИСПЫТАНИЙ И МАРКИРОВКА
Heating boilers for solid fuels, manually and automatically
stoked, nominal heat output of up to 500 kW. Terminology,
requirements, test methods and marking
(EN 303-5:2012, MOD)
ГОСТ 33016-2014
(EN 303-5:2012)
Дата введения
1 января 2016 года
Цели, основные принципы и порядок проведения работ по межгосударственной стандартизации установлены
ГОСТ 1.0-92 "Межгосударственная система стандартизации. Основные положения" и
ГОСТ 1.2-2009 "Межгосударственная система стандартизации. Стандарты межгосударственные, правила и рекомендации по межгосударственной стандартизации. Правила разработки, принятия, применения, обновления и отмены"
1 ПОДГОТОВЛЕН Федеральным государственным унитарным предприятием "Всероссийский научно-исследовательский институт стандартизации и сертификации в машиностроении" (ВНИИНМАШ) и Обществом с ограниченной ответственностью "Сертификационно-испытательный центр электротехнических изделий и газового оборудования" (ООО "СИЦ ЭТИГАЗ") на основе собственного аутентичного перевода на русский язык англоязычной версии стандарта, указанного в
пункте 5
2 ВНЕСЕН Федеральным агентством по техническому регулированию и метрологии (Росстандарт)
3 ПРИНЯТ Межгосударственным советом по стандартизации, метрологии и сертификации (протокол от 5 декабря 2014 г. N 46)
За принятие проголосовали:
Краткое наименование страны по МК (ИСО 3166) 004-97 | Код страны по МК (ИСО 3166) 004-97 | Сокращенное наименование национального органа по стандартизации |
Армения | AM | Минэкономики Республики Армения |
Киргизия | KG | Кыргызстандарт |
Россия | RU | Росстандарт |
Таджикистан | TJ | Таджикстандарт |
Узбекистан | UZ | Узстандарт |
Украина | UA | Минэкономразвития Украины |
4
Приказом Федерального агентства по техническому регулированию и метрологии от 9 июня 2015 г. N 589-ст межгосударственный стандарт ГОСТ 33016-2014 (EN 303-5:2012) введен в действие в качестве национального стандарта Российской Федерации с 1 января 2016 г.
5 Настоящий стандарт модифицирован по отношению к европейскому региональному стандарту EN 303-5:2012 Heating boilers - Part 5: Heating boilers for solid fuels, manually and automatically stoked, nominal heat output of up to 500 kW - Terminology, requirements, testing and marking (Котлы отопительные. Часть 5. Отопительные котлы на твердом топливе с ручной и автоматической загрузкой топки и номинальной теплотворной способностью до 500 кВт. Терминология, требования, испытания и маркировка) путем изменения отдельных фраз (слов, значений показателей, ссылок), которые выделены в тексте курсивом.
Наименование настоящего стандарта приведено в соответствие с правилами, установленными в ГОСТ 1.5-2001
(подраздел 3.6).
Перевод с английского языка (en).
Степень соответствия - модифицированная (MOD)
6 ВВЕДЕН ВПЕРВЫЕ
Информация об изменениях к настоящему стандарту публикуется в ежегодном информационном указателе "Национальные стандарты" (по состоянию на 1 января текущего года), а текст изменений и поправок - в ежемесячном информационном указателе "Национальные стандарты". В случае пересмотра (замены) или отмены настоящего стандарта соответствующее уведомление будет опубликовано в ежемесячном информационном указателе "Национальные стандарты". Соответствующая информация, уведомление и тексты размещаются также в информационной системе общего пользования - на официальном сайте Федерального агентства по техническому регулированию и метрологии в сети Интернет
Настоящий стандарт распространяется на котлы отопительные номинальной теплопроизводительностью до 500 кВт, предназначенные для сжигания твердого топлива, с естественной или принудительной подачей воздуха на горение, ручной или автоматической загрузкой топлива.
Настоящий стандарт определяет терминологию, конструктивные и эксплуатационные требования, требования по безопасности и качеству сгорания, методы испытаний, требования к маркировке и техническому обслуживанию отопительных котлов, работающих на твердом топливе.
Настоящий стандарт распространяется на отопительные котлы, предназначенные для систем центрального отопления, в которых теплоносителем является вода с максимально допустимой температурой 110 °C, и максимально допустимым давлением 0,6 МПа.
Настоящий стандарт распространяется на отопительные котлы со встроенным или пристроенным водонагревателем (емкостным или проточным) для горячего водоснабжения, но только на отопительную часть котла.
Настоящий стандарт не распространяется:
- на отопительные котлы и другие нагревательные приборы, которые рассчитаны на прямой обогрев помещения, в котором установлен котел;
- приборы для приготовления пищи;
- топливные бункеры, автоматические конвейерные системы для подачи топлива в топку и предохранительные устройства отопительного котла.
Отопительные котлы могут использовать минеральное, биогенное или другое твердое топливо, указанное в руководстве по эксплуатации, соответствующее требованиям настоящего стандарта.
В качестве твердого топлива в настоящем стандарте рассматриваются:
1.2.1 Биогенные виды топлива
Биомасса в естественном состоянии в следующем виде:
A - кусковая древесина (дрова) с влажностью
w <= 25% согласно
[1];
B1 - измельченная древесина (древесина, измельченная в результате механической обработки машиной, с корой или без коры, как правило, максимальной длиной до 15 см), с влажностью
w от 15% до 35% в соответствии с
[2];
B2 - измельченная древесина как в B1, но с влажностью w > 35%;
C1 - прессованная древесина (пеллеты без связующего вещества, сделанные из дерева и/или частиц коры; допустимы природные связующие вещества, такие как патока, растительные парафины и крахмал); гранулы в соответствии с
[3];
C2 - прессованная древесина (брикеты без связующего вещества из древесины и/или частиц коры; допустимы природные связующие вещества, такие как патока, растительные парафины и крахмал); брикеты в соответствии с
[4].
D - опилки с влажностью w <= 50%;
E - недревесная биомасса, например, солома, тростник, камыш, жмых и шрот из орехов и семян согласно
[5].
1.2.2 Ископаемые виды топлива:
a - каменный уголь;
b - бурый уголь;
c - кокс;
d - антрацит.
1.2.3 Прочие виды твердого топлива:
e - торф или виды топлива промышленного производства согласно
[6].
В настоящем стандарте использованы нормативные ссылки на следующие стандарты:
ГОСТ 21.602-2003 Система проектной документации для строительства. Правила выполнения рабочей документации отопления, вентиляции и кондиционирования
ГОСТ 1412-85 Чугун с пластинчатым графитом для отливок. Марки
ГОСТ 2533-88 Калибры для трубной цилиндрической резьбы. Допуски
ГОСТ 29297-92 Сварка, высокотемпературная и низкотемпературная пайка, пайкосварка металлов. Перечень и условные обозначения процессов
ГОСТ 6211-81 Основные нормы взаимозаменяемости. Резьба трубная коническая
ГОСТ 6357-81 Основные нормы взаимозаменяемости. Резьба трубная цилиндрическая
ГОСТ 7157-79 Калибры для трубной конической резьбы. Типы. Основные размеры и допуски
ГОСТ МЭК 60335-1-2008 Бытовые и аналогичные электрические приборы. Безопасность. Часть 1. Общие требования
| | ИС МЕГАНОРМ: примечание. ГОСТ IEC 60730-1-2011 утратил силу с 01.07.2017 в связи с введением в действие ГОСТ IEC 60730-1-2016 (Приказ Росстандарта от 11.10.2016 N 1371-ст). | |
ГОСТ IEC 60730-1-2011 Автоматические электрические управляющие устройства бытового и аналогичного назначения. Часть 1. Общие требования
ГОСТ IEC 60730-2-5-2012 Автоматические электрические управляющие устройства бытового и аналогичного назначения. Часть 2-5. Дополнительные требования к автоматическим электрическим устройствам управления горелками
ГОСТ IEC 60730-2-9-2011 Автоматические электрические управляющие устройства бытового и аналогичного назначения. Часть 2-9. Частные требования к термочувствительным управляющим устройствам
Примечание - При пользовании настоящим стандартом целесообразно проверить действие ссылочных стандартов в информационной системе общего пользования - на официальном сайте Федерального агентства по техническому регулированию и метрологии в сети Интернет или по ежегодному информационному указателю "Национальные стандарты", который опубликован по состоянию на 1 января текущего года, и по выпускам ежемесячного информационного указателя "Национальные стандарты" за текущий год. Если ссылочный стандарт заменен (изменен), то при пользовании настоящим стандартом следует руководствоваться заменяющим (измененным) стандартом. Если ссылочный стандарт отменен без замены, то положение, в котором дана ссылка на него, применяется в части, не затрагивающей эту ссылку.
В настоящем стандарте применены термины по
[7], а также следующие термины с соответствующими определениями:
3.1 максимально допустимое рабочее давление: Максимальное давление, при котором обеспечивается безопасная работа котла.
Примечание - Максимальное рабочее давление меньше, чем испытательное и типовое испытательное давление.
3.2 испытательное давление: Давление, которому подвергаются котлы и их части в процессе производства на предприятии-изготовителе или на месте установки.
3.3 типовое испытательное давление: Давление, которому подвергают опытные образцы отопительных котлов и их детали перед пуском в серийное производство на предприятии-изготовителе.
3.4 максимальная допустимая температура: Максимально допустимая температура воды в отопительном котле, ограниченная устройствами безопасности.
3.5 рабочая температура: Диапазон температур, при котором котел работает в нормальном режиме, в соответствии со значением, установленным на терморегуляторе воды в котле, и спецификациями изготовителя.
3.6 теплопроизводительность Q: Количество тепла, переданное теплоносителю (воде) за единицу времени.
Примечание - Теплопроизводительность для котлов на твердом топливе является средним значением теплопроизводительности за соответствующий испытательный период.
3.7 номинальная теплопроизводительность QN: Максимальная непрерывная теплопроизводительность, указанная в руководстве по эксплуатации.
3.8 минимальная теплопроизводительность Qmin: Минимальная теплопроизводительность, указанная в руководстве по эксплуатации для каждого типа топлива в соответствии с требованиями настоящего стандарта и поддерживаемая автоматическим регулятором.
Примечание - Минимальная теплопроизводительность может достигаться при периодическом режиме работы.
3.9 минимальная непрерывная теплопроизводительность QminC: Минимальная теплопроизводительность отопительного котла, указанная в руководстве по эксплуатации в соответствии в соответствии с требованиями настоящего стандарта для каждого типа топлива, поддерживаемая автоматическим регулятором; может быть достигнута в периодическом режиме работы.
3.10 диапазон теплопроизводительности: Диапазон теплопроизводительности между минимальной и номинальной теплопроизводительностью, на который может быть отрегулирован отопительный котел в соответствии с требованиями настоящего стандарта.
3.11 частичная нагрузка T: Коэффициент, выраженный отношением теплопроизводительности к номинальной теплопроизводительности, %.
Примечание -

.
3.12 режим частичной нагрузки: Режим работы с пониженной теплопроизводительностью в пределах диапазона теплопроизводительности, который достигается с помощью автоматического регулятора.
3.13 периодический режим работы: Режим работы, при котором ограничение теплопроизводительности или температуры отопительного котла достигается автоматически путем включения или отключения подачи топлива и/или подачи воздуха для горения.
3.14 тепловая мощность QB: Количество тепла, которое выделяется при сгорании топлива в единицу времени.
3.15 КПД котла

, %: Отношение теплопроизводительности к тепловой мощности.
Примечание -

.
3.16 тяга: Разность между статическим давлением воздуха в помещении, где установлен отопительный котел, и статическим давлением дымовых газов в вытяжном патрубке котла.
3.17 аэродинамическое сопротивление газохода: Разность между статическим давлением в топке и статическим давлением дымовых газов, измеренным в вытяжном патрубке котла.
3.18 газоплотность: Герметичность загрузочного устройства, камеры сгорания, каналов газохода и секций котла по отношению к помещению, в котором установлен котел.
3.19 температура дымовых газов: Температура, измеренная в вытяжном патрубке котла.
3.20 гидравлическое сопротивление: Потери давления в котле, измеренные в прямом и обратном патрубках котла при объемном расходе воды, соответствующем номинальной теплопроизводительности.
3.21 терморегулятор: Устройство, определяющее и регулирующее температуру воды в отопительном котле.
3.22 защитный термостат STB: Устройство, обеспечивающее защитное отключение и энергонезависимую блокировку котла для предотвращения превышения заранее установленного значения температуры воды, при котором возврат в исходное положение возможен только вручную или с помощью инструмента, и который предлагает как минимум следующие способы действия: тип 2B, тип 2K, тип 2P и тип 2V и по выбору один из следующих способов действия: тип 2F и тип 2N.
Примечания
1 Настройки данного устройства фиксированные или могут изменяться только с помощью специального инструмента.
2 При способе действия типа 2N также возможен способ действия типа 2K.
| | ИС МЕГАНОРМ: примечание. ГОСТ IEC 60730-1-2011 утратил силу с 01.07.2017 в связи с введением в действие ГОСТ IEC 60730-1-2016 (Приказ Росстандарта от 11.10.2016 N 1371-ст). | |
3.23 предохранительный теплообменник: Устройство для отвода избыточного тепла из отопительного котла, служащее для ограничения максимальной температуры воды в котле.
3.24 предохранительное сливное устройство с термореле STW: Устройство, действующее в качестве тепловой байпасной защиты теплогенерирующих систем на твердом топливе, которое определяет температуру нагретой среды и вызывает отвод энергии, для чего открывается регулирующее устройство, например клапан.
Примечания
1 Параметры данного устройства жестко установлены.
2 Как правило, речь идет о механическом устройстве. Данная функция может быть реализована с помощью реле STW, которое управляет клапаном. Обычно это механическое устройство.
3.25 испытательное топливо: Характерное для своего типа топливо стандартного коммерческого качества, используемое для испытаний котлов.
3.26 устройство загрузки топлива: Устройство для подачи топлива в топку, включая транспортирующее устройство между загрузочным устройством и встроенным топливным бункером.
3.27 ручная загрузка топлива: Подача топлива вручную через равные промежутки времени, определяемые выгоранием и тепловой мощностью.
3.28 автоматическая загрузка: Подача топлива автоматическим устройством непрерывно или периодически в зависимости от тепловой мощности.
3.29 продолжительность горения: Продолжительность выгорания разовой максимально возможной закладки топлива до восстановления горящего слоя топлива согласно руководству по эксплуатации.
3.30 номинальная продолжительность горения TB: Продолжительность горения при номинальной теплопроизводительности.
3.31 пусковое устройство: Устройство, которое в открытом состоянии сокращает путь продуктов сгорания к вытяжному патрубку; может служить также для розжига или препятствования осаждению сажи в дымоходе.
3.32 встроенный топливный бункер: Бункер для топлива, являющийся составной частью автоматически загружаемого отопительного котла.
Примечание - Загрузка топливного бункера осуществляется порциями.
3.33 загрузочная камера: Часть отопительного котла с ручной загрузкой топлива, из которой топливо подается на сгорание, без соединения с внешним хранилищем топлива.
Примечание - Загрузочная камера представляет собой резервуар, необходимый для достаточного увеличения продолжительности горения.
3.34 топка: Часть отопительного котла, в которой осуществляется термическая подготовка и/или горение топлива.
Примечание - Топка может также быть частью загрузочной камеры.
3.35 установка очистки дымовых газов: Технические устройства для снижения количества загрязняющих веществ, содержащихся в дымовых газах.
3.36 зольная камера: Изолированное пространство, служащее для приема твердых продуктов сгорания (зола, шлак).
3.37 буферный накопитель: Накопительный бойлер, который сохраняет избыточное тепло, являющееся разницей между теплопроизводительностью котла и теплом, отданным системе отопления.
3.38 быстроотключаемая система горения: Система горения, в которой в любом режиме работы или в случае неисправности (например, при отключении подачи электроэнергии или внезапном нарушении отвода тепла) производство тепла может быть прервано так быстро, чтобы опасные рабочие состояния не могли возникнуть ни в водяном контуре, ни в системе горения.
3.39 опасное рабочее состояние: Повышение температуры воды в котле выше 110 °C, формирование взрывоопасной газо-воздушной смеси (CO > 5% объема топки) в топке и/или в топочном тракте, перегрев компонентов котла, выброс пламени или газов в помещение, где установлен котел.
3.40 частично отключаемая система горения: Система горения, при которой существенная часть теплопроизводительности с помощью регулирующих или предохранительных устройств может быть быстро отключена, не вызывая опасных режимов системы горения.
3.41 остаточная теплопроизводительность: Оставшаяся часть теплопроизводительности, которая продолжает передаваться со стороны горения в водяной контур после выключения котла регуляторами или предохранительными устройствами.
3.42 устройство зажигания: Устройство для зажигания топлива в топке.
Примечание - Зажигание может осуществляться вручную, автоматически или посредством горящего слоя топлива. Зажигание может, например, осуществляться с помощью подачи вентилятором горячего воздуха, электрической свечи зажигания.
3.43 проскок пламени: Состояние, в котором топливо загорается на участке подачи (загрузки) топлива и горение распространяется на склад топлива или топливный бункер.
Примечание - Проскок пламени может происходить тремя путями:
a) прямое распространение зоны горения топлива на участок подачи топлива либо топливный бункер;
b) через обратный поток и зажигание раскаленных газов на участке подачи топлива либо в топливном бункере;
c) через передачу тепла на участок подачи топлива либо в топливный бункер.
3.44 защита от проскока пламени: Одно или несколько самостоятельных устройств, позволяющих предотвратить проскок пламени, включая огнетушительные устройства.
3.45 огнетушитель: Устройство для самостоятельного подавления проскока пламени в устройстве загрузки топлива, на участке подачи топлива или в топливном бункере.
3.46 направление подачи: Направление, в котором подается топливо при загрузке в топку (горизонтальное, поступательное, возвратное).
3.47 пыль: Частицы любой формы, структуры или плотности, распределенные в газовой фазе в точке выборки, которые могут быть собраны путем фильтрации при определенных условиях по репрезентативной выборке, и которые остаются перед фильтром и на фильтре после сушки при определенных условиях.
3.48 регулируемое отключение: Процесс, при котором прекращается подача топлива или воздуха для горения как следствие функции управления.
3.49 защитное отключение: Процесс, при котором немедленно прекращается подача топлива или воздуха для горения как следствие защитной функции или регистрации сбоя защитной функции.
3.50 энергонезависимая блокировка: Защитное отключение котла, при котором повторный запуск котла может быть проведен только вручную.
3.51 режим ожидания: Режим работы без теплоотдачи, в котором при подаче тепловой нагрузки котел может перейти в нужный режим работы.
Котлы должны быть огнестойкими и безопасными в эксплуатации. Они должны быть изготовлены из несгораемых материалов в соответствии с
[8] и иметь такую конструкцию:
a) чтобы выдерживать напряжения, возникающие при эксплуатации в соответствии с назначением;
b) чтобы теплоноситель (вода) не нагревался до опасных значений (<= 110 °C);
c) чтобы не допускалась утечка газов в опасных количествах из самого котла, устройства загрузки топлива, топливного бункера в помещение, где установлен котел или линия подачи топлива.
Примечание - Требования по технике безопасности в отношении опасных концентраций существенно зависят от места установки котла и системы подачи из места хранения топлива, а эти два вопроса не входят в область применения настоящего стандарта. Это требование очевидно выполняется, если соблюдены требования по газонепроницаемости и выбросам, и не происходит заметная утечка дымовых газов в воздух помещения при номинальных рабочих условиях во время типовых испытаний;
d) во время планового обслуживания топки из нее не выбивается пламя и не выпадают горящие угли;
e) не допускается опасное скопление взрывоопасных газов (> 5% CO) в топке и топочном тракте.
Для определения опасных состояний концентрация CO на измерительном участке не должна превышать критическое значение больше, чем на 1 минуту.
Горючие материалы допускается использовать для:
f) компонентов органов управления, КИП и предохранительных устройств;
g) ручек управления;
h) электрооборудования;
i) компонентов принадлежностей (например, корпуса горелок);
j) дополнительных оптических покрытий (например, декоративных покрытий).
Компоненты корпуса, устройств контроля, управления и безопасности, а также электрооборудование должны соответствовать требованиям по тепло- и пожаростойкости согласно
ГОСТ МЭК 60335-1.
Компоненты принадлежностей, устройств контроля, управления и безопасности, а также электрооборудование должны быть расположены таким образом, чтобы температура на их поверхности в стабильных условиях не превышала значений, заданных изготовителем или приведенных в соответствующем стандарте.
Материалы для компонентов под давлением должны соответствовать общепризнанным техническим правилам. Они должны соответствовать предполагаемому назначению и типу обработки. Механические и физические свойства, а также химический состав материала должны обеспечиваться изготовителем материала.
Конструкция котла должна обеспечивать безопасное обращение с котлом, надежность хранения и упаковки без повреждений.
Если вес, размеры или форма не позволяют двигать котел или его компоненты вручную, должна быть предусмотрена возможность слегка его приподнять.
Открытые компоненты, которые доступны во время эксплуатации и технического обслуживания котла, не должны иметь острые кромки и углы, которые могут травмировать оператора и обслуживающий персонал.
Крепление двигателей и вентиляторов должно обеспечивать минимальный уровень шума и вибрации.
4.2. Требования по изготовлению
4.2.1 Техническая документация на изделие
4.2.1.1 Чертежи
Чертежи отопительного котла и приложенная к ним документация должны содержать следующую информацию:
a) заданные материалы;
b) способ сварки, вид шва (достаточно указать условное обозначение сварочного шва);
c) максимальная допустимая рабочая температура, °C;
d) максимальное допустимое рабочее давление, МПа;
e) испытательное давление, МПа;
f) номинальная теплопроизводительность или диапазон теплопроизводительности для отдельных типоразмеров котлов в кВт в зависимости от предусмотренного топлива/видов топлива.
4.2.1.2 Производственный контроль
Руководство по качеству должно быть составлено для проверки и испытаний, необходимых в процессе производства.
Данное руководство должно:
1) описывать систему контроля;
2) указать лицо, ответственное за обеспечение качества;
3) указывать необходимые проверки и испытания, а также соответствующие предельные значения;
4) определять необходимое контрольно-измерительное оборудование и его контроль.
4.2.2 Отопительные котлы из стали/отопительные котлы из цветных металлов
4.2.2.1 Проведение сварочных работ
Изготовитель котла, который проводит сварочные работы, должен соблюдать требования
[9] и
[10]:
- сварочные работы должны проводиться аттестованными сварщиками, которые обладают необходимой квалификацией для применяемых материалов;
- в сварочных работах должны применяться только специальные устройства, которые обеспечивают надежность и безотказность сварочных работ;
- должен быть предусмотрен персонал, осуществляющий профессиональный контроль сварочных работ (как минимум старший рабочий или бригадир должны иметь соответствующую квалификацию).
4.2.2.2 Сварные швы и присадочные материалы
Материалы должны быть пригодны для сварки.
Примечание - Материалы, указанные в таблице 1, пригодны для выполнения сварки и не требуют дополнительной термической обработки после сварки.
Таблица 1
Эталонный стандарт | Тип материала | Код материала (согласно [15]) |
| E235 | 1.0308 |
S235JR | 1.0037 |
S235JRG2 | 1.0038 |
S235J0 | 1.0114 |
S235J2G3 | 1.0116 |
S275JR | 1.0044 |
S275J0 | 1.0143 |
S275J2G3 | 1.0144 |
S355J2H | 1.0576 |
S355JR | 1.0045 |
S355J0 | 1.0553 |
S355J2G3 | 1.0570 |
S355K2G3 | 1.0595 |
| P195TR1 | 1.0107 |
P235TR1 | 1.0254 |
P235GH | 1.0345 |
| P265GH | 1.0425 |
| P355NL1 | 1.0566 |
P295GH | 1.0481 |
P355GH | 1.0473 |
16Mo3 | 1.5415 |
15NiCuMoNb5-6-4 | 1.6368 |
13CrMo4-5 | 1.7335 |
10CrMo9-10 | 1.7380 |
11CrMo9-10 | 1.7383 |
| X5CrNi18-10 | 1.4301 |
X5CrNi17-12-2 | 1.4401 |
| | ИС МЕГАНОРМ: примечание. Текст в графе "Тип материала" дан в соответствии с официальным текстом документа. | |
|
| X2CrNiM017-13-2 | 1.4404 |
X6CrNiTi18-10 | 1.4541 |
X6CrNiNb18-10 | 1.4550 |
X2CrMnNiN22-5-2 | 1.4162 |
X2CrNiN23-4 | 1.4362 |
X2CrNiMoN22-5-3 | 1.4462 |
X1NiCrMoCuN25-20-7 | 1.4529 |
X1NiCrMoCuN25-20-5 | 1.4539 |
X6CrNiMoTi17-12-2 | 1.4571 |
X6CrNiMoNb17-12-2 | 1.4580 |
X3CrNiMo17-3-3 | 1.4436 |
| P245GH | 1.0352 |
В сварных соединениях должны отсутствовать трещины и дефекты сварки; стыковые соединения не должны иметь дефекты по всему поперечному сечению. Односторонние угловые швы и полу-Y-образные сварные швы со сквозной сваркой не должны подвергаться напряжению на изгиб. Дымогарные трубы, вставные опоры и аналогичные компоненты не требуют двусторонней сварки.
Сварные соединения с двумя угловыми швами допускаются только при достаточном охлаждении. Выступы в сторону газового контура в областях высоких термических нагрузок не допускаются.
Угловые, торцевые и аналогичные сварные соединения, подвергаемые в процессе производства и эксплуатации высоким напряжениям на изгиб, не допускаются.
При сварке продольных балочных опор или опор труб поперечное сечение среза должно составлять не менее 1,2 требуемого поперечного сечения опоры балки или трубы.
Подробные сведения об указанных сварных швах и соответствующих толщинах материалов приведены в таблице 2.
Таблица 2
Сварные соединения и сварочные процессы
Наименование сварного шва | Толщина материала t, мм | | Примечание |
1.1 Стыковой без скоса кромок: | До 6 (8) | 135 12 131 111 | Допустимо до t = 8 мм при использовании электродов глубокого проплавления или сварке с обеих сторон |
|
1.2 Стыковой без скоса кромок | От 6 до 12 | 12 | Зазор между свариваемыми кромками от 2 до 4 мм с фиксацией кромок и подкладкой |
|
1.3 Стыковой двусторонний без скоса кромок | Более 8 до 12 | 135 12 111 | Зазор между свариваемыми кромками от 2 до 4 мм. При ручной сварке должны быть применены электроды глубокого проплавления |
|
1.4 Стыковой со скосом кромок | До 12 | 111 | Предварительная разделка кромок 60° |
|
1.5 Стыковой со скосом кромок | До 12 | 135 12 | Предварительная разделка кромок от 30° до 50° в зависимости от толщины материала |
|
1.6 Двусторонний стыковой с двумя симметричными скосами кромок | Более 12 | 135 12 | Предварительная разделка кромок от 30° до 50° в зависимости от толщины материала |
|
1.7 Нахлесточный односторонний | До 6 | 135 12 | Швы должны быть в основном свободны от напряжений изгиба. Непригодно для поверхностей нагрева s = t |
|
1.8 Нахлесточный двусторонний | До 6 | 135 12 111 | Непригодно для поверхностей нагрева s = t |
|
2 Угловой без скоса кромок | До 6 | 135 12 111 | Швы должны быть в основном свободны от напряжений изгиба a = t |
|
2.1 Угловой двусторонний без скоса кромок | До 12 | 135 12 111 | a = t |
|
Более 12 | 132 12 111 | a = 2/3t |
2.2 Угловой двусторонний с двумя симметричными скосами одной кромки | До 12 | 135 12 111 | a = t |
|
Более 12 | 135 12 111 | a = 2/3t |
2.3 Угловой односторонний со скосом одной кромки | До 12 | 135 12 111 | Для 111  |
|
Более 12 | 135 12 | Для 135, 12  |
2.4 Угловой односторонний со скосом одной кромки | До 12 | 135 12 111 | Для 111  Для 135, 12  |
|
2.5 Угловой односторонний без скоса кромок для приварки труб с выступающими концами | До 12 | 135 111 | Края труб не должны выступать за пределы шва, если он подвержен тепловому излучению |
|
2.6 Угловой односторонний для приварки труб без выступающих концов | До 6 | 135 111 | Приварка трубы, находящейся в зоне высоких тепловых нагрузок a = t |
|
2.7 Угловой односторонний со скосом одной кромки для приварки труб без выступающих концов | | 135 111 | Приварка трубы, находящейся в зоне высоких тепловых нагрузок Для 111  Для 135  |
|
| | ИС МЕГАНОРМ: примечание. Текст дан в соответствии с официальным текстом документа. | |
|
<*> Номера процессов сварки в соответствии с ГОСТ 29297 следующие: 12 - сварка с погруженной дугой; 111 - дуговая сварка металлическим электродом с покрытием; 131 - дуговая сварка металлическим электродом в инертном газе; 135 - дуговая сварка металлическим электродом в активном газе; 141 - дуговая сварка вольфрамовым электродом в инертном газе. |
Сварочные присадки должны соответствовать основному материалу сварного соединения.
4.2.2.3 Детали из стали под давлением
Должны применяться марки стали, указанные в
таблице 1.
Прочие материалы и толщины стенок могут применяться при изготовлении только в том случае, если для соответствующего случая применения может быть указана одинаковая коррозионная термостойкость и механическая прочность в сравнении с примененными в
таблице 1 материалами и толщинами стенок.
Качество материалов должно определяться заводскими сертификатами согласно
[14]. Эти документы должны быть представлены изготовителем котла. Это требование не распространяется на мелкие детали, например муфты до типоразмера DN 50, винты и гайки.
Допускается также лазерная сварка при условии выполнения требований
[23],
[24],
[25] и
[26].
4.2.2.4 Минимальные толщины стенок
Минимальные толщины стенок, указанные в таблице 3, определены с учетом следующих факторов:
a) максимальное допустимое рабочее давление;
b) номинальная теплопроизводительность;
c) свойства материала.
Таблица 3
Минимальные толщины стенок
Номинальная теплопроизводительность, кВт | Углеродистая сталь | Нержавеющая сталь и сталь с противокоррозионным покрытием |
a, мм | b, мм | c, мм | d, мм | e, мм | a, мм | b, мм | c, мм | d, мм | e, мм |
QN <= 100 | 5 | 4 | 3,2 | 3 | 4 | 3 | 2 | 1,5 | 2 | 3 |
100 < QN <= 300 | 5 | 4 | 3,2 | 4 | 4 | 3 | 2 | 1,5 | 2 | 3 |
300 < QN <= 500 | 6 | 5 | 3,2 | 4 | 4 | 4 | 2 | 1,5 | 2 | 3 |
Примечание - Столбец a: для контактирующих с огнем и водой стенок загрузочных камер и топок. Столбец b: для стенок конвективных поверхностей нагрева (кроме трубок с круглым сечением) вне топок. Столбец c: для трубок с круглым сечением конвективных поверхностей нагрева вне топок. Столбец d: для стенок, контактирующих только с водой. Столбец e: для трубок колосниковых решеток с водяным охлаждением. |
Для котлов, состоящих из отдельных геометрически одинаковых частей (секций), минимальная толщина стенки для общей теплопроизводительности котла должна определяться в соответствии с требованиями для отдельных частей (секций) котла в соответствии с
таблицей 3.
Допуски на толщину стенки для углеродистых сталей должны соответствовать значениям, указанным в
[27].
Для листовой стали, труб (кроме погружных змеевиков и предохранительных теплообменников) и штампованных деталей под давлением применяются значения минимальной толщины стенок, указанные в
таблице 3. Меньшая толщина стенок допускается только в том случае, если могут быть достигнуты эквивалентные значения коррозионной, тепловой стойкости и механической прочности.
4.2.3 Котлы из чугуна
4.2.3.1 Общие сведения
Изготовитель должен иметь в штате персонал и оборудование для проведения необходимых испытаний материалов. В процессе производства котлов и других частей из чугуна, подвергающихся давлению, следующие испытания должны проводиться на отдельных отлитых образцах для испытания для каждой партии отливок:
1) испытание на растяжение - согласно
ГОСТ 1412 и
ГОСТ 7293. Для подтвержденных в испытаниях характеристик применяются значения
таблицы 4;
2) химический анализ (C, Si, Mn, P, S);
3) испытание на твердость по Бринеллю согласно
[28];
4) ударная вязкость образца с надрезом (для шаровидного графита в чугуне).
| | ИС МЕГАНОРМ: примечание. При публикации в издании М.: Стандартинформ, 2015 допущен типографский брак. Текст, пропущенный в официальном тексте документа, в электронной версии данного документа выделен треугольными скобками. | |
Результаты этих испытаний должны регистрироваться в журналах изготовителя с подписью ответственного за проведение заводских испытаний, или быть отражены в свидетельстве о заводских <...> таниях в соответствии с
[14]. Свидетельства и журналы регистрации подлежат хранению изготовителем в течение не менее пяти лет и должны быть доступны для проверки.
Ремонт частей, подвергаемых давлению, методом сварки недопустим.
4.2.3.2 Детали из чугуна, работающие под давлением
Механические свойства чугуна, используемого для деталей (элементов), работающих под давлением, как минимум должны соответствовать значениям, приведенным в таблице 4.
Таблица 4
Минимальные требования к чугуну
Вид чугуна | Предел прочности на разрыв Rm, Н/мм2 | Твердость по Бринеллю | Ударная вязкость образца с надрезом |
Чугун с пластинчатым графитом (согласно ГОСТ 1412) | > 150 | 160 - 220 HB | - |
Чугун с шаровидным графитом (согласно ГОСТ 7293) | > 400 | - | >= 23 Дж/см2 |
4.2.3.3 Минимальные толщины стенок
Толщины стенки, заданные конструкторской документацией, должны быть не менее значений, приведенных в таблице 5. Фактическая минимальная толщина стенки секций котлов и других деталей, работающих под давлением, должна быть не менее 0,8 от значения, указанного в рабочих чертежах.
Таблица 5
Минимальная толщина стенки литых секций котлов
Номинальная теплопроизводительность, кВт | Минимальная толщина стенки <a> для чугуна |
с пластинчатым графитом, мм | шаровидным графитом (ферритного чугуна), мм |
QN <= 30 | 3,5 | 3,0 |
30 < QN <= 70 | 4,0 | 3,5 |
70 < QN <= 300 | 4,5 | 4,0 |
300 < QN <= 500 | 5,5 | 5,0 |
<a> Для отопительных котлов с ископаемыми видами топлива, с биогенным топливом необходимо добавить 0,5 мм. |
Меньшая толщина стенок допускается только в том случае, если могут быть достигнуты эквивалентные значения коррозионной, тепловой стойкости и механической прочности.
Для котлов, состоящих из отдельных геометрически одинаковых частей (секций), минимальная толщина стенки для общей теплопроизводительности котла должна определяться в соответствии с требованиями для отдельных частей (секций) котла в соответствии с
таблицей 5.
4.2.4 Требования по конфигурации
4.2.4.1 Продувка водяных контуров
Конструкция котла и его деталей должна обеспечивать полное удаление воздуха из водяных контуров.
Конструкция отопительного котла и его компонентов должна при нормальных рабочих условиях (в соответствии с инструкциями изготовителя по эксплуатации и монтажу) исключать кипение.
Примечание - Кипение можно распознать по соответствующему шуму.
4.2.4.2 Очистка поверхностей нагрева
Поверхности нагрева должны быть доступны со стороны газового тракта для осмотра и очистки химическими средствами и щетками через достаточное количество отверстий для очистки с соответствующим расположением. Если для очистки и обслуживания котла требуются специальные инструменты (например, специальные щетки), они должны поставляться вместе с котлом.
4.2.4.3 Контроль пламени
Должно быть предусмотрено устройство контроля пламени или горящего слоя топлива. Если это устройство - дверь, необходимо обеспечить возможность безопасного контроля.
Примечание - Рекомендуется предусмотреть в конструкции смотровое стекло.
4.2.4.4 Водонепроницаемость
Отверстия для винтов и аналогичных деталей, используемых для присоединения съемных частей, не должны выходить в пространство водного контура. Данное требование не применяют к гнездам для размещения измерительного, контрольного оборудования и оборудования, обеспечивающего безопасность работ.
4.2.4.5 Запасные части
Сменные детали и запасные части (например, прокладки, фасонные огнеупорные кирпичи, турбулизаторы и т.д.) должны быть сконструированы, изготовлены или маркированы таким образом, чтобы при соблюдении инструкций изготовителя обеспечивалась их правильная установка.
4.2.4.6 Соединения для водоводов
Патрубки с резьбой должны соответствовать
ГОСТ 6211,
ГОСТ 7157,
ГОСТ 6357 и
ГОСТ 2533; фланцевые соединения должны соответствовать стандартам
[29],
[30] и
[31]. Расположение соединений должно быть таким, чтобы к ним обеспечивался удобный доступ и выполнялись все функции соответствующих соединений. Вокруг соединений должно быть достаточно свободного пространства для подключения соединительных труб (с помощью фланцев и резьбовых штуцеров) с использованием необходимого инструмента.
Не рекомендуется применять резьбовые соединения наружным диаметром более двух дюймов (более 50 мм, DN 50). Резьбовые соединения с наружным диаметром более трех дюймов (более 80 мм, DN 80) не допускаются. При использовании фланцевых соединений контр-фланцы с уплотнителями должны входить в комплект поставки котла, кроме случаев со стандартными фланцами.
Минимальный размер соединения для подающего водовода должен быть DN 20.
Котел должен иметь не менее одного соединения для наполнения и опорожнения. Это соединение может быть общим. Размер соединения должен быть не менее:
- G 1/2 - для номинальной теплопроизводительности до 70 кВт;
- G 3/4 - для номинальной теплопроизводительности свыше 70 кВт.
Допускается устанавливать эти соединения вне котла, если обеспечивается удовлетворительное его наполнение и опорожнение.
4.2.4.7 Подключения для устройств управления, КИП и защитного термостата
Каждый котел должен иметь соединительные гнезда для подключения регулятора температуры, защитного термостата и термометра. В случае применения резьбовых соединений они должны иметь минимальный номинальный диаметр резьбы G 1/2.
Отклонения допускаются при условии, что контрольные приборы поставляются в комплекте с котлом, и они не могут быть заменены другими компонентами.
Погружные гильзы для датчиков должны быть выбраны таким образом, чтобы исключить случайное изменение положения термодатчиков.
Место установки погружных гильз для датчиков следует определять так, чтобы температура воды в котле записывалась с достаточной точностью. В случае, если должны быть предусмотрены дополнительные подключения для предохранительных устройств, таких как датчик давления, манометр, устройство автоматического отключения при низком уровне воды, а также предохранительный клапан, их размеры, особенно предохранительного клапана, должны быть определены в соответствии с выходным отверстием котла.
Примечание - Дополнительные сведения по предохранительному клапану приведены в
ГОСТ 21.602.
4.2.4.8 Теплоизоляция
Все котлы должны быть оборудованы теплоизоляцией. Теплоизоляция должна выдерживать нормальные тепловые и механические напряжения. Она должна быть изготовлена из негорючего материала и не выделять вредные пары в нормальном режиме работы.
4.2.4.9 Гидравлическое сопротивление котла
Гидравлическое сопротивление котла следует определять для расхода воды, соответствующего номинальной производительности при разнице температуры воды на входе и выходе котла в 10 °C и 20 °C. Для каждого типоразмера котла эти значения указывают в кПа, и данные значения должны соответствовать значениям, указанным производителем.
4.2.4.10 Топливный бункер
У отопительных котлов со встроенным топливным бункером, топливный бункер должен быть выполнен из негорючих материалов согласно
[32]. Объем топливного бункера не должен превышать 1,5 м
3. Топливный бункер должен иметь конструкцию, обеспечивающую беспрепятственное ссыпание топлива, пока бункер не будет пуст.
4.2.4.11 Загрузочная камера
Конструкция загрузочной камеры должна обеспечивать беспрепятственное ссыпание топлива и требующуюся продолжительность горения.
4.2.4.12 Зольная камера
Емкость зольной камеры при условии применения предусмотренного типа топлива, номинальной теплопроизводительности и поддержании беспрепятственной подачи воздуха под колосниковую решетку должна обеспечивать горение топлива в течение не менее 12 ч.
Данное требование считается выполненным, если предусмотрены устройства для автоматического удаления золы и шлака.
4.3. Требования безопасности
Потенциальные опасности, связанные с отопительными котлами, а также с режимом горения и загрузочным устройством, следует исключать путем принятия конструктивных мер либо с установки защитных и предохранительных устройств. Безопасность должна сохраняться и при возможном отказе предохранительного устройства.
Изготовитель котла должен провести оценку риска всех возможных опасностей, связанных с отопительным котлом, и описать в концепции безопасности меры по избежанию и контролю этих опасностей. Эта концепция безопасности должна классифицировать и соответственно реализовать функции регулирования и управления. Оценка рисков должна проводиться по
[33] с особым учетом конструкции котла и примененного топлива.
Классы безопасности функций регулирования и контроля определяются следующим образом:
Класс A: Функции регулирования и контроля, которые не являются надежными с точки зрения безопасности.
| | ИС МЕГАНОРМ: примечание. ГОСТ IEC 60730-1-2011 утратил силу с 01.07.2017 в связи с введением в действие ГОСТ IEC 60730-1-2016 (Приказ Росстандарта от 11.10.2016 N 1371-ст). | |
Класс B: Функции регулирования и контроля, которые должны препятствовать созданию опасной ситуации. Отказ функций регулирования и контроля не ведет непосредственно к опасной ситуации. Согласно ГОСТ IEC 60730-1 требуется оценка каждой отдельной ошибки регулирующего и контрольного устройства, включая применение программного обеспечения класса B.
Класс C: Функции регулирования и контроля, которые предназначены для предотвращения конкретных опасностей, таких как взрывы, либо отказ которых может привести непосредственно к повреждению прибора. Требуется оценка согласно ГОСТ IEC 60730-1 двух независимых ошибок регулирующего и контрольного устройства, включая применение программного обеспечения класса C.
Если функции безопасности реализованы посредством программируемого электронного устройства регулирования и контроля, программное обеспечение должно соответствовать требованиям соответствующего программного обеспечения класса B и C (включая оценку ошибки согласно
ГОСТ IEC 60730-2-9 в сочетании с
ГОСТ IEC 60730-1.
Оценка рисков должна охватывать по крайней мере следующее:
- функции котла, включая запуск, продувку, зажигание, контроль пламени, поток дымовых газов, регулирование тепловой нагрузки и процесса горения.
При оценке рисков каждой выявленной опасности должен быть присвоен один из указанных выше классов безопасности функций регулирования и управления.
Срабатывание защитной функции класса B или C по крайней мере должно вести к прекращению подачи топлива.
4.3.2 Ручная загрузка топлива
Отопительные котлы для ручной загрузки должны быть оборудованы таким образом, чтобы при эксплуатации в соответствии с назначением котла и руководством по эксплуатации изготовителя для оператора котла не возникали опасные ситуации, например, при открывании загрузочного люка или топки (выброс полукоксового газа).
4.3.3 Защита от проскока пламени на автоматических отопительных котлах
Конструкция автоматических систем загрузки топлива должна исключать возможность проскока пламени.
Опасность проскока пламени классифицируется как риск класса безопасности C согласно
4.3.1 в соответствии с движущими силами - теплопередачей, обратным потоком раскаленных и/или взрывоопасных газов и распространением горящего слоя топлива на зону подачи топлива (см.
4.3.3.2,
4.3.3.3 и
4.3.3.4). Чтобы предотвратить проскок пламени, следует принять конструктивные меры либо установить одно или несколько защитных устройств.
Примечание - Обработка риска проскока пламени по классу безопасности C предусматривает необходимость принятия достаточных мер по обеспечению безопасности.
Соответствующие конструктивные меры либо предохранительные устройства должны:
a) функционировать по принципу обесточивания;
b) предотвращать проскок пламени в случае отказа подачи питания;
c) предотвращать проскок пламени в случае отказа или отключения устройства загрузки топлива.
Чтобы продемонстрировать достаточную защиту от проскока пламени, анализ безопасности должен фиксировать, какие меры были использованы, чтобы исключить указанные три механизма проскока пламени с учетом соответствующего типа котла. Документирование принятых мер должно содержать описание примененных предохранительных устройств.
Как минимум одно из использованных предохранительных устройств должно работать в случае остановки устройства загрузки топлива (например, блокировка шнекового транспортера).
Следует избегать следующего:
b) обратный поток взрывоопасных продуктов сгорания (см.
4.3.3.3);
c) распространение горящего слоя топлива в направлении участка подачи топлива (см.
4.3.3.4).
Температура поверхности устройства загрузки топлива (без теплоизоляции) или встроенного топливного бункера не должна превышать 85 °C при любом режиме работы или в случае неисправности. Если это требование выполнено с помощью конструктивных мер, дополнительные предохранительные устройства не требуются.
Теплопередача проверяется во время испытаний согласно
5.7 (теплотехнические испытания при номинальной и частичной нагрузке),
5.13 -
5.16 и после отключения путем постоянных измерений температуры, пока не будет достигнут максимум. Дополнительные сведения в доказательство требования см. в
5.16.4.
Принятые решения по предотвращению перегрева устройства загрузки топлива следующие:
- устройство пожаротушения, например спринклерная система и защитный термостат, установленный на максимум в 95 °C;
- аварийное опорожнение устройства загрузки топлива без переполнения котла, срабатывающее при температуре ниже 95 °C (или в качестве альтернативы, в случае превышения температуры на 20 °C выше рабочей температуры);
- устройство загрузки топлива с водяным охлаждением, при котором температура воды поддерживается защитным термостатом STB (например, если водяной контур встроен в контур котла).
Приемлемые решения, предохраняющие от перегрева встроенный топливный бункер из-за теплопередачи в дополнение к приемлемым решениям против перегрева устройства загрузки топлива:
- устройство пожаротушения во встроенном топливном бункере и защитный термостат STB, установленный на 95 °C;
- достаточная теплоизоляция встроенного топливного бункера от раскаленных компонентов котла;
- естественно вентилируемое пространство между встроенным топливным бункером и корпусом котла (например, отдельный кожух).
Критерии интерпретации принятых решений приведены в
таблице B.1.
Испытание согласно
5.16.4 не является обязательным, если принятое решение реализуется, а анализ рисков доказывает пригодность во взаимодействии котла, топки и алгоритмов регулирования. Если анализ рисков показывает дополнительные риски, следует провести дополнительные испытания.
4.3.3.3 Обратный поток горючих продуктов сгорания в зону подачи топлива либо во встроенный топливный бункер
Значительное количество продуктов сгорания, содержащих горючую концентрацию или критическое количество энергии для воспламенения древесины (например, искры или раскаленные газы), не должно превышать конструктивные меры или предохранительные устройства в направлении подачи топлива или встроенного топливного бака. По другим соображениям безопасности (например, чтобы исключить отравление угарным газом) обратный поток газообразных продуктов сгорания должен быть предотвращен в любом случае, см.
4.1.
Примечание - Существуют такие признаки значительного обратного потока, например:
a) повышение температуры более чем на 20 °C по сравнению с режимом работы без обратного потока;
b) концентрация CO выше 1% (по объему сухого газа) в зоне подачи топлива в любом рабочем состоянии либо в случае отказа;
c) скопление дыма в топливном бункере.
Это требование применимо в ходе испытаний согласно
5.7 (теплотехнические испытания при номинальной и частичной нагрузке), включая зажигание, запуск, непрерывную работу и отключение) и
5.13 -
5.16.
Принятые решения для предотвращения обратного потока:
- предохранительное устройство, которое постоянно изолирует устройство загрузки топлива от участка подачи топлива, например, шлюз лопастного дозатора;
- предохранительное устройство, которое изолирует устройство загрузки топлива от зоны подачи топлива на всех этапах рабочего цикла, кроме этапа подачи топлива (например, клапан), в сочетании с котлом, который работает под разрежением (требование герметичности в закрытом состоянии, как и в случае предохранительных устройств с постоянной изоляцией);
- герметичный топливный бункер в сочетании с выравниванием давления, который действует в нормальном режиме, а также при запуске, отключении и отказе подачи электропитания. Просачивание горячих газов в топливный бункер следует исключить с помощью соединения зоны подачи топлива и топливного бункера посредством выравнивания давлений. Данное соединение должно иметь такие размеры, чтобы обеспечить выравнивание давления, но не ускорять распространение пламени. Крышка топливного бункера должна быть оборудована концевым переключателем (в соответствии с H27 согласно ГОСТ IEC 60730-2-5), который перекрывает подачу воздуха для горения при открытой крышке;
- герметично закрывающаяся крышка топливного бункера в сочетании с отопительным котлом, работающим под разрежением. Просачивание горячих газов в топливный бункер следует исключить путем использования естественной тяги (например, шнековый транспортер). Крышка топливного бункера должна быть оборудована концевым переключателем (в соответствии с H27 согласно ГОСТ IEC 60730-2-5), который перекрывает подачу воздуха для горения при открытой крышке;
- использование направленного потока, который обеспечивает устойчивое соотношение давлений, например, сопло инжектора с предохранительным устройством, которое следит за скоростью вращения вентилятора и при срабатывании перекрывает подачу топлива.
Примечание - Другие решения: Вытяжной вентилятор, который обеспечивает пониженное давление в котле по сравнению с участком подачи топлива, в сочетании с предохранительным устройством, контролирующим работу вытяжного вентилятора, отслеживая скорость вращения или давление, и в сочетании с дополнительным предохранительным устройством блокировки обратного потока в случае отказа вытяжного вентилятора или сбоя питания.
Критерии интерпретации принятых решений приведены в
таблице B.1.
Испытание согласно
5.16.4 не является обязательным, если принятое решение реализуется, а анализ рисков доказывает пригодность во взаимодействии котла, топки и алгоритмов регулирования. Если анализ рисков показывает дополнительные риски, следует провести дополнительные испытания.
4.3.3.4 Распространение огня на участок подачи топлива либо во встроенный топливный бункер
Распространение огня на участок подачи топлива либо во встроенный топливный бункер должно быть предотвращено в любых условиях работы и при любой неисправности. Данное требование не включает термическую реакцию или небольшое количество топлива на конце загрузочного устройства, если эта реакция не распространяется на участок подачи топлива.
Примечание - Признаки распространения огня, например:
a) повышение температуры более чем на 20 °C в загрузочном устройстве по сравнению с нормальным рабочим режимом;
b) температура поверхности загрузочного устройства выше 85 °C;
c) скопление дыма во встроенном топливном бункере.
Это требование должно быть проверено в ходе испытаний согласно
5.7 (теплотехнические испытания при номинальной нагрузке и частичной нагрузке) и
5.13 -
5.16 при условии непрерывного измерения температуры, пока не будет достигнут максимум температуры.
Принятые решения для предотвращения расширения огня:
- устройство пожаротушения, например, спринклерная система и защитный термостат (STB), установленный на максимум в 95 °C;
- предохранительное устройство, которое постоянно изолирует загрузочное устройство от участка подачи топлива (например, барабанный шлюз) в сочетании с достаточным удалением от топлива, диаметром и конструкцией, которые позволяют исключить возможность переполнения бункера;
- предохранительное устройство, которое изолирует загрузочное устройство от зоны подачи топлива на всех этапах рабочего цикла, кроме этапа подачи топлива (например, клапан), в сочетании с котлом, который работает под разрежением (требование герметичности в закрытом состоянии, как и в случае предохранительных устройств с постоянной изоляцией) в сочетании с конструкцией, с целью исключить переполнение, и при достаточном удалении от топлива и диаметром;
- аварийное опорожнение загрузочного устройства без переполнения котла, с максимальной температурой 95 °C (либо на 20 °C выше в сравнении с нормальными условиями эксплуатации);
- шнековый транспортер в сочетании с загрузочной шахтой или ссыпным желобом в топку и защитный термостат с максимальной температурой срабатывания не выше 95 °C.
Критерии интерпретации принятых решений приведены в
таблице B.1.
Испытание согласно
5.16.4 не является обязательным, если принятое решение реализуется, а анализ рисков доказывает пригодность во взаимодействии котла, топки и алгоритмов регулирования. Если анализ рисков показывает дополнительные риски, следует провести дополнительные испытания.
4.3.3.5 Альтернативное доказательство отсутствия опасности проскока пламени
В случае отклонения от
4.3.3.2 -
4.3.3.4 следует проверить отсутствие опасности проскока пламени в соответствии со следующим способом как комбинация анализа рисков с достоверными испытаниями альтернативных предохранительных устройств согласно критериям
5.16.1, если:
- не выбрано ни одно из принятых решений, либо
- анализ риска не показал пригодность принятого решения для соответствующей конструкции котла, либо
- принятые решения в отношении проскока пламени не применимы (если, например, имеющаяся конструкция котла не годится или не обеспечена герметичность), необходимо провести дополнительные испытания согласно
5.16.5.
Испытания должна проводить независимая лаборатория с регистрацией результатов в акте испытаний, который содержит описание испытанного образца и испытательной конструкции, способ проведения испытаний на проскок пламени, условия и результаты испытания.
4.3.4 Защита от излишней загрузки топлива или отключении подачи топлива
Работа котла на этапе запуска и в режиме непрерывной загрузки при загрузочном устройстве, установленном на максимальную производительность, либо при отключении загрузочного устройства не должна приводить к опасной ситуации.
Испытание на перегрузку подачи топлива согласно
5.16.2 можно не проводить, если предохранительное устройство класса безопасности C согласно
4.3.1 блокирует работу с перегрузкой.
Отопительный котел должен быть оборудован предохранительным устройством отключения подачи топлива, если горение в топке недостаточное или отсутствует.
Испытания на прекращение подачи топлива согласно
5.16.2 можно не проводить, если применяется предохранительное устройство класса B или C согласно
4.3.1.
На этапе зажигания при недостаточном или отсутствующем горении предохранительное устройство должно прерывать подачу топлива, если превышено безопасное время для функции запуска горения, указанное изготовителем. Ошибка предохранительного устройства при определении недостаточного горения не должна приводить к опасной ситуации.
4.3.5 Защита от отсутствия воздуха для горения или от неполного сгорания
Если воздух подается вентилятором или регуляторами подачи воздуха на воздухозаборе, испытания должны проводиться согласно
5.16.3. Одновременно должно учитываться сочетание функции вентилятора с неправильной настройкой регуляторов подачи воздуха, либо неправильная настройка различных регуляторов подачи воздуха с различными приводами.
Объемная концентрация CO не должна превышать 5%.
4.3.6 Температуры поверхностей
Температура поверхности на внешней стороне котла (включая пол и дверцы котла, исключая выход дымовых газов и обслуживающие отверстия для котлов с естественной тягой) должна превышать температуру воздуха в помещении не более чем на 60 °C, если испытание проводилось согласно
5.12. Требование применительно к полу можно не принимать во внимание, если изготовитель котла предписывает устанавливать котел на основание из негорючих материалов.
В случае испытаний согласно
5.12 температура поверхности ручек управления и всех деталей, к которым оператор прикасается рукой во время эксплуатации отопительного котла, может превышать температуру в помещении не более чем на следующие значения:
- 35 °C - для металлов и аналогичных материалов;
- 45 °C - для фарфора и аналогичных материалов;
- 60 °C - для пластмасс и аналогичных материалов.
Для котлов, рассчитанных на работу при избыточном давлении в топке, утечка воздуха в соответствии с испытаниями согласно
5.6 при испытательном давлении, соответствующем 1,2-кратному аэродинамическому сопротивлению котла, должна быть не более 2% расхода дымовых газов при номинальной теплопроизводительности.
Аэродинамическое сопротивление определяется при максимальном заполнении загрузочной камеры (согласно инструкции производителя).
Примечание - Для котлов с разрежением в топке скорость утечки должна быть согласно
5.6.
4.3.8 Терморегуляторы и защитные термостаты
4.3.8.1 Общие сведения
Для каждого котла в зависимости от типа системы управления и защиты агрегата, и места, в котором устанавливается котел, должны быть предусмотрены указанные в следующих пунктах регулирующие и предохранительные устройства, а также соответствующие возможности установки. Необходимое оборудование поставляет изготовитель котла или в монтажных инструкциях приводят точные спецификации для монтажа, в частности предельные значения и временные константы для защитного термостата.
4.3.8.2 Терморегуляторы и защитные ограничители температуры для открытых систем отопления
Для использования в физически защищенных отопительных системах (температура ограничивается давлением в системе) предусмотрено следующее оборудование согласно требованиям стандарта
[34]:
- терморегулятор;
- защитный термостат (с ручным возвратом).
Защитный термостат может быть опущен, если система управления горением не является ни быстро отключаемой, ни частично отключаемой, поскольку в этих случаях (например, в случае с отопительными котлами без автоматической подачи воздуха для горения и/или автоматической подачи топлива) избыточное тепло отводится через открытое соединение в атмосферу в виде пара.
4.3.8.3 Терморегуляторы и защитные термостаты для закрытых систем отопления
Для использования в термостатически защищенных отопительных системах горение должно быстро или частично выключаться и/или неотведенное тепло и остаточная теплопроизводительность должна надежно отводиться через предохранительный теплообменник или другие эквивалентные устройства. В соответствии с этим должны различаться следующие варианты оборудования согласно требованиям
ГОСТ 21.602:
a) быстро отключаемая система горения; требующееся оборудование состоит из следующих компонентов:
1) терморегулятор,
2) защитный термостат (с ручным возвратом);
b) частично отключаемая система горения; требующееся оборудование состоит из следующих компонентов:
1) терморегулятор,
2) защитный термостат (с ручным возвратом),
3) надежное устройство для отвода остаточного тепла согласно
4.3.8.4 (предохранительное сливное устройство с термореле);
c) неотключаемая система горения и номинальная теплопроизводительность < 100 кВт; требующееся оборудование состоит из следующих компонентов:
1) терморегулятор,
2) предохранительное сливное устройство с термореле согласно
4.3.8.4 для отвода, в случае неисправности, максимально возможной теплопроизводительности.
Если это требование не может быть выполнено, отопительный котел следует устанавливать в открытом контуре согласно
ГОСТ 21.602.
4.3.8.4 Устройства для отвода избыточного тепла
Должен быть предусмотрен защитный теплообменник или другие устройства для отвода избыточного тепла, чтобы обеспечить максимальную температуру воды в котле не выше 110 °C во время испытаний согласно
5.14.
Для этого следует применить предохранительное сливное устройство с термореле, например, устройство "STW типа Th" согласно
[34] в сочетании со встроенным в отопительный котел теплообменником. В качестве теплообменника допускается применение емкостного или проточного водонагревателя при условии, что его конструкция и расположение обеспечивают передачу тепла без дополнительного вспомогательного оборудования и внешних источников энергии. Встроенный проточный водонагреватель не должен применяться в качестве нагревателя воды для хозяйственных нужд; в крайнем случае, он может применяться как защитный теплообменник. Кроме того, должны быть выполнены следующие условия:
- предохранительное сливное устройство с термореле и теплообменник должны соответствовать конструктивным и теплотехническим характеристикам отопительного котла и надежно обеспечивать в случае неисправности отвод максимально возможной теплопроизводительности либо, при частичном отключении нагрева, отвод остаточной теплопроизводительности;
- если в качестве теплообменника используется емкостный водонагреватель, его конструкция должна обеспечивать выполнение вышеуказанного условия при его максимальной рабочей температуре;
- предохранительное сливное устройство с термореле, в случае предохранительных теплообменников, которые служат исключительно для отвода тепла в случае отказа, должно быть встроено в линии подачи охлаждающей воды перед теплообменником.
Не исключаются и другие решения в той мере, в которой они удовлетворяют вышеуказанным целям защиты и нормам безопасности. В принципе, все устройства для отвода избыточного тепла допускаются только для следующих случаев:
- отопительный котел без отключаемой системы горения с номинальной теплопроизводительностью до 100 кВт;
- отопительный котел с частично отключаемой системой горения с номинальной теплопроизводительностью до 100 кВт.
4.3.9 Комплектующие для отопительных котлов
4.3.9.1 Общие сведения
Если изготовитель оборудует отопительный котел дополнительными фитингами, и если его техническое обслуживание требуется только для правильного функционирования и безопасности, эти операции обслуживания могут легко выполняться без существенного демонтажа оборудования.
4.3.9.2 Электрическая безопасность
Электрическая безопасность отопительного котла и подключений (например разъемы) между регулирующим оборудованием должна соответствовать требованиям
[35].
| | ИС МЕГАНОРМ: примечание. ГОСТ IEC 60730-1-2011 утратил силу с 01.07.2017 в связи с введением в действие ГОСТ IEC 60730-1-2016 (Приказ Росстандарта от 11.10.2016 N 1371-ст). | |
Электрическая безопасность регулирующих устройств должна отвечать требованиям
[35],
ГОСТ IEC 60730-1, либо соответствующей части 2, либо электрическим требованиям норм и правил, приведенных в
[35], приложение ZBB.
В случае выхода из строя в виде отказа согласно
[35] 19.11.2 f) (сбои встроенных процессоров) следует принимать во внимание только те выходные сигналы, которые вызывают отказ исполнительного механизма. Комбинации выходных сигналов, которые воздействуют на два и более исполнительных механизма, не принимают во внимание, так как возникновение опасной ситуации маловероятно в смысле отказа.
Документирование электрических соединений для различных компонентов должно осуществляться посредством электрической проводки и схем подключения.
4.3.9.3 Электромагнитная совместимость
Должны выполняться требования по электромагнитной совместимости согласно
[36] и
[37].
Для испытаний может применяться адаптированная версия программного обеспечения отопительного котла для моделирования работы котла.
4.4. Теплотехнические требования
4.4.1 Общие сведения
Следующие теплотехнические требования проверяют на соответствие при испытаниях, которые проводят с применением топлива, указанного в
таблице 7. Типы испытательного топлива для сжигания в отопительном котле выбирают таким образом, чтобы они включали рекомендуемое топливо, имеющееся в свободной продаже.
Примечание - Номинальная теплопроизводительность или диапазон теплопроизводительности могут различаться в зависимости от конкретного топлива.
В зависимости от требований к КПД котла и предельным значениям выбросов различают 3 класса. Для получения класса должны быть соблюдены все требования по КПД и предельным значениям выбросов для этого класса.
4.4.2 КПД котла
КПД котла, который проверяется согласно
5.7,
5.8 и
5.10, не должен быть ниже КПД любого класса (при номинальной теплопроизводительности) в соответствии с формулой на рисунке 1. Для котлов теплопроизводительностью более 100 кВт установлены требуемый КПД, равный 84% для класса 4 и 89% для класса 5. Для котлов класса 3 (св. 300 кВт) установлен КПД, равный 82%.
1 - класс 3; 2 - класс 4; 3 - класс 5;
Q - номинальная теплопроизводительность, кВт;

- КПД, %
Рисунок 1 - КПД котла
Класс 5, Q < 100 кВт: | | (1) |
Класс 4, Q < 100 кВт: | | (2) |
Класс 3, Q < 300 кВт: | | (3) |
где

- КПД котла, %;
Q - теплопроизводительность, кВт.
Примечания
1 Q - теплопроизводительность QN либо минимальная непрерывная теплопроизводительность Qmin.
2 Для некоторых стран указывают КПД котла в режиме конденсации.
4.4.3 Температура дымовых газов
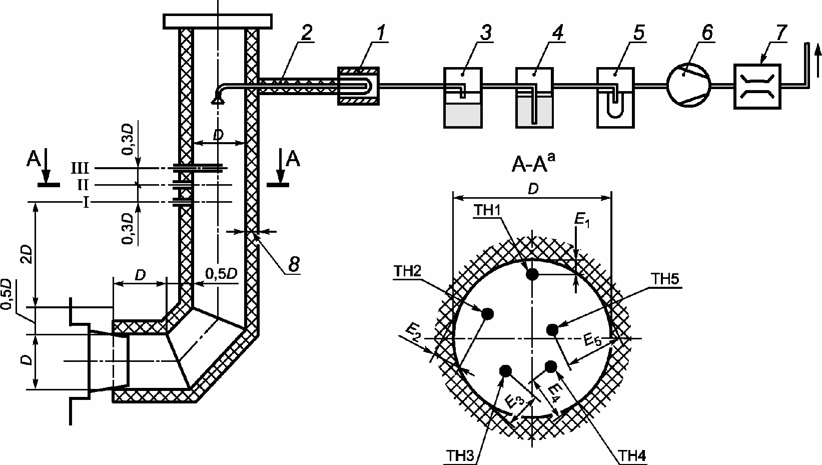
Для котлов, которые эксплуатируются при номинальной теплопроизводительности и превышении температуры дымовых газов над комнатной температурой менее 160 К, изготовитель котла обязан предоставить сведения об исполнении вытяжной системы, чтобы избежать возможную конденсацию паров на металлических поверхностях, недостаточную тягу и конденсацию в вытяжном тракте.
4.4.4 Тяга
Производитель котла должен указать минимальную тягу в вытяжной линии, требующуюся для правильной работы системы. Если данные изготовителем не представлены, применяются значения согласно
[38] таблица B.2.
4.4.5 Продолжительность горения
Продолжительность горения в отопительных котлах с ручной загрузкой при номинальной теплопроизводительности, указанной изготовителем, должна быть указана для одной разовой загрузки топлива и составлять не менее:
- 2 ч - для биогенного топлива и других типов твердого топлива;
- 4 ч - для минерального топлива.
4.4.6 Минимальная теплопроизводительность
Для котлов с автоматической загрузкой минимальная теплопроизводительность должна составлять не более 30% номинальной теплопроизводительности. Настройка должна осуществляться автоматически регулятором.
Регулирование подачи топлива и подачи воздуха может осуществляться в непрерывном или периодическом режиме.
Для отопительных котлов с ручной загрузкой топлива, которые заявлены изготовителем для работы с накопительным бункером, минимальная теплопроизводительность должна составлять также не более 30% номинальной теплопроизводительности. В этом случае изготовитель в технической информации должен указать способ отвода выработанного тепла.
Отопительные котлы с ручной загрузкой не должны проходить испытания на частичную нагрузку, если изготовитель требует, чтобы котел должен быть всегда подключен к накопительному бункеру.
Ориентировочное значение минимальной емкости накопительного бункера определяется следующим образом:

(4)
где VSp - емкость накопительного бункера, л;
QN - номинальная теплопроизводительность, кВт;
TB - период выгорания, ч;
QH - тепловая нагрузка здания, кВт;
Qmin - минимальная теплопроизводительность, кВт.
Для отопительных котлов, которые могут работать на нескольких видах топлива, объем бункера определяют для топлива, требующего накопительный бункер самой большой емкости. Минимальная емкость накопительного бункера - 300 л.
4.4.7 Предельно допустимые выбросы
Горение должно давать минимальный уровень загрязнения. Это требование выполняется, если при работе с номинальной теплопроизводительностью или для котлов с диапазоном теплопроизводительности при работе на номинальной теплопроизводительности и минимальной теплопроизводительности значения предельно допустимых выбросов из таблицы 6 при испытаниях согласно
5.7,
5.9 и
5.10 не превышены.
Таблица 6
Предельно допустимые выбросы
Загрузка | Топливо | Номинальная теплопроизводительность, кВт | Предельно допустимые выбросы |
CO | Летучие органические соединения | Пыль |
|
Класс 3 | Класс 4 | Класс 5 | Класс 3 | Класс 4 | Класс 5 | | Класс 4 | Класс 5 |
Ручная | Биогенное | <= 50 | 5 000 | 1 200 | 700 | 150 | 50 | 30 | 150 | 75 | 60 |
> 50 <= 150 | 2 500 | 100 | 150 |
> 150 <= 500 | 1 200 | 100 | 150 |
Минеральное | <= 50 | 5 000 | 150 | 125 |
> 50 <= 150 | 2 500 | 100 | 125 |
> 150 <= 500 | 1 200 | 100 | 125 |
Автоматическая | Биогенное | <= 50 | 3 000 | 1 000 | 500 | 100 | 30 | 20 | 150 | 60 | 40 |
> 50 <= 150 | 2 500 | 80 | 150 |
> 150 <= 500 | 1 200 | 80 | 150 |
Минеральное | <= 50 | 3 000 | 100 | 125 |
> 50 <= 150 | 2 500 | 80 | 125 |
> 150 <= 500 | 1 200 | 80 | 125 |
| | ИС МЕГАНОРМ: примечание. В официальном тексте документа, видимо, допущена опечатка: приложение C отсутствует. | |
|
<a> В пересчете на сухой дымовой газ, 0 °C, 101,3 кПа.<b> Котлы, которые могут работать на топливе класса E согласно 1.2.1 либо "e" согласно 1.2.3, не должны отвечать требованиям по уровню пыли для класса 3 в соответствии с этой таблицей. Фактическое значение уровня концентрации пыли не должно быть выше 200 мг/м 3 при 10% O 2 и должно быть указано в технической документации. Примечания 1 Значения для пыли в таблице 6 основаны на результатах испытаний по методу гравиметрической фильтрации. Используемый метод измерения должен быть указан в протоколе испытания. Измерение концентрации пыли в соответствии с настоящим стандартом не должно определять конденсируемые органические соединения, которые в дальнейшем могут образовывать частицы после смешивания с окружающим воздухом. Таким образом, эти значения измерений нельзя прямо сравнивать с измерениями по методу смесительного канала и пересчитывать в концентрацию частиц в окружающем воздухе. 2 Дополнительные методы испытаний и предельные значения выбросов в других странах приведены в отклонениях "A" в приложении C. |
5.1.1 Общие сведения
Испытания согласно настоящему стандарту должны осуществляться независимой испытательной организацией, которая отвечает требованиям
ГОСТ ИСО/МЭК 17025.
Примечание - Для проведения типовых испытаний должны привлекаться организации или лаборатории, которые аккредитованы согласно
ГОСТ ИСО/МЭК 17025 для испытаний котлов согласно настоящему стандарту.
Перед получением маркировки CE котлы должны пройти измерительный контроль, проверку исполнения, испытания на безопасность, а также теплотехнические и электрические испытания.
Изготовитель котла должен удостоверить, что материалы, использованные в производстве и сварке, соответствуют требованиям его заводской системы контроля качества, и что результаты всех требующихся испытаний соответствуют этим требованиям.
Все отопительные котлы и их части должны пройти гидравлические или пневматические испытания давлением у изготовителя. При этом не должны наблюдаться признаки утечки или отсутствия герметичности.
Примечание - Должны быть соблюдены все требования техники безопасности.
Все испытания, за исключением
5.4.2 и
5.5.2, включены в программу типовых испытаний.
5.1.2 Выбор котла и комплектующих для испытаний
Это должны быть котлы и комплектующие, производимые изготовителем в серийном производстве или рекомендованные изготовителем к использованию встроенные устройства и комплектующие. В процессе испытаний должны соблюдаться инструкции изготовителя по эксплуатации и монтажу.
5.1.3 Состояние отопительного котла
Котлы следует испытывать в состоянии и в конфигурации, соответствующей типовому комплекту поставки. Дополнительная теплоизоляция компонентов, находящихся в контакте с водой, дымовыми газами и огнем, не допускается.
При определении теплопроизводительности котла со встроенным водонагревателем (проточным или емкостным) отбор воды для хозяйственных нужд не допускается. Теплопроизводительность определяется исключительно для отопительного контура.
5.1.4 Типовые испытания
В типовых испытаниях определяется, соответствуют ли отдельные типоразмеры котлов одного типа или серии требованиям, установленным в стандарте. В процессе типовых испытаний отопительный котел должен соответствовать исполнению и конфигурации заявленного комплекта поставки.
Для отопительного котла, который состоит из корпуса котла, соответствующего требованиям настоящего стандарта, и уже прошедшей испытания горелки, которая отвечает требованиям стандарта
[39], должны проводиться только испытания согласно следующим подпунктам:
5.6,
5.7,
5.8,
5.9,
5.10,
5.12,
5.13,
5.14 и
5.15.
Для котлов одной серии с одинаковым конструктивным исполнением достаточно, чтобы при отношении номинальной теплопроизводительности котлов с наибольшей и наименьшей теплопроизводительностью не выше 2:1 испытания проводились на этих двух котлах. Если же у котлов одной и той же серии данное отношение больше чем 2:1, испытания следует проводить на таком количестве промежуточных типоразмеров, чтобы это отношение не превышалось.
Изготовитель котла должен удостоверить, что все отопительные котлы, включая котлы, которые еще не проходили испытания, характеристики которых определяются в зависимости от значений теплопроизводительности путем интерполяции, отвечали требованиям настоящего стандарта. Для испытаний и соответствующих им испытательных стендов применяются общие требования
[40].
5.2. Измерительная аппаратура и метод измерений
Должны соблюдаться допуски для испытательного оборудования, указанные в
[40]. Кроме того, измерительное оборудование следует подбирать так, чтобы погрешности не превышали следующих пределов:
- КПД: +/- 3%;
- CO: +/- 10% от измеренного значения или +/- 10 ppm (если последнее больше);
- THC (общее содержание углеводородов): +/- 10% от измеренного значения
или +/- 5 ppm (если последнее больше) (эталонный газ - пропан или метан);
- NOx: +/- 5% от измеренного значения или +/- 15 ppm (если последнее больше);
- O2: +/- 5% от измеренного значения или +/- 0,4% об. (если последнее больше);
- CO2: +/- 5% от измеренного значения или +/- 0,4% об. (если последнее больше);
- пыль: +/- 10 мг/м3 от измеренного значения.
Погрешность должна определяться с доверительным интервалом 95%.
Примечание - Используемые измерительные приборы для определения выбросов газообразных веществ должны соответствовать стандартам
[41],
[42],
[43] и
[44].
| | ИС МЕГАНОРМ: примечание. В официальном тексте документа, видимо, допущена опечатка: приложение C отсутствует. | |
Содержание пыли следует определять методом фильтрации согласно
[45] с дополнениями согласно
приложению A или методом измерения электростатического заряда согласно приложению C. Допускаются другие национальные методы или способы при условии, что погрешность измерений находится в указанных выше пределах.
Чтобы исключить ошибки в измерениях, измерительные приборы должны быть установлены в точках, которые по возможности имеют постоянную температуру, а также должны быть введены в эксплуатацию заблаговременно до начала испытаний (см.
[40] A.5).
5.3. Испытательное топливо
В процессе испытаний должно применяться топливо товарного качества по выбору изготовителя котла в соответствии с
таблицей 7. Для испытаний древесного топлива допускается использовать древесину бука, березы, дуба или ели согласно заявлению изготовителя. Отбор проб должен осуществляться в соответствии с
[46].
Испытания со щепой B2 заменяют собой испытания со щепой B1. Для топлива класса E в протокол испытаний должны быть внесены результаты анализа параметров таблицы 7; также топливо должно быть классифицировано по
[1],
[2],
[3],
[4],
[5] и
[6].
Примечание - Для размещения на рынке и эксплуатации котла на одном или нескольких типах топлива класса E или e, национальными законодательствами могут издаваться правила, распространяющиеся на имеющееся в соответствующей стране коммерческое топливо, используемое в качестве испытательного топлива. Предусмотрены следующие критерии - различная теплота сгорания, влажность, зольность, объемная плотность и элементный состав.
Таблица 7
Показатель | Каменный уголь | Бурый уголь (включая брикеты) | Кокс | Антрацит | Кусковая древесина | Щепа | Прессованные отходы | Опилки | Недревесная биомасса или другие виды твердого топлива |
a1 | a2 | b1 | b2 | c1 | c2 | d | A | B1 | B2 | C | D | E, e |
Влажность (перед сжиганием), % | <= 11 | <= 20 | <= 5 | <= 5 | 12 - 20 | 20 - 30 | 40 - 50 | <= 12 | 35 - 50 | |
Зольность <a> (перед сжиганием), % | 2 - 7 | 5 - 20 | 5 - 15 | 5 +/- 3 | <= 1 | <= 1,5 | <= 0,5 | <= 0,5 |
Летучие фракции <a> (перед сжиганием), % | 15 - 30 | > 30 | 40 - 50 | 50 - 60 | < 6 | 8 +/- 2 | < 10 | - | - | - | - |
| - | - | - | - | - | - | - | - |
| - | - | - | - | - | - | - | - |
| - | - | - | - | - | - | - | - |
Теплота сгорания, МДж/кг <b> | > 28 | > 12,5 | > 28 | > 28 | > 17 | > 17 | > 17 | > 17 | > 16 |
Размер/длина | Согласно данным изготовителя <c> | - |
<c> Количество частиц меньшей и большей крупности может составлять не больше 5% веса испытательного топлива. |
Необходимо различать виды испытательного топлива, указанные в
таблице 7, и виды топлива, указанные в области применения.
Теплоту сгорания влажного топлива Hiw, МДж/кг, вычисляют по формуле

(5)
где Hiwf - теплота сгорания сухого топлива, МДж/кг;
w - влажность в пересчете на общую массу, %;
2,442 - теплота парообразования воды при 25 °C, МДж/кг.
Влажность и теплота сгорания топлива должны быть получены в результате анализа.
Примечание - По желанию изготовителя также может быть использовано топливо, влажность которого находится между двумя классами. Результаты испытаний применимы к классу с меньшим значением влажности.
5.4. Гидравлические испытания отопительных котлов из листовой стали или листовых цветных металлов
5.4.1 Испытания перед запуском в производство
Типовое испытательное давление воды составляет 2PS, где PS - максимально допустимое рабочее давление. Длительность испытания не менее 10 мин. Если испытания распространяются на диапазон котлов, испытания проводят не менее чем для трех типоразмеров котла (наименьшего, среднего и наибольшего). Утечка или заметная остаточная деформация не допускаются.
По результатам испытаний составляют акт, в котором указываются следующие данные:
- полное описание испытанного котла, включая номер чертежа;
- испытательное давление в МПа и продолжительность испытания;
- результаты испытаний;
- место и дата проведения испытания, включая фамилии лиц, проводивших данное испытание.
Акт испытания подписывается, как минимум, лицом, ответственным за его проведение, и одним свидетелем.
5.4.2 Производственные испытания
Каждый котел должен пройти производственные испытания при давлении, равном как минимум 1,43PS.
5.5. Гидравлические испытания отопительных котлов из чугуна или цветных металлов
5.5.1 Испытания перед запуском в производство
5.5.1.1 Испытания отдельных литых узлов на разрыв
Для оценки конструкции и подтверждения ее надежности по три образца передней, средней и задней секции котла каждого типа подвергают разрушающему испытанию до начала серийного выпуска. Для котлов с рабочим давлением до 0,6 МПа разрушающее давление должно быть более 4PS + 0,2 МПа (минимум 0,8 МПа).
Результат отмечается в журнале, который должен содержать следующую информацию:
- дата проведения испытания и фамилия испытателя;
- модель, тип и количество секций;
- номер модели отдельных секций или другой способ их идентификации;
- дата литья;
- достигнутое давление разрыва в МПа и описание характера и расположения разрушения.
5.5.1.2 Испытательное давление воды для котельного блока
Для котлов каждого типа, предназначенных для серийного производства, проводят следующие испытания:
- один котельный блок среднего типоразмера подвергают гидравлическому испытанию давлением, равным 2PS (не менее 0,8 МПа),
- рассчитывают нагрузку соединений и испытывают их нагрузкой, эквивалентной воздействию внутреннего давления, равного 4PS.
Результаты оформляют аналогично
5.4.1.
5.5.2 Производственные испытания
5.5.2.1 Литые секции
Каждую секцию котла подвергают гидравлическому испытанию давлением, равным 2PS, минимум 0,8 МПа. Максимально допустимое испытательное давление - 1,0 МПа.
Толщину стенки отдельных секций котла тщательно контролируют в ходе производства в соответствии с требованиями контроля качества.
Для каждой точки измерений предельные значения толщины стенок определяются за вычетом допустимой погрешности.
На поверхности секций и деталей котлов, которые подвергают гидравлическому испытанию, должны быть указаны следующие данные:
- изготовитель и его фирменный знак;
- характеристики материала;
- дата литья;
- номер модели;
- знак соответствия, если он присвоен.
Каждый котел подвергают гидравлическому испытанию давлением, равным 1,3PS (минимум 0,4 МПа) перед монтажом теплоизоляции у изготовителя. Для котлов, которые собирают на месте эксплуатации, изготовитель должен предоставить инструкции по проведению гидравлического испытания. Утечки во время испытания не допускаются.
5.6. Испытания на газоплотность
Это испытание проводится только для котлов с избыточным давлением в камере сгорания.
Заданные предельные значения допустимых норм утечки определяют относительно массового расхода дымовых газов, соответствующего номинальной теплопроизводительности.
Фактическую утечку определяют с использованием воздуха при окружающей температуре на испытательном стенде в соответствии с примером, приведенным на рисунке 2.
1 - точки измерения давления; 2 - вытяжной патрубок;
3 - задвижка 1 (дроссельная); 4 - расходомер;
5 - задвижка 2; 6 - вентилятор; 7 - задвижка 3 (байпас);
8 - воздухозабор котла; 9 - испытательный котел;
10 - давление в камере сгорания
Рисунок 2 - Точки измерения для определения
газоплотности котла
Примечание - В процессе испытаний котлов с разрежением в камере сгорания может быть приложено давление 20 Па (измерительная точка 10 на рисунке 2). Испытание должно проводиться в соответствии с испытаниями безопасности и теплотехническим испытаниям (согласно
5.7 -
5.15).
Выход газохода подлежит герметизации, дверцы находятся в своем нормальном положении. Испытательный стенд соединяется с камерой сгорания испытуемого котла.
Полученные значения утечки пересчитывают на нормальные условия (0 °C,
101,3 кПа). Должны быть выполнены требования
4.3.7.
5.7. Проведение теплотехнических испытаний
5.7.1 Общие сведения
Для определения теплопроизводительности, КПД котла, продолжительности горения, состава продуктов сгорания, температуры дымовых газов, тяги и характеристик выбросов, отопительный котел во время измерений должен работать в диапазоне теплопроизводительности, указанном производителем. При номинальной теплопроизводительности котел следует эксплуатировать так, чтобы обеспечить непрерывный режим работы (следует исключить отключение агрегата термостатом). Минимальная теплопроизводительность должна устанавливаться автоматическим задающим устройством или регулятором без вмешательства оператора. Перед началом измерений отопительный котел следует довести до рабочей температуры.
В процессе испытаний котел должен эксплуатироваться в соответствии с инструкциями изготовителя. Температура окружающего воздуха должна находиться в диапазоне 15 °C - 30 °C.
Тягу следует установить на минимальный уровень согласно инструкциям изготовителя.
Средняя тяга в ходе испытаний котла должна находиться в пределах не более +/- 3 Па от значения, указанного изготовителем.
Во время выгорания топлива оператор не должен вмешиваться в процесс (т.е. ворошить, встряхивать или поправлять топливо).
Для котлов с ручной загрузкой топлива по истечении 95% длительности цикла выгорания допускается поворошить слой топлива в течение короткого времени. При этом ворошении можно разделять несгоревшие куски топлива, чтобы обеспечить лучшую оценку слоя топлива. Такое ворошение относится к пополнению топлива. Такое ворошение не считается вмешательством оператора и поэтому допускается при любом успешном испытании.
Испытания согласно
5.8 и
5.9 должны проводиться одновременно.
5.7.2 Конструкция испытательного стенда
Конструкция испытательного стенда должна соответствовать
[40], подраздел A.6, а КПД котла должен определяться с точностью +/- 3%.
Допускаются другие эквивалентные испытательные стенды.
Измерительный участок должен быть выполнен согласно
[40] рисунок 3.
5.7.3 Измеряемые величины
За одно измерение следует определить и внести в протокол испытаний следующие параметры:
- влажность топлива;
- теплота сгорания топлива;
- загруженная масса топлива;
- продолжительность горения при ручной загрузке;
- температура поверхностей (при номинальной теплопроизводительности в типичном режиме эксплуатации).
В протокол испытаний следует внести следующие непрерывно измеряемые параметры:
- теплопроизводительность;
- температуру воды в подающем трубопроводе;
- температуру воды в обратном трубопроводе;
- входную температуру охлаждающей воды на испытательном стенде согласно
[40] рисунок А.2;
- температуру окружающего воздуха;
- температуру дымовых газов;
- тягу;
- содержание кислорода (O2) и диоксида углерода (CO2);
- уровень оксида углерода (CO);
- содержание газообразных органических веществ THC (углеводородов);
- содержание пыли (дискретные измерения);
- потребность в источнике резервного питания.
Примечание - При существующем уровне развития технологий пока невозможно ограничить значения содержания оксидов азота. Тем не менее, рекомендуется провести измерение содержания NOx, в котором определяют содержание азота в испытательном топливе. Следует измерить уровень NO и NO2 и зафиксировать в пересчете на уровень NO2.
Необходимо непрерывно (каждые 20 с или чаще) измерять параметры и раз в 1 мин (или чаще) отображать их на графике в виде средних значений. Временные интервалы необходимо выбирать так, чтобы можно было с достаточной надежностью определять колебания измеряемых значений.
Зафиксированные средние значения являются основой для определения средней продолжительности испытаний.
5.7.4 Методы испытаний и продолжительность испытаний
5.7.4.1 Отопительные котлы с ручной загрузкой топлива
Перед началом испытаний отопительный котел следует привести в стабильное рабочее состояние. Продолжительность этого первоначального периода должна составлять не менее 2 ч и быть достаточной, чтобы обеспечить необходимый слой горящего топлива. Высота горящего слоя топлива должна быть указана изготовителем перед началом испытаний, чтобы обеспечить практическое выполнение работ. Процедура должна быть описана в протоколе испытаний, например, с указанием продолжительности горения (или времени выгорания).
Период испытаний начинается, как только определяется вес горящего слоя топлива с помощью визуальной оценки или платформенных весов. Для оценки горящего слоя топлива должны быть установлены и другие показатели, такие как уровень CO2 или температура дымовых газов.
Эксперимент начинается непосредственно после укладки топлива на горящий слой. Время эксперимента считается от выкладки топлива на горящий слой и до следующей выкладки. При этом выкладка топлива и ворошение включается в продолжительность эксперимента и учитывается при расчете среднего значения.
Продолжительность эксперимента при номинальной теплопроизводительности: два последовательных цикла выгорания топлива.
Продолжительность эксперимента при минимальной теплопроизводительности: один цикл выгорания.
Оба цикла выгорания при номинальной теплопроизводительности должны показывать схожие результаты (то есть теплопроизводительность +/- 10% от среднего значения).
5.7.4.2 Отопительные котлы с автоматической загрузкой топлива
Перед началом испытания отопительный котел (при использовании необходимого количества топлива) необходимо довести до рабочей температуры и стабильных условий эксплуатации. Применяются следующие определения:
- продолжительность испытаний при номинальной теплопроизводительности должна составлять как минимум 6 ч;
- продолжительность испытаний при минимальной теплопроизводительности в непрерывном рабочем режиме должна составлять как минимум 6 ч;
- продолжительность испытаний при минимальной теплопроизводительности в периодическом режиме должна составлять как минимум 6 ч плюс промежуток времени до окончания текущего рабочего цикла. Цикл состоит из полных этапов ввода и вывода.
В случае с топками с автоматической загрузкой, рассчитанных на кусковую древесину, применяются условия испытания для автоматических топочных систем, таких как котлы на гранулах или древесной щепе.
Для топок на кусковой древесине с автоматической загрузкой продолжительность испытаний должна включать как минимум два интервала загрузки.
5.8. Определение теплопроизводительности и КПД котла
5.8.1 Методы измерения теплопроизводительности
5.8.1.1 Общие сведения
Должна быть измерена теплопроизводительность, отданная теплоносителю (воде). Она может определяться непосредственно на котле или опосредованно на теплообменнике.
При испытании отопительных котлов с ручной загрузкой и теплопроизводительностью более 30% от номинальной теплопроизводительности, испытательное оборудование должно управляться в соответствии с теплопроизводительностью котла.
5.8.1.2 Определение теплопроизводительности непосредственно на котле
Теплопроизводительность, переданная воде отопления, определяется путем измерения переданного массового расхода холодной воды и повышения температуры сверх температуры воды на входе, либо путем измерения массового расхода холодной воды, циркулирующей в контуре котла, и повышения ее температуры.
5.8.1.3 Определение теплопроизводительности опосредованно в теплообменнике
Отданная котлом теплопроизводительность передается через теплообменник охлаждающей воде. Полученная таким образом теплопроизводительность определяется на основе расхода и повышения температуры охлаждающей воды. Потери тепла в хорошо изолированных соединительных трубах между котлом и теплообменником и потери тепла в теплообменнике определяются в предварительных экспериментах, либо с учетом кривой потерь тепла для конкретного испытательного стенда.
Теплопроизводительность отопительного котла должна состоять из суммы названных выше теплопроизводительностей.
5.8.2 Определение номинальной теплопроизводительности
Теплопроизводительность должна находиться в пределах +/- 8% от указанной изготовителем величины. Для котлов с ручной загрузкой топлива теплопроизводительность котла должна достигаться в течение одного цикла выгорания. В противном случае указанное значение номинальной теплопроизводительности должно быть изменено.
При испытаниях с номинальной теплопроизводительностью во время испытания среднее значение температуры на входе должно находиться между 70 °C и 90 °C, где средняя разница температур между линией подачи и обратной линией должна находиться в диапазоне от 10 °C до 25 °C.
Должна поддерживаться следующая температура

(6)
где tV - температура воды в подающем трубопроводе, °C;
tR - температура воды в обратном трубопроводе, °C;
tL - температура окружающего воздуха, °C.
5.8.3 Определение минимальной теплопроизводительности
Испытание на минимальную теплопроизводительность осуществляется при наименьшей теплопроизводительности, указанной изготовителем. При этом должны выполняться требования
4.4.6.
В этом испытании также следует учитывать температуру воды в контуре (см.
5.8.2) за вычетом разности между значениями температуры воды в прямой и обратной линии.
Минимальная теплопроизводительность должна задаваться перед началом испытаний. При этом отвод тепла на испытательном стенде следует провести с учетом минимальной теплопроизводительности. Подстройка мощности котла по минимальной теплопроизводительности котла должна проходить автоматически.
5.8.4 Определение КПД котла (прямой метод)
Для испытания применяется прямой метод, а КПД котла выводится по низшей теплоте сгорания Hiw.
Примечание - Косвенный метод дополнительно позволяет контролировать точность испытательного стенда по балансу теплопроизводительности, при этом определяются прочие компоненты потерь. Эти потери не привязаны ни к мощности, ни к потерям отопительного котла.
5.8.5 Определение резервного электропитания
Потребление электроэнергии должно определяться согласно
[47].
В протоколе испытаний должна указываться максимальная потребляемая мощность, мощность в режиме ожидания и мощность при номинальной теплопроизводительности, а также при минимальной теплопроизводительности. Для котлов с автоматической загрузкой топлива потребление тока для котла и подачи топлива определяются и указываются отдельно.
Средняя потребляемая электрическая мощность в режиме ожидания указывается в ваттах и должна определяться в течение как минимум 10 мин. Если процессы регулировки влияют на потребление электрической энергии, может потребоваться продлить время измерения.
5.9. Определение величины выбросов
5.9.1 Отопительные котлы с ручной загрузкой топлива
Среднеарифметическое значение содержания CO2, O2, CO, OGC (летучие органические соединения) (и, если необходимо, NOx) определяется в течение всего эксперимента. При ручной загрузке топлива измерение при номинальной теплопроизводительности проводится в течение двух циклов выгорания подряд. Каждая догрузка топлива фиксируется в результатах измерений.
При минимальной теплопроизводительности продолжительность испытания должна составлять только один цикл выгорания.
Каждый цикл выгорания делится как минимум на два одинаковых временных отрезка. Измерения для определения концентрации пыли начинаются в начале временного отрезка, причем первое измерение начинается непосредственно после закладки топлива и закрытия загрузочной дверцы. Время работы всасывающего фильтра составляет не менее 30 мин. Содержание пыли определяется по результатам как минимум четырех измерений.
5.9.2 Отопительные котлы с автоматической загрузкой топлива
При номинальной теплопроизводительности среднее арифметическое содержания CO2, O2, CO, OGC (летучие органические соединения) (и, если необходимо, NOx) определяется в течение всего эксперимента.
Для определения концентрации пыли время испытания делится по меньшей мере на четыре равных временных промежутка; измерения начинаются соответственно в начале временного промежутка, причем первое измерение проводится в начале испытания. Время работы всасывающего фильтра составляет не менее 30 мин. Содержание пыли определяется по результатам как минимум четырех измерений.
В периодическом режиме во внимание принимаются только полные циклы загрузки и выгрузки.
5.9.3 Определение величины выбросов при минимальной теплопроизводительности
При минимальной теплопроизводительности измерения проводятся в течение одного цикла выгорания топлива.
Среднее арифметическое содержания CO2, O2, CO и OGC (летучие органические соединения) определяется в течение всего эксперимента.
Примечание - В некоторых странах законодательство также требует проводить измерения NOx и концентрации пыли при минимальной теплопроизводительности.
5.10.1 Теплопроизводительность котла
Теплопроизводительность котла является средним значением для всей продолжительности испытания.
Необходимые формулы расчетов для отдельных способов испытаний приведены в
[40], подраздел A.7.
5.10.2 Мощность топки
Для расчетов применяют формулы, приведенные в
[40], пункт A.8.1.
5.10.3 КПД котла
КПД котла должен быть указан в протоколе испытаний в процентах.
5.10.3.1 Прямой метод
В соответствии с прямым методом КПД котла

вычисляют по формуле

(7)
5.10.3.2 Косвенный метод (только для целей контроля, см.
[40], подраздел A.9.
В соответствии с косвенным методом КПД котла

вычисляют по формуле

(8)
где qA - потери тепла с дымовыми газами (относительное значение в пересчете на теплоту сгорания топлива);
qU - потери тепла от химического недожога (относительное значение в пересчете на теплоту сгорания топлива);
qS - потери тепла через излучение, конвекцию, теплопередачу (относительное значение в пересчете на теплоту сгорания топлива);
qB - потери тепла от механического недожога (относительное значение в пересчете на теплоту сгорания топлива).
5.10.4 Выбросы
5.10.4.1 Выбросы при номинальной теплопроизводительности и минимальной непрерывной теплопроизводительности
Расчет среднего значения проводится путем вывода временного среднего значения для всей продолжительности испытания без учета расхода дымовых газов.
Обозначенные значения выбросов в объемных частях для сухого дымового газа должны определяться для расчета среднего значения с учетом продолжительности всего испытания.
Определенные объемные доли (ppm) пересчитываются в весовые доли (мг/м3). В качестве коэффициента пересчета из ppm в мг/м3 применяются следующие значения:
fCO = 1,25;
fOGC = 1,64 (для пропана в качестве калибровочного газа);
fOGC = 0,54 (для метана в качестве калибровочного газа);
Доля органических газообразных веществ выражается как органически связанный углерод (OGC) в сухих дымовых газах. Измеренные оксиды азота (NOx) указываются в пересчете на NO2.
Все рассчитанные выбросы должны указываться в мг/м3 в пересчете на сухие продукты сгорания при 10% содержания кислорода и нормальном режиме (0 °C, 101,3 кПа).
5.10.4.2 Выбросы при минимальной теплопроизводительности в периодическом режиме работы
Расчет среднего значения согласно
5.10.4.1 проводится путем построения временного среднего значения для всей продолжительности испытания без учета расхода продуктов сгорания.
Испытания при минимальной теплопроизводительности проводится при максимум 30% от номинальной теплопроизводительности. Отвод тепла на испытательном стенде должен происходить непрерывно и соответствовать минимальной теплопроизводительности, указанной изготовителем.
5.11. Определение гидравлического сопротивления
Гидравлическое сопротивление котла (
в кПа) следует определять для расхода воды, соответствующего номинальной теплопроизводительности при разнице температуры воды на входе и выходе котла

и 20 °C.
5.12. Температуры поверхностей
Определение средней температуры поверхности осуществляют при номинальной теплопроизводительности, причем следует учитывать как минимум пять измерительных точек на единицу поверхности. Температуру критически важных поверхностей (например, дверец котла, ручек управления и так далее) следует измерять при одинаковых условиях.
5.13. Функциональные испытания терморегулятора и защитного термостата на отопительном котле
Расход воды в водяном контуре должен соответствовать расходу воды при номинальной теплопроизводительности. В начале испытания температура воды в подающем трубопроводе не должна превышать 75 °C.
Горение необходимо отрегулировать так, чтобы оно соответствовало номинальной теплопроизводительности котла QN, достигало стабильного состояния, а тяга соответствовала тяге при номинальной теплопроизводительности. Для отопительных котлов с ручной загрузкой топлива полная загрузка топлива в топку, необходимая для достижения стабильного состояния, должна быть обеспечена до начала испытания.
Отведенная теплопроизводительность должна быть понижена до (40 +/- 5)% номинальной теплопроизводительности, циркуляционный насос должен работать в непрерывном режиме, а терморегулятор должен быть установлен на максимальное расчетное значение.
Для правильной работы терморегулятора необходимо, чтобы измеренная температура воды в подающем трубопроводе не была выше 100 °C, а защитный термостат, или датчик температуры, или устройство для отвода избыточного тепла не срабатывали.
Такое же испытание проводится повторно после преодоления терморегулятора. Должно быть проверено, отключает ли защитный термостат горение самое позднее при максимальном значении, указанном изготовителем, и отсутствует ли опасное состояние (см.
4.1).
5.14. Функциональные испытания системы аварийного останова
Внезапное прекращение отвода тепла
Расход воды в водяном контуре должен соответствовать расходу воды при номинальной теплопроизводительности. В начале испытания температура воды в подающем трубопроводе не должна превышать 75 °C. Горение настраивается таким образом, чтобы оно соответствовало номинальной теплопроизводительности котла QN, достигало стабильного состояния, а тяга соответствовала тяге при номинальной теплопроизводительности. Отведенная теплопроизводительность должна быть понижена до нуля, внутренняя циркуляция воды обеспечена, а терморегулятор должен быть установлен на максимальное расчетное значение. Проверяется, действительно ли защитный термостат или терморегулятор отключает горение, а опасное состояние отсутствует.
Сбой подачи питания
Расход воды в контуре должен соответствовать расходу воды при номинальной теплопроизводительности. В начале испытания температура воды в подающем трубопроводе не должна превышать 75 °C. Горение настраивается таким образом, чтобы оно соответствовало номинальной теплопроизводительности котла QN, достигало стабильного состояния, а тяга соответствовала тяге при номинальной теплопроизводительности. Подача тока на котел, включая циркуляционный насос, выключается и проверяется наличие опасного состояния.
Для оценки температуры и концентрации CO могут использоваться только средние значения максимум за 1 мин.
5.15. Функциональные испытания устройства отвода избыточного тепла (для частично отключаемых и неотключаемых систем)
Горение настраивается таким образом, чтобы оно соответствовало номинальной теплопроизводительности котла QN, достигало стабильного состояния, а тяга соответствовала тяге при номинальной теплопроизводительности.
Терморегулятор должен быть отключен. Защитный термостат не деактивируется.
Отведенная теплопроизводительность должна быть понижена до нуля с сохранением внутренней циркуляции воды.
Проверяется, действительно ли защитный термостат отключает горение, устройство отвода избыточного тепла функционирует согласно требованиям, а опасное состояние отсутствует.
Холодная вода для отвода избыточного тепла должна иметь температуру (10 +/- 5) °C и давление должно быть не выше 0,2 МПа (допускаются отклонения, если они приведены в монтажных инструкциях).
Для оценки температуры и концентрации CO могут использоваться только средние значения максимум за 1 мин.
5.16. Функциональная проверка безопасности и анализ рисков
Изготовитель должен провести оценку риска согласно
[33]. Форс-мажорные обстоятельства во внимание не принимают.
Оценка риска проверяется независимым органом на полноту, точность и достоверность.
Проверка не требует обязательных испытаний. Если испытания проводятся, применяются следующие условия:
a) горение настраивается таким образом, чтобы оно соответствовало номинальной теплопроизводительности котла QN, достигало стабильного состояния, а тяга соответствовала тяге при номинальной теплопроизводительности;
b) для отопительных котлов с ручной загрузкой топлива полная загрузка топлива в топку, необходимая для достижения стабильного состояния, должна быть обеспечена до начала испытания.
Проверка оценки рисков может осуществляться на основе одного или нескольких следующих пунктов:
- осуществление принятых решений согласно настоящему стандарту;
- осуществление функций безопасности с проверкой функции выключения;
- проверка характеристик отопительного котла в нормальном режиме работы и в случае сбоя;
- соответствующие ссылки на другие стандарты или применимые результаты испытаний.
Следует проверить, учтены ли в оценке рисков как минимум следующие пункты, а также принят ли во внимание отказ таких узлов, как подача топлива, подача воздуха, горение и управление горением, вытяжной трубопровод и отвод тепла, а также пожарная защита и риски травмирования.
Следует подробно оценить как минимум следующие риски:
a) перегрузка топлива в непрерывном режиме во время подачи топлива;
b) недостаточная подача топлива;
c) прекращение подачи воздуха;
d) сбой подачи питания;
e) неустойчивое давление в топке;
f) незакрытые двери и отверстия на отопительном котле и на устройстве загрузки топлива;
g) открытый топливный бункер;
h) пустой топливный бункер;
i) отсутствие зажигания на этапе запуска;
j) стратегия защиты от проскока пламени;
k) эффект опорожнения или блокировки устройства загрузки топлива;
l) колебания напряжения;
m) утечка продуктов сгорания (например, в электродвигателе вытяжного вентилятора, сбой питания, повышенное давление в топке);
n) блокировка и перезапуск;
o) электрическая безопасность (представить документацию и сертификаты);
p) риск травмирования.
Примечание - Рекомендуются дополнительные испытания.
5.16.2 Испытания надежности автоматических котлов при избыточной загрузке топлива и при блокировке подачи топлива
Безопасность котла должна быть проверена в режиме непрерывной эксплуатации при максимально возможной устанавливаемой скорости подачи устройства загрузки топлива в соответствии с оценкой рисков и требованиями электрической безопасности. Если при оценке рисков другие скорости подачи в пределах максимума будут определены как критические, они также должны быть испытаны.
Предохранительное устройство в случае отсутствия или неполного горения в топке должно отключать подачу топлива.
В ходе испытания подача топлива блокируется, а устройство загрузки топлива деактивируется.
Должны соблюдаться требования согласно
4.3.4.
5.16.3 Испытания надежности при блокировке подачи воздуха
Безопасность отопительного котла должна испытываться при номинальной мощности в следующих условиях:
- отказ вентилятора;
- прекращение подачи воздуха в результате перекрытия на котле воздухозаборного отверстия с регулируемой площадью сечения.
Испытание должно рассматривать только одну ошибку за один раз.
Концентрация CO в котле не должна превышать 5% об.
Измерение должно проводиться на измерительном участке дымовых газов.
5.16.4 Испытания надежности теплопередачи
Температура должна измеряться на поверхности устройства загрузки топлива в точке рядом с участком подачи топлива, но не далее чем в 1 м от внутренней стенки топки по направлению подачи топлива.
Для отопительных котлов со встроенным топливным бункером температура поверхности устройства загрузки топлива должна измеряться в точке рядом со встроенным топливным бункером, но не далее чем в 1 м от внутренней стенки топки по направлению подачи топлива. Кроме того, необходимо измерять максимальную температуру поверхностей топливного бункера.
5.16.5 Дополнительные испытания для альтернативных способов подтверждения соответствия требованиям безопасности в отношении проскока пламени
Данное испытание должно проводиться, если применимы требования в
4.3.3.5. Испытание должно проводиться с учетом оценки риска согласно
5.16.1.
Эти испытания должны содержать по крайней мере доказательство геометрических, физических, механических и электрических характеристик, которые требуются для устройства при оценке риска. Устройство должно испытываться с учетом взаимодействия с концепцией безопасности, а также алгоритмов регулирования и установки.
Испытание на отсутствие проскока пламени должно отвечать как минимум следующим критериям:
a) применение оригинального котла и испытательного оборудования, которые моделируют горение и подачу топлива и одновременно обеспечивают возможность проскока пламени;
b) создание раскаленных газов в оригинальной топке путем сгорания либо путем применения таких устройств, как дутьевые горелки, которые производят раскаленные газы на подаче топлива в топке;
c) создание разрежения в топливном бункере либо на участке подачи топлива по отношению к топке как критической ситуации в соответствии с оценкой риска. Перепад давлений должен составлять как минимум 8 Па.
Испытание должно быть зафиксировано в протоколе испытаний. Протокол испытаний должен содержать описание испытательного образца, схему испытаний, способ проведения, условия и результаты испытания.
6. Протокол испытаний и документация по испытаниям
Акт испытаний должен включать по крайней мере следующую информацию:
a) наименование и адрес испытательной лаборатории и место проведения измерений;
b) идентификационный номер протокола испытаний;
c) название (имя/фамилия) и адрес заказчика;
d) методы испытаний;
e) описание испытанных отопительных котлов, их серию со следующим содержанием:
1) общая конструкция;
2) подача топлива;
3) подача воздуха;
4) предохранительные устройства с описанием (тип, сертификация, название изготовителя, параметры настройки, размеры);
5) важные компоненты (вентилятор, устройство зажигания, вставки в теплообменнике и т.д.);
f) список деталей (если применимо);
g) период испытания;
h) результаты измерений как среднее значение каждого периода испытаний, а для котлов с ручной загрузкой топлива - по каждому циклу выгорания;
i) спецификация метода измерения концентрации пыли;
j) изображение отопительного котла.
Испытательной организации должны быть представлены следующие документы:
- чертежи котла или серии котлов, на которых ясно показан тип конструкции котла;
- чертежи, которые ясно демонстрируют используемые материалы, сварные швы и толщины штампованных деталей;
- дополнительная документация на отопительные котлы, в частности руководство по монтажу и эксплуатации;
- описание отопительного котла, а также информация, указанная на паспортной табличке котла.
Протокол испытаний подписывается ответственным руководителем испытательной лаборатории или инженером, ответственным за испытательный стенд.
Протокол испытаний публикуется только в полном объеме.
Каждый отопительный котел должен иметь табличку с маркировкой, которая крепится в доступном месте. Маркировка котла выполняется на языке страны назначения.
7.2. Данные на табличке котла
Маркировка таблички должна содержать как минимум следующие сведения:
a) наименование и юридический адрес изготовителя и, при необходимости, логотип изготовителя;
b) торговое название и тип, под которыми продается котел;
c) серийный номер и год выпуска (кодировка допускается по выбору изготовителя);
d) номинальная теплопроизводительность или диапазон теплопроизводительности (кВт) для каждого типа топлива;
e) класс котла для каждого вида топлива;
f) максимально допустимое рабочее давление (МПа);
g) максимальная допустимая рабочая температура (°C);
h) водоизмещение в л;
i) электрическое подключение (Вольт, Гц, А) и потребляемая электроэнергия (Вт);
j) класс топлива согласно
разделу 1 и для класса E - испытанное топливо.
7.3. Требования к маркировке
Материал таблички с маркировкой должен обеспечивать ее износостойкость. При нормальных условиях эксплуатации маркировка не должна выцветать, текст должен быть легко различим.
Самоклеящиеся этикетки не должны отклеиваться при любой влажности и температуре.
8. Техническая документация, поставляемая
в комплекте с котлом
К каждому отопительному котлу должны быть приложены нижеперечисленные документы, выполненные на языке страны, в которую поставляется котел, причем комплект документов должен соответствовать 8.2 и
8.3.
8.2. Техническая информация и руководство по монтажу
Эти документы должны включать по крайней мере следующую информацию:
a) необходимая тяга (Па);
b) водоизмещение отопительного котла (л);
c) температура дымовых газов при номинальной теплопроизводительности и при минимальной теплопроизводительности (°C);
d) массовый расход продуктов сгорания при номинальной теплопроизводительности и минимальной теплопроизводительности (кг/с);
e) диаметр вытяжного патрубка (мм);
f) гидравлическое сопротивление (кПа);
g) номинальная теплопроизводительность или диапазон теплопроизводительности в кВт;
h) класс котла;
i) продолжительность горения при QN (ч);
j) диапазон настройки терморегулятора (°C);
k) минимальная температура в обратном трубопроводе на входе в котел (°C);
l) тип топлива и влажность топлива, а также данные согласно
таблице 7 для топлива класса E (или e);
m) емкость загрузочной камеры (л) и габариты загрузочного отверстия (мм);
n) необходимые размеры накопительного бака (л), если Qmin > 0,3QN;
o) необходимое резервное электропитание за единицу времени при QN и Qmin (Вт);
p) мощность в режиме ожидания (Вт);
q) требуемая температура холодной воды (°C) и требующееся давление воды для предохранительного теплообменника (МПа);
r) электрическое подключение, включая аппаратный выключатель и рубильник;
s) работа котла с вентилятором или без вентилятора;
t) эксплуатация котла с избыточным давлением или разрежением в линии дымовых газов;
u) работа котла в режиме конденсации или без конденсации;
v) информация о выбросах шума, а также сведения по измерению уровня шума и возможности снижения уровня шума для котла.
Примечание - Акустические измерения должны проводиться согласно
[48].
Кроме того, руководство по монтажу должно содержать следующие сведения:
w) сборка котла на месте (если необходимо), а также, при необходимости, сведения о гидравлических испытаниях согласно
5.4.2 или
5.5.2.2,
x) комплектация;
y) пусконаладочные работы, с указанием установленной производительности в диапазоне производительности;
z) указания по месту установки измерительных датчиков для регулирующих, контрольно-измерительных и предохранительных устройств.
Кроме того, техническая информация и инструкции по установке должны включать общие указания по защитно-техническому оборудованию установки в соответствии с применимыми нормами и правилами:
- меры для вентиляционного оборудования, связанного с воздухом помещения;
- меры для достаточной подачи чистого (незагрязненного) воздуха;
- автоматически и герметично закрываемые измерительные отверстия;
- измерения выбросов после первоначальной установки;
- устный предпусковой инструктаж силами специалистов;
- меры по надлежащему хранению топлива;
- рекомендации по техническому обслуживанию котла;
- меры по надлежащему расчету параметров и размеров системы отопления;
- меры по надлежащему расчету параметров и размеров вытяжной системы и соединительных элементов;
- расстояние до горючих материалов;
- инструкции по дополнительной изоляции (при необходимости);
- минимальное расстояние до стен и потолков, обеспечивающие беспрепятственное обслуживание и очистку.
8.3. Руководство по эксплуатации
Инструкции по эксплуатации должны содержать инструкции по следующим разделам:
- эксплуатация котла, безопасная загрузка топлива и открывание дверец;
- очистка и ее периодичность, включая необходимые инструменты;
- действия в случае неисправностей;
- обоснование рекомендаций по постоянному и квалифицированному техническому обслуживанию; периодичность технического обслуживания;
- типы топлива, влажность топлива, а также крупность топлива (для кусковой древесины дополнительно - направление слоев);
- максимальный уровень заполнения топливом загрузочной камеры;
- расчетная продолжительность горения для различных видов топлива при номинальной теплопроизводительности.
Другая дополнительная документация (проспекты и т.п.) не должны содержать сведения, которые противоречат содержанию руководства по эксплуатации.
(справочное)
РУЧНЫЕ ИЗМЕРЕНИЯ КОНЦЕНТРАЦИИ ПЫЛИ В ПОТОКЕ ДЫМОВЫХ ГАЗОВ,
ВЕСОВОЕ ОПРЕДЕЛЕНИЕ ЗАПЫЛЕННОСТИ С ПОМОЩЬЮ ФИЛЬТРОВ
Данное приложение описывает процедуру определения выбросов от объектов испытаний с большой крупностью твердого остатка. Данное приложение содержит базовые требования по измерениям.
До и после измерения использованные фильтры должны быть высушены в печи до получения постоянной массы [температура сушки должна быть не ниже (110 +/- 5) °C]. После сушки перед взвешиванием фильтры следует выдержать в сушильном шкафу. Сушильный шкаф должен находиться в весовой комнате, пока проба не будет остужена до температуры, равной температуре воздуха в помещении +/- 3 °C.
Чтобы обеспечить прослеживаемость результатов в отношении предварительной обработки взвешенных проб, в протокол испытаний следует внести следующие сведения:
- температура сушки до и после измерений;
- минимальное время сушки фильтра до и после измерения.
Оборудование для измерения концентрации пыли
(рисунок A.1) следует перед каждым измерением механически очистить и промыть.
1 - фильтр; 2 - отбор пробы газа и трубка для измерения
концентрации пыли (теплоизолированная); 3 - сепаратор воды;
4 - силикагелевый фильтр; 5 - фильтр точной очистки;
6 - насос; 7 - счетчик расхода газа; 8 - изоляция t = 40 мм;
I - патрубок для измерения тяги; II - патрубок для измерения
температуры, патрубок отбора проб дымовых газов
(пробоотборный крест); III - патрубок для измерения сажи
Глубина погружения термоэлемента:
E1 = 0,10D;
E2 = 0,17D;
E3 = 0,24D;
E4 = 0,30D;
E5 = 0,37D.
Рисунок A.1 - Схема устройства для отбора проб пыли
Поскольку скорость дымовых газов для отопительных котлов малой производительности низкая (< 2 м/с), скорость вытяжки на крышке фильтра следует поддерживать в диапазоне от 70% до 150% (в отличие от
[45], где указана изокинетическая скорость вытяжки в диапазоне от 95% до 115%). Можно предположить, что принципы процедуры будут выполнены, если во время измерения скорость вытяжки не будет превышаться более чем на 150%.
Конфигурация измерения концентрации пыли должна соответствовать
[45]. В случае внешнего измерения длина линии вытяжки должна быть как можно более короткой, а крышка фильтра должна быть нагрета до температуры дымовых газов или до (110 +/- 5) °C.
Пример крышки фильтра приведен на рисунке A.2. Предлагаемое расположение дискового сепаратора фильтра приведено на
рисунке A.3.
1 - сменная деталь; 2 - пробоотборник; 3 - накидная гайка;
4 - стакан фильтра; 5 - хлопковый наполнитель; 6 - корпус
фильтра; 7 - накидная гайка; 8 - зажимное кольцо;
9 - держатель рамного фильтра; 10 - рамный фильтр;
11 - крышка корпуса
Рисунок A.2 - Пример крышки фильтра
1 - вытяжная труба; 2 - стальная труба (внутренний диаметр
9 мм); 3 - пробоотборный зонд; 4 - ленточный нагреватель;
5 - уплотнительное кольцо; 6 - муфта с резьбой; 7 - фильтр

; 8 - установка термоэлемента; 9 -

перфорированный дисковый сепаратор с держателем рамного
фильтра

(на одинаковом расстоянии с треугольным
образцом); 10 -

перфорированный дисковый
сепаратор фильтра с отверстиями

(на одинаковом
расстоянии с треугольным образцом); 11 - теплоизоляция;
12 - концевой элемент с резьбой М12 для насадки форсунки
Примечание - Пробоотборная форсунка, зонд и корпус фильтра из нержавеющей стали.
Рисунок A.3 - Предлагаемое расположение дискового
сепаратора фильтра
(обязательное)
КРИТЕРИИ ИНТЕРПРЕТАЦИИ РЕШЕНИЙ
ПО БЛОКИРОВКЕ ПРОСКОКА ПЛАМЕНИ
Таблица B.1
Критерии интерпретации решений
по блокировке проскока пламени
Номер | Предотвращение теплопередачи (см. 4.3.3.2) | Предотвращение обратного потока (см. 4.3.3.3) | Предотвращение распространения огня (см. 4.3.3.4) | Независимо от электроснабжения (см. 4.3.3.1) | Принятое решение | Критерии, которые удовлетворяют требованиям общепринятых решений |
1 | да | нет | да | да | Огнетушитель с водой в качестве тушащей среды | Огнетушитель должен обеспечивать распределение воды по всей площади поперечного сечения устройства загрузки топлива Количество воды должно быть >= 0,1 л на кВт номинальной теплопроизводительности, но >= 5 л Если объем воды меньше двукратного объема устройства загрузки топлива, необходимо организовать постоянное подключение к водопроводу Огнетушитель должен быть установлен в сочетании с защитным термостатом (STB) согласно [34] (термореле STW + несбрасываемый аварийный выключатель), который срабатывает при температуре <= 95 °C Воду в качестве средства тушения горящего угля применять не допускается |
2 | да | нет | да | нет | Автоматическое устройство аварийного опорожнения | Аварийное опорожнение ограниченного количества топлива, срабатывающее посредством защитного термостата (STB) согласно [34] (термореле STW + несбрасываемый аварийный выключатель), который срабатывает при температуре <= 85 °C, либо при повышении температуры  по сравнению с нормальным рабочим режимом (макс. 95 °C); опорожняет устройство загрузки топлива без переполнения топки |
3 | да | нет | нет | нет | Устройство загрузки топлива с водяным охлаждением, при котором температура воды поддерживается защитным термостатом STB | Максимальная температура воды 95 °C, через отдельный защитный термостат STB или STB котла в закрытом водяном контуре |
4 | да | нет | да | да | Устройство пожаротушения во встроенном топливном бункере и устройство STB (защитный термостат), настроенное на 95 °C, с ручной разблокировкой после отключения | Огнетушитель должен обеспечивать распределение воды по всей площади поперечного сечения топливного бункера. Количество воды должно быть обеспечено путем постоянного подключения к водопроводу. Огнетушитель должен быть установлен в сочетании с защитным термостатом STB согласно [34] (STW + несбрасываемый аварийный выключатель), который срабатывает при температуре <= 95 °C |
5 | да | нет | нет | да | Достаточная теплоизоляция встроенного топливного бункера от раскаленных компонентов котла | Теплоизоляция должна быть выполнена из негорючего материала |
6 | да | нет | нет | да | Естественно вентилируемое пространство между встроенным топливным бункером и корпусом котла (отдельный кожух) | Требования должны быть выполнены для испытаний согласно 5.16.4 без принудительной вентиляции |
| нет | да | да | да | Предохранительное устройство для непрерывной герметизации участка подачи топлива от устройства загрузки топлива | Предохранительное устройство, которое непрерывно герметизирует при утечке 1% от расхода дымовых газов при комнатной температуре (1 м3/ч для теплопроизводительности до 70 кВт) и перепаде давления 5 Па + разрешенное избыточное давление в топке. Незаблокированное поперечное сечение и достаточный объем, чтобы исключить вред от топлива (например, в нормальном рабочем режиме, при выключении и перегрузке) |
| нет | да | да | да | Предохранительное устройство для герметизации участка подачи топлива на всех этапах работы и в случае неисправности, кроме этапа подачи топлива | Предохранительное устройство (без непрерывной герметизации) при утечке 1% от расхода дымовых газов при комнатной температуре (1 м3/ч для теплопроизводительности до 70 кВт) и перепаде давления 5 Па. Допускается только для котла с разрежением в топке. Незаблокированное поперечное сечение и достаточный объем, чтобы исключить вред от топлива (например, в нормальном рабочем режиме, при выключении и перегрузке) |
|
|
9 | нет | да | да | да | Герметично закрытый топливный бункер с выравниванием давления и предохранительным выключателем на крышке бункера | Герметично закрытый топливный бункер с выравниванием давления, которое обеспечивается в нормальном рабочем режиме и при сбоях. Просачивание горячих газов в топливный бункер следует исключить с помощью соединения зоны подачи топлива и расходного топливного бункера. Данное соединение должно иметь такие размеры, чтобы обеспечить выравнивание давления, но не ускорять распространение пламени. Крышка расходного топливного бункера должна управляться переключателем (согласно ГОСТ IEC 60730-2-5, H27), который перекрывает подачу воздуха для горения при открытой крышке или при неисправности. Выравнивание давлений должно работать в самотечном режиме (без поддержки вентилятора) |
10 | нет | да | да | да | Герметичная крышка расходного бункера в сочетании с работой котла при разрежении, шнековым транспортером и предохранительным переключателем | Герметичная крышка расходного бункера в сочетании с работой котла при разрежении. Просачивание раскаленных газов в топливный бункер следует исключить путем использования естественной тяги (например, шнековый транспортер). Крышка расходного топливного бункера должна управляться переключателем (ГОСТ IEC 60730-2-5, H27), который перекрывает подачу воздуха для горения при открытой крышке или при неисправности. Минимальный наклон 30°, минимальная разность высот 20 см |
11 | нет | да | да | да | Применение направленного потока, который создает стабильное давление разрежения | Применение направленного потока, который создает стабильное разрежение, например, инжекторная форсунка с предохранительным устройством класса B согласно 4.3.1, которое следит за работой вентилятора, определяя число его оборотов в минуту либо путем измерения разрежения, и в случае сбоя перекрывает подачу. Блокировка подачи должна осуществляться шнековым транспортером и уплотнением (условия согласно описанным в разделах 7 или 8, или 12) |
| нет | да | да | да | Шнековый транспортер со ссыпным лотком в топку | Применимо только для котлов <= 70 кВт. Минимальный наклон 30°. Минимальная разность высот: 150 мм <= 15 кВт; 250 мм > 15 кВт <= 70 кВт |
13 | нет | нет | да | да | Ссыпная шахта без предохранительного устройства | Только для гранул и теплопроизводительности для 300 кВт. Минимальная высота: 150 мм <= 15 кВт; 250 мм > 15 кВт <= 70 кВт; 300 мм > 70 кВт <= 300 кВт |
| EN 14961-5 | Solid biofuels. Fuel specifications and classes. Part 5: Firewood for non-industrial use (Топливо биологическое твердое. Спецификация топлива и классы. Часть 5. Древесина топливная для непромышленного использования) |
| EN 14961-4 | Solid biofuels. Fuel specifications and classes. Part 4: Wood chips for non-industrial use (Твердое биотопливо. Спецификации топлива и классы. Часть 4. Деревянные обрезки для непромышленного использования) |
| EN 14961-2 | Solid biofuels. Fuel specifications and classes. Part 2: Wood Pellets for non-industrial use (Твердое биотопливо. Спецификации топлива и классы. Часть 2. Деревянные гранулы для непромышленного использования) |
| EN 14961-3 | Solid biofuels. Fuel specifications and classes. Wood briquettes for non-industrial use (Твердое биотопливо. Спецификации топлива и классы. Часть 3. Деревянные брикеты для непромышленного использования) |
| EN 14961-6 | Solid biofuels. Fuel specifications and classes. Part 6: Non-woody pellets for non-industrial use (Твердое биотопливо. Технические условия на топливо и классы. Часть 6. Не деревянные топливные таблетки для внепромышленного использования) |
| EN 14961-1 | Solid biofuels. Fuel specifications and classes. Part 1: Requirements (Топливо биологическое твердое. Спецификация топлива и классы. Часть 1. Общие требования) |
| EN 303-1 | Heating boilers. Part 1: Heating boilers with burner blower. Terminology, requirements, testing and marking (Котлы отопительные. Часть 1. Отопительные котлы с горелкой с принудительной тягой. Терминология, общие требования, испытания и маркировка) |
| EN 13501-1 | Fire classification of construction products and building elements. Part 1: Classification using test data from reaction to fire tests (Классификация пожаростойкости конструкций и элементов зданий. Часть 1. Классификация, использующая данные испытаний о реакции горения при испытании на огнестойкость) |
| EN 287-1 | Qualification test of welders. Fusion welding. Part 1: Steels (Квалификационные испытания сварщиков. Сварка плавлением. Часть 1. Стали) |
| EN ISO 9606-2 | Qualification test of welders. Fusion welding. Part 2: Aluminium and aluminium alloys (Испытания квалификационные сварщиков, выполняющих сварку плавлением. Часть 2. Алюминий и алюминиевые сплавы) |
| EN 22553 | Welded, brazed and soldered joints. Symbolic representation on drawings (Соединения сварные и паяные твердым и мягким припоем. Условные обозначения на чертежах) |
| ISO 857-1 | Welding and allied processes - Vocabulary - Part 1: Metal welding processes (Сварка и связанные с ней процессы. Словарь. Часть 1. Процессы сварки металла) |
| ISO 857-2 | Welding and allied processes - Vocabulary - Part 2: Soldering and brazing processes and related terms (Сварка и связанные с ней процессы. Словарь. Часть 2. Процессы пайки твердым и мягким припоем и относящиеся к ним термины) |
| EN 10204 | Metallic products. Types of inspection documents (Изделия металлические. Типы актов приемочного контроля) |
| EN 10027-2 | Designation systems for steels - Part 2: Numerical system (Стали. Системы обозначения. Часть 2. Система нумерации) |
| EN 10025-1 | Hot rolled products of structural steels. General technical delivery conditions (Изделия горячекатаные из конструкционной стали. Часть 1. Общие технические условия поставки) |
| EN 10025-2 | Hot rolled products of structural steels. Technical delivery conditions for non-alloy structural steels (Изделия горячекатаные из конструкционных сталей. Часть 2. Технические условия поставки для нелегированной конструкционной стали) |
| EN 10216-1 | Seamless steel tubes for pressure purposes. Technical delivery conditions. Part 1: Non-alloy steel tubes with specified room (Трубы стальные бесшовные для работы под давлением. Технические условия поставки. Часть 1. Трубы из нелегированной стали с установленными свойствами для комнатной температуры) |
| EN 10028-2 | Flat products made of steels for pressure purposes - Part 2: Non-alloy and alloy steels with specified elevated temperature properties (Прокат плоский стальной для работы под давлением. Часть 2. Нелегированные и легированные стали с заданными характеристиками при повышенной температуре) |
| EN 10028-3 | Flat products made of steels for pressure purposes. Part 3: The Welding fine-grained steel normalized (Прокат плоский стальной для работы под давлением. Часть 3. Свариваемая нормализованная мелкозернистая сталь) |
| EN 10088-2 | Stainless steels - Part 2: Technical delivery conditions for sheet/plate and strip of corrosion resisting steels for general purposes (Стали нержавеющие. Часть 2. Технические условия поставки листовой и полосовой стали, стойкой к коррозии общего назначения) |
| EN 10222-2 | Steel forgings for pressure purposes. Part 2: Ferritic and martensitic steels with specified elevated temperature properties (Поковки стальные для деталей, работающих под давлением. Часть 2. Ферритные и мартенситные стали со специальными свойствами при повышенной температуре) |
| EN ISO 15609-4 | Specification and qualification of welding procedures for metallic materials. Welding procedure specification. Part 4: Laser beam welding (Технические требования и оценка процедур сварки металлических материалов. Технические требования к процедуре сварки. Часть 4. Лазерно-лучевая сварка) |
| EN ISO 15614-11 | Specification and qualification of welding procedures for metallic materials. Part 11: Welding procedure test. Electron and laser beam Welding (Технические требования и оценка процедур сварки металлических материалов. Испытание процедур сварки. Часть 11. Электронная или лазерная сварка) |
| EN ISO 13919-1 | Welding. Electron and laser beam welded joints. Guidance on quality levels for imperfections. Part 1: Steel (Сварка. Соединения, полученные электронно-лучевой и лазерной сваркой. Руководство по оценке уровня качества для дефектов. Часть 1. Сталь) |
| EN ISO 13919-2 | Welding. Electron and laser beam welded joints. Guidance on quality levels for imperfections. Part 2: Aluminium and its weldable alloys (Сварка. Соединения, полученные электронно-лучевой и лазерной сваркой. Руководство по оценке уровней качества соединений в зависимости от дефектов. Часть 2. Алюминий и его поддающиеся сварке сплавы) |
| EN 10029 | Hot-rolled steel plates 3 mm thick or above. Tolerances on dimensions, shape and mass (Листы стальные горячекатаные толщиной 3 мм и более. Допуски на размеры, форму) |
| EN ISO 6506-1 | Materials metal. Hardness test Brinell. Part 1: Test method (Материалы металлические. Определение твердости по Бринеллю. Часть 1. Метод определения) |
| ISO 7005-1 | Metal flanges. Part 1: Steel flanges (Фланцы трубные. Часть 1. Стальные фланцы для трубных систем промышленного и общего назначения) |
| ISO 7005-2 | Metal flanges. Part 2: Flanges, cast iron (Фланцы металлические. Часть 2. Фланцы из литейного чугуна) |
| ISO 7005-3 | Metal flanges. Part 3: Flanges with copper alloys and composite materials (Фланцы металлические. Часть 3. Фланцы из медных сплавов и композиционных материалов) |
| EN 13501-2 | Fire classification of construction products and building elements. Part 2: Classification using data from fire resistance tests, excluding ventilation services (Классификация пожаростойкости конструкций и элементов зданий. Часть 2. Классификация, использующая данные испытаний о реакции горения при испытании на огнестойкость, исключая вентиляцию) |
| EN ISO 12100-1 | Safety of machinery. General assessment and reduction of risks (Безопасность машин. Основные понятия, общие принципы расчета. Часть 1. Основная терминология, методология) |
| EN 14597 | Temperature control devices and temperature limiters for heat generating systems (Регуляторы и ограничители температур для бойлерных установок) |
| EN 60335-2-102 | Household and similar electrical appliances. Safety. Particular requirements for gas, oil and solid-fuel burning appliances having electrical connections (Приборы электрические бытового и аналогичного назначения. Безопасность. Часть 2-102. Частные требования к приборам для сжигания газа, жидкого и твердого топлива, имеющим электрические соединения) |
| EN 61000-6-2 | Electromagnetic compatibility (EMC). Part 6-2: Technical standards. Pomehoustochivost instruments (Электромагнитная совместимость. Часть 6-2. Общие стандарты. Помехоустойчивость к промышленной окружающей среде) |
| EN 61000-6-3 | Electromagnetic compatibility (EMC). Part 6-3. Technical standards. Radiation interference in household, commercial and industrial sector as well in small enterprises (Электромагнитная совместимость. Часть 6. Общие стандарты. Раздел 3. Стандарт на излучение для жилых районов, районов с коммерческими предприятиями и районов с предприятиями легкой промышленности) |
| EN 13384-1 | Chimneys. Thermal and fluid dynamic calculation methods. Chimneys serving one appliance (Дымоходы. Методы расчета теплодинамики и гидроаэродинамики. Часть 1. Дымоходы, обслуживающие одно отопительное устройство) |
| EN 15270 | Pellet burners for small heating boilers. Definitions, requirements, testing, marking (Горелки шариковые для небольших отопительных котлов. Определения, требования, испытания, маркировка) |
| EN 304 | Heating boilers. Test code for heating boilers for atomizing oil burners (Котлы отопительные. Правила испытаний отопительных котлов с распылительной мазутной форсункой) |
| EN 12619 | Stationary source emissions. Determination of the mass concentration of total gaseous organic carbon. Continuous flame ionisation detector method (Излучения стационарных источников. Определение массовой концентрации общего газообразного органического углерода. Метод с использованием непрерывного пламенно-ионизационного детектора) |
| EN 14789 | Stationary source emissions. Determination of volume concentration of oxygen. Reference method. Paramagnetism (Выбросы стационарных источников. Определение объемной концентрации кислорода (O2). Эталонный метод: Парамагнетизм) |
| EN 14792 | Stationary source emissions. Determination of mass concentration of nitrogen oxides (NOx). Reference method: Chemiluminescence (Выбросы стационарных источников. Определение массовой концентрации оксидов азота (NOx). Эталонный метод: Хемилюминесценция) |
| EN 15058 | Stationary source emissions. Determination of the mass concentration of carbon monoxide (CO). Reference method: non-dispersive infrared spectrometry (Стационарный источник выбросов. Определение концентрации массы моноксида углерода (CO). Эталонный метод: недесперсивная инфракрасная спектрометрия) |
| EN 13284-1 | Stationary source emissions. Determination of low range mass concentration of dust. Manual gravimetric method (Выбросы стационарного источника. Определение массовой концентрации пыли низкого диапазона. Часть 1. Метод ручной гравиметрии) |
| EN 14778 | Solid biofuels. Sampling (Твердое биотопливо. Отбор проб) |
| EN 15456 | Heating boilers. Electrical power consumption for heat generators. System boundaries. Measurements (Водонагревательные котлы. Потребление электрической энергии теплогенераторами. Граничные системы. Измерения) |
| EN 15036-1 | Heating boilers. Test regulations for airborne noise emissions from heat generators. Part 1: Airborne noise emissions from heat generators (Котлы обогревательные. Правила испытания для распространения наружного шума из теплогенераторов. Часть 1. Распространение шума потока газа от теплогенератора) |