Главная // Актуальные документы // ГОСТ (Государственный стандарт)СПРАВКА
Источник публикации
М.: Госстрой РФ, ФГУП ЦПП, 2004
Примечание к документу
Документ утратил силу с 1 июля 2017 года в связи с изданием
Приказа Росстандарта от 25.11.2016 N 1802-ст. Взамен введен в действие
ГОСТ 21.602-2016.
Документ включен в
Перечень документов в области стандартизации, в результате применения которых на добровольной основе обеспечивается соблюдение требований Федерального
закона от 30.12.2009 N 384-ФЗ "Технический регламент о безопасности зданий и сооружений" (
Приказ Росстандарта от 30.03.2015 N 365).
С 1 июля 2003 года до вступления в силу технических регламентов акты федеральных органов исполнительной власти в сфере технического регулирования носят рекомендательный характер и подлежат обязательному исполнению только в части, соответствующей целям, указанным в
пункте 1 статьи 46 Федерального закона от 27.12.2002 г. N 184-ФЗ.
Текст документа приведен с учетом
поправки, опубликованной в "Информационном бюллетень о нормативной, методической и типовой проектной документации", N 4, 2005
Документ
введен в действие с 1 июня 2003 года.
Название документа
"ГОСТ 21.602-2003. СПДС. Правила выполнения рабочей документации отопления, вентиляции и кондиционирования"
(введен Постановлением Госстроя РФ от 20.05.2003 N 39)
"ГОСТ 21.602-2003. СПДС. Правила выполнения рабочей документации отопления, вентиляции и кондиционирования"
(введен Постановлением Госстроя РФ от 20.05.2003 N 39)
от 20 мая 2003 г. N 39
МЕЖГОСУДАРСТВЕННЫЙ СТАНДАРТ
СИСТЕМА ПРОЕКТНОЙ ДОКУМЕНТАЦИИ
ДЛЯ СТРОИТЕЛЬСТВА
ПРАВИЛА ВЫПОЛНЕНИЯ РАБОЧЕЙ ДОКУМЕНТАЦИИ
ОТОПЛЕНИЯ, ВЕНТИЛЯЦИИ И КОНДИЦИОНИРОВАНИЯ
System of design documents for construction.
Rules for execution of working documentation
of heating, ventilation and air conditioning
ГОСТ 21.602-2003
1. Разработан Федеральным государственным унитарным предприятием "Проектный, конструкторский и научно-исследовательский институт "СантехНИИпроект" (ФГУП СантехНИИпроект) и Федеральным государственным унитарным предприятием "Центр методологии, нормирования и стандартизации в строительстве" (ФГУП ЦНС).
Внесен Госстроем России.
2. Принят Межгосударственной научно-технической комиссией по стандартизации и техническому нормированию в строительстве 18 октября 2002 г.
За принятие стандарта проголосовали:
┌───────────────────────┬────────────────────────────────────────┐
│ Наименование │ Наименование органа государственного │
│ государства │ управления строительством │
├───────────────────────┼────────────────────────────────────────┤
│Азербайджанская │Госстрой Азербайджанской Республики │
│Республика │ │
│Республика Армения │Министерство градостроительства │
│ │Республики Армения │
│Республика Казахстан │Казстройкомитет │
│Кыргызская Республика │Государственная Комиссия по архитектуре │
│ │и строительству при Правительстве │
│ │Кыргызской Республики │
│Республика Молдова │Министерство экологии, строительства и │
│ │развития территорий Республики Молдова │
│Российская Федерация │Госстрой России │
│Республика Таджикистан │Комархстрой Республики Таджикистан │
│Республика Узбекистан │Госкомархитектстрой Республики │
│ │Узбекистан │
│Украина │Госстрой Украины │
└───────────────────────┴────────────────────────────────────────┘
4. Введен в действие с 1 июня 2003 г. в качестве государственного стандарта Российской Федерации постановлением Госстроя России от 20 мая 2003 г. N 39
Настоящий стандарт устанавливает состав и правила оформления рабочей документации систем отопления, вентиляции и кондиционирования зданий и сооружений различного назначения.
В настоящем стандарте использованы ссылки на следующие стандарты:
ГОСТ 2.316-68 ЕСКД. Правила нанесения на чертежах надписей, технических требований и таблиц
ГОСТ 2.782-96 ЕСКД. Обозначения условные графические. Машины гидравлические и пневматические
ГОСТ 2.785-70 ЕСКД. Обозначения условные графические. Арматура трубопроводная
ГОСТ 21.101-97 СПДС. Основные требования к проектной и рабочей документации
ГОСТ 21.110-95 СПДС. Правила выполнения спецификации оборудования, изделий и материалов
ГОСТ 21.112-87 СПДС. Подъемно-транспортное оборудование. Условные изображения
ГОСТ 21.114-95 СПДС. Правила выполнения эскизных чертежей общих видов нетиповых изделий
ГОСТ 21.205-93 СПДС. Условные обозначения элементов санитарно-технических систем
ГОСТ 21.404-85 СПДС. Автоматизация технологических процессов. Обозначения условные приборов и средств автоматизации в схемах
ГОСТ 21.501-93 СПДС. Правила выполнения архитектурно-строительных рабочих чертежей
ГОСТ 3262-75. Трубы стальные водогазопроводные. Технические условия.
В настоящем стандарте применяют следующие определения:
3.1. Система - комплекс функционально связанных между собой оборудования, установок (блоков), устройств, изделий, трубопроводов и (или) воздуховодов (например, система приточная П1, система вытяжная В1, система отопления 1, система теплоснабжения установок П1 - П3).
3.2. Чертеж систем - чертеж, определяющий относительное расположение функционально связанных между собой оборудования, установок (блоков), трубопроводов и (или) воздуховодов и других частей проектируемых систем.
3.3. Установка - условное наименование комплекса взаимосвязанного оборудования и (или) устройств, а при необходимости трубопроводов (воздуховодов), присоединенных к оборудованию установки системы (например, установка приточной системы П1, установка вытяжной системы В1).
3.4. Чертеж установок - чертеж, содержащий упрощенное изображение установок, определяющий их конструкцию, размеры, взаимное расположение и обозначение элементов установок и другие необходимые данные.
4.1. Рабочую документацию отопления, вентиляции и кондиционирования выполняют в соответствии с требованиями настоящего стандарта,
ГОСТ 21.101 и других взаимосвязанных стандартов Системы проектной документации для строительства (СПДС).
4.2. В состав рабочей документации систем отопления, вентиляции и кондиционирования (далее - систем) включают:
- рабочие чертежи, предназначенные для производства строительно-монтажных работ (основной комплект рабочих чертежей марки ОВ);
- эскизные чертежи общих видов нетиповых изделий, конструкций, устройств, монтажных блоков (далее - эскизные чертежи общих видов нетиповых изделий);
- спецификацию оборудования, изделий и материалов;
- опросные листы и габаритные чертежи <*>;
- локальную смету <*>.
------------------------------------
<*> Выполняют при необходимости.
4.3. В состав основного комплекта рабочих чертежей марки ОВ включают:
- общие данные по рабочим чертежам;
- чертежи (планы, разрезы и схемы) систем;
- чертежи (планы и разрезы) установок систем.
В состав основного комплекта рабочих чертежей марки ОВ допускается включать также рабочие чертежи тепловых пунктов при диаметре ввода теплоносителя до 150 мм.
4.4. Каждой системе присваивают обозначение, состоящее из марки (таблица 1) и порядкового номера системы в пределах марки.
Таблица 1
┌──────────────────────────────────────────────────┬─────────────┐
│ Наименование систем и установок систем │ Марка │
├──────────────────────────────────────────────────┼─────────────┤
│С механическим побуждением: │ │
│ приточные системы, установки систем │ П │
│ вытяжные системы, установки систем │ В │
│ воздушные завесы │ У │
│ агрегаты отопительные │ А │
│С естественным побуждением: │ │
│ приточные системы │ ПЕ │
│ вытяжные системы │ ВЕ │
└──────────────────────────────────────────────────┴─────────────┘
Пример - П1, П2.
Установкам систем присваивают те же обозначения, что и системам, в которые они входят.
4.5. Элементам систем отопления присваивают обозначения, состоящие из марки (таблица 2) и порядкового номера элемента в пределах марки.
Таблица 2
┌──────────────────────────────────────────────────┬─────────────┐
│ Наименование элемента │ Марка │
├──────────────────────────────────────────────────┼─────────────┤
│Стояк системы отопления │ Ст │
│Главный стояк системы отопления │ Гст │
│Компенсатор │ К │
│Горизонтальная ветвь │ ГВ │
└──────────────────────────────────────────────────┴─────────────┘
Пример - Ст1, Ст2.
Допускается индексация стояков систем отопления прописными буквами в пределах обозначения стояка.
Пример - Ст2А, Ст2Б.
4.6. Лючки для замеров параметров воздуха обозначают маркой "ЛП", лючки для чистки воздуховодов - маркой "ЛВ".
4.7. Трубопроводы и их элементы на чертежах указывают условными графическими обозначениями и (или) упрощенными изображениями по
ГОСТ 21.206. При выполнении трубопроводов упрощенно, как правило, применяют общие обозначения, предусмотренные ГОСТ 21.206 (таблица 1,
пункты 6а и
7а).
Графические обозначения отдельных элементов трубопроводов (изолированный участок трубопровода, трубопровод в трубе (футляре), трубопровод в сальнике, гидрозатвор, компенсатор, вставка амортизационная, место сопротивления в трубопроводе (шайба дроссельная), опора (подвеска) трубопровода) принимают по
таблице 6 ГОСТ 21.205.
Буквенно-цифровые обозначения трубопроводов принимают по
таблице 8 ГОСТ 21.205.
4.8. Графические обозначения элементов общего применения (фильтр, подогреватель, охладитель, теплоутилизатор, осушитель воздуха, увлажнитель воздуха, конденсатоотводчик, отборное устройство) принимают по
таблице 1 ГОСТ 21.205.
Графические обозначения элементов систем отопления (труба отопительная гладкая, регистр из гладких труб, труба отопительная ребристая, регистр из ребристых труб, конвектор отопительный, радиатор отопительный, прибор отопительный потолочный, агрегат воздушно-отопительный, грязевик) принимают по
таблице 3 ГОСТ 21.205.
Графические обозначения элементов систем вентиляции и кондиционирования (воздуховод, отверстие (решетка) для забора (выпуска) воздуха, воздухораспределитель, местная вытяжка (отсос, укрытие), дефлектор, зонт, заслонка (клапан), шибер, клапан обратный, клапан огнезадерживающий, лючок для замеров параметров воздуха и (или) чистки воздуховодов, узел прохода вентиляционных шахт, камера вентиляционная приточная (кондиционер), глушитель шума, канал подпольный) принимают по
таблице 3 ГОСТ 21.205.
Графические обозначения направления потока жидкости, воздуха и элементов привода принимают по
таблице 4 ГОСТ 21.205, баков, насосов и вентиляторов - по
таблице 5 ГОСТ 21.205, трубопроводной арматуры - по
таблице 7 ГОСТ 21.205.
Взамен графического обозначения осевого вентилятора, приведенного в таблице 5,
пункт 6б ГОСТ 21.205, следует принимать обозначение по таблице 3 <*>.
------------------------------------
Таблица 3
Примеры изображения осевого вентилятора на схеме, выполненной в аксонометрической проекции, приведены на рисунке 1.
Рисунок 1
4.9. Условные графические изображения основного подъемно-транспортного оборудования принимают по
ГОСТ 21.112 и выполняют в масштабе чертежа.
Подъемно-транспортное оборудование, условные графические изображения которого в указанном стандарте не приведены, изображают упрощенно по аналогии, учитывая конструктивные особенности конкретного оборудования.
4.10. При изображении трубопровода на чертеже (схеме) буквенно-цифровые обозначения указывают на полках линий-выносок в соответствии с рисунком 2а и (или) в разрывах линий трубопроводов в соответствии с рисунком 2б.
Рисунок 2
4.11. При указании размера диаметра перед размерным числом следует писать знак "Диаметр". Обозначение диаметра трубопровода или воздуховода наносят на полке линии-выноски в соответствии с рисунком 3а.
В том случае, когда на полке линии-выноски наносят буквенно-цифровое обозначение трубопровода по
4.10, диаметр трубопровода указывают под полкой линии-выноски в соответствии с рисунком 3б, в.
Рисунок 3
Для трубопроводов из стальных водогазопроводных труб (
ГОСТ 3262) указывают диаметр условного прохода и толщину стенки. Для трубопроводов из стальных электросварных труб указывают наружный диаметр и толщину стенки. Для трубопроводов из других труб указывают аналогичные сведения в соответствии с требованиями стандартов на трубы (сортамент, технические условия).
В обозначении сечения прямоугольных воздуховодов, нанесенных на плане чертежей систем и расположенных в горизонтальной плоскости, первой цифрой указывают его ширину, второй - высоту.
4.12. Примеры построения условных графических обозначений элементов систем приведены в
приложении А ГОСТ 21.205.
Примеры построения условных обозначений и упрощенных графических изображений элементов систем в схемах, выполняемых в аксонометрических проекциях, приведены в
приложении Б ГОСТ 21.205.
4.13. Условные обозначения приборов, средств автоматизации и линий связи следует принимать по
ГОСТ 21.404.
Пример выполнения принципиальной технологической схемы вентиляционной системы с указанием приборов, средств автоматизации и линий связи приведен в
приложении В ГОСТ 21.205.
Буквенные обозначения измеряемых величин и функциональных признаков приборов, указанные на схеме и в таблице (
приложение В ГОСТ 21.205), приняты по
ГОСТ 21.404.
Примеры буквенных обозначений измеряемых величин (
ГОСТ 21.404) приведены в таблице 4.
Таблица 4
Обозначение | Измеряемая величина |
T | Температура |
P | Давление |
D | Перепад |
Примеры буквенных обозначений функциональных признаков приборов (
ГОСТ 21.404) приведены в таблице 5.
Таблица 5
Обозначение | Функциональный признак прибора |
I | Показание |
C | Автоматическое регулирование |
S | Включение, отключение, блокировка |
4.14. Рекомендуемые масштабы изображений на чертежах приведены в таблице 6.
Таблица 6
Наименование изображения | Масштаб |
1 План-схема размещения установок систем | 1:400; 1:800 |
2 Планы и разрезы чертежей систем | 1:50; 1:100; 1:200 |
3 Схемы систем в аксонометрической проекции | 1:50; 1:100; 1:200 |
4 Планы и разрезы чертежей установок систем | 1:50; 1:100 |
5 Фрагменты планов и разрезов чертежей систем | 1:50; 1:100 |
6 Узлы планов и разрезов чертежей систем | 1:20; 1:50 |
7 Узлы планов и разрезов чертежей установок систем | 1:20 |
8 Узлы при детальном изображении | 1:2; 1:5; 1:10 |
9 Узлы схем систем в аксонометрической проекции | 1:10; 1:20; 1:50 |
10 Эскизные чертежи общих видов нетиповых изделий | 1:5; 1:10; 1:20; 1:50; 1:100 |
4.15. Если изображение (например, план чертежей систем вентиляции) не помещается на листе принятого формата, то его делят на несколько участков, размещая их на отдельных листах (
ГОСТ 21.101).
| | ИС МЕГАНОРМ: примечание. В официальном тексте документа, видимо, допущена опечатка: приложение 3 ГОСТ 21.101 отсутствует. Вероятно, речь идет о приложении В ГОСТ 21.101. | |
4.16. При выполнении рабочей документации систем отопления и вентиляции следует также руководствоваться требованиями стандартов Единой системы конструкторской документации (ЕСКД), приведенными в
приложении 3 ГОСТ 21.101, которые дополняют и не противоречат стандартам СПДС и настоящему стандарту.
При необходимости применяют отдельные условные обозначения, установленные стандартами ЕСКД (классификационная группа 7), если эти обозначения не предусмотрены
ГОСТ 21.205 (например, обозначение клапана воздушного автоматического (вантуза) по
ГОСТ 2.785, обозначение насоса, построенное по функциональным признакам, по
ГОСТ 2.782).
4.17. На чертежах и схемах перед размерным числом, определяющим величину уклона, наносят знак "

", острый угол которого должен быть направлен в сторону уклона. Величину уклона указывают в виде десятичной дроби с точностью до третьего знака.
Обозначение уклона наносят непосредственно над линией контура (рисунок 4а) или на полке линии-выноски (рисунок 4б).
Рисунок 4
4.19. На разрезах (сечениях) чертежей систем (установок) и схемах, выполняемых в аксонометрической проекции, отметки (
ГОСТ 21.101) указывают на выносных линиях (рисунок 5а) и (или) линиях контура в соответствии с рисунком 5б.
На планах чертежей систем (установок) отметки указывают в прямоугольнике в соответствии с рисунком 5в.
Рисунок 5
5. Общие данные по рабочим чертежам
5.1. В состав общих данных по рабочим чертежам (
ГОСТ 21.101) систем отопления, вентиляции и кондиционирования включают:
а) ведомость рабочих чертежей основного комплекта;
б) ведомость ссылочных и прилагаемых документов;
в) ведомость основных комплектов рабочих чертежей;
е) план-схему размещения установок систем;
ж) характеристику систем;
и) основные показатели по рабочим чертежам марки ОВ.
5.2. Ведомость рабочих чертежей основного комплекта (5.1, перечисление а) составляют по
форме 1 ГОСТ 21.101.
5.3. Ведомость ссылочных и прилагаемых документов (5.1, перечисление б) составляют по
форме 2 ГОСТ 21.101.
5.4. Ведомость основных комплектов рабочих чертежей (5.1, перечисление в) составляют по
форме 2 ГОСТ 21.101 при наличии нескольких основных комплектов рабочих чертежей марки ОВ и приводят на листе общих данных каждого из этих комплектов.
5.5. На листе общих данных по рабочим чертежам приводят условные обозначения (5.1,
перечисление г), не установленные государственными стандартами и значения которых не указаны на других листах основного комплекта рабочих чертежей марки ОВ.
- основание для разработки рабочих чертежей марки ОВ (задание на проектирование, утвержденное технико-экономическое обоснование (проект) строительства, утвержденные (одобренные) обоснования инвестиций в строительство для технически несложных объектов);
- запись о результатах проверки на патентоспособность и патентную чистоту впервые применяемых или разработанных в проекте процессов, оборудования, приборов, конструкций, материалов и изделий, а также номера авторских свидетельств и заявок, по которым приняты решения о выдаче авторских свидетельств на используемые в рабочей документации изобретения;
- запись о том, что рабочие чертежи разработаны в соответствии с действующими нормами, правилами и стандартами;
- сведения о том, кому принадлежит данная интеллектуальная собственность (при необходимости);
- расчетные параметры наружного и внутреннего воздуха;
- данные о теплоносителе, холодоносителе (наименование, расход, параметры);
- ссылки на Строительные нормы и правила (СНиП) и другие нормативные документы, по которым произведен расчет систем отопления, вентиляции и кондиционирования;
- требования к изготовлению, монтажу, испытанию, антикоррозионной защите, тепловой и противопожарной изоляции, огнезащитному покрытию воздуховодов и трубопроводов, а также состав изоляционных конструкций;
- особые требования к установкам (взрывобезопасность, кислотостойкость и другие);
- перечень видов работ, для которых необходимо составление актов освидетельствования скрытых работ.
В общих указаниях не следует повторять технические требования, помещенные на других листах основного комплекта рабочих чертежей марки ОВ, и давать описание технических решений, принятых в рабочих чертежах.
5.7. На план-схеме размещения установок систем (5.1,
перечисление е) наносят:
- контур здания (сооружения);
- координационные оси здания (сооружения) и общие размеры между крайними координационными осями;
- установки систем;
- ввод теплоносителя;
- тепловой пункт.
Установки систем на план-схеме изображают точками диаметром 1 - 2 мм с указанием на полке линии-выноски обозначения установки и под полкой - номера листа, на котором приведен чертеж установки.
Наименование план-схемы размещения установок систем указывают сокращенно: "План-схема".
Пример выполнения план-схемы размещения установок систем приведен в
Приложении Б.
5.8. Характеристику систем (5.1,
перечисление ж) выполняют в виде таблицы по форме 1.
Характеристика систем
Форма 1
Продолжение формы 1
Продолжение формы 1
Окончание формы 1
При отсутствии в системах отдельных видов оборудования, соответствующие графы из таблицы исключают.
Если таблицу делят на части, то в начале каждой последующей части помещают графу "Обозначение системы".
В типовых проектах характеристику воздухонагревателей и, при необходимости, другого оборудования указывают для принятых проектом расчетных температур наружного воздуха.
5.9. Основные показатели по рабочим чертежам марки ОВ (5.1,
перечисление и) выполняют в виде таблицы по форме 2. При необходимости в таблицу включают дополнительные графы (например, удельный расход теплоты).
Основные показатели по рабочим чертежам марки ОВ
Форма 2
6.1. Планы и разрезы чертежей систем
6.1.1. Изображения - планы и разрезы, фрагменты планов и разрезов и узлы (выносные элементы) - на чертежах систем выполняют в масштабах по
4.14.
6.1.2. Планы чертежей систем отопления (теплоснабжения установок) допускается совмещать с планами чертежей систем вентиляции и кондиционирования. Разрезы чертежей систем отопления, как правило, следует совмещать с разрезами чертежей систем вентиляции и кондиционирования.
6.1.3. Дефлекторы, крышные вентиляторы и другие элементы систем, расположенные на кровле здания, наносят, как правило, утолщенной штрихпунктирной линией (наложенная проекция) на плане чертежей систем одноэтажного здания или верхнего этажа многоэтажного здания. При этом сложные вентиляционные установки (например, кондиционеры, приточные и (или) вытяжные установки), расположенные на кровле здания, следует выполнять на отдельном плане кровли. Пример изображения дефлектора (система ВЕ1), расположенного на кровле здания, на плане чертежей систем одноэтажного здания, приведен на рисунке 6.
План
Рисунок 6
6.1.4. При сложном многоярусном расположении воздуховодов и других элементов систем вентиляции и кондиционирования в одном этаже для наглядности их взаимосвязей выполняют планы на различных уровнях в пределах этажа.
6.1.5. Трубопроводы, выполненные условными графическими обозначениями (в одну линию) по
ГОСТ 21.206 и расположенные друг над другом в одной плоскости (рисунок 7а), на планах чертежей систем условно изображают параллельными линиями в соответствии с рисунком 7б.
Рисунок 7
6.1.6. Элементы систем отопления и теплоснабжения установок, кроме оборудования, на планах и разрезах чертежей систем указывают условными графическими обозначениями, элементы систем вентиляции и кондиционирования, а также оборудование систем отопления и теплоснабжения установок (например, отопительные агрегаты, насосы) - в виде упрощенных графических изображений.
6.1.7. На фрагментах планов, разрезов и узлах (выносных элементах) трубопроводы, арматуру и другие устройства изображают упрощенно или условными графическими обозначениями в зависимости от масштаба чертежа и диаметра трубопровода. Трубопроводы, у которых на чертеже диаметры равны 2 мм и более, изображают упрощенно двумя линиями. При выполнении трубопровода упрощенно двумя линиями арматуру и другие устройства изображают также упрощенно с учетом их габаритных размеров (рисунок 8).
Разрез
Рисунок 8
На фрагментах планов, разрезов и узлах (выносных элементах) пересечение трубопроводов без соединения, а также трубопроводы, расположенные друг над другом в одной плоскости и выполненные условными графическими обозначениями (в одну линию), изображают в соответствии с рисунком 9.
План
Рисунок 9
6.1.8. На планах и разрезах чертежей систем наносят и указывают:
- координационные оси здания (сооружения) и расстояния между ними (для жилых зданий - расстояния между осями секций);
- строительные конструкции, технологическое оборудование, имеющее местные отсосы, а также пограничные (соседние) другие инженерные коммуникации и оборудование, влияющие на прокладку трубопроводов (воздуховодов) систем;
- отметки чистых полов этажей и основных площадок;
- размерные привязки установок систем, воздуховодов, основных трубопроводов, технологического оборудования, неподвижных опор и компенсаторов к координационным осям или элементам конструкций здания (сооружения);
- обозначения систем (установок систем);
- буквенно-цифровые обозначения трубопроводов;
- диаметры (сечения) воздуховодов и трубопроводов;
- количество секций радиаторов, количество и длину ребристых труб, количество труб в регистре и длину регистра из гладких труб или обозначение регистра, а также обозначение (тип) по другим отопительным приборам;
- обозначения стояков, компенсаторов, горизонтальных ветвей систем отопления.
На планах, кроме того, указывают наименования помещений (типы помещений - для жилых зданий) и категории помещений по взрывопожарной и пожарной опасности (в прямоугольнике размером 5 х 8 мм), а на разрезах - отметки уровней осей трубопроводов и круглых воздуховодов, низа прямоугольных воздуховодов, опорных конструкций установок систем, верха выхлопных воздуховодов вытяжных систем.
Допускается наименования помещений и категории помещений по взрывопожарной и пожарной опасности приводить в экспликации помещений по
форме 2 ГОСТ 21.501.
Примеры выполнения планов и разрезов чертежей систем приведены в
Приложении В.
6.1.9. В типовых проектах (типовых проектных решениях) зданий и сооружений для двух и более расчетных температур наружного воздуха и (или) для двух и более этажей номер этажа, расчетную температуру наружного воздуха, данные по отопительным приборам, указанным на планах, приводят в таблице (рисунок 10).
Рисунок 10
При наличии на чертеже нескольких таблиц допускается наименование граф приводить только на одной из них (рисунок 11).
Рисунок 11
В типовых проектах (типовых проектных решениях) зданий и сооружений для двух и более расчетных температур наружного воздуха диаметры трубопроводов, при необходимости, указывают в таблице.
При наличии на чертеже нескольких таблиц допускается наименование граф приводить только на одной из них, а также исключать отдельные графы повторяющихся показателей (рисунок 12).
Рисунок 12
6.1.10. На листе планов чертежей систем помещают таблицу местных отсосов от технологического оборудования, выполненную по форме 3. Допускается таблицу местных отсосов приводить на отдельных листах.
Местные отсосы от технологического оборудования
Форма 3
Окончание формы 3
6.1.11. На планах, разрезах и их фрагментах оборудование, установки, воздуховоды, трубопроводы и другие элементы систем изображают толстой основной линией.
Строительные конструкции и технологическое оборудование, а также пограничные (соседние) другие инженерные коммуникации, влияющие на прокладку трубопроводов (воздуховодов) систем (
6.1.8), на планах, разрезах и их фрагментах изображают упрощенно тонкой линией.
6.1.12. В наименованиях планов чертежей систем указывают отметку чистого пола этажа или номер этажа.
Пример - План на отм. 0,000; План на отм. +3,600, План 4 этажа.
В наименованиях разрезов чертежей систем указывают обозначение соответствующей секущей плоскости.
Пример - Разрез 1-1.
При выполнении двух и более планов на разных уровнях в пределах этажа в наименованиях планов указывают обозначение плоскости горизонтального разреза систем.
Пример - План 3-3.
При выполнении части плана в наименовании указывают оси, ограничивающие эту часть плана.
Пример - План на отм. 0,000 между осями 1 - 8 и А - Д.
6.2. Схемы систем
6.2.1. Схемы систем и узлы (выносные элементы) схем выполняют в аксонометрической фронтальной изометрической проекции в масштабах по
4.14. При небольших зданиях для схем систем принимают масштаб 1:50.
6.2.2. На схемах элементы систем, как правило, указывают условными графическими обозначениями. При необходимости отдельные элементы системы на схеме, выполняемой в аксонометрической проекции, изображают упрощенно в виде контурных очертаний (ГОСТ 21.205,
приложение Б).
6.2.3. При большой протяженности и (или) сложном расположении воздуховодов и трубопроводов допускается изображать их с разрывом в виде пунктирной линии. Места разрывов воздуховодов и трубопроводов обозначают строчными буквами (рисунок 13).
Рисунок 13
6.2.4. На схемах систем отопления (теплоснабжения установок) указывают:
- трубопроводы и их диаметры;
- графическое обозначение изолированных участков трубопровода (при необходимости);
- буквенно-цифровые обозначения трубопроводов;
- отметки уровней осей трубопроводов;
- уклоны трубопроводов;
- размеры горизонтальных участков трубопроводов (при наличии разрывов);
- неподвижные опоры, компенсаторы и нетиповые крепления с указанием на полке линии-выноски обозначения элемента и под полкой - обозначения документа;
- запорно-регулирующую арматуру с указанием на полке линии-выноски диаметра (типа) арматуры и под полкой - обозначения арматуры по каталогу (обозначения документа);
- стояки (горизонтальные ветви) систем отопления и их обозначения;
- отопительные приборы;
- количество секций радиаторов, количество и длину ребристых труб, количество труб в регистре и длину регистра из гладких труб или обозначение регистра, а также обозначение (тип) по другим отопительным приборам. Для несложных систем отопления сведения по отопительным приборам на схеме не приводят (например, на схеме системы отопления здания несложной формы с однорядной (в плане и по высоте) установкой отопительных приборов);
- обозначения установок систем;
- закладные конструкции (отборные устройства для установки контрольно-измерительных приборов) с указанием обозначения конструкции и документа. Закладные конструкции на трубопроводах и других элементах систем указывают точками диаметром 2 мм;
- контрольно-измерительные приборы (при необходимости) и другие элементы систем. При этом буквенные обозначения измеряемых величин и функциональных признаков приборов (
4.13) принимают по
ГОСТ 21.404.
Трубопроводы и другие элементы систем отопления (теплоснабжения установок) на схемах изображают толстой основной линией.
Примеры выполнения схем систем отопления и теплоснабжения установок приведены в
Приложении Г.
6.2.5. Для жилых зданий допускается выполнять схемы систем отопления только на подземную часть здания. Для надземной части здания выполняют схемы стояков и, при необходимости, схему разводки по чердаку. При выполнении схем стояков на листах схем следует приводить правила выполнения указанных схем.
6.2.6. На листе, где изображены схемы систем отопления и теплоснабжения установок, как правило, приводят:
- схемы узлов управления системами отопления и теплоснабжения установок;
- таблицу размеров компенсаторов, выполненную по форме 4;
- узлы (выносные элементы) схем систем отопления и теплоснабжения установок.
Размеры компенсаторов, мм
Форма 4
В наименованиях узлов управления системами отопления и теплоснабжения установок указывают номер узла.
Пример - Узел управления 1; Узел управления 2.
Пример выполнения схемы узла управления системами отопления и теплоснабжения установок приведен в
Приложении Г.
На узлах управления системами отопления и теплоснабжения установок, а также на узлах (выносных элементах) схем систем для запорно-регулирующей арматуры указывают на полке линии-выноски диаметр (тип) арматуры и под полкой - обозначение арматуры по каталогу (обозначение документа). Аналогичные сведения приводят на узлах для других элементов системы.
При необходимости к схеме узла управления системами отопления и теплоснабжения установок выполняют спецификацию по
форме 7 ГОСТ 21.101 или чертежи (планы, разрезы, схему и спецификацию) узла управления системами.
Пример выполнения схемы узла (выносного элемента) системы приведен в
Приложении Г.
6.2.7. На схемах систем вентиляции и кондиционирования указывают:
- воздуховоды, их диаметры (сечения) и количество проходящего воздуха в м3/ч (
рисунок 14);
- графическое обозначение изолированных участков воздуховода (при необходимости);
- графическое обозначение участков воздуховода с огнезащитным покрытием;
- отметки уровня оси круглых и низа прямоугольных воздуховодов;
- оборудование вентиляционных установок;
- контуры технологического оборудования, имеющего местные отсосы (в сложных случаях);
- лючки для замеров параметров воздуха и чистки воздуховодов с указанием на полке линии-выноски марки лючка (
4.6) и под полкой - обозначения документа (
рисунок 15);
- местные отсосы, их обозначения и обозначения документов. Для встроенных местных отсосов, поставляемых комплектно с технологическим оборудованием, обозначение местного отсоса и обозначение документа не указывают;
- регулирующие устройства, воздухораспределители, нетиповые крепления (опоры) и другие элементы систем вентиляции и кондиционирования с указанием на полке линии-выноски обозначения элемента системы и под полкой - обозначения документа. При этом для нетиповых изделий на полке линии-выноски указывают наименование и буквенно-цифровое обозначение изделия (
8.4) и под полкой - обозначение эскизного чертежа.
Примеры выполнения схем систем вентиляции приведены в
Приложении Д.
6.2.8. В наименовании схемы системы отопления для двух и более систем в здании указывают номер системы.
В наименовании схемы системы теплоснабжения установок указывают обозначения установок.
В основной надписи наименования схем систем отопления и теплоснабжения установок указывают полностью.
Пример - Схема системы отопления 1; Схема системы теплоснабжения установок П1 - П3.
Над схемами наименования схем систем отопления и теплоснабжения установок указывают сокращенно.
Пример - Система отопления 1; Система теплоснабжения установок П1 - П3.
6.2.9. В наименованиях схем систем вентиляции и кондиционирования указывают обозначения систем.
В основной надписи наименования схем систем вентиляции и кондиционирования указывают полностью.
Пример - Схемы систем П5, В8.
Над схемами наименования схем систем вентиляции и кондиционирования указывают сокращенно.
Пример - П5, В8.
7. Чертежи установок систем
7.1. Чертежи установок систем отопления, вентиляции и кондиционирования (далее - чертежи установок) следует выполнять при наличии в установке двух и более составных частей (элементов установки), необходимости показа способов крепления составных частей установки между собой или к опорным конструкциям, отсутствии типовых монтажных чертежей или монтажных чертежей завода-изготовителя. В остальных случаях чертежи установок не выполняют.
7.2. Изображения - планы, разрезы и узлы (выносные элементы) - на чертежах установок выполняют в масштабах по
4.14.
7.3. На планах и разрезах чертежей установок элементы установок изображают упрощенно. При необходимости показа способов крепления составных частей установки или их соединения между собой соответствующие элементы изображают детально, как правило, на узлах (выносных элементах) планов и разрезов чертежей установок.
7.4. Правила изображения трубопроводов, арматуры и других устройств на планах, разрезах и узлах (выносных элементах) чертежей установок принимают по
6.1.7.
7.5. На планах и разрезах чертежей установок наносят и указывают:
- координационные оси здания (сооружения) и расстояния между ними;
- отметки чистых полов этажей (площадок);
- размерные привязки установок к координационным осям или к элементам конструкций здания (сооружения);
- основные размеры и отметки уровней элементов установок;
- буквенно-цифровые обозначения трубопроводов;
- диаметры (сечения) воздуховодов и трубопроводов;
- позиционные обозначения оборудования, арматуры, закладных конструкций и других устройств.
На планах и разрезах чертежей установок, кроме элементов установок, указывают строительные конструкции.
7.6. На планах, разрезах и узлах чертежей установок оборудование, конструкции установок, трубопроводы обвязки воздухоохладителя и воздухонагревателя, арматуру и другие устройства изображают толстой основной линией, строительные конструкции - тонкой линией.
Воздуховоды, расположенные над оборудованием (конструкциями) установки, на планах изображают, как правило, утолщенной штрихпунктирной линией (наложенная проекция).
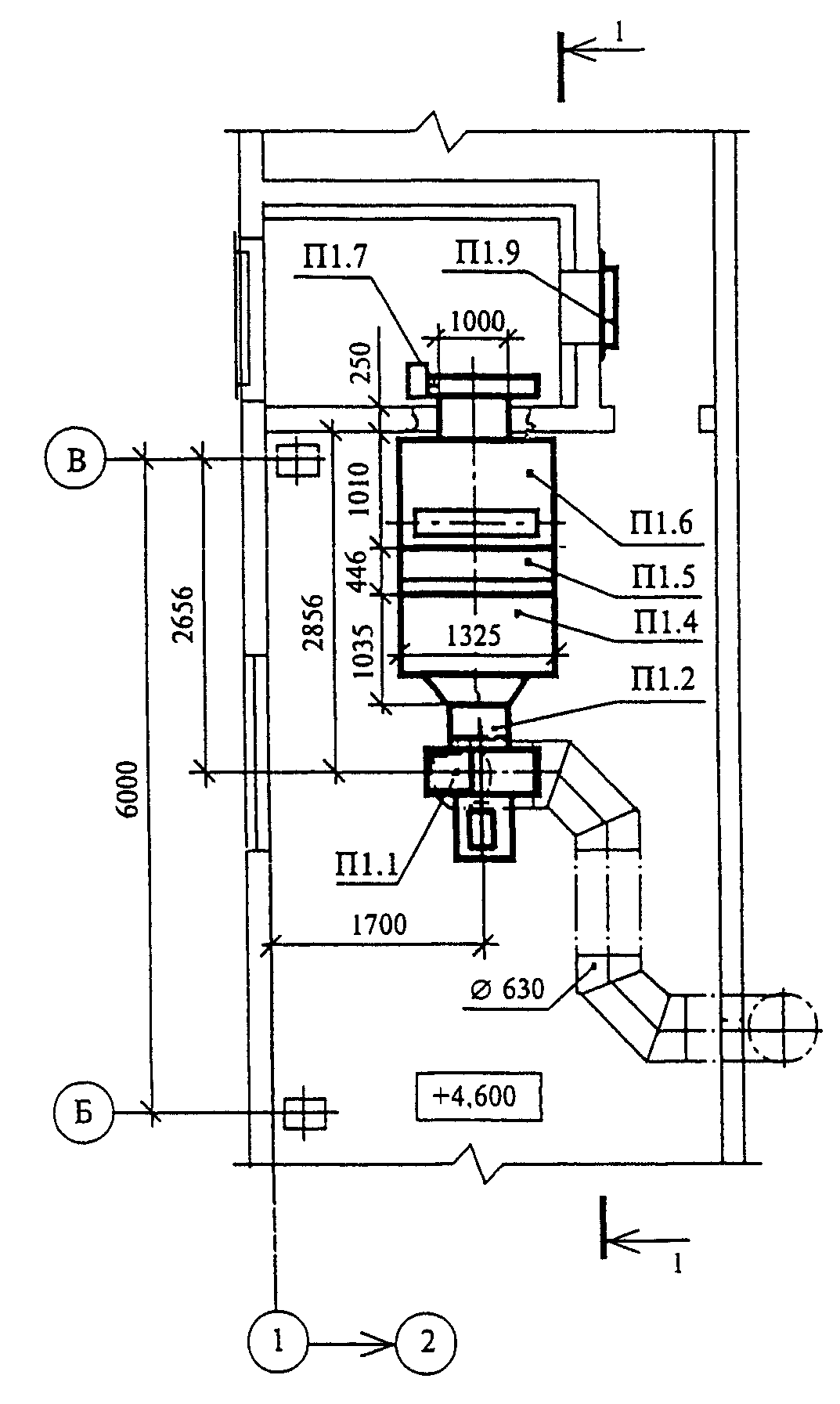
Примеры выполнения планов и разрезов чертежей установок приведены в
Приложении Е.
7.7. При необходимости в составе основного комплекта рабочих чертежей марки ОВ (
4.3) выполняют чертежи (планы, разрезы, узлы (выносные элементы) и, как правило, принципиальную схему) теплового пункта в соответствии с
разделом 7. При этом принципиальную схему выполняют без соблюдения масштаба, действительное пространственное расположение оборудования и трубопроводов учитывают приближенно.
Оборудование, трубопроводы, арматуру и другие устройства на схеме указывают условными графическими обозначениями. При необходимости оборудование на схеме изображают упрощенными внешними очертаниями. Закладные конструкции (отборные устройства для установки контрольно-измерительных приборов) на схеме указывают точками диаметром 2 мм.
Проектируемые трубопроводы, арматуру и другие устройства на схеме изображают сплошной толстой основной линией. Оборудование, а также трубопроводы, арматуру и другие устройства, поставляемые комплектно с оборудованием или существующие, изображают сплошной тонкой линией.
7.8. На схеме наносят и указывают:
- оборудование, трубопроводы, арматуру и другие устройства;
- контрольно-измерительные приборы (при необходимости). При этом буквенные обозначения измеряемых величин и функциональных признаков приборов (
4.13) принимают по
ГОСТ 21.404;
- буквенно-цифровые обозначения трубопроводов, как правило, в разрывах линий трубопроводов;
- диаметры трубопроводов;
- позиционные обозначения оборудования, арматуры, закладных конструкций и других устройств;
- направление потока транспортируемой среды.
7.9. На листе, где изображена принципиальная схема, приводят, при необходимости, узлы (выносные элементы) схемы и текстовые пояснения.
7.10. Элементам установок присваивают позиционные обозначения, состоящие из обозначения установки по
4.4 и порядкового номера элемента в пределах установки.
Пример - П1.1, П1.2, В5.1, В5.2.
7.11. При выполнении в составе основного комплекта рабочих чертежей марки ОВ чертежей тепловых пунктов (
4.3) их рассматривают в качестве чертежей установок. Каждому тепловому пункту (установке) присваивают обозначение, состоящее из марки "ТП" и порядкового номера установки в пределах марки.
Пример - ТП1, ТП2.
7.12. Элементам теплового пункта (установки) присваивают позиционные обозначения, состоящие из обозначения установки по (7.11) и порядкового номера элемента в пределах установки.
Пример - ТП1.1, ТП1.2, ТП2.1, ТП2.2.
7.13. На чертежах установок приводят, при необходимости, технические требования к монтажу установок.
7.14. К чертежам установок составляют спецификацию по
форме 7 ГОСТ 21.101 и помещают, как правило, на листе, где изображены планы чертежей установок. Допускается выполнять спецификацию на отдельных листах.
7.15. В спецификацию к чертежам установок включают оборудование, конструкции установок, арматуру, закладные конструкции и другие устройства, а также трубопроводы по каждому диаметру.
Элементы трубопроводов (отводы, переходы, тройники, крестовины, фланцы, болты, гайки, шайбы, прокладки) в спецификацию не включают.
7.16. В графе "Поз." указывают позиционное обозначение изделия (порядковый номер записи изделия в спецификацию) в пределах марки установки.
Для трубопроводов графу не заполняют.
В графе "Наименование" для каждой установки записывают буквенно-цифровое обозначение по
4.4,
7.11 в виде заголовка и подчеркивают.
7.17. В спецификации изделия записывают по группам в следующей последовательности:
- оборудование;
- арматура;
- другие изделия;
- закладные конструкции;
- трубопроводы по каждому диаметру.
7.18. В наименованиях установок (в основной надписи) указывают буквенно-цифровые обозначения установок по
4.4,
7.11.
Пример - "Установки систем П1, В1".
8. Эскизные чертежи общих видов нетиповых изделий
8.1. Эскизные чертежи общих видов нетиповых изделий (далее - эскизные чертежи) выполняют по
ГОСТ 21.114 с учетом требований настоящего стандарта.
8.2. Эскизные чертежи разрабатывают на несложные в изготовлении нетиповые изделия (конструкции, устройства, монтажные блоки (кроме отопительно-вентиляционного оборудования индивидуального изготовления), конструкции креплений трубопроводов, воздуховодов и др.) при отсутствии их серийного производства, типовой документации, стандартов или других документов на эти изделия.
8.3. Эскизный (групповой эскизный) чертеж определяет исходную конструкцию нетипового изделия, содержит упрощенное изображение, основные параметры и технические требования к изделию в объеме исходных данных (задания), необходимых для разработки конструкторской документации.
Объем исходных данных, необходимых для разработки конструкторской документации нетипового изделия, устанавливает разработчик эскизного чертежа в соответствии с требованиями
ГОСТ 21.114.
8.4. В наименовании нетипового изделия указывают буквенно-цифровое обозначение в пределах каждого вида нетипового изделия. В наименование изделия, как правило, не включают сведения о назначении изделия и его местоположении.
Пример - Регистр из гладких труб ГТ1, Регистр из гладких труб ГТ2.
8.5. Наименования составных частей нетипового изделия на эскизном чертеже указывают на полках линий-выносок. Ориентировочную массу изделия приводят в технических требованиях к эскизному чертежу.
8.6. Эскизные чертежи выполняют в масштабах по
4.14. Допускается выполнять эскизные чертежи без точного соблюдения масштаба, если это не искажает наглядности изображения и не затрудняет чтения чертежа.
Пример выполнения эскизного чертежа общего вида нетипового изделия приведен в
приложении Б ГОСТ 21.114.
9. Спецификация оборудования, изделий и материалов
9.1. Спецификацию оборудования, изделий и материалов (далее - Спецификация) выполняют по
ГОСТ 21.110 с учетом требований настоящего стандарта.
9.2. При наличии пристроенной к производственному зданию (сооружению) части или встройки, в которых размещаются вспомогательные помещения, Спецификацию выполняют по частям:
- производственная часть;
- вспомогательная часть.
Если жилое здание имеет пристройку или встройку, в которых размещаются предприятия общественного обслуживания, то спецификацию также составляют по частям:
- жилая часть;
- вспомогательная часть.
Наименование каждой части записывают в виде заголовка в графе 2 и подчеркивают.
9.3. Спецификацию или ее части составляют по разделам:
- отопление;
- теплоснабжение установок систем;
- вентиляция или вентиляция и кондиционирование (при его наличии).
Наименование каждого раздела записывают в виде заголовка в графе 2 и подчеркивают.
9.4. Элементы систем (оборудование, изделия) и материалы в разделах Спецификации записывают по группам в следующей последовательности:
в разделах "Отопление" и "Теплоснабжение установок систем":
- отопительное оборудование;
- трубопроводная арматура;
- другие элементы систем;
- закладные конструкции (отборные устройства для установки контрольно-измерительных приборов);
- трубопроводы;
- конструкции теплоизоляционные;
- материалы.
Трубопроводы в разделах Спецификации записывают по каждому диаметру. Элементы трубопровода (отводы, переходы, тройники, крестовины, фланцы, болты, гайки, шайбы, прокладки) в Спецификацию не включают;
в разделе "Вентиляция" ("Вентиляция и кондиционирование"):
- вентиляционное оборудование;
- другие элементы систем;
- закладные конструкции;
- воздуховоды;
- конструкции теплоизоляционные;
- материалы.
Воздуховоды в разделе Спецификации записывают по каждому диаметру (сечению).
Элементы систем (оборудование, изделия) и материалы в пределах указанных групп размещают в порядке возрастания их основных параметров (например, типа, марки, диаметра, сечения).
В графе 2 "Наименование и техническая характеристика" Спецификации перед наименованием оборудования, изделий и материалов указывают их порядковый номер записи в Спецификацию в пределах раздела. При этом графу 1 "Позиция" не заполняют.
Пример составления спецификации оборудования, изделий и материалов приведен в
Приложении Ж.
9.5. В Спецификации принимают следующие единицы измерений:
- оборудование (установки), арматура, воздухораспределители, заслонки, местные отсосы (укрытия), опоры (крепления) трубопроводов и воздуховодов, закладные конструкции (отборные устройства для установки контрольно-измерительных приборов) и другие элементы систем - шт.;
- радиаторы - секций/кВт (шт./кВт);
- конвекторы, трубы ребристые, регистры из гладких труб - шт./кВт;
- трубопроводы и воздуховоды - м;
- материалы изоляционные - м3;
- материалы покрытий и защиты - м2;
- другие материалы - кг.
10. Опросные листы и габаритные чертежи
10.1. Опросные листы и габаритные чертежи выполняют в соответствии с данными заводов-изготовителей оборудования и комплектуют их в виде отдельного выпуска с наименованием "Опросные листы".
Выпуску "Опросные листы" присваивают самостоятельное обозначение, состоящее из обозначения основного комплекта рабочих чертежей марки ОВ и через точку шифра "ОЛ". Обозначение указывают на титульном листе выпуска опросных листов.
Пример - 2345-11-ОВ.ОЛ.
10.2. После титульного листа выпуска опросных листов помещают содержание. Содержание выполняют по
форме 2 ГОСТ 21.101. Содержанию присваивают обозначение, состоящее из обозначения выпуска опросных листов и шифра "С".
Пример - 2345-11-ОВ.ОЛС.
Листы содержания оформляют основной надписью. На первом листе содержания основную надпись выполняют по
форме 5 ГОСТ 21.101 и на последующих листах - по
форме 6 ГОСТ 21.101. В графе 5 основной надписи указывают "Содержание".
В графах содержания (
форма 2 ГОСТ 21.101) указывают:
- в графе "Обозначение" - обозначение или порядковый номер опросного листа (габаритного чертежа);
- в графе "Наименование" - наименование опросного листа (габаритного чертежа) в полном соответствии с наименованием, указанным на опросном листе (габаритном чертеже);
- в графе "Примечание" - сведения об изменениях, вносимых в опросные листы (габаритные чертежи).
10.3. В наименовании опросного листа (габаритного чертежа) указывают обозначение или порядковый номер в пределах выпуска.
10.4. Изменения в опросные листы (габаритные чертежи) вносят в соответствии с
ГОСТ 21.101 с учетом дополнительных требований настоящего стандарта.
Изменения в опросные листы (габаритные чертежи) вносят самостоятельно в пределах каждого опросного листа (габаритного чертежа).
Сведения об изменениях, вносимых в опросные листы (габаритные чертежи), приводят в графе "Примечание" содержания выпуска опросных листов.
Таблицу регистрации изменений (
форма 10 ГОСТ 21.101) не выполняют.
10.5. Выпуск опросных листов записывают в разделе "Прилагаемые документы" ведомости ссылочных и прилагаемых документов, входящей в общие данные по рабочим чертежам основного комплекта марки ОВ.
(Обязательное)
ПРИМЕНЕННЫЕ В НАСТОЯЩЕМ СТАНДАРТЕ ТЕРМИНЫ
А.1. Термины, примененные в настоящем стандарте, и их определения приведены в таблице А.1.
Таблица А.1
Термин | Определение | Документ, на основе которого дано определение |
Спецификация оборудования, изделий и мате- риалов | Текстовый проектный документ, определяющий состав оборудова- ния, изделий и материалов, предназначенный для комплекто- вания, подготовки и осуществ- ления строительства | |
Эскизный чертеж общего вида нетипового изделия | Документ, определяющий исход- ную конструкцию нетипового из- делия, содержащий упрощенное изображение, основные парамет- ры и технические требования к изделию в объеме исходных дан- ных (задания), необходимых для разработки конструкторской документации | |
Групповой эскиз- ный чертеж | Документ, содержащий постоян- ные и переменные данные испол- нений двух и более нетиповых изделий | |
(справочное)
ПРИМЕР ВЫПОЛНЕНИЯ ПЛАН-СХЕМЫ РАЗМЕЩЕНИЯ
УСТАНОВОК СИСТЕМ
Б.1. Пример выполнения план-схемы размещения установок систем приведен на рисунке Б.1.
План-схема
Рисунок Б.1
(справочное)
ПРИМЕРЫ ВЫПОЛНЕНИЯ ПЛАНОВ И РАЗРЕЗОВ
ЧЕРТЕЖЕЙ СИСТЕМ
В.1. Примеры выполнения планов чертежей систем приведены на рисунках В.1 и
В.2. На рисунках В.1 и
В.2 показаны отдельные части планов.
План 3-3
Рисунок В.1
План 2-2
В.2. Пример выполнения разреза чертежей систем приведен на рисунке В.3.
Разрез 1-1
Рисунок В.3
(справочное)
ПРИМЕРЫ ВЫПОЛНЕНИЯ СХЕМ СИСТЕМ ОТОПЛЕНИЯ
И ТЕПЛОСНАБЖЕНИЯ УСТАНОВОК
Г.1. Пример выполнения схемы системы отопления приведен на рисунке Г.1.
Система отопления
Рисунок Г.1
Г.2. Пример выполнения схемы системы теплоснабжения установок приведен на рисунке Г.2.
Система теплоснабжения установок П1, П2, А1, А2
Рисунок Г.2
Г.3. Пример выполнения схемы узла управления системами отопления и теплоснабжения установок приведен на рисунке Г.3.
Узел управления 1
Рисунок Г.3
Г.4. Пример выполнения схемы узла (выносного элемента) системы приведен на рисунке Г.4.
Рисунок Г.4
(справочное)
ПРИМЕРЫ ВЫПОЛНЕНИЯ СХЕМ СИСТЕМ ВЕНТИЛЯЦИИ
Д.1. Пример выполнения схемы приточной системы вентиляции приведен на рисунке Д.1.
П3
Рисунок Д.1
Д.2. Пример выполнения схемы вытяжной системы вентиляции приведен на рисунке Д.2.
В5
Рисунок Д.2
(справочное)
ПРИМЕРЫ ВЫПОЛНЕНИЯ ПЛАНОВ И РАЗРЕЗОВ ЧЕРТЕЖЕЙ УСТАНОВОК
Е.1. Пример выполнения плана чертежей установок приведен на рисунке Е.1.
План
Рисунок Е.1
Е.2. Пример выполнения разреза чертежей установок приведен на рисунке Е.2.
Разрез 1-1
Рисунок Е.2
(справочное)
ПРИМЕР СОСТАВЛЕНИЯ СПЕЦИФИКАЦИИ ОБОРУДОВАНИЯ,
ИЗДЕЛИЙ И МАТЕРИАЛОВ
Ж.1. Пример заполнения отдельных позиций и граф спецификации оборудования, изделий и материалов к основному комплекту рабочих чертежей марки ОВ приведен в таблице Ж.1.
Таблица Ж.1
┌───────┬─────────────────────────────────┬──────────────────────┐
│Позиция│ Наименование и техническая │ Тип, марка, │
│ │ характеристика │обозначение документа,│
│ │ │ опросного листа │
├───────┼─────────────────────────────────┼──────────────────────┤
│ 1 │ 2 │ 3 │
├───────┼─────────────────────────────────┼──────────────────────┤
│ │ │ │
├───────┼─────────────────────────────────┼──────────────────────┤
│ │ Отопление │ │
├───────┼─────────────────────────────────┼──────────────────────┤
│ │ │ │
├───────┼─────────────────────────────────┼──────────────────────┤
│ │1 Клапан муфтовый Диаметр 15 │КА 22056 (15кч18п1) │
├───────┼─────────────────────────────────┼──────────────────────┤
│ │ Диаметр 20 │ТУ 26-07-72-1429-87 │
├───────┼─────────────────────────────────┼──────────────────────┤
│ │ │ │
├───────┼─────────────────────────────────┼──────────────────────┤
│ │2 Конвектор отопительный стальной│КА-0,472К │
├───────┼─────────────────────────────────┼──────────────────────┤
│ │ без кожуха "Аккорд-М" одно- │КА-0,590К │
├───────┼─────────────────────────────────┼──────────────────────┤
│ │ рядный концевой │ТУ 21-26-410-89 │
├───────┼─────────────────────────────────┼──────────────────────┤
│ │ │ │
├───────┼─────────────────────────────────┼──────────────────────┤
│ │3 Регистр из гладких труб │ГТ1 │
├───────┼─────────────────────────────────┼──────────────────────┤
│ │ │ГТ2 │
├───────┼─────────────────────────────────┼──────────────────────┤
│ │ │2345-11-ОВ.Н1 │
├───────┼─────────────────────────────────┼──────────────────────┤
│ │ │ │
├───────┼─────────────────────────────────┼──────────────────────┤
│ │4 Опора неподвижная │Т3.01 │
├───────┼─────────────────────────────────┼──────────────────────┤
│ │ │Т3.02 │
├───────┼─────────────────────────────────┼──────────────────────┤
│ │ │4.903-10 │
├───────┼─────────────────────────────────┼──────────────────────┤
│ │ │ │
├───────┼─────────────────────────────────┼──────────────────────┤
│ │5 Конструкция теплоизоляционная │ │
├───────┼─────────────────────────────────┼──────────────────────┤
│ │ S = 50 мм, компл: │ │
├───────┼─────────────────────────────────┼──────────────────────┤
│ │ а) шнур из минеральной ваты │200 │
├───────┼─────────────────────────────────┼──────────────────────┤
│ │ │ТУ 36-1695-79 │
├───────┼─────────────────────────────────┼──────────────────────┤
│ │ б) стеклопластик рулонный │РСТ │
├───────┼─────────────────────────────────┼──────────────────────┤
│ │ │ТУ 6-11-145-80 │
├───────┼─────────────────────────────────┼──────────────────────┤
│ │ в) рубероид │РПП-300А │
├───────┼─────────────────────────────────┼──────────────────────┤
│ │ │ГОСТ 10920-82 │
├───────┼─────────────────────────────────┼──────────────────────┤
│ │ │ │
├───────┼─────────────────────────────────┼──────────────────────┤
│ │6 Трубопровод из стальных водога-│ │
├───────┼─────────────────────────────────┼──────────────────────┤
│ │ зопроводных неоцинкованных труб│ │
├───────┼─────────────────────────────────┼──────────────────────┤
├───────┼─────────────────────────────────┼──────────────────────┤
│ │ Диаметр 15 х 2,8 │ │
├───────┼─────────────────────────────────┼──────────────────────┤
│ │ Диаметр 20 х 2,8 │ │
├───────┼─────────────────────────────────┼──────────────────────┤
│ │ │ │
├───────┼─────────────────────────────────┼──────────────────────┤
│ │ │ │
│ │ Теплоснабжение установок систем │ │
├───────┼─────────────────────────────────┼──────────────────────┤
│ │ │ │
├───────┼─────────────────────────────────┼──────────────────────┤
│ │1 Клапан регулирующий фланцевый с│ЕСПА-02ПВ │
├───────┼─────────────────────────────────┼──────────────────────┤
│ │ исполнительным механизмом │ТУ 26-07-296-82 │
├───────┼─────────────────────────────────┼──────────────────────┤
│ │ Диаметр 25 K = 6,3 │ │
│ │ vy │ │
├───────┼─────────────────────────────────┼──────────────────────┤
│ │ │ │
├───────┼─────────────────────────────────┼──────────────────────┤
│ │2 Фильтр │ОРК2.10.00-01 │
├───────┼─────────────────────────────────┼──────────────────────┤
│ │ │ОРК2.10.00-02 │
├───────┼─────────────────────────────────┼──────────────────────┤
│ │ │5.903-21 │
├───────┼─────────────────────────────────┼──────────────────────┤
│ │ │ │
├───────┼─────────────────────────────────┼──────────────────────┤
│ │3 Компенсатор П-образный │К1 │
├───────┼─────────────────────────────────┼──────────────────────┤
│ │ │К2 │
├───────┼─────────────────────────────────┼──────────────────────┤
│ │ │2345-11-ОВ(9) │
├───────┼─────────────────────────────────┼──────────────────────┤
│ │ │ │
├───────┼─────────────────────────────────┼──────────────────────┤
│ │4 Отборное устройство давления │16-200У │
├───────┼─────────────────────────────────┼──────────────────────┤
│ │ │ТУ 36.22.21.14.001-93 │
├───────┼─────────────────────────────────┼──────────────────────┤
│ │ │ │
├───────┼─────────────────────────────────┼──────────────────────┤
│ │5 Трубопровод из стальных элект- │ │
├───────┼─────────────────────────────────┼──────────────────────┤
│ │ росварных труб по
ГОСТ │ │
├───────┼─────────────────────────────────┼──────────────────────┤
├───────┼─────────────────────────────────┼──────────────────────┤
│ │ Диаметр 25 х 2 │ │
├───────┼─────────────────────────────────┼──────────────────────┤
│ │ │ │
├───────┼─────────────────────────────────┼──────────────────────┤
│ │ │ │
│ │ Вентиляция │ │
├───────┼─────────────────────────────────┼──────────────────────┤
│ │ │ │
├───────┼─────────────────────────────────┼──────────────────────┤
│ │1 Камера приточная вентиляционная│2ПК10 │
├───────┼─────────────────────────────────┼──────────────────────┤
│ │ правого исполнения (П1) │5.904-75.94 │
├───────┼─────────────────────────────────┼──────────────────────┤
│ │ │Бланк-заказ 1 │
├───────┼─────────────────────────────────┼──────────────────────┤
│ │ │ │
├───────┼─────────────────────────────────┼──────────────────────┤
│ │2 Вентилятор радиальный N 2,5, │ВР-4-75.1-2,5-Л.05 │
├───────┼─────────────────────────────────┼──────────────────────┤
│ │ исполнение 1, диаметр колеса │4АА56А4 │
├───────┼─────────────────────────────────┼──────────────────────┤
│ │ 1,1 Д , положение Л 0°, с │ТУ 22-59-33-85 │
│ │ ном │ │
├───────┼─────────────────────────────────┼──────────────────────┤
│ │ электродвигателем 1375 об/мин │ │
├───────┼─────────────────────────────────┼──────────────────────┤
│ │ 0,12 кВт │ │
├───────┼─────────────────────────────────┼──────────────────────┤
│ │ │ │
├───────┼─────────────────────────────────┼──────────────────────┤
│ │3 Клапан обратный взрывозащищен- │АЗЕ 101.000-01 │
├───────┼─────────────────────────────────┼──────────────────────┤
│ │ ный │5.904-58 │
├───────┼─────────────────────────────────┼──────────────────────┤
│ │ │ │
├───────┼─────────────────────────────────┼──────────────────────┤
│ │4 Заслонка воздушная прямоуголь- │Р400 х 400Э │
├───────┼─────────────────────────────────┼──────────────────────┤
│ │ного сечения с электроприводом │МЭО-16/25-0,25-77 │
├───────┼─────────────────────────────────┼──────────────────────┤
│ │ │5.904-13 │
├───────┼─────────────────────────────────┼──────────────────────┤
│ │ │ │
├───────┼─────────────────────────────────┼──────────────────────┤
│ │5 Воздухораспределитель панельный│ПМШ-В2.1 │
├───────┼─────────────────────────────────┼──────────────────────┤
│ │ модульный │5.904-63 │
├───────┼─────────────────────────────────┼──────────────────────┤
│ │ │ │
├───────┼─────────────────────────────────┼──────────────────────┤
│ │6 Сетка │С 150 х 150 │
├───────┼─────────────────────────────────┼──────────────────────┤
│ │ │2345-11-ОВ.Н3 │
├───────┼─────────────────────────────────┼──────────────────────┤
│ │ │ │
├───────┼─────────────────────────────────┼──────────────────────┤
│ │7 Лючек для замера параметров │ЛП │
├───────┼─────────────────────────────────┼──────────────────────┤
│ │ воздуха │А1К 151.000 │
├───────┼─────────────────────────────────┼──────────────────────┤
│ │ │ │
├───────┼─────────────────────────────────┼──────────────────────┤
│ │8 Воздуховод из тонколистового │ │
├───────┼─────────────────────────────────┼──────────────────────┤
│ │ горячекатаного проката по │ │
├───────┼─────────────────────────────────┼──────────────────────┤
│ │ ГОСТ 19903-74 S = 0,6 мм: │ │
├───────┼─────────────────────────────────┼──────────────────────┤
│ │ Диаметр 250 │ │
├───────┼─────────────────────────────────┼──────────────────────┤
│ │ Диаметр 315 │ │
└───────┴─────────────────────────────────┴──────────────────────┘