Обозначение НТД, на который дана ссылка | Номер пункта | ||||
| |||||
ГОСТ 22536.0-77 | |||||


Наименование | Эскиз | Обозначение на схеме | Обозначение в документе | Чертеж |
1. Раструбное и фланцевое соединение | 1 и 2 | |||
2. Тройник фланцевый | ![]() | ![]() | ТФ | 3 |
3. Тройник раструбный | ![]() | ![]() | ТР | 4 |
4. Тройник раструб - фланец | ![]() | ![]() | ТРФ | 5 |
5. Крест фланцевый | ![]() | ![]() | КФ | 6 |
6. Крест раструбный | ![]() | ![]() | КР | 7 |
7. Крест раструб - фланец | ![]() | ![]() | КРФ | 8 |
8. Выпуск фланцевый | ![]() | ![]() | ВФ | 9 |
9. Выпуск раструбный | ![]() | ![]() | ВР | 10 |
10. Колено фланцевое | УФ | 11 | ||
11. Колено раструбное | УР | 12 | ||
12. Колено раструб - гладкий конец | УРГ | 13 | ||
13. Отвод раструбный | ![]() | ОР | 14 | |
14. Отвод раструб - гладкий конец | ![]() | ОРГ | 15 | |
15. Переход фланцевый | ![]() | ![]() | ХФ | 16 |
16. Переход раструб - фланец | ![]() | ![]() | ХРФ | 17 |
17. Переход раструбный | ![]() | ![]() | ХР | 18 |
18. Переход раструб - гладкий конец | ![]() | ![]() | ХРГ | 19 |
19. Патрубок фланец - раструб | ![]() | ![]() | ПФР | 20 |
20. Патрубок фланец - гладкий конец | ![]() | ПФГ | 21 | |
21. Двойной раструб | ![]() | ДР | 22 | |
22. Муфта надвижная | ![]() | ![]() | МН | 23 |
23. Муфта свертная | ![]() | ![]() | МС | 24 |
24. Заглушка фланцевая | ![]() | ЗФ | 25 | |
25. Седелка фланцевая | ![]() | ![]() | СФ | 26 |
26. Седелка с резьбой | ![]() | ![]() | СР | 27 |
27. Пожарная подставка раструбная | ![]() | ![]() | ППР | 28 |
28. Тройник раструб - фланец с пожарной подставкой | ![]() | ![]() | ППТРФ | 29 |
29. Тройник фланцевый с пожарной подставкой | ![]() | ![]() | ППТФ | 30 |
30. Крест фланец - раструб с пожарной подставкой | ![]() | ![]() | ППКРФ | 31 |
31. Крест фланцевый с пожарной подставкой | ![]() | ![]() | ППКФ | 32 |
Условный проход D0 | Dн | Dр | D1 | S2 | b | c | f | h | l1 | l2 | l3 | l4 | P | R | R1 | Масса расруба, кг |
65 | 81 | 93 | 99 | 25 | 25 | 3 | 9,0 | 8 | 65 | 10 | 40 | 20 | 1,0 | 21,5 | 33,0 | 4,4 |
80 | 98 | 110 | 116 | 27 | 27 | 3 | 9,0 | 8 | 65 | 10 | 40 | 20 | 1,0 | 21,5 | 37,0 | 5,2 |
100 | 118 | 131 | 137 | 28 | 27 | 5 | 9,5 | 8 | 65 | 15 | 40 | 20 | 1,0 | 22,5 | 38,0 | 6,6 |
125 | 144 | 157 | 163 | 29 | 28 | 5 | 9,5 | 8 | 65 | 15 | 45 | 20 | 1,0 | 23,0 | 52,0 | 8,9 |
150 | 170 | 183 | 189 | 30 | 30 | 5 | 9,5 | 8 | 70 | 15 | 45 | 20 | 1,0 | 23,5 | 48,0 | 10,7 |
200 | 222 | 235 | 241 | 32 | 32 | 5 | 9,5 | 8 | 70 | 15 | 50 | 20 | 1,0 | 25,0 | 57,0 | 14,6 |
250 | 274 | 287 | 294 | 34 | 34 | 5 | 10,0 | 8 | 75 | 15 | 50 | 20 | 1,0 | 26,5 | 50 | 20,4 |
300 | 326 | 339 | 346 | 36 | 36 | 6 | 10,0 | 8 | 75 | 20 | 55 | 30 | 1,5 | 28,0 | 64 | 26,7 |
350 | 378 | 391 | 398 | 38 | 38 | 6 | 10,0 | 10 | 80 | 20 | 60 | 30 | 1,5 | 29,0 | 73 | 33,9 |
400 | 429 | 442 | 449 | 40 | 40 | 6 | 10,0 | 10 | 80 | 20 | 65 | 30 | 1,5 | 30,5 | 80 | 41,9 |
450 | 480 | 494 | 501 | 41 | 41 | 6 | 10,5 | 10 | 85 | 20 | 70 | 30 | 1,5 | 32,0 | 89 | 49,8 |
500 | 532 | 546 | 553 | 43 | 42 | 6 | 10,5 | 10 | 85 | 20 | 75 | 30 | 1,5 | 33,5 | 99 | 61,0 |
600 | 635 | 650 | 657 | 46 | 43 | 6 | 11,0 | 10 | 90 | 25 | 80 | 40 | 2,0 | 36,5 | 100 | 83,0 |
700 | 738 | 753 | 760 | 50 | 44 | 7 | 11,0 | 10 | 95 | 25 | 85 | 40 | 2,0 | 39,0 | 108 | 112,2 |
800 | 842 | 857 | 865 | 54 | 45 | 7 | 11,5 | 12 | 100 | 30 | 90 | 50 | 2,5 | 42,0 | 110 | 143,3 |
900 | 945 | 960 | 968 | 58 | 46 | 8 | 11,5 | 12 | 105 | 30 | 100 | 50 | 2,5 | 44,5 | 135 | 184,6 |
1000 | 1048 | 1064 | 1072 | 62 | 48 | 8 | 12,0 | 12 | 110 | 35 | 110 | 50 | 2,5 | 47,0 | 151 | 238,5 |
1200 | 1256 | 1273 | 1281 | 70 | 50 | 8 | 12,5 | 12 | 115 | 35 | 130 | 50 | 2,5 | 52,5 | 165 | 319,5 |
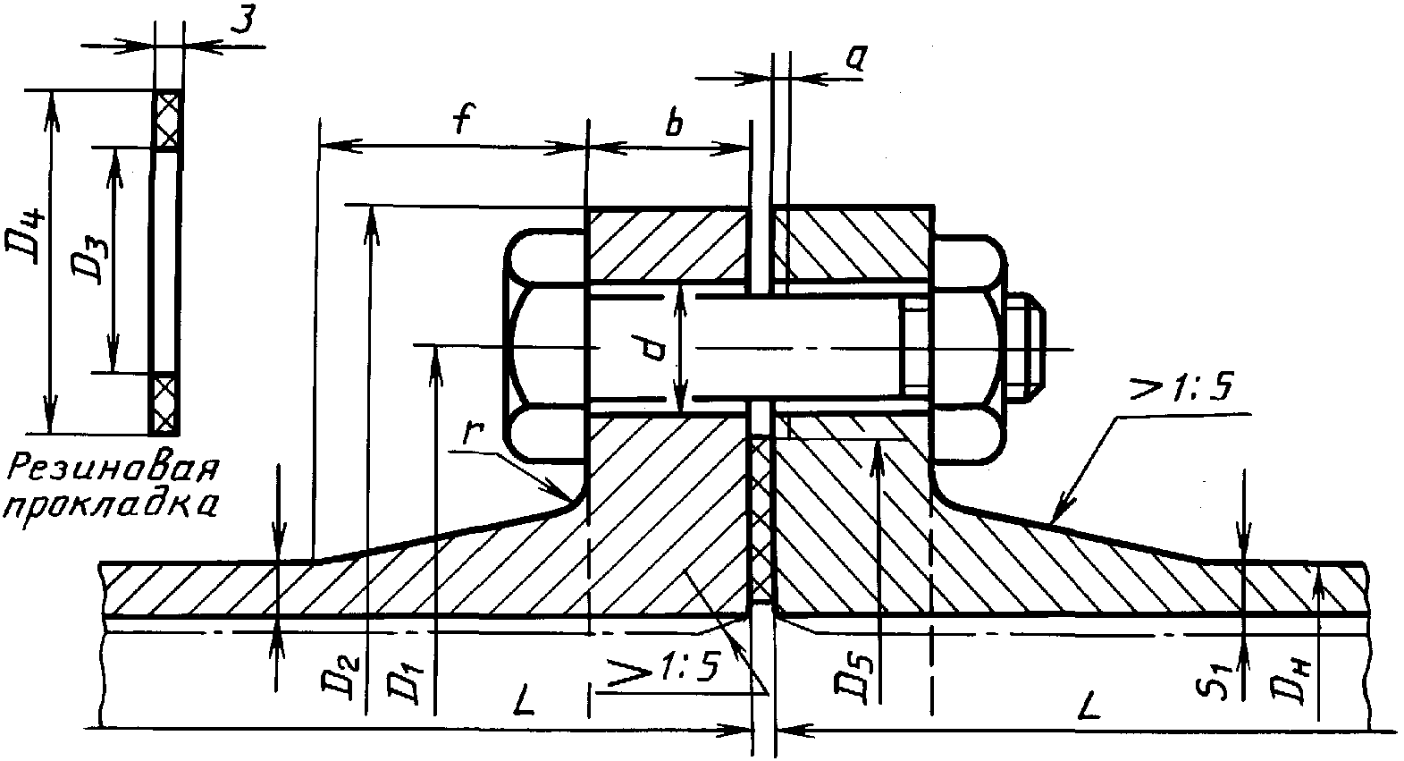
D0 | b | f | r | d | D1 | D2 | Резиновая прокладка | D5 | a | Болты | Масса фланца, кг | ||
кол-во | диаметр | ||||||||||||
D3 | D4 | ||||||||||||
65 | 21 | 40 | 6 | 19 | 140 | 180 | 69 | 132 | 132 | 3 | 4 | М16 | 3,30 |
80 | 22 | 43 | 6 | 19 | 160 | 200 | 80 | 138 | 138 | 3 | 4 | М16 | 4,03 |
100 | 22 | 43 | 6 | 19 | 180 | 220 | 105 | 158 | 158 | 3 | 4 | М16 | 4,53 |
125 | 24 | 43 | 6 | 19 | 210 | 250 | 130 | 188 | 188 | 3 | 8 | М16 | 6,00 |
150 | 24 | 43 | 6 | 23 | 240 | 285 | 156 | 212 | 212 | 3 | 8 | М20 | 7,38 |
200 | 26 | 45 | 8 | 23 | 295 | 340 | 206 | 268 | 268 | 3 | 8 | М20 | 10,30 |
250 | 28 | 45 | 8 | 23 | 350 | 395 | 256 | 320 | 320 | 3 | 12 | М20 | 13,30 |
300 | 28 | 45 | 8 | 23 | 400 | 445 | 306 | 370 | 370 | 4 | 12 | М20 | 15,30 |
350 | 30 | 50 | 8 | 23 | 460 | 505 | 356 | 430 | 430 | 4 | 16 | М20 | 20,10 |
400 | 32 | 50 | 10 | 26 | 515 | 565 | 406 | 482 | 482 | 4 | 16 | М22 | 25,40 |
450 | 32 | 50 | 10 | 26 | 565 | 615 | 456 | 530 | 530 | 4 | 20 | М22 | 27,60 |
500 | 34 | 50 | 10 | 26 | 620 | 670 | 506 | 585 | 585 | 4 | 20 | М22 | 32,90 |
600 | 36 | 55 | 10 | 31 | 725 | 780 | 606 | 685 | 685 | 5 | 20 | М27 | 43,00 |
700 | 40 | 55 | 10 | 31 | 840 | 895 | 710 | 800 | 800 | 5 | 24 | М27 | 58,10 |
800 | 44 | 60 | 10 | 34 | 950 | 1015 | 810 | 905 | 905 | 5 | 24 | М30 | 80,10 |
900 | 46 | 60 | 10 | 34 | 1050 | 1115 | 910 | 1005 | 1005 | 5 | 28 | М30 | 93,50 |
1000 | 50 | 65 | 10 | 37 | 1160 | 1230 | 1010 | 1115 | 1115 | 5 | 28 | М30 | 119,00 |
1200 | 56 | 70 | 15 | 43 | 1380 | 1455 | 1210 | 1330 | 1330 | 5 | 32 | М40 | 167,00 |






Условный проход ствола D0 | Обозначение размеров | Условный проход отростка d0 | Наружный диаметр ствола Dн | Толщина стенки ствола S | |||||||||||||||||
65 | 80 | 100 | 125 | 150 | 200 | 250 | 300 | 350 | 400 | 450 | 500 | 600 | 700 | 800 | 900 | 1000 | 1200 | ||||
65 | l | 140 | 81 | 9 | |||||||||||||||||
l1 | 140 | ||||||||||||||||||||
l2 | 115 | ||||||||||||||||||||
l3 | 115 | ||||||||||||||||||||
S1 | 9 | ||||||||||||||||||||
80 | l | 150 | 150 | 98 | 10 | ||||||||||||||||
l1 | 150 | 150 | |||||||||||||||||||
l2 | 125 | 125 | |||||||||||||||||||
l3 | 115 | 125 | |||||||||||||||||||
S1 | 9 | 10 | |||||||||||||||||||
100 | l | 200 | 200 | 200 | 118 | 10 | |||||||||||||||
l1 | 150 | 175 | 200 | ||||||||||||||||||
l2 | 125 | 125 | 150 | ||||||||||||||||||
l3 | 125 | 125 | 150 | ||||||||||||||||||
S1 | 9 | 10 | 10 | ||||||||||||||||||
125 | l | 225 | 225 | 225 | 225 | 144 | 11 | ||||||||||||||
l1 | 175 | 175 | 175 | 225 | |||||||||||||||||
l2 | 140 | 150 | 150 | 200 | |||||||||||||||||
l3 | 140 | 150 | 150 | 200 | |||||||||||||||||
S1 | 9 | 10 | 10 | 11 | |||||||||||||||||
150 | l | 250 | 250 | 250 | 250 | 250 | 170 | 11 | |||||||||||||
l1 | 200 | 200 | 200 | 200 | 250 | ||||||||||||||||
l2 | 140 | 150 | 150 | 200 | 200 | ||||||||||||||||
l3 | 150 | 150 | 150 | 200 | 200 | ||||||||||||||||
S1 | 9 | 10 | 10 | 11 | 11 | ||||||||||||||||
200 | l | 300 | 300 | 300 | 300 | 300 | 300 | 222 | 13 | ||||||||||||
l1 | 225 | 225 | 225 | 225 | 225 | 300 | |||||||||||||||
l2 | 140 | 150 | 200 | 200 | 200 | 250 | |||||||||||||||
l3 | 200 | 200 | 200 | 200 | 200 | 250 | |||||||||||||||
S1 | 9 | 10 | 10 | 11 | 11 | 13 | |||||||||||||||
250 | l | 300 | 300 | 300 | 300 | 300 | 300 | 274 | 14 | ||||||||||||
l1 | 250 | 250 | 250 | 250 | 275 | 300 | |||||||||||||||
l2 | 150 | 200 | 200 | 200 | 250 | 250 | |||||||||||||||
l3 | 200 | 200 | 250 | 250 | 250 | 250 | |||||||||||||||
S1 | 10 | 10 | 11 | 11 | 13 | 14 | |||||||||||||||
300 | l | 300 | 300 | 300 | 300 | 300 | 300 | 300 | 326 | 15 | |||||||||||
l1 | 275 | 275 | 275 | 275 | 300 | 300 | 300 | ||||||||||||||
l2 | 150 | 200 | 200 | 200 | 250 | 250 | 300 | ||||||||||||||
l3 | 250 | 250 | 250 | 250 | 250 | 250 | 300 | ||||||||||||||
S1 | 10 | 10 | 11 | 11 | 13 | 14 | 15 | ||||||||||||||
350 | l | 300 | 300 | 300 | 300 | 300 | 350 | 350 | 378 | 16 | |||||||||||
l1 | 300 | 300 | 300 | 300 | 325 | 325 | 350 | ||||||||||||||
l2 | 200 | 200 | 200 | 250 | 250 | 300 | 300 | ||||||||||||||
l3 | 250 | 300 | 300 | 300 | 300 | 300 | 300 | ||||||||||||||
S1 | 10 | 11 | 11 | 13 | 14 | 15 | 16 | ||||||||||||||
400 | l | 300 | 300 | 300 | 300 | 300 | 400 | 400 | 400 | 429 | 17 | ||||||||||
l1 | 325 | 325 | 325 | 350 | 350 | 350 | 375 | 400 | |||||||||||||
l2 | 200 | 200 | 250 | 250 | 250 | 300 | 300 | 300 | |||||||||||||
l3 | 300 | 300 | 300 | 300 | 300 | 300 | 350 | 350 | |||||||||||||
S1 | 10 | 11 | 11 | 13 | 14 | 15 | 16 | 17 | |||||||||||||
450 | l | 300 | 300 | 300 | 300 | 300 | 400 | 400 | 400 | 450 | 480 | 18 | |||||||||
l1 | 350 | 350 | 350 | 375 | 375 | 400 | 400 | 400 | 450 | ||||||||||||
l2 | 200 | 200 | 250 | 250 | 250 | 300 | 300 | 400 | 400 | ||||||||||||
l3 | 300 | 350 | 350 | 350 | 350 | 350 | 350 | 350 | 400 | ||||||||||||
S1 | 10 | 11 | 11 | 13 | 14 | 15 | 16 | 17 | 18 | ||||||||||||
500 | l | 300 | 300 | 300 | 300 | 400 | 400 | 400 | 400 | 500 | 500 | 532 | 19 | ||||||||
l1 | 375 | 375 | 375 | 400 | 400 | 425 | 425 | 425 | 450 | 500 | |||||||||||
l2 | 200 | 200 | 250 | 250 | 250 | 300 | 300 | 400 | 400 | 400 | |||||||||||
l3 | 350 | 350 | 350 | 350 | 350 | 350 | 400 | 400 | 400 | 400 | |||||||||||
S1 | 12 | 12 | 12 | 13 | 14 | 15 | 16 | 17 | 18 | 19 | |||||||||||
600 | l | 300 | 300 | 400 | 400 | 400 | 400 | 500 | 500 | 550 | 635 | 21 | |||||||||
l1 | 450 | 450 | 450 | 475 | 475 | 475 | 500 | 500 | 550 | ||||||||||||
l2 | 250 | 250 | 300 | 300 | 400 | 400 | 400 | 400 | 450 | ||||||||||||
l3 | 400 | 400 | 400 | 400 | 450 | 450 | 450 | 450 | 450 | ||||||||||||
S1 | 14 | 14 | 14 | 15 | 16 | 17 | 18 | 19 | 21 | ||||||||||||
700 | l | 400 | 400 | 400 | 400 | 400 | 500 | 500 | 500 | 600 | 600 | 738 | 24 | ||||||||
l1 | 500 | 500 | 500 | 525 | 525 | 525 | 550 | 550 | 550 | 600 | |||||||||||
l2 | 250 | 250 | 300 | 300 | 400 | 400 | 450 | 400 | 500 | 550 | |||||||||||
l3 | 450 | 450 | 450 | 450 | 500 | 500 | 500 | 500 | 500 | 550 | |||||||||||
S1 | 16 | 16 | 16 | 16 | 16 | 17 | 18 | 19 | 21 | 24 | |||||||||||
800 | l | 400 | 400 | 400 | 500 | 500 | 500 | 500 | 700 | 700 | 700 | 842 | 26 | ||||||||
l1 | 550 | 550 | 575 | 575 | 575 | 600 | 600 | 625 | 625 | 700 | |||||||||||
l2 | 300 | 300 | 300 | 400 | 400 | 400 | 500 | 500 | 600 | 600 | |||||||||||
l3 | 500 | 500 | 550 | 550 | 550 | 550 | 550 | 550 | 550 | 600 | |||||||||||
S1 | 18 | 18 | 18 | 18 | 18 | 18 | 19 | 21 | 24 | 26 | |||||||||||
900 | l | 400 | 400 | 400 | 500 | 500 | 500 | 500 | 700 | 700 | 700 | 750 | 945 | 28 | |||||||
l1 | 600 | 625 | 625 | 625 | 650 | 650 | 650 | 675 | 675 | 700 | 750 | ||||||||||
l2 | 300 | 300 | 300 | 400 | 400 | 400 | 500 | 500 | 600 | 600 | 650 | ||||||||||
l3 | 550 | 550 | 600 | 600 | 600 | 600 | 600 | 600 | 600 | 600 | 650 | ||||||||||
S1 | 20 | 20 | 20 | 20 | 20 | 20 | 20 | 21 | 24 | 26 | 28 | ||||||||||
1000 | l | 500 | 500 | 500 | 500 | 500 | 700 | 700 | 700 | 700 | 800 | 800 | 1048 | 30 | |||||||
l1 | 675 | 675 | 675 | 700 | 700 | 700 | 725 | 750 | 800 | 800 | 800 | ||||||||||
l2 | 400 | 400 | 400 | 400 | 400 | 500 | 500 | 600 | 600 | 700 | 700 | ||||||||||
l3 | 600 | 650 | 650 | 650 | 650 | 650 | 650 | 650 | 700 | 700 | 700 | ||||||||||
S1 | 21 | 21 | 21 | 21 | 21 | 21 | 21 | 24 | 26 | 28 | 30 | ||||||||||
1200 | l | 500 | 500 | 500 | 700 | 700 | 700 | 700 | 800 | 800 | 1000 | 1000 | 1256 | 34 | |||||||
l1 | 800 | 800 | 800 | 800 | 825 | 825 | 850 | 900 | 900 | 900 | 1000 | ||||||||||
l2 | 400 | 400 | 400 | 400 | 500 | 500 | 600 | 600 | 700 | 700 | 850 | ||||||||||
l3 | 750 | 750 | 750 | 750 | 750 | 750 | 750 | 800 | 800 | 800 | 850 | ||||||||||
S1 | 24 | 24 | 24 | 24 | 24 | 24 | 24 | 26 | 28 | 30 | 34 | ||||||||||

Условный проход отростка, d0 | 65 | 80 | 100 | 125 | 150 | 200 | 250 | 300 | 350 | 400 | 450 | 500 | 600 | 700 | 800 | 900 | 1000 | 1200 |
Наружный диаметр отростка | 81 | 98 | 118 | 144 | 170 | 222 | 274 | 326 | 378 | 429 | 480 | 532 | 635 | 738 | 842 | 945 | 1048 | 1256 |
Радиус сопряжения, r | 25 | 25 | 30 | 30 | 30 | 40 | 40 | 40 | 50 | 50 | 50 | 50 | 50 | 50 | 60 | 60 | 70 | 80 |
Высота фаски, c | 7 | 8 | 9 | 10 | 11 | 12 | 13 | 14 | 15 | 17 | 19 | 20 | 22 | 25 | 28 | 31 | 35 | 40 |


Условный проход ствола D0, мм | Обозначение соединительной части | Условный проход отростка d0, мм | |||||||||||||||||
65 | 80 | 100 | 125 | 150 | 200 | 250 | 300 | 350 | 400 | 450 | 500 | 600 | 700 | 800 | 900 | 1000 | 1200 | ||
кг | |||||||||||||||||||
65 | ТФ | 15,2 | |||||||||||||||||
ТРФ | 16,7 | ||||||||||||||||||
ТР | 17,4 | ||||||||||||||||||
КФ | 19,7 | ||||||||||||||||||
КРФ | 21,2 | ||||||||||||||||||
КР | 22,6 | ||||||||||||||||||
80 | ТФ | 18,6 | 20,0 | ||||||||||||||||
ТРФ | 19,9 | 21,3 | |||||||||||||||||
ТР | 20,5 | 22,0 | |||||||||||||||||
КФ | 23,1 | 25,9 | |||||||||||||||||
КРФ | 24,4 | 27,2 | |||||||||||||||||
КР | 25,6 | 28,8 | |||||||||||||||||
100 | ТФ | 23,5 | 25,0 | 26,6 | |||||||||||||||
ТРФ | 23,7 | 25,4 | 28,3 | ||||||||||||||||
ТР | 24,5 | 25,6 | 29,1 | ||||||||||||||||
КФ | 27,4 | 31,2 | 34,3 | ||||||||||||||||
КРФ | 28,1 | 31,6 | 36,0 | ||||||||||||||||
КР | 29,6 | 31,9 | 37,6 | ||||||||||||||||
125 | ТФ | 31,5 | 32,8 | 33,6 | 37,6 | ||||||||||||||
ТРФ | 31,7 | 33,6 | 34,4 | 41,7 | |||||||||||||||
ТР | 32,3 | 34,3 | 35,9 | 43,8 | |||||||||||||||
КФ | 36,1 | 38,7 | 40,4 | 48,3 | |||||||||||||||
КРФ | 36,3 | 39,5 | 41,2 | 52,4 | |||||||||||||||
КР | 37,4 | 40,8 | 44,1 | 56,6 | |||||||||||||||
150 | ТФ | 39,2 | 40,8 | 41,7 | 44,0 | 48,0 | |||||||||||||
ТРФ | 37,2 | 39,4 | 40,3 | 46,6 | 50,6 | ||||||||||||||
ТР | 37,6 | 39,5 | 41,1 | 49,5 | 51,9 | ||||||||||||||
КФ | 44,1 | 46,8 | 48,6 | 53,3 | 59,0 | ||||||||||||||
КРФ | 42,0 | 45,4 | 47,2 | 55,9 | 63,9 | ||||||||||||||
КР | 42,7 | 45,8 | 48,9 | 61,7 | 66,6 | ||||||||||||||
200 | ТФ | 62,4 | 63,6 | 64,4 | 66,7 | 68,5 | 78,3 | ||||||||||||
ТРФ | 51,2 | 53,6 | 60,6 | 62,9 | 64,7 | 80,7 | |||||||||||||
ТР | 51,9 | 54,4 | 62,5 | 65,4 | 67,5 | 81,9 | |||||||||||||
КФ | 67,1 | 69,6 | 71,3 | 75,7 | 79,4 | 98,9 | |||||||||||||
КРФ | 55,9 | 59,6 | 67,5 | 71,9 | 75,6 | 101 | |||||||||||||
КР | 57,4 | 61,0 | 70,4 | 76,1 | 80,2 | 104 | |||||||||||||
250 | ТФ | 82,2 | 83,0 | 85,1 | 86,9 | 93,2 | 101 | ||||||||||||
ТРФ | 71,5 | 80,6 | 82,8 | 83,6 | 99,1 | 107 | |||||||||||||
ТР | 71,7 | 81,4 | 85,7 | 87,8 | 102 | 110 | |||||||||||||
КФ | 88,1 | 89,7 | 94,0 | 97,5 | 110 | 125 | |||||||||||||
КРФ | 77,4 | 86,5 | 91,4 | 94,0 | 116 | 132 | |||||||||||||
КР | 77,7 | 88,4 | 97,4 | 102 | 122 | 137 | |||||||||||||
300 | ТФ | 100 | 101 | 103 | 105 | 111 | 116 | 120 | |||||||||||
ТРФ | 90,7 | 102 | 105 | 106 | 123 | 128 | 143 | ||||||||||||
ТР | 91,7 | 104 | 107 | 109 | 124 | 131 | 155 | ||||||||||||
КФ | 106 | 108 | 112 | 115 | 127 | 137 | 147 | ||||||||||||
КРФ | 96,9 | 108 | 113 | 116 | 139 | 149 | 169 | ||||||||||||
КР | 98,2 | 112 | 117 | 121 | 142 | 155 | 192 | ||||||||||||
350 | ТФ | 126 | 128 | 130 | 134 | 140 | 157 | 168 | |||||||||||
ТРФ | 127 | 129 | 130 | 148 | 154 | 172 | 183 | ||||||||||||
ТР | 128 | 132 | 134 | 153 | 160 | 181 | 190 | ||||||||||||
КФ | 132 | 136 | 140 | 148 | 161 | 182 | 204 | ||||||||||||
КРФ | 134 | 138 | 141 | 162 | 175 | 196 | 216 | ||||||||||||
КР | 135 | 143 | 148 | 171 | 185 | 214 | 233 | ||||||||||||
400 | ТФ | 153 | 156 | 157 | 162 | 167 | 202 | 213 | 226 | ||||||||||
ТРФ | 155 | 156 | 174 | 179 | 185 | 204 | 214 | 243 | |||||||||||
ТР | 156 | 157 | 175 | 180 | 186 | 209 | 224 | 252 | |||||||||||
КФ | 159 | 163 | 166 | 178 | 187 | 226 | 247 | 273 | |||||||||||
КРФ | 160 | 164 | 184 | 195 | 204 | 228 | 247 | 290 | |||||||||||
КР | 162 | 167 | 186 | 196 | 208 | 239 | 267 | 307 | |||||||||||
450 | ТФ | 175 | 177 | 179 | 184 | 188 | 233 | 240 | 248 | 283 | |||||||||
ТРФ | 182 | 184 | 204 | 210 | 214 | 238 | 246 | 294 | 308 | ||||||||||
ТР | 182 | 186 | 207 | 212 | 219 | 245 | 253 | 301 | 321 | ||||||||||
КФ | 182 | 186 | 188 | 200 | 208 | 258 | 273 | 289 | 340 | ||||||||||
КРФ | 188 | 192 | 214 | 223 | 234 | 265 | 279 | 334 | 364 | ||||||||||
КР | 188 | 197 | 220 | 229 | 243 | 276 | 292 | 348 | 389 | ||||||||||
500 | ТФ | 206 | 208 | 209 | 214 | 261 | 272 | 274 | 283 | 337 | 359 | ||||||||
ТРФ | 217 | 219 | 243 | 247 | 251 | 280 | 286 | 339 | 349 | 370 | |||||||||
ТР | 219 | 221 | 245 | 249 | 254 | 283 | 297 | 351 | 362 | 376 | |||||||||
КФ | 213 | 216 | 219 | 229 | 281 | 293 | 306 | 322 | 386 | 430 | |||||||||
КРФ | 224 | 228 | 253 | 263 | 271 | 305 | 318 | 378 | 398 | 442 | |||||||||
600 | ТФ | 273 | 277 | 338 | 343 | 353 | 357 | 425 | 434 | 498 | |||||||||
ТРФ | 324 | 328 | 360 | 365 | 430 | 437 | 448 | 455 | 520 | ||||||||||
ТР | 329 | 334 | 367 | 374 | 446 | 453 | 462 | 477 | 525 | ||||||||||
КФ | 285 | 287 | 357 | 367 | 379 | 394 | 470 | 489 | 583 | ||||||||||
КРФ | 336 | 343 | 378 | 388 | 440 | 474 | 490 | 510 | 609 | ||||||||||
КР | 338 | 345 | 384 | 395 | 481 | 499 | 517 | 544 | 630 | ||||||||||
700 | ТФ | 440 | 442 | 447 | 451 | 455 | 539 | 548 | 555 | 649 | 699 | ||||||||
ТРФ | 431 | 435 | 476 | 481 | 563 | 569 | 578 | 585 | 679 | 768 | |||||||||
ТР | 432 | 435 | 479 | 484 | 574 | 582 | 590 | 602 | 704 | 803 | |||||||||
КФ | 453 | 459 | 465 | 473 | 482 | 572 | 588 | 603 | 713 | 814 | |||||||||
КРФ | 443 | 450 | 495 | 503 | 590 | 603 | 618 | 633 | 743 | 883 | |||||||||
КР | 445 | 452 | 500 | 510 | 611 | 627 | 644 | 667 | 794 | 952 | |||||||||
800 | ТФ | 562 | 566 | 570 | 672 | 675 | 681 | 689 | 901 | 930 | 1003 | ||||||||
ТРФ | 592 | 595 | 597 | 701 | 705 | 707 | 812 | 833 | 960 | 1033 | |||||||||
ТР | 592 | 597 | 608 | 712 | 718 | 724 | 831 | 853 | 985 | 1048 | |||||||||
КФ | 579 | 585 | 594 | 700 | 708 | 719 | 731 | 966 | 1024 | 1171 | |||||||||
КРФ | 609 | 615 | 617 | 729 | 738 | 739 | 857 | 897 | 1054 | 1201 | |||||||||
КР | 609 | 618 | 641 | 750 | 762 | 774 | 891 | 935 | 1103 | 1230 | |||||||||
900 | ТФ | 672 | 678 | 680 | 801 | 809 | 811 | 814 | 1064 | 1090 | 1134 | 1254 | |||||||
ТРФ | 737 | 744 | 745 | 867 | 874 | 876 | 996 | 1013 | 1155 | 1199 | 1320 | ||||||||
ТР | 736 | 742 | 753 | 876 | 881 | 888 | 1012 | 1030 | 1180 | 1214 | 1352 | ||||||||
КФ | 689 | 702 | 705 | 830 | 847 | 850 | 857 | 1123 | 1177 | 1262 | 1445 | ||||||||
КРФ | 755 | 768 | 770 | 896 | 912 | 915 | 1039 | 1071 | 1239 | 1327 | 1500 | ||||||||
КР | 753 | 764 | 786 | 916 | 927 | 939 | 1072 | 1107 | 1289 | 1357 | 1560 | ||||||||
1000 | ТФ | 956 | 958 | 962 | 971 | 972 | 1253 | 1264 | 1297 | 1351 | 1523 | 1570 | |||||||
ТРФ | 1056 | 1058 | 1062 | 1071 | 1073 | 1214 | 1225 | 1397 | 1451 | 1623 | 1670 | ||||||||
ТР | 1054 | 1065 | 1071 | 1079 | 1083 | 1230 | 1243 | 1412 | 1467 | 1655 | 1725 | ||||||||
КФ | 980 | 983 | 990 | 1010 | 1011 | 1295 | 1317 | 1392 | 1491 | 1695 | 1784 | ||||||||
КРФ | 1080 | 1083 | 1090 | 1110 | 1111 | 1256 | 1278 | 1481 | 1591 | 1794 | 1882 | ||||||||
КР | 1076 | 1097 | 1110 | 1124 | 1134 | 1288 | 1314 | 1511 | 1621 | 1860 | 1984 | ||||||||
1200 | ТФ | 1311 | 1314 | 1318 | 1698 | 1707 | 1712 | 1729 | 1966 | 1989 | 2409 | 2603 | |||||||
ТРФ | 1427 | 1430 | 1434 | 1435 | 1633 | 1638 | 1844 | 1885 | 2105 | 2146 | 2624 | ||||||||
ТР | 1430 | 1434 | 1440 | 1444 | 1640 | 1654 | 1860 | 1908 | 2137 | 2196 | 2935 | ||||||||
КФ | 1343 | 1348 | 1357 | 1736 | 1755 | 1765 | 1798 | 2085 | 2130 | 2591 | 2960 | ||||||||
КРФ | 1459 | 1464 | 1473 | 1473 | 1681 | 1691 | 1914 | 2012 | 2246 | 2328 | 3001 | ||||||||
КР | 1464 | 1472 | 1484 | 1494 | 1695 | 1721 | 1944 | 2042 | 2311 | 2428 | 2998 | ||||||||
Условный проход | d | Dн | dн | S | S1 | S2 | l | l1 | l2 | l3 | l4 | b | Масса выпуска, кг | ||
ствола D0 | отростка d0 | фланцевого | раструбного | ||||||||||||
250 | 100 | - | 274 | 118 | 14 | 10 | - | 300 | - | 250 | 250 | 75 | 14 | 83,1 | 80,6 |
150 | 274 | 170 | 14 | 11 | 300 | 250 | 250 | 50 | 14 | 86,8 | 84,2 | ||||
300 | 100 | - | 326 | 118 | 15 | 10 | - | 300 | - | 250 | 275 | 100 | 15 | 101 | 103 |
150 | 326 | 170 | 15 | 11 | 300 | 250 | 275 | 75 | 15 | 104 | 107 | ||||
350 | 100 | - | 378 | 118 | 16 | 10 | - | 300 | - | 250 | 300 | 124 | 16 | 125 | 128 |
150 | 378 | 170 | 16 | 11 | 300 | 250 | 300 | 99 | 16 | 128 | 131 | ||||
400 | 100 | - | 429 | 118 | 17 | 10 | - | 300 | - | 250 | 325 | 149 | 17 | 153 | 153 |
150 | 429 | 170 | 17 | 11 | 300 | 250 | 325 | 124 | 17 | 156 | 172 | ||||
450 | 100 | - | 480 | 118 | 18 | 10 | - | 300 | - | 250 | 350 | 174 | 18 | 175 | 182 |
150 | 480 | 170 | 18 | 11 | 300 | 250 | 375 | 149 | 18 | 178 | 203 | ||||
500 | 100 | 500 | 532 | 118 | 19 | 12 | 19 | 500 | 500 | 400 | 375 | 201 | 19 | 264 | 276 |
150 | 500 | 532 | 170 | 19 | 12 | 19 | 500 | 500 | 400 | 425 | 175 | 19 | 267 | 301 | |
600 | 150 | 600 | 635 | 170 | 21 | 14 | 21 | 550 | 550 | 450 | 425 | 227 | 20 | 331 | 382 |
200 | 600 | 635 | 222 | 21 | 14 | 21 | 550 | 550 | 450 | 450 | 201 | 20 | 334 | 385 | |
700 | 150 | 600 | 738 | 170 | 24 | 16 | 21 | 600 | 550 | 500 | 450 | 279 | 20 | 475 | 467 |
200 | 600 | 738 | 222 | 24 | 16 | 21 | 600 | 550 | 500 | 500 | 253 | 20 | 478 | 471 | |
800 | 200 | 600 | 842 | 222 | 26 | 18 | 21 | 700 | 625 | 500 | 525 | 305 | 22 | 580 | 617 |
300 | 600 | 842 | 326 | 26 | 18 | 21 | 700 | 625 | 500 | 575 | 253 | 25 | 585 | 624 | |
900 | 200 | 600 | 945 | 222 | 28 | 20 | 21 | 700 | 675 | 500 | 575 | 356 | 24 | 670 | 751 |
300 | 600 | 945 | 326 | 28 | 20 | 21 | 700 | 675 | 500 | 625 | 304 | 26 | 675 | 756 | |
1000 | 300 | 600 | 1048 | 326 | 30 | 21 | 21 | 700 | 725 | 500 | 675 | 326 | 26 | 918 | 1047 |
400 | 600 | 1048 | 429 | 30 | 21 | 21 | 700 | 725 | 500 | 700 | 304 | 26 | 927 | 1055 | |
1200 | 300 | 600 | 1256 | 326 | 34 | 24 | 24 | 700 | 825 | 500 | 750 | 460 | 26 | 1215 | 1388 |
400 | 600 | 1256 | 429 | 34 | 24 | 24 | 700 | 825 | 500 | 800 | 408 | 28 | 1221 | 1394 | |



Условный проход D0 | S | Dн | r | q | L | L1 | l | l1 | 2q+l | q+l+l1 | Масса колена, кг | ||
фланцевого | раструбного | раструба - гладкого конца | |||||||||||
65 | 9 | 81 | 108 | 30 | 138 | 338 | 168 | 230 | 228 | 428 | 10,4 | 12,6 | 11,3 |
80 | 10 | 98 | 120 | 30 | 150 | 350 | 188 | 230 | 248 | 448 | 13,0 | 15,5 | 14,2 |
100 | 10 | 118 | 160 | 40 | 200 | 400 | 251 | 240 | 331 | 531 | 17,2 | 21,4 | 19,6 |
125 | 11 | 144 | 185 | 40 | 225 | 425 | 291 | 240 | 371 | 571 | 24,3 | 30,1 | 27,9 |
150 | 11 | 170 | 210 | 40 | 250 | 450 | 330 | 240 | 410 | 610 | 31,1 | 37,7 | 35,0 |
200 | 13 | 222 | 260 | 40 | 300 | 500 | 408 | 240 | 488 | 688 | 50,8 | 59,4 | 57,2 |
250 | 14 | 275 | 260 | 40 | 300 | 500 | 408 | 240 | 488 | 688 | 67,1 | 81,3 | 77,5 |
300 | 15 | 326 | 260 | 40 | 300 | 500 | 408 | 240 | 488 | 688 | 82,5 | 105 | 99,8 |
350 | 16 | 378 | 300 | 50 | 350 | 550 | 471 | 250 | 571 | 771 | 115 | 143 | 136 |
400 | 17 | 429 | 350 | 50 | 400 | 600 | 550 | 250 | 650 | 850 | 155 | 188 | 178 |
450 | 18 | 480 | 400 | 50 | 450 | 650 | 628 | 250 | 728 | 928 | 193 | 237 | 226 |
500 | 19 | 532 | 450 | 50 | 500 | 700 | 707 | 250 | 807 | 1007 | 245 | 301 | 284 |
600 | 21 | 635 | 490 | 60 | 550 | 850 | 770 | 360 | 890 | 1190 | 347 | 427 | 432 |
700 | 24 | 738 | 540 | 60 | 600 | 900 | 848 | 360 | 968 | 1268 | 494 | 602 | 607 |
800 | 26 | 842 | 640 | 60 | 700 | 1000 | 1005 | 360 | 1125 | 1425 | 704 | 831 | 830 |
900 | 28 | 945 | 680 | 70 | 750 | 1050 | 1068 | 370 | 1208 | 1508 | 893 | 1076 | 1067 |
1000 | 30 | 1048 | 730 | 70 | 800 | 1100 | 1147 | 370 | 1287 | 1587 | 1133 | 1872 | 1340 |
1200 | 34 | 1256 | 920 | 80 | 1000 | 1300 | 1445 | 380 | 1605 | 1905 | 1852 | 2137 | 2121 |


Условный проход D0 | S | Dн | q | l1 | Отвод | Отвод | Отвод ![]() | Отвод ![]() | L | 2q+L | q+L+l1 | Масса отвода, кг | |||||
раструбного | раструба - гладкого конца | ||||||||||||||||
r | l | r | l | r | l | r | l | ||||||||||
65 | 9 | 81 | 30 | 75 | 918 | 85 | 645 | 85 | 323 | 86 | 215 | 89 | 168 | 228 | 278 | 12,6 | 8,9 |
80 | 10 | 98 | 30 | 75 | 1080 | 95 | 720 | 95 | 360 | 96 | 240 | 99 | 188 | 248 | 293 | 15,4 | 11,1 |
100 | 10 | 118 | 40 | 80 | 1440 | 126 | 960 | 127 | 480 | 129 | 320 | 132 | 251 | 331 | 371 | 21,4 | 15,7 |
125 | 11 | 144 | 40 | 80 | 1665 | 146 | 1110 | 147 | 555 | 149 | 370 | 153 | 291 | 371 | 411 | 30,1 | 22,6 |
150 | 11 | 170 | 40 | 85 | 1890 | 165 | 1260 | 166 | 630 | 169 | 420 | 174 | 330 | 410 | 455 | 37,7 | 28,8 |
200 | 13 | 222 | 40 | 85 | 2340 | 205 | 1560 | 206 | 780 | 209 | 520 | 215 | 408 | 488 | 533 | 59,4 | 47,5 |
250 | 14 | 274 | 40 | 90 | 2340 | 205 | 1560 | 206 | 780 | 209 | 520 | 215 | 408 | 488 | 538 | 81,3 | 65,0 |
300 | 15 | 326 | 40 | 95 | 2340 | 205 | 1560 | 206 | 780 | 209 | 520 | 215 | 408 | 488 | 543 | 105 | 84,4 |
350 | 16 | 378 | 50 | 100 | 2700 | 236 | 1800 | 238 | 900 | 241 | 600 | 248 | 471 | 571 | 621 | 143 | 116 |
400 | 17 | 429 | 50 | 100 | 3150 | 276 | 2100 | 277 | 1050 | 281 | 700 | 290 | 550 | 650 | 700 | 188 | 154 |
450 | 18 | 480 | 50 | 105 | 3600 | 315 | 2400 | 317 | 1200 | 322 | 800 | 331 | 628 | 728 | 783 | 237 | 198 |
500 | 19 | 532 | 60 | 105 | 4050 | 354 | 2700 | 356 | 1350 | 362 | 900 | 373 | 707 | 807 | 862 | 301 | 252 |
600 | 21 | 635 | 60 | 115 | 4410 | 386 | 2940 | 288 | 1470 | 394 | 980 | 406 | 770 | 890 | 945 | 427 | 360 |
700 | 24 | 738 | 60 | 120 | 4860 | 425 | 3240 | 428 | 1620 | 434 | 1080 | 447 | 848 | 968 | 1028 | 602 | 513 |
800 | 26 | 842 | 60 | 130 | 5750 | 504 | 3840 | 507 | 1920 | 515 | 1280 | 530 | 1005 | 1125 | 1195 | 831 | 720 |
900 | 28 | 945 | 70 | 135 | 6120 | 536 | 4080 | 539 | 2040 | 547 | 1360 | 563 | 1068 | 1208 | 1273 | 1076 | 930 |
1000 | 30 | 1048 | 70 | 145 | 6570 | 575 | 4380 | 578 | 2190 | 587 | 1460 | 604 | 1147 | 1287 | 1362 | 1372 | 1186 |
1200 | 34 | 1256 | 80 | 155 | 8280 | 725 | 5520 | 729 | 2760 | 740 | 1840 | 762 | 1445 | 1605 | 1680 | 2157 | 1910 |




Обозначение размера | Условный проход D0 (или d0) | |||||||||||||||||
65 | 80 | 100 | 125 | 150 | 200 | 250 | 300 | 350 | 400 | 450 | 500 | 600 | 700 | 800 | 900 | 1000 | 1200 | |
D (или d) | 63 | 78 | 98 | 122 | 148 | 196 | 246 | 296 | 346 | 395 | 444 | 494 | 593 | 690 | 790 | 889 | 988 | 1188 |
D (или Sd) | 9 | 10 | 10 | 11 | 11 | 13 | 14 | 15 | 16 | 17 | 18 | 19 | 21 | 24 | 26 | 28 | 30 | 34 |
qD (или qd) | 30 | 30 | 40 | 40 | 40 | 40 | 40 | 40 | 50 | 50 | 50 | 60 | 60 | 60 | 60 | 70 | 70 | 80 |
fD (или fd) | 38 | 43 | 43 | 43 | 43 | 45 | 45 | 45 | 50 | 50 | 50 | 50 | 55 | 55 | 60 | 65 | 70 | 75 |
LD | 80 | 80 | 90 | 90 | 90 | 90 | 90 | 90 | 100 | 100 | 150 | 150 | 160 | 160 | 160 | 170 | 170 | 180 |
c | 7 | 8 | 9 | 10 | 11 | 12 | 13 | 14 | 15 | 17 | 19 | 20 | 22 | 25 | 28 | 31 | 35 | 40 |
Условный проход D0 | Обозначение размера | Условный проход d0 | ||||||||||||||||
65 | 80 | 100 | 125 | 150 | 200 | 250 | 300 | 350 | 400 | 450 | 500 | 600 | 700 | 800 | 900 | 1000 | ||
80 | L | 200 | ||||||||||||||||
L1 | 200 | |||||||||||||||||
L2 | 250 | |||||||||||||||||
100 | L | 250 | 200 | |||||||||||||||
L1 | 250 | 200 | ||||||||||||||||
L2 | 300 | 250 | ||||||||||||||||
125 | L | 300 | 250 | 200 | ||||||||||||||
L1 | 300 | 250 | 200 | |||||||||||||||
L2 | 350 | 300 | 250 | |||||||||||||||
150 | L | 300 | 250 | 200 | ||||||||||||||
L1 | 300 | 250 | 200 | |||||||||||||||
L2 | 350 | 300 | 250 | |||||||||||||||
200 | L | 400 | 350 | 300 | 250 | |||||||||||||
L1 | 400 | 350 | 300 | 250 | ||||||||||||||
L2 | 450 | 400 | 350 | 300 | ||||||||||||||
250 | L | 450 | 400 | 350 | 250 | |||||||||||||
L1 | 450 | 400 | 350 | 250 | ||||||||||||||
L2 | 500 | 450 | 400 | 300 | ||||||||||||||
300 | L | 500 | 450 | 350 | 250 | |||||||||||||
L1 | 500 | 450 | 350 | 250 | ||||||||||||||
L2 | 550 | 500 | 400 | 300 | ||||||||||||||
350 | L | 550 | 450 | 350 | 250 | |||||||||||||
L1 | 550 | 450 | 350 | 250 | ||||||||||||||
L2 | 600 | 500 | 400 | 300 | ||||||||||||||
400 | L | 550 | 450 | 350 | 250 | |||||||||||||
L1 | 550 | 450 | 350 | 250 | ||||||||||||||
L2 | 600 | 500 | 400 | 300 | ||||||||||||||
450 | L | 650 | 550 | 450 | 350 | 250 | ||||||||||||
L1 | 700 | 600 | 500 | 400 | 300 | |||||||||||||
L2 | 750 | 650 | 550 | 450 | 350 | |||||||||||||
500 | L | 650 | 550 | 450 | 350 | 250 | ||||||||||||
L1 | 700 | 600 | 500 | 400 | 300 | |||||||||||||
L2 | 750 | 650 | 550 | 450 | 350 | |||||||||||||
600 | L | 750 | 650 | 550 | 450 | 350 | ||||||||||||
L1 | 800 | 700 | 600 | 500 | 400 | |||||||||||||
L2 | 850 | 750 | 650 | 500 | 450 | |||||||||||||
700 | L | 850 | 750 | 650 | 550 | 350 | ||||||||||||
L1 | 900 | 800 | 700 | 600 | 400 | |||||||||||||
L2 | 950 | 850 | 750 | 650 | 450 | |||||||||||||
800 | L | 950 | 850 | 750 | 550 | 350 | ||||||||||||
L1 | 1000 | 900 | 800 | 600 | 400 | |||||||||||||
L2 | 1050 | 950 | 850 | 650 | 450 | |||||||||||||
900 | L | 950 | 750 | 550 | 350 | |||||||||||||
L1 | 1000 | 800 | 600 | 400 | ||||||||||||||
L2 | 1050 | 850 | 650 | 450 | ||||||||||||||
1000 | L | 950 | 750 | 550 | 350 | |||||||||||||
L1 | 1000 | 800 | 600 | 400 | ||||||||||||||
L2 | 1050 | 850 | 650 | 450 | ||||||||||||||
1200 | L | 950 | 750 | 550 | ||||||||||||||
L1 | 1000 | 800 | 600 | |||||||||||||||
L2 | 1050 | 850 | 650 | |||||||||||||||
Условный проход D0, мм | Обозначение перехода | Условный проход d0, мм | ||||||||||||||||
65 | 80 | 100 | 125 | 150 | 200 | 250 | 300 | 350 | 400 | 450 | 500 | 600 | 700 | 800 | 900 | 1000 | ||
кг | ||||||||||||||||||
80 | ХРФ | 11,35 | ||||||||||||||||
ХФ | 11,25 | |||||||||||||||||
ХРГ | 8,3 | |||||||||||||||||
ХР | 12,5 | |||||||||||||||||
100 | ХРФ | 14,05 | 15,1 | |||||||||||||||
ХФ | 11,95 | 13,0 | ||||||||||||||||
ХРГ | 9,9 | 10,9 | ||||||||||||||||
ХР | 15,2 | 16,3 | ||||||||||||||||
125 | ХРФ | 18,65 | 19,6 | 19,2 | ||||||||||||||
ХФ | 15,75 | 16,7 | 16,3 | |||||||||||||||
ХРГ | 12,6 | 13,6 | 14,1 | |||||||||||||||
ХР | 19,8 | 20,8 | 21,3 | |||||||||||||||
150 | ХРФ | 23,7 | 23,2 | 23,9 | ||||||||||||||
ХФ | 20,3 | 19,9 | 20,6 | |||||||||||||||
ХРГ | 16,2 | 16,7 | 18,2 | |||||||||||||||
ХР | 24,8 | 25,3 | 26,8 | |||||||||||||||
200 | ХРФ | 34,5 | 33,9 | 34,7 | 34,6 | |||||||||||||
ХФ | 30,2 | 29,6 | 30,4 | 30,3 | ||||||||||||||
ХРГ | 24,6 | 25,1 | 26,3 | 26,6 | ||||||||||||||
ХР | 35,7 | 36,0 | 37,6 | 37,9 | ||||||||||||||
250 | ХРФ | 48,1 | 49,1 | 48,9 | 48,8 | |||||||||||||
ХФ | 41,0 | 42,0 | 41,8 | 42,7 | ||||||||||||||
ХРГ | 35,0 | 36,2 | 36,4 | 37,0 | ||||||||||||||
ХР | 50,2 | 52,0 | 52,2 | 53,1 | ||||||||||||||
300 | ХРФ | 66,4 | 66,0 | 66,2 | 63,6 | |||||||||||||
ХФ | 55,0 | 54,6 | 54,8 | 52,2 | ||||||||||||||
ХРГ | 48,4 | 48,5 | 49,4 | 49,1 | ||||||||||||||
ХР | 69,3 | 69,3 | 70,5 | 70,7 | ||||||||||||||
350 | ХРФ | 86,1 | 87,4 | 84,4 | 79,2 | |||||||||||||
ХФ | 72,3 | 73,6 | 71,0 | 65,4 | ||||||||||||||
ХРГ | 63,2 | 64,9 | 65,5 | 63,4 | ||||||||||||||
ХР | 89,4 | 91,7 | 91,9 | 90,6 | ||||||||||||||
400 | ХРФ | 112 | 109 | 104 | 98 | |||||||||||||
ХФ | 94,4 | 92,6 | 87,2 | 81,9 | ||||||||||||||
ХРГ | 83,0 | 83,3 | 81,5 | 78,5 | ||||||||||||||
ХР | 116 | 116 | 115 | 112 | ||||||||||||||
450 | ХРФ | 138 | 137 | 131 | 126 | 119 | ||||||||||||
ХФ | 116 | 115 | 109 | 104 | 96,6 | |||||||||||||
ХРГ | 115 | 115 | 113 | 110 | 105 | |||||||||||||
ХР | 149 | 151 | 150 | 148 | 144 | |||||||||||||
500 | ХРФ | 172 | 165 | 160 | 153 | 140 | ||||||||||||
ХФ | 144 | 138 | 132 | 125 | 112 | |||||||||||||
ХРГ | 142 | 139 | 136 | 131 | 124 | |||||||||||||
ХР | 186 | 186 | 183 | 179 | 173 | |||||||||||||
600 | ХРФ | 244 | 238 | 232 | 219 | 206 | ||||||||||||
ХФ | 204 | 199 | 192 | 179 | 166 | |||||||||||||
ХРГ | 205 | 202 | 196 | 189 | 181 | |||||||||||||
ХР | 266 | 263 | 265 | 253 | 247 | |||||||||||||
700 | ХРФ | 346 | 338 | 325 | 312 | 275 | ||||||||||||
ХФ | 292 | 284 | 271 | 257 | 220 | |||||||||||||
ХРГ | 294 | 285 | 277 | 269 | 243 | |||||||||||||
ХР | 373 | 368 | 361 | 354 | 331 | |||||||||||||
800 | ХРФ | 463 | 449 | 434 | 397 | 364 | ||||||||||||
ХФ | 400 | 385 | 371 | 334 | 291 | |||||||||||||
ХРГ | 388 | 380 | 372 | 346 | 314 | |||||||||||||
ХР | 494 | 487 | 480 | 457 | 430 | |||||||||||||
900 | ХРФ | 589 | 552 | 508 | 452 | |||||||||||||
ХФ | 498 | 461 | 417 | 361 | ||||||||||||||
ХРГ | 492 | 471 | 441 | 390 | ||||||||||||||
ХР | 620 | 613 | 588 | 542 | ||||||||||||||
1000 | ХРФ | 740 | 700 | 642 | 556 | |||||||||||||
ХФ | 620 | 581 | 522 | 436 | ||||||||||||||
ХРГ | 617 | 589 | 539 | 480 | ||||||||||||||
ХР | 804 | 780 | 734 | 679 | ||||||||||||||
1200 | ХРФ | 1073 | 984 | 889 | ||||||||||||||
ХФ | 920 | 831 | 737 | |||||||||||||||
ХРГ | 917 | 956 | 788 | |||||||||||||||
ХР | 1169 | 1112 | 1050 | |||||||||||||||


Условный проход D0 | S | Dн | l | L | L1 | Масса патрубка, кг | |
фланца-раструба | фланца - гладкого конца | ||||||
65 | 9 | 81 | 75 | 100 | 300 и 1200 | 9,2 | 8,1 и 22,5 |
80 | 10 | 98 | 75 | 100 | 300 и 1200 | 11,2 | 10,0 и 28,1 |
100 | 10 | 118 | 80 | 100 | 350 и 1200 | 13,6 | 13,1 и 34,0 |
125 | 11 | 144 | 80 | 100 | 350 и 1200 | 18,2 | 17,7 и 46,0 |
150 | 11 | 170 | 85 | 100 | 350 и 1200 | 22,1 | 21,3 и 55,2 |
200 | 13 | 222 | 85 | 100 | 350 и 1200 | 31,1 | 32,0 и 84,5 |
250 | 14 | 274 | 90 | 150 | 350 и 1200 | 46,2 | 42,3 и 113 |
300 | 15 | 326 | 95 | 150 | 400 и 1200 | 58,0 | 57,8 и 143 |
350 | 16 | 378 | 100 | 150 | 400 и 1200 | 73,8 | 72,8 и 178 |
400 | 17 | 429 | 100 | 150 | 400 и 1200 | 91,2 | 89,2 и 217 |
450 | 18 | 480 | 105 | 150 | 450 и 1200 | 106 | 113 и 255 |
500 | 19 | 532 | 105 | 150 | 450 и 1200 | 127 | 133 и 299 |
600 | 21 | 635 | 115 | 250 | 500 и 1200 | 200 | 190 и 395 |
700 | 24 | 738 | 120 | 250 | 500 и 1200 | 268 | 253 и 526 |
800 | 26 | 842 | 130 | 250 | 600 и 1200 | 345 | 370 и 660 |
900 | 28 | 945 | 135 | 300 | 600 и 1200 | 453 | 444 и 795 |
1000 | 30 | 1048 | 145 | 300 | 600 и 1200 | 566 | 536 и 953 |
1200 | 34 | 1256 | 155 | 300 | 600 и 1200 | 770 | 734 и 1302 |

Условный проход D0 | D | Dн | l | L | Масса, кг |
65 | 71 | 122 | 20 | 170 | 9,5 |
80 | 85 | 140 | 20 | 170 | 11,0 |
100 | 106 | 163 | 20 | 180 | 14,8 |
125 | 130 | 194 | 20 | 180 | 18,9 |
150 | 156 | 220 | 20 | 190 | 23,2 |
200 | 206 | 276 | 20 | 190 | 31,7 |
250 | 260 | 330 | 20 | 200 | 42,5 |
300 | 310 | 385 | 20 | 210 | 55,1 |
350 | 360 | 438 | 20 | 220 | 66,0 |
400 | 410 | 492 | 20 | 220 | 76,0 |
450 | 460 | 546 | 20 | 230 | 93,8 |
500 | 510 | 600 | 30 | 240 | 115 |
600 | 600 | 710 | 30 | 260 | 156 |
700 | 710 | 822 | 30 | 270 | 210 |
800 | 810 | 930 | 30 | 290 | 259 |
900 | 920 | 1040 | 40 | 310 | 345 |
1000 | 1020 | 1150 | 40 | 330 | 415 |
1200 | 1230 | 1370 | 50 | 350 | 658 |

Условный проход D0 | D | S2 | b | c | k | r | S | L | Масса, кг |
65 | 99 | 26 | 25 | 72 | 8 | 21 | 9 | 260 | 10,2 |
80 | 116 | 27 | 27 | 72 | 8 | 22 | 10 | 260 | 12,0 |
100 | 137 | 28 | 27 | 75 | 8 | 23 | 10 | 265 | 15,2 |
125 | 163 | 29 | 28 | 75 | 8 | 23 | 11 | 265 | 19,5 |
150 | 189 | 30 | 30 | 80 | 8 | 24 | 11 | 280 | 24,2 |
200 | 241 | 32 | 32 | 80 | 8 | 25 | 13 | 285 | 33,0 |
250 | 294 | 34 | 34 | 85 | 8 | 26 | 14 | 300 | 46,9 |
300 | 346 | 36 | 36 | 89 | 28 | 28 | 15 | 305 | 57,1 |
350 | 398 | 38 | 38 | 94 | 10 | 31 | 16 | 320 | 76,5 |
400 | 449 | 40 | 40 | 94 | 10 | 32 | 17 | 325 | 91,0 |
450 | 501 | 41 | 41 | 99 | 10 | 33 | 18 | 340 | 108 |
500 | 553 | 43 | 42 | 99 | 10 | 34 | 19 | 350 | 133 |
600 | 657 | 46 | 43 | 109 | 10 | 36 | 21 | 370 | 178 |
700 | 760 | 50 | 44 | 113 | 10 | 38 | 24 | 390 | 249 |
800 | 865 | 54 | 45 | 123 | 12 | 41 | 26 | 410 | 310 |
900 | 968 | 58 | 46 | 127 | 12 | 43 | 28 | 430 | 397 |
1000 | 1072 | 62 | 48 | 137 | 12 | 45 | 30 | 450 | 486 |
1200 | 1290 | 70 | 50 | 147 | 12 | 52 | 34 | 490 | 679 |

Условный проход D0 | D | L | l | l1 | l2 | l3 | h | h1 | t | S | S1 | d | Болты | |
Количество | Диаметр резьбы | |||||||||||||
65 | 99 | 260 | 18 | 112 | 157 | 169 | 43 | 20 | 1 | 9 | 15 | 18 | 6 | М16 |
80 | 116 | 260 | 22 | 108,0 | 174 | 184 | 52 | 23 | 2 | 10 | 16 | 22 | 6 | М20 |
100 | 137 | 265 | 22 | 110,5 | 200 | 212 | 56 | 29 | 6 | 10 | 16 | 22 | 6 | М20 |
125 | 163 | 265 | 22 | 110,5 | 228 | 240 | 60 | 29 | 7 | 11 | 17 | 22 | 6 | М20 |
150 | 189 | 280 | 22 | 118,0 | 254 | 270 | 66 | 35 | 13 | 11 | 17 | 22 | 6 | М20 |
200 | 241 | 285 | 22 | 120,5 | 308 | 326 | 72 | 37 | 14 | 13 | 18 | 22 | 6 | М20 |
250 | 294 | 300 | 25 | 125,0 | 365 | 385 | 83 | 43 | 17 | 14 | 19 | 25 | 6 | М22 |


Условный проход D0 | b | D | D1 | D2 | d | r | h | Болты | Масса, кг | |
Количество | Диаметр резьбы | |||||||||
65 | 21,0 | - | 140 | 180 | 18 | - | - | 4 | М16 | 3,75 |
80 | 21,0 | - | 160 | 200 | 18 | - | - | 4 | М16 | 4,63 |
100 | - | - | 180 | 220 | 18 | - | - | 4 | М16 | 5,74 |
125 | 22,5 | - | 210 | 250 | 18 | - | - | 8 | М16 | 7,68 |
150 | 23,0 | - | 240 | 285 | 22 | - | - | 8 | М20 | 10,1 |
200 | 24,5 | - | 295 | 340 | 22 | - | - | 8 | М20 | 15,7 |
250 | 26,0 | - | 350 | 395 | 22 | - | - | 12 | М20 | 22,2 |
300 | 27,5 | - | 400 | 445 | 22 | - | - | 12 | М20 | 30,1 |
350 | 29,5 | - | 460 | 505 | 22 | - | - | 16 | М20 | 40,8 |
400 | 30,0 | 388 | 515 | 565 | 25 | 808 | 22 | 16 | М22 | 53,2 |
450 | 32,0 | 432 | 565 | 615 | 25 | 878 | 26 | 20 | М22 | 67,1 |
500 | 33,0 | 482 | 620 | 670 | 25 | 890 | 32 | 20 | М22 | 82,8 |
600 | 36,0 | 560 | 725 | 780 | 30 | 964 | 40 | 20 | М27 | 122 |
700 | 38,5 | 660 | 840 | 895 | 30 | 1074 | 50 | 24 | М27 | 173 |
800 | 41,5 | 758 | 950 | 1015 | 34 | 1100 | 60 | 24 | М30 | 241 |
900 | 44,0 | 858 | 1050 | 1115 | 34 | 1218 | 75 | 28 | М30 | 309 |
1000 | 47,0 | 966 | 1160 | 1230 | 37 | 1264 | 90 | 28 | М30 | 404 |
Условный проход D0 | h | l | d | l1 | l2 | l3 | r | a | b | b1 | c | k | d1 | n | m | r | Бандажи | |
Количество | Диаметр резьбы | |||||||||||||||||
100 | 100 | 170 | 105 | - | 133 | 66 | 64 | - | 18 | 21 | 10 | 3,5 | 20 | - | - | 10 | 2 | М16 |
125 | 100 | 200 | 115 | - | 159 | 70 | 77 | - | 19 | 22 | 8 | 3,5 | 20 | - | - | 10 | 2 | М16 |
150 | 100 | 230 | 130 | - | 185 | 80 | 90 | - | 21 | 25 | 6 | 3,5 | 20 | - | - | 10 | 2 | М16 |
200 | 100 | 280 | 140 | 150 | 225 | 90 | 117 | 28 | 23 | 27 | - | 4,5 | 20 | 24 | 20 | 12 | 2 | М16 |
250 | 115 | 300 | 140 | 160 | 246 | 90 | 143 | 35 | 26 | 30 | - | 4,5 | 20 | 24 | 20 | 12 | 2 | М16 |
300 | 120 | 320 | 140 | 170 | 264 | 90 | 169 | 43 | 28 | 34 | - | 4,5 | 20 | 24 | 20 | 12 | 2 | М16 |
350 | 125 | 340 | 145 | 180 | 276 | 95 | 195 | 51 | 30 | 38 | - | 5,0 | 20 | 24 | 20 | 16 | 2 | М16 |
400 | 130 | 360 | 145 | 190 | 288 | 95 | 221 | 59 | 32 | 42 | - | 5,0 | 20 | 24 | 25 | 16 | 2 | М16 |
450 | 135 | 380 | 145 | 200 | 300 | 95 | 247 | 67 | 34 | 45 | - | 5,0 | 24 | 30 | 25 | 16 | 2 | М20 |
500 | 140 | 390 | 150 | 210 | 315 | 95 | 273 | 75 | 36 | 48 | - | 5,0 | 24 | 30 | 25 | 20 | 2 | М20 |
600 | 140 | 410 | 150 | 230 | 336 | 95 | 325 | 92 | ЗЯ | 52 | - | 5,0 | 24 | 30 | 30 | 20 | 2 | М20 |
700 | 145 | 420 | 155 | 250 | 356 | 95 | 378 | 110 | 40 | 54 | - | 5,0 | 24 | 30 | 30 | 20 | 2 | М20 |
800 | 150 | 430 | 155 | 265 | 368 | 95 | 431 | 128 | 42 | 56 | - | 5,0 | 24 | 30 | 30 | 20 | 2 | М20 |
900 | 155 | 440 | 160 | 280 | 380 | 100 | 484 | 146 | 44 | 58 | - | 5,0 | 24 | 30 | 30 | 20 | 2 | М20 |
1000 | 155 | 450 | 160 | 290 | 390 | 100 | 537 | 160 | 46 | 60 | - | 5,0 | 24 | 30 | 30 | 20 | 2 | М20 |


Условный проход D0 | h | l | d | l1 | l2 | l3 | r | a | b | b1 | c | k | d1 | n | m | r | Бандажи | |
Количество | Диаметр резьбы | |||||||||||||||||
100 | 50 | 170 | 105 | - | 133 | 66 | 64 | - | 18 | 21 | 10 | 3,5 | 20 | - | - | 10 | 2 | М16 |
125 | 60 | 200 | 115 | - | 159 | 70 | 77 | - | 19 | 22 | 8 | 3,5 | 20 | - | - | 10 | 2 | М16 |
150 | 60 | 230 | 130 | - | 185 | 80 | 90 | - | 21 | 25 | 6 | 3,5 | 20 | - | - | 10 | 2 | М16 |
200 | 70 | 280 | 140 | 150 | 225 | 90 | 117 | 28 | 23 | 27 | - | 4,5 | 20 | 24 | 20 | 12 | 2 | М16 |
250 | 70 | 300 | 140 | 160 | 246 | 90 | 143 | 35 | 26 | 30 | - | 4,5 | 20 | 24 | 20 | 12 | 2 | М16 |
300 | 80 | 320 | 140 | 170 | 264 | 90 | 169 | 43 | 28 | 34 | - | 4,5 | 20 | 24 | 20 | 12 | 2 | М16 |
350 | 80 | 340 | 145 | 180 | 276 | 95 | 195 | 51 | 30 | 38 | - | 5,0 | 20 | 24 | 20 | 16 | 2 | М16 |
400 | 80 | 360 | 145 | 190 | 288 | 95 | 221 | 59 | 32 | 42 | - | 5,0 | 20 | 24 | 25 | 16 | 2 | М16 |
450 | 90 | 380 | 145 | 200 | 300 | 95 | 247 | 67 | 34 | 45 | - | 5,0 | 24 | 30 | 25 | 16 | 2 | М20 |
500 | 90 | 390 | 150 | 210 | 315 | 95 | 273 | 75 | 36 | 48 | - | 5,0 | 24 | 30 | 25 | 20 | 2 | М20 |
600 | 100 | 410 | 150 | 230 | 336 | 95 | 325 | 92 | 38 | 52 | - | 5,0 | 24 | 30 | 30 | 20 | 2 | М20 |
700 | 100 | 420 | 155 | 250 | 355 | 95 | 378 | 110 | 40 | 54 | - | 5,0 | 24 | 30 | 30 | 20 | 2 | М20 |
800 | 100 | 430 | 155 | 265 | 368 | 95 | 431 | 128 | 42 | 56 | - | 5,0 | 24 | 30 | 30 | 20 | 2 | М20 |
900 | 100 | 440 | 160 | 280 | 380 | 100 | 484 | 146 | 44 | 58 | - | 5,0 | 24 | 30 | 30 | 20 | 2 | М20 |
1000 | 100 | 450 | 160 | 290 | 390 | 100 | 537 | 160 | 46 | 60 | - | 5,0 | 24 | 30 | 30 | 20 | 2 | М20 |
Условный проход ствола D0 | Dн | S | l | l1 | Масса, кг |
100 | 118 | 10 | 200 | 225 | 38,0 |
125 | 144 | 11 | 200 | 250 | 48,0 |
150 | 170 | 11 | 200 | 250 | 52,5 |
200 | 222 | 13 | 250 | 275 | 75,0 |
250 | 274 | 14 | 250 | 300 | 97,0 |
300 | 326 | 15 | 250 | 325 | 121 |



Условный проход | Dн | dн | S | S1 | l | l1 | l2 | Масса, кг | |
ствола D0 | отростка d0 | ||||||||
100 | 100 | 118 | 118 | 10 | 10 | 200 | 200 | 225 | 46,0 |
150 | 100 | 170 | 118 | 11 | 10 | 200 | 200 | 250 | 55,5 |
150 | 150 | 170 | 170 | 11 | 11 | 200 | 250 | 250 | 65,0 |
200 | 100 | 222 | 118 | 13 | 10 | 200 | 225 | 275 | 76,0 |
200 | 150 | 222 | 170 | 13 | 11 | 200 | 225 | 275 | 79,0 |
200 | 200 | 222 | 222 | 13 | 13 | 250 | 300 | 275 | 94,0 |
250 | 150 | 274 | 170 | 14 | 11 | 200 | 250 | 300 | 99,0 |
250 | 200 | 274 | 222 | 14 | 13 | 250 | 275 | 300 | 112 |
250 | 250 | 274 | 274 | 14 | 14 | 250 | 300 | 300 | 127 |
300 | 200 | 326 | 222 | 15 | 13 | 250 | 300 | 325 | 137 |
300 | 250 | 326 | 274 | 15 | 14 | 250 | 300 | 325 | 141 |
300 | 300 | 326 | 326 | 15 | 15 | 300 | 300 | 325 | 154 |
Условный проход | Dн | dн | S | S1 | l | l1 | l2 | Масса, кг | |
ствола D0 | отростка d0 | ||||||||
100 | 100 | 118 | 118 | 10 | 10 | 200 | 200 | 225 | 42 |
150 | 100 | 170 | 118 | 11 | 10 | 250 | 200 | 250 | 57 |
150 | 150 | 170 | 170 | 11 | 11 | 250 | 250 | 250 | 62 |
200 | 100 | 222 | 118 | 13 | 10 | 300 | 225 | 275 | 79 |
200 | 150 | 222 | 170 | 13 | 11 | 300 | 225 | 275 | 83 |
200 | 200 | 222 | 222 | 13 | 13 | 300 | 300 | 275 | 92 |
250 | 150 | 274 | 170 | 14 | 11 | 300 | 250 | 300 | 103 |
250 | 200 | 274 | 222 | 14 | 13 | 300 | 275 | 300 | 108 |
250 | 250 | 274 | 274 | 14 | 14 | 300 | 300 | 300 | 111 |
300 | 200 | 326 | 222 | 15 | 13 | 300 | 300 | 325 | 124 |
300 | 250 | 326 | 274 | 15 | 14 | 300 | 300 | 325 | 128 |
300 | 300 | 326 | 326 | 15 | 15 | 300 | 300 | 325 | 131 |


Условный проход | Dн | dн | S | S1 | l | l1 | l2 | Масса, кг | |
ствола D0 | отростка d0 | ||||||||
100 | 100 | 118 | 118 | 10 | 10 | 200 | 200 | 225 | 50,5 |
150 | 100 | 170 | 118 | 11 | 10 | 200 | 200 | 250 | 62,5 |
150 | 150 | 170 | 170 | 11 | 11 | 200 | 250 | 250 | 77,5 |
200 | 100 | 222 | 118 | 13 | 10 | 200 | 225 | 275 | 83,0 |
200 | 150 | 222 | 170 | 13 | 11 | 200 | 225 | 275 | 90,0 |
200 | 200 | 222 | 222 | 13 | 13 | 250 | 300 | 275 | 113 |
250 | 150 | 274 | 170 | 14 | 11 | 200 | 250 | 300 | 100 |
250 | 200 | 274 | 222 | 14 | 13 | 250 | 275 | 300 | 128 |
250 | 250 | 274 | 274 | 14 | 14 | 250 | 300 | 300 | 137 |
300 | 200 | 326 | 222 | 15 | 13 | 250 | 300 | 325 | 137 |
300 | 250 | 326 | 274 | 15 | 14 | 250 | 300 | 325 | 160 |
300 | 300 | 326 | 326 | 15 | 15 | 300 | 300 | 325 | 177 |
Условный проход | Dн | dн | S | S1 | l | l1 | l2 | Масса, кг | |
ствола D0 | отростка d0 | ||||||||
100 | 100 | 118 | 118 | 10 | 10 | 200 | 200 | 225 | 53 |
125 | 125 | 144 | 144 | 11 | 11 | 225 | 225 | 250 | 75 |
150 | 100 | 170 | 118 | 11 | 10 | 250 | 200 | 250 | 63 |
150 | 150 | 170 | 170 | 11 | 11 | 250 | 250 | 250 | 79 |
200 | 150 | 222 | 170 | 13 | 11 | 300 | 225 | 275 | 94 |
200 | 200 | 222 | 222 | 13 | 13 | 300 | 300 | 275 | 111 |
250 | 150 | 274 | 170 | 14 | 11 | 300 | 250 | 300 | 111 |
250 | 200 | 274 | 222 | 14 | 13 | 300 | 275 | 300 | 124 |
250 | 250 | 274 | 274 | 14 | 14 | 300 | 300 | 300 | 131 |
300 | 200 | 326 | 222 | 15 | 13 | 300 | 300 | 325 | 140 |
300 | 250 | 326 | 274 | 15 | 14 | 300 | 300 | 325 | 148 |
300 | 300 | 326 | 326 | 15 | 15 | 300 | 300 | 325 | 154 |
Вид отливки | Условный проход, мм | Допускаемые отклонения, мм |
Соединительные части с раструбами, с фланцем и раструбом, с фланцем и гладким концом | До 450 включ. | +/- 20 |
Св. 450 | +20 | |
-30 | ||
Соединительные части с фланцами | Все диаметры | +/- 10 |
Вид отливки | Условный проход, мм | Испытательное давление, МПа (кгс/см2) |
Соединительные части | До 300 включ. | 2,5 (25) |
Св. 300 | 2,0 (20) |
