Главная // Актуальные документы // ГОСТ (Государственный стандарт)СПРАВКА
Источник публикации
М.: ИПК Издательство стандартов, 1998
Примечание к документу
С 1 июля 2003 года до вступления в силу технических регламентов акты федеральных органов исполнительной власти в сфере технического регулирования носят рекомендательный характер и подлежат обязательному исполнению только в части, соответствующей целям, указанным в
пункте 1 статьи 46 Федерального закона от 27.12.2002 N 184-ФЗ.
Введен в действие с 1 января 1979 года.
Взамен ГОСТ 18307-72.
Название документа
"ГОСТ 18307-78. Государственный стандарт Союза ССР. Сажа белая. Технические условия"
(утв. и введен в действие Постановлением Госстандарта СССР от 03.02.1978 N 364)
(ред. от 01.07.1992)
"ГОСТ 18307-78. Государственный стандарт Союза ССР. Сажа белая. Технические условия"
(утв. и введен в действие Постановлением Госстандарта СССР от 03.02.1978 N 364)
(ред. от 01.07.1992)
Утвержден и введен в действие
Постановлением Госстандарта СССР
от 3 февраля 1978 г. N 364
ГОСУДАРСТВЕННЫЙ СТАНДАРТ СОЮЗА ССР
САЖА БЕЛАЯ
ТЕХНИЧЕСКИЕ УСЛОВИЯ
White soot. Specifications
ГОСТ 18307-78
| | Список изменяющих документов (в ред. Изменения N 1, утв. в мае 1983 г., Изменения N 2, утв. в марте 1988 г., Изменения N 3, утв. в марте 1990 г., Изменения N 4, утв. в июле 1992 г.) | |
Дата введения
1 января 1979 года
1. Разработан и внесен Министерством химической промышленности СССР.
Разработчики: Е.Ф. Дубрава, Л.С. Желтобрюх, В.А. Сысоев, В.В. Казначеева, И.П. Книгавко.
2. Утвержден и введен в действие Постановлением Государственного комитета стандартов Совета Министров СССР от 03.02.1978 N 364.
3. Взамен ГОСТ 18307-72.
4. Ссылочные нормативно-технические документы
──────────────────────────────┬───────────────────────────────────
Обозначение НТД, │ Номер пункта, подпункта
на который дана ссылка │
──────────────────────────────┼───────────────────────────────────
ИС МЕГАНОРМ: примечание.
Взамен ГОСТ 24104-88 Постановлением Госстандарта РФ от
26.10.2001 N 439-ст с 1 июля 2002 года введен в действие
5. Ограничение срока действия снято по Протоколу N 3-93 Межгосударственного совета по стандартизации, метрологии и сертификации (ИУС 5-6-93).
6. Переиздание (декабрь 1997 г.) с Изменениями N 1, 2, 3, 4, утвержденными в мае 1983 г., марте 1988 г., марте 1990 г. и июле 1992 г. (ИУС 8-83, 7-88, 7-90, 10-92).
Настоящий стандарт распространяется на белую сажу, представляющую собой тонкодисперсную осажденную двуокись кремния, используемую в качестве усиливающего наполнителя синтетических и полимерных материалов в шинной, резинотехнической, химической, легкой и других отраслях промышленности.
Формула:

.
1. ТЕХНИЧЕСКИЕ ТРЕБОВАНИЯ
1.1. Белая сажа должна быть изготовлена в соответствии с требованиями настоящего стандарта по технологическому регламенту, утвержденному в установленном порядке.
1.2. Белую сажу выпускают марок: БС-30, БС-50, БС-100 и БС-120.
Средний размер частиц белой сажи для марок БС-30 - 60 - 108 нм, БС-50 - 50 - 77 нм, БС-100 - 23 - 34 нм, БС-120 - 19 - 27 нм.
1.3. По физико-химическим показателям белая сажа должна соответствовать нормам, указанным в таблице.
──────────────────────────┬────────────────────────────────────────────────
Наименование показателя │ Норма для марок
├───────────┬──────────┬───────────┬─────────────
│ БС-30 │ БС-50 │ БС-100 │ БС-120
├───────────┼──────────┼───────────┼─────────────
│ ОКП │ ОКП │ ОКП │порошок - ОКП
│ 21 6811 │ 21 6811 │ 21 6811 │21 6811 0400;
│ 0100 │ 0200 │ 0300 │гранулы - ОКП
│ │ │ │21 6811 0600
──────────────────────────┼───────────┴──────────┴───────────┼─────────────
1. Внешний вид │Порошок и непрочные комочки белого│ Порошок
│ цвета │и непрочные
│ │комочки или
│ │гранулы
│ │белого цвета
2. Массовая доля двуокиси│ 85 │ 76 │ 86 │ 87
кремния, %, не менее │ │ │ │
3. Массовая доля влаги, │ 6,5 │ 6,0 │ 6,5 │ 6,5
%, не более │ │ │ │
4. Потери в массе при │ 4,5 - 7,5 │7,0 - 10,0│5,0 - 7,0 │ 3,5 - 7,0
прокаливании, % │ │ │ │
5. Массовая доля железа │ Не │ 0,03 │ 0,15 │ 0,17
в пересчете на окись │нормируется│ │ │
железа, %, не более │ │ │ │
6. Массовая доля алюминия│ Не │ 0,10 │ 0,15 │ 0,10
в пересчете на окись │нормируется│ │ │
алюминия, %, не более │ │ │ │
7. Массовая доля хлоридов│ Не │ 0,6 │ 1,0 │ 0,3
_ │нормируется│ │ │
(Cl ), %, не более │ │ │ │
8. Массовая доля │ Не нормируется │ 0,5
2- │ │
сульфатов (SO ), %, │ │
4 │ │
не более │ │
9. Массовая доля кальция │ 0,5 │ 7,0 │ 0,8 │ 0,8
и магния в пересчете │ │ │ │
на окись кальция, %, │ │ │ │
не более │ │ │ │
10. Массовая доля │ │ │ │
щелочности в пересчете на │ │ │ │
окись натрия, %, не более │ │ │ │
для порошкообразной │ 0,9 │ 1,8 │ Не │ 1,1
│ │ │нормируется│
для гранулированной │ - │ - │ - │ 0,5
11. Массовая доля │ 2,5 │ Не нормируется
_ │ │
фторидов (F ), %, не более│ │
12. pH водной вытяжки │ │ │ │
для порошкообразной │8,0 - 10,0 │9,0 - 10,5│ 7,0 - 8,5 │ 8,0 - 9,5
для гранулированной │ - │ - │ - │ 7,0 - 8,5
13. Насыпная плотность, │ │ │ │
г/дм3 │ │ │ │
для неуплотненной │ 170 - 220 │150 - 200 │ 80 - 130 │ 120 - 150
для уплотненной │ 220 - 280 │200 - 230 │ 170 - 220 │ 180 - 230
для гранулированной │ - │ - │ - │ 220 - 320
14. Удельная поверхность │ 35 +/- 10 │45 +/- 10 │100 +/- 20 │ 120 +/- 20
по адсорбции фенола, м2/г │ │ │ │
15. Массовая доля остатка│ 0,25 │ 0,15 │ 0,10 │ 0,02
на сите с сеткой 014К по │ │ │ │
16. Массовая доля пыли │ - │ 2,0
для сажи гранулированной, │ │
%, не более │ │
17. Механическая │ - │ 1,0 - 2,5
прочность гранул, % │ │
Примечания. 1. Белая сажа БС-50, получаемая из фторсодержащего сырья и предназначенная для производства резиновой обуви, резиновых медицинских изделий и химических средств защиты растений, должна иметь потери в массе при прокаливании 5,0 - 10,0%, массовую долю фторидов - не более 2,5% и удельную поверхность по адсорбции фенола - 55 - 75 м2/г.
2. Белая сажа БС-120, получаемая углекислотным способом с применением соляной кислоты, должна иметь массовую долю двуокиси кремния не менее 86%, хлоридов - не более 1,0% и сульфатов - не более 0,2%.
3. По согласованию с потребителем допускается выпускать белую сажу БС-100 с удельной поверхностью 100 - 150 м2/г.
(Измененная редакция, Изм. N 1, 2, 3, 4).
2.1. Белую сажу принимают партиями. Партией считают продукт, однородный по своим показателям качества, сопровождаемый одним документом о качестве, массой не более 50 т.
Документ о качестве должен содержать:
наименование предприятия-изготовителя и его товарный знак;
наименование и марку продукта;
номер партии;
дату изготовления;
массу нетто;
обозначение настоящего стандарта;
результаты проведенных анализов или подтверждение о соответствии качества продукта требованиям настоящего стандарта.
(Измененная редакция, Изм. N 1).
2.2. Для проверки качества белой сажи на соответствие ее показателей требованиям настоящего стандарта отбирают 3% единиц продукции, но не менее пяти единиц при партии, состоящей менее чем из 100 единиц продукции.
2.3. При получении неудовлетворительных результатов анализа хотя бы по одному из показателей проводят повторный анализ на удвоенной выборке от той же партии. Результаты повторного анализа распространяются на всю партию.
2.4. Определение массовой доли алюминия в пересчете на окись алюминия на предприятиях-изготовителях проводят по требованию потребителей.
(Введен дополнительно, Изм. N 1).
2.5.
Показатели 5 -
9 таблицы для сажи марки БС-120 гарантируются заводом-изготовителем и определение их проводят по требованию потребителей.
(Введен дополнительно, Изм. N 2).
3.1. Отбор проб
3.1.1. Точечные пробы из мешков отбирают щупом, вводя его сверху до середины вертикально поставленного мешка, для порошкообразной белой сажи и, опуская его до дна мешка, для гранулированной белой сажи.
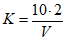
Для отбора гранулированной белой сажи применяют специальный щуп (черт. 1), состоящий из двух цилиндрических трубок с продольными вырезами, вставленных одна в другую. Внутренняя трубка имеет плоское дно. Щуп открывают и закрывают поворотом трубок вокруг продольной оси.
Щуп для отбора проб
1 - внешняя трубка; 2 - внутренняя трубка
Черт. 1
Заполненный щуп ставят горизонтально и на расстоянии 4 - 5 мм пробу высыпают на стол, покрытый листом бумаги.
Масса точечной пробы, отобранной из мешка, не должна быть меньше 50 г.
У изготовителя допускается отбирать пробы с движущегося потока в момент упаковки продукции. Масса точечной пробы должна быть не менее 0,5 кг от 20 т продукта.
3.2. Отобранные точечные пробы соединяют в общую пробу, тщательно перемешивают и сокращают методом квартования до массы средней пробы не менее 500 г.
Полученную среднюю пробу помещают в чистую сухую стеклянную банку или полиэтиленовый мешочек. Банку плотно закрывают, полиэтиленовый мешочек завязывают.
На банку или полиэтиленовый мешочек наклеивают или прикрепляют этикетку со следующими обозначениями: наименование продукта, номер партии и дата отбора пробы.
3.1 - 3.2. (Измененная редакция, Изм. N 1, 2).
3.3. Для проведения анализа и приготовления растворов применяют реактивы квалификации х.ч. и ч.д.а.
Допускается использовать импортные реактивы по качеству не ниже отечественных.
Допускается применять аналогичную, в том числе импортную, аппаратуру и лабораторную посуду с техническими характеристиками не ниже указанных в стандарте.
(Измененная редакция, Изм. N 4).
3.4. Определение массовой доли пыли, механической прочности и насыпной плотности для гранулированной белой сажи проводят перед определением остальных показателей из навесок, отобранных методом квартования средней пробы.
3.5. Внешний вид определяют визуально.
3.6. Определение массовой доли двуокиси кремния
3.6.1. Аппаратура, реактивы и средства измерений
| | ИС МЕГАНОРМ: примечание. Взамен ГОСТ 24104-88 Постановлением Госстандарта РФ от 26.10.2001 N 439-ст с 1 июля 2002 года введен в действие ГОСТ 24104-2001. | |
Весы лабораторные по ГОСТ 24104, 2-го класса точности.
Гири Г-2-210 по ГОСТ 7328.
Электропечь муфельная типа СНОЛ 1,6.2,5.1/9-ИЧ или другого типа, обеспечивающая температуру нагрева 950 - 1000 °C.
Силикагель технический по
ГОСТ 3956, высушенный при 150 - 180 °C, или кальций хлористый, прокаленный при 250 - 300 °C.
Кислота соляная по
ГОСТ 3118, плотностью 1,19 г/см3, разбавленная 5:95, и 10%-ный раствор.
3.6.2. Проведение анализа
Взвешивают 0,50 - 0,55 г белой сажи (результат в граммах записывают с точностью до четвертого десятичного знака), помещают в фарфоровую чашку, осторожно приливают 20 см3 соляной кислоты плотностью 1,19 г/см3 и упаривают на водяной бане досуха. Затем еще дважды упаривают в 5 см3 соляной кислоты.
Осадок высушивают до исчезновения запаха кислоты, приливают 10 см3 10%-ного раствора соляной кислоты, 50 см3 горячей воды, фильтруют через два плотных фильтра, 4 - 5 раз промывают горячим раствором соляной кислоты, разбавленной 5:95, и два раза горячей водой.
Фильтр с осадком помещают в фарфоровый тигель, предварительно прокаленный до постоянной массы, затем высушивают, полностью озоляют, помещают в муфельную печь, нагретую до 300 - 400 °C, нагревают до (900 +/- 25) °C, прокаливают до достижения постоянной массы и после охлаждения в эксикаторе взвешивают (результат в граммах записывают с точностью до четвертого десятичного знака).
3.6.1, 3.6.2. (Измененная редакция, Изм. N 2).
3.6.3. Обработка результатов
3.6.3.1. Массовую долю двуокиси кремния (X) в процентах вычисляют по формуле

,
где

- масса осадка после прокаливания, г;
m - масса навески, г.
3.6.3.2. Для сажи марки БС-30 массовую долю двуокиси кремния (X') вычисляют по формуле

,
где

- массовая доля фторидов, определенная по
п. 3.14, %;
0,7907 - коэффициент пересчета массы фтор-иона на двуокись кремния.
За результат анализа принимают среднее арифметическое результатов двух параллельных определений, абсолютное расхождение между которыми не превышает допускаемое расхождение, равное 0,5%, при доверительной вероятности P = 0,95.
(Измененная редакция, Изм. N 2).
3.7. Определение массовой доли влаги
3.7.1а. Аппаратура, посуда и реактивы
| | ИС МЕГАНОРМ: примечание. Взамен ГОСТ 24104-88 Постановлением Госстандарта РФ от 26.10.2001 N 439-ст с 1 июля 2002 года введен в действие ГОСТ 24104-2001. | |
Весы лабораторные по ГОСТ 24104, 2-го класса точности.
Гири Г-2-210 по ГОСТ 7328.
Шкаф сушильный, позволяющий регулировать температуру в диапазоне 80 - 200 °C.
Силикагель технический по
ГОСТ 3956, высушенный при 150 - 180 °C, или кальций хлористый, прокаленный при 250 - 300 °C.
(Введен дополнительно, Изм. N 2).
3.7.1. Проведение анализа
В стаканчике для взвешивания, предварительно высушенном при 100 - 105 °C до достижения постоянной массы, взвешивают 1,5 - 1,7 г белой сажи (результат в граммах записывают с точностью до четвертого десятичного знака). Стаканчик для взвешивания с навеской высушивают при 100 - 105 °C до достижения постоянной массы и после охлаждения в эксикаторе взвешивают (результат в граммах записывают с точностью до четвертого десятичного знака).
(Измененная редакция, Изм. N 1, 2).
3.7.2. Обработка результатов
Массовую долю влаги

в процентах вычисляют по формуле

,
где

- масса бюксы с белой сажей до высушивания, г;

- масса бюксы с белой сажей после высушивания, г;
m - масса навески, г.
За результат анализа принимают среднее арифметическое результатов двух параллельных определений, абсолютное расхождение между которыми не превышает допускаемое расхождение, равное 0,25%, при доверительной вероятности P = 0,95.
(Измененная редакция, Изм. N 2).
3.8. Определение потерь в массе при прокаливании
3.8.1. Аппаратура, реактивы и средства измерений
| | ИС МЕГАНОРМ: примечание. Взамен ГОСТ 24104-88 Постановлением Госстандарта РФ от 26.10.2001 N 439-ст с 1 июля 2002 года введен в действие ГОСТ 24104-2001. | |
Весы лабораторные по ГОСТ 24104, 2-го класса точности.
Гири Г-2-210 по ГОСТ 7328.
Электропечь муфельная типа СНОЛ 1,6.2,5.1/9-ИЧ или другого типа, обеспечивающая температуру нагрева 950 - 1000 °C.
Шкаф сушильный, позволяющий регулировать температуру в диапазоне 80 - 200 °C.
Силикагель технический по
ГОСТ 3956, высушенный при 150 - 180 °C, или кальций хлористый, прокаленный при 250 - 300 °C.
3.8.2. Проведение анализа
В тигле, предварительно прокаленном при (900 +/- 25) °C до постоянной массы, взвешивают 1,0 - 1,1 г белой сажи (результат в граммах записывают с точностью до четвертого десятичного знака). Тигель с навеской помещают в холодную муфельную печь, нагревают до (900 +/- 25) °C, прокаливают до достижения постоянной массы, охлаждают в эксикаторе и взвешивают (результат в граммах записывают с точностью до четвертого десятичного знака).
3.8.3. Обработка результатов
Потери в массе при прокаливании

в процентах вычисляют по формуле

,
где

- масса тигля с белой сажей до прокаливания, г;

- масса тигля с белой сажей после прокаливания, г;
m - масса навески, г;

- массовая доля влаги, определенная в соответствии с
п. 3.7, %.
За результат анализа принимают среднее арифметическое результатов двух параллельных определений, абсолютное расхождение между которыми не превышает допускаемое расхождение, равное 0,25%, при доверительной вероятности P = 0,95.
3.8 - 3.8.3. (Измененная редакция, Изм. N 2).
3.9. Определение массовой доли железа и алюминия в пересчете на окись железа и окись алюминия
3.9.1. Средства измерения, посуда, реактивы и растворы
Кислота сульфосалициловая (индикатор) по
ГОСТ 4478, 20%-ный раствор.
Кислота азотная по
ГОСТ 4461 и разбавленная 1:5.
Спирт этиловый ректификованный технический по
ГОСТ 18300, высший сорт.
Ацетатный буферный раствор, pH 4,5; готовят следующим образом: 63 см3 ледяной уксусной кислоты и 77 г уксуснокислого аммония растворяют в воде и разбавляют до 1 дм3.
Железо хлорное по
ГОСТ 4147, раствор

; готовят следующим образом: 6,76 г хлорного железа растворяют в 200 - 250 см3 воды, добавляют 15 см3 соляной кислоты; если раствор мутный, его фильтруют в мерную колбу вместимостью 1 дм3, доводят водой до метки и перемешивают.
Соль динатриевая этилендиамин N,N,N',N'-тетрауксусной кислоты, 2-водная (трилон Б) по
ГОСТ 10652, раствор концентрации

; готовят следующим образом: 9,3 г трилона Б растворяют в 300 - 400 см3 воды. Если раствор мутный, его фильтруют, затем переводят в мерную колбу вместимостью 1 дм3, доводят водой до метки и тщательно перемешивают.
Коэффициент поправки (титр) раствора трилона Б устанавливают в соответствии с
ГОСТ 10398 по раствору соли цинка, отбирая для титрования 10 см3 раствора концентрации

.
Коэффициент поправки (титр) раствора трилона Б вычисляют по формуле

,
где V - объем раствора трилона Б концентрации

, израсходованный на титрование, см3.
Для расчета массовой доли алюминия устанавливают коэффициент пересчета кубических сантиметров раствора хлорного железа в кубические сантиметры раствора трилона Б по методике определения алюминия
(п. 3.9.2)

,
где 5 - объем раствора трилона Б, взятый для определения соотношения, см3;

- объем раствора хлорного железа, израсходованный на титрование 5 см3 раствора трилона Б, см3.
| | ИС МЕГАНОРМ: примечание. Взамен ГОСТ 24104-88 Постановлением Госстандарта РФ от 26.10.2001 N 439-ст с 1 июля 2002 года введен в действие ГОСТ 24104-2001. | |
Весы лабораторные по ГОСТ 24104, 3-го класса точности.
Гири Г-3-210 по ГОСТ 7328.
Пипетка вместимостью 100 см3.
Бюретка вместимостью 25 см3 с ценой деления 0,1 см3.
Микробюретка вместимостью 5 см3 с ценой деления 0,02 см3.
Фильтр обеззоленный "синяя лента".
(Измененная редакция, Изм. N 2, 4).
3.9.2. Проведение анализа
Взвешивают 10 - 10,5 г белой сажи (результат в граммах записывают с точностью до первого десятичного знака), помещают в стакан вместимостью 500 см3, приливают 150 см3 раствора азотной кислоты, кипятят, перемешивая в течение 15 мин, и охлаждают.
Полученный раствор с осадком переводят в мерную колбу вместимостью 500 см3, добавляют воду, не доливая до метки 1 - 2 см3, несколько капель этилового спирта, объем раствора доводят водой до метки и перемешивают.
После отстаивания осадка содержимое колбы фильтруют через два фильтра "синяя лента" на воронке Бюхнера, отбрасывая первые порции фильтрата. Если после фильтрования получен мутный раствор, для определения массовой доли сульфат-иона его следует еще раз отфильтровать через плотный фильтр до получения прозрачного раствора.
В коническую колбу вместимостью 500 см3 отбирают 200 см3 фильтрата (дважды пипеткой вместимостью 100 см3) для белой сажи БС-50 и 100 см3 - для белой сажи марок БС-100 и БС-120. Фильтрат нагревают до кипения. Затем к горячему раствору прибавляют 100 см3 воды, 5 капель раствора сульфосалициловой кислоты, раствор аммиака по каплям до перехода красно-фиолетовой окраски в желтоватую, прибавляют по каплям соляную кислоту до изменения окраски в фиолетовую и титруют раствором трилона Б до обесцвечивания сульфосалицилатного комплекса железа.
После оттитровывания железа в пробу для связывания алюминия в комплекс прибавляют из бюретки 5 см3 раствора трилона Б. Раствор нагревают до кипения, охлаждают до 50 - 60 °C, прибавляют 10 см3 ацетатного буферного раствора, 5 капель раствора сульфосалициловой кислоты и титруют избыток трилона Б раствором хлорного железа до перехода зеленоватого цвета в желтый.
Оставшуюся часть фильтрата сохраняют для определения массовой доли сульфатов
(п. 3.11) и массовой доли кальция и магния
(п. 3.12).
(Измененная редакция, Изм. N 1, 2, 4).
3.9.3. Обработка результатов
Массовую долю железа и алюминия в пересчете на окись железа

и окись алюминия

в процентах вычисляют по формулам:

,

,
где V - объем раствора трилона Б концентрации

, израсходованный на титрование железа, см3;
K - коэффициент поправки (титр) раствора трилона Б концентрации

;
0,001996 - масса окиси железа в граммах, соответствующая 1 см3 раствора трилона Б концентрации точно

;

- объем раствора трилона Б концентрации

, введенный в пробу для связывания алюминия в комплекс, см3;

- объем раствора хлорного железа концентрации

, израсходованный на титрование избытка раствора трилона Б концентрации

;

- коэффициент пересчета объема раствора хлорного железа концентрации

в объем раствора трилона Б концентрации

;
0,001274 - масса окиси алюминия в граммах, соответствующая 1 см3 раствора трилона Б концентрации точно

;

- объем фильтрата, взятый для титрования, см3;
m - масса навески, г.
За результат анализа принимают среднее арифметическое результатов двух параллельных определений, абсолютное расхождение между которыми не превышает допускаемое расхождение, равное 0,01%, при доверительной вероятности P = 0,95.
(Измененная редакция, Изм. N 2).
3.10. Определение массовой доли хлоридов

3.10.1. Реактивы, растворы, приборы и средства измерения
Ртуть (II) азотнокислая 1-водная по
ГОСТ 4520, раствор концентрации

, готовят следующим образом: 17,1 г ртути (II) азотнокислой 1-водной растворяют в 500 см3 воды, добавляют 4 см3 азотной кислоты плотностью 1,3 г/см3, доводят объем раствора водой до 1 дм3, перемешивают, фильтруют; коэффициент поправки (титр) раствора азотнокислой ртути концентрации

устанавливают по хлористому натрию со смешанным индикатором в условиях титрования пробы.
Кислота азотная по
ГОСТ 4461 плотностью 1/3 г/см3 и раствор концентрации

.
Дифенилкарбазон (индикатор).
Дифенилкарбазид (индикатор).
Бромфеноловый синий водорастворимый (индикатор).
Смешанный индикатор; готовят следующим образом: 0,5 г дифенилкарбазона или дифенилкарбазида растворяют в 70 - 80 см3 теплого этилового спирта, прибавляют 0,05 г бромфенолового синего и доводят объем раствора спиртом до 100 см3.
Спирт этиловый ректификованный технический по
ГОСТ 18300, высший сорт.
Колба коническая по
ГОСТ 25336 вместимостью 250 см3.
Бюретка вместимостью 5 см3 с ценой деления 0,02 см3.
| | ИС МЕГАНОРМ: примечание. Взамен ГОСТ 24104-88 Постановлением Госстандарта РФ от 26.10.2001 N 439-ст с 1 июля 2002 года введен в действие ГОСТ 24104-2001. | |
Весы лабораторные по ГОСТ 24104, 3-го класса точности.
Гири Г-3-210 по ГОСТ 7328.
3.10.2. Взвешивают 1,0 - 1,1 г белой сажи (результат в граммах записывают с точностью до первого десятичного знака), переводят в коническую колбу вместимостью 250 см3, прибавляют 100 см3 воды, кипятят 1 - 2 мин, охлаждают, прибавляют 20 капель смешанного индикатора, раствор азотной кислоты концентрации

до изменения цвета раствора на желтый, прибавляют 1 - 3 капли избытка азотной кислоты (pH 3,0 - 3,3) и титруют из микробюретки раствором азотнокислой ртути до первого изменения цвета раствора на сиреневый.
3.10.3. Обработка результатов
Массовую долю хлоридов

в процентах вычисляют по формуле

,
где V - объем раствора азотнокислой ртути концентрации

, израсходованный на титрование, см3;
K - коэффициент поправки (титр) раствора азотнокислой ртути концентрации

;
0,003545 - масса хлор-иона в граммах, соответствующая 1 см3 раствора азотнокислой ртути концентрации точно

;
m - масса навески, г.
За результат анализа принимают среднее арифметическое результатов двух параллельных определений, абсолютное расхождение между которыми не превышает допускаемое расхождение, равное 0,05%, при доверительной вероятности P = 0,95.
3.10.1 - 3.10.3. (Измененная редакция, Изм. N 2).
3.11. Определение массовой доли сульфатов

3.11.1. Реактивы, растворы, аппаратура и средства измерения
Барий хлористый по
ГОСТ 4108, 10%-ный раствор.
Метиловый красный (индикатор), 0,1%-ный спиртовой раствор.
Серебро азотнокислое по
ГОСТ 1277, 1%-ный раствор.
Пипетка вместимостью 100 см3.
Фильтр обеззоленный "синяя лента".
Электропечь муфельная типа СНОЛ 1,6.2,5.1/9-ИЧ или другого типа, обеспечивающая температуру нагрева 800 - 900 °C.
Силикагель технический по
ГОСТ 3956, высушенный при 150 - 180 °C, или кальций хлористый, прокаленный при 250 - 300 °C.
Шкаф сушильный, позволяющий регулировать температуру в диапазоне 80 - 200 °C.
| | ИС МЕГАНОРМ: примечание. Взамен ГОСТ 24104-88 Постановлением Госстандарта РФ от 26.10.2001 N 439-ст с 1 июля 2002 года введен в действие ГОСТ 24104-2001. | |
Весы лабораторные по ГОСТ 24104, 2-го класса точности.
Гири Г-2-210 по ГОСТ 7328.
3.11.2. Проведение анализа
В стакан вместимостью 250 - 300 см3 отбирают пипеткой 100 см3 фильтрата, полученного по
п. 3.9.2, нейтрализуют аммиаком по метиловому красному, приливают 1 см3 соляной кислоты, нагревают раствор до кипения, приливают 10 см3 кипящего раствора хлористого бария и кипятят 2 - 3 мин.
Выпавший осадок отстаивают в теплом месте в течение 2 ч, фильтруют через плотный беззольный фильтр, промывают горячей водой до отрицательной реакции на ион хлора (проба с азотнокислым серебром). Фильтр с осадком помещают в фарфоровый тигель, предварительно прокаленный до постоянной массы, высушивают, осторожно без воспламенения озоляют и прокаливают при 800 - 850 °C до постоянной массы.
3.11.3. Обработка результатов
Массовую долю сульфатов

в процентах вычисляют по формуле

,
где

- масса прокаленного осадка сернокислого бария, г;
0,4116 - коэффициент пересчета массы сернокислого бария на сульфат-ион;
m - масса навески, г.
За результат анализа принимают среднее арифметическое результатов двух параллельных определений, абсолютное расхождение между которыми не превышает допускаемое расхождение, равное 0,05%, при доверительной вероятности P = 0,95.
3.11.1 - 3.11.3. (Измененная редакция, Изм. N 2).
3.12. Определение массовой доли кальция и магния в пересчете на окись кальция
3.12.1. Реактивы, растворы, приборы и средства измерения
Аммоний сернистый по НД, 22%-ный раствор.
Метиловый красный (индикатор), 0,1%-ный спиртовой раствор.
Спирт этиловый ректификованный технический по
ГОСТ 18300, высший сорт.
Соль динатриевая этилендиамин - N,N,N',N'-тетрауксусной кислоты, 2-водная (трилон Б) по
ГОСТ 10652, раствор концентрации

; готовят по
ГОСТ 10398.
Коэффициент поправки (титр) раствора трилона Б устанавливают в соответствии с
ГОСТ 10398 по раствору соли цинка.
Буферный раствор, pH 9 - 10; готовят следующим образом: 67 г хлористого аммония растворяют в мерной колбе вместимостью 1 дм3, приливая 300 - 400 см3 воды, 570 см3 аммиака, 25 см3 раствора сернистого аммония, доводят водой до метки и перемешивают.
Хром темно-синий (индикатор) по ГОСТ 14091; готовят следующим образом: 0,5 г хрома темно-синего растворяют при растирании в 10 см3 буферного раствора (20 г хлористого аммония и 100 см3 аммиака доводят водой до 1 дм3) и этиловым спиртом доводят объем раствора до 100 см3.
| | ИС МЕГАНОРМ: примечание. Взамен ГОСТ 24104-88 Постановлением Госстандарта РФ от 26.10.2001 N 439-ст с 1 июля 2002 года введен в действие ГОСТ 24104-2001. | |
Весы лабораторные по ГОСТ 24104, 3-го класса точности.
Гири Г-3-210 по ГОСТ 7328.
Колба коническая по
ГОСТ 25336 вместимостью 250 см3.
Пипетка вместимостью 25 (50, 100) см3.
Бюретка вместимостью 25 см3 с ценой деления 0,1 см3.
(Измененная редакция, Изм. N 2, 4).
3.12.2. Проведение анализа
В коническую колбу вместимостью 300 см3 отбирают фильтрат, полученный по
п. 3.9.2, в количествах, указанных ниже:
25 см3 - для белой сажи марки БС-50;
50 см3 - для белой сажи марок БС-30 и БС-100;
50 - 100 см3 - для белой сажи марки БС-120.
Раствор разбавляют водой до 100 см3, добавляют каплю раствора метилового красного, нейтрализуют аммиаком, нагревают до кипения для коагуляции гидроокисей, охлаждают, прибавляют 5 см3 буферного раствора, 8 - 10 капель раствора хрома темно-синего и титруют раствором трилона Б до перехода в синюю окраску.
3.12.3. Обработка результатов
Массовую долю кальция и магния в пересчете на окись кальция

в процентах вычисляют по формуле

,
где V - объем раствора трилона Б концентрации

, израсходованный на титрование, см3;
K - коэффициент поправки (титр) раствора трилона Б концентрации

;
0,002804 - масса окиси кальция в граммах, соответствующая 1 см3 раствора трилона Б концентрации точно

;

- объем фильтрата, взятый для титрования, см3;
m - масса навески, г.
За результат анализа принимают среднее арифметическое результатов двух параллельных определений, абсолютное расхождение между которыми не превышает допускаемое расхождение, равное 0,05% (при массовой доле кальция и магния до 1,0%) и 0,1% (при массовой доле свыше 1,0%), при доверительной вероятности P = 0,95.
3.13. Определение массовой доли щелочности в пересчете на окись натрия
3.13.1. Реактивы, растворы, посуда и средства измерения
Кислота соляная по
ГОСТ 3118, раствор концентрации c (HCl) = 0,1 моль/дм3.
Метиловый красный (индикатор), 0,1%-ный спиртовой раствор.
Фенолфталеин (индикатор), 1%-ный спиртовой раствор.
Спирт этиловый ректификованный технический по
ГОСТ 18300, высший сорт.
| | ИС МЕГАНОРМ: примечание. Взамен ГОСТ 24104-88 Постановлением Госстандарта РФ от 26.10.2001 N 439-ст с 1 июля 2002 года введен в действие ГОСТ 24104-2001. | |
Весы лабораторные по ГОСТ 24104, 3-го класса точности.
Гири Г-3-210 по ГОСТ 7328.
Колба коническая по
ГОСТ 25336 вместимостью 250 см3.
Фильтр обеззоленный "синяя лента".
Воронка Бюхнера для фильтрования под вакуумом по
ГОСТ 9147.
Бюретка вместимостью 25 см3 с ценой деления 0,1 см3.
(Измененная редакция, Изм. N 2).
3.13.2. Проведение анализа
Взвешивают 1,0 - 1,1 г белой сажи (результат в граммах записывают с точностью до первого десятичного знака), переносят в коническую колбу вместимостью 250 см3, добавляют 100 см3 воды, кипятят в течение 15 мин и фильтруют через плотный фильтр с помощью воронки Бюхнера.
Осадок на фильтре промывают два-три раза горячей водой (80 - 90 °C) по 30 см3.
Фильтрат с промывными водами охлаждают и титруют раствором соляной кислоты в присутствии 2 - 3 капель раствора метилового красного до перехода окраски из желтой в розовую или фенолфталеина для сажи марок БС-30 и БС-50 из фторсодержащего сырья до обесцвечивания раствора.
(Измененная редакция, Изм. N 2, 3).
3.13.3. Обработка результатов
Массовую долю щелочности в пересчете на окись натрия

в процентах вычисляют по формуле

,
где V - объем раствора соляной кислоты концентрации c (HCl) = 0,1 моль/дм3, израсходованный на титрование, см3;
K - коэффициент поправки (титр) раствора соляной кислоты концентрации c (HCl) = 0,1 моль/дм3;
0,003099 - масса окиси натрия в граммах, соответствующая 1 см3 раствора соляной кислоты концентрации точно c (HCl) = 0,1 моль/дм3, г/см3;
m - масса навески, г.
За результат анализа принимают среднее арифметическое результатов двух параллельных определений, абсолютное расхождение между которыми не превышает допускаемое расхождение, равное 0,1%, при доверительной вероятности P = 0,95.
(Измененная редакция, Изм. N 2).
3.14. Определение массовой доли фторидов

3.14.1. Реактивы, растворы и средства измерений
Кислота соляная по
ГОСТ 3118, раствор концентрации c (HCl) = 0,1 моль/дм3.
Натрия гидроокись по
ГОСТ 4328, раствор концентрации c (NaOH) = 0,1 моль/дм3.
Фенолфталеин (индикатор), 1%-ный спиртовой раствор.
Диметиловый желтый (индикатор), 0,1%-ный спиртовой раствор.
Метиловый голубой (индикатор), 0,1%-ный спиртовой раствор.
Смешанный индикатор: смесь равных объемов диметилового желтого и метиленового голубого.
Спирт этиловый ректификованный технический по
ГОСТ 18300, высший сорт.
| | ИС МЕГАНОРМ: примечание. Взамен ГОСТ 24104-88 Постановлением Госстандарта РФ от 26.10.2001 N 439-ст с 1 июля 2002 года введен в действие ГОСТ 24104-2001. | |
Весы лабораторные по ГОСТ 24104, 3-го класса точности.
Гири Г-3-210 по ГОСТ 7328.
Колба коническая по
ГОСТ 25336 вместимостью 250 см3.
Фильтр обеззоленный "синяя лента".
Пипетка вместимостью 50 см3.
Бюретка вместимостью 25 см3 с ценой деления 0,1 см3.
3.14.2. Проведение анализа
В стаканчике для взвешивания взвешивают 5,0 - 5,1 г белой сажи (результат в граммах записывают с точностью до первого десятичного знака), переносят в мерную колбу вместимостью 250 см3, прибавляют 50 - 100 см3 воды, добавляют с помощью бюретки 10 см3 раствора соляной кислоты концентрации c (HCl) = 1 моль/дм3. Содержимое колбы взбалтывают в течение 5 мин, объем доводят водой до метки, перемешивают и фильтруют через плотный фильтр, отбрасывая первые порции фильтрата.
50 см3 фильтрата переносят в коническую колбу вместимостью 250 см3, добавляют 1 г хлористого калия, 5 - 6 капель раствора смешанного индикатора и титруют раствором гидроокиси натрия концентрации c (NaOH) = 0,1 моль/дм3 до зеленого цвета, затем раствор нагревают до кипения, добавляют 3 - 4 капли раствора фенолфталеина и титруют раствором гидроокиси натрия до розовой окраски.
3.14.3. Обработка результатов
Массовую долю фторидов

в процентах вычисляют по формуле

,
где V - объем раствора гидроокиси натрия концентрации c (NaOH) = 0,1 моль/дм3, израсходованный на титрование с фенолфталеином, см3;
K - коэффициент поправки (титр) раствора гидроокиси натрия концентрации c (NaOH) = 0,1 моль/дм3;
0,002850 - масса фтор-иона в граммах, соответствующая 1 см3 раствора гидроокиси натрия концентрации точно c (NaOH) = 0,1 моль/дм3, г/см3;
m - масса навески, г.
За результат анализа принимают среднее арифметическое результатов двух параллельных определений, абсолютное расхождение между которыми не превышает допускаемое расхождение, равное 0,1%, при доверительной вероятности P = 0,95.
3.14.1 - 3.14.3. (Измененная редакция, Изм. N 2).
3.15. Определение pH водной вытяжки
3.15.1. Реактивы, приборы и средства измерения
pH-метр чувствительностью не менее 0,1 pH.
Мешалка магнитная.
| | ИС МЕГАНОРМ: примечание. Взамен ГОСТ 24104-88 Постановлением Госстандарта РФ от 26.10.2001 N 439-ст с 1 июля 2002 года введен в действие ГОСТ 24104-2001. | |
Весы лабораторные по ГОСТ 24104, 3-го класса точности.
Гири Г-3-210 по ГОСТ 7328.
3.15.2. Проведение анализа
Взвешивают 5,0 - 5,1 г белой сажи (результат взвешивания записывают с точностью до второго десятичного знака), переносят в стакан вместимостью 200 - 300 см3, приливают 100 см3 дистиллированной воды и перемешивают суспензию в течение 5 мин на магнитной мешалке. После 20 мин отстаивания суспензии осветленную жидкость сливают в другой стакан.
Подготавливают pH-метр к работе и определяют pH водной вытяжки в соответствии с инструкцией к прибору.
3.15.3. Обработка результатов
За результат анализа принимают среднее арифметическое результатов двух параллельных определений, абсолютное расхождение между которыми не превышает допускаемое расхождение, равное 0,1 величины pH, при доверительной вероятности P = 0,95.
3.15.1 - 3.15.3. (Измененная редакция, Изм. N 2).
3.16. Определение насыпной плотности
Для определения насыпной плотности применяют прибор (черт. 2), изготовленный из белой жести или латуни и состоящий из измерительного цилиндра 1 вместимостью 500 см3, воронки 4, имеющей задвижку 2. На расстоянии 50 мм от цилиндра по его центру на штативе 3 укрепляют воронку.
Прибор для определения насыпной плотности
Черт. 2
3.16.1. Проведение анализа
Часть отобранной средней пробы белой сажи помещают в чашку. Из чашки белую сажу пересыпают в воронку (задвижка воронки закрыта). После того, как воронка будет полностью заполнена, задвижку открывают, давая возможность белой саже свободно пересыпаться в измерительный цилиндр, предварительно взвешенный с погрешностью не более 0,01 г. Избыток белой сажи снимают линейкой и взвешивают цилиндр с погрешностью не более 0,01 г.
3.16.2. Обработка результатов
Насыпную плотность

в г/дм3 вычисляют по формуле

,
где m - масса цилиндра с белой сажей, г;

- масса цилиндра, г.
За результат анализа принимают среднее арифметическое результатов двух параллельных определений, относительное расхождение между которыми не должно превышать допускаемое расхождение, равное 20%, при доверительной вероятности P = 0,95.
(Измененная редакция, Изм. N 2).
3.17. Определение удельной поверхности по адсорбции фенола
3.17.1. Реактивы, растворы, приборы и средства измерения
Фенол, перегнанный при температуре его кипения, раствор в н-гептане концентрацией 120 - 150 ммоль/дм3, рабочий раствор.
Гептан нормальный эталонный по
ГОСТ 25828, перегнанный при температуре его кипения.
Интерферометр типов ИТР-2 или ИТР-1 и других типов.
Аппарат для встряхивания.
| | ИС МЕГАНОРМ: примечание. Взамен ГОСТ 24104-88 Постановлением Госстандарта РФ от 26.10.2001 N 439-ст с 1 июля 2002 года введен в действие ГОСТ 24104-2001. | |
Весы лабораторные по ГОСТ 24104, 2-го класса точности.
Гири Г-2-210 по ГОСТ 7328.
Шкаф сушильный, позволяющий регулировать температуру в диапазоне 80 - 200 °C.
Силикагель технический по
ГОСТ 3956, высушенный при 150 - 180 °C, или кальций хлористый, прокаленный при 250 - 300 °C.
Пипетка вместимостью 10 см3.
(Измененная редакция, Изм. N 1, 2, 4).
3.17.2. Построение градуировочного графика
Для построения градуировочного графика готовят 5 - 6 растворов фенола в н-гептане в интервале концентраций от 50 до 155 ммоль/дм3 по 25 см3 каждый и определяют их показатели преломления по интерферометру.
По полученным данным строят градуировочный график, откладывая на оси абсцисс концентрации фенола в ммоль/дм3, а на оси ординат - показатели преломления по шкале компенсатора интерферометра.
Экспериментальные точки соединяют плавной линией.
Градуировочный график близок к прямой.
3.17.3. Проведение анализа
Взвешивают 0,50 - 0,51 г белой сажи, предварительно просеянной через сито с сеткой N 014К по
ГОСТ 6613 и высушенной при 100 - 105 °C до постоянной массы (результат в граммах записывают с точностью до четвертого десятичного знака) в колбочке вместимостью 25 или 50 см3 с притертой пробкой, приливают пипеткой 10 см3 рабочего раствора фенола в н-гептане, закрывают и перемешивают в течение 1 ч в аппарате для встряхивания. По истечении этого времени дают пробе отстояться 5 - 10 мин и осветленный раствор быстро фильтруют в кювету с толщиной слоя 10 мм через бумажный фильтр диаметром 50 - 70 мм.
Величину начальной и конечной концентрации фенола в растворах определяют с помощью жидкостного интерферометра по градуировочному графику, выражающему зависимость показателя преломления раствора от его концентрации.
3.17.4. Обработка результатов
Удельную поверхность

в м2/г вычисляют по формуле

,
где

- изменение концентрации фенола в растворе в результате адсорбции, ммоль/дм3;

- площадь, занимаемая одной молекулой фенола на поверхности белой сажи, см2;

- число Авогадро,

;

- коэффициент пересчета концентрации ммоль/дм3 в моль/дм3;

- коэффициент пересчета см2 в м2;
m - масса навески, г.
За результат анализа принимают среднее арифметическое результатов двух параллельных определений, относительное расхождение между которыми не превышает допускаемое расхождение, равное 10%, при доверительной вероятности P = 0,95.
(Измененная редакция, Изм. N 2).
3.18. Определение массовой доли остатка на сите с сеткой N 014К
Сито с сеткой N 014К по
ГОСТ 6613, диаметром 50 мм, высотой 50 мм с поддоном из фольги.
Кисть филеночная типа КФК8 по
ГОСТ 10597 или подобного типа или стеклянная палочка с резиновым наконечником.
| | ИС МЕГАНОРМ: примечание. Взамен ГОСТ 24104-88 Постановлением Госстандарта РФ от 26.10.2001 N 439-ст с 1 июля 2002 года введен в действие ГОСТ 24104-2001. | |
Весы лабораторные по ГОСТ 24104, 2-го или 3-го класса точности.
Гири Г-2-210 и Г-3-210 по ГОСТ 7328.
Шкаф сушильный, позволяющий регулировать температуру в диапазоне 80 - 200 °C.
Силикагель технический по
ГОСТ 3956, высушенный при 150 - 180 °C, или хлористый кальций, прокаленный при 250 - 300 °C.
3.18.2. Проведение анализа
В предварительно высушенное до постоянной массы и взвешенное сито (результат в граммах записывают с точностью до четвертого десятичного знака) берут навеску 10,0 - 11,0 г белой сажи (результат в граммах записывают с точностью до второго десятичного знака). Навеску в сите осторожно смачивают водой до получения однородной массы, воду добавляют по стенкам сита. Полученную массу промывают с использованием кисти или палочки с резиновым наконечником слабой струей воды в течение 5 - 10 мин (скорость истечения 500 - 600 см3/мин), не допуская разбрызгивания.
Промывку считают законченной, когда в промывной воде, собранной в стакан, будут отсутствовать видимые на черном фоне частички анализируемой пробы. Чтобы исключить попадание частичек белой сажи между ворсинками, кисть в конце анализа тщательно промывают над ситом.
Сито с остатком сушат в сушильном шкафу при 100 - 105 °C до постоянной массы и после охлаждения в эксикаторе взвешивают (результат в граммах записывают с точностью до четвертого десятичного знака).
3.18.3. Обработка результатов
Массовую долю остатка на сите с сеткой N 014К

в процентах вычисляют по формуле

,
где

- масса остатка на сите, г;
m - масса навески, г.
За результат анализа принимают среднее арифметическое результатов двух параллельных определений, относительное расхождение между которыми не превышает допускаемое расхождение, равное 20%, при доверительной вероятности P = 0,95.
3.18 - 3.18.3. (Измененная редакция, Изм. N 2).
3.19. Определение массовой доли пыли
Набор сит с сеткой N 01К и с сеткой N 09К по
ГОСТ 6613.
Крышка и поддон.
Сита собирают в следующем порядке (снизу вверх): поддон, сита с сетками N 01К и 09К, крышка.
| | ИС МЕГАНОРМ: примечание. Взамен ГОСТ 24104-88 Постановлением Госстандарта РФ от 26.10.2001 N 439-ст с 1 июля 2002 года введен в действие ГОСТ 24104-2001. | |
Весы лабораторные по ГОСТ 24104, 2-го и 3-го классов точности.
Гири Г-2-210 и Г-3-210 по ГОСТ 7328.
3.19.2. Проведение анализа
Взвешивают 30,0 - 31,0 г гранулированной белой сажи (результат в граммах записывают с точностью до первого десятичного знака), помещают на верхнее сито набора, которое закрывают крышкой. Просев осуществляют плавным перекатыванием гранул слева направо и справа налево (15 раз в каждую сторону).
Остаток на сите с сеткой N 09К сохраняют для определения механической прочности гранул.
Содержимое поддона (пыль) переносят в предварительно взвешенный стаканчик для взвешивания и взвешивают (результат в граммах записывают с точностью до второго десятичного знака).
3.19.3. Обработка результатов
Массовую долю пыли

в процентах вычисляют по формуле

,
где

- масса пыли, г;
m - масса навески, г.
За результат анализа принимают среднее арифметическое результатов двух параллельных определений, относительное расхождение между которыми не превышает допускаемое расхождение, равное 20%, при доверительной вероятности P = 0,95.
3.19.1 - 3.19.3. (Измененная редакция, Изм. N 2).
3.20. Определение механической прочности гранул
3.20.1. Аппаратура и средства измерения
Прибор для определения прочности гранул (черт. 3).
Прибор для определения прочности гранул
1 - основание прибора; 2 - стойка; 3 - плунжер со штоком;
4 - диск для крепления втулки; 5 - направляющая стойка;
6 - площадка для груза; 7 - цилиндр;
8 - подставка под цилиндр
Черт. 3
Секундомер.
| | ИС МЕГАНОРМ: примечание. Взамен ГОСТ 24104-88 Постановлением Госстандарта РФ от 26.10.2001 N 439-ст с 1 июля 2002 года введен в действие ГОСТ 24104-2001. | |
Весы лабораторные по ГОСТ 24104, 2-го класса точности.
Гири Г-2-210 по ГОСТ 7328.
3.20.2. Проведение анализа
Остаток гранул белой сажи на сите с сеткой N 09К
(п. 3.19.2) выдерживают при комнатной температуре в течение 2 ч.
Взвешивают 3,0 - 3,2 г этого остатка (результат в граммах записывают с точностью до четвертого десятичного знака), высыпают его в стеклянный цилиндр прибора и подвергают легкому встряхиванию для равномерного распределения гранул по поверхности. В цилиндр с гранулами осторожно вводят металлический плунжер, на штоке которого закреплена площадка для груза. На площадку опущенного плунжера устанавливают груз, который вместе с площадкой и плунжером создает давление 5,886 Н/м2. Одновременно включают секундомер. Через 30 с груз снимают и гранулы осторожно высыпают на сито с сеткой N 09К. Пыль и крошку, образовавшиеся за счет частичного разрушения гранул, осторожно отсеивают, медленно перекатывая гранулы из стороны в сторону (15 раз в каждую сторону).
Пыль и крошку переносят в предварительно взвешенный стаканчик для взвешивания и взвешивают (результат в граммах записывают с точностью до четвертого десятичного знака).
3.20.3. Обработка результатов
Механическую прочность гранул

в процентах вычисляют по формуле

,
где

- масса гранул, прошедших через сито с сеткой N 09К, г;
m - масса навески, г.
За результат анализа принимают среднее арифметическое результатов двух параллельных определений, относительное расхождение между которыми не превышает допускаемое расхождение, равное 20%, при доверительной вероятности P = 0,95.
3.20.1 - 3.20.3. (Измененная редакция, Изм. N 2).
4. УПАКОВКА, МАРКИРОВКА, ТРАНСПОРТИРОВАНИЕ И ХРАНЕНИЕ
4.1. Белую сажу упаковывают в четырехслойные ламинированные мешки марки ПМ с одним слоем из ламинированной полиэтиленом мешочной бумаги по
ГОСТ 2226 или четырехслойные комбинированные мешки марки БМП по
ГОСТ 2226.
По согласованию с потребителем продукт упаковывают в мягкие специализированные контейнеры разового использования типов МКР-1, ОС и МКР-1, ОМ и оборотные типа МКО-1, ОС, а также в пятислойные битумированные мешки марки БМ по
ГОСТ 2226 с полиэтиленовым мешком-вкладышем.
Масса нетто продукта в мешке - не более 20 кг. Отклонение средней массы нетто в мешках от номинального значения не должно превышать +/- 3%. Среднюю массу определяют путем взвешивания 20 мешков из партии, результат делят на 20.
Мешки с открытой горловиной зашивают машинным способом в соответствии с
ГОСТ 2226. Полиэтиленовые мешки-вкладыши завязывают с подгибом.
4.2. Транспортная маркировка - по
ГОСТ 14192 с нанесением манипуляционного знака "Беречь от влаги".
Маркировка, характеризующая продукцию, должна содержать:
наименование предприятия-изготовителя и его товарный знак;
наименование продукта;
марку продукта;
номер партии;
обозначение настоящего стандарта.
4.1, 4.2. (Измененная редакция, Изм. N 1, 2, 4).
4.3. Белую сажу транспортируют любым видом транспорта в соответствии с правилами перевозки грузов, действующими на данном виде транспорта.
По железной дороге продукт транспортируют повагонными отправками в крытых железнодорожных вагонах или при малых партиях в специализированных контейнерах СК-3-5 по
ГОСТ 19667 на открытых железнодорожных платформах.
Продукт, упакованный в мягкие специализированные контейнеры, транспортируют на открытом подвижном составе повагонными отправками без перевалок в пути следования с погрузкой и выгрузкой на подъездных путях предприятий.
Продукт, упакованный в мешки, транспортируют пакетами, средства скрепления - по
ГОСТ 21650. Габаритные размеры и масса брутто транспортного пакета должны соответствовать
ГОСТ 24597.
Внутри вагона пакеты укладывают в два яруса.
(Измененная редакция, Изм. N 2).
4.4. Белую сажу транспортируют любым видом транспорта в соответствии с правилами перевозки грузов, действующими на данном виде транспорта. По железной дороге транспортирование продукта осуществляют в крытых железнодорожных вагонах или, при малых партиях, в универсальных контейнерах по
ГОСТ 20435 на открытых железнодорожных платформах. С 1 января 1985 г. продукт транспортируют в универсальных контейнерах или пакетами размерами 800 x 1200 мм и высотой 1300 мм со скреплением пакета термоусадочной пленкой.
Масса пакета - не более 500 кг.
Укладку пакетов внутри вагонов производят в два яруса.
(Измененная редакция, Изм. N 1).
4.5. Белую сажу хранят в закрытых складских помещениях. Не допускается хранение белой сажи на складах с земляным полом и на открытых площадках.
5.1. Изготовитель должен гарантировать соответствие белой сажи требованиям настоящего стандарта при соблюдении условий транспортирования и хранения.
(Измененная редакция, Изм. N 2).
5.2. Гарантийный срок хранения белой сажи - шесть месяцев со дня изготовления.
(Измененная редакция, Изм. N 1).
6. ТРЕБОВАНИЯ БЕЗОПАСНОСТИ
6.1. Белая сажа пожаро- и взрывобезопасна.
6.2. Высокая дисперсность частиц белой сажи способствует длительному ее нахождению в виде пыли в воздухе производственных помещений.
Предельно допустимая концентрация двуокиси кремния в воздухе рабочей зоны 1 мг/м3, класс опасности 3. При концентрации выше предельно допустимой у работающих может возникнуть заболевание типа силикоз.
Содержание аморфной двуокиси кремния в воздухе рабочей зоны определяют фотоколориметрическим методом.
6.3. Для предупреждения заболеваний типа силикоз необходимо применение герметичной аппаратуры, устройство местной вытяжной вентиляции в местах пылевыделения, обеспечивающей чистоту воздуха до предельно допустимой концентрации пыли, использование спецодежды, регулярно подвергающейся обеспыливанию и стирке.
Очистку рабочих помещений от пыли белой сажи, при необходимости, следует проводить с помощью вакуумных пылесосных установок.
6.4. В условиях производства и использования белой сажи должны выполняться требования, изложенные в "Санитарных правилах организации технологических процессов и гигиенических требований к производственному оборудованию", утвержденные в установленном порядке.
6.5. Подготовку проб белой сажи для анализа необходимо проводить в вытяжном шкафу.
6.6. При работе с белой сажей обслуживающий персонал должен быть в спецодежде, спецобуви и предохранительных приспособлениях в соответствии с типовыми отраслевыми нормами, утвержденными в установленном порядке.