Главная // Актуальные документы // ГОСТ (Государственный стандарт)СПРАВКА
Источник публикации
М.: ИПК Издательство стандартов, 2002
Примечание к документу
С 1 июля 2003 года до вступления в силу технических регламентов акты федеральных органов исполнительной власти в сфере технического регулирования носят рекомендательный характер и подлежат обязательному исполнению только в части, соответствующей целям, указанным в
пункте 1 статьи 46 Федерального закона от 27.12.2002 N 184-ФЗ.
Документ
введен в действие с 1 июля 1996 года.
Взамен ГОСТ 16712-71.
Название документа
"ГОСТ 16712-95. Межгосударственный стандарт. Средства защитные для древесины. Метод испытания токсичности"
(введен в действие Постановлением Госстандарта России от 23.08.1995 N 447)
"ГОСТ 16712-95. Межгосударственный стандарт. Средства защитные для древесины. Метод испытания токсичности"
(введен в действие Постановлением Госстандарта России от 23.08.1995 N 447)
Введен в действие
Постановлением Комитета
Российской Федерации
по стандартизации,
метрологии и сертификации
от 23 августа 1995 г. N 447
МЕЖГОСУДАРСТВЕННЫЙ СТАНДАРТ
СРЕДСТВА ЗАЩИТНЫЕ ДЛЯ ДРЕВЕСИНЫ
МЕТОД ИСПЫТАНИЯ ТОКСИЧНОСТИ
Wood-protecting preparations. Test method for toxicity
ГОСТ 16712-95
Дата введения
1 июля 1996 года
1 РАЗРАБОТАН Техническим комитетом по стандартизации ТК 82 "Защита древесины и древесных материалов"
ВНЕСЕН Госстандартом России
2 ПРИНЯТ Межгосударственным Советом по стандартизации, метрологии и сертификации (протокол N 7 от 26 апреля 1995 г.)
За принятие проголосовали:
Наименование государства | Наименование национального органа по стандартизации |
Республика Беларусь | Белстандарт |
Республика Казахстан | Госстандарт Республики Казахстан |
Республика Молдова | Молдовастандарт |
Российская Федерация | Госстандарт России |
Туркменистан | Туркменглавгосинспекция |
Украина | Госстандарт Украины |
3 Постановлением Комитета Российской Федерации по стандартизации, метрологии и сертификации от 23 августа 1995 г. N 447 межгосударственный стандарт ГОСТ 16712-95 введен в действие непосредственно в качестве государственного стандарта Российской Федерации с 1 июля 1996 года
4 ВЗАМЕН ГОСТ 16712-71
5 ПЕРЕИЗДАНИЕ
Настоящий стандарт распространяется на защитные средства для древесины и устанавливает метод испытания токсичности защитных средств по отношению к стандартному штамму дереворазрушающего гриба Coniophora puteana.
В настоящем стандарте использованы ссылки на следующие стандарты:
ГОСТ 9.048-89 ЕСЗКС. Изделия технические. Методы лабораторных испытаний на стойкость к воздействию плесневых грибов
ГОСТ 2140-81 Видимые пороки древесины. Классификация, термины и определения, способы измерения
ГОСТ 2874-82 <*> Вода питьевая. Гигиенические требования и контроль за качеством
--------------------------------
ГОСТ 5556-81 Вата медицинская гигроскопическая. Технические условия
ГОСТ 12026-76 Бумага фильтровальная лабораторная. Технические условия
ГОСТ 23932-90 Посуда и оборудование лабораторные стеклянные. Общие технические условия
ГОСТ 24104-88 <**> Весы лабораторные общего назначения и образцовые. Общие технические условия
--------------------------------
ГОСТ 25336-82 Посуда и оборудование лабораторные стеклянные. Типы, основные параметры и размеры
Критерием токсичности является пороговое поглощение защитного средства П95. Пороговым является поглощение защитного средства, снижающее потерю массы древесины от воздействия Coniophora puteana на 95% (в 20 раз) по сравнению с потерей массы древесины, не содержащей защитное средство.
Сущность метода испытания токсичности состоит в выдерживании в течение двух месяцев на чистых культурах дереворазрушающего гриба Coniophora puteana образцов древесины, содержащих заданные количества защитных средств, учете потери массы древесины и определении пороговых поглощений защитных средств.
5.1 Пробы защитных средств отбирают по технической документации, утвержденной в установленном порядке.
5.2 Защитные средства испытывают не менее чем при пяти различных поглощениях.
5.3 Ряд поглощений защитного средства подбирают так, чтобы наиболее высокое поглощение превышало ожидаемое пороговое. Предпочтительно строить ряд поглощений как геометрическую прогрессию со знаменателем 1,5 или 2,0.
Относительно изученные защитные средства допускается испытывать при ряде поглощений, построенном как арифметическая прогрессия.
Защитные средства, о токсичности которых нет данных, предварительно испытывают при ряде поглощений 0,001; 0,01; 0,1; 1,0; 10%. Определив интервал активных поглощений, защитные средства испытывают в установленном порядке.
5.4 Испытание по каждому заданному поглощению проводят не менее чем в трех повторностях по три образца в каждой.
5.5 Контролем служит непропитанная древесина. В каждой серии опыта непропитанные образцы испытывают не менее чем в трех повторностях по три образца в каждой.
5.6 Образцы древесины изготовляют квадратного сечения 20 x 20 мм и длиной вдоль волокон 5 мм. Отклонения размеров образцов не должны превышать +/- 1 мм.
5.7 Образцы изготовляют из прямослойной воздушно-сухой древесины заболони сосны обыкновенной (Pinus sylvestris L.) плотностью от 450 до 500 кг/м
3. На 1 см по радиусу должно быть 6 - 8 годичных слоев. Образцы древесины должны быть без видимых пороков по
ГОСТ 2140.
5.8 Для одной серии испытаний образцы изготовляют из одной рейки. При проведении больших серий испытаний допускается изготовлять образцы из реек, выпиленных из одного бревна. Рейки выпиливают из средней зоны 22 - 25 мм заболони (рисунок 1). Затем рейки строгают до сечения 20 x 20 мм и разрезают на образцы длиной 5 мм. Годовые слои в образцах должны проходить параллельно тангентальным кромкам. Отклонение параллельности не должно превышать +/- 5°. Образцы хранят при комнатной температуре в закрытых сосудах.
Рисунок 1
6.1 Испытания проводят на культуре гриба Coniophora puteana (штамм "Сенеж").
Штамм поддерживают в активном состоянии.
6.2 Культуру гриба хранят в помещении при температуре (22 +/- 2) °C и относительной влажности воздуха 70 - 75%. Каждые 2 - 3 месяца культуру гриба выращивают заново.
Пересев, выращивание и хранение культуры гриба аналогично пересеву, выращиванию и хранению культур плесневых грибов по
ГОСТ 9.048.
6.3 Чистую культуру гриба, используемую для получения инокулятов, выращивают в бактериологических пробирках вместимостью 50 см3 на питательной сусло-агаровой среде, содержащей на 1000 см3 20 - 25 г агар-агара и 250 г солодового экстракта. Питательную среду наливают в бактериологические пробирки на 1/3 часть их объема, помещают в бюксы и стерилизуют в автоклаве при давлении (0,15 +/- 0,01) МПа в течение 25 мин; затем дают застыть с образованием скошенной поверхности и в стерильных условиях инфицируют чистой культурой гриба Coniophora puteana с помощью бактериологической иглы.
6.4 Для получения культуры гриба, по отношению к которой определяется токсичность защитных средств, за полтора - два месяца до начала испытаний готовят посевной материал - инокуляты.
6.5 Культивирование Coniophora puteana проводят в плоскодонных колбах вместимостью 500 см
3. На культуру гриба, выращенную на сусло-агаровой среде, помещают слой стерильной земли толщиной 1,5 - 2,0 см. Когда мицелий прорастет и покроет поверхность земли, в колбу, соблюдая правила стерильности, всыпают около 10 г мелконарезанной (5 x 5 x 5 мм) простерилизованной древесины, увлажненной перед стерилизацией до 45 - 50%.
Инокулятами могут служить те кусочки древесины, которые после 20 - 45 дней воздействия гриба полностью обросли мицелием, равномерно слегка размягчились, но еще не приобрели по всей поверхности бурую окраску.
7 Аппаратура, материалы, посуда
Автоклав медицинский, обеспечивающий давление пара 0,15 - 0,20 МПа.
Термостат, обеспечивающий температуру не менее 100 °C.
Весы лабораторные по ГОСТ 24104 с погрешностью взвешивания не более 0,005 г, 0,02 г и 0,0002 г.
Бюксы металлические медицинские.
Лампа бактерицидная ртутно-кварцевая.
Сита почвенные, набор.
Игла платиновая или хромоникелевая длиной не менее 100 мм.
Колбы конические узкогорлые по
ГОСТ 23932 вместимостью 250 и 500 см
3.
Колбы конические широкогорлые по
ГОСТ 23932 вместимостью 750 см
3.
Стаканы стеклянные химические с носиком по
ГОСТ 23932 вместимостью 250, 500 и 1000 см
3.
Стаканчики для взвешивания (бюксы) 30 x 40 и 40 x 60 мм по
ГОСТ 23932.
Пробирки бактериологические 20 x 200 мм по
ГОСТ 23932.
Трубки стеклянные длиной не менее 60 мм с внутренним диаметром не менее 25 мм.
Банки стеклянные реактивные вместимостью 500 см3 с внутренним диаметром не менее 75 мм с завинчивающимися карболитовыми или металлическими крышками.
Установка для пропитки по способу вакуум-атмосферное давление.
Вата медицинская гигроскопическая по
ГОСТ 5556.
Ткань белая хлопчатобумажная или льняная.
Сусло ячменное неохмеленное.
Спирт денатурат.
Тушь чертежная.
Стеклограф.
Ведро эмалированное.
Ножницы.
Шило.
Земля лесная.
Древесина сосновая, заболонь.
8.1.1 Питательной средой служит земля-древесина. Землю берут из верхнего структурного слоя перегноя смешанного леса на суглинистой почве в горизонте 0 - 3 или 0 - 5 см в мае - августе. Свежесобранная земля должна иметь pH 4,5 - 6,0. Вторым компонентом питательной среды является заболонь сосны (фидер).
8.1.2 Землю просушивают на воздухе, просеивают (без перетирания) через почвенные сита, отбрасывают фракции, проходящие через сито N 1 и задерживаемые на сите N 3. Землю хранят в условиях, исключающих возможность увлажнения.
8.1.3 Перед использованием земли определяют ее влажность и рассчитывают массу воды, необходимую для получения 50 - 55% влажности после стерилизации. До стерилизации обычно достаточно увлажнить землю питьевой водой до 60%.
Массу воды Gв, г, необходимую для увлажнения земли, вычисляют по формуле

, (1)
где Gс - масса высушенных 100 г земли с исходной влажностью Wн, г;
G - масса земли, подлежащая увлажнению, г;
Wк - конечная влажность земли, % (обычно 60%);
Wн - исходная влажность земли до увлажнения, %.
8.1.4 Землю для опыта помещают в эмалированное ведро, добавляют расчетное количество питьевой воды, хорошо перемешивают в течение не менее 30 мин, затем ведро закрывают полиэтиленовой пленкой и выдерживают не менее 2 ч для выравнивания влажности.
8.1.5 Культуры гриба, по отношению к которым определяют токсичность защитных средств, готовят в банках для реактивов вместимостью 500 см3 с карболитовыми или металлическими завинчивающимися крышками.
Крышки, не бывшие в употреблении, должны быть предварительно прогреты в автоклаве на пару при 100 °C в течение 40 мин не менее четырех раз.
8.1.6 Подготовленную землю насыпают в банки и уплотняют (легким постукиванием дна банки о стол). Уплотненная земля должна занимать не менее 1/3 объема банки.
Поверхность земли выравнивают и накрывают ее двумя полуфидерами.
8.1.7 Полуфидером (рисунок 2) служит полукруглая торцовая пластинка толщиной (2,1 +/- 0,2) мм из заболони сосны. Диаметр фидера должен быть на 2 - 3 мм меньше внутреннего диаметра банки.
1 - полуфидер; 2 - подшпилечное отверстие;
3 - отверстие для инокулята
Рисунок 2
Перед тем, как уложить в банки, полуфидеры увлажняют, выдерживая в питьевой воде в течение 30 мин, затем в середине по диаметру делают выемку в виде треугольника со стороной не менее 6 мм, накалывают в центре полуокружности шилом и вставляют шпильку.
8.1.8 Шпильки изготовляют из заболони сосны в виде тонких палочек (типа спичек), заостренных с одного конца, для соединения с полуфидером. Свободный конец шпильки, служащий для закрепления полуфидера на поверхности земли, должен быть длиной не менее 25 мм. Верхний конец шпильки должен быть установлен заподлицо с поверхностью полуфидера.
8.1.9 Банки с установленными в них фидерами закрывают крышками, имеющими прокладку из четырех слоев хлопчатобумажной или льняной ткани (прокладки можно использовать многократно) и стерилизуют 2 раза с интервалом не менее 36 ч и не более 72 ч при давлении (0,15 +/- 0,01) МПа.
8.1.10 Питательную среду заражают не позднее чем через 24 ч после стерилизации с помощью инокулята. Инокулят, подготовленный по
6.5, соблюдая правила стерильности, вносят в банку. Банку закрывают крышкой, освобожденной от прокладок, и легким встряхиванием помещают инокулят в отверстие между полуфидерами (в центре банки).
8.1.11 Банки с инокулятами выдерживают при температуре (23 +/- 2) °C и относительной влажности воздуха (73 +/- 2)%. Через трое суток инокулят должен равномерно покрыться воздушным мицелием. Банки, в которых мицелий развился слабо или совсем не развился, могут быть инфицированы вторично. Вторая инокуляция может быть проведена не позднее чем через 3 суток после первой.
Культура гриба готова для испытаний, когда мицелий равномерно покрыл поверхность полуфидеров и пророс в землю не менее чем на 1/2 ее высоты.
8.2.1 Водорастворимые защитные средства растворяют в дистиллированной воде, маслянистые и другие органикорастворимые защитные средства - в инертных органических летучих растворителях. Растворы готовят весовым или объемно-весовым способом. Навески антисептиков взвешивают в бюксах, органические растворители - в колбах с притертыми пробками. При навеске защитных средств массой 0,1 г и более погрешность взвешивания - не более 0,005 г, при навеске массой менее 0,1 г погрешность взвешивания - не более 0,0002 г.
8.2.2 Концентрацию защитного средства в рабочем растворе c, % по массе, обеспечивающую получение заданного поглощения, определяют по формуле

, (2)
где Пз - заданное поглощение, %;
Kср - средний коэффициент поглощения образцов.
8.2.3 Коэффициент поглощения образцов для каждой серии испытаний определяют по каждому из используемых растворителей не менее чем в трех повторностях по 12 образцов в каждой.
Коэффициент поглощения K в одной повторности вычисляют по формуле

, (3)
где m2 - масса группы образцов древесины после пропитки, г;
m1 - масса группы образцов древесины в одной повторности до пропитки, г.
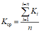
По коэффициентам поглощения, полученным в каждой повторности, рассчитывают средний коэффициент поглощения Kср по формуле

, (4)
где K - коэффициент поглощения в i-й повторности;
n - число повторностей.
Коэффициенты поглощения образцов древесины в одной повторности не должны отличаться от среднего коэффициента поглощения более чем на 10%.
8.3.1 Образцы древесины перед пропиткой маркируют и взвешивают с погрешностью не более 0,005 г.
8.3.2 Пропитку образцов древесины осуществляют по способу вакуум-атмосферное давление с начальным вакуумом не менее 0,09 МПа, продолжительностью (15 +/- 1) мин и продолжительностью выдержки при атмосферном давлении (50 +/- 10) мин.
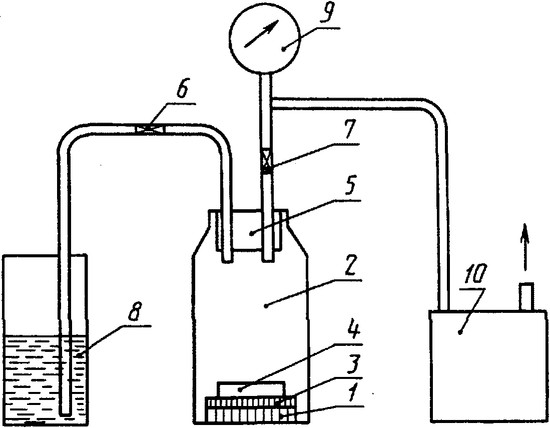
8.3.3 Пропитку образцов древесины осуществляют на установке, схема которой приведена на рисунке 3.
1 - образцы древесины; 2 - пропиточный сосуд; 3 - сетка;
4 - противовсплывное устройство; 5 - пробка; 6, 7 - краны;
8 - сосуд с раствором испытуемого защитного средства;
9 - вакуумметр; 10 - вакуумный насос
Рисунок 3
Образцы древесины 1 помещают в пропиточный сосуд 2. Сверху на образцы кладут сетку 3 и противовсплывное устройство 4. Пропиточный сосуд закрывают пробкой 5. Закрывают кран 6. Открывают кран 7 и включают вакуумный насос 10. По достижении требуемого значения вакуума, контролируемого по вакуумметру 9, выдерживают образцы древесины под вакуумом в течение установленного времени, после открывают кран 6 и в пропиточный сосуд засасывается из сосуда 8 раствор испытываемого защитного средства. Отключают вакуумный насос, закрывают кран 7 и выдерживают образцы древесины в растворе при атмосферном давлении. По окончании пропитки образцы древесины вынимают из пропиточного сосуда, осушают их поверхность фильтровальной бумагой и сразу взвешивают с погрешностью не более 0,005 г.
8.3.4. Истинные поглощения защитных средств Пи, %, вычисляют по формуле

, (5)
где m2 - масса образца после пропитки, г;
m1 - масса образца до пропитки, г;
c - концентрация защитного средства, %.
8.3.5 Пропитанные образцы древесины укладывают на ребро в открытые чашки Петри и выдерживают при температуре (22 +/- 2) °C и относительной влажности воздуха (65 +/- 5)% до достижения ими равновесной влажности.
Образцы, пропитанные водорастворимыми трудновымываемыми защитными средствами, сушат в режиме, соответствующем оптимальным условиям фиксации данного защитного средства.
8.3.6 На каждый вариант опыта (одно поглощение защитного средства) для испытаний необходимо 12 образцов. С учетом выбраковки образцов, истинное поглощение которых отличается от заданного более чем на 10%, на один вариант опыта пропитывают не менее 15 образцов.
9.1 Образцы, доведенные до равновесной влажности, взвешивают с погрешностью не более 0,005 г и укладывают по три штуки в пронумерованные стеклянные трубки. Трубки с обоих концов закрывают пробками, состоящими из четырех слоев хлопчатобумажной или льняной ткани, укладывают в бюксы и стерилизуют в автоклаве на пару при температуре 100 °C в течение (25 +/- 2) мин.
9.2 После остывания образцы, соблюдая правила стерильности, помещают в банки с культурами, подготовленные по
8.1.11. Легким встряхиванием банки образцы распределяют таким образом, чтобы они легли торцовой стороной, не касаясь друг друга и стенок банки. Банку нумеруют в соответствии с номером трубки, содержащей испытуемые образцы.
9.3 Пропитанные и непропитанные образцы испытывают на отдельных культурах.
9.4 На каждый вариант опыта испытывают три образца без воздействия культуры гриба, по потере массы которых рассчитывают поправочный коэффициент.
9.5 Образцы выдерживают на культуре гриба два месяца при температуре (24 +/- 2) °C и относительной влажности воздуха 70 - 75%.
По истечении двух месяцев образцы вынимают из банок, очищают от мицелия и выдерживают при температуре (22 +/- 2) °C и относительной влажности воздуха (65 +/- 5)% до достижения ими равновесной влажности. После достижения образцами постоянной массы их взвешивают с погрешностью не более 0,005 г.
10.1 Потерю массы опытных образцов Д, %, вычисляют по формуле

, (6)
где mн - масса сухого пропитанного образца до испытания, г;

- среднее значение поправочного коэффициента;
mк - масса того же образца после испытания, г.
Среднюю потерю массы опытных образцов Дср в процентах определяют как среднее арифметическое потери массы девяти образцов в трех повторностях опыта.
10.2 Поправочный коэффициент Kf рассчитывают по формуле

, (7)
где mк.о - масса сухого пропитанного образца, испытываемого без воздействия культуры гриба, после испытания, г;
mн.о - масса того же образца, испытываемого без воздействия культуры гриба, до испытания, г.
Средний поправочный коэффициент K рассчитывают как среднее арифметическое отдельных значений по формуле

. (8)
10.3 Потерю массы контрольного непропитанного образца Дк, %, вычисляют по формуле

, (9)
где mн.к - масса сухого контрольного образца до испытания, г;
mк.к - масса того же образца после испытания, г.
Средняя потеря массы контрольных образцов определяется как среднее арифметическое потерь масс девяти образцов.
Потеря массы контрольных образцов должна составлять не менее 55%.
10.4 Для определения порогового поглощения строят график изменения средней потери массы в зависимости от поглощения защитного средства (рисунок 4).
Если ход кривой указывает на наличие стимуляции (потеря массы пропитанной древесины при относительно малых поглощениях выше, чем у непропитанной), отмечают значение поглощения, соответствующее максимуму стимуляции.
10.4.1 Среднюю потерю массы пропитанной древесины Д95, соответствующую 5% средней потери массы непропитанной древесины, вычисляют по формуле
Д95 = Дк·0,05, (10)
где Дк - средняя потеря массы непропитанных образцов, %.
10.4.2 На уровне, соответствующем Д95, проводят прямую, параллельную шкале поглощений, до пересечения ее с построенной на шкале кривой; из места пересечения опускают перпендикуляр на шкалу поглощений. Точка пересечения перпендикуляра со шкалой поглощений является местом отсчета порогового поглощения.
10.5 Результаты сравнения токсичности защитных средств выражают в виде относительной токсичности, принимая пороговое поглощение одного из защитных средств за единицу.
При испытании в одной серии с испытываемыми защитными средствами стандартного образца защитного средства за единицу всегда принимают токсичность последнего.
В качестве стандартного образца используют хорошо изученные защитные средства, близкие по составу к испытываемым.