Главная // Актуальные документы // ГОСТ (Государственный стандарт)СПРАВКА
Источник публикации
В данном виде документ опубликован не был.
Первоначальный текст документа опубликован в издании
М.: ИПК Издательство стандартов, 2001.
Информацию о публикации документов, создающих данную редакцию, см. в справке к этим документам.
Примечание к документу
С 1 июля 2003 года до вступления в силу технических регламентов акты федеральных органов исполнительной власти в сфере технического регулирования носят рекомендательный характер и подлежат обязательному исполнению только в части, соответствующей целям, указанным в
пункте 1 статьи 46 Федерального закона от 27.12.2002 N 184-ФЗ.
Текст данного документа приведен с учетом
поправки, опубликованной в "ИУС", N 5, 2013;
поправки, опубликованной в "ИУС", N 10, 2014.
Название документа
"ГОСТ 8.570-2000. Межгосударственный стандарт. Государственная система обеспечения единства измерений. Резервуары стальные вертикальные цилиндрические. Методика поверки"
(введен в действие Постановлением Госстандарта РФ от 23.04.2001 N 185-ст)
(ред. от 17.09.2012)
"ГОСТ 8.570-2000. Межгосударственный стандарт. Государственная система обеспечения единства измерений. Резервуары стальные вертикальные цилиндрические. Методика поверки"
(введен в действие Постановлением Госстандарта РФ от 23.04.2001 N 185-ст)
(ред. от 17.09.2012)
Постановлением Госстандарта РФ
от 23 апреля 2001 г. N 185-ст
МЕЖГОСУДАРСТВЕННЫЙ СТАНДАРТ
ГОСУДАРСТВЕННАЯ СИСТЕМА ОБЕСПЕЧЕНИЯ ЕДИНСТВА ИЗМЕРЕНИЙ
РЕЗЕРВУАРЫ СТАЛЬНЫЕ ВЕРТИКАЛЬНЫЕ ЦИЛИНДРИЧЕСКИЕ
МЕТОДИКА ПОВЕРКИ
State system for ensuring the uniformity of measurements.
Steel vertical cylindric tanks. Calibration methods
ГОСТ 8.570-2000
| | Список изменяющих документов Приказом Ростехрегулирования от 29.11.2007 N 338-ст, Приказом Росстандарта от 17.09.2012 N 309-ст) | |
Группа Т88.1
Дата введения
1 января 2002 года
1. Разработан Государственным научным метрологическим центром - Всероссийским научно-исследовательским институтом расходометрии (ГНМЦ-ВНИИР) Госстандарта России.
Внесен Госстандартом России.
2. Принят Межгосударственным советом по стандартизации, метрологии и сертификации (Протокол N 17 от 22 июня 2000 г.).
За принятие проголосовали:
Наименование государства | Наименование национального органа по стандартизации |
Азербайджанская Республика | Азгосстандарт |
Республика Армения | Армгосстандарт |
Республика Беларусь | Госстандарт Республики Беларусь |
Грузия | Грузстандарт |
Республика Казахстан | Госстандарт Республики Казахстан |
Кыргызская Республика | Кыргызстандарт |
Республика Молдова | Молдовастандарт |
Российская Федерация | Госстандарт России |
Республика Таджикистан | Таджикгосстандарт |
Туркменистан | Главгосинспекция "Туркменстандартлары" |
Республика Узбекистан | Узгосстандарт |
Украина | Госстандарт Украины |
3. В стандарте полностью учтены требования международной рекомендации МОЗМ Р-71.
4. Постановлением Государственного комитета Российской Федерации по стандартизации и метрологии от 23 апреля 2001 г. N 185-ст межгосударственный стандарт ГОСТ 8.570-2000 введен в действие непосредственно в качестве государственного стандарта Российской Федерации с 1 января 2002 г.
Настоящий стандарт распространяется на стальные вертикальные цилиндрические резервуары (далее - резервуары) вместимостью от 100 до 100000 м3, используемые для определения объема нефти и нефтепродуктов при проведении государственных учетных операций и для их хранения, при осуществлении торговли и товарообменных операций с нефтью и нефтепродуктами и устанавливает методику первичной, периодической и внеочередной поверок.
(в ред.
Изменения N 2, введенного в действие Приказом Росстандарта от 17.09.2012 N 309-ст)
В настоящем стандарте использованы ссылки на следующие стандарты:
ГОСТ 12.0.004-90. Система стандартов безопасности труда. Организация обучения безопасности труда. Общие положения
ГОСТ 12.1.005-88. Система стандартов безопасности труда. Общие санитарно-гигиенические требования к воздуху рабочей зоны
ГОСТ 12.1.011-78 <1>. Система стандартов безопасности труда. Смеси взрывоопасные. Классификация и методы испытаний
--------------------------------
ГОСТ 12.4.087-84. Система стандартов безопасности труда. Строительство. Каски строительные. Технические условия
(ссылка введена
Изменением N 1, введенным в действие Приказом Ростехрегулирования от 29.11.2007 N 338-ст)
ГОСТ 12.4.099-80. Комбинезоны женские для защиты от нетоксичной пыли, механических воздействий и общих производственных загрязнений. Технические условия
ГОСТ 12.4.100-80. Комбинезоны мужские для защиты от нетоксичной пыли, механических воздействий и общих производственных загрязнений. Технические условия
ГОСТ 166-89 (ИСО 3599-76). Штангенциркули. Технические условия
ГОСТ 427-75. Линейки измерительные металлические. Технические условия
ГОСТ 2405-88. Манометры, вакуумметры, мановакуумметры, напоромеры, тягомеры и тягонапоромеры. Общие технические условия
ГОСТ 2874-82 <2>. Вода питьевая. Гигиенические требования и контроль за качеством
--------------------------------
ГОСТ 3900-85. Нефть и нефтепродукты. Методы определения плотности
ГОСТ 7502-98. Рулетки измерительные металлические. Технические условия
ГОСТ 8509-93. Уголки стальные горячекатаные равнополочные. Сортамент
ГОСТ 13837-79. Динамометры общего назначения. Технические условия
ГОСТ 18481-81. Ареометры и цилиндры стеклянные. Общие технические условия
ГОСТ 28498-90. Термометры жидкостные стеклянные. Общие технические требования. Методы испытаний.
В настоящем стандарте применяются следующие термины с соответствующими определениями:
3.1. Поверка резервуара: совокупность операций, выполняемых организациями национальной (государственной) метрологической службы или аккредитованными на право поверки метрологическими службами юридических лиц с целью подтверждения соответствия резервуаров метрологическим требованиям.
(в ред.
Изменения N 2, введенного в действие Приказом Росстандарта от 17.09.2012 N 309-ст)
Градуировочная таблица - зависимость вместимости от уровня наполнения резервуара при нормированном значении температуры. Таблицу прилагают к свидетельству о поверке резервуара и применяют для определения объема жидкости в нем.
3.2. Резервуар вертикальный стальной: стальной сосуд в виде стоящего цилиндра с днищем, стационарный с кровлей или плавающей крышей, применяемый для хранения и измерений объема жидкостей.
3.3. Плавающее покрытие: плавающая крыша (или понтон), находящаяся внутри резервуара на поверхности жидкости, предназначенная для сокращения потерь ее от испарения и исключения возможности возникновения взрыва и пожара.
3.4. Градуировка резервуара: операция по установлению зависимости вместимости резервуара от уровня его наполнения, выполняемая организациями национальной (государственной) метрологической службы или аккредитованными на право поверки метрологическими службами юридических лиц при выпуске из производства, после ремонта и при эксплуатации.
3.5. Вместимость резервуара: внутренний объем резервуара, который может быть наполнен жидкостью до определенного уровня.
3.6. Номинальная вместимость резервуара: вместимость резервуара, соответствующая максимальному уровню наполнения его, установленная нормативным документом на вертикальный резервуар конкретного типа.
3.7. Действительная (фактическая) вместимость резервуара: вместимость резервуара, установленная при его поверке.
3.8. Дозовая вместимость резервуара: объем жидкости в резервуаре, соответствующий уровню налитых в него доз жидкости.
3.9. Посантиметровая вместимость резервуара: объем жидкости в резервуаре, соответствующий уровню налитых в него доз жидкости, приходящихся на 1 см высоты наполнения.
3.10. Коэффициент вместимости: вместимость приходящаяся на 1 мм высоты наполнения.
3.11. Точка касания днища грузом рулетки: точка на днище резервуара или на опорной плите (при наличии), которой касается груз измерительной рулетки при измерении базовой высоты резервуара и от которой проводят измерение уровня нефти и нефтепродуктов и воды при эксплуатации резервуара. Она является исходной точкой при составлении градуировочной таблицы резервуара.
3.12. Базовая высота резервуара: расстояние по вертикали от точки касания днища грузом рулетки до верхнего края измерительного люка или до риски направляющей планки измерительного люка
3.13. Уровень жидкости (высота наполнения): расстояние по вертикали между свободной поверхностью жидкости, находящейся в резервуаре, и плоскостью, принятой за начало отсчета.
3.14. Исходный уровень: уровень жидкости в резервуаре, соответствующий высоте "мертвой" полости.
(п. 3.14 в ред.
Изменения N 1, введенного в действие Приказом Ростехрегулирования от 29.11.2007 N 338-ст)
3.15. "Мертвая" полость резервуара: нижняя часть резервуара, из которой нельзя выбрать жидкость, используя приемно-раздаточный патрубок (приемно-раздаточное устройство).
(в ред.
Изменения N 1, введенного в действие Приказом Ростехрегулирования от 29.11.2007 N 338-ст)
3.16. "Мертвый" остаток: объем жидкости, находящейся в "мертвой" полости резервуара.
3.17. Поверочная жидкость: жидкость, применяемая при поверке резервуара объемным методом. В качестве поверочной жидкости применяют: воду по
ГОСТ 2874, нефть и светлые нефтепродукты (далее - нефтепродукты).
Параметры поверочной жидкости должны соответствовать требованиям
5.3.2.4,
5.3.2.5.
Примечание. При применении для поверки резервуаров передвижных эталонных установок со сдвигом дозирования и проскоком в качестве поверочной жидкости используют только воду.
(примечание введено
Изменением N 2, введенным в действие Приказом Росстандарта от 17.09.2012 N 309-ст)
3.18. Жидкость при хранении: жидкость, для хранения которой предназначен поверяемый резервуар.
3.19. Степень наклона резервуара: величина

, выражаемая через тангенс угла наклона, рассчитываемая по формуле

,
где

- угол наклона резервуара в градусах.
3.20. Геометрический метод поверки резервуара: метод поверки резервуара, заключающийся в определении вместимости резервуара по результатам измерений его геометрических параметров.
3.21. Объемный динамический метод поверки резервуара: метод поверки, заключающийся в определении вместимости резервуара путем непрерывного наполнения его поверочной жидкостью и одновременных измерениях уровня, объема и температуры поверочной жидкости для каждого изменения уровня на 1 см (10 мм).
3.22. Объемный статический метод поверки резервуара: метод поверки, заключающийся в определении вместимости резервуара путем наполнения его отдельными дозами поверочной жидкости и одновременных измерениях уровня, объема и температуры поверочной жидкости для каждого изменения уровня в пределах от 10 до 100 мм.
(в ред.
Изменения N 1, введенного в действие Приказом Ростехрегулирования от 29.11.2007 N 338-ст)
3.23. Государственные учетная и торговая операции, взаимные расчеты между поставщиком и потребителем: операции, проводимые между поставщиком и потребителем, заключающиеся в определении объема или массы нефти и нефтепродуктов для последующих учетных операций, а также при арбитраже.
3.24. Учет нефти и нефтепродуктов при хранении: операция, проводимая на предприятии, во время технологического процесса, заключающаяся в определении объема и массы нефти и нефтепродуктов для последующих учетных операций.
3.25. Высота газового пространства в плавающей крыше

: расстояние по вертикали от риски или верхнего среза измерительного люка, находящегося на плавающей крыше резервуара, до поверхности раздела газового пространства и жидкости.
(п. 3.25 введен
Изменением N 1, введенным в действие Приказом Ростехрегулирования от 29.11.2007 N 338-ст)
3.26. Полная вместимость резервуара: вместимость резервуара, соответствующая предельному уровню наполнения, определенная по результатам его поверки.
(п. 3.26 введен
Изменением N 1, введенным в действие Приказом Ростехрегулирования от 29.11.2007 N 338-ст)
3.27. Предельный уровень: предельный уровень определения посантиметровой вместимости резервуара при его поверке, соответствующий высоте цилиндрической части резервуара.
(п. 3.27 введен
Изменением N 1, введенным в действие Приказом Ростехрегулирования от 29.11.2007 N 338-ст)
3.28. Максимальный уровень: максимально допустимый уровень наполнения резервуара жидкостью при его эксплуатации, установленный технической документацией на резервуар.
(п. 3.28 введен
Изменением N 1, введенным в действие Приказом Ростехрегулирования от 29.11.2007 N 338-ст)
Ростехрегулирования от 29.11.2007 N 338-ст)
4.1. Поверку резервуара проводят геометрическим или объемным (динамическим или статическим) методом. Допускаются:
- комбинация геометрического и объемного методов поверки, например; определение вместимости "мертвой" полости или вместимости резервуара в пределах высоты неровностей днища объемным методом при применении геометрического метода поверки;
- комбинация динамического объемного и статического объемного методов поверки.
(в ред.
Изменения N 1, введенного в действие Приказом Ростехрегулирования от 29.11.2007 N 338-ст)
4.2. При геометрическом методе поверки резервуара вместимость первого пояса определяют по результатам измерений длины наружной окружности, толщины стенки и высоты первого пояса. Вместимости вышестоящих поясов определяют по результатам измерений радиальных отклонений образующих от вертикали, толщин стенок и их высот.
4.3. При объемном методе поверки резервуара вместимость определяют путем непосредственных измерений уровня поверочной жидкости, поступившей в резервуар, с одновременными измерениями ее температуры и объема, соответствующих измеренному уровню.
5. Технические требования
5.1. Требования к погрешности измерений параметров резервуаров
5.1.1. Пределы допускаемой погрешности измерений параметров резервуара приведены в таблице 1 - при геометрическом методе поверки;
таблице 2 - при объемном методе поверки.
Наименование параметра | Пределы допускаемой погрешности измерений параметров резервуаров вместимостью, м3 |
100 - 4000 | 5000 - 100000 |
Длина окружности первого пояса, % | +/- 0,022 | +/- 0,022 |
Высота пояса, мм | +/- 5 | +/- 5 |
Расстояние от стенки резервуара до нити отвеса, мм | +/- 1 | +/- 1 |
Толщина стенок (включая слой покраски), мм | +/- 0,2 | +/- 0,2 |
Объем внутренних деталей, м3 | +/- (0,005 - 0,025) | +/- (0,025 - 0,25) |
(в ред.
Изменения N 1, введенного в действие Приказом Ростехрегулирования от 29.11.2007 N 338-ст)
Наименование параметра | Пределы допускаемой погрешности измерений параметра |
Объем жидкости при определении вместимости выше "мертвой" полости, % | +/- 0,15 |
Объем жидкости при определении вместимости в пределах "мертвой" полости, % | +/- 0,25 |
Уровень жидкости, мм | +/- 1 |
Температура жидкости, °C | +/- 0,2 |
Температура воздуха, °C | +/- 1 |
Давление жидкости (избыточное), % | +/- 0,4 |
5.1.2. При соблюдении указанных в
таблицах 1 и
2 пределов допускаемой погрешности измерений погрешность определения вместимости резервуара должна находиться в пределах:
при геометрическом методе:
+/- 0,20% - для резервуаров вместимостью от 100 до 3000 м3;
+/- 0,15% - " " от 3000 до 5000 м3;
+/- 0,10% - " " от 5000 до 100000 м3
и более;
(в ред.
Изменения N 2, введенного в действие Приказом Росстандарта от 17.09.2012 N 309-ст)
при объемном методе - +/- 0,2%.
(в ред.
Изменения N 1, введенного в действие Приказом Ростехрегулирования от 29.11.2007 N 338-ст)
5.1.3. Значение погрешности измерения вместимости резервуара приводят на титульном листе градуировочной таблицы.
5.2. Требования по применению рабочих эталонов и вспомогательных средств поверки
(в ред.
Изменения N 1, введенного в действие Приказом Ростехрегулирования от 29.11.2007 N 338-ст)
5.2.1. При поверке резервуаров геометрическим методом применяют следующие средства поверки:
5.2.1.1. Рулетки измерительные 2-го класса точности с верхними пределами измерений 10, 20, 30 и 50 м по
ГОСТ 7502.
(пп. 5.2.1.1 в ред.
Изменения N 1, введенного в действие Приказом Ростехрегулирования от 29.11.2007 N 338-ст)
5.2.1.2. Рулетки измерительные с грузом 2-го класса точности с верхними пределами измерений 10, 20 и 30 м по
ГОСТ 7502.
(пп. 5.2.1.2 в ред.
Изменения N 1, введенного в действие Приказом Ростехрегулирования от 29.11.2007 N 338-ст)
5.2.1.3. Линейка измерительная металлическая с диапазоном измерений 0 - 500 мм по
ГОСТ 427.
5.2.1.4. Толщиномер ультразвуковой с диапазоном измерений 0,6 - 30 мм и пределами допускаемой погрешности +/- 0,1 мм по
[1].
5.2.1.5. Динамометр с диапазоном измерений 0 - 100 Н по
ГОСТ 13837.
5.2.1.6. Термометр с ценой деления 1 °C по
ГОСТ 28498.
5.2.1.7. Ареометр с ценой деления 0,5 кг/м
3 по
ГОСТ 18481.
5.2.1.9. Теодолит оптический с ценой деления микроскопа 2" (угловые секунды) по
ГОСТ 10529.
5.2.1.10. Штангенциркуль с диапазонами измерений: от 0 до 125 мм; от 0 до 150 мм; от 150 до 500 мм; от 500 до 1600 мм
(черт. 3) по
ГОСТ 166.
(пп. 5.2.1.10 в ред.
Изменения N 1, введенного в действие Приказом Ростехрегулирования от 29.11.2007 N 338-ст)
5.2.1.16. Упорный угольник 90°.
5.2.1.17. Анемометр чашечный типа МС-13 с диапазоном измерений от 1 до 20 м/с.
5.2.1.18. Вспомогательное оборудование: чертилка, мел, шпатель, щетки (металлические), микрокалькулятор.
5.2.1.19. Анализатор течеискатель АНТ-3.
(пп. 5.2.1.19 введен
Изменением N 1, введенным в действие Приказом Ростехрегулирования от 29.11.2007 N 338-ст)
5.2.2. При поверке резервуара объемным методом с применением эталонных уровнемера и счетчика жидкости
(рисунок А.7) применяют следующие средства поверки:
5.2.2.1. Эталонный уровнемер (далее - уровнемер) с диапазоном измерений 0 - 12, 0 - 20 м и пределами допускаемой погрешности +/- 1 мм по
[2].
5.2.2.2. Эталонный счетчик жидкости (далее - счетчик жидкости) с пределами допускаемой погрешности +/- 0,05; +/- 0,10; +/- 0,15%, номинальным расходом, обеспечивающим поверку резервуара в течение 6 - 48 ч по
[3].
5.2.2.3. Термометр с ценой деления 0,1 °C по
ГОСТ 28498.
5.2.2.4. Манометр класса точности 0,4 по
ГОСТ 2405.
5.2.2.5. Рулетки измерительные с грузом 2-го класса точности с пределами измерений 10, 20 и 30 м по
ГОСТ 7502.
(пп. 5.2.2.5 в ред.
Изменения N 1, введенного в действие Приказом Ростехрегулирования от 29.11.2007 N 338-ст)
5.2.2.6. Ареометр с ценой деления 0,5 кг/м
3 по
ГОСТ 18481.
5.2.2.7. Секундомер с пределами допускаемой погрешности +/- 1 мс (+/- 0,001 с) по
[4].
5.2.2.8. Вспомогательное оборудование:
- насос, снабженный линиями всасывания и нагнетания, кранами (вентилями), регулятором расхода (дросселем), фильтром;
Примечание. Расширитель струи и воронкогаситель устанавливают только на резервуарах, предназначенных для размещения нефтепродуктов.
5.2.2.9. Анализатор течеискатель АНТ-3.
(пп. 5.2.1.19 введен
Изменением N 1, введенным в действие Приказом Ростехрегулирования от 29.11.2007 N 338-ст)
5.2.3. При применении эталонной установки ее метрологические характеристики должны соответствовать требованиям
таблицы 2.
5.2.4. Применяемые рабочие эталоны и средства поверки должны быть поверены в установленном порядке.
(в ред.
Изменения N 1, введенного в действие Приказом Ростехрегулирования от 29.11.2007 N 338-ст)
5.2.5. Допускается применение других вновь разработанных или находящихся в эксплуатации средств поверки [в том числе эталонных (образцовых) установок], удовлетворяющих по точности и пределам измерений требованиям настоящего стандарта.
(в ред.
Изменения N 1, введенного в действие Приказом Ростехрегулирования от 29.11.2007 N 338-ст,
Изменения N 2, введенного в действие Приказом Росстандарта от 17.09.2012 N 309-ст)
5.3. Требования к условиям поверки
При поверке соблюдают следующие условия:
5.3.1. При геометрическом методе
5.3.1.1. Температура окружающего воздуха (20 +/- 15) °C.
5.3.1.2. Скорость ветра - не более 10 м/с.
5.3.1.3. Состояние погоды - без осадков.
5.3.1.4. Резервуар при первичной поверке должен быть порожним. При периодической и внеочередной поверках в резервуаре может находиться жидкость до произвольного уровня, а в резервуаре с плавающим покрытием - до минимально допустимого уровня, установленного в технологической карте резервуара.
Плавающая крыша должна быть освобождена от посторонних предметов (от воды и других предметов, не относящихся к плавающей крыше).
(пп. 5.3.1.4 в ред.
Изменения N 1, введенного в действие Приказом Ростехрегулирования от 29.11.2007 N 338-ст)
5.3.1.5. При наличии жидкости в резервуаре для нефтепродукта при его поверке (периодической или внеочередной) допускается использовать результаты измерений вместимости "мертвой" полости, полученные ранее, и вносить их в
таблицу Б.9 Приложения Б, если изменение базовой высоты резервуара по сравнению с результатами ее измерений в предыдущей поверке составляет не более 0,1%, а изменения степени наклона и угла направления наклона резервуара составляют не более 1%. В этом случае вместимость резервуара должна быть определена, начиная с исходного уровня или с уровня, соответствующего всплытию плавающего покрытия, до уровня, соответствующего полной вместимости резервуара.
(пп. 5.3.1.5 в ред.
Изменения N 1, введенного в действие Приказом Ростехрегулирования от 29.11.2007 N 338-ст)
Примечание. Вместимость "мертвой" полости резервуара для нефти и нефтепродуктов, образующих парафинистые отложения, при проведении периодической и внеочередной поверок допускается принимать равной ее вместимости, полученной при первичной поверке резервуара или полученной при периодической поверке резервуара после его зачистки.
(примечание введено
Изменением N 1, введенным в действие Приказом Ростехрегулирования от 29.11.2007 N 338-ст)
5.3.2. При объемном методе поверки
5.3.2.1. Температура окружающего воздуха и поверочной жидкости - от плюс 5 до плюс 35 °C.
Примечание. При применении установки температура окружающего воздуха допускается от минус 15 до плюс 35 °C; нижний предел температуры поверочной жидкости допускается до минус 5 °C - при применении бензина, до плюс 2 °C - при применении дизельного топлива и воды; верхний предел температуры бензина не должен превышать плюс 25 °C.
(в ред.
Изменения N 1, введенного в действие Приказом Ростехрегулирования от 29.11.2007 N 338-ст)
5.3.2.2. Изменение температуры поверочной жидкости в резервуаре и счетчике жидкости или установке за время поверки не должно превышать:
2 °C - при применении в качестве поверочной жидкости воды;
0,5 °C - при применении в качестве поверочной жидкости нефти и нефтепродуктов.
5.3.2.3. При невыполнении требований по 5.3.2.2 вводят температурные поправки на объем, измеренный через каждое изменение температуры поверочной жидкости на 2 или 0,5 °C.
5.3.2.4. Вязкость поверочной жидкости должна находиться в пределах поверенного диапазона измерений счетчика жидкости.
5.3.2.5. Рабочий диапазон расхода поверочной жидкости должен находиться в пределах поверенного диапазона измерений счетчика жидкости. В случае изменения диапазона измерений (для счетчика жидкости с импульсным выходным сигналом) применяют соответствующий новому диапазону коэффициент преобразования счетчика жидкости.
5.3.2.6. Исключают возможность попадания воздуха в измерительную систему, собранную для поверки резервуара
(рисунок А.7).
5.3.2.7. Процесс определения вместимости резервуара при его поверке должен идти непрерывно (без перерывов, приводящих к изменению объема и уровня поверочной жидкости в резервуаре), начиная с уровня, равного нулю, до уровня, соответствующего полной вместимости резервуара или уровня определенной дозы.
5.3.2.8. Скорость наполнения резервуара в процессе поверки не должна превышать 0,3 мм/с.
5.3.2.9. Отбор жидкости при поверке резервуара может быть осуществлен из:
а) приемного резервуара;
б) технологического трубопровода (при применении в качестве поверочной жидкости нефти и нефтепродуктов);
в) водопровода (при применении воды).
В случаях перечислений б) и в) подача поверочной жидкости в поверяемый резервуар может быть осуществлена без насоса
(рисунок А.7).
5.3.3. Исключен с 1 июня 2008 года. -
Изменение N 1, введенное в действие Приказом Ростехрегулирования от 29.11.2007 N 338-ст.
5.3.4. Резервуар освобождают и очищают от остатков нефти и нефтепродукта.
6. Требования к организации проведения поверки
6.1. Поверку резервуаров осуществляют аккредитованные в установленном порядке в области обеспечения единства измерений юридические лица и индивидуальные предприниматели.
(п. 6.1 в ред.
Изменения N 2, введенного в действие Приказом Росстандарта от 17.09.2012 N 309-ст)
--------------------------------
<1> Сноска исключена с 1 сентября 2013 года. -
Изменение N 2, введенное в действие Приказом Росстандарта от 17.09.2012 N 309-ст.
6.2. Поверки резервуара проводят:
- первичную - после завершения строительства резервуара или капитального ремонта и его гидравлических испытаний - перед вводом его в эксплуатацию;
- периодическую - по истечении срока межповерочного интервала;
- внеочередную - в случаях изменения базовой высоты резервуара более чем на 0,1% по
9.1.10.3; при внесении в резервуар конструктивных изменений, влияющих на его вместимость, и после очередного полного технического диагностирования.
(п. 6.2 в ред.
Изменения N 1, введенного в действие Приказом Ростехрегулирования от 29.11.2007 N 338-ст)
7. Требования к квалификации поверителей
и требования безопасности
7.1. Поверку резервуара проводит физическое лицо, прошедшее курсы повышения квалификации и аттестованное в качестве поверителя и промышленной безопасности в установленном порядке <1>.
(в ред.
Изменения N 1, введенного в действие Приказом Ростехрегулирования от 29.11.2007 N 338-ст)
--------------------------------
| | ИС МЕГАНОРМ: примечание. В официальном тексте документа, видимо, допущена опечатка: имеется в виду Постановление от 30.04.2002 N 21 Госгортехнадзора, а не Росгортехнадзора. | |
<1> На территории Российской Федерации действует
Постановление Росгортехнадзора N 21 от 30.04.2002.
(сноска введена
Изменением N 1, введенным в действие Приказом Ростехрегулирования от 29.11.2007 N 338-ст)
Примечание. В Российской Федерации физическое лицо проходит курсы повышения квалификации в ГНМЦ-ВНИИР, другом ГНМЦ или Академии стандартизации, метрологии и сертификации по программе ГНМЦ-ВНИИР.
7.1.1. Измерения величин при поверке резервуара проводит группа лиц, включающая поверителя организации, указанной в
6.1, и не менее двух специалистов, прошедших курсы повышения квалификации, и других лиц (при необходимости), аттестованных по промышленной безопасности в установленном порядке <1>.
--------------------------------
<1> На территории Российской Федерации действует
Приказ Ростехнадзора от 29.01.2007 N 37.
(сноска в ред.
Изменения N 2, введенного в действие Приказом Росстандарта от 17.09.2012 N 309-ст)
(п. 7.1.1 введен
Изменением N 1, введенным в действие Приказом Ростехрегулирования от 29.11.2007 N 338-ст)
7.2. К поверке резервуара допускаются лица, изучившие техническую документацию на резервуар и его конструкцию, средства поверки резервуара и прошедшие обучение по
7.1 и инструктаж по безопасности труда в соответствии с
ГОСТ 12.0.004.
7.3. Лица, выполняющие измерения при поверке резервуара, должны быть одеты в спецодежду.
7.3.1. При геометрическом методе поверки:
7.3.2. При объемном методе поверки:
7.3.3. Лица, выполняющие измерения, должны быть в строительной каске по
ГОСТ 12.4.087.
(п. 7.3.3 введен
Изменением N 1, введенным в действие Приказом Ростехрегулирования от 29.11.2007 N 338-ст)
7.4. Перед началом поверки резервуара проверяют:
- исправность лестниц и перил резервуара;
- наличие заземления резервуара, насоса и установки при объемном методе поверки.
7.5. На резервуарах, не имеющих ограждений в виде перил по всей окружности крыши, работы проводят с предохранительным поясом, прикрепленным к надежно установленным элементам металлических конструкций крыши резервуара.
7.6. Базовую высоту резервуара и уровень поверочной жидкости в нем измеряют через измерительный люк. Избыточное давление в газовом пространстве резервуара должно быть равно нулю. После измерения крышку измерительного люка плотно закрывают.
(в ред.
Изменения N 1, введенного в действие Приказом Ростехрегулирования от 29.11.2007 N 338-ст)
7.7. Каретку перемещают по стенке резервуара плавно, без ударов о стенку.
7.8. Поверитель, проводящий отсчеты по линейке, не должен стоять под кареткой во время движения ее по стенке и должен быть в строительной каске по
ГОСТ 12.4.087.
(в ред.
Изменения N 1, введенного в действие Приказом Ростехрегулирования от 29.11.2007 N 338-ст)
7.9. Средства поверки по
5.2.1.4,
5.2.1.17,
5.2.1.19 при поверке резервуара геометрическим методом, средства поверки по
5.2.2.1,
5.2.2.2,
5.2.2.8,
5.2.2.9,
5.2.5 при поверке объемным методом должны быть во взрывозащищенном исполнении для группы взрывоопасных смесей категории II-ТЗ по
ГОСТ 12.1.011 и предназначены для эксплуатации на открытом воздухе. Данное требование по взрывозащищенности не распространяется на средства поверки, если в качестве поверочной жидкости применяется вода.
(п. 7.9 в ред.
Изменения N 1, введенного в действие Приказом Ростехрегулирования от 29.11.2007 N 338-ст,
Изменения N 2, введенного в действие Приказом Росстандарта от 17.09.2012 N 309-ст)
7.10. Содержание вредных паров и газов в воздухе вблизи и внутри <1> резервуара в рабочей зоне (на высоте 2000 мм) не должно превышать санитарных норм, установленных
ГОСТ 12.1.005.
(в ред.
Изменения N 1, введенного в действие Приказом Ростехрегулирования от 29.11.2007 N 338-ст)
--------------------------------
<1> Если проводят измерения внутренних параметров резервуара.
7.11. Для освещения в темное время суток применяют светильники во взрывозащищенном исполнении.
8. Подготовка к проведению поверки
8.1. При подготовке резервуара к поверке проводят следующие работы:
8.1.1. Проверяют на месте соответствие конструкции и внутренних деталей резервуара технической документации на него.
8.1.2. Проверяют состояние наружной поверхности стенки резервуара (на отсутствие деформаций стенки, загрязнений, брызг металлов, наплывов, заусенцев; на наличие необходимых арматуры и оборудования; исправность лестниц и перил) для возможности проведения наружных измерений.
8.1.3. Проверяют состояние отмостки резервуара (отсутствие трещин и целостность).
8.2. Перед поверкой резервуара объемным методом, кроме того, проводят следующие работы:
8.2.1. Проводят сборку измерительной системы по схеме, показанной на
рисунке А.7.
8.2.2. Устанавливают на поверяемом резервуаре уровнемер и измеритель температуры.
8.2.3. Поверочную жидкость при поверке резервуара (см.
рисунок А.7) подают в счетчик жидкости 6 следующими способами:
а) из приемного резервуара 13 с помощью насоса 11;
б) из технологического трубопровода 17 (при применении в качестве поверочной жидкости нефти и нефтепродуктов) или водопровода 17 (при применении воды).
8.2.4. Наполняют измерительную систему поверочной жидкостью, удаляют из нее воздух и испытывают ее на герметичность под рабочим давлением. При этом вентиль 20 закрывают и трехходовый кран 5 переводят в положение "Измерение".
Измерительную систему считают герметичной, если по истечении 15 мин после наполнения ее поверочной жидкостью и создания рабочего давления при визуальном осмотре не обнаруживают в местах соединений, уплотнений и на поверхности труб и арматуры наличия течи (каплепадений) и влаги.
8.2.5. Измеряют расход поверочной жидкости в последовательности (см.
рисунок А.7):
- переводят трехходовой кран 5 в положение "Циркуляция";
- открывают вентиль 15;
- включают насос 11 или открывают вентиль 16 и одновременно фиксируют показания счетчика жидкости 6 и секундомера;
- после того, как стрелка указателя счетчика жидкости сделает не менее одного оборота (ролик счетного механизма поворачивается на один оборот) или число импульсов, зарегистрированное счетчиком импульсов, составит не менее 1000 импульсов, выключают секундомер и одновременно фиксируют показание счетчика жидкости;
- выключают насос 11 или закрывают вентиль 16.
8.2.6. Расход поверочной жидкости Q, дм3/с, вычисляют по формулам:
- для счетчиков жидкости с непосредственным отсчетом объема жидкости в дм3:

; (1)
- для счетчиков жидкости с импульсным выходным сигналом в импульсах:

, (2)
где

,

- показания счетчиков жидкости, соответствующие концу отсчета времени, дм
3, имп., соответственно;

,

- показания счетчиков жидкости, соответствующие началу отсчета времени, дм
3, имп., соответственно;

- время, определяемое по секундомеру, с;
K - коэффициент преобразования счетчика, имп./дм3; определяют по шкале счетного механизма конкретного счетчика.
8.2.7. Расход поверочной жидкости, рассчитанный по
формулам (1) или
(2), должен находиться в пределах поверенного диапазона измерений счетчика жидкости по
5.3.2.5. Если это условие не выполняется, то с помощью дросселя 10
(рисунок А.7) изменяют расход поверочной жидкости, проходящей через счетчик жидкости 6.
8.2.8. Исключен с 1 июня 2008 года. -
Изменение N 1, введенное в действие Приказом Ростехрегулирования от 29.11.2007 N 338-ст.
9. Проведение поверки резервуара
9.1. Проведение поверки резервуара геометрическим методом
9.1.1. Измерения длины окружности первого пояса
9.1.1.1. Длину окружности

измеряют на отметке высоты:
- равной 3/4 высоты первого пояса, если высота пояса находится в пределах от 1500 до 2250 мм;
- равной 8/15 высоты первого пояса, если высота пояса составляет 3000 мм.
При наличии деталей, мешающих измерениям, допускается уменьшать высоту на величину до 300 мм от отметки 3/4 или 8/15 высоты первого пояса.
(пп. 9.1.1.1 в ред.
Изменения N 1, введенного в действие Приказом Ростехрегулирования от 29.11.2007 N 338-ст)
9.1.1.2. Перед измерением длины окружности на высоте, указанной в 9.1.1.1, через каждые 5 м наносят горизонтальные отметки на стенке резервуара.
9.1.1.3. По нанесенным отметкам рулетку прикладывают к стенке резервуара.
9.1.1.4. Начальную точку измерений длины окружности выбирают на стенке резервуара и отмечают двумя взаимно перпендикулярными штрихами при помощи чертилки, толщина лезвия которой не более 0,5 мм.
9.1.1.5. Начало ленты рулетки укладывают нижней кромкой по горизонтальному штриху и начальную отметку шкалы рулетки совмещают с вертикальным штрихом начальной точки измерений на стенке резервуара.
9.1.1.6. При измерениях лента рулетки должна быть натянута, плотно прилегать к стенке резервуара, не перекручиваться и лежать нижней кромкой на горизонтальных штрихах.
9.1.1.7. Натяжение рулетки осуществляют при помощи динамометра усилием:
(100 +/- 10) Н - для рулеток длиной 10 м и более;
(10 +/- 1) Н - для рулеток длиной 1 - 5 м.
Для рулеток с желобчатой лентой - без натяжения.
(в ред.
Изменения N 1, введенного в действие Приказом Ростехрегулирования от 29.11.2007 N 338-ст)
9.1.1.8. После создания необходимого натяжения против конечной отметки шкалы рулетки на стене резервуара отмечают вертикальный штрих, а по нижней кромке ленты - горизонтальный.
9.1.1.9. Последующие укладки рулетки проводят в том же порядке.
9.1.1.10. При измерениях следят, чтобы начало шкалы рулетки совпало с конечным штрихом предыдущей укладки.
9.1.1.11. Длину окружности

измеряют не менее двух раз.
9.1.1.12. Начальную точку второго измерения смещают по горизонтали от начала первого не менее чем на 500 мм.
9.1.1.13. Относительное расхождение между результатами двух измерений длины окружности

, %, рассчитываемое по формуле

, (3)
Приказом Ростехрегулирования от 29.11.2007 N 338-ст)
должно находиться в пределах +/- 0,01%.
9.1.1.14. При расхождении, превышающем указанное в
9.1.1.13, измерения следует повторять до получения двух последовательных измерений, удовлетворяющих условию
9.1.1.13.
9.1.1.15. Результаты двух измерений величины

, удовлетворяющих условию
9.1.1.13, в миллиметрах вносят в
протокол, форма которого приведена в Приложении Б.
9.1.1.16. При измерениях длины окружности резервуара учитывают поправки на ее увеличение при наложении рулетки на вертикальные сварные соединения, накладки и другие выступающие детали во всех случаях, если между лентой рулетки и стенкой резервуара имеется зазор.
9.1.1.17. Поправку на длину окружности первого пояса резервуара при наложении рулетки на вертикальные сварные соединения, накладки и другие выступающие детали (далее - поправку на обход) определяют при помощи металлических скоб длиной 600 - 1000 мм
(рисунок А.1).
Выступающую часть на высоте измерений длины окружности первого пояса перекрывают скобой и на стенке резервуара у обоих концов скобы наносят штрихи. Затем, плотно прижимая ленту рулетки к стенке резервуара, измеряют длину дуги, находящуюся между этими штрихами.
Скобу переносят на свободное от выступающих деталей место на том же уровне первого пояса, отмечают штрихами и измеряют расстояние между ними рулеткой, плотно прижимая ленту рулетки к стенке резервуара. Разность между результатами первого и второго измерений длины дуги - значение поправки на обход, которое учитывают при вычислении длины окружности первого пояса.
Значение поправок (суммарных при наличии двух и более) на обход в миллиметрах вносят в
протокол, форма которого приведена в Приложении Б.
(в ред.
Изменения N 1, введенного в действие Приказом Ростехрегулирования от 29.11.2007 N 338-ст)
9.1.2. Измерения радиальных отклонений образующих резервуара от вертикали
9.1.2.1. Радиальные отклонения образующих резервуара (далее - радиальные отклонения) измеряют с применением измерительной каретки с отвесом
(рисунок А.2) или измерительной каретки с теодолитом
(рисунок А.4).
Примечание. При скорости ветра более 5 м/с для выполнения измерений радиальных отклонений применяют измерительную каретку с теодолитом.
9.1.2.2. Окружность первого пояса резервуара, измеренную по
9.1.1, разбивают на равные части (откладывают дугу постоянной длины и наносят вертикальные отметки на стенке первого пояса), начиная с образующей резервуара, находящейся в плоскости А
(рисунок А.10а), проходящей через точку измерений уровня жидкости и базовой высоты резервуара на направляющей планке измерительного люка и продольную ось резервуара, с соблюдением следующих условий:
- число разбивок должно быть четным;
- число разбивок в зависимости от вместимости резервуара выбирают по таблице 3.
Таблица 3
Наименование показателя | Значение показателя для вместимости резервуара, м3, не менее |
100 | 200 | 300 | 400 | 700 | 1000 | 2000 |
Число разбивок | 24 | 26 | 28 | 30 | 32 | 34 | 36 |
Окончание таблицы 3
Наименование показателя | Значение показателя для вместимости резервуара, м3, не менее |
3000 | 5000 | 10000 | 20000 | 30000 | 50000 | 100000 |
Число разбивок | 38 | 40 | 42 | 44 | 46 | 48 | 52 |
Все отметки разбивок пронумеровывают по часовой стрелке в соответствии с
рисунком А.10.
(пп. 9.1.2.2 в ред.
Изменения N 1, введенного в действие Приказом Ростехрегулирования от 29.11.2007 N 338-ст)
9.1.2.3. При определении радиальных отклонений поясов резервуара с применением измерительной каретки с отвесом измеряют расстояние a от стенки резервуара до нити отвеса 6, проходящей через отметки разбивки
(рисунок А.2).
Для установки измерительной каретки (далее - каретки) на резервуаре у края резервуара на штанге 1 с некоторым возвышением над кровлей крепят блок 2, через который перекидывают тяговый канат 5 для подъема каретки 3. Нить отвеса 6 закрепляют на штанге. Отвес и блок для подъема каретки вместе со штангой должны свободно перемещаться по кровле резервуара.
Для перехода от одной отметки разбивки к другой каретку опускают, а штангу со всей оснасткой передвигают по кровле резервуара. Расстояние от стенки резервуара до нити a отвеса отсчитывают по линейке 8. Линейку устанавливают в середине высоты первого пояса при помощи магнитного держателя 7 перпендикулярно к стенке резервуара, поочередно для каждой отметки разбивки.
Отсчеты по линейке снимают при передвижении каретки вверх вдоль образующей резервуара, проходящей через отметки разбивки.
Измерения вдоль каждой образующей резервуара начинают с отметки разбивки под номером один первого пояса. На каждом следующем поясе измерения проводят в трех сечениях: среднем, находящемся в середине пояса, в нижнем и верхнем, расположенных на расстоянии 50 - 100 мм от горизонтального сварного шва. На верхнем поясе - в двух сечениях: нижнем и среднем.
Отсчеты по линейке снимают с погрешностью в пределах +/- 1 мм в момент, когда каретка установлена в намеченной точке при неподвижном отвесе.
Результаты измерений расстояния a в миллиметрах вносят в
протокол, форма которого приведена в Приложении Б.
Примечание. При определении радиальных отклонений образующих резервуаров с трубой орошения применяют для подвески каретки приспособление, показанное на
рисунке А.5, а для резервуаров с плавающей крышей - приспособление, показанное на
рисунке А.6.
9.1.2.4. При определении радиальных отклонений с применением каретки с теодолитом
(рисунок А.4) измеряют расстояние a от стенки резервуара до визирной линии 6 теодолита 8, направленной перпендикулярно к линейке 2, укрепленной на оси каретки 1.
При этом теодолит 8 устанавливают над геодезической точкой на расстоянии от стенки резервуара, обеспечивающем удобное наведение зрительной трубы, но не менее 10 м от измеряемой образующей резервуара.
Для исключения смещения каретки при ее движении по стенке резервуара струну 4 с грузом 7 закрепляют магнитным держателем 5.
Измерения начинают с установки каретки на 3/4 высоты первого пояса, далее перемещают каретку вверх в порядке, указанном в
9.1.2.3.
Теодолит устанавливают над геодезической точкой, настраивают и приводят в рабочее положение в соответствии с инструкцией завода-изготовителя и наводят вертикальную нить сетки зрительной трубы на штрих шкалы, кратный 1 см, примерно в середине линейки. Конец шкалы линейки должен находиться у оси каретки.
Отсчеты снимают по шкале линейки при последовательной установке каретки в точках измерений и зафиксированном положении горизонтального круга теодолита.
Результаты измерений расстояния a в миллиметрах вносят в
протокол, форма которого приведена в Приложении Б.
9.1.2.5. При наличии ребер жесткости, расположенных по внешней поверхности резервуара, расстояние a от стенки резервуара до нити отвеса измеряют в соответствии с
9.1.2.3 или
9.1.2.4 в двух сечениях поясов резервуара в зависимости от места расположения ребер жесткости:
- если ребро жесткости находится в середине (или ближе к середине) пояса, то измерения величины a проводят в сечениях, находящихся выше и ниже ребра жесткости на расстоянии 1/4 - 1/5 высоты пояса;
(в ред.
Изменения N 1, введенного в действие Приказом Ростехрегулирования от 29.11.2007 N 338-ст)
- если ребро жесткости находится ближе к верхнему или нижнему сварным швам, то измерения величины a проводят в среднем сечении пояса и в сечении, находящемся выше или ниже сварного шва на расстоянии 50 - 100 мм.
9.1.2.6. При невозможности измерений величины a по
9.1.2 поверку резервуара проводят объемным методом.
9.1.3. Определение степени наклона и угла направления наклона резервуара
9.1.3.1. Степень наклона

и угол направления наклона

резервуара определяют по результатам измерений угла и направления наклона контура днища резервуара снаружи (или изнутри) с применением нивелира с рейкой.
9.1.3.2. Степень наклона и угол направления наклона резервуара определяют в два этапа:
- на первом этапе устанавливают номера двух противоположных отметок разбивки (образующих резервуара), через которые проходит приближенное направление наклона резервуара;
- на втором этапе определяют степень наклона и угол уточненного направления наклона резервуара.
9.1.3.3. Приближенное направление наклона резервуара определяют в следующей последовательности:
а) проводят разбивку длины окружности первого пояса по
9.1.2.2;
б) освобождают утор окраек днища (далее - утор днища) резервуара от грунта;
в) устанавливают нивелир напротив первой отметки разбивки на расстоянии 5 - 10 м от резервуара и приводят его в горизонтальное положение;
г) устанавливают рейку вертикально в точке на уторе днища, находящейся напротив первой отметки разбивки, отсчитывают показание шкалы рейки

с погрешностью до 1 мм;
д) последовательно устанавливая рейку по часовой стрелке в точках на уторе днища, находящихся напротив отметок разбивки 2, 3, ...,

, отсчитывают показания шкалы рейки

,

, ...,

с погрешностью до 1 мм;
е) для снятия показаний рейки в оставшихся точках отметок разбивки нивелир устанавливают на расстоянии 5 - 10 м от резервуара напротив отметки разбивки

и, устанавливая рейку вторично в точке отметки разбивки

, вторично снимают показание рейки

. При этом показание рейки в точке, находящейся напротив отметки разбивки

(крайней) до перенесения нивелира на другое место

, должно совпадать с показанием рейки в этой же точке разбивки

после перенесения нивелира на другое место, то есть

с погрешностью до 1 мм. Выполнение этого условия обеспечивается регулированием высоты нивелира после перенесения его на другое место.
В случае невозможности выполнения вышеуказанного условия регулированием высоты нивелира на показание рейки в точках, находящихся напротив отметок разбивки

,

, ..., s, вводят поправку, например на показание рейки в точке, находящейся напротив отметки разбивки

,

по формуле

, (3а)
где

- показание рейки после перенесения нивелира на другое место, мм;

- поправка, мм. Ее значение определяют по формуле

, (3б)
где

- показание рейки, находящейся напротив отметки

до перенесения нивелира на другое место, мм;

- показание рейки, находящейся напротив отметки

после перенесения нивелира на другое место, мм;
ж) выполняя аналогичные операции по перечислению е), отсчитывают показания рейки до отметки разбивки m (m - число отметок разбивки длины окружности первого пояса резервуара).
Показания шкалы рейки

вносят в протокол, форма которого приведена в Приложении Б
(таблица Б.14).
Определяют значение разности показаний шкалы рейки в точках утора днища, находящихся напротив двух противоположных отметок разбивки

, мм (см.
таблицу Б.14):
- при числе отметок k от 1 до

по формуле

; (3в)
- при числе отметок от

до m по формуле

, (3г)
где

- показание шкалы рейки в точке, находящейся напротив k-й отметки, мм;

,

- показания шкалы рейки в точках, находящейся напротив отметок разбивки (m/2 + k) и (k - m/2), мм;
k - номер отметки разбивки. Его значения выбирают из ряда: 1, 2, 3, 4, ..., m;
m - число отметок разбивки длины окружности первого пояса резервуара.
Строят график
(рисунок А.10) функции

, рассчитываемой по
формулам (3в) и
(3г). Если кривая, соединяющая точки графика

относительно абсциссы, имеет вид синусоиды с периодом, равным отрезку 1 - m (кривая C на
рисунке А.10), то резервуар стоит наклонно, если нет (кривая B) - резервуар стоит не наклонно.
Приближенное значение угла направления наклона резервуара

определяют по формуле

, (3д)
где N - число разбивок, отсчитываемое от первой отметки разбивки до приближенного направления наклона резервуара, равное k - 1.
и) устанавливают рейку повторно против первой отметки разбивки, отсчитывают показания шкалы рейки

с погрешностью до 1 мм. Расхождение между показаниями шкалы рейки

и

не должно превышать +/- 3 мм. В случае невыполнения этого условия проводят повторные измерения, выполняя процедуры, изложенные в перечислениях
в) - и).
(перечисление и) введено
Изменением N 2, введенным в действие Приказом Росстандарта от 17.09.2012 N 309-ст)
9.1.3.4. Степень наклона и уточненный угол направления наклона резервуара определяют в следующей последовательности:
а) проводят дополнительное разбивание длины дуги противоположных разбивок
(рисунок А.10б), например находящихся справа от отметок разбивки 6 и 18 (разбивки

и

) и слева от отметок разбивки 6 и 18 (разбивки

и

) от приближенного направления наклона контура днища, определенного по
9.1.3.3;
б) длину дуги дополнительного разбивания

, мм, соответствующую 1°, вычисляют по формуле

, (3е)
где

- длина наружной окружности первого пояса резервуара, мм;
в) дугу длиной, вычисленной по формуле (3е), откладывают справа и слева (наносят вертикальные отметки на стенке первого пояса), начиная с образующих (отметок разбивки), по которым проходит приближенное направление наклона резервуара. Отметки отложенных дополнительных дуг (разбивок) нумеруют арабскими цифрами справа и слева от приближенного направления наклона резервуара;
г) выполняя операции, указанные в
перечислениях в) и
г) 9.1.3.3, отсчитывают показания шкалы рейки в точках дополнительного разбивания дуг основных разбивок, находящихся слева

и справа

от приближенного направления наклона резервуара, с погрешностью до 1 мм.
Результаты показаний шкалы

,

вносят в
протокол, форма которого приведена в Приложении Б.
(п. 9.1.3 в ред.
Изменения N 1, введенного в действие Приказом Ростехрегулирования от 29.11.2007 N 338-ст)
9.1.4. Измерения плотности жидкости
9.1.4.1. Плотность жидкости, находящейся в резервуаре при его поверке,

измеряют по
ГОСТ 3900 в объединенной пробе жидкости, составленной из точечных проб, отобранных из резервуара в соответствии с
ГОСТ 2517.
9.1.4.2. Результат измерения величины

вносят в
протокол, форма которого приведена в Приложении Б.
9.1.5. Измерения уровня жидкости
9.1.5.1. Уровень жидкости, находящейся в резервуаре при его поверке,

измеряют при помощи измерительной рулетки с грузом или уровнемера.
9.1.5.2. Результат измерения величины

вносят в
протокол, форма которого приведена в Приложении Б.
9.1.6. Измерения высоты поясов и толщины стенок
9.1.6.1. Высоту поясов

измеряют с наружной стороны резервуара вдоль образующей резервуара, находящейся в плоскости A
(рисунок А.10а) по
9.1.2.2, при помощи измерительной рулетки с грузом и упорного угольника.
(пп. 9.1.6.1 в ред.
Изменения N 1, введенного в действие Приказом Ростехрегулирования от 29.11.2007 N 338-ст)
9.1.6.2. Для резервуаров без лестниц измерения проводят, поднимая рулетку с грузом от упорного угольника 90°
(рисунок А.12) 1, находящегося у нижнего края пояса, до упорного угольника 90° 2, находящегося у верхнего края пояса, считывая разницу в показаниях рулетки относительно неподвижной отметки.
9.1.6.3. Высотой i-го пояса считают расстояние

, в пределах которого внутренний радиус пояса

имеет постоянное значение
(рисунок А.13). Значение

получают вычитанием из значения

значений нахлестов, принятых по технической документации.
9.1.6.4. Толщины стенок поясов

измеряют два раза с помощью ультразвукового толщиномера с погрешностью в пределах +/- 0,1 мм. Расхождение между результатами двух измерений должно находиться в пределах +/- 0,2 мм, или его принимают равным указанному в технической документации.
9.1.6.5. Толщину слоя покраски резервуара

определяют измерениями толщины скола краски штангенциркулем с погрешностью не более +/- 0,1 мм.
Толщину слоя внутреннего антикоррозионного покрытия

измеряют при помощи ультразвукового толщиномера с погрешностью до 0,1 мм.
(абзац введен
Изменением N 1, введенным в действие Приказом Ростехрегулирования от 29.11.2007 N 338-ст)
9.1.6.6. Результаты измерений величин

,

,

,

вносят в
протокол, форма которого приведена в Приложении Б.
(в ред.
Изменения N 1, введенного в действие Приказом Ростехрегулирования от 29.11.2007 N 338-ст)
9.1.7. Определение объемов внутренних деталей
9.1.7.1. Объемы внутренних деталей, находящихся в резервуаре, и опор плавающего покрытия определяют по данным технической документации или по данным измерений геометрических параметров внутренних деталей с указанием их расположения по высоте от днища резервуара и от стенки первого пояса резервуара

, угла

между плоскостью A и плоскостью C
(рисунок А.10а). Значение угла

определяют методом разбивания длины окружности первого пояса с погрешностью +/- 1° в следующей последовательности:
- длину окружности первого пояса изнутри резервуара разбивают на восемь частей, начиная с плоскости A
(рисунок А.10а), по часовой стрелке;
- на днище резервуара через его центр и точки разбивки проводят восемь радиусов;
- устанавливают номер сектора, в пределах которого находится плоскость C
(рисунок А.10а);
- в пределах выше установленного сектора на стенке резервуара до плоскости C откладывают (размечают)

-ное число дополнительных хорд длиной

, соответствующей 1°, вычисляемой по формуле

;
- значение угла

определяют по формуле

,
где

- число больших разбиваний;

- число отложений хорды

до плоскости C.
Результаты измерений величин

,

,

вносят в
протокол, форма которого приведена в Приложении Б.
(в ред.
Изменения N 1, введенного в действие Приказом Ростехрегулирования от 29.11.2007 N 338-ст)
9.1.7.2. Внутренние детали сложной геометрической формы могут быть заменены эквивалентными по объему и расположению или расчленены на более простые. Об этом делают запись в
протоколе, форма которого приведена в Приложении Б.
9.1.7.3. Проводят нивелирование нижней границы внутренней детали в следующей последовательности
(рисунок А.15а):
а) устанавливают нивелир на днище резервуара и приводят его в горизонтальное положение;
б) устанавливают рейку в точке касания днища грузом рулетки Л и отсчитывают показания рейки

с точностью до 1 мм;
в) устанавливают рейку в точке А и отсчитывают показания рейки с точностью до 1 мм:
1) в точке B, соответствующей расстоянию по вертикали от днища резервуара до нижнего торца внутренней детали по ее оси

;
2) в точке C, соответствующей расстоянию по вертикали от днища резервуара до горизонта

.
Примечание. Нивелирование нижней границы внутренней детали может быть проведено при нивелировании высоты "мертвой" полости резервуара.
(п. 9.1.7.3 введен
Изменением N 2, введенным в действие Приказом Росстандарта от 17.09.2012 N 309-ст)
9.1.8. Измерения вместимости "мертвой" полости и параметров местных неровностей (хлопунов)
(в ред.
Изменения N 1, введенного в действие Приказом Ростехрегулирования от 29.11.2007 N 338-ст)
9.1.8.1. Если резервуар имеет несколько приемно-раздаточных патрубков, то высоту "мертвой" полости, соответствующую j-му приемно-раздаточному патрубку

, измеряют рулеткой по стенке резервуара от днища резервуара до нижней точки j-го приемно-раздаточного патрубка. Нумерацию высот "мертвой" полости проводят, начиная с плоскости A
(рисунок А.10а).
Если резервуар имеет приемно-раздаточные устройства, например, устройства ПРУ-Д, то измеряют рулеткой
(рисунок А.17а):
- высоту по стенке резервуара от контура днища до места установки j-го приемно-раздаточного устройства

;
- расстояние от нижнего образующего j-го приемно-раздаточного устройства до его нижнего или верхнего среза

;
- длину j-го приемно-раздаточного устройства (расстояние от центра среза устройства до стенки резервуара)

.
Результаты измерений величин

,

,

,

в миллиметрах вносят в
протокол, форма которого приведена в Приложении Б.
(пп. 9.1.8.1 в ред.
Изменения N 1, введенного в действие Приказом Ростехрегулирования от 29.11.2007 N 338-ст)
9.1.8.2. Для определения объема неровностей днища

проводят следующие измерения:
- размечают на днище точки пересечения восьми концентрических окружностей (I, II, ..., VIII) с 24 радиусами (0-1, 0-2, 0-3, ..., 0-24) и точку касания днища грузом рулетки (
рисунок А.14 - при отсутствии центральной трубы или
рисунок А.15 - при наличии центральной трубы). Положение 24 радиусов находят делением внутреннего периметра резервуара по первому поясу на уровне днища на 24 равных части, начиная с плоскости, проходящей через центр резервуара и точку касания днища грузом рулетки, а положение восьми концентрических окружностей определяют делением внутреннего радиуса первого пояса R на 8 частей путем откладывания от центра днища (при наличии центральной трубы с учетом радиуса

) радиусов, равных 0,35R; 0,5R; 0,61R; 0,71R; 0,79R; 0,86R; 0,93R; R;
(в ред.
Изменения N 1, введенного в действие Приказом Ростехрегулирования от 29.11.2007 N 338-ст)
- при отсутствии центральной трубы нивелир устанавливают в центре днища резервуара и измеряют расстояние по вертикали от неровностей днища до визирной линии (до центра окуляра) нивелира

при помощи измерительной рулетки с грузом или рейкой. При наличии центральной трубы нивелир устанавливают последовательно в двух противоположных точках, не лежащих на отмеченных радиусах и отстоящих от стенки резервуара не более 1000 мм;
(в ред.
Изменения N 1, введенного в действие Приказом Ростехрегулирования от 29.11.2007 N 338-ст)
- снимают отсчеты по рейке, устанавливаемой последовательно в измерительных точках

, и в точке касания днища грузом рулетки

. При наличии центральной трубы отсчеты снимают по рейке с двух точек установки нивелира и дополнительно в точках, образованных пересечением радиусов с образующей центральной трубы.
Примечание. Для резервуаров вместимостью менее 2000 м3 неровностью днища пренебрегают, за исходный уровень в этом случае принимают плоскость днища.
9.1.8.3. Результаты измерений величин

,

вносят в
протокол, форма которого приведена в Приложении Б.
9.1.8.4. Угол

между плоскостью A
(рисунок А.10а) и плоскостью B, проходящую через продольные оси приемно-раздаточного патрубка и резервуара, определяют с погрешностью не более +/- 1°, используя данные разбивки длины окружности первого пояса по
9.1.2.2 в следующей последовательности:
- устанавливают число полных разбивок

, находящихся до плоскости B
(рисунок А.10а);
- по длине дуги разбивки, в пределах которой проходит плоскость B, размечают до образующей приемно-раздаточного патрубка

-ное число дополнительных дуг длиной

, соответствующей 1°. Длину дуги

, мм, вычисляют по формуле

;
- значение угла

определяют по формуле

,
где m - число разбивок длины окружности первого пояса резервуара;

- радиус приемно-раздаточного патрубка, мм.
(пп. 9.1.8.4 введен
Изменением N 1, введенным в действие Приказом Ростехрегулирования от 29.11.2007 N 338-ст)
9.1.8.5. Результаты измерений величины

вносят в
протокол, форма которого приведена в Приложении Б.
(пп. 9.1.8.5 введен
Изменением N 1, введенным в действие Приказом Ростехрегулирования от 29.11.2007 N 338-ст)
9.1.8.6. В случае определения вместимости "мертвой" полости объемным статическим методом в соответствии с
9.2.2 результаты измерений оформляют протоколом поверки для "мертвой" полости по форме, приведенной в Приложении В (заполняют
таблицы В.4,
В.6,
В.8).
(пп. 9.1.8.6 введен
Изменением N 1, введенным в действие Приказом Ростехрегулирования от 29.11.2007 N 338-ст)
9.1.8.7. Площадь хлопуна

, м
2, определяют по результатам измерений длины и ширины хлопуна.
Длину

и ширину

хлопуна измеряют измерительной рулеткой. Показания рулетки отсчитывают с точностью до 1 мм.
Высоту хлопуна

измеряют штангенциркулем или измерительной линейкой. Показания штангенциркуля или линейки отсчитывают с точностью до 1 мм.
Результаты измерений величин

,

,

вносят в
протокол, форма которого приведена в Приложении Б.
(пп. 9.1.8.7 введен
Изменением N 1, введенным в действие Приказом Ростехрегулирования от 29.11.2007 N 338-ст)
9.1.8.8. Проводят нивелирование высоты "мертвой" полости резервуара с приемно-раздаточным патрубком (ПРП) или приемно-раздаточным устройством (ПРУ) в следующей последовательности (
рисунки А.15б,
А.15в):
б) устанавливают рейку вертикально в точке касания днища грузом рулетки Л и отсчитывают показания рейки

с точностью до 1 мм;
в) устанавливают рейку вертикально в точке А и отсчитывают показания рейки с точностью до 1 мм:
1) в точке B, соответствующей нижней внутренней образующей j-го ПРП
(рисунок А.15б) 
, или соответствующей верхнему срезу j-го ПРУ (рисунок А.15в)

;
2) в точке C, соответствующей расстоянию по вертикали от днища резервуара до горизонта нивелира

,

.
Результаты измерений

,

,

вносят в
протокол, форма которого приведена в приложении Б.
(п. 9.1.8.8 введен
Изменением N 2, введенным в действие Приказом Росстандарта от 17.09.2012 N 309-ст)
9.1.9. Измерения координаты точки отсчета значений уровня жидкости или базовой высоты
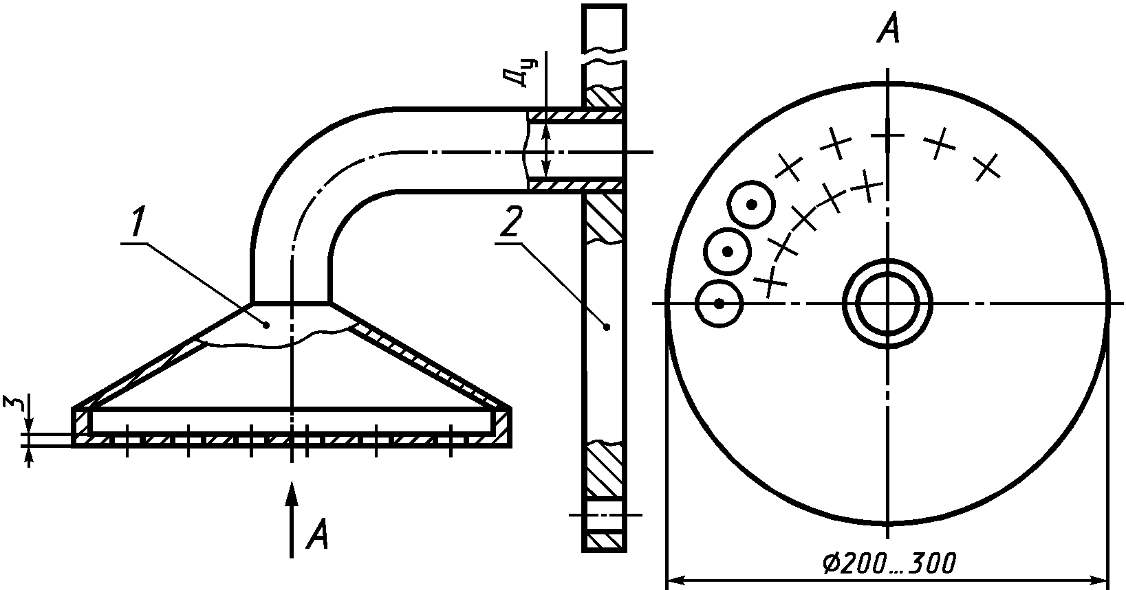
9.1.9.1. Измеряют расстояние по горизонтали между линейкой, установленной вертикально по первой внешней образующей резервуара
(рисунок А.10), и внешней образующей измерительного люка
(рисунок А.16) при помощи измерительной рулетки с погрешностью +/- 5 мм.
(пп. 9.1.9.1 в ред.
Изменения N 1, введенного в действие Приказом Ростехрегулирования от 29.11.2007 N 338-ст)
9.1.9.2. Измеряют штангенциркулем наружный

и внутренний

диаметры измерительного люка и расстояние между точкой измерений на планке и внутренней стенкой измерительного люка

.
9.1.9.3. Результаты измерений величин

,

,

,

вносят в
протокол, форма которого приведена в Приложении Б.
9.1.10. Измерения базовой высоты резервуара
9.1.10.1. Базовую высоту резервуара

измеряют рулеткой с грузом не менее двух раз. Расхождение между результатами двух измерений не должно превышать 2 мм.
При наличии жидкости в резервуарах с плавающим покрытием уровень ее должен быть не ниже уровня, установленного технологической картой на резервуар.
(в ред.
Изменения N 1, введенного в действие Приказом Ростехрегулирования от 29.11.2007 N 338-ст)
Базовую высоту резервуара с плавающей крышей измеряют через измерительный люк, установленный на направляющей стойке плавающей крыши или на трубе для радарного уровнемера
(рисунок А.2а).
(абзац введен
Изменением N 1, введенным в действие Приказом Ростехрегулирования от 29.11.2007 N 338-ст)
9.1.10.2. Результаты измерений базовой высоты

вносят в
протокол, форма которого приведена в Приложении Б.
9.1.10.3. Базовую высоту измеряют ежегодно. Ежегодные измерения базовой высоты резервуара проводит комиссия, назначенная приказом руководителя предприятия - владельца резервуара, в состав которой должен быть включен специалист, прошедший курсы повышения квалификации по поверке и калибровке резервуаров.
При ежегодных измерениях базовой высоты резервуара без плавающего покрытия резервуар может быть наполнен до произвольного уровня, резервуар с плавающим покрытием - до минимально допустимого уровня.
Результат измерений базовой высоты резервуара не должен отличаться от ее значения, указанного в протоколе поверки резервуара, более чем на 0,1%.
Если это условие не выполняется, то проводят повторное измерение базовой высоты при уровне наполнения резервуара, отличающимся от его уровня наполнения, указанного в протоколе поверки резервуара, не более чем на 500 мм.
Результаты измерений базовой высоты оформляют
актом, форма которого приведена в
Приложении Л.
При изменении базовой высоты по сравнению с ее значением, установленным при поверке резервуара, более чем на 0,1% устанавливают причину и устраняют ее. При отсутствии возможности устранения причины проводят внеочередную поверку резервуара.
Примечание. В Российской Федерации специалисты проходят курсы повышения квалификации в соответствии с
7.1.
(пп. 9.1.10.3 в ред.
Изменения N 1, введенного в действие Приказом Ростехрегулирования от 29.11.2007 N 338-ст)
9.1.11. Определение массы и размеров плавающего покрытия
9.1.11.1. Массу

, диаметры плавающего покрытия

и отверстий

,

, ..., а также верхнее положение плавающего покрытия

берут по исполнительной документации.
(в ред.
Изменения N 1, введенного в действие Приказом Ростехрегулирования от 29.11.2007 N 338-ст)
9.1.11.2. Высоту нижнего положения плавающего покрытия

измеряют рулеткой от днища резервуара (при отсутствии наклона резервуара) или от точки касания днища грузом рулетки (при наличии наклона резервуара) до нижней части плавающего покрытия или до нижнего края поплавка понтона резервуара
(рисунок А.20).
(пп. 9.1.11.2 в ред.
Изменения N 1, введенного в действие Приказом Ростехрегулирования от 29.11.2007 N 338-ст,
Изменения N 2, введенного в действие Приказом Росстандарта от 17.09.2012 N 309-ст)
9.1.11.3. Значения величин

,

,

,

, ... и результаты измерений

,

вносят в
протокол, форма которого приведена в Приложении Б.
(в ред.
Изменения N 1, введенного в действие Приказом Ростехрегулирования от 29.11.2007 N 338-ст)
9.1.12. Определение длины внутренней окружности вышестоящего пояса резервуара с плавающей крышей
9.1.12.1. При отсутствии возможности применения приспособления, показанного на
рисунке А.6, длину внутренней окружности вышестоящего пояса определяют:
второго пояса (при высоте поясов от 2250 до 3000 мм) или третьего (при высоте поясов 1500 мм) - методом отложения хорд по внутренней стенке пояса;
вышестоящих поясов, начиная с третьего (при высоте поясов от 2250 до 3000 мм) или, начиная с четвертого (при высоте поясов от 1500 мм), - по результатам измерений радиальных отклонений образующих резервуара, проведенных изнутри резервуара.
9.1.12.2. Хорды откладывают на уровнях, отсчитываемых от верхней плоскости плавающей крыши:
1600 мм - при высоте поясов от 2250 до 3000 мм;
1200 мм - при высоте поясов 1500 мм.
9.1.12.3. Перед откладыванием хорд на уровне 1600 мм или на уровне 1200 мм, указанных в 9.1.12.2, при помощи рулетки с грузом через каждые 1000 мм наносят горизонтальные отметки длиной 10 - 20 мм по стенке поясов.
9.1.12.4. Отметки, нанесенные по стенкам поясов на уровнях, указанных в 9.1.12.2, соединяют между собой, применяя гибкую стальную ленту (рулетку). При этом линии горизонтальных окружностей проводят толщиной не более 5 мм.
9.1.12.5. Вычисляют длину хорды

по формуле

, (3ж)
где

- внутренний диаметр первого пояса резервуара, вычисляемый по формуле

, (3и)
где

- внутренняя длина окружности первого пояса, вычисляемая по формуле (Г.2);

- центральный угол, соответствующий длине хорды

, вычисляемый по формуле

, (3к)
где

- число отложений хорд по линиям горизонтальных окружностей. Число

в зависимости от номинальной вместимости резервуара принимают по таблице 4.
Таблица 4
Номинальная вместимость резервуара, м3 | Число отложений хорд m1 |
100 | 24 |
200 | 26 |
300 | 28 |
400 | 32 |
700 | 34 |
1000 | 34 |
2000 | 36 |
3000 (4000) | 38 |
5000 | 40 |
10000 | 58 |
20000 | 76 |
30000 | 80 |
50000 | 120 |
100000 | 160 |
9.1.12.6. Хорду

, длина которой вычислена по формуле (3ж), откладывают по линии горизонтальной окружности, проведенной на высоте 1600 мм и на высоте 1200 мм, указанных в
9.1.12.2, при помощи штангенциркуля (ГОСТ 166,
черт. 3) с диапазоном измерений от 500 до 1600 мм.
9.1.12.7. После отложений хорд по 9.1.12.6 измеряют длину остаточной хорды

при помощи штангенциркуля с диапазоном измерений 0 - 150 мм с погрешностью не более 0,1 мм. Обозначение "п" соответствует термину: "покрытие".
9.1.12.8. Значения величин

и

вносят в
протокол, форма которого приведена в Приложении Б.
9.1.12.9. Длины внутренних окружностей поясов, находящихся выше поясов, указанных в
9.1.12.1, определяют по результатам измерений радиальных отклонений образующих резервуара от вертикали изнутри резервуара с применением измерительной каретки (далее - каретки) в следующей последовательности:
а) длину окружности первого пояса, измеренную по
9.1.1, разбивают на равные части по
9.1.2.2 (наносят вертикальные отметки на уровне 1600 мм или на уровне 1200 мм в соответствии с
9.1.12.3), начиная с плоскости А
(рисунок А.10а);
б) штангу 12 с блоком 11
(рисунок А.2а), при помощи которого каретка перемещается по внутренней поверхности резервуара, устанавливают у края площадки обслуживания 13;
в) линейку 6 устанавливают на высоте 400 мм по
перечислению а) 9.1.12.9 от верхней плоскости плавающей крыши при помощи магнитного держателя 7 перпендикулярно к стенке резервуара, поочередно для каждой отметки разбивки;
г) для перехода от одной отметки разбивки к другой каретку опускают, а штангу со всей оснасткой передвигают по кольцевой площадке обслуживания резервуара. Расстояние от стенки резервуара до нити отвеса a отсчитывают по линейке 6;
д) измерения вдоль каждой образующей резервуара начинают с отметки разбивки под номером один первого пояса. На каждом следующем поясе измерения проводят в трех сечениях: среднем, находящемся в середине пояса, нижнем и верхнем, расположенных на расстоянии 50 - 100 мм от горизонтального сварочного шва. На верхнем поясе - в двух сечениях: нижнем и среднем. Отсчеты по линейке снимают с по грешностью в пределах +/- 1 мм в момент, когда каретка установлена в намеченной точке при неподвижном отвесе;
е) в начальный момент каретку для всех образующих резервуара останавливают на линии горизонтальной окружности на уровне 1600 мм или на уровне 1200 мм.
Результаты измерений расстояния a в миллиметрах вносят в
протокол, форма которого приведена в Приложении Б.
(п. 9.1.12 введен
Изменением N 1, введенным в действие Приказом Ростехрегулирования от 29.11.2007 N 338-ст)
9.1.13. Высота газового пространства в плавающей крыше
9.1.13.1. Высоту газового пространства

(3.25) измеряют при помощи измерительной рулетки с грузом или линейкой не менее двух раз. Расхождение между результатами двух измерений не должно превышать 1 мм.
9.1.13.2. Результаты измерений

вносят в
протокол, форма которого приведена в Приложении Б.
(п. 9.1.13 введен
Изменением N 1, введенным в действие Приказом Ростехрегулирования от 29.11.2007 N 338-ст)
9.2. Проведение поверки резервуара объемным методом
9.2.1. Проводят измерения:
а) высоты "мертвой" полости

в соответствии с
9.1.8.1;
б) расстояния по вертикали от точки касания днища грузом рулетки до визирной линии нивелира

в соответствии с
9.1.8.2;
в) расстояния по вертикали от точки, образованной в результате пересечения восьмой окружности и первого радиуса, до визирной линии нивелира

в соответствии с
9.1.8.2;
г) степени наклона резервуара

в соответствии с
9.1.3;
д) базовой высоты резервуара

в соответствии с
9.1.10;
(перечисление "е" введено
Изменением N 1, введенным в действие Приказом Ростехрегулирования от 29.11.2007 N 338-ст)
9.2.1.1. Результаты измерений величин

,

,

,

,

,

вносят в
протокол, форма которого приведена в Приложении В.
(в ред.
Изменения N 1, введенного в действие Приказом Ростехрегулирования от 29.11.2007 N 338-ст)
9.2.2. Измерения вместимости резервуара в пределах "мертвой" полости или в пределах высоты неровностей днища
(в ред.
Изменения N 1, введенного в действие Приказом Ростехрегулирования от 29.11.2007 N 338-ст)
9.2.2.1. В пределах "мертвой" полости
(рисунок А.17) и в пределах неровностей днища
(рисунок А.18), если неровности днища выходят за пределы "мертвой" полости, измерения вместимости резервуара проводят статическим методом при значении расхода поверочной жидкости, соответствующем минимальному расходу счетчика жидкости, и значении объема поверочной жидкости, регистрируемом через каждое изменение ее уровня в резервуаре в пределах от 10 до 100 мм.
(в ред.
Изменения N 1, введенного в действие Приказом Ростехрегулирования от 29.11.2007 N 338-ст)
9.2.2.2. При измерениях вместимости "мертвой" полости выполняют операции в следующей последовательности (см.
рисунок А.7):
а) открывают вентиль 20, соединяющий линию, предназначенную для подачи поверочной жидкости в поверяемый резервуар 3;
б) устанавливают указатели шкал приборов (при необходимости) на нулевую отметку;
в) переводят трехходовый кран 5 в положение "Измерение";
г) включают насос 11 или открывают вентиль 16;
д) подают из приемного резервуара 13 или из технологического трубопровода (водопровода) 17 через счетчик жидкости 6 поверочную жидкость в поверяемый резервуар 3, наполняя его дозой жидкости до появления на дисплее уровнемера 2 значения в пределах от 10 до 100 мм;
(в ред.
Изменения N 1, введенного в действие Приказом Ростехрегулирования от 29.11.2007 N 338-ст)
е) снимают показания манометра

;
ж) снимают показания термометра (измерителя температуры)

;
з) выключают насос 11 или закрывают вентиль 16 и снимают показания счетчика жидкости 6

.
Примечание. При превышении точки касания днища грузом рулетки над контуром днища наполняют поверяемый резервуар начальной дозой до нулевой отметки.
9.2.2.3. После выполнения операции по
9.2.2.2 поверяемый резервуар наливают второй, третьей и последующей дозами поверочной жидкости. Снимают показания после налива каждой дозы: счетчика жидкости

; манометра

; уровнемера

; измерителей температуры 4 и 1, установленных на линии нагнетания и резервуаре, -

,

соответственно.
9.2.2.4. При достижении уровня поверочной жидкости в резервуаре 3 до уровня, соответствующего высоте "мертвой" полости

отбирают пробу из резервуара переносным пробоотборником по
ГОСТ 2517. В случае применения в качестве поверочной жидкости нефтепродукта измеряют его плотность в лаборатории в соответствии с
ГОСТ 3900.
9.2.2.5. Значение плотности поверочной жидкости используют для определения коэффициента объемного расширения ее, необходимого при расчете температурной поправки на посантиметровую вместимость резервуара.
9.2.3. Измерения вместимости поверяемого резервуара выше "мертвой" полости или выше высоты неровностей днища
(в ред.
Изменения N 1, введенного в действие Приказом Ростехрегулирования от 29.11.2007 N 338-ст)
9.2.3.1. При достижении уровня поверочной жидкости в поверяемом резервуаре 3, соответствующего высоте "мертвой" полости (высоте неровностей днища), значение расхода поверочной жидкости устанавливают равным значению номинального расхода в соответствии с показаниями счетчика жидкости в следующей последовательности (см.
рисунок А.7):
(в ред.
Изменения N 1, введенного в действие Приказом Ростехрегулирования от 29.11.2007 N 338-ст)
- закрывают вентиль 20;
- переводят трехходовой кран 5 в положение "Циркуляция";
- в соответствии с
8.2.5 фиксируют показания счетчика жидкости 6 и секундомера и вычисляют расход поверочной жидкости по
формуле (1) или
(2);
- с помощью дросселя 10 изменяют расход поверочной жидкости до номинального расхода счетчика жидкости.
9.2.3.2. После наполнения поверяемого резервуара дозами поверочной жидкости в пределах "мертвой" полости (до высоты неровностей днища) измерения вместимости резервуара осуществляют статическим или динамическим методами до уровня, соответствующего полной вместимости резервуара.
(в ред.
Изменения N 1, введенного в действие Приказом Ростехрегулирования от 29.11.2007 N 338-ст)
9.2.3.3. При статическом методе поверки в резервуар наливают дозы поверочной жидкости, соответствующие изменению уровня на 100 мм.
(в ред.
Изменения N 1, введенного в действие Приказом Ростехрегулирования от 29.11.2007 N 338-ст)
9.2.3.4. При динамическом методе поверки резервуара регистрацию результатов измерений объема, уровня, температуры, давления поверочной жидкости проводят (не прекращая подачу поверочной жидкости в резервуар) через каждое изменение уровня в резервуаре на 10 мм.
9.2.3.5. Расход поверочной жидкости, установленный по
9.2.2.1,
9.2.3.1, не должен изменяться более чем на 2% в процессе поверки резервуара.
9.2.3.6. При достижении уровня поверочной жидкости, соответствующего полной вместимости резервуара, измеряют базовую высоту резервуара

в соответствии с
9.1.10. Значение базовой высоты не должно отличаться от значения, измеренного по
9.2.1, более чем на 0,1%.
(пп. 9.2.3.6 введен
Изменением N 1, введенным в действие Приказом Ростехрегулирования от 29.11.2007 N 338-ст)
9.2.4. При применении эталонной установки по
5.2.3 выполнение операций, изложенных в
9.2.2 -
9.2.3, проводят в соответствии с нормативным документом на установку.
9.2.5. При невозможности измерений средней температуры поверочной жидкости (далее - жидкости) в резервуаре после поступления в него каждой дозы ее с помощью измерителя температуры допускается определять среднюю температуру по результатам измерений температур жидкости в точечных пробах

, отобранных по
ГОСТ 2517 после наполнения первого, второго и последующего вышестоящего поясов.
9.2.5.1. Измерения температуры жидкости в пробоотборнике проводят в последовательности:
- термометр погружают в жидкость, находящуюся в пробоотборнике, на глубину, указанную в техническом паспорте на данный термометр;
- выдерживают термометр в пробе от 1 до 3 мин до принятия столбиком ртути постоянного положения;
- не вынимая термометр из жидкости, температуру отсчитывают по нему с погрешностью в пределах +/- 0,2 °C.
(в ред.
Изменения N 1, введенного в действие Приказом Ростехрегулирования от 29.11.2007 N 338-ст)
9.2.6. Измерения базовой высоты резервуара
9.2.6.1. Исключен с 1 июня 2008 года. -
Изменение N 1, введенное в действие Приказом Ростехрегулирования от 29.11.2007 N 338-ст.
9.2.6.2. Исключен с 1 июня 2008 года. -
Изменение N 1, введенное в действие Приказом Ростехрегулирования от 29.11.2007 N 338-ст.
9.2.7. Измерения максимального уровня жидкости в резервуаре
9.2.7.1. Максимальный уровень поверочной жидкости в резервуаре

, соответствующий полной вместимости резервуара, измеряют после прекращения подачи доз поверочной жидкости в резервуар и выдержки в течение от 10 до 15 мин.
9.2.7.2. Измерения максимального уровня проводят измерительной рулеткой с грузом через измерительный люк не менее двух раз. Расхождение между результатами двух измерений не должно превышать 1 мм.
9.2.7.3. За действительное значение максимального уровня принимают среднее арифметическое значение двух измерений, округленное до 1 мм.
9.2.8. Результаты измерений величин

,

,

,

,

,

,

,

по
9.2.2 -
9.2.7 вносят в
протокол, форма которого приведена в Приложении В.
10. Обработка результатов измерений
10.1. Обработка результатов измерений при поверке резервуара геометрическим методом
10.1.1. Обработку результатов измерений при поверке проводят в соответствии с
Приложением Г.
10.1.2. Результаты вычислений вносят в
журнал, форма которого приведена в Приложении Д.
10.2. Обработка результатов измерений при поверке резервуара объемным методом
10.2.1. Обработку результатов измерений при поверке проводят в соответствии с
Приложением Е.
10.2.2. Результаты вычислений вносят в
журнал, форма которого приведена в Приложении Ж.
10.3. Составление градуировочной таблицы
10.3.1. Составление градуировочной таблицы при поверке резервуара геометрическим методом
10.3.1.1. Градуировочную таблицу составляют, используя
формулу (Г.53) Приложения Г, с шагом

или шагом

(при необходимости), начиная с исходного уровня (уровня, соответствующего высоте "мертвой" полости

) и до предельного уровня

, рассчитываемого по формуле
(в ред.
Изменения N 1, введенного в действие Приказом Ростехрегулирования от 29.11.2007 N 338-ст,
Изменения N 2, введенного в действие Приказом Росстандарта от 17.09.2012 N 309-ст)

, (4)
Приказом Ростехрегулирования от 29.11.2007 N 338-ст)

- базовая высота резервуара, рассчитываемая по
формуле (Г.43) Приложения Г, мм;

- высота i-го пояса, мм;

- высота точки касания днища грузом рулетки;

- длина внутренней окружности 1-го пояса, вычисляемая по формуле (Г.2);
(абзац введен
Изменением N 1, введенным в действие Приказом Ростехрегулирования от 29.11.2007 N 338-ст)
n - число поясов резервуара;

- координата точки отсчета значений уровня жидкости или базовой высоты, вычисляемая по
формуле (Г.28) или
(Г.29) Приложения Г, мм;

- угол между направлением наклона резервуара и плоскостью, проходящей через центры резервуара и измерительного люка, вычисляемый по
формуле (Г.22) Приложения Г.
10.3.1.2. При вычислении величин

,

,

,

, входящих в
формулу (Г.53) Приложения Г, проводят линейную интерполяцию в пределах пояса (или участка) по формулам:

; (5)

; (6)
где

- объем внутренних деталей, включая объемы опор плавающего покрытия, на участке от

до

;
Приказом Ростехрегулирования от 29.11.2007 N 338-ст)
Абзац исключен с 1 июня 2008 года. -
Изменение N 1, введенное в действие Приказом Ростехрегулирования от 29.11.2007 N 338-ст.
Формулы (9), (10) исключены с 1 июня 2008 года. -
Изменение N 1, введенное в действие Приказом Ростехрегулирования от 29.11.2007 N 338-ст.
10.3.1.3. В пределах каждого пояса вычисляют коэффициент вместимости, равный вместимости, приходящейся на 1 мм высоты наполнения.
10.3.1.4. При необходимости составляют градуировочную таблицу в пределах уровня, соответствующего высоте "мертвой" полости

, или уровня, соответствующего высоте всплытия плавающего покрытия

, используя
формулы (Г.34) -
(Г.37),
(Г.40) Приложения Г;
(7),
(8). При этом коэффициент вместимости вычисляют в пределах каждого изменения уровня жидкости в резервуаре на 1 см.
10.3.1.5, формулы (11) - (15). Исключены с 1 июня 2008 года. -
Изменение N 1, введенное в действие Приказом Ростехрегулирования от 29.11.2007 N 338-ст.
10.3.2. Составление градуировочной таблицы при объемном методе поверки
10.3.2.1. Градуировочную таблицу составляют, суммируя последовательно, начиная с исходного уровня (уровня, соответствующего высоте "мертвой" полости

), вместимости резервуара, приходящиеся на 1 см высоты наполнения, в соответствии с формулой

, (16)
где

- вместимость "мертвой" полости, вычисляемая по
формуле (Е.12) при изменении k от 0 до

, или по формуле, приведенной в
Е.13;

,

- дозовые вместимости резервуара при наливе в него k и (k - 1) доз, соответствующие уровням

,

, вычисляемые по
формуле (Е.12) при изменении k от

до значения k, соответствующего полной вместимости резервуара, или по
формулам (Е.13),
(Е.14) Приложения Е и т.д.
Вместимость "мертвой" полости резервуара вычисляют по формуле

,
где

- объем жидкости до точки касания днища грузом рулетки.
(пп. 10.3.2.1 в ред.
Изменения N 1, введенного в действие Приказом Ростехрегулирования от 29.11.2007 N 338-ст)
10.3.2.2. В
формуле (16) вместимости

,

выражены в кубических метрах, а уровни

,

- в миллиметрах.
10.3.2.3. Градуировочную таблицу составляют до максимального уровня

, соответствующего полной вместимости резервуара.
10.3.2.4. Результаты расчетов при составлении градуировочной таблицы вносят в
журнал, форма которого приведена в Приложении Ж
(таблица Ж.3).
10.3.3. При составлении градуировочной таблицы значения вместимости резервуара в метрах кубических определяют до третьего знака после запятой, соответствующего 1 дм3.
(п. 10.3.3 в ред.
Изменения N 2, введенного в действие Приказом Росстандарта от 17.09.2012 N 309-ст)
10.3.4. Определяют коэффициент вместимости

по следующим формулам:
- при геометрическом методе поверки в пределах каждого пояса по формуле

, (17)
где

- вместимость i-го пояса, вычисляемая по формуле

, (18)
Приказом Росстандарта от 17.09.2012 N 309-ст)

- высота i-го пояса, мм,

- поправка к вместимости резервуара за счет гидростатического давления жидкости при наполнении i-го пояса, вычисляемая по
формуле (Г.51),

- вместимость i-го пояса резервуара недеформированного от гидростатического давления, вычисляемая по
формуле (Г.50);
- при объемном методе поверки в пределах каждого шага (изменения уровня наполнения резервуара на 1 см) по формуле

,
где

,

- вместимости резервуара, соответствующие уровням

,

и вычисляемые по
формуле (16).
10.3.5. Значения посантиметровой вместимости резервуара, указанные в градуировочных таблицах, соответствуют температуре 20 °C.
10.3.6. Порядок расчета при составлении градуировочной таблицы
10.3.6.1. Обработка результатов поверки может быть проведена ручным способом или с использованием ЭВМ.
10.3.6.2. Результаты измерений оформляют протоколом поверки.
10.3.6.3. Протокол поверки является входным документом при расчете градуировочной таблицы на ЭВМ.
10.3.6.4. Требования к машинному алгоритму обработки результатов измерений:
- вместимость резервуара, приходящуюся на 1 см высоты наполнения, вычисляют последовательным суммированием значений вместимостей, приходящихся на 1 мм высоты наполнения;
- последовательно суммируя значения вместимостей каждого наполнения на 1 мм, вычисляют вместимость резервуара с интервалом 1 см.
11. Оформление результатов поверки
11.1. Результаты поверки резервуара оформляют свидетельством о поверке по форме, установленной национальной (государственной) метрологической службой.
Абзац исключен с 1 июня 2008 года. -
Изменение N 1, введенное в действие Приказом Ростехрегулирования от 29.11.2007 N 338-ст.
11.2. К свидетельству о поверке прилагают:
а) градуировочную таблицу;
б) протокол поверки (оригинал прикладывается к первому экземпляру градуировочной таблицы);
в) эскиз резервуара;
д) журнал обработки результатов измерений при поверке (только в случае проведения расчетов вручную).
(в ред.
Изменения N 1, введенного в действие Приказом Ростехрегулирования от 29.11.2007 N 338-ст)
11.3. Форма титульного листа градуировочной таблицы и форма градуировочной таблицы приведены в
Приложении К. Форма протокола поверки резервуара геометрическим методом приведена в
Приложении Б, объемном методе поверки - в
Приложении В. Форма
акта измерений базовой высоты резервуара, составленного при ежегодных ее измерениях, приведена в Приложении Л.
(в ред.
Изменения N 1, введенного в действие Приказом Ростехрегулирования от 29.11.2007 N 338-ст)
Протокол поверки подписывают поверитель и лица, принявшие участие в проведении измерений параметров резервуара.
(в ред.
Изменения N 1, введенного в действие Приказом Ростехрегулирования от 29.11.2007 N 338-ст)
Титульный лист и последнюю страницу градуировочной таблицы подписывает поверитель. Подписи поверителя заверяют оттисками поверительного клейма, печати (штампа). Документы, указанные в
11.2, пронумеровывают сквозной нумерацией, прошнуровывают, концы шнурка приклеивают к последнему листу и на месте наклейки наносят оттиск поверительного клейма, печати (штампа).
(абзац введен
Изменением N 1, введенным в действие Приказом Ростехрегулирования от 29.11.2007 N 338-ст)
11.4. Градуировочные таблицы на резервуары утверждает руководитель организации национальной (государственной) метрологической службы или руководитель метрологической службы юридического лица, аккредитованный на право проведения поверки.
(п. 11.4 в ред.
Изменения N 1, введенного в действие Приказом Ростехрегулирования от 29.11.2007 N 338-ст)
11.5. Типовые программы расчета градуировочных таблиц на ЭВМ по настоящему стандарту разработаны в ГНМЦ - ВНИИР и ВНИИМС. Программы, разработанные другими организациями, подлежат экспертизе, аттестации и утверждению в ГНМЦ-ВНИИР или ВНИИМС.
11.6. Если при поверке резервуара получены отрицательные результаты даже по одному из приведенных ниже параметров:
- значение вместимости "мертвой" полости имеет знак минус;
- размеры хлопунов не соответствуют требованиям правил безопасности <1>;
- значение степени наклона резервуара более 0,02, если это значение подтверждено результатами измерений отклонения окраек контура днища резервуара от горизонтали, выполненных по методике диагностирования резервуара, то резервуар считается непригодным к эксплуатации и выдают "Извещение о непригодности".
(п. 11.6 введен
Изменением N 1, введенным в действие Приказом Ростехрегулирования от 29.11.2007 N 338-ст)
--------------------------------
| | ИС МЕГАНОРМ: примечание. В официальном тексте документа, видимо, допущена опечатка: имеется в виду Постановление от 09.06.2003 N 76 Госгортехнадзора, а не Росгортехнадзора. | |
<1> На территории Российской Федерации действует
Постановление Росгортехнадзора N 76 от 09.06.2003 об утверждении Правил устройства вертикальных цилиндрических стальных резервуаров для нефти и нефтепродуктов.
(сноска введена
Изменением N 1, введенным в действие Приказом Ростехрегулирования от 29.11.2007 N 338-ст)
(справочное)
СХЕМЫ
ОБОРУДОВАНИЯ И ИЗМЕРЕНИЯ ПАРАМЕТРОВ РЕЗЕРВУАРОВ ПРИ ПОВЕРКЕ
Рисунок А.1. Скоба для измерений поправок на обход
рулеткой накладок и других выступающих частей
1 - штанга; 2 - блок; 3 - каретка измерительная; 4 - колеса
каретки; 5 - тяговый канат; 6 - нить отвеса; 7 - магнитный
держатель; 8 - линейка; 9 - отвес; 10, 11, 12, 13,
14 - пояса резервуара; 15 - кровля резервуара;
a - расстояние от стенки резервуара до нити отвеса;
штанга 1 и блок 2 - образуют приспособление
для подвески каретки
Рисунок А.2. Схема измерений радиальных отклонений
с применением измерительной каретки с отвесом
1 - неровности днища; 2 - плавающая крыша;
3, 15 - измерительный люк; 4, 23 - опоры плавающей крыши;
5 - груз отвеса; 6 - линейка; 7 - магнитный держатель
линейки; 8 - нить отвеса; 9 - колеса измерительной каретки;
10 - измерительная каретка; 11 - блок; 12 - штанга;
13 - площадка обслуживания; 14 - тяговый канат; 16 - труба
для радарного уровнемера; 17, 18, 19, 20, 21, 22 - пояса
резервуара; 24 - риска измерительного люка; 25 - жидкость;
а - показание линейки (радиальное отклонение образующей
резервуара от вертикали);

- высота газового
пространства в плавающей крыше
Рисунок А.2а. Схема измерений радиальных отклонений
образующих резервуара с плавающей крышей
Приказом Ростехрегулирования от 29.11.2007 N 338-ст)
1 - блок для струны отвеса; 2 - колесо;
3 - база каретки; 4 - натяжной ролик
Рисунок А.3. Измерительная каретка
1 - каретка; 2 - линейка; 3 - противовес; 4 - струна;
5 - магнитный держатель; 6 - визирная линия; 7 - груз;
8 - теодолит; a - расстояние от стенки
резервуара до нити отвеса
Рисунок А.4. Схема измерения радиальных отклонений
с применением измерительной каретки с теодолитом
1 - держатель, полоса 3 x 30 мм;
2, 3 - уголки Б - 45 x 45 x 3 мм по
ГОСТ 8509
Рисунок А.5. Приспособление для подвески каретки
при измерении радиальных отклонений образующих резервуаров
с трубой орошения, расположенной в верхнем поясе
1 - держатель, полоса 3 x 30 мм; 2, 3, 4, 5, 6 - уголки
Рисунок А.6. Приспособление для подвески каретки
при измерениях радиальных отклонений образующих
резервуаров с плавающей крышей
1 - датчик измерения средней температуры жидкости;
2 - уровнемер; 3 - поверяемый резервуар; 4 - термометр
(измеритель температуры); 5 - трехходовой кран; 6 - счетчик
жидкости; 7 - манометр; 8 - клапан автоматический воздушный
(вантуз); 9 - фильтр; 10 - дроссель; 11 - насос; 12 - линия
всасывания; 13 - приемный резервуар; 14 - воронкогаситель;
15, 20 - вентили резервуаров; 16 - вентиль технологического
трубопровода (водопровода); 17 - технологический
трубопровод (водопровод); 18 - линия подачи поверочной
жидкости в поверяемый резервуар (линия нагнетания);
19 - обратный клапан; 21 - расширитель струи
Рисунок А.7. Схема измерительной системы с применением
эталонных уровнемера и счетчика жидкости
Суммарная площадь отверстий должна быть в 1,5 раза больше площади колена диаметром

.
1 - расширитель струи; 2 - крышка люка-лаза
Рисунок А.8. Расширитель струи
1 - воронкогаситель; 2 - крышка люка-лаза
Рисунок А.9. Воронкогаситель
1 - контур днища резервуара; 2 - измерительный люк;

- функция, вычисляемая по формулам (3в) и (3г);
C, B - графики функции

при наличии и отсутствии наклона
резервуара соответственно;

- максимум функции

;
m - число разбивок; k - номер разбивки;

- угол
направления наклона резервуара, вычисляемый
по формуле (Г.22)
Рисунок А.10. График функции

и схема
направления наклона резервуара
Приказом Ростехрегулирования от 29.11.2007 N 338-ст)
1 - стенка резервуара; 2 - приемно-раздаточный патрубок;
3 - измерительный люк; 4 - внутренняя деталь;

- угол
между плоскостью, проходящей через точку измерений уровня
жидкости и базовой высоты резервуара на направляющей планке
измерительного люка (плоскостью A) и направлением наклона
резервуара X;

- угол между плоскостью A и плоскостью,
проходящей через продольные оси резервуара и внутренней
детали (плоскостью C);

- угол между плоскостью A
и плоскостью, проходящей через продольные оси резервуара
и приемно-раздаточного патрубка (плоскостью B);

- расстояние от точки касания днища грузом рулетки
до стенки 1-го пояса резервуара;

- расстояние от центра
внутренней детали до стенки 1-го пояса резервуара;

,

- нижнее и верхнее положения внутренней детали
Рисунок А.10а. Схема измерений координат внутренней детали
Приказом Ростехрегулирования от 29.11.2007 N 338-ст)
1 - дополнительные отметки справа; 2 - уточненное
направление наклона контура днища; 3 - приближенное
направление контура днища; 4 - дополнительные отметки
слева; 5 - утор днища;

- угол приближенного направления
контура днища;

- угол уточненного
направления контура днища;

;

Рисунок А.10б. Схема определения угла
направления наклона днища
Приказом Ростехрегулирования от 29.11.2007 N 338-ст)

,

- максимальное и минимальное показания рейки
по уточненному направлению наклона контура днища;

- угол наклона контура днища;
Рисунок А.10в. Схема наклоненного резервуара
Приказом Ростехрегулирования от 29.11.2007 N 338-ст)
1 - приемно-раздаточный патрубок; 2 - цилиндрическая часть
резервуара; 3 - измерительный люк; 4 - перила; 5 - уголок;
6 - нить отвеса; 7 - линейка с магнитным держателем;
8 - груз отвеса;

,

- базовая и исходная высоты
резервуара;

- высота точки касания днища грузом рулетки;

- высота "мертвой" полости резервуара; a - расстояние
от нити отвеса до стенки резервуара
Рисунок А.11. Схема определения степени наклона
резервуара с применением отвеса
1 - плавающая крыша с опорами; 2 - груз отвеса;
3 - линейка; 4 - нить отвеса; 5 - верхняя площадка
обслуживания; 6 - резервуар; 7 - неровности днища;
а - расстояние от стенки резервуара до нити отвеса
Рисунок А.11а. Схема измерений степени и угла
направления наклона резервуара с плавающей крышей
Приказом Ростехрегулирования от 29.11.2007 N 338-ст)
1 - штанга упорного угольника 90°; 2 - упорный
угольник 90°; 3 - измерительная рулетка с грузом;
4, 5 - сварные швы резервуара
Рисунок А.12. Схема измерения высоты пояса

,

и

,

- внутренний радиус, внешняя и внутренняя
высота, толщина стенки i-го пояса соответственно;

,

,

- внутренний радиус, внутренняя высота, толщина
i + 1-го пояса соответственно
Рисунок А.13. Схема расположения поясов резервуара
1 - 24 - радиусы; 25 - приемно-раздаточный патрубок;
26 - рейка; 27 - горизонт нивелира; 28 - нивелир;
29 - рейка в точке касания днища грузом рулетки;
I - VIII - концентрические окружности;

- высота
"мертвой" полости резервуара
Рисунок А.14. Нивелирование днища резервуара
при отсутствии центральной трубы
Приказом Ростехрегулирования от 29.11.2007 N 338-ст)
1 - 24 - радиусы; 25 - приемно-раздаточный патрубок;
26 - рейка; 27 - рейка в точке касания днища грузом
рулетки; 28 - горизонт нивелира; 29 - центральная труба;
30 - нивелир; 31, 32 - места установки нивелира;
I - VIII - концентрические окружности;

- высота "мертвой" полости резервуара
Рисунок А.15. Нивелирование днища резервуара
при наличии центральной трубы
Приказом Ростехрегулирования от 29.11.2007 N 338-ст)
1 - измерительный люк; 2 - нивелир; 3 - горизонт нивелира;
4 - резервуар; 5 - рейка, установленная в точке Л;
6 - рейка, установленная в точке А; А, Л - точки
установки рейки; B, C, D - точки отсчета по рейке
Рисунок А.15а. Схема нивелирования нижнего положения
внутренней детали
Приказом Росстандарта от 17.09.2012 N 309-ст)
1 - измерительный люк; 2 - резервуар; 3 - рейка,
установленная в точке Л; 4 - приемно-раздаточный патрубок
(ПРП); 5 - рейка, установленная в точке А; 6 - горизонт
нивелира; 7 - нивелир; А, Л - точки установки рейки;
B, C - точки отсчета по рейке
Рисунок А.15б. Схема нивелирования высоты
"мертвой" полости резервуара
Приказом Росстандарта от 17.09.2012 N 309-ст)
1 - измерительный люк; 2 - резервуар; 3 - рейка,
установленная в точке Л; 4 - приемно-раздаточное устройство
(ПРУ); 5 - рейка, установленная в точке А; 6 - горизонт
нивелира; 7 - нивелир; А, Л - точки установки рейки;
B, C - точки отсчета по рейке
Рисунок А.15в. Схема нивелирования высоты
"мертвой" полости резервуара
Приказом Росстандарта от 17.09.2012 N 309-ст)
1 - кровля резервуара; 2 - измерительный люк;
3 - направляющая планка; 4 - точка измерений уровня
жидкости или базовой высоты резервуара;

- расстояние
между внешней образующей резервуара и измерительного люка;

- расстояние между точкой измерений на планке
измерительного люка и внутренней образующей
измерительного люка
Рисунок А.16. Схема размещения измерительного люка
Приказом Ростехрегулирования от 29.11.2007 N 338-ст)
1 - приемно-раздаточный патрубок; 2 - стенка резервуара;
3 - неровности днища;

- высота неровностей днища;

- высота точки касания днища грузом рулетки;

- высота "мертвой" полости
Рисунок А.17. Схема размещения неровностей днища
в пределах "мертвой" полости
1, 3 - приемно-раздаточные устройства; 2 - стенка
резервуара; 4 - неровности днища; 5 - контур днища;

,

- высоты приемно-раздаточных устройств;

- расстояние
от нижней образующей приемно-раздаточного устройства
до его нижнего или верхнего среза;

- длина
приемно-раздаточного устройства
Рисунок А.17а. Схема размещения
приемно-раздаточных устройств
Приказом Ростехрегулирования от 29.11.2007 N 338-ст)
1 - приемно-раздаточный патрубок; 2 - стенка резервуара;
3 - неровности днища;

- высота неровностей днища;

- высота точки касания днища грузом рулетки;

- высота "мертвой" полости
Рисунок А.18. Схема размещения неровностей днища
за пределами "мертвой" полости
1 - неровности днища; 2 - резервуар; 3 - кровля резервуара;
4 - измерительный люк; 5 - измерительная рулетка с грузом;
6 - точка касания днища грузом рулетки;

- высота точки
касания днища грузом рулетки;

- уровень жидкости,
соответствующий вместимости днища (при наличии наклона
резервуара);

- уровень жидкости от точки касания
днища грузом рулетки до уровня

;

- угол наклона резервуара
Рисунок А.19. Схема наклоненного резервуара при размещении
измерительного люка ближе к опущенному (в результате
наклона резервуара) краю кровли резервуара
1 - понтон с поплавками; 2 - стенка резервуара;
3 - поплавок;

- расстояние от днища резервуара
до нижней части поплавков; d - диаметр поплавка
Рисунок А.20. Схема резервуара с понтоном
с цилиндрическими поплавками
Приказом Росстандарта от 17.09.2012 N 309-ст)
(обязательное)
ФОРМА ПРОТОКОЛА ПОВЕРКИ РЕЗЕРВУАРА ГЕОМЕТРИЧЕСКИМ МЕТОДОМ
Приказом Ростехрегулирования от 29.11.2007 N 338-ст,
Приказом Росстандарта от 17.09.2012 N 309-ст)
поверки резервуара геометрическим методом
Таблица Б.1
Общие данные
┌──────────────┬───────────────┬─────────────────┬────────────────────────┐
│Код документа │Регистрационный│ Дата │Основание для проведения│
│ │ номер ├─────┬─────┬─────┤ поверки │
│ │ │Число│Месяц│ Год │ │
├──────────────┼───────────────┼─────┼─────┼─────┼────────────────────────┤
│ 1 │ 2 │ 3 │ 4 │ 5 │ 6 │
├──────────────┼───────────────┼─────┼─────┼─────┼────────────────────────┤
│ │ │ │ │ │ │
└──────────────┴───────────────┴─────┴─────┴─────┴────────────────────────┘
Продолжение таблицы Б.1
┌────────────────────────────────────┬────────────────────────────────────┐
│ Место проведения поверки │ Средства измерений │
├────────────────────────────────────┼────────────────────────────────────┤
│ 7 │ 8 │
├────────────────────────────────────┼────────────────────────────────────┤
│ │ │
└────────────────────────────────────┴────────────────────────────────────┘
Окончание таблицы Б.1
┌─────────────────────────────────────────────────────────────────────────┐
│ Резервуар │
├────┬─────┬──────────┬──────────────────┬────────────────────────────────┤
│Тип │Номер│Назначение│ Наличие угла │ Погрешность определения │
│ │ │ │ наклона │ вместимости резервуара, % │
├────┼─────┼──────────┼──────────────────┼────────────────────────────────┤
│ 9 │ 10 │ 11 │ 12 │ 13 │
├────┼─────┼──────────┼──────────────────┼────────────────────────────────┤
│ │ │ │ │ │
├────┴─────┴──────────┴──────────────────┴────────────────────────────────┤
│ Примечание. В графе 12 указывают знак "+" при наличии угла наклона,│
│знак "-" - при его отсутствии. │
└─────────────────────────────────────────────────────────────────────────┘
Таблица Б.2
Условия проведения измерений
┌────────────────────────┬────────────────────────┬───────────────────────┐
│Температура воздуха, °C │ Скорость ветра, м/с │ Загазованность, мг/м3 │
├────────────────────────┼────────────────────────┼───────────────────────┤
│ │ │ │
└────────────────────────┴────────────────────────┴───────────────────────┘
Таблица Б.3
Длина окружности первого пояса
В миллиметрах
┌───────────────────┬───────────────────────┬─────────────────────────────┐
│ Номер измерения │ Длина окружности │ Поправка на обход накладок │
├───────────────────┼───────────────────────┼─────────────────────────────┤
│ 1 │ │ │
├───────────────────┼───────────────────────┼─────────────────────────────┤
│ 2 │ │ │
└───────────────────┴───────────────────────┴─────────────────────────────┘
Таблица Б.4
Радиальные отклонения образующих резервуара от вертикали
Номер пояса | Точка измерения | Показание линейки, a, мм |
1 | 2 | 3 | 4 | 5 | 6 | 7 | 8 | 9 | 10 | 11 | 12 | ... | ... | m |
I | 3/4 h1 | | | | | | | | | | | | | | | |
II | H | | | | | | | | | | | | | | | |
C | | | | | | | | | | | | | | | |
B | | | | | | | | | | | | | | | |
III | H | | | | | | | | | | | | | | | |
C | | | | | | | | | | | | | | | |
B | | | | | | | | | | | | | | | |
IV | H | | | | | | | | | | | | | | | |
C | | | | | | | | | | | | | | | |
B | | | | | | | | | | | | | | | |
V | H | | | | | | | | | | | | | | | |
C | | | | | | | | | | | | | | | |
B | | | | | | | | | | | | | | | |
VI | H | | | | | | | | | | | | | | | |
C | | | | | | | | | | | | | | | |
B | | | | | | | | | | | | | | | |
... | | | | | | | | | | | | | | | | |
... | | | | | | | | | | | | | | | | |
n | H | | | | | | | | | | | | | | | |
C | | | | | | | | | | | | | | | |
Примечание. При наличии ребра жесткости, например, в  -м поясе (9.1.2.5): |
а) если ребро жесткости находится в середине пояса, то в строке "C" вносят показание линейки, определенное по формуле |
 , |
где  ,  - показания линейки в точках выше и ниже ребра жесткости; б) если ребро жесткости находится ближе к верхнему или нижнему сварному шву, то среднее расстояние от стенки резервуара до нити отвеса вычисляют по формуле |
 , |
где  - показание линейки в точке выше нижнего (ниже верхнего) сварного шва. |
Таблица Б.4.1
Длины хорд
В миллиметрах
┌─────────────────────────┬───────────────────────────────────────────────┐
│ Уровень отложений хорды │ Хорда │
│ ├─────────────┬─────────────────────────────────┤
│ │ п │ п │
│ │ основная S │ остаточная S │
│ │ 1 │ o │
│ │ ├────────────────┬────────────────┤
│ │ │ 1-е измерение │ 2-е измерение │
├─────────────────────────┼─────────────┼────────────────┼────────────────┤
│ 1600 │ │ │ │
├─────────────────────────┼─────────────┼────────────────┼────────────────┤
│ 1200 │ │ │ │
└─────────────────────────┴─────────────┴────────────────┴────────────────┘
Таблица Б.5
Параметры поверочной и хранимой жидкостей
(нефти и нефтепродуктов)
┌─────────────────────────┬───────────────────────┬───────────────────────┐
│ Плотность жидкости │ Уровень жидкости │ Плотность хранимой │
│при поверке ро , кг/м3 │ при поверке H , мм │ жидкости ро , кг/м3 │
│ ж.г │ г │ ж.х │
├─────────────────────────┼───────────────────────┼───────────────────────┤
│ 1 │ 2 │ 3 │
├─────────────────────────┼───────────────────────┼───────────────────────┤
│ │ │ │
├─────────────────────────┴───────────────────────┴───────────────────────┤
│ Примечание. За значение плотности ро (графа 3) принимают значение│
│ ж.х │
│плотности жидкости при хранении. │
└─────────────────────────────────────────────────────────────────────────┘
Таблица Б.5.1
Радиальные отклонения образующих первого (второго
или третьего для резервуаров с плавающей крышей)
и последнего n-го поясов от вертикали
В миллиметрах
┌──────────────┬──────────────────────────────────────────────────────────┐
│ Номер пояса │ Радиальные отклонения образующих поясов от вертикали │
│ ├────┬─────┬─────┬─────┬─────┬─────┬─────┬─────┬─────┬─────┤
│ │ 1 │ 2 │ 3 │ 4 │ 5 │ 6 │ 7 │ ... │ ... │ m │
├──────────────┼────┼─────┼─────┼─────┼─────┼─────┼─────┼─────┼─────┼─────┤
│I (II или III)│ │ │ │ │ │ │ │ │ │ │
├──────────────┼────┼─────┼─────┼─────┼─────┼─────┼─────┼─────┼─────┼─────┤
│ n │ │ │ │ │ │ │ │ │ │ │
└──────────────┴────┴─────┴─────┴─────┴─────┴─────┴─────┴─────┴─────┴─────┘
Таблица Б.6
Параметры поясов резервуара
┌──────┬───────┬────────┬────────────┬────────┬─────────┬─────────────────┐
│Номер │Высота │Толщина │Толщина слоя│ Высота │ Схема │ Толщина слоя │
│пояса │ пояса │ пояса │слоя краски│нахлеста│ нахлеста│антикоррозионного│
│ │h , мм│дельта ,│ дельта , │h , мм │(+; -; 0)│ покрытия │
│ │ нi │ i │ с.к │ нх │ │ дельта , мм │
│ │ │ мм │ мм │ │ │ с.п │
├──────┼───────┼────────┼────────────┼────────┼─────────┼─────────────────┤
│ 1 │ 2│ 3 │ 4 │ 5 │ 6 │ 7 │
├──────┼───────┼────────┼────────────┼────────┼─────────┼─────────────────┤
│ I │ │ │ │ │ │ │
├──────┼───────┼────────┼────────────┼────────┼─────────┼─────────────────┤
│ II │ │ │ │ │ │ │
├──────┼───────┼────────┼────────────┼────────┼─────────┼─────────────────┤
│ III │ │ │ │ │ │ │
├──────┼───────┼────────┼────────────┼────────┼─────────┼─────────────────┤
│ IV │ │ │ │ │ │ │
├──────┼───────┼────────┼────────────┼────────┼─────────┼─────────────────┤
│ V │ │ │ │ │ │ │
├──────┼───────┼────────┼────────────┼────────┼─────────┼─────────────────┤
│ VI │ │ │ │ │ │ │
├──────┼───────┼────────┼────────────┼────────┼─────────┼─────────────────┤
│ VII │ │ │ │ │ │ │
├──────┼───────┼────────┼────────────┼────────┼─────────┼─────────────────┤
│ VIII │ │ │ │ │ │ │
├──────┼───────┼────────┼────────────┼────────┼─────────┼─────────────────┤
│ IX │ │ │ │ │ │ │
├──────┼───────┼────────┼────────────┼────────┼─────────┼─────────────────┤
│ X │ │ │ │ │ │ │
├──────┼───────┼────────┼────────────┼────────┼─────────┼─────────────────┤
│ XI │ │ │ │ │ │ │
├──────┼───────┼────────┼────────────┼────────┼─────────┼─────────────────┤
│ XII │ │ │ │ │ │ │
├──────┴───────┴────────┴────────────┴────────┴─────────┴─────────────────┤
│ Примечание. В графе 6 указывают знак "+", если текущий пояс включает│
│в себя предшествующий; знак "-", если текущий пояс включается в│
│предшествующий; при сварке встык указывают "0". │
└─────────────────────────────────────────────────────────────────────────┘
Таблица Б.7
Внутренние детали цилиндрической формы
┌────────┬────────────────────────┬──────────────┬──────────────┬─────────┐
│Диаметр,│ Высота от днища, мм │Расстояние от │ Число │Угол фи ,│
│ мм │ │стенки первого│ разбиваний │ 1 │
│ ├───────────┬────────────┤ пояса l , мм ├──────┬───────┤ ...° │
│ │ Нижняя │ Верхняя │ д │ N │ n │ │
│ │ н│ в │ │ o │ o │ │
│ │ граница h │ граница h │ │ │ │ │
│ │ д│ д │ │ │ │ │
├────────┼───────────┼────────────┼──────────────┼──────┼───────┼─────────┤
│ │ │ │ │ │ │ │
├────────┼───────────┼────────────┼──────────────┼──────┼───────┼─────────┤
│ │ │ │ │ │ │ │
└────────┴───────────┴────────────┴──────────────┴──────┴───────┴─────────┘
Таблица Б.7.1
Нивелирование нижней границы внутренней детали
┌───────────┬───────────┬─────────────────┬───────────────────────────────┐
│ Диаметр, │ Объем, │ Верхняя граница │ Отсчет по рейке, мм │
│ мм │ м3 │ в ├─────────┬──────────┬──────────┤
│ │ │ h , мм │ J │ J' │ J" │
│ │ │ д │ л │ д │ д │
├───────────┼───────────┼─────────────────┼─────────┼──────────┼──────────┤
│ 1 │ 2 │ 3 │ 4 │ 5 │ 6 │
├───────────┼───────────┼─────────────────┼─────────┼──────────┼──────────┤
│ │ │ │ │ │ │
├───────────┴───────────┴─────────────────┴─────────┴──────────┴──────────┤
│ Примечания. 1. Графу 3 заполняют только для внутренней детали сложной│
│геометрической формы. │
│ в │
│ 2. Значение h (графа 3) принимают по технической документации на│
│ д │
│резервуар. │
└─────────────────────────────────────────────────────────────────────────┘
Таблица Б.8
Внутренние детали прочей формы
┌───────┬────────────────────────┬──────────────┬───────────────┬─────────┐
│Объем, │ Высота от днища, мм │Расстояние от │ Число │Угол фи ,│
│ м3 │ │стенки первого│ разбиваний │ 1 │
│ ├───────────┬────────────┤ пояса l , мм ├───────┬───────┤ ...° │
│ │ Нижняя │ Верхняя │ д │ N │ n │ │
│ │ н│ в │ │ o │ o │ │
│ │ граница h │ граница h │ │ │ │ │
│ │ д│ д │ │ │ │ │
├───────┼───────────┼────────────┼──────────────┼───────┼───────┼─────────┤
│ │ │ │ │ │ │ │
├───────┼───────────┼────────────┼──────────────┼───────┼───────┼─────────┤
│ │ │ │ │ │ │ │
└───────┴───────────┴────────────┴──────────────┴───────┴───────┴─────────┘
Таблица Б.9
Параметры "мертвой" полости
с приемно-раздаточным патрубком (ПРП)
┌──────────────────────────┬─────────────────────────┬────────────────────┐
│ Высота h , мм, ПРП │ Угол фи , ...°, ПРП │Вместимость V , м3│
│ м.п │ 2 │ м.п │
│ под номером │ под номером │ │
├─────┬──────┬──────┬──────┼─────┬──────┬──────┬─────┤ │
│ 1 │ 2 │ 3 │ 4 │ 1 │ 2 │ 3 │ 4 │ │
├─────┼──────┼──────┼──────┼─────┼──────┼──────┼─────┼────────────────────┤
│ 1 │ 2 │ 3 │ 4 │ 5 │ 6 │ 7 │ 8 │ 9 │
├─────┼──────┼──────┼──────┼─────┼──────┼──────┼─────┼────────────────────┤
│ │ │ │ │ │ │ │ │ │
├─────┴──────┴──────┴──────┴─────┴──────┴──────┴─────┴────────────────────┤
│ Примечание. Графу 9 заполняют только при определении вместимости│
│"мертвой" полости объемным методом и принятие вместимости "мертвой"│
└─────────────────────────────────────────────────────────────────────────┘
Таблица Б.9.1
Параметры "мертвой" полости
с приемно-раздаточным устройством (ПРУ)
┌───────────────┬───────────────┬─────────────┬──────────────┬────────────┐
│ Высота │Расстояние h , │ Длина l , │ Угол фи , │Вместимость │
│ установки h , │ с │ с │ 2 │ V , м3 │
│ у │ мм, ПРУ │ мм, ПРУ │ ...°, ПРУ │ м.п │
│ мм, ПРУ │ под номером │ под номером │ под номером │ │
│ под номером │ │ │ │ │
├───────┬───────┼───────┬───────┼──────┬──────┼──────┬───────┤ │
│ 1 │ 2 │ 1 │ 2 │ 1 │ 2 │ 1 │ 2 │ │
├───────┼───────┼───────┼───────┼──────┼──────┼──────┼───────┼────────────┤
│ 1 │ 2 │ 3 │ 4 │ 5 │ 6 │ 7 │ 8 │ 9 │
├───────┼───────┼───────┼───────┼──────┼──────┼──────┼───────┼────────────┤
│ │ │ │ │ │ │ │ │ │
├───────┴───────┴───────┴───────┴──────┴──────┴──────┴───────┴────────────┤
│ Примечание. Число граф в зависимости от числа приемно-раздаточных│
│устройств может быть увеличено. │
└─────────────────────────────────────────────────────────────────────────┘
Таблица Б.9.2
Параметры местных неровностей (хлопунов)
┌─────────────────────────────────────────────────────────────────────────┐
│ Хлопун │
├────────────────────────┬───────────────────────┬────────────────────────┤
│ Длина l │ Ширина b │ Высота h │
│ х │ х │ х │
├────────────────────────┼───────────────────────┼────────────────────────┤
│ │ │ │
├────────────────────────┼───────────────────────┼────────────────────────┤
│ │ │ │
├────────────────────────┼───────────────────────┼────────────────────────┤
│ │ │ │
└────────────────────────┴───────────────────────┴────────────────────────┘
Таблица Б.9.3
Нивелирование высоты "мертвой" полости резервуара с ПРП
┌─────────────┬──────────────────────────────────────┬────────────────────┐
│ Номер ПРП │ Отсчет по рейке, мм │ Вместимость V , │
│ ├────────────┬────────────┬────────────┤ м.п │
│ │ │ п │ п │ м3 │
│ │ J │ (J' ) │ (J" ) │ │
│ │ л │ м.п │ м.п │ │
│ │ │ │ │ │
├─────────────┼────────────┼────────────┼────────────┼────────────────────┤
│ 1 │ 2 │ 3 │ 4 │ 5 │
├─────────────┼────────────┼────────────┼────────────┼────────────────────┤
│ │ │ │ │ │
├─────────────┼────────────┼────────────┼────────────┼────────────────────┤
│ │ │ │ │ │
├─────────────┼────────────┼────────────┼────────────┼────────────────────┤
│ │ │ │ │ │
├─────────────┴────────────┴────────────┴────────────┴────────────────────┤
│ Примечания. 1. Графу 5 заполняют при определении вместимости│
│"мертвой" полости объемным методом. │
│ 2. Обозначение "п" соответствует термину "патрубок". │
└─────────────────────────────────────────────────────────────────────────┘
Таблица Б.9.4
Нивелирование высоты "мертвой" полости резервуара с ПРУ
┌─────────────┬──────────────────────────────────────┬────────────────────┐
│ Номер ПРУ │ Отсчет по рейке, мм │ Вместимость V , │
│ ├────────────┬────────────┬────────────┤ м.п │
│ │ │ у │ у │ м3 │
│ │ J │ (J' ) │ (J" ) │ │
│ │ л │ м.п │ м.п │ │
├─────────────┼────────────┼────────────┼────────────┼────────────────────┤
│ 1 │ 2 │ 3 │ 4 │ 5 │
├─────────────┼────────────┼────────────┼────────────┼────────────────────┤
│ │ │ │ │ │
├─────────────┼────────────┼────────────┼────────────┼────────────────────┤
│ │ │ │ │ │
├─────────────┼────────────┼────────────┼────────────┼────────────────────┤
│ │ │ │ │ │
├─────────────┴────────────┴────────────┴────────────┴────────────────────┤
│ Примечания. 1. Графу 5 заполняют при определении вместимости│
│"мертвой" полости объемным методом. │
│ 2. Обозначение "у" (графы 3, 4) соответствует термину "устройство". │
└─────────────────────────────────────────────────────────────────────────┘
Таблица Б.10
Неровности днища
В миллиметрах
┌───────┬─────┬───────────────────────────────────────────────────────────┐
│ Номер │Номер│ Отсчет по рейке при установлении ее в точках │
│радиуса│изме-│ концентрической окружности │
│ │рения├─────┬─────┬─────┬──────┬──────┬──────┬──────┬──────┬──────┤
│ │ │ 0 │ I │ II │ III │ IV │ V │ VI │ VII │ VIII │
├───────┼─────┼─────┼─────┼─────┼──────┼──────┼──────┼──────┼──────┼──────┤
│ 1 │ 2 │ 3 │ 4 │ 5 │ 6 │ 7 │ 8 │ 9 │ 10 │ 11 │
├───────┼─────┼─────┼─────┼─────┼──────┼──────┼──────┼──────┼──────┼──────┤
│ 1 │ 1 │ │ │ │ │ │ │ │ │ │
│ ├─────┼─────┼─────┼─────┼──────┼──────┼──────┼──────┼──────┼──────┤
│ │ 2 │ │ │ │ │ │ │ │ │ │
├───────┼─────┼─────┼─────┼─────┼──────┼──────┼──────┼──────┼──────┼──────┤
│ 2 │ 1 │ │ │ │ │ │ │ │ │ │
│ ├─────┼─────┼─────┼─────┼──────┼──────┼──────┼──────┼──────┼──────┤
│ │ 2 │ │ │ │ │ │ │ │ │ │
├───────┼─────┼─────┼─────┼─────┼──────┼──────┼──────┼──────┼──────┼──────┤
│ 3 │ 1 │ │ │ │ │ │ │ │ │ │
│ ├─────┼─────┼─────┼─────┼──────┼──────┼──────┼──────┼──────┼──────┤
│ │ 2 │ │ │ │ │ │ │ │ │ │
├───────┼─────┼─────┼─────┼─────┼──────┼──────┼──────┼──────┼──────┼──────┤
│ 4 │ 1 │ │ │ │ │ │ │ │ │ │
│ ├─────┼─────┼─────┼─────┼──────┼──────┼──────┼──────┼──────┼──────┤
│ │ 2 │ │ │ │ │ │ │ │ │ │
├───────┼─────┼─────┼─────┼─────┼──────┼──────┼──────┼──────┼──────┼──────┤
│ 5 │ 1 │ │ │ │ │ │ │ │ │ │
│ ├─────┼─────┼─────┼─────┼──────┼──────┼──────┼──────┼──────┼──────┤
│ │ 2 │ │ │ │ │ │ │ │ │ │
├───────┼─────┼─────┼─────┼─────┼──────┼──────┼──────┼──────┼──────┼──────┤
│ 6 │ 1 │ │ │ │ │ │ │ │ │ │
│ ├─────┼─────┼─────┼─────┼──────┼──────┼──────┼──────┼──────┼──────┤
│ │ 2 │ │ │ │ │ │ │ │ │ │
├───────┼─────┼─────┼─────┼─────┼──────┼──────┼──────┼──────┼──────┼──────┤
│ 7 │ 1 │ │ │ │ │ │ │ │ │ │
│ ├─────┼─────┼─────┼─────┼──────┼──────┼──────┼──────┼──────┼──────┤
│ │ 2 │ │ │ │ │ │ │ │ │ │
├───────┼─────┼─────┼─────┼─────┼──────┼──────┼──────┼──────┼──────┼──────┤
│ 24 │ 1 │ │ │ │ │ │ │ │ │ │
│ ├─────┼─────┼─────┼─────┼──────┼──────┼──────┼──────┼──────┼──────┤
│ │ 2 │ │ │ │ │ │ │ │ │ │
├───────┴─────┴─────┴─────┴─────┴──────┴──────┴──────┴──────┴──────┴──────┤
│ Примечания. 1. Четные номера строк (графа 2) заполняют только при│
│наличии центральной трубы. │
│ 2. При наличии центральной трубы вносят (графа 3) показания рейки,│
│устанавливаемой в точках пересечения радиусов и образующих центральной│
│трубы. │
│ 3. При отсутствии центральной трубы вносят (графа 3) значение b . │
│ 0 │
└─────────────────────────────────────────────────────────────────────────┘
Таблица Б.11
Высота превышения точки касания днища грузом рулетки
и диаметр центральной трубы
В миллиметрах
┌──────────────────────────────────────────────┬──────────────────────────┐
│Отсчет по рейке в точке касания днища грузом │Диаметр центральной трубы │
│ рулетки │ │
├──────────────────────┬───────────────────────┤ │
│ 1-е измерение │ 2-е измерение │ │
├──────────────────────┼───────────────────────┼──────────────────────────┤
│ │ │ │
└──────────────────────┴───────────────────────┴──────────────────────────┘
Таблица Б.12
Координата точки измерений уровня жидкости
и базовой высоты резервуара
В миллиметрах
┌──────────────────┬──────────────────┬─────────────────┬─────────────────┐
│ l │ l │ d │ d │
│ 1 │ 2 │ н │ вн │
├──────────────────┼──────────────────┼─────────────────┼─────────────────┤
│ │ │ │ │
└──────────────────┴──────────────────┴─────────────────┴─────────────────┘
Таблица Б.13
Базовая высота резервуара
В миллиметрах
┌───────────────────────────────────────────────┬─────────────────────────┐
│ Точка измерения базовой высоты H │ Номер измерения │
│ б ├────────────┬────────────┤
│ │ 1 │ 2 │
├───────────────────────────────────────────────┼────────────┼────────────┤
│Риска измерительного люка │ │ │
├───────────────────────────────────────────────┼────────────┼────────────┤
│Верхний срез измерительного люка │ │ │
└───────────────────────────────────────────────┴────────────┴────────────┘
Степень наклона и угол
приближенного направления наклона резервуара
┌─────────────────┬─────────────────┬─────────────────┬───────────────────┐
│ Номер точки │ Отсчет по рейке │ Номер точки │ Отсчет по рейке │
│ разбивки k от 1 │ l , мм │ разбивки k от │ l , мм │
│ до m/2 │ k │ (m/2 + l) до m │ k │
├─────────────────┼─────────────────┼─────────────────┼───────────────────┤
│ 1 │ 2 │ 3 │ 4 │
├─────────────────┼─────────────────┼─────────────────┼───────────────────┤
│ 1 │ l │ m/2 + l │ l │
│ │ 1 │ │ (m/2 + 1)│
├─────────────────┼─────────────────┼─────────────────┼───────────────────┤
│ 1 │ 2 │ 3 │ 4 │
├─────────────────┼─────────────────┼─────────────────┼───────────────────┤
│ 2 │ l │ m/2 + 2 │ l │
│ │ 2 │ │ (m/2 + 2)│
├─────────────────┼─────────────────┼─────────────────┼───────────────────┤
│ 3 │ l │ m/2 + 3 │ l │
│ │ 3 │ │ (m/2 + 3)│
├─────────────────┼─────────────────┼─────────────────┼───────────────────┤
│ ... │ ... │ ... │ │
├─────────────────┼─────────────────┼─────────────────┼───────────────────┤
│ ... │ ... │ ... │ │
├─────────────────┼─────────────────┼─────────────────┼───────────────────┤
│ ... │ ... │ ... │ │
├─────────────────┼─────────────────┼─────────────────┼───────────────────┤
│ ... │ ... │ ... │ │
├─────────────────┼─────────────────┼─────────────────┼───────────────────┤
│ ... │ ... │ ... │ │
├─────────────────┼─────────────────┼─────────────────┼───────────────────┤
│ ... │ ... │ ... │ │
├─────────────────┼─────────────────┼─────────────────┼───────────────────┤
│ m/2 │ l │ m │ l │
│ │ (m/2) │ │ m │
├─────────────────┴─────────────────┴─────────────────┴───────────────────┤
│ Примечания. 1. k (графы 1, 3) - номер разбивки длины окружности│
│первого пояса резервуара, выбирают из ряда: 1, 2, 3, ..., m. │
│ 2. l (графы 2, 4) - отсчеты по рейке в точках разбивки k. │
│ k │
└─────────────────────────────────────────────────────────────────────────┘
Таблица Б.14.1
Степень наклона и угол
уточненного направления наклона резервуара
┌──────────────┬─────────────────────┬──────────────┬─────────────────────┐
│Значение угла │ Показание рейки по │Значение угла │ Показание рейки по │
│ n при │ правой разбивке l , │ n при │ правой разбивке l , │
│ 2 │ п │ 2 │ л │
│ N = ... │ мм │ N = ... │ мм │
│ п ├──────────┬──────────┤ л ├──────────┬──────────┤
│ │ l' │ l" │ │ l' │ l" │
│ │ п │ п │ │ л │ л │
├──────────────┼──────────┼──────────┼──────────────┼──────────┼──────────┤
│ 1 │ 2 │ 3 │ 4 │ 5 │ 6 │
├──────────────┼──────────┼──────────┼──────────────┼──────────┼──────────┤
│ -1° │ │ │ +1° │ │ │
├──────────────┼──────────┼──────────┼──────────────┼──────────┼──────────┤
│ -2° │ │ │ +2° │ │ │
├──────────────┼──────────┼──────────┼──────────────┼──────────┼──────────┤
│ -3° │ │ │ +3° │ │ │
├──────────────┼──────────┼──────────┼──────────────┼──────────┼──────────┤
│ -4° │ │ │ +4° │ │ │
├──────────────┼──────────┼──────────┼──────────────┼──────────┼──────────┤
│ -5° │ │ │ +5° │ │ │
├──────────────┼──────────┼──────────┼──────────────┼──────────┼──────────┤
│ -6° │ │ │ +6° │ │ │
├──────────────┼──────────┼──────────┼──────────────┼──────────┼──────────┤
│ -7° │ │ │ +7° │ │ │
├──────────────┼──────────┼──────────┼──────────────┼──────────┼──────────┤
│ -8° │ │ │ +8° │ │ │
├──────────────┼──────────┼──────────┼──────────────┼──────────┼──────────┤
│ -9° │ │ │ +9° │ │ │
├──────────────┼──────────┼──────────┼──────────────┼──────────┼──────────┤
│ -10° │ │ │ +10° │ │ │
├──────────────┼──────────┼──────────┼──────────────┼──────────┼──────────┤
│ -11° │ │ │ +11° │ │ │
├──────────────┼──────────┼──────────┼──────────────┼──────────┼──────────┤
│ -12° │ │ │ +12° │ │ │
├──────────────┼──────────┼──────────┼──────────────┼──────────┼──────────┤
│ -13° │ │ │ +13° │ │ │
├──────────────┼──────────┼──────────┼──────────────┼──────────┼──────────┤
│ -14° │ │ │ +14° │ │ │
├──────────────┴──────────┴──────────┴──────────────┴──────────┴──────────┤
│ Примечания. 1. В графах 1, 4 вносят числа разбивок N , N (например│
│ п л │
│N = 17). │
│ п │
│ 2. l', l" (графы 2, 3) - показания рейки по правым противоположным│
│ п п │
│разбивкам. │
│ 3. l', l" (графы 5, 6) - показания рейки по левым противоположным│
│ л л │
│разбивкам. │
└─────────────────────────────────────────────────────────────────────────┘
Таблица Б.15
Плавающее покрытие
┌───────────────┬───────────────┬─────────────────────────────────────────┐
│ Масса m , кг │Диаметр D , мм │ Расстояние от днища резервуара │
│ п │ п │ при крайнем положении, мм │
│ │ ├────────────────────┬────────────────────┤
│ │ │ нижнем h │ верхнем h' │
│ │ │ п │ п │
├───────────────┼───────────────┼────────────────────┼────────────────────┤
│ 1 │ 2 │ 3 │ 4 │
├───────────────┼───────────────┼────────────────────┼────────────────────┤
│ │ │ │ │
├───────────────┼───────────────┼────────────────────┼────────────────────┤
│ │ │ │ │
└───────────────┴───────────────┴────────────────────┴────────────────────┘
Окончание таблицы Б.15
┌───────────────┬─────────────────────────┬───────────────┬───────────────┐
│ Диаметр │ Параметры опоры │ Уровень │Объем жидкости │
│ отверстия, мм │ │ жидкости в │ в момент │
├─────┬─────┬───┼────────┬───────┬────────┤момент всплытия│ всплытия V ,│
│ D │ D │ D │Диаметр,│Число, │Высота, │ H , мм │ всп │
│ 1 │ 2 │ 3│ мм │ шт. │ мм │ всп │ м3 │
├─────┼─────┼───┼────────┼───────┼────────┼───────────────┼───────────────┤
│ 5 │ 6 │ 7 │ 8 │ 9 │ 10 │ 11 │ 12 │
├─────┼─────┼───┼────────┼───────┼────────┼───────────────┼───────────────┤
│ │ │ │ │ │ │ │ │
├─────┴─────┴───┴────────┴───────┴────────┴───────────────┴───────────────┤
│ Примечания. 1. Если опоры плавающего покрытия приварены к днищу│
│резервуара, то их относят к числу внутренних деталей. │
│ 2. Графы 11 и 12 заполняют только при применении объемного метода. │
└─────────────────────────────────────────────────────────────────────────┘
Таблица Б.15.1
Понтон с поплавками цилиндрической формы
┌─────────┬─────────┬────────────────┬─────────────┬──────────────────────┐
│Масса m ,│ Диаметр │Суммарная длина │ Диаметр │ Расстояние от днища │
│ п │поплавка │ поплавков L , │отверстия, мм│ резервуара при │
│ кг │ d, мм │ п │ │ крайнем положении │
│ │ │ мм │ │ поплавков, мм │
│ │ │ ├────┬───┬────┼──────────┬───────────┤
│ │ │ │ D │ D │ D │нижнем h │верхнем h' │
│ │ │ │ 1 │ 2│ 3 │ п │ п │
├─────────┼─────────┼────────────────┼────┼───┼────┼──────────┼───────────┤
│ 1 │ 2 │ 3 │ 4 │ 5 │ 6 │ 7 │ 8 │
├─────────┼─────────┼────────────────┼────┼───┼────┼──────────┼───────────┤
│ │ │ │ │ │ │ │ │
└─────────┴─────────┴────────────────┴────┴───┴────┴──────────┴───────────┘
Окончание таблицы Б.15.1
┌────────────────────────────────┬───────────────────┬────────────────────┐
│ Параметр опоры │ Уровень жидкости │ Объем жидкости │
├──────────┬──────────┬──────────┤ в момент всплытия │ в момент всплытия │
│ Диаметр, │ Число, │ Высота, │ H , мм │ V , м3 │
│ мм │ шт. │ мм │ всп │ всп │
├──────────┼──────────┼──────────┼───────────────────┼────────────────────┤
│ 9 │ 10 │ 11 │ 12 │ 13 │
├──────────┼──────────┼──────────┼───────────────────┼────────────────────┤
│ │ │ │ │ │
├──────────┴──────────┴──────────┴───────────────────┴────────────────────┤
│ Примечания. 1. Если опоры понтона приварены к днищу резервуара, то│
│их относят к числу внутренних деталей. │
│ 2. Графы 12, 13 заполняют при применении объемного метода. │
└─────────────────────────────────────────────────────────────────────────┘
Таблица Б.16
Высота газового пространства в плавающей крыше
В миллиметрах
┌─────────────────────────────────────────────────────┬───────────────────┐
│ п │ │
│ Точка измерения высоты газового пространства h │ Номер измерения │
│ г ├─────────┬─────────┤
│ │ 1 │ 2 │
├─────────────────────────────────────────────────────┼─────────┼─────────┤
│Риска измерительного люка │ │ │
├─────────────────────────────────────────────────────┼─────────┼─────────┤
│Верхний срез измерительного люка │ │ │
└─────────────────────────────────────────────────────┴─────────┴─────────┘
Должности Подписи и оттиски Инициалы, фамилии
поверительного клейма,
печатей (штампов)
(обязательное)
ФОРМА ПРОТОКОЛА ПОВЕРКИ РЕЗЕРВУАРА ОБЪЕМНЫМ МЕТОДОМ
Приказом Ростехрегулирования от 29.11.2007 N 338-ст)
поверки резервуара объемным методом
Таблица В.1
Общие данные
┌──────────────┬───────────────┬─────────────────┬────────────────────────┐
│Код документа │Регистрационный│ Дата │Основание для проведения│
│ │ номер ├─────┬─────┬─────┤ поверки │
│ │ │число│месяц│ год │ │
├──────────────┼───────────────┼─────┼─────┼─────┼────────────────────────┤
│ │ │ │ │ │ │
└──────────────┴───────────────┴─────┴─────┴─────┴────────────────────────┘
Продолжение таблицы В.1
┌────────────────────────────────────┬────────────────────────────────────┐
│ Место проведения поверки │ Средства поверки │
├────────────────────────────────────┼────────────────────────────────────┤
│ │ │
└────────────────────────────────────┴────────────────────────────────────┘
Окончание таблицы В.1
┌───────────────────┬─────────────────┬───────────────────────────────────┐
│ Тип резервуара │Номер резервуара │Погрешность определения вместимости│
│ │ │ резервуара, % │
├───────────────────┼─────────────────┼───────────────────────────────────┤
│ │ │ │
└───────────────────┴─────────────────┴───────────────────────────────────┘
Таблица В.2
Условия проведения измерений
┌────────────────────────┬────────────────────────┬───────────────────────┐
│Температура воздуха, °C │ Скорость ветра, м/с │ Загазованность, мг/м3 │
├────────────────────────┼────────────────────────┼───────────────────────┤
│ │ │ │
└────────────────────────┴────────────────────────┴───────────────────────┘
Таблица В.3
Величины, измеряемые в "мертвой" полости
┌───────────────┬───────────────┬─────────────────────────────────────────┐
│Высота h , мм│Угол фи , ...°,│ Отчет по рейке в точке, мм │
│ м.п │ 2 ├────────────────────┬────────────────────┤
│ПРП под номером│ПРП под номером│касания днища грузом│ пересечения 1-го │
│ │ │ рулетки b │ радиуса и 8-й │
├───┬───┬───┬───┼───┬───┬───┬───┤ л │ окружности b │
│ 1 │ 2 │ 3 │ 4 │ 1 │ 2 │ 3 │ 4 │ │ 8.1 │
├───┼───┼───┼───┼───┼───┼───┼───┼────────────────────┼────────────────────┤
│ │ │ │ │ │ │ │ │ │ │
└───┴───┴───┴───┴───┴───┴───┴───┴────────────────────┴────────────────────┘
Таблица В.4
Параметры (начальные) поверочной жидкости
┌─────────────┬───────────────────────────┬───────────────┬───────────────┐
│Наименование │ Температура, °C │Плотность ро , │ Коэффициент │
│ поверочной ├───────────────┬───────────┤ 0 │ сжимаемости │
│ жидкости │ в резервуаре │в счетчике │ кг/м3 │ гамма, 1/МПа │
│ │ (T ) │ жидкости │ │ │
│ │ р 0 │ (T ) │ │ │
│ │ │ т 0 │ │ │
├─────────────┼───────────────┼───────────┼───────────────┼───────────────┤
│ 1 │ 2 │ 3 │ 4 │ 5 │
├─────────────┼───────────────┼───────────┼───────────────┼───────────────┤
│ │ │ │ │ │
├─────────────┴───────────────┴───────────┴───────────────┴───────────────┤
│ Примечания. 1. (T ) , (T ) (графы 2, 3) - температуры поверочной│
│ р 0 т 0 │
│жидкости, измеренные в момент отбора пробы в соответствии с
9.2.2.4│
│настоящего стандарта. │
│ 2. Значение гамма (графа 5) для воды принимают равным 49 1/МПа, для│
│нефти - по
[5], для нефтепродуктов - по
[6]. │
└─────────────────────────────────────────────────────────────────────────┘
Таблица В.5
Степень наклона и угол
приближенного направления наклона резервуара
┌─────────────────┬─────────────────┬─────────────────┬───────────────────┐
│ Номер точки │ Отсчет по рейке │ Номер точки │ Отсчет по рейке │
│ разбивки k от 1 │ l , мм │ разбивки k от │ l , мм │
│ до m/2 │ k │ (m/2 + l) до m │ k │
├─────────────────┼─────────────────┼─────────────────┼───────────────────┤
│ 1 │ 2 │ 3 │ 4 │
├─────────────────┼─────────────────┼─────────────────┼───────────────────┤
│ 1 │ l │ m/2 + 1 │ l │
│ │ 1 │ │ (m/2 + 1)│
├─────────────────┼─────────────────┼─────────────────┼───────────────────┤
│ 2 │ l │ m/2 + 2 │ l │
│ │ 2 │ │ (m/2 + 2)│
├─────────────────┼─────────────────┼─────────────────┼───────────────────┤
│ 3 │ l │ m/2 + 3 │ l │
│ │ 3 │ │ (m/2 + 3)│
├─────────────────┼─────────────────┼─────────────────┼───────────────────┤
│ ... │ ... │ ... │ │
├─────────────────┼─────────────────┼─────────────────┼───────────────────┤
│ ... │ ... │ ... │ │
├─────────────────┼─────────────────┼─────────────────┼───────────────────┤
│ ... │ ... │ ... │ │
├─────────────────┼─────────────────┼─────────────────┼───────────────────┤
│ ... │ ... │ ... │ │
├─────────────────┼─────────────────┼─────────────────┼───────────────────┤
│ ... │ ... │ ... │ │
├─────────────────┼─────────────────┼─────────────────┼───────────────────┤
│ ... │ ... │ ... │ │
├─────────────────┼─────────────────┼─────────────────┼───────────────────┤
│ m/2 │ l │ m │ l │
│ │ (m/2) │ │ m │
├─────────────────┴─────────────────┴─────────────────┴───────────────────┤
│ Примечания. 1. k (графы 1, 3) - номер разбивки длины окружности│
│первого пояса резервуара, выбирают из ряда: 1, 2, 3, ..., m. │
│ 2. l (графы 2, 4) - отсчеты по рейке в точках разбивки k. │
│ k │
└─────────────────────────────────────────────────────────────────────────┘
Таблица В.5.1
Степень наклона и угол
уточненного направления наклона резервуара
┌──────────────┬─────────────────────┬──────────────┬─────────────────────┐
│Значение угла │ Показание рейки по │Значение угла │ Показание рейки по │
│ n при │ правой разбивке l , │ n при │ правой разбивке l , │
│ 2 │ п │ 2 │ л │
│ N = ... │ мм │ N = ... │ мм │
│ п ├──────────┬──────────┤ л ├──────────┬──────────┤
│ │ l' │ l" │ │ l' │ l" │
│ │ п │ п │ │ л │ л │
├──────────────┼──────────┼──────────┼──────────────┼──────────┼──────────┤
│ 1 │ 2 │ 3 │ 4 │ 5 │ 6 │
├──────────────┼──────────┼──────────┼──────────────┼──────────┼──────────┤
│ -1° │ │ │ +1° │ │ │
├──────────────┼──────────┼──────────┼──────────────┼──────────┼──────────┤
│ -2° │ │ │ +2° │ │ │
├──────────────┼──────────┼──────────┼──────────────┼──────────┼──────────┤
│ -3° │ │ │ +3° │ │ │
├──────────────┼──────────┼──────────┼──────────────┼──────────┼──────────┤
│ -4° │ │ │ +4° │ │ │
├──────────────┼──────────┼──────────┼──────────────┼──────────┼──────────┤
│ -5° │ │ │ +5° │ │ │
├──────────────┼──────────┼──────────┼──────────────┼──────────┼──────────┤
│ -6° │ │ │ +6° │ │ │
├──────────────┼──────────┼──────────┼──────────────┼──────────┼──────────┤
│ -7° │ │ │ +7° │ │ │
├──────────────┼──────────┼──────────┼──────────────┼──────────┼──────────┤
│ -8° │ │ │ +8° │ │ │
├──────────────┼──────────┼──────────┼──────────────┼──────────┼──────────┤
│ -9° │ │ │ +9° │ │ │
├──────────────┼──────────┼──────────┼──────────────┼──────────┼──────────┤
│ -10° │ │ │ +10° │ │ │
├──────────────┼──────────┼──────────┼──────────────┼──────────┼──────────┤
│ -11° │ │ │ +11° │ │ │
├──────────────┼──────────┼──────────┼──────────────┼──────────┼──────────┤
│ -12° │ │ │ +12° │ │ │
├──────────────┼──────────┼──────────┼──────────────┼──────────┼──────────┤
│ -13° │ │ │ +13° │ │ │
├──────────────┼──────────┼──────────┼──────────────┼──────────┼──────────┤
│ -14° │ │ │ +14° │ │ │
├──────────────┼──────────┼──────────┼──────────────┼──────────┼──────────┤
│ -15° │ │ │ +15° │ │ │
├──────────────┼──────────┼──────────┼──────────────┼──────────┼──────────┤
│ -16° │ │ │ +16° │ │ │
├──────────────┴──────────┴──────────┴──────────────┴──────────┴──────────┤
│ Примечания. 1. В головках граф 1, 4 вносят числа разбивок N , N │
│ п л│
│(например N = 17). │
│ п │
│ │
│ 2. l', l" (графы 2, 3) - показания рейки по правым противоположным│
│ п п │
│разбивкам. │
│ 3. l', l" (графы 5, 6) - показания рейки по левым противоположным │
│ л л │
│разбивкам. │
└─────────────────────────────────────────────────────────────────────────┘
Текущие значения параметров поверочной жидкости
┌─────┬─────────────────┬───────┬───────────────────┬──────────┬──────────┐
│Номер│ Объем дозы │Уровень│ Температура │Избыточное│Расход Q, │
│изме-│ c │H , мм │ жидкости, °C │ давление │ дм3/мин, │
│рения│ (Дельта V ) , │ j ├──────────┬────────┤в счетчике│(дм3/имп.)│
│ │ j │ │ в │ в │ жидкости │ │
│ │ дм3, │ │резервуаре│счетчике│ ро , МПа │ │
│ │ или показание │ │ (Т ) │жидкости│ j │ │
│ │счетчика жидкости│ │ р j │ (Т ) │ │ │
│ │ q , дм3 │ │ │ т j │ │ │
│ │ j │ │ │ │ │ │
│ │ │ │ │ │ │ │
│ │ (N , имп.) │ │ │ │ │ │
│ │ j │ │ │ │ │ │
├─────┼─────────────────┼───────┼──────────┼────────┼──────────┼──────────┤
│ 1 │ 2 │ 3 │ 4 │ 5 │ 6 │ 7 │
├─────┼─────────────────┼───────┼──────────┼────────┼──────────┼──────────┤
│ 1 │ │ │ │ │ │ │
├─────┼─────────────────┼───────┼──────────┼────────┼──────────┼──────────┤
│ 2 │ │ │ │ │ │ │
├─────┼─────────────────┼───────┼──────────┼────────┼──────────┼──────────┤
│3 <*>│ │ │ │ │ │ │
├─────┼─────────────────┼───────┼──────────┼────────┼──────────┼──────────┤
│ 4 │ │ │ │ │ │ │
├─────┼─────────────────┼───────┼──────────┼────────┼──────────┼──────────┤
│5 <*>│ │ │ │ │ │ │
├─────┼─────────────────┼───────┼──────────┼────────┼──────────┼──────────┤
│ ... │ │ │ │ │ │ │
├─────┼─────────────────┼───────┼──────────┼────────┼──────────┼──────────┤
│ ... │ │ │ │ │ │ │
├─────┼─────────────────┼───────┼──────────┼────────┼──────────┼──────────┤
│ ... │ │ │ │ │ │ │
├─────┴─────────────────┴───────┴──────────┴────────┴──────────┴──────────┤
│ <*> Номера измерений, выделяемые только для счетчиков жидкости│
│с проскоком и только при применении статического метода измерений│
│объема дозы жидкости. │
└─────────────────────────────────────────────────────────────────────────┘
Таблица В.7
Базовая высота резервуара
В миллиметрах
┌────────────────────────────────────┬────────────────────────────────────┐
│ Базовая высота резервуара до │ Базовая высота резервуара после │
│определения вместимости резервуара │определения вместимости резервуара │
├─────────────────┬──────────────────┼─────────────────┬──────────────────┤
│ │ │ │ │
├─────────────────┼──────────────────┼─────────────────┼──────────────────┤
│ │ │ │ │
└─────────────────┴──────────────────┴─────────────────┴──────────────────┘
Таблица В.8
Максимальный уровень жидкости
В миллиметрах
┌─────────────────────────────────────────────────────┬───────────────────┐
│ Показание измерительной рулетки с грузом H │ Показание H │
│ р max │ у max│
├──────────────────────────┬──────────────────────────┤ │
│ 1-е измерение │ 2-е измерение │ │
├──────────────────────────┼──────────────────────────┼───────────────────┤
│ │ │ │
└──────────────────────────┴──────────────────────────┴───────────────────┘
Таблица В.9
Параметры коэффициента преобразования счетчика жидкости
┌─────────────────────────────────────────────────────────────────────────┐
│ Коэффициент │
├────────────────────────────────────┬────────────────────────────────────┤
│ K , имп./дм3 │ A, имп. x с/дм3 │
│ 0 │ │
├────────────────────────────────────┼────────────────────────────────────┤
│ │ │
└────────────────────────────────────┴────────────────────────────────────┘
Должности Подписи и оттиски Инициалы, Фамилии
поверительного клейма, печатей
(штампов)
Таблица В.9.1
Параметры счетчика жидкости
со сдвигом дозирования и проскоком
┌─────────────────────────┬───────────────────────────────────────────────┐
│ Наименование параметра │ Значение параметра при расходе Q, дм3/мин │
│ ├───────────┬───────────┬───────────┬───────────┤
│ │ 100 │ 150 │ 200 │ 250 │
├─────────────────────────┼───────────┼───────────┼───────────┼───────────┤
│Сдвиг дозирования С, дм3 │ │ │ │ │
├─────────────────────────┼───────────┼───────────┼───────────┼───────────┤
│Проскок Пр, дм3 │ │ │ │ │
└─────────────────────────┴───────────┴───────────┴───────────┴───────────┘
(обязательное)
ОБРАБОТКА РЕЗУЛЬТАТОВ ИЗМЕРЕНИЙ ПРИ ПОВЕРКЕ
РЕЗЕРВУАРА ГЕОМЕТРИЧЕСКИМ МЕТОДОМ
Г.1. Вычисление длины внутренней окружности и высоты первого пояса
Г.1.1. Длину наружной окружности первого пояса

вычисляют по формуле
<1>

, (Г.1)
где

,

- результаты двух измерений длины окружности первого пояса;

- поправка на обход j-й выступающей детали;

- число выступающих деталей.
--------------------------------
<1> Все расчеты проводят до 8-й значащей цифры, затем результат округляют для длин до целого числа миллиметров, для объемов - до целого числа тысячных долей метра кубического. Во всех формулах значения линейных размеров указывают в миллиметрах, объемы - в метрах кубических, массу - в килограммах, температуру - в градусах Цельсия, плотность - в килограммах на метр кубический.
Г.1.2. Длину внутренней окружности первого пояса

вычисляют по формуле

, (Г.2)
Приказом Ростехрегулирования от 29.11.2007 N 338-ст)
где

- толщина стенки первого пояса;

- толщина слоя краски;

- толщина слоя антикоррозийного покрытия.
(абзац введен
Изменением N 1, введенным в действие Приказом Ростехрегулирования от 29.11.2007 N 338-ст)
Г.1.3. Если при поверке в резервуаре находится жидкость, то длину внутренней окружности первого пояса, недеформированного от действия гидростатического давления жидкости,

вычисляют по формуле

, (Г.3)
где

(здесь и далее везде);

- увеличение радиуса первого пояса, вызванное гидростатическим давлением жидкости, вычисляемое по формуле

, (Г.4)
где g - ускорение свободного падения, равное 9,8066 м/с2;

- плотность жидкости, находящейся в резервуаре при поверке;

- высота наполнения резервуара при поверке;

- высота первого пояса;
E - модуль упругости материала, Па (для стали

).
Примечание. Значение

учитывают, если

, при

принимают

.
Г.1.3.1. За значение длины внутренней окружности второго пояса резервуара с плавающей крышей

при высоте поясов, равной 1500 мм, принимают значение длины внутренней окружности первого пояса

, определяемое по формуле

. (Г.2а)
(пп. Г.1.3.1 введен
Изменением N 1, введенным в действие Приказом Ростехрегулирования от 29.11.2007 N 338-ст)
Г.1.3.2. Длину внутренней окружности второго пояса резервуара с плавающей крышей при высоте поясов от 2250 до 3000 мм

или длину внутренней окружности третьего пояса при высоте поясов 1500 мм

определяют методом последовательных приближений, используя результаты отложений хорды

на уровне 1600 мм или на уровне 1200 мм по
9.1.12.2 настоящего стандарта в следующей последовательности:
а) в качестве первого приближения внутреннего диаметра пояса принимают значение внутреннего диаметра первого пояса, определенного по формуле (3и);
б) вычисляют центральный угол

, соответствующий остаточной хорде

(например для второго пояса), по формуле

,
где

- длина остаточной хорды, измеренной по
9.1.12.7;

- внутренний диаметр второго пояса в первом приближении, значение которого принимают равным значению внутреннего диаметра первого пояса, определенного по формуле (3и);
в) вычисляют разность углов

по формуле

,
где

- центральный угол, вычисленный по
формуле (3к) при числе отложений хорды

и принимаемый за значение первого приближения центрального угла;
г) вычисляют центральный угол

во втором приближении по формуле

. (Г.2б)
Если

, то в формуле (Г.2б) принимают знак "+", если

- знак "-";
д) вычисляют внутренний диаметр второго пояса

во втором приближении по формуле

,
е) проверяют выполнение условия

.
Если это условие не выполняется, то определяют значение внутреннего диаметра второго пояса

в третьем приближении, вычисляя последовательно параметры по формулам:

,

;

;

.
Проверяют выполнение условия

.
Если это условие не выполняется, то делают следующие приближения до выполнения условия

.
Выполняя аналогичные операции, указанные в
перечислениях а) -
е), определяют внутренний диаметр третьего пояса резервуара.
(пп. Г.1.3.2 введен
Изменением N 1, введенным в действие Приказом Ростехрегулирования от 29.11.2007 N 338-ст)
Г.1.3.3. Длины внутренних окружностей второго

и третьего

поясов резервуара с плавающей крышей вычисляют по формулам:

;

,
где

,

- внутренние диаметры второго и третьего поясов, определенные методом последовательного приближения по
Г.1.3.2.
(пп. Г.1.3.3 введен
Изменением N 1, введенным в действие Приказом Ростехрегулирования от 29.11.2007 N 338-ст)
Г.1.3.4. Длины внутренних окружностей вышестоящих поясов резервуара с плавающей крышей

вычисляют по формуле

, (Г.10а)
где

- длина внутренней окружности первого пояса, вычисляемая по
формуле (Г.2а);

- средние радиальные отклонения образующих резервуара, вычисляемые по
формуле (Г.9);
i - номер пояса, выбираемый для резервуаров:
- при высоте поясов от 2250 до 3000 мм из ряда: 2, 3, ..., n;
- при высоте поясов 1500 мм из ряда: 3, 4, ..., n;
n - число поясов резервуара.
(пп. Г.1.3.4 введен
Изменением N 1, введенным в действие Приказом Ростехрегулирования от 29.11.2007 N 338-ст)
Г.1.4. Внутреннюю высоту первого пояса

вычисляют по формуле

, (Г.5)
где

- наружная высота первого пояса;

- высота нахлеста.
Г.1.5. Результаты вычислений величин

,

,

,

вносят в
журнал, форма которого приведена в Приложении Д.
Г.2. Вычисление длин внутренних окружностей и высот вышележащих поясов
Г.2.1. Вычисление средних радиальных отклонений образующих резервуара от вертикали
Г.2.1.1. Средние расстояния от стенки резервуара до нити отвеса вычисляют по формулам:
для первого пояса

; (Г.6)
для верхнего пояса

; (Г.7)
для остальных поясов

, (Г.8)
где a - расстояние от стенки резервуара до нити отвеса;
i - номер пояса (1, ..., n);
k - номер образующей резервуара (1, 2, 3, ..., m);
н, с, в - обозначения сечений: нижнего, среднего, верхнего соответственно.
Г.2.1.2. Средние радиальные отклонения образующих резервуара

вычисляют по формуле

, (Г.9)
Приказом Ростехрегулирования от 29.11.2007 N 338-ст)
где i - номер пояса.
Г.2.2. Длину внутренних окружностей

вышестоящих поясов вычисляют по формуле

, (Г.10)
Приказом Ростехрегулирования от 29.11.2007 N 338-ст)
где

- толщина стенки i-го пояса;

- толщина слоя краски.
Г.2.3. При наличии жидкости в резервуаре в момент его поверки длину внутренних окружностей вышестоящих поясов, недеформированных от действия гидростатического давления жидкости,

вычисляют по формуле

, (Г.11)
где

- увеличение радиуса i-го пояса, вычисляемое по формуле

,

- расстояние от днища резервуара до середины i-го пояса, рассчитываемое по формуле

,
где

- высота наполненного l-го промежуточного пояса;

- высота наполненного i-го пояса.
Примечание. При

.
Г.2.4. Если i-й пояс резервуара в соответствии с
9.1.2.5 настоящего стандарта имеет ребро жесткости, то значение величины

, входящей в
формулу (Г.3) или
(Г.11), умножают на 0,4.
Г.2.5. Внутреннюю высоту вышестоящих поясов

вычисляют по формуле

, (Г.12)
Приказом Ростехрегулирования от 29.11.2007 N 338-ст)
где

- наружная высота i-го пояса;

- высота нахлеста i-го пояса;

,

- величины, имеющие абсолютное значение, равное 1, и в зависимости от схемы нахлеста поясов в соответствии с
таблицей Б.6 (графа 6) принимают знак "+" или "-";
(абзац введен
Изменением N 1, введенным в действие Приказом Ростехрегулирования от 29.11.2007 N 338-ст)

- высота нахлеста (i + 1)-го вышестоящего пояса.
(абзац введен
Изменением N 1, введенным в действие Приказом Ростехрегулирования от 29.11.2007 N 338-ст)
Г.2.6. Результаты вычислений

,

,

,

вносят в
таблицу Д.1 Приложения Д.
Г.3. Вычисление степени наклона и угла направления наклона резервуара
(в ред.
Изменения N 1, введенного в действие Приказом Ростехрегулирования от 29.11.2007 N 338-ст)
Г.3.1. Степень наклона резервуара

вычисляют по формулам:

, (Г.13)

, (Г.14)

, (Г.15)
где

- длина окружности первого пояса, мм;

- максимальная разность показаний шкалы рейки, вычисляемая по формуле (3в) или (3г);

,

- максимальные разности показаний шкалы рейки по правым и левым противоположным разбивкам, мм. Их значения определяют по формулам:

;

.
Значения величин

,

,

,

принимают по таблице Б.14.
Примечание. Степень наклона резервуара вычисляют по
формуле (Г.13), если приближенное направление наклона контура днища совпадает с уточненным его направлением.
(пп. Г.3.1 в ред.
Изменения N 1, введенного в действие Приказом Ростехрегулирования от 29.11.2007 N 338-ст)
Г.3.2. По результатам измерений в соответствии с
9.1.3.4 устанавливают точки направления наклона резервуара и определяют число дополнительных разбивок

, соответствующих 1°, от приближенного направления наклона резервуара (от точки разбивки N) до точного направления наклона резервуара.
(пп. Г.3.2 в ред.
Изменения N 1, введенного в действие Приказом Ростехрегулирования от 29.11.2007 N 338-ст)
Г.3.3. Угол

в градусах между плоскостью
(рисунок А.10а), проходящей через точку измерений уровня жидкости и базовой высоты резервуара на направляющей планке измерительного люка и продольную ось резервуара, и уточненным направлением наклона резервуара вычисляют по формуле

, (Г.16)
где N - номер разбивки (правая или левая от приближенного направления наклона резервуара), через которую проводят уточненное направление наклона резервуара;
m - число отметок разбивки длины окружности первого пояса резервуара;

- число дополнительных разбивок, соответствующее максимальной разности показаний шкалы рейки

или

и

(пп. Г.3.3 в ред.
Изменения N 1, введенного в действие Приказом Ростехрегулирования от 29.11.2007 N 338-ст)
Г.3.4. Исключен с 1 июня 2008 года. -
Изменение N 1, введенное в действие Приказом Ростехрегулирования от 29.11.2007 N 338-ст.
Г.3.5. Исключен с 1 июня 2008 года. -
Изменение N 1, введенное в действие Приказом Ростехрегулирования от 29.11.2007 N 338-ст.
Г.3.6. Результаты вычислений величин

и

вносят в
журнал, форма которого приведена в Приложении Д.
(пп. Г.3.6 в ред.
Изменения N 1, введенного в действие Приказом Ростехрегулирования от 29.11.2007 N 338-ст)
Г.3.7. Резервуар считают не наклоненным, если выполняется условие

,

- минимальная степень наклона резервуара. Значения величины

в зависимости от номинальной вместимости резервуаров приведены в таблице Г.1.
Таблица Г.1
┌────────────────────────────┬────────────────────────────────────────────┐
│ Наименование показателя │Значение эта при номинальной вместимости │
│ │ min │
│ │ резервуара, м3 │
│ ├──────────────┬──────────────┬──────────────┤
│ │ 100 - 700 │ 1000 - 5000 │10000 - 100000│
├────────────────────────────┼──────────────┼──────────────┼──────────────┤
│Минимальная степень наклона │ 0,0003 │ 0,0001 │ 0,00005 │
│эта │ │ │ │
│ min │ │ │ │
└────────────────────────────┴──────────────┴──────────────┴──────────────┘
(пп. Г.3.7 введен
Изменением N 1, введенным в действие Приказом Ростехрегулирования от 29.11.2007 N 338-ст)
Г.4 - Г.4.6. Исключены с 1 июня 2008 года. -
Изменение N 1, введенное в действие Приказом Ростехрегулирования от 29.11.2007 N 338-ст.
Г.5. Вычисление вместимости "мертвой" полости
Г.5.1. Объем неровностей днища

при отсутствии центральной трубы рассчитывают по формуле

, (Г.23)
Приказом Ростехрегулирования от 29.11.2007 N 338-ст)
где

,

,

, ...,

- расстояния по вертикали между концентрическими окружностями неровностей днища, вычисляемые по формуле

, (Г.24)
Приказом Ростехрегулирования от 29.11.2007 N 338-ст)
где

- отсчет по рейке, установленной по периметру j-й концентрической окружности;

- отсчет по рейке, установленной по периметру (j - 1)-й вышележащей концентрической окружности.
Г.5.2. При наличии центральной трубы внутри резервуара величины

и

вычисляют по формулам:

;

, (Г.25)
где

,

,

,

- показания рейки, устанавливаемой во взаимно противоположных точках j-й, (j - 1)-й концентрических окружностей.
Объем неровностей днища

при наличии центральной трубы вычисляют по формуле

, (Г.26)
Приказом Ростехрегулирования от 29.11.2007 N 338-ст)
где

- радиус центральной трубы;

- длина внутренней окружности первого пояса;

,

,

, ...,

- расстояния по вертикали между концентрическими окружностями неровностей днища. Величины

,

, ...,

вычисляют по
формуле (Г.24), а величину

вычисляют по формуле

, (Г.26а)
Приказом Ростехрегулирования от 29.11.2007 N 338-ст)
где

- показание рейки, установленной по стенке центральной трубы в i-ю точку окружности, образованную в стыке центральной трубы и неровностей днища.
Г.5.3. Высоту точки касания днища грузом рулетки с учетом наклона резервуара

(
рисунок А.17 Приложения А) вычисляют по формуле
(в ред.
Изменения N 1, введенного в действие Приказом Ростехрегулирования от 29.11.2007 N 338-ст)

, (Г.27)
Приказом Росстандарта от 17.09.2012 N 309-ст)
где

- степень наклона резервуара;

- угол между направлением наклона резервуара и плоскостью, проходящей через центры резервуара и измерительного люка;

- базовая высота резервуара;

- показание рейки, установленной в точке пересечения 8-й окружности (окружности стенки резервуара) и 1-го радиуса;

- показание рейки в точке касания днища грузом рулетки;

- координата точки отсчета значений уровня жидкости или базовой высоты (
рисунок А.16 Приложения А),
значение ее:
- при ступенчатом расположении поясов резервуара

определяют по формуле

, (Г.28)
где

,

- наружный и внутренний диаметры измерительного люка;
- при телескопическом расположении поясов

определяют по формуле

, (Г.29)
где

- толщина стенки i-го пояса.
Г.5.4 Уровень жидкости в резервуаре, соответствующий высоте "мертвой" полости

:
- при наличии приемно-раздаточного патрубка (
рисунок А.17 или
А.18)

вычисляют по формуле

; (Г.30)
- при наличии приемно-раздаточного устройства
(рисунок А.17а) 
вычисляют по формуле

, (Г.30а)
где

- высота "мертвой" полости резервуара;

- высота точки касания днища грузом рулетки, вычисляемая по
формуле (Г.27);

- высота установки приемно-раздаточного устройства;

- расстояние от нижнего образующего приемно-раздаточного устройства до его верхнего или нижнего среза;

- расстояние от центра среза приемно-раздаточного устройства до стенки резервуара;

- координата точки отсчета значений уровня или базовой высоты, вычисляемая по
формуле (Г.28) или
(Г.29).
В формуле
(Г.30а) указывают знак "+", если срез приемно-раздаточного устройства находится выше высоты его места установки; знак "-", если срез приемно-раздаточного устройства находится ниже высоты его места установки.
(п. Г.5.4 в ред.
Изменения N 1, введенного в действие Приказом Ростехрегулирования от 29.11.2007 N 338-ст)
Г.5.4.1. При нивелировании высоты "мертвой" полости резервуара по
9.1.8.8 уровень жидкости, соответствующий высоте "мертвой" полости

, вычисляют по формуле

, (Г.30б)

,

- показания рейки в точках B, C.
(п. Г.5.4.1 введен
Изменением N 2, введенным в действие Приказом Росстандарта от 17.09.2012 N 309-ст)
Г.5.5. Уровень жидкости в резервуаре, соответствующий вместимости днища

(
рисунок А.19 Приложения А) вычисляют по формуле

, (Г.31)
где

- внутренняя длина окружности первого пояса резервуара.
Г.5.6. Уровень жидкости в резервуаре

от точки касания днища грузом рулетки до уровня

(
рисунок А.19 Приложения А) вычисляют по формуле

, (Г.32)
Г.5.7. Неровности днища могут находиться в пределах "мертвой" полости (
рисунок А.17 Приложения А) или вне ее (
рисунок А.18 Приложения А).
Г.5.7.1. Высоту неровностей днища

вычисляют по формуле

, (Г.33)

- длина внутренней окружности первого пояса резервуара, вычисляемая по
формуле (Г.2).
Г.5.7.2. Объем неровностей днища в пределах от плоскости, проходящей через контур днища резервуара, до уровня

при расположении измерительного люка ближе к опущенному (из-за наклона резервуара) краю кровли резервуара (
рисунок А.19 Приложения А) вычисляют по формуле
(в ред.
Изменения N 1, введенного в действие Приказом Ростехрегулирования от 29.11.2007 N 338-ст,
Изменения N 2, введенного в действие Приказом Росстандарта от 17.09.2012 N 309-ст)

, (Г.34)
где H - уровень жидкости, отсчитываемый от плоскости, проходящей через контур днища резервуара;

- параметр, вычисляемый по формуле

, (Г.34а)
(формулы Г.34 и Г.34а в ред.
Изменения N 2, введенного в действие
Приказом Росстандарта от 17.09.2012 N 309-ст)
где

- угол, вычисляемый по формуле

. (Г.34б)
Приказом Росстандарта от 17.09.2012 N 309-ст)
Примечания. 1. Коэффициент

используют только при выполнении условия:

.
2. Значение коэффициента

при уровне

принимают равным единице.
(примечания введены
Изменением N 2, введенным в действие Приказом Росстандарта от 17.09.2012 N 309-ст)
Г.5.7.3. Объем неровностей днища

при уровне выше уровня

до высоты неровностей днища

вычисляют по формуле

(Г.35).
(п. Г.5.7.3 в ред.
Изменения N 2, введенного в действие Приказом Росстандарта от 17.09.2012 N 309-ст)
Г.5.7.4. Объем неровностей днища

при высоте, равной высоте точки касания днища грузом рулетки

, при выполнении условия

величину

вычисляют по формуле

(Г.36).
(в ред.
Изменения N 2, введенного в действие Приказом Росстандарта от 17.09.2012 N 309-ст)
Абзац исключен с 1 июля 2013 года. -
Изменение N 2, введенное в действие Приказом Росстандарта от 17.09.2012 N 309-ст.
Абзац исключен с 1 июля 2013 года. -
Изменение N 2, введенное в действие Приказом Росстандарта от 17.09.2012 N 309-ст.
Г.5.7.5. Объем неровностей днища

при уровне выше точки касания днища грузом рулетки вычисляют по формуле

. (Г.37)
Приказом Росстандарта от 17.09.2012 N 309-ст)
Величину z вычисляют по формуле

, (Г.37а)
где H - уровень жидкости, значение которого изменяется от нуля до уровня, соответствующего высоте неровностей днища

.
(абзац и формула (Г.37а) введены
Изменением N 1, введенным в действие Приказом Ростехрегулирования от 29.11.2007 N 338-ст)
Примечание. При выполнении условия

величину

вычисляют по
формуле (Г.35).
(примечание введено
Изменением N 1, введенным в действие Приказом Ростехрегулирования от 29.11.2007 N 338-ст)
Г.5.7.6. Поправочный коэффициент F и внутренний радиус первого пояса резервуара R, входящие в формулы
(Г.34) -
(Г.37), вычисляют по формулам:

; (Г.38)

, (Г.39)
где

- высота неровностей днища, вычисляемая по формуле
(Г.33);

- внутренняя длина окружности первого пояса резервуара, вычисляемая по формуле
(Г.2) или по формуле
(Г.2а);

- степень наклона резервуара, вычисляемая по формуле
(Г.13) или по формулам
(Г.14),
(Г.15).
Примечание. Поправочный коэффициент F учитывает влияние наклона резервуара на объем неровностей днища резервуара.
(п. Г.5.7.6 в ред.
Изменения N 2, введенного в действие Приказом Росстандарта от 17.09.2012 N 309-ст)
Г.5.7.7. Уровень жидкости

, соответствующий высоте неровностей днища

, вычисляют по формуле

. (Г.39а)
(пп. Г.5.7.7 введен
Изменением N 1, введенным в действие Приказом Ростехрегулирования от 29.11.2007 N 338-ст)
Г.5.7.8. Если неровности днища выходят за пределы высоты "мертвой" полости резервуара
(рисунок А.18), то объем неровностей днища в пределах высоты "мертвой" полости вычисляют по
формуле (Г.35) или
(Г.37) до уровня

, вычисляемого по
формуле (Г.30).
(пп. Г.5.7.8 введен
Изменением N 1, введенным в действие Приказом Ростехрегулирования от 29.11.2007 N 338-ст)
Г.5.7.9. Объем неровностей днища от уровня

до уровня

, вычисляемого по
формуле (Г.39а), относят к объемам внутренних деталей, находящихся выше высоты "мертвой" полости.
(пп. Г.5.7.9 введен
Изменением N 1, введенным в действие Приказом Ростехрегулирования от 29.11.2007 N 338-ст)
Г.5.7.10. Уровни жидкости, соответствующие нижней границе

и верхней границе

внутренней детали, вычисляют по формулам:

; (Г.39б)

, (Г.39в)
где

,

- нижняя и верхняя границы внутренней детали;

- расстояние от внутренней детали до стенки первого пояса резервуара;

- высота неровностей днища;

- величина, зависимая от углов

и

(см.
рисунок А.10а), вычисляют по формуле

.
(пп. Г.5.7.10 введен
Изменением N 1, введенным в действие Приказом Ростехрегулирования от 29.11.2007 N 338-ст)
Г.5.7.11. При нивелировании нижней границы внутренней детали по 9.1.7.3 уровень жидкости, соответствующий нижней границе внутренней детали

, вычисляют по формуле

, (Г.39г)
где

- показания рейки в точке Л (рисунок А.15а);

,

- показания рейки в точках B, C.
Если высота горизонта нивелира находится выше верхней границы внутренней детали (на
рисунке А.15а не показано), то уровень жидкости, соответствующий верхней границе внутренней детали

, вычисляют по формуле (Г.39г).
(п. Г.5.7.11 введен
Изменением N 2, введенным в действие Приказом Росстандарта от 17.09.2012 N 309-ст)
Г.5.8. Вместимость "мертвой" полости

вычисляют по формуле

, (Г.40)
где

- вместимость "мертвой" полости при уровне H, в пределах уровня

(
рисунок А.19 Приложения А);
(в ред.
Изменения N 1, введенного в действие Приказом Ростехрегулирования от 29.11.2007 N 338-ст)

- вместимость "мертвой" полости при уровне H выше уровня

;

- объем неровностей днища;

- объем внутренних деталей, находящихся в "мертвой" полости.
Примечание. Знак значения вместимости "мертвой" полости резервуара, определенной по
формуле (Г.40), должен быть положительным.
(примечание введено
Изменением N 1, введенным в действие Приказом Ростехрегулирования от 29.11.2007 N 338-ст)
Г.5.8.1. Вместимость

вычисляют по формуле

, (Г.41)
Приказом Ростехрегулирования от 29.11.2007 N 338-ст)
где

- длина внутренней окружности первого пояса, вычисляемая по
формуле (Г.2);

- угол, вычисляемый по формуле

,
где H' - уровень жидкости, отсчитываемый от плоскости, проходящей через контур днища резервуара, до уровня

;

- исходный уровень, вычисляемый по формуле

. (Г.41а)
(в ред.
Изменения N 2, введенного в действие Приказом Росстандарта от 17.09.2012 N 309-ст)
Г.5.8.2. Вместимость

вычисляют по формуле

, (Г.42)
где H - уровень, отсчитываемый от плоскости, проходящей через контур днища резервуара.
(в ред.
Изменения N 2, введенного в действие Приказом Росстандарта от 17.09.2012 N 309-ст)
Г.5.9.1. Площадь хлопуна

, м
2, вычисляют по формуле

, (Г.42а)
где

,

- длина и ширина хлопуна соответственно, измеренные по
9.1.8.7 настоящего стандарта.
(пп. Г.5.9.1 введен
Изменением N 1, введенным в действие Приказом Ростехрегулирования от 29.11.2007 N 338-ст)
Г.5.10. Вычисление базовой высоты
(в ред.
Изменения N 1, введенного в действие Приказом Ростехрегулирования от 29.11.2007 N 338-ст)
Г.5.10.1. Базовую высоту

вычисляют по формуле

. (Г.43)
Г.5.10.2. Исключен с 1 июня 2008 года. -
Изменение N 1, введенное в действие Приказом Ростехрегулирования от 29.11.2007 N 338-ст.
Формула (Г.44). Исключена с 1 июня 2008 года. -
Изменение N 1, введенное в действие Приказом Ростехрегулирования от 29.11.2007 N 338-ст.
Г.5.10.3. Результаты вычислений

вносят в
журнал, форма которого приведена в Приложении Д.
(в ред.
Изменения N 1, введенного в действие Приказом Ростехрегулирования от 29.11.2007 N 338-ст)
Г.6. Вычисление объема жидкости, вытесненной плавающим покрытием
Г.6.1. Объем жидкости, вытесненной плавающим покрытием,

вычисляют по формуле

. (Г.45)
Г.6.2. Результат вычисления величины

вносят в
журнал, форма которого приведена в Приложении Д.
Г.6.3. Объем жидкости, вытесненной плавающим покрытием, соответствующий дополнительной нагрузке на плавающее покрытие (например, от снега на плавающую крышу), определяют по формуле

, (Г.46)
где

- глубина дополнительного погружения плавающего покрытия за счет дополнительной нагрузки;

- диаметр плавающего покрытия;

,

, ... - диаметры отверстий в плавающем покрытии.
Величину

, мм, вычисляют по формуле

, (Г.46а)
где

- высота газового пространства, измеряемая при поверке резервуара по
9.1.13 настоящего стандарта, мм;

- высота газового пространства, измеряемая при эксплуатации резервуара, мм.
(абзац введен
Изменением N 1, введенным в действие Приказом Ростехрегулирования от 29.11.2007 N 338-ст)
Объем жидкости, находящейся в резервуаре с плавающей крышей

, м
3, вычисляют по формуле

, (Г.46б)
где

- объем жидкости, определенный по градуировочной таблице резервуара, м
3;
(абзац введен
Изменением N 1, введенным в действие Приказом Ростехрегулирования от 29.11.2007 N 338-ст)
Примечания. 1. Значение величины

определяют при эксплуатации резервуара по результатам измерений расстояния по вертикали между меткой, нанесенной на внутренней стенке резервуара до нагружения плавающего покрытия дополнительной нагрузкой, и точкой измерения на плавающем покрытии после нагружения его дополнительной нагрузкой.
2. Результат вычисления величины

по
формуле (Г.46) учитывают при измерениях объема жидкости в поверяемом резервуаре при его эксплуатации.
Г.7. Вычисление объема жидкости от исходного уровня до уровня, соответствующего всплытию плавающего покрытия
Г.7.1. Уровень жидкости, соответствующий расстоянию от днища резервуара до нижней части плавающего покрытия

, вычисляют по формуле

, (Г.47)
Приказом Росстандарта от 17.09.2012 N 309-ст)
где

- расстояние от днища резервуара до нижней части плавающего покрытия, измеренное в соответствии с
9.1.11.2 настоящего стандарта;
(п. Г.7.1 в ред.
Изменения N 1, введенного в действие Приказом Ростехрегулирования от 29.11.2007 N 338-ст)

- радиус плавающего покрытия;

- величина, вычисляемая по формуле

,
где

- зазор между стенкой резервуара и плавающим покрытием.
(абзацы введены
Изменением N 2, введенным в действие Приказом Росстандарта от 17.09.2012 N 309-ст)
Г.7.2. Уровень жидкости, соответствующий высоте всплытия плавающего покрытия резервуара

:
- при выполнении условия

вычисляют по формуле

, (Г.48)
где

- объем жидкости, вытесненный плавающим покрытием, вычисляемый по
формуле (Г.45);

- объем опор плавающего покрытия. Если опоры смонтированы на днище резервуара, то значение

в формуле (Г.48) принимают равным нулю;

,

,

, ... - диаметры плавающего покрытия и отверстий в нем;
- при выполнении условия

вычисляют по формуле

, (Г.48а)
где

- высота погружения плавающего покрытия, определяемая от нуля до предельной высоты

, решая уравнения

, (Г.48б)
где

- функция, зависящая от высоты погружения плавающего покрытия, вычисляемая по формуле

, (Г.48в)
где

- степень наклона резервуара.
Величины

и

вычисляют по формулам:

,

.
Если при

значение правой части уравнения
(Г.48б) меньше значений левой, то уровень жидкости

, соответствующий высоте всплытия плавающего покрытия, вычисляют по формуле

, (Г.48г)
где

- предельная высота дополнительного погружения плавающего покрытия, определяемая из уравнения:
(в ред.
Изменения N 2, введенного в действие Приказом Росстандарта от 17.09.2012 N 309-ст)

, (Г.48д)
Приказом Росстандарта от 17.09.2012 N 309-ст)
где

- предельное значение функции

, вычисляемое по формуле (Г.48в);

- текущая высота дополнительного погружения плавающего покрытия, изменяющаяся от 0 до

.
(п. Г.7.2 в ред.
Изменения N 1, введенного в действие Приказом Ростехрегулирования от 29.11.2007 N 338-ст)
Г.7.2.1. Уровень, соответствующий высоте всплытия понтона с поплавками цилиндрической формы

(рисунок А.20), вычисляют по формуле

,
где

- уровень жидкости, соответствующий расстоянию от днища резервуара до нижней части поплавков

(рисунок А.20), вычисляемый по формуле
(Г.47) при значении

, равном нулю;

- предельная высота погружения поплавков, при которой происходит всплытие понтона.
Значение величины

определяют из уравнения

, (Г.48е)
где

- объем жидкости, вытесненный поплавками, вычисляемый по формуле
(Г.45), м
3;

- объем опор понтона, м
3. Если опоры понтона смонтированы на днище резервуара, то значение объема опор принимают равным нулю;
d - диаметр поплавков, мм;

- суммарная длина поплавков, мм;

- текущая высота дополнительного погружения поплавков, изменяющаяся от 0 до

, мм.
(п. Г.7.2.1 введен
Изменением N 2, введенным в действие Приказом Росстандарта от 17.09.2012 N 309-ст)
Г.7.2.2. Объем жидкости от исходного уровня до уровня, соответствующего всплытию понтона

:
- от уровня, соответствующего высоте "мертвой" полости резервуара

, до уровня

, м
3, вычисляют по формуле

; (Г.48ж)
- от уровня

до уровня

, м
3, вычисляют по формуле

(Г.48и)
где T - параметр, вычисляемый по формуле

;

- высота опор понтона.
Значения объема

определяют по формуле (Г.48и), последовательно увеличивая высоту погружения понтона

от 0 до ее предельного значения

.
(п. Г.7.2.2 введен
Изменением N 2, введенным в действие Приказом Росстандарта от 17.09.2012 N 309-ст)
Г.7.3. Объем жидкости от исходного уровня до уровня, соответствующего всплытию плавающего покрытия,

:
- при выполнении условия

, м
3, вычисляют по формуле

, (Г.49)
где

- объем жидкости, вытесненный плавающим покрытием, вычисляемый по
формуле (Г.45);

- объем части опор плавающего покрытия, находящейся в пределах уровня от

до

;
- при выполнении условия

объем жидкости через каждое изменение уровня на 1 см в пределах уровня

до уровня

, м
3, вычисляют по формуле

, (Г.49а)
Приказом Росстандарта от 17.09.2012 N 309-ст)
Если при уровне

не происходит всплытие плавающего покрытия, то объем его всплытия

, м
3, вычисляют по формуле

, (Г.49б)
где

- объем жидкости, вычисляемый по формуле (Г.49а) при

;
(п. Г.7.3 в ред.
Изменения N 1, введенного в действие Приказом Ростехрегулирования от 29.11.2007 N 338-ст)

- предельная высота дополнительного погружения плавающего покрытия, определяемая по формуле
(Г.48д).
(абзац введен
Изменением N 2, введенным в действие Приказом Росстандарта от 17.09.2012 N 309-ст)
Г.7.4. Результат вычисления величины

вносят в
журнал, форма которого приведена в Приложении Д.
Г.8. Вычисление вместимости поясов резервуара
Г.8.1. Вместимость i-го недеформированного от гидростатического давления пояса резервуара

вычисляют по формуле

, (Г.50)
где

- длина внутренней окружности i-го пояса, вычисляемая по
формуле (Г.10);

- степень наклона резервуара.
Г.8.2. Результаты вычислений вместимости

вносят в
таблицу Д.1 Приложения Д.
Г.9. Вычисление поправки к вместимости
Г.9.1. Поправку к вместимости резервуара за счет гидростатического давления жидкости

при наполнении i-го пояса вычисляют по формуле

, (Г.51)
Приказом Росстандарта от 17.09.2012 N 309-ст)
где

,

- высота и толщина стенки первого пояса;

,

- высота и толщина l-го вышестоящего пояса;
i - номер наполненного пояса;

- постоянный коэффициент для поверяемого резервуара, вычисляемый по формуле

, (Г.52)
где g - ускорение свободного падения, м/с2 (g = 9,8066 м/с2);

- плотность хранимой жидкости;

- длина внутренней окружности первого пояса, вычисляемая по
формуле (Г.3);
E - модуль упругости материала, Па, (для стали

).
Г.9.2. Все пояса резервуара разбивают на участки высотой, равной примерно 1 м. В этом случае индекс i означает номер участка.
Г.9.3. При наличии ребер жесткости по
9.1.2.5 настоящего стандарта поправку к вместимости резервуара вычисляют по
формуле (Г.51) с учетом замедления деформации участка пояса с ребром жесткости.
Г.9.4. Результаты вычислений

для уровней наполнения от 3 м заносят в
таблицу Д.3 Приложения Д.
Г.10. Вычисление вместимости резервуара
Г.10.1. Вместимость резервуара, соответствующую уровню жидкости H,

вычисляют по формуле

, (Г.53)
где n - число наполненных поясов резервуара;

- объем внутренних деталей, находящихся в резервуаре от уровня

до H.
Примечание. Вместимость последнего частично наполненного пояса вычисляют по фактической высоте его наполнения.
(справочное)
ФОРМА ЖУРНАЛА ОБРАБОТКИ РЕЗУЛЬТАТОВ ИЗМЕРЕНИЙ
ПРИ ПОВЕРКЕ ГЕОМЕТРИЧЕСКИМ МЕТОДОМ
обработки результатов измерений при поверке
геометрическим методом
Д.1. Вычисление длины наружной окружности первого пояса

.
Д.2. Вычисление длины внутренней окружности первого пояса:

;

.
Д.3. Вычисление длин внутренних окружностей вышестоящих поясов
┌─────┬─────┬───────────────────────┬────┬───────────┬────┬──────┬───┬────┐
│Номер│Точка│ Номер образующего │a │Дельта R │L │L │ h │ V │
│пояса│изме-│ резервуара │ срi│ срi│ внi│ вн.цi│ i│ цi│
│ │рения├─────┬─────┬─────┬─────┤ │ │ │ │ │ │
│ │ │ 1 │ 2 │ ... │ m │ │ │ │ │ │ │
├─────┼─────┼─────┼─────┼─────┼─────┼────┼───────────┼────┼──────┼───┼────┤
│ 1 │3/4h │ │ │ │ │ │ │ │ │ │ │
│ │ 1│ │ │ │ │ │ │ │ │ │ │
├─────┼─────┼─────┼─────┼─────┼─────┼────┼───────────┼────┼──────┼───┼────┤
│ 2 │ н │ │ │ │ │ │ │ │ │ │ │
│ ├─────┼─────┼─────┼─────┼─────┼────┼───────────┼────┼──────┼───┼────┤
│ │ с │ │ │ │ │ │ │ │ │ │ │
│ ├─────┼─────┼─────┼─────┼─────┼────┼───────────┼────┼──────┼───┼────┤
│ │ в │ │ │ │ │ │ │ │ │ │ │
├─────┼─────┼─────┼─────┼─────┼─────┼────┼───────────┼────┼──────┼───┼────┤
│ i │ н │ │ │ │ │ │ │ │ │ │ │
│ ├─────┼─────┼─────┼─────┼─────┼────┼───────────┼────┼──────┼───┼────┤
│ │ с │ │ │ │ │ │ │ │ │ │ │
│ ├─────┼─────┼─────┼─────┼─────┼────┼───────────┼────┼──────┼───┼────┤
│ │ в │ │ │ │ │ │ │ │ │ │ │
├─────┼─────┼─────┼─────┼─────┼─────┼────┼───────────┼────┼──────┼───┼────┤
│Верх-│ н │ │ │ │ │ │ │ │ │ │ │
│ний ├─────┼─────┼─────┼─────┼─────┼────┼───────────┼────┼──────┼───┼────┤
│ │ с │ │ │ │ │ │ │ │ │ │ │
└─────┴─────┴─────┴─────┴─────┴─────┴────┴───────────┴────┴──────┴───┴────┘
Д.4. Вычисление степени наклона резервуара

.
Д.5. Вычисление угла направления наклона резервуара

.
Д.6. Вычисление базовой высоты

.
Д.7. Вычисление исходного уровня

.
Д.8. Вычисление вместимости "мертвой" полости
Таблица Д.2
┌───────────────────────┬─────────────────────────────────────────────────┐
│ Обозначение величины │ Значение для номера окружности │
│ ├────┬────┬────┬────┬─────┬─────┬─────┬─────┬─────┤
│ │ 0 │ 1 │ 2 │ 3 │ 4 │ 5 │ 6 │ 7 │ 8 │
├───────────────────────┼────┼────┼────┼────┼─────┼─────┼─────┼─────┼─────┤
│Сигма b │ │ │ │ │ │ │ │ │ │
│ ji │ │ │ │ │ │ │ │ │ │
├───────────────────────┼────┼────┼────┼────┼─────┼─────┼─────┼─────┼─────┤
│Сигма (b - b )│ │ │ │ │ │ │ │ │ │
│ ji (j - 1)i │ │ │ │ │ │ │ │ │ │
└───────────────────────┴────┴────┴────┴────┴─────┴─────┴─────┴─────┴─────┘

;

;

;

;

;

.
Д.9. Вычисление объема жидкости, вытесненной плавающим покрытием
Д.9.1. Масса плавающего покрытия

.
Д.9.2. Объем жидкости, вытесненной плавающим покрытием

.
Д.9.3. Вычисление объема жидкости от исходного уровня,
соответствующего всплытию плавающего покрытия

.
Д.10. Вычисление поправки к вместимости пояса резервуара за счет
гидростатического давления жидкости
┌─────────────┬──────────────┬──────────────┬──────────────┬──────────────┐
│ Номер пояса │Номер участка │ Высота │ Уровень │Дельта V , м3│
│ │ │ участка, мм │наполнения, мм│ гi │
├─────────────┼──────────────┼──────────────┼──────────────┼──────────────┤
│ 1 │ 1 │ 1000 │ - │ - │
│ ├──────────────┼──────────────┼──────────────┼──────────────┤
│ │ 2 │ 1100 │ - │ - │
├─────────────┼──────────────┼──────────────┼──────────────┼──────────────┤
│ 2 │ 3 │ 900 │ 3000 │ 0,623 │
│ ├──────────────┼──────────────┼──────────────┼──────────────┤
│ │ 4 │ 900 │ 3900 │ 1,173 │
├─────────────┼──────────────┼──────────────┼──────────────┼──────────────┤
│ 3 │ 5 │ 1200 │ 5100 │ 1,783 │
│ ├──────────────┼──────────────┼──────────────┼──────────────┤
│ │ 6 │ 1300 │ 6400 │ 2,492 │
└─────────────┴──────────────┴──────────────┴──────────────┴──────────────┘
Д.11. Составление градуировочной таблицы
Таблица Д.4
┌──────────────────────────┬───────────────────┬──────────────────────────┐
│ Уровень заполнения, см │ Вместимость, м3 │ Коэффициент вместимости, │
├──────────────────────────┼───────────────────┼──────────────────────────┤
│ (H - f )
<1> │ 508,502
<2> │ 1,068 │
│ м.п л │ │ │
├──────────────────────────┼───────────────────┼──────────────────────────┤
│ (H - f ) + 1 │ 519,183 │ 1,066 │
│ м.п л │ │ │
├──────────────────────────┼───────────────────┼──────────────────────────┤
│ (H - f ) + 2 │ 529,844 │ │
│ м.п л │ │ │
├──────────────────────────┼───────────────────┼──────────────────────────┤
│ ... │ ... │ ... │
├──────────────────────────┼───────────────────┼──────────────────────────┤
│ (H - f ) + 50
<3> │ 1030,722 │ 1,019 │
│ м.п л │ │ │
├──────────────────────────┼───────────────────┼──────────────────────────┤
│ (H - f ) + 51 │ 1040,912 │ ... │
│ м.п л │ │ │
├──────────────────────────┼───────────────────┼──────────────────────────┤
│ ... │ ... │ ... │
├──────────────────────────┼───────────────────┼──────────────────────────┤
│ H │ │ │
│ max │ │ │
├──────────────────────────┴───────────────────┴──────────────────────────┤
│ <1> Уровень жидкости в резервуаре, измеренный через измерительный люк│
│от точки касания днища грузом рулетки. │
│ <2> Вместимость "мертвой" полости. │
│ <3> Уровень всплытия плавающего покрытия. │
│ <4> Коэффициент вместимости, равный │
│ │
│ 519,183 - 508,502 │
│ ----------------- = 1,068 м3/мм. │
│ 10 │
└─────────────────────────────────────────────────────────────────────────┘
Вычисления провел
подпись инициалы, фамилия
" " г.
(обязательное)
ОБРАБОТКА РЕЗУЛЬТАТОВ ИЗМЕРЕНИЙ ПРИ ПОВЕРКЕ
РЕЗЕРВУАРА ОБЪЕМНЫМ МЕТОДОМ
Е.1. Вычисление уровня поверочной жидкости, соответствующего высоте "мертвой" полости
Е.1.1. Уровень поверочной жидкости в резервуаре, соответствующий высоте "мертвой" полости,

вычисляют по
формуле (Г.30) Приложения Г.
Е.2. Вычисление высоты точки касания днища грузом рулетки
Е.2.1. Высоту точки касания днища грузом рулетки с учетом степени наклона резервуара

вычисляют по
формуле (Г.27) Приложения Г.
Е.3. Вычисление базовой высоты и исходного уровня
Е.3.1. Базовую высоту резервуара

вычисляют по
формуле (Г.43) Приложения Г.
Е.4. Вычисление степени наклона резервуара
Е.5. Результаты вычислений

,

,

,

,

вносят в
журнал, форма которого приведена в Приложении Ж.
Е.6. Вычисление максимального уровня поверочной жидкости в резервуаре
Е.6.1. Максимальный уровень поверочной жидкости (далее - жидкости), измеренный измерительной рулеткой с грузом,

вычисляют по формуле

, (Е.1)
где

,

- результаты двух измерений максимального уровня, мм.
Е.7. Вычисление разности максимальных уровней жидкости в резервуаре
Е.7.1. Разность максимальных уровней жидкости в резервуаре, измеренных в конце его поверки уровнемером и измерительной рулеткой с грузом,

вычисляют по формуле

, (Е.2)
где

,

- максимальные уровни жидкости, измеренные измерительной рулеткой с грузом и уровнемером, мм.
Е.7.2. Значение величины

, вычисленной по формуле (Е.2), может быть больше или меньше нуля.
Е.8. Вычисление средней температуры жидкости в резервуаре
Е.8.1. Среднюю температуру жидкости в резервуаре при поступлении в него j-й дозы

вычисляют по формуле

, (Е.3)
где

,

,

- температуры жидкости, измеренные в точечных пробах, отобранных из резервуара после поступления в него j-й дозы, в соответствии с
9.2.5 настоящего стандарта.
Е.9. Вычисление плотности жидкости в резервуаре
Е.9.1. Плотность жидкости в резервуаре после поступления в него j-й дозы

вычисляют по формуле

, (Е.4)
где

- коэффициент объемного расширения жидкости, 1/°C. Его значение принимают для воды равным

, для нефти - по
[5], для нефтепродуктов определяют в соответствии с
[6] по формуле

; (Е.5)

,

- средние температуры жидкости в резервуаре, измеренные после поступления в него j-й и (j - 1)-й доз жидкости, °C.
Е.10. Вычисление объемов доз жидкости
Е.10.1. Объем j-й дозы жидкости, прошедший через счетчик жидкости,

вычисляют по формуле для счетчиков жидкости:
- с непосредственным отсчетом объема жидкости, дм3

, (Е.6)
- с импульсным выходным сигналом, имп.

, (Е.7)
- со сдвигом и проскоком дозирования, дм3:

, (Е.7а)
(абзац введен
Изменением N 1, введенным в действие Приказом Ростехрегулирования от 29.11.2007 N 338-ст)
где

,

- показания счетчика жидкости, дм
3;

,

- показания счетчика жидкости, имп.;
K - коэффициент преобразования счетчика жидкости, имп./дм3;

- поправочный коэффициент.
(абзац введен
Изменением N 1, введенным в действие Приказом Ростехрегулирования от 29.11.2007 N 338-ст)
Е.10.2. Объем налитой в резервуар j-й жидкости

, м
3, соответствующий изменению уровня жидкости в резервуаре на:
- 10 мм - при динамическом методе поверки;
- 30 мм (в пределах "мертвой" полости) и 100 мм - при статическом методе поверки, вычисляют по формуле

, (Е.8)

- коэффициент объемного расширения жидкости, 1/°C. Его значение определяют в соответствии с
(Е.5);

- температура жидкости в резервуаре после поступления в него j-й дозы, °C;

- температура j-й дозы жидкости в трубопроводе, °C;

- коэффициент сжимаемости жидкости, 1/МПа. Его значение принимают для воды равным

, для нефти - по
[5], для нефтепродуктов - по
[6];

- избыточное давление жидкости в счетчике жидкости, МПа;
g - ускорение свободного падения, м/с2;

- уровень жидкости в резервуаре, м.
Е.10.3. Объем налитой в резервуар начальной дозы жидкости, соответствующий объему "мертвого" остатка, вычисляют по формуле

, (Е.9)
где

- объем начальной дозы жидкости, вычисленный по
формуле (Е.6) или
(Е.7) по показаниям счетчика жидкости

,

в дм
3 или

,

в имп.;

- температура жидкости в резервуаре, измеренная в первой пробе ее, отобранной из резервуара, в соответствии с
9.2.3.4 настоящего стандарта, °C;

- температура жидкости в трубопроводе, измеренная в момент отбора первой пробы, °C.
Е.11. Вычисление температуры жидкости в резервуаре по результатам измерений температур доз жидкости
Е.11.1. Дозы жидкости:

,

,

, ...,

, суммарный объем которых соответствует уровню жидкости в "мертвой" полости резервуара, имеют одинаковую температуру, равную температуре

, измеренной в соответствии с
9.2.2.4 настоящего стандарта, °C.
Е.11.2. Температуры жидкости в резервуаре в пределах объема суммарной дозы жидкости, соответствующего уровню жидкости в первом поясе, вычисляют по формулам:
где

- температура жидкости, измеренная в соответствии с
9.2.2.4 настоящего стандарта, °C;

,

, ...,

- температуры жидкости в резервуаре при поступлении в него

,

, ...,

доз;

- среднее температурное изменение, приходящееся на каждую дозу жидкости в пределах уровня жидкости в "мертвой" полости до уровня ее в первом поясе, °C, вычисляемое по формуле

,
где

- температура жидкости в резервуаре при поступлении в него дозы

, °C.
Е.11.3. Температуры жидкости в резервуаре в пределах суммарных доз, соответствующих уровням жидкости в первом и втором поясах, вычисляют по формулам:

, ...;

, ...;

, (Е.11)
где

,

, ...,

- температуры жидкости в резервуаре при поступлении в него

,

, ...,

доз;

,
где

,

- температуры жидкости в резервуаре, измеренные при поступлении в него доз

,

.
Е.12. Если выполняются условия:
а) при применении воды

;

;
б) при применении нефти и нефтепродуктов

;

,
Е.13. Вычисление дозовой вместимости резервуара
Е.13.1. Дозовую вместимость резервуара при поступлении в него k доз жидкости

, м
3, вычисляют по формуле

, (Е.12)
где k - число налитых в резервуар доз жидкости;
j - номер налитой дозы, выбирают из ряда 0, 1, 2, ..., k;

- температура жидкости в резервуаре при наливе в него k доз, °C;

- температура жидкости в резервуаре при наливе в него j-й дозы, °C;

- коэффициент объемного расширения жидкости, 1/°C. Его значение определяют по
формуле (Е.5);

- коэффициент линейного расширения материала резервуара, 1/°C.
Его значение для стали принимают равным

.
k = 0 - при наливе дозы

, объем которой соответствует уровню H, рассчитываемому, как указано ниже:
k = 1 - при наливе дозы

;
k = 2 - при наливе дозы

и т.д. до максимального уровня, соответствующего полной вместимости резервуара.
Е.13.1.2. Объемы доз

,

, ...,

, в пределах "мертвой" полости соответствуют изменению уровня жидкости в резервуаре не более чем на 30 мм.
Е.13.2. При невозможности измерения средней температуры жидкости в резервуаре после налива в него каждой дозы дозовые вместимости вычисляют при наполнении:
- первого пояса

по формуле

, (Е.13)
где

- объем жидкости в "мертвой" полости резервуара, вычисляемый по формуле

,
температуры

, принимающие при j, равных

, соответственно значения

,

, ...,

, вычисляют по
формуле (Е.10). Значения k принимают равными

;
- второго пояса

по формуле

, (Е.14)
где

- вместимость первого пояса, вычисляемая по
формуле (Е.13) при значении k = m.
Значения k принимают равными m + 1, m + 2, m + 3, ...,

;
- третьего и других вышестоящих поясов дозовые вместимости резервуара вычисляют аналогично по методике, изложенной выше.
- применении воды

;

;
Приказом Ростехрегулирования от 29.11.2007 N 338-ст)
- применении нефти и нефтепродуктов

;

.
Приказом Ростехрегулирования от 29.11.2007 N 338-ст)
(справочное)
ФОРМА ЖУРНАЛА ОБРАБОТКИ РЕЗУЛЬТАТОВ ИЗМЕРЕНИЙ
ПРИ ПОВЕРКЕ ОБЪЕМНЫМ МЕТОДОМ
обработки результатов измерений
при поверке объемным методом
Ж.1. Вычисление высоты "мертвой" полости

.
Ж.2. Вычисление высоты превышения точки касания днища грузом рулетки
над контуром днища

.
Ж.3. Вычисление базовой высоты резервуара

.
Ж.4. Вычисление исходной высоты

.
Ж.5. Вычисление степени наклона резервуара

.
Ж.6. Вычисление максимального уровня

.
Ж.7. Вычисление разности максимальных уровней

.
Ж.8. Вычисление температур жидкости в резервуаре
Таблица Ж.1
В градусах Цельсия
┌─────┬─────┬─────┬─────┬─────┬──────────┬──────────┬─────┬─────┬─────┬─────────┬─────┐
│(T ) │(T ) │(T ) │ ... │ ... │(T ) │(T ) │ ... │ ... │(T ) │(T ) │ ... │
│ р 0│ р 1│ р 2│ │ │ р ню + 1│ р ню + 2│ │ │ р m│ р m + 1│ │
├─────┼─────┼─────┼─────┼─────┼──────────┼──────────┼─────┼─────┼─────┼─────────┼─────┤
│ │ │ │ │ │ │ │ │ │ │ │ │
└─────┴─────┴─────┴─────┴─────┴──────────┴──────────┴─────┴─────┴─────┴─────────┴─────┘
Ж.9. Вычисление дозовой вместимости
Таблица Ж.2
┌───────────────────────┬────────────────────────┬────────────────────────┐
│Уровень наполнения, см │ Объем дозы, м3 │Дозовая вместимость, м3 │
├───────────────────────┼────────────────────────┼────────────────────────┤
│ 1 │ 2 │ 3 │
├───────────────────────┼────────────────────────┼────────────────────────┤
│ H │ (Дельта V ) │ V │
│ 0 │ р 0 │ 0 │
├───────────────────────┼────────────────────────┼────────────────────────┤
│ H │ (Дельта V ) │ V │
│ 1 │ р 1 │ 1 │
├───────────────────────┼────────────────────────┼────────────────────────┤
│ H │ (Дельта V ) │ V │
│ 2 │ р 2 │ 2 │
├───────────────────────┼────────────────────────┼────────────────────────┤
│ ... │ ... │ ... │
├───────────────────────┼────────────────────────┼────────────────────────┤
│ ... │ ... │ ... │
├───────────────────────┼────────────────────────┼────────────────────────┤
│ H │ (Дельта V ) │ V │
│ р max │ р max │ max │
├───────────────────────┴────────────────────────┴────────────────────────┤
│ Примечания. 1. Величины H , H , ..., H (графа 1) - уровни│
│ 0 1 р max │
│ │
│жидкости в резервуаре после поступления в него доз (Дельта V ) ,│
│ р 0 │
│(Дельта V ) , (Дельта V ) . │
│ р 1 р max │
│ 2. При наличии превышения точки касания днища грузом рулетки над│
│контуром днища H = 0. │
│ 0 │
│ 3. Значения доз (Дельта V ) , (Дельта V ) , ..., (Дельта V ) │
│ р 0 р 1 р max│
│ │
│ 0 1 max │
└─────────────────────────────────────────────────────────────────────────┘
Ж.10. Составление градуировочной таблицы
┌───────────────────────┬─────────────────┬───────────────────────────────┐
│Уровень наполнения, см │ Вместимость, м3 │ Коэффициент вместимости
<3>, │
│ │ │ м3/мм │
├───────────────────────┼─────────────────┼───────────────────────────────┤
│ h │ 115,343 │ 0,561 │
│ 0 │ │ │
├───────────────────────┼─────────────────┼───────────────────────────────┤
│ h + 1 │ 120,957 │ 0,752 │
│ 0 │ │ │
├───────────────────────┼─────────────────┼───────────────────────────────┤
│ h + 2 │ 128,477 │ ... │
│ 0 │ │ │
├───────────────────────┼─────────────────┼───────────────────────────────┤
│ ... │ ... │ ... │
├───────────────────────┼─────────────────┼───────────────────────────────┤
│ ... │ ... │ ... │
├───────────────────────┼─────────────────┼───────────────────────────────┤
│ H │ 508,502
<1> │ 10,68 │
│ м.п │ │ │
├───────────────────────┼─────────────────┼───────────────────────────────┤
│ H + 1 │ 519,183 │ 1,066 │
│ м.п │ │ │
├───────────────────────┼─────────────────┼───────────────────────────────┤
│ H + 2 │ 529,844 │ │
│ м.п │ │ │
├───────────────────────┼─────────────────┼───────────────────────────────┤
│ ... │ ... │ ... │
├───────────────────────┼─────────────────┼───────────────────────────────┤
│ H │ 1030,722
<2> │ 1,019 │
│ всп │ │ │
├───────────────────────┼─────────────────┼───────────────────────────────┤
│ H + 1 │ 1040,912 │ 1,019 │
│ всп │ │ │
├───────────────────────┼─────────────────┼───────────────────────────────┤
│ H + 2 │ 1051,102 │ │
│ всп │ │ │
├───────────────────────┴─────────────────┴───────────────────────────────┤
│ <1> Объем жидкости в резервуаре в пределах "мертвой" полости. │
│ <2> Объем жидкости при всплытии плавающего покрытия. │
│ <3> Коэффициент вместимости, равный: │
│ │
│ 519,183 - 508,502 │
│ ----------------- = 1,068 м3/мм. │
│ 10 │
└─────────────────────────────────────────────────────────────────────────┘
Вычисления провел
подпись инициалы, фамилия
" " г.
(обязательное)
ОСНОВНЫЕ ТЕХНИЧЕСКИЕ ТРЕБОВАНИЯ
К СТАЛЬНЫМ ВЕРТИКАЛЬНЫМ ЦИЛИНДРИЧЕСКИМ РЕЗЕРВУАРАМ
И.1. Резервуары изготавливают в соответствии с требованиями, изложенными ниже, по рабочим чертежам, утвержденным в установленном порядке.
И.2. Исключен с 1 июля 2013 года. -
Изменение N 2, введенное в действие Приказом Росстандарта от 17.09.2012 N 309-ст.
И.3. Исключен с 1 июня 2008 года. -
Изменение N 1, введенное в действие Приказом Ростехрегулирования от 29.11.2007 N 338-ст.
И.4. Исключен с 1 июня 2008 года. -
Изменение N 1, введенное в действие Приказом Ростехрегулирования от 29.11.2007 N 338-ст.
И.5. Резервуары с плавающей крышей или понтоном изготавливают такими, чтобы плавающая крыша (понтон) могла без препятствий принимать положение, соответствующее уровню жидкости. Существенное искажение результатов измерений уровня и объема жидкости (кроме зоны наплыва) не допускается.
(в ред.
Изменения N 1, введенного в действие Приказом Ростехрегулирования от 29.11.2007 N 338-ст)
И.6. Резервуар должен иметь дополнительный люк-лаз для обслуживания понтона.
И.7. Плавающая крыша (понтон) должна иметь измерительный люк для измерений уровня жидкости и отбора проб и направляющие для исключения ее вращения.
И.8. Исключен с 1 июня 2008 года. -
Изменение N 1, введенное в действие Приказом Ростехрегулирования от 29.11.2007 N 338-ст.
И.9. Исключен с 1 июня 2008 года. -
Изменение N 1, введенное в действие Приказом Ростехрегулирования от 29.11.2007 N 338-ст.
И.10. Трубы для подвода и отвода жидкости из резервуара изготавливают так, чтобы при измерениях уровня жидкости была исключена возможность притока или выхода жидкости произвольным образом.
И.11. Резервуары могут быть оснащены стационарно встроенными элементами: змеевиками, пеноотводами, мешалками, уровнемерами, стационарными пробоотборниками, измерителями (датчиками) температуры и плотности, массомерами и другими устройствами. Комплектность оборудования резервуара должна соответствовать утвержденному проекту.
(в ред.
Изменения N 1, введенного в действие Приказом Ростехрегулирования от 29.11.2007 N 338-ст)
И.12. Резервуары изолируют после их поверки.
И.13. Для ручных измерений уровня жидкости резервуар должен иметь измерительный люк с направляющей планкой, изготовленной из бронзы или латуни. При этом планка должна иметь риску для отсчета при измерениях уровня жидкости и базовой высоты резервуара. Для измерения базовой высоты резервуара с плавающей крышей резервуар должен иметь дополнительный измерительный люк, установленный на направляющей стойке плавающей крыши или на трубе для радарного уровнемера.
(в ред.
Изменения N 1, введенного в действие Приказом Ростехрегулирования от 29.11.2007 N 338-ст)
И.14. Исключен с 1 июня 2008 года. -
Изменение N 1, введенное в действие Приказом Ростехрегулирования от 29.11.2007 N 338-ст.
И.15. Базовую высоту резервуара измеряют ежегодно. Ее значение не должно изменяться более чем на +/- 0,1%.
И.16. Пределы допускаемой относительной погрешности измерений уровня жидкости в резервуаре: +/- 0,1%.
И.17. Межповерочный интервал для всех типов вертикальных резервуаров должен быть не более 5 лет.
(в ред.
Изменения N 1, введенного в действие Приказом Ростехрегулирования от 29.11.2007 N 338-ст)
И.18. Техническая документация вновь сооружаемого резервуара подлежит экспертизе в части выполнения требований метрологического обеспечения в установленном порядке <1>.
--------------------------------
<1> На территории Российской Федерации экспертизу проводит ФГУП ВНИИР ГНМЦ или другой ГНМЦ по специализации.
(п. И.18 введен
Изменением N 1, введенным в действие Приказом Ростехрегулирования от 29.11.2007 N 338-ст)
(обязательное)
ФОРМА ТИТУЛЬНОГО ЛИСТА ГРАДУИРОВОЧНОЙ ТАБЛИЦЫ
И ФОРМА ГРАДУИРОВОЧНОЙ ТАБЛИЦЫ
К.1. Форма титульного листа градуировочной таблицы <1>
(в ред.
Изменения N 1, введенного в действие Приказом Ростехрегулирования от 29.11.2007 N 338-ст,
Изменения N 2, введенного в действие Приказом Росстандарта от 17.09.2012 N 309-ст)
--------------------------------
<1> Форма титульного листа градуировочной таблицы не подлежит изменению.
(сноска введена
Изменением N 2, введенным в действие Приказом Росстандарта от 17.09.2012 N 309-ст)
УТВЕРЖДАЮ
ГРАДУИРОВОЧНАЯ ТАБЛИЦА
на стальной вертикальный цилиндрический резервуар
N
тип
Организация
Погрешность определения вместимости
Участок ниже

для государственных учетных и торговых
операций с нефтью и нефтепродуктами, взаимных расчетов между поставщиком
и потребителем не используется.
┌─────────────────────────────────────────────────────────────────────────┐
│ Программа расчета градуировочной таблицы на ПЭВМ утверждена ГНМЦ-ВНИИР │
│ " " г. │
└─────────────────────────────────────────────────────────────────────────┘
Срок очередной поверки
Поверитель
подпись
,
должность, инициалы, фамилия
подпись
,
должность, инициалы, фамилия
подпись
,
должность, инициалы, фамилия
К.2. Форма градуировочной таблицы <2>
(в ред.
Изменения N 1, введенного в действие Приказом Ростехрегулирования от 29.11.2007 N 338-ст,
Изменения N 2, введенного в действие Приказом Росстандарта от 17.09.2012 N 309-ст)
--------------------------------
<2> Форма градуировочной таблицы не подлежит изменению.
(сноска введена
Изменением N 2, введенным в действие Приказом Росстандарта от 17.09.2012 N 309-ст)
Организация
Резервуар N
Таблица К.1
Посантиметровая вместимость ... пояса резервуара
Лист...
┌───────────────────┬─────────────────┬─────────────────┬─────────────────┐
│Уровень наполнения,│ Вместимость, м3 │ Уровень │ Вместимость, м3 │
│ см │ │ наполнения, см │ │
├───────────────────┼─────────────────┼─────────────────┼─────────────────┤
│ H │ │ │ │
│ м.п │ │ │ │
│ │ │ │ │
│ H + 1 │ │ │ │
│ м.п │ │ │ │
│ │ │ │ │
│ H + 2 │ │ │ │
│ м.п │ │ │ │
│ │ │ │ │
│ ... │ │ │ │
│ │ │ │ │
│ ... │ │ │ │
│ │ │ │ │
│ ... │ │ │ │
│ │ │ │ │
│ │ │ │ │
│ │ │ │ │
│ ... │ │ │ │
│ │ │ │ │
│ │ │ │ │
│ │ │ │ │
│ │ │ │ │
└───────────────────┴─────────────────┴─────────────────┴─────────────────┘
Таблица К.2
Средняя вместимость ... пояса резервуара в пределах
вместимости, приходящейся на 1 см высоты наполнения
┌──────────────┬─────────┬──────────────┬─────────┬──────────────┬─────────┐
│ Уровень │Вмести- │ Уровень │Вмести- │ Уровень │Вмести- │
│наполнения, мм│мость, м3│наполнения, мм│мость, м3│наполнения, мм│мость, м3│
├──────────────┼─────────┼──────────────┼─────────┼──────────────┼─────────┤
│ 1 │ │ 4 │ │ 7 │ │
├──────────────┼─────────┼──────────────┼─────────┼──────────────┼─────────┤
│ 2 │ │ 5 │ │ 8 │ │
├──────────────┼─────────┼──────────────┼─────────┼──────────────┼─────────┤
│ 3 │ │ 6 │ │ 9 │ │
└──────────────┴─────────┴──────────────┴─────────┴──────────────┴─────────┘
(рекомендуемое)
ФОРМА АКТА ЕЖЕГОДНЫХ ИЗМЕРЕНИЙ БАЗОВОЙ ВЫСОТЫ РЕЗЕРВУАРА
Приказом Ростехрегулирования от 29.11.2007 N 338-ст,
Приказом Росстандарта от 17.09.2012 N 309-ст)
УТВЕРЖДАЮ
Руководитель предприятия - владельца
резервуара (директор, гл. инженер)
АКТ
измерений базовой высоты резервуара
от " " г.
Составлен в том, что комиссия
<**>, назначенная приказом по
наименование
, в составе председателя
предприятия - владельца резервуара
и членов:
инициалы, фамилия инициалы, фамилии
провела по ГОСТ контрольные измерения базовой высоты резервуара
N
тип резервуара, номинальная вместимость
при температуре окружающего воздуха °C.
Результаты измерений представлены в таблице 1.
Таблица 1
В миллиметрах
┌─────────────────────────────────────────────────────┬───────────────────┐
│ Базовая высота резервуара │ Уровень жидкости │
├──────────────────────────┬──────────────────────────┤ в резервуаре │
│ Среднее арифметическое │ Значение базовой высоты, │ │
│значение результатов двух │установленное при поверке │ │
│ измерений (H ) │ резервуара (H ) │ │
│ б k │ б п │ │
├──────────────────────────┼──────────────────────────┼───────────────────┤
│ 1 │ 2 │ 3 │
├──────────────────────────┼──────────────────────────┼───────────────────┤
│ │ │ │
└──────────────────────────┴──────────────────────────┴───────────────────┘
Относительное изменение базовой высоты резервуара

, %, вычисляют
по формуле

, где значения величин

,

приведены в 1-й, 2-й графах.
Вывод - требуется (не требуется) корректировка градуировочной таблицы.
Председатель комиссии
подпись инициалы, фамилия
Члены:
подпись инициалы, фамилия
подпись инициалы, фамилия
подпись инициалы, фамилия
--------------------------------
<*> Указывают при заполнении.
<**> В состав комиссии должен быть включен специалист, прошедший курсы
повышения квалификации по поверке и калибровке резервуаров и трубопроводов.
(справочное)
БИБЛИОГРАФИЯ
[1] ТУ 257761.007-87. Толщиномер ультразвуковой УТ-93П
[2] РД 50-388-83. Методические указания. Уровнемеры жидкости образцовые. Методы и средства поверки
[3] МИ 1974-95. Государственная система обеспечения единства измерений. Преобразователи расхода турбинные. Методика поверки
[4] ТУ 25-1819.0021-90. Секундомеры
[5] Рекомендации по метрологии
Р 50.2.076-2010 Государственная система обеспечения единства измерений. Плотность нефти и нефтепродуктов. Методы расчета. Программа и таблицы приведения
(позиция [5] в ред.
Изменения N 2, введенного в действие Приказом Росстандарта от 17.09.2012 N 309-ст)
[6]
РД 153-39-011-97. Инструкция по учету нефтепродуктов на магистральных нефтепродуктопроводах.