Главная // Актуальные документы // ГОСТ Р (Государственный стандарт)СПРАВКА
Источник публикации
М.: ИПК Издательство стандартов, 2000
Примечание к документу
Документ утратил силу с 15 февраля 2014 года в связи с изданием
Приказа Росстандарта от 29.11.2012 N 1866-ст. Взамен введен в действие
ГОСТ 30852.2-2002.
Документ включен в
Перечень национальных стандартов, в результате применения которых на добровольной основе обеспечивается соблюдение требований
Постановления Правительства РФ от 24.02.2010 N 86 "Технический регламент о безопасности оборудования для работы во взрывоопасных средах" (
Приказ Росстандарта от 31.08.2010 N 3347).
Документ включен в
Перечень документов в области стандартизации, содержащих правила и методы исследований (испытаний) и измерений, в том числе правила отбора образцов, необходимых для применения и исполнения технического
регламента о безопасности оборудования для работы во взрывоопасных средах и осуществления оценки соответствия. (
Распоряжение Правительства РФ от 05.08.2010 N 1332-р).
Документ включен в
Перечень национальных стандартов, содержащих правила и методы исследований (испытаний) и измерений, в том числе правила отбора образцов, необходимые для применения и исполнения Федерального
закона от 22.07.2008 N 123-ФЗ и осуществления оценки соответствия (
Распоряжение Правительства РФ от 10.03.2009 N 304-р).
С 1 июля 2003 года до вступления в силу технических регламентов акты федеральных органов исполнительной власти в сфере технического регулирования носят рекомендательный характер и подлежат обязательному исполнению только в части, соответствующей целям, указанным в
пункте 1 статьи 46 Федерального закона от 27.12.2002 N 184-ФЗ.
Введен в действие с 1 января 2001 года.
Название документа
"ГОСТ Р 51330.2-99 (МЭК 60079-1А-75). Электрооборудование взрывозащищенное. Часть 1. Взрывозащита вида "Взрывонепроницаемая оболочка". Дополнение 1. Приложение D. Метод определения безопасного экспериментального максимального зазора"
(принят Постановлением Госстандарта РФ от 09.12.1999 N 493-ст)
"ГОСТ Р 51330.2-99 (МЭК 60079-1А-75). Электрооборудование взрывозащищенное. Часть 1. Взрывозащита вида "Взрывонепроницаемая оболочка". Дополнение 1. Приложение D. Метод определения безопасного экспериментального максимального зазора"
(принят Постановлением Госстандарта РФ от 09.12.1999 N 493-ст)
Принят и введен в действие
от 9 декабря 1999 г. N 493-ст
ГОСУДАРСТВЕННЫЙ СТАНДАРТ РОССИЙСКОЙ ФЕДЕРАЦИИ
ЭЛЕКТРООБОРУДОВАНИЕ ВЗРЫВОЗАЩИЩЕННОЕ
ЧАСТЬ 1
ВЗРЫВОЗАЩИТА ВИДА "ВЗРЫВОНЕПРОНИЦАЕМАЯ ОБОЛОЧКА"
ДОПОЛНЕНИЕ 1. ПРИЛОЖЕНИЕ D
МЕТОД ОПРЕДЕЛЕНИЯ БЕЗОПАСНОГО ЭКСПЕРИМЕНТАЛЬНОГО
МАКСИМАЛЬНОГО ЗАЗОРА
Electrical apparatus for explosive gas atmospheres.
Part 1. Construction and verification test of flameproof
enclosures of electrical apparatus.
First supplement.Appendix D.
Method of test for ascertainment of maximum
experimental safe gap
ГОСТ Р 51330.2-99
(МЭК 60079-1А-75)
Дата введения
1 января 2001 года
1. Разработан Некоммерческой автономной научно-исследовательской организацией "Центр по сертификации взрывозащищенного и рудничного электрооборудования ИГД" (НАНИО "ЦС ВЭ ИГД").
Внесен Техническим комитетом по стандартизации ТК 403 "Взрывозащищенное и рудничное электрооборудование".
2. Утвержден и введен в действие
Постановлением Госстандарта России от 9 декабря 1999 г. N 493-ст.
3. Настоящий стандарт, за исключением
пунктов 4.3,
4.5,
5.1,
5.5,
5.6,
6.5 и
рисунка 2, представляет собой аутентичный текст международного стандарта МЭК 60079-1А-75 "Электрооборудование взрывозащищенное. Часть 1. Взрывозащита вида "взрывонепроницаемая оболочка". Дополнение 1. Приложение D. Метод определения безопасного экспериментального максимального зазора".
4. Введен впервые.
Настоящий стандарт входит в комплекс государственных стандартов на взрывозащищенное электрооборудование, разрабатываемых Техническим комитетом ТК 403 "Взрывозащищенное и рудничное электрооборудование" на основе применения международных стандартов на взрывозащищенное электрооборудование.
В стандарт, дополнительно к требованиям международного стандарта МЭК 60079-1А-75, включены положения, конкретизирующие отдельные пункты МЭК 60079-1А-75 с учетом сложившейся национальной практики, норм и требований государственных стандартов.
В
разделах 2 -
6 и таблице 1 в описании метода, аппаратуры, методики испытаний по определению БЭМЗ и в названиях взрывоопасных смесей использована терминология, принятая в государственных стандартах.
| | ИС МЕГАНОРМ: примечание. Дополнения, выделенные в официальном тексте документа курсивом, в его электронной версии выделены прописными буквами. | |
Указанные дополнения в стандарте выделены курсивом.
В стандарте сохранена нумерация основного текста разделов и нумерация химических соединений, приведенных в
таблице А.1 Приложения А, установленная в МЭК 60079-1А-75.
Настоящий стандарт устанавливает технические требования к средствам и методу определения безопасного экспериментального максимального зазора (далее - БЭМЗ), предназначенного для классификации взрывоопасных смесей по категориям взрывоопасности.
Метод определения БЭМЗ для смесей газов и паров с воздухом при нормальной температуре <*> и давлении окружающей среды позволяет установить категорию взрывоопасности взрывоопасных смесей в соответствии с
ГОСТ Р 51330.0 или
ГОСТ Р 51330.11.
--------------------------------
<*> Исключение сделано для веществ, упругость пара которых недостаточна, чтобы получить смесь заданной концентрации при температуре окружающей среды. Допускается нагрев на 5 °C выше температуры, необходимой для образования заданной упругости пара.
В настоящем стандарте использованы ссылки на следующие стандарты:
ГОСТ Р 51330.0-99 (МЭК 60079-0-98) Электрооборудование взрывозащищенное. Часть 0. Общие требования
ГОСТ Р 51330.11-99 (МЭК 60079-12-78) Электрооборудование взрывозащищенное. Часть 12. Классификация смесей газов или паров с воздухом по безопасным экспериментальным максимальным зазорам и минимальным воспламеняющим токам
ГОСТ 12.1.044-89 Система стандартов безопасности труда. Пожаровзрывоопасность веществ и материалов. Номенклатура показателей и методы их определения
БЭМЗ представляет собой максимальный зазор между двумя частями камеры, состоящей из полусфер с фланцами длиной 25 мм, исключающий воспламенение внешней смеси газа или пара в воздухе при воспламенении этой смеси внутри камеры.
Испытательная установка состоит из внутренней и внешней камер. Внешняя камера оборудована смотровыми окнами. Внутренняя камера состоит из двух полусфер с кольцевым зазором между ними, устанавливаемым с высокой точностью. Обе камеры заполняют испытуемой смесью газа или пара с воздухом при нормальном давлении 0,1 МПа и температуре 20 °C. Воспламеняют смесь во внутренней камере и о наличии или отсутствии воспламенения во внешней камере судят на основании наблюдения через смотровые окна.
БЭМЗ определяют путем постепенного уменьшения кольцевого зазора до такого значения, при котором не происходит воспламенение смеси во внешней камере для любой концентрации газа или пара в воздухе.
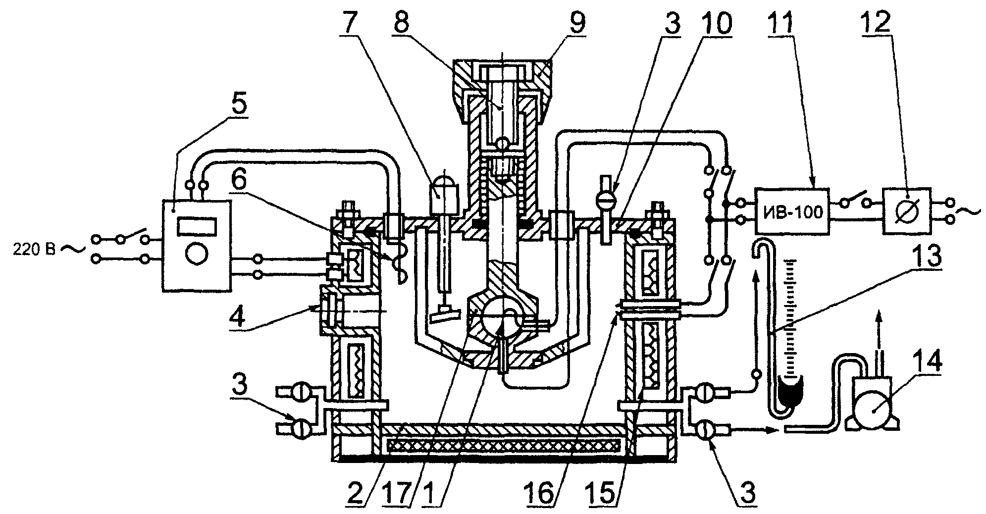
4. Испытательная установка
Схемы испытательной установки для определения БЭМЗ приведены на рисунках 1 и
2.
1 - внутренняя камера; 2 - внешняя камера;
3 - микрометрический винт; 4 - насос;
5 - смотровые окна; 6 - верхняя подвижная часть внутренней
камеры; 7 - нижняя неподвижная часть внутренней камеры;
8 - электроды, между которыми возникает искровой разряд;
9 - краны; 10 - огнепреградитель
Рисунок 1. Установка для определения БЭМЗ
1 - электроды; 2 - камера; 3 - краны вакуумные;
4 - смотровое окно; 5 - блок автоматического терморегулирования;
6 - датчик температуры; 7 - устройство для перемешивания смеси;
8 - микрометрический винт; 9 - головка винта; 10 - крышка;
11 - индуктор высоковольтный; 12 - лабораторный автотрансформатор;
13 - вакуумметр; 14 - вакуум-насос; 15 - нагревательные элементы;
16 - запальная свеча; 17 - сферическая оболочка
Рисунок 2. Установка для определения БЭМЗ
4.1. Механическая прочность
Испытательная установка рассчитана на максимальное давление 1,5 МПа, что обеспечивает сохранение установленного зазора с требуемой точностью.
4.2. Внутренняя камера
Внутренняя камера испытательной установки (
рисунки 1 и
2) представляет собой сферическую оболочку объемом (20 +/- 1) см3, состоящую из двух полусфер с фланцами длиной 25 мм: нижняя полусфера неподвижная, верхняя прижата пружиной к микрометрическому винту.
Внешняя камера испытательной установки (
рисунки 1 и
2) представляет собой цилиндрическую камеру объемом от 2,3 до 4,0 дм3, оборудованную смотровыми окнами, запальной свечой и кранами.
4.4. Регулировка зазора
Изменение величины зазора между фланцами двух полусфер производят вращением головки микрометрического винта. Микрометрический винт должен быть с шагом резьбы 0,5 мм и диаметром 16 мм со шкалой, выгравированной на микрометрической головке.
Внутреннюю камеру (
рисунок 1) заполняют газо- или паровоздушной смесью через отверстие диаметром 3 мм. Объем входных каналов 5 см3. Вход во внешнюю камеру состоит из семи отверстий диаметром 2 мм. Входные и выходные отверстия для взрывоопасной смеси защищены огнепреградителями.
В ИСПЫТАТЕЛЬНОЙ УСТАНОВКЕ (
РИСУНОК 2) ВНУТРЕННЮЮ И ВНЕШНЮЮ КАМЕРЫ ВАКУУМИРУЮТ, ЗАПОЛНЯЮТ ГОРЮЧЕЙ КОМПОНЕНТОЙ И ВОЗДУХОМ ИЛИ ОТДЕЛЬНО ПРИГОТОВЛЕННОЙ ВЗРЫВООПАСНОЙ СМЕСЬЮ.
4.6. Электроды источников поджигания
Электроды должны быть из нержавеющей стали с искровым промежутком (3 +/- 0,5) мм. Они должны располагаться вертикально и находиться на расстоянии не менее 14 мм от внутренней кромки фланцев внутренней камеры.
4.7. Смотровые окна
Одно или два смотровых окна диаметром 74 мм должны быть расположены на стенках внешней камеры.
4.8. Материал испытательной установки
Основные элементы испытательной установки и особенно стенки и фланцы внутренней камеры, а также электроды для получения искрового разряда должны изготавливаться из нержавеющей стали. При испытаниях некоторых газов и паров допускается изготавливать основные элементы испытательной установки из других материалов, не вступающих в химическое взаимодействие с окружающей атмосферой в процессе эксперимента.
5.1. Приготовление взрывоопасных смесей
Для получения достоверных результатов при проведении испытаний необходимо тщательно следить за стабильностью концентрации взрывоопасной смеси. Поток взрывоопасной смеси через внутреннюю и внешнюю камеры (
рисунок 1) поддерживают до тех пор, пока концентрация смеси на входе и выходе не сравняется.
В ИСПЫТАТЕЛЬНОЙ УСТАНОВКЕ (
РИСУНОК 2) ВНУТРЕННЮЮ И ВНЕШНЮЮ КАМЕРЫ ВАКУУМИРУЮТ, ЗАПОЛНЯЮТ ОТДЕЛЬНО ПРИГОТОВЛЕННОЙ ВЗРЫВООПАСНОЙ СМЕСЬЮ ИЛИ ГОРЮЧЕЙ КОМПОНЕНТОЙ И ВОЗДУХОМ ПО МЕТОДУ ПАРЦИАЛЬНЫХ ДАВЛЕНИЙ.
ПАРЦИАЛЬНОЕ ДАВЛЕНИЕ ГАЗА P, КПА, НЕОБХОДИМОЕ ДЛЯ ОДНОГО ИСПЫТАНИЯ, В СООТВЕТСТВИИ С ЗАДАННОЙ КОНЦЕНТРАЦИЕЙ СМЕСИ РАССЧИТЫВАЮТ ПО ЗАКОНУ ДАЛЬТОНА ПО ФОРМУЛЕ

, (1)
ГДЕ K - ЗАДАННАЯ КОНЦЕНТРАЦИЯ, ОБЪЕМНЫЕ ДОЛИ;

- АТМОСФЕРНОЕ ДАВЛЕНИЕ, КПА.
ПОСЛЕ ВВЕДЕНИЯ ГОРЮЧЕГО КАМЕРЫ ЗАПОЛНЯЮТ ВОЗДУХОМ ДО АТМОСФЕРНОГО ДАВЛЕНИЯ.
ДЛЯ ГАЗОВ С ВЫСОКОЙ КРИТИЧЕСКОЙ ТЕМПЕРАТУРОЙ ПРИ ОПРЕДЕЛЕНИИ ОБЪЕМНОЙ КОНЦЕНТРАЦИИ СЛЕДУЕТ УЧИТЫВАТЬ ОТКЛОНЕНИЕ ОТ СОСТОЯНИЯ ИДЕАЛЬНОГО ГАЗА ПО
ГОСТ 12.1.044.
ПРИ ПРОВЕДЕНИИ ОПЫТОВ С ЖИДКИМ ГОРЮЧИМ ВЕЩЕСТВОМ КОЛИЧЕСТВО ЖИДКОСТИ Т, ММ, НЕОБХОДИМОЕ ДЛЯ ОДНОГО ИСПЫТАНИЯ, РАССЧИТЫВАЮТ ПО ФОРМУЛЕ

, (2)
ГДЕ М - МОЛЕКУЛЯРНАЯ МАССА;
V - ВМЕСТИМОСТЬ КАМЕРЫ, ДМ3;
Т - ТЕМПЕРАТУРА ИСПЫТАНИЯ, °C;

- ПЛОТНОСТЬ, КГ/М3.
ДЛЯ ПРОВЕДЕНИЯ ИСПЫТАНИЙ ПРИ НАГРЕВАНИИ ВКЛЮЧАЮТ БЛОК ТЕРМОРЕГУЛИРОВАНИЯ, УСТАНОВИВ ЕГО НА ТЕМПЕРАТУРУ ИСПЫТАНИЯ.
ВЛАЖНОСТЬ ВОЗДУХА, ИСПОЛЬЗУЕМОГО ДЛЯ ПОДГОТОВКИ СМЕСИ, НЕ ДОЛЖНА БЫТЬ БОЛЬШЕ 0,2% ПО ОБЪЕМУ (ОТНОСИТЕЛЬНАЯ ВЛАЖНОСТЬ 10%).
5.2. Температура и давление
Испытания проводят при температуре окружающей среды (20 +/- 5) °C, за исключением испытаний паровоздушных смесей, приготавливаемых при более высокой температуре. Давление во внутренней камере должно быть равно атмосферному.
5.3. Нулевая установка зазора
Перед испытаниями необходимо проверить параллельность фланцев и нулевую установку зазора, при этом усилие, приложенное к головке микрометрического винта, должно быть небольшим (например, около

Н).
5.4. Воспламенение взрывоопасной смеси
Воспламенение взрывоопасной смеси во внутренней камере осуществляют с помощью искрового разряда, возникающего между электродами при подаче на них высокого напряжения от катушки зажигания.
5.5. Контроль за результатами испытаний
ПОСЛЕ ПРИГОТОВЛЕНИЯ (ЗАПОЛНЕНИЯ) СМЕСИ ГОРЮЧЕГО С ВОЗДУХОМ В КАМЕРАХ ЕЕ ПОДЖИГАЮТ ИСКРОВЫМ ЭЛЕКТРИЧЕСКИМ РАЗРЯДОМ. О НАЛИЧИИ ВЗРЫВА ВО ВНУТРЕННЕЙ КАМЕРЕ СУДЯТ ПО СПЕЦИАЛЬНОМУ ДАТЧИКУ. ЧЕРЕЗ СМОТРОВОЕ ОКНО НАБЛЮДАЮТ ЗА РЕЗУЛЬТАТОМ ИСПЫТАНИЙ. ЕСЛИ ВЗРЫВ ИЗ ВНУТРЕННЕЙ КАМЕРЫ ПЕРЕДАЕТСЯ ЧЕРЕЗ ФЛАНЦЕВЫЙ ЗАЗОР ВО ВНЕШНЮЮ КАМЕРУ И ВОСПЛАМЕНЯЕТ ОКРУЖАЮЩУЮ ВЗРЫВООПАСНУЮ СМЕСЬ, СЧИТАЮТ, ЧТО ПРОИЗОШЛА "ПЕРЕДАЧА ВЗРЫВА"; ЕСЛИ ВЗРЫВ ИЗ ВНУТРЕННЕЙ КАМЕРЫ НЕ ПЕРЕДАЕТСЯ ЧЕРЕЗ ЗАЗОР В ОКРУЖАЮЩУЮ СРЕДУ, ТО ФИКСИРУЮТ "НЕПЕРЕДАЧУ ВЗРЫВА". ПРИ "НЕПЕРЕДАЧЕ ВЗРЫВА" СМЕСЬ ПОДЖИГАЮТ ИСКРОЙ ОТ ЗАПАЛЬНОЙ СВЕЧИ ВО ВНЕШНЕЙ КАМЕРЕ. ПОСЛЕ ИСПЫТАНИЯ КАМЕРЫ ПРОДУВАЮТ ВОЗДУХОМ.
5.6. Требования безопасности
ПРИ ВЫПОЛНЕНИИ ИСПЫТАНИЙ ДОЛЖНЫ БЫТЬ СОБЛЮДЕНЫ ПРАВИЛА ПО ТЕХНИКЕ БЕЗОПАСНОСТИ ПРИ РАБОТЕ СО ВЗРЫВООПАСНЫМИ СМЕСЯМИ И ЭЛЕКТРООБОРУДОВАНИЕМ.
ПРИ ИСПЫТАНИЯХ ТОКСИЧНОГО ВЕЩЕСТВА ИЛИ ВЕЩЕСТВА, КОТОРОЕ ВЫДЕЛЯЕТ ТОКСИЧНЫЕ КОМПОНЕНТЫ ПРИ РАЗЛОЖЕНИИ ИЛИ ГОРЕНИИ, ИСПЫТАНИЯ ПРОВОДЯТ ПРИ СОБЛЮДЕНИИ ПРАВИЛ ПО ТЕХНИКЕ БЕЗОПАСНОСТИ ПО РАБОТЕ С ДАННЫМИ ВЕЩЕСТВАМИ. В ЭТОМ СЛУЧАЕ ИСПЫТАТЕЛЬНУЮ УСТАНОВКУ ПОМЕЩАЮТ В ВЫТЯЖНОМ ШКАФУ, ПРИМЕНЯЮТ СООТВЕТСТВУЮЩИЕ ПРОТИВОГАЗ И ДЕГАЗАЦИОННЫЕ СРЕДСТВА.
6.1. Определение БЭМЗ проводят в два этапа: предварительные и подтверждающие испытания.
6.2. Предварительные испытания
При предварительных испытаниях с заданной концентрацией горючего газа или пара в воздухе проводят не менее двух видов испытаний на воспламенение смеси в оболочке на каждом из зазоров, значения которых находятся между безопасным и опасным зазорами с интервалами 0,02 мм, с целью нахождения наименьшего зазора

, при котором вероятность передачи взрыва из внутренней камеры во внешнюю равна 100%, и наибольшего зазора

, при котором вероятность передачи взрыва равна нулю. В последующем зазоры

и

определяют для других концентраций горючего в смеси с воздухом, лежащими выше и ниже взятой первоначально концентрации.
По полученным результатам строят график зависимости величины зазора от концентрации взрывоопасной смеси.
Из полученных данных определяют смесь с такой концентрацией, для которой зазоры

и

имеют наименьшее значение.
6.3. Подтверждающие испытания
При подтверждающих испытаниях результаты проверяют повторением испытаний на каждой установленной величине зазора на основании 10 опытов при концентрациях смеси, близких к наиболее опасной по передаче взрыва, полученной в предварительных испытаниях. По полученным результатам определяют минимальные значения зазора

.
6.4. Обработка результатов испытаний
Наибольшая разница между

, полученная после двух серий испытаний, не должна превышать 0,04 мм. Если полученные значения

лежат в указанном диапазоне, то за величину БЭМЗ для данного исследуемого вещества принимают такую, для которой разность между

-

наименьшая.
ЕСЛИ РАЗНОСТЬ МЕЖДУ ВЕЛИЧИНАМИ

, ПОЛУЧЕННАЯ ПРИ РАЗЛИЧНЫХ СЕРИЯХ ИСПЫТАНИЙ, ПРЕВЫШАЕТ 0,04 ММ, НЕОБХОДИМО ПРОВЕСТИ КОНТРОЛЬНЫЕ ИСПЫТАНИЯ ПОСЛЕ ПОДТВЕРЖДЕНИЯ ТОГО, ЧТО ИСПОЛЬЗУЕМАЯ УСТАНОВКА ПОЗВОЛЯЕТ ВОСПРОИЗВЕСТИ ТАБЛИЧНОЕ ЗНАЧЕНИЕ БЭМЗ ДЛЯ ВОДОРОДА, РАВНОЕ 0,29 ММ ПРИ ОБЪЕМНОЙ ДОЛЕ ВОДОРОДА В СМЕСИ 0,27. ЗАТЕМ СЛЕДУЕТ ПОВТОРИТЬ ИСПЫТАНИЯ С ИССЛЕДУЕМЫМ ВЕЩЕСТВОМ.
6.5. Протоколирование результатов испытаний
ПОСЛЕ ПРОВЕДЕНИЯ ОПЫТОВ В ПРОТОКОЛЕ ИСПЫТАНИЙ ФИКСИРУЮТ НАИБОЛЕЕ ОПАСНУЮ КОНЦЕНТРАЦИЮ ГОРЮЧЕГО ВЕЩЕСТВА ПО ПЕРЕДАЧЕ ВЗРЫВА ЧЕРЕЗ ЗАЗОР, ЗНАЧЕНИЕ БЭМЗ, КАТЕГОРИЮ ВЗРЫВООПАСНОСТИ И РАЗНОСТЬ МЕЖДУ

-

.
КОНЦЕНТРАЦИЯ С НАИБОЛЬШЕЙ ОПАСНОСТЬЮ ВОСПЛАМЕНЕНИЯ И ЗНАЧЕНИЯ БЭМЗ ДЛЯ РАЗЛИЧНЫХ ГАЗОВ И ПАРОВ ПРИВЕДЕНЫ В ПРИЛОЖЕНИИ А.
УСЛОВИЯ И РЕЗУЛЬТАТЫ ИСПЫТАНИЙ ДОЛЖНЫ РЕГИСТРИРОВАТЬСЯ С ПОГРЕШНОСТЬЮ
- ТЕМПЕРАТУРА ... 1 °C
- ЗНАЧЕНИЕ ЗАЗОРА ... 0,01 ММ
- РАЗРЯЖЕНИЕ ПРИ ВАКУУМИРОВАНИИ ... 0,1 КПА
- ВРЕМЯ ... 1 С
- ОБЪЕМ ВЕЩЕСТВА ... 0,05 СМ3
(обязательное)
НАИБОЛЕЕ ЛЕГКОВОСПЛАМЕНЯЕМАЯ КОНЦЕНТРАЦИЯ
И ЗНАЧЕНИЯ БЭМЗ ДЛЯ РАЗЛИЧНЫХ ГАЗОВ И ПАРОВ
Наименование и формула газа или пара | Наиболее лег- ковоспламеня- емая концент- рация, % | БЭМЗ, мм | S - S , мм 100 0 |
Оксид углерода СО | 40,8 | 0,94 | 0,03 |
Метан СН 4 | 8,2 | 1,14 | 0,11 |
Пропан С Н 3 8 | 4,2 | 0,92 | 0,03 |
Бутан С Н 4 10 | 3,2 | 0,98 | 0,02 |
Пентан С Н 5 12 | 2,55 | 0,93 | 0,02 |
Гексан С Н 6 14 | 2,5 | 0,93 | 0,02 |
Гептан С Н 7 16 | 2,3 | 0,91 | 0,02 |
Изооктан С Н 8 18 | 2,0 | 1,04 | 0,04 |
н-Октан С Н 8 18 | 1,94 | 0,94 | 0,02 |
Декан С Н 10 22 | 120/105 (мг/л) | (1,02) | - |
Циклогексанон С Н О 6 10 | 3,0 | 0,95 | 0,03 |
Ацетон С Н О 3 6 | 5,9/4,5 | (1,02) | - |
Этилметилкетон С Н О 4 8 | 4,8 | 0,92 | 0,02 |
Метилацетат С Н О 3 6 2 | 208/152 (мг/л) | (0,99) | - |
Этилацетат С Н О 4 8 2 | 4,7 | 0,99 | 0,04 |
Пропилацетат С Н О 5 10 2 | 135 (мг/л) | (1,04) | - |
Циклогексан С Н 6 12 | 90 (мг/л) | (0,94) | - |
Амилацетат С Н О 7 14 2 | 110 (мг/л) | (0,99) | - |
Бутилацетат С Н О 6 12 2 | 130 (мг/л) | (1,02) | - |
Хлорвинил С Н Cl 2 3 | 7,3 | 0,99 | 0,04 |
Метиловый спирт СН ОН 3 | 11,0 | 0,92 | 0,03 |
Этиловый спирт С Н ОН 2 5 | 6,5 | 0,89 | 0,02 |
Винилиденхлорид С Н Cl 2 2 2 | 10,5 | 3,91 | 0,08 |
Бензотрифторид С Н CF 6 5 3 | 19,3 °C | 1,40 | 0,05 |
Изобутанол С Н О 4 10 | 105/125 (мг/л) | (0,96) | - |
н-Бутанол С Н О 4 10 | 115/125 (мг/л) | (0,94) | - |
Пентанол С Н ОН 5 11 | 100/100 (мг/л) | (0,99) | - |
Этилнитрит С Н ONO 2 5 | 270/270 (мг/л) | (0,96) | - |
Аммиак NH 3 | 24,5/17,0 | (3,17) | - |
1,3-Бутадиен С Н 4 6 | 3,9 | 0,79 | 0,02 |
Этилен С Н 2 4 | 6,5 | 0,65 | 0,02 |
Диэтиловый эфир С Н О 4 10 | 3,47 | 0,87 | 0,01 |
Оксид этилена С Н О 2 4 | 8,0 | 0,59 | 0,02 |
Городской газ (Н = 57%, 2 СО = 16%) | 21/21 | 0,53 | - |
Ацетилен С Н 2 2 | 3 | 0,37 | 0,01 |
Водород Н 2 | 27,0 | 0,29 | 0,01 |
Сероуглерод CS 2 | 8,5 | 0,34 | 0,02 |
Диоксан С Н О 4 8 2 | 4,75 | 0,70 | 0,02 |
Изопентан С Н 5 12 | 2,45 | 0,98 | 0,02 |
Хлорбутан С Н Cl 4 9 | 3,9 | 1,06 | 0,04 |
Ди-н-бутиловый С Н О эфир 8 18 | 2,6 | 0,86 | 0,02 |
Диметиловый эфир С Н О 2 6 | 7,0 | 0,84 | 0,06 |
Пропилен С Н 3 6 | 4,8 | 0,91 | 0,02 |
Ацетонитрил С Н N 2 3 | 7,2 | 1,50 | 0,05 |
Диизопропиловый С Н О эфир 6 14 | 2,6 | 0,94 | 0,06 |
1,2 - Дихлорэтан С Н Cl 2 4 | 9,5 | 1,8 | 0,05 |
Оксид пропилена С Н О 3 6 | 4,55 | 0,70 | 0,03 |
Этан С Н 2 6 | 5,9 | 0,91 | 0,02 |
Метилизобутил- С Н О кетон 6 12 | 3,0 | 0,98 | 0,03 |
Акрилонитрил СН =CHCN 2 | 7,1 | 0,87 | 0,02 |
Метилакрилат С Н О 4 6 2 | 5,6 | 0,85 | 0,02 |
Бутилгликоль С Н О 6 12 3 | 4,2 | 0,88 | 0,02 |
Ацетилацетон С Н О 5 8 2 | 3,3 | 0,95 | 0,15 |
Этилацетоацетат С Н О 6 10 3 | 2,4 | 0,90 +/- 0,05 | 0,05 |
Гексанол С Н ОН 6 13 | 3,0 | 0,94 | 0,06 |
Изопропанол С Н ОН 3 7 | 5,1 | 0,99 | 0,02 |
Этилкрилат С Н О 5 8 2 | 4,3 | 0,86 | 0,04 |
Цианистый HCN водород | 18,4 | 0,80 | 0,02 |
Винилацетат С Н О 4 6 2 | 4,75 | 0,94 | 0,02 |
Примечание. Значения БЭМЗ, приведенные в скобках, получены путем испытания на испытательной установке, отличной от приведенной в настоящем стандарте. |