Главная // Актуальные документы // ГОСТ (Государственный стандарт)СПРАВКА
Источник публикации
М.: ИПК Издательство стандартов, 2001
Примечание к документу
С 1 июля 2003 года до вступления в силу технических регламентов акты федеральных органов исполнительной власти в сфере технического регулирования носят рекомендательный характер и подлежат обязательному исполнению только в части, соответствующей целям, указанным в
пункте 1 статьи 46 Федерального закона от 27.12.2002 N 184-ФЗ.
Документ
введен в действие с 1 июля 1979 года.
Название документа
"ГОСТ 23134-78. Межгосударственный стандарт. Уборы головные медицинские. Технические условия"
(утв. и введен в действие Постановлением Госстандарта СССР от 23.05.1978 N 1369)
(ред. от 01.06.1988)
"ГОСТ 23134-78. Межгосударственный стандарт. Уборы головные медицинские. Технические условия"
(утв. и введен в действие Постановлением Госстандарта СССР от 23.05.1978 N 1369)
(ред. от 01.06.1988)
Утвержден и введен в действие
Постановлением Государственного
комитета стандартов
Совета Министров СССР
от 23 мая 1978 г. N 1369
МЕЖГОСУДАРСТВЕННЫЙ СТАНДАРТ
УБОРЫ ГОЛОВНЫЕ МЕДИЦИНСКИЕ
ТЕХНИЧЕСКИЕ УСЛОВИЯ
Head-dresses medical. Technical specifications
ГОСТ 23134-78
| | Список изменяющих документов (в ред. Изменения N 1, утв. в июле 1980 г., Изменения N 2, утв. в июне 1988 г.) | |
Дата введения
1 июля 1979 года
1. Утвержден и введен в действие Постановлением Государственного комитета стандартов Совета Министров СССР от 23.05.1978 N 1369.
2. Ссылочные нормативно-технические документы
Обозначение НТД, на который дана ссылка | Номер пункта, подпункта |
| | ИС МЕГАНОРМ: примечание. В официальном тексте документа, видимо, допущена опечатка: имеется в виду пункт 3а, а не пункт 3.2. | |
|
| |
| |
| |
ГОСТ 10438-78 | |
| |
| |
| |
| |
| |
| |
| |
ГОСТ 21790-93 | |
| | ИС МЕГАНОРМ: примечание. В официальном тексте документа, видимо, допущена опечатка: имеется в виду пункт 3, а не пункт 3.1. | |
|
| |
| |
ОСТ 17-582-76 | |
ОСТ 17-805-85 | |
ОСТ 17-835-80 | |
ТУ 17 РСФСР 60-10724-84 | |
ТУ 17 РСФСР 65-9010-87 | |
ТУ 17 РСФСР 66-11378-87 | |
ТУ 17 РСФСР 67-9269-79 | |
ТУ 17 РСФСР 67-11200-86 | |
ТУ 17 УССР 3503-81 | |
3. Ограничение срока действия снято по Протоколу N 3-93 Межгосударственного совета по стандартизации, метрологии и сертификации (ИУС 5-6-93).
4. Издание (март 2001 г.) с Изменениями N 1, 2, утвержденными в июле 1980 г., июне 1988 г. (ИУС 9-80, 10-88).
Настоящий стандарт распространяется на головные уборы для медицинского персонала лечебно-профилактических учреждений и для больных, находящихся в госпиталях.
1. ТИПЫ И ОСНОВНЫЕ РАЗМЕРЫ
1.1. Медицинские головные уборы должны изготовляться четырех типов и четырнадцати моделей:
А - колпак семи моделей для медицинского персонала хирургического или терапевтического профиля (черт. 1 -
5);
В - косынка-наколка трех моделей (
черт. 9 -
11);
Г - кепи для больных, находящихся в госпиталях
(черт. 12).
Тип А
Черт. 1
Модель III
Черт. 2
Модель IV
Черт. 3
Модели V, VI
Черт. 4
Черт. 5
Тип Б
Черт. 6
Модель II
Черт. 7
Черт. 8
Тип В
Черт. 9
Модель II
Черт. 10
Черт. 11
Черт. 12
1.2. (Исключен, Изм. N 1).
1.3. Головной убор типа Г должен изготовляться пяти размеров: 54, 56, 58, 60, 62.
Головные уборы размеров свыше 62 должны изготовляться по требованию заказчика.
1.4. Измерения готовых медицинских головных уборов типов А, Б и В должны соответствовать указанным на
черт. 1 -
11 и в табл. 1.
Таблица 1
см
Номер измерения на чертеже | Наименование измерения | Значение измерения |
Модели |
I | II | III | IV | V |
Головной убор типа А (колпак) |
1 | Длина внутренней окружности | 66,0 | 70,0 | 70,0 | 70,0 | 60,0 | 61,0 | 62,0 | 63,0 | 64,0 |
2 | Высота стенки колпака спереди | 15,0 | 22,0 | - | 25,0 | 13,0 | 13,0 | 13,0 | 13,0 | 13,0 |
3 | Высота стенки колпака сзади | - | - | 35,0 | - | - | - | - | - | - |
4 | Длина донышка | - | - | 25,0 | 20,5 | - | - | - | - | - |
5 | Высота бортика | 18,6 | 19,4 | 35,0 | 20,0 | 18,0 | 18,5 | 19,0 | 19,5 | 20,0 |
6 | Длина бортика | - | - | 10,0 | 5,0 | - | - | - | - | - |
7 | Расстояние между выступами ушков | - | - | 27,0 | - | - | - | - | - | - |
- | - | - | 17,5 | - | - | - | - | - |
Головной убор типа Б (косынка) |
1 | Длина косынки | 106 | 112 | 130 | 132 | - | - | - | - | - | - | - | - |
- | - | - | - | 57,0 | 78,6 | - | - | - | - | - | - |
2 | Ширина косынки | 53 | 60 | 69 | 75 | - | - | - | - | - | - | - | - |
- | - | - | - | 37,0 | 44,0 | - | - | - | - | - | - |
3 | Длина бортика | - | - | - | - | 89,0 | - | - | - | - | - | - | - |
4 | Высота бортика посередине | - | - | - | - | 10,0 | - | - | - | - | - | - | - |
5 | Расстояние между выступами ушков | - | - | - | - | - | 35,0 | - | - | - | - | - | - |
6 | Высота стенки посередине | - | - | - | - | - | 13,7 | - | - | - | - | - | - |
Головной убор типа В (косынка-наколка) |
1 | Длина косынки-наколки | - | 80,0 | - | - | 57,4 | 79,2 | - | - | - | - | - | - |
2 | Длина верхнего края | - | 50,0 | - | - | - | - | - | - | - | - | - | - |
- | - | - | - | 21,5 | - | - | - | - | - | - | - |
3 | Расстояние между выступами ушков | - | 35,0 | - | - | 35,0 | - | - | - | - | - | - | - |
4 | Высота косынки-наколки посередине | - | 14,8 | - | - | 19,7 | 17,2 | - | - | - | - | - | - |
5 | Длина завязок | - | - | - | - | 23,0 | - | - | - | - | - | - | - |
Продолжение табл. 1
см
Номер измерения на чертеже | Наименование измерения | Значение измерения | Допускаемое отклонение |
Модели |
VI | VII |
Головной убор типа А (колпак) |
1 | Длина внутренней окружности | 60,0 | 61,0 | 62,0 | 63,0 | 64,0 | 60,0 | 61,0 | 62,0 | 63,0 | 64,0 | +/- 0,5 |
2 | Высота стенки колпака спереди | 16,2 | 16,2 | 16,2 | 16,2 | 16,2 | 10,0 | 10,0 | 10,0 | 10,0 | 10,0 | +/- 0,3 |
- | - | - | - | - | - | - | - | - | - | +/- 0,5 |
3 | Высота стенки колпака сзади | - | - | - | - | - | - | - | - | - | - | +/- 0,3 |
4 | Длина донышка | 18,0 | 18,5 | 19,0 | 19,5 | 20,0 | 18,0 | 18,5 | 19,0 | 19,5 | 20,0 | +/- 0,2 |
5 | Высота бортика | - | - | - | - | - | 8,0 | 8,0 | 8,0 | 8,0 | 8,0 | +/- 0,2 |
6 | Длина бортика | - | - | - | - | - | - | - | - | - | - | +/- 0,3 |
7 | Расстояние между выступами ушков | - | - | - | - | - | 24,0 | 24,0 | 24,0 | 24,0 | 24,0 | +/- 0,5 |
Головной убор типа Б (косынка) |
1 | Длина косынки | - | - | - | - | - | - | - | - | - | - | -2,0 |
- | - | - | - | - | - | - | - | - | - | +/- 0,5 |
2 | Ширина косынки | - | - | - | - | - | - | - | - | - | - | -2,0 |
- | - | - | - | - | - | - | - | - | - | +/- 0,5 |
3 | Длина бортика | - | - | - | - | - | - | - | - | - | - | +/- 0,5 |
4 | Высота бортика посередине | - | - | - | - | - | - | - | - | - | - | +/- 0,2 |
5 | Расстояние между выступами ушков | - | - | - | - | - | - | - | - | - | - | +/- 0,5 |
6 | Высота стенки посередине | - | - | - | - | - | - | - | - | - | - | +/- 0,2 |
Головной убор типа В (косынка-наколка) |
1 | Длина косынки-наколки | - | - | - | - | - | - | - | - | - | - | +/- 0,5 |
2 | Длина верхнего края | - | - | - | - | - | - | - | - | - | - | +/- 0,5 |
- | - | - | - | - | - | - | - | - | - | +/- 0,3 |
3 | Расстояние между выступами ушков | - | - | - | - | - | - | - | - | - | - | +/- 0,5 |
4 | Высота косынки-наколки посередине | - | - | - | - | - | - | - | - | - | - | +/- 0,2 |
5 | Длина завязок | - | - | - | - | - | - | - | - | - | - | +/- 0,3 |
Примечания:
1. Головные уборы типов А, Б и В регулируются по размеру головы при помощи тесьмы или хлястиков.
2. Головной убор типа Б с измерениями по длине и ширине 130 x 69 см и 132 x 75 см - косынка для защиты от особо опасных инфекций.
3. По согласованию с заказчиком допускается изготовлять головные уборы меньших размеров.
1.3, 1.4. (Измененная редакция, Изм. N 2).
1.5. Измерения готовых медицинских головных уборов типа Г должны соответствовать указанным в табл. 2 и на
черт. 12.
Таблица 2
см
Номер измерения на чертеже | Наименование измерения | Размер | Допускается отклонение |
54 | 56 | 58 | 60 | 62 |
1 | Длина внутренней окружности | 55,0 | 57,0 | 59,0 | 61,0 | 63,0 | +/- 0,5 |
2 | Длина донышка | 23,6 | 24,2 | 24,8 | 25,4 | 26,0 | +/- 0,3 |
3 | Ширина донышка | 21,6 | 22,2 | 22,8 | 23,4 | 24,0 | +/- 0,3 |
4 | Высота стенки | 8,2 | 8,2 | 8,2 | 8,2 | 8,2 | +/- 0,2 |
5 | Ширина козырька посередине | 5,5 | 5,5 | 5,5 | 5,5 | 5,5 | +/- 0,2 |
2. ТЕХНИЧЕСКИЕ ТРЕБОВАНИЯ
2.1. Медицинские головные уборы по размерам, внешнему виду, применяемым материалам и качеству изготовления должны соответствовать требованиям настоящего стандарта и утвержденному заказчиком образцу.
2.2. Материалы
2.2.1. Медицинские головные уборы должны изготовляться из материалов, указанных в табл. 3.
Наименование материала | Нормативно-техническая документация | Назначение материала |
1. Бязь отбеленная арт. 222, 224, 234, 247 | | Для медицинских головных уборов типов А, Б, В и подкладки в головные уборы типа Г |
арт. 276, 279, 283 | ТУ РСФСР 17-60-10724 |
2. Бязь гладкокрашеная защитного цвета арт. 123 | | Для головного убора типа Б |
арт. 142, 144 | ТУ РСФСР 17-60-10724 |
арт. 145 | ТУ УССР 17-3503 |
3. Мадаполам отбеленный арт. 301, 302, 345, 348 | | Для медицинских головных уборов типов А, Б, В |
4. Ткань сорочечная "Репс" мерсеризованная набивная гладкокрашеная и отбеленная арт. 871 | | То же |
5. Ситец гладкокрашеный зеленого цвета | ТУ РСФСР 17-67-9269 | Для медицинских головных уборов хирургического профиля типа А, модели I, II |
арт. 23 | |
арт. 45, 50 | ТУ РСФСР 17-67-11200 |
6. Сорочка паковочная специального назначения отбеленная арт. 6304 | ТУ РСФСР 17-65-9010 | Для медицинских головных уборов хирургического профиля типа А, модель I (для медицинского стерильного пакета) |
7. Ткань кительная табачного цвета | | Для головных уборов типа Г |
арт. 3290 | ГОСТ 21790 |
арт. 3098 | ТУ РСФСР 17-66-11378 |
8. Кожа галантерейная искусственная ИК-2 | ГОСТ 10438 | Для прокладки в козырек кепи типа Г |
9. Тесьма прикладная для швейных и трикотажных изделий арт. 7.885 | ОСТ 17-582 | |
белого цвета | | Для завязок медицинских головных уборов типов А, Б, В |
защитного цвета шириной 1,0 - 1,2 см | | Для завязок медицинских головных уборов хирургического профиля типа А, модели I, II |
10. Пуговицы пластмассовые белого цвета (из аминопласта), плоские с 4-мя отверстиями, диаметром 11 - 14 мм, фасона 1400 | ОСТ 17-805 | Для застегивания хлястиков |
11. Нитки хлопчатобумажные в цвет ткани Rн 39,4 текс-53,0 текс (40/3, 40/6, 50/3, 50/6) | | Для изготовления медицинских головных уборов типов А, Б, В, Г |
Примечания:
1. По согласованию с заказчиком допускается применять другие материалы, по качеству не ниже указанных в
табл. 3.
2. Изделия, изготовляемые по заказам Министерства обороны СССР, МВД СССР и КГБ СССР, допускается изготовлять из хлопчатобумажных тканей с отделкой "МАПС" и "МА".
(Измененная редакция, Изм. N 2).
2.3. Внешний вид
2.3.1. Головной убор типа А (колпак) состоит из стенки с донышком или стенки с цельнокроенными или притачными бортиками различной формы, с завязками из тесьмы или с эластичной тесьмой, регулирующими размер колпака.
Колпак типа А, модель 1, допускается применять с шапкой-ушанкой.
(Измененная редакция, Изм. N 2).
2.3.2. Головной убор типа Б (косынка) треугольной формы, полукруглой формы с притачным бортиком и косынка с обтачной стенкой, с ушками, с хлястиками, застегивающимися на пуговицу.
2.3.3. Головной убор типа В (косынка-наколка) состоит из двух слоев ткани, фигурной формы, с хлястиками, застегивающимися на пуговицу или с завязками в боковых сторонах.
2.3.4. Головной убор типа Г (кепи) на подкладке состоит из донышка, двух стенок, козырька и ремешка.
Козырек из основной ткани с прокладкой внутри.
2.3.5. Медицинские головные уборы по согласованию с заказчиком допускается изготовлять по технической документации на модель, составленной с учетом требований настоящего стандарта.
2.4. Основные требования к изготовлению
2.4.1. Раскрой косынок, донышка колпаков кепи - по
ГОСТ 21219, козырька - по ширине в направлении нитей основы ткани. Остальные детали медицинских головных уборов выкраивают по нитям основы или утка.
В двухслойных головных уборах раскрой верхнего и нижнего слоев должен производиться в одном направлении нити.
2.4.2. Виды стежков, строчек и швов, применяемых для изготовления головных уборов, - по
ГОСТ 29298.
Требования к стежкам, строчкам и швам - по ОСТ 17-835.
(Измененная редакция, Изм. N 2).
2.4.4. Соединительные швы в медицинских головных уборах выполняют запошивочным, двойным, настрочным или стачным швами, стачным швом с обметыванием срезов шириной 0,8 см.
Ширина шва 0,5 - 0,7 см. По швам и краям деталей прокладывают строчку на расстоянии 0,1 - 0,5 см от края или сгиба в соответствии с утвержденным заказчиком образцом.
2.4.5. Края косынки обрабатывают швом вподгибку с закрытым срезом шириной 0,3 - 0,4 см в готовом виде, величина внутренней подгибки 0,3 см.
2.4.6. Края колпаков моделей I, II, V и VI обрабатывают швом вподгибку с закрытым срезом шириной 3,0 см, величина внутренней подгибки 0,5 см. Строчку прокладывают на расстоянии 0,1 - 0,2 см от подогнутого края.
В колпаках моделей III и VII свободную часть от бортиков обрабатывают швом вподгибку с закрытым срезом. Ширина шва в готовом виде 1,5 см.
2.4.7. В готовых медицинских головных уборах допускаются:
косынка для защиты от особо опасных инфекций из двух частей со швом посередине, соединенная запошивочным швом;
подкладка стенки кепи из двух частей;
кепи без подкладки;
завязки колпаков, косынок-наколок, изготовленные из основной ткани;
соединение деталей накладным швом с закрытым срезом;
стенка колпака из двух частей;
притачной бортик в косынках из двух частей с расположением по линии перегиба или из трех частей с расположением швов в свободных концах;
отрезные хлястики в косынках-наколках и косынках с расположением швов в местах пришивания пуговиц;
замена хлястиков в косынке типа Б модели III на завязки из тесьмы или ткани. Длина косынки должна быть не менее 57,0 см;
по согласованию с заказчиком обрабатывать края косынки обметочным швом шириной не менее 0,5 см.
(Измененная редакция, Изм. N 2).
2.4.8. Пособие для построения чертежей лекал медицинских головных уборов дано в
Приложении.
(Измененная редакция, Изм. N 2).
Методы контроля качества головных уборов - по
ГОСТ 4103.
(Введен дополнительно, Изм. N 2).
4. МАРКИРОВКА, УПАКОВКА, ТРАНСПОРТИРОВАНИЕ И ХРАНЕНИЕ
4.1. Медицинские головные уборы типов А, Б и В должны быть уложены в пачки по 40 - 50 шт., типа Г - по 20 - 25 шт. и перевязаны крестообразно шпагатом по
ГОСТ 17308.
4.2. К каждой пачке прикрепляют тканевый ярлык с указанием реквизитов для изделий, изготовляемых по заказам Министерства обороны СССР, МВД СССР и КГБ СССР по
ГОСТ 19159 и
ГОСТ 10581.
(Измененная редакция, Изм. N 2).
4.3. В головных уборах типа Г на середине донышка подкладки ставят клеймо с указанием размера. В шов стачивания стенок подкладки втачивают тканевый ярлык с указанием реквизитов по
ГОСТ 19159, на обратной стороне тканевого ярлыка ставят штамп контролера ОТК.
4.4. Клеймо и штамп контролера ОТК должны быть нанесены на изделия краской, устойчивой к стирке, химической чистке и не выступающей на лицевую сторону.
4.5. Пачки с медицинскими головными уборами типов А, Б и В складывают в мешки по 400 - 500 шт., типа Г - не более 400 шт.
4.7. Транспортная маркировка - по
ГОСТ 14192 с дополнительным указанием наименования и количества изделий и года изготовления (две последние цифры).
4.8. Способ упаковывания, количество изделий в пачке могут быть изменены по согласованию предприятия-изготовителя с заказчиком.
4.9. Медицинские головные уборы должны храниться на расстоянии не менее 1 м от отопительных приборов в закрытых сухих помещениях.
Рекомендуемое
ПОСОБИЕ ДЛЯ ПОСТРОЕНИЯ ЧЕРТЕЖЕЙ ЛЕКАЛ
МЕДИЦИНСКИХ ГОЛОВНЫХ УБОРОВ
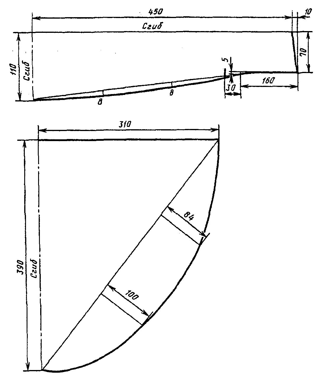
Тип А
Модели I, II
Черт. 1
Черт. 2
Таблица 1
Обозначение конструктивной линии на чертеже | Мужской колпак (модель I) | Женский колпак (модель II) |
|
АБ | 19,5 | 26,5 |
БГ | 33,75 | 35,75 |
ДВ | 2,0 | 3,0 |
Д1 | 1/2ДГ | 1/2ДГ |
1 - 2 | 0,5 | 0,6 |
|
R | 9,8 | 10,2 |
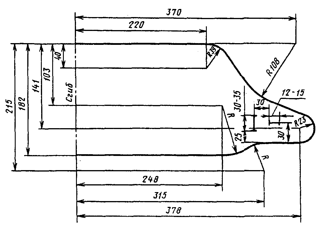
Модель III
Женский колпак
Черт. 3
Примечание. Лекала бортика и подбортика строят по штриховой линии.
Модель IV
Стенка и бортик колпака
Черт. 4
Примечание. Лекало подбортика строят по штриховой линии.
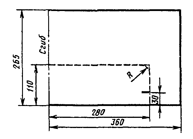
Донышко
Черт. 5
Модели V, VI
Черт. 5а
Черт. 5б
Черт. 5в
Модель VII
Черт. 5г
Черт. 5д
Черт. 5е
Черт. 5ж
Таблица 1а
см
Обозначение конструктивной линии на чертеже | Модель | Длина внутренней окружности |
60 | 61 | 62 | 63 | 64 |
|
АБ | V | 18,1 | 18,1 | 18,1 | 18,1 | 18,1 |
VI | 22,5 | 22,5 | 22,5 | 22,5 | 22,5 |
VII | 11,5 | 11,5 | 11,5 | 11,5 | 11,5 |
БГ | V, VI | 25,0 | 25,5 | 26,0 | 26,5 | 27,0 |
VII | 25,5 | 26,0 | 26,5 | 27,0 | 27,5 |
ДВ | V, VI | 1,0 | 1,0 | 1,0 | 1,0 | 1,0 |
VII | 0,5 | 0,5 | 0,5 | 0,5 | 0,5 |
ГЕ | V, VI | 3,7 | 3,7 | 3,7 | 3,7 | 3,7 |
|
АБ | V | 18,1 | 18,1 | 18,1 | 18,1 | 18,1 |
VI | 22,5 | 22,5 | 22,5 | 22,5 | 22,5 |
VII | 14,5 | 14,5 | 14,5 | 14,5 | 14,5 |
БГ | V, VI | 13,5 | 13,5 | 13,5 | 13,5 | 13,5 |
VII | 11,5 | 11,5 | 11,5 | 11,5 | 11,5 |
ДВ | V | 0,5 | 0,5 | 0,5 | 0,5 | 0,5 |
VI | 0,7 | 0,7 | 0,7 | 0,7 | 0,7 |
VII | 0,5 | 0,5 | 0,5 | 0,5 | 0,5 |
|
R | V, VI, VII | 9,9 | 10,15 | 10,4 | 10,65 | 10,9 |
1 - 2 | V, VI, VII | - | 0,25 | 0,5 | 0,75 | 1,0 |
|
АБ | VII | 13,0 | 13,0 | 13,0 | 13,0 | 13,0 |
БГ | 26,7 | 27,2 | 27,7 | 28,2 | 28,7 |
АЕ | 3,3 | 3,3 | 3,3 | 3,3 | 3,3 |
АД | 12,0 | 12,0 | 12,0 | 12,0 | 12,0 |
ДВ | 14,7 | 15,2 | 15,7 | 16,2 | 16,7 |
ВИ | 4,0 | 4,0 | 4,0 | 4,0 | 4,0 |
КГ | 1,5 | 1,5 | 1,5 | 1,5 | 1,5 |
1 - 2 | 0,7 | 0,7 | 0,7 | 0,7 | 0,7 |
3 - 4 | 1,0 | 1,0 | 1,0 | 1,0 | 1,0 |
Тип Б
Черт. 6
Таблица 2
см
Обозначение конструктивной линии на чертеже | Длина |
106 | 112 | 130 | 132 |
|
АБ | 110,0 | 114,0 | 132,0 | 137,0 |
| 55,0 | 62,0 | 71,0 | 77,0 |
Модель II
Черт. 7
Модель III
Черт. 8
Примечание. Лекало стенки косынки-наколки строят по штриховой линии.
Тип В
Черт. 9
Модель II
Черт. 10
Черт. 11
Примечание к
черт. 9 -
11. Нижний слой косынок-наколок моделей I, II, III вырезают по лекалам верха.
Черт. 12
Черт. 13
Черт. 14
Таблица 3
см
Обозначение конструктивной линии на чертеже | Размер |
54 | 56 | 58 | 60 | 62 |
|
R | 11,6 | 11,9 | 12,2 | 12,5 | 12,8 |
|
АБ | 9,9 | 9,9 | 9,9 | 9,9 | 9,9 |
АГ | 6,3 | 6,6 | 6,9 | 7,2 | 7,5 |
| 18,2 | 18,65 | 19,1 | 19,55 | 20,0 |
АВ | 14,4 | 14,7 | 15,0 | 15,3 | 15,6 |
| 13,0 | 13,45 | 13,9 | 14,35 | 14,8 |
| 1,5 | 1,6 | 1,7 | 1,8 | 1,9 |
| 1,0 | 1,1 | 1,2 | 1,3 | 1,4 |
|
АБ = ВГ | 55,5 | 57,5 | 59,5 | 61,5 | 63,5 |
АВ = БГ | 1,5 | 1,5 | 1,5 | 1,5 | 1,5 |
Примечания:
1. Подкладку донышка кепи вырезают по лекалу верха.
2. Подкладку стенки кепи вырезают по штриховой линии.
3. Ремешок выкраивают длиной 29 см, шириной 4 см.
Козырек
Черт. 15
Подкозырек
Черт. 16
Прокладка в козырек
Черт. 17
Примечание. Допускается при построении чертежей лекал деталей менять отдельные измерения, если это не повлечет за собой изменения измерений изделия в готовом виде и ухудшения его качества.
(Измененная редакция, Изм. N 2).