Главная // Актуальные документы // ГОСТ (Государственный стандарт)СПРАВКА
Источник публикации
М.: Стандартинформ, 2016
Примечание к документу
Текст данного документа приведен с учетом
поправки, опубликованной в "ИУС", N 2, 2023.
Документ
введен в действие с 01.01.2017.
Название документа
"ГОСТ 33762-2016. Межгосударственный стандарт. Материалы и системы для защиты и ремонта бетонных конструкций. Требования к инъекционно-уплотняющим составам и уплотнениям трещин, полостей и расщелин"
(введен в действие Приказом Росстандарта от 23.05.2016 N 373-ст)
"ГОСТ 33762-2016. Межгосударственный стандарт. Материалы и системы для защиты и ремонта бетонных конструкций. Требования к инъекционно-уплотняющим составам и уплотнениям трещин, полостей и расщелин"
(введен в действие Приказом Росстандарта от 23.05.2016 N 373-ст)
агентства по техническому
регулированию и метрологии
от 23 мая 2016 г. N 373-ст
МЕЖГОСУДАРСТВЕННЫЙ СТАНДАРТ
МАТЕРИАЛЫ И СИСТЕМЫ ДЛЯ ЗАЩИТЫ И РЕМОНТА
БЕТОННЫХ КОНСТРУКЦИЙ
ТРЕБОВАНИЯ К ИНЪЕКЦИОННО-УПЛОТНЯЮЩИМ СОСТАВАМ
И УПЛОТНЕНИЯМ ТРЕЩИН, ПОЛОСТЕЙ И РАСЩЕЛИН
Materials and systems for the protection and repair
of concrete structures. Requirements for injection products
and filling of cracks, voids and interstices
(EN 1504-5:2013, NEQ)
ГОСТ 33762-2016
Дата введения
1 января 2017 года
Цели, основные принципы и основной порядок проведения работ по межгосударственной стандартизации установлены
ГОСТ 1.0-92 "Межгосударственная система стандартизации. Основные положения" и
ГОСТ 1.2-2009 "Межгосударственная система стандартизации. Стандарты межгосударственные, правила и рекомендации по межгосударственной стандартизации. Правила разработки, принятия, применения, обновления и отмены"
1 РАЗРАБОТАН Закрытым акционерным обществом "Триада-Холдинг"
2 ВНЕСЕН Техническим комитетом по стандартизации ТК 465 "Строительство"
3 ПРИНЯТ Межгосударственным советом по стандартизации, метрологии и сертификации (протокол от 29 марта 2016 г. N 86-П)
За принятие проголосовали:
Краткое наименование страны по МК (ИСО 3166) 004-97 | Код страны по МК (ИСО 3166) 004-97 | Сокращенное наименование национального органа государственного управления строительством |
Армения | AM | Минэкономики Республики Армения |
Беларусь | BY | Госстандарт Республики Беларусь |
Киргизия | KG | Кыргызстандарт |
Таджикистан | TJ | Таджикстандарт |
Туркмения | TM | Главгосслужба "Туркменстандартлары" |
Россия | RU | Росстандарт |
4
Приказом Федерального агентства по техническому регулированию и метрологии от 23 мая 2016 г. N 373-ст межгосударственный стандарт введен в действие непосредственно в качестве национального стандарта Российской Федерации с 1 января 2017 г.
5 Настоящий стандарт соответствует европейскому региональному стандарту EN 1504-5:2013 "Материалы и системы для защиты и ремонта бетонных конструкций. Определения, требования, контроль качества и оценка соответствия. Часть 5: Инъекция бетона" ("Products and systems for the protection and repair of concrete structures - Definitions, requirements, quality control and evaluation of conformity - Part 5: Concrete injection", NEQ) в части терминов и определений, требований к идентификационным испытаниям, номенклатуре показателей эксплуатационных качеств, числовым значениям этих показателей, оценке соответствия
6 ВВЕДЕН ВПЕРВЫЕ
Информация об изменениях к настоящему стандарту публикуется в ежегодном национальном указателе "Национальные стандарты", а текст изменений и поправок - в ежемесячном информационном указателе "Национальные стандарты". В случае пересмотра (замены) или отмены настоящего стандарта соответствующее уведомление будет опубликовано в ежемесячном информационном указателе "Национальные стандарты". Соответствующая информация, уведомление и тексты размещаются также в информационной системе общего пользования - на официальном сайте Федерального агентства по техническому регулированию и метрологии в сети Интернет
1.1 Настоящий стандарт устанавливает требования к инъекционно-уплотняющим составам и уплотнениям (конструкционным или неконструкционным) трещин, полостей и расщелин (далее, если не требуется другое, - трещина) при защите или восстановлении бетонных и железобетонных конструкций (далее - бетонная конструкция или конструкция) следующими методами:
- нагнетание под принудительным давлением;
- нагнетание под действием гравитации и капиллярного впитывания.
1.2 Стандарт распространяется на инъекционно-уплотняющие составы на цементной и полимерной основах и группы уплотнений следующих видов:
- уплотнение конструкционное с адгезионно-силовым замыканием (группа АС);
- уплотнение неконструкционное с адгезионно-герметизирующим замыканием (группа АГ);
- уплотнение неконструкционное с компрессионно-герметизирующим замыканием (группа КГ)
применительно к бетонным конструкциям, открытым атмосферным воздействиям, а также закрытым - подземным или подводным (в том числе водопропускным или водоналивным), как находящимся в эксплуатации, так и вновь возводимым.
1.3 Стандарт не распространяется на особые случаи создания уплотнений трещин в бетонных конструкциях в экстремальных условиях окружающей среды (например, при особо низкой температуре) и в особых обстоятельствах, таких как
непрогнозируемые воздействия (например, транспорта или льда) или нагрузки вследствие землетрясения, на которые распространяются специальные требования.
Стандарт также не распространяется на следующие виды уплотнений:
- устройство которых предусматривает предварительное расширение устья трещины и ее заполнение эластомерным составом (герметиком);
- временные, в том числе создаваемые методом нагнетания для остановки водопроявлений при последующей защите конструкций;
- выполняемые со стороны границы подземных и подводных конструкций во вмещающей эти конструкции среде.
В настоящем стандарте использованы нормативные ссылки на следующие межгосударственные стандарты:
ГОСТ 9.716-91 Единая система защиты от коррозии и старения. Материалы полимерные. Методы определения изменения содержания пластификатора при старении
ГОСТ 20-85 Ленты конвейерные резинотканевые. Технические условия
ГОСТ 166-89 (ИСО 3599-76) Штангенциркули. Технические условия
ГОСТ 310.3-76 Цементы. Методы определения нормальной густоты, сроков схватывания и равномерности изменения объема
ГОСТ 310.4-81 Цементы. Методы определения предела прочности при изгибе и сжатии
ГОСТ 380-2005 Сталь углеродистая обыкновенного качества. Технические условия
ГОСТ 427-75 Линейки измерительные механические. Технические условия
ГОСТ 1770-74 (ИСО 1042-83, ИСО 4788-80) Посуда мерная лабораторная стеклянная. Цилиндры, мензурки, колбы, пробирки. Общие технические условия
| | ИС МЕГАНОРМ: примечание. В официальном тексте документа, видимо, допущена опечатка: имеется в виду ГОСТ 3118-77, а не ГОСТ 3118-88. | |
ГОСТ 5382-91 Цементы и материалы цементного производства. Методы химического анализа
ГОСТ 6139-2003 Песок стандартный для испытаний цемента. Технические условия
ГОСТ 8267-93 Щебень и гравий из плотных горных пород для строительных работ. Технические условия
ГОСТ 9550-81 Пластмассы. Методы определения модуля упругости при растяжении, сжатии и изгибе
ГОСТ 10180-2012 Бетоны. Методы определения прочности по контрольным образцам
ГОСТ 12497-78 <1> Пластмассы. Методы определения содержания эпоксидных групп
--------------------------------
<1> Действует только на территории Российской Федерации.
ГОСТ 14359-69 Пластмассы. Методы механических испытаний. Общие требования
ГОСТ 14637-89 (ИСО 4995-78) Прокат толстолистовой из углеродистой стали обыкновенного качества. Технические условия
ГОСТ 17537-72 <2> Материалы лакокрасочные. Методы определения массовой доли летучих и нелетучих, твердых и пленкообразующих веществ
--------------------------------
<2> На территории Российской Федерации действует также
ГОСТ Р 52487-2010 (ИСО 3251:2009).
ГОСТ 18300-87 <3> Спирт этиловый ректификованный технический. Технические условия
--------------------------------
ГОСТ 19286-77 Каолин обогащенный. Метод определения гранулометрического состава
ГОСТ 22685-89 Формы для изготовления контрольных образцов бетона. Технические условия
ГОСТ 23732-2011 Вода для бетонов и строительных растворов. Технические условия
--------------------------------
ГОСТ 25261-82 Полиэфиры простые и сложные для полиуретанов. Метод определения гидроксильного числа
ГОСТ 25271-93 (ИСО 2555-89) Пластмассы. Смолы жидкие, эмульсии или дисперсии. Определение кажущейся вязкости по Брукфильду
ГОСТ 25276-82 Полимеры. Метод определения вязкости ротационным вискозиметром при определенной скорости сдвига
ГОСТ 25336-82 Посуда и оборудование лабораторные стеклянные. Типы, основные параметры и размеры
ГОСТ 25794.1-83 Реактивы. Методы приготовления титрованных растворов для кислотно-основного титрования
ГОСТ 27271-2014 (ISO 9514:2005) Материалы лакокрасочные. Метод определения жизнеспособности многокомпонентных систем
ГОСТ 27772-88 Прокат для строительных стальных конструкций. Общие технические условия
ГОСТ 28498-90 Термометры жидкостные стеклянные. Общие технические требования. Методы испытаний
ГОСТ 28574-2014 Защиты от коррозии в строительстве. Конструкции бетонные и железобетонные. Методы испытаний адгезии защитных покрытий
ГОСТ 28840-90 Машины для испытания материалов на растяжение, сжатие и изгиб. Общие технические требования
ГОСТ 29252-91 (ИСО 385-2-84) Посуда лабораторная стеклянная. Бюретки. Часть 2. Бюретки без времени ожидания
ГОСТ 30244-94 Материалы строительные. Методы испытаний на горючесть
ГОСТ 30459-2008 Добавки для бетонов и строительных растворов. Определение и оценка эффективности
ГОСТ 30744-2001 Цементы. Методы испытаний с использованием полифракционного песка
ГОСТ 31992.1-2012 (ISO 2811-1:2011) Материалы лакокрасочные. Метод определения плотности. Часть 1. Пикнометрический метод
ГОСТ 32016-2012 Материалы и системы для защиты и ремонта бетонных конструкций. Общие требования
ГОСТ 32618.2-2014 (ISO 11359-2:1999) Пластмассы. Термомеханический анализ (ТМА). Часть 2. Определение коэффициента линейного теплового расширения и температуры стеклования
ГОСТ 32943-2014 Материалы и системы для защиты и ремонта бетонных конструкций. Требования к клеевым соединениям элементов усиления конструкций.
Примечание - При пользовании настоящим стандартом целесообразно проверить действие ссылочных стандартов в информационной системе общего пользования - на официальном сайте Федерального агентства по техническому регулированию и метрологии в сети Интернет или по ежегодному информационному указателю "Национальные стандарты", который опубликован по состоянию на 1 января текущего года, и по выпускам ежемесячного информационного указателя "Национальные стандарты" за текущий год. Если ссылочный стандарт заменен (изменен), то при пользовании настоящим стандартом, следует руководствоваться заменяющим (измененным) стандартом. Если ссылочный стандарт отменен без замены, то положение, в котором дана ссылка на него, применяется в части, не затрагивающей эту ссылку.
В настоящем стандарте применены термины по
ГОСТ 32016, а также следующие термины с соответствующими определениями:
3.1 уплотнение (конструкционное) с адгезионно-силовым замыканием: Уплотнение в полости трещины на полимерной или цементной основах с жесткой структурой, адгезионно связанное с бетоном конструкции, способное воспринимать нагрузку (в том числе от действия воды) и передавать напряжения (группа АС).
3.2 уплотнение (неконструкционное) с адгезионно-герметизирующим замыканием: Уплотнение в полости трещины на полимерной основе с упруго-эластичной водонепроницаемой структурой, адгезионно связанное с бетоном конструкции, способное воспринимать воздействия от перемещений при подвижке трещины и давления воды (группа АГ).
3.3 уплотнение (неконструкционное) с компрессионно-герметизирующим замыканием: Уплотнение в полости трещины на полимерной гидрофильной основе с гелеобразной ограниченно набухающей структурой, компрессионно (под действием набухания при поглощении влаги) связанное с бетоном конструкции, способное воспринимать воздействия от перемещений при подвижке трещины и давления воды (группа КГ).
Примечание - Уплотнения группы КГ допускаются к применению для трещин, находящихся в следующих состояниях: влажном, мокром и с активной протечкой.
3.4 жизнеспособность (инъекционно-уплотняющего состава): Период времени, в течение которого готовый к применению состав:
а) на полимерной основе повысит свою температуру на 15° в результате тепловыделения при полимеризации (или до наибольшего значения, если она ниже 15 °C) или вязкость состава в результате загустевания повысится до значения 1000 мПа·с;
б) на цементной основе достигнет зафиксированного понижения фильтрационной стабильности.
3.5 ширина трещины: Размер устья трещины, не подвергавшегося механической обработке, измеренный в миллиметрах по поверхности бетона конструкции.
3.6 нагнетаемость (инъекционно-уплотняющего состава): Способность готового для применения состава заполнять трещину определенной ширины с созданием уплотнения (конструкционного или неконструкционного). Оценивается по показателям удобоукладываемости при наименьшей ширине трещины из следующего ряда значений: 0,1; 0,2; 0,3; 0,5 и 0,8 мм.
Примечание - Проникающую способность определяет производитель состава по результатам испытаний согласно
разделу 4 настоящего стандарта с использованием соответствующего оборудования и оснастки.
3.7 влажностное состояние: Содержание влаги или воды в трещине; различают виды влажностного состояния (сухое, влажное, мокрое или с активной протечкой), которое оценивают по отсутствию/наличию воды и/или капиллярной влаги в трещине, а также по различию в цвете боковых поверхностей в устье трещины и поверхности бетона конструкции.
Примечание - Влажностное состояние, при котором допускается использовать инъекционно-уплотняющий состав, указывает его производитель по результатам испытаний на проникающую способность и других испытаний согласно
разделу 4 настоящего стандарта.
3.7.1 сухое: В трещине и на ее боковых поверхностях вода и капиллярная влага отсутствуют; цвет боковых поверхностей в устье трещины и поверхности бетона совпадают.
3.7.2 влажное: В трещине вода отсутствует; на боковых поверхностях трещины присутствует капиллярная влага, но не сплошным слоем; есть различие в цвете боковых поверхностей в устье трещины и поверхности бетона.
3.7.3 мокрое: В трещине стоит вода; типично наличие воды в устье трещины.
3.7.4 с активной протечкой: Вода течет по трещине, полости или расщелине.
3.8 подвижка трещины: Раскрытие/смыкание (изменение ширины) трещины как функции времени, вызванное механическими воздействиями (например, от нагрузки при движении транспорта) и/или физическими (например, от солнечного излучения или изменения температуры) в течение суток и/или в разные сезоны года.
Примечания
1 Подвижки трещины в пределах 10 - 15 мкм вследствие воздействия транспортной нагрузки не влияют на адгезию составов на полимерной основе.
2 Уплотнения группы КГ не используют при подвижках трещин в течение суток, за исключением случаев, когда уплотнение имеет некоторый излишек материала уплотнения, выходящий за пределы внешней границы конструкции (как правило, подземной).
3 Уплотнения группы АС из составов на цементной основе допускаются к применению при подвижках трещин в течение суток, если имеется подтверждение, что их адгезия (прочность сцепления) с бетоном конструкции составляет более 2 Н/мм2 и не будет нарушена в течение 10 ч при наименьшей допустимой температуре использования, определенной производителем состава.
3.9 расщелина: Здесь трещина с шириной более 0,8 мм.
4. Требования к выбору показателей свойств
инъекционно-уплотняющих составов и показателей
эксплуатационных качеств уплотнений трещин.
Общие положения
Показатели свойств инъекционно-уплотняющих составов и показатели эксплуатационных качеств уплотнений трещин, предназначенных для защиты конструкций от проникания агрессивных реагентов и водопроявлений, а также для упрочнения (консолидации) бетона путем восстановления его конструкционной целостности и прочности согласно установленным принципам и методам по
ГОСТ 32016, подразделяют на основные - для всех предназначенных целей применения и дополнительные - для некоторых предназначенных целей применения (см. таблицы 1 -
3).
Таблица 1
Показатели свойств инъекционно-уплотняющих составов
и показатели эксплуатационных качеств конструкционных
уплотнений с адгезионно-силовым замыканием трещин
(для составов на полимерной и цементной основах) -
группа АС
Показатель | По принципам |
1 - защита от проникания для метода | 4 - упрочнение (консолидация бетона) конструкции для методов |
1.5 - заполнение трещин нагнетанием под принудительным давлением или под действием гравитации | 4.5 - заполнение нагнетанием под принудительным давлением трещин, полостей и расщелин 4.6 - заполнение нагнетанием под действием гравитации трещин, полостей и расщелин |
1 Базовые показатели |
1.1 Прочность сцепления (адгезия) на растяжение при отрыве - (адгезия) <а>, <б> | |
1.2 Прочность при сжатии <б> | |
1.3 Прочность сцепления (адгезия) на косой сдвиг при сжимающей нагрузке <а>, <б> | |
1.4 Содержание нелетучих веществ <а> | |
| |
| |
1.7 Температура стеклования <а> | |
1.8 Содержание хлор-ионов <б> | |
2 Показатели удобоукладываемости |
2.1 Нагнетаемость в сухую среду <а>, <б>а) для трещин шириной 0,1; 0,2 и 0,3 мм: оценка по нагнетаемости состава в песчаную колонку и последующие испытания на растяжение при раскалывании; б) для трещин шириной 0,5 и 0,8 мм: оценка по нагнетаемости состава (по объему заполнения трещины) перед определением показателя 1.1 настоящей таблицы | |
2.2 Нагнетаемость в несухую среду <а>, <б>а) для трещин шириной 0,1; 0,2 и 0,3 мм: оценка по нагнетаемости состава в песчаную колонку и последующие испытания на растяжение при раскалывании; б) для трещин шириной 0,5 и 0,8 мм: оценка по нагнетаемости состава (по объему заполнения трещины) перед определением показателя 1.1 настоящей таблицы | |
| |
2.4 Условная вязкость - время истечения состава из воронки Марша | |
3 Показатели реакционной способности |
| |
3.2 Рост прочности на растяжение <а> | |
3.3 Сроки схватывания <б> | |
4 Долговечность - совместимость уплотнения с бетоном |
4.1 Прочность сцепления (адгезия) на растяжение при разрыве после искусственного старения <а>, <б> | |
4.2 Искусственное старение <а>, <б> | |
<а> Для составов на полимерной основе. <б> Для составов на цементной основе.  - основной показатель;  - дополнительный показатель. Примечания 1 Номера и соответствие методов, реализующих принципы в головке таблицы, - по ГОСТ 32016. 2 Метод 1.5 - заполнение трещин инъекционно-уплотняющим составом нагнетанием под принудительным давлением или под действием гравитации и капиллярного впитывания при защите конструкций от проникания агрессивных реагентов и водопроявлений; метод 4.5 - заполнение трещин, полостей и расщелин инъекционно-уплотняющим составом нагнетанием под принудительным давлением при упрочнении (консолидации) бетона восстановлением его конструкционной целостности и прочности; 4.6 - заполнение трещин, полостей и расщелин инъекционно-уплотняющим составом нагнетанием под действием гравитации и капиллярного впитывания при упрочнении (консолидации) бетона восстановлением его конструкционной целостности и прочности. |
Таблица 2
Показатели свойств инъекционно-уплотняющих составов
и показатели эксплуатационных качеств неконструкционных
уплотнений с адгезионно-герметизирующим замыканием трещин
(для составов на полимерной основе) - группа АГ
Показатель | По принципу 1 - защита от проникания для метода |
1.5 - заполнение трещин нагнетанием под принудительным давлением или под действием гравитации |
1 Базовые показатели |
1.1 Прочность сцепления (адгезия) с бетоном и способность к удлинению | |
1.2 Водонепроницаемость | |
1.3 Температура стеклования | |
2 Показатели удобоукладываемости |
2.1 Нагнетаемость в сухую среду: а) для трещин шириной 0,1; 0,2 и 0,3 мм: оценка по нагнетаемости состава в песчаную колонку; б) для трещин шириной 0,5 и 0,8 мм: оценка по нагнетаемости состава (по объему заполнения трещины) | |
2.2 Нагнетаемость в несухую среду: а) для трещин шириной 0,1; 0,2 и 0,3 мм: оценка по нагнетаемости состава в песчаную колонку; б) для трещин шириной 0,5 и 0,8 мм: оценка по нагнетаемости состава (по объему заполнения трещины) | |
2.3 Вязкость | |
3 Показатель реакционной способности |
3.1 Жизнеспособность | |
4 Долговечность |
4.1 Совместимость с бетоном | |
 - основной показатель;  - дополнительный показатель. Примечания 1 Номера и соответствие методов, реализующих принципы в головке таблицы, - по ГОСТ 32016. 2 Метод 1.5 - заполнение трещин инъекционно-уплотняющим составом нагнетанием под принудительным давлением или под действием гравитации и капиллярного впитывания при защите конструкций от проникания агрессивных реагентов и водопроявлений. |
Таблица 3
Показатели свойств инъекционно-уплотняющих составов
и показатели эксплуатационных качеств неконструкционных
уплотнений с компрессионно-герметизирующим замыканием трещин
(для составов на полимерной основе) - группа КГ
Показатель | По принципу 1 - защита от проникания для метода |
1.5 - заполнение трещин нагнетанием под принудительным давлением или под действием гравитации |
1 Базовые показатели |
1.1 Водонепроницаемость | |
1.2 Коррозионная активность | |
2 Показатели удобоукладываемости |
2.1 Сохранение вязкости | |
2.2 Степень ограниченного набухания и его изменения при выдерживании в воде | |
3 Показатель реакционной способности |
3.1 Жизнеспособность | |
4 Долговечность уплотнения |
4.1 Чувствительность к воде: степень ограниченного набухания | |
4.2 Чувствительность к циклам увлажнение/высыхание | |
4.3 Совместимость с бетоном | |
 - основной показатель;  - дополнительный показатель. Примечания 1 Номера и соответствие методов, реализующих принципы в головке таблицы, - по ГОСТ 32016. 2 Метод 1.5 - заполнение трещин инъекционно-уплотняющим составом нагнетанием под принудительным давлением или под действием гравитации и капиллярного впитывания при защите конструкций от проникания агрессивных реагентов и водопроявлений. |
Указанные показатели и требования к их значениям для методов 1.5 - заполнение трещин нагнетанием под принудительным давлением или под действием гравитации, 4.5 - заполнение нагнетанием под принудительным давлением трещин, полостей и расщелин и 4.6 - заполнение нагнетанием под действием гравитации трещин, полостей и расщелин приведены в
5.2.
Примечание - При выборе дополнительных показателей, касающихся специфики условий создания уплотнений, следует учитывать:
а) температуру стеклования, если температура при отверждении состава на полимерной основе в трещине:
- может превысить 21 °C (температурные условия при определении адгезии уплотнения) - для составов группы АС;
- может быть ниже 3 °C (температурные условия при определении способности уплотнения к удлинению) - для составов группы АГ;
б) содержание хлор-ионов в составе на цементной основе и их коррозионное влияние на железобетон (считается, что составы на полимерной основе не оказывают коррозионного влияния на стальную арматуру);
в) водонепроницаемость при создании гидроизолирующих уплотнений.
5. Требования к значениям показателей свойств
инъекционно-уплотняющих составов и показателей
эксплуатационных качеств уплотнений трещин
5.1. Требования к значениям и допустимым отклонениям при идентификационных испытаниях
В соответствии с
таблицами 4,
5 и
приложением А производитель должен проводить необходимые первичные (идентификационные) испытания инъекционно-уплотняющих составов: в исходном состоянии, в том числе компонентов состава в сухом и/или жидком состоянии; готовых для применения проб состава, контрольных образцов отвердевшего состава и имитационных моделей уплотнений трещин. Такие испытания следует проводить каждый раз для подтверждения значений показателей химических и физических свойств компонентов и состава в целом. Требования к отклонениям значений приведены в таблицах 4 и
5. Протоколы испытаний следует хранить у производителя состава.
Таблица 4
Идентификационные испытания инъекционно-уплотняющих
составов на полимерной основе
Показатель свойств состава и его компонентов | Метод испытания | Требования к отклонениям значений |
1 Компоненты состава |
1.1 Функциональная группа - эпоксиды: | | |
а) эпоксидный эквивалент; | По ГОСТ 12497 | Заявленное значение +/- 5% |
б) аминовое число | | Заявленное значение +/- 6% |
1.2 Функциональная группа - полиуретаны: | | |
а) гидроксильное число; | По ГОСТ 25261 | Заявленное значение +/- 10% |
б) содержание изоцианатов | По нормативным документам (технической документации) <а> | Заявленное значение +/- 10% |
1.3 Другая функциональная группа | В соответствии с родом функциональной группы | - |
1.4 Плотность | | Заявленное значение +/- 3% |
1.5 Инфракрасный спектр | | Положение и относительная интенсивность основных абсорбирующих полос должны соответствовать эталонному спектру <в> |
2 Готовый к применению состав |
2.1 Вязкость (по ротационному вискозиметру) | 1) перед смешиванием компоненты состава выдерживают при температуре воздуха (21 +/- 2) °C. Температуру состава измеряют перед определением его вязкости; 2) вязкость состава измеряют и фиксируют через 5 мин после окончания смешивания компонентов. Для составов, отверждающихся менее чем 5 мин, измеряют вязкость несмешанных компонентов | Заявленное значение +/- 20% |
| 1) испытания проводят при температуре воздуха (21 +/- 2) °C, а также при заданной производителем температуре использования состава - наибольшей и наименьшей с диапазоном отклонения +/- 2 °C; 2) жизнеспособность состава оценивают по изменению его вязкости во времени после фиксации повышения температуры на 15 °C в результате тепловыделения при полимеризации состава или до наибольшего значения, если оно ниже 15 °C, или повышения вязкости - до 1000 мПа·с в результате загустения; 3) объем контрольной пробы состава 1000 мл | Заявленное значение +/- 20% |
2.3 Содержание нелетучих веществ | | Заявленное значение +/- 5% |
3 Отвердевший состав |
3.1 Прочность при растяжении, удлинение при разрыве, модуль упругости при растяжении Примечание - Испытания для уплотнений: | По ГОСТ 9550 и ГОСТ 11262 с уточнением: испытания проводят на контрольных образцах толщиной 3 мм через 7 сут выдерживания в нормальных климатических условиях: температура воздуха (21 +/- 2) °C, относительная влажность (60 +/- 10)% | Заявленное значение +/- 20% |
3.2 Деформационные свойства Примечание - Испытания для уплотнений группы КГ - см. таблицу 3. | По следующей методике: 1) контрольные образцы готовят толщиной (15 +/- 1) мм из составов, использованных для определения показателя 2.2 (жизнеспособность) настоящей таблицы; 2) испытания проводят сжимающей нагрузкой после 24 ч выдерживания образцов с момента начала приготовления в нормальных климатических условиях: температура воздуха (21 +/- 2) °C, относительная влажность (60 +/- 10)%; 3) нагрузку прикладывают к штампу диаметром 20 мм с конической 60° головкой со скоростью перемещения штампа 100 мм/мин; 4) деформационные свойства оценивают по результатам вдавливания конической головки штампа в материал контрольного образца - по графику зависимости показателей нагрузка-деформация | Заявленное значение +/- 20% |
<а> На территории Российской Федерации действуют ГОСТ Р 53562-2009 и ГОСТ Р ИСО 17736-2013. <в> Проверка на наличие признаков изменения в составе. <г> Альтернативный метод; решение о применении принимает производитель. |
Таблица 5
Идентификация испытания инъекционно-уплотняющих
составов на цементной основе
Показатель свойств состава и его компонентов | Метод испытания | Требования к отклонениям значений |
1 Компоненты состава |
1.1 Дисперсный анализ взвесей сухих компонентов по дифракции лазерного излучения | По нормативным документам (технической документации) <а> | Подтверждается путем сравнения |
2 Готовый для применения состав |
2.1 Условная вязкость - время истечения состава из воронки Марша | В соответствии с приложением В с уточнением времени начала испытаний | Заявленное значение +/- 20% |
2.2 Сроки схватывания | | Заявленное значение +/- 20% |
2.3 Проникающая способность при нагнетании | | Меньше или равно заявленному значению, мкм |
2.4 Жизнеспособность (по показателю 2.3 настоящей таблицы) | 1) испытания проводят при температуре воздуха (21 +/- 2) °C, а также при заданной производителем температуре использования состава - наибольшей и наименьшей с диапазоном отклонения +/- 2 °C; 2) жизнеспособность состава оценивают по нарушению зафиксированной проникающей способности; 3) объем контрольной пробы состава 1000 мл | Заявленное значение +/- 20% |
3 Отвердевший состав |
3.1 Плотность | 1) проба состава без добавления песка; 2) испытания контрольных образцов проводят после 7 сут выдерживания в нормальных климатических условиях: температура воздуха (21 +/- 2) °C, относительная влажность (60 +/- 10)% | Заявленное значение +/- 15% |
3.2 Прочность на сжатие | 1) проба состава без добавления песка; 2) испытания контрольных образцов проводят после 7 сут выдерживания в нормальных климатических условиях: температура воздуха (21 +/- 2) °C, относительная влажность (60 +/- 10)% | Заявленное значение +/- 15% |
<б> Допускается проведение испытаний по ГОСТ 310.3. <в> Допускается проведение испытаний по ГОСТ 310.4. |
5.2. Требования к значениям показателей применительно к методам заполнения трещин при создании конструкционных и неконструкционных уплотнений
Требования к значениям показателей свойств инъекционно-уплотняющих составов и показателей эксплуатационных качеств уплотнений следует назначать в соответствии с
таблицами 6 -
8.
Производитель должен провести первичные испытания инъекционно-уплотняющих составов, а также конструкционных или неконструкционных уплотнений трещин по определению основных показателей, а при необходимости - дополнительных (см.
таблицы 1 -
3) в соответствии с
таблицами 6 -
8.
Пояснения ко всем сокращениям, единицам измерения и обозначениям, применяемым в указанных таблицах в графе "Требования", приведены в соответствующих методиках испытаний.
Таблица 6
Требования к значениям показателей свойств
инъекционно-уплотняющих составов и показателей
эксплуатационных качеств конструкционных жестких
уплотнений с адгезионно-силовым замыканием трещин -
группа АС (составы на полимерной и цементной основах
Показатель | Метод испытания | Требования |
1 Базовые показатели |
1.1 Прочность сцепления (адгезия) уплотнения с бетоном на растяжение при разрыве Примечания 1 Бетон для контрольных образцов типа БМ (0,40) в соответствии с приложением Е. 2 Абразивная обработка поверхности заготовок для контрольных образцов имитации трещин в соответствии с приложением Ж. | | 1) Для составов на цементной и полимерной основах, предназначенных в соответствии с принципом 4 по таблице 1, для создания уплотнений трещин, полостей и расщелин (см. приложение И): а) F1: адгезия >= 3,0 Н/мм 2 (2,5 Н/мм 2) <а>; б) F2: адгезия >= 2,0 Н/мм 2 (1,5 Н/мм 2) <а>; в) если адгезия для составов на полимерной основе не превышает 3,5 Н/мм2, то испытания должны приводить к отрывающему разрушению в бетоне; г) если адгезия для составов на полимерной основе выше 3,5 Н/мм2, то испытания должны приводить к отрывающему разрушению в бетоне или в материале уплотнения. 2) Для составов на цементной основе, предназначенных в соответствии с принципом 4 по таблице 1 только для создания уплотнений полостей и расщелин, а также в соответствии с принципом 1 по таблице 1 для создания уплотнений трещин (см. приложение И): F3: адгезия - заявленное значение |
1.2 Прочность на сжатие (R) | 1) проба состава без добавления песка; 2) испытания контрольных образцов проводят через 7 сут выдерживания в нормальных климатических условиях | Для составов на цементной основе, предназначенных в соответствии с принципом 4 по таблице 1 только для создания уплотнений полостей и расщелин (см. приложение И): F3: R > 20 Н/мм2 в возрасте 7 сут |
1.3 Оценка сцепления (адгезия наклонного уплотнения с бетоном) на косой сдвиг Примечание - Бетон для контрольных образцов типа БМ (0,40) в соответствии с приложением Е. | | Для составов на цементной и полимерной основах в контрольном образце-призме уплотнением, расположенным под углом 60° к поперечной оси призмы, испытание на косой сдвиг под сжимающей нагрузкой должно приводить к аналогичному разрушению, что и у образца, принятого за эталонный |
1.4 Содержание нелетучих веществ | 1) масса взвешенной пробы 10 г (начальная масса); 2) через 7 сут выдерживания при температуре (21 +/- 2) °C и относительной влажности 1% и 3 ч высушивания в эксикаторе при температуре 105 °C (конечная масса) | Для составов на полимерной основе содержание нелетучих веществ больше 95% |
1.5 Водоотделение | | Для составов на цементной основе: через 3 ч после приготовления состава водоотделение < 1% исходного объема |
1.6 Равномерность изменения объема | | Для составов на цементной основе: измерение объема от -1% до +5% исходного объема |
1.7 Температура стеклования | По ГОСТ 32618.2 | Для составов на полимерной основе: температура стеклования > 40 °C |
1.8 Содержание хлор-ионов | | Для составов на цементной основе < 0,1% |
2 Показатели удобоукладываемости |
2.1 Нагнетаемость в сухую среду: | | 1) Класс нагнетаемости состава на полимерной основе: 1 - для трещин шириной 0,1 мм < 4 мин (только для заполнения колонки); 2 - для трещин шириной 0,2 мм < 8 мин (только для заполнения колонки); 3 - для трещин шириной 0,3 мм < 12 мин (только для заполнения колонки). 2) Класс нагнетаемости состава на цементной основе: 3 - для трещин шириной 0,3 мм < 12 мин (для заполнения колонки с переливом в мерную емкость). 3) Прочность на растяжение при раскалывании: а) для составов на полимерной основе > 7 Н/мм2; б) для составов на цементной основе > 3 Н/мм2. 4) Класс нагнетаемости составов на полимерной и цементной основах (если требования по показателю 1.1 выполняются): 5 - заполнение трещин шириной 0,5 мм больше 90%; 8 - заполнение трещин шириной 0,8 мм больше 90% |
а) для трещин шириной 0,1; 0,2 и 0,3 мм: оценка нагнетаемости состава в песчаную колонку (по времени заполнения колонки) и последующее испытание на растяжение при раскалывании; | |
б) для трещин шириной 0,5 и 0,8 мм или там, где неприменима методика приложения Л: оценка нагнетаемости состава (по объему заполнения трещины) перед определением показателя 1.1 настоящей таблицы Примечания 1 Бетон для контрольных образцов типа БМ (0,40) в соответствии с приложением Е. 2 Абразивная обработка поверхности заготовок для контрольных образцов имитации трещин в соответствии с приложением Ж. | |
2.2 Нагнетаемость в несухую среду: | | 1) Класс нагнетаемости состава на полимерной основе: 1 - для трещин шириной 0,1 мм < 4 мин (только для заполнения колонки); 2 - для трещин шириной 0,2 мм < 8 мин (только для заполнения колонки); 3 - для трещин шириной 0,3 мм < 12 мин (только для заполнения колонки). 2) Класс нагнетаемости состава на цементной основе: 3 - для трещин шириной 0,3 мм < 12 мин (для заполнения колонки с переливом в мерную емкость). 3) Прочность на растяжение при раскалывании: а) для составов на полимерной основе > 7 Н/мм2; б) для составов на цементной основе > 3 Н/мм2. 4) Класс нагнетаемости составов на полимерной и цементной основах (если требования по показателю 1.1 выполняются): 5 - заполнение трещин шириной 0,5 мм больше 90%; 8 - заполнение трещин шириной 0,8 мм больше 90% |
а) для трещин шириной 0,1; 0,2 и 0,3 мм: оценка нагнетаемости состава в песчаную колонку (по времени заполнения колонки) и последующее испытание на растяжение при раскалывании; | |
б) для трещин шириной 0,5 и 0,8 мм или там, где неприменима методика приложения Л: оценка нагнетаемости состава (по объему заполнения трещины) перед определением показателя 1.1 настоящей таблицы Примечания 1 Бетон для контрольных образцов типа БМ (0,40) в соответствии с приложением Е. 2 Абразивная обработка поверхности заготовок для контрольных образцов имитации трещин в соответствии с приложением Ж. | |
2.3 Вязкость (по ротационному вискозиметру) | | Для составов на полимерной основе: заявленное значение |
2.4 Условная вязкость - время истечения состава из воронки Марша | | Для составов на цементной основе: заявленное значение |
2.5 Проникающая способность при нагнетании | | Меньше или равно заявленному значению, мкм |
3 Показатели реакционной способности |
3.1 Жизнеспособность: а) для составов на полимерной основе по показателю 2.3 настоящей таблицы; | | Заявленное значение |
б) для составов на цементной основе по показателю 2.5 настоящей таблицы | | Заявленное значение |
3.2 Кинетика набора прочности на осевое растяжение | | Для составов на полимерной основе: после твердения контрольных образцов при наименьшей температуре использования значения показателей при испытании на растяжение должны быть: а) деформативность через 10 ч твердения - больше 10% или превышает 0,03 мм (следует принимать меньшее из полученных значений); б) прочность на растяжение через 72 ч твердения - больше 3 Н/мм2 |
3.3 Сроки схватывания | Испытания контрольных проб проводят при температуре воздуха (21 +/- 2) °C, а также при заданной производителем температуре использования состава - наибольшей и наименьшей с диапазоном отклонения +/- 2 °C | Для составов на цементной основе: заявленное значение |
4 Долговечность - совместимость уплотнения с бетоном |
4.1 Прочность сцепления (адгезия) с бетоном на растяжение при разрыве после искусственного старения по 4.2 настоящей таблицы Примечания 1 Бетон для контрольных образцов типа БМ (0,40) в соответствии с приложением Е. 2 Абразивная обработка поверхности заготовок для контрольных образцов имитации трещин в соответствии с приложением Ж. | | а) F1: адгезия >= 3,0 Н/мм 2 (2,5 Н/мм 2) <а>; б) F2: адгезия >= 2,0 Н/мм 2 (1,5 Н/мм 2) <а>. а) уменьшение адгезии для F1 и F2 не более 30% в сравнении с результатами испытаний без искусственного старения; б) F3: адгезия - заявленное значение |
4.2 Воздействие 24 циклов: намокание/замораживание/оттаивание/нагревание - искусственное старение | | - |
<а> Значения в скобках - наименьшее допустимое для любого испытания в серии образцов. <б> На территории Российской Федерации действуют ГОСТ Р 52487-2010 (ИСО 2811-1.1997). <в> Альтернативный метод; решение о применении принимает производитель состава. |
Таблица 7
Требования к значениям показателей свойств
инъекционно-уплотняющих составов и показателей
эксплуатационных качеств неконструкционных упруго-эластичных
уплотнений с адгезионно-герметизирующим замыканием трещин -
группа АГ (составы на полимерной основе для метода 1.5
Показатель | Метод испытания | Требования |
1 Базовые показатели |
1.1 Прочность сцепления (адгезия уплотнения с бетоном) и растяжимость Примечание - Бетон для контрольных образцов типа БМ (0,40) в соответствии с приложением Е. | | а) Адгезия: заявленное значение; б) растяжимость: > 10% |
1.2 Водонепроницаемость Примечание - Бетон для контрольных образцов типа БМ (0,45) в соответствии с приложением Е. | В соответствии с приложением Р с уточнением: гидравлические испытания включают в себя только основное воздействие | Водонепроницаемость при давлении 2·105 Па |
1.3 Температура стеклования | По ГОСТ 32618.2 | Заявленное значение |
2 Показатели удобоукладываемости |
2.1 Нагнетаемость в сухую среду: | | Класс нагнетаемости: 1 - для трещин шириной 0,1 мм < 4 мин (только для заполнения колонки); 2 - для трещин шириной 0,2 мм < 8 мин (только для заполнения колонки); 3 - для трещин шириной 0,3 мм < 12 мин (только для заполнения колонки) |
а) для трещин шириной 0,1; 0,2 и 0,3 мм: оценка нагнетаемости состава в песчаную колонку (по времени заполнения колонки); | |
б) для трещин шириной 0,5 и 0,8 мм или там, где неприменима методика приложения Л: оценка нагнетаемости состава (по объему заполнения трещины) Примечания 1 Бетон для контрольных образцов типа БМ (0,40) в соответствии с приложением Е. 2 Абразивная обработка поверхности заготовок для контрольных образцов имитации трещин в соответствии с приложением Ж. | | Класс нагнетаемости: 5 - заполнение трещин шириной 0,5 мм больше 90%; 8 - заполнение трещин шириной 0,8 мм больше 90% |
2.2 Нагнетаемость в несухую среду: | | Класс нагнетаемости: 1 - для трещин шириной 0,1 мм < 4 мин (только для заполнения колонки); 2 - для трещин шириной 0,2 мм < 8 мин (только для заполнения колонки); 3 - для трещин шириной 0,3 мм < 12 мин (только для заполнения колонки) |
а) для трещин шириной 0,1; 0,2 и 0,3 мм: оценка нагнетаемости состава в песчаную колонку (по времени заполнения колонки); | |
б) для трещин шириной 0,5 и 0,8 мм или там, где неприменима методика приложения Л: оценка нагнетаемости состава (по объему заполнения трещины) Примечания 1 Бетон для контрольных образцов типа БМ (0,40) в соответствии с приложением Е. 2 Абразивная обработка поверхности заготовок для контрольных образцов имитации трещин в соответствии с приложением Ж. | | Класс нагнетаемости: 5 - заполнение трещин шириной 0,5 мм больше 90%; 8 - заполнение трещин шириной 0,8 мм больше 90% |
2.3 Вязкость (по ротационному вискозиметру) | | Заявленное значение |
3 Показатели реакционной способности |
3.1 Жизнеспособность: | | Заявленное значение |
| | |
4 Долговечность уплотнения |
4.1 Совместимость состава и уплотнения с влажностным состоянием трещины | | 1) При испытании на сжатие повреждения поверхности отсутствуют. 2) Для образцов со структурой, изначально имеющей в составе примесь воды, снижение деформативности меньше 20% в сравнении с образцами без такой примеси (выдерживание образцов обоих видов на воздухе) |
<а> Альтернативный метод; решение о применении принимает производитель состава. |
Таблица 8
Требования к значениям показателей свойств
инъекционно-уплотняющих составов и показателей
эксплуатационных качеств неконструкционных ограниченно
набухающих уплотнений с компрессионно-герметизирующим
замыканием трещин - группа КГ (составы на полимерной
Показатель | Метод испытания | Требования |
1 Базовые показатели |
1.1 Водонепроницаемость Примечание - Бетон для контрольных образцов типа БМ (0,45) в соответствии с приложением Е. | гидравлические испытания включают основной режим воздействия, а также дополнительные режимы - переходный и воздействие короткими циклами (500 циклов) | Водонепроницаемость при давлении 2·105 Па |
1.2 Коррозионная активность | До принятия межгосударственного стандарта испытания проводят по нормативным документам (технической документации) | Отсутствие коррозии стальной арматуры в бетоне |
2 Показатели удобоукладываемости |
2.1 Вязкость (по ротационному вискозиметру) | | <= 60 мПа·с |
Если не применимы ГОСТ 25276 или ГОСТ 25271: оценка нагнетаемости состава (по объему заполнения трещин шириной 0,3; 0,5 и 0,8 мм) | | Заполнение трещин больше 95% |
2.2 Степень ограниченного набухания и ее изменение при замачивании в воде (относительное изменение массы образца после высыхания на воздухе и последующего продолжительного воздействия замачиванием в воде - режим А) | В соответствии с приложением Т (режим кондиционирования А в воде) | Заявленное значение |
3 Показатели реакционной способности |
3.1 Жизнеспособность: | | Заявленное значение |
| | |
4 Долговечность уплотнения |
4.1 Чувствительность к воде: оценка по показателю 2.2 настоящей таблицы. Определяют относительное изменение массы образца уплотнения от начального состояния после высыхания на воздухе до конечного равновесного после продолжительного воздействия замачиванием в воде - режим А | В соответствии с приложением Т (режим кондиционирования А в воде) | При замачивании образца уплотнения в воде его ограниченное набухание должно достигать равновесного состояния |
4.2 Чувствительность к воздействию циклов высушивание/замачивание: оценка влияния циклов на изменение степени ограниченного набухания. Определяют относительное изменение массы образца уплотнения от начального состояния после высыхания на воздухе до конечного равновесного после воздействия сначала циклов высушивания/замачивания в воде (режим Б), а затем воздействия продолжительным замачиванием в воде (режим А) | В соответствии с приложением Т (режимы кондиционирования сначала Б, затем А в воде) | После воздействия циклов высушивание/увлажнение степень ограниченного набухания образца уплотнения не должна изменяться при последующем погружении в воду. После 28 сут или больше воздействия замачиванием в воде масса образца уплотнения должна достичь постоянного значения или превышать начальное не более чем на 10% |
4.3 Совместимость с бетоном: оценка степени ограниченного набухания и ее изменения при продолжительном воздействии замачиванием в насыщенном растворе Ca(OH)2. Определяют относительное изменение массы образца уплотнения от начального состояния после высыхания на воздухе до конечного равновесного после продолжительного воздействия замачиванием в насыщенном растворе Ca(OH)2 (режим А) | В соответствии с приложением Т (режим кондиционирования А в насыщенном растворе Ca(OH) 2 превышает 10%) | После 28 сут воздействия замачиванием в насыщенном растворе Ca(OH)2 масса образца уплотнения должна достичь постоянного значения или превышать начальное не более чем на 10% |
<а> Альтернативный метод; решение о применении принимает производитель состава. |
5.3. Требования к инъекционно-уплотняющим составам для особых целей применения
Требования к показателям свойств инъекционно-уплотняющих составов и показателям эксплуатационных качеств уплотнений трещин, рекомендуемых для особых целей применения, приведены в таблицах 9 -
11.
Таблица 9
Требования к значениям показателей свойств
инъекционно-уплотняющих составов и показателей
эксплуатационных качеств конструкционных уплотнений
с адгезионно-силовым замыканием трещин для особых целей
применения - группа АС (составы на полимерной основе)
Показатель | Метод испытания | Требование |
Отверждение под воздействием динамических нагрузок | До принятия межгосударственного стандарта испытания проводят согласно нормативным документам (технической документации) | Для составов на полимерной основе испытания на растяжение при отрыве должны приводить к отрывающему разрушению в бетоне |
Таблица 10
Требования к значениям показателей свойств
инъекционно-уплотняющих составов и показателей
эксплуатационных качеств неконструкционного уплотнения
с адгезионно-герметизирующим замыканием трещин
для особых целей применения - группа АГ
(составы на полимерной основе)
Показатель | Метод испытания | Требование |
1 Базовые показатели |
Примечание - Бетон для контрольных образцов типа БМ (0,45) в соответствии с приложением Е. | В соответствии с приложением Р с уточнением: гидравлические испытания включают в себя только основной режим воздействия | D2: водонепроницаемость при давлении 7·105 Па |
1.2 Водонепроницаемость после растяжения - оценка по показателю 1.1 настоящей таблицы | До принятия межгосударственного стандарта испытания проводят согласно нормативным документам (технической документации) | После растяжения (заявленное значение 5%, 10% или другое) D0: водонепроницаемость при давлении 1·105 Па |
1.3 Воздействие на эластомеры | | После 70 суток воздействия изменение удлинения меньше 20% исходного значения |
2 Долговечность |
2.1 Прочность сцепления (адгезия уплотнения с бетоном) и растяжимость уплотнения после искусственного старения | | После циклов воздействия: 1) снижение адгезии меньше 20% от исходного значения; 2) растяжимость больше 10% |
2.2 Воздействие 24 циклов: намокание/замораживание/оттаивание/нагревание - искусственное старение | | |
Таблица 11
Требования к значениям показателей свойств
инъекционно-уплотняющих составов и показателей
эксплуатационных качеств неконструкционного уплотнения
с компрессионно-герметизирующим замыканием трещин
для особых целей применения - группа КГ
(составы на полимерной основе)
Показатель | Метод испытания | Требование |
1 Базовый показатель |
1.1 Водонепроницаемость Примечание - Бетон для контрольных образцов типа БМ (0,45) в соответствии с приложением Е. | В соответствии с приложением Р с уточнением: гидравлические испытания включают в себя только основной режим воздействия | S2: водонепроницаемость при давлении 7·105 Па |
1.2 Воздействие на эластомеры | | После 70 сут воздействия изменение удлинения меньше 2% исходного значения |
| До принятия межгосударственного стандарта, гармонизированного с ИСО 11357-3:2009, испытания проводят согласно нормативным документам (технической документации) | Заявленное значение |
1.4 Изменение состояния | До принятия межгосударственного стандарта испытания проводят согласно нормативным документам (технической документации) | Уплотнение группы КГ при ограниченном набухании не должно выступать за пределы трещины |
<а> При определении точки замерзания анализом дифференциальной сканирующей колориметрии (ДСК) термомеханические показатели уплотнения определяют при испытаниях контрольных образцов на вдавливание штампа при следующих параметрах схемы и режима нагружения: - диаметр штампа - 50 мм; - диаметр контрольного образца - 100 мм; - высота контрольного образца - 35 мм; - скорость приложения нагрузки - 50 мм/мин. |
1 Приведенные в
таблицах 9,
10 и
11 методы испытаний допускается рассматривать как рекомендуемые для особых целей применения или применимые в отдельных случаях.
2 Такие испытания могут потребоваться для особых проектов. Типичными примерами служат случаи, когда требуется информация о показателях свойств инъекционно-уплотняющих составах на полимерной основе и показателях эксплуатационных качеств уплотнений:
- с адгезионно-силовым замыканием (группа АС) трещин, если состав отверждается при действии динамической нагрузки, например моделирование нагнетания при движении транспорта (см.
таблицу 9);
- с адгезионно-герметизирующим замыканием (группа АГ) трещин с водонепроницаемостью, например при повышенном до 7·10
5 Па давлении; с водонепроницаемостью после растяжения при подвижке трещины в контакте с эластомерными вставками или подвергающимся воздействиям тепловых циклов, циклов намокание/высыхание (см.
таблицу 10);
- с компрессионно-герметизирующим замыканием (группа КГ) трещин с водонепроницаемостью, например при повышенном до 7·10
5 Па давлении в контакте с эластомерными вставками, подвергающихся воздействию отрицательной температуры; при заполнении трещины с уменьшающейся шириной (см.
таблицу 11).
5.4. Требования к показателям выделения опасных веществ
Инъекционно-уплотняющие составы, предназначенные для защиты и восстановления бетонных конструкций, после полимеризации или твердения не должны выделять опасных веществ, вредных для здоровья людей и окружающей среды.
5.5. Требования к показателям огнестойкости
Для инъекционно-уплотняющих составов в рабочем состоянии (после полимеризации или твердения), предназначенных для защиты и восстановления бетонных конструкций, подверженных воздействию пожара, производитель должен указывать класс их горючести.
Составы с содержанием равномерно распределенных органических веществ в массовых или объемных долях более 1% классифицируют согласно
ГОСТ 30244, указывая для них соответствующий класс горючести.
6. Заводской контроль продукции
6.1 Производитель должен иметь систему заводского контроля продукции в целях обеспечения постоянного соответствия выпускаемой продукции установленным в
5.1 и
5.2 требованиям.
6.2 В рамках заводского контроля производитель проводит необходимые идентификационные испытания, испытания по определению значений основных показателей продукции, а при необходимости - дополнительные (или иные) испытания. При проведении иных испытаний следует устанавливать их соответствие методам, используемым в рамках первичного испытания, в целях обеспечения соответствия выпускаемой продукции требованиям настоящего стандарта. Такое соответствие должно быть отражено в документации системы заводского контроля.
6.3 Периодичность испытаний продукции в рамках заводского контроля приведена в
приложении А. При необходимости периодичность может быть увеличена на начальном этапе производства или при несоответствии продукции установленным требованиям.
6.4 Любые отклонения от требований настоящего стандарта должны быть обоснованы документальным подтверждением их эквивалентности.
(справочное)
МИНИМАЛЬНАЯ ПЕРИОДИЧНОСТЬ ИСПЫТАНИЙ ПРИ ЗАВОДСКОМ КОНТРОЛЕ
Таблица А.1
Идентификационное свойство | Составы на полимерной основе | Составы на цементной основе |
Эпоксидные смолы | Полиуретановые смолы | Гели |
1 Анализ размера частиц методом лазерной дифракции | - | - | - | A |
2 Жидкие компоненты инъекционно-уплотняющего состава |
2.1 Компонент 1): | | | | |
- плотность; | A | A | A | - |
- эпоксидный эквивалент <а>; | C | - | - | - |
- гидроксильное число <а>; | | | | |
- вязкость; | | | A | - |
- инфракрасный спектр | C | C | C | - |
2.2 Компонент 2): | | | | |
- плотность; | A | A | A | - |
- аминное число; | C | - | - | - |
- содержание изоцианатов; | - | C | - | - |
- вязкость; | - | - | A | - |
- инфракрасный спектр | C | C | C | - |
2.3 Для составов с жидким полимерным компонентом: | | | | |
- летучие/нелетучие вещества в жидких компонентах; | - | - | - | A |
- инфракрасный спектр | - | - | - | A |
3 Готовые к применению и отвердевшие инъекционно-уплотняющие составы |
3.1 Готовый к применению состав: | | | | |
- вязкость; | A | A | - | - |
| C | C | | - |
- летучие/нелетучие вещества; | C | C | - | - |
- время загустения; | - | - | - | B |
- фильтрационная стабильность; | - | - | - | B |
- условная вязкость (воронка Марша) | - | - | - | B |
3.2 Отвердевший состав: | | | | |
- плотность; | C | C | C | C |
- прочность при сжатии; | - | - | - | C |
- деформационные свойства; | - | - | C | - |
- прочность на растяжение, удлинение при разрыве, модуль упругости | C | C | - | - |
<а> Допускается предоставление документации производителя сырья (компонентов), отвечающей требованиям настоящего стандарта. <б> При температуре 21 °C. <в> С наибольшим и наименьшим содержанием в составе ускорителя химической реакции. Примечание - A - каждая партия; B - через каждые 10 партий, через две недели или через каждые 1000 т, в зависимости от того, что достигается первым (т.е. выбирают максимальную периодичность); C - два раза в год. |
(обязательное)
ОТВЕРДИТЕЛИ АМИННЫЕ СМЕСЕВЫЕ.
ОПРЕДЕЛЕНИЕ АМИННОГО ЧИСЛА <*>
--------------------------------
<*> Метод испытаний соответствует требованиям
[1].
Б.1 Метод определения аминного числа основан на титровании спиртового раствора отвердителя водным раствором соляной кислоты.
Границы относительной суммарной погрешности результата испытания составляют +/- 1,5% при доверительной вероятности 0,95.
Б.2 Точечные пробы отбирают стеклянной или из нержавеющей стали трубкой с оттянутым концом. Точечные пробы соединяют, полученную объединенную пробу тщательно перемешивают и отбирают среднюю пробу массой не менее 0,2 кг.
Б.3 Среднюю пробу помещают в чистую сухую, плотно закрываемую банку. На банку прикрепляют или наклеивают ярлык с указанием наименования продукта, обозначения настоящего применения, даты выпуска, номера партии и даты отбора пробы.
Б.4 Внешний вид и цвет отвердителя определяют визуально при просвечивании испытуемой пробы, помещенной в пробирку по
ГОСТ 25336, на белом фоне.
Б.5 Средства измерения, посуда, реактивы:
- весы среднего класса точности с наибольшим пределом взвешивания 200 г по
ГОСТ 24104 или другие, имеющие идентичные метрологические характеристики;
- коническая колба вместимостью 100 см
3 по
ГОСТ 25336;
- индикатор бромкрезоловый зеленый по нормативной документации, раствор в этиловом спирте с массовой долей индикатора 0,1%;
- кислота соляная по
ГОСТ 3118; водный раствор кислоты концентрации 0,5 моль/дм
3, приготовленный по
ГОСТ 25794.1;
Б.6 Проведение испытания:
- навеску отвердителя массой (0,6000 +/- 0,0500) г помещают в коническую колбу и растворяют в 20 см3 этилового или изопропилового спирта. Добавляют 5 - 6 капель индикатора бромкрезолового зеленого и титруют раствором соляной кислоты до перехода окраски в желтый цвет.
При проведении испытания выполняют два параллельных определения с двумя навесками отвердителя.
Б.7 Обработка результатов:
- аминное число X, мг KOH/г, вычисляют по формуле

(Б.1)
где V - объем раствора соляной кислоты концентрации 0,5 моль/дм3, израсходованного на титрование, см3;
28,05 - количество KOH, соответствующее 1 см3 раствора соляной кислоты концентрации точно 0,5 моль/дм3, г;
K - поправочный коэффициент к раствору соляной кислоты концентрации 0,5 моль/дм3;
m - масса отвердителя, г;
- за результат испытания принимают среднее арифметическое результатов двух параллельных определений, относительное значение расхождения между которыми не превышает норматива контроля сходимости, равного +/- 3%.
(обязательное)
ИСПЫТАНИЕ КОНТРОЛЬНЫХ ПРОБ ИНЪЕКЦИОННО-УПЛОТНЯЮЩЕГО СОСТАВА.
ОЦЕНКА УСЛОВНОЙ ВЯЗКОСТИ СОСТАВОВ НА ЦЕМЕНТНОЙ ОСНОВЕ
С ИСПОЛЬЗОВАНИЕМ ВОРОНКИ МАРША <*>
--------------------------------
<*> Метод испытаний соответствует требованиям
[2].
В.1 Метод испытания предусматривает оценку условной вязкости готовых для применения составов по времени истечения 1000 мл его объема из стандартизированной воронки Марша.
В.2 Оборудование, оснастка, приборы и инструмент
В.2.1 Воронка Марша из нержавеющей стали - усеченный конус высотой 305 мм с цилиндрическим бортом высотой 50 мм, снабженный в основании полукруглым ситом диаметром 152 мм размерами ячеек 2 x 2 мм и выпускным патрубком длиной (51,0 +/- 0,5) мм, внутренним диаметром (4,8 +/- 0,1) мм с пробкой, прикрепленный винтовым соединением через фланец к выпускному отверстию в усечении конуса без зазора
(рисунок В.1).
1 - сито полукруглой формы с ячейками 2 x 2 мм;
2 - выпускной патрубок с заглушкой;
3 - фланцевое соединение
Рисунок В.1 - Воронка Марша
В.2.2 Штатив или другое приспособление для крепления конуса в устойчивом вертикальном положении на высоте (150 +/- 10) мм под срезом приемной емкости объемом (1000 +/- 10) мл.
В.2.3 Емкость приемная объемом (1000 +/- 10) мл.
В.2.4 Уровень, для установки воронки Марша в вертикальном положении.
В.2.5 Емкость заливочная объемом (1500 +/- 15) мл.
В.2.6 Секундомер с точностью измерения до 1 с.
В.2.7 Термометр с точностью измерения до 0,5 °C.
В.2.8 Смеситель для приготовления готового для применения состава.
В.3 Приготовление состава и отбор контрольных проб
В.3.1 Температуру сухих компонентов и воды затворения назначают такими, чтобы температура состава в начале смешивания составляла (21 +/- 2) °C. Порядок и продолжительность смешивания назначают в соответствии со стандартом или техническими условиями производителя.
В.3.2 Для дополнительных испытаний состава после более продолжительного периода смешивания, чем заданное производителем, объем приготовляемого состава изначально увеличивают и оставшийся состав после отбора первоначальной пробы продолжают перемешивать на малой скорости в течение установленного дополнительного периода времени, стараясь минимизировать испарение воды затворения.
В.4 Порядок проведения испытаний
В.4.1 Испытания проводят в нормальных климатических условиях при температуре воздуха (21 +/- 2) °C и относительной влажности (60 +/- 10)%.
В.4.2 Штатив по
В.2.2 с воронкой Марша по
В.2.1 устанавливают на твердую не подверженную вибрации поверхность, уровнем по
В.2.4 проверяют вертикальность установки и выравнивают приемную емкость.
В.4.3 Воронку Марша наполняют водой, которую выпускают за 1 мин до наполнения воронки контрольной пробой состава, после чего выпускное отверстие закрывают пробкой.
В.4.4
<**> Пробу состава через 5 мин после окончания смешивания в количестве (1500 +/- 15) мл заливают через сито в воронку. Включают секундомер и одновременно удаляют пробку из выпускного отверстия. Секундомер останавливают, когда из воронки вытечет (1000 +/- 10) мг состава.
--------------------------------
<**> Время начала испытаний согласно требованиям показателя 12 таблицы 5 из
[3].
В.4.5 Испытание повторяют три раза, каждый раз используя свежеприготовленный состав. Перед каждым последующим испытанием воронку и приемную емкость полностью очищают от остатков состава.
В.4.6 Интервал времени между окончанием смешивания компонентов состава (в том числе и в дополнительных испытаниях по
В.3.2) и началом его измерения не должен превышать 1 мин.
В.5 Представление результатов и протокол испытаний
В.5.1 Результаты испытаний представляют в виде периода времени истечения состава из воронки Марша в секундах.
В.5.2 В протоколе испытаний приводят следующие данные:
а) ссылка на настоящее приложение;
б) дата поставки состава;
в) порядок смешивания компонентов (содержание воды, описание смесительного оборудования, продолжительность смешивания), временной интервал между окончанием смешивания и началом проведения испытаний;
г) дата проведения испытания;
д) результаты испытаний: частные и средние значения, температура окружающей среды и контрольной пробы во время испытания;
е) погрешность испытаний;
ж) дата составления протокола.
(обязательное)
МЕТОДЫ ПОДГОТОВКИ И ИСПЫТАНИЙ КОНТРОЛЬНЫХ ПРОБ И ОБРАЗЦОВ.
ОЦЕНКА ПРОНИКАЮЩЕЙ СПОСОБНОСТИ ИНЪЕКЦИОННО-УПЛОТНЯЮЩИХ
СОСТАВОВ НА ЦЕМЕНТНОЙ ОСНОВЕ <*>
--------------------------------
<*> Методы испытаний соответствуют требованиям
[4].
Г.1 Сущность метода
Г.1.1 Метод испытаний имитирует процесс нагнетания инъекционно-уплотняющего состава на цементной основе в тонкие трещины.
Метод предусматривает приготовление контрольной пробы состава, закачивание состава через сетчатый фильтр в инъекционную колонку обратным движением поршня, выдерживание состава в колонке и последующее опорожнение колонки прямым движением поршня. Для сетчатого фильтра используют плетеную металлическую сетку с ячейками из следующего ряда типоразмеров: 125, 100, 75, 45 и 32 мкм согласно
[5].
Примечания
1 Самым существенным ограничением способности инъекционно-уплотняющего состава на цементной основе проникать в тонкую трещину является процесс седиментации частиц цемента в воде затворения с образованием непроницаемого осадка - закупорка инъекционного тока состава.
2 Причиной закупорки также могут быть комбинация нескольких факторов, например:
- частицы цемента слишком крупные для данной трещины;
- в исходном составе слишком высокая концентрация частиц цемента в воде затворения;
- образование осадка в местах водопроявлений, например в устьях трещин или пористой среде.
Г.1.2 Определению подлежит проникающая способность состава, которую поочередно оценивают по наименьшему типоразмеру ячеек сетчатого фильтра, через который в инъекционную колонку в обратном и прямом направлениях соответственно проникла и вышла смесь в объеме 20 мл или меньше без закупорки ячеек фильтра.
Г.1.3 Кроме основного назначения по
Г.1.1 метод испытаний может быть использован в следующих случаях:
- оценка продолжительности смешивания состава и стабильности состояния готового для применения состава (жизнеспособность);
- оценка перечисленных выше показателей свойств в натурных условиях, включая наименьшую и наибольшую температуры применения.
Г.1.4 Лабораторные испытания проводят в нормальных климатических условиях: температура воздуха (21 +/- 2) °C и относительная влажность (60 +/- 10)%.
При проведении испытаний в натурных условиях (на стройплощадке) исходят из допустимых минимальной и максимальной температур использования состава в соответствии с инструкцией производителя.
Г.2 Оборудование, оснастка, инструмент и материалы
Г.2.1 Колонка инъекционная: внутренним диаметром 25,4 мм, длиной 705 мм с поршнем длиной 60 мм, тягой диаметром 10 мм и рукоятью.
Г.2.2 Фильтры сетчатые диаметром 28 мм из металлической плетеной сетки в обойме диаметром 32 мм с типоразмерами ячеек из следующего ряда: 125, 100, 75, 45 и 32 мкм согласно
[5].
Г.2.3 Стакан градуированный мерный внутренним диаметром (105 +/- 5) мм, высотой не меньше 140 мм.
Г.2.4 Цилиндр мерный (мензурка) объемом 500 мл по
ГОСТ 25336.
Г.2.5 Секундомер с точностью измерения до 1 с.
Г.2.6 Смеситель для приготовления составов на цементной основе.
Г.2.7 Термометр с точностью измерения до 0,5 °C.
Г.2.8 Камера климатическая (лаборатория) для создания нормальных климатических условий: температура воздуха (21 +/- 2) °C и относительная влажность (60 +/- 10)%.
Г.3 Подготовка контрольных проб и порядок проведения испытаний
Г.3.1 Компоненты инъекционно-уплотняющего состава и оборудование для испытаний выдерживают в нормальных климатических условиях в камере (лаборатории) по
Г.2.8 не меньше 24 ч, если не требуется другое.
Г.3.2 Выдержанные в соответствии с
Г.3.1 компоненты состава смешивают в соответствии с требованиями инструкции производителя. Пробу смеси помещают в мерный стакан по
Г.2.3 до отметки градуировки 1,0 л в течение (5 +/- 1) мин после окончания смешивания, если не требуется другое.
Г.3.3 Если требуется проведение дополнительных испытаний, например с сетчатыми фильтрами разных типоразмеров, после более длительного времени выдерживания оставшуюся часть пробы продолжают перемешивать на малой скорости вращения смесителя по
Г.2.6 в течение установленного периода времени согласно инструкции производителя состава.
Г.3.4 Инъекционную колонку по
Г.2.1 с опущенной рукоятью в сборе с фильтром по
Г.2.2 погружают в мерный стакан по
Г.2.3, наполненный пробой испытуемого состава на глубину, равную половине высоты заполненного объема (см.
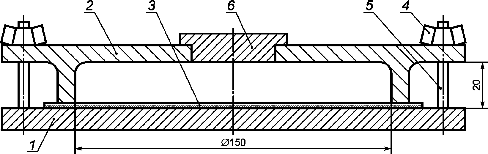
рисунок Г.1). Рукоять, соединенную через тягу с поршнем, вытягивают (обратное движение поршня) на всю высоту тяги с постоянной скоростью в течение (5 +/- 2) с, затем погруженную в состав инъекционную колонку удерживают в том же положении в течение (20 +/- 5) с. При этом колонка заполняется пробой состава, после чего колонку извлекают из стакана с оставшимся составом и опорожняют в мерный цилиндр по
Г.2.4, вдавливая рукоять (прямое движение поршня).
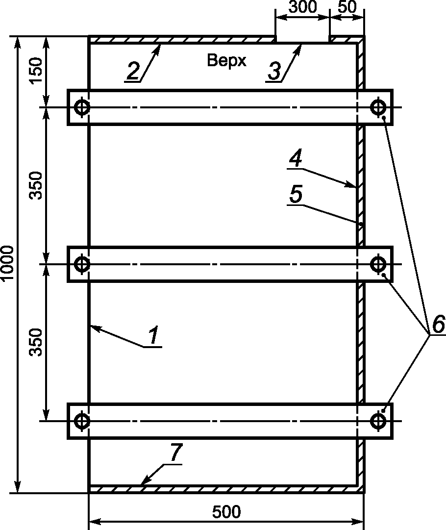
1 - инъекционная колонка длиной 705 мм с переходными
муфтами и накидными гайками из некорродирующего материала,
внутренним диаметром 1" (25,4 мм); 2 - рукоять; 3 - шток
диаметром 10 мм; 4 - накидная гайка; 5 - переходная муфта;
6 - сетчатый фильтр диаметром 28 в обойме 34 мм; 7 - мерный
стакан; 8 - испытуемый состав
Рисунок Г.1 - Схема испытаний
Г.3.5 Сразу после испытания инъекционную колонку, сетчатый фильтр, мерные стакан и цилиндр несколько раз промывают водой. Оставшаяся в мерном стакане по
Г.2.3 часть пробы дальнейшим испытаниям не подлежит.
Г.3.6 Объем, который поступил в мерный цилиндр через сетчатый фильтр, измеряют с точностью до 5 мл.
Г.3.7 Процедуру испытаний по
Г.3.4 начинают с использования сетчатого фильтра с типоразмером 125 мкм. Если инъекционный цилиндр заполняется пробой состава целиком (~ 300 мл), процедуру повторяют со следующим типоразмером сетчатого фильтра (100 мкм) и далее, пока объем, проходящий через фильтр, не будет превышать 20 мл.
Г.3.8 Тесты с сетчатыми фильтрами других типоразмеров проводят в течение последующих 3 мин. Если ожидают, что одного типоразмера фильтра будет достаточно, оставшиеся типоразмеры можно не использовать. Если испытания проводят сетчатыми фильтрами разных типоразмеров, то для каждого из них рекомендуется использовать отдельную инъекционную колонку.
Г.4 Представление результатов и протокол испытаний
Г.4.1 Результаты испытаний представляют в виде наименьшего типоразмера сетчатого фильтра, через который контрольная проба состава объемом 20 мл или меньше поступила в инъекционную колонку по нормированной процедуре.
Г.4.2 В протоколе испытаний приводят следующие данные:
а) ссылка на настоящее приложение;
б) дата проведения испытаний;
в) обозначение инъекционно-уплотнительного состава, включая тип, источник получения, коды производителя, дату поставки;
г) порядок смешивания компонентов состава (содержание воды, описание смесительного оборудования, продолжительность смешивания);
д) интервал времени между окончанием смешивания и началом проведения испытаний;
е) описание использованного оборудования, наименование производителя;
ж) результаты испытаний: частные и средние значения (по двум испытаниям) для каждого типоразмера сетчатого фильтра.
(обязательное)
МЕТОДЫ ПОДГОТОВКИ И ИСПЫТАНИЙ КОНТРОЛЬНЫХ ПРОБ
И ОБРАЗЦОВ. ОЦЕНКА НАГНЕТАЕМОСТИ ИНЪЕКЦИОННО-УПЛОТНЯЮЩИХ
СОСТАВОВ И ОПРЕДЕЛЕНИЕ АДГЕЗИИ УПЛОТНЕНИЙ <*>
--------------------------------
<*> Методы испытаний соответствуют требованиям
[6].
Д.1 Сущность метода
Д.1.1 Настоящий метод устанавливает порядок изготовления моделей конструкционных и неконструкционных уплотнений трещин, находящихся в различном влажностном состоянии (сухое, влажное, мокрое или с активной протечкой) из инъекционно-уплотняющих составов на полимерной или цементной основах с субъективной оценкой нагнетаемости состава, а также порядок изготовления и испытаний (в том числе после искусственного старения) контрольных образцов-кернов или образцов-призм на растяжение при разрыве (адгезия уплотнения к бетону).
Д.1.2 Изготовление уплотнений и испытание (кроме искусственного старения) контрольных образцов проводят в нормальных климатических условиях: температура воздуха (21 +/- 2) °C, относительная влажность (60 +/- 10)%. Температуру воды для моделирования влажностного состояния трещины принимают равной (20 +/- 2) °C.
Д.2 Оборудование, оснастка, инструмент и материалы
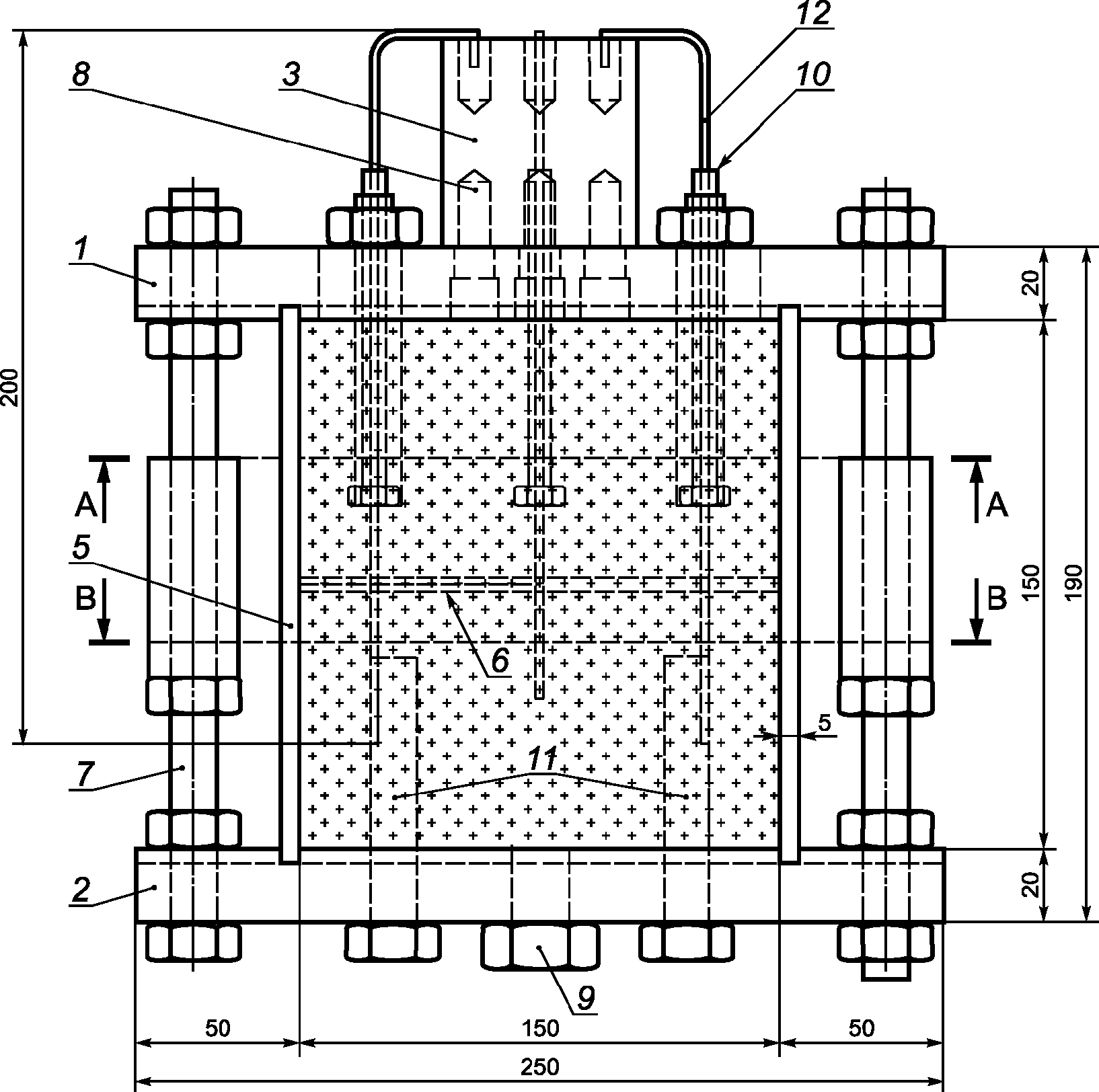
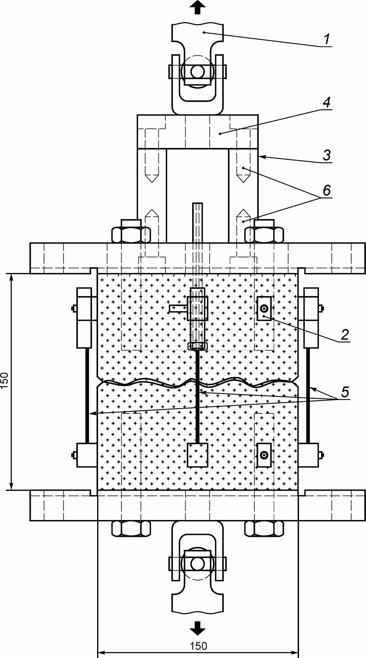
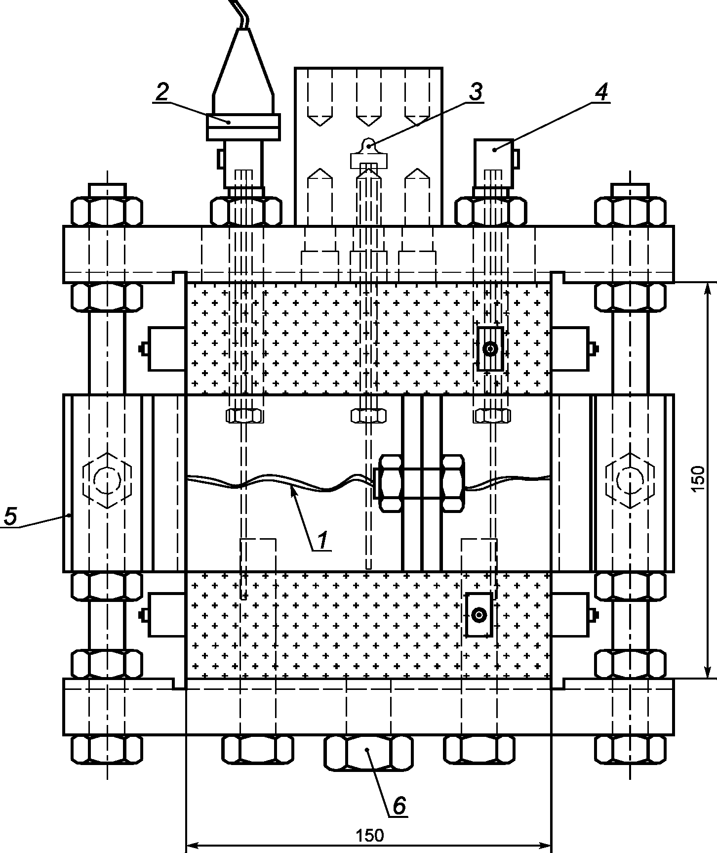
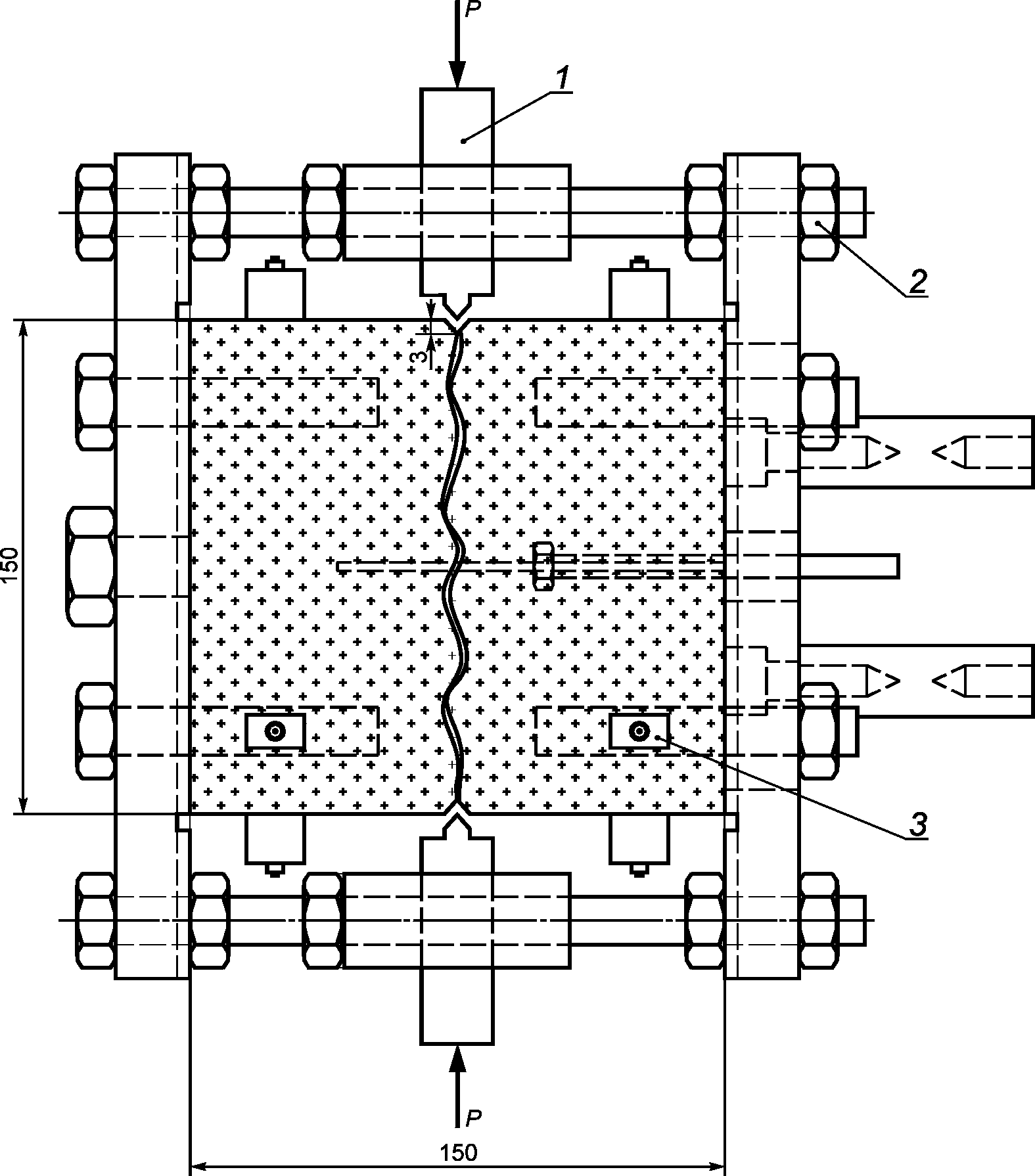
Д.2.1 Кондуктор для крепления заготовок при изготовлении сборных образцов-плит (см.
рисунки Д.1 -
Д.3).
1 - зазор по контуру грани не заделан и предназначен
для размещения приспособлений нагнетания
инъекционно-уплотняющего состава; 2 - зазор
по контуру грани заделан частично; 3 и 4 - зазор
по контуру граней заделан полностью
Рисунок Д.1 - Форма и размеры сборного образца-плиты
1 - контур грани для размещения приспособлений нагнетания
инъекционно-уплотняющего состава; 2 - грань образца
с частичной заделкой зазора; 3 - незаделанный участок,
предназначенный для выхода воздуха при нагнетании
инъекционно-уплотняющего состава; 4 - грань образца
с полностью заделанным зазором; 5 - материал заделки
зазора; 6 - траверсы крепления; 7 - грань образца
с полностью заделанным зазором
Рисунок Д.2 - Сборный образец-плита в кондукторе
для формирования зазора - вид спереди
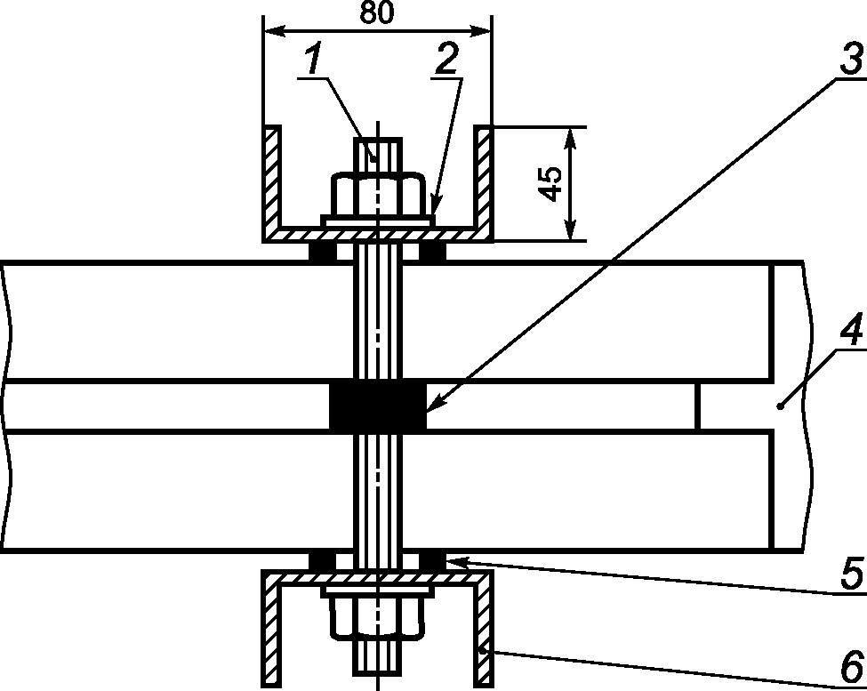
1 - шпилька резьбовая М10; 2 - шайба металлическая;
3 - прокладка для создания зазора между плитами;
4 - материал заделки контура зазора; 5 - шайба
резиновая; 6 - траверса крепления
Рисунок Д.3 - Элемент кондуктора крепления
в сборе - вид сбоку
Д.2.2 Камера климатическая (лаборатория) для создания нормальных климатических условий: температура воздуха (21 +/- 2) °C и относительная влажность (60 +/- 10)%.
Д.2.3 Плиты бетонные размерами 1000 +/- 500 +/- 40 мм, изготовленные и выдержанные в соответствии с
приложением Е.
Д.2.4 Комплект оборудования для нагнетания инъекционно-уплотняющего состава под принудительным давлением или под действием гравитации и капиллярного впитывания с манометром для измерения давления.
Д.2.5 Штангенциркуль по
ГОСТ 166 со значениями отсчета по нониусу 0,1 и 0,05 мм.
Д.2.6 Состав быстротвердеющий (клеящий) на полимерной основе (эпоксиды, полиуретаны или акрилаты).
Д.2.7 Установка для испытания контрольных образцов-кернов (образцов-призм) на растяжение при разрыве с возможностью постоянного увеличения тягового усилия со скоростью до 10 кН (точность измерения +/- 2%). Устройство, считывающее приложенную нагрузку в цифровой или аналоговой форме, должно сохранять значение максимальной разрушающей (разрывающей) нагрузки.
Д.2.8 Штампы для испытаний стальные цилиндрические диаметром (50 +/- 0,5) мм или квадратные [(50 +/- 0,5) x (50 +/- 0,5)] мм, толщиной не меньше 20 мм, снабженные средством крепления в установке по
Д.2.7, самоцентрирующиеся, обеспечивающие приложение нагрузки вдоль оси образца под прямым углом к поверхности испытуемого образца без возникновения изгибающих или сдвигающих нагрузок.
Д.2.9 Установка буровая и керноотборник длиной не менее 100 мм для кернов диаметром (50 +/- 0,5) мм с алмазной режущей кромкой, выступающей за габариты наружного диаметра керноотборника на (1,5 +/- 0,5) мм.
Д.2.10 Пила с алмазной режущей кромкой для выпиливания образцов-призм высотой 80 мм.
Д.2.11 Камера климатическая для циклов искусственного старения образцов-плит размерами (300 x 300 x 80) мм:
а) для базового метода испытаний (ручной режим): климатическая камера включает в себя установку сухого воздушного охлаждения до минус 15 °C (минус 25 °C), водяную баню [температура воды (20 +/- 2) °C], печь для нагревания [температура воздуха (40 +/- 2) °C или (60 +/- 2) °C];
б) для программируемого метода испытаний (автоматический режим): климатическая камера включает в себя изолированное помещение с оборудованием для нагревания на воздухе и охлаждение водой в диапазоне температур соответственно от (40 +/- 2) °C или (60 +/- 2) °C до минус (15 +/- 2) °C или до минус (25 +/- 2) °C. В камере обеспечивается соответствующая циркуляция воздуха и воды, установлены аппаратура для измерения и записи значений температуры вблизи образцов, а также регуляторы циклов нагревания и охлаждения, размещены емкости для загрузки образцов с арматурой для автоматического заполнения водой и опорожнения.
Д.3 Обработка поверхностей сопряжения, сборка и оснащение образцов-плит, моделирование влажностного состояния трещин
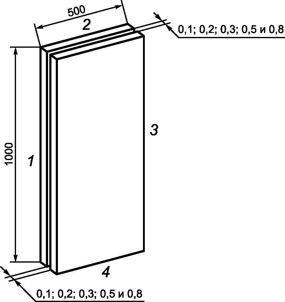
Д.3.1 Порядок изготовления моделей уплотнений предусматривает использование сборных образцов-плит с адгезионно-силовым (группа АС), с адгезионно-герметизирующим (группа АГ) или с компрессионно-герметизирующим (группа КГ) замыванием в виде сопряжения двух отдельных частей (заготовок). Уплотнение получают нагнетанием между частями в зазор, имитирующий трещину заданной ширины, инъекционно-уплотняющего состава под принудительным давлением или под действием гравитации и капиллярного впитывания. Отдельная часть (заготовка) представляет собой бетонную плиту размерами 1000 x 500 x 40 мм по
Д.2.3, изготовленную и выдержанную в соответствии с
приложением Е.
Д.3.2 Порядок изготовления сборных образцов-плит предусматривает предварительную абразивную обработку поверхностей заготовок последующего сопряжения (гладких граней, находящихся в контакте с формой при изготовлении плит) и оценку качества результатов их обработки в соответствии с
приложением Ж.
Д.3.3 Перед обработкой сопрягаемых поверхностей после выдерживания образцов-плит в воде в соответствии с
приложением Г их помещают на 48 ч в нормальные климатические условия: температура воздуха (21 +/- 2) °C и относительная влажность (60 +/- 10)%. Если образцы после выдерживания находились на хранении в нормальных климатических условиях, то указанной процедуры не требуется.
Д.3.4 Сборку образца-плиты проводят с использованием кондуктора по
Д.2.1, задавая значения зазора, имитирующего трещины между плитами (заготовками) из следующего ряда значений: 0,1; 0,2; 0,3; 0,5 и 0,8 мм с допуском не более чем 30% с помощью прокладок и контролируя штангенциркулем по
Д.2.5.
Д.3.5 Зазор по контуру между образцами-плитами заделывают быстротвердеющим (клеящим) составом по
Д.2.6, оставляя без заделки часть зазора на верхней грани (около 100 мм) для выхода воздуха и одну из длинных граней сборного образца-плиты для ее оснащения оборудованием по
Д.2.4 согласно техническим условиям производителя состава.
Д.3.6 Оборудованную по
Д.2.3 образец-плиту и компоненты инъекционно-уплотняющего состава выдерживают в нормальных климатических условиях (или, если требуется, в других условиях, например при 5 °C - наименьшей или 35 °C - наибольшей температуре использования состава) в течение не менее 48 ч перед проведением испытаний.
Д.3.7 Образец-плиту устанавливают в вертикальное положение и в сформированном зазоре (трещине) моделируют влажностное состояние:
а) при нагнетании в сухую трещину - дополнительной подготовки не требуется;
б) при нагнетании во влажную трещину - трещину заполняют водой и выдерживают в течение 30 мин, затем трещину опорожняют и выдерживают в течение 10 мин, после чего приступают к нагнетанию инъекционно-уплотняющего состава;
в) при нагнетании в мокрую трещину - трещину заполняют водой и выдерживают в течение 30 мин, затем трещину опорожняют и сразу же приступают к нагнетанию инъекционно-уплотняющего состава;
г) при нагнетании в трещину с активной протечкой - трещину заполняют водой и выдерживают в течение 30 мин, затем без опорожнения трещины выполняют нагнетание инъекционно-уплотняющего состава. Если требуется подтверждение, что состав допускается к нагнетанию при определенном напоре-движении воды организуют подвод воды с заданным напором через выпускное отверстие.
Д.4 Нагнетание инъекционно-уплотняющего состава и выдерживание сборного образца-плиты
Д.4.1 Компоненты инъекционно-уплотняющего состава смешивают, состав нагнетают в зазор между поверхностями сопряжения согласно стандарту или техническим условиям на состав конкретного типа. В процессе нагнетания измеряют давление состава на входе в зазор.
Д.4.2 Нагнетание завершают, когда состав появляется в неуплотненной части зазора (предназначенной для выхода воздуха) на верхней грани заготовки сборного образца-плиты.
Д.4.3 После нагнетания сборный образец-плиту выдерживают в течение 7 сут в условиях проведения испытаний, а затем в нормальных климатических условиях [температура воздуха (21 +/- 2) °C и относительная влажность (60 +/- 10)%] еще 7 сут для составов на полимерной основе или 21 сут - на цементной.
Д.5 Оценка заполнения трещины
Д.5.1 После выдерживания по
Д.4.3 на одной из граней сборного образца-плиты намечают места последующего бурения (выпиливания) контрольных образцов, маркируя их согласно
рисункам Д.4 или
Д.5.
Примечания
1 Испытанию подлежат одна или, если требуется, две серии контрольных образцов:
- первая серия - образцы 1, 8, 3, 10, 5 и 12;
- вторая серия - образцы 7, 2, 9, 4, 11 и 6.
2 Пунктиром показаны линии распиливания сборного образца-плиты.
Рисунок Д.4 - Схема разметки и маркировки мест бурения
образцов-кернов диаметром (50 +/- 0,5) мм в сборном
образце-плите <*>
--------------------------------
<*> Если дополнительно не требуется испытание на искусственное старение.
Примечания
1 Испытанию на искусственное старение подлежит образец-плита размерами 300 x 300 мм, из которой после старения выбуривают образцы-керны 1, 2, 3, 4 и 5 диаметром (50 +/- 0,5) мм для дальнейших испытаний на растяжение при разрыве.
2 Контрольные образцы-керны 6, 7, 8, 9, 10 и 11 принимают за эталонные и искусственному старению не подвергают.
3 Пунктиром показаны линии распиливания сборного образца-плиты.
Рисунок Д.5 - Схема разметки и маркировки мест бурения
контрольных образцов-кернов диаметром (50 +/- 0,5) мм
в образце-плите <*>
--------------------------------
<*> Если дополнительно требуется испытание на искусственное старение.
Д.5.2 Контрольные образцы для испытаний представляют собой образцы-керны диаметром (50 +/- 0,5) мм и высотой около 80 мм. Если адгезия уплотнения при бурении образцов-кернов нарушается (это характерно для хрупких составов с адгезией меньше 0,5 Н/мм2), то переходят на изготовление образцов-призм размерами 50 x 50 x 80 мм путем выпиливания.
Для испытаний на искусственное старение используют сборные образцы-плиты размером 300 x 300 x 80 мм (см. Д.6 и
рисунок Д.5).
Д.5.3 Образцы-керны (образцы-призмы) или сборные образцы-плиты осматривают и визуально оценивают объем заполнения полости трещины (уплотнение) в процентах.
Д.6 Искусственное старение <**>
--------------------------------
<**> Метод испытаний соответствует требованиям в части разметки и количества контрольных образцов (см.
рисунок Д.5), а также значений температуры расширенного диапазона согласно требованиям показателя 16 таблицы 6 из
[3].
Д.6.1 Испытаниям на искусственное старение подлежит сборный образец-плита размерами 300 x 300 x 80 мм, выпиленный из середины половины сборного образца-плиты.
Д.6.2 Четыре боковые грани сборного образца-плиты герметизируют быстротвердеющим составом по
Д.2.6.
Д.6.3 Искусственное старение предусматривает воздействие на образцы-плиты температурно-влажностных условий, включающих в себя 24 цикла (намокание/замораживание/оттаивание/нагревание) продолжительностью каждого 24 ч в ручном или автоматическом режиме в диапазоне температур от минус (15 +/- 2) °C до плюс (40 +/- 2) °C - базовый диапазон или от минус (25 +/- 2) °C до плюс (60 +/- 2) °C - расширенный диапазон в соответствии с
приложением Н.
Примечание - Диапазон температуры воздействия (расширение диапазона в одну из сторон или обе стороны) принимает производитель состава.
Д.6.4 Каждые восемь циклов сборные образцы-плиты осматривают для выявления трещин, отслоений, пузырения и других дефектов в уплотнении.
Окончательный осмотр проводят не ранее чем через 16 ч после окончания циклов воздействия.
Д.7 Определение прочности сцепления (адгезия) с бетоном на растяжение при отрыве
Д.7.1 Испытанию подлежат 6 или, если требуется, 12 контрольных образцов-кернов, выбуренных из сборного образца-плиты размерами 500 x 1000 x 80 мм (см.
рисунок Д.4), или после искусственного старения - 5 контрольных образцов-кернов, выбуренных из сборного образца-плиты размерами 300 x 300 x 80 мм, и 6 контрольных образцов-кернов, принятых за эталонные для сравнения (см.
рисунок Д.5).
Д.7.2 Два штампа для испытаний по
Д.2.8 приклеивают к каждому контрольному образцу-керну (образцу-призме) с помощью быстротвердеющего состава по
Д.2.6 и после затвердевания состава помещают в установку по
Д.2.7 для испытания на растяжение при отрыве таким образом, чтобы ось образцов с приклеенными штампами совмещалась с воображаемой осью, соединяющей площадки крепления с осью испытательной установки.
Д.7.3 Каждый из контрольных образцов-кернов и образцов-кернов, принятых за эталонные, испытывают до разрушения таким образом, чтобы скорость возрастания нагрузки составляла:
- для контрольных образцов-кернов (200 +/- 100) Н/с;
- для контрольных образцов-призм (250 +/- 125) Н/с
или скорость роста растягивающих напряжений составляла (0,1 +/- 0,05) Н/(мм2·с).
Разрушающую нагрузку или разрушающее напряжение фиксируют, а также визуально оценивают характер разрушения и процент площади каждого вида разрушения:
А - когезионное разрушение по материалу уплотнения;
Б - адгезионное разрушение по контакту "бетон-уплотнение";
В - когезионное разрушение по бетону контрольного образца.
Д.7.4 Прочность сцепления (адгезию) вычисляют как отношение разрушающей нагрузки в ньютонах к площади поперечного сечения контрольного образца (керна или призмы) в квадратных миллиметрах. Полученное значение округляют до ближайшего 0,1 Н/мм2.
Расчет показателей рекомендуется выполнять с использованием статистической обработки результатов по
ГОСТ 14359.
Д.8 Представление результатов и протокол испытаний
Д.8.1 Результаты испытания выражают как среднеарифметическую величину: разрушающая нагрузка - в ньютонах (Н) либо разрушающее напряжение в мегапаскалях (МПа) (Н/мм2) при условии использования контрольных образцов, соответствующих заданным требованиям.
Примечание - Предполагается, что при использовании настоящего приложения получают следующие критерии для повторяемости и воспроизводимости:
а) повторяемость как разброс отдельных разрушающих нагрузок, полученных на одной пробе инъекционно-уплотняющего состава одним и тем же оператором в одном и том же испытательном помещении или лаборатории, не должна превышать коэффициент вариации 25%;
б) воспроизводимость как разброс средних разрушающих нагрузок, полученных на одной пробе инъекционно-уплотняющего состава на одной и той же системе, в различных испытательных помещениях или лабораториях, не должна превышать коэффициент вариации 30%.
Следует отметить, что эти критерии предложены только в целях ориентировки: несоответствие результатов испытаний одному или другому из этих рекомендуемых значений не означает несоответствие их требованиям, изложенным в настоящем приложении.
Д.8.2 Протокол испытания должен включать в себя следующие сведения:
а) ссылка на настоящее приложение;
б) обозначение инъекционно-уплотняющего состава или системы, включая тип, источник получения, коды производителя, дата поставки;
в) вид эталонного бетона, использованного для изготовления контрольных образцов (заготовок);
г) дата и время нагнетания состава в моделируемую трещину;
д) температурно-влажностные условия окружающей среды, а также влажностное состояние полости трещины (сухая, влажная, мокрая, с активной протечкой);
е) ширина трещины;
ж) метод нагнетания (под принудительным давлением или под действием гравитации), значение конечного давления;
и) процент заполнения образцов-кернов или образцов-призм;
к) дата проведения испытания;
л) разрушающую нагрузку для каждого образца;
м) среднее значение прочности на растяжение (адгезия) при разрыве для каждой серии образцов, подготовленных и испытанных в одинаковых условиях;
н) характер разрушения для каждого образца и процент площади вида разрушения;
п) любые отклонения в рабочем режиме либо экспериментальные сложности, которые могли повлиять на результаты.
(обязательное)
МЕТОДЫ ПОДГОТОВКИ И ИСПЫТАНИЙ КОНТРОЛЬНЫХ ПРОБ И ОБРАЗЦОВ.
БЕТОННАЯ СМЕСЬ И БЕТОН КОНТРОЛЬНЫХ ОБРАЗЦОВ (ЗАГОТОВОК)
Е.1 Оборудование, инструмент и материалы, в том числе компоненты бетонной смеси
Е.1.1 Смеситель барабанного типа принудительного действия.
Е.1.2 Формы для изготовления образцов (заготовок) размерами 40 x 40 x 160 мм по
ГОСТ 30744, 70 x 70 x 70 мм или 150 x 150 x 150 мм, диаметром и высотой 150 мм по
ГОСТ 22685, а также формы произвольной конструкции размерами 1000 x 500 x 40 мм.
Е.1.3 Вибростол низкочастотный, другое оборудование и инструмент для уплотнения бетонной смеси в формах.
Е.1.4 Компоненты для приготовления бетонной смеси с воспроизводимыми показателями свойств:
а) портландцемент класса 42,5 быстротвердеющий: ЦЕМ I 42,5 Б
ГОСТ 31108;
б) песок твердых пород по
ГОСТ 8736 с водопоглощением до 2% по массе;
в) щебень твердых пород по
ГОСТ 8267 с водопоглощением до 2% по массе;
г) вода по
ГОСТ 23732 для затворения бетонной смеси;
д) добавки к бетонной смеси по
ГОСТ 30459 для обеспечения оптимального уплотнения.
Е.1.5 Бетонная смесь с воспроизводимыми показателями свойств и бетон для оснований контрольных образцов (заготовок) с воспроизводимыми показателями эксплуатационных качеств по
таблице Е.1 <*>.
--------------------------------
<*> Значения показателей свойств (качества) бетонной смеси и бетона соответствуют требованиям
[7].
Показатель | Значения показателей для бетона типа <а> |
БМ (0,40) | БМ (0,45) |
1 Максимальная крупность заполнителей, мм | 10 | | 10 | |
2 Водоцементное отношение, В/Ц <в> | 0,40 | 0,45 |
3 Содержание цемента, кг/м3 | 455 | 470 | 395 | 410 |
4 Средняя прочность бетона на сжатие (в возрасте 28 сут) <г>, Н/мм 2 | 60 +/- 5 | 50 +/- 5 |
5 Средняя прочность бетона на растяжение при отрыве поверхностного слоя (когезия) <д>, Н/мм 2, не менее | 3,0 | 2,5 |
<а> Подбор состава бетонной смеси по ГОСТ 27006 для мелкозернистого бетона по ГОСТ 26633 обеспечивает приготовление бетонной смеси с воспроизводимыми показателями свойств без водоотделения и расслоения. Если к качеству бетонной смеси предъявляют какие-либо специальные требования, то они должны быть заявлены особо. <б> Дополнительный размер сита для определения по ГОСТ 8267 и ГОСТ 8736 гранулометрического состава заполнителя; допускается линейная интерполяция по шкале значений размеров отверстий контрольных сит (рисунок Е.1). <в> Водоцементное отношение предусматривает воду затворения и содержание воды в составе добавок к бетонной смеси. <д> Испытания проводят по методике ГОСТ 28574 (испытаниям подлежит не менее чем каждый 15-й образец из партии, если это требуется). |

Рисунок Е.1 - Гранулометрический состав
заполнителей (песок + щебень) с наибольшей фракцией
в диапазоне 8 - 10 мм для бетонной смеси (бетона)
контрольных образцов
Е.2 Приготовление бетонной смеси и изготовление образцов (заготовок)
Е.2.1 Объем замеса принимают в количестве 50% - 90% полезного объема смесителя.
Е.2.2 Половину воды затворения и сухие заполнители бетонной смеси подобранного по
ГОСТ 27006 состава помещают в смеситель и перемешивают в течение 2 мин.
Е.2.3 Продолжая перемешивание в течение 3-й минуты, в смеситель помещают заданное в составе количество цемента и вторую половину воды затворения (при необходимости с соответствующими добавками); общее время перемешивания не более 5 мин.
Е.2.4 После перемешивания бетонную смесь укладывают в соответствующие формы по
Е.1.2 и уплотняют выбранным методом, получая плотную и однородную упаковку без расслоения смеси и водоотделения. Излишки бетонной смеси удаляют с поверхности формуемого образца стальной теркой, а поверхность выравнивают заподлицо с верхней гранью формы.
Е.3 Выдерживание и хранение образцов (заготовок)
Е.3.1 Образцы (заготовки) после изготовления выдерживают на воздухе в формах в течение 24 ч при температуре (21 +/- 2) °C и относительной влажности не меньше 95% (допускается выдерживание на воздухе при указанной температуре с укрытием образцов полиэтиленовой пленкой), после чего образцы (заготовки) извлекают из форм и выдерживают в воде при температуре (20 +/- 2) °C в течение 27 сут.
Е.3.2 После выдерживания по
Е.3.1 образцы (заготовки) готовят к испытанию или хранят в нормальных климатических условиях при температуре (21 +/- 2) °C и относительной влажности (60 +/- 10)%.
Е.4 В протоколе испытаний приводят следующие данные:
а) ссылку на настоящее приложение;
б) состав бетонной смеси;
в) дату и время приготовления образцов (заготовок);
г) наименование и гранулометрический состав компонентов бетонной смеси с воспроизводимыми показателями свойств;
д) режим выдерживания и/или хранения образцов (заготовок);
е) прочность на сжатие (среднее и минимальное значения);
ж) среднюю прочность на растяжение при отрыве поверхностного слоя (когезия), если требуется;
и) индекс шероховатости обработанной поверхности бетона в соответствии с
Ж.3.1.4 приложения Ж;
к) любые отклонения от методов испытания.
(рекомендуемое)
МЕТОДЫ ПОДГОТОВКИ И ИСПЫТАНИЙ КОНТРОЛЬНЫХ ПРОБ И ОБРАЗЦОВ.
АБРАЗИВНАЯ ОБРАБОТКА БЕТОНА ПОВЕРХНОСТЕЙ СОПРЯЖЕНИЯ
КОНТРОЛЬНЫХ ОБРАЗЦОВ (ЗАГОТОВОК)
Ж.1 Оборудование, инструмент и материалы
Ж.1.1 Установка для абразивной обработки поверхности (давление сжатого воздуха до 0,5 МПа, сопло диаметром 8 - 12 мм с углом рассеивания, обеспечивающим нужное качество обработки, подбираемым опытным путем).
Примечание - Допускается применение оборудования для обработки поверхностей водой под высоким давлением с включением (или без него) абразивного материала.
Ж.1.2 Песок твердых минералов (кварц, корунд) фракции 0,25 - 1,0 мм.
Примечание - Для обработки поверхности бетона - песок без железистых включений.
Ж.1.3 Песок кварцевый пылеватый фракции 0,05 - 0,1 мм (испытания проводят по методике ГОСТ 19286), высушенный до постоянной массы.
Ж.1.4 Емкости мерные по
ГОСТ 1770 в виде стеклянных цилиндров объемом 5, 10, 15, 20 и 25 мл внутренним диаметром до 20 мм.
Ж.1.5 Терка деревянная диаметром (65 +/- 5) мм с рабочей поверхностью из твердой резины толщиной (15 +/- 5) мм.
Ж.2 Обработка бетона поверхностей сопряжения
Ж.2.1 Обработке подлежат поверхности сопряжения заготовок для образцов-плит, изготовленных в соответствии с
приложением Е.
Ж.2.2 Обработку поверхности выполняют с помощью установки по
Ж.1.1 с использованием песка по
Ж.1.2.
Ж.2.3 Поверхности располагают горизонтально и обрабатывают, поддерживая сопло установки по
Ж.1.1 над поверхностью на высоте около 0,5 м и плавно его перемещая. Поверхность очищают и создают на ней равномерную шероховатость. После обработки с поверхности удаляют образовавшуюся пыль.
Ж.3 Оценка качества результатов обработки поверхности <*>
--------------------------------
<*> Показатель и метод оценки обработанной поверхности бетона соответствуют требованиям
[7].
Ж.3.1 Качество результатов обработки поверхности бетона образцов (заготовок) оценивают нормируемым показателем по индексу шероховатости методом сыпучего слепка в пределах i = 0,20 - 0,25 мм, если не требуется другое по стандарту или техническим условиям на ремонтную смесь конкретного типа, соблюдая такую последовательность проведения операций:
Ж.3.1.1 Перед обработкой поверхности сопряжения очищают, а при необходимости - подсушивают.
Ж.3.1.2 Песок по
Ж.1.3 объемом 25 мл или меньшим помещают в мерную емкость по
Ж.1.4 и выравнивают без уплотнения заподлицо с верхней кромкой цилиндра. Затем песок высыпают горкой на обработанную поверхность и с помощью терки по
Ж.1.5 горизонтальным круговым движением распределяют по поверхности, заполняя выемки, полученные при абразивной обработке. В результате получают сыпучий (из песка) слепок кругового очертания, который с нижней стороны повторяет конфигурацию шероховатой поверхности бетона, а с другой, из-под терки - гладкий. Операцию считают законченной, если песок больше не распределяется теркой по поверхности. Выдавленный теркой песок собирают, определяют его объем и устанавливают дозу оставшегося или повторяют операцию с меньшим объемом песка согласно перечню мерных емкостей по
Ж.1.4.
Ж.3.1.3 После получения сыпучего слепка терку поднимают и измеряют диаметр слепка с точностью +/- 1 мм в трех местах под углом 120°. Рассчитывают среднее значение диаметра слепка и округляют результат с точностью +/- 1 мм.
Ж.3.1.4 Индекс шероховатости
i, мм, рассчитывают по формуле

(Ж.1)
где Vп - объем песка, мл;
dс - диаметр сыпучего слепка, мм.
Примечание - Значение отношения, приведенного в скобках

, принимают по среднему значению после округления частного (для

и

), равному 1,272.
(рекомендуемое)
КЛАССИФИКАЦИЯ И МАРКИРОВКА ИНЪЕКЦИОННО-УПЛОТНЯЮЩИХ
СОСТАВОВ (УПЛОТНЕНИЙ) <*>
--------------------------------
<*> Классификация и маркировка инъекционно-уплотняющих составов (уплотнений) отвечают требованиям приложения А из
[3].
И.1 Инъекционно-уплотняющие составы на цементной и полимерной основах и создаваемые при их использовании уплотнения классифицируют и маркируют по следующим показателям:
а) физические свойства состава - удобоукладываемость (W):
- нагнетаемость в трещину определенной ширины;
- влажностное состояние трещины;
- наименьшее и наибольшее значения температуры воздуха при использовании состава;
- допустимая подвижка трещины в течение суток;
б) показатели эксплуатационных качеств получаемых уплотнений (U):
- прочность на растяжение при разрыве (адгезия);
- прочность на сжатие;
- водонепроницаемость.
И.2 При маркировке вначале ставят букву U (вид уплотнения), за ней в скобках следует одна буква и одна цифра (конкретизирующие вид уплотнения).
И.2.1 Уплотнение конструкционное с адгезионно-силовым замыканием (группа АС - составы на цементной и полимерной основах):
а) F1 (для составов на цементной и полимерной основах):
- прочность на растяжение при разрыве (адгезия) >= 3,0 Н/мм2 (2,5 Н/мм2);
б) F2 (для составов на цементной и полимерной основах):
- прочность на растяжение при разрыве (адгезия) >= 2,0 Н/мм2 (1,5 Н/мм2);
в) F3 (для составов на цементной основе):
- прочность на растяжение при разрыве (адгезия) - заявленное значение;
- прочность при сжатии в возрасте 7 сут >= 20 Н/мм2.
Примечания
1
Перечисления а) и
б) в соответствии с принципом 4 для методов 4.5 и 4.6 по
таблице 1 настоящего стандарта для создания уплотнений трещин, полостей и расщелин.
2
Перечисление в) в соответствии с принципом 4 для методов 4.5 и 4.6 по
таблице 1 настоящего стандарта только для создания уплотнений полостей и расщелин, а также в соответствии с принципом 1 для метода 1.5 по
таблице 1 настоящего стандарта - для создания уплотнений трещин.
3 Значения в скобках - наименьшее допустимое для любого испытания в серии образцов.
И.2.2 Уплотнение конструкционное с адгезионно-герметизирующим замыканием (группа АГ):
а) D0: водонепроницаемость при давлении 1·105 Па;
б) D1: водонепроницаемость при давлении 2·105 Па;
в) D2: водонепроницаемость при давлении 7·105 Па.
Примечание - Для составов на полимерной основе.
И.2.3 Уплотнение неконструкционное с компрессионно-герметизирующим замыканием (группа КГ - составы на полимерной основе):
а) S1: водонепроницаемость при давлении 2·105 Па;
б) S2: водонепроницаемость при давлении 7·105 Па.
И.3 Дальнейшая запись маркировки включает в себя букву W (удобоукладываемость состава), за ней в скобках следуют три или четыре группы цифр.
И.3.1 Первая группа цифр (одна цифра) характеризует нагнетаемость состава в трещину с минимально допустимой шириной 0,1; 0,2; 0,3; 0,5 или 0,8 мм в десятых долях миллиметра: 1; 2; 3; 5 или 8.
Примечание - Классификация по результатам испытаний на нагнетаемость состава.
И.3.2 Вторая группа цифр (одна цифра или более) характеризует влажностное состояние трещины: 1 - сухое; 2 - влажное; 3 - мокрое и 4 - с активной протечкой.
Примечание - Классификация по результатам испытаний на нагнетаемость состава и соответствующих показателей эксплуатационных качеств уплотнений (адгезии и долговечности для группы АС; способности к растяжению и водонепроницаемости для группы АГ; водонепроницаемости для группы КГ).
И.3.3 Третья группа цифр (две цифры) - наименьшее и наибольшее значения температуры воздуха при использовании состава.
И.3.4 Четвертая группа цифр (одна цифра) - только для группы АС:
а) для трещин с подвижкой в течение суток больше 10% или 0,03 мм в период схватывания (отвердевания).
И.3.5 Пример классификации и маркировки:
U(F1)W(1)(1/2)(5/30)(1)
обозначает следующее:
(F1) - уплотнение конструкционное с адгезионно-силовым замыканием трещин;
(1) и (1/2) - состав допускается нагнетать в трещину шириной 0,1 мм и больше в сухом и влажном состояниях;
(5/30) - состав допускается к использованию в диапазоне температуры от 5 °C до 30 °C;
(1) - состав допускается к использованию для трещин, которые ежедневно подвергаются подвижкам больше 10% или 0,03 мм в период схватывания (отверждения).
(рекомендуемое)
МЕТОДЫ ПОДГОТОВКИ И ИСПЫТАНИЙ КОНТРОЛЬНЫХ ПРОБ И ОБРАЗЦОВ.
ОЦЕНКА СЦЕПЛЕНИЯ (АДГЕЗИЯ НАКЛОННОГО УПЛОТНЕНИЯ С БЕТОНОМ)
ПРИ КОСОМ СДВИГЕ ПОД СЖИМАЮЩЕЙ НАГРУЗКОЙ <*>
--------------------------------
<*> Метод испытаний соответствует требованиям
[8].
К.1 Сущность метода
К.1.1 Настоящий метод устанавливает порядок создания моделей трещин в различном влажностном состоянии (сухое, влажное, мокрое или с активной протечкой) и конструкционных уплотнений из инъекционно-уплотняющих составов на полимерной или цементной основах, а также порядок изготовления и испытания контрольных образцов-призм с уплотнениями, расположенными под углом 60° к поперечной оси призмы.
К.1.2 Оценке подлежит сцепление (адгезия) наклонного уплотнения с бетоном при косом сдвиге от сжимающей нагрузки. Визуально оценивают характер (узор) разрушения контрольного образца-призмы с наклонным уплотнением в сравнении с образцом, принятым за эталонный без такого уплотнения. Кроме того, результаты испытаний представляют также в виде значений прочности сцепления (адгезия наклонного уплотнения с бетоном) при косом сдвиге как отношение разрушающей нагрузки к поперечному сечению образца, Н/мм2.
Примечание - При необходимости получения расчетных значений нормальных и касательных напряжений в наклонном под углом 60° уплотнении рекомендуется использовать зависимости, приведенные в
приложении В ГОСТ 32943.
К.1.3 Подготовку уплотнений и испытание контрольных образцов проводят в нормальных климатических условиях: при температуре воздуха (21 +/- 2) °C и относительной влажности (60 +/- 10)%. Температуру воды для моделирования влажностного состояния трещины принимают равной (20 +/- 2) °C.
К.2 Оборудование, оснастка, инструмент и материалы
К.2.1 Установка для испытаний на сжатие (пресс) по
ГОСТ 28840 с возможностью постепенного увеличения нагрузки до 300 кН со скоростью от 1,0 до 2,0 кН/с.
К.2.2 Формы для изготовления бетонных плит-заготовок размером 150 x 150 x 55 мм для контрольных образцов, аналогичные требованиям
ГОСТ 22685.
К.2.3 Пластины стальные трапециевидные согласно
рисунку К.1 с допуском +/- 0,5 мм из стали марки Ст3 по
ГОСТ 380 листовой толщиной 10 мм по
ГОСТ 14637.
К.2.4 Прокладки эластомерные размером 150 x 150 мм и толщиной 10 мм, например из ленты конвейерной (транспортерной) резинотканой по
ГОСТ 20, или из листа полиуретанового неармированного толщиной 6 мм с твердостью по Шору А90.
К.2.5 Пила дисковая с алмазной кромкой для получения чистых поверхностей при резке бетонной плиты толщиной 55 мм.
К.2.6 Измерительный инструмент: линейка измерительная металлическая по
ГОСТ 427, штангенциркуль по
ГОСТ 166 со значениями отсчета по нониусу 0,1 и 0,05 мм.
К.2.7 Лента резиновая (жгут) шириной 30 мм для фиксации трещины.
К.2.8 Состав быстротвердеющий (клеящий) на полимерной основе (эпоксиды, полиуретаны или акрилаты).
К.2.9 Емкость с насыщенным раствором Ca(OH)
2 в воде (известковая вода).
К.2.10 Кондуктор произвольной конструкции для закрепления плит-заготовок размером 150 x 150 x 55 мм при выпиливании из их середины контрольных образцов-призм размером 150 x 55 x 55 мм.
К.3 Подготовка плит-заготовок для контрольных образцов
К.3.1 Плиты-заготовки для контрольных образцов изготовляют из бетона типа БМ (0,40) и выдерживают в соответствии с
приложением Е.
К.3.2 Плиту по К.3.1 укладывают между двумя слоями пластин по
К.2.3 и прокладок по
К.2.4 (см.
рисунок К.1), помещают в установку по
К.2.1 (см.
рисунок К.2). По периметру плиты (торцевые грани размером 55 мм) накладывают резиновую ленту (жгут) по
К.2.7, несколько сжимая плиту. Включают установку и, плавно увеличивая нагрузку, раскалывают плиту под углом 60°. При этом растянутая резиновая лента фиксирует раскрытие трещины на торцевых гранях.
Примечание - Как правило, удается получить трещину шириной 0,2 - 0,5 мм, при необходимости можно увеличить ширину трещины, подняв давление или механически раздвинув расколотые половинки, - это обстоятельство фиксируют в протоколе испытания.
1 - эластомерный лист; 2 - трапециевидные стальные маты;
3 - плита (заготовка) из эталонного бетона;
4 - нижняя узкая грань плиты (заготовки)
Рисунок К.1 - Схема размещения элементов раскалывания
плиты под углом 60°
1 - эластомерный лист; 2 - трапециевидные стальные маты;
3 - плиты пресса; 4 - трещина в плите
Рисунок К.2 - Схема раскалывания плиты
(создание наклонной под углом 60° трещины)
К.3.3 После раскалывания нагрузку снимают и, не удаляя резиновую ленту по
К.2.7, плиту вместе с металлическими пластинами и прокладками вынимают из установки для подготовки к нагнетанию инъекционно-уплотняющего состава.
К.3.4 Сначала устье трещины в плите по длинным сторонам раскола, не снимая резиновую ленту, скрепляют зажимом и герметизируют быстротвердеющим составом по
К.2.8, а после твердения состава приступают к оборудованию плиты в соответствии с рекомендациями производителя: обустройству входного (нижнего) и выходного (верхнего) отверстий на гранях 55 мм, патрубков и инъекторов для нагнетания инъекционно-уплотняющего состава.
К.3.5 Подготовленную по
К.3.4 плиту устанавливают в вертикальное положение и моделируют влажностное состояние трещины:
а) при нагнетании в сухую трещину - дают плите высохнуть на воздухе в течение не менее 16 ч в нормальных климатических условиях: температура воздуха (21 +/- 2) °C и относительная влажность (60 +/- 10)%;
б) при нагнетании во влажную трещину - в трещину нагнетают воду, удаляя весь воздух, затем плиту помещают в емкость по
К.2.9, полностью погружая в известковую воду на 48 ч. Затем плиту вынимают из емкости с известковой водой, дают излишкам воды вытечь из трещины в течение 30 мин, прежде чем начать нагнетание инъекционно-уплотняющего состава;
в) при нагнетании в мокрую трещину - в трещину нагнетают воду, удаляя весь воздух, затем плиту помещают в емкость по
К.2.9, полностью погружая в известковую воду на период не менее 48 ч. Перед началом нагнетания состава плиту вынимают из емкости с известковой водой, дают излишкам воды вытечь и сразу же приступают к нагнетанию инъекционно-уплотняющего состава;
г) при нагнетании в трещину с активной протечкой - в трещину нагнетают воду, удаляя весь воздух, затем плиту помещают в емкость по
К.2.9, полностью погружая в известковую воду не менее чем на 48 ч. Перед началом нагнетания состава, не вынимая плиту из емкости с известковой водой, к входному отверстию подсоединяют инъекционный шланг и проводят нагнетание состава. Для удобства нагнетания допускается вынуть плиту с подсоединенным инъекционным шлангом из емкости с известковой водой, не давая воде вытечь из трещины.
Для подтверждения возможности нагнетания инъекционно-уплотняющего состава в воду, находящуюся под давлением, организуют подвод воды с заданным напором (противодавлением) через входное отверстие в плите.
К.4 Нагнетание инъекционно-уплотняющего состава
К.4.1 Компоненты инъекционно-уплотняющего состава и емкость для смешивания выдерживают не меньше 16 ч в нормальных климатических условиях: температура воздуха (21 +/- 2) °C и относительная влажность (60 +/- 10)%, если не оговорено другое.
К.4.2 Компоненты состава смешивают и нагнетают в трещину согласно инструкции производителя. При отсутствии инструкций по нагнетанию состав подают с помощью пистолета для нагнетания герметиков или другого подходящего оборудования, обеспечивая подачу состава до тех пор, пока весь воздух (или вода) не будет вытеснен из трещины, и из выходного отверстия не будет поступать чистый инъекционно-уплотняющий состав. После этого выходное отверстие закрывают и поднимают давление состава в трещине дополнительным нагнетанием (подкачиванием) до заданного давления, если это требуется по инструкции производителя.
К.4.3 После нагнетания инъекционно-уплотняющего состава входное отверстие закрывают и плиту возвращают в условия, оговоренные в
К.3.5, для выдерживания в течение 7 сут для состава на полимерной основе и 25 сут - на цементной основе, если производителем состава не указан иной период выдерживания.
К.5 Изготовление контрольных образцов-призм
К.5.1 После выдерживания плиту-заготовку размером 150 x 150 x 55 мм для контрольных образцов помещают в кондуктор по
К.2.10 и распиливают на три части таким образом, чтобы среднюю часть (призму) наклонная трещина с уплотнением пересекала под углом 60° к поперечной оси призмы и выходила на противолежащие длинные стороны ниже верхней и выше нижней граней (см.
рисунок К.3). Среднюю выпиленную призму размером 150 x 55 x 55 мм (контрольный образец-призму) подвергают испытаниям. Внешние отпиленные части в испытаниях не используют.
1 - главная ось; 2 - контрольный образец-призма;
3 - размер до распиливания плиты (заготовки)
Рисунок К.3 - Схема выпиливания контрольного образца-призмы
К.5.2 Контрольные образцы-призмы, принимаемые за эталонные (без наклонной трещины и уплотнения), имеющие тот же размер 150 x 55 x 55 мм, что и размеры по
К.5.1, выпиливают из дополнительных плит-заготовок, изготовленных из той же бетонной смеси и выдержанных в тех же условиях.
К.5.3 Допуски размеров выпиленных образцов +/- 0,5 мм как по отформованным граням, так и по граням распила. Отклонение параллельности поверхностей вертикальных граней распила - 0,5 мм, горизонтальных граней - 0,25 мм.
К.6 Испытание контрольных образцов-призм на косой срез при сжимающей нагрузке
К.6.1 Для каждого из четырех влажностных состояний трещины испытанию подлежат не меньше четырех контрольных образцов-призм с уплотнением наклонной трещины и четырех образцов-призм без трещины, принятых за эталонные.
К.6.2 Перед испытаниями измеряют размеры поперечного сечения образца, округляя с точностью до 0,5 мм, и фиксируют результат.
К.6.3 Испытания проводят в нормальных климатических условиях: температура воздуха (21 +/- 2) °C и относительная влажность (60 +/- 10)%. Перед проведением испытаний образцы выдерживают в указанных условиях не менее 16 ч.
К.6.4 Контрольные образцы-призмы и образцы-призмы, принятые за эталонные, поочередно испытывают в установке по
К.2.1, постепенно увеличивая нагрузку по продольной оси призмы со скоростью 1 - 2 кН/с до разрушения образца. Для каждого образца фиксируют разрушающую нагрузку и характер (узор) разрушения образца.
Примечания
1 В контрольном образце-призме от сжимающей нагрузки в уплотнении в наклонной под углом 60° трещине возникают нормальные и касательные (сдвиговые) напряжения в соотношении 1:1,73.
2 В образце-призме без трещины, принятом за эталонный, от сжимающей нагрузки возникают напряжения, приводящие к разрыву образца диагональными трещинами в углах и продольными в его средней части. Проявление узора трещин зависит от скорости отключения гидравлической системы установки для испытаний после разрушения образца: некоторые современные установки реагируют так быстро, что трещина едва определяется визуально. Любой другой узор трещин свидетельствует о внецентральном нагружении, которое может быть вызвано либо неправильной геометрией призмы, либо неточной центровкой призмы в установке для испытаний, либо некорректным положением шарового механизма крепления верхней плиты установки.
К.6.5 Различают следующие виды (узоры) разрушения контрольных образцов-призм:
а) монолитное - узор трещин совпадает с эталонным образцом;
б) адгезионно-когезионное - трещины по контакту и/или материалу уплотнения, при этом трещин в бетоне мало или они отсутствуют;
в) диагональное - трещины по бетону вблизи уплотнения, практически параллельно к нему; обычно это свидетельствует о хорошей адгезии уплотнения при использовании инъекционно-уплотняющих составов с низким модулем упругости.
К.7 Предоставление результатов и протокол испытаний
К.7.1 Результаты испытаний контрольных образцов-призм с трещиной и уплотнением представляют в виде значений прочности сцепления (адгезия наклонного уплотнения с бетоном) при косом сдвиге как отношение разрушающей нагрузки к площади поперечного сечения образца, Н/мм2. Вычисляют среднее значение не менее чем по четырем образцам с округлением до 0,1 Н/мм2.
Результаты испытаний образцов-призм, принятых за эталонные (без трещин), представляют в виде прочности на сжатие как отношение разрушающей нагрузки к площади поперечного сечения образца, Н/мм2. Вычисляют среднее значение не менее чем по четырем образцам с округлением до 0,1 Н/мм2.
К.7.2 При визуальной оценке сочетания разрушения видов по
перечислениям б) и
в) К.6.5 оценивают процент каждого из видов и фиксируют результат.
К.7.3 В протоколе испытаний приводят следующие данные:
а) ссылка на настоящее приложение;
б) дата проведения испытаний;
в) условия окружающей среды во время подготовки контрольных образцов (включая влажностное состояние трещины) и проведения испытаний (включая режим отверждения образцов и подробности выдерживания);
г) полное наименование инъекционно-уплотняющего состава, включая тип, источник получения и код производителя;
д) возраст образцов (заготовок), метод нагнетания (под действием гравитации и капиллярного впитывания или под действием принудительного давления), конечное давление при нагнетании;
е) тип эталонного бетона образцов (заготовок);
ж) размеры поперечного сечения образцов;
и) значения прочности сцепления (адгезии) при косом сдвиге и характер (узор) разрушения (по
К.6.5) каждого контрольного образца и среднее значение прочности;
к) значения прочности при сжатии каждого образца, принятого за эталонный, и среднее значение прочности.
(обязательное)
МЕТОДЫ ПОДГОТОВКИ И ИСПЫТАНИЙ КОНТРОЛЬНЫХ ПРОБ И ОБРАЗЦОВ.
ОЦЕНКА УДОБОУКЛАДЫВАЕМОСТИ ИНЪЕКЦИОННО-УПЛОТНЯЮЩИХ СОСТАВОВ
ПО НАГНЕТАЕМОСТИ В ПЕСЧАНУЮ КОЛОНКУ И ИСПЫТАНИЕ
НА РАСТЯЖЕНИЕ ПРИ РАСКАЛЫВАНИИ <*>
--------------------------------
<*> Методы испытаний соответствуют требованиям
[9].
Л.1 Сущность метода
Л.1.1 Оценка удобоукладываемости по нагнетаемости состава и последующие испытания на растяжение при раскалывании предусматривают следующие операции.
Л.1.2 Готовую для применения контрольную пробу состава на полимерной или цементной основах нагнетают под принудительным давлением в прозрачный испытательный цилиндр, заполненный определенной фракцией сухого и увлажненного водой песка (песчаную колонку). Оценке подлежит время заполнения составом песчаной колонки, которое зависит от вязкости состава.
Испытанию подлежат две песчаные колонки - одна с сухим песком (нагнетание в сухую среду), другая с увлажненным водой песком (нагнетание во влажную среду).
Л.1.3 Контрольные образцы-цилиндры, полученные распиливанием колонки после отверждения состава, испытывают на растяжение при раскалывании вдоль оси цилиндра сжимающей нагрузкой.
Испытанию подлежат две серии контрольных образцов-цилиндров, по шесть образцов в каждой серии: нагнетание в сухую среду и нагнетание во влажную среду.
Л.1.4 Определяют класс нагнетаемости и прочности на растяжение при раскалывании (косвенная адгезия) в соответствии с требованиями
таблиц 6 и
7 настоящего стандарта.
Л.2 Оборудование, оснастка, приборы, инструмент и материалы
Л.2.1 Установка для испытаний нагнетаемости составов (см.
рисунок Л.1), включающая в себя:
Л.2.1.1 Штатив с кронштейнами с закрепленными на заданной высоте испытательными емкостями:
а) цилиндр испытательный прозрачный 1 для формирования песчаной колонки диаметром (22,2 +/- 0,3) мм и длиной 390 мм, имеющий измерительную шкалу 12 с градуировкой от 50 до 350 мм, оснащенный с двух сторон резиновыми заглушками с отверстиями под медные соединительные патрубки внутренним диаметром 6 мм, наружным - 8 мм, длиной (50 +/- 10) мм с гибкими трубками 2 и сетчатыми дисками с размером ячеек 0,5 мм по
[5];
б) емкость 10 переливная прозрачная по
ГОСТ 1770, с объемом и градуировкой, обеспечивающими измерение (20 +/- 1) мм жидкости.
1 - испытательный цилиндр с сетчатыми дисками и резиновыми
заглушками; 2 - гибкие соединительные трубки внутренним
диаметром 6,0 мм, длиной 600 мм; 3 - манометр;
4 - компрессор; 5 - редуктор регулировки давления;
6 - патрубок восходящего потока; 7 - металлический сосуд
объемом 3 л для работы под давлением; 8 - металлический
контейнер диаметром 80 мм, высотой 175 мм;
9 - предохранительный (сбросной) клапан; 10 - переливная
прозрачная емкость; 11 - переливная трубка;
12 - градуировка от 50 до 350 мм
Рисунок Л.1 - Схема установки и испытаний нагнетаемости
инъекционно-уплотнительных составов в песчаную колонку
Л.2.1.2 Сосуд металлический 7 для работы под давлением не меньше 5 МПа объемом 3 л с запорной крышкой, оснащенный манометром 3, редуктором 5, обеспечивающим снижение давления подаваемого воздуха от компрессора 4 до 0,0750 МПа с максимальной погрешностью 0,0025 МПа и предохранительным (сбросным) клапаном 9.
Л.2.1.3 Контейнер 8 металлический для размещения контрольной пробы состава диаметром около 80 мм и высотой 175 мм.
Л.2.1.4 Патрубок 6 медный восходящего потока внутренним диаметром (6 +/- 1) мм, наружным - 8 мм.
Л.2.1.5 Трубки 2 соединительные гибкие внутренним диаметром 6 мм, выдерживающие давление не менее 0,5 МПа, и зажим к ним. Общая длина трубок 2, патрубка 6 по Л.2.1.4 и медного патрубка по
Л.2.1.1 составляет (900 +/- 5) мм.
Л.2.1.6 Зажим для гибкой соединительной трубки по Л.2.1.5.
Л.2.2 Измерительные приборы и инструмент: линейка длиной 400 мм по
ГОСТ 427, штангенциркуль со значениями отсчета по нониусу 0,1 и 0,05 мм по
ГОСТ 166; термометр со шкалой от 1 °C до 200 °C с погрешностью измерения 1 °C по
ГОСТ 28498; весы с погрешностью измерения до 0,1 г по
ГОСТ 24104; секундомер с точностью измерения до 0,1 с.
Л.2.3 Сита контрольные лабораторные с размерами ячеек 0,5; 0,63; 0,80; 1,0 и 1,25 мм по
[5].
Примечание - Сито с размером ячеек 0,5 мм - в виде диска диаметром (22,5 +/- 0,3) мм под испытательный цилиндр [см.
перечисление а) Л.2.1.1].
Л.2.4 Песок кварцевый фракционированный по
ГОСТ 30744.
Примечание - В отдельных случаях допускается вместо кварцевого песка использовать дробленый цементный раствор той же фракции (например, при необходимости воспроизвести капиллярную структуру бетона).
Л.2.5 Камера климатическая (лаборатория) с возможностью длительного сохранения температуры воздуха 8 °C, 15 °C или 21 °C с отклонением +/- 2 °C или другой температуры по согласованию с потребителем инъекционно-уплотняющего состава.
Л.2.6 Смесители для приготовления составов различного вида - по стандартам или техническим условиям производителя состава.
Л.3 Испытания контрольных проб состава на нагнетаемость
Л.3.1 Порядок подготовки песчаной колонки
Л.3.1.1 Предварительные операции:
а) с помощью штангенциркуля по
Л.2.2 измеряют внутренний диаметр испытательного цилиндра по
перечислению а) Л.2.1.1; с точностью до 0,1 г по
рисунку Л.1 определяют массу сухого эталонного песка, который следует поместить в цилиндр для создания песчаной колонки;
б) фракционированный песок по
Л.2.4 просеивают через сита 0,63; 0,80; 1,00 и 1,25 мм по
Л.2.3 и выполняют подбор фракции эталонного песка в соответствии с таблицей Л.1.
Таблица Л.1
Эталонный песок фракции 0,63 - 1,25 мм
Размер ячейки контрольных лабораторных сит, мм | 0,63 | 0,80 | 1,00 | 1,25 |
Полные оснастки, проходящие через сито, % [8] | 0 | 33 | 63 | 100 |
| 100 | 63 | 33 | 0 |
Рисунок Л.2 - График для определения массы эталонного песка,
помещаемого в испытательный цилиндр в зависимости
от его внутреннего диаметра
Л.3.1.2 Засыпка эталонного песка и сборка испытательного цилиндра с песчаной колонкой:
а) испытательный цилиндр с сетчатым диском и заглушкой в нижнем торце заполняют сухим эталонным песком в три приема приблизительно равными порциями (по 1/3 высоты +/- 20 мм). Каждую порцию песка уплотняют 50 ударами по боковой поверхности цилиндра, поворачивая ее, с разных сторон;
б) после уплотнения последней трети порции песка определяют общую высоту колонки, которая должна быть (360 +/- 1) мм. В случае если это не так, цилиндр освобождают от сухого песка и операцию по заполнению повторяют, добиваясь нужного результата;
в) при удовлетворительном результате поверх последней уплотненной порции эталонного песка укладывают сетчатый диск и вплотную к нему устанавливают резиновую заглушку с отверстием под соединительный патрубок;
г) испытательный цилиндр с песчаной колонкой (с сухим песком) в собранном виде (с сетчатыми дисками и резиновыми заглушками) взвешивают на весах по
Л.2.2 с точностью до 0,1 г (масса
M1) и размещают в установке по
Л.2.1.
Л.3.2 Проведение испытаний. Нагнетание в сухую среду
Л.3.2.1 Для проведения испытаний назначают значения температуры воздуха в климатической камере по
Л.2.5. Компоненты состава, эталонный песок и установку по
Л.2.1 для проведения испытаний помещают в климатическую камеру с заданной температурой не менее чем на 24 ч.
Л.3.2.2 Компоненты состава смешивают в соответствии со стандартом или техническими условиями производителя.
Л.3.2.3 Готовый для применения состав в количестве (500 +/- 1) г помещают в контейнер 8 по
Л.2.1.3; измеряют и фиксируют исходную температуру состава и контейнер с составом помещают в сосуд 7 по
Л.2.1.2, работающий под давлением.
Л.3.2.4 Зажим по
Л.2.1.6 на гибкой соединительной трубке 2 под испытательным цилиндром 1 устанавливают в положение "Закрыто", включают подачу воздуха компрессором 4 и проверяют давление в сосуде 7 по
Л.2.1.2 и его герметичность; при необходимости регулируют давление в пределах (0,075 +/- 0,0025) МПа с помощью редуктора 5.
Л.3.2.5 Ослабляют зажим по
Л.2.1.6 на соединительной гибкой трубке 2 и начинают нагнетание состава в песчаную колонку 1. Когда состав подходит к нижней отметке песчаной колонки (достигает уровня, где установлен сетчатый диск), включают секундомер, отмечают и фиксируют, когда состав достигает отметок 50, 100, 150, 200, 250, 300, 350 мм по градуировке 12 измерительной шкалы на испытательном цилиндре 1 - для составов на цементной и полимерной основах и дополнительно для составов на цементной основе - когда 20 мл состава не окажется в переливной емкости 10 по
перечислению б) Л.2.1.1. Испытания заканчивают также, если становится понятно, что состав при заданном давлении больше не поступает по песчаной колонке.
Л.3.2.6 В любом случае секундомер останавливают, подачу сжатого воздуха прекращают, зажим по
Л.2.1.6 на соединительной трубке 2 устанавливают в положение "Закрыто", давление в сосуде 7 по
Л.2.1.2 сбрасывают, открыв предохранительный клапан; запорную крышку открывают и сразу же измеряют температуру оставшегося в контейнере 8 по
Л.2.1.3 состава.
Л.3.3 Проведение испытаний. Особенности нагнетания во влажную среду
Л.3.3.1 Моделирование влажной среды обеспечивают предварительным увлажнением песка.
Л.3.3.2 После сборки установки по
Л.2.1 и закрепления в ней испытательного цилиндра 1 с песчаной колонкой по
Л.3.1.2 в контейнер 8 по
Л.2.1.3 наливают 200 мл воды, предварительно выдержанной в климатической камере по
Л.2.5 при заданной температуре испытаний. Контейнер 8 с водой помещают в сосуд 7 по
Л.2.1.2.
Л.3.3.3 Зажим по
Л.2.1.6 на гибкой соединительной трубке 2 устанавливают в положение "Закрыто", выключают подачу воздуха компрессором 4 и проверяют давление в сосуде 7 по
Л.2.1.2 и его герметичность, при необходимости регулируют давление в пределах (0,0750 +/- 0,025) МПа.
Л.3.3.4 Ослабляют зажим по
Л.2.1.6 на соединительной трубке 2 и нагнетают воду в песчаную колонку до тех пор, пока колонка не наполнится и 20 мл воды не окажется в переливной емкости 10.
Л.3.3.5 После указанного выше нагнетание (подачу сжатого воздуха) прекращают, давление в сосуде 7 по
Л.2.1.2 сбрасывают и дают возможность избыточной воде сливаться в контейнер 8 по
Л.2.1.3 в течение 10 мин. Испытательный цилиндр 1 с песчаной колонкой вместе с заглушками отсоединяют и взвешивают с точностью до 0,1 г (масса
M2) и устанавливают на прежнее место.
Л.3.3.6 С сосуда 7 по
Л.2.1.2 снимают запорную крышку, заменяют контейнер 8 по
Л.2.1.2 на такой же другой, сухой и чистый, и выполняют операции по нагнетанию состава во влажную среду по аналогии с
Л.3.2.
Л.3.4 Выдерживание песчаных колонок (заготовок контрольных образцов-цилиндров)
Л.3.4.1 После нагнетания состава испытательный цилиндр с песчаной колонкой вместе с заглушками взвешивают с точностью до 0,1 г нагнетание в сухую среду (масса M3) и нагнетание во влажную среду (масса M4).
Л.3.4.2 После взвешивания испытательные цилиндры, не вынимая заглушки, тщательно герметизируют, например обмотав заглушки клейкой лентой, и выдерживают в нормальных климатических условиях: при температуре (21 +/- 2) °C и относительной влажности (60 +/- 10)% в течение 28 сут для составов как на цементной, так и на полимерной основе.
Л.4 Испытание контрольных образцов-цилиндров на растяжение при раскалывании
Л.4.1 После выдерживания по
Л.3.4 испытательные цилиндры с песчаными колонками распиливают на части перпендикулярно продольной оси, так, чтобы получить по шесть контрольных образцов-цилиндров из каждой с соотношением длина:диаметр в пропорции 2:1.
Л.4.2 Образцы-цилиндры извлекают из частей распиленного испытательного цилиндра и, отметив их положение по длине целого цилиндра, измеряют длину и диаметр с точностью до 0,1 мм и взвешивают с погрешностью до 0,1 г.
Л.4.3 Образцы-цилиндры испытывают на растяжение при раскалывании вдоль диаметральных образующих цилиндра сжимающей нагрузкой со скоростью нагружения (0,05 +/- 0,01) Н/(мм2·с).
Л.4.4 Представление результатов и протокол испытаний
Л.4.4.1 По результатам испытаний оценивают удобоукладываемость составов в соответствии с требованиями
таблиц 6 и
7 настоящего стандарта по следующим показателям:
а) класс нагнетаемости в песчаную колонку;
б) прочность уплотнения на растяжение при раскалывании (косвенная адгезия).
Л.4.4.2 При оценке показания удобоукладываемости по классу нагнетаемости составов в сухую и влажную среду устанавливают:
а) зависимость высоты h, мм, заполнения песчаной колонки от времени t, мин:
h = f(t); (Л.1)
б) вычисляют массу состава, поступившего в песчаную колонку при нагнетании в сухую среду, г:
в) вычисляют массу состава, поступившего в песчаную колонку при нагнетании во влажную среду, г:
Mв = M4 - M2. (Л.3)
Примечание - Определение показателей в правой части
зависимостей (Л.2) и (Л.3) приведены в настоящем приложении.
Л.4.4.3 При оценке показания удобоукладываемости по прочности уплотнения на растяжение при раскалывании (условная адгезия) фиксируют разрушающую нагрузку на сжатие F, Н, и вычисляют указанную прочность f, Н/мм2:

(Л.4)
где d и l - диаметр и высота контрольного образца соответственно, мм.
По результатам вычислений для каждого из шести контрольных образцов-цилиндров вычисляют среднюю прочность уплотнения.
Л.4.4.4 Протокол испытаний должен включать в себя следующие сведения:
а) ссылку на настоящее приложение;
б) наименование инъекционно-уплотнительного состава или системы, подлежащей испытанию, включая тип, источник, код производителя;
в) пропорцию составляющих составов по массе;
г) количество приготовленного состава;
д) способ и время смешивания;
е) температура компонентов состава перед смешиванием;
ж) температура смеси после смешивания компонентов;
и) температура состава по окончании нагнетания (если это возможно);
к) количество состава, поступившего в сухую среду (M3 - M1);
л) количество состава, поступившего во влажную среду (M4 - M2);
м) условия выдерживания (температура и относительная влажность) образцов-цилиндров перед испытанием на раскалывание;
н) объем и масса каждого контрольного образца-цилиндра;
п) кажущаяся (теоретическая) плотность каждого распиленного образца;
р) давление нагнетания;
с) функция зависимости h = f(t);
т) продолжительность нагнетания;
у) результаты испытания на раскалывание;
ф) любые отклонения от стандартной процедуры.
(обязательное)
МЕТОДЫ ПОДГОТОВКИ И ИСПЫТАНИЙ КОНТРОЛЬНЫХ ПРОБ
И ОБРАЗЦОВ. КИНЕТИКА НАБОРА ПРОЧНОСТИ НА ОСЕВОЕ
РАСТЯЖЕНИЕ И ДЕФОРМАТИВНОСТЬ ИНЪЕКЦИОННО-УПЛОТНЯЮЩИХ
СОСТАВОВ НА ПОЛИМЕРНОЙ ОСНОВЕ <*>
--------------------------------
<*> Метод испытаний соответствует требованиям
[10].
М.1 Сущность метода
М.1.1 Кинетику набора прочности на осевое растяжение определяют измерением этого показателя при различных сроках отверждения двухкомпонентных инъекционно-уплотняющих составов (таких, как эпоксидные) в диапазоне от 0 до 5 Н/мм
2 и интерполируют время достижения нормируемого значения прочности 3 Н/мм
2.
М.1.2 <**> Метод испытаний предусматривает испытания при трех значениях температуры использования состава: (21 +/- 2) °C, наименьшей, например (5 +/- 1) °C, и наибольшей, например (30 +/- 2) °C, если не требуется другое по согласованию с потребителем.
--------------------------------
<**> Температура испытания отвечает требованиям: показатель 14 таблицы 6 из
[3].
М.1.3 При испытаниях по
М.1.1 в условиях по
М.1.2 оценивают также сохранение деформативности составов на ранней стадии отверждения.
М.2 Оборудование, оснастка, инструмент и материалы
М.2.1 Камера климатическая (лаборатория) с возможностью длительного поддерживания температуры воздуха в диапазоне от (5 +/- 1) °C до (30 +/- 2) °C или другой температуры по согласованию с потребителем инъекционно-уплотняющего состава.
М.2.2 Установка (машина) для испытания контрольных образцов состава на растяжение с устройством соосного приложения нагрузки со скоростью перемещения 0,1 мм/мин.
М.2.3 Секундомер с точностью измерения до 1 с; деформометр часового типа с точностью измерения до 0,005 мм.
М.2.4 Устройство для испытаний, включающее в себя:
а) рейку модульную толщиной 15 мм и длиной 290 мм с шестью цилиндрическими диаметром (25,0 + 0,05) мм углублениями (2 + 0,05) мм, расположенными с шагом 45 мм вдоль оси. В торцевой части рейки соосно с углублениями выполнены отверстия под стопоры ползункового кондуктора для фиксации рейки;
б) штамп конический с резьбовым М10 хвостовиком и сквозным по оси штампа отверстием диаметром 4 мм. Высота штампа 45 мм, диаметр 27 мм с рабочей площадкой высотой (0,5 +/- 0,05) мм, диаметром (25,0 - 0,05) мм в основании;
в) кондуктор ползунковый для крепления и перемещения рейки со стопором для ее фиксации и стержневым шарниром под захват машины для испытаний на осевое растяжение.
Примечание - Рабочим поверхностям (площадкам) в углублениях рейки и на штампе придают искусственную шероховатость для увеличения сцепления с отверждающимся составом.
М.2.5 Растворитель (70% дихлорметан; 20% муравьиная кислота; 10% трихлорэтилен).
М.2.6 Емкость расходная для испытуемого состава.
М.2.7 Смеситель - низкооборотная дрель с насадкой для перемешивания компонентов состава.
М.3 Подготовка и проведение испытаний
М.3.1 Компоненты инъекционно-уплотняющего состава и оборудование выдерживают в климатической камере по
М.2.1 в течение не менее 24 ч при температуре проведения испытаний (см.
М.1.2).
М.3.2 Компоненты состава смешивают в заданной пропорции смесителем по
М.2.7 в соответствии с инструкцией производителя. Для завершения процесса смешивания готовый для применения состав помещают в расходную емкость и дополнительно перемешивают лопаткой в течение 30 с. По окончании смешивания включают секундомер по
М.2.3.
М.3.3 Модульную рейку по
перечислению а) М.2.4 укладывают на горизонтальную поверхность, в ее шесть углублений помещают готовый для применения состав, после чего в углубления устанавливают шесть конических штампов по
перечислению б) М.2.4, выдавливая излишки состава в отверстие по центру штампа.
Рисунок М.1 - Модульная рейка
Рисунок М.2 - Конический штамп
1 - тяга (захват установки для испытаний с универсальным
шарниром); 2 - крепление штифта шарнира; 3 - подпружиненный
стопор в ползунковом кондукторе; 4 - эпоксидная смола;
5 - тяга с универсальным шарниром; 6 - тяга с универсальным
шарниром (общий вид верхней части устройства);
7 - универсальный шарнир; 8 - конический штамп
с хвостовиком; 9 - тяга (захват) установки для испытаний;
10 - модульная рейка с цилиндрическими углублениями
Рисунок М.3 - Устройство для испытаний
М.3.4 Образцы выдерживают по мере отверждения состава при заданных температурах (см.
М.1.2). По мере выдерживания образцов проводят их испытания на осевое растяжение в установке по
М.2.2 в различном фиксируемом возрасте, чтобы получить по меньшей мере шесть достоверных результатов при каждой из заданных температур. При этом временной интервал между испытаниями регулируют таким образом, чтобы обеспечить разброс шести значений прочности при растяжении в диапазоне от 0 до 5 Н/мм
2 (одно из значений ниже 1 Н/мм
2, другое выше 5 Н/мм
2). Прочность на растяжение вычисляют как отношение разрушающей нагрузки к площади рабочей поверхности штампа, Н/мм
2.
М.3.5 В ходе испытаний по
М.3.4 оценивают также изменение деформативности состава при растяжении: в процентах от толщины образца и в миллиметрах его деформации на ранней стадии твердения.
М.4 В протоколе испытаний приводят следующие данные:
а) ссылка на настоящее приложение;
б) дата проведения испытаний;
в) условия окружающей среды во время подготовки и проведения испытаний;
г) полное наименование инъекционно-уплотняющего состава, включая тип, источник получения и код производителя;
д) продолжительность смешивания компонентов;
е) график зависимости прочности на растяжение от времени отверждения для каждой из заданных температур;
ж) скорость набора прочности, равной 3 Н/мм2;
и) толщина каждого образца;
к) график зависимости измерения (уменьшения) деформативности от времени отверждения для каждой из заданных температур;
л) оценка времени сохранения деформативности 10% или 0,03 мм.
(рекомендуемое)
МЕТОД ИСКУССТВЕННОГО СТАРЕНИЯ ОБРАЗЦОВ.
ЦИКЛЫ ВОЗДЕЙСТВИЯ
НАМОКАНИЕ/ЗАМОРАЖИВАНИЕ/ОТТАИВАНИЕ/НАГРЕВАНИЕ
В РУЧНОМ И АВТОМАТИЧЕСКОМ РЕЖИМАХ <*>
--------------------------------
<*> Метод испытаний соответствует требованиям
[11] с учетом расширения диапазона согласно требованиям показателя 16 таблицы 6 из
[3].
Н.1 Циклы намокание/замораживание/оттаивание/нагревание в части воздействия "замораживания" и "нагревания" предусматривают два диапазона значений температуры воздействия:
а) базовый - с температурой от минус (15 +/- 2) °C до плюс (40 +/- 2) °C;
б) расширенный - с температурой от минус (25 +/- 2) °C до плюс (60 +/- 2) °C.
Примечание - Диапазон значений температуры (расширение диапазона в одну из сторон или обе стороны) принимает производитель состава.
Н.2 Цикл воздействия в ручном режиме:
- 2 ч намокание - выдерживание в воде при температуре (20 +/- 2) °C;
- 4 ч замораживание - выдерживание на воздухе при температуре минус (15 +/- 2) °C или минус (25 +/- 2) °C;
- 2 ч оттаивание - выдерживание в воде при температуре (20 +/- 2) °C;
- 16 ч нагревание - выдерживание на воздухе при температуре (40 +/- 2) °C или (60 +/- 2) °C.
Н.3 Цикл воздействия в автоматическом режиме:
- 2 ч намокание - выдерживание в воде при температуре (20 +/- 2) °C, включая слив воды из емкости выдерживания в течение 15 мин;
- 3 ч замораживание - выдерживание на воздухе при температуре минус (15 +/- 2) °C или минус (25 +/- 2) °C (допустимое отклонение от температурной кривой в диапазоне от плюс 20 °C до минус 15 °C или от плюс 20 °C до минус 25 °C не больше 3 °C, в конце кривой - не больше 2 °C);
- 4 ч оттаивание - выдерживание в воде при температуре минус (15 +/- 2) °C или минус (25 +/- 2) °C;
- 15 мин оттаивание - выдерживание в воде при температуре (20 +/- 2) °C (заполнение водой емкости выдерживания в течение 15 мин);
- 1 ч 15 мин оттаивание - выдерживание в воде при температуре (20 +/- 2) °C (включая последующий слив воды из емкости выдерживания в течение 15 мин);
- 1 ч 30 мин нагревание - выдерживание на воздухе при температуре (40 +/- 2) °C или (60 +/- 2) °C (допустимое отклонение от температурной кривой в диапазоне от 20 °C до 40 °C или от 20 °C до 60 °C не больше 3 °C, в конце кривой - не больше 2 °C);
- 10 ч прогревание - выдерживание на воздухе при температуре (40 +/- 2) °C или (60 +/- 2) °C;
- 15 мин охлаждение - выдерживание в воде при температуре (20 +/- 8) °C (заполнение водой емкости выдерживания в течение 15 мин);
- 1 ч 15 мин охлаждение - выдерживание в воде при температуре (20 +/- 2) °C.
(обязательное)
МЕТОДЫ ПОДГОТОВКИ И ИСПЫТАНИЙ КОНТРОЛЬНЫХ ПРОБ И ОБРАЗЦОВ.
МОДЕЛИРОВАНИЕ ПОДВИЖНОЙ ТРЕЩИНЫ С ОЦЕНКОЙ ПРОЧНОСТИ
СЦЕПЛЕНИЯ И РАСТЯЖИМОСТИ УПЛОТНЕНИЯ <*>
--------------------------------
<*> Метод испытаний соответствует требованиям
[12].
П.1 Сущность метода
П.1.1 Настоящий метод устанавливает порядок создания моделей подвижных трещин в различном влажностном состоянии (сухое, мокрое или с активной протечкой - заполненные водой) и неконструкционных уплотнений из инъекционно-уплотняющих составов на полимерной основе, а также порядок механических испытаний уплотнений с ограниченной эластичностью с использованием универсальных стендов и автоматическим регистратором деформаций.
П.1.2 Оценке подлежат прочность сцепления (адгезия уплотнения с бетоном) и растяжимость уплотнения, в том числе после искусственного старения.
П.1.3 Подготовку заготовок для контрольных образцов выполняют в нормальных климатических условиях при температуре воздуха (21 +/- 2) °C и относительной влажности (60 +/- 10)%, механические испытания - при пониженной до (3 +/- 2) °C температуре (или другой, согласованной с потребителем).
П.2 Оборудование, оснастка, приборы и инструмент
П.2.1 Камера климатическая (лаборатория) с возможностью длительного поддерживания температуры воздуха (3 +/- 2) °C.
П.2.2 Установка с соосным приложением нагрузки, обеспечивающая осевое растяжение образца с минимальным усилием 50 кН и регулируемой скоростью 0,01 мм/мин.
П.2.3 Стенд универсальный
(рисунок П.1), включающий в себя следующие элементы (таблица П.1).
Таблица П.1
| Наименование, размеры, мм, вид резьбы, марка стали | Количество, шт. (на 1 стенд) |
1 | Пластина верхняя: - с овальным отверстием, размером 130 x 30 мм; - с проточками 5 x 5 мм под боковые пластины; - с круглыми отверстиями под винты М10 x 20 с пятигранной головкой и шпильки М16; - с резьбовыми отверстиями под винты М12 | 250 x 250 x 20 | | 1 |
2 | Пластина нижняя: - с проточками 5 x 5 мм под боковые пластины; - с резьбовыми отверстиями под винт М24 и винты М12; - с круглыми отверстиями под шпильки М16 | 250 x 259 x 20 | То же | 1 |
3 | Пластина монтажная с резьбой под винты М10 x 20 | 250 x 250 x 15 | То же | 2 |
4 | Пластина монтажная с отверстиями под винты М10 x 20 | 250 x 250 x 20 | То же | 1 |
| Пластина боковая (большая) | 250 x 156 x 5 | | 2 |
| Пластина боковая (малая) с трещинообразователем | 156 x 150 x 5 | То же | 2 |
| Шпилька оцинкованная М16 x 1 x 85, резьба левая | 4 |
| Шпилька оцинкованная М16 x 1 x 135, резьба правая | 4 |
7.3 | Гайка оцинкованная М16 x 1, резьба левая | 8 |
| Гайка оцинкованная М16 x 1, резьба правая | 12 |
| | 1 |
| Винт М10 x 20 с шестигранной головкой | 12 |
| Винт М24 (для нижней пластины) | 1 |
| Трубка резьбовая стальная М8 длиной 95 мм с гайкой | 3 |
| Винт М12 длиной 80 мм | 8 |
| Штифт стальной диаметром 2 мм, длиной 200 мм с крючком на конце (см. рисунок П.5) | 3 |
| Жгут резиновый 604 x 48 x 4,65 мм | 1 |
| Обойма сборная из четырех элементов (включая четыре винта с гайками М8) | 1 |
П.2.4 Регистратор (записывающее устройство) с возможностью фиксирования и записи (построения) зависимости "нагрузка-деформация" с точностью до 0,001 мм в координатах
X -
Y.
П.2.5 Датчик деформации (первичный преобразователь) с возможностью непрерывного считывания значений деформации с точностью до 0,001 мм к регистратору по
П.2.4.
П.2.6 Деформометр ручной в комплекте с реперными пластинами с возможностью измерения деформаций на длине 100 мм с точностью измерения до 0,001 мм.
П.2.7 Оборудование для нагнетания - пакеры-инъекторы (3 шт. на один контрольный образец) внутренним диаметром 2 - 3 мм, резьбовая стальная трубка М8 длиной 95 мм с гайкой по
показателю 10 таблицы П.1. Производитель определяет тип смесительного и нагнетательного оборудования, тип пакеров.
П.2.8 Датчик давления (позиция 2 на
рисунке П.7) с возможностью измерения давления до 6 МПа с точностью до 0,05 МПа.
П.3 Порядок подготовки контрольных образцов: изготовление образцов (заготовок), создание трещины и уплотнения
П.3.1 Подготовке и дальнейшим испытаниям подлежат не меньше трех контрольных образцов-кубов размерами 150 x 150 x 150 мм с трещинами шириной 0,3 и 0,5 мм в трех влажностных состояниях: сухое, мокрое и с активной протечкой (заполненные водой), всего 18 образцов (см. таблицу П.2).
Таблица П.2
Условия создания уплотнения трещины и проведения испытаний
Наименование показателя | Значение показателя |
1 Ширина трещины, мм | 0,3 | 0,5 |
2 Температура | 2.1 Выдерживание при нагнетании инъекционно-уплотняющего состава | (21 +/- 2) °C |
2.2 Выдерживание на воздухе при отверждении состава | (21 +/- 2) °C |
2.3 Выдерживание образцов на воздухе в течение 48 ч перед испытаниями | (3 +/- 2) °C |
| (3 +/- 2) °C |
3 Влажностное состояние трещины | 3.1 Сухое |
3.2 Мокрое |
3.3 С активной протечкой |
Примечания 1 Моделирование влажностного состояния: - сухое - замкнутая трещина: подготовки не требует; - мокрое - замкнутая трещина, заполнена водой на 10 мм, продута сжатым воздухом и сразу же подвергнута нагнетанию инъекционно-уплотняющего состава; - с активной протечкой - замкнутая трещина заполнена водой на 30 мм и сразу же подвергнута нагнетанию инъекционно-уплотняющего состава. 2 Значения температуры проведения испытаний по показателям 2.3 и 2.4 настоящей таблицы могут быть согласованы для других диапазонов. |
П.3.2 Образцы-кубы размерами 150 x 150 x 150 мм (заготовки) контрольных образцов приготовляют из бетона типа БМ (0,40) и выдерживают согласно
приложению Е. Образцы готовят в стенде по
П.2.3 (см.
рисунки П.1,
П.2 и
П.3), помещенном на вибростол. Бетонную смесь укладывают через овальное отверстие в верхней пластине стенда. Четыре винта М12 (см.
показатель 11 таблицы П.1) и винт М24 (см.
показатель 9 таблицы П.1) крепят в нижней пластине стенда до укладки бетонной смеси. После заполнения формы бетонную смесь уплотняют и еще четыре винта М12 крепят сквозь верхнюю пластину стенда. Три резьбовые трубки (см.
показатель 10 таблицы П.1) с гайками и штифтами (см.
показатель 12 таблицы П.1) внутри трубок (для защиты от попадания бетонной смеси) задавливают в бетонную смесь гайками вниз. После этого выполняют окончательное уплотнение бетонной смеси.
П.3.3 Заполненный бетонной смесью стенд выдерживают в нормальных климатических условиях при температуре воздуха (21 +/- 2) °C и относительной влажности (60 +/- 10)%.
П.3.4 Боковые пластины стенда (см.
показатели 5 и
6 таблицы П.1) и штифты (см.
показатель 12 таблицы П.1) вынимают через 2 сут твердения бетона; образцы (заготовки) в серединах его четырех граней оснащают реперными пластинами из комплекта деформометра по
П.2.6 по всем граням заготовки на расстоянии по вертикали около 100 мм и выполняют нулевое измерение на образце без трещины (ширина трещины
w = 0) с помощью деформометра по
П.2.6.
П.3.5 По истечении 3 сут твердения в образце создают трещину его раскалыванием (см.
рисунок П.6). После этого ослабляют гайки на шпильках М16 (см.
7.1 или
7.2 таблицы П.1) на верхней или нижней пластине и регулируют ширину трещины, устанавливая значение 0,3 или 0,5 мм (см.
таблицу П.2), подкрутив гайки на шпильках М16 и закрутив стопорной гайкой.
П.3.7 В возрасте от 7 до 10 сут твердения образцы-кубы с трещиной готовят к нагнетанию инъекционно-уплотняющего состава. Образцы в стендах и компоненты инъекционно-уплотняющего состава предварительно выдерживают в течение 48 ч при температуре (21 +/- 2) °C.
П.3.8 Нагнетание инъекционно-уплотняющего состава выполняют соблюдая условия, приведенные в
таблице П.1. Компоненты состава смешивают в соответствии с инструкцией производителя. Состав нагнетают в трещину через центральную трубку (см.
рисунок П.7), создавая уплотнение. Давление при нагнетании контролируют датчиком 2, который устанавливают на одной из боковых трубок. Другую боковую трубку оставляют свободной для отвода воздуха или воды и перекрывают после выхода инъекционно-уплотняющего состава. Нагнетание продолжают до тех пор, пока состав не начнет вытекать из-под резинового жгута или давление не достигнет 6 МПа. Ширину трещины (уплотнение) после нагнетания состава измеряют деформометром по
П.2.6 по установленным реперам.
П.3.9 После нагнетания инъекционно-уплотняющего состава контрольные образцы-кубы выдерживают в стенде при температуре воздуха (21 +/- 2) °C в течение 6 сут.
П.4 Определение прочности сцепления (адгезия) уплотнения с бетоном и оценка растяжимости
П.4.1 После выдерживания контрольных образцов-кубов по
П.3.9 с них удаляют обойму и резиновый жгут (см.
показатель 14 или
13 таблицы П.1) и на четыре грани крепят датчики деформаций по
П.2.5.
П.4.2 Каждый контрольный образец вместе со стендом перед началом испытаний выдерживают в течение 48 ч при температуре воздуха (3 +/- 2) °C, после чего размещают в установку по
П.2.2 (см.
рисунок П.8) и проводят первичные измерения деформаций в ручном режиме деформометром по
П.2.6. Эти измерения принимают за начало отсчета - начальную ширину уплотнения.
П.4.3 В этом напряженно-деформированном состоянии уплотнения (под действием массы образца и стенда, в который он помещен) из стенда вынимают шпильки М16, открутив гайки (
показатели 7.1 -
7.4 таблицы П.1); при наличии деформации уплотнения, связанной с удалением шпилек М16, их фиксируют с помощью датчиков по
П.2.5 и регистрируют прибором по
П.2.4 в координатах
X -
Y.
П.4.4 Далее контрольный образец подвергают испытаниям на растяжение со скоростью приложения нагрузки 0,01 мм/мин до разрушения. Зависимость "нагрузка-деформация" фиксируют регистратором по
П.2.4 в координатах
X -
Y.
П.4.5 Вид разрушения контрольного образца-куба (адгезионное и/или когезионное) и площадь заполнения трещины инъекционно-уплотняющим составом (соотношение в процентах площади заполнения трещины к площади трещины до заполнения) фиксируют и записывают.
П.5 Представление результатов и протокол испытаний
П.5.1 Прочность сцепления (адгезию) уплотнения с бетоном вычисляют как отношение разрушающей нагрузки к площади уплотнения (поперечного сечения образца), Н/мм2.
П.5.2 Растяжимость уплотнения при разрушении образца оценивают по результатам измерения линейной деформации, зафиксированной каждым из датчиков на четырех гранях образца-куба и представляют в виде отношения значения деформаций в момент действия наибольшей нагрузки к начальной (исходной) ширине уплотнения (трещины), измеренной согласно
П.4.2. Значение растяжимости при разрушении испытуемого образца определяют как среднее значение по его четырем граням.
П.5.3 В протоколе испытаний приводят следующие данные:
а) ссылка на настоящее приложение;
б) дата подготовки образцов и проведения испытаний;
в) обозначение инъекционно-уплотняющего состава, включая тип, источник получения, коды производителя, дата поставки;
г) порядок подготовки образцов, условия выдерживания и любые отклонения от нормированного метода; порядок и условия нагнетания, влажностное состояние трещины;
д) для каждого образца: исходная ширина трещины, влажностное состояние трещины, прочность на растяжение, растяжимость уплотнения при разрушении, степень заполнения трещины, вид разрушения;
е) для каждого влажностного состояния и исходной ширины трещины: среднее значение прочности на растяжение и растяжимость при разрушении;
ж) данные о погрешности.
1 - верхняя пластина; 2 - нижняя пластина; 3 - монтажная
пластина; 5 - боковая пластина; 6 - боковая пластина
с трещинообразователем; 7 - шпильки М16 с гайками (левой
или правой резьбой) и соединительными муфтами; 8 - винты
М10; 9 - винт М24; 10 - резьбовая трубка с гайкой М8;
11 - винты М12; 12 - штифт диаметром 2 мм
Рисунок П.1 - Универсальный стенд в сборе
3 - монтажная пластина; 5 - боковая пластина (большая);
6 - боковая пластина (малая с трещинообразователем);
15 - овальное отверстие в верхней пластине
Рисунок П.2 - Универсальный стенд. Сечение A-A
12 - штифты
Рисунок П.3 - Универсальный стенд.
Рисунок П.4 - Шпильки скрепления верхней и нижней плит
12 - штифт; 13 - резиновый жгут;
14 - элемент сборной обоймы
Рисунок П.5 - Детали к стенду
1 - раскалывающие пластины; 2 - ослабленные гайки;
3 - анкерные пластины по четырем граням образца
(для измерения деформаций в ручном режиме)
Рисунок П.6 - Создание трещины раскалыванием
1 - трещина; 2 - датчик давления; 3 - инъекционная
головка; 4 - трубка для отвода воздуха (воды);
5 - обойма и резиновый жгут; 6 - винт М24
Рисунок П.7 - Нагнетание инъекционно-уплотняющего
состава в трещину
1 - подвижной шарнир (кардан); 2 - анкерные пластины
по четырем граням образца (для измерения деформаций
в ручном режиме); 3 - монтажная пластина 60 x 60 x 15 мм;
4 - монтажная пластина 60 x 80 x 20; 5 - датчик деформаций
(первичный преобразователь) по
П.2.5; 6 - ленты
с шестигранной головкой (
позиция 8 по таблице П.1)
Рисунок П.8 - Механические испытания
(обязательное)
МЕТОДЫ ПОДГОТОВКИ И ИСПЫТАНИЙ КОНТРОЛЬНЫХ ПРОБ И ОБРАЗЦОВ.
МОДЕЛИРОВАНИЕ НЕПОДВИЖНОЙ ТРЕЩИНЫ И ОЦЕНКА
ВОДОНЕПРОНИЦАЕМОСТИ УПЛОТНЕНИЯ <*>
--------------------------------
<*> Методы испытаний соответствуют требованиям
[13].
Р.1 Сущность метода
Р.1.1 Настоящий метод устанавливает порядок создания моделей неподвижных трещин шириной 1 мм в различном влажностном состоянии (сухое, влажное, мокрое или с активной протечкой) и неконструкционных уплотнений из инъекционно-уплотняющих составов на полимерной основе, а также порядок гидравлических испытаний уплотнений в образцах-цилиндрах.
Р.1.2 Оценке подлежит водонепроницаемость уплотнения при воздействии прямого гидравлического давления, которое увеличивают до максимального в несколько этапов (основной режим длительного воздействия), и, если требуется по настоящему стандарту, при дополнительных режимах воздействия - переходном и режиме воздействия короткими циклами давления.
Р.1.3 Подготовку и испытания контрольных образцов проводят в нормальных климатических условиях при температуре (21 +/- 2) °C и относительной влажности (60 +/- 10)%; температуру воды для моделирования влажностного состояния трещины принимают равной (20 +/- 2) °C.
Р.2 Оборудование, оснастка, инструмент и материалы
Р.2.1 Стенд для проведения гидравлических испытаний (см.
рисунок Р.1), включающий в себя следующие элементы.
1 - цилиндрическая камера; 2 - донная пластина; 3 - патрубок
подвода воды под давлением; 4 - патрубок отвода воздуха;
5 - диск или сегменты; 6 - прижимная планка; 7 - прокладка;
8 - материал эластомерный (битум, парафин); 9 - контрольный
образец (диаметр 150 мм, высота 100 мм); 10 - зона
нагнетания; 11 - трещина в образце
Рисунок Р.1 - Стенд для проведения испытаний контрольных
образцов-цилиндров на водонепроницаемость
Р.2.1.1 Камера цилиндрическая 1 внутренним диаметром 170 мм для размещения контрольных образцов-цилиндров.
Р.2.1.2 Пластина донная 2 с патрубками для подвода 3 воды под давлением и отвода 4 воздуха.
Р.2.1.3 Диск 5 полимерный (полипропилен) диаметром 170 мм толщиной 10 мм.
Р.2.1.4 Сегмент 5 полимерный (полипропилен) диаметром 170 мм толщиной 10 мм (2 шт.).
Р.2.1.5 Планка 6 прижимная толщиной 10 мм для фиксации образца-цилиндра.
Р.2.1.6 Прокладка 7 эластичная с твердостью по Шору А40 под прижимную планку.
Р.2.2 Подвод водопроводной воды с манометром и регулятором давления, которое необходимо поддерживать с допуском 10% заданного значения.
Р.2.3 Пила алмазная для распиловки образцов-цилиндров.
Р.2.4 Установка (пресс) для раскалывания цилиндров по диаметральным образующим.
Р.2.5 Комплект оборудования и приспособлений для нагнетания инъекционно-уплотняющего состава под принудительным давлением или под действием гравитации и капиллярного впитывания, включая смеситель.
Р.2.6 Состав быстротвердеющий (чеканочный, гидроизоляционный) на цементно-полимерной или другой основе в соответствии с инструкцией производителя.
Р.2.7 Материал эластомерный (битум, парафин или другой подходящий материал) для герметизации образца-цилиндра в камере по
Р.2.1.1.
Р.2.8 Машинка шлифовальная с обдирочным диском для удаления с образцов состава по
Р.2.6.
Р.3 Подготовка образцов (заготовок)
Р.3.1 Испытаниям подлежит не меньше трех контрольных образцов-цилиндров диаметром (100 +/- 2) мм, выпиленных из цилиндров (заготовок) диаметром и высотой 150 мм, изготовленных из бетона типа БМ (0,45) согласно
приложению Е.
Р.3.2 Цилиндры (заготовки) раскалывают вдоль диаметральных образующих. Полученные таким способом половинки удерживают и фиксируют инертными эластичными прокладками, чтобы ширина трещины составляла (1,0 +/- 0,2) мм, после чего диаметрально расположенные трещины герметизируют составом по
Р.2.6 на глубину не более 5 мм.
Р.3.3 Подготовленный по
Р.3.2 цилиндр (заготовку) помещают в камеру по
Р.2.1.1 на диск по
Р.2.1.3, центруют и слегка прижимают планкой по
Р.2.1.5 через прокладку по
Р.2.1.6.
Р.3.4 Пространство между цилиндром (заготовкой) и стенками камеры заполняют эластомерным материалом по
Р.2.7, защищая от его попадания на верхнюю грань цилиндра.
Р.4 Моделирование влажностного состояния трещины, создание уплотнения нагнетанием инъекционно-уплотняющего состава
Р.4.1 Подготовленный по
Р.3 цилиндр (заготовку) в оснастке выдерживают в нормальных климатических условиях в течение (48 +/- 4) ч.
Р.4.2 Для моделирования влажностного состояния трещины в оснастке по
Р.2.1 ослабляют прижимную планку по
Р.2.1.5 и снимают донную пластину по
Р.2.1.2 с диском по
Р.2.1.3.
Р.4.3 Если не требуется подтверждения возможности нагнетания состава в трещину с водой при определенном напоре-движении воды (см.
Р.4.5), трещину в нижнем основании цилиндра герметизируют составом по
Р.2.6, которым покрывают также зону основания шириной по 15 мм по обе стороны от устья трещины.
Р.4.4 По обе стороны от трещины помещают сегменты по
Р.2.1.4 и устанавливают вновь донную пластину по
Р.2.1.2 и подтягивают прижимную планку по
Р.2.1.5.
Р.4.5 Если требуется подтверждение возможности нагнетания состава в трещину с водой, в том числе при определенном напоре-движении воды, трещину на нижнем основании цилиндра не герметизируют, а выполняют операцию по
Р.4.4 и к донной пластине по
Р.2.1.2 через входной патрубок монтируют арматуру для подвода воды под согласованным давлением.
Р.4.6 После выполнения указанных выше операций в сформированном зазоре (трещине) моделируют влажностное состояние:
а) при нагнетании в сухую трещину - дополнительной подготовки не требуется;
б) при нагнетании во влажную трещину - трещину заполняют водой и выдерживают в течение 30 мин, затем трещину опорожняют и выдерживают в течение 30 мин, после чего приступают к нагнетанию инъекционно-уплотняющего состава;
в) при нагнетании в мокрую трещину - трещину заполняют водой и выдерживают в течение 30 мин, затем трещину опорожняют и сразу же приступают к нагнетанию инъекционно-уплотняющего состава;
г) при нагнетании в трещину с активной протечкой - трещину заполняют водой и выдерживают в течение 30 мин, затем без опорожнения трещины выполняют нагнетание инъекционно-уплотняющего состава. Если требуется подтверждение, что состав допускается к нагнетанию при определенном напоре-движении воды организуют подвод воды с заданным напором-движением воды (см.
Р.4.5).
Р.4.7 Для создания уплотнения трещины цилиндр (заготовку) подготавливают к нагнетанию инъекционно-уплотняющего состава (см.
Р.2.5) согласно инструкции производителя и влажностного состояния трещины (см.
Р.4.6). Подготовка может включать в себя установку приспособлений (ниппели, пакеры, входной и выходной патрубки) в устье трещины на верхней грани цилиндра (заготовки).
Р.4.8 Компоненты состава смешивают и проводят нагнетание согласно инструкции производителя.
Р.4.9 После нагнетания инъекционно-уплотняющего состава подготовленные контрольные образцы выдерживают в нормальных климатических условиях в течение 7 сут (см.
Р.1.3).
Р.5 Испытания контрольных образцов-цилиндров на водонепроницаемость
Р.5.1 После отверждения состава в оснастке ослабляют прижимную планку по
Р.2.1.5 и снимают донную плиту по
Р.2.1.2 с сегментами по
Р.2.1.4.
Р.5.2 Отвержденный чеканочный гидроизоляционный состав по
Р.2.6 (если он использовался) и отвердевшие остатки инъекционно-уплотняющего состава полностью удаляют машинкой по
Р.2.8 с плоских круговых граней контрольного образца-цилиндра согласно инструкции производителя так, чтобы на верхней и нижней гранях можно было видеть трещину и ее уплотнение.
Р.5.3 Сегменты по
Р.2.1.4 вновь устанавливают на нижнюю грань так, чтобы не закрыть трещину, т.е. хорды сегментов должны быть ориентированы параллельно трещине. Донную плиту по
Р.2.1.2 возвращают на место.
Р.5.4 Прижимную планку по
Р.2.1.5 подтягивают, зажимая контрольный образец так, чтобы его продольная ось была перпендикулярна трещине.
Р.5.5 К входному патрубку на донной пластине по
Р.2.1.2 монтируют арматуру для подвода воды под давлением (если подвод воды еще не выполнен согласно
Р.4.5) и проводят гидравлические испытания контрольных образцов-цилиндров.
Р.5.6 Гидравлические испытания предполагают прямое воздействие воды под давлением, которое увеличивают до максимального в четыре ступени - основное воздействие и, если требуются по настоящему стандарту, дополнительные воздействия - переходное и циклическое по таблице Р.1.
Таблица Р.1
Режимы гидравлических испытаний
Режим воздействия | Давление от заданного максимального | Продолжительность воздействия |
1 Основной длительный | 25% | 7 сут |
50% | 7 сут |
75% | 7 сут |
100% | 7 сут |
2 Дополнительный переходный | 50% | 2 ч |
3 Дополнительный короткими циклами <*> | 75% | 15 мин |
25% | 15 мин |
<*> Количество циклов - 500. Примечание - Дополнительные режимы воздействия: переходный и короткими циклами согласно требованиям показателя 1 таблицы 8 из [3]. |
Р.6 Представление результатов и протокол испытаний
Р.6.1 При гидравлических испытаниях контрольных образцов-цилиндров в процессе подачи воды под давлением верхнюю круговую грань образцов осматривают на предмет обнаружения протечек в зоне созданного уплотнения.
При обнаружении протечек в период основных испытаний, которые проявляются при изменении (скачке) давления или вскоре после этого, протечки в расчет не принимают.
Р.6.2 При возникновении протечек при давлении 25% и 50% максимального считают, что контрольный образец-цилиндр испытания на заданное давление не выдержал. Для определения корректных интервалов давления испытания повторяют, задавая различные значения максимального давления.
Р.6.3 В протоколе испытаний приводят следующие данные:
а) ссылка на настоящее приложение;
б) дата подготовки образцов и проведения испытаний на водонепроницаемость;
в) обозначение инъекционно-уплотняющего состава, включая тип, источник получения, коды производителя, дату поставки;
г) порядок подготовки образцов и любое отклонение от нормированного метода; порядок и условия нагнетания (под принудительным давлением или под действием гравитации и капиллярного впитывания), влажностное состояние трещины, давление воды при нагнетании в трещину с активной протечкой (если такие испытания проводились);
д) порядок проведения испытаний на водонепроницаемость, описание оборудования и режима испытаний;
е) результаты испытаний: наблюдения при каждом значении давления; природа протечек; значение давления и режим воздействия, при котором наблюдаются протечки.
(обязательное)
МЕТОДЫ ПОДГОТОВКИ И ИСПЫТАНИЙ КОНТРОЛЬНЫХ ПРОБ И ОБРАЗЦОВ.
ОЦЕНКА СОВМЕСТИМОСТИ СОСТАВА И УПЛОТНЕНИЯ С ВЛАЖНОСТНЫМ
СОСТОЯНИЕМ ТРЕЩИНЫ <*>
--------------------------------
<*> Метод испытаний соответствует требованиям
[14] в части совместимости состава и уплотнения с влажностным состоянием трещины.
С.1 Сущность метода
С.1.1 Настоящий метод предусматривает определение совместимости инъекционно-уплотняющего состава (полиуретан или другой эластичный состав) и получаемого уплотнения с влажностным состоянием трещины, когда нагнетание выполняют в трещину, заполненную водой. Оценивают эффект смешивания состава с водой, находящейся в трещине. Сравнивают результаты испытаний на деформативность контрольных образцов уплотнений со структурой, изначально имеющей в составе примесь воды, и деформативность образцов без такой примеси при выдерживании образцов обоих видов на воздухе в течение 14 сут после изготовления.
С.1.2 Контрольные образцы, включая принятые за эталонные, вырезают из отвердевшего инъекционно-уплотняющего состава в виде диска после его полимеризации в течение 7 сут в формах-оболочках, ограничивающих увеличение его в объеме в процессе полимеризации.
Примечание - Оценке данным методом подлежат инъекционно-уплотняющие составы, которые используют на заключительной стадии нагнетания, т.е. не полиуретановые пены, останавливающие водопроявления.
С.2 Оборудование, оснастка, инструмент и материалы
С.2.1 Установка (пресс) для испытаний образцов на сжатие с заданной скоростью деформирования.
С.2.2 Форма стальная для изготовления заготовок контрольных образцов (дисков) диаметром 270 мм толщиной 25 мм.
С.2.3 Нож для резки образцов.
С.2.4 Регистрирующее устройство в координатах X - Y.
С.2.5 Инъекционно-уплотняющий состав (компоненты).
С.3 Порядок проведения испытаний
С.3.1 Форма для изготовления контрольных образцов состоит из двух стальных пластин толщиной 10 мм и диаметром 270 мм; у каждой из пластин имеется с одной стороны паз глубиной 5 мм, куда входит стальное кольцо диаметром 200 мм, высотой 35 мм, толщиной 5 мм. Детали скреплены с помощью 12 болтов, расположенных с равными интервалами по внешней стороне кольца и проходящих через пластины, как показано на
рисунке С.1. На верхней пластине имеются заливочное резьбовое отверстие диаметром 50 мм с пробкой и выпускной клапан. Внутрь формы укладывают листы вощеной бумаги, чтобы предотвратить прилипание состава к поверхностям формы.
1 - отверстие для заполнения; 2 - отверстие с клапаном;
3 - линия разреза; 4 - болты М12 (12 шт.); 5 - стальное
кольцо диаметром 200 мм; 6 - стальная пластина
диаметром 270 мм
Рисунок С.1 - Форма для отливки заготовок
для контрольных образцов
Испытание проводят при нормальных климатических условиях: температура воздуха (21 +/- 2) °C и относительная влажность (60 +/- 10)%.
С.3.2 Двухкомпонентные инъекционно-уплотняющие составы тщательно смешивают, полностью израсходовав содержимое упаковок, затем перемешивают низкоскоростной дрелью (200 мин
-1) с лопаточкой. В завершение процесса переливают состав из одной емкости в другую и снова перемешивают. Однокомпонентные составы смешивания не требуют.
С.3.3 Составы с примесью воды приготовляют следующим образом:
а) в однокомпонентные составы добавляют 5% воды от массы состава и тщательно перемешивают в течение 1 мин, если скорость реакции полимеризации не слишком быстрая и позволяет выполнить заливку состава в формы. В противном случае руководствуются рекомендациями производителя состава;
б) двухкомпонентные составы смешивают, как указано в
С.3.2, в течение 1 мин. После переливания состава во вторую емкость добавляют 5% воды от массы состава и тщательно перемешивают еще 1 мин.
С.3.4 Сразу после смешивания составы заливают в формы по
С.2.2 через центральное отверстие, закрывают резьбовой пробкой и перекрывают выпускной клапан. Через 7 сут после приготовления составов формы разбирают, извлекают изготовленные диски и разрезают острым ножом на образцы размерами 50 x 50 x 25 мм (см.
рисунок С.1).
С.3.5 Для испытаний изготовляют две партии образцов не менее чем по три образца в каждой, которые выдерживают в течение 14 сут в нормальных климатических условиях: температура воздуха (21 +/- 2) °C и относительная влажность (60 +/- 10)%.
С.4 Механические испытания
С.4.1 В конце периода выдерживания контрольные образцы и образцы, принятые за эталонные, помещают в установку для испытаний по
С.2.1, центруют в оси и подвергают циклам нагружение/разгружение в диапазоне от 5% до 10% относительной деформации, прикладывая и снимая нагрузку со скоростью 2,0 мм/мин, как показано на рисунке С.2.
1 - 3 - номера циклов нагружения/разгружения
Рисунок С.2 - Циклы нагружение/разгружение
при испытании образцов на сжатие
С.4.2 Усилия в ньютонах, требуемые для воспроизведения указанной в
С.4.1 скорости деформирования, фиксируют и записывают.
С.5 Представление результатов и протокол испытаний
С.5.1 Эластичность контрольного образца оценивают в упругой стадии по диаграмме "деформация-нагрузка" в третьем цикле нагружения (
t = 4,125 - 5,375 мин). Для определения работы (механической энергии), потраченной на нагружение образца, и энергии, произведенной образцом при снятии нагрузки, определяют площади под кривой нагружения и под кривой разгружения в ньютонах, умноженных на миллиметр (площади 1 и 2 соответственно на
рисунке С.3). Определяют также разность площадей под кривыми, которая характеризует потери работы (механической энергии) на рассеивание, нагревание образца и т.п. (площадь 3 на
рисунке С.3). Последняя характеризует работу (механическую энергию) деформативности образца в ньютонах, умноженных на миллиметр.
а) площадь 1 - работа нагружения образца;
б) площадь 2 - работа разгружения образца;
в) площадь 3 - потеря работы
Рисунок С.3 - Работа цикла нагружение/разгружение
С.5.2 Результаты испытаний представляют в виде отношения определенных в
С.5.1 значений показателей механической энергии для контрольных и эталонных образцов.
С.5.3 В протоколе испытаний приводят следующие сведения:
а) ссылка на настоящее приложение;
б) название и адрес производителя или поставщика состава;
в) название, идентификационные отметки или номер партии состава;
г) дата поставки инъекционно-уплотняющего состава;
д) дата подготовки образцов, включая любые отклонения от предписанного порядка подготовки; порядок смешивания состава и смешивания его с водой (пропорция компонентов и/или катализатора, описание смесительного оборудования, продолжительность смешивания);
е) дата проведения испытания;
ж) условия выдерживания подготовленных образцов перед проведением испытания;
и) дата проведения испытания и описание использованного оборудования, включая его изготовителя, тип, мощность, данные по калибровке, серийный номер;
к) результаты испытаний;
л) потери работы и работа деформативности контрольных и эталонных образцов, снижение деформативности как отношение работы деформативности образцов с примесью воды к этой же характеристике образцов без такой примеси (частные и средние значения, погрешность определения).
(обязательное)
МЕТОДЫ ПОДГОТОВКИ И ИСПЫТАНИЙ КОНТРОЛЬНЫХ ПРОБ И ОБРАЗЦОВ.
ОЦЕНКА СТЕПЕНИ ОГРАНИЧЕННОГО НАБУХАНИЯ ОБРАЗЦА УПЛОТНЕНИЯ
ПО ИЗМЕНЕНИЮ ЕГО ОБЪЕМА И МАССЫ ПРИ ЗАМАЧИВАНИИ <*>
--------------------------------
<*> Метод испытаний соответствует требованиям
[15].
Т.1 Сущность метода
Т.1.1 Настоящий метод устанавливает порядок оценки степени ограниченного набухания контрольных образцов уплотнения, предусматривающий режимы А и Б (и их сочетание) кондиционирования образцов:
а) от начального состояния образцов после высыхания на воздухе до конечного равновесного после воздействия продолжительным замачиванием в жидкости - режим А;
б) от начального состояния образцов после высыхания на воздухе до конечного равновесного после воздействия сначала циклов высушивание/замачивание (соответственно: в сушильном шкафу/в жидкости) - режим Б, а затем воздействия продолжительным замачиванием в жидкости - по режиму А.
Т.1.2 В качестве жидкости для замачивания контрольных образцов принимают пресную воду или насыщенный раствор Ca(OH)2 согласно требованиям настоящего стандарта:
а) замачивание в пресной воде в режиме А;
б) замачивание в пресной воде в режиме (Б + А);
в) замачивание в насыщенном растворе Ca(OH)2.
Для каждого указанного вида испытаний готовят не меньше трех контрольных образцов, толщину которых принимают:
- для перечислений а) и б) - (5 +/- 1) мм;
- для перечисления в) - (25 +/- 1) мм.
Т.2 Оборудование, оснастка, инструмент и материалы
Т.2.1 Формы по
ГОСТ 30744 размерами 40 x 40 x 160 мм.
Т.2.2 Штангенциркуль по
ГОСТ 166 для измерения размеров контрольных образцов с погрешностью до 0,1 мм.
Т.2.3 Весы по
ГОСТ 24104 для взвешивания грузов до 500 г с погрешностью до 0,01 г.
Т.2.4 Емкость для выдерживания контрольных образцов в жидкости [вода или насыщенный раствор Ca(OH)
2] при температуре жидкости (20 +/- 2) °C с полным погружением. Объем жидкости выбирают в соответствии с требованиями
Т.4.3.3.
Т.2.5 Камера климатическая (лаборатория) с возможностью длительного сохранения нормальных климатических условий: температура воздуха (21 +/- 2) °C и относительная влажность (60 +/- 10)%.
Т.2.6 Решетка опорная для размещения контрольных образцов на воздухе или в емкости по
Т.2.4 с жидкостью, в последнем случае с зазором 5 мм от дна емкости.
Т.2.7 Шкаф сушильный с возможностью поддержания заданной температуры воздуха с погрешностью +/- 2 °C, оснащенный вентилятором принудительного действия.
Т.2.8 <**> Мешочки водопроницаемые для кондиционирования по режиму Б контрольных образцов уплотнения (например, из геотекстиля).
--------------------------------
<**> Мешочки водопроницаемые для кондиционирования контрольных образцов согласно требованиям показателя 7 таблицы 8 из
[3].
Т.3 Изготовление контрольных образцов уплотнения
Т.3.1 Инъекционно-уплотняющий состав приготовляют в нормальных климатических условиях согласно инструкции производителя.
Т.3.2 Сразу же после приготовления готовый к применению состав помещают в форму по
Т.2.1, закрывают полиэтиленовой пленкой и выдерживают в нормальных климатических условиях в течение (24 +/- 1) ч.
Т.3.3 Толщину контрольных образцов-призм принимают для оценки степени ограниченного набухания при воздействии:
а) замачиванием в воде - равной (5 +/- 1) мм;
Примечание - При возникновении сложностей при обращении с образцами указанной толщины допускается ее увеличение до (10 +/- 1) мм или (15 +/- 1) мм.
б) <***> замачиванием в насыщенном растворе Ca(OH)2 - равной (25 +/- 1) мм.
--------------------------------
<***> Толщина контрольного образца согласно требованиям показателя 8 таблицы 8 из
[3].
Т.4 Порядок проведения испытаний
Т.4.1 Измерение размеров и массы контрольных образцов в начальном состоянии после выдерживания по
Т.3.2 проводят на воздухе с помощью штангенциркуля по
Т.2.2 и весов по
Т.2.3. Продолжительность измерений принимают максимально краткой.
Т.4.2 Последующие измерения после воздействия замачиванием в жидкости выполняют по следующей процедуре:
а) определение массы образца на воздухе Ws;
б) определение кажущегося веса образца, погруженного в воду при температуре (20 +/- 2) °C, вместе с проволочной подвеской W(s + w)i;
в) определение кажущегося веса проволочной подвески той же длины W(w)i.
Объем контрольного образца, см3, рассчитывают по следующей зависимости:

(Т.1)
где 0,998 - удельный вес воды при температуре (20 +/- 2) °C, г/см3.
Примечание - Все измерения кажущегося веса выполняют после погружения образца в воду на (120 +/- 5) с. После взвешивания образцы сразу промакивают влажным полотенцем, чтобы удалить влагу с их поверхности.
Т.4.3 После измерений контрольных образцов по
Т.4.1 в начальном состоянии их подвергают кондиционированию в режимах А и (Б + А).
Т.4.3.1 Режим кондиционирования А предусматривает после высыхания образцов на воздухе в течение (24 +/- 1) ч их продолжительное замачивание в жидкости [в воде или насыщенном растворе Ca(OH)
2] при температуре (20 +/- 2) °C до приобретения образцом конечного равновесного состояния.
В процессе замачивания измеряют объем и массу образцов через 1, 2, 4, 6, 24 ч, далее через 2, 3, 4, 7, 11, 13, 14 сут. В этих испытаниях массу считают равновесной, если изменение ее значений при трех выполненных последовательно через 24 ч измерениях не превышает 10%. В противном случае и/или согласно требованиям настоящего стандарта испытания продлевают.
Т.4.3.2 Режим кондиционирования Б предусматривает после высыхания образцов на воздухе в течение (24 +/- 1) ч воздействие на них 10 циклов высушивание/замачивание:
а) высушивание в сушильном шкафу при температуре (40 +/- 2) °C в течение 1 сут;
б) замачивание в жидкости [в воде или насыщенном растворе Ca(OH)2] при температуре (20 +/- 2) °C в течение 6 сут.
В конце каждого из 10 циклов измеряют объем и массу образцов. После воздействия 10 циклов высушивание/замачивание образцы подвергают продолжительному замачиванию в жидкости [в воде или насыщенном растворе Ca(OH)
2] при температуре (20 +/- 2) °C до конечного равновесного состояния, как определено в
Т.4.3.1 и согласно требованиям настоящего стандарта.
Т.4.3.3 При замачивании контрольные образцы укладывают на решетку, чтобы не ограничивать изменения их объема.
При выдерживании на воздухе и замачивании в жидкости расстояние между образцами должно составлять не менее 100 мм для обеспечения равномерного распределения влаги вокруг образцов. Кроме того, при замачивании в жидкости расстояния между образцами и верхним уровнем жидкости, а также боковыми стенами емкости по
Т.2.4 должны быть не менее 100 мм.
Т.5 Представление результатов и протокол испытаний
Т.5.1 Относительное изменение объема

контрольного образца, выраженное в процентах и округленное до первого знака после запятой, определяют для каждого установленного срока после приготовления готового для применения состава по формуле

(Т.2)
где Vt - объем образца в момент времени t, см3;
Vi - объем образца в начальном состоянии, см3.
Т.5.2 Относительное изменение массы

контрольного образца, выраженное в процентах и округленное до первого знака после запятой, определяют для каждого установленного срока после приготовления готового для применения состава по формуле

(Т.3)
где Wt - масса образца в момент времени t, г;
Wi - масса образца в начальном состоянии, г.
Т.5.3 После завершения испытаний контрольные образцы осматривают на предмет наличия трещин и других дефектов.
Т.5.4 В протоколе испытаний приводят следующие данные:
а) ссылка на настоящее приложение;
б) дата проведения испытаний;
в) обозначение инъекционно-уплотняющего состава, включая тип, источник получения, коды производителя, дата поставки;
г) дата подготовки образцов, включая любые отклонения от порядка подготовки (пропорция компонентов состава, толщина образцов и др.);
д) условия выдерживания подготовленных образцов перед проведением испытаний;
е) результаты испытаний (визуальные изменения, частные и средние значения объема и массы в каждый установленный момент времени, относительные значения изменения объема и массы в виде графиков).
(рекомендуемое)
МЕТОДЫ ПОДГОТОВКИ И ИСПЫТАНИЙ КОНТРОЛЬНЫХ ПРОБ И ОБРАЗЦОВ.
ВОЗДЕЙСТВИЕ ИНЪЕКЦИОННО-УПЛОТНЯЮЩИХ СОСТАВОВ
НА ЭЛАСТОМЕРЫ - ОЦЕНКА СОВМЕСТИМОСТИ <*>
| | ИС МЕГАНОРМ: примечание. В официальном тексте документа, видимо, допущена опечатка: имеется в виду пункт [16], а не пункт [1]. | |
--------------------------------
<*> Метод испытаний соответствует требованиям
[1].
У.1 Сущность метода
У.1.1 Настоящим методом оценивают способность эластомерных вставок в бетоне противостоять негативным воздействиям инъекционно-уплотняющих составов в процессе и после отверждения - оценка совместимости.
Примечание - Испытания проводят, когда эластомерная вставка достоверно будет подвержена таким воздействиям.
У.1.2 Метод определяет процедуру, при которой полимерный образец подвергают воздействию инъекционного состава во время отверждения или после него при определенных температурных условиях в течение определенного времени, чтобы оценить воздействие инъекционного состава на полимерную вставку. Испытание обычно проводят на вставке, с которой инъекционный состав будет контактировать на практике.
У.2 Оборудование, оснастка, инструмент и материалы
У.2.1 Рама (см.
рисунок У.1). Рама состоит из плиты основания и открытой по концам камеры диаметром 150 мм, в которой плотно зажимают образцы с помощью навинченных на болты гаек-барашков. Во время испытания верхнее отверстие камеры плотно закрывают подходящей пробкой.
1 - плита основания; 2 - камера; 3 - образец;
4 - гайка-барашек; 5 - болт; 6 - пробка
Рисунок У.1 - Устройство для испытания полимерных вставок
в контакте с инъекционно-уплотняющим составом
У.2.2 Шлифовальное оборудование, например абразивные круги или ленты для удаления лишней толщины, неровностей на поверхности полимерной вставки для изготовления плоских образцов.
У.2.3 Форма-штамп для вырезания гантелеобразных образцов.
У.2.4 Установка для испытаний на растяжение.
У.2.5 Весы лабораторные по
ГОСТ 24104 для взвешивания образцов с точностью до 0,001 г.
У.2.6 Смеситель для приготовления состава.
У.3 Подготовка образцов
У.3.1 Образцы вставок для проведения испытаний
У.3.1.1 Стандартные образцы представляют собой круглые диски диаметром (155 +/- 2) мм и толщиной (2,0 +/- 0,1) мм. Образцы из коммерческих материалов подходят, если их толщина не превышает 2 мм; в противном случае их сошлифовывают до толщины (2,0 +/- 0,1) мм.
У.3.1.2 Если невозможно получить образцы стандартных размеров (например, кабели, трубы и др.) или нельзя применить шлифование, следует использовать другой метод подготовки, согласованный всеми сторонами.
У.3.1.3 Перед проведением испытания поверхности образца придают шероховатость и очищают от всех загрязнений, чтобы получить приемлемый для сравнения результат.
У.3.1.4 Готовят не менее девяти образцов (три образца для определения исходных свойств, шесть образцов для определения свойств после старения).
У.3.1.5 Образцы выдерживают 24 ч в нормальных климатических условиях: температура (21 +/- 2) °C и относительная влажность (60 +/- 10)%.
У.3.1.6 Исходную массу каждого образца определяют с точностью до 1 мг.
У.3.2 Инъекционно-уплотняющий состав готовят в соответствии с требованиями инструкции производителя.
У.3.3 Исходные свойства полимерной вставки
У.3.3.1 Исходная прочность на растяжение и удлинение при разрыве. Испытание выполняют для каждого из трех образцов.
У.3.4 Подготовка устройства
У.3.4.1 Если нужно, внутренние поверхности камеры покрывают распалубочной смазкой для предотвращения прилипания состава.
У.3.4.2 Распалубочная смазка не оказывает существенного воздействия на отверждение инъекционного состава и на полимерную вставку.
У.3.4.3 Образцы равномерно укладывают на плиту основания и фиксируют гайками-барашками.
У.4 Порядок проведения испытаний
У.4.1 Стандартные испытания проводят при температуре (21 +/- 2) °C и относительной влажности воздуха (60 +/- 10)%.
У.4.2 Сразу после смешивания слой инъекционного состава толщиной 5 мм заливают к образцу и дают отвердеть. Три образца в сборе выдерживают 28 сут и три образца - 70 сут. Камера при этом должна быть плотно закрыта, чтобы не допустить потери летучих компонентов испытуемых материалов (например, набухающих составов).
У.4.3 После периодов 28 и 70 сут устройство разбирают и образцы вынимают. Излишки инъекционного состава с поверхности образцов удаляют.
У.4.4 Образцы осматривают и сравнивают с исходными.
У.4.5 Определяют массу образца m2 с точностью до 1 мг.
У.4.6 Определяют прочность на растяжение и удлинение при разрыве.
У.4.7 Испытание выполняют для каждого из трех образцов.
У.5 Представление результатов и протокол испытания
У.5.1 Изменения прочности на растяжение и удлинение при разрыве выражают в процентах к исходным значениям.
У.5.2 В протоколе испытаний приводят следующие данные:
а) ссылку на настоящее приложение;
б) название и адрес производителя или поставщика вставки из эластомера и инъекционно-уплотняющего состава;
в) название, идентификационные отметки или номер партии материалов;
г) дату поставки материалов;
д) порядок подготовки образцов, включая любые отклонения от предписанного порядка подготовки; порядок подготовки инъекционного состава, дату подготовки;
е) условия выдерживания подготовленных образцов перед проведением испытания;
ж) дату проведения испытания и описание использованного оборудования;
и) результаты испытаний (визуальные изменения, частные и средние значения изменений массы через 28 и 70 сут, частные и средние значения изменений прочности на растяжение через 28 и 70 сут, изменения прочности на растяжение и удлинения через 28 и 70 сут).
| ТУ 2433-065-0483375-2003 | Отвердители аминные смесевые. Технические условия |
| ЕН 14117:2004 | Материалы и системы для защиты и ремонта бетонных конструкций - Методы испытаний - Определение времени истечения инъекционных составов на цементной основе (EN 14117:2004 Products and systems for the protection and repair of concrete structures - Test methods - Determination of time of efflux of cementations injection products) |
| ЕН 1504-5:2013 | Материалы и системы для защиты и ремонта бетонных конструкций. Определения, требования, контроль качества и оценка соответствия. Часть 5: Инъекция бетона (EN 1504-5:2013 Products and systems for the protection and repair of concrete structures - Definitions, requirements, quality control and evaluation of conformity - Part 5: Concrete injection) |
| ЕН 14497:2004 | Материалы и системы для защиты и ремонта бетонных конструкций - Методы испытаний - Определение фильтрационной стабильности нагнетания (EN 14497:2004 Products and systems for the protection and repair of concrete structures - Test method - Determination of the filtration stability) |
| (ИСО 3310-1-90) | Сита лабораторные из металлической проволочной сетки. Технические условия |
| ЕН 12618-2:2004 | Материалы и системы для защиты и ремонта бетонных конструкций - Методы испытаний - Часть 2: Определение адгезии инъекционных составов при циклическом тепловом воздействии и без него - Прочность сцепления (адгезия) с бетоном в испытании на растяжение при разрыве (EN 12618-2:2004 Products and systems for the protection and repair of concrete structures - Test methods - Part 2: Determination of the adhesion of injection products, with or without thermal cycling; Adhesion by tensile bond strength) |
| ЕН 1766:2000 | Материалы и системы для защиты и ремонта бетонных конструкций - Методы испытаний - Контрольный (эталонный) бетон для испытаний (EN 1766:2000 Products and systems for the protection and repair of concrete structures - Test methods - Reference concretes for testing) |
| ЕН 12618-3:2004 | Материалы и системы для защиты и ремонта бетонных конструкций - Методы испытаний - Часть 3: Метод косого сдвига (EN 12618-3:2004 Products and systems for the protection and repair of concrete structures - Test methods - Part 3: Determination of the adhesion of injection products, with or without thermal cycling; Slant shear method) |
| ЕН 1771:2004/АС:2005 | Материалы и системы для защиты и ремонта бетонных конструкций - Методы испытаний - Оценка нагнетаемости в песчаную колонку (EN 1771:2004/AC:2005 Products and systems for the protection and repair of concrete structures - Test methods - Determination of injectability and splitting test) |
| ЕН 1543:1998 | Материалы и системы для защиты и ремонта бетонных конструкций - Методы испытаний - Оценка набора прочности на растяжение для полимеров (EN 1543:1998 Products and systems for the protection and repair of concrete structures - Test methods - Determination of tensile strength development for polymers) |
| ЕН 13687-3:2002 | Материалы и системы для защиты и ремонта бетонных конструкций - Методы испытаний - Часть 3: Воздействие тепловых циклов без антиобледенительных солей (EN 13687-3:2002 Products and systems for the protection and repair of concrete structures - Test methods; Determination of thermal compatibility - Part 3: Thermal cycling without de icing salt impact) |
| ЕН 12618-1:2003 | Материалы и системы для защиты и ремонта бетонных конструкций - Методы испытаний - Часть 1: Прочность сцепления (адгезия) с бетоном и способность к растяжению инъекционных составов с ограниченной эластичностью (EN 12618-1:2003 Products and systems for the protection and repair of concrete structures - Test methods - Part 1: Adhesion and elongation capacity of injection products with limited ductility) |
| ЕН 14068:2003 | Материалы и системы для защиты и ремонта бетонных конструкций - Методы испытаний - Определение водонепроницаемости уплотнений трещин без перемещения в бетоне (EN 14068:2003 Products and systems for the protection and repair of concrete structures - Test methods - Determination of watertightness of injected cracks without movement in concrete) |
| ЕН 12637-1:2004 | Материалы и системы для защиты и ремонта бетонных конструкций - Методы испытаний - Совместимость инъекционных составов - Часть 1: Совместимость с бетоном (EN 12637-1:2004 Products and systems for the protection and repair of concrete structures - Test methods - Compatibility of injection products - Part 1: Compatibility with concrete) |
| ЕН 14498:2004 | Материалы и системы для защиты и ремонта бетонных конструкций - Методы испытаний - Объемные и весовые изменения инъекционных составов после циклов высушивание на воздухе/намокание (EN 14498:2004 Products and systems for the protection and repair of concrete structures - Test methods - Volume and weight changes of injection products after air drying and water storage cycles) |
| ЕН 12637-3:2003 | Материалы и системы для защиты и ремонта бетонных конструкций - Методы испытаний - Совместимость инъекционных составов - Часть 3: Воздействие инъекционных материалов на эластомеры (EN 12637-3:2003 Products and systems for the protection and repair of concrete structures - Test methods; Compatibility of injection products - Part 3: Effect of injection products on elastomers) |