Главная // Актуальные документы // ГОСТ (Государственный стандарт)СПРАВКА
Источник публикации
М.: Стандартинформ, 2016
Примечание к документу
Документ
введен в действие с 1 января 2017 года.
Название документа
"ГОСТ 33534-2015. Межгосударственный стандарт. Бруски и сегменты шлифовальные. Технические условия"
(введен в действие Приказом Росстандарта от 08.06.2016 N 572-ст)
"ГОСТ 33534-2015. Межгосударственный стандарт. Бруски и сегменты шлифовальные. Технические условия"
(введен в действие Приказом Росстандарта от 08.06.2016 N 572-ст)
Введен в действие
агентства по техническому
регулированию и метрологии
от 8 июня 2016 г. N 572-ст
МЕЖГОСУДАРСТВЕННЫЙ СТАНДАРТ
БРУСКИ И СЕГМЕНТЫ ШЛИФОВАЛЬНЫЕ
ТЕХНИЧЕСКИЕ УСЛОВИЯ
Grinding stones and segments. Specifications
(ISO 525:2013, NEQ)
(ISO 603-5:1999, NEQ)
(ISO 603-10:1999, NEQ)
(ISO 603-11:1999, NEQ)
(ISO 13942:2000, NEQ)
ГОСТ 33534-2015
Дата введения
1 января 2017 года
Цели, основные принципы и основной порядок проведения работ по межгосударственной стандартизации установлены
ГОСТ 1.0-2015 "Межгосударственная система стандартизации. Основные положения" и
ГОСТ 1.2-2015 "Межгосударственная система стандартизации. Стандарты межгосударственные, правила и рекомендации по межгосударственной стандартизации. Правила разработки, принятия, обновления и отмены"
1 РАЗРАБОТАН Федеральным государственным унитарным предприятием "Всероссийский научно-исследовательский институт стандартизации и сертификации в машиностроении ("ВНИИНМАШ")
2 ВНЕСЕН Межгосударственным техническим комитетом по стандартизации МТК 95 "Инструмент"
3 ПРИНЯТ Межгосударственным советом по стандартизации, метрологии и сертификации (протокол от 29 сентября 2015 г. N 80-П).
За принятие проголосовали:
Краткое наименование страны по МК (ИСО 3166) 004-97 | Код страны по МК (ИСО 3166) 004-97 | Сокращенное наименование национального органа по стандартизации |
Армения | AM | Армгосстандарт |
Беларусь | BY | Госстандарт Республики Беларусь |
Казахстан | KZ | Госстандарт Республики Казахстан |
Киргизия | KG | Кыргызстандарт |
Россия | RU | Росстандарт |
4
Приказом Федерального агентства по техническому регулированию и метрологии от 8 июня 2016 г. N 572-ст межгосударственный стандарт ГОСТ 33534-2015 введен в действие в качестве национального стандарта Российской Федерации с 1 января 2017 г.
5 Настоящий стандарт соответствует следующим международным стандартам:
ИСО 525:2013 "Абразивная продукция на связке. Общие требования" (ISO 525:2013 "Bonded abrasive products - General requirements", NEQ) в части обозначений шлифовальных брусков и сегментов;
ИСО 603-5:1999 "Абразивная продукция на связке. Размеры. Часть 5. Круги для плоского и торцового шлифования" (ISO 603-5:1999 "Bonded abrasive products - Dimensions - Part 5: Grinding wheels for surface grinding/face grinding", NEQ) в части типов и размеров шлифовальных сегментов;
ИСО 603-10:1999 "Абразивная продукция на связке. Размеры. Часть 10. Бруски для хонингования и суперфиниширования" (ISO 603-10:1999 "Bonded abrasive products - Dimensions - Part 10: Stones for honing and superfinishings", NEQ) в части брусков для хонингования и суперфиниширования;
| | ИС МЕГАНОРМ: примечание. Текст дан в соответствии с официальным текстом документа. | |
ИСО 603-11:1999 "Абразивная продукция на связке. Размеры. Часть 11. Бруски ручные для чистовой обработки" (ISO "Bonded abrasive products - Dimensions - Part 11: Hand finishing sticks", NEQ) в части ручных брусков для чистовой обработки;
ИСО 13942:2000 "Абразивная продукция на связке. Предельные отклонения размеров и допуски биений" (ISO 13942:2000 "Bonded abrasive products - Limit deviations and rum-out tolerances", NEQ) в части предельных отклонений шлифовальных брусков и сегментов.
Информация об изменениях к настоящему стандарту публикуется в ежегодном информационном указателе "Национальные стандарты", а текст изменений и поправок - в ежемесячном информационном указателе "Национальные стандарты". В случае пересмотра (замены) или отмены настоящего стандарта соответствующее уведомление будет опубликовано в ежемесячном информационном указателе "Национальные стандарты". Соответствующая информация, уведомление и тексты размещаются также в информационной системе общего пользования - на официальном сайте Федерального агентства по техническому регулированию и метрологии в сети Интернет (www.gost.ru)
Настоящий стандарт распространяется на шлифовальные бруски (далее - бруски) из электрокорундовых (A), карбидкремниевых (C) материалов и кубического нитрида бора (B) машинные, применяемые на хонинговальных и суперфинишных станках, а также для ручной заточки и доводки; шлифовальные сегменты (далее - сегменты) из электрокорундовых (A) и карбидкремниевых (C) материалов, применяемые в кругах, собранных из шлифовальных сегментов.
В настоящем стандарте использованы нормативные ссылки на следующие межгосударственные стандарты:
ГОСТ 15.309-98 Система разработки и постановки продукции на производство. Испытания и приемка выпускаемой продукции. Основные положения
ГОСТ 3647-80 Материалы шлифовальные. Классификация. Зернистость и зерновой состав. Методы контроля
ГОСТ 3722-81 Подшипники качения. Шарики. Технические условия
ГОСТ 18118-79 Инструмент абразивный. Измерение твердости пескоструйным методом
ГОСТ 19202-80 Инструмент абразивный. Измерение твердости методом вдавливания шарика
ГОСТ 23677-79 Твердомеры для металлов. Общие технические требования
ГОСТ 25961-83 Инструмент абразивный. Акустический метод контроля физико-механических свойств
ГОСТ 27595-88 Материалы шлифовальные и инструменты абразивные. Упаковка, маркировка, транспортирование и хранение
Примечание - При пользовании настоящим стандартом целесообразно проверить действие ссылочных стандартов в информационной системе общего пользования - на официальном сайте Федерального агентства по техническому регулированию и метрологии в сети Интернет или по ежегодному информационному указателю "Национальные стандарты", который опубликован по состоянию на 1 января текущего года, и по выпускам ежемесячного информационного указателя "Национальные стандарты" за текущий год. Если ссылочный стандарт заменен (изменен), то при пользовании настоящим стандартом следует руководствоваться заменяющим (измененным) стандартом. Если ссылочный стандарт отменен без замены, то положение, в котором дана ссылка на него, применяется в части, не затрагивающей эту ссылку.
3. Классификация и размеры
3.1 Бруски машинные следует изготовлять следующих типов:
5410, 5410-1; 5410-2 - прямоугольные;
5411, 5411-1 - квадратные;
5420 - кольцевые;
5421 - чашечные;
5430 - профильные.
3.2 Бруски ручные следует изготовлять следующих типов:
9010 - прямоугольные;
9011 - квадратные;
9020 - треугольные;
9030 - круглые;
9040 - полукруглые.
3.3 Сегменты следует изготовлять следующих типов:
3101 - прямоугольные;
3104 - выпукло-вогнутые;
3105 - выпукло-плоские;
3109 - трапециевидные;
3110 - плоские;
3120 - цилиндрические;
3130 - фасонные.
3.4 Размеры брусков типа 5410 из материалов A и C должны соответствовать указанным на рисунке 1 и в
таблице 1.
Рисунок 1
В миллиметрах
B | C | L | B | C | L |
3 | 2 | 30 | 16 | 8 | 30; 150 |
3 | 5 | 50 | 16 | 25 | 70 |
4 | 3 | 40 | 20 | 8 | 25 |
4 | 5 | 50 | 20 | 10 | 100; 150 |
5 | 4 | 50 | 20 | 13 | 150 |
6 | 5 | 60 | 20 | 25 | 70; 150 |
6 | 20 | 70 | 25 | 6 | 75; 100 |
8 | 6 | 80; 100 | 25 | 13 | 200 |
8 | 20 | 70 | 25 | 16 | 150 |
10 | 5 | 50; 100 | 25 | 18 | 80 |
10 | 8 | 100 | 32 | 20 | 200 |
11 | 9 | 100 | 40 | 20 | 200 |
13 | 10 | 50; 150 | 56 | 12 | 100 |
13 | 28 | 60 | 60 | 10 | 100 |
15 | 10 | 125 | 60 | 20 | 100 |
15 | 12 | 150 | 80 | 20 | 100 |
Примечание - По заказу потребителя допускается изготовлять бруски размерами, отличными от указанных в таблице. |
3.5 Размеры брусков типа 5410-1 из материала B должны соответствовать указанным на рисунке 2 и в
таблице 2.
Примечание - Размер 15 мм - длина слоя из кубического нитрида бора.
--------------------------------
<*> Размер для справок.
Рисунок 2
В миллиметрах
B | C | L |
5 | 6 | 100 |
6 | 4; 6 | 30 |
9 | 12 | 50 |
12 | 4; 6; 14 | 50 |
16 | 12; 15; 18 | 50 |
20 | 6; 8; 10; 30 | 50; 100 |
25 | 20 | 50 |
Примечание - По заказу потребителя допускается изготовлять бруски размерами, отличными от указанных в таблице. |
3.6 Размеры брусков типа 5410-2 из материала B должны соответствовать указанным на рисунке 3 и в
таблице 3.
Примечание - Размер C1 мм - высота слоя из кубического нитрида бора.
--------------------------------
<*> Размер для справок.
Рисунок 3
В миллиметрах
B | C | C1 +/- 0,5 | L |
12 | 25 | 3; 5 | 100 |
16 | 13 | 150 |
20 | 18; 25 | 100; 150 |
Примечание - По заказу потребителя допускается изготовлять бруски размерами, отличными от указанных в таблице. |
3.7 Размеры брусков типа 5411 из материалов A и C должны соответствовать указанным на рисунке 4 и в
таблице 4.
Рисунок 4
В миллиметрах
B = C | L | B = C | L |
2 | 25 | 15 | 100, 150, 200 |
3 | 40 | 16 | 150 |
4 | 16, 40, 50 | 18 | 100 |
5 | 50, 60 | 20 | 100, 150, 200 |
6 | 50, 80 | 25 | 100, 150, 200, 300 |
8 | 50, 100 | 40 | 50 |
10 | 100, 150 | 40 | 100 |
13 | 150 | 45 | 100 |
Примечание - По заказу потребителя допускается изготовлять бруски размерами, отличными от указанных в таблице. |
3.8 Размеры брусков типа 5411-1 из материала B должны соответствовать указанным на рисунке 5 и в
таблице 5.
Примечание - Размер 15 мм - длина слоя из кубического нитрида бора.
--------------------------------
<*> Размер для справок.
Рисунок 5
В миллиметрах
B = C | L |
8 | 50 |
10 |
12 |
20 |
Примечание - По заказу потребителя допускается изготовлять бруски размерами, отличными от указанных в таблице. |
3.9 Размеры брусков типа 5420 из материалов A и C должны соответствовать указанным на рисунке 6 и в
таблице 6.
Рисунок 6
В миллиметрах
D h13 | T +/- 2 | H H13 |
30 | 30 | 20 |
30 | 40 | 25 |
35 | 25 | 10 |
40 | 32 | 28 |
3.10 Размеры брусков типа 5421 из материалов A и C должны соответствовать указанным на рисунке 7 и в
таблице 7.
Рисунок 7
В миллиметрах
D H13 | T +/- 2 | H H13 |
30 | 40 | 20 |
34 | 30 | 12 |
38 | 35 | 12 |
40 | 50 | 20 |
50 | 45 | 12 |
55 | 40 | 20 |
65 | 50 | 20 |
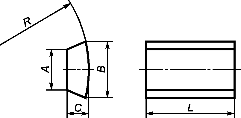
3.11 Размеры брусков типа 5430 из материала B должны соответствовать указанным на рисунке 8 и в
таблице 8.
Рисунок 8
В миллиметрах
B | L | R +/- 0,2 |
4 | 50; 70 | 3,0 |
5 | 4,0 |
6 | 7,5 |
8 | 6,0; 7,5 |
10 | 6,5; 7,5 |
13 | 7,5 |
16 | 12,0 |
Примечание - По заказу потребителя допускается изготовлять бруски размерами, отличными от указанных в таблице. |
3.12 Размеры брусков типа 9010 из материалов A и C должны соответствовать указанным на рисунке 9 и в
таблице 9.
Рисунок 9
В миллиметрах
B | C | L |
6 | 3 | 100 |
10 | 5 |
11 | 9 |
13 | 6 |
15 | 10 | 150 |
16 | 8 |
20 | 10 | 150, 200 |
25 | 13, 16 | 100, 150 |
30 | 20 | 200 |
40 |
50 | 25 | 150, 200 |
Примечание - По заказу потребителя допускается изготовлять бруски размерами, отличными от указанных в таблице. |
3.13 Размеры брусков типа 9011 из материалов A и C должны соответствовать указанным на рисунке 10 и в
таблице 10.
Рисунок 10
В миллиметрах
B = C | L | B = C | L |
6 | 100 | 16 | 150 |
10 | 100 | 20 | 150, 200 |
13 | 150 | 25 |
Примечание - По заказу потребителя допускается изготовлять бруски размерами, отличными от указанных в таблице. |
3.14 Размеры брусков типа 9020 должны соответствовать указанным на рисунке 11 и в
таблице 11.
Рисунок 11
В миллиметрах
B | L | +2° |
6 | 100, 150 | 45°, 60° |
8 | 100 | 60° |
10 | 100, 150 | 45°, 60° |
13 | 60° |
16 | 150 |
20 | 200 |
25 | 250 |
30 |
Примечание - По заказу потребителя допускается изготовлять бруски размерами, отличными от указанных в таблице. |
3.15 Размеры брусков типа 9030 из материалов A и C должны соответствовать указанным на рисунке 12 и в
таблице 12.
Рисунок 12
В миллиметрах
D | L | D | L |
6 | 100 | 16 | 150 |
8 | 20 | 200 |
10 | 100, 150 | 25 | 250 |
13 | 150 |
Примечание - По заказу потребителя допускается изготовлять бруски размерами, отличными от указанных в таблице. |
3.16 Размеры брусков типа 9040 должны соответствовать указанным на рисунке 13 и в
таблице 13.
Рисунок 13
В миллиметрах
D | L | D | L |
6 | 100 | 16 | 150 |
8 | 100 | 20 | 200 |
10 | 100, 150 | 25 | 250 |
13 | 150 |
Примечание - По заказу потребителя допускается изготовлять бруски размерами, отличными от указанных в таблице. |
Пример условного обозначения шлифовального бруска типа 5410 шириной B = 20 мм, высотой C = 10 мм, длиной L = 150 мм, из зеленого карбида кремния марки 63C, зернистостью 6, степени твердости С2, со звуковым индексом (ЗИ) 33, на бакелитовой связке B:
Брусок шлифовальный 5410 20 x 10 x 150 63C 6 С2 33 B
ГОСТ 33534-2015
То же, шлифовального бруска типа 9030 диаметром D = 20 мм, длиной L = 200 мм, из нормального электрокорунда марки 14A, зернистостью 8, степени твердости СМ1, со звуковым индексом (ЗИ) 33, на керамической связке V:
Брусок шлифовальный 9030 20 x 200 14A 8 СМ1 33 V
ГОСТ 33534-2015
То же, шлифовального бруска типа 9020 шириной
B = 16 мм, длиной
L = 150 мм,

, из нормального электрокорунда марки 14A, зернистостью 10, степени твердости СМ1, со звуковым индексом (ЗИ) 33, на керамической связке V:
Брусок шлифовальный 9020 16 x 150 x 60° 14A 10 СМ1 33 V
ГОСТ 33534-2015
То же, шлифовального бруска типа 5410-1 шириной B = 20 мм, высотой C = 10 мм, длиной L = 50 мм, из кубического нитрида бора (B) марки ЛМ, зернистостью 40/28, степени твердости СТ2:
Брусок шлифовальный 5410-1 20 x 10 x 50 B ЛМ 40/28 СТ2
ГОСТ 33534-2015
То же, шлифовального бруска типа 5410-2 шириной B = 20 мм, высотой C = 18 мм, с высотой слоя из кубического нитрида бора C1 = 5 мм, длиной L = 150 мм, из кубического нитрида бора (B), марки ЛМ, зернистостью 40/28, степени твердости СТ2:
Брусок шлифовальный 5410-2 20 x 18 x 5 x 150 B ЛМ 40/28 СТ2
ГОСТ 33534-2015
3.17 Размеры сегментов типа 3101 должны соответствовать указанным на рисунке 14 и в
таблице 14.
Рисунок 14
В миллиметрах
B | C | L | B | C | L |
40 | 40 | 80 | 100 | 40 | 200 |
50 | 25 | 150 | 110 | 40 | 200 |
60 | 25 | 150 | 110 | 40 | 180 |
80 | 25 | 150 | 110 | 60 | 250 |
80 | 30 | 150 | 120 | 30 | 180, 200 |
90 | 36 | 150 | 120 | 36 | 150 |
90 | 40 | 150 | 150 | 50 | 250 |
Примечание - По заказу потребителя допускается изготовлять сегменты размерами, отличными от указанных в таблице. |
3.18 Размеры сегментов типа 3104 должны соответствовать указанным на рисунке 15 и в
таблице 15.
Рисунок 15
В миллиметрах
B | A | C | L | R +/- 0,5 | R1 +/- 0,5 |
95 | 72 | 25 | 120 | 170 | 145 |
103 | 77 | 25 | 150 | 200 | 175 |
106 | 80 | 25 | 150 | 180 | 155 |
117 | 74 | 39 | 120 | 171,5 | 132,5 |
143 | 103,5 | 38 | 200 | 273 | 235 |
152 | 108 | 44 | 200 | 179 | 135 |
Примечание - По заказу потребителя допускается изготовлять сегменты размерами, отличными от указанных в таблице. |
3.19 Размеры сегментов типа 3105 должны соответствовать указанным на рисунке 16 и в
таблице 16.
Рисунок 16
В миллиметрах
B | A | C | L | R +/- 0,5 |
110 | 75 | 40 | 180 | 300 |
120 | 80 | 45 | 150 | 250 |
150 | 85 | 75 | 220 | 200 |
210 | 140 | 100 | 300 | 400 |
380 | 210 | 240 | 100 | 500 |
Примечание - По заказу потребителя допускается изготовлять сегменты размерами, отличными от указанных в таблице. |
3.20 Размеры сегментов типа 3109 должны соответствовать указанным на рисунке 17 и в
таблице 17.
Рисунок 17
В миллиметрах
B | A | C | L |
60 | 54 | 22 | 110 |
60 | 50, 54 | 16 | 125 |
60 | 46, 54 | 20 | 125 |
70 | 64 | 25 | 110, 150 |
80 | 70 | 40 | 150 |
100 | 85, 94 | 40 | 150 |
103 | 94 | 38 | 150, 180 |
120 | 106 | 41 | 200 |
152 | 135 | 63 | 200, 250 |
190 | 165, 180 | 50 | 150 |
210 | 184 | 86 | 250 |
Примечание - По заказу потребителя допускается изготовлять сегменты размерами, отличными от указанных в таблице. |
3.21 Размеры сегментов типа 3110 должны соответствовать указанным на рисунке 18.
--------------------------------
<*> Размер для справок.
Примечание - По заказу потребителя допускается изготовлять сегменты размерами, отличными от указанных.
Рисунок 18
3.22 Размеры сегментов типа 3120 должны соответствовать указанным на рисунке 19 и в
таблице 18.
Рисунок 19
В миллиметрах
D +/- 1,5 | L +/- 3 |
40 | 120, 130, 150 |
50 | 80, 100, 120 |
63 | 63, 125 |
Примечание - По заказу потребителя допускается изготовлять сегменты размерами, отличными от указанных в таблице. |
3.23 Размеры сегментов типа 3130 должны соответствовать указанным на рисунке 20.
Исполнение 1
Исполнение 2
Примечание - По заказу потребителя допускается изготовлять сегменты размерами, отличными от указанных.
Рисунок 20
Пример условного обозначения шлифовального сегмента типа 3109 шириной B = 120 мм, высотой C = 41 мм, длиной L = 200 мм, из нормального электрокорунда марки 14A, зернистостью 40, степени твердости С1, со звуковым индексом (ЗИ) 33, на бакелитовой связке B:
Сегмент шлифовальный 3109 120 x 41 x 200 14A 40 С1 33 B
ГОСТ 33534-2015
То же, шлифовального сегмента типа 3120 диаметром D = 40 мм, длиной L = 150 мм, из зеленого карбида кремния марки 63C, зернистостью 25, степени твердости СМ1, со звуковым индексом (ЗИ) 33, на бакелитовой связке B:
Сегмент шлифовальный 3120 40 x 150 63C 25 СМ1 33 B
ГОСТ 33534-2015
То же, шлифовального сегмента типа 3110 шириной, равной 85 мм, длиной, равной 50 мм, из зеленого карбида кремния марки 63C, зернистостью 25, степени твердости СМ1, со звуковым индексом (ЗИ) 33, на бакелитовой связке B:
Сегмент шлифовальный 3110 85 x 50 63C 25 СМ1 33 B
ГОСТ 33534-2015
То же, шлифовального сегмента типа 3130, исполнения 1, шириной, равной 86 мм, высотой, равной 150 мм, длиной, равной 394 мм, из зеленого карбида кремния марки 63C, зернистостью 25, степени твердости СМ1, со звуковым индексом (ЗИ) 33, на бакелитовой связке B:
Сегмент шлифовальный 3130-1 86 x 150 x 394 63C 25 СМ1 33 B
ГОСТ 33534-2015
4. Технические требования
4.1 Бруски и сегменты следует изготовлять в соответствии с требованиями настоящего стандарта, по рабочим чертежам, утвержденным в установленном порядке.
4.2 Бруски типов 5410-1, 5410-2, 5411-1 изготовляют с корпусом и слоем из кубического нитрида бора.
Примечание - По согласованию с потребителем допускается изготовлять бруски без корпуса.
4.3 Материал корпуса брусков исполнений 5410-1, 5410-2, 5411-1 - керамический.
4.4 Бруски из материалов A и C изготовляют на керамической (V) и бакелитовой (B) связках, бруски из материала B изготовляют на керамической (V) связке, сегменты - на бакелитовой (B) и керамической (V) связках.
4.5 Бруски из материалов A и C изготовляют зернистостями 50-5 по
ГОСТ 3647 <*>, М63-М5 по
ГОСТ 3647, сегменты - зернистостями 160-5 по
ГОСТ 3647 <*>, бруски из материала B зернистостями 125/100 - 14/10 - по нормативному документу, утвержденному в установленном порядке
<**>.
Примечание - Допускается изготовлять бруски типов 9010, 9011 комбинированными, различных зернистостей. Высота слоев должна быть одинаковой.
--------------------------------
<*> На территории Российской Федерации действует
ГОСТ Р 52381-2005 (ИСО 8486-1:1996, ИСО 6344-2:1998, ИСО 9138:1993, ИСО 9284:1992) "Материалы абразивные. Зернистость и зерновой состав шлифовальных порошков. Контроль зернового состава".
<**> На территории Российской Федерации действует
ГОСТ Р 53922-2010 (ИСО 6106:2005) "Порошки алмазные и из кубического нитрида бора (эльбора). Зернистость и зерновой состав шлифпорошков. Контроль зернового состава".
4.6 Твердость брусков и сегментов - ВМ1-ВТ - по ГОСТ 18118 <*>, ГОСТ 19202 <*>.
--------------------------------
<*> На территории Российской Федерации действует
ГОСТ Р 52587-2006 "Инструмент абразивный. Обозначения и методы измерения твердости".
4.7 Твердость слоя из кубического нитрида бора должна соответствовать значениям, указанным в таблице 19.
Таблица 19
Обозначение твердости | Показание прибора для зернистостей |
125/100, 100/80 | 80/63, 63/50 | 50/40 - 14/10 |
М1 | - | От 4 до 17 | От 30 до 40 |
М2 | Св. 17 до 29 | Св. 40 до 50 |
М3 | От 8 до 22 | Св. 29 до 40 | Св. 50 до 60 |
СМ1 | Св. 22 до 35 | Св. 40 до 50 | Св. 60 до 68 |
СМ2 | Св. 35 до 48 | Св. 50 до 59 | Св. 68 до 76 |
С1 | Св. 48 до 57 | Св. 59 до 68 | Св. 76 до 82 |
С2 | Св. 57 до 66 | Св. 68 до 76 | Св. 82 до 88 |
СТ1 | Св. 66 до 74 | Св. 76 до 82 | Св. 88 до 93 |
СТ2 | Св. 74 до 81 | Св. 82 до 89 | Св. 93 до 98 |
СТ3 | Св. 81 до 88 | Св. 89 до 94 | Св. 98 до 103 |
Т1 | Св. 88 до 93 | Св. 94 до 99 | Св. 103 до 106 |
Т2 | Св. 93 до 98 | Св. 99 до 104 | Св. 106 до 109 |
4.8 Звуковые индексы брусков и сегментов из материалов A и C - от 31 до 37 по ГОСТ 25961 <**>.
--------------------------------
<**> На территории Российской Федерации действует
ГОСТ Р 52710-2007 "Инструмент абразивный. Акустический метод определения твердости и звуковых индексов по скорости распространения акустических волн".
4.9 Бруски из материала B изготовляют с относительной концентрацией кубического нитрида бора 100.
Примечание - По согласованию с потребителем допускается изготовление брусков с другой относительной концентрацией кубического нитрида бора.
4.10 Точность изготовления брусков должна соответствовать нормам, указанным в таблице 20.
Таблица 20
В миллиметрах
Наименование параметра | Предельное отклонение, допуск для брусков типов |
5410, 5411 | 5410-1, 5410-2, 5411-1, 5430 | 9010, 9011 | 9020 | 9030, 9040 |
Ширина B, высота C: | | | | | |
От 2 до 6 включ. | | +/- 0,2 | +/- 0,4 | | - |
Св. 6 " 10 " | | +/- 0,2 | +/- 0,5 | |
" 10 " 18 " | | +/- 0,3 | +/- 0,6 | +/- 0,9 |
" 18 " 30 " | | +/- 0,4 | +/- 0,7 | +/- 1,1 |
" 30 | | +/- 0,5 | +/- 0,8 | +/- 1,3 |
Длина L: | |
до 100 включ. | +/- 2 |
св. 100 | +/- 3 |
Диаметр D: | | |
от 6 до 16 включ. | - | +/- 0,5 |
Св. 16 | +/- 1,0 |
Параллельность, вогнутость, выпуклость плоских поверхностей или образующей цилиндрических поверхностей в зависимости от длины L: | | |
до 50 включ. | 0,2 | 0,3 |
Св. 50 " 100 " | 0,3 | 0,5 |
" 100 " 180 " | 0,4 | 0,7 |
" 180 | 0,5 | 0,9 |
--------------------------------
<***> По заказу потребителя.
<*4> Для брусков из материала B.
4.11 Точность изготовления сегментов должна соответствовать нормам, указанным в таблице 21.
Таблица 21
В миллиметрах
Наименование параметра | Предельное отклонение, допуск |
Ширина B, A, высота C: | |
до 10 | +/- 0,8 |
св. 10 до 30 включ. | +/- 1,1 |
" 30 " 50 " | +/- 1,3 |
" 50 " 80 " | +/- 1,5 |
" 80 " 120 " | +/- 1,8 |
" 120 " 180 " | +/- 2,0 |
" 180 " 250 " | +/- 2,3 |
" 250 " 315 " | +/- 2,6 |
" 315 | +/- 2,9 |
Длина L: | |
до 100 включ. | +/- 2,0 |
св. 100 | +/- 3,0 |
Допуск параллельности, вогнутость и выпуклость плоских поверхностей или образующей цилиндрических поверхностей | Не более 1 |
Допуск круглости и профиля продольного сечения сегментов типа 3120 | Не более предельного отклонения диаметра |
4.12 Внешний вид брусков и сегментов.
Не допускаются:
- трещины, повреждения, а также инородные включения для машинных брусков;
- трещины, а также повреждения размерами более 2 мм, инородные включения размерами более 1,5 мм для ручных брусков и сегментов;
- радиусы закругления кромок или размеры фасок сегментов более 2 мм.
4.13 Требования надежности
Надежностью брусков и сегментов могут быть шероховатость обработанной поверхности или коэффициент шлифования (отношение массы снятого материала к значению износа бруска или сегмента).
4.14.1 На поверхности брусков с шириной грани или диаметром не менее 25 мм и длиной не менее 50 мм и сегментов должны быть четко нанесены:
- товарный знак предприятия-изготовителя;
- размеры;
- марка шлифовального материала (дополнительно B - для брусков из кубического нитрида бора);
- зернистость (на комбинированных брусках маркируют каждую зернистость);
- степень твердости;
- обозначение связки.
Примечание - По согласованию с потребителем допускается наносить маркировку на этикетку, наклеенную на брусок или сегмент.
4.14.2 Маркировку со сведениями по
4.14.1 брусков с шириной грани или диаметром менее 25 мм и длиной менее 50 мм, сегментов зернистостями 12 и мельче, а также сегментов типов 3110, 3120 наносят на групповую потребительскую тару.
4.15 Упаковка
4.15.1 Бруски и сегменты упаковывают в групповую потребительскую тару. В качестве групповой потребительской тары используют коробки, пакеты или другие виды тары, предохраняющие бруски и сегменты от повреждений.
4.15.2 Сегменты типов 3105, 3130 упаковывают без потребительской тары в транспортную тару.
4.15.3 В групповую потребительскую тару упаковывают бруски или сегменты одного размера, одной характеристики и одной партии.
4.15.4 Допускается каждый брусок типов 5410, 5410-1, 5410-2, 5411, 5411-1, 9010, 9011 шириной не менее 15 мм, длиной не менее 70 мм упаковывать в индивидуальную потребительскую тару, предохраняющую бруски от повреждений.
4.15.5 На групповую или индивидуальную потребительскую тару наклеивают этикетку со сведениями:
- товарный знак и наименование предприятия-изготовителя;
- страна-изготовитель, юридический адрес;
- условное обозначение;
- номер партии, дата выпуска (месяц, год);
- штамп технического контроля;
- число брусков или сегментов.
4.15.6 Бруски и сегменты в групповой или индивидуальной таре плотно укладывают в транспортную тару. При укладке в транспортную тару должны быть приняты меры, предохраняющие бруски и сегменты от атмосферных осадков, а также исключающие их перемещение и повреждение.
В качестве транспортной тары используют деревянные ящики, поддоны (европоддоны) или специальные поддоны.
4.15.7 Масса брутто транспортной тары с брусками или сегментами не должна превышать 60 кг.
Примечание - Масса брутто транспортной тары, поддона с брусками или сегментами при загрузке или выгрузке электропогрузчиком (транспортной тележкой-подъемником) не должна превышать 1 т.
5.1 Для контроля соответствия брусков и сегментов требованиям настоящего стандарта предприятие-изготовитель проводит приемочный контроль по
ГОСТ 15.309.
5.2 Объем выборки при приемочном контроле должен составлять:
6.1 Контроль размеров брусков и сегментов проводят с применением универсальных средств измерений.
6.2 Размеры для справок обеспечиваются оснасткой и не контролируют.
6.3 Контроль по
4.12 брусков и сегментов из материалов A и C проводят визуально; брусков из материала B - с помощью лупы с увеличением 2
x.
6.4 Контроль по
4.14 проводят визуально.
6.5 Контроль твердости
6.5.1 Контроль твердости брусков и сегментов из материалов A и C - по ГОСТ 18118, ГОСТ 19202.
6.5.2 Контроль твердости брусков из материала B
6.5.2.1 Твердость слоя из кубического нитрида бора определяют вдавливанием шарика диаметром 3 мм степеней точности от 3 до 40 по
ГОСТ 3722 на приборе типа ТР (Роквелл) по
ГОСТ 23677 с предварительной нагрузкой 98 Н и основной нагрузкой 588 Н.
6.5.2.2 Погрешность отсчета - +/- 1,0 ед. шкалы.
6.5.2.3 Ширина поверхности слоя из кубического нитрида бора должна быть не менее 5 мм, высота - не менее 3 мм.
6.5.2.4 Для определения твердости проводят не менее трех измерений в различных максимально удаленных друг от друга точках по среднеарифметическому значению отсчета по шкале B индикатора прибора.
6.5.2.5 Отклонение значения любого измерения твердости не должно превышать 5% граничных значений интервала замаркированной твердости.
Среднеарифметическое значение отсчета по шкале B индикатора прибора должно находиться в интервале значений замаркированной твердости.
6.6 Контроль звуковых индексов - по ГОСТ 25961.
7. Транспортирование и хранение
7.2 Гарантийный срок хранения брусков и сегментов с момента изготовления на связке V не ограничен, на связке B - 6 мес.
Изготовитель должен гарантировать соответствие брусков и сегментов требованиям настоящего стандарта при соблюдении условий эксплуатации, транспортирования и хранения.