Главная // Актуальные документы // ГОСТ (Государственный стандарт)СПРАВКА
Источник публикации
М.: Стандартинформ, 2019
Примечание к документу
Отдельные положения данного документа включены в
Перечень документов по стандартизации, обязательное применение которых обеспечивает безопасность дорожного движения при его организации на территории Российской Федерации (
Распоряжение Правительства РФ от 04.11.2017 N 2438-р).
Документ включен в
Перечень стандартов, в результате применения которых на добровольной основе обеспечивается соблюдение требований технического
регламента Таможенного союза "Безопасность автомобильных дорог" (ТР ТС 014/2011) (
Решение Коллегии Евразийской экономической комиссии от 18.09.2012 N 159).
Документ
введен в действие с 01.12.2015.
Название документа
"ГОСТ 32758-2014. Межгосударственный стандарт. Дороги автомобильные общего пользования. Временные технические средства организации дорожного движения. Технические требования и правила применения"
(введен в действие Приказом Росстандарта от 21.07.2015 N 915-ст)
"ГОСТ 32758-2014. Межгосударственный стандарт. Дороги автомобильные общего пользования. Временные технические средства организации дорожного движения. Технические требования и правила применения"
(введен в действие Приказом Росстандарта от 21.07.2015 N 915-ст)
Введен в действие
агентства по техническому
регулированию и метрологии
от 21 июля 2015 г. N 915-ст
МЕЖГОСУДАРСТВЕННЫЙ СТАНДАРТ
ДОРОГИ АВТОМОБИЛЬНЫЕ ОБЩЕГО ПОЛЬЗОВАНИЯ
ВРЕМЕННЫЕ ТЕХНИЧЕСКИЕ СРЕДСТВА
ОРГАНИЗАЦИИ ДОРОЖНОГО ДВИЖЕНИЯ
ТЕХНИЧЕСКИЕ ТРЕБОВАНИЯ И ПРАВИЛА ПРИМЕНЕНИЯ
Automobile roads of general use.
Temporary traffic control devices.
Technical requirements and rules of application
ГОСТ 32758-2014
Дата введения
1 декабря 2015 года
Цели, основные принципы и общие правила проведения работ по межгосударственной стандартизации установлены
ГОСТ 1.0 "Межгосударственная система стандартизации. Основные положения" и
ГОСТ 1.2 "Межгосударственная система стандартизации. Стандарты межгосударственные, правила, рекомендации по межгосударственной стандартизации. Правила разработки, принятия, обновления и отмены"
1 РАЗРАБОТАН Обществом с ограниченной ответственностью "Центром инженерно-технических исследований "Дорконтроль" (ООО ЦИТИ "Дорконтроль")
2 ВНЕСЕН Межгосударственным техническим комитетом по стандартизации МТК 418 "Дорожное хозяйство"
3 ПРИНЯТ Межгосударственным советом по стандартизации, метрологии и сертификации (протокол от 25 июня 2014 г. N 45)
За принятие проголосовали:
Краткое наименование страны по МК (ИСО 3166) 004-97 | Код страны по МК (ИСО 3166) 004-97 | Сокращенное наименование национального органа по стандартизации |
Армения | AM | Минэкономики Республики Армения |
Беларусь | BY | Госстандарт Республики Беларусь |
Казахстан | KZ | Госстандарт Республики Казахстан |
Киргизия | KG | Кыргызстандарт |
Россия | RU | Росстандарт |
Таджикистан | TJ | Таджикстандарт |
4
Приказом Федерального агентства по техническому регулированию и метрологии от 21 июля 2015 г. N 915-ст межгосударственный стандарт ГОСТ 32758-2014 введен в действие в качестве национального стандарта Российской Федерации с 1 декабря 2015 г.
5 ВВЕДЕН ВПЕРВЫЕ
6 ПЕРЕИЗДАНИЕ. Сентябрь 2019 г.
Информация о введении в действие (прекращении действия) настоящего стандарта и изменений к нему на территории указанных выше государств публикуется в указателях национальных стандартов, издаваемых в этих государствах, а также в сети Интернет на сайтах соответствующих национальных органов по стандартизации.
В случае пересмотра, изменения или отмены настоящего стандарта соответствующая информация будет опубликована на официальном интернет-сайте Межгосударственного совета по стандартизации, метрологии и сертификации в каталоге "Межгосударственные стандарты"
Настоящий стандарт распространяется на технические средства организации дорожного движения, применяемые на временной основе на автомобильных дорогах общего пользования, устанавливает технические требования к ним и правила их применения.
В настоящем стандарте использованы нормативные ссылки на следующие межгосударственные стандарты:
ГОСТ 166 (ИСО 3599-76) Штангенциркули. Технические условия
ГОСТ 427 Линейки измерительные металлические. Технические условия
ГОСТ 7502 Рулетки измерительные металлические. Технические условия
ГОСТ 11358 Толщиномеры и стенкомеры индикаторные с ценой деления 0,01 и 0,1 мм. Технические условия
ГОСТ 15150 Машины, приборы и другие технические изделия. Исполнения для различных климатических районов. Категории, условия эксплуатации, хранения и транспортирования в части воздействия климатических факторов внешней среды
ГОСТ 16338 Полиэтилен низкого давления. Технические условия
ГОСТ 26433.1 Система обеспечения точности геометрических параметров в строительстве. Правила выполнения измерений. Элементы заводского изготовления
ГОСТ 30412 <1> Дороги автомобильные и аэродромы. Методы измерений неровностей оснований и покрытий
--------------------------------
ГОСТ 32757 Дороги автомобильные общего пользования. Временные технические средства организации дорожного движения. Классификация
ГОСТ 32759 Дороги автомобильные общего пользования. Дорожные тумбы. Технические требования
ГОСТ 32760 Дороги автомобильные общего пользования. Дорожные тумбы. Методы контроля
ГОСТ 32839 Дороги автомобильные общего пользования. Световозвращатели дорожные. Методы контроля
ГОСТ 32866 Дороги автомобильные общего пользования. Световозвращатели дорожные. Технические требования
ГОСТ 32945 Дороги автомобильные общего пользования. Знаки дорожные. Технические требования
ГОСТ 32946 Дороги автомобильные общего пользования. Знаки дорожные. Методы контроля
ГОСТ 32952 Дороги автомобильные общего пользования. Разметка дорожная. Методы контроля
ГОСТ 32953 Дороги автомобильные общего пользования. Разметка дорожная. Технические требования
ГОСТ 33128 Дороги автомобильные общего пользования. Ограждения дорожные. Технические требования
ГОСТ 33129 Дороги автомобильные общего пользования. Ограждения дорожные. Методы контроля
ГОСТ 33151-2014 Дороги автомобильные общего пользования. Элементы обустройства. Технические требования. Правила применения
ГОСТ 33385 Дороги автомобильные общего пользования. Дорожные светофоры. Технические требования
ГОСТ 33386 Дороги автомобильные общего пользования. Дорожные светофоры. Методы контроля
Примечание - При пользовании настоящим стандартом целесообразно проверить действие ссылочных стандартов и классификаторов на официальном интернет-сайте Межгосударственного совета по стандартизации, метрологии и сертификации (www.easc.by) или по указателям национальных стандартов, издаваемым в государствах, указанных в предисловии, или на официальных сайтах соответствующих национальных органов по стандартизации. Если на документ дана недатированная ссылка, то следует использовать документ, действующий на текущий момент, с учетом всех внесенных в него изменений. Если заменен ссылочный документ, на который дана датированная ссылка, то следует использовать указанную версию этого документа. Если после принятия настоящего стандарта в ссылочный документ, на который дана датированная ссылка, внесено изменение, затрагивающее положение, на которое дана ссылка, то это положение применяется без учета данного изменения. Если ссылочный документ отменен без замены, то положение, в котором дана ссылка на него, применяется в части, не затрагивающей эту ссылку.
В настоящем стандарте применяют термины в соответствии с
ГОСТ 32757.
4.1 Технические требования к временным дорожным знакам и сигналам
4.1.1 Временные дорожные знаки должны соответствовать требованиям
ГОСТ 32945.
4.1.2 Технические требования к временной дорожной разметке
Временная дорожная разметка должна соответствовать требованиям
ГОСТ 32953.
4.1.3 Технические требования к временным дорожным светофорам
Временные дорожные светофоры должны соответствовать требованиям
ГОСТ 33385.
4.1.4 Технические требования к сигнальным фонарям
| | Применение на обязательной основе п. 4.1.4.1 обеспечивает безопасность дорожного движения при его организации на территории Российской Федерации (Распоряжение Правительства РФ от 04.11.2017 N 2438-р). | |
4.1.4.1 Требования к конструкции сигнальных фонарей
Рассеиватели подвесных сигнальных фонарей должны иметь следующие размеры:
- длину - от 120 до 250 мм;
- ширину (диаметр для рассеивателей цилиндрической или сферичной формы) - от 120 до 250 мм.
Рассеиватели вставных сигнальных фонарей должны иметь следующие размеры:
- длину - от 120 до 150 мм;
- ширину (диаметр для рассеивателей цилиндрической или сферичной формы) - от 75 до 90 мм.
Рассеиватели сигнальных фонарей, монтируемых на комплексы временных технических средств организации дорожного движения и дорожные машины, должны иметь диаметр от 150 до 250 мм.
Примеры схем сигнальных фонарей приведены на рисунке 1.
Рисунок 1 - Примеры схем сигнальных фонарей
| | Применение на обязательной основе п. 4.1.4.2 обеспечивает безопасность дорожного движения при его организации на территории Российской Федерации (Распоряжение Правительства РФ от 04.11.2017 N 2438-р). | |
4.1.4.2 Диаметр вставной части вставных сигнальных фонарей должен составлять (36 +/- 1) мм, длина вставной части вставных сигнальных фонарей должна составлять от 90 до 150 мм.
4.1.4.3 Масса сигнальных фонарей не должна превышать 0,5 кг.
4.1.4.4 Конструкция сигнальных фонарей должна обеспечивать:
- фиксированную установку резьбовых электропатронов, выдерживающих воздействие крутящего момента не менее 3 Н·м;
- легкий доступ к элементам сигнального фонаря, подлежащим чистке или замене, местам электрических соединений;
- плотность соединений рассеивателя с корпусом для предотвращения попадания влаги вовнутрь сигнального фонаря при воздействии дождя интенсивностью 5 мм/мин;
- мигающий режим работы с частотой (0,5 +/- 0,1) Гц для вставных сигнальных фонарей и сигнальных фонарей, монтируемых на комплексы временных технических средств организации дорожного движения.
4.1.4.5 Все детали и сборочные единицы сигнальных фонарей должны быть изготовлены из антикоррозионных материалов или иметь защитное покрытие.
4.1.4.6 Электротехнические требования к сигнальным фонарям.
Электротехнические параметры сигнальных фонарей должны соответствовать требованиям для дорожных знаков с внутренним освещением по
ГОСТ 32945.
| | Применение на обязательной основе п. 4.1.4.7 обеспечивает безопасность дорожного движения при его организации на территории Российской Федерации (Распоряжение Правительства РФ от 04.11.2017 N 2438-р). | |
4.1.4.7 Колориметрические требования к сигнальным фонарям.
Устанавливаются два цвета свечения сигнальных фонарей - красный и желтый. Красный цвет устанавливается для подвесных и вставных сигнальных фонарей, желтый - для сигнальных фонарей, монтируемых на комплексы временных технических средств организации дорожного движения. Координаты цветности и коэффициент яркости сигнальных фонарей должны соответствовать требованиям для дорожных знаков с внутренним освещением по
ГОСТ 32945.
4.1.4.8 Сигнальные фонари должны обладать прочностью при падении. После падения сигнального фонаря при испытании в соответствии с
4.9.4.5 он должен оставаться работоспособным, а на его корпусе должны отсутствовать разрушения и деформации.
4.2 Технические требования к временным дорожным ограждающим устройствам
4.2.1 Технические требования к временным дорожным барьерам
| | Применение на обязательной основе п. 4.2.1.1 обеспечивает безопасность дорожного движения при его организации на территории Российской Федерации (Распоряжение Правительства РФ от 04.11.2017 N 2438-р). | |
4.2.1.1 Размеры временных дорожных барьеров (см.
рисунок 2) должны составлять:
- длина - от 1200 до 2000 мм;
- ширина основания - от 500 до 550 мм;
- высота - от не менее 500 мм.
L - длина временного дорожного барьера,
B - ширина основания временного дорожного барьера,
H - высота временного дорожного барьера
Рисунок 2 - Схема временного дорожного барьера
| | Применение на обязательной основе п. п. 4.2.1.2, 4.2.1.3 обеспечивает безопасность дорожного движения при его организации на территории Российской Федерации (Распоряжение Правительства РФ от 04.11.2017 N 2438-р). | |
4.2.1.2 Масса временных дорожных барьеров (без демпфирующих материалов) должна находиться в пределах от 8 до 16 кг.
4.2.1.3 Временные дорожные барьеры изготавливаются из полиэтилена низкого давления по
ГОСТ 16338, окрашенного в массе. Допускается применение для изготовления временных дорожных барьеров, соответствующих требованиям настоящего стандарта, других материалов, окрашенных в массе, не нуждающихся в антикоррозийной защите.
| | Применение на обязательной основе п. п. 4.2.1.4 - 4.2.1.6 обеспечивает безопасность дорожного движения при его организации на территории Российской Федерации (Распоряжение Правительства РФ от 04.11.2017 N 2438-р). | |
4.2.1.4 Конструкция временных дорожных барьеров должна обеспечивать:
- сохранность временных дорожных барьеров при проведении работ по их содержанию (мойке);
- возможность заполнения временных дорожных барьеров демпфирующими материалами и освобождения временных дорожных барьеров от демпфирующих материалов;
- возможность соединения временных дорожных барьеров друг с другом с углом соединения до 15° в плане;
- возможность установки во временные дорожные барьеры вставных сигнальных фонарей (в количестве одного или двух в каждый временный дорожный барьер).
4.2.1.5 Колориметрические требования к временным дорожным барьерам.
Устанавливаются два цвета временных дорожных барьеров - красный и белый. Координаты цветности и коэффициент яркости временных дорожных барьеров должны соответствовать требованиям для дорожных знаков с внутренним и внешним освещением по
ГОСТ 32945.
4.2.1.6 Временные дорожные барьеры должны обладать стойкостью к динамической нагрузке (стойкость к удару) по классу ДТ1 по
ГОСТ 32759.
4.2.1.7 Для повышения видимости временных дорожных барьеров в темное время суток допускается наличие на них дорожных световозвращателей по
ГОСТ 32866.
| | Применение на обязательной основе п. 4.2.1.8 обеспечивает безопасность дорожного движения при его организации на территории Российской Федерации (Распоряжение Правительства РФ от 04.11.2017 N 2438-р). | |
4.2.1.8 Временные дорожные барьеры должны обладать устойчивостью к опрокидыванию при воздействии опрокидывающей нагрузки, равной (20 +/- 1) Н, при испытании в соответствии с
4.9.5.6.
4.2.2 Технические требования к временным дорожным щитам
| | Применение на обязательной основе п. 4.2.2.1 обеспечивает безопасность дорожного движения при его организации на территории Российской Федерации (Распоряжение Правительства РФ от 04.11.2017 N 2438-р). | |
4.2.2.1 Размеры временных дорожных щитов (см.
рисунок 3) должны составлять:
- длина - от 1200 до 2000 мм;
- ширина основания - от 250 до 500 мм;
- высота - от 600 до 800 мм.
L - длина временного дорожного щита,
B - ширина основания временного дорожного щита,
H - высота временного дорожного щита
Рисунок 3 - Схема временного дорожного щита
4.2.2.2 Масса временных дорожных щитов должна находиться в пределах от 8 до 18 кг.
| | Применение на обязательной основе п. 4.2.2.3 обеспечивает безопасность дорожного движения при его организации на территории Российской Федерации (Распоряжение Правительства РФ от 04.11.2017 N 2438-р). | |
4.2.2.3 Конструкция временных дорожных щитов должна обеспечивать:
- сохранность временных дорожных щитов при проведении работ по их содержанию (мойке);
- возможность соединения временных дорожных щитов друг с другом с углом соединения до 90° в плане;
- возможность установки во временные дорожные щиты вставных сигнальных фонарей (один или два в каждый временный дорожный щит).
Временные дорожные щиты изготавливаются из полиэтилена низкого давления по
ГОСТ 16338, окрашенного в массе. Допускается применение для изготовления временных дорожных щитов, соответствующих требованиям настоящего стандарта, других материалов, окрашенных в массе, не нуждающихся в антикоррозийной защите. Все детали и сборочные единицы временных дорожных щитов должны быть изготовлены из антикоррозионных материалов или иметь защитное покрытие.
| | Применение на обязательной основе п. 4.2.2.4 обеспечивает безопасность дорожного движения при его организации на территории Российской Федерации (Распоряжение Правительства РФ от 04.11.2017 N 2438-р). | |
4.2.2.4 Колориметрические требования к временным дорожным щитам
Устанавливаются два цвета временных дорожных щитов - красный и белый. Координаты цветности и коэффициент яркости временных дорожных щитов должны соответствовать требованиям для дорожных знаков с внутренним и внешним освещением по
ГОСТ 32945.
4.2.2.5 Временные дорожные щиты должны обладать прочностью при падении. При испытании в соответствии с
4.9.7.5, после падения на корпусе временного дорожного щита должны отсутствовать разрушения и деформации.
| | Применение на обязательной основе п. 4.2.2.6 обеспечивает безопасность дорожного движения при его организации на территории Российской Федерации (Распоряжение Правительства РФ от 04.11.2017 N 2438-р). | |
4.2.2.6 Временные дорожные щиты должны обладать устойчивостью к опрокидыванию при воздействии опрокидывающей нагрузки, равной (18 +/- 1) Н, при испытании в соответствии с
4.9.7.6.
| | Применение на обязательной основе п. 4.2.3 обеспечивает безопасность дорожного движения при его организации на территории Российской Федерации (Распоряжение Правительства РФ от 04.11.2017 N 2438-р). | |
4.2.3 Временные дорожные ограждения должны соответствовать требованиям
ГОСТ 33128.
4.3 Технические требования к временным дорожным направляющим устройствам
4.3.1 Технические требования к дорожным конусам
4.3.1.1 Дорожный конус состоит из тела конуса и опорной плиты, показанных на рисунке 4. Тело дорожного конуса представляет собой усеченный конус. Опорная плита должна иметь от 4 до 8 сторон или иметь форму круга.
H - высота конуса, h - толщина внешнего края опорной плиты,
S - ширина световозвращающей поверхности полосы белого
цвета, 1 - вершина тела дорожного конуса,
2 - световозвращающая поверхность, 3 - тело дорожного
конуса, 4 - опорная плита дорожного конуса
Рисунок 4 - Схема дорожного конуса
Угол между образующей тела конуса и вертикальной осью конуса должен быть (10,0 +/- 2,5)° для не менее чем 75% высоты дорожного конуса, начиная с его вершины.
Допустимые значения высоты и минимальной массы дорожных конусов приведены в таблице 1.
Таблица 1
Высота дорожных конусов, H, мм | Минимальная масса дорожного конуса, кг |
От 750 до 1000 | 3,20 |
От 500 до 749 | 1,30 |
От 300 до 499 | 1,10 |
| | Применение на обязательной основе п. п. 4.3.1.2, 4.3.1.3 обеспечивает безопасность дорожного движения при его организации на территории Российской Федерации (Распоряжение Правительства РФ от 04.11.2017 N 2438-р). | |
4.3.1.2 Высота двух вставленных друг в друга дорожных конусов одинакового размера не должна превышать 1,2 высоты одного дорожного конуса этого размера.
4.3.1.3 Внешний диаметр вершины тела дорожного конуса должен составлять (60 +/- 15) мм.
В плоскости вершины тела дорожного конуса должно присутствовать круглое отверстие диаметром (40 +/- 1) мм.
4.3.1.4 Если толщина внешнего края опорной плиты дорожного конуса
h (см.
рисунок 4) превышает 15 мм, ее проекция должна вписываться в круг диаметром 0,75 высоты дорожного конуса
H. Если толщина внешнего края опорной плиты дорожной конуса
h составляет 15 мм или менее, проекция опорной плиты должна вписываться в круг диаметром 0,9 высоты дорожного конуса
H.
| | Применение на обязательной основе п. 4.3.1.5 обеспечивает безопасность дорожного движения при его организации на территории Российской Федерации (Распоряжение Правительства РФ от 04.11.2017 N 2438-р). | |
4.3.1.5 Конструкция дорожных конусов должна обеспечивать:
- наличие не менее одной световозвращающей поверхности полос белого цвета шириной от 80 до 120 мм, выполненных с использованием световозвращающей пленки по
ГОСТ 32945, при этом остальная поверхность тела дорожного конуса может быть несветовозвращающей или световозвращающей, выполненной с использованием световозвращающей пленки по
ГОСТ 32945;
- неслипаемость и целостность световозвращающей поверхности (поверхностей) при складывании конусов в стопки;
- адгезию световозвращающей пленки к телу дорожного конуса;
- величину разрывов световозвращающей пленки не более 5 мм по вертикальной оси дорожного конуса и не более 2 мм - по горизонтальной, для каждой световозвращающей поверхности;
- возможность установки в дорожные конуса вставных сигнальных фонарей.
Количество световозвращающих поверхностей полос белого цвета на дорожных конусах должно соответствовать приведенным в таблице 2.
Таблица 2
Высота дорожных конусов, H, мм | Количество световозвращающих поверхностей полос белого цвета, штуки |
От 900 до 1000 | 4 |
От 750 до 899 | 3 или 4 |
От 500 до 749 | 3 |
От 450 до 499 | 2 |
От 300 до 449 | 1 |
| | Применение на обязательной основе п. п. 4.3.1.6 - 4.3.1.9 обеспечивает безопасность дорожного движения при его организации на территории Российской Федерации (Распоряжение Правительства РФ от 04.11.2017 N 2438-р). | |
4.3.1.6 Устанавливается белый цвет световозвращающей поверхности полос дорожных конусов. Требования к координатам цветности и коэффициенту яркости световозвращающих поверхностей полос дорожных конусов должны соответствовать требованиям для дорожных знаков со световозвращающей поверхностью по
ГОСТ 32945.
4.3.1.7 Устанавливается красный и оранжевый цвета для тела (за исключением световозвращающих поверхностей полос белого цвета) и опорной плиты дорожных конусов. Значения координат цветности и коэффициента яркости несветовозвращающей поверхности тела и опорной плиты дорожных конусов должны соответствовать требованиям для дорожных знаков с внутренним и внешним освещением по
ГОСТ 32945. Значения координат цветности, коэффициента яркости и удельного коэффициента световозвращения световозвращающей поверхности тела должны соответствовать требованиям для дорожных знаков со световозвращающей поверхностью по
ГОСТ 32945.
4.3.1.8 Значения удельного коэффициента световозвращения световозвращающих поверхностей полос дорожных конусов в сухом состоянии должны соответствовать требованиям для дорожных знаков со световозвращающей поверхностью по
ГОСТ 32945.
4.3.1.9 Дорожные конусы должны обладать устойчивостью к опрокидыванию в соответствии с таблицей 3 при испытании по
4.9.9.4.
Высота дорожных конусов, (H), мм | Класс дорожного конуса по массе |
Классы W1 и W2 | Класс W3 |
Величина опрокидывающей нагрузки, Н |
От 900 до 1000 | 13 | 13 |
От 750 до 899 | 7,4 | 9,3 |
От 500 до 749 | 6 | 7 |
От 450 до 499 | 5 | 6 |
От 300 до 449 | 5 | 6 |
4.3.1.10 Дорожные конусы должны обладать прочностью при падении. При испытании по
4.9.9.5, после падения на корпусе дорожного конуса должны отсутствовать разрушения и деформации.
| | Применение на обязательной основе п. 4.3.1.11 обеспечивает безопасность дорожного движения при его организации на территории Российской Федерации (Распоряжение Правительства РФ от 04.11.2017 N 2438-р). | |
4.3.1.11 Дорожные конусы должны обладать прочностью при отрицательной температуре. После испытания по
4.9.9.6 на корпусе дорожного конуса должны отсутствовать разрушения и деформации, а значения удельного коэффициента световозвращения световозвращающей поверхности в сухом состоянии должны составлять не менее 80% от значений этого параметра до проведения испытаний.
4.3.2 Технические требования к дорожным пластинам
4.3.2.1 Дорожная пластина состоит из тела дорожной пластины и опорной плиты (рисунок 5).
1 - тело дорожной пластины, 2 - опорная плита
Рисунок 5 - Схема дорожной пластины
Опорная плита должна иметь от 4 до 8 сторон или иметь форму круга.
| | Применение на обязательной основе п. 4.3.2.2 обеспечивает безопасность дорожного движения при его организации на территории Российской Федерации (Распоряжение Правительства РФ от 04.11.2017 N 2438-р). | |
4.3.2.2 Допустимые значения геометрических параметров и минимальная масса дорожных пластин приведены в таблице 4.
Таблица 4
Геометрические размеры дорожных пластин, мм | Минимальная масса дорожной пластины, кг |
Высота дорожной пластины | Высота тела дорожной пластины | Диаметр, в который должна быть вписана проекция опорной плиты дорожной пластины в плане | Ширина тела дорожной пластины |
Менее 1100 | Не менее 1000 | От 275 до 300 включительно | От 200 до 225 включительно | 7 |
От 1100 до 1250 включительно | От 301 до 400 включительно | От 226 до 250 включительно | 9 |
| | Применение на обязательной основе п. п. 4.3.2.3 - 4.3.2.7 обеспечивает безопасность дорожного движения при его организации на территории Российской Федерации (Распоряжение Правительства РФ от 04.11.2017 N 2438-р). | |
4.3.2.3 Конструкция дорожных пластин должна обеспечивать:
- адгезию световозвращающей пленки к телу дорожной пластины;
- величину разрывов световозвращающей пленки не более 2 мм;
- наличие вертикальной дорожной разметки в соответствии с
ГОСТ 32953.
4.3.2.4 Устанавливаются белый и красный цвета световозвращающей поверхности дорожных пластин. Требования к координатам цветности и коэффициенту яркости световозвращающих поверхностей дорожных пластин должны соответствовать требованиям для дорожных знаков со световозвращающей поверхностью по
ГОСТ 32945.
4.3.2.5 Цвет поверхности тела (за исключением световозвращающей поверхности) дорожных пластин не устанавливается. Требования к координатам цветности и коэффициенту яркости поверхности тела дорожных пластин не устанавливаются.
4.3.2.6 Устанавливается красный, белый и черный цвета поверхности опорной плиты дорожных пластин. Требования к координатам цветности и коэффициенту яркости поверхности опорной плиты дорожных пластин не устанавливаются.
4.3.2.7 Значения удельного коэффициента световозвращения световозвращающих поверхностей дорожных пластин в сухом состоянии должны соответствовать требованиям для дорожных знаков со световозвращающей поверхностью по
ГОСТ 32945.
| | Применение на обязательной основе п. 4.3.2.8 обеспечивает безопасность дорожного движения при его организации на территории Российской Федерации (Распоряжение Правительства РФ от 04.11.2017 N 2438-р). | |
4.3.2.8 Дорожные пластины должны обладать устойчивостью к опрокидыванию в соответствии с таблицей 5 при испытании по
4.9.10.4.
Таблица 5
Высота дорожной пластины, мм | Величина опрокидывающей нагрузки, Н |
Менее 1100 | 13 |
От 1100 до 1250 включительно | 15 |
4.3.2.9 Дорожные пластины должны обладать прочностью при падении. При испытании в соответствии с
4.9.10.5, после падения на корпусе дорожной пластины должны отсутствовать разрушения и деформации.
| | Применение на обязательной основе п. 4.3.2.10 обеспечивает безопасность дорожного движения при его организации на территории Российской Федерации (Распоряжение Правительства РФ от 04.11.2017 N 2438-р). | |
4.3.2.10 Дорожные пластины должны обладать прочностью при отрицательной температуре. После испытания по
4.9.10.6 на корпусе дорожной пластины должны отсутствовать разрушения и деформации, а значения удельного коэффициента световозвращения световозвращающей поверхности в сухом состоянии должны составлять не менее 80% значений этого параметра до проведения испытаний.
4.3.3 Технические требования к дорожным сигнальным вехам
4.3.3.1 Дорожная сигнальная веха состоит из корпуса (с сечением в виде квадрата или круга), а также может иметь элементы монтажа - металлические опоры или подставки (см. рисунок 6). Металлическая опора может быть выполнена в виде изогнутого металлического стержня для установки стержневой вехи в грунт или металлической пластины для крепления к металлическому ограждению по
ГОСТ 33128, дорожным сепараторам (делиниаторам) или другим элементам обустройства автомобильных дорог по ГОСТ 33151-2014
(рисунок 6). Подставка должна иметь от 4 до 8 сторон и предназначается для крепления дорожной сигнальной вехи при ее применении на усовершенствованных покрытиях, с обеспечением требований настоящего стандарта.
1 - корпус дорожной сигнальной вехи; 2 - элемент монтажа
дорожной сигнальной вехи; H - высота (в соответствии
с
таблицей 6);
h - длина световозвращающих элементов
Рисунок 6 - Схема дорожной сигнальной вехи
| | Применение на обязательной основе п. 4.3.3.2 обеспечивает безопасность дорожного движения при его организации на территории Российской Федерации (Распоряжение Правительства РФ от 04.11.2017 N 2438-р). | |
4.3.3.2 Допустимые значения геометрических параметров корпусов дорожных сигнальных вех, количество и длина световозвращающих элементов приведены в таблице 6.
Геометрические размеры корпусов дорожных сигнальных вех, мм | Количество световозвращающих поверхностей, штук | Длина световозвращающих элементов, h, мм |
Высота, H | Диаметр или сторона сечения в виде квадрата |
От 1200 до 1500 включительно | 25 - 50 | 1 - 2 | 100 +/- 2 |
2000 +/- 10 | 1 - 2 | 100 +/- 2 |
От 2200 до 2500 включительно | 2 - 3 | 100 +/- 2 |
4.3.3.3 Конструкция дорожных сигнальных вех должна обеспечивать:
- наличие световозвращающих поверхностей
(рисунок 6), выполненных с использованием световозвращающей пленки по
ГОСТ 32945;
- адгезию световозвращающей пленки к корпусу дорожной сигнальной вехи;
- отсутствие разрывов световозвращающей пленки по вертикальной оси дорожных сигнальных вех, наличие разрывов световозвращающей пленки не более 2 мм - по горизонтальной оси.
| | Применение на обязательной основе п. п. 4.3.3.4 - 4.3.3.7 обеспечивает безопасность дорожного движения при его организации на территории Российской Федерации (Распоряжение Правительства РФ от 04.11.2017 N 2438-р). | |
4.3.3.4 Устанавливается красный цвет световозвращающей поверхности дорожных сигнальных вех. Требования к координатам цветности и коэффициенту яркости световозвращающих поверхностей дорожных сигнальных вех должны соответствовать требованиям для дорожных знаков со световозвращающей поверхностью по
ГОСТ 32945.
4.3.3.5 Устанавливаются красный и белый цвета поверхности корпуса (за исключением световозвращающей поверхности) дорожных сигнальных вех. Требования к координатам цветности и коэффициенту яркости поверхности корпуса (за исключением световозвращающих поверхностей) дорожных сигнальных вех должны соответствовать требованиям для дорожных знаков с внутренним и внешним освещением по
ГОСТ 32945.
4.3.3.6 Устанавливается серый цвет поверхности элементов монтажа дорожных сигнальных вех. Устанавливаются серый и черный цвета поверхности подставки дорожных сигнальных вех. Требования к координатам цветности и коэффициенту яркости поверхности элементов крепежа и подставки дорожных сигнальных вех не устанавливаются.
4.3.3.7 Значения удельного коэффициента световозвращения световозвращающих поверхностей дорожных сигнальных вех в сухом состоянии должны соответствовать требованиям для дорожных знаков со световозвращающей поверхностью по
ГОСТ 32945.
| | Применение на обязательной основе п. 4.3.3.8 обеспечивает безопасность дорожного движения при его организации на территории Российской Федерации (Распоряжение Правительства РФ от 04.11.2017 N 2438-р). | |
4.3.3.8 Дорожные сигнальные вехи должны обладать устойчивостью к опрокидыванию в соответствии с таблицей 7 при испытании по
4.9.11.3.
Таблица 7
Высота (H) дорожной сигнальной вехи, мм | Величина опрокидывающей нагрузки, Н |
1500 и менее | 7 |
2000 и более | 9 |
4.3.3.9 Дорожные сигнальные вехи должны обладать прочностью при падении. При испытании по
4.9.11.4 после падения на корпусе дорожной сигнальной вехи должны отсутствовать разрушения и деформации.
4.3.3.10 Дорожные сигнальные вехи должны обладать прямолинейностью в соответствии с таблицей 8.
Таблица 8
Высота (H) дорожной сигнальной вехи, мм | Отклонение от прямолинейности, мм не более |
1500 и менее | 40 |
2000 и более | 50 |
4.3.4 Технические требования к временным дорожным тумбам
Временные дорожные тумбы должны соответствовать требованиям
ГОСТ 32759 для дорожных тумб, предназначенных для использования в качестве временных технических средств организации дорожного движения.
4.3.5 Технические требования к дорожным сепараторам (делиниаторам)
| | Применение на обязательной основе п. 4.3.5.1 обеспечивает безопасность дорожного движения при его организации на территории Российской Федерации (Распоряжение Правительства РФ от 04.11.2017 N 2438-р). | |
4.3.5.1 Размеры дорожных сепараторов (делиниаторов) должны составлять (см.
рисунок 7):
- длина - от 500 до 1000 мм;
- ширина основания - от 200 до 250 мм;
- высота - от 90 до 100 мм.
L - длина дорожного сепаратора (делиниатора),
B - ширина основания дорожного сепаратора (делиниатора),
H - высота дорожного сепаратора (делиниатора)
Рисунок 7 - Схема дорожного сепаратора (делиниатора)
4.3.5.2 Масса дорожных сепараторов (делиниаторов) должна находиться в пределах от 8 до 19 кг.
4.3.5.3 Конструкция дорожных сепараторов (делиниаторов) должна обеспечивать:
- возможность крепления дорожных сепараторов (делиниаторов) к покрытию;
- возможность соединения дорожных сепараторов (делиниаторов) друг с другом;
- возможность установки в дорожные сепараторы (делиниаторы) дорожных сигнальных вех (в количестве одной или двух в каждый дорожный сепаратор (делиниатор));
- прочность, аналогичную прочности дорожных световозвращателей в соответствии с
ГОСТ 32866.
| | Применение на обязательной основе п. п. 4.3.5.4, 4.3.5.5 обеспечивает безопасность дорожного движения при его организации на территории Российской Федерации (Распоряжение Правительства РФ от 04.11.2017 N 2438-р). | |
4.3.5.4 Колориметрические требования к дорожным сепараторам (делиниаторам).
Устанавливаются два цвета дорожных сепараторов (делиниаторов) - желтый и оранжевый. Координаты цветности и коэффициент яркости дорожных сепараторов (делиниаторов) должны соответствовать требованиям для дорожной разметки по
ГОСТ 32953.
4.3.5.5 Для повышения видимости дорожных сепараторов (делиниаторов) в темное время суток допускается наличие дорожных световозвращающих элементов по
ГОСТ 32866.
4.4 Технические требования к дорожным оградительным лентам
4.4.1 Дорожные оградительные ленты изготавливаются из полиэтилена и поставляются в рулонах. Дорожные оградительные ленты должны иметь чередующиеся красные и белые полосы, расположенные под углом от 45° до 70° к продольной оси дорожной оградительной ленты (рисунок 8).
S - ширина дорожной оградительной ленты, a - угол между
красными, белыми полосами и продольной осью дорожной
оградительной ленты, b - ширина красных и белых полос
на дорожной оградительной ленте
Рисунок 8 - Схема дорожной оградительной ленты
4.4.2 Допустимые значения геометрических параметров дорожных оградительных лент приведены в таблице 9.
Таблица 9
Геометрические параметры дорожных оградительных лент |
Ширина дорожной оградительной ленты, мм | Ширина красных и белых полос на дорожной оградительной ленте, мм | Толщина дорожной оградительной ленты, мкм |
40 - 100 | 35 - 100 | Не менее 50 |
4.4.3 Значения координат цветности дорожных оградительных лент должны соответствовать требованиям для дорожных знаков с внутренним и внешним освещением по
ГОСТ 32945.
Требования к коэффициенту яркости дорожных оградительных лент приведены в таблице 10.
Таблица 10
Цвет | Коэффициент яркости |
Красный | > 0,30 |
Белый | > 0,60 |
4.5 Технические требования к комплексам временных технических средств организации дорожного движения
4.5.1 Переносной и передвижной (мобильный) комплексы временных технических средств организации дорожного движения состоят из следующих временных технических средств организации дорожного движения: временные дорожные знаки (включая знаки, изготовленные с использованием светодиодов), сигнальные фонари желтого цвета.
4.5.2 Переносной комплекс временных технических средств организации дорожного движения может быть смонтирован на щите желтого цвета или на временном дорожном щите. Координаты цветности и коэффициент яркости поверхности щита желтого цвета должны соответствовать установленным для дорожных знаков с внутренним и внешним освещением по
ГОСТ 32945.
4.5.3 Передвижной (мобильный) комплекс временных технических средств организации дорожного движения монтируется на автомобиле прикрытия или на автомобильном прицепе, выполняющем с автомобилем-тягачом роль автомобиля прикрытия, или на дорожных машинах. Передвижной (мобильный) комплекс временных технических средств организации дорожного движения может быть смонтирован на щите желтого цвета, расположенном на автомобиле прикрытия или на дорожных машинах. Координаты цветности и коэффициент яркости поверхности щита желтого цвета должны соответствовать установленным для дорожных знаков с внутренним и внешним освещением по
ГОСТ 32945.
4.5.4 Количество временных технических средств организации дорожного движения, применяемых одновременно на переносном и передвижном (мобильном) комплексах, приведено в таблице 11.
Таблица 11
Тип временных технических средств организации дорожного движения | Переносной комплекс | Передвижной комплекс |
Количество временных технических средств организации дорожного движения |
Минимальное | Максимальное | Минимальное | Максимальное |
Временные дорожные знаки, всего | 2 | 3 | 2 | 3 |
Дорожные знаки, изготовленные с использованием светодиодов | 1 | 1 | 1 | 1 |
Сигнальные фонари желтого цвета | 0 | 2 | 2 | 4 |
4.6 Требования к комплектности
4.6.1 Временные технические средства организации дорожного движения должны сопровождаться документацией производителя, содержащей:
- паспорт с основными характеристиками временных технических средств организации дорожного движения (устанавливаемыми в нормативном документе, с ссылкой на межгосударственные стандарты, по которым изготавливается продукция);
- правила техники безопасности, правила транспортирования и хранения;
- инструкции по установке (применению), эксплуатации, техническому обслуживанию и очистке.
4.6.2 Временные технические средства организации дорожного движения должны поставляться со всеми комплектующими, обеспечивающими сборку и монтаж изделия в соответствии с требованиями настоящего стандарта и документацией производителя.
4.7 Требования к маркировке
4.7.1 Временные технические средства организации дорожного движения (за исключением временной горизонтальной дорожной разметки) должны иметь маркировку.
Сохранность маркировки должна быть обеспечена в течение всего срока эксплуатации временных технических средств организации дорожного движения.
4.7.2 Маркировка временных технических средств организации дорожного движения должна содержать следующие данные:
- наименование продукции;
- наименование страны-изготовителя;
- наименование изготовителя;
- юридический адрес изготовителя;
- товарный знак изготовителя;
- массу брутто и нетто, кг;
- габаритные размеры;
- дату изготовления;
- номер партии;
- обозначение межгосударственных стандартов, по которым изготавливается продукция;
- вид световозвращающего материала в соответствии с
ГОСТ 32945, тип световозвращателя или световозвращающего элемента по
ГОСТ 32866;
- гарантийный срок эксплуатации.
4.7.3 Маркировка сигнальных фонарей должна дополнительно содержать:
- номинальное напряжение, В;
- количество ламп, шт.;
- номинальную мощность каждой лампы, Вт.
4.7.4 В случае невозможности нанесения маркировки на каждое временное техническое средство организации дорожного движения маркировка должна быть нанесена на их упаковку.
4.8 Требования к транспортированию и хранению
4.8.1 Временные технические средства организации дорожного движения должны соответствовать требованиям транспортирования их автомобильным, железнодорожным и водным транспортом в соответствии с правилами перевозки грузов, действующими на данном виде транспорта.
4.8.2 При транспортировании и хранении временных технических средств организации дорожного движения (за исключением временной горизонтальной дорожной разметки) должны соблюдаться требования, устанавливаемые изготовителем в сопроводительной документации и отраженные в маркировке по
ГОСТ 15150.
4.8.3 Срок хранения временных технических средств организации дорожного движения (за исключением временной горизонтальной дорожной разметки) должен быть не менее 1 года со дня изготовления. Временные технические средства организации дорожного движения (за исключением временной горизонтальной дорожной разметки) должны храниться в неповрежденной заводской упаковке в закрытых помещениях (группа хранения ОЖ 4 по
ГОСТ 15150).
4.8.4 Упаковка временных технических средств организации дорожного движения должна обеспечивать их сохранность от механических повреждений во время транспортирования и хранения.
4.9 Требования к методам контроля
4.9.1 Методы контроля временных дорожных знаков по
ГОСТ 32946.
4.9.2 Методы контроля временной дорожной разметки по
ГОСТ 32952.
4.9.3 Методы контроля временных дорожных светофоров по
ГОСТ 33386.
4.9.4 Методы контроля сигнальных фонарей
4.9.4.1 Метод контроля геометрических параметров сигнальных фонарей
Геометрические параметры сигнальных фонарей контролируют по
ГОСТ 26433.1. Контролю подлежат все размеры, устанавливаемые настоящим стандартом.
4.9.4.2 Масса сигнальных фонарей определяется путем взвешивания на весах с наибольшим пределом взвешивания не менее 5000 г и с ценой деления не более 10 г.
4.9.4.3 Методы контроля величины крутящего момента резьбовых электропатронов, плотности соединения рассеивателей с корпусом сигнальных фонарей, и электротехнические параметры сигнальных фонарей по
ГОСТ 32946.
Частота мигания сигнальных фонарей определяется по
ГОСТ 33386.
4.9.4.4 Методы контроля координат цветности и коэффициента яркости по
ГОСТ 32946.
4.9.4.5 Метод контроля прочности сигнальных фонарей при падении
Сигнальный фонарь закрепляется таким образом, чтобы его вертикальная ось располагалась в горизонтальной плоскости. Нижняя точка сигнального фонаря должна находиться на высоте (500 +/- 5) мм над ровной твердой горизонтальной поверхностью, на которую сигнальный фонарь должен упасть. После падения сигнального фонаря он должен оставаться работоспособным и на его корпусе должны отсутствовать разрушения и деформации.
4.9.5 Методы контроля временных дорожных барьеров
4.9.5.1 Метод контроля геометрических параметров временных дорожных барьеров
Геометрические параметры временных дорожных барьеров контролируют, используя линейки по
ГОСТ 427 и рулетки измерительные металлические по
ГОСТ 7502. Контролю подлежат все размеры, устанавливаемые настоящим стандартом. За окончательный результат принимаются среднеарифметические значения полученных результатов, выраженные в миллиметрах и округленные до десяти миллиметров.
4.9.5.2 Масса временных дорожных барьеров определяется путем взвешивания на весах с наибольшим пределом взвешивания не менее 50000 г и ценой деления не более 100 г.
4.9.5.3 Методы контроля координат цветности и коэффициента яркости временных дорожных барьеров по
ГОСТ 32946.
4.9.5.4 Метод контроля временных дорожных барьеров на стойкость к динамической нагрузке (стойкость к удару) по
ГОСТ 32760.
4.9.5.5 Сохранность временных дорожных барьеров при проведении работ по их содержанию (мойке), возможность заполнения временных дорожных барьеров демпфирующими материалами и освобождения временных дорожных барьеров от демпфирующих материалов, возможность соединения временных дорожных барьеров друг с другом, возможность установки во временные дорожные барьеры вставных сигнальных фонарей, их количество, наличие световозвращателей контролируется визуально. Угол соединения временных дорожных барьеров друг с другом контролируется по
ГОСТ 26433.1.
4.9.5.6 Метод определения устойчивости временного дорожного барьера к опрокидыванию
Испытания проводятся на ровной горизонтальной поверхности, на которой установлен упор высотой (50 +/- 2) мм. Временный дорожный барьер устанавливается на поверхность таким образом, чтобы сторона его основания соприкасалась с вертикальной стороной упора. Для проведения испытания применяются блок и груз. При этом должна быть обеспечена возможность перемещения вершины испытуемого временного дорожного барьера на расстояние, равное не менее, чем 1,5 значения высоты временного дорожного барьера, подлежащего испытанию.
Схема проведения испытания приведена на рисунке 9.
H - высота временного дорожного барьера, временного
дорожного щита, дорожного конуса, дорожной пластины,
дорожной сигнальной вехи; 1 - временный дорожный барьер,
временный дорожный щит, дорожный конус, дорожная пластина,
дорожная сигнальная веха; 2 - шнур; 3 - упор; 4 - ровная
горизонтальная поверхность; 5 - груз; 6 - блок; 7 - штатив
Рисунок 9 - Схема определения устойчивости временного
дорожного барьера, временного дорожного щита, дорожного
конуса, дорожной пластины, дорожной сигнальной
вехи к опрокидыванию
Значение опрокидывающей силы должно составлять (20,0 +/- 1,0) Н, которая должна прикладываться к точке, находящейся на пересечении верхней части временного дорожного барьера и его вертикальной оси, в направлении, параллельном поверхности, на которую установлен временный дорожный барьер. Временный дорожный барьер поворачивают вокруг его вертикальной оси для определения положения с наихудшей устойчивостью. Испытания считаются успешно завершенными, если испытуемый временный дорожный барьер не сдвинулся с места или вернулся в исходное положение после снятия нагрузки без внешнего воздействия.
4.9.6 Методы контроля временных дорожных тумб по
ГОСТ 32760.
4.9.7 Методы контроля временных дорожных щитов
4.9.7.1 Метод контроля геометрических параметров временных дорожных щитов
Геометрические параметры временных дорожных щитов контролируют, используя линейки по
ГОСТ 427 и рулетки измерительные металлические по
ГОСТ 7502. Контролю подлежат все размеры, устанавливаемые настоящим стандартом. За окончательный результат принимаются среднеарифметические значения полученных результатов, выраженные в миллиметрах и округленные до десяти миллиметров.
4.9.7.2 Масса временных дорожных щитов определяется путем взвешивания на весах с наибольшим пределом взвешивания не менее 50000 г и ценой деления не более 100 г.
4.9.7.3 Методы контроля координат цветности и коэффициента яркости временных дорожных щитов по
ГОСТ 32946.
4.9.7.4 Сохранность временных дорожных щитов при проведении работ по их содержанию (мойке), возможность соединения временных дорожных щитов друг с другом, возможность установки во временные дорожные щиты вставных сигнальных фонарей и их количество контролируется визуально. Угол соединения временных дорожных щитов друг с другом контролируется по
ГОСТ 26433.1.
4.9.7.5 Метод контроля прочности временных дорожных щитов при падении
Временный дорожный щит закрепляется таким образом, чтобы его вертикальная ось располагалась в горизонтальной плоскости. Нижняя точка временного дорожного щита должна находиться на высоте (1500 +/- 5) мм над ровной твердой горизонтальной поверхностью, на которую временный дорожный щит должен упасть. После падения временного дорожного щита на его корпусе должны отсутствовать разрушения и деформации.
4.9.7.6 Метод определения устойчивости временного дорожного щита к опрокидыванию
Испытания проводятся на ровной горизонтальной поверхности, на которой установлен упор высотой (50 +/- 2) мм. Временный дорожный щит устанавливается на поверхность таким образом, чтобы сторона его основания соприкасалась с вертикальной стороной упора. Для проведения испытания применяются блок и груз. При этом должна быть обеспечена возможность перемещения вершины испытуемого временного дорожного барьера на расстояние, равное не менее, чем 1,5 значения высоты временного дорожного щита, подлежащего испытанию.
Схема проведения испытания приведена на
рисунке 9.
Значение опрокидывающей силы должно составлять (18,0 +/- 1,0) Н, которая должна прикладываться к точке, находящейся на пересечении верхней кромки временного дорожного щита и его вертикальной оси, в направлении, параллельном поверхности, на которую установлен временный дорожный щит. Временный дорожный щит поворачивают вокруг его вертикальной оси для определения положения с наихудшей устойчивостью. Испытания считаются успешно завершенными, если испытуемый временный дорожный щит не сдвинулся с места или вернулся в исходное положение после снятия нагрузки без внешнего воздействия.
4.9.8 Методы контроля временных дорожных ограждений по
ГОСТ 33129.
4.9.9 Методы контроля дорожных конусов
4.9.9.1 Метод контроля геометрических параметров дорожных конусов
Геометрические параметры дорожных конусов контролируют по
ГОСТ 26433.1. Контролю подлежат все размеры, устанавливаемые настоящим стандартом. За окончательный результат принимаются среднеарифметические значения полученных результатов, выраженные в миллиметрах и округленные до целого значения.
4.9.9.2 Масса дорожных конусов определяется путем взвешивания на весах с наибольшим пределом взвешивания не менее 10000 г и ценой деления не более 50 г.
4.9.9.3 Методы контроля координат цветности, коэффициента яркости и удельного коэффициента световозвращения световозвращающих поверхностей дорожных конусов по
ГОСТ 32946.
4.9.9.4 Метод определения устойчивости дорожного конуса к опрокидыванию
Испытания проводятся на ровной горизонтальной поверхности, на которой установлен упор высотой (12 +/- 2) мм. Дорожный конус устанавливается на поверхность таким образом, чтобы сторона опорной плиты соприкасалась с вертикальной стороной упора. Для проведения испытания применяются блок и груз. При этом должна быть обеспечена возможность перемещения вершины испытуемого дорожного конуса на расстояние, равное не менее, чем 1,5 значения высоты дорожного конуса, подлежащего испытанию.
Схема проведения испытания приведена на
рисунке 9.
Значение опрокидывающей силы выбирается согласно
таблице 3 и прикладывается к вершине дорожного конуса в направлении, параллельном поверхности, на которую установлен дорожный конус, с точностью +/- 5%. Дорожный конус поворачивают вокруг его вертикальной оси для определения положения с наихудшей устойчивостью. Испытания считаются успешно завершенными, если испытуемый дорожный конус не сдвинулся с места или вернулся в исходное положение после снятия нагрузки без внешнего воздействия.
4.9.9.5 Метод контроля прочности дорожных конусов при падении
Дорожный конус закрепляется таким образом, чтобы его вертикальная ось располагалась в горизонтальной плоскости. Нижняя точка дорожного конуса должна находиться на высоте (1500 +/- 5) мм над ровной твердой горизонтальной поверхностью, на которую дорожный конус должен упасть. После падения дорожного конуса на его корпусе должны отсутствовать разрушения и деформации.
4.9.9.6 Метод контроля прочности дорожных конусов при отрицательной температуре
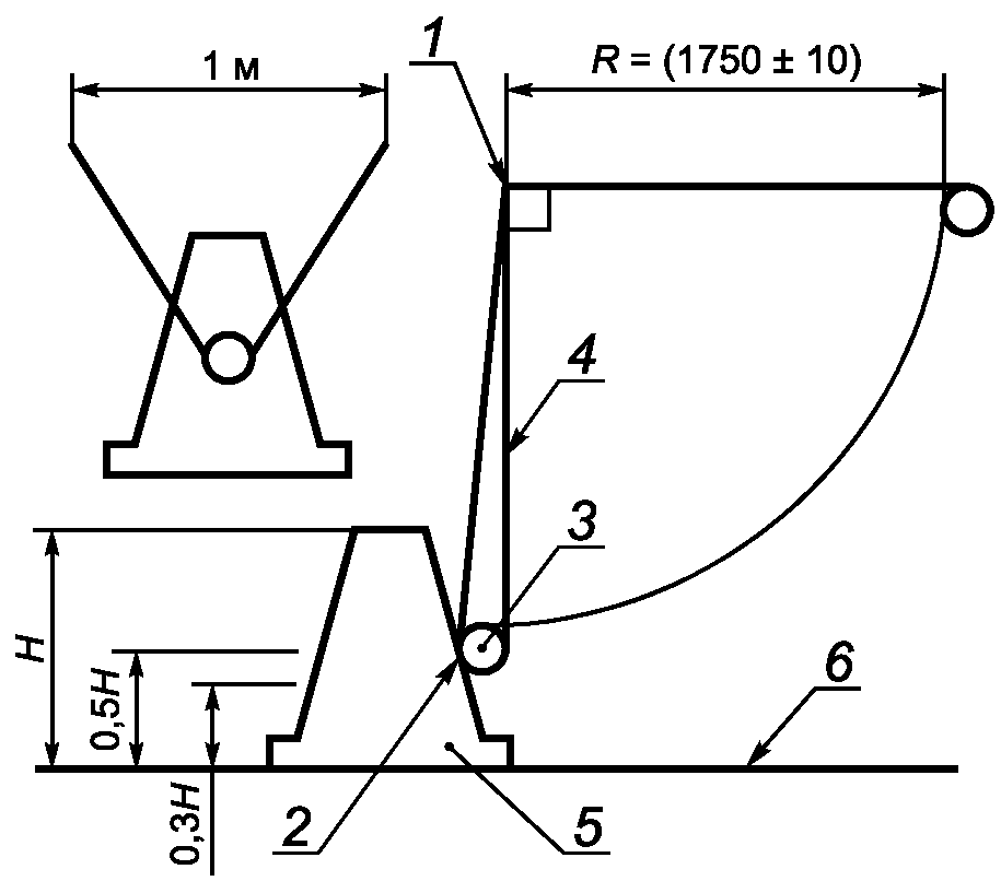
Перед испытанием дорожный конус выдерживается при температуре минус (18 +/- 2) °C в течение не менее двух часов. Испытание дорожного конуса проводится в течение 1 минуты после извлечения из климатической камеры. Стальной шар подвешивается на двух нитях, противоположные концы которых, в целях предотвращения скручивания, крепятся на расстоянии не менее 1 м друг от друга (см. рисунок 10). Толщина нитей подвеса не должна превышать 1 мм, а масса шара должна составлять (0,900 +/- 0,045) кг. Шар должен двигаться по дуге радиусом закругления (1750 +/- 10) мм. Точка удара стального шара на образце должна находиться на одинаковом расстоянии от точек крепления нитей и на высоте от 0,3H до 0,5H над поверхностью, на которую установлен дорожный конус. Стальной шар должен быть отпущен из положения, когда нити подвеса натянуты, а центр шара находится на одной высоте с точками крепления нитей подвеса +/- 10 мм, и коснуться испытуемого конуса в самой нижней точке своей траектории. После испытания на корпусе дорожного конуса должны отсутствовать разрушения и деформации, а значения удельного коэффициента световозвращения световозвращающей поверхности в сухом состоянии должны составлять не менее 80% значений этого параметра до проведения испытаний.

1 - центр вращения, 2 - точка удара, 3 - стальной шар,
4 - нити, 5 - дорожный конус или дорожная пластина,
6 - горизонтальная поверхность, на которой закреплен
дорожный конус (дорожная пластина), H - высота
дорожного конуса (дорожной пластины)
Рисунок 10 - Схема определения прочности дорожного конуса
и дорожной пластины при отрицательной температуре
4.9.9.7 Метод контроля адгезии световозвращающей пленки к телу дорожного конуса. Испытания проводятся с использованием лабораторного скальпеля. При его помощи наносится вертикальный разрез на всю глубину световозвращающей поверхности дорожного конуса по всей его высоте (сверху донизу). После нанесения разреза никакая из частей световозвращающей поверхности не должна отделяться от дорожного конуса на расстояние более чем 25 мм.
4.9.9.8 Наличие световозвращающих поверхностей, количество световозвращающих поверхностей, возможность установки в дорожные конусы вставных сигнальных фонарей контролируется визуально.
4.9.9.9 Метод контроля неслипаемости и целостности световозвращающей поверхности (поверхностей) при складывании дорожных конусов в стопки
Испытания проводятся на ровной горизонтальной поверхности. Дорожные конуса, включая их внутреннюю поверхность, должны быть очищены от загрязнений и не иметь каких-либо деформаций и дефектов. Три одинаковых дорожных конуса устанавливают в стопку. Установка проводится под собственным весом конусов. Через (180 +/- 10) мин стопку конусов разбирают, поднимая поочередно находящийся сверху дорожный конус на высоту, превышающую высоту дорожного конуса на (500 +/- 50) мм. Испытания считают успешно завершенными, если при подъеме верхнего дорожного конуса нижние два дорожных конуса (после снятия первого дорожного конуса) и один нижний дорожный конус (после снятия второго дорожного конуса) либо остаются на поверхности, на которой они были установлены, либо дорожные конуса отделяются друг от друга в процессе подъема верхнего дорожного конуса на указанную высоту. После испытания на световозвращающих поверхностях не должны появляться разрушения световозвращающих поверхностей в виде царапин, задиров, отслоения световозвращающей пленки.
4.9.9.10 Метод контроля величин разрывов световозвращающей пленки
Испытания проводятся по
ГОСТ 26433.1 не менее, чем в трех местах для каждого разрыва световозвращающей пленки.
4.9.10 Методы контроля дорожных пластин
4.9.10.1 Метод контроля геометрических параметров дорожных пластин
Геометрические параметры дорожных пластин контролируют по
ГОСТ 26433.1. Контролю подлежат все размеры, устанавливаемые настоящим стандартом. За окончательный результат принимаются все полученные геометрические размеры, выраженные в миллиметрах и округленные до целого значения.
4.9.10.2 Масса дорожных пластин определяется путем взвешивания на весах с наибольшим пределом взвешивания не менее 20000 г и ценой деления не более 50 г.
4.9.10.3 Методы контроля координат цветности, коэффициента яркости и удельного коэффициента световозвращения дорожных пластин по
ГОСТ 32946.
4.9.10.4 Метод контроля устойчивости дорожных пластин к опрокидыванию аналогичен методу контроля устойчивости дорожных конусов к опрокидыванию по
4.9.9.4.
4.9.10.5 Метод контроля прочности дорожных пластин при падении аналогичен методу контроля прочности дорожных конусов при падении по
4.9.9.5.
4.9.10.6 Метод контроля прочности дорожных пластин при отрицательной температуре аналогичен методу контроля прочности дорожных конусов при отрицательной температуре по
4.9.9.6.
4.9.10.7 Метод контроля адгезии световозвращающей пленки к телу дорожной пластины по
ГОСТ 32946.
4.9.10.8 Наличие и количество чередующихся красных и белых линий на теле дорожной пластины контролируется визуально. Угол наклона линий контролируется по
ГОСТ 26433.1.
4.9.10.9 Метод контроля величин разрывов световозвращающей пленки аналогичен методу контроля величин разрывов световозвращающей пленки дорожных конусов по
4.9.9.10.
4.9.11 Методы контроля дорожных сигнальных вех
4.9.11.1 Метод контроля геометрических параметров дорожных сигнальных вех
Геометрические параметры дорожных сигнальных вех контролируют, используя штангенциркули по
ГОСТ 166, линейки по
ГОСТ 427 и рулетки измерительные металлические по
ГОСТ 7502. Контролю подлежат все размеры, устанавливаемые настоящим стандартом. За окончательный результат принимаются среднеарифметические значения полученных результатов, выраженные в миллиметрах и округленные до целого значения.
4.9.11.2 Методы контроля координат цветности, коэффициента яркости и удельного коэффициента световозвращения дорожных сигнальных вех по
ГОСТ 32946.
4.9.11.3 Метод контроля устойчивости дорожных сигнальных вех к опрокидыванию аналогичен методу контроля устойчивости дорожных конусов к опрокидыванию по
4.9.9.4.
4.9.11.4 Метод контроля прочности дорожных сигнальных вех при падении аналогичен методу контроля прочности дорожных конусов при падении по
4.9.9.5.
4.9.11.5 Метод контроля адгезии световозвращающей пленки к дорожной сигнальной вехе по
ГОСТ 32946.
4.9.11.6 Наличие и количество световозвращающих поверхностей на корпусе дорожной сигнальной вехи пластины контролируется визуально.
4.9.11.7 Метод контроля величин разрывов световозвращающей пленки аналогичен методу контроля величин разрывов световозвращающей пленки дорожных конусов по
4.9.9.10.
4.9.11.8 Метод контроля прямолинейности дорожных сигнальных вех
Дорожная сигнальная веха без элементов крепежа прикладывается к опорной поверхности трехметровой рейки по
ГОСТ 30412. Визуально устанавливается наличие просветов между корпусом дорожной сигнальной вехи и опорной поверхностью трехметровой рейки. При наличии этих просветов выполняется их измерение клиновым промерником или металлической линейкой по
ГОСТ 427. Контроль проводится для четырех сторон дорожной сигнальной вехи. За окончательный результат принимается максимальное значение просвета, полученное в ходе контроля выраженное в миллиметрах и округленное до целого значения.
4.9.12 Методы контроля дорожных сепараторов (делиниаторов)
4.9.12.1 Метод контроля геометрических параметров дорожных сепараторов (делиниаторов)
Геометрические параметры дорожных сепараторов (делиниаторов) контролируют, используя линейки по
ГОСТ 427 и рулетки измерительные металлические по
ГОСТ 7502. Контролю подлежат все размеры, устанавливаемые настоящим стандартом. За окончательный результат принимаются среднеарифметические значения полученных результатов, выраженные в миллиметрах и округленные до десяти миллиметров.
4.9.12.2 Масса дорожных сепараторов (делиниаторов) определяется путем взвешивания на весах с наибольшим пределом взвешивания не менее 50000 г и ценой деления не более 100 г.
4.9.12.3 Возможность крепления дорожных сепараторов (делиниаторов) к покрытию, возможность соединения дорожных сепараторов (делиниаторов) друг с другом, возможность установки в дорожные сепараторы (делиниаторы) дорожных сигнальных вех и их количество контролируется визуально.
4.9.12.4 Прочность дорожных сепараторов (делиниаторов) определяется аналогично прочности дорожных световозвращателей по
ГОСТ 32839.
4.9.12.5 Координаты цветности и коэффициент яркости дорожных сепараторов (делиниаторов) определяются по
ГОСТ 32952.
4.9.12.6 Наличие дорожных световозвращающих элементов на дорожных сепараторах (делиниаторах) определяется визуально.
4.9.13 Методы контроля дорожных оградительных лент
4.9.13.1 Метод контроля геометрических параметров дорожных оградительных лент
Геометрические параметры дорожных оградительных лент (за исключением толщины угла наклона полос) контролируют, используя линейки по
ГОСТ 427 и рулетки измерительные металлические по
ГОСТ 7502. Толщину дорожных оградительных лент контролируют, используя микрометры по
ГОСТ 6507 и толщиномеры по
ГОСТ 11358. Угол наклона полос контролируют по
ГОСТ 26433.1.
Контролю подлежат все размеры, устанавливаемые настоящим стандартом. За окончательный результат принимаются среднеарифметические значения полученных геометрических размеров, выраженные в миллиметрах и округленные до целого значения для всех размеров, кроме толщины и угла наклона полос. За окончательный результат толщины оградительных лент принимается среднеарифметическое значение полученных результатов, выраженные в микронах и округленные до пяти микрон. За окончательный результат угла наклона полос принимается среднеарифметическое значение полученных геометрических размеров, выраженные в градусах и округленные до целого значения.
4.9.13.2 Методы контроля координат цветности и коэффициента яркости дорожных оградительных лент по
ГОСТ 32946.
4.10 Требования безопасности
4.10.1 Правила (требования) пожаро- и взрывобезопасности временных технических средств организации дорожного движения должны быть изложены в сопроводительной документации на них.
4.10.2 Лица, выполняющие установку (нанесение временной горизонтальной дорожной разметки) и снятие (удаление временной горизонтальной дорожной разметки) временных технических средств организации дорожного движения должны соблюдать инструкции по охране труда, устанавливающие правила поведения и выполнения работ на автомобильных дорогах, иметь средства индивидуальной защиты, обеспечивающие их повышенную видимость в условиях проведения работ на автомобильных дорогах.
| | Применение на обязательной основе разд. 5 обеспечивает безопасность дорожного движения при его организации на территории Российской Федерации (Распоряжение Правительства РФ от 04.11.2017 N 2438-р). | |
Применение временных технических средств организации дорожного движения должно осуществляться в соответствии с утвержденной в установленном порядке схемой организации движения в местах производства работ или в местах событий, вызвавших необходимость временного изменения организации дорожного движения.
УДК 625.76.096:006.354 | |
Ключевые слова: временные технические средства организации дорожного движения, технические требования, правила применения, место производства работ |