Главная // Актуальные документы // ГОСТ (Государственный стандарт)СПРАВКА
Источник публикации
М.: Стандартинформ, 2016
Примечание к документу
Документ включен в
Перечень стандартов, содержащих правила и методы исследований (испытаний) и измерений, в том числе правила отбора образцов, необходимые для применения и исполнения требований технического
регламента Таможенного союза "Безопасность автомобильных дорог" (ТР ТС 014/2011) и осуществления оценки соответствия объектов технического регулирования (
Решение Коллегии Евразийской экономической комиссии от 18.09.2012 N 159).
Документ
введен в действие с 8 сентября 2016 года.
Название документа
"ГОСТ 32946-2014. Межгосударственный стандарт. Дороги автомобильные общего пользования. Знаки дорожные. Методы контроля"
(введен в действие Приказом Росстандарта от 31.08.2016 N 992-ст)
"ГОСТ 32946-2014. Межгосударственный стандарт. Дороги автомобильные общего пользования. Знаки дорожные. Методы контроля"
(введен в действие Приказом Росстандарта от 31.08.2016 N 992-ст)
агентства по техническому
регулированию и метрологии
от 31 августа 2016 г. N 992-ст
МЕЖГОСУДАРСТВЕННЫЙ СТАНДАРТ
ДОРОГИ АВТОМОБИЛЬНЫЕ ОБЩЕГО ПОЛЬЗОВАНИЯ
ЗНАКИ ДОРОЖНЫЕ
МЕТОДЫ КОНТРОЛЯ
Automobile roads of the general use.
Road signs. Test methods
ГОСТ 32946-2014
Дата введения
8 сентября 2016 года
Цели, основные принципы и основной порядок проведения работ по межгосударственной стандартизации установлены в
ГОСТ 1.0-2015 "Межгосударственная система стандартизации. Основные положения" и
ГОСТ 1.2-2015 "Межгосударственная система стандартизации. Стандарты межгосударственные, правила и рекомендации по межгосударственной стандартизации. Правила разработки, принятия, обновления и отмены"
1 РАЗРАБОТАН республиканским дочерним унитарным предприятием "Белорусский дорожный научно-исследовательский институт "БелдорНИИ", Межгосударственным техническим комитетом по стандартизации МТК 418 "Дорожное хозяйство"
2 ВНЕСЕН Государственным комитетом по стандартизации Республики Беларусь
3 ПРИНЯТ Межгосударственным советом по стандартизации, метрологии и сертификации по переписке (протокол от 30 сентября 2014 г. N 70-П)
За принятие проголосовали:
Краткое наименование страны по МК (ИСО 3166) 004-97 | Код страны по МК (ИСО 3166) 004-97 | Сокращенное наименование национального органа по стандартизации |
Армения | AM | Минэкономики Республики Армения |
Беларусь | BY | Госстандарт Республики Беларусь |
Казахстан | KZ | Госстандарт Республики Казахстан |
Киргизия | KG | Кыргызстандарт |
Россия | RU | Росстандарт |
Таджикистан | TJ | Таджикстандарт |
4
Приказом Федерального агентства по техническому регулированию и метрологии от 31 августа 2016 г. N 992-ст межгосударственный стандарт ГОСТ 32946-2014 введен в действие в качестве национального стандарта Российской Федерации с 8 сентября 2016 г.
5 ВВЕДЕН ВПЕРВЫЕ
Информация об изменениях к настоящему стандарту публикуется в ежегодном информационном указателе "Национальные стандарты", а текст изменений и поправок - в ежемесячном информационном указателе "Национальные стандарты". В случае пересмотра (замены) или отмены настоящего стандарта соответствующее уведомление будет опубликовано в ежемесячном информационном указателе "Национальные стандарты". Соответствующая информация, уведомление и тексты размещаются также в информационной системе общего пользования - на официальном сайте Федерального агентства по техническому регулированию и метрологии в сети Интернет (www.gost.ru)
Настоящий стандарт распространяется на вновь устанавливаемые дорожные знаки (далее - знаки), а также на материалы, применяемые для изготовления световозвращающих поверхностей (далее - световозвращающие материалы) по
ГОСТ 32945, и устанавливает методы их контроля.
В настоящем стандарте использованы ссылки на следующие межгосударственные стандарты:
ГОСТ 427-75 Линейки измерительные металлические. Технические условия
ГОСТ 9.302-88 (ИСО 1463-82, ИСО 2064-80, ИСО 2106-82, ИСО 2128-76, ИСО 2177-85, ИСО 2178-82, ИСО 2360-82, ИСО 2361-82, ИСО 2819-80, ИСО 3497-76, ИСО 3543-81, ИСО 3613-80, ИСО 3882-86, ИСО 3892-80, ИСО 4516-80, ИСО 4518-80, ИСО 4522-1-85, ИСО 4522-2-85, ИСО 4524-1-85, ИСО 4524-3-85, ИСО 4524-5-85, ИСО 8401-86) Единая система защиты от коррозии и старения. Покрытия металлические и неметаллические неорганические. Методы контроля
ГОСТ 9.307-89 (ИСО 1461-89) Единая система защиты от коррозии и старения. Покрытия цинковые горячие. Общие требования и методы контроля
ГОСТ 2746-90 (МЭК 238-87) Патроны резьбовые для электрических ламп. Общие технические условия
ГОСТ 7721-89 Источники света для измерений цвета. Типы. Технические требования. Маркировка
ГОСТ 25336-82 Посуда и оборудование лабораторные стеклянные. Типы, основные параметры и размеры
ГОСТ 26433.1-89 Система обеспечения точности геометрических параметров в строительстве. Правила выполнения измерений. Элементы заводского изготовления
ГОСТ 32945-2014 Дороги автомобильные общего пользования. Знаки дорожные. Технические требования
Примечание - При пользовании настоящим стандартом целесообразно проверить действие ссылочных стандартов в информационной системе общего пользования - на официальном сайте Федерального агентства по техническому регулированию и метрологии в сети Интернет или по ежегодному информационному указателю "Национальные стандарты", который опубликован по состоянию на 1 января текущего года, и по выпускам ежемесячного информационного указателя "Национальные стандарты" за текущий год. Если ссылочный стандарт заменен (изменен), то при пользовании настоящим стандартом следует руководствоваться заменяющим (измененным) стандартом. Если ссылочный стандарт отменен без замены, то положение, в котором дана ссылка на него, применяется в части, не затрагивающей эту ссылку.
В настоящем стандарте применяют термины с соответствующими определениями по
ГОСТ 32945.
4.1 Испытания знаков на соответствие требованиям настоящего стандарта проводят при температуре воздуха (20 +/- 5) °C и относительной влажности 40% - 90%, если в методике испытания не установлено иное.
4.2 Количество образцов для испытания каждого показателя - не менее трех.
4.3 Геометрические параметры знаков определяют по
ГОСТ 26433.1.
4.4 Толщину горячего цинкового покрытия знаков определяют по
ГОСТ 9.302.
4.5 Внешний вид горячего цинкового покрытия знаков контролируют внешним осмотром.
4.6 Сцепление горячего цинкового покрытия определяют методом нанесения сетки царапин или методом нагрева по
ГОСТ 9.307.
4.7 Устойчивость конструкции знака к деформациям в результате воздействия расчетной ветровой нагрузки, динамической нагрузки от снегоуборки, вертикальной и горизонтальной точечной нагрузки проверяют в соответствии с
приложением А.
4.8 Отклонение угловых размеров изображений знаков определяют по
ГОСТ 26433.1.
4.9 Координаты цветности
x и y точек пересечения граничных линий цветовых областей, коэффициент яркости и флуоресцентный коэффициент яркости определяют с помощью спектрофотометра с погрешностью измерения +/- 3% - 5%, колориметра с погрешностью измерения +/- 5% или спектроколориметра с погрешностью измерения +/- 5% при освещении под углом (45 +/- 5)° и измерении под углом (0 +/- 5)° для стандартного источника света D
65 по
ГОСТ 7721. Углы измеряются по отношению к перпендикуляру к измеряемой поверхности.
Измерения выполняют в соответствии с инструкциями к приборам.
4.10 Удельный коэффициент световозвращения световозвращающего материала изображения знака определяют в соответствии с
приложением Б.
4.11 Ускоренное искусственное старение световозвращающего материала проводят в соответствии с
приложением В в течение 2 000 ч при параметрах, приведенных в таблице 1.
Наименование параметра | Лампа с воздушным охлаждением | Лампа с водяным охлаждением |
Цикл: | | |
- освещение | Непрерывное | Непрерывное |
- распыление воды | Каждые 2 ч в течение 18 мин | Каждые 2 ч в течение 18 мин |
Температура на черном стандартном термометре | (65 +/- 5) °C | (65 +/- 5) °C |
Относительная влажность | (50 +/- 5)% | (50 +/- 5)% |
Плотность потока излучения в диапазоне: | | |
- от 300 до 400 нм | (60 +/- 6) Вт/м2 | (60 +/- 6) Вт/м2 |
- от 300 до 800 нм | (550 +/- 55) Вт/м2 | (630 +/- 63) Вт/м2 |
Примечание - Вода, используемая для распыления на образец, должна содержать не более 1 мг/дм3 кремния. |
4.12 Адгезию световозвращающего материала и несветовозвращающего материала черного цвета к основе знака определяют в соответствии с
приложением Г.
4.13 Устойчивость световозвращающего материала к воздействию ударной нагрузки определяют в соответствии с
приложением Д.
4.14 Количество частей, из которых состоит изображение дорожного знака, контролируют внешним осмотром.
4.15 Для проверки яркости изображения знака с внутренним освещением его разделяют на равные участки в форме квадрата со стороной не более 150 мм. Размер стороны выбирают таким образом, чтобы было выделено не менее 10 участков, распределенных по возможности равномерно по поверхности измеряемого элемента. Измерение яркости выполняют фотоэлектрическим фотометром с погрешностью установки длины волны +/- 2 нм в центре каждого участка и определяют ее среднеарифметическое значение для каждого цвета.
Для проверки минимальной и максимальной яркости изображения на знаке визуально выбирают на цветном элементе две точки с минимальной и максимальной яркостью и измеряют значения их яркости.
4.16 Проверку равномерности распределения яркости производят для знаков в сборе в указанной ниже последовательности.
Для каждого цвета визуально выделяют на поверхности знака площадки с центрами в точках 1 и 2 с наибольшим возможным перепадом яркости, расположенных на расстоянии 50 мм друг от друга (см. рисунок 1).
Размеры в миллиметрах
Рисунок 1
Измеряют фотоэлектрическим фотометром значения яркости L1, L2 и Lz (кд·м-2) в точках 1, 2 и z, симметрично расположенной между точками 1 и 2 соответственно, и определяют равномерность распределения яркости, которая считается допустимой при соблюдении неравенства: /L1 - L2/ <= 0,5 Lz.
4.17 Освещенность измеряют люксметром с максимальной погрешностью +/- 10% с верхним пределом измерения не менее 500 лк в соответствии с инструкцией к прибору.
4.18 Фиксированную установку резьбовых электропатронов проверяют по
ГОСТ 2746.
4.19 Проверку плотности соединения стекла с корпусом знака проводят в указанной ниже последовательности.
Знаки устанавливают в рабочее положение и воздействуют на них струями воды под давлением (203 680 +/- 1 000) Па с высоты 1,5 - 2 м от верхней точки знака под углом (30 +/- 2)° к вертикали, перекрывающими габаритные размеры знаков не менее чем на 200 мм. Продолжительность испытания - (15 +/- 1) мин. Через каждые 3 мин знаки поворачивают вокруг вертикальной оси на угол (90 +/- 2)°. Допускается прерывать испытания на время поворота знаков.
По окончании испытания с наружной поверхности удаляют воду, вскрывают и осматривают знаки. Знаки считают выдержавшими испытания, если на лампах и контактах не будут обнаружены капли воды.
4.20 Сопротивление изоляции проверяют без ламп, установленных на знаке. Сопротивление изоляции должно измеряться мегомметром постоянного тока напряжением 500 В с погрешностью измерения +/- 15%.
Знак считается прошедшим испытание, если сопротивление изоляции между токоведущими проводами и заземляющим контактом составляет не менее 20 МОм в обесточенном состоянии.
4.21 Электрическую прочность изоляции проверяют без ламп, установленных на знаке, на высоковольтной установке переменного тока частотой (50 +/- 2) Гц и мощностью не менее 500 Вт. Напряжение повышают плавно от нуля или от значения, не превышающего номинального, до испытательного значения в течение (20 +/- 2) с.
Под испытательным напряжением в (1 500 +/- 50) В знаки выдерживают в течение (60 +/- 2) с, после чего напряжение плавно (не менее чем за (10 +/- 1) с) снижают до нуля.
Знак считается прошедшим испытание, если изоляция между токоведущими проводами и заземляющим контактом выдержала испытательное напряжение без пробоя или перекрытия.
4.22 Устойчивость световозвращающего материала к воздействию очищающих жидкостей определяют в соответствии с
приложением Е. Для испытания отбирают две жидкости из приведенных в
ГОСТ 32945. При этом одна жидкость должна быть из используемых для очистки от грязи и пыли, другая - для удаления нефтепродуктов и угольной пыли.
4.23 Комплектность, маркировку и упаковку контролируют внешним осмотром.
4.24 При измерении параметров знаков допускается применять другие средства измерений, метрологические характеристики которых позволяют определять контролируемые показатели с заданной точностью.
(обязательное)
ОПРЕДЕЛЕНИЯ УСТОЙЧИВОСТИ КОНСТРУКЦИИ ЗНАКА
А.1 Сущность методики
Сущность методики заключается в определении максимального временного отклонения конструкции дорожного знака под воздействием расчетной ветровой нагрузки, динамической нагрузки от снегоуборки, вертикальной и горизонтальной точечной нагрузки.
А.2 Точность результатов испытания
Настоящая методика обеспечивает получение результатов испытания с точностью до 1%.
А.3 Средства испытания, вспомогательные устройства и материалы
Груз, обеспечивающий давление на конструкцию дорожного знака с точностью до 1%.
Линейка металлическая - по
ГОСТ 427, с ценой деления 1 мм.
А.4 Условия проведения испытания
Испытания проводят при температуре воздуха не ниже 5 °C и относительной влажности не более 75%.
Образец дорожного знака прикрепляют к опоре при помощи крепежных деталей, предоставленных изготовителем, в соответствии с сопроводительной документацией.
А.5 Порядок подготовки и проведения испытания
Стойка дорожного знака жестко закрепляется в зажимном устройстве.
К дорожному знаку прикладывается нагрузка m в течение 5 мин в соответствии со схемой испытания на:
- воздействие динамической нагрузки от снегоуборки
(рисунок А.2);
Рисунок А.1 - Схема приложения расчетной ветровой нагрузки
Размеры в миллиметрах
Рисунок А.2 - Схема приложения динамической нагрузки
от снегоуборки
Рисунок А.3 - Схема приложения вертикальной
точечной нагрузки
Рисунок А.4 - Схема приложения горизонтальной
точечной нагрузки
Линейкой измеряется максимальное временное отклонение конструкции дорожного знака d (рисунок А.5).
Рисунок А.5 - Схема измерения максимального временного
отклонения конструкции дорожного знака
А.6 Порядок обработки результатов испытания
Максимальное временное отклонение конструкции дорожного знака

, мм/м, с точностью до 1 мм/м определяют по формуле

(А.1)
где d - максимальное временное отклонение, мм;
h - расстояние от оси отклонения, м.
Образец считают прошедшим испытание, если конструкция знака не разрушится, а максимальное временное отклонение составит не более 25 мм/м.
(обязательное)
ОПРЕДЕЛЕНИЯ УДЕЛЬНОГО КОЭФФИЦИЕНТА
СВЕТОВОЗВРАЩЕНИЯ СВЕТОВОЗВРАЩАЮЩЕГО МАТЕРИАЛА
Б.1 Сущность методики испытания
Сущность методики заключается в определении количества света, отраженного световозвращающим материалом в сторону наблюдателя от источника света, при определенном угле наблюдения

и угле освещения

.
Б.2 Точность результатов испытания
Настоящая методика обеспечивает получение результатов испытания с точностью до 1%.
Б.3 Средства испытаний
Источник света, относительное спектральное распределение энергии которого соответствует стандартному источнику МКО A по
ГОСТ 7721, с максимальной апертурой 20".
Фотоприемник, относительная спектральная чувствительность которого соответствует относительной спектральной световой эффективности для дневного зрения

, с максимальной апертурой 20".
Люксметр с диапазоном измерения от 10 до 200 000 лк, с максимальной погрешностью +/- 10%.
Поворотное устройство для вращения образца в двух взаимно перпендикулярных плоскостях.
Б.4 Условия проведения испытания
Испытания проводят при температуре воздуха не ниже 5 °C и относительной влажности не более 75%.
Образец световозвращающего материала должен быть в форме квадрата со стороной (100 +/- 5) мм.
Поверхность световозвращающего материала в зоне измерения должна быть очищена от пыли и просушена (если проводилась влажная очистка).
Б.5 Порядок подготовки и проведения испытания
Удельный коэффициент световозвращения световозвращающего материала определяют при угле наблюдения

и угле освещения

, указанных в ГОСТ 32945 (
пункты 6.1.7 -
6.1.9). При этом углы выставляются при помощи поворотного устройства с погрешностью +/- 0,05°. Расположение источника света и фотоприемника относительно поверхности образца световозвращающего материала должно соответствовать схемам, приведенным на рисунках Б.1 и
Б.2. Расстояние между образцом световозвращающего материала и источником света должно составлять не менее 3 м.
1 - стандартный источник света типа A; 2 - фотоприемник;
3 - образец световозвращающего материала;

- угол наблюдения
Рисунок Б.1 - Схема измерения удельного коэффициента
световозвращения (вертикальный угол наблюдения)
1 - стандартный источник света типа A;
2 - фотоприемник; 3 - образец световозвращающего материала;

- угол освещения
| | ИС МЕГАНОРМ: примечание. Обозначение рисунков дано в соответствии с официальным текстом документа. | |
Рисунок Б.1 - Схема измерения удельного коэффициента
световозвращения (горизонтальный угол освещения)
Б.6 Порядок обработки результатов испытания
Удельный коэффициент световозвращения световозвращающего материала
RA с точностью до 0,1 кд·лк
-1·м
-2 определяют для угла наблюдения

и угла освещения

по формуле

(Б.1)
где I - сила света световозвращающего материала, кд;

- освещенность поверхности световозвращающего материала в плоскости, перпендикулярной направлению падения света, лк;
S - площадь измеряемой поверхности световозвращающего материала, м2.
За результат испытания принимают среднеарифметическое значение результатов трех измерений.
(обязательное)
ПРОВЕДЕНИЯ УСКОРЕННОГО ИСКУССТВЕННОГО СТАРЕНИЯ
СВЕТОВОЗВРАЩАЮЩЕГО МАТЕРИАЛА
В.1 Сущность методики испытания
Сущность методики заключается в определении способности световозвращающего материала сохранять свои характеристики после длительного воздействия атмосферных условий (ускоренного искусственного старения).
В.2 Точность результатов испытания
Настоящая методика обеспечивает получение результатов испытания с точностью до 1%.
В.3 Средства испытаний
Климатическая камера, позволяющая проводить испытания материалов с параметрами в соответствии с
таблицей 1.
В.4 Порядок подготовки и проведения испытания
Образец световозвращающего материала, наклеенного на металлическую основу, должен быть в форме квадрата со стороной (100 +/- 5) мм.
Перед испытанием у образца световозвращающего материала определяют следующие показатели:
- координаты цветности
x и
y точек пересечения граничных линий цветовых областей по
4.9;
- коэффициент яркости по
4.9;
- удельный коэффициент световозвращения при угле наблюдения

и углах освещения

и

по
4.10.
Образец световозвращающего материала устанавливают в климатическую камеру таким образом, чтобы непосредственно на него оказывалось влияние атмосферных условий. Испытания проводят в течение 2 000 ч при условиях, указанных в
таблице 1.
В.5 Порядок обработки результатов испытания
После проведения испытания у образца световозвращающего материала определяют показатели, указанные в
В.4.
Образец считают прошедшим испытание, если его показатели в зависимости от класса и цветоустойчивости отвечают следующим требованиям:
- координаты цветности
x и
y точек пересечения граничных линий цветовых областей соответствуют ГОСТ 32945 (
пункты 6.1.1 -
6.1.4);
- коэффициент яркости световозвращающего материала соответствует ГОСТ 32945
(пункт 6.1.5);
- удельный коэффициент световозвращения световозвращающего материала при угле наблюдения

и углах освещения

и

- не менее 80% от значений, приведенных в ГОСТ 32945 (
пункты 6.1.7 -
6.1.9).
(обязательное)
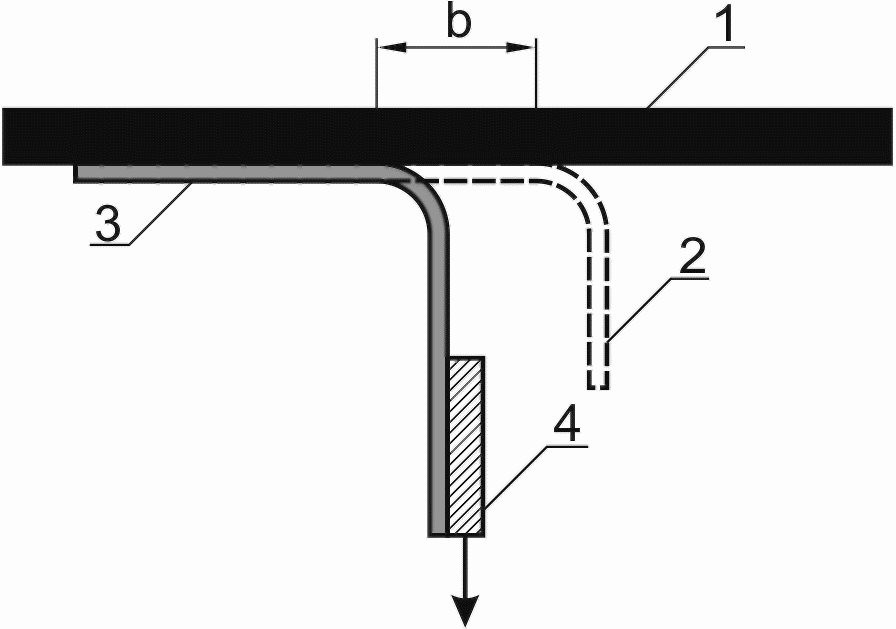
ОПРЕДЕЛЕНИЯ АДГЕЗИИ МАТЕРИАЛА К ОСНОВЕ ЗНАКА
Г.1 Сущность методики испытания
Сущность методики заключается в определении способности материала не отслаиваться от основы знака после приложения нагрузки массой (0,80 +/- 0,01) кг в течение (300 +/- 0,2) с.
Г.2 Средства испытаний и материалы
Груз массой (0,80 +/- 0,01) кг
Секундомер с точностью 0,2 с.
Линейка - по
ГОСТ 427, с ценой деления 1 мм.
Образец-подложка, изготовленный из материала основы знака, размером не менее 200 x 70 мм.
Г.3 Порядок подготовки и проведения испытания
Из испытываемого материала вырезают образец размером [(25 x 150) +/- 2] мм. С образца снимают защитную пленку (40% - 60% ее общей длины) и наклеивают в соответствии с рекомендациями изготовителя на предварительно обезжиренный ацетоном образец-подложку, изготовленный из материала основы знака.
Примечание - Образец несветовозвращающего материала черного цвета наклеивают на образец-подложку со световозвращающим материалом белого цвета.
Наклеенный образец материала выдерживают до испытания в течение 72 ч при температуре (20 +/- 5) °C.
Испытания проводят при температуре (20 +/- 5) °C. Устанавливают образец материала, как показано на
рисунке Г.1, и навешивают груз массой (0,80 +/- 0,01) кг. Нагружают образец в течение (300 +/- 0,2) с, после чего измеряют длину отслоения образца материала от образца-подложки при помощи линейки по
ГОСТ 427.
Образец считают прошедшим испытание, если длина отслоения не превышает 50 мм.
1 - образец-подложка; 2 - образец материала до испытания;
3 - образец материала после испытания; 4 - груз массой
(0,80 +/- 0,01) кг; b - длина отслоения образца материала
Рисунок Г.1 - Схема определения адгезии материала
к основе знака
(обязательное)
ОПРЕДЕЛЕНИЯ УСТОЙЧИВОСТИ СВЕТОВОЗВРАЩАЮЩЕГО
МАТЕРИАЛА К ВОЗДЕЙСТВИЮ УДАРНОЙ НАГРУЗКИ
Д.1 Сущность методики испытания
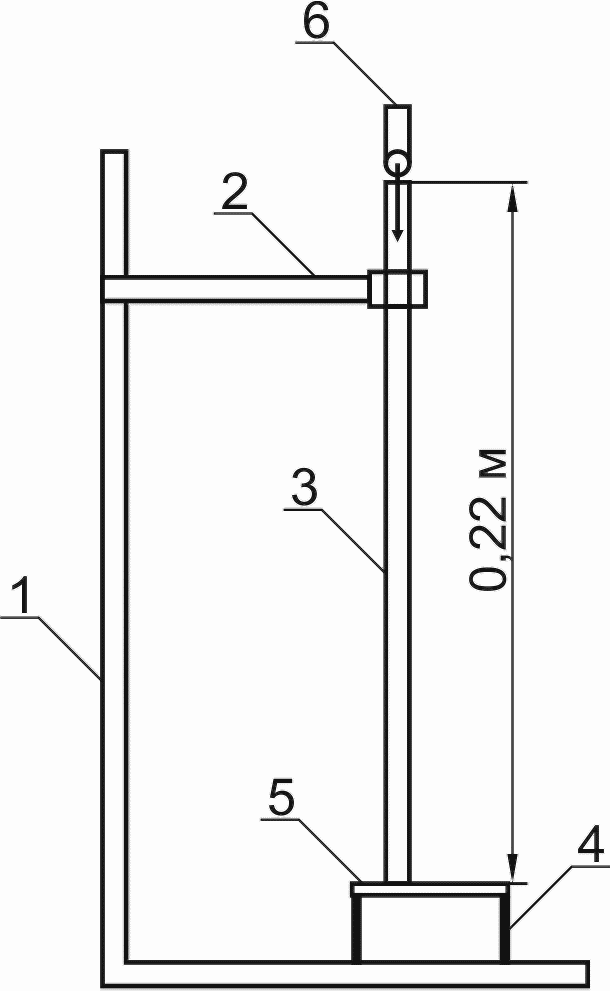
Сущность методики заключается в определении устойчивости световозвращающего материала к удару груза массой 0,45 кг, падающего с высоты 0,22 м.
Д.2 Средства испытания, вспомогательные устройства и материалы
Груз массой (0,45 +/- 0,01) кг с шаровым ударником диаметром (100 +/- 1) мм.
Направляющая длиной (0,22 +/- 0,01) м.
Д.3 Порядок подготовки и проведения испытания
Перед испытанием образец световозвращающего материала размером [(100 x 100) +/- 2] мм наклеивают в соответствии с рекомендациями изготовителя на предварительно обезжиренный ацетоном образец-подложку, изготовленный из материала основы знака. Затем его устанавливают световозвращающим материалом вверх на упоры, как показано на рисунке Д.1.
1 - стойка; 2 - держатель; 3 - направляющая; 4 - упоры
для установки образца; 5 - образец световозвращающего
материала; 6 - груз с шаровым ударником
Рисунок Д.1 - Схема определения устойчивости
световозвращающего материала к воздействию ударной нагрузки
На поверхность световозвращающего материала по направляющей сбрасывают груз с шаровым наконечником. Образец считают прошедшим испытание, если после удара на образце отсутствуют трещины и отслаивание от подложки в радиусе 6 мм от точки удара.
(обязательное)
ОПРЕДЕЛЕНИЯ УСТОЙЧИВОСТИ СВЕТОВОЗВРАЩАЮЩЕГО
МАТЕРИАЛА К ОЧИЩАЮЩИМ ЖИДКОСТЯМ
Е.1 Сущность методики испытания
Сущность методики заключается в визуальной оценке световозвращающего материала после его контакта с различными очищающими жидкостями.
Е.2 Средства испытания, вспомогательные устройства и материалы
Стаканы химические - по
ГОСТ 25336, объемом не менее 1 000 мл.
Стеклянные палочки для подвешивания образцов.
Фильтровальная бумага.
Е.3 Порядок подготовки и проведения испытания
Перед испытанием образец световозвращающего материала, который должен быть в форме квадрата со стороной (100 +/- 2) мм, наклеивают в соответствии с рекомендациями изготовителя на предварительно обезжиренный ацетоном образец-подложку изготовленный из материала основы знака. Образец-подложка должен иметь отверстие по середине одной из сторон.
Образец навешивают на стеклянную палочку и помещают в стакан с очищающей жидкостью. Расстояние между образцами должно быть не менее 20 мм, время выдержки в очищающей жидкости - (10 +/- 1) мин.
По истечении указанного времени образец достают из жидкости, промывают проточной водой и высушивают при помощи фильтровальной бумаги. Образец считают прошедшим испытание, если на поверхности испытанного образца отсутствуют пузырьки, трещины, бугры, вздутия и разводы.