Главная // Актуальные документы // ГОСТ (Государственный стандарт)СПРАВКА
Источник публикации
М.: Стандартинформ, 2016
Примечание к документу
Документ
введен в действие с 1 марта 2017 года.
Название документа
"ГОСТ 23120-2016. Межгосударственный стандарт. Лестницы маршевые, площадки и ограждения стальные. Технические условия"
(введен в действие Приказом Росстандарта от 26.09.2016 N 1213-ст)
"ГОСТ 23120-2016. Межгосударственный стандарт. Лестницы маршевые, площадки и ограждения стальные. Технические условия"
(введен в действие Приказом Росстандарта от 26.09.2016 N 1213-ст)
агентства по техническому
регулированию и метрологии
от 26 сентября 2016 г. N 1213-ст
МЕЖГОСУДАРСТВЕННЫЙ СТАНДАРТ
ЛЕСТНИЦЫ МАРШЕВЫЕ, ПЛОЩАДКИ И ОГРАЖДЕНИЯ СТАЛЬНЫЕ
ТЕХНИЧЕСКИЕ УСЛОВИЯ
Steel flights of steps, stair landings and railings.
Specifications
ГОСТ 23120-2016
Дата введения
1 марта 2017 года
Цели, основные принципы и основной порядок проведения работ по межгосударственной стандартизации установлены в
ГОСТ 1.0-2015 "Межгосударственная система стандартизации. Основные положения" и
ГОСТ 1.2-2015 "Межгосударственная система стандартизации. Стандарты межгосударственные, правила и рекомендации по межгосударственной стандартизации. Правила разработки, принятия, обновления и отмены"
1 РАЗРАБОТАН Закрытым акционерным обществом "Центральный ордена Трудового Красного Знамени научно-исследовательский и проектный институт строительных металлоконструкций им. Н.П. Мельникова" (ЗАО "ЦНИИПСК им. Н.П. Мельникова")
2 ВНЕСЕН Техническим комитетом по стандартизации ТК 465 "Строительство"
3 ПРИНЯТ Межгосударственным советом по стандартизации, метрологии и сертификации (протокол от 28 июня 2016 г. N 49)
За принятие проголосовали:
Краткое наименование страны по МК (ИСО 3166) 004-97 | Код страны по МК (ИСО 3166) 004-97 | Сокращенное наименование национального органа по стандартизации |
Армения | AM | Минэкономики Республики Армения |
Беларусь | BY | Госстандарт Республики Беларусь |
Киргизия | KG | Кыргызстандарт |
Россия | RU | Росстандарт |
4
Приказом Федерального агентства по техническому регулированию и метрологии от 26 сентября 2016 г. N 1213-ст межгосударственный стандарт ГОСТ 23120-2016 введен в действие в качестве национального стандарта Российской Федерации с 1 марта 2017 г.
Информация об изменениях к настоящему стандарту публикуется в ежегодном информационном указателе "Национальные стандарты", а текст изменений и поправок - в ежемесячном информационном указателе "Национальные стандарты". В случае пересмотра (замены) или отмены настоящего стандарта соответствующее уведомление будет опубликовано в ежемесячном информационном указателе "Национальные стандарты". Соответствующая информация, уведомление и тексты размещаются также в информационной системе общего пользования - на официальном сайте Федерального агентства по техническому регулированию и метрологии в сети Интернет (www.gost.ru)
Настоящий стандарт распространяется на стальные маршевые лестницы, площадки и ограждения к ним, применяемые в производственных зданиях и сооружениях, возводимых и эксплуатируемых при температуре не выше плюс 100 °C и не ниже минус 60 °C.
Настоящий стандарт устанавливает технические требования на маршевые лестницы с углом наклона 45° и 60°, прямоугольные переходные площадки и ограждения к ним, изготовленные из холодногнутых и горячекатаных профилей и рассчитанные на действие нормативных временных нагрузок 200, 300 и 400 кгс/м2.
В настоящем стандарте использованы нормативные ссылки на следующие межгосударственные стандарты:
ГОСТ 2.321-84 Единая система конструкторской документации. Обозначения буквенные
ГОСТ 9.032-74 Единая система защиты от коррозии и старения. Покрытия лакокрасочные. Группы, технические требования и обозначения
ГОСТ 21.001-2013 Система проектной документации для строительства. Общие положения
ГОСТ 21.501-2011 Система проектной документации для строительства. Правила выполнения рабочей документации архитектурных и конструктивных решений
ГОСТ 535-2005 Прокат сортовой и фасонный из стали углеродистой обыкновенного качества. Общие технические условия
ГОСТ 2991-85 Ящики дощатые неразборные для грузов массой до 500 кг. Общие технические условия
ГОСТ 5915-70 Гайки шестигранные класса точности B. Конструкция и размеры
ГОСТ 7798-70 <**> Болты с шестигранной головкой класса точности B. Конструкция и размеры
--------------------------------
<*> В Российской Федерации действует
ГОСТ Р ИСО 898-2-2013 "Механические свойства крепежных изделий из углеродистых и легированных сталей. Часть 2. Гайки установленных классов прочности с крупным и мелким шагом резьбы".
<**> В Российской Федерации действует
ГОСТ Р ИСО 4014-2013 "Болты с шестигранной головкой. Классы точности A и B".
ГОСТ 14637-89 Прокат толстолистовой из углеродистой стали обыкновенного качества. Технические условия
ГОСТ 15150-69 Машины, приборы и другие технические изделия. Исполнения для различных климатических районов. Категории, условия эксплуатации, хранения и транспортирования в части воздействия климатических факторов внешней среды
--------------------------------
<*> В Российской Федерации действует также
ГОСТ Р ИСО 4759-3-2009 "Изделия крепежные. Допуски. Часть 3. Плоские круглые шайбы для болтов, винтов и гаек. Классы точности A и C" в части допусков шайб.
ГОСТ 23118-2012 Конструкции стальные строительные. Общие технические условия
ГОСТ 26047-2016 Конструкции стальные строительные. Условные обозначения (марки)
ГОСТ 26663-85 Пакеты транспортные. Формирование с применением средств пакетирования. Общие технические требования
ГОСТ 27772-88 Прокат для строительных конструкций. Общие технические условия
Примечание - При пользовании настоящим стандартом целесообразно проверить действие ссылочных стандартов в информационной системе общего пользования на официальном сайте Федерального агентства по техническому регулированию и метрологии в сети Интернет или ежегодному информационному указателю "Национальные стандарты", который опубликован по состоянию на 1 января текущего года, и по выпускам ежемесячного информационного указателя "Национальные стандарты" за текущий год. Если ссылочный стандарт заменен (изменен), то при пользовании настоящим стандартом следует руководствоваться заменяющим (измененным) стандартом. Если ссылочный стандарт отменен без замены, то положение, в котором дана ссылка на него, применяется в части, не затрагивающей эту ссылку.
В настоящем стандарте применены термины по
ГОСТ 21.001,
ГОСТ 21.501 и в соответствии с действующими нормативными документами <**>.
--------------------------------
<**> В Российской Федерации действует также
ГОСТ Р 21.1101-2013 "Система проектной документации для строительства. Основные требования к проектной и рабочей документации".
4. Обозначения и сокращения
В настоящем стандарте применены термины и буквенные обозначения по
ГОСТ 2.321,
ГОСТ 26047, а также следующие сокращения:
КМД - деталировочные чертежи металлических конструкций;
ПОС - проект организации строительства;
ППР - проект производства работ (монтажных).
5. Основные параметры и размеры
5.1 Основные параметры и размеры лестничных маршей, прямоугольных площадок и ограждений к ним должны соответствовать указанным на рисунках 1 -
4 и приведенным в
таблицах 1 -
4.
1 - косоур; 2 - ступень; 3 - опорная планка;
4 - опорный уголок; 5 - ребро
--------------------------------
<*> По чертежам КМД.
Рисунок 1 - Лестничный марш (МЛ)
1 - балка; 2 - окантовочный элемент; 3 - настил; 4 - ребро
--------------------------------
<*> По чертежам КМД.
Рисунок 2 - Площадки (ПМ)
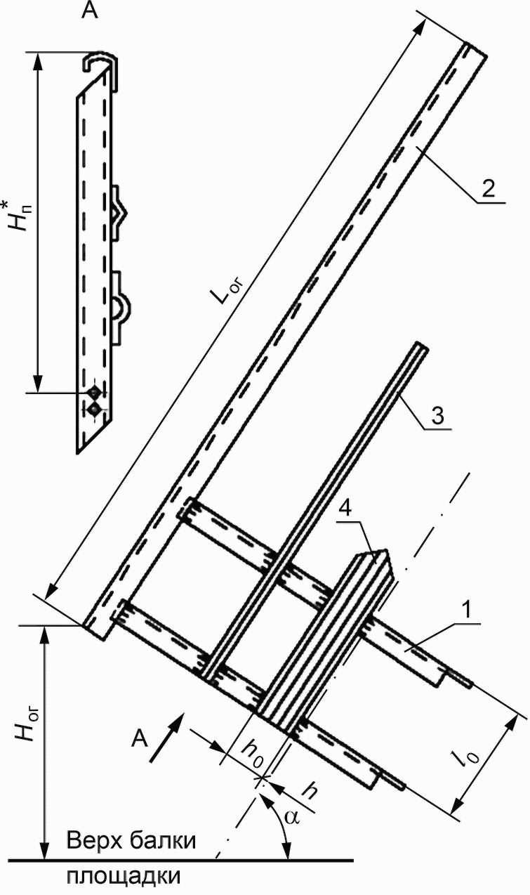
1 - стойка; 2 - поручень; 3 - средний ограждающий элемент;
4 - бортовой элемент
--------------------------------
<*> По чертежам КМД.
Рисунок 3 - Ограждение лестничного марша (ОГМ)
1 - стойка; 2 - поручень; 3 - средний ограждающий элемент;
4 - бортовой элемент
--------------------------------
<*> По чертежам КМД.
Рисунок 4 - Ограждение площадок (ОГП)
Таблица 1
Параметры и размеры лестничных маршей
В миллиметрах
| H | L | h | b | B | B1 | b1 |
45° | 600 | 600 | | | | | |
1200 | 1200 | | | | | |
1800 | 1800 | | | 600 | 500 | 7 10 |
2400 | 2400 | 200 | 200 | 800 | 700 |
3000 | 3000 | | | 1000 | 900 |
3600 | 3600 | | | | | |
4200 | 4200 | | | | | |
60° | 600 | 345 | | | | | |
1200 | 693 | | | | | |
1800 | 1039 | | | | | |
2400 | 1386 | | | | | |
3000 | 1732 | 300 | 200 | 600 | 500 | 5 |
3600 | 2078 | 800 | 700 |
4200 | 2425 | | | | | |
4800 | 2771 | | | | | |
5400 | 3118 | | | | | |
6000 | 3464 | | | | | |
Примечание - В маршевых лестницах с углом наклона 60° расстояние h (см. рисунок 1) должно быть не более 250 мм для подъема в кабину мостового крана. |
Таблица 2
Размеры прямоугольных площадок
В миллиметрах
Ln | 900, 1200, 1500, 1800, 2100, 2400, 3000, 3600, 4200, 4800, 5400, 6000 |
B | 600, 800, 1000 |
B1 | 500, 700, 900 |
Таблица 3
Параметры и размеры ограждений лестничных маршей
В миллиметрах
| Hог | Lог | h0 | h | l0 |
45° | 1000 | От 1697 | 140 | 15 | От 479 |
1200 | до 5940 | до 790 |
60° | 1000 | От 1385 | От 136 |
1200 | до 6930 | до 700 |
Таблица 4
Размеры ограждений площадок
В миллиметрах
Hог | 1000; 1200 |
Lог | 900, 1200, 1500, 1800, 2100, 2400, 3000, 3600, 4200, 4800, 5400, 6000 |
h0 | 140 |
h | 5 |
l0 | От 600 до 1300 |
Пример условного обозначения марки лестничного марша (МЛ) из холодногнутого профиля (X) со штампованными ступенями (Ш), под углом 45° и размерами H = 6 дм и B = 8 дм:
МЛХШ45-6.8 ГОСТ 23120-2016
То же, площадки (ПМ) из холодногнутого профиля с рифленым настилом (Ф) и размерами Lп = 9 дм и B = 8 дм:
ПМХФ-9.8 ГОСТ 23120-2016
То же, левого ограждения (ОГл) лестничного марша из холодногнутого профиля без бортового элемента, под углом 45° и размерами Hог = 10 дм и H = 24 дм:
ОГлМЛХ45-10.24 ГОСТ 23120-2016
То же, правого ограждения (ОГп) с бортовым элементом (Эб):
ОГпМЛХЭб45-10.24 ГОСТ 23120-2016
То же, ограждений площадки из холодногнутого профиля (X) с бортовым элементом (Эб) и размерами Hог = 10 дм и Lог = 9 дм:
ОГПМХЭб-10.9 ГОСТ 23120-2016
5.2 В зависимости от условий эксплуатации ступени маршевых лестниц и настилы прямоугольных площадок должны изготовлять двух типов:
1 - сплошные из рифленой стали (Ф);
2 - решетчатые, исполнений:
Ш - из штампованных элементов;
Р - из полос на ребро и круглой стали;
С - из полос на ребро в одном направлении;
В - из просечно-вытяжной стали.
5.3 Типы ступеней маршевых лестниц и настилов в прямоугольных площадках приведены на рисунке 5.
Тип 1. Сплошные (Ф)
Тип 2. Решетчатые
Рисунок 5 - Типы ступеней маршевых лестниц и настилов
прямоугольных площадок
5.4 Компоновочные схемы маршевых лестниц, площадок и ограждений приведены в
приложении А.
6. Технические требования
6.1 Конструкции лестничных маршей, площадок и ограждений к ним (далее - конструкции) следует изготовлять в соответствии с требованиями
ГОСТ 23118 и настоящего стандарта, по рабочим деталировочным чертежам (КМД), утвержденным в установленном порядке.
6.2 Конструкции следует изготовлять из углеродистой стали следующих марок, приведенных в таблице 5.
Таблица 5
Марки стали по | Условия применения стали при расчетной температуре t, °C |
| | t >= -45 | -45 > t >= -55 | t < -55 |
С235 | Ст3кп2 | + | - | - |
Ст3пс2 |
С245 | Ст3пс5 | - | + | + |
С255 | Ст3сп5 |
Примечание - Знак "+" означает, что данную сталь следует применять; знак "-" - данную сталь не следует применять. |
6.3 Предельные отклонения линейных размеров конструкций от номинальных, отклонения формы и расположения поверхностей от проектных приведены в таблице 6.
Таблица 6
Размеры в миллиметрах
Номинальный размер и наименование отклонения | Предельные отклонения лестничного марша, площадки, ограждения лестничного марша и площадки | Эскиз |
1 Длины Lk, Lп, Lог до 1000 включ. | +/- 1,6 | |
2 Ширина B1 св. 1000 до 1600 включ. | +/- 2,0 |
3 Высоты Hп, Hл | |
св. 1600 до 2500 включ. | +/- 2,5 |
" 2500 " 4000 " | +/- 3,0 |
" 4000 " 8000 " | +/- 4,0 |
4 Расстояние между ребрами в косоурах и балках площадок l0 | +/- 2,0 | |
5 Расстояние между стойками ограждения l0 | +/- 2,0 | |
6 Равенство диагоналей (прямоугольность), не более | 4,0 | |
7 Расстояние между центрами отверстий в пределах одной группы A | +/- 1,3 | |
8 Расстояние между группами отверстий A  | +/- 2,5 | |
9 Отклонение от прямолинейности  по длине L | | |
до 1000 включ. | 0,8 |
св. 1000 до 1600 включ. | 1,3 |
" 1000 " 2500 " | 2,0 |
" 2500 " 4000 " | 3,0 |
" 4000 " 8000 " | 5,0 |
6.4 Сварные соединения элементов следует выполнять механизированным способом. Допускается, в случае отсутствия оборудования для сварки механизированными способами, применение ручной сварки.
6.5 Материалы для сварки следует принимать в соответствии с действующими нормативными документами
<*>.
--------------------------------
<*> На территории Российской Федерации действует
СП 16.13330.2011 "СНиП II-23-81 Стальные конструкции".
6.7 Конструкции должны быть огрунтованы и окрашены. Грунтовка и окраска должны соответствовать классу покрытия V по
ГОСТ 9.032.
6.8 Заводские и монтажные стыки элементов ограждений не должны иметь острых выступов и кромок.
6.9 Комплектность
Конструкции должны поставляться предприятием-изготовителем комплектно.
В состав комплекта должны входить:
- лестничные марши, площадки и ограждения к ним;
- дополнительные детали для соединения конструкций;
- болты, гайки и шайбы (поставляемые на 10% больше установленного числа в чертежах КМД);
- техническая документация в соответствии с требованиями
ГОСТ 23118.
6.10 Маркировка
6.10.1 Изготовленные конструкции должны быть замаркированы.
6.10.2 К каждому пакету или к конструкции прикрепляют бирку, на которую должны быть нанесены следующие маркировочные знаки:
- наименование или товарный знак предприятия-изготовителя;
- номер заказа;
- марка элемента;
- номер чертежа КМД, по которому изготовлена конструкция;
- дата изготовления;
- штамп о приемке техническим контролем.
6.10.3 На каждый элемент конструкции должно быть нанесено условное обозначение марки элемента (без обозначения стандарта, см.
5.1).
6.10.4 Маркировочные знаки следует наносить несмываемой краской на стенке косоура лестничного марша с правой стороны по ходу подъема, на стенке балки площадки и на верхней грани поручня ограждения.
6.11 Упаковка
6.11.1 Упаковку элементов конструкций в пакеты производят в соответствии с требованиями
ГОСТ 26663. Она должна исключать их взаимное смещение и повреждение при их погрузке, разгрузке, транспортировании и хранении.
6.11.2 Масса пакета не должна быть более 3 т.
6.11.3 Соединительные детали конструкций и крепежные изделия следует поставлять вместе с конструкциями. По договоренности с заказчиком допускается поставка соединительных деталей отдельно от конструкций, в этом случае они должны быть упакованы в деревянные ящики по
ГОСТ 2991.
7.1 Конструкции для проверки соответствия их требованиям настоящего стандарта должны быть приняты техническим контролем предприятия-изготовителя.
7.2 Контроль отклонений линейных размеров конструкций (в т.ч. размеров сечений профилей проката) от номинальных, отклонения формы и расположения поверхностей деталей от проектных, качества сварных соединений и подготовки поверхности под защитные покрытия следует проводить до грунтования конструкций.
7.3 Приемку конструкций следует проводить партиями. В состав партии входят однотипные конструкции, изготовленные по одной технологии, из материалов одного качества.
Размер партии устанавливают по согласованию между предприятием-изготовителем и потребителем.
7.4 При выборочном приемочном контроле отбирают из партии три конструкции, которые должны быть подвергнуты поштучному контролю на соответствие требованиям, установленным настоящим стандартом.
7.5 Если при проверке отобранных конструкций окажется хотя бы одна конструкция, не соответствующая требованиям настоящего стандарта, следует отобрать удвоенное число конструкций от той же партии и провести их повторную проверку. Если при повторной проверке окажется хотя бы одна конструкция, не удовлетворяющая требованиям настоящего стандарта по одному из показателей, то данную партию бракуют и отправляют на доработку.
7.6 Потребитель имеет право проводить приемку конструкций, применяя при этом правила приемки и методы контроля, установленные настоящим стандартом.
8.1 Контроль отклонений линейных размеров конструкций от номинальных, отклонения формы и расположения поверхностей от проектных следует проводить универсальными методами и средствами.
8.2 Контроль качества швов сварных соединений и размеров их сечений следует проводить в соответствии с требованиями
ГОСТ 23118.
9. Транспортирование и хранение
9.1 Конструкции лестничных маршей и площадок следует транспортировать поэлементно или пакетами, состоящими из нескольких элементов. Конструкции ограждения следует транспортировать только пакетами.
9.2 Конструкции следует транспортировать и хранить в штабелях в горизонтальном положении с опиранием на деревянные подкладки и прокладки. Подкладки должны быть толщиной не менее 50 мм и шириной не менее 100 мм. Прокладки должны быть толщиной не менее 20 мм и шириной не менее 100 мм.
Высота штабеля должна быть не более 1,5 м для ограждений и 2,0 м для лестничных маршей и площадок.
9.3 Условия транспортирования и хранения конструкций следует устанавливать в зависимости от климатических факторов внешней среды по
ГОСТ 15150.
10.1 Монтаж конструкций проводят в соответствии с требованиями нормативных документов на монтаж и правилами, установленными ПОС и ППР.
10.2 Монтаж конструкций должен обеспечить их проектное положение, исключающее образование обратного уклона ступеней более 1°.
11. Гарантии изготовителя
Изготовитель должен гарантировать соответствие конструкций требованиям настоящего стандарта при соблюдении условий транспортирования, хранения и монтажа, установленных настоящим стандартом.
(справочное)
КОМПОНОВОЧНЫЕ СХЕМЫ МАРШЕВЫХ ЛЕСТНИЦ
Hэ - высота этажа или расстояние между перекрытиями;
H, L, B, Lп, Hог - номинальные размеры элементов лестниц;

- угол наклона лестниц;
b - ширина ступени;
h - высота ступени
Рисунок А.1
В схемах 2 - 5 рисунка А.1 узлы, отмеченные окружностью, выполняют жесткими на сварке с помощью дополнительных элементов.