Главная // Актуальные документы // ГОСТ (Государственный стандарт)СПРАВКА
Источник публикации
М.: Стандартинформ, 2018
Примечание к документу
Документ
введен в действие с 01.07.2019.
Название документа
"ГОСТ 28726.2-2018 (ISO 6978-2:2003). Межгосударственный стандарт. Газ природный. Определение ртути. Часть 2. Подготовка пробы путем амальгамирования сплава золото/платина"
(введен в действие Приказом Росстандарта от 07.08.2018 N 451-ст)
"ГОСТ 28726.2-2018 (ISO 6978-2:2003). Межгосударственный стандарт. Газ природный. Определение ртути. Часть 2. Подготовка пробы путем амальгамирования сплава золото/платина"
(введен в действие Приказом Росстандарта от 07.08.2018 N 451-ст)
агентства по техническому
регулированию и метрологии
от 7 августа 2018 г. N 451-ст
МЕЖГОСУДАРСТВЕННЫЙ СТАНДАРТ
ГАЗ ПРИРОДНЫЙ
ОПРЕДЕЛЕНИЕ РТУТИ
ЧАСТЬ 2
ПОДГОТОВКА ПРОБЫ ПУТЕМ
АМАЛЬГАМИРОВАНИЯ СПЛАВА ЗОЛОТО/ПЛАТИНА
Natural gas. Determination of mercury. Part 2.
Sampling of mercury by amalgamation of gold/platinum alloy
(ISO 6978-2:2003,
Natural gas - Determination of mercury - Part 2: Sampling
of mercury by amalgamation of gold/platinum alloy, MOD)
ГОСТ 28726.2-2018
(ISO 6978-2:2003)
Дата введения
1 июля 2019 года
Цели, основные принципы и основной порядок проведения работ по межгосударственной стандартизации установлены в
ГОСТ 1.0-2015 "Межгосударственная система стандартизации. Основные положения" и
ГОСТ 1.2-2015 "Межгосударственная система стандартизации. Стандарты межгосударственные, правила и рекомендации по межгосударственной стандартизации. Правила разработки, принятия, обновления и отмены"
1 ПОДГОТОВЛЕН Публичным акционерным обществом "Газпром" (ПАО "Газпром") и Обществом с ограниченной ответственностью "Научно-исследовательский институт природных газов и газовых технологий - Газпром ВНИИГАЗ" (ООО "Газпром ВНИИГАЗ") на основе русской версии международного стандарта, указанного в
пункте 5
2 ВНЕСЕН Федеральным агентством по техническому регулированию и метрологии
3 ПРИНЯТ Межгосударственным советом по стандартизации, метрологии и сертификации (протокол от 27 июня 2018 г. N 53)
За принятие проголосовали:
Краткое наименование страны по МК (ИСО 3166) 004-97 | Код страны по МК (ИСО 3166) 004-97 | Сокращенное наименование национального органа по стандартизации |
Азербайджан | AZ | Азстандарт |
Армения | AM | Минэкономики Республики Армения |
Беларусь | BY | Госстандарт Республики Беларусь |
Грузия | GE | Грузстандарт |
Казахстан | KZ | Госстандарт Республики Казахстан |
Киргизия | KG | Кыргызстандарт |
Молдова | MD | Институт стандартизации Молдовы |
Россия | RU | Росстандарт |
Таджикистан | TJ | Таджикстандарт |
Туркменистан | TM | Главгосслужба "Туркменстандартлары" |
Узбекистан | UZ | Узстандарт |
Украина | UA | Минэкономразвития Украины |
4
Приказом Федерального агентства по техническому регулированию и метрологии от 7 августа 2018 г. N 451-ст межгосударственный стандарт ГОСТ 28726.2-2018 (ISO 6978-2:2003) введен в действие в качестве национального стандарта Российской Федерации с 1 июля 2019 г.
5 Настоящий стандарт модифицирован по отношению к международному стандарту ISO 6978-2:2003 "Газ природный. Определение ртути. Часть 2. Подготовка пробы путем амальгамирования сплава золото/платина" ("Natural gas - Determination of mercury - Part 2: Sampling of mercury by amalgamation on gold/platinum alloy", MOD) путем изменения его структуры для приведения в соответствие с правилами, установленными в ГОСТ 1.5-2001 (
подразделы 4.2 и
4.3).
При этом дополнительные слова, значения показателей (если эти требования являются альтернативными, то они приведены в скобках), фразы, терминологические статьи, структурные элементы, выделены курсивом.
Определение ртути в природном газе методом атомно-абсорбционной спектрометрии (холодного пара) с использованием анализатора ртути УКР-1МЦ приведено в дополнительном
приложении ДА.
Значения массовой концентрации ртути в насыщенном парами ртути воздухе при различных температурах приведены в дополнительном
приложении ДБ.
Наименование настоящего стандарта изменено относительно наименования указанного международного стандарта для приведения в соответствие с ГОСТ 1.5-2001
(подраздел 3.6).
Сведения о соответствии ссылочных межгосударственных стандартов международным стандартам, использованным в качестве ссылочных в примененном международном стандарте, приведены в дополнительном
приложении ДВ.
Сопоставление структуры настоящего стандарта со структурой примененного в нем международного стандарта приведено в дополнительном
приложении ДГ
6 ВВЕДЕН ВПЕРВЫЕ
Информация об изменениях к настоящему стандарту публикуется в ежегодном информационном указателе "Национальные стандарты", а текст изменений и поправок - в ежемесячном информационном указателе "Национальные стандарты". В случае пересмотра (замены) или отмены настоящего стандарта соответствующее уведомление будет опубликовано в ежемесячном информационном указателе "Национальные стандарты". Соответствующая информация, уведомление и тексты размещаются также в информационной системе общего пользования - на официальном сайте Федерального агентства по техническому регулированию и метрологии в сети Интернет (www.gost.ru)
Природный газ может содержать значительное количество ртути, которая в большинстве случаев присутствует в элементарной форме. Газы с высоким содержанием ртути должны быть очищены для того, чтобы избежать конденсации ртути в процессе переработки и транспортировки, а также для обеспечения соответствия требованиям договора купли-продажи (или поставки) газа. Природный газ, направляемый на сжижение, необходимо очищать от ртути до достаточно низких концентраций с целью предотвращения серьезных проблем, связанных с коррозией, например, алюминиевых теплообменников установок для сжижения газа. Так как ароматические углеводороды, которые присутствуют почти во всех природных газах, оказывают мешающее влияние на определение ртути методами атомно-абсорбционной спектрометрии или атомно-флуоресцентной спектрометрии, прямое определение ртути в природном газе затруднено. Поэтому перед проведением ее определения необходимо удалить ароматические углеводороды из анализируемой пробы <1>. Наряду с отделением от ароматических углеводородов методика может предусматривать также концентрирование ртути.
--------------------------------
<1> В Российском Федеральном информационном фонде по обеспечению единства измерений под N ФР.1.31.2013.14986 зарегистрированы Рекомендации Р Газпром 5.16-2012 "Природный газ. Методика определения ртути методом атомно-абсорбционной спектрометрии (холодного пара)", предназначенные для прямых измерений массовой концентрации ртути в природном газе, подаваемом в магистральные газопроводы, с использованием анализаторов ртути РА-915М и УКР-1МЦ.
В Российском Федеральном информационном фонде по обеспечению единства измерений под N ФР.1.31.2016.23824 зарегистрирована "Методика измерений массовой концентрации ртути в природном газе методом атомно-абсорбционной спектроскопии с зеемановской коррекцией", предназначенная для прямых измерений массовой концентрации ртути в природном газе, подаваемом в магистральные газопроводы, и газе сепарации по ГОСТ Р 53521 с использованием анализатора ртути РА-915М.
Целью определения содержания ртути может быть контроль качества газа и контроль процесса удаления ртути (очистки газа перед сжижением) на газоперерабатывающих предприятиях.
Разработано несколько методов выделения ртути из природного газа. Отбор ртути из сухого природного газа обычно не вызывает никаких проблем. Однако следует соблюдать осторожность при выделении ртути из сырьевого (добываемого) природного газа при условиях, близких к конденсации тяжелых углеводородов (см.
[1]).
| | ИС МЕГАНОРМ: примечание. В официальном тексте документа, видимо, допущена опечатка: ГОСТ 28726.1-2017 имеет название "Газ природный. Определение ртути. Часть 1. Подготовка пробы путем хемосорбции ртути на йоде". | |
Комплекс межгосударственных стандартов под общим наименованием "Газ природный. Определение ртути" состоит из двух частей:
ГОСТ 28726.1-2017 "Природный газ. Определение ртути. Часть 1. Отбор пробы хемосорбцией ртути на йоде" - содержит описание метода выделения ртути из пробы газа посредством хемосорбции на силикагель, пропитанный йодом; ГОСТ 28726.2-2018 "Газ природный. Определение ртути. Часть 2. Подготовка пробы путем амальгамирования сплава золото/платина" - устанавливает процедуру выделения ртути из пробы газа путем амальгамирования нити из сплава золото/платина.
Настоящий стандарт устанавливает методику измерения суммарного содержания ртути (находящейся в виде неорганических и элементоорганических соединений) в транспортируемом по трубопроводам природном газе. Методика предусматривает выделение ртути из газа посредством амальгамирования нити, изготовленной из сплава золото/платина (Au/Pt), и последующее определение десорбированных паров ртути методом атомно-абсорбционной или атомно-флуоресцентной спектрометрии при длине волны 253,7 нм. Данная методика предназначена для определения массовой концентрации ртути в диапазоне от 0,01 до 100 мкг/м3 в случае отбора проб из природного газа низкого давления, и в диапазоне от 0,001 до 1 мкг/м3 в случае отбора проб из природного газа высокого давления (до 8 МПа). Методика предназначена для анализа природного газа, содержащего не более 100 мг/м3 сероводорода и не более 10 г/м3 суммы компонентов природного газа, конденсирующихся при условиях отбора (углеводороды C5+высш <1>).
--------------------------------
<1>
Определение сероводорода проводят по ГОСТ 22387.2. Определение массовой концентрации углеводородов C5+высш в природном газе проводят по ГОСТ 28726.1, приложение ДВ.
Примечание - Стандарт
[2] устанавливает требования к отбору проб для определения содержания общей ртути в природном газе при давлении не более 40 МПа путем хемосорбции на пропитанном йодом силикагеле. Данный способ отбора проб предназначен для определения массовой концентрации ртути в природном газе в диапазоне от 0,1 мкг/м
3 до 5000 мкг/м
3 методом атомно-абсорбционной или атомно-флуоресцентной спектрометрии.
В настоящем стандарте использованы нормативные ссылки на следующие межгосударственные стандарты:
ГОСТ 8.578-2014 Государственная система обеспечения единства измерений. Государственная поверочная схема для средств измерений содержания компонентов в газовых средах
ГОСТ 12.0.004-2015 Система стандартов безопасности труда. Организация обучения безопасности труда. Общие положения
ГОСТ 12.1.004-91 Система стандартов безопасности труда. Пожарная безопасность. Общие требования
ГОСТ 12.1.005-88 Система стандартов безопасности труда. Общие санитарно-гигиенические требования к воздуху рабочей зоны
ГОСТ 12.1.007-76 Система стандартов безопасности труда. Вредные вещества. Классификация и общие требования безопасности
ГОСТ 12.3.031-83 Система стандартов безопасности труда. Работы со ртутью. Требования безопасности
ГОСТ 12.4.021-75 Система стандартов безопасности труда. Системы вентиляционные. Общие требования
| | ИС МЕГАНОРМ: примечание. В официальном тексте документа, видимо, допущена опечатка: стандарт имеет номер ГОСТ 12.4.297-2015, а не ГОСТ 12.4.297-2013. | |
ГОСТ 12.4.297-2013 Система стандартов безопасности труда. Средства индивидуальной защиты органов дыхания. Изолирующие-фильтрующие автономные средства защиты органов дыхания. Технические требования. Методы испытаний. Маркировка. Правила отбора образцов
ГОСТ OIML R 76-1-2011 Государственная система обеспечения единства измерений. Весы неавтоматического действия. Часть 1. Метрологические и технические требования. Испытания
ГОСТ OIML R 111-1-2009 Государственная система обеспечения единства измерений. Гири классов E1, E2, F1, F2, M1, M1-2, M2, M2-3 и M3. Часть 1. Метрологические и технические требования
ГОСТ 2405-88 Манометры, вакуумметры, мановакуумметры, напоромеры, тягомеры и тягонапоромеры. Общие технические условия
ГОСТ 4328-77 Реактивы. Натрия гидроокись. Технические условия
ГОСТ 9293-74 (ИСО 2435-73) Азот газообразный и жидкий. Технические условия
ГОСТ 22056-76 Трубки электроизоляционные из фторопласта 4Д и 4ДМ. Технические условия
ГОСТ 22387.2-2014 Газы горючие природные. Методы определения сероводорода и меркаптановой серы
| | ИС МЕГАНОРМ: примечание. В официальном тексте документа, видимо, допущена опечатка: ГОСТ 28726.1-2017 имеет название "Газ природный. Определение ртути. Часть 1. Подготовка пробы путем хемосорбции ртути на йоде". | |
ГОСТ 28726.1-2017 (ISO 6978-1:2003) Газ природный. Определение ртути. Часть 1. Отбор пробы хемосорбцией ртути на йоде
ГОСТ 30268-95 Угли активные импрегнированные. Технические условия
ГОСТ 30852.19-2002 (МЭК 60079-20:1996) Электрооборудование взрывозащищенное. Часть 20. Данные по горючим газам и парам, относящиеся к эксплуатации электрооборудования
Примечание - При пользовании настоящим стандартом целесообразно проверить действие ссылочных стандартов в информационной системе общего пользования - на официальном сайте Федерального агентства по техническому регулированию и метрологии в сети Интернет или по ежегодному информационному указателю "Национальные стандарты", который опубликован по состоянию на 1 января текущего года, и по выпускам ежемесячного информационного указателя "Национальные стандарты" за текущий год. Если ссылочный стандарт заменен (изменен), то при пользовании настоящим стандартом следует руководствоваться заменяющим (измененным) стандартом. Если ссылочный стандарт отменен без замены, то положение, в котором дана ссылка на него, применяется в части, не затрагивающей эту ссылку.
В настоящем стандарте применены следующие термины с соответствующими определениями:
природный газ низкого давления (low-pressure natural gas): Природный газ, имеющий избыточное давление от 0 до 0,2 МПа. [ГОСТ 31370-2008 (ИСО 10715:1997), пункт 3.9]. |
3.2
природный газ высокого давления (high-pressure natural gas): Природный газ с избыточным давлением, превышающим 0,2 МПа. [ГОСТ 31370-2008 (ИСО 10715:1997), пункт 3.4]. |
3.3 байпас сети газораспределения [газопотребления]: Обводной газопровод сети газораспределения [газопотребления] <1>.
--------------------------------
3.4 хемосорбция (компонентов природного газа) (chemisorption): Абсорбция или адсорбция одного или нескольких компонентов природного газа, сопровождающаяся образованием химических соединений с абсорбентом или адсорбентом <2>.
--------------------------------
| | ИС МЕГАНОРМ: примечание. В официальном тексте документа, видимо, допущена опечатка: имеется в виду ГОСТ Р 53521-2009, ст. 60, а не ст. 5. | |
Выделение ртути из природного газа выполняют при температуре, как минимум на 10 °C превышающей температуру точки росы исследуемого газа. Газ пропускают через две расположенные последовательно пробоотборные кварцевые трубки, содержащие тонкую нить из сплава золото/платина. Ртуть накапливается на нити из сплава золото/платина в виде амальгамы. Затем каждую пробоотборную трубку по отдельности нагревают до 700 °C для извлечения ртути из амальгамы. Образовавшиеся пары ртути из пробоотборных трубок переносятся потоком воздуха в аналитическую трубку, заполненную нитью из сплава золото/платина (двойное амальгамирование). Затем аналитическую кварцевую трубку нагревают до 800 °C. Образовавшиеся пары ртути направляют в атомно-абсорбционный спектрометр (ААС) или атомно-флуоресцентный спектрометр (АФС) для измерения интенсивности поглощаемого (или испускаемого) излучения при длине волны 253,7 нм. При обработке результатов измерений используют площадь аналитического сигнала (интегральный сигнал).
Данный метод предназначен для определения массовой концентрации ртути в диапазоне от 0,01 до 100 мкг/м3 в случае отбора проб из природного газа низкого давления и в диапазоне от 0,001 до 1 мкг/м3 в случае отбора проб из природного газа высокого давления (до 8 МПа). Для минимизации диффузии ртути с поверхности сплава золото/платина в его объем, которая может привести к занижению получаемых результатов, определение ртути необходимо проводить не позднее, чем через неделю после ее отбора.
Вместо тонкой нити из сплава золото/платина могут быть использованы другие сорбенты, например, пропитанные золотом гранулы силикагеля с большой площадью поверхности, если они характеризуются такой же эффективностью применительно к отбору ртути из природного газа.
Если не указано специально, то объем газа выражают в кубических метрах при температуре 293,15 К и давлении 101,325 кПа <1>.
--------------------------------
<1>
В Российской Федерации в соответствии с ГОСТ Р 56333-2015 принята стандартная температура определения физико-химических свойств газа горючего природного, равная 293,15 К и давление 101,325 кПа.
Примечание - Сопоставимость двух методик отбора проб (при атмосферном и при высоком давлении) для двух различных уровней концентрации ртути была доказана путем межлабораторных испытаний.
5 Требования безопасности, охраны окружающей среды
5.1 К работе с природным газом приступают после прохождения противопожарного инструктажа, обучения правилам безопасности и проверки знаний в соответствии с ГОСТ 12.0.004.
5.2 Углеводороды, входящие в состав природного газа, образуют с воздухом горючие взрывоопасные смеси. Классы взрывоопасных зон следует определять по ГОСТ 30852.19.
5.3 Все производственные помещения, в которых проводят работы с природным газом, должны быть обеспечены вентиляцией, соответствующей требованиям ГОСТ 12.4.021. Санитарно-гигиенические требования к показателям микроклимата и допустимому содержанию вредных веществ в воздухе рабочей зоны должны соответствовать ГОСТ 12.1.005.
5.4 Ртуть по степени воздействия на организм человека относится к 1-му классу опасности в соответствии с требованиями ГОСТ 12.1.007. Наибольшую опасность представляют ртутные пары, источником которых является открытая поверхность ртути. Ртуть вызывает острые и хронические отравления, проникая в организм через органы дыхания, пищеварительный тракт, слизистые оболочки и кожу. Хронические формы ртутной интоксикации выражаются в поражении центральной нервной системы.
5.5 Предельно допустимая концентрация (ПДК) паров металлической ртути в воздухе рабочей зоны, установленная по ГОСТ 12.1.005, составляет 0,01/0,005 мг/м3 (максимальная разовая/среднесменная).
5.6 При выполнении измерений содержания ртути в природном газе и проведении градуировки анализатора следует соблюдать требования ГОСТ 12.3.031 <2>.
--------------------------------
5.7 При разливе ртуть должна быть собрана механическими способами (смывом водой, засасыванием с помощью вакуума, сбором амальгамированной медной пластинкой, обработкой порошком серы и т.п.) с обязательной последующей химической обработкой места, на котором она была пролита, в соответствии с требованиями ГОСТ 4658.
5.8 По токсикологической характеристике согласно ГОСТ 12.1.007 углеводороды, входящие в состав природного газа, относят к веществам 4-го класса опасности, серосодержащие компоненты - к веществам 2-го и 3-го классов опасности.
5.9 Предельно допустимые концентрации паров углеводородов в воздухе рабочей зоны установлены в ГОСТ 12.1.005. ПДК метана в воздухе рабочей зоны - 7000 мг/м3 (максимальная разовая); углеводородов алифатических предельных C2 - C10 (в пересчете на углерод) - 900 мг/м3 (максимальная разовая) и 300 мг/м3 (среднесменная).
5.10 Общие правила по обеспечению взрыво- и пожаробезопасности, меры предупреждения и средства защиты работающих от воздействия природного газа, требования к личной гигиене, оборудованию и помещениям регламентируется системой стандартов безопасности труда, утвержденных в организации в установленном порядке.
6 Требования к квалификации персонала
6.1 К выполнению измерений и обработке результатов допускают лиц, имеющих высшее или среднее профессиональное образование, опыт работы с газом, находящимся в баллонах под давлением, прошедших инструктаж и проверку знаний по охране труда, инструктаж по безопасности и проверку знаний производственных инструкций по профессии, владеющих техникой атомного спектрального анализа и процедурами обработки результатов, изучивших руководство по эксплуатации применяемого оборудования и настоящий стандарт.
6.2 Ремонт и наладку средств измерений осуществляют специалисты, имеющие квалификацию в соответствии с требованиями эксплуатационной документации на оборудование.
7 Общие условия выполнения измерений
7.1 Температура окружающего воздуха и анализируемого природного газа при выполнении измерений должна находиться в диапазоне от 10 °C до 35 °C.
7.2 Относительная влажность воздуха при выполнении измерений должна находиться в диапазоне от 30% до 80%.
7.3 Атмосферное давление при выполнении измерений должно находиться в диапазоне от 84,0 до 106,7 кПа (от 630 до 800 мм рт. ст.).
7.4 Напряжение переменного тока при выполнении измерений должно составлять (220 +/- 22) В.
7.5 Частота переменного тока при выполнении измерений должна составлять (50,0 +/- 0,4) Гц.
7.6 При выполнении измерений не допускается наличие механических воздействий, внешних электрических и магнитных полей, влияющих на работу аппаратуры.
7.7 Содержание агрессивных газов и паров, уровни рентгеновского и гамма-излучения при выполнении измерений не должны превышать санитарных норм.
8.1 Оборудование для выделения ртути из природного газа (см. рисунок 1).
1 - трубопровод; 2 - пробоотборный вентиль; 3 - первая
байпасная линия; 4 - вентиль первой байпасной линии;
5 - вентиль тонкой регулировки; 6 - вторая байпасная линия;
7 - трехходовой кран; 8 - алюминиевая обогреваемая камера;
9 - указатель расхода (ротаметр); 10 - средство измерений
объема газа; 11 - средство измерений температуры;
12 - средство измерений давления (от 0 до 10 МПа),
13 - средство измерений давления (от 0 до 16 кПа)
Рисунок 1 - Схема оборудования
для выделения ртути из природного газа
8.1.1 Для отбора проб при атмосферном давлении используют следующее оборудование:
8.1.1.1 Обогреваемый вентиль байпасной линии.
8.1.1.2 Обогреваемый вентиль тонкой регулировки (игольчатого типа).
8.1.1.3 Трехходовой кран для второй байпасной линии.
8.1.1.4 Состоящая из двух частей алюминиевая камера с датчиком температуры (не показан на
рисунке 1), которая может быть нагрета до температуры не более 100 °C (см. рисунок 2), с цилиндрическим каналом в средней части, стенки которого покрыты слоем силиконовой резины (толщиной примерно 2 мм). Канал предназначен для удерживания кварцевых пробоотборных трубок с нитью из сплава золото/платина (см.
рисунок 3) в процессе отбора пробы, в том числе при повышенной температуре (если это необходимо).
1 - нагревательный элемент; 2 - силиконовая резина
(приклеена); 3 - центральная линия
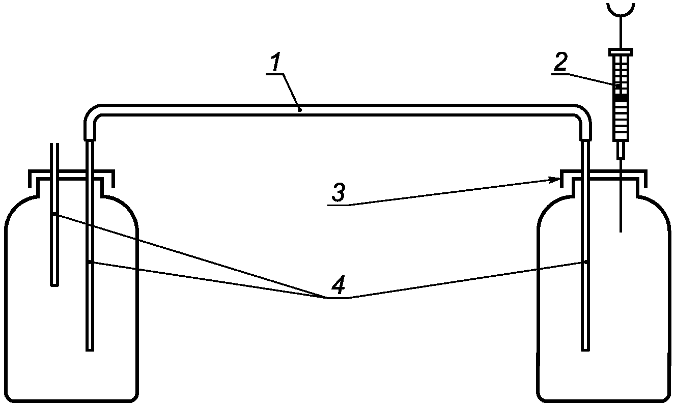
Рисунок 2 - Алюминиевая обогреваемая камера
1 - нить из сплава золото/платина;
2 - выступ; 3 - уплотнительное кольцо
Рисунок 3 - Кварцевые пробоотборная и аналитическая трубки
- один с верхним пределом измерений расхода 50 дм3/мин;
- два с верхним пределом измерений расхода 5 дм3/мин.
8.1.1.6 Средство измерений давления с диапазоном измерений от 0 до 10 МПа, от 0 до 16 кПа.
Пример - Манометры класса точности 1,5 (для диапазона измерений от 0 до 10 МПа), класса точности 0,6 (для диапазона измерений от 0 до 16 кПа) по ГОСТ 2405.
8.1.1.7 Средство измерений температуры.
Пример - Термометр ТЛ-4 N 2 (с диапазоном измерения температуры от 0 °C до 55 °C и ценой деления 0,1 °C). <1>
--------------------------------
8.1.1.8 Средство измерений объема газа для газовых потоков с расходом <= 5 дм
3/мин.
Пример - Счетчик газа объемный диафрагменный СГК - 1,6.
8.1.1.9 Барометр для измерения значения атмосферного давления.
Пример - Барометр-анероид БАММ-1 с диапазоном измерений от 80 до 106 кПа и ценой деления 0,1 кПа. <2>
--------------------------------
8.1.2 Оборудование для выделения ртути при высоком давлении (см.
рисунок 4), включающее следующие составляющие:
8.1.2.1 Средство измерений давления с диапазоном измерения от 0 до 25 МПа.
Пример - Манометр класса точности 2,5 по ГОСТ 2405.
8.1.2.2 Вентиль.
8.1.2.3 Вентиль байпасной линии.
8.1.2.4 Редукторы (два).
8.1.2.5 Трехходовой кран.
8.1.2.6 Клапаны предохранительные, тарированные на давление 10 МПа и 4 кПа, для защиты сосуда высокого давления и газового счетчика от избыточного давления.
8.1.2.7 Средство измерений давления с диапазоном измерения от 0 до 10 МПа по
8.1.1.6.
8.1.2.8 Средство измерений температуры с диапазоном измерения температуры от 0 °C до 55 °C по
8.1.1.7.
8.1.2.9 Средство измерений объемного расхода газа для контроля расхода газа через сосуд высокого давления, например, ротаметр по
8.1.1.5.
8.1.2.10 Ленточный электронагревательный элемент для обогрева установки, за исключением предохранительных клапанов и расходомера.
8.1.2.11 Средство измерений объема газа для газовых потоков с расходом <= 50 дм3/мин.
Пример - Счетчик газа объемный диафрагменный по 8.1.1.8 или СГК-2,5.
8.1.2.12 Барометр для измерения значения атмосферного давления по
8.1.1.9.
8.1.2.13 Сосуд высокого давления, все детали которого изготовлены из нержавеющей стали (см. детальную конструкцию на рисунке 4).
1 - средство измерений давления (от 0 до 25 МПа);
2 - вентиль; 3 - вентиль байпасной линии; 4 - редуктор;
5 - клапан сброса давления, установленный на 10 МПа;
6 - трехходовой кран; 7 - нагревательная лента; 8 - сосуд
высокого давления; 9 - средство измерений давления (от 0
до 10 МПа); 10 - редуктор; 11 - клапан сброса давления,
установленный на 4 кПа; 12 - указатель расхода (ротаметр);
13 - водяной затвор со столбом воды высотой 0,4 м;
14 - фиксатор с резьбой М20; 15 - шаровидная муфта;
16 - уплотнительное кольцо; 17 - съемный винт
(политетрафторэтилен) с резьбой М20; 18 - первая
пробоотборная трубка; 19 - вторая пробоотборная трубка;
20 - хомут; 21 - фитинг; 22 - средство измерений объема
газа; 23 - средство измерений температуры; 24 - средство
измерений давления (от 0 до 16 кПа)
Рисунок 4 - Схема оборудования
для отбора проб при высоком давлении
Можно также использовать оборудование для отбора проб при высоком давлении, описанное в
ГОСТ 28726.1, после его адаптации для двух пробоотборных трубок. Оборудование для отбора проб при высоком давлении можно также использовать для отбора проб при атмосферном давлении.
8.1.2.14 Соединения между входом в сосуд высокого давления и пробоотборными трубками, состоящие из шаровидной муфты, установленной в фиксаторе с резьбой, и съемного винта.
8.2 Установка для десорбции (см.
рисунок 5), включающая в себя следующие компоненты:
8.2.1 Печь для трубок, для термодесорбции ртути из кварцевых пробоотборных или кварцевых аналитических трубок.
Длина зоны нагрева печи должна составлять (120 +/- 20) мм для охвата части трубки, заполненной нитью из сплава Au/Pt. Внутренний диаметр печи должен позволять свободно проходить раструбам трубки. Нагревательная способность печи должна обеспечивать достижение значения температуры 800 °C менее чем за 2 мин.
8.2.2 Кварцевые аналитические трубки (см.
рисунок 3).
8.2.3 Ловушка для ртути (см. рисунок 5), заполненная обработанным серой активированным углем (например, уголь активированный, импрегнированный серой, марки Norit RBHG), или любым другим подходящим адсорбентом ртути, например, сплавом золото/платина или ртутепоглотительным фильтром ФРП-1.
1 - воздушный насос; 2 - ловушка для ртути; 3 - ротаметр;
4 - трубки из ПВА; 5 - пробоотборная трубка; 6 - печь
для трубок; 7 - термометр; 8 - соединительная стеклянная
трубка; 9 - аналитическая трубка; 10 - стекловолокно;
11 - адсорбент (например, активированный
уголь, обработанный серой)
Рисунок 5 - Схема установки для десорбции ртути
8.2.4 Насос воздушный (побудитель расхода, компрессор), с производительностью не менее 2 дм3/мин.
8.2.5 Ротаметр с диапазоном измерения от 1 до 5 дм
3/мин, например, по
8.1.1.5.
8.2.6 Трубки из поливинилацетата (ПВА) внутренним диаметром 3 мм. Допускается также использовать трубки из фторопласта или полиамида.
8.3 Атомно-абсорбционный спектрометр (ААС) или атомно-флуоресцентный спектрометр (АФС) с
ртутно-гидридной приставкой для определения ртути методом холодного пара, с пределом детектирования ртути не более 0,05 нг,
диапазоном измерений массовой концентрации ртути от 0,00001 до 0,05 мг/м3, пределами допускаемой основной относительной погрешности измерений +/- 20%.
Допускается использовать отечественные анализаторы со встроенной градуировкой <2>.
Пример - Универсальный ртутеметрический комплекс УКР-1МЦ <1>, <2>, или анализатор ртути в природном газе АРПГ-1 <3>.
--------------------------------
<1> В Российском Федеральном информационном фонде по обеспечению единства измерений под N ФР.1.31.2013.14986 зарегистрированы Рекомендации Р Газпром 5.16-2012 "Природный газ. Методика определения ртути методом атомно-абсорбционной спектрометрии (холодного пара)", предназначенные для прямых измерений массовой концентрации ртути в природном газе, подаваемом в магистральные газопроводы, с использованием анализаторов ртути РА-915М и УКР-1МЦ.
8.4 Установка для получения насыщенного парами ртути воздуха (см.
9.6), состоящая из элементов, приведенных в 8.4.1 -
8.4.7, для градуировки анализатора ртути.
8.4.1 Два стеклянных сосуда вместимостью от 100 до 500 см
3 каждый (см.
рисунок 6).
8.4.2 Навинчиваемая крышка с мембраной из силиконовой резины с покрытием из политетрафторэтилена.
8.4.3 Трубки из ПВА
или из фторопласта по ГОСТ 22056.
8.4.4 Иглы из нержавеющей стали.
8.4.5 Средство измерения температуры по
8.1.1.7.
8.4.6 Бокс со слоем теплоизоляции для минимизации температурных колебаний.
8.4.7 Газонепроницаемый стеклянный шприц вместимостью от 500 до 5000 мм
3, оснащенный штоком из политетрафторэтилена и иглой из нержавеющей стали.
Пример - Газонепроницаемый шприц фирмы SGE, Hamilton (серии 1000, 1700) или аналогичного типа из стекла и политетрафторэтилена вместимостью от 500 до 5000 мм3 с ценой деления от 10 до 100 мм3, соответственно.
8.5 Пробоотборные и аналитические трубки (см.
рисунок 3).
8.6 Весы лабораторные по ГОСТ OIML R 76-1 высокого класса точности с действительной ценой деления не более 1 мг и максимальной нагрузкой не менее 100 г.
8.8 Термодиффузионный генератор ртути <1> с источником микропотока ртути ИМ-Hg <2>.
--------------------------------
8.9 Генератор паров ртути ГРП-2 <3>.
--------------------------------
Примечание - Все применяемые средства измерений должны быть поверены в установленном порядке и иметь действующие свидетельства о поверке (либо клейма). Допускается использование других средств измерений и вспомогательных устройств аналогичного назначения, технические характеристики которых не уступают указанным, а также реактивов и материалов, обеспечивающих нормативы точности при проведении измерений.
Следует использовать реактивы и материалы, содержащие ничтожно малое количество ртути.
9.1 Нить из сплава золото/платина (Au/Pt) с содержанием золота от 70% до 90% (остальное - платина), диаметром 0,1 мм и длиной 10 м (для заполнения одной кварцевой трубки).
Вместо нити из сплава золото/платина можно использовать гранулы силикагеля с удельной поверхностью примерно 10 м2/г, содержащие 3% масс. золота.
9.2 Металлическая ртуть, чистота >= 99,9%.
Пример - Ртуть по ГОСТ 4658 марок Р0, Р1 или Р2.
9.3 Растворители метанол и изооктан
9.4 Активированный уголь, насыщенный серой, для очистки воздуха (или любой другой подходящий адсорбент ртути, такой как сплав золото/платина).
Примеры
1 Уголь активированный, импрегнированный серой, например марки Norit RBHG, или уголь активированный, пропитанный сульфидами металлов, например адсорбенты Select Hg;
2 Угли активные импрегнированные йодом по ГОСТ 30268.
9.5 Порошок серы, для обработки мелких капель пролитой ртути.
9.6 Насыщенный парами ртути воздух (см. рисунок 6).
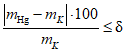
1 - трубка из ПВА; 2 - газонепроницаемый стеклянный
шприц; 3 - навинчиваемая крышка с мембраной
из силиконовой резины с покрытием из политетрафторэтилена;
4 - иглы из нержавеющей стали
Рисунок 6 - Аппаратура для получения насыщенного
парами ртути воздуха (должна быть размещена
в теплоизолированном боксе)
В два стеклянных сосуда помещают по 20 г металлической ртути и закрывают навинчивающимися крышками с мембраной из силиконовой резины. В мембрану крышки каждого стеклянного сосуда герметично вставляют иглу из нержавеющей стали; иглы соединяют между собой с помощью трубки из ПВА (см.
рисунок 6). Для поддержания атмосферного давления в первом сосуде в мембрану его крышки вставляют еще одну иглу из нержавеющей стали по
8.4.4. Оба сосуда помещают в теплоизолированный бокс для минимизации температурных колебаний. Между слоем теплоизоляционного материала и стенкой второго сосуда устанавливают термометр (на
рисунке 6 не показан). Прокалывают мембрану крышки второго сосуда иглой газонепроницаемого
стеклянного шприца по 8.4.7 и отбирают воздух, насыщенный парами ртути. Для достижения равновесного состояния в установке для получения насыщенного парами ртути воздуха требуется не менее 1 ч.
9.7 Стандартный образец состава водного раствора ионов ртути (номинальное значение массовой концентрации 1,00 г/дм3, погрешность +/- 1%), например, ГСО 7440-98, ГСО 8004-93/8006-93, ГСО 7879-2001.
9.8 Реактивы для приготовления восстановительного раствора.
9.8.2 Хлорид олова (II) 2-водный, ч. д. а <4>. или импортный, например, производства фирмы "Fluka", номер по каталогу 96528.
--------------------------------
9.10 Фильтр для удаления ртути из воздуха, заполненный активированным углем, пропитанным серой по ГОСТ 127.1.
Допускается использовать активированный уголь Norit RBHG по ТВ 71/03-03 или ртутепоглотительный фильтр ФРП-1.
10 Подготовка пробоотборных и аналитических трубок
Скручивают 10 м нити из сплава золото/платина (см.
9.1) в шар, который затем формируют в виде цилиндра, помещающегося в пробоотборную или аналитическую трубку (см.
рисунок 3) и имеющего сужение для прохода через выступы. Скрученную в цилиндр нить помещают в трубку таким образом, чтобы она частично прошла через выступы (15 +/- 5) мм, затем вдавливают нить, чтобы заполнить поперечное сечение трубки, как показано на
рисунке 3. В результате в пробоотборных трубках должна быть заполнена зона длиной примерно (80 +/- 5) мм, а в аналитических трубках - длиной примерно (60 +/- 5) мм.
При заполнении трубок покрытыми золотом гранулами силикагеля их располагают между тампонами из стекловолокна. Длина сорбционной зоны должна составлять (10 +/- 1) мм.
Перед использованием пробоотборные и аналитические кварцевые трубки тщательно очищают путем их нагревания в течение нескольких минут до температуры 800 °C в потоке чистого воздуха. Данную процедуру повторяют не менее трех раз.
Для проверки трубок на загрязнение ртутью их подсоединяют к ААС или АФС, как описано в
10.3. Если трубки содержат >= 0,1 нг ртути, повторяют процедуру их очистки до достижения требуемого уровня.
После очистки и охлаждения трубок их немедленно запечатывают пленкой из полимерного материала или чистыми резиновыми заглушками и хранят в герметично закрытой емкости. Рекомендуется использовать по крайней мере одну трубку для проведения холостого опыта с целью учета возможных загрязнений трубок во время хранения.
10.3 Контроль эффективности
Со временем и/или по мере использования эффективность пробоотборных и аналитических трубок может снижаться, что приводит к неполной сорбции ртути в трубке. Поэтому эффективность трубки следует периодически проверять, особенно когда найденная концентрация ртути меньше по сравнению с результатами, полученными с помощью других трубок, или когда соотношение ртути в первой и во второй трубках отличается от данных, полученных при параллельных измерениях.
Для проверки эффективности после подсоединения трубки к ААС или АФС через нее продувают воздух, аргон или азот в измерительную ячейку ААС или АФС. Затем в поток вводят от 0,8 до 0,9 см
3 воздуха, насыщенного парами ртути (см.
9.6), в котором содержится примерно 10 нг ртути. Если на ААС или АФС будет наблюдаться отклик, соответствующий содержанию ртути выше 0,1 нг, эффективность трубки признается неудовлетворительной. В этом случае находящуюся в трубке нить из сплава золото/платина необходимо реактивировать в медленном токе очищенного воздуха (см.
12.1) путем нагрева трубки несколько раз до температуры 800 °C в течение 10 - 20 мин. Затем снова проверяют эффективность трубки и при неудовлетворительных результатах трубку очищают согласно
10.2.
--------------------------------
Помещения должны соответствовать требованиям пожаробезопасности по ГОСТ 12.1.004 и должны быть обеспечены вентиляцией, соответствующей требованиям ГОСТ 12.4.021.
В природном газе ртуть присутствует в сверхнизких концентрациях. Для получения надежных результатов при определении таких низких содержаний ртути необходимо предпринимать определенные меры предосторожности. На определение микроколичеств ртути оказывают значительное влияние следующие факторы:
a) сорбция ртути оборудованием для отбора проб, которая приводит к занижению получаемых результатов;
b) загрязнение оборудования или лабораторного воздуха ртутью, что приводит к завышению получаемых результатов.
Поэтому необходимо проверять все оборудование и реактивы, используемые в данном методе, перед их применением.
Ртуть легко сорбируется большинством обычно применяемых для пробоподготовки материалов. Поэтому для получения надежных результатов рекомендуется использовать кварцевое стекло, боросиликатное стекло и нержавеющую сталь. Рекомендуется проводить предварительное кондиционирование системы отбора проб, параметры которого будут зависеть от длины подводок, используемых материалов и объемного расхода газа. Для переноса паров ртути в спектрометр рекомендуется использование соединительных трубок из ПВА. Допускается также использование трубок из фторопласта или полиамида.
В каждой точке отбора отбирают не менее трех проб.
Примечание - Кондиционирование системы - это выдерживание оборудования и материалов для отбора проб при нормальных условиях в очищенной от ртути среде.
11.2 Условия для отбора представительных проб
Общие требования отбора проб природного газа приведены в
ГОСТ 31370.
Вследствие склонности ртути к сорбции (см.
11.1) следует выполнять только прямой отбор проб.
Перед началом отбора пробы следует очистить начальный участок пробоотборной системы (включая пробоотборный вентиль) продувкой пробой для удаления загрязнений в течение 5 мин. Следует избегать чрезмерной продувки, так как это может приводить к промерзанию пробоотборной системы вследствие расширения газа (эффекта Джоуля-Томпсона).
Пробоотборная линия должна быть как можно короче.
Перед сорбционными трубками рекомендуется смонтировать короткую байпасную линию. Это гарантирует высокий объемный расход газа в пробоотборной системе и минимизирует сорбционные явления. Это особенно важно, когда отбор проб сопровождается снижением давления природного газа, и когда для определения ртути используют относительно малые объемы природного газа.
11.3 Отбор проб при атмосферном давлении
Отбор проб при низких (близких к атмосферному давлению) значениях давления природного газа осуществляют с помощью системы, представленной на
рисунке 1 (см.
8.1.1).
При использовании низких (на уровне 2 дм3/мин) объемных расходов газа сначала хорошо продувают начальный участок пробоотборной системы (включая пробоотборный вентиль). Как правило, используемый для продувки объем газа должен не менее чем в 10 раз превышать продуваемый объем. Для минимизации сорбции ртути при низких объемных расходах анализируемого газа на участке пробоотборной системы с высоким давлением рекомендуется использовать байпасную линию, в которой объемный расход газа превышает объемный расход газа в пробоотборной линии как минимум в 10 раз.
Соединяют оборудование для выделения ртути из природного газа (см.
рисунок 1) с пробоотборным вентилем. Если перед отбором проб давление газа необходимо снизить, нагревают газовый поток в теплообменнике до такой степени, чтобы температура газа после его расширения более чем на 10 °C превышала температуру точки росы по воде (температура природного газа снижается со скоростью 4 °C/МПа).
Нагревают алюминиевую камеру (см.
8.1.1.4 и
рисунок 1) до такой же температуры. Устанавливают объемный расход газа в первой байпасной линии около 20 дм
3/мин. Устанавливают объемный расход газа через трехходовой кран (см.
8.1.1.3 и
рисунок 1) в пробоотборные трубки и во вторую байпасную линию около 2 дм
3/мин. Перед началом отбора проб кондиционируют оборудование для выделения ртути не менее 1 ч, при этом поток газа направляется в обход пробоотборных трубок либо их заменяют на пустые трубки.
Во избежание загрязнения ААС и АФС большими количествами ртути (очистка от них может занять длительное время) количество накопленной при отборе проб ртути должно входить в рабочий диапазон определяемых на ААС и АФС концентраций. Поэтому рекомендуется начинать с небольших объемов пробы (5 дм3 для первого измерения), постепенно увеличивая объем пробы до получения аналитического сигнала ртути оптимальной величины на ААС и АФС. Если измерения будут проводить в лаборатории, удаленной от места отбора проб, то рекомендуется для отбора ртути использовать несколько различных объемов одной и той же пробы.
Исходное положение перед началом отбора проб - поток анализируемого газа проходит через трехходовой кран (см.
8.1.1.3) на байпасную линию. Две чистых пробоотборных трубки соединяют друг с другом встык короткой эластичной силиконовой трубкой и помещают в алюминиевую камеру, нагретую до температуры, которая более чем на 10 °C превышает температуру точки росы. С одного конца пробоотборные трубки соединяют с трехходовым краном, а с другого с ротаметром и газовым счетчиком. Фиксируют начальное показание газового счетчика (
Vi) и поворотом трехходового крана направляют поток газа через пробоотборные трубки. В процессе накопления ртути записывают значения давления (
pg) и температуры газа (
tg) через определенные промежутки времени или, как минимум, в начале и в конце отбора проб.
После пропускания заранее определенного объема газа через пробоотборные трубки поворотом трехходового крана поток газа переключают на байпасную линию. Фиксируют конечное показание газового счетчика (
Vf), отсоединяют пробоотборные трубки от пробоотборной линии, извлекают из алюминиевой камеры и запечатывают их концы как описано в
10.2. Также записывают время и дату отбора, атмосферное давление (
pа). Записывают, какая трубка была первой, какая второй, а также отмечают направление потока газа при отборе проб.
Если после проведения отбора проб визуальный осмотр трубки обнаруживает в ней наличие жидкого конденсата, данный образец признают браком (ненадежные результаты) и изменяют условия отбора проб, например, повышают температуру анализируемого газа и снижают объем пробы. Очищают пробоотборные трубки согласно
11.5.
В процессе отбора проб ртуть может частично проскакивать сквозь первую пробоотборную трубку (этот эффект может быть обусловлен наличием конденсата, покрывающего поверхность нити из сплава золото/платина). Если более 25% от общего содержания ртути в обеих трубках проходит сквозь первую пробоотборную трубку, снижают объемный расход газа при отборе пробы и/или объем пробы. Если по первой трубке проходит менее 10% от общего содержания ртути, при отборе проб повышают объемный расход газа и/или объем пробы.
Если в трубках не исключают появление конденсата, то эффективность отбора проб проверяют в соответствии с
10.3 посредством ввода в пробоотборную трубку примерно 400 мм
3 воздуха, насыщенного парами ртути (см.
9.6), с содержанием ртути примерно 5 нг. Прохождение ртути может свидетельствовать как о неблагоприятном влиянии конденсата (выпадение которого сложно заметить визуально), так и о перегрузке сорбента. В этом случае очищают пробоотборную трубку согласно
10.2.
Пробоотборные трубки с накопленной ртутью предпочтительно анализировать непосредственно на месте отбора проб, однако можно также плотно закрыть их пленкой из полимерного материала или чистыми резиновыми заглушками и хранить в герметично закрытом сосуде перед проведением анализа не более одной недели. Вместе с трубками с накопленной ртутью рекомендуется также хранить, по крайней мере, одну пробоотборную трубку с холостой пробой для контроля загрязнения ртутью в период хранения.
11.4 Отбор проб при высоком давлении
Отбор проб при высоком давлении (свыше 0,2 МПа) позволяет пропускать через пробоотборные трубки значительно больший объем газа за короткий период времени без изменения его давления и температуры. Это может также предотвратить ретроградную конденсацию углеводородов. Для обеспечения точного измерения объема анализируемого газа необходим его подогрев с помощью теплообменников перед снижением давления газа. Подогрев газа осуществляют в соответствии
ГОСТ 31370 (подраздел 6.2). Также нагревают вентиль тонкой регулировки для предотвращения процессов конденсации и сорбции. Для обеспечения безопасности байпасная линия должна быть подсоединена к газовой линии низкого давления (менее 0,2 МПа) или к линии сброса.
Открывают пробоотборный вентиль (на
рисунке 4 не показан) и продувают начальный участок пробоотборной системы в течение 5 мин, чтобы очистить его от загрязнения. При этой процедуре руководствуются положениями
ГОСТ 31370 для предотвращения замерзания пробоотборного вентиля вследствие эффекта Джоуля-Томпсона. Пробоотборная линия из нержавеющей стали от пробоотборного вентиля к сосуду высокого давления (показана на
рисунке 4) должна иметь минимальную длину для предотвращения потерь ртути в результате ее адсорбции на внутренней поверхности пробоотборной линии, а также во избежание падения температуры анализируемого газа.
Нагревают пробоотборную систему до температуры, приблизительно на 10 °C превышающей температуру точки росы по воде. Процедуру отбора проб выполняют в соответствии с
рисунком 4. Соединяют первую пробоотборную трубку (заполненную в соответствии с
10.1 нитью из сплава золото/платина) с шаровидной муфтой сосуда высокого давления при помощи фиксатора с резьбой, съемного винта и уплотнительного кольца. Соединяют вторую пробоотборную трубку с первой, используя стеклянный фитинг и хомуты. Закрывают сосуд высокого давления и соединяют его с пробоотборной системой. При закрытом вентиле
2 открывают пробоотборный вентиль (не показан на
рисунке 4) и регистрируют значение давления на манометре (от 0 до 25 МПа). При закрытом редукторе, который расположен перед сосудом высокого давления, открывают вентиль
2 и затем открывают сбросной вентиль
3, чтобы продуть пробоотборные линии. После их продувки сбросной вентиль
3 закрывают. Устанавливают трехходовой кран
6 таким образом, чтобы поток газа двигался в обход сосуда высокого давления. При закрытом редукторе, который находится за сосудом высокого давления, медленно открывают редуктор
4, находящийся до сосуда высокого давления. Затем медленно открывают редуктор
10, который находится за сосудом высокого давления, и при помощи расходомера
12 устанавливают объемный расход газа через газовый счетчик на уровне 20 дм
3/мин.
После кондиционирования оборудования для отбора проб в течение не менее 1 ч направляют поток газа через сосуд высокого давления с помощью трехходового крана
6. В этот момент фиксируют показания газового счетчика (
Vi). В процессе отбора проб записывают показания термометра
tg и манометра
pg, расположенных возле газового счетчика, через определенные промежутки времени или, как минимум, фиксируют их показания в начале и в конце отбора проб. После прохождения необходимого количества газа через пробоотборные трубки с помощью трехходового крана
6 направляют поток газа в обход сосуда высокого давления и одновременно фиксируют показания газового счетчика (
Vf). Закрывают редуктор
4, находящийся перед сосудом высокого давления, и, после снижения давления в последнем до атмосферного, извлекают из него пробоотборные трубки. Запечатывают оба конца пробоотборных трубок, как описано в
10.2. Записывают время, дату отбора и значение атмосферного давления (
pа), а также помечают первую и вторую пробоотборные трубки. На трубках также указывают направление потока газа.
Во избежание загрязнения ААС и АФС ртутью необходима уверенность в том, что количество накопленной при отборе проб ртути входит в определяемый с помощью ААС и АФС диапазон концентраций. Очистка некоторых детекторов ААС может занимать несколько часов. Поэтому рекомендуется начинать анализ с небольших объемов пробы, например с 20 дм3, постепенно увеличивая объем пробы до получения аналитического сигнала ртути оптимальной для ААС и АФС величины. Если измерения будут проводиться в лаборатории, удаленной от места отбора проб, то накопление ртути из каждой пробы проводят несколько раз, варьируя ее объем.
Если при визуальном осмотре в пробоотборной трубке после накопления ртути обнаруживают присутствие жидкого конденсата, данный образец забраковывают (ненадежные результаты) и изменяют условия отбора, например, температуру газа и объем пробы. Пробоотборные трубки очищают согласно
11.5.
В процессе отбора проб (вероятно вследствие влияния конденсата, покрывающего поверхность нити из сплава золото/платина) ртуть может проскакивать сквозь первую трубку. Если более 25% от общего содержания ртути в обеих трубках проходит сквозь первую трубку, снижают объемный расход газа при отборе проб и/или его объем. Если сквозь первую трубку проходит менее 10% от общего содержания ртути в обеих трубках, объемный расход газа при отборе проб и/или его объем увеличивают.
Пробоотборные трубки с накопленной ртутью предпочтительно анализировать непосредственно на месте отбора проб, однако их можно также плотно закрыть пленкой из полимерного материала или чистыми резиновыми заглушками и хранить в герметично закрытом сосуде перед проведением анализа не более одной недели. Вместе с трубками с накопленной ртутью рекомендуется также сохранить, по крайней мере, одну пробоотборную трубку с холостой пробой для контроля загрязнения ртутью в период хранения.
11.5 Удаление конденсата из отбракованных пробоотборных трубок
Для удаления из пробоотборной трубки конденсата (углеводороды и вода) ее последовательно моют 5 см
3 изооктана и 5 см
3 метанола. После удаления остатков растворителя трубку высушивают, пропуская через нее слабый поток воздуха, очищенного пропусканием через ловушку для ртути, заполненную подходящим сорбентом (например, активированным углем, обработанным серой) (см.
рисунок 5). Для высушивания трубку продувают потоком воздуха в течение не менее 3 мин при температуре не ниже 20 °C. Затем ее очищают согласно
10.2. Перед использованием трубки рекомендуется также провести тест на эффективность отбора проб согласно
10.3.
Проверяют фоновый уровень ртути в окружающем воздухе
или в используемом инертном газе путем его подачи непосредственно в ААС или АФС. После достижения стабильных показаний прибора подаваемый в ААС или АФС воздух
или инертный газ пропускают через ловушку для ртути для его очистки. Изменение величины аналитического сигнала ртути на дисплее прибора при этом свидетельствует о слишком высоком фоновом уровне ртути в помещении
или в используемом инертном газе. В этом случае используемый в процессе выполнения измерения ртути поток воздуха
или инертного газа следует пропускать через ловушку
(ртутепоглотительный фильтр) с целью его очистки от следов ртути.
Холостая проба не должна содержать более 0,001 мкг/м3 ртути в воздухе (приложение ДА) или в инертном газе, используемом для проведения анализа.
12.2 Перенос ртути в аналитическую трубку (двойное амальгамирование)
12.2.1 В установке для проведения десорбции (см.
8.2 и
рисунок 5) последовательно устанавливают пробоотборную трубку и аналитическую трубку. При этом направление потока воздуха должно быть обратным по отношению к направлению потока газа в процессе отбора проб. Помещают пробоотборную трубку в охлажденную печь (температура менее 200 °C) (см.
рисунок 5) и с помощью трубок из ПВА соединяют ее последовательно с ловушкой для ртути и воздушным насосом. При помощи ротаметра устанавливают объемный расход воздуха на уровне 500 см
3/мин. Нагревают печь до температуры 700 °C по термометру 7 (см.
5.2 и
рисунок 5), выдерживают при этой температуре 1 мин, затем нагрев отключают. Отсоединяют пробоотборную трубку от аналитической трубки и от источника воздуха, затем извлекают ее из печи.
Десорбцию ртути из пробоотборных трубок проводят не позднее, чем через неделю после отбора проб.
12.2.2 При использовании анализаторов <1>, в которых сорбент для накопления ртути из природного газа конструктивно объединен с ААС, перенос паров ртути с одного сорбента на другой не проводится. Процедура подготовки и выполнения измерений ртути в природном газе с использованием анализатора УКР-1МЦ приведена в приложении ДА.
--------------------------------
12.3 Перенос ртути в атомно-абсорбционный или атомно-флуоресцентный спектрометр
12.3.1 С помощью трубок из ПВА соединяют аналитическую трубку с дозирующим устройством ААС или АФС (см. 8.3), затем помещают ее в печь с температурой ниже 200 °C. В токе воздуха или инертного газа для переноса паров ртути в детектор быстро нагревают трубку до температуры около 800 °C. Записывают величину аналитического сигнала ртути.
12.3.2 При использовании анализаторов <1> результатом измерений является среднее значение массовой концентрации ртути в воздухе, использованном для десорбции ртути с сорбента (объем воздуха также фиксируют).
--------------------------------
12.4.1 Для расчета содержания ртути в аналитической трубке ААС и АФС градуируют путем введения в прибор известных количеств ртути (точных объемов насыщенного парами ртути воздуха) с помощью установки, представленной на
рисунке 6.
Выдерживают насыщенный парами ртути воздух (см.
9.6) и газонепроницаемый шприц в установке для градуировки (см.
8.4) в течение времени, достаточного для достижения равновесного состояния при постоянной температуре, равной температуре окружающей среды (см.
9.6 и
рисунок 6). Записывают значение температуры внутри теплоизолированного бокса. Наполняют шприц насыщенным парами ртути воздухом из второго сосуда (см.
рисунок 6) и выдерживают в течение нескольких минут для кондиционирования. Затем выпускают содержимое шприца в первый сосуд. Через 3 - 4 с наполняют шприц вновь воздухом из второго сосуда. Каждый раз отбирают в шприц примерно на 0,5 см
3 больше необходимого объема насыщенного парами ртути воздуха, ожидают несколько секунд и выпускают избыточный объем в первый сосуд.
В установку для проведения десорбции (см.
8.2 и
рисунок 5) устанавливают чистую пробоотборную трубку. При помощи ротаметра устанавливают объемный расход воздуха на уровне 500 см
3/мин. Через тройник с мембраной, который встроен до пробоотборной трубки, вводят в установку от 50 до 5000 мм
3 воздуха, насыщенного парами ртути, из второго сосуда (см.
9.6 и
рисунок 6). Затем продувают установку очищенным с помощью ловушки для ртути воздухом от 1 до 3 мин для количественного переноса введенных паров ртути в пробоотборную трубку. Данную операцию можно повторять несколько раз с целью повышения верхней границы градуировочного графика.
Перенос паров ртути в аналитическую трубку осуществляют согласно
12.2, определение ртути проводят в соответствии с
12.3. Повторяют эту процедуру до тех пор, пока относительное среднее квадратическое отклонение для трех параллельных определений будет не более 3%. Проводят измерение не менее трех масс ртути, входящих в определяемую область, значения которых близки к ожидаемому содержанию ртути в анализируемых пробах.
Пример
Таблица 1
Построение градуировочного графика
(при температуре 293,15 К и давлении 101,325 кПа)
Объем насыщенного парами ртути воздуха, мм3 | Масса ртути, нг | Массовая концентрация ртути, мкг/м3 |
50 | 0,659 | 0,659 |
300 | 3,954 | 3,954 |
500 | 6,590 | 6,590 |
На основании данных по содержанию ртути в насыщенном ее парами воздухе при различных температурах (см.
таблицу ДБ.1, приложение ДБ) строят градуировочную зависимость первого порядка, которую используют для расчета массы ртути в пробе на основании величины полученного аналитического сигнала.
12.4.2 Проверку приемлемости градуировочного коэффициента проводят по процедуре, приведенной в 12.4.1. При этом в поток воздуха или инертного газа подают насыщенный парами ртути воздух, объем которого находится в интервале между объемами насыщенного парами ртути воздуха, которые использовали для построения градуировочной зависимости.
Расчетное значение массы ртути, введенной в поток воздуха или инертного газа, mрасч, нг, вычисляют по формуле
, (1)
где
- значение равновесной концентрации насыщенных паров ртути в воздухе при температуре второго сосуда со ртутью (см. приложение ДА), нг/см3;
V1 - объем насыщенного парами ртути воздуха из сосуда 2, введенный в поток воздуха или инертного газа, см3;
K - коэффициент приведения объема воздуха к стандартным условиям (температуре 293,15 К и давлению 101,325 кПа), вычисленный по формуле
, (2)
где Pб - барометрическое давление, кПа;
t - температура в теплоизолированном боксе, °C.
Проверку приемлемости градуировочного коэффициента проводят непосредственно после его установления по 12.4.1. Используя программное обеспечение анализатора ртути, вычисляют коэффициент корреляции и относительное отклонение d, %, значения массы ртути, рассчитанного по градуировочному коэффициенту, от расчетного значения массы, вычисленного по формуле (1).
Допускается проводить градуировку ААС или АФС с помощью градуировочных растворов, приготовленных из стандартных водных растворов ионов ртути (9.7) в соответствии с разделом 8 ГОСТ 28726.1, или генератора паров ртути ГПР-2 <1>
, или термодиффузионного генератора ртути <2>
с источником микропотока ртути ИМ-Hg 1 разряда <3>
по ГОСТ 8.578. Массовую концентрацию ртути на выходе термодиффузионного генератора с источником микропотока ртути (газ-разбавитель - метан) вычисляют по 10.3 ГОСТ 28726.1.
--------------------------------
Градуировочный коэффициент признается приемлемым при выполнении следующих условий:
- коэффициент корреляции не менее 0,99;
- значение отклонения расчетного значение массы ртути, введенной в поток воздуха или инертного газа, d, %, от найденного по градуировочной зависимости значения массы ртути не превышает по абсолютной величине 10%.
В противном случае находят и устраняют причины неудовлетворительных результатов, после чего градуировку повторяют.
13 Обработка результатов измерений
13.1 При прохождении градуировочного графика через начало координат массу ртути
mHg, нг, накопленную в обеих пробоотборных трубках, вычисляют по формуле

, (3)
где A - аналитический сигнал (интегральный), выраженный в условных единицах;
Rf - градуировочный коэффициент, выраженный в условных единицах в расчете на 1 нг ртути, рассчитанный по градуировочной зависимости с помощью программного обеспечения анализатора.
Примечание - Если градуировочный график не проходит через начало координат, массу ртути mHg, нг, накопленную в обеих пробоотборных трубках, вычисляют по формуле

, (4)
где A - аналитический сигнал (интегральный), выраженный в условных единицах;
a0 - величина отрезка на оси ординат между началом координат и точкой прохождения градуировочного графика, выраженная в условных единицах;
Rf - градуировочный коэффициент, выраженный в условных единицах в расчете на 1 нг ртути, рассчитанный по градуировочной зависимости с помощью программного обеспечения анализатора.
13.2 Объем газовой пробы при стандартных условиях VG, дм3, вычисляют по формуле

, (5)
где Vf - конечные показания газового счетчика (после выделения ртути из природного газа), дм3;
Vi - начальные показания газового счетчика (до выделения ртути из природного газа), дм3;
pа - атмосферное давление, кПа;
pG - давление на входе в газовый счетчик (среднее значение за период времени отбора), кПа;
TS - стандартная температура, 293,15 К;
pS - стандартное давление, 101,325 кПа;
tG - температура газа на входе в газовый счетчик (среднее значение за период времени отбора), °C.
13.3 Массовую концентрацию ртути

, нг/дм
3 (мкг/м
3), в природном газе вычисляют по формуле

, (6)
VG - объем газовой пробы, вычисленный по
формуле (5), дм
3.
13.4 Если результатом измерений является значение массовой концентрации ртути в воздухе, использованном для десорбции ртути с сорбента (см.
12.3.2,
приложение ДА), массу ртути
mHg, нг, накопленную на сорбенте, вычисляют по формуле

, (7)
где

- массовая концентрация ртути, нг/м
3, приведенная на дисплее анализатора;
V0 - объем воздуха, м3, использованный для десорбции и приведенный к стандартным условиям по формуле

, (8)
где Vt,p - объем воздуха, использованный для десорбции ртути, м3;
Pб - барометрическое давление в момент измерения, кПа;
t - температура воздуха на месте проведения измерений, °C.
Затем вычисляют массовую концентрацию ртути

, нг/дм
3 (мкг/м
3), в природном газе при стандартных условиях по
формуле (6).
13.5 За результат измерений массовой концентрации ртути в природном газе принимают среднее арифметическое значение результатов двух параллельных определений, если выполняется условие

, (9)
где

,

- результаты параллельных определений массовой концентрации ртути в природном газе, мкг/м
3;
rотн - значение предела повторяемости, %, приведенное в
таблице 2.
При соблюдении всех регламентированных условий и проведении анализа в точном соответствии с настоящим стандартом значение погрешности (и ее составляющих) результатов измерений не может превышать значений, приведенных в
таблице 2.
13.6 Если
условие (9) не выполняется, проводят еще одно измерение в соответствии с процедурой, изложенной в настоящем разделе стандарта. За результат измерений принимают среднее арифметическое значение трех параллельных результатов определений, если выполняется условие

, (10)
где

,

- максимальное и минимальное значения из полученных результатов трех параллельных определений массовой концентрации ртути в природном газе, мкг/м
3;
CR0,95 - значение критического диапазона для уровня вероятности P = 0,95 и n - результатов определений, вычисляемое по формуле

(11)
Для
n = 3:

,
где

- значение показателя повторяемости, %, приведенное в
таблице 2.
13.7 Если расхождение полученных значений максимальной и минимальной массовой концентрации ртути превышает критический диапазон [
условие (10) не выполняется], то выясняют и устраняют причины неудовлетворительной приемлемости, после чего повторяют измерения в соответствии с требованиями
раздела 12, контролируя приемлемость вновь получаемых результатов.
13.8 Результат анализа в документах, предусматривающих его использование, представляют в виде

(массовая концентрация ртути, мкг/м
3, при
P = 0,95), где

- среднее арифметическое значение результатов
n определений, признанных приемлемыми по
13.5,
13.6;

- границы относительной погрешности, % (см.
таблицу 2).
13.9 При значении массовой концентрации ртути в природном газе ниже нижней (выше верхней) границы диапазона измерений, полученный результат представляют в виде: "Массовая концентрация ртути менее 0,001 мкг/м3 (более 100 мгк/м3)" (здесь указывается граница диапазона измерений содержания ртути в природном газе).
14.1 В настоящем стандарте в качестве показателей точности измерений приняты границы относительной погрешности измерений при доверительной вероятности P = 0,95.
14.2 Границы относительной погрешности
, %, и ее составляющих (при доверительной вероятности P = 0,95) массовой концентрации ртути в природном газе приведены в таблице 2.
Таблица 2
Показатели точности результатов определения ртути
в природном газе методом атомно-абсорбционной спектрометрии
(холодного пара) с предварительным накоплением ртути
на металлическом коллекторе
Диапазон измерений массовой концентрации ртути , мкг/м3 | Границы относительной погрешности измерений , %, при P = 0,95 | Относительное среднеквадратическое отклонение повторяемости , % | Предел повторяемости rотн, %, P = 0,95, n = 2 |
От 0,001 до 0,10 включ. | | | |
Св. 0,10 до 100 включ. | 24 | 6 | 17 |
<*> Установленные численные значения границ относительной погрешности измерений соответствую численным значениям расширенной неопределенности U0 (в относительных единицах) при коэффициенте охвата 2. |
14.3 Имеется небольшое количество статистических данных для оценки воспроизводимости. Предполагается, что расхождение результатов двух единичных и независимых испытаний, полученных разными операторами, работающими в разных лабораториях (с разными средствами измерений одного типа) на идентичном испытуемом газе при нормальном и правильном выполнении метода с доверительной вероятностью 95% будут находиться в пределах +/- 16% и +/- 12% для диапазонов измерений массовой концентрации ртути от 0,001 до 0,10 мкг/м3 включительно и свыше 0,10 до 100 мкг/м3 включительно, соответственно.
14.4 Контроль правильности результатов измерений
Правильность результатов измерений контролируют при освоении методики оператором, а также в соответствии с планом внутрилабораторного контроля. При контроле используют градуировочный раствор с номинальным значением массовой концентрации ртути 0,1 мкг/дм3, приготовленный из стандартных водных растворов ионов ртути (9.7) в соответствии с ГОСТ 28726.1 (раздел 6). С использованием ртутно-гидридной приставки ААС или АФС проводят отбор ртути в аналитическую трубку аналогично процедуре, изложенной в 12.2.1, затем проводят измерения в соответствии с 12.3. Допускается вносить в аналитическую трубку известный объем насыщенных паров ртути по процедуре, изложенной в 12.4.1 и проведением измерения в соответствии с 12.3. Добавка ртути должна составлять 30% - 100% от результата определения массы ртути, накопленной на обеих пробоотборных трубках [см. 13.1, формулы (3) и (4)].
Вычисляют массу ртути mHg, используя полученный по 12.4 градуировочный коэффициент. Результат контроля считают удовлетворительным при выполнении условия:

, (12)
где mK - фактическое значение массы ртути в градуировочном растворе (введенном объеме насыщенных паров ртути), нг;
- границы относительной погрешности измерений, % (таблица 2).
В случае применения методики в сфере государственного регулирования обеспечения единства измерений контроль правильности результатов измерений проводят с использованием термодиффузионного генератора ртути <1>
с источником микропотока ртути <2>
в соответствии с ГОСТ 28726.1 (раздел 10.3).
--------------------------------
Протокол измерений должен включать следующую информацию:
- ссылку на обозначение настоящего стандарта;
- дату и время отбора проб;
- место, где была отобрана проба;
- условия отбора пробы газа, например, температура, давление, объемный расход газа;
- аналитический метод (ААС или АФС);
- результат определения массовой концентрации ртути, мкг/м3, с рассчитанной погрешностью в соответствии с НД;
- дополнительные сведения, отмеченные в ходе отбора проб и измерений.
(рекомендуемое)
ОПРЕДЕЛЕНИЕ РТУТИ В ПРИРОДНОМ ГАЗЕ МЕТОДОМ
АТОМНО-АБСОРБЦИОННОЙ СПЕКТРОМЕТРИИ (ХОЛОДНОГО ПАРА)
С ИСПОЛЬЗОВАНИЕМ АНАЛИЗАТОРА РТУТИ УКР-1МЦ
ДА.1 Средства измерений, вспомогательные устройства, материалы
Средства измерений, вспомогательные устройства, материалы - по
8.1.1, а также:
ДА.1.1 Оборудование для отбора ртути из природного газа по
8.1.1.
ДА.1.2 Переносной анализатор ртути <1>, который оснащен:
--------------------------------
- биспиральным металлическим коллектором с золотым покрытием;
- компрессором;
- аналитической кюветой;
- источником излучения с длиной волны 253,7 нм;
- входным и выходным штуцерами;
- ртутепоглотительным фильтром, например, ФРП-1.
ДА.1.3 Установка для получения насыщенного парами ртути воздуха по
8.4, состоящая из элементов, приведенных в
8.4.1 -
8.4.7.
ДА.1.4 Весы лабораторные высокого класса точности по
8.6.
ДА.1.5 Набор гирь по
8.7.
| | ИС МЕГАНОРМ: примечание. В официальном тексте документа, видимо, допущена опечатка: имеется в виду п. 9.2, а не п. 9.2.1. | |
ДА.1.6 Металлическая ртуть по
9.2.1.
ДА.2 Подготовка и выполнение измерений
ДА.2.1 Подготовка анализатора ртути к работе
ДА.2.1.1 Подготовку анализатора к работе проводят в соответствии с инструкцией по его эксплуатации.
Анализатор ртути оборудован входными штуцерами Вх1 и Вх2, а также выходным штуцером Вых. Для подачи пробы природного газа в анализатор используют входной штуцер Вх2. Перед началом эксплуатации анализатора снимают заглушку с входного штуцера Вх2 (Вх1 закрыт заглушкой), на выходной штуцер Вых устанавливают фильтр для поглощения ртути. Затем включают анализатор ртути. После завершения процессов автотестирования автоматически включается источник излучения, который выходит на стабильный режим работы после прогрева в течение 10 мин.
ДА.2.1.2 Затем выполняют проверку чистоты газовых каналов и коллектора анализатора. Для этого на входной штуцер Вх2 устанавливают ртутепоглотительный фильтр и запускают режим измерения "Воздух 1,0 л". За один измерительный цикл, который длится 1 мин, через анализатор прокачивается 1,0 дм3 атмосферного воздуха, свободного от ртути (вследствие прохождения через ртутепоглотительный фильтр на входе в анализатор). Накопление паров ртути, присутствующей в газовых каналах анализатора, на коллекторе происходит в течение первых 54 с цикла. Затем коллектор нагревается до 400 °C. Десорбированные при этом атомы ртути переносятся потоком атмосферного воздуха в оптическую кювету, в которой методом ААС определяют ее массу в нанограммах. Полученное значение автоматически пересчитывается на массовую концентрацию ртути в 1 дм3 воздуха и выводится на дисплей анализатора ртути. Процедуру проводят не менее трех раз.
ДА.2.1.3 Если среднеарифметическое значение массовой концентрации ртути по результатам трех измерений не превышает 1 нг/м3, это свидетельствует об отсутствии значимой загрязненности анализатора и его готовности к выполнению измерений. В противном случае измерительный цикл следует повторять до достижения значения массовой концентрации ртути, не превышающего 1 нг/м3. По достижении положительного результата проверки чистоты анализатора его следует считать готовым к проведению измерений.
ДА.2.2 Градуировка анализатора ртути
Градуировку анализатора ртути проводят в организации-изготовителе с использованием трех ртутно-воздушных смесей с заданной массовой концентрацией паров ртути, которые получают с помощью аттестованного генератора паров ртути <2> или термодиффузионного генератора ртути <3> с источником микропотока ртути ИМ-Hg 1 разряда <4> (по
ГОСТ 8.578), или путем введения в анализатор определенных объемов насыщенного парами ртути воздуха по
12.4. Схема установки для получения насыщенного парами ртути воздуха приведена на
рисунке 6. Внеочередную градуировку организация-изготовитель проводит после ремонта анализатора, после его регламентного технического обслуживания, а также при неудовлетворительных результатах проверки градуировки анализатора согласно
12.4.2.
--------------------------------
ДА.3 Выполнение измерений
ДА.3.1 Накопление ртути на анализаторе УКР-1МЦ проводят при атмосферном давлении с помощью системы, представленной на
рисунке 1 (см.
8.1.1). Анализатор ртути подсоединяют к газопроводу вместо алюминиевой обогреваемой камеры (см.
рисунок 1).
ДА.3.2 Открывают запорный вентиль трубопровода
2 и устанавливают давление природного газа от 0,1 до 0,2 МПа. Перед началом проведения измерений сначала продувают начальный участок пробоотборной системы (включая пробоотборный вентиль) в соответствии с
11.2 и
11.3. Затем устанавливают объемный расход газа в первой байпасной линии около 20 дм
3/мин. Далее открывают вентиль тонкой регулировки
5 и по ротаметру
9 устанавливают объемный расход газа через трехходовой кран (см.
8.1.1.3 и
рисунок 1) во вторую байпасную линию около 1 дм
3/мин.
ДА.3.3 Затем к трехходовому крану 7 подсоединяют анализатор ртути и перед проведением измерений фиксируют начальное показание газового счетчика 10 (Vi). После этого поворотом трехходового крана 7 перенаправляют поток газа со второй байпасной линии на анализатор (при этом компрессор анализатора ртути выключен). После пропускания через анализатор требуемого объема газа (от 0,5 до 20 дм3) поворотом трехходового крана переключают поток газа на байпасную линию. Фиксируют конечное показание газового счетчика (Vf) и отсоединяют анализатор от пробоотборной линии. Также записывают время и дату проведения измерения, атмосферное давление (pа).
ДА.3.4 Для проведения термической десорбции накопленной на коллекторе ртути запускают режим измерения "Воздух 1,0 л", в процессе которого через анализатор прокачивается 1,0 дм3 атмосферного воздуха. Для исключения возможности внесения в анализатор ртути из атмосферного воздуха перед началом измерений на входной штуцер Вх2 устанавливают ртутепоглотительный фильтр. Десорбированные при нагреве коллектора атомы ртути переносятся потоком атмосферного воздуха в оптическую кювету, в которой методом ААС определяют ее массу в нанограммах. Полученное значение автоматически пересчитывается в массовую концентрацию ртути Yнакопл, нг/м3, в объеме воздуха, прошедшего через анализатор за 60 с, выводится на дисплей анализатора ртути и фиксируется в лабораторном журнале.
Затем повторно запускают измерительный цикл в режиме "Воздух 1,0 л" с целью удаления возможных остатков ртути из анализатора. Измерение повторяют до достижения значения массовой концентрации ртути, не превышающего 2 нг/м3.
Для выполнения параллельных определений повторяют вышеизложенную последовательность действий.
ДА.4 Обработка результатов измерений
Обработка результатов измерений - в соответствии с
разделом 13.
Массу ртути
mHg, нг, накопленную на сорбенте, вычисляют по
формуле (7).
Массовую концентрацию ртути

, нг/дм
3 (мкг/м
3), в природном газе вычисляют по
формуле (6).
обязательное)
ЗНАЧЕНИЯ МАССОВОЙ КОНЦЕНТРАЦИИ РТУТИ В НАСЫЩЕННОМ
ПАРАМИ РТУТИ ВОЗДУХЕ ПРИ РАЗЛИЧНЫХ ТЕМПЕРАТУРАХ
Таблица ДБ.1
Значения массовой концентрации ртути в насыщенном
парами ртути воздухе при различных температурах
Температура, °C | Концентрация, нг/см3 | Температура, °C | Концентрация, нг/см3 | Температура, °C | Концентрация, нг/см3 | Температура, °C | Концентрация, нг/см3 | Температура, °C | Концентрация, нг/см3 | Температура, °C | Концентрация, нг/см3 | Температура, °C | Концентрация, нг/см3 |
10,0 | 5,55 | 15,0 | 8,62 | 20,0 | 13,18 | 25,0 | 19,85 | 30,0 | 29,50 | 35,0 | 43,27 | 40,0 | 62,68 |
10,1 | 5,60 | 15,1 | 8,69 | 20,1 | 13,29 | 25,1 | 20,01 | 30,1 | 29,73 | 35,1 | 43,60 | 40,1 | 63,14 |
10,2 | 5,65 | 15,2 | 8,77 | 20,2 | 13,40 | 25,2 | 20,18 | 30,2 | 29,97 | 35,2 | 43,93 | 40,2 | 63,60 |
10,3 | 5,70 | 15,3 | 8,84 | 20,3 | 13,51 | 25,3 | 20,34 | 30,3 | 30,20 | 35,3 | 44,26 | 40,3 | 64,07 |
10,4 | 5,75 | 15,4 | 8,92 | 20,4 | 13,62 | 25,4 | 20,50 | 30,4 | 30,44 | 35,4 | 44,60 | 40,4 | 64,54 |
10,5 | 5,81 | 15,5 | 9,00 | 20,5 | 13,74 | 25,5 | 20,67 | 30,5 | 30,67 | 35,5 | 44,93 | 40,5 | 65,01 |
10,6 | 5,86 | 15,6 | 9,08 | 20,6 | 13,85 | 25,6 | 20,83 | 30,6 | 30,91 | 35,6 | 45,27 | 40,6 | 65,48 |
10,7 | 5,91 | 15,7 | 9,15 | 20,7 | 13,97 | 25,7 | 21,00 | 30,7 | 31,15 | 35,7 | 45,61 | 40,7 | 65,96 |
10,8 | 5,96 | 15,8 | 9,23 | 20,8 | 14,08 | 25,8 | 21,17 | 30,8 | 31,40 | 35,8 | 45,95 | 40,8 | 66,44 |
10,9 | 6,02 | 15,9 | 9,31 | 20,9 | 14,20 | 25,9 | 21,34 | 30,9 | 31,64 | 35,9 | 46,30 | 40,9 | 66,92 |
11,0 | 6,07 | 16,0 | 9,39 | 21,0 | 14,32 | 26,0 | 21,51 | 31,0 | 31,89 | 36,0 | 46,65 | 41,0 | 67,41 |
11,1 | 6,12 | 16,1 | 9,47 | 21,1 | 14,44 | 26,1 | 21,69 | 31,1 | 32,13 | 36,1 | 47,00 | 41,1 | 67,90 |
11,2 | 6,18 | 16,2 | 9,56 | 21,2 | 14,56 | 26,2 | 21,86 | 31,2 | 32,38 | 36,2 | 47,35 | 41,2 | 68,39 |
11,3 | 6,23 | 16,3 | 9,64 | 21,3 | 14,68 | 26,3 | 22,04 | 31,3 | 32,63 | 36,3 | 47,71 | 41,3 | 68,89 |
11,4 | 6,29 | 16,4 | 9,72 | 21,4 | 14,80 | 26,4 | 22,21 | 31,4 | 32,89 | 36,4 | 48,06 | 41,4 | 69,39 |
11,5 | 6,35 | 16,5 | 9,80 | 21,5 | 14,92 | 26,5 | 22,39 | 31,5 | 33,14 | 36,5 | 48,42 | 41,5 | 69,89 |
11,6 | 6,40 | 16,6 | 9,89 | 21,6 | 15,05 | 26,6 | 22,57 | 31,6 | 33,40 | 36,6 | 48,79 | 41,6 | 70,39 |
11,7 | 6,46 | 16,7 | 9,97 | 21,7 | 15,17 | 26,7 | 22,75 | 31,7 | 33,66 | 36,7 | 49,15 | 41,7 | 70,90 |
11,8 | 6,52 | 16,8 | 10,06 | 21,8 | 15,30 | 26,8 | 22,93 | 31,8 | 33,92 | 36,8 | 49,52 | 41,8 | 71,42 |
11,9 | 6,57 | 16,9 | 10,14 | 21,9 | 15,42 | 26,9 | 23,11 | 31,9 | 34,18 | 36,9 | 49,89 | 41,9 | 71,93 |
12,0 | 6,63 | 17,0 | 10,23 | 22,0 | 15,55 | 27,0 | 23,30 | 32,0 | 34,44 | 37,0 | 50,26 | 42,0 | 72,45 |
12,1 | 6,69 | 17,1 | 10,32 | 22,1 | 15,68 | 27,1 | 23,49 | 32,1 | 34,71 | 37,1 | 50,64 | 42,1 | 72,98 |
12,2 | 6,75 | 17,2 | 10,41 | 22,2 | 15,81 | 27,2 | 23,67 | 32,2 | 34,97 | 37,2 | 51,01 | 42,2 | 73,50 |
12,3 | 6,81 | 17,3 | 10,50 | 22,3 | 15,94 | 27,3 | 23,86 | 32,3 | 35,24 | 37,3 | 51,39 | 42,3 | 74,03 |
12,4 | 6,87 | 17,4 | 10,59 | 22,4 | 16,07 | 27,4 | 24,05 | 32,4 | 35,52 | 37,4 | 51,78 | 42,4 | 74,57 |
12,5 | 6,93 | 17,5 | 10,68 | 22,5 | 16,20 | 27,5 | 24,24 | 32,5 | 35,79 | 37,5 | 52,16 | 42,5 | 75,10 |
12,6 | 6,39 | 17,6 | 10,77 | 22,6 | 16,34 | 27,6 | 24,44 | 32,6 | 36,06 | 37,6 | 52,55 | 42,6 | 75,64 |
12,7 | 7,05 | 17,7 | 10,86 | 22,7 | 16,47 | 27,7 | 24,63 | 32,7 | 36,34 | 37,7 | 52,94 | 42,7 | 76,19 |
12,8 | 7,12 | 17,8 | 10,95 | 22,8 | 16,61 | 27,8 | 24,83 | 32,8 | 36,62 | 37,8 | 53,33 | 42,8 | 76,73 |
12,9 | 7,18 | 17,9 | 11,04 | 22,9 | 16,74 | 27,9 | 25,02 | 32,9 | 36,90 | 37,9 | 53,73 | 42,9 | 77,29 |
13,0 | 7,24 | 18,0 | 11,14 | 23,0 | 16,88 | 28,0 | 25,22 | 33,0 | 37,18 | 38,0 | 54,13 | 43,0 | 77,84 |
13,1 | 7,31 | 18,1 | 11,23 | 23,1 | 17,02 | 28,1 | 25,42 | 33,1 | 37,47 | 38,1 | 54,53 | 43,1 | 78,40 |
13,2 | 7,37 | 18,2 | 11,33 | 23,2 | 17,16 | 28,2 | 25,62 | 33,2 | 37,76 | 38,2 | 54,93 | 43,2 | 78,96 |
13,3 | 7,43 | 18,3 | 11,42 | 23,3 | 17,30 | 28,3 | 25,82 | 33,3 | 38,04 | 38,3 | 55,34 | 43,3 | 79,53 |
13,4 | 7,50 | 18,4 | 11,52 | 23,4 | 17,44 | 28,4 | 26,03 | 33,4 | 38,33 | 38,4 | 55,75 | 43,4 | 80,10 |
13,5 | 7,57 | 18,5 | 11,62 | 23,5 | 17,58 | 28,5 | 26,23 | 33,5 | 38,63 | 38,5 | 56,16 | 43,5 | 80,67 |
13,6 | 7,63 | 18,6 | 11,72 | 23,6 | 17,73 | 28,6 | 26,44 | 33,6 | 38,92 | 38,6 | 56,57 | 43,6 | 81,25 |
13,7 | 7,70 | 18,7 | 11,82 | 23,7 | 17,87 | 28,7 | 26,65 | 33,7 | 39,22 | 38,7 | 56,99 | 43,7 | 81,83 |
13,8 | 7,77 | 18,8 | 11,92 | 23,8 | 18,02 | 28,8 | 26,86 | 33,8 | 39,52 | 38,8 | 57,41 | 43,8 | 82,41 |
13,9 | 7,83 | 18,9 | 12,02 | 23,9 | 18,16 | 28,9 | 27,07 | 33,9 | 39,82 | 38,9 | 57,84 | 43,9 | 83,00 |
14,0 | 7,90 | 19,0 | 12,12 | 24,0 | 18,31 | 29,0 | 27,29 | 34,0 | 40,12 | 39,0 | 58,26 | 44,0 | 83,59 |
14,1 | 7,97 | 19,1 | 12,22 | 24,1 | 18,46 | 29,1 | 27,50 | 34,1 | 40,43 | 39,1 | 58,69 | 44,1 | 84,19 |
14,2 | 8,04 | 19,2 | 12,32 | 24,2 | 18,61 | 29,2 | 27,72 | 34,2 | 40,74 | 39,2 | 59,12 | 44,2 | 84,79 |
14,3 | 8,11 | 19,3 | 12,43 | 24,3 | 18,76 | 29,3 | 27,93 | 34,3 | 41,05 | 39,3 | 59,56 | 44,3 | 85,39 |
14,4 | 8,18 | 19,4 | 12,53 | 24,4 | 18,91 | 29,4 | 28,15 | 34,4 | 41,36 | 39,4 | 59,99 | 44,4 | 86,00 |
14,5 | 8,25 | 19,5 | 12,64 | 24,5 | 19,07 | 29,5 | 28,37 | 34,5 | 41,67 | 39,5 | 60,44 | 44,5 | 86,61 |
14,6 | 8,33 | 19,6 | 12,74 | 24,6 | 19,22 | 29,6 | 28,60 | 34,6 | 41,99 | 39,6 | 60,88 | 44,6 | 87,22 |
14,7 | 8,40 | 19,7 | 12,85 | 24,7 | 19,38 | 29,7 | 28,82 | 34,7 | 42,31 | 39,7 | 61,33 | 44,7 | 87,84 |
14,8 | 8,47 | 19,8 | 12,96 | 24,8 | 19,54 | 29,8 | 29,05 | 34,8 | 42,63 | 39,8 | 61,77 | 44,8 | 88,47 |
14,9 | 8,54 | 19,9 | 13,07 | 24,9 | 19,69 | 29,9 | 29,27 | 34,9 | 42,95 | 39,9 | 62,23 | 44,9 | 89,09 |
- | - | - | - | - | - | - | - | - | - | - | - | 45,0 | 89,72 |
(справочное)
СВЕДЕНИЯ О СООТВЕТСТВИИ ССЫЛОЧНЫХ МЕЖГОСУДАРСТВЕННЫХ
СТАНДАРТОВ МЕЖДУНАРОДНЫМ СТАНДАРТАМ, ИСПОЛЬЗОВАННЫМ
В КАЧЕСТВЕ ССЫЛОЧНЫХ В ПРИМЕНЕННОМ МЕЖДУНАРОДНОМ СТАНДАРТЕ
Таблица ДВ.1
Обозначение ссылочного межгосударственного стандарта | Степень соответствия | Обозначение и наименование ссылочного международного стандарта |
(ИСО 10715:1997) | MOD | ISO 10715:1997 "Газ природный. Руководство по отбору проб" |
Примечание - В настоящей таблице использовано следующее условное обозначение степени соответствия стандарта: - MOD - модифицированный стандарт. |
(справочное)
СОПОСТАВЛЕНИЕ СТРУКТУРЫ НАСТОЯЩЕГО СТАНДАРТА
СО СТРУКТУРОЙ ПРИМЕНЕННОГО В НЕМ МЕЖДУНАРОДНОГО СТАНДАРТА
Сопоставление структуры настоящего стандарта со структурой примененного в нем международного стандарта ISO 6978-2:2003 приведено в таблице ДГ.1. Указанное в таблице ДГ.1 изменение структуры межгосударственного стандарта относительно структуры примененного международного стандарта обусловлено его приведением в соответствие с требованиями, установленными в
ГОСТ 1.5.
Таблица ДГ.1
Структура настоящего стандарта | Структура международного стандарта ISO 6978-2:2003 |
| 1 Область применения |
| 2 Нормативные ссылки |
3 Термины и определения (3) | 3 Термины и определения |
4 Метод измерений <*> (4) | 4 Принцип метода |
5 Требования безопасности, охраны окружающей среды | 5 Аппаратура |
6 Требования к квалификации персонала | 6 Реагенты и материалы |
7 Общие условия выполнения измерений | 7 Подготовка пробоотборных и аналитических трубок |
| 7.1 Заполнение |
9 Реактивы и материалы (6) | 7.2 Очистка |
10 Подготовка пробоотборных и аналитических трубок (7) | 7.3 Тест на эффективность |
| 8 Отбор проб |
| 8.1 Общие положения |
10.3 Контроль эффективности (7.3) | 8.2 Условия для представительного отбора проб |
| 8.3 Отбор проб при при атмосферном давлении |
11.1 Общие положения (8.1) | 8.4 Отбор проб при высоком давлении |
11.2 Условия для представительного отбора проб (8.2) | 8.5 Удаление конденсата из отбракованных пробоотборных трубок |
11.3 Отбор проб при атмосферном давлении (8.3) | 9 Определение содержания ртути |
11.4 Отбор проб при высоком давлении (8.4) | 9.1 Перенос ртути в аналитическую трубку (двойное амальгамирование) |
11.5 Удаление конденсата из отбракованных пробоотборных трубок (8.5) | 9.2 Перенос ртути в атомно-абсорбционный или атомно-флуоресцентный спектрометр |
12 Проведение измерений (9) | 9.3 Градуировка |
| 9.4 Холостой опыт |
12.2 Перенос ртути в аналитическую трубку (двойное амальгамирование) (9.1) | 10 Расчет |
12.3 Перенос ртути в атомно-абсорбционный или атомно-флуоресцентный спектрометр (9.2) | 11 Точность |
| 12 Протокол измерений |
13 Обработка результатов измерений (10) | Библиография |
14 Показатели точности (11) | |
15 Протокол измерений (12) | |
Приложение ДА Определение ртути в природном газе методом атомно-абсорбционной спектрометрии (холодного пара) с использованием анализатора ртути УКР-1МЦ | |
Приложение ДБ Значения массовой концентрации ртути в насыщенном парами ртути воздухе при различных температурах | |
Приложение ДВ Сведения о соответствии ссылочных межгосударственных стандартов международным стандартам, использованным в качестве ссылочных в примененном международном стандарте | |
Приложение ДГ Сопоставление структуры настоящего стандарта со структурой примененного в нем международного стандарта | |
| |
<*> Включение в настоящий стандарт данного раздела обусловлено необходимостью приведения его в соответствие с требованиями ГОСТ 1.5. Примечание - После заголовков разделов (подразделов) настоящего стандарта приведены в скобках номера аналогичных им разделов (подразделов, пунктов) международного стандарта. |
| ИСО 6570:2001 | Газ природный. Определение потенциального содержания углеводородной жидкости. Гравиметрические методы |
(ISO 6570:2001) | (Natural gas - Determination of potential hydrocarbon liquid content - Gravimetric methods) |
| ИСО 6978-1:2003 | Газ природный. Определение ртути. Часть 1. Отбор пробы хемосорбцией ртути на йоде |
(ISO 6978-1:2003) | (Natural gas - Determination of mercury - Part 1: Sampling of mercury by chemisorption on iodine) |
| Санитарные правила при работе со ртутью, ее соединениями и приборами с ртутным заполнением (утверждены Главным государственным санитарным врачом СССР 4 апреля 1988 г. N 4607-88) |
| ТУ 25-2021.003-88 | Термометры ртутные стеклянные лабораторные |
| ТУ 25-11.1513-79 | Барометр-анероид метеорологический БАММ-1 |
| ТУ 4317-008-41987679-10 | Комплекс универсальный ртутеметрический УКР-1МЦ |
| ТУ 4317-012-41987679-15 | Анализатор ртути в природном газе АРПГ-1 |
| Технические условия ШДЕК 418313.009-2010 ТУ | Рабочий эталон 1-го разряда - генератор газовых смесей ГГС модификация ГГС-Т |
| Технические условия ШДЕК 418319.010-2014 ТУ | Источник микропотока ртути ИМ-Hg |
| ТУ 4276-014-01422944-99 | Генератор паров ртути в воздухе ГПР-2 |
| ТУ 6-09-538 | Олово двухлористое 2-водное |
УДК 662.767:658.562:006.354 | | MOD |
Ключевые слова: газ природный, определение ртути, подготовка пробы, амальгамирование, сплав золото/платина |