Главная // Актуальные документы // ГОСТ (Государственный стандарт)
СПРАВКА
Источник публикации
М.: ФГБУ "РСТ", 2021
Примечание к документу
Документ включен в Перечень международных и региональных (межгосударственных) стандартов, а в случае их отсутствия - национальных (государственных) стандартов, в результате применения которых на добровольной основе обеспечивается соблюдение требований технического регламента Таможенного союза "О безопасности машин и оборудования" (ТР ТС 010/2011), и Перечень международных и региональных (межгосударственных) стандартов, а в случае их отсутствия - национальных (государственных) стандартов, содержащих правила и методы исследований (испытаний) и измерений, в том числе правила отбора образцов, необходимые для применения и исполнения требований технического регламента Таможенного союза "О безопасности машин и оборудования" (ТР ТС 010/2011) и осуществления оценки соответствия объектов технического регулирования (Решение Коллегии Евразийской экономической комиссии от 09.03.2021 N 28).

Документ введен в действие с 01.01.2022.
Название документа
"ГОСТ EN 1093-8-2018. Межгосударственный стандарт. Безопасность машин. Оценка выбросов загрязняющих веществ. Часть 8. Стендовый метод измерения параметра концентрации"
(введен в действие Приказом Росстандарта от 25.08.2021 N 811-ст)

"ГОСТ EN 1093-8-2018. Межгосударственный стандарт. Безопасность машин. Оценка выбросов загрязняющих веществ. Часть 8. Стендовый метод измерения параметра концентрации"
(введен в действие Приказом Росстандарта от 25.08.2021 N 811-ст)


Содержание


Введен в действие
Приказом Федерального агентства
по техническому регулированию
и метрологии
от 25 августа 2021 г. N 811-ст
МЕЖГОСУДАРСТВЕННЫЙ СТАНДАРТ
БЕЗОПАСНОСТЬ МАШИН
ОЦЕНКА ВЫБРОСОВ ЗАГРЯЗНЯЮЩИХ ВЕЩЕСТВ
ЧАСТЬ 8
СТЕНДОВЫЙ МЕТОД ИЗМЕРЕНИЯ ПАРАМЕТРА КОНЦЕНТРАЦИИ
Safety of machinery. Evaluation of the emission of airborne
hazardous substances. Part 8. Pollutant concentration
parameter, test bench method
(EN 1093-8:1998+A1:2008, IDT)
ГОСТ EN 1093-8-2018
МКС 13.040.40
Дата введения
1 января 2022 года
Предисловие
Цели, основные принципы и общие правила проведения работ по межгосударственной стандартизации установлены ГОСТ 1.0 "Межгосударственная система стандартизации. Основные положения" и ГОСТ 1.2 "Межгосударственная система стандартизации. Стандарты межгосударственные, правила и рекомендации по межгосударственной стандартизации. Правила разработки, принятия, обновления и отмены"
Сведения о стандарте
1 ПОДГОТОВЛЕН Научно-производственным республиканским унитарным предприятием "Белорусский государственный институт стандартизации и сертификации" (БелГИСС) на основе собственного перевода на русский язык англоязычной версии стандарта, указанного в пункте 5
2 ВНЕСЕН Государственным комитетом по стандартизации Республики Беларусь
3 ПРИНЯТ Межгосударственным советом по стандартизации, метрологии и сертификации по результатам голосования в АИС МГС (протокол от 27 июля 2018 г. N 110-П)
За принятие проголосовали:
Краткое наименование страны по МК (ИСО 3166) 004-97
Код страны по МК (ИСО 3166) 004-97
Сокращенное наименование национального органа по стандартизации
Армения
AM
ЗАО "Национальный орган по стандартизации и метрологии" Республики Армения
Беларусь
BY
Госстандарт Республики Беларусь
Казахстан
KZ
Госстандарт Республики Казахстан
Россия
RU
Росстандарт
Киргизия
KG
Кыргызстандарт
Таджикистан
TJ
Таджикстандарт
Узбекистан
UZ
Узстандарт
4 Приказом Федерального агентства по техническому регулированию и метрологии от 25 августа 2021 г. N 811-ст межгосударственный стандарт ГОСТ EN 1093-8-2018 введен в действие в качестве национального стандарта Российской Федерации с 1 января 2022 г.
5 Настоящий стандарт идентичен европейскому стандарту EN 1093-8:1998+A1:2008 "Безопасность машин. Оценка выбросов загрязняющих веществ. Часть 8. Стендовый метод измерения параметра концентрации" ("Safety of machinery - Evaluation of the emission of airborne hazardous substances - Part 8: Pollutant concentration parameter, test bench method", IDT).
При применении настоящего стандарта рекомендуется использовать вместо ссылочных европейских и международных стандартов соответствующие им межгосударственные стандарты, сведения о которых приведены в дополнительном приложении ДА.
6 ВВЕДЕН ВПЕРВЫЕ
Информация о введении в действие (прекращении действия) настоящего стандарта и изменений к нему на территории указанных выше государств публикуется в указателях национальных стандартов, издаваемых в этих государствах, а также в сети Интернет на сайтах соответствующих национальных органов по стандартизации.
В случае пересмотра, изменения или отмены настоящего стандарта соответствующая информация будет опубликована на официальном интернет-сайте Межгосударственного совета по стандартизации, метрологии и сертификации в каталоге "Межгосударственные стандарты"
Введение
Европейский стандарт разработан Техническим комитетом по стандартизации CEN/TC 114 "Безопасность машин" Европейского комитета по стандартизации (CEN).
Европейский стандарт, на основе которого подготовлен настоящий стандарт, реализует существенные требования безопасности Директивы 98/37/ЕС и Директивы 2006/42/ЕС, приведенные в приложениях ZA и ZB соответственно.
Европейский стандарт EN 1093 под общим заголовком "Безопасность машин. Оценка выбросов загрязняющих веществ" содержит следующие части:
- часть 1. Выбор методов испытаний;
- часть 2. Метод индикаторного газа для измерения уровня выбросов заданного загрязняющего вещества;
- часть 3. Стендовый метод измерения уровня выбросов заданного загрязняющего вещества;
- часть 4. Эффективность улавливания системы выпуска отработавших газов. Метод изотопных индикаторов;
- часть 6. Эффективность очистки по массе без выходного канала;
- часть 7. Эффективность очистки по массе с выходным каналом;
- часть 8. Стендовый метод измерения параметра концентрации;
- часть 9. Лабораторный метод измерения параметра концентрации;
- часть 11. Индекс очистки.
1 Область применения
Настоящий стандарт устанавливает стендовый метод измерения параметра концентрации установленного загрязняющего вещества в системе очистки воздуха с использованием испытательного стенда при определенных условиях эксплуатации.
Стендовый метод измерения применяется только при определении эмитированных газов, паров и взвешенных твердых частиц.
При необходимости уровень выбросов следует определять на испытательном стенде (см. EN 1093-3).
Измерение параметра концентрации загрязняющего вещества в системе очистки воздуха может служить для:
a) оценки эксплуатационной характеристики системы очистки воздуха;
b) оценки изменений, внесенных в конструкцию системы очистки воздуха;
c) сравнения систем очистки воздуха по группам с одинаковым назначением (их функциями и очищаемыми веществами);
d) ранжирования систем очистки воздуха в зависимости от их параметра концентрации загрязняющего вещества;
e) классификации уровня развития науки и техники в отношении систем очистки воздуха с аналогичным применением по назначению с точки зрения параметра концентрации загрязняющего вещества.
2 Нормативные ссылки
В настоящем стандарте использованы нормативные ссылки на следующие стандарты. Для датированных ссылок применяют только указанное издание ссылочного стандарта, для недатированных - последнее издание (включая все изменения):
EN 292-1:1991 <*>, Safety of machinery - Basic concepts, general principles for design - Part 1: Basic terminology, methodology (Безопасность машин. Основные понятия, общие принципы конструирования. Часть 1. Основные термины, методика)
--------------------------------
<*> Действует EN ISO 12100:2010. Однако для однозначного соблюдения требований настоящего стандарта, выраженного в датированной ссылке, рекомендуется использовать только указанное в этой ссылке издание.
EN 292-2:1991 <*>, Safety of machinery - Basic concepts, general principles for design - Part 2: Technical principles and specifications (Безопасность машин. Основные понятия, общие принципы конструирования. Часть 2. Технические правила и технические требования)
EN 292-2/A1:1995 <*>, Safety of machinery - Basic concepts, general principles for design - Part 2: Technical principles and specifications; Amendment A1 [Безопасность машин. Основные понятия, общие принципы конструирования. Часть 2. Технические правила и технические требования (изменение 1)]
--------------------------------
<*> Действует EN ISO 12100:2010. Однако для однозначного соблюдения требований настоящего стандарта, выраженного в датированной ссылке, рекомендуется использовать только указанное в этой ссылке издание.
ENV 1070:1993 <**>, Safety of machinery - Terminology (Безопасность оборудования. Термины и определения)
--------------------------------
<**> Заменен на EN 1070:1998 (отменен). Однако для однозначного соблюдения требований настоящего стандарта, выраженного в датированной ссылке, рекомендуется использовать только указанное в этой ссылке издание.
EN 1093-1, Safety of machinery - Evaluation of the emission of airborne hazardous substances - Part 1: Selection of test methods (Безопасность машин. Оценка выброса в атмосферу вредных веществ. Часть 1. Выбор методов испытаний)
ISO 2602:1980, Statistical interpretation of test results - Estimation of the mean - Confidence interval (Статистическая интерпретация результатов испытаний. Количественная оценка среднего значения. Доверительный интервал)
3 Термины и определения
В настоящем стандарте применены термины по ENV 1070:1993, а также следующий термин с соответствующим определением:
3.1 параметр концентрации загрязняющего вещества в камере Pcc (pollutant concentration parameter, cabin): Измеренная концентрация установленного загрязняющего вещества в определенной(ых) точке(ах) системы очистки воздуха. В соответствии с требованиями настоящего стандарта одна из измерительных точек должна быть расположена в выходном канале.
4 Принцип
Принцип стендового метода измерения заключается в работе системы очистки воздуха в определенных условиях на испытательном стенде и в измерении параметра концентрации загрязняющего вещества в предпочтительной измерительной точке (см. 5.2) при заданном расходе воздуха испытательного стенда. Этот параметр концентрации демонстрирует уровень очистки от загрязняющего вещества системой очистки воздуха.
5 Испытательный стенд
5.1 Описание испытательного стенда
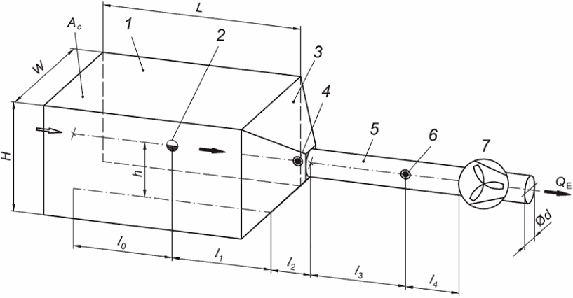
Испытательный стенд состоит из камеры с соответствующим раструбом и дополнительным вентилятором (см. рисунок 1).
Ac - поперечное сечение камеры; H - высота камеры;
h - высота расположения источника выбросов от пола камеры;
W - ширина камеры; 1 - испытательная камера;
2 - источник <1>; 3 - раструб; 4 - измерительная точка 2;
5 - выходной канал; 6 - предпочтительная
измерительная точка 1; 7 - вентилятор
W/H >= 0,66
<= 1,5
<= 2,0 m
l3 >= 5d
h <= 0,66 H
l4 >= 3d
QE - расход отработавшего воздуха в камере
--------------------------------
<1> Источник рассматривается не как точка, а как зона, состоящая из нескольких источников.
Рисунок 1 - Испытательный стенд (схематическое изображение)
Вентилятор создает поток воздуха в испытательной камере по направлению от входного отверстия к раструбу. Для того чтобы получить однородный поток воздуха в поперечном сечении входного отверстия и избежать утечки загрязняющего вещества из камеры, конструкция входного отверстия камеры должна обеспечивать проницаемость (например, крупнопористый фильтрующий материал, перфорированная пластиковая пленка или пластина).
Значения расхода отработавшего воздуха в испытательной камере должны быть установлены в стандартах типа C. Для поддержания постоянным значения расхода он должен контролироваться. Поперечное сечение камеры (форма и размеры) должно быть выбрано в соответствии с размером системы очистки воздуха. Максимальная площадь поперечного сечения системы очистки воздуха не должна превышать пятую часть поперечного сечения камеры. Камера должна иметь достаточную длину для размещения системы очистки воздуха и оператора с источниками выбросов загрязняющих веществ как можно ближе к заданному на рисунке 1 положению, как практически возможно.
Система очистки воздуха должна быть расположена в камере таким образом, чтобы источник выбросов загрязняющих веществ, эмитированных из системы очистки воздуха, располагался в зоне продольной оси камеры на расстоянии l1 от начала раструба и l0 от входного отверстия.
5.2 Расположение измерительных точек
Параметр концентрации загрязняющего вещества должен быть измерен в измерительной точке 1 в выходном канале.
Если необходимо использовать средства измерения, которые имеют увеличенные пробоотборные головки и/или пригодны только для меньших скоростей потока воздуха, то может быть использована измерительная точка 2, расположенная в зоне центральной оси раструба так близко к входному каналу, насколько это возможно.
6 Методика испытания
6.1 Работа системы очистки воздуха
Система очистки воздуха должна работать в соответствии со своим назначением. Выбор рабочих процедур, применяемых средств измерений и веществ, подлежащих обработке указанными категориями систем очистки воздуха, должен определяться в стандартах типа C.
Если в состав системы очистки воздуха входит разделитель, рециркулирующий воздух рабочей зоны в соответствии с применением по назначению, то выход разделителя должен быть расположен в камере таким образом, чтобы загрязняющее вещество из этого вторичного источника достигало измерительной точки.
Система очистки воздуха должна работать в соответствии с руководством по эксплуатации изготовителя. Если система очистки воздуха оснащена устройством контроля концентрации загрязняющего вещества, то оно должно быть отрегулировано в соответствии с руководством по эксплуатации.
Запрещается проводить испытания, если отсутствуют указания изготовителя по контролю концентрации загрязняющего вещества системой очистки воздуха.
6.2 Методика проведения измерений
Методики измерений, используемые для определения параметра концентрации загрязняющего вещества, должны соответствовать действующим стандартам. Подробные методики должны быть установлены в соответствующих стандартах типа C для каждого типа систем очистки воздуха.
При измерениях должны учитываться нормальные рабочие циклы системы очистки воздуха.
Время измерения должно быть достаточным для сбора данных о концентрации, представляющих нормальный рабочий цикл системы очистки воздуха.
Количество измерений - не менее трех.
7 Подсчет результатов
Параметр концентрации загрязняющих веществ в камере Pcc представляет собой среднее арифметическое результатов измерений, доверительный интервал определяют в соответствии с ISO 2602 при уровне доверия 95%.
8 Протокол испытания
Протокол испытания должен содержать следующую минимальную информацию:
a) ссылку на настоящий стандарт и соответствующие стандарты типа C;
b) описание испытуемой системы очистки воздуха (например, наименование изготовителя, модель, тип, версия, конструкция, размеры, год изготовления, серийный номер) и каждой дополнительной части системы очистки воздуха;
c) информацию о функционировании в процессе испытаний, включая информацию о рабочих органах, используемых системой очистки воздуха, информацию об очищаемых веществах;
d) описание оборудования контроля загрязняющего вещества (например, изготовитель, модель, тип, версия, конструкция, размеры, год изготовления, серийный номер, рабочие характеристики);
e) расход воздуха камерой;
f) описание методики измерения, включая описание расположения измерительной точки и измеряемого загрязняющего вещества;
g) применяемый измерительный инструмент и дату его последней калибровки;
h) данные окружающей среды (температура, влажность, атмосферное давление);
i) описание используемых методик испытания (например, перечень стандартов) при измерении концентрации и расхода воздуха;
j) количество проведенных испытаний;
k) измеренные концентрации загрязняющего вещества;
l) среднее значение параметра концентрации загрязняющего вещества Pcc, 95%-ный доверительный интервал;
m) информацию об отступлениях от соответствующих стандартов;
n) наименование испытательной лаборатории (центра);
o) фамилию лица, ответственного за проведение испытаний;
p) дату проведения испытаний;
q) дополнительную информацию (в случае необходимости).
Приложение ZA
(справочное)
ВЗАИМОСВЯЗЬ МЕЖДУ ЕВРОПЕЙСКИМ СТАНДАРТОМ И СУЩЕСТВЕННЫМИ
ТРЕБОВАНИЯМИ ДИРЕКТИВЫ 98/37/ЕС
Европейский стандарт, на основе которого подготовлен настоящий межгосударственный стандарт, разработан Европейским комитетом по стандартизации (CEN) по поручению Комиссии Европейского сообщества и Европейской ассоциации свободной торговли (EFTA) и реализует существенные требования Директивы 98/37/ЕС (с учетом изменений, внесенных Директивой 98/79/ЕС).
Европейский стандарт размещен в Официальном журнале Европейского сообщества как взаимосвязанный с этой директивой и применен как национальный стандарт не менее чем в одной стране - члене сообщества. Соответствие требованиям европейского стандарта, приведенным в таблице ZA.1, обеспечивает в пределах его области применения презумпцию соответствия существенным требованиям этой директивы и соответствующих регламентирующих документов EFTA.
Таблица ZA.1
Соответствие между EN 1093-8 и Директивой 98/37/ЕС
Разделы EN 1093-8
Основополагающие требования Директивы 98/37/ЕС
Примечания
Все разделы
Приложение I, 1.5.13
Опасность, обусловленная выбросами пыли, газов и т.д.
ВНИМАНИЕ! К продукции, на которую распространяется европейский стандарт, могут применяться требования других стандартов и директив ЕС.
Приложение ZB
(справочное)
ВЗАИМОСВЯЗЬ МЕЖДУ ЕВРОПЕЙСКИМ СТАНДАРТОМ И СУЩЕСТВЕННЫМИ
ТРЕБОВАНИЯМИ ДИРЕКТИВЫ 2006/42/ЕС
Европейский стандарт, на основе которого подготовлен настоящий межгосударственный стандарт, разработан Европейским комитетом по стандартизации (CEN) по поручению Комиссии Европейского сообщества и Европейской ассоциации свободной торговли (EFTA) и реализует существенные требования Директивы 2006/42/ЕС.
Европейский стандарт размещен в Официальном журнале Европейского сообщества как взаимосвязанный с этой директивой и применен как национальный стандарт не менее чем в одной стране - члене сообщества. Соответствие требованиям европейского стандарта, приведенным в таблице ZB.1, обеспечивает в пределах его области применения презумпцию соответствия существенным требованиям этой директивы и соответствующих регламентирующих документов EFTA.
Таблица ZB.1
Соответствие между EN 1093-8 и Директивой 2006/42/ЕС
Разделы EN 1093-8
Основополагающие требования Директивы 2006/42/ЕС
Примечания
Все разделы
Приложение I, 1.5.13
Опасность, обусловленная выбросами загрязняющих веществ и материалов
ВНИМАНИЕ! К продукции, на которую распространяется европейский стандарт, могут применяться требования других стандартов и директив ЕС.
Приложение ДА
(справочное)
СВЕДЕНИЯ О СООТВЕТСТВИИ ССЫЛОЧНЫХ ЕВРОПЕЙСКИХ
И МЕЖДУНАРОДНОГО СТАНДАРТОВ МЕЖГОСУДАРСТВЕННЫМ СТАНДАРТАМ
Таблица ДА.1
Обозначение ссылочного европейского (международного) стандарта
Степень соответствия
Обозначение и наименование соответствующего межгосударственного стандарта
EN 292-1:1991
-
EN 292-2:1991
-
EN 292-2/A1:1995
-
ENV 1070:1993
-
EN 1093-1
IDT
ГОСТ EN 1093-1-2018 "Безопасность машин. Оценка выбросов загрязняющих веществ. Часть 1. Выбор методов испытаний" (EN 1093-1:2008)
ISO 2602:1980
-
<*> Соответствующий межгосударственный стандарт отсутствует. Действует ГОСТ ISO 12100-2013 (ISO 12100:2010, IDT).
<**> Соответствующий межгосударственный стандарт отсутствует. Действует ГОСТ ЕН 1070-2003 (EN 1070:1998).
<***> Соответствующий межгосударственный стандарт отсутствует. До его принятия рекомендуется использовать перевод на русский язык данного международного стандарта. Информация о наличии перевода международного стандарта - в Национальном фонде ТНПА.
Примечание - В настоящей таблице использовано следующее условное обозначение степени соответствия стандарта:
- IDT - идентичный стандарт.
БИБЛИОГРАФИЯ
[1]
EN 1093-3
Safety of machinery - Evaluation of the emission of airborne hazardous substances - Part 3: Test bench method for the measurement of the emission rate of a given pollutant (Безопасность машин. Оценка выброса в атмосферу вредных веществ. Часть 3. Стендовый метод испытания для измерения интенсивности выброса вредного вещества с использованием определенного загрязняющего вещества)
УДК 621.43.068.7(083.74)(476)
МКС 13.040.40
IDT
Ключевые слова: выбросы загрязняющих веществ, системы контроля загрязнения воздуха, параметр концентрации, стендовый метод испытаний