Главная // Актуальные документы // ГОСТ (Государственный стандарт)СПРАВКА
Источник публикации
М.: ФГБУ "РСТ", 2021
Примечание к документу
Документ включен в
Перечень международных и региональных (межгосударственных) стандартов, а в случае их отсутствия - национальных (государственных) стандартов, в результате применения которых на добровольной основе обеспечивается соблюдение требований технического
регламента Таможенного союза "О безопасности машин и оборудования" (ТР ТС 010/2011), и
Перечень международных и региональных (межгосударственных) стандартов, а в случае их отсутствия - национальных (государственных) стандартов, содержащих правила и методы исследований (испытаний) и измерений, в том числе правила отбора образцов, необходимые для применения и исполнения требований технического
регламента Таможенного союза "О безопасности машин и оборудования" (ТР ТС 010/2011) и осуществления оценки соответствия объектов технического регулирования (
Решение Коллегии Евразийской экономической комиссии от 09.03.2021 N 28).
Документ
введен в действие с 01.01.2022.
Название документа
"ГОСТ EN 1093-6-2018. Межгосударственный стандарт. Безопасность машин. Оценка выбросов загрязняющих веществ. Часть 6. Эффективность очистки по массе без выходного канала"
(введен в действие Приказом Росстандарта от 25.08.2021 N 809-ст)
"ГОСТ EN 1093-6-2018. Межгосударственный стандарт. Безопасность машин. Оценка выбросов загрязняющих веществ. Часть 6. Эффективность очистки по массе без выходного канала"
(введен в действие Приказом Росстандарта от 25.08.2021 N 809-ст)
по техническому регулированию
и метрологии
от 25 августа 2021 г. N 809-ст
МЕЖГОСУДАРСТВЕННЫЙ СТАНДАРТ
БЕЗОПАСНОСТЬ МАШИН
ОЦЕНКА ВЫБРОСОВ ЗАГРЯЗНЯЮЩИХ ВЕЩЕСТВ
ЧАСТЬ 6
ЭФФЕКТИВНОСТЬ ОЧИСТКИ ПО МАССЕ БЕЗ ВЫХОДНОГО КАНАЛА
Safety of machinery. Evaluation of the emission
of airborne hazardous substances. Part 6. Separation
efficiency by mass, unducted outlet
(EN 1093-6:1998+A1:2008, IDT)
ГОСТ EN 1093-6-2018
Дата введения
1 января 2022 года
Цели, основные принципы и общие правила проведения работ по межгосударственной стандартизации установлены
ГОСТ 1.0 "Межгосударственная система стандартизации. Основные положения" и
ГОСТ 1.2 "Межгосударственная система стандартизации. Стандарты межгосударственные, правила и рекомендации по межгосударственной стандартизации. Правила разработки, принятия, обновления и отмены"
1 ПОДГОТОВЛЕН Научно-производственным республиканским унитарным предприятием "Белорусский государственный институт стандартизации и сертификации" (БелГИСС) на основе собственного перевода на русский язык англоязычной версии стандарта, указанного в
пункте 5
2 ВНЕСЕН Государственным комитетом по стандартизации Республики Беларусь
3 ПРИНЯТ Межгосударственным советом по стандартизации, метрологии и сертификации по результатам голосования в АИС МГС (протокол от 27 июля 2018 г. N 110-П)
За принятие проголосовали:
Краткое наименование страны по МК (ИСО 3166) 004-97 | Код страны по МК (ИСО 3166) 004-97 | Сокращенное наименование национального органа по стандартизации |
Армения | AM | ЗАО "Национальный орган по стандартизации и метрологии" Республики Армения |
Беларусь | BY | Госстандарт Республики Беларусь |
Казахстан | KZ | Госстандарт Республики Казахстан |
Киргизия | KG | Кыргызстандарт |
Россия | RU | Росстандарт |
Таджикистан | TJ | Таджикстандарт |
Узбекистан | UZ | Узстандарт |
4
Приказом Федерального агентства по техническому регулированию и метрологии от 25 августа 2021 г. N 809-ст межгосударственный стандарт ГОСТ EN 1093-6-2018 введен в действие в качестве национального стандарта Российской Федерации с 1 января 2022 г.
5 Настоящий стандарт идентичен европейскому стандарту EN 1093-6:1998+A1:2008 "Безопасность машин. Оценка выброса в атмосферу вредных веществ. Часть 6. Измерение эффективности сепарации по массе, диффузный выпуск" ("Safety of machinery - Evaluation of the emission of airborne hazardous substances - Part 6: Separation efficiency by mass, unducted outlet", IDT).
При применении настоящего стандарта рекомендуется использовать вместо ссылочных европейских стандартов соответствующие им межгосударственные стандарты, сведения о которых приведены в дополнительном
приложении ДА
6 ВВЕДЕН ВПЕРВЫЕ
Информация о введении в действие (прекращении действия) настоящего стандарта и изменений к нему на территории указанных выше государств публикуется в указателях национальных стандартов, издаваемых в этих государствах, а также в сети Интернет на сайтах соответствующих национальных органов по стандартизации.
В случае пересмотра, изменения или отмены настоящего стандарта соответствующая информация будет опубликована на официальном интернет-сайте Межгосударственного совета по стандартизации, метрологии и сертификации в каталоге "Межгосударственные стандарты"
Европейский стандарт разработан Техническим комитетом по стандартизации CEN/TC 114 "Безопасность машин" Европейского комитета по стандартизации (CEN).
Европейский стандарт, на основе которого подготовлен настоящий стандарт, реализует существенные требования безопасности Директивы 98/37/ЕС и
Директивы 2006/42/ЕС, приведенные в
приложениях ZA и
ZB соответственно.
Настоящий стандарт представляет собой стандарт типа B по ENV 1070:1993.
Настоящий стандарт является частью EN 1093. В части 1 этого стандарта представлен ряд различных методов для оценки выбросов в атмосферу загрязняющих веществ от машин.
Европейский стандарт EN 1093 под общим заголовком "Безопасность машин. Оценка выбросов загрязняющих веществ" содержит следующие части:
- часть 1. Выбор методов испытаний;
- часть 2. Метод индикаторного газа для измерения уровня выбросов заданного загрязняющего вещества;
- часть 3. Стендовый метод измерения уровня выбросов заданного загрязняющего вещества;
- часть 4. Эффективность улавливания системы выпуска отработавших газов. Метод изотопных индикаторов;
- часть 6. Эффективность очистки по массе без выходного канала;
- часть 7. Эффективность очистки по массе с выходным каналом;
- часть 8. Стендовый метод измерения параметра концентрации;
- часть 9. Лабораторный метод измерения параметра концентрации;
- часть 11. Индекс очистки.
Настоящий стандарт устанавливает стендовый метод определения эффективности очистки по массе системы очистки воздуха без выходного канала, функционирующей при определенных условиях. Данный метод должен применяться к системам, которые очищают воздух от аэрозолей (смог, пыль, дым, туман), паров или газа.
Определение эффективности очистки по массе системы очистки воздуха при применении по назначению может служить для:
a) оценки эксплуатационной характеристики системы очистки воздуха;
b) оценки изменений, внесенных в конструкцию системы очистки воздуха;
c) сравнения систем очистки воздуха;
d) классификации систем очистки воздуха в зависимости от их эффективности очистки по массе;
e) определения уровня развития науки и техники с точки зрения эффективности очистки по массе систем очистки воздуха с аналогичным применением по назначению.
В настоящем стандарте использованы нормативные ссылки на следующие стандарты. Для датированных ссылок применяют только указанное издание ссылочного стандарта, для недатированных - последнее издание (включая все изменения).
EN 292-1:1991 <*>, Safety of machinery - Basic concepts, general principles for design - Part 1: Basic terminology, methodology (Безопасность машин. Основные понятия, общие принципы конструирования. Часть 1. Основные термины, методика)
EN 292-2:1991 <*>, Safety of machinery - Basic concepts, general principles for design - Part 2: Technical principles and specifications (Безопасность машин. Основные понятия, общие принципы конструирования. Часть 2. Технические правила и технические требования)
EN 292-2/A1:1995 <*>, Safety of machinery - Basic concepts, general principles for design - Part 2: Technical principles and specifications; amendment A1 (Безопасность машин. Основные понятия, общие принципы конструирования. Часть 2. Технические правила и технические требования (изменение 1))
--------------------------------
<*> Действует EN ISO 12100:2010. Однако для однозначного соблюдения требований настоящего стандарта, выраженного в датированной ссылке, рекомендуется использовать только указанное в этой ссылке издание.
ENV 1070:1993 <*>, Safety of machinery - Terminology (Безопасность оборудования. Термины и определения)
--------------------------------
<*> Заменен на EN 1070:1998 (отменен). Однако для однозначного соблюдения требований настоящего стандарта, выраженного в датированной ссылке, рекомендуется использовать только указанное в этой ссылке издание.
prEN 1093-1 <**>, Safety of machinery - Evaluation of the emission of airborne hazardous substances - Part 1: Selection of test methods (Безопасность машин. Оценка выброса в атмосферу вредных веществ. Часть 1. Выбор методов испытаний)
--------------------------------
<**> Действует EN 1093-1:2008.
В настоящем стандарте применены термины по ENV 1070:1993, а также следующий термин с соответствующим определением:
3.1
эффективность очистки по массе 
[separation efficiency by mass

]: Эффективность очистки по массе системы очистки воздуха определенного загрязняющего вещества представляет собой отношение массы загрязняющего воздух вещества, задержанного системой очистки воздуха,
m3, к массе загрязняющего воздух вещества, поступившего в систему очистки воздуха,
m1, в течение заданного периода времени.
Эффективность очистки по массе системы очистки воздуха в процентном выражении рассчитывают по следующей формуле:

. (1)
Принцип метода измерения заключается в работе системы очистки воздуха при определенных условиях на испытательном стенде и определении массы испытательного вещества в воздухе до и после системы очистки воздуха.
Примечание - Испытательное вещество, которое может быть фактически загрязняющим воздух веществом или его заменителем, рекомендуется выбирать низкотоксичным и соответствующим требованиям данного метода измерения.
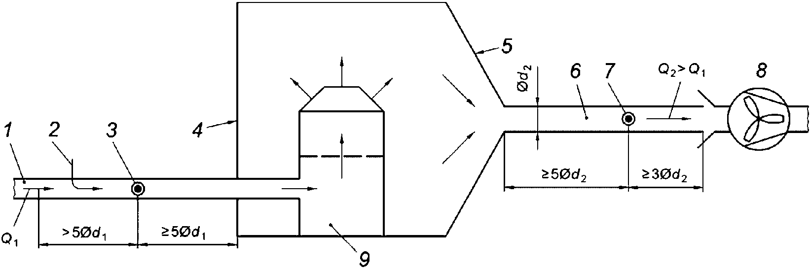
5 Описание испытательного стенда
Испытательный стенд состоит из камеры, симметрично присоединенной к измерительному каналу, через который продувается воздух (см.
рисунки 1 и
2).
1 - входной канал; 2 - точка(и) впрыска испытательного
вещества; 3 - измерительная плоскость 1; 4 - камера;
5 - раструб; 6 - выходной канал; 7 - измерительная плоскость
2; 8 - вентилятор; 9 - испытываемая система очистки воздуха;
10 - дополнительное отверстие для подачи воздуха
Рисунок 1 - Испытательный стенд с дополнительным отверстием
для подачи воздуха
1 - входной канал; 2 - точка(и) впрыска испытательного
вещества; 3 - измерительная плоскость 1; 4 - камера;
5 - раструб; 6 - выходной канал; 7 - измерительная плоскость
2; 8 - вентилятор; 9 - испытываемая система очистки воздуха
Рисунок 2 - Испытательный стенд без дополнительного
отверстия для входа воздуха
Для измерения концентрации загрязняющего воздух вещества во входном канале должно быть достигнуто равномерное распределение испытательного вещества.
Расход воздуха Q1, подаваемого в систему очистки воздуха, и расход воздуха Q2, выходящего после очистки, должны оставаться постоянными при испытании в заданных условиях. Поперечное сечение камеры должно быть выбрано в соответствии с требованиями системы очистки воздуха.
6 Расположение и работа системы очистки воздуха
Для улучшения транспортирования любого загрязняющего воздух вещества, выходящего после очистки к измерительной плоскости 2 в выходном канале, систему очистки воздуха рекомендуется располагать в камере таким образом, чтобы выбросы из системы очистки воздуха находились в плоскости, вертикальной к продольной оси выходного канала.
Для обеспечения отсутствия значительного отложения загрязняющего воздух вещества между системой очистки воздуха и измерительной плоскостью 2 следует рассмотреть аэродинамический режим в камере и выходном канале.
Система очистки воздуха должна функционировать в соответствии с ее предполагаемым применением и с заданным испытательным веществом. Для определенных категорий систем очистки воздуха испытательное вещество (например, основные характеристики, размер твердых частиц) и его концентрация до системы очистки воздуха должны быть определены в стандартах типа C.
Система очистки воздуха должна функционировать в соответствии с руководством по эксплуатации изготовителя.
Массовый расход испытательного вещества при испытании должен быть измерен во входном канале в интервале времени от t1 до t2 и в выходном канале - от t1 до t3. Во входном канале массовый расход определяется исходя из массы подаваемого испытательного вещества и расхода воздуха. Время t3 должно быть больше, чем время t2, при этом следует учитывать постоянные времени системы очистки воздуха, камеры и выходного канала. На практике разница между значениями времени t2 и t3 может быть незначительной по сравнению с временем измерения и может не повлиять на результат измерения.
Используемые методики измерения должны соответствовать действующим стандартам. Для измерения объемного расхода воздуха см. ISO 3966:1977, ISO 4006:1991, ISO 4053-1:1977, ISO 5167-1:1991, ISO 5168:1978 и ISO 7145:1982. Измерительное оборудование рекомендуется применять одного типа до и после системы очистки воздуха. Если это требование невыполнимо, то для каждого используемого испытательного вещества должна быть установлена взаимосвязь между измерительным оборудованием до и после системы очистки воздуха.
В определенных случаях эффективность очистки следует определять в соответствии с размерами твердых частиц (см. EN 81).
Эффективность очистки в некоторых системах очистки воздуха изменяется со временем, например фильтров. Порядок отбора проб должен учитывать эти изменения эффективности очистки, для того чтобы получить достоверную информацию относительно эффективности используемого очистителя.
Время измерения должно быть достаточным для отбора проб вещества, выбрасываемого при репрезентативном использовании системы очистки воздуха, включая, например, несколько циклов работы механизма очистки фильтра.
Эффективность очистки системы очистки воздуха зависит от количества удерживаемого загрязняющего воздух вещества и объемного расхода воздуха. Поэтому испытания должны проводиться с использованием различных сочетаний количества загрязняющего вещества и расхода воздуха, которые предполагаются при эксплуатации.
Подробные условия испытаний и статистический анализ результатов испытаний должны быть установлены в соответствующих стандартах типа C.
8 Выражение результатов испытаний
Среднее значение эффективности очистки по массе системы очистки воздуха рассчитывают по следующей формуле

, (2)
где m1 - масса испытательного вещества, поступившего в систему очистки воздуха;
m2 - масса испытательного вещества, не задержанного системой очистки воздуха;
m3 - масса испытательного вещества, задержанного системой очистки воздуха;
C1 - концентрация испытательного вещества, поступившего в систему очистки воздуха;
C2 - концентрация испытательного вещества у измерительной плоскости 2;
Q1 - объемный расход воздуха во входном канале;
Q2 - объемный расход воздуха в выходном канале.
Если эффективность очистки рассматривается в качестве функции, зависящей от размера частиц, то m1 и m2 измеряют для каждого интересуемого диапазона размеров частиц.
Протокол испытаний должен содержать следующую информацию:
a) ссылку на настоящий стандарт и соответствующие стандарты типа C;
b) описание испытываемой системы очистки воздуха (например, изготовитель, модель, тип, модификация, конструкция, размеры, год выпуска, серийный номер);
c) информацию о функционировании в процессе испытаний, включая расход воздуха;
d) испытательное вещество (например, основные характеристики, концентрацию, а для порошков: размеры твердых частиц, содержание влаги);
e) описание методики измерения, включая тип применяемого испытательного стенда;
f) используемые средства измерений и дату их последней калибровки;
g) параметры окружающей среды (температура, влажность, атмосферное давление);
h) описание используемых методик (например, перечень стандартов) для измерения концентрации и расхода воздуха;
i) результаты испытаний;
j) информацию об отступлениях от соответствующих стандартов;
k) информацию об испытательной лаборатории;
l) фамилию лица, ответственного за проведение испытаний;
m) дату проведения испытаний;
n) дополнительную информацию, в случае необходимости.
(справочное)
ВЗАИМОСВЯЗЬ МЕЖДУ ЕВРОПЕЙСКИМ СТАНДАРТОМ
И СУЩЕСТВЕННЫМИ ТРЕБОВАНИЯМИ ДИРЕКТИВЫ 98/37/ЕС
Европейский стандарт, на основе которого подготовлен настоящий межгосударственный стандарт, разработан Европейским комитетом по стандартизации (CEN) по поручению Комиссии Европейского сообщества и Европейской ассоциации свободной торговли (EFTA) и реализует существенные требования Директивы 98/37/ЕС (с учетом изменений, внесенных
Директивой 98/79/ЕС).
Европейский стандарт размещен в Официальном журнале Европейского сообщества как взаимосвязанный с этой директивой и применен как национальный стандарт не менее чем в одной стране - члене сообщества. Соответствие требованиям европейского стандарта, приведенным в
таблице ZA.1, обеспечивает в пределах его области применения презумпцию соответствия существенным требованиям этой директивы и соответствующих регламентирующих документов EFTA.
Таблица ZA.1
Соответствие между EN 1093-6 и Директивой 98/37/ЕС
Разделы EN 1093-6 | Основополагающие требования Директивы 98/37/ЕС | Примечания |
Все разделы | Приложение I, 1.5.13 | Опасность, обусловленная выбросами пыли, газов и т.д. |
ВНИМАНИЕ! К продукции, на которую распространяется европейский стандарт, могут применяться требования других стандартов и директив ЕС.
(справочное)
ВЗАИМОСВЯЗЬ МЕЖДУ ЕВРОПЕЙСКИМ СТАНДАРТОМ
И СУЩЕСТВЕННЫМИ ТРЕБОВАНИЯМИ ДИРЕКТИВЫ 2006/42/ЕС
Европейский стандарт, на основе которого подготовлен настоящий межгосударственный стандарт, разработан Европейским комитетом по стандартизации (CEN) по поручению Комиссии Европейского сообщества и Европейской ассоциации свободной торговли (EFTA) и реализует существенные требования
Директивы 2006/42/ЕС.
Европейский стандарт размещен в Официальном журнале Европейского сообщества как взаимосвязанный с этой
директивой и применен как национальный стандарт не менее чем в одной стране - члене сообщества. Соответствие требованиям европейского стандарта, приведенным в
таблице ZB.1, обеспечивает в пределах его области применения презумпцию соответствия существенным требованиям этой
директивы и соответствующих регламентирующих документов EFTA.
Таблица ZB.1
Соответствие между EN 1093-7 и
Директивой 2006/42/ЕС
Разделы EN 1093-7 | Основополагающие требования Директивы 2006/42/ЕС | Примечания |
Все разделы | | Опасность, обусловленная выбросами загрязняющих веществ и материалов |
ВНИМАНИЕ! К продукции, на которую распространяется европейский стандарт, могут применяться требования других стандартов и директив ЕС.
(справочное)
СВЕДЕНИЯ О СООТВЕТСТВИИ ССЫЛОЧНЫХ ЕВРОПЕЙСКИХ СТАНДАРТОВ
МЕЖГОСУДАРСТВЕННЫМ СТАНДАРТАМ
Таблица ДА.1
Обозначение ссылочного европейского стандарта | Степень соответствия | Обозначение и наименование соответствующего межгосударственного стандарта |
EN 292-1:1991 | - | |
EN 292-2:1991 | - | |
EN 292-2/A1:1995 | - | |
ENV 1070:1993 | - | |
prEN 1093-1 | - | |
| | ИС МЕГАНОРМ: примечание. В официальном тексте документа, видимо, допущена опечатка: стандарт имеет номер ГОСТ ISO 12100-2013, а не ГОСТ ISO 12100-2010. | |
|
<*> Соответствующий межгосударственный стандарт отсутствует. Действует ГОСТ ISO 12100-2010 (ISO 12100:2010, IDT). <**> Соответствующий межгосударственный стандарт отсутствует. Действует ГОСТ EN 1070-2003 (EN 1070:1998, IDT). <***> Соответствующий межгосударственный стандарт отсутствует. Действует ГОСТ EN 1093-1-2018 (EN 1093-1:2008, IDT). |
[1] | EN 481 | Workplace atmospheres - Size fraction definitions for measurement of airborne particles (Атмосфера рабочей зоны. Спецификации по условиям отбора фракций частиц для измерения их концентрации в воздухе на рабочем месте) |
[2] | ISO 3966:1977 | Measurement of fluid flow in closed conduits - Velocity area method using Pitot static tubes (Измерение потока жидкости в закрытых каналах. Метод исследования поля скоростей с применением трубок Пито) |
[3] | ISO 4006:1991 | Measurement of fluid flow in closed conduits - Vocabulary and symbols (Измерение потока жидкости в закрытых каналах. Словарь и условные обозначения) |
[4] | ISO 4053-1:1997 | Measurement of gas flow in conduits - Tracer methods - Part 1: General (Измерение потока газа в закрытых каналах. Индикаторные методы. Часть 1. Общие положения) |
[5] | ISO 5167-1:1991 | Measurement of fluid flow by means of pressure differential devices - Part 1: Orifice plates, nozzles and Venturi tubes inserted in circular cross-section conduits running full (Измерение потока жидкости с помощью устройств с различным дифференциалом давления. Часть 1. Измерительные диафрагмы, штуцера и трубки Venturi, размещенные в круглых поперечных сечениях заполненных трубопроводов) |
[6] | ISO 5168:1978 | Measurement of fluid flow - Estimation of uncertainty of a flow-rate measurement (Измерение потока жидкости. Процедуры оценки погрешностей) |
[7] | ISO 7145:1982 | Determination of flowrate of fluids in closed conduits of circular cross-section - Method of velocity measurement at one point of the cross-section (Измерение потока жидкости в закрытых каналах круглого сечения. Метод измерения скорости в одной точке поперечного сечения) |
УДК 621.43.068.6(083.74)(476) | | IDT |
Ключевые слова: оценка выбросов загрязняющих веществ, эффективность очистки по массе системы очистки воздуха |