Главная // Актуальные документы // ГОСТ (Государственный стандарт)
СПРАВКА
Источник публикации
М.: Стандартинформ, 2020
Примечание к документу
Текст данного документа приведен с учетом поправки, опубликованной в "ИУС", N 4, 2021.

Документ введен в действие с 01.06.2021.
Название документа
"ГОСТ 34685-2020. Межгосударственный стандарт. Автомобили оперативно-служебные для перевозки лиц, задержанных в административном порядке. Общие технические требования"
(введен в действие Приказом Росстандарта от 30.10.2020 N 1016-ст)

"ГОСТ 34685-2020. Межгосударственный стандарт. Автомобили оперативно-служебные для перевозки лиц, задержанных в административном порядке. Общие технические требования"
(введен в действие Приказом Росстандарта от 30.10.2020 N 1016-ст)


Содержание


Введен в действие
Приказом Федерального агентства
по техническому регулированию
и метрологии
от 30 октября 2020 г. N 1016-ст
МЕЖГОСУДАРСТВЕННЫЙ СТАНДАРТ
АВТОМОБИЛИ ОПЕРАТИВНО-СЛУЖЕБНЫЕ ДЛЯ ПЕРЕВОЗКИ
ЛИЦ, ЗАДЕРЖАННЫХ В АДМИНИСТРАТИВНОМ ПОРЯДКЕ
ОБЩИЕ ТЕХНИЧЕСКИЕ ТРЕБОВАНИЯ
Operational cars for the transportation of persons detained
in administrative procedure. General technical requirements
ГОСТ 34685-2020
МКС 43.160
Дата введения
1 июня 2021 года
Предисловие
Цели, основные принципы и общие правила проведения работ по межгосударственной стандартизации установлены ГОСТ 1.0 "Межгосударственная система стандартизации. Основные положения" и ГОСТ 1.2 "Межгосударственная система стандартизации. Стандарты межгосударственные, правила и рекомендации по межгосударственной стандартизации. Правила разработки, принятия, обновления и отмены"
Сведения о стандарте
1 РАЗРАБОТАН Федеральным государственным унитарным предприятием "Центральный ордена Трудового Красного Знамени научно-исследовательский автомобильный и автомоторный институт "НАМИ" (ФГУП "НАМИ") и Федеральным казенным учреждением научно-производственным объединением "Специальная техника и связь" МВД России (ФКУ НПО "СТиС" МВД России)
2 ВНЕСЕН Межгосударственным техническим комитетом по стандартизации МТК 56 "Дорожный транспорт"
3 ПРИНЯТ Межгосударственным советом по стандартизации, метрологии и сертификации (протокол от 30 октября 2020 г. N 134-П)
За принятие проголосовали:
Краткое наименование страны по МК (ИСО 3166) 004-97
Код страны по МК (ИСО 3166) 004-97
Сокращенное наименование национального органа по стандартизации
Армения
AM
ЗАО "Национальный орган по стандартизации и метрологии" Республики Армения
Беларусь
BY
Госстандарт Республики Беларусь
Киргизия
KG
Кыргызстандарт
Россия
RU
Росстандарт
Узбекистан
UZ
Узстандарт
Украина
UA
Минэкономразвития Украины
4 Приказом Федерального агентства по техническому регулированию и метрологии от 30 октября 2020 г. N 1016-ст межгосударственный стандарт ГОСТ 34685-2020 введен в действие в качестве национального стандарта Российской Федерации с 1 июня 2021 г.
5 ВВЕДЕН ВПЕРВЫЕ
Информация о введении в действие (прекращении действия) настоящего стандарта и изменений к нему на территории указанных выше государств публикуется в указателях национальных стандартов, издаваемых в этих государствах, а также в сети Интернет на сайтах соответствующих национальных органов по стандартизации.
В случае пересмотра, изменения или отмены настоящего стандарта соответствующая информация будет опубликована на официальном интернет-сайте Межгосударственного совета по стандартизации, метрологии и сертификации в каталоге "Межгосударственные стандарты"
1 Область применения
1.1 Настоящий стандарт распространяется на вновь разрабатываемые и модернизируемые оперативно-служебные автомобили (далее - спецавтомобили), предназначенные для перевозки:
- лиц, задержанных в административном порядке, при проведении спортивных, массовых, общественно-политических (в том числе несанкционированных) мероприятий, а также профилактических, режимных и иных мероприятий с мест их проведения в органы охраны правопорядка;
- задержанных лиц в суды для рассмотрения материалов об административных правонарушениях;
- из судов в специальные учреждения органов охраны правопорядка, а также иные перевозки лиц, подвергнутых административному аресту, иностранных граждан и лиц без гражданства, подлежащих административному выдворению с территории государств - членов Евразийского экономического союза.
1.2 Настоящий стандарт устанавливает специальные технические требования к конструкции спецавтомобилей, изготовленных на базе транспортных средств (далее - ТС) следующих категорий: M2, N2, M3, N3, M1G, N1G, M2G, N2G, M3G, N3G, в соответствии с [1].
1.3 По отношению к настоящему стандарту на национальном уровне могут быть установлены дополнительные и/или конкретизирующие правила (стандарты), которые действуют на территории государств - членов Евразийского экономического союза.
1.4 Конструкции спецавтомобилей, принятых на снабжение (за исключением находящихся в эксплуатации и на текущем хранении) органов охраны правопорядка государств - членов Евразийского экономического союза до введения в действие настоящего стандарта, должны быть приведены в соответствие с его требованиями в течение одного года со дня введения стандарта.
2 Нормативные ссылки
В настоящем стандарте использованы нормативные ссылки на следующие межгосударственные стандарты:
ГОСТ 3916.1 Фанера общего назначения с наружными слоями из шпона лиственных пород. Технические условия
ГОСТ 3916.2 Фанера общего назначения с наружными слоями из шпона хвойных пород. Технические условия
ГОСТ 11284-1975 Отверстия сквозные под крепежные детали. Размеры
ГОСТ 30593 Автомобильные транспортные средства. Системы отопления, вентиляции и кондиционирования. Требования к эффективности и безопасности
ГОСТ 30826 Стекло многослойное. Технические условия
Примечание - При пользовании настоящим стандартом целесообразно проверить действие ссылочных стандартов и классификаторов на официальном интернет-сайте Межгосударственного совета по стандартизации, метрологии и сертификации (www.easc.by) или по указателям национальных стандартов, издаваемым в государствах, указанных в предисловии или на официальных сайтах соответствующих национальных органов по стандартизации. Если на документ дана недатированная ссылка, то следует использовать документ, действующий на текущий момент, с учетом всех внесенных в него изменений. Если заменен ссылочный документ, на который дана датированная ссылка, то следует использовать указанную версию этого документа. Если после принятия настоящего стандарта в ссылочный документ, на который дана датированная ссылка, внесено изменение, затрагивающее положение, на которое дана ссылка, то это положение применяется без учета данного изменения. Если ссылочный документ отменен без замены, то положение, в котором дана ссылка на него, применяется в части, не затрагивающей эту ссылку.
3 Термины, определения и сокращения
3.1 В настоящем стандарте применены следующие термины с соответствующими определениями:
3.1.1 рабочий салон: Отделение спецавтомобиля, в котором размещаются рабочие места и места для сидения сотрудников (военнослужащих) органов охраны правопорядка, а также места для специального и дополнительного оборудования.
3.1.2 задержанные: Доставляемые (препровождаемые) в помещение органов охраны правопорядка, в суды, в иное служебное помещение в соответствии с действующим законодательством лица (граждане, иностранные граждане, лица без гражданства), совершившие административные правонарушения, в том числе при проведении публичных, спортивных и иных массовых мероприятий, комплексных оперативно-профилактических операций и мероприятий.
3.1.3 отсек для задержанных: Отделение спецавтомобиля для размещения и перевозки задержанных.
3.1.4 вспомогательный отсек: Отделение в задней части спецавтомобиля между отсеком для задержанных и штатной задней дверью кузова автомобиля для размещения дополнительного и специального оборудования.
3.1.5 специальное оборудование: Технические средства и оборудование, предназначенные для выполнения оперативно-служебных задач.
3.1.6 дополнительное оборудование: Технические средства и оборудование, предназначенные для использования в текущей деятельности сотрудников.
3.1.7 ригель: Деталь замка, служащая для фиксирования двери в закрытом положении посредством входа в ответную часть.
3.1.8 ответная часть ригеля замка (задвижки): Деталь или узел, в который(ую) входит и опирается ригель (задвижка) при фиксировании двери в закрытом положении.
3.1.9 государственный заказчик: Государственная организация государств - членов Евразийского экономического союза, осуществляющая заказы на разработку, производство и поставку спецавтомобилей в подразделения органов охраны правопорядка (в соответствии с действующей нормативной базой).
3.2 В настоящем стандарте применены следующие сокращения:
АПК ВН - аппаратно-программный комплекс видеонаблюдения;
АУП - автоматическая установка пожаротушения;
КБО - комплект бортового оборудования;
СГЗД - система гарантированного запуска двигателя автомобиля;
СГУ - сигнально-громкоговорящая установка;
СИБ - средства индивидуальной бронезащиты;
СНМС - навигационно-мониторинговая система, используемая на территории государств - членов Евразийского экономического союза <1>.
--------------------------------
<1> На территории Российской Федерации используется навигационная система ГЛОНАСС или ГЛОНАСС/GPS.
4 Общие технические требования
4.1 Спецавтомобили изготавливают на базе:
- автобусов <1>;
--------------------------------
<1> Помимо автобусов в качестве базовых для изготовления спецавтомобилей могут быть использованы ТС с закрытым цельнометаллическим кузовом, составляющим единую конструкцию с кабиной водителя, предназначенные для перевозки пассажиров и грузов.
- грузовых автомобилей (шасси).
В случае изготовления спецавтомобиля на базе грузового автомобиля (шасси) на последний устанавливают специальный кузов (далее - спецкузов).
4.2 Спецавтомобили предназначены для перевозки только сидящих людей.
4.3 В спецавтомобилях должны быть оборудованы следующие отделения:
а) кабина водителя (штатная кабина базового автобуса, грузового шасси);
б) рабочий салон, который должен располагаться в спецавтомобилях на базе:
- автобусов - за кабиной водителя,
- грузовых автомобилей (шасси) - в передней части спецкузова;
в) отсек для задержанных;
г) вспомогательный отсек (может быть оборудован в задней части спецавтомобилей на базе автобусов при наличии штатной задней двери кузова).
Вход в рабочий салон должен осуществляться через дверь в правом борту спецавтомобиля (спецкузова), в отсек для задержанных - из рабочего салона (основной вход) и через запасную дверь в задней части спецавтомобиля (спецкузова).
4.4 Пассажировместимость спецавтомобилей определена требованиями государственного заказчика.
5 Конструктивные требования
5.1 Общие конструктивные требования
5.1.1 Высота свободного пространства рабочего салона и отсека для задержанных по продольной оси спецавтомобиля должна быть не менее 1800 мм.
Допустимое уменьшение свободного пространства в зоне расположения ног пассажиров (колесные кожухи, воздуховоды и другие выступы в нижней части) и над сиденьями рабочего салона - в соответствии с [2].
5.1.2 Спецкузов должен быть цельнометаллическим, каркасным, с теплоизоляцией между наружной и внутренней обшивкой. Наружная обшивка спецкузова должна быть выполнена из листовой стали толщиной не менее 0,8 мм или из листа алюминиевого сплава толщиной не менее 1 мм.
5.1.3 Спецавтомобили на базе грузовых автомобилей должны быть оборудованы ступеньками для входа в рабочий салон, соответствующими требованиям [2].
5.2 Рабочий салон
5.2.1 Требования к планировке, пассажировместимости и оборудованию рабочего салона определены государственным заказчиком.
5.2.2 В спецавтомобилях на базе автобусов между кабиной водителя (передним рядом сидений) и рабочим салоном должна быть установлена сплошная перегородка от пола до потолка; в ней должно быть предусмотрено окно, обеспечивающее визуальный и голосовой контакты между сотрудниками в кабине и рабочем салоне, или дверь.
5.2.3 Рабочий салон должен иметь не менее двух окон (по одному с каждого борта, включая окно во входной двери), соответствующих следующим требованиям:
- размеры световых проемов окон должны быть не менее 350 x 500 мм;
- не менее двух окон салона (по одному с каждого борта) должны иметь подвижные стекла и должны быть оснащены сдвижными шторками из непрозрачной светопропускающей ткани с внутренней стороны;
- стекла должны быть тонированными со светопропусканием от 30% до 40%.
5.2.4 Рабочий салон должен иметь внутреннюю обшивку и теплоизоляцию между наружной и внутренней обшивками.
В перегородке между рабочим салоном и отсеком для задержанных допускается теплоизоляцию не устанавливать.
Внутренняя обшивка должна быть выполнена из материала, позволяющего эффективно производить влажную уборку с применением моющих средств.
5.2.5 На полу рабочего салона должен быть установлен настил из водостойкой фанеры (марки не ниже ФК по ГОСТ 3916.1 или ГОСТ 3916.2) толщиной не менее 8 мм и напольного покрытия, выполненного из противоскользящего антистатического материала, предназначенного для автомобильных полов, толщиной не менее 2 мм.
Настил и напольное покрытие должны быть закреплены и загерметизированы по периметру примыкания к внутренней обшивке и по линиям стыка.
5.2.6 Входная дверь рабочего салона должна соответствовать следующим требованиям:
- дверь должна быть расположена по правому борту спецавтомобиля (спецкузова);
- должны быть предусмотрены фиксатор для предотвращения открывания двери снаружи, ограничитель открывания и элементы фиксации двери в открытом положении.
5.2.7 Сиденья в рабочем салоне должны соответствовать следующим требованиям:
- сиденья должны быть мягкими или полумягкими и оборудованы спинками;
- расстояние между продольными осями сидячих мест, установленных рядом, должно быть не менее 600 мм;
- под сиденьями могут быть оборудованы ящики для размещения оборудования и СИБ;
- обивка сидений (или чехлы на них) должна быть выполнена из материала, позволяющего эффективно производить влажную уборку с применением моющих средств.
5.2.8 В спецавтомобилях в рабочем салоне и в кабине водителя могут быть предусмотрены места для размещения и закрепления оборудования, СИБ и служебной документации, обозначенные соответствующими информационными табличками. При этом допускается оборудование встроенного шкафа, составляющего единую конструкцию с передней перегородкой отсека для задержанных, в пространстве отсека для задержанных. Доступ в шкаф должен осуществляться только из рабочего салона, от отсека для задержанных шкаф должен быть полностью изолирован.
5.3 Отсек для задержанных
5.3.1 Планировка и вместимость отсека для задержанных определены требованиями государственного заказчика.
Размеры отсека для задержанных и величина свободного пространства - в соответствии с [2].
5.3.2 Требования к наружным элементам крепежных изделий в отсеке для задержанных:
а) конструкция наружных элементов крепежных изделий (или крепежных узлов) в отсеке для задержанных должна исключать их несанкционированный демонтаж. В случае необходимости их демонтаж должен быть осуществлен только с помощью специального инструмента: соединения должны быть выполнены неразъемными или со стороны отсека для задержанных должна быть конструктивно исключена возможность демонтажа крепежных изделий с помощью рожкового и накидного гаечных ключей, отвертки (плоской, крестовой, звездообразной), трех-, четырех- и шестигранного ключа;
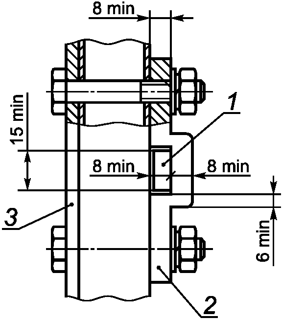
б) минимальное расстояние от осей отверстий резьбовых и заклепочных соединений до кромки соединяемых поверхностей должно быть не менее 1,2 диаметра резьбы или заклепки, как показано на рисунке 1; максимальные диаметры сквозных отверстий под крепежные изделия - в соответствии с ГОСТ 11284-1975 (требования приложения ГОСТ 11284 обязательны).
D - диаметр крепежного изделия (болт, винт, шпилька
не менее M4, если не указано отдельно, самонарезающий винт
или шуруп - D >= 4,5 мм, стальная заклепка - D >= 4 мм),
сквозное отверстие под него не показано; b - расстояние
от кромок соединяемых поверхностей до центра отверстия,
b >= 1,2D
Рисунок 1 - Минимальное расстояние от осей отверстий
резьбовых и заклепочных соединений до кромок
соединяемых поверхностей
5.3.3 Отсек для задержанных должен иметь внутреннюю обшивку и теплоизоляцию между наружной и внутренней обшивками:
а) внутренняя обшивка должна быть выполнена из стального листа толщиной не менее 0,8 мм;
б) стены и потолок отсека для задержанных должны быть серого или светло-серого цвета.
5.3.4 На полу отсека для задержанных должен быть установлен настил из водостойкой фанеры (марки не ниже ФК по ГОСТ 3916.1 или ГОСТ 3916.2) толщиной не менее 8 мм и напольного покрытия из рифленого нержавеющего металлического листа толщиной не менее 2 мм.
5.3.5 Требования к сиденьям для задержанных
5.3.5.1 Сиденья должны быть стационарными, жесткой конструкции, на металлическом каркасе, сваренном из стальных профилей размером не менее 20,0 x 20,0 x 1,5 мм.
Кроме того, каркасы сидений могут образовывать единую металлоконструкцию с каркасами перегородок и стен.
5.3.5.2 Требования к конструкции непосредственно сидений и спинок определены государственным заказчиком.
5.3.5.3 Размеры сидений - в соответствии с требованиями [2].
5.3.5.4 Каркасы сидений должны быть прикреплены к полу или к каркасам перегородок и стен с помощью сварки или резьбовых соединений размером не менее M8.
5.3.5.5 Крепежные элементы сидений, расположенные со стороны отсека для задержанных, не должны демонтироваться без применения специального инструмента, в соответствии с перечислением а) 5.3.2.
5.3.6 Требования к окнам отсека для задержанных
5.3.6.1 В отсеке для задержанных могут быть предусмотрены окна (наличие и количество которых определены требованиями государственного заказчика), расположенные в его верхней части:
- при наличии в верхней части кузова скосов или скруглений (переходных участков между стенами и крышей) окна должны быть расположены в них;
- в стенах кузова окна должны быть максимально близко к крыше, высота их светового проема должна быть не более 300 мм;
- длина светового проема каждого окна должна быть не более 500 мм.
5.3.6.2 Окна должны быть с неподвижными тонированными стеклами со светопропусканием от 30% до 70%, при этом не допускается установка тонировочной пленки со стороны отсека для задержанных.
5.3.6.3 Окна должны иметь защитные решетки с внутренней стороны, соответствующие следующим требованиям:
- решетки должны быть выполнены из стального прутка диаметром (8,0 +/- 0,2) мм с размером ячейки в свету [(40 x 40) +/- 2] мм или из стального листа толщиной не менее 2 мм с отверстиями диаметром или стороной не более 13 мм, расстояние между кромками отверстий - не менее 5 мм;
- рамка решетки (направляющие, крепежные проушины, при необходимости их наличия) должна быть выполнена из стального листа толщиной не менее 2 мм; крепление решетки к рамке (направляющим, проушинам) должно быть осуществлено с помощью сварки;
- решетка должна быть вмонтирована внутри каркаса окна, или крепление решетки (решетки в сборе) к каркасу кузова должно быть осуществлено с помощью сварки или резьбовых соединений размером не менее M8.
5.3.7 Требования к перегородкам отсека для задержанных
5.3.7.1 Отсек для задержанных должен быть отделен от рабочего салона перегородкой с дверью (далее - передняя перегородка), от вспомогательного отсека (при его наличии) - задней перегородкой. Наличие или отсутствие двери в задней перегородке - в соответствии с требованиями пункта 6.1.1.
5.3.7.2 Перегородки должны быть металлическими каркасной конструкции с обшивкой, соответствующие следующим требованиям:
- каркасы перегородок должны быть сварными из стальных профилей <1>, размером не менее 20,0 x 20,0 x 1,5 мм с размером ячейки не более 400 x 400 мм. Для простенков шириной не более 500 мм допускается установка только горизонтальных профилей на расстоянии не более 400 мм (вертикальные профили могут не устанавливаться);
--------------------------------
<1> Здесь и далее допускается применение профилей закрытого сечения, а также открытых сечений, имеющих не менее трех стенок.
- перегородки должны иметь обшивку с обеих сторон из листовой стали толщиной не менее 0,8 мм. На задней перегородке (при ее наличии) допускается односторонняя обшивка со стороны отсека для задержанных толщиной не менее 2 мм.
5.3.7.3 Перегородки должны быть прикреплены к полу, стенам и крыше кузова и соединены между собой с помощью сварки или резьбовых соединений размером не менее M8.
5.3.8 Основной вход в отсек для задержанных (в передней перегородке) должен соответствовать требованиям, приведенным в 5.3.8.1 - 5.3.8.3.
5.3.8.1 Ширина дверного проема в передней перегородке отсека для задержанных должна быть в пределах от 650 до 700 мм; зазор между каркасами дверного проема и двери со стороны ригеля должен быть не более 5 мм, с остальных сторон - не более 10 мм.
5.3.8.2 Дверь отсека для задержанных должна быть одностворчатая распашная, открываться в сторону рабочего салона; должны быть предусмотрены ограничители открывания и закрывания двери.
5.3.8.3 Дверь должна быть металлической, сварной, на каркасе из стальных профилей размером не менее 25,0 x 25,0 x 1,5 мм, выполнена по одному из следующих вариантов (в соответствии с требованиями государственного заказчика):
- решетчатая дверь - решетки должны быть сварными, вмонтированы внутри каркаса, выполнены из стального прутка диаметром (8,0 +/- 0,2) мм с размером ячейки [(40 x 40) +/- 2] мм;
- сплошная дверь должна быть с обшивкой из стального листа, толщиной не менее 2 мм, установленной со стороны рабочего салона, или с двусторонней обшивкой толщиной не менее 0,8 мм; внутри каркаса устанавливают горизонтальные профили, расстояние между которыми должно быть не более 400 мм.
5.3.9 Требования к запорным устройствам и петлям дверей отсека для задержанных
Варианты установки замков распашных дверей приведены на рисунках 2 и 3.
1 - замок; 2 - ответная часть ригеля замка; 3 - защитный
кожух ригеля замка; 4 - защитная крышка замка
Рисунок 2 - Установка накладного замка со стороны
отсека для задержанных
а) Врезной замок (замок со стороны отсека
должен быть закрыт обшивкой или защитной крышкой)
б) Накладной замок, установленный со стороны рабочего салона
1 - ригель замка; 2 - ответная часть ригеля замка;
3 - защитная пластина ригеля замка
Рисунок 3 - Варианты установки замков дверей отсека
для задержанных
5.3.9.1 Дверь в передней перегородке должна быть оснащена механическим замком и задвижкой с горизонтальными проушинами под навесной замок.
5.3.9.2 Механический замок двери в передней перегородке должен быть оснащен самосрабатывающим ригелем, установленным в средней части двери <1>, его открывание должно быть осуществлено с помощью ручки (съемной или несъемной, что определено требованиями государственного заказчика) и соответствовать следующим требованиям:
--------------------------------
<1> Допускается установка двух ригелей в верхней и нижней частях двери, при этом они должны закрываться и открываться синхронно.
- форма соприкасающихся поверхностей ригеля и его ответной части должна обеспечивать свободное, без заеданий срабатывание ригеля;
- ригель должен быть стальным, иметь прямоугольное поперечное сечение размером не менее 15 x 8 мм (допускаются фаски не более 1 мм) или круглое - диаметром не менее 15 мм;
- на двери должны быть нанесены стрелка и надпись, указывающие направление вращения ручки для открывания двери.
5.3.9.3 Доступ изнутри отсека для задержанных к ригелю замка и навесному замку должен быть конструктивно исключен:
а) к ригелю замка - установкой защитного кожуха (см. рисунок 2, поз. 3) или пластины (см. рисунок 3, поз. 3), соответствующих следующим требованиям:
1) пластина должна быть установлена по всей высоте дверного проема, в случае расположения ригелей в верхней и нижней частях двери - по всей ширине дверного проема,
2) кожух и пластина должны быть выполнены из стального листа толщиной не менее 3 мм,
3) кожух и пластина должны быть приварены к каркасу дверного проема: кожух - непрерывным(и) швом(ами) по всем линиям соприкосновения; пластина - в соответствии с рисунком 3а), торцы пластины также должны быть приварены к балкам (стойкам) проема,
4) при закрытой двери зазор между ее поверхностью и защитной пластиной [см. рисунок 3а)] или между поверхностью защитной крышки замка и кожухом (см. рисунок 2) должен составлять не более 2 мм,
5) для накладного замка, установленного со стороны отсека для задержанных, если наружная обшивка двери перекрывает дверной проем и исключает доступ к ригелю, пластина не устанавливается;
б) к навесному замку - при помощи защитной(ных) пластины (пластин), выполненной из листовой стали толщиной не менее 2 мм, перекрывающей площадь в соответствии с рисунком 4 (грани пластины должны совпадать с прутьями решетки); крепление пластины к двери должно быть осуществлено по контуру с помощью сварки.
1 - задвижка; 2 - проушина; 3 - замок; 4 - контур
защитной пластины
Рисунок 4 - Установка задвижки на двери отсека
для задержанных и пластин для защиты навесного замка
5.3.9.4 Задвижка, проушины и навесной замок должны соответствовать следующим требованиям:
- задвижка должна быть расположена под углом от 0,5° до 10° относительно горизонтальной поверхности, как представлено на рисунке 5 (при этом продольная ось направляющих и ответной части может быть параллельна продольной оси задвижки);
- задвижки, ответные части задвижек и проушины должны быть выполнены из стального листа толщиной не менее 5 мм, направляющие задвижек - толщиной не менее 4 мм;
- ширина задвижки должна быть не менее 45 мм, ширина ответной части (углубление задвижки в ответную часть) и направляющих - не менее 25 мм;
- для накладного замка, установленного со стороны отсека для задержанных [см. рисунок 3б)], допускается исполнение единой ответной части ригеля замка и задвижки;
- навесные замки должны быть с открытыми дужками номинальным диаметром (толщиной) не менее 10 мм;
- форма и размеры проушин должны соответствовать приведенным на рисунке 5, разница диаметров отверстия в проушине и дужки навесного замка должна составлять не более 7 мм.
Рисунок 5 - Проушина под навесной замок
5.3.9.5 Петли должны быть стальными и иметь следующие размеры:
- диаметр оси - не менее 8 мм;
- толщина стенки втулки - не менее 3 мм;
- общая высота петель на одну дверь - не менее 300 мм.
Должна быть конструктивно обеспечена невозможность несанкционированного снятия двери с петель.
5.3.9.6 Запорные устройства, ответные части и петли должны быть прикреплены к дверям и дверным проемам с помощью сварки или резьбовых соединений, соответствующих следующим требованиям:
- сварные соединения должны быть выполнены непрерывными швами по всем видимым линиям соприкосновения свариваемых деталей;
- резьбовые соединения должны быть сквозными (типа "винт/болт - гайка"), на перегородке - через каркас, как показано на рисунке 3б), размером не менее M8;
- глухие резьбовые соединения и сквозные соединения с неподвижной внутренней резьбой допускается применять при креплении к двери при условии стопорения их сваркой или длина соединения должна составлять не менее двух диаметров резьбы;
- крепежные элементы резьбовых соединений, расположенные со стороны камер, не должны демонтироваться без применения специального инструмента.
5.3.10 В отсеке для задержанных не должно быть колющих, режущих и прочих травмоопасных элементов. Элементы, находящиеся в зоне расположения людей выше уровня поверхности сидений и выступающие от поверхности стен, потолка и двери более чем на 3 мм, должны иметь радиус закругления или фаски не менее 2,5 мм (за исключением крепежных элементов); профили каркаса двери должны иметь наружный радиус закругления не менее их толщины.
5.4 Общие требования к электрооборудованию
5.4.1 Дополнительное электрооборудование спецавтомобиля должно быть подключено к бортовой сети базового автомобиля через его резервные предохранители, а при их отсутствии или недостаточной силе тока - через собственные или дополнительные предохранители.
5.4.2 Электропроводка должна быть скрыта под внутренней обшивкой, защищена от механических повреждений и надежно закреплена. Места перехода проводов через металлические стенки должны быть изолированы диэлектрическими материалами.
5.4.3 Электропроводка, коммутационные и соединительные устройства должны быть рассчитаны на работу электрооборудования в соответствии с данными, приведенными в таблице 1, в режимах максимальной потребляемой мощности.
Таблица 1
Коэффициенты времени работы энергопотребителей
Энергопотребители
Коэффициенты времени работы энергопотребителей
Движение по городу
Стоянка (при необходимости)
Зима, ночь
Лето, день
Зима, ночь
Лето, день
Фары дальнего света
0,15
-
-
-
Фары ближнего света
1,00
1,00
-
-
Фонари габаритные
1,00
1,00
1,00
-
Фонарь освещения номерного знака
1,00
1,00
1,00
-
Освещение приборов
1,00
1,00
1,00
-
Стоп-сигнал
0,15
0,15
-
-
Указатели поворотов
0,15
0,15
1,00
1,00
Питание приборов
1,00
1,00
1,00
1,00
Система зажигания
1,00
1,00
1,00
1,00
Отопители
1,00
-
1,00
-
Вентиляторы системы принудительной вентиляции в режиме средней скорости
1,00
1,00
1,00
1,00
Кондиционер (при наличии)
-
1,00
-
1,00
Стеклоочистители, работающие в режиме малой частоты цикла
0,25
0,25
-
-
Стеклоомыватель
0,05
0,25
-
-
Фароочиститель (при наличии)
0,10
0,25
-
-
Фароомыватель (при наличии)
0,03
0,25
-
-
Привод вентилятора системы охлаждения
0,30
0,60
0,50 <*>
0,80 <*>
СГУ:
- включенные светопроблесковые маяки
1,00
1,00
-
-
- включенные звуковые сигналы
0,33
0,33
-
-
Радиостанция:
- в режиме "передача"
0,33
0,33
0,10
0,10
- в режиме "прием"
0,66
0,66
0,90
0,90
КБО СНМС
1,00
1,00
1,00
1,00
АПК ВН
1,00
1,00
1,00
1,00
Светильники внутреннего освещения:
- салона
-
-
1,00
-
- отсека для задержанных
1,00
1,00
1,00
1,00
Лампа местного освещения (при наличии)
-
-
1,00
-
АУП моторного отсека в дежурном режиме
1,00
1,00
1,00
1,00
<*> Коэффициенты могут быть уточнены для конкретного типа автомобиля.
5.4.4 Система электроснабжения спецавтомобиля при подключении энергопотребителей, указанных в таблице 1:
- при движении должна обеспечивать положительный баланс потребления электроэнергии с запасом по мощности не менее 10%;
- при стоянке с работающим двигателем (необходимость выполнения оперативно-служебных задач при стоянке с работающим двигателем определена требованиями государственного заказчика) допускается баланс электроэнергии, при котором степень заряженности аккумуляторной батареи спецавтомобиля сохраняется неизменной.
5.4.4.1 Баланс электроэнергии должен быть подтвержден расчетом и проведением испытаний для следующих режимов работы:
- движение: город - зима - ночь, город - лето - день (при наличии автономной системы кондиционирования);
- стоянка при работающем двигателе (при необходимости): зима - ночь, лето - день.
5.4.4.2 Система электроснабжения должна иметь запас мощности для повторного запуска двигателя спецавтомобиля: должен быть обеспечен надежный запуск двигателя после стоянки на открытой площадке с неработающим двигателем и при вынутом ключе зажигания; требования к надежности и условиям пуска определены требованиями государственного заказчика.
При необходимости спецавтомобиль может быть оснащен дополнительным стационарно установленным источником электропитания или СГЗД, генератором повышенной мощности. При этом:
- не допускается неизолированное размещение дополнительного источника электропитания и СГЗД в обитаемых отделениях спецавтомобиля;
- срок эксплуатации СГЗД должен быть не менее срока эксплуатации спецавтомобиля.
5.4.5 В рабочем салоне должны быть установлены выключатели, обеспечивающие раздельное включение:
- освещения в рабочем салоне;
- освещения в отсеке для задержанных;
- отопления рабочего салона и отсека для задержанных;
- принудительной вентиляции рабочего салона и отсека для задержанных.
5.4.6 В рабочем салоне могут быть установлены розетки (разъемы) постоянного тока для подключения специального и дополнительного оборудования в соответствии со следующими требованиями:
- количество розеток, напряжение и допускаемая потребляемая сила тока (мощность), перечень дополнительного и специального оборудования, подключаемого в розетки (разъемы), - сообразно требованиям государственного заказчика;
- розетки (разъемы) должны быть обозначены информационными табличками с указанием напряжения и допускаемой потребляемой силы тока (мощности);
- розетки (разъемы) различного напряжения должны быть невзаимозаменяемые: их использование в цепях другого напряжения должно быть конструктивно исключено.
5.5 Система отопления
5.5.1 Система отопления и тепловые условия (микроклимат) в спецавтомобилях должны соответствовать требованиям [3] и ГОСТ 30593.
5.5.2 Отопление рабочего салона и отсека для задержанных должно быть осуществлено отопителем(лями), работающим(и) на принципе отбора тепла от жидкости системы охлаждения двигателя автомобиля или (и) автономным отопителем (в соответствии с требованиями государственного заказчика).
5.5.3 Должна быть обеспечена возможность работы автономного отопителя (при его наличии) при неработающем двигателе спецавтомобиля, при любом положении ключа зажигания и при вынутом ключе зажигания.
5.5.4 При необходимости, элементы системы отопления могут быть расположены в отсеке для задержанных, в этом случае они должны быть расположены под сиденьями и защищены кожухами с отверстиями или решетками, соответствующими следующим требованиям:
- кожухи и решетки должны быть выполнены из стального листа толщиной не менее 1,5 мм или сварены из стального прутка диаметром не менее 2 мм;
- отверстия в них должны быть диаметром или стороной не более 20 мм, расстояние между кромками отверстий в кожухах из стального листа должно быть не менее 5 мм;
- должна быть конструктивно обеспечена невозможность сброса за кожухи и решетки предметов, имеющих сечение диаметром (стороной) более 1,5 мм.
5.5.5 По требованию государственного заказчика спецавтомобили могут быть оснащены системой кондиционирования рабочего салона и отсека для задержанных, соответствующей требованиям [3].
5.6 Система вентиляции
5.6.1 Система вентиляции спецавтомобиля должна соответствовать требованиям [3] и ГОСТ 30593.
5.6.2 Вентиляция рабочего салона и отсека для задержанных должна быть осуществлена через окна рабочего салона, аварийно-вентиляционный люк в крыше рабочего салона и системой принудительной приточно-вытяжной вентиляции.
5.6.3 В крыше рабочего салона может быть установлен приточный электрический вентилятор.
5.6.4 В крыше отсека для задержанных должен быть установлен как минимум один вытяжной вентилятор.
5.6.5 Вентиляционный проход вентилятора в отсеке для задержанных должен быть защищен вентиляционной решеткой, регулируемой со стороны отсека.
Решетка должна быть выполнена из стального листа толщиной не менее 1,5 мм, вентиляционные отверстия в них должны быть диаметром (стороной) не более 13 мм, расстояние между кромками отверстий должно быть не менее 5 мм.
5.6.6 Должна быть обеспечена возможность работы вентиляторов при неработающем двигателе спецавтомобиля, при любом положении ключа зажигания и при вынутом ключе зажигания.
5.7 Система освещения
5.7.1 Освещение в отсеке для задержанных должно быть осуществлено с помощью светильников с плафонами, защищенными по одному из следующих вариантов:
- плафон с защитным колпаком, выполненным из стального листа толщиной не менее 1,5 мм, с отверстиями диаметром (стороной) не более 13 мм, расстояние между их кромками должно быть не менее 5 мм;
- плафон с защитным колпаком, выполненным из стального листа толщиной не менее 0,8 мм, с отверстиями диаметром (стороной) не более 30 мм, внутри колпака должна быть закреплена пластина из взломостойкого стекла класса защиты не ниже P6B по ГОСТ 30826;
- плафон или защитный колпак из взломостойкого стекла класса защиты не ниже P6B по ГОСТ 30826.
5.7.2 Освещение отсека для задержанных должно быть обеспечено на все время пребывания задержанных в спецавтомобиле.
5.7.3 Освещенность в отсеке для задержанных на высоте (750 +/- 50) мм от уровня сидений должна составлять не менее 50 лк.
5.7.4 Освещенность в рабочем салоне должна быть следующей:
- на поверхности рабочего стола (при его наличии) - не менее 100 лк, при необходимости для освещения рабочего стола может быть предусмотрена лампа местного освещения;
- на остальных местах рабочего салона - не менее 50 лк на высоте от 150 до 650 мм от верхней точки несжатой подушки сиденья в следующей зоне: 200 мм - от нижней кромки передней поверхности спинки сиденья, 200 мм - от передней кромки подушки сиденья в продольной плоскости симметрии сидения.
5.7.5 Должна быть обеспечена возможность включения освещения при неработающем двигателе спецавтомобиля, при любом положении ключа зажигания и при вынутом ключе зажигания.
5.8 Средства связи и сигнализации
5.8.1 Спецавтомобиль должен быть оснащен следующими средствами связи и сигнализации:
- возимой автомобильной радиостанцией (устанавливается в порядке, указанном государственным заказчиком);
- КБО из состава СНМС (устанавливается в порядке, указанном государственным заказчиком);
- переговорным устройством, обеспечивающим двустороннюю телефонную связь между кабиной и рабочим салоном [оснащены спецавтомобили на базе грузовых автомобилей (шасси)];
- специальными световыми и звуковыми сигналами;
- АПК ВН.
5.8.2 В кабине водителя должно быть предусмотрено место для установки возимой автомобильной радиостанции.
5.8.3 При отсутствии стандартного проема под автомагнитолу в кабине водителя должно быть предусмотрено место для установки терминала мобильного, входящего в КБО из состава СНМС.
5.8.4 Требования к специальным световым и звуковым сигналам
5.8.4.1 Специальные световые и звуковые сигналы должны быть сертифицированы в установленном порядке, соответствовать требованиям [3] и нормативного документа <1>, действующего на территории государств - членов Евразийского экономического союза.
--------------------------------
<1> В Российской Федерации действует ГОСТ Р 50574-2019 "Автомобили, автобусы и мотоциклы оперативных служб. Цветографические схемы, опознавательные знаки, надписи, специальные световые и звуковые сигналы. Общие требования".
5.8.4.2 Управление специальными световыми и звуковыми сигналами следует осуществлять с блока управления и (или) с микрофона-манипулятора, установленных в зоне досягаемости водителя и пассажира на переднем сиденье, на которых должны быть расположены:
- клавиша выбора и включения специальных звуковых сигналов, соответствующих требованиям, принятым на территории государств - членов Евразийского экономического союза;
- клавиша включения световых сигналов;
- горячая клавиша одновременного включения световых и звукового сигналов;
- тангента для включения микрофона.
5.8.5 Требования к аппаратно-программному комплексу видеонаблюдения
5.8.5.1 АПК ВН должен обеспечивать видео- и аудиофиксацию обстановки в рабочем салоне, в отсеке для задержанных, при необходимости (определяемой требованиями государственного заказчика) по периметру спецавтомобиля, фиксацию времени и местоположения этих действий при помощи встроенного модуля СНМС.
В обязательный состав АПК ВН должны входить:
- видеорегистратор;
- видеокамера(ы) и микрофон для наблюдения за обстановкой в рабочем салоне;
- видеокамера(ы) и микрофон для наблюдения за обстановкой в отсеке для задержанных;
- видеокамеры для наблюдения за обстановкой по периметру спецавтомобиля (при необходимости);
- монитор.
Характеристики АПК ВН определены требованиями государственного заказчика.
5.8.5.2 Время выхода в рабочий режим после подключения электропитания для всех каналов должно составлять не более 60 с.
5.8.5.3 Требования к видеорегистратору
Видеорегистратор должен:
- устанавливаться в кабине или в рабочем салоне в месте, исключающем возможность его случайного повреждения при посадке (высадке) и в пути следования;
- обеспечивать одновременную запись данных, поступающих от всех видеокамер, микрофонов, а также информации от антенны, работающей по сигналам СНМС;
- обеспечивать работу всей системы видеофиксации в течение не менее 10 мин и ее корректное завершение при пропадании внешнего питающего напряжения, при условии работы системы от внешнего питания не менее 30 мин до момента пропадания питания.
5.8.5.4 Видеокамера для наблюдения за действиями сотрудников в салоне автомобиля должна быть установлена таким образом, чтобы обеспечивать наблюдение за сидячими местами рабочего салона (со стороны лиц пассажиров), рабочим столом (при его наличии), входной дверью рабочего салона и дверью в передней перегородке отсека для задержанных.
5.8.5.5 Видеокамера(ы) для наблюдения за обстановкой в отсеке для задержанных должна(ы) быть антивандального исполнения и установлена(ы) таким образом, чтобы обеспечивать наблюдение за всеми местами для задержанных.
5.8.5.6 Монитор должен соответствовать следующим требованиям:
- монитор должен быть установлен в кабине в месте, обеспечивающем удобство наблюдения за ним с переднего правого сиденья, или в рабочем салоне в месте, гарантирующем удобство наблюдения за ним не менее чем с двух сидений салона;
- не допускается установка монитора над местом расположения подушек безопасности;
- размер экрана монитора по диагонали - не менее 7 дюймов.
5.9 Цветографическая схема
На наружные поверхности спецавтомобиля должна быть нанесена специальная цветографическая схема в соответствии с требованиями [3] и нормативного документа, действующего на территории государств - членов Евразийского экономического союза.
6 Требования безопасности
6.1 Аварийная эвакуация
6.1.1 Спецавтомобили должны иметь следующие аварийные выходы:
а) аварийно-вентиляционный люк в крыше рабочего салона;
б) аварийный люк в крыше отсека для задержанных (при вместимости его более восьми человек);
в) запасные двери:
1) спецавтомобили на базе грузовых шасси - через дверь в заднем борту спецкузова,
2) спецавтомобили на базе автобусов со штатной дверью на правом борту в задней части базового автобуса - через указанную дверь,
3) спецавтомобили на базе автобусов со вспомогательным отсеком - через дверь в задней перегородке отсека для задержанных и штатную заднюю дверь кузова.
6.1.2 Требования к люкам
6.1.2.1 Проемы люков должны быть следующими:
- аварийного - не менее 470 x 500 мм и не более 550 x 730 мм;
- аварийно-вентиляционного - не менее 470 x 500 мм;
- максимальные - в проем люка должен вписываться прямоугольник размерами 550 x 730 мм.
6.1.2.2 Аварийный люк должен соответствовать следующим требованиям:
- люк должен быть установлен на расстоянии не более 500 мм от двери в передней перегородке отсека для задержанных;
- люк должен открываться только снаружи;
- люк должен быть оборудован запорными устройствами типа "булавка" (см. рисунок 6).
Рисунок 6 - Стальная булавка для запирания аварийного люка
- должно быть предусмотрено пломбирование люка;
- аварийный люк должен выдерживать с сохранением функциональности статическое усилие, направленное вертикально вверх, не менее 5000 Н в течение 5 мин;
- при открывании люк должен откидываться наружу на петлях.
6.1.2.3 Аварийно-вентиляционный люк должен соответствовать следующим требованиям:
- люк должен открываться изнутри и снаружи;
- люк должен открываться таким образом, чтобы воздухозабор осуществлялся из передней части люка по ходу движения спецавтомобиля;
- люк должен иметь положения "закрыто", "вентиляция", "открыто полностью" (для аварийной эвакуации из спецавтомобиля). В положении "вентиляция" допускается возможность ступенчатого регулирования количества подаваемого воздуха с надежной фиксацией крышки люка в каждом положении.
6.1.2.4 На наружной и внутренней поверхностях аварийно-вентиляционного люка и наружной поверхности аварийного люка [или (и) рядом с ними] должны быть нанесены символы и надписи, поясняющие порядок их открывания.
6.1.2.5 Открывание люков должно быть осуществлено без применения инструмента.
6.1.2.6 Рукоятки аварийного открывания люков должны быть красного цвета.
6.1.3 Запасная дверь должна соответствовать следующим требованиям:
- дверь должна быть распашной одностворчатой, открываться в сторону улицы (вспомогательного отсека);
- размеры дверного проема: ширина - от 650 до 700 мм, высота - от 1000 до 1500 мм <1> (может не распространяться на штатную дверь в правом борту автобуса);
--------------------------------
<1> При расположении сиденья вдоль задней перегородки (стенки) отсека для задержанных дверь может быть расположена над сиденьем.
- зазор между каркасами дверного проема и двери со стороны ригеля должен быть не более 5 мм, с остальных сторон - не более 10 мм;
- дверной проем должен перекрываться наружной обшивкой или усиливающими элементами каркаса не менее чем на 5 мм (за исключением той стороны, на которой установлены петли);
- должны быть предусмотрены ограничители открывания и закрывания двери;
- со стороны отсека для задержанных должна быть обшивка из стального листа толщиной не менее 2 мм, крепление обшивки к каркасу двери должно быть осуществлено с помощью сварки;
- двери в заднем борту спецкузова и в задней перегородке отсека для задержанных, а также оригинальная (при необходимости) дверь на правом борту спецавтомобиля должны быть на сварном каркасе из стальных профилей размером не менее 25,0 x 25,0 x 1,5 мм, внутри каркаса должны быть установлены горизонтальные профили, расстояние между которыми должно быть не более 400 мм.
6.1.4 Требования к запорным устройствам и петлям запасной двери следующие:
а) дверь должна быть оснащена механическим(и) замком(ами), выполняющим(и) функции защелкивания и блокировки. Замок(ки) должен(жны) быть оснащен(ы) следующими ригелями:
- основным, самосрабатывающим ригелем, выполняющим функцию защелкивания; его открывание должно быть осуществлено съемной ручкой,
- дополнительным ригелем, запираемым ключом, выполняющим функцию блокировки, который может быть совмещен с основным ригелем;
б) установка накладных замков снаружи двери не допускается, установка петель рекомендуется внутри конструкции;
в) прочие требования к замку и петлям - в соответствии с требованиями 5.3.9.
6.2 Средства пожаротушения
6.2.1 Спецавтомобили по требованию государственного заказчика могут быть оснащены АУП моторного отсека и должны быть оснащены переносными огнетушителями.
6.2.2 Элементы АУП должны быть сертифицированы в установленном порядке.
6.2.3 Быстродействие срабатывания АУП (время с момента подачи пускового импульса до начала выхода огнетушащего вещества) должно составлять не более 5 с.
6.2.4 Запуск АУП должен быть осуществлен в следующих случаях:
- автоматически при повышении температуры в моторном отсеке выше 170 °C;
- с помощью кнопки ручного пуска, установленной на панели приборов спецавтомобиля; кнопка должна иметь предохранитель от случайного нажатия.
6.2.5 Должна быть обеспечена возможность функционирования АУП при неработающем двигателе спецавтомобиля, при любом положении ключа зажигания и при вынутом ключе зажигания.
6.2.6 Электропроводка АУП должна быть проложена отдельно от проводки штатного и дополнительного электрооборудования.
6.2.7 Требования к переносным огнетушителям следующие:
а) один огнетушитель вместимостью не менее 2 л должен быть размещен в кабине водителя;
б) один огнетушитель вместимостью не менее 2 л или несколько огнетушителей должны быть размещены в рабочем салоне, в зоне, недосягаемой для задержанных при посадке в спецавтомобиль и высадки из него; количество и вместимость огнетушителей в рабочем салоне определены требованиями государственного заказчика.
6.3 Система выпуска отработавших газов
6.3.1 Выхлопная труба спецавтомобилей, изготовленных на базе ТС категорий N, NG и грузовых шасси, должна быть выведена к обрезу левого борта или назад за обрез спецкузова (кузова) на расстояние от 40 до 50 мм.
6.3.2 Выхлопные трубы независимых отопителей, установленных на передней стенке спецкузова или в рабочем салоне, должны быть выведены под основание спецкузова (под днище спецавтомобиля) к левому борту или назад по 6.3.1.
6.4 Вставки безопасности в колеса
Спецавтомобили, оснащенные бескамерными шинами, по требованиям государственного заказчика могут быть оборудованы вставками безопасности в колеса, предназначенными для обеспечения возможности движения на спущенных шинах.
7 Дополнительное и специальное оборудование
7.1 Спецавтомобили должны быть укомплектованы следующим дополнительным и специальным оборудованием:
- две аптечки первой помощи (автомобильные);
- знак аварийной остановки.
7.2 В спецавтомобилях должны быть предусмотрены места для размещения следующего оборудования:
- компрессор электрический автомобильный (комплектуются спецавтомобили, не оборудованные штатной системой подкачки шин);
- фонарь аккумуляторный переносной;
- набор шанцевого инструмента;
- упоры противооткатные.
7.3 Аптечки первой помощи (автомобильные) должны быть размещены следующим образом: одна - в кабине водителя, другая - в рабочем салоне в месте, недосягаемом для задержанных при посадке в спецавтомобиль и высадке из спецавтомобиля.
7.4 Состав, количество и технические характеристики дополнительного и специального оборудования определены требованиями государственного заказчика.
7.5 Отсеки, шкафы и отдельные места для размещения дополнительного и специального оборудования должны иметь дверцы и/или выдвижные ящики с замками (фиксаторами) для предотвращения самопроизвольного открывания или должны быть оборудованы приспособлениями для крепления оборудования.
Не допускается самопроизвольное перемещение оборудования при всех режимах эксплуатации спецавтомобиля.
БИБЛИОГРАФИЯ
[1]
ECE/TRANS/WP.29/78/
Сводная резолюция о конструкции транспортных средств (СР.3)
[2]
Правила ООН N 107
Единообразные предписания, касающиеся официального утверждения транспортных средств категории M2 или M3 в отношении их общей конструкции
[3]
Технический регламент Таможенного союза ТР ТС 018/2011
О безопасности колесных транспортных средств
УДК 629.36:006.354
МКС 43.160
Ключевые слова: автомобили оперативно-служебные, дежурные части, оперативно-дежурные службы, органы охраны правопорядка, спецавтомобили, задержанные