Главная // Актуальные документы // ГОСТ (Государственный стандарт)
СПРАВКА
Источник публикации
М.: ФГБУ "РСТ", 2021
Примечание к документу
Отдельные положения данного документа включены в Перечень международных и региональных (межгосударственных) стандартов, а в случае их отсутствия - национальных (государственных) стандартов, в результате применения которых на добровольной основе обеспечивается соблюдение требований технического регламента Таможенного союза "О требованиях к смазочным материалам, маслам и специальным жидкостям" (ТР ТС 030/2012) (Решение Коллегии Евразийской экономической комиссии от 25.07.2023 N 109).

Текст данного документа приведен с учетом поправки, опубликованной в "ИУС", N 4, 2022; поправки, введенной в действие с 24.04.2024, опубликованной в "ИУС", N 7, 2024.

Документ введен в действие с 01.07.2022.

Взамен ГОСТ 5546-86.
Название документа
"ГОСТ 5546-2021. Межгосударственный стандарт. Масла для холодильных машин. Технические условия"
(введен в действие Приказом Росстандарта от 09.11.2021 N 1460-ст)

"ГОСТ 5546-2021. Межгосударственный стандарт. Масла для холодильных машин. Технические условия"
(введен в действие Приказом Росстандарта от 09.11.2021 N 1460-ст)


Содержание


Введен в действие
Приказом Федерального агентства
по техническому регулированию
и метрологии
от 9 ноября 2021 г. N 1460-ст
МЕЖГОСУДАРСТВЕННЫЙ СТАНДАРТ
МАСЛА ДЛЯ ХОЛОДИЛЬНЫХ МАШИН
ТЕХНИЧЕСКИЕ УСЛОВИЯ
Oils for refrigerating machines. Specifications
ГОСТ 5546-2021
МКС 75.100
ОКПД2 <*> 19.20.29.190
Дата введения
1 июля 2022 года
Предисловие
Цели, основные принципы и общие правила проведения работ по межгосударственной стандартизации установлены ГОСТ 1.0 "Межгосударственная система стандартизации. Основные положения" и ГОСТ 1.2 "Межгосударственная система стандартизации. Стандарты межгосударственные, правила и рекомендации по межгосударственной стандартизации. Правила разработки, принятия, обновления и отмены"
Сведения о стандарте
1 РАЗРАБОТАН Федеральным государственным бюджетным учреждением "Российский институт стандартизации" (ФГБУ "РСТ"), Межгосударственным техническим комитетом по стандартизации МТК 031 "Нефтяные топлива и смазочные материалы"
2 ВНЕСЕН Федеральным агентством по техническому регулированию и метрологии
3 ПРИНЯТ Межгосударственным советом по стандартизации, метрологии и сертификации (протокол от 30 сентября 2021 г. N 143-П)
За принятие проголосовали:
Краткое наименование страны по МК (ИСО 3166) 004-97
Код страны по МК (ИСО 3166) 004-97
Сокращенное наименование национального органа по стандартизации
Армения
AM
ЗАО "Национальный орган по стандартизации и метрологии" Республики Армения
Беларусь
BY
Госстандарт Республики Беларусь
Казахстан
KZ
Госстандарт Республики Казахстан
Киргизия
KG
Кыргызстандарт
Россия
RU
Росстандарт
Таджикистан
TJ
Таджикстандарт
Узбекистан
UZ
Узстандарт
4 Приказом Федерального агентства по техническому регулированию и метрологии от 9 ноября 2021 г. N 1460-ст межгосударственный стандарт ГОСТ 5546-2021 введен в действие в качестве национального стандарта Российской Федерации с 1 июля 2022 г.
5 ВЗАМЕН ГОСТ 5546-86
Информация о введении в действие (прекращении действия) настоящего стандарта и изменений к нему на территории указанных выше государств публикуется в указателях национальных стандартов, издаваемых в этих государствах, а также в сети Интернет на сайтах соответствующих национальных органов по стандартизации.
В случае пересмотра, изменения или отмены настоящего стандарта соответствующая информация будет опубликована на официальном интернет-сайте Межгосударственного совета по стандартизации, метрологии и сертификации в каталоге "Межгосударственные стандарты"
1 Область применения
Настоящий стандарт распространяется на масла, предназначенные для смазывания компрессоров холодильных машин, работающих на аммиаке, углекислоте и фреоне.
2 Нормативные ссылки
В настоящем стандарте использованы нормативные ссылки на следующие межгосударственные стандарты:
ГОСТ 8.579 Государственная система обеспечения единства измерений. Требования к количеству фасованных товаров при их производстве, фасовании, продаже и импорте
ГОСТ 12.1.005 Система стандартов безопасности труда. Общие санитарно-гигиенические требования к воздуху рабочей зоны
ГОСТ 12.1.007 Система стандартов безопасности труда. Вредные вещества. Классификация и общие требования безопасности
ГОСТ 12.1.018 Система стандартов безопасности труда. Пожаровзрывобезопасность статического электричества. Общие требования
ГОСТ 12.1.044 Система стандартов безопасности труда. Пожаровзрывоопасность веществ и материалов. Номенклатура показателей и методы их определения
ГОСТ 12.4.010 Система стандартов безопасности труда. Средства индивидуальной защиты. Рукавицы специальные. Технические условия
ГОСТ 12.4.011 Система стандартов безопасности труда. Средства защиты работающих. Общие требования и классификация
ГОСТ 12.4.021 Система стандартов безопасности труда. Системы вентиляционные. Общие требования
ГОСТ 12.4.068 Система стандартов безопасности труда. Средства индивидуальной защиты дерматологические. Классификация и общие требования <*>
--------------------------------
<*> В Российской Федерации действует ГОСТ Р 12.4.301-2018 "Система стандартов безопасности труда. Средства индивидуальной защиты дерматологические. Общие технические условия".
ГОСТ 12.4.103 Система стандартов безопасности труда. Одежда специальная защитная, средства индивидуальной защиты ног и рук. Классификация
ГОСТ 12.4.252 Система стандартов безопасности труда. Средства индивидуальной защиты рук. Перчатки. Общие технические требования. Методы испытаний
ГОСТ 12.4.310 Система стандартов безопасности труда. Одежда специальная для защиты работающих от воздействия нефти, нефтепродуктов. Общие технические условия
ГОСТ 17.2.3.02 Правила установления допустимых выбросов загрязняющих веществ промышленными предприятиями <*>
--------------------------------
<*> В Российской Федерации действует ГОСТ Р 58577-2019 "Правила установления нормативов допустимых выбросов загрязняющих веществ проектируемыми и действующими хозяйствующими субъектами и методы определения этих нормативов".
ГОСТ 33 Нефть и нефтепродукты. Прозрачные и непрозрачные жидкости. Определение кинематической и динамической вязкости
ГОСТ 380 Сталь углеродистая обыкновенного качества. Марки
ГОСТ 859 Медь. Марки
ГОСТ 981 Масла нефтяные. Метод определения стабильности против окисления
ГОСТ 1050 Металлопродукция из нелегированных конструкционных качественных и специальных сталей. Общие технические условия
ГОСТ 1057 Масла селективной очистки. Метод определения фенола и крезола
ГОСТ 1461 Нефть и нефтепродукты. Метод определения зольности
ГОСТ 1510 Нефть и нефтепродукты. Маркировка, упаковка, транспортирование и хранение
ГОСТ 1547 Масла и смазки. Методы определения наличия воды
ГОСТ 2517 Нефть и нефтепродукты. Методы отбора проб
ГОСТ 2603 Реактивы. Ацетон. Технические условия
ГОСТ 2917 Масла и присадки. Метод определения коррозионного воздействия на металлы
ГОСТ 4333 (ISO 2592:2000) Нефтепродукты. Методы определения температур вспышки и воспламенения в открытом тигле
ГОСТ 5985 Нефтепродукты. Метод определения кислотности и кислотного числа
ГОСТ 6307 Нефтепродукты. Метод определения наличия водорастворимых кислот и щелочей
ГОСТ 6370 Нефть, нефтепродукты и присадки. Метод определения механических примесей
ГОСТ 12026 Бумага фильтровальная лабораторная. Технические условия
ГОСТ 20284 Нефтепродукты. Метод определения цвета на колориметре ЦНТ
ГОСТ 20287 Нефтепродукты. Методы определения температур текучести и застывания
ГОСТ 31340 Предупредительная маркировка химической продукции. Общие требования
ГОСТ 33756 Упаковка потребительская полимерная. Общие технические условия
Примечание - При пользовании настоящим стандартом целесообразно проверить действие ссылочных стандартов и классификаторов на официальном интернет-сайте Межгосударственного совета по стандартизации, метрологии и сертификации (www.easc.by) или по указателям национальных стандартов, издаваемым в государствах, указанных в предисловии, или на официальных сайтах соответствующих национальных органов по стандартизации. Если на документ дана недатированная ссылка, то следует использовать документ, действующий на текущий момент, с учетом всех внесенных в него изменений. Если заменен ссылочный документ, на который дана датированная ссылка, то следует использовать указанную версию этого документа. Если после принятия настоящего стандарта в ссылочный документ, на который дана датированная ссылка, внесено изменение, затрагивающее положение, на которое дана ссылка, то это положение применяется без учета данного изменения. Если ссылочный документ отменен без замены, то положение, в котором дана ссылка на него, применяется в части, не затрагивающей эту ссылку.
3 Марки
3.1 В зависимости от применения устанавливают следующие марки масел:
- ХА-30, ХФ 12-16, ХФ 22-24, ХФ 22с-16 - для холодильных машин;
- ХА-30 - для компрессоров, работающих на аммиаке или углекислоте;
- ХФ 12-16, ХФ 22-24, ХФ 22с-16 - для компрессоров, работающих на фреоне.
Пример условного обозначения масел для холодильных машин:
Масло марки ХА-30 для холодильных машин (или ХФ 12-16, или
ХФ 22-24, или ХФ 22с-16) по ГОСТ 5546-2021.
4 Технические требования
4.1 Масла должны соответствовать требованиям настоящего стандарта и изготовляться по технологии (или технологическому регламенту) из сырья, применявшегося при изготовлении образцов масел, прошедших испытания с положительными результатами и допущенных к применению в установленном порядке.
4.2 Физико-химические показатели масел должны соответствовать требованиям, приведенным в таблице 1.
Таблица 1
Физико-химические показатели масел
Наименование показателя
Значение показателя для марки
Метод испытания
ХА-30
ХФ 12-16
ХФ 22-24
ХФ 22с-16
1 Кинематическая вязкость, мм2/с:
при температуре 20 °C
120,0 - 150,0
-
-
-
при температуре 50 °C
28,00 - 32,00
Не менее 17,00
24,50 - 28,40
Не менее 16,00
2 Кислотное число, мг KOH/г, не более
0,05
0,02
0,04
0,35
3 Стабильность:
По ГОСТ 981 с дополнением по 8.2 настоящего стандарта
а) осадок после окисления, %, не более
0,020
0,005
-
0,020
б) кислотное число после окисления, мг KOH/г масла, не более
0,50
0,04
-
0,40
4 Зольность, %, не более
0,004
-
-
-
5 Испытание на коррозию
Выдерживает
По ГОСТ 2917 с дополнением по 8.3 настоящего стандарта
6 Содержание водорастворимых кислот и щелочей, %
Отсутствие
7 Содержание механических примесей, %
Отсутствие
8 Содержание воды, %
Отсутствие
9 Температура вспышки в открытом тигле, °C, не ниже
185
174
135
225
10 Температура застывания, °C, не выше
-38
-42
-55
-58
По ГОСТ 20287, метод Б
11 Температура хлопьеобразования смеси масла с фреоном, °C, не выше
-
-50
-
-
По 8.4
12 Цвет на колориметре ЦНТ, единицы ЦНТ, не более
4,5
1,0
-
-
13 Содержание фенола, %
Отсутствие
-
-
-
14 Температура самовоспламенения, °C, не ниже
165
Примечание - Изготовитель гарантирует значение по показателю 14, которое обеспечивается технологией изготовления, и определяет его при постановке продукции на производство и при подтверждении соответствия требованиям [1].
4.3 Маркировка
4.3.1 Маркировка - по ГОСТ 1510.
4.3.2 Маркировка должна содержать:
- наименование и местонахождение (юридический адрес, включая страну) изготовителя, его товарный знак (при наличии);
- наименование, обозначение марки и назначение продукции;
- обозначение настоящего стандарта;
- объем или массу масла в упаковочной единице (для потребительской упаковки);
- массу нетто и массу брутто упаковочной единицы (для транспортной упаковки);
- срок и условия хранения;
- дату изготовления;
- номер партии;
- штриховой идентификационный код (при необходимости).
Для масел, являющихся потребительским товаром, дополнительно приводят указания по применению, меры предосторожности.
Маркировка групповой упаковки должна соответствовать установленным выше требованиям с указанием количества упаковочных единиц, объема или массы масла в упаковочной единице.
Маркировка должна быть четкой и разборчивой, выполнена способом, обеспечивающим ее сохранность к упакованной продукции и воздействиям внешней среды.
На каждую единицу упаковки наносят единый знак обращения продукции на рынке государств - членов Евразийского экономического союза <*>.
--------------------------------
<*> Действует на территории государств - членов Евразийского экономического союза.
Предупредительная маркировка - по ГОСТ 31340.
4.4 Упаковка
4.4.1 Упаковка масла - по ГОСТ 1510 со следующими дополнениями:
- масла марок ХА-30, ХФ 12-16, ХФ 22-24 заливают во фляги из белой жести или бочки стальные сварные и закатные с гофрами по обечайке вместимостью 200 дм3;
- масло марки ХФ 22с-16 заливают во фляги из белой жести вместимостью не более 20 дм3. По согласованию с потребителем масло заливают в бочки стальные сварные и закатные с гофрами по обечайке вместимостью 200 дм3.
4.4.2 Горловины фляг запаивают бескислотной пайкой. После запаивания вкладышей фляги проверяют на герметичность.
4.4.3 Допускается по согласованию с потребителем использовать полимерную упаковку по ГОСТ 33756.
4.4.4 Пределы допускаемых отрицательных отклонений содержимого упаковочных единиц - по ГОСТ 8.579.
5 Требования безопасности
5.1 Масла в соответствии с ГОСТ 12.1.007 по степени воздействия на организм человека относят к веществам 4 класса опасности (малоопасные вещества), в условиях образования масляного тумана - к 3 классу опасности (умеренно опасные вещества).
5.2 Для масла марки ХФ 22с-16 в соответствии с ГОСТ 12.1.005 <**> максимально разовая предельно допустимая концентрация смеси паров и аэрозоля эфиров на основе синтетических жирных кислот в воздухе рабочей зоны - 5 мг/м3 (3-й класс опасности по ГОСТ 12.1.007). В соответствии с ГОСТ 12.1.005 <**> предельно допустимая концентрация в воздухе рабочей зоны аэрозоля минерального масла - 5 мг/м3.
--------------------------------
<**> В Российской Федерации также в соответствии с ГН 2.2.5.3532-18 "Предельно допустимые концентрации (ПДК) вредных веществ в воздухе рабочей зоны".
5.3 Масла в соответствии с ГОСТ 12.1.044 представляют собой горючие жидкости.
5.4 При возгорании масел применяют следующие средства пожаротушения: пену, распыленную воду, при объемном тушении - углекислый газ и "3,5" (огнегасительный состав "3,5" представляет собой жидкую смесь, состоящую из 70% масс. бромистого этила и 30% масс. углекислоты), перегретый пар.
5.5 При разливе масла необходимо собрать его в отдельную упаковку, место разлива протереть сухой тканью; при разливе на открытой площадке место разлива следует засыпать песком с последующим его удалением.
5.6 В помещениях для хранения и работы с маслами запрещается обращение с огнем.
Емкости для хранения и транспортирования масел должны быть защищены от статического электричества в соответствии с ГОСТ 12.1.018.
При работе с маслами не допускается использовать инструменты, дающие при ударе искру.
5.7 Помещения, в которых проводят работы с маслами, должны быть снабжены обменной приточно-вытяжной вентиляцией с механическим побуждением, отвечающей требованиям ГОСТ 12.4.021.
В местах возможного выделения химических веществ в воздух рабочей зоны должны быть оборудованы местные вытяжные устройства.
В помещениях для хранения масел не допускается хранить кислоты, баллоны с кислородом и другие окислители.
5.8 При работе с маслами применяют средства индивидуальной защиты по ГОСТ 12.4.011, ГОСТ 12.4.103, ГОСТ 12.4.310.
Для защиты кожи рук применяют защитные рукавицы по ГОСТ 12.4.010, перчатки по ГОСТ 12.4.252, мази и пасты по ГОСТ 12.4.068.
5.9 При попадании масла на открытые участки тела его необходимо удалить и обильно промыть кожу водой с мылом или моющим средством; при попадании на слизистую оболочку глаз - обильно промыть глаза теплой водой.
5.10 Работающие с маслами должны проходить предварительные (при приеме на работу) и периодические медицинские осмотры.
6 Охрана окружающей среды
6.1 Основным средством охраны окружающей среды от вредных воздействий масел является использование герметичного оборудования в технологических процессах и операциях, связанных с производством, транспортированием и хранением масел, а также строгое соблюдение технологического режима.
6.2 При производстве, хранении и применении масел должны быть предусмотрены меры, исключающие попадание масел в системы бытовой и ливневой канализации, а также в открытые водоемы и почву.
6.3 Для охраны атмосферного воздуха от загрязнения выбросами вредных веществ должен быть предусмотрен контроль за содержанием выбросов в соответствии с ГОСТ 17.2.3.02.
7 Правила приемки
7.1 Масла принимают партиями. Партией считают любое количество продукта одной марки, изготовленного в ходе непрерывного технологического процесса по утвержденной технологии или технологическому регламенту, однородного по компонентному составу и показателям качества, сопровождаемого одним документом о качестве (паспортом качества) на основании результатов испытаний объединенной пробы, содержащим:
- наименование, обозначение марки и назначение продукции;
- наименование изготовителя, его товарный знак (при наличии), местонахождение (с указанием страны), информацию для связи с ним;
- нормативные значения показателей безопасности продукции в соответствии с [1] <*> и нормативные значения показателей продукции по настоящему стандарту, фактические результаты испытаний;
- обозначение настоящего стандарта;
- срок и условия хранения;
- дату изготовления (месяц, год);
- номер партии;
- номер паспорта;
- подпись лица, оформившего паспорт;
- единый знак обращения продукции на рынке государств - членов Евразийского экономического союза <*>.
--------------------------------
<*> Действует на территории государств - членов Евразийского экономического союза.
7.2 Для проверки соответствия масел требованиям настоящего стандарта проводят приемо-сдаточные испытания по всем показателям таблицы 1 (кроме показателя 14).
Объем выборки - по ГОСТ 2517.
При получении неудовлетворительных результатов испытания хотя бы по одному из показателей, по нему проводят повторные испытания вновь отобранной пробы, взятой из той же выборки.
Результаты повторных испытаний распространяют на всю партию.
8 Методы испытаний
8.1 Отбор проб - по ГОСТ 2517. Объем объединенной пробы масла каждой марки - не менее 2 дм3.
8.2 Определение стабильности против окисления
При окислении масла по ГОСТ 981 опускают в прибор для окисления вместо стальной спирали и медной пластинки один стальной и один медный шарик диаметром (5,0 +/- 0,1) мм из низкоуглеродистой стали по ГОСТ 380 и из меди марки М0к или М1к по ГОСТ 859 и выдерживают их при температуре 140 °C в течение 14 ч при непрерывном пропускании через масло воздуха со скоростью 50 см3/мин.
8.3 Испытание на коррозию
Масла марок ХФ 12-16 и ХФ 22-24 испытывают на коррозию на пластинках из меди марки М2 по ГОСТ 859. Масло марки ХА-30 испытывают на пластинках из стали марки 40 или 50 по ГОСТ 1050. Масло марки ХФ 22с-16 испытывают на пластинках из стали марки 20 по ГОСТ 1050.
8.4 Определение температуры хлопьеобразования смеси масла с фреоном
Сущность метода заключается в охлаждении ампулы со смесью масло-фреон в соотношении 1:9 до появления хлопьев или молочного помутнения смеси.
8.4.1 Аппаратура, реактивы и материалы
8.4.1.1 Ампула (см. рисунки 1 и 2) из химически и термически стойкого боросиликатного или молибденового стекла.
Ампула должна иметь отметки, соответствующие 1 и 10 см3.
1 - место припайки плавлением; 2 - метка на 10 см3;
3 - метка на 1 см3
Рисунок 1 - Ампула для определения температуры
хлопьеобразования
1 - запорное устройство; 2 - стеклянная ампула;
3 - стальная пружина из проволоки диаметром 0,8 - 1,0 мм;
4 - магнит в пластмассовой оболочке
Рисунок 2 - Схема сборки ампулы для определения температуры
хлопьеобразования
8.4.1.2 Баня охлаждающая (см. рисунок 3), состоящая из непосеребренного сосуда Дьюара, установленного на подставке и снабженного крышкой с отверстием для ампул и термометра, и подставки с трубкой из проволочной сетки для твердой углекислоты, в которой размещен вал мешалки электродвигателя.
Примечание - Допускается использовать низкотемпературные бани и мешалки других типов.
1 - непосеребренный сосуд Дьюара; 2 - электродвигатель
с мешалкой; 3 - термометр; 4 - трубка из проволочной сетки;
5 - подставка для трубки; 6 - ампула со смесью
(проба - фреон); 7 - крышка
Рисунок 3 - Охлаждающая баня
8.4.1.3 Баня водяная.
8.4.1.4 Насос вакуумный, создающий разряжение 1,33 Па.
8.4.1.5 Шкаф сушильный, обеспечивающий поддержание температуры от 50 °C до 200 °C.
8.4.1.6 Магнит в пластмассовой оболочке.
8.4.1.7 Термометр со следующими характеристиками:
- диапазон измерения - от минус 70 °C до плюс 50 °C;
- цена деления шкалы - 1 °C;
- общая длина - (360 +/- 5) мм;
- длина шкалы - (120 +/- 6) мм;
- глубина погружения - 180 мм;
- погрешность измерения:
+/- 3 °C - при измерении температур от минус 60 °C до 0 °C;
+/- 1 °C - при измерении температур от 0 °C до 50 °C.
8.4.1.8 Термометр с диапазоном измерения от минус 80 °C до плюс 60 °C с ценой деления шкалы 1 °C и погрешностью не более +/- 3 °C.
8.4.1.9 Шприц вместимостью 2 см3.
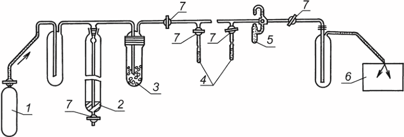
8.4.1.10 Система вакуумная (см. рисунок 4) или другого типа, обеспечивающая необходимый режим подготовки пробы.
1 - баллон с фреоном; 2 - ртуть; 3 - стекловата,
молекулярное сито или силикагель; 4 - ампула;
5 - вакуумметр; 6 - вакуумный насос; 7 - кран
Рисунок 4 - Вакуумная система
8.4.1.11 Фреон, например R-12 (CCl2F2) или R-22 (CHClF2).
8.4.1.12 Спирт этиловый 96%-ный.
8.4.1.13 Углекислота твердая (до температуры минус 76 °C) или жидкий азот (от минус 76 °C и ниже).
8.4.1.14 Растворители: ацетон по ГОСТ 2603 и нефрас.
8.4.2 Подготовка к испытанию
Промывают ампулу экстракционным бензином и ацетоном, сушат в сушильном шкафу в течение 30 мин при температуре 105 °C и вводят в нее шприцем 1 см3 масла.
Для удаления из испытуемого масла влаги и предотвращения выделения кристаллов льда и гидратов в процессе охлаждения помещают ампулу с маслом в водяную баню при температуре кипения и подключают на 30 мин к линии, создающей вакуум с остаточным давлением от 10 до 20 Па (см. рисунок 4).
Охлаждают ампулу, подключенную к вакуумной линии, в бане с этиловым спиртом и твердой углекислотой до температуры минус 50 °C - минус 76 °C.
Вводят в ампулу, выдерживаемую все время при низкой температуре и в вакууме, 9 см3 фреона для поддержания соотношения масло-фреон 1:9, затем после перекрытия вакуумной линии закрывают кран 7 и запаивают или закрывают заглушкой капиллярный конец. Допускается заполнять предварительно охлажденную ампулу фреоном через капилляр, опущенный до поверхности масла. Температура охлаждения при этом должна быть не выше минус 50 °C.
Выдерживают ампулу при температуре окружающей среды в течение 30 - 45 мин и тщательно встряхивают или перемешивают смесь масло-фреон, перемещая магнит вдоль ампулы до полного растворения масла во фреоне.
Примечание - Допускается осушать масло свежепрокаленным и охлажденным хлористым натрием или хлористым кальцием с дальнейшей фильтрацией через фильтровальную бумагу по ГОСТ 12026.
8.4.3 Проведение испытания
При работе с фреоном под давлением следует соблюдать требования безопасности. При проведении испытания следует использовать защитные очки.
Помещают запаянную ампулу в охлаждающую баню, заполненную жидкостью с температурой от 18 °C до 28 °C, при этом уровень жидкости в ампуле должен быть не менее чем на 50 мм ниже уровня жидкости в охлаждающей бане.
Скорость охлаждения бани должна быть 5 °C/мин; за 5 °C - 7 °C до ожидаемой температуры хлопьеобразования скорость снижают до 1 °C/мин.
Охлаждают со скоростью 1 °C/мин до появления в растворе хлопьев или помутнения, при котором не видно сетки миллиметровой бумаги, помещенной с противоположной стороны ампулы.
Легкое помутнение раствора и наличие в нем отдельных нерастворимых частиц размером до 1,5 мм не учитывают. Для более четкого определения рекомендуется использовать черную бумагу с белой миллиметровой сеткой (негатив).
Если до температуры хлопьеобразования замечают отделение масла от фреона, прекращают испытание.
8.4.4 Обработка результатов
За результат испытания принимают среднеарифметическое значение результатов двух параллельных определений.
Два результата определения, полученные одним лаборантом на одном и том же аппарате и пробе масла, считают достоверными (с доверительной вероятностью 95%), если расхождение между ними составляет не более 3 °C.
9 Транспортирование и хранение
Транспортирование и хранение - по ГОСТ 1510 со следующими дополнениями:
- масла марок ХА-30, ХФ 12-16, ХФ 22 - 24 по согласованию с потребителем транспортируют в вагонах-цистернах с нижним сливом;
- масло марки ХФ 22с-16 по согласованию с потребителем транспортируют в специальных алюминиевых цистернах.
10 Гарантии изготовителя
10.1 Изготовитель гарантирует соответствие масел требованиям настоящего стандарта при условии соблюдения условий транспортирования и хранения.
10.2 Срок хранения масел - пять лет с даты изготовления.
10.3 По истечении срока хранения решение о применении масел принимают по результатам испытания на соответствие требованиям настоящего стандарта.
БИБЛИОГРАФИЯ
[1]
Технический регламент Таможенного союза ТР ТС 030/2012
О требованиях к смазочным материалам, маслам и специальным жидкостям (принят Решением Совета Евразийской экономической комиссии от 20 июля 2012 г. N 59)
УДК 665.765:006.354
ОКПД2 <*> 19.20.29.190
МКС 75.100
Ключевые слова: масла для холодильных машин, технические условия
--------------------------------
<*> Действует в Российской Федерации.