Главная // Актуальные документы // ГОСТ (Государственный стандарт)СПРАВКА
Источник публикации
В данном виде документ опубликован не был.
Первоначальный текст документа опубликован в издании
М.: Стандартинформ, 2014.
Информацию о публикации документов, создающих данную редакцию, см. в справке к этим документам.
Примечание к документу
Документ включен в
Перечень международных и региональных (межгосударственных) стандартов, а в случае их отсутствия - национальных (государственных) стандартов, содержащих правила и методы исследований (испытаний) и измерений, в том числе правила отбора образцов, необходимые для применения и исполнения требований технического
регламента Таможенного союза "О требованиях к автомобильному и авиационному бензину, дизельному и судовому топливу, топливу для реактивных двигателей и мазуту" (ТР ТС 013/2011) и осуществления оценки соответствия объектов технического регулирования (
Решение Коллегии Евразийской экономической комиссии от 15.08.2023 N 114).
Документ включен в
Перечень международных и региональных (межгосударственных) стандартов, а в случае их отсутствия - национальных (государственных) стандартов, содержащих правила и методы исследований (испытаний) и измерений, в том числе правила отбора образцов, необходимые для применения и исполнения требований технического
регламента Таможенного союза "О требованиях к смазочным материалам, маслам и специальным жидкостям" (ТР ТС 030/2012) и осуществления оценки соответствия объектов технического регулирования (
Решение Коллегии Евразийской экономической комиссии от 25.07.2023 N 109).
Документ включен в
Перечень международных и региональных (межгосударственных) стандартов, а в случае их отсутствия - национальных (государственных) стандартов, содержащих правила и методы исследований (испытаний) и измерений, в том числе правила отбора образцов, необходимые для применения и исполнения требований технического
регламента Таможенного союза "О требованиях к смазочным материалам, маслам и специальным жидкостям" (ТР ТС 030/2012) и осуществления оценки соответствия объектов технического регулирования (
Решение Коллегии Евразийской экономической комиссии от 02.10.2012 N 180).
Документ включен в
Перечень международных и региональных (межгосударственных) стандартов, а в случае их отсутствия - национальных (государственных) стандартов, содержащих правила и методы исследований (испытаний) и измерений, в том числе правила отбора образцов, необходимые для применения и исполнения требований технического
регламента Евразийского экономического союза "О безопасности нефти, подготовленной к транспортировке и (или) использованию" (ТР ЕАЭС 045/2017) и осуществления оценки соответствия объектов технического регулирования (
Решение Коллегии Евразийской экономической комиссии от 24.07.2018 N 118).
Документ включен в
Перечень стандартов, содержащих правила и методы исследований (испытаний) и измерений, в том числе правила отбора образцов, необходимые для применения и исполнения требований технического
регламента таможенного союза "о требованиях к автомобильному и авиационному бензину, дизельному и судовому топливу, топливу для реактивных двигателей и мазуту" (ТР ТС 013/2011) и осуществления оценки соответствия объектов технического регулирования (
Решение Комиссии Таможенного союза от 18.10.2011 N 826).
Документ включен в
Перечень стандартов, содержащих правила и методы исследований (испытаний) и измерений, в том числе правила отбора образцов, необходимые для применения и исполнения требований технического
регламента Таможенного союза "Безопасность автомобильных дорог" (ТР ТС 014/2011) и осуществления оценки соответствия объектов технического регулирования (
Решение Коллегии Евразийской экономической комиссии от 18.09.2012 N 159).
Текст данного документа приведен с учетом
поправки, опубликованной в "ИУС", N 10, 2014;
поправки, опубликованной в "ИУС", N 3, 2016.
Название документа
"ГОСТ 2517-2012. Межгосударственный стандарт. Нефть и нефтепродукты. Методы отбора проб"
(введен в действие Приказом Росстандарта от 29.11.2012 N 1448-ст)
(ред. от 13.04.2018)
"ГОСТ 2517-2012. Межгосударственный стандарт. Нефть и нефтепродукты. Методы отбора проб"
(введен в действие Приказом Росстандарта от 29.11.2012 N 1448-ст)
(ред. от 13.04.2018)
агентства по техническому
регулированию и метрологии
от 29 ноября 2012 г. N 1448-ст
МЕЖГОСУДАРСТВЕННЫЙ СТАНДАРТ
НЕФТЬ И НЕФТЕПРОДУКТЫ
МЕТОДЫ ОТБОРА ПРОБ
Petroleum and petroleum products. Methods of sampling
ГОСТ 2517-2012
| | Список изменяющих документов Приказом Росстандарта от 13.04.2018 N 193-ст) | |
Дата введения
1 марта 2014 года
Цели, основные принципы и основной порядок проведения работ по межгосударственной стандартизации установлены
ГОСТ 1.0-92 "Межгосударственная система стандартизации. Основные положения" и
ГОСТ 1.2-2009 "Межгосударственная система стандартизации. Стандарты межгосударственные, правила и рекомендации по межгосударственной стандартизации. Правила разработки, принятия, применения, обновления и отмены".
1. Разработан Федеральным государственным унитарным предприятием "Всероссийский научно-исследовательский институт расходометрии" (ФГУП "ВНИИР").
2. Внесен Федеральным агентством по техническому регулированию и метрологии (Росстандарт).
3. Принят Межгосударственным советом по стандартизации, метрологии и сертификации (Протокол от 24 октября 2012 г. N 52).
За принятие проголосовали:
Краткое наименование страны по МК (ИСО 3166) 004-97 | Код страны по МК (ИСО 3166) 004-97 | Сокращенное наименование национального органа по стандартизации |
Азербайджан | AZ | Азстандарт |
Армения | AM | Минэкономики Республики Армения |
Беларусь | BY | Госстандарт Республики Беларусь |
Казахстан | KZ | Госстандарт Республики Казахстан |
Киргизия | KG | Кыргызстандарт |
Молдова | MD | Молдова-Стандарт |
Россия | RU | Росстандарт |
Таджикистан | TJ | Таджикстандарт |
Узбекистан | UZ | Узстандарт |
4.
Приказом Федерального агентства по техническому регулированию и метрологии от 29 ноября 2012 г. N 1448-ст межгосударственный стандарт ГОСТ 2517-2012 введен в действие в качестве национального стандарта Российской Федерации с 1 марта 2014 г.
Информация об изменениях к настоящему стандарту публикуется в ежегодном информационном указателе "Национальные стандарты", а текст изменений и поправок - в ежемесячном информационном указателе "Национальные стандарты". В случае пересмотра (замены) или отмены настоящего стандарта соответствующее уведомление будет опубликовано в ежемесячном информационном указателе "Национальные стандарты". Соответствующая информация, уведомление и тексты размещаются также в информационной системе общего пользования - на официальном сайте Федерального агентства по техническому регулированию и метрологии в сети Интернет.
Настоящий стандарт устанавливает методы отбора проб нефти и нефтепродуктов из резервуаров, подземных хранилищ, нефтеналивных судов, железнодорожных и автомобильных цистерн, трубопроводов, бочек, бидонов и других средств хранения и транспортирования.
Настоящий стандарт не распространяется на сжиженные газы и нефтяной кокс замедленного коксования.
В настоящем стандарте использованы нормативные ссылки на следующие межгосударственные стандарты:
ГОСТ 12.1.005-88. Система стандартов безопасности труда. Общие санитарно-гигиенические требования к воздуху рабочей зоны
ГОСТ 12.4.010-75. Система стандартов безопасности труда. Средства индивидуальной защиты. Рукавицы специальные. Технические условия
ГОСТ 12.4.034-2017. Система стандартов безопасности труда. Средства индивидуальной защиты органов дыхания. Классификация и маркировка
(в ред.
Изменения N 1, введенного в действие Приказом Росстандарта от 13.04.2018 N 193-ст)
ГОСТ 12.4.111-82. Система стандартов безопасности труда. Костюмы мужские для защиты от нефти и нефтепродуктов. Технические условия <*>
(в ред.
Изменения N 1, введенного в действие Приказом Росстандарта от 13.04.2018 N 193-ст)
ГОСТ 12.4.112-82. Система стандартов безопасности труда. Костюмы женские для защиты от нефти и нефтепродуктов. Технические условия <*>
(в ред.
Изменения N 1, введенного в действие Приказом Росстандарта от 13.04.2018 N 193-ст)
----------------------
<*> На территории Российской Федерации действует
ГОСТ 12.4.310-2016 "Система стандартов безопасности труда. Одежда специальная для защиты работающих от воздействия нефти и нефтепродуктов. Технические требования".
(сноска введена
Изменением N 1, введенным в действие Приказом Росстандарта от 13.04.2018 N 193-ст)
ГОСТ 12.4.124-83. Система стандартов безопасности труда. Средства защиты от статического электричества. Общие технические требования
ГОСТ 1756-2000 (ИСО 3007-99). Нефтепродукты. Определение давления насыщенных паров
ГОСТ 13196-93. Устройства автоматизации резервуарных парков. Средства измерения уровня и отбора проб нефти и нефтепродуктов. Общие технические требования и методы испытаний
ГОСТ 14921-78. Газы углеводородные сжиженные. Методы отбора проб.
Примечание. При пользовании настоящим стандартом целесообразно проверить действие ссылочных стандартов в информационной системе общего пользования - на официальном сайте Федерального агентства по техническому регулированию и метрологии в сети Интернет или по ежегодному информационному указателю "Национальные стандарты", который опубликован по состоянию на 1 января текущего года, и по выпускам ежемесячного информационного указателя "Национальные стандарты" за текущий год. Если ссылочный стандарт заменен (изменен), то при пользовании настоящим стандартом следует руководствоваться заменяющим (измененным) стандартом. Если ссылочный стандарт отменен без замены, то положение, в котором дана ссылка на него, применяется в части, не затрагивающей эту ссылку.
3.1. Для отбора проб нефти и нефтепродуктов применяют пробоотборники, указанные в таблице 1 и
Приложении А.
Таблица 1
Характеристика нефти и нефтепродуктов | Хранилище, транспортное средство, тара | Аппаратура и инструмент для отбора проб |
Нефтепродукты с давлением насыщенных паров 100 кПа (750 мм рт. ст.) и выше по ГОСТ 1756 | Резервуары для хранения нефтепродуктов с повышенным давлением насыщенных паров, нефтеналивные суда, железнодорожные и автомобильные цистерны | Стационарные и переносные пробоотборники, позволяющие проводить герметичный отбор проб и обеспечивающие сохранность качества пробы. Пробоотборники типа ПГО по ГОСТ 14921 и другие пробоотборные сосуды под давлением |
Нефть и нефтепродукты с давлением насыщенных паров ниже 100 кПа (750 мм рт. ст.) по ГОСТ 1756 | Резервуары вертикальные цилиндрические, прямоугольные (постоянного сечения по высоте) | Стационарные пробоотборники: - сниженный порционный с клапанами по ГОСТ 13196; - с перфорированной заборной трубкой (см. рисунок А.1); - для отбора точечных проб с трех уровней (см. рисунок А.2); - краны на различных уровнях по высоте стенки резервуара (только для нефти). Переносные пробоотборники: |
Нефть и нефтепродукты с давлением насыщенных паров ниже 100 кПа (750 мм рт. ст.) по ГОСТ 1756 | Подземные хранилища в отложениях каменной соли, сооружаемые методом выщелачивания | Пробоотборные краны, установленные на продуктопроводе в оголовке подземного хранилища |
Подземные хранилища шахтного типа, сооружаемые в горных породах с положительной и отрицательной температурой; ледогрунтовые хранилища | |
Нефтеналивные суда, железнодорожные и автомобильные цистерны, резервуары траншейного типа и горизонтальные цилиндрические | Переносные пробоотборники, рекомендуемые для отбора проб из вертикальных цилиндрических и прямоугольных резервуаров |
Нефть и нефтепродукты с давлением насыщенных паров ниже 100 кПа (750 мм рт. ст.) по ГОСТ 1756 | Трубопроводы | Автоматические или ручные пробоотборники для отбора проб из трубопровода |
Бочки, бидоны, бутылки, банки | |
Жидкие нефтепродукты | Резинотканевые резервуары | Стеклянные и металлические трубки, дюритовые шланги диаметром 9 - 12 мм |
Мазеобразные нефтепродукты | Бочки, бидоны, барабаны, банки и др. | |
Твердые плавкие и неплавкие нефтепродукты | Бочки, ящики, мешки, вагоны для нефтебитума | Ножи, черпаки, лопаты, долота, зубила, колуны, топоры |
Порошкообразные нефтепродукты | Мешки, пакеты, контейнеры | |
3.2. Переносные пробоотборники для отбора проб нефти и жидких нефтепродуктов с заданного уровня должны иметь крышки или пробки, обеспечивающие их герметичность и легко открывающиеся на заданном уровне.
3.3. Масса переносного пробоотборника должна быть достаточной, чтобы обеспечить его погружение в нефть или нефтепродукт.
3.4. Пробоотборник осматривают перед каждым отбором пробы. На нем не должно быть трещин. Пробки, крышки, прокладки не должны иметь дефектов, нарушающих герметичность пробоотборника.
Переносные пробоотборники, пробосборники, пробоприемники, трубки, щупы и т.д. перед отбором проб нефти и нефтепродуктов должны быть чистыми и сухими.
Инвентарь для отбора и хранения проб жидких нефтепродуктов после применения следует обработать моющим веществом или сполоснуть неэтилированным бензином; инвентарь для отбора и хранения проб нефти и мазеобразных нефтепродуктов после промывки растворителем следует промыть горячей водой до полного удаления остатков нефтепродуктов. Промытый инвентарь необходимо высушить и хранить в защищенном от пыли и атмосферных осадков месте.
Во избежание загрязнения переносные пробоотборники переносят в чехлах, футлярах или другой упаковке.
3.5. Пробоотборник ручного отбора проб из трубопровода должен содержать следующие основные узлы:
- запорное устройство;
- пробосборник (пробоприемник).
Параметры пробозаборных трубок щелевого типа приведены в
Приложении Б.
3.5.1. Конструкция пробозаборного устройства должна быть достаточно прочной, чтобы выдерживать изгибающие моменты под влиянием максимальной скорости потока в трубопроводе, противостоять вибрации, а также создавать минимальное возмущение потока в трубопроводе.
3.5.2. Диаметр пробозаборной трубки, если пробозаборное устройство состоит из одной трубки, или наименьший диаметр пробозаборной трубки, если пробозаборное устройство состоит из нескольких трубок, должен быть:
- 6 мм - при кинематической вязкости пробы до 15 мм2/с (15 сСт) при температуре 20 °C;
- 12 мм - при кинематической вязкости пробы, равной и выше 15 мм2/с (15 сСт) при температуре 20 °C.
Для обеспечения нормального режима работы насоса в контуре отбора проб диаметр пробозаборной трубки может быть увеличен.
3.5.3. В зависимости от привода запорного устройства применяют автоматические и ручные пробоотборники.
В ручном пробоотборнике запорное устройство представляет собой кран, служащий для перепуска пробы через пробозаборное устройство в пробосборник и приводимый в действие вручную.
3.5.4. В качестве пробосборника, предназначенного для накопления объединенной пробы при автоматическом отборе пробы, применяют сосуды под давлением (закрытые) и атмосферные сосуды (открытые) в зависимости от видов отбираемых нефти или нефтепродукта или выполняемого анализа.
3.5.4.1. Применяют сосуды под давлением трех видов:
2-го - с накоплением пробы вытеснением заполняющего их водного насыщенного раствора хлористого натрия (рассола);
3-го - с накоплением пробы вытеснением оставшегося в них воздуха.
3.5.4.2. Сосуды под давлением 1-го и 2-го видов должны иметь предохранительный клапан для сброса избыточного давления.
3.5.4.3. Атмосферный сосуд представляет собой емкость с одним отверстием и применяется для отбора проб нефти и нефтепродуктов с давлением насыщенных паров не более 40 кПа (300 мм рт. ст.). Сосуд с пробой должен герметично закрываться крышкой (пробкой).
3.5.4.4. Пробосборник изготовляют из материала, стойкого к воздействию отбираемых нефти или нефтепродукта в расчете на рабочую температуру и давление, в 1,5 раза превышающее рабочее давление.
3.5.4.5. В качестве пробоприемников, предназначенных для транспортирования и хранения пробы, используют пробосборники всех типов.
Соединительные трубки и клапаны контура отбора проб от точки отбора проб до пробосборника должны быть с минимальным числом изгибов, без расширений, карманов и других мест, в которых могут скапливаться механические примеси, вода и пары.
Все соединения и соединительные трубки должны быть герметичными.
3.6. Автоматический отбор проб осуществляется с помощью автоматических пробоотборников периодически через равные промежутки времени или в зависимости от скорости перекачивания.
3.6.1. При автоматическом отборе проб запорное устройство пробоотборника должно приводиться в действие с помощью электрического, электромагнитного или пневматического привода.
3.6.2. Для получения заданной пробы через определенные промежутки времени в схеме автоматического пробоотборника применяют регулятор, включающийся в работу одновременно с началом перекачивания.
3.6.3. Конструкция пробосборника для отбора проб легкоиспаряющейся нефти или нефтепродукта с давлением насыщенных паров более 40 кПа (300 мм рт. ст.) должна обеспечивать накопление пробы без контакта с воздухом и при том же давлении, что и в трубопроводе.
Схема отбора проб с применением такого пробосборника приведена на
рисунке А.17.
Присоединение пробосборника к пробоотборной системе и его отсоединение от пробоотборной системы должно быть герметичным.
4.1. Объем объединенной пробы устанавливается в нормативно-технической документации (НТД) на конкретную продукцию.
4.2. Отбор проб из резервуаров
4.2.1. Перед отбором пробы из резервуара нефть и нефтепродукты отстаивают не менее 2 ч и удаляют отстой воды и загрязнений.
Для проверки удаления воды и загрязнений по требованию представителя заказчика пробу отбирают из сифонного крана, установленного в нижнее положение.
4.2.2. Пробу из резервуара с нефтепродуктом, находящимся под давлением свыше 1,96 кПа (200 мм вод. ст.), отбирают без разгерметизации резервуара.
4.2.3. Пробу нефти или нефтепродукта из резервуара с понтоном или плавающей крышей отбирают из перфорированной колонны.
4.3. Отбор проб из вертикальных резервуаров
4.3.1. Для отбора объединенной пробы нефти или нефтепродукта в один прием применяют стационарные пробоотборники по ГОСТ 13196 или с перфорированной заборной трубкой
(рисунок А.1).
За нижнюю точку отбора пробы нефти принимают уровень нижнего среза приемо-раздаточного патрубка (хлопушки) по внутреннему диаметру, а при отборе пробы нефтепродукта - уровень на расстоянии 250 мм от днища резервуара.
4.3.2. Точечные пробы нефти и нефтепродуктов из вертикального цилиндрического или прямоугольного резервуара отбирают стационарным
(рисунок А.2) или переносным пробоотборником (
рисунки А.3 -
А.7) с трех уровней:
- верхнего - на 250 мм ниже поверхности нефти или нефтепродукта;
- среднего - с середины высоты столба нефти или нефтепродукта;
- нижнего: для нефти - нижний срез приемо-раздаточного патрубка (хлопушки) по внутреннему диаметру, для нефтепродукта - на 250 мм выше днища резервуара.
Для резервуара, у которого приемо-раздаточный патрубок находится в приемке, за нижний уровень отбора пробы нефти принимают уровень на расстоянии 250 мм от днища резервуара.
Объединенную пробу нефти или нефтепродукта составляют смешением точечных проб верхнего, среднего и нижнего уровней в соотношении 1:3:1.
4.3.3. Точечные пробы из резервуара, в котором нефтепродукт смешивается, при проверке однородности нефтепродукта отбирают по
4.3.2 и анализируют отдельно.
По требованию представителя заказчика точечные пробы нефтепродуктов отбирают через каждые 1000 мм высоты столба нефтепродукта. При этом точечные пробы верхнего и нижнего уровней отбирают по
4.3.2. За начало отсчета первой точечной пробы принимают поверхность нефтепродукта.
Объединенную пробу составляют смешением одинаковых по объему точечных проб.
4.3.4. Точечные пробы при высоте уровня нефти и нефтепродуктов в резервуаре не выше 2000 мм (или остаток после опорожнения) отбирают с верхнего и нижнего уровней по
4.3.2.
Объединенную пробу составляют смешением одинаковых по объему точечных проб верхнего и нижнего уровней.
При высоте уровня нефтепродукта менее 1000 мм (остаток после опорожнения) отбирают одну точечную пробу с нижнего уровня по
4.3.2.
4.4. Отбор проб из горизонтальных резервуаров
4.4.1. Точечные пробы нефти и нефтепродуктов из горизонтального цилиндрического резервуара диаметром более 2500 мм отбирают переносным пробоотборником с трех уровней:
- верхнего - на 200 мм ниже поверхности нефти или нефтепродукта;
- среднего - с середины высоты столба нефти или нефтепродукта;
- нижнего - на 250 мм выше нижней внутренней образующей резервуара.
Объединенную пробу составляют смешением точечных проб верхнего, среднего и нижнего уровней в соотношении 1:6:1.
4.4.2. Точечные пробы нефти и нефтепродуктов из горизонтального цилиндрического резервуара диаметром менее 2500 мм независимо от степени заполнения, а также из горизонтального цилиндрического резервуара диаметром более 2500 мм, но заполненного до высоты, равной половине и менее диаметра, отбирают с двух уровней: с середины высоты столба жидкости и на 250 мм выше нижней внутренней образующей резервуара.
Объединенную пробу составляют смешением точечных проб среднего и нижнего уровней в соотношении 3:1.
При высоте уровня нефтепродукта менее 500 мм отбирают одну точечную пробу с нижнего уровня по
4.4.1.
4.4.3. По требованию потребителя из горизонтального цилиндрического резервуара донную пробу нефтепродукта отбирают переносным металлическим пробоотборником (
рисунки А.4 и
А.5).
4.4.4. Допускается производить отбор проб из раздаточного крана топливораздаточной колонки следующим образом.
4.4.4.1. Отбор точечной пробы нефтепродукта производится с уровня расположения заборного устройства.
4.4.4.2. Для отбора пробы топлива из раздаточного крана топливораздаточной колонки оператор автозаправочной станции задает дозу необходимого объема и отпускает ее в подготовленную чистую емкость.
Если на момент отбора пробы из конкретной топливораздаточной колонки выдача топлива не производилась, то перед началом процедуры отбора пробы отпускается в мерник количество топлива, равное двойному объему соединительного трубопровода "топливораздаточная колонка - резервуар" из рукава раздаточного крана и после этого отбирается проба в необходимом объеме.
Вместимость соединительного трубопровода "топливораздаточная колонка - резервуар" определяется по технологической схеме трубопроводов автозаправочной станции, а вместимость рукава раздаточного крана берется из паспорта на топливораздаточную колонку.
(п. 4.4.4 введен
Изменением N 1, введенным в действие Приказом Росстандарта от 13.04.2018 N 193-ст)
4.5. Отбор проб из резервуаров траншейного типа
4.5.1. Точечные пробы нефтепродуктов из резервуара траншейного типа отбирают переносным пробоотборником с верхнего, среднего и нижнего уровней, соответствующих 0,93; 0,64; 0,21 объема нефтепродукта (отсчет снизу).
Объединенную пробу составляют смешением точечных проб верхнего, среднего и нижнего уровней в соотношении 1:3:3.
4.5.2. Точечные пробы из резервуара, заполненного нефтепродуктами с различной плотностью (расхождения более 2 кг/м3), отбирают с семи уровней, соответствующих 0,93; 0,78; 0,64; 0,50; 0,36; 0,21; 0,07 объема нефтепродукта (отсчет снизу).
Объединенную пробу составляют смешением одинаковых по объему точечных проб.
4.6. Отбор проб из резинотканевых резервуаров
Точечную пробу нефтепродукта из резинотканевого резервуара отбирают металлической или стеклянной трубкой или дюритовым шлангом с уровня, расположенного на высоте 50 - 60 мм от нижнего полотнища резервуара.
4.7. Отбор проб из подземных хранилищ шахтного типа, сооружаемых в горных породах с положительной и отрицательной температурой
Отбор точечных проб нефти и нефтепродуктов из подземных хранилищ шахтного типа осуществляют через вертикальный ствол; уровни отбора проб и составление объединенной пробы - в соответствии с
4.4.
Объединенную пробу из подземного хранилища, имеющего несколько вертикальных стволов, составляют смешением одинаковых по объему объединенных проб каждого ствола.
4.8. Отбор проб из подземных хранилищ в отложениях каменной соли, сооружаемых методом выщелачивания
4.8.1. Пробу нефти или нефтепродукта из подземного хранилища отбирают из пробоотборного крана, установленного на трубопроводе в оголовке подземного хранилища, перекачивая часть продукта в наземный резервуар.
Для этого предварительно промывают межтрубное пространство между колоннами, заполненными рассолом и нефтью или нефтепродуктом, перекачиванием нефти или нефтепродукта в наземный резервуар в объеме, равном пяти объемам межтрубного пространства. Точечную пробу отбирают в конце промывки.
4.9. Отбор проб из ледогрунтовых хранилищ
4.9.1. Отбор точечных проб и составление объединенной пробы нефтепродуктов из ледогрунтового хранилища проводят в соответствии с
4.3 или
4.4 в зависимости от геометрической формы хранилища.
4.10. Отбор проб из наливных судов
4.10.1. Точечные пробы из танка наливного судна с высотой уровня нефти и нефтепродуктов более 3000 мм отбирают переносным пробоотборником с трех уровней:
- верхнего - на 250 мм ниже поверхности нефти или нефтепродукта;
- среднего - с середины высоты столба нефти или нефтепродукта;
- нижнего - на 250 мм выше днища танка.
Объединенную пробу составляют смешением точечных проб верхнего, среднего и нижнего уровней в соотношении 1:3:1.
4.10.2. Точечные пробы из танка наливного судна с высотой уровня нефти и нефтепродуктов 3000 мм и менее отбирают с двух уровней:
- среднего - с середины высоты столба нефти или нефтепродукта;
- нижнего - на 250 мм выше днища танка.
Объединенную пробу составляют смешением точечных проб среднего и нижнего уровней в соотношении 3:1.
4.10.3. Если судно загружено одним видом нефти или нефтепродуктом одной марки, то объединенную пробу составляют смешением объединенных проб каждого танка вместимостью 1000 м
3 и более и не менее 25% числа всех танков вместимостью менее 1000 м
3, включая танки, которые загружаются в начале и в конце налива.
Объединенную пробу для судна составляют смешением объединенных проб из отдельных танков пропорционально объему продукта в каждом из этих танков.
4.10.4. Если наливное судно загружено нефтью различных видов или нефтепродуктами различных марок, то объединенные пробы составляют по каждой группе танков с нефтью отдельного вида или нефтепродуктом отдельной марки аналогично составлению объединенной пробы для судна в соответствии с
4.10.3.
4.10.5. Объединенную пробу для судна или группы танков с нефтью или нефтепродуктом, предназначенными для экспорта, длительного хранения или представителя заказчика, составляют из объединенных проб каждого танка в соответствии с
4.10.3.
4.10.6. Если судно загружается последовательно по одному трубопроводу нефтью различных видов или нефтепродуктами различных марок, то дополнительно отбирают в пунктах налива точечные пробы и составляют отдельно объединенную пробу для танка, с которого начинается налив нефти каждого вида или нефтепродукта каждой марки.
4.10.7. Объединенную пробу остатка нефти или нефтепродукта для судна или группы танков составляют из точечных проб, отобранных с середины высоты остатка от 25% всех танков, смешением пропорционально объему нефти или нефтепродукта в каждом из этих танков.
При загрузке судна нефтью или нефтепродуктом, предназначенными для экспорта или представителя заказчика, объединенную пробу остатка для судна или группы танков составляют из точечных проб, отобранных из каждого танка, смешением пропорционально объему нефти или нефтепродукта в каждом танке.
4.11. Отбор проб из железнодорожных и автомобильных цистерн и вагонов для нефтебитума
4.11.1. Точечную пробу из железнодорожной или автомобильной цистерны отбирают переносным пробоотборником с уровня, расположенного на высоте 0,33 диаметра цистерны от нижней внутренней образующей.
Донную пробу нефти или нефтепродукта отбирают переносным металлическим пробоотборником (
рисунки А.4 и
А.5).
4.11.2. Точечные пробы для нескольких цистерн с одним видом нефти или нефтепродуктом одной марки отбирают по 4.11.1 из каждой четвертой цистерны, но не менее чем из двух цистерн.
В этом случае объединенную пробу составляют смешением точечных проб пропорционально объемам нефти и нефтепродуктов в цистернах, из которых отобраны пробы.
4.11.3. При наливе по одному трубопроводу нефтепродуктов разных марок точечные пробы из цистерн, с которых начинался налив нефтепродуктов каждой марки, отбирают и анализируют отдельно.
4.11.4. Точечные пробы нефтепродукта, предназначенного для экспорта, длительного хранения или Министерства обороны Российской Федерации, отбирают из каждой цистерны в соответствии с
4.11.1.
Объединенную пробу для цистерн, отправляемых в один пункт назначения, составляют смешением точечных проб пропорционально объему продукта в цистернах.
4.11.5. Из вагона для нефтебитума отбирают одну точечную пробу с поверхности битума любого бункера.
Объединенную пробу для нескольких вагонов составляют смешением одинаковых по объему точечных проб из каждого вагона.
4.12. Порядок отбора проб нефти и нефтепродуктов из резервуаров, подземных хранилищ, транспортных средств стационарным и переносным пробоотборниками
4.12.1. Перед отбором пробы из пробоотборной системы стационарного пробоотборника сливают в другой сосуд жидкость, которая не должна входить в пробу. Объем сливаемой жидкости должен быть не менее двух объемов пробоотборной системы стационарного пробоотборника.
4.12.2. Из вертикальных, горизонтальных, траншейного типа резервуаров, танков наливных судов, железнодорожных и автомобильных цистерн, подземных хранилищ шахтного типа, ледогрунтовых хранилищ пробу нефти или нефтепродукта отбирают переносным пробоотборником следующим образом:
- измеряют уровень нефти или нефтепродукта;
- рассчитывают уровни отбора точечных проб;
- опускают закрытый пробоотборник до заданного уровня так, чтобы отверстие, через которое происходит его заполнение, находилось на этом уровне;
- открывают крышку или пробку, заполняют пробоотборник и поднимают его.
Пробы с нескольких уровней отбирают последовательно сверху вниз.
4.12.3. Донную пробу из резервуара или транспортного средства отбирают следующим образом:
- пробоотборник
(рисунок А.4) опускают, устанавливают на днище резервуара или транспортного средства, извлекают пробку из штуцера и выдерживают его до заполнения пробой. Заполненный пробоотборник поднимают и сливают пробу в пробоприемник;
- пробоотборник
(рисунок А.5) опускают на днище резервуара или транспортного средства. При касании о днище шток поднимается, и в образовавшуюся щель начинает поступать нефть или нефтепродукт. Пробоотборник выдерживают в этом положении до его заполнения пробой, поднимают и переливают ее в пробоприемник.
4.12.4. Пробу нефтепродукта из сифонного крана отбирают переносным пробоотборником
(рисунок А.3).
4.12.5. При измерении температуры и плотности нефти или нефтепродукта пробоотборник выдерживают на заданном уровне до начала его заполнения не менее 5 мин.
Допускается вместо выдержки термостатического пробоотборника в течение 5 мин ополаскивать его нефтью или нефтепродуктом, отобранным с уровня, на котором должна быть измерена температура или плотность.
4.12.6. Бутылку с отобранной пробой легкоиспаряющегося нефтепродукта с нормированным давлением насыщенных паров вынимают из каркаса, герметично закупоривают, а для отбора следующей пробы вставляют чистую сухую бутылку.
4.12.7. При составлении объединенной пробы каждую точечную пробу перемешивают, берут необходимый объем и сливают в один сосуд.
Объединенную пробу составляют сразу после отбора проб.
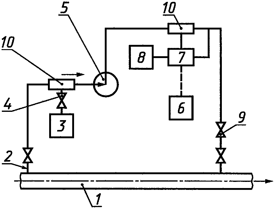
4.13. Отбор проб из трубопровода
4.13.1.1. Пробу нефти или нефтепродукта из трубопровода отбирают стационарным пробоотборником. Схемы отбора проб из трубопровода приведены на
рисунках А.18.1 и
А.18.2. Пробозаборные трубки монтируют на корпусе диспергатора
(рисунок А.19).
4.13.1.2. Пробу из трубопровода отбирают только в процессе перекачивания при скорости жидкости на входе в пробозаборное устройство, равной средней линейной скорости жидкости в трубопроводе в том же направлении.
4.13.1.3. Допускается отбирать пробу при скорости жидкости на входе в пробозаборное устройство не менее половины или не более чем в два раза средней линейной скорости жидкости в трубопроводе.
4.13.1.4. Пробозаборное устройство устанавливают внутри трубопровода в однородном потоке (содержание воды, солей и механических примесей одинаково по поперечному сечению) жидкости на вертикальном или горизонтальном участке трубопровода при высокой линейной скорости движения жидкости, после насоса или перемешивающего устройства.
4.13.1.5. На вертикальном участке трубопровода пробозаборное устройство устанавливают в конце участка по направлению движения жидкости на расстоянии половины диаметра трубопровода до начала его изгиба, если участок трубопровода только восходящий или только нисходящий.
Пробозаборное устройство устанавливают в конце второго участка по направлению движения жидкости на расстоянии половины диаметра трубопровода до начала его изгиба, если трубопровод имеет восходящий и нисходящий вертикальные участки, расположенные рядом.
Длина только восходящего или только нисходящего вертикального участка трубопровода или суммарная длина вертикальных участков, расположенных рядом, должна быть не менее шести диаметров трубопровода.
4.13.1.6. На горизонтальном участке трубопровода узел выхода пробозаборного устройства располагают сверху.
4.13.1.7. На вертикальном или горизонтальном участке трубопровода, по которому течет однородный поток нефти или нефтепродукта, устанавливают пробозаборное устройство в виде одной трубки с загнутым концом независимо от диаметра трубопровода. Загнутый конец трубки располагают по оси трубопровода навстречу потоку
(рисунок А.14).
4.13.1.8. При неоднородном потоке жидкости устанавливают вертикально по диаметру трубопровода пробозаборное устройство щелевого типа с одним или пятью отверстиями (
рисунки А.15.1 и
А.15.2), ориентированными навстречу потоку.
Допускается устанавливать пробозаборное устройство в виде пробозаборных трубок с загнутыми концами, направленными навстречу потоку:
- одна трубка - при диаметре до 100 мм;
- три трубки - при диаметре от 100 до 400 мм;
- пять трубок - при диаметре свыше 400 мм.
4.13.1.9. Пробозаборное устройство, состоящее из одной пробозаборной трубки с загнутым концом, устанавливают на вертикальном или горизонтальном участке трубопровода независимо от диаметра трубопровода. Загнутый конец трубки располагают по оси трубопровода навстречу потоку
(рисунок А.14).
4.13.1.10. В пробозаборном устройстве из пяти трубок открытые загнутые концы трубок устанавливают по вертикальному сечению трубопровода
(рисунок А.15) следующим образом:
- одну трубку диаметром

- на оси трубопровода;
- две трубки диаметром

- по обе стороны горизонтальной оси по вертикали на расстоянии 0,4 радиуса трубопровода;
- две трубки диаметром

- по обе стороны горизонтальной оси по вертикали на расстоянии 0,8 радиуса трубопровода.
Соотношение диаметров трубок

должно быть 6:10:13.
4.13.1.11. В пробозаборном устройстве из трех трубок открытые загнутые концы трубок устанавливают следующим образом:
- одну трубку - на оси трубопровода;
- две трубки - по обе стороны горизонтальной оси по вертикали на расстоянии 0,66 радиуса трубопровода.
Трубки должны быть одинакового диаметра.
4.13.1.12. При отборе проб нефтепродуктов, полученных смешением на потоке, пробозаборное устройство должно быть на расстоянии не менее 25 диаметров трубопровода вниз по потоку от места ввода последнего компонента, чтобы обеспечить перемешивание всех компонентов и получение пробы из однородного потока.
4.13.1.13. При отборе пробы подогретой высоковязкой нефти или нефтепродукта для предотвращения затвердевания необходимо обеспечить теплоизоляцию или обогрев пробоотборника и его соединений.
4.13.1.14. Пробоотборник располагают как можно ближе к пробозаборному устройству и заполняют пробой не более чем на 90% его вместимости.
4.13.1.15. Пробу легкоиспаряющейся нефти или нефтепродукта из пробосборника не переливают. Пробосборник отсоединяют и заменяют другим.
Пробу нефти или нефтепродукта с давлением насыщенных паров не более 40 кПа (300 мм рт. ст.) после тщательного перемешивания в плотно закрытом пробосборнике допускается переливать из пробосборника в пробоприемник с соответствующей этикеткой.
4.13.1.16. При присоединении пробосборника к трубопроводу или его отсоединении от трубопровода или переливании пробы в пробосборник не допускается загрязнение пробы.
4.13.1.17. Пробозаборное устройство щелевого типа состоит из стабилизатора
(рисунок А.20) и пробозаборной трубки. Конструкция устройства с одним отверстием приведена на
рисунке А.15.1, с пятью отверстиями - на
рисунке А.15.2. Параметры стабилизатора рассчитывают согласно алгоритму, приведенному в
Приложении Г.
4.13.2. Автоматический отбор проб из трубопровода
4.13.2.1. Объединенная проба составляется автоматически из точечных проб, объем которых устанавливают от 1 до 10 см3. Минимальное количество точечных проб должно быть не менее 300. Объем и количество точечных проб определяются временем и объемом перекачивания. Объем объединенной пробы должен быть не менее 3000 см3.
Регулятор автоматического пробоотборника должен быть опломбирован.
4.13.2.2. Для отбора пробы автоматическим пробоотборником необходимо обеспечить постоянное движение части перекачиваемой нефти или нефтепродукта через пробозаборное устройство по обводной линии от основного трубопровода (по контуру отбора проб). Пробу отбирают из контура отбора проб без прекращения этого движения.
| | ИС МЕГАНОРМ: примечание. В официальном тексте документа, видимо, допущена опечатка: рисунок А.18 отсутствует. | |
4.13.2.3. При отборе проб нефти и нефтепродуктов автоматическим пробоотборником должен быть предусмотрен также ручной отбор проб из контура отбора (рисунок А.18). При отсутствии движения по контуру отбора пробу отбирают после слива нефти или нефтепродукта в другой сосуд в объеме, равном трехкратному объему нефти или нефтепродукта, заполняющего всю пробоотборную систему до крана, из которого производится слив пробы.
4.13.3. Ручной отбор проб нефти и нефтепродуктов из трубопровода
4.13.3.1. Ручным пробоотборником отбирают только точечную пробу.
4.13.3.2. Точечные пробы отбирают через равные объемы перекачивания нефти или нефтепродукта или через равные промежутки времени.
4.13.3.3. При производительности перекачивания не более 500 м3/ч точечные пробы отбирают через каждые 500 м3. Объединенную пробу составляют смешением одинаковых по объему точечных проб.
4.13.3.4. При производительности перекачивания более 500 м3/ч точечные пробы отбирают не реже чем через каждый час. Объединенную пробу составляют смешением точечных проб, пропорциональных объему нефти или нефтепродукта, перекачиваемого за это время.
4.13.3.5. При периодических перекачиваниях пробы отбирают по
4.13.3.2 - 4.13.3.4, но не менее трех точечных проб через равные объемы перекачивания или равные интервалы времени.
4.13.3.6. Точечную пробу легкоиспаряющейся нефти или нефтепродукта отбирают герметично в пробоотборник закрытого типа по
3.5.4.
При применении пробоприемника с выравненным давлением его подключают к пробоотборному крану, создают необходимое противодавление, плавно заполняют пробой, закрывают вентили на пробоприемнике, затем пробоотборный кран и отсоединяют пробоприемник.
Пробоприемник, применяемый с рассолом, перед отбором пробы полностью заполняют рассолом и закрывают вентили. Температура рассола должна быть не выше температуры отбираемой нефти или нефтепродукта. Соединяют кран или вентиль пробоприемника с краном для слива пробы на трубопроводе и открывают все вентили на входной стороне пробоприемника. Открывают донный или выходной вентиль плавно, чтобы рассол медленно вытеснялся пробой, входящей в пробоприемник. Регулируют поток так, чтобы давление в пробоприемнике и трубопроводе было равным. Закрывают выходной вентиль, как только нефть или нефтепродукт начнут выходить из выходного отверстия пробоприемника, затем последовательно закрывают входной вентиль пробоприемника и кран для слива пробы на трубопроводе и отсоединяют пробоприемник.
Пробоприемник с накоплением пробы вытеснением воздуха устанавливают вертикально и подсоединяют к пробоотборному крану через нижний вентиль. Открывают вентили на пробоприемнике, затем пробоотборный кран и пропускают через пробоприемник отбираемую нефть или нефтепродукт в трехкратном объеме пробоприемника. В конце промывки закрывают вентили на пробоприемнике, пробоотборный кран и отсоединяют пробоприемник.
При отборе пробы нефти или нефтепродукта для определения содержания воды и солей применяют пробоприемники с накоплением пробы вытеснением воздуха.
В качестве пробоприемника с применением рассола или воздуха используют пробоотборник типа ПГО по
ГОСТ 14921. При давлении насыщенных паров нефти или нефтепродукта не более 67 кПа (500 мм рт. ст.) допускается применять бутылку с двумя трубками в пробке.
4.13.3.7. Пробу нефти или нефтепродукта с давлением насыщенных паров не более 40 кПа (300 мм рт. ст.) допускается отбирать в сосуд открытого типа. Регулируют кран для слива на трубопроводе так, чтобы из него вытекала непрерывная равномерная струя, которую направляют в пробоприемник по трубке, доходящей до его днища.
4.13.4. Отбор проб нефти и нефтепродуктов из трубопроводов для анализа поточными автоматическими приборами (анализаторами качества)
4.13.4.1. Пробу нефти или нефтепродукта отбирают пробозаборным устройством щелевого типа или в виде пробозаборных трубок с загнутыми концами в соответствии с
4.13.1.8. Пробозаборное устройство обоих типов должно обеспечить расход нефти, необходимый для работы анализатора качества.
4.13.4.2. При применении анализатора качества непрерывного действия показатели качества нефти или нефтепродукта определяются мгновенно при непрерывном прокачивании пробы через пробозаборное устройство.
При применении анализатора качества дискретного действия показатели качества нефти или нефтепродукта определяются за определенный промежуток времени.
4.13.4.4. При выборе анализатора качества и его установке, отборе и анализе пробы нефти или нефтепродукта должны быть выполнены следующие требования:
- отбор пробы нефти или нефтепродукта должен соответствовать
4.13.1;
- показатели качества нефти или нефтепродукта должны определяться при параметрах основного потока, которые могут повлиять на эти показатели (температура, давление, скорость). При невыполнении этих условий на результат измерения должны быть внесены соответствующие поправки.
4.14. Отбор проб нефтепродуктов из бочек, бидонов, канистр и другой транспортной тары
4.14.1. От единицы транспортной тары отбирают одну точечную пробу нефтепродукта.
Объединенную пробу упакованного нефтепродукта составляют смешением точечных проб, отобранных в соответствии с таблицей 2.
Количество тары n | Количество точечных проб m |
От 1 до 3 включ. | Все |
" 4 " 64 " | 4 |
" 65 " 125 " | 5 |
" 126 " 216 " | 6 |
" 217 " 343 " | 7 |
" 344 " 512 " | 8 |
" 513 " 729 " | 9 |
" 730 " 1000 " | 10 |
" 1001 " 1331 " | 11 |
" 1332 " 1728 " | 12 |
" 1729 " 2197 " | 13 |
" 2198 " 2744 " | 14 |
" 2745 " 3375 " | 15 |
" 3376 " 4096 " | 16 |
" 4097 " 4913 " | 17 |
" 4914 " 5832 " | 18 |
" 5833 " 6859 " | 19 |
" 6860 " 8000 " | 20 |
Св. 8000 | |
<*> Значение округляют до целых чисел. |
4.14.2. Отбор проб проводят в месте, защищенном от пыли и атмосферных осадков.
Жидкий нефтепродукт перед отбором пробы из тары перемешивают. Содержимое бочки необходимо перемешать перекатыванием в течение 5 мин. Содержимое бидона, банки, бутыли перемешивают в течение 5 мин тщательным встряхиванием или с применением специальной мешалки. Поверхность вокруг пробок, крышек и дна перед открыванием очищают.
4.14.3. Пробоотборную трубку для отбора точечной пробы жидкого нефтепродукта опускают до дна тары, затем верхнее отверстие закрывают пальцем и извлекают трубку из тары. Пробу сливают, открывая закрытый конец трубки. Объединенную пробу жидкого нефтепродукта составляют смешением точечных проб в соответствии с
таблицей 2.
4.14.4. Точечную пробу мазеобразного нефтепродукта отбирают щупом поршневым или винтообразным, с продольным вырезом или прямым без выреза.
На месте погружения щупа удаляют верхний слой нефтепродукта толщиной 25 мм.
Винтообразный щуп опускают, ввинчивая в нефтепродукт, до дна тары, затем извлекают и лопаточкой снимают с щупа пробу.
Поршневой щуп опускают вдавливанием в нефтепродукт до дна тары и, поворачивая на 180°, прорезают нефтепродукт проволокой, припаянной к нижнему концу щупа, затем щуп извлекают и поршнем выдавливают из него пробу.
Щуп с продольным вырезом опускают, ввинчивая в нефтепродукт, до дна тары, затем извлекают и освобождают из него пробу шпателем, вставленным в верхнюю часть прорези, перемещая его вниз.
Прямой щуп без выреза погружают до дна тары с расплавленным битумом, затем извлекают и ножом соскабливают с него пробу.
Слой нефтепродукта толщиной 5 мм в верхней части щупа не включают в пробу.
Объединенную пробу мазеобразного нефтепродукта составляют смешением точечных проб без их расплавления.
4.14.5. Точечную пробу твердых плавких нефтепродуктов из бочки и мешка, заполненных наливом, отбирают в виде куска с помощью ножа, зубила, долота, топора, колуна.
Точечную пробу из ящика или мешка, заполненного плитками или кусками, берут в виде одной плитки или одного куска.
Объединенную пробу для плавкого нефтепродукта, упакованного в мешки или бочки, составляют, откалывая от каждого отобранного куска или плитки по одному куску примерно равного размера и перемешивая их, не расплавляя.
4.14.6. Точечную пробу нефтепродукта, находящегося в расплавленном состоянии в бочках, отбирают и составляют объединенную пробу по
4.14.3 или 4.14.5.
4.14.7. Точечную пробу порошкообразного нефтепродукта из мешка, пакета или контейнера отбирают щупом
(рисунок А.13), погружая его на всю толщину нефтепродукта.
Объединенную пробу составляют смешением точечных проб.
4.15. Отбор проб неупакованных нефтепродуктов
4.15.1. Точечные пробы формованного в виде отливок (болванок) твердого плавкого нефтепродукта отбирают из каждой сотни отливок в виде куска отливки, но не менее 10 кусков от партии.
4.15.2. Точечные пробы неформованного твердого плавкого нефтепродукта отбирают от каждой тонны лопатой в виде куска, но не менее 10 кусков от партии.
4.15.3. Объединенную пробу формованного или неформованного твердого плавкого нефтепродукта составляют, откалывая от каждого отобранного куска по три кусочка примерно равной массы и перемешивая их, не расплавляя.
4.15.4. Точечную пробу твердого неплавкого нефтепродукта отбирают массой 1 - 2 кг лопатой или совком при формировании штабеля из разных мест ковша, скребка, контейнера и т.д. Куски размером более 250 мм в пробу не включают.
Объединенную пробу составляют из точечных проб, количество которых указано в таблице 3.
Таблица 3
Объем ковша, скребка, контейнера и т.д., м3 | Порядковый номер ковша, скребка, контейнера и т.д. | Количество точечных проб, отбираемых из одного ковша, скребка, контейнера и т.д. |
До 3 включ. | Каждый 4-й | 2 |
Св. 3 до 5 включ. | " 3-й | 3 |
Св. 5 | " 2-й | 4 |
Объединенную пробу твердого неплавкого нефтепродукта измельчают до кусков размером не более 25 мм не позднее чем через одни сутки. Измельченную пробу тщательно перемешивают, затем рассыпают на листе из нержавеющего материала ровным слоем в форме квадрата и делят по диагонали на четыре треугольника. Нефтепродукт из любых двух противоположных треугольников отбрасывают, из оставшихся - смешивают, повторно измельчают до кусков размером 5 - 10 мм и перемешивают. Повторным квартованием и перемешиванием массу объединенной пробы доводят до 2 - 3 кг.
5. Требования безопасности
5.1. При выполнении работ по отбору проб следует соблюдать правила техники безопасности и пожарной безопасности при обращении с нефтью и нефтепродуктами.
5.2. Содержание вредных веществ в воздухе рабочей зоны не должно превышать значений предельно допустимых концентраций (ПДК), установленных
ГОСТ 12.1.005.
Состояние воздуха рабочей зоны контролируют в соответствии с требованиями
ГОСТ 12.1.005.
5.3. Переносные пробоотборники должны быть изготовлены из материала, не образующего искр при ударе (алюминия, бронзы, латуни и др.).
5.4. Пробу нефти или нефтепродукта пробоотборщик отбирает в присутствии наблюдающего (дублера).
5.5. При отборе проб пробоотборщик должен стоять спиной к ветру в целях предотвращения вдыхания паров нефти или нефтепродукта.
5.6. Отбор проб в колодцах, приямках и других углублениях пробоотборщик должен выполнять в шланговом самовсасывающем противогазе по
ГОСТ 12.4.034.
5.7. Отбор проб нефти и нефтепродуктов в газоопасных местах, а также сероводородсодержащих нефти и нефтепродуктов пробоотборщик должен осуществлять в фильтрующем противогазе ФУ-13 марок А, В, Г, КД и других по
ГОСТ 12.4.034.
5.8. В местах отбора проб должны быть установлены светильники во взрывозащищенном исполнении. При отборе проб в неосвещенных местах следует пользоваться переносными светильниками во взрывозащищенном исполнении. Переносные светильники включают и выключают за земляным валом или ограждением резервуарного парка.
5.9. Отбор проб проводят в специальной одежде и обуви, изготовленных из материалов, не накапливающих статическое электричество, в соответствии с требованиями
ГОСТ 12.4.124.
5.10. Для крепления переносного пробоотборника используют гибкие, не дающие искр металлические тросики. При применении шнуров (веревок и т.д.) из неэлектропроводных материалов на их поверхности должен быть закреплен многожильный, не дающий искр неизолированный металлический проводник, соединенный с пробоотборником. Перед отбором проб тросик или проводник должен заземляться с элементами резервуара или транспортного средства.
5.11. Пробу нефти или нефтепродукта из резервуара следует отбирать не ранее чем через 2 ч после окончания заполнения.
Из танка морского наливного судна допускается отбирать пробу через 30 мин после окончания налива танка.
Из железнодорожной цистерны допускается отбирать пробу через 10 мин после окончания заполнения.
5.12. Запрещается отбирать пробы нефти и нефтепродуктов на открытом воздухе во время грозы.
5.13. Пробы этилированного бензина пробоотборщик должен отбирать в рукавицах из материала с водоупорной пропиткой или маслобензостойкого материала по
ГОСТ 12.4.010, в кожаных ботинках и в защитной одежде по
ГОСТ 12.4.111 и
ГОСТ 12.4.112.
5.14. Пробу расплавленного битума отбирают в рукавицах по
ГОСТ 12.4.010 и защитных очках
[1].
5.15. Пробу твердого неплавкого нефтепродукта отбирают и измельчают в противопылевых респираторах марок РП-К, Ф-62Ш и У-2к и рукавицах по
ГОСТ 12.4.010.
Места измельчения пробы должны быть оборудованы местной вентиляцией.
6. Упаковка, маркировка и хранение проб
6.1. Перед упаковыванием пробу нефти или нефтепродукта перемешивают.
Пробу разливают в чистые сухие стеклянные бутылки. Бутылку заполняют не более чем на 90% вместимости.
Пробу мазеобразного нефтепродукта помещают в чистую сухую стеклянную, жестяную или полиэтиленовую банку.
Пробу твердого нефтепродукта упаковывают в целлофан, полиэтиленовую пленку, плотную бумагу, обеспечивающие сохранность пробы, или помещают в ведерко с бумажным пакетом.
6.2. Объединенную пробу нефти или нефтепродукта делят на две равные части. Одну часть пробы анализируют, другую - хранят опечатанной на случай разногласий в оценке качества нефти или нефтепродукта.
При транспортировании на судах объединенную пробу нефти или нефтепродукта делят на части с учетом числа получателей. Одну часть пробы анализируют, другую - хранят на случай разногласий в оценке качества нефти или нефтепродукта, остальные передают получателям.
При отгрузке нефти или нефтепродукта для экспорта морскими судами объединенную пробу делят на пять частей. Одну часть пробы анализируют, две части - хранят на случай разногласий в оценке качества. Две оставшиеся части пробы передают капитану судна. Одну из них хранят на судне, другую - передают получателю.
6.3. Бутылки с пробами должны быть герметично закупорены пробками или винтовыми крышками с прокладками, не растворяющимися в нефти или нефтепродукте, банки должны быть плотно закрыты крышками.
Допускается приклеивать этикетку к бутылке, банке, пакету.
6.4. На этикетке должны быть указаны:
- номер пробы по журналу учета;
- наименование нефти или марка нефтепродукта;
- наименование предприятия-поставщика;
- номер резервуара и высота налива;
- номер партии, единицы транспортной тары, цистерны;
- наименование судна и номер танка и т.д., из которого отобрана проба;
- дата, время отбора;
- срок хранения пробы;
- обозначение стандарта или технических условий на нефть или нефтепродукт;
- должность и фамилии лиц, отобравших и опечатавших пробу.
6.5. Пробы нефти и нефтепродуктов хранят в помещении, отвечающем противопожарным требованиям, предъявляемым к кладовым легковоспламеняющихся и горючих жидкостей. Пробы нефти и нефтепродуктов с нормированным давлением насыщенных паров хранят при температуре не выше 20 °C.
6.6. Пробы хранят в шкафу, ящике с гнездами или на полках из несгораемого материала.
6.7. На случай разногласий в оценке качества пробы нефтепродукты хранят в течение 45 сут со дня отгрузки.
Для нефтепродуктов, предназначенных для представителя заказчика, для длительного хранения и при отгрузке на экспорт, срок хранения - 3 мес.
6.8. Пробы нефти на случай разногласий в оценке качества при транспортировании ее по нефтепроводу хранят не более 25 сут, при транспортировании другими видами транспорта - не более 45 сут.
6.9. Для нефти и нефтепродуктов, предназначенных для экспорта, срок хранения проб на случай разногласий в оценке качества составляет для нефти 3 мес, для нефтепродукта - 4 мес.
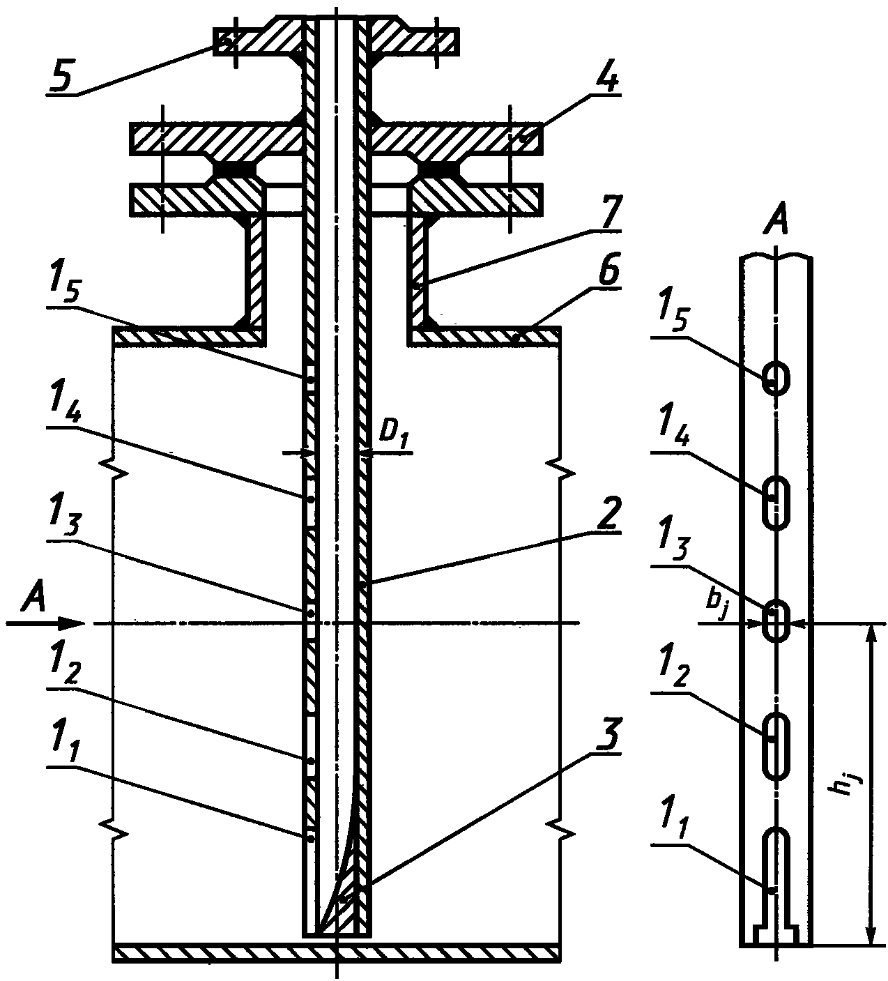
(обязательное)
Стационарный пробоотборник с перфорированной
заборной трубкой
1 - перфорированная заборная трубка;
2 - опорная стойка; 3 - кран
Рисунок А.1
Стационарный пробоотборник для отбора
точечных проб с трех уровней
1 - кран; 2 - пробозаборные трубки;
3 - несущий рычаг; 4 - поплавок
Рисунок А.2
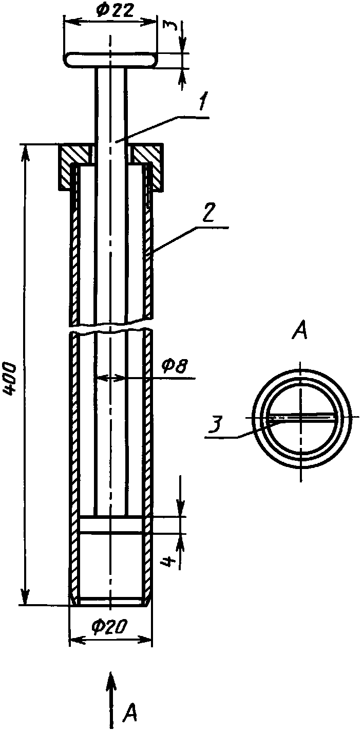
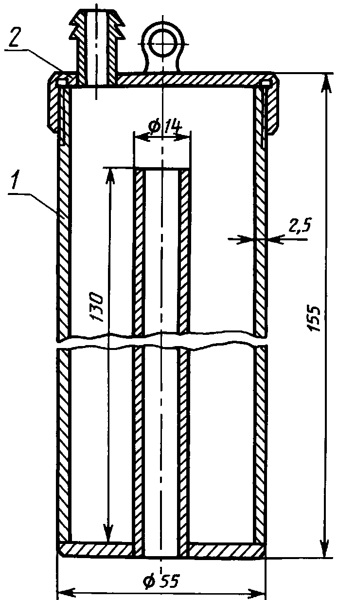
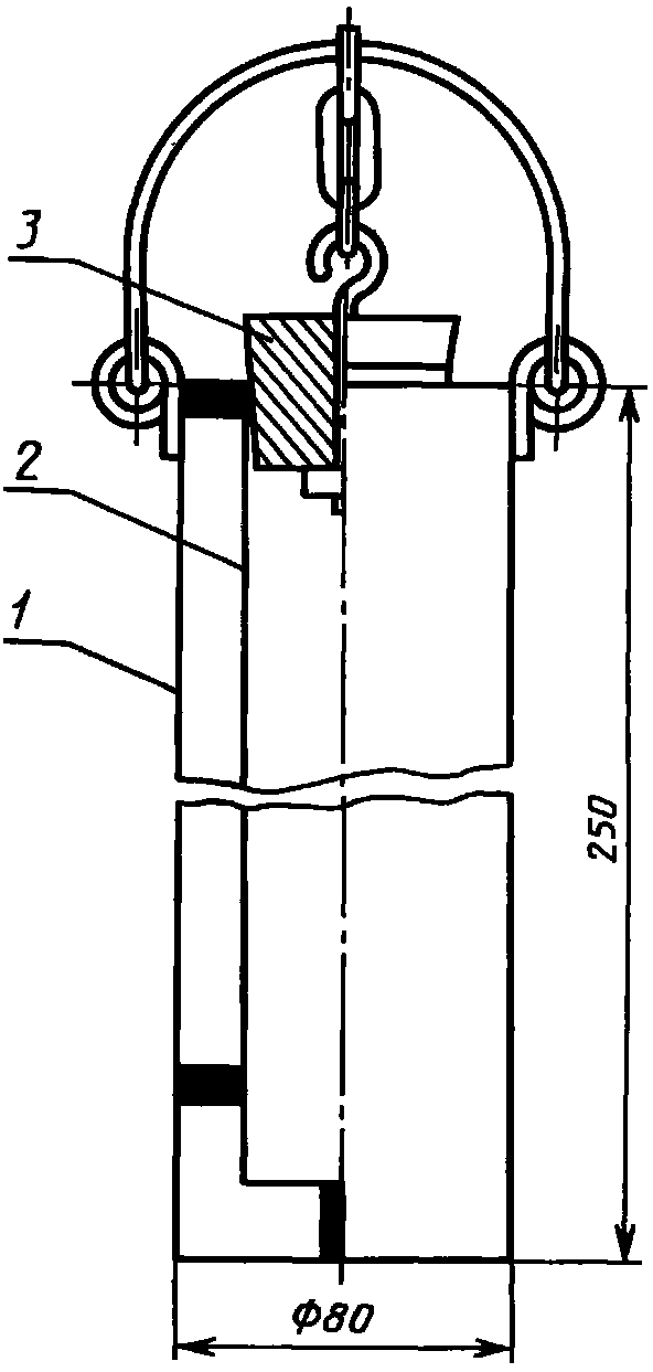
Металлический переносной пробоотборник
1 - корпус; 2 - крышка
Рисунок А.3
Металлический переносной пробоотборник
1 - корпус с входным патрубком; 2 - крышка со штуцером
Рисунок А.4
Металлический переносной пробоотборник
1 - скоба; 2 - крышка с клапаном; 3 - корпус;
4 - шток с клапаном; 5 - днище
Рисунок А.5
Бутылка в металлическом каркасе
1 - бутылка; 2 - металлический каркас;
3 - пробка; 4 - замок
Рисунок А.6
Термостатический пробоотборник
1 - наружный цилиндр; 2 - внутренний цилиндр;
3 - пробка
Рисунок А.7
1 - ножка; 2 - трубка; 3 - ушко
Рисунок А.8
Рисунок А.9
Рисунок А.10
1 - шток с поршнем; 2 - корпус из тонкостенной трубки;
3 - проволока
Рисунок А.11
Рисунок А.12
Щуп для отбора проб порошкообразных нефтепродуктов
1 - наружная трубка; 2, 3 - ручки; 4 - внутренняя труба
Рисунок А.13
Схема расположения пробозаборного устройства
в виде одной трубки
Рисунок А.14
Схема расположения трубок пробозаборного устройства
по сечению трубопровода
1 - вентиль; 2 - пробозаборная трубка;
3 - трубопровод
Рисунок А.15
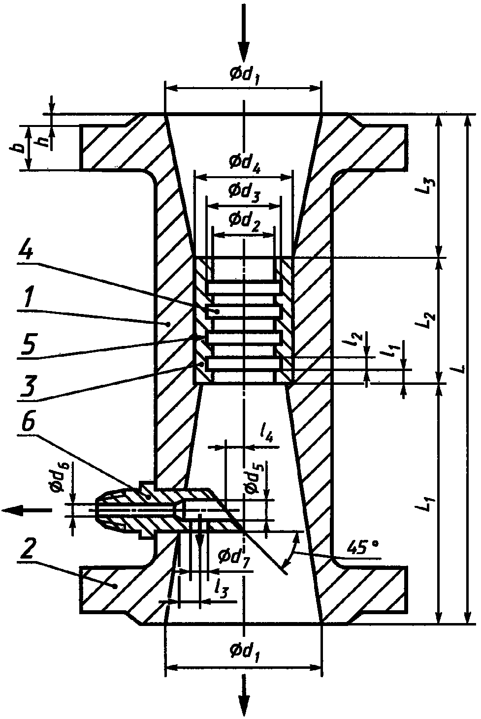
Пробозаборное устройство щелевого типа с одним отверстием
Примечание. Параметры

и

определяют по
таблице Б.1 Приложения Б.
1 - отверстие; 2 - трубка; 3 - стабилизатор; 4 - крышка;
5 - штуцер; 6 - трубопровод; 7 - монтажный патрубок
Рисунок А.15.1
Пробозаборное устройство щелевого типа с пятью отверстиями
Примечание. Параметры

и

определяют по
таблице Б.2 Приложения Б.

- отверстия; 2 - трубка; 3 - стабилизатор;
4 - крышка; 5 - штуцер; 6 - трубопровод;
7 - монтажный патрубок
Рисунок А.15.2
Пробоотборник с выравненным давлением
1 - предохранительный клапан; 2 - шток поршня;
3 - указатель положения поршня; 4 - поршень;
5 - перепускное устройство
Рисунок А.16
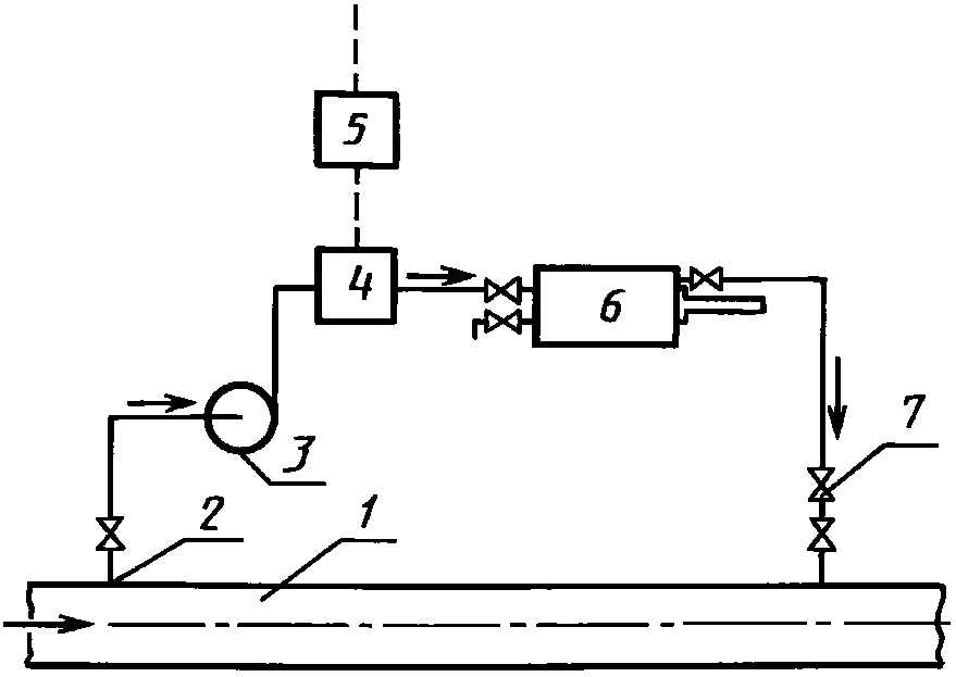
Схема отбора проб из трубопровода с применением
пробоотборника с выравненным давлением
1 - трубопровод; 2 - пробозаборное устройство;
3 - насос; 4 - запорное устройство; 5 - регулятор;
6 - пробоотборник; 7 - обратный клапан
Рисунок А.17
Схема отбора проб из трубопровода с помощью
пробозаборных устройств щелевого типа
1 - трубопровод; 2 - пробозаборное устройство;
3, 8 - пробозаборники; 4 - кран для ручного отбора проб;
5 - насос; 6 - регуляторы; 7 - запорное устройство;
9 - обратный клапан; 10 - диспергаторы
Рисунок А.18.1
Схема отбора проб нефти и нефтепродуктов из трубопроводов
1 - трубопровод; 2 - пробозаборное устройство;
3, 8 - пробосборник; 4 - кран для ручного отбора проб;
5 - насос; 6 - регулятор; 7 - запорное устройство;
9 - обратный клапан
Рисунок А.18.2
1 - корпус; 2 - фланец; 3 - кавитирующая втулка; 4 и 5 -
соответственно канавки и выступы; 6 - пробозаборная трубка
Рисунок А.19
Примечание. Параметры

и

стабилизатора определяют по алгоритму, приведенному в
Приложении Г.
Рисунок А.20
(обязательное)
ПАРАМЕТРЫ ПРОБОЗАБОРНЫХ ТРУБОК ЩЕЛЕВОГО ТИПА
Таблица Б.1
Размеры в миллиметрах
j | |  при внутреннем диаметре пробозаборной трубки  |
9, 10 | 12, 13 | 15, 16, 17, 18 | 21, 22 | 23, 24, 25 | 28, 29, 30 | 32, 33, 34, 35 | 38, 40, 42 |
Условный диаметр  трубопровода |
40 | 50 | 65 | 80 | 100 | 125 | 150 | 175 | 200 | 225 | 250 | 300 | 350 | 400 | 500 | 600 | 700 | 800 | 900 | 1000 | 1200 | 1400 |
1 | 4,0 | 0 | 0 | 0 | 0 | 0 | 0 | 0 | 0 | 0 | 0 | 0 | 0 | 0 | 0 | 0 | 0 | 0 | 0 | 0 | 0 | 0 | 0 |
2 | 4,0 | 3 | 3 | 3 | 3 | 3 | 3 | 3 | 3 | 3 | 3 | 3 | 3 | 3 | 3 | 3 | 3 | 3 | 3 | 3 | 3 | 3 | 3 |
3 | 1,3 | 3,1 | 3,1 | 3,1 | 3,1 | 3,1 | 3,1 | 3,1 | 3,1 | 3,1 | 3,1 | 3,1 | 3,1 | 3,1 | 3,1 | 3,1 | 3,1 | 3,1 | 3,1 | 3,1 | 3,1 | 3,1 | 3,1 |
4 | 2,0 | 5 | 6 | 8 | 9 | 11 | 13 | 15 | 18 | 20 | 22 | 25 | 29 | 34 | 38 | 47 | 56 | 66 | 75 | 84 | 93 | 112 | 131 |
5 | 2,5 | 7 | 9 | 12 | 14 | 17 | 21 | 25 | 30 | 35 | 39 | 43 | 51 | 60 | 67 | 83 | 101 | 118 | 135 | 152 | 169 | 203 | 237 |
6 | 3,4 | 10 | 13 | 18 | 21 | 26 | 33 | 40 | 49 | 56 | 63 | 70 | 84 | 97 | 110 | 138 | 167 | 196 | 224 | 253 | 282 | 339 | 397 |
7 | 2,6 | 15 | 20 | 29 | 35 | 44 | 56 | 68 | 84 | 96 | 108 | 120 | 145 | 169 | 191 | 241 | 291 | 342 | 392 | 442 | 493 | 594 | 694 |
8 | 1,9 | 21 | 29 | 41 | 51 | 64 | 82 | 100 | 124 | 142 | 160 | 178 | 214 | 250 | 283 | 358 | 433 | 508 | 583 | 659 | 734 | 884 | 1035 |
9 | 1,1 | 27 | 37 | 54 | 67 | 84 | 108 | 132 | 164 | 188 | 212 | 236 | 284 | 332 | 376 | 475 | 575 | 675 | 775 | 875 | 975 | 1175 | 1375 |
Примечания 1. Допускаемое отклонение ширины отверстия 1 от расчетной - не более 0,1 мм, высоты: 0,2 мм - при  ; 0,4 мм - при  ; 0,8 мм - при  ; 1,5 мм - при  . 2. Допускается зазор между нижней точкой пробоотбора и нижней образующей трубопровода не более 5 мм. 3. Участки сопряжения верхних и нижних границ щелевого отверстия с боковыми границами допускается выполнять по линии с радиусом кривизны 0,2 - 1,0 ширины участков сопряжения указанных границ. |
Таблица Б.2
| | ИС МЕГАНОРМ: примечание. Обозначения даны в соответствии с официальным текстом документа. | |
Размеры в миллиметрах
| j | |  при внутреннем диаметре пробозаборной трубки  |
9, 10, 12, 13 | 15, 16, 17, 18 | 24, 25 | 30, 31, 32, 33 | 32, 33, 34 | 38, 40 |
Условный диаметр  трубопровода |
100 | 125 | 150 | 175 | 200 | 225 | 250 | 300 | 350 | 400 | 500 | 600 | 700 | 800 | 900 | 1000 | 1200 | 1400 |
Отверстие  | 1 | 4,0 | 0 | 0 | 0 | 0 | 0 | 0 | 0 | 0 | 0 | 0 | 0 | 0 | 0 | 0 | 0 | 0 | 0 | 0 |
2 | 4,0 | 3 | 3 | 3 | 3 | 3 | 3 | 3 | 3 | 3 | 3 | 3 | 3 | 3 | 3 | 3 | 3 | 3 | 3 |
3 | 1,2 | 3,1 | 3,1 | 3,1 | 3,1 | 3,1 | 3,1 | 3,1 | 3,1 | 3,1 | 3,1 | 3,1 | 3,1 | 3,1 | 3,1 | 3,1 | 3,1 | 3,1 | 3,1 |
4 | 1,5 | 5 | 5 | 6 | 7 | 7 | 8 | 8 | 9 | 10 | 11 | 13 | 15 | 17 | 20 | 21 | 24 | 28 | 32 |
5 | 1,9 | 8 | 10 | 11 | 13 | 15 | 16 | 18 | 21 | 24 | 27 | 33 | 39 | 45 | 52 | 58 | 64 | 77 | 89 |
6 | 2,5 | 11 | 14 | 16 | 20 | 22 | 25 | 27 | 32 | 40 | 41 | 52 | 62 | 72 | 82 | 92 | 103 | 123 | 143 |
7 | 3,3 | 16 | 20 | 24 | 29 | 33 | 36 | 40 | 48 | 55 | 62 | 78 | 93 | 109 | 125 | 141 | 156 | 188 | 219 |
Отверстие  | 8 | 3,3 | 25 | 31 | 37 | 45 | 52 | 58 | 65 | 77 | 90 | 102 | 129 | 153 | 176 | 202 | 227 | 252 | 303 | 354 |
9 | 3,2 | 31 | 39 | 47 | 57 | 65 | 73 | 82 | 98 | 113 | 128 | 164 | 194 | 223 | 255 | 288 | 320 | 385 | 449 |
10 | 3,0 | 37 | 46 | 56 | 68 | 78 | 88 | 99 | 118 | 137 | 155 | 198 | 235 | 270 | 309 | 349 | 388 | 466 | 544 |
Отверстие  | 11 | 2,9 | 43 | 55 | 66 | 81 | 93 | 104 | 117 | 140 | 162 | 184 | 235 | 279 | 321 | 368 | 414 | 461 | 554 | 648 |
12 | 2,9 | 46 | 59 | 71 | 87 | 99 | 111 | 125 | 150 | 174 | 197 | 252 | 299 | 344 | 394 | 444 | 494 | 594 | 694 |
13 | 2,8 | 49 | 62 | 76 | 92 | 105 | 118 | 133 | 159 | 185 | 210 | 269 | 319 | 367 | 420 | 474 | 527 | 634 | 740 |
Отверстие  | 14 | 2,8 | 59 | 75 | 91 | 110 | 125 | 141 | 159 | 190 | 220 | 250 | 321 | 381 | 438 | 502 | 566 | 629 | 757 | 884 |
15 | 2,7 | 61 | 78 | 95 | 116 | 133 | 149 | 168 | 201 | 234 | 266 | 340 | 404 | 465 | 533 | 600 | 668 | 803 | 939 |
16 | 2,6 | 64 | 82 | 99 | 123 | 141 | 158 | 178 | 213 | 247 | 281 | 360 | 427 | 492 | 563 | 635 | 707 | 850 | 993 |
Отверстие  | 17 | 2,6 | 80 | 104 | 125 | 154 | 176 | 198 | 223 | 268 | 311 | 354 | 453 | 538 | 619 | 710 | 800 | 890 | 1071 | 1252 |
18 | 2,4 | 82 | 105 | 128 | 157 | 180 | 202 | 228 | 273 | 317 | 360 | 462 | 548 | 631 | 723 | 816 | 908 | 1092 | 1276 |
19 | 2,3 | 85 | 109 | 132 | 160 | 183 | 206 | 232 | 278 | 323 | 367 | 471 | 559 | 643 | 737 | 831 | 925 | 1113 | 1301 |
Примечания 1. Допускаемое отклонение ширины отверстий  от расчетной - не более 0,1 мм, высоты: 0,2 мм - при  ; 0,4 мм - при  ; 0,8 мм - при  ; 1,5 мм - при  . 2. Допускается зазор между нижней точкой пробоотбора и нижней образующей трубопровода не более 5 мм. 3. Участки сопряжения верхних и нижних границ щелевых отверстий с боковыми границами допускается выполнять по линии с радиусом кривизны 0,2 - 1,0 ширины участков сопряжения указанных границ. |
(обязательное)
Параметры диспергатора в соответствии с
рисунком А.19 указаны в таблице В.1.
Таблица В.1
В миллиметрах
| | | | | | | L | | | | | | | h | b |
40 | 15 - 20 | 3 - 5 | 25 - 30 | 9 | 3 | 6 | 200 - 220 | 1,8 - 2 | 50 | 5 | 5 | 0 - 5 | 0 - 5 | 3 | 23 |
50 | 25 - 30 | 3 - 5 | 35 - 40 | 9 | 3 | 6 | 200 - 220 | 1,8 - 2 | 50 | 5 | 5 | 0 - 5 | 0 - 5 | 3 | 23 |
Примечания 1. Допускается: b = 13 мм - при условном давлении в обводной линии не более 1,6 МПа; b = 17 мм - при условном давлении в обводной линии не более 4,0 МПа. 2. При диаметре обводной линии менее 40 мм для монтажа диспергатора на обводной линии устанавливают переходы на диаметр, равный  . |
(обязательное)
РАСЧЕТ ПАРАМЕТРОВ СТАБИЛИЗАТОРА ЩЕЛЕВОГО
ПРОБОЗАБОРНОГО УСТРОЙСТВА
Расчет параметров поверхности C стабилизатора
(рисунок А.20) производится по точкам, проекция которых на плоскость

является параболой второй степени с параметрами

и

(k = 1, ..., 11), мм, определяемыми по формулам:
- для трубопровода, условный диаметр

которого равен или больше 350 мм:

(Г.1)
где

- внутренний диаметр пробозаборной трубки, мм, индекс k изменяется от 1 до 11;
- для трубопровода, условный диаметр

которого меньше 350 мм:

(Г.2)
Примечания
1. Диаметр

пробозаборной трубки выбирают в зависимости от диаметра

трубопровода (Приложение Б,
табл. Б.1 и
Б.2).
2. Высота стабилизатора (совпадающая со значением

) может отличаться от расчетной не более чем на 3 мм.
3. Допуск на шероховатость Ra поверхности C стабилизатора: Ra < 0,1 мм.
Примеры
1. Рассчитать параметры

и

поверхности C стабилизатора при условном диаметре

трубопровода, равном 700 мм, внутреннем диаметре

пробозаборной трубки, равном 32 мм.
Поскольку

, для определения параметров

и

пользуемся
формулами (Г.1). Результаты расчетов сводим в таблицу Г.1.
Таблица Г.1
k | 1 | 2 | 3 | 4 | 5 | 6 | 7 | 8 | 9 | 10 | 11 |
| 0,0 | 12,2 | 24,4 | 36,6 | 48,8 | 61,0 | 73,2 | 85,4 | 97,6 | 109,8 | 122,0 |
| 31,8 | 22,1 | 18,0 | 14,9 | 12,3 | 10,0 | 7,9 | 6,0 | 4,3 | 2,6 | 1,0 |
2. Рассчитать параметры

и

поверхности C стабилизатора при условном диаметре

трубопровода, равном 250 мм, внутреннем диаметре

пробозаборной трубки, равном 17 мм.
Поскольку

, для определения параметров

и

пользуемся
формулами (Г.2). Результаты расчетов сводим в таблицу Г.2.
Таблица Г.2
k | 1 | 2 | 3 | 4 | 5 | 6 | 7 | 8 | 9 | 10 | 11 |
| 0,0 | 8,7 | 17,4 | 26,1 | 34,8 | 43,6 | 52,3 | 61,0 | 69,7 | 78,4 | 87,0 |
| 16,8 | 11,8 | 9,7 | 8,1 | 6,8 | 5,6 | 4,6 | 3,6 | 2,7 | 1,8 | 1,0 |
| EH 166:2001 (EN 166:2001) | Средства индивидуальной защиты глаз. Общие технические требования (Personal eye protection - Specifications). |