Главная // Актуальные документы // ГОСТ (Государственный стандарт)СПРАВКА
Источник публикации
В данном виде документ опубликован не был.
Первоначальный текст документа опубликован в издании
М.: ИПК Издательство стандартов, 2011.
Информацию о публикации документов, создающих данную редакцию, см. в справке к этим документам.
Примечание к документу
Документ включен в Перечень международных и региональных (межгосударственных) стандартов (
п. п. 46,
216), а в случае их отсутствия - национальных (государственных) стандартов, содержащих правила и методы исследований (испытаний) и измерений, в том числе правила отбора образцов, необходимые для применения и исполнения требований технического
регламента Таможенного союза "О требованиях к автомобильному и авиационному бензину, дизельному и судовому топливу, топливу для реактивных двигателей и мазуту" (ТР ТС 013/2011) и осуществления оценки соответствия объектов технического регулирования (
Решение Коллегии Евразийской экономической комиссии от 15.08.2023 N 114).
Документ включен в
Перечень международных и региональных (межгосударственных) стандартов, а в случае их отсутствия - национальных (государственных) стандартов, содержащих правила и методы исследований (испытаний) и измерений, в том числе правила отбора образцов, необходимые для применения и исполнения требований технического
регламента Евразийского экономического союза "О безопасности нефти, подготовленной к транспортировке и (или) использованию" (ТР ЕАЭС 045/2017) и осуществления оценки соответствия объектов технического регулирования (
Решение Коллегии Евразийской экономической комиссии от 24.07.2018 N 118).
Документ включен в
Перечень стандартов, содержащих правила и методы исследований (испытаний) и измерений, в том числе правила отбора образцов, необходимые для применения и исполнения требований технического
регламента Таможенного союза "О требованиях к автомобильному и авиационному бензину, дизельному и судовому топливу, топливу для реактивных двигателей и мазуту" (ТР ТС 013/2011) и осуществления оценки соответствия объектов технического регулирования (
Решение Комиссии Таможенного союза от 18.10.2011 N 826).
Документ включен в
Перечень национальных стандартов, содержащих правила и методы исследований (испытаний) и измерений, в том числе правила отбора образцов, необходимые для применения и исполнения технического
регламента "О требованиях к автомобильному и авиационному бензину, дизельному и судовому топливу, топливу для реактивных двигателей и топочному мазуту" и осуществления оценки соответствия (
Распоряжение Правительства РФ от 19.08.2009 N 1191-р).
С 01.07.2003 до вступления в силу технических регламентов акты федеральных органов исполнительной власти в сфере технического регулирования носят рекомендательный характер и подлежат обязательному исполнению только в части, соответствующей целям, указанным в
п. 1 ст. 46 Федерального закона от 27.12.2002 N 184-ФЗ.
Текст данного документа приведен с учетом
поправки, введенной в действие с 25.03.2022, опубликованной в "ИУС", N 5, 2022.
Взамен ГОСТ 1756-52.
Название документа
"ГОСТ 1756-2000 (ИСО 3007-99). Межгосударственный стандарт. Нефтепродукты. Определение давления насыщенных паров"
(введен в действие Постановлением Госстандарта России от 03.11.2000 N 286-ст)
(ред. от 22.10.2020)
"ГОСТ 1756-2000 (ИСО 3007-99). Межгосударственный стандарт. Нефтепродукты. Определение давления насыщенных паров"
(введен в действие Постановлением Госстандарта России от 03.11.2000 N 286-ст)
(ред. от 22.10.2020)
комитета Российской Федерации
по стандартизации и метрологии
от 3 ноября 2000 г. N 286-ст
МЕЖГОСУДАРСТВЕННЫЙ СТАНДАРТ
НЕФТЕПРОДУКТЫ
ОПРЕДЕЛЕНИЕ ДАВЛЕНИЯ НАСЫЩЕННЫХ ПАРОВ
Petroleum products. Determination of saturated vapours
pressure
ГОСТ 1756-2000
(ИСО 3007-99)
| | Список изменяющих документов Росстандарта от 22.10.2020 N 895-ст) | |
(в ред.
Изменения N 1, введенного в действие Приказом Росстандарта от 22.10.2020 N 895-ст)
Дата введения
1 июля 2001 года
1 РАЗРАБОТАН Техническим комитетом 31 "Нефтяные топлива и смазочные материалы"
ВНЕСЕН Госстандартом России
2 ПРИНЯТ Межгосударственным Советом по стандартизации, метрологии и сертификации N 17-2000 от 22 июня 2000 г.
За принятие голосовали:
Наименование государства | Наименование национального органа по стандартизации |
Азербайджанская Республика | Азгосстандарт |
Республика Армения | Армгосстандарт |
Республика Беларусь | Госстандарт Республики Беларусь |
Грузия | Грузстандарт |
Республика Молдова | Молдовастандарт |
Российская Федерация | Госстандарт России |
Республика Таджикистан | Таджикгосстандарт |
Туркменистан | Главгосинспекция "Туркменстандартлары" |
Республика Узбекистан | Узгосстандарт |
3 Настоящий стандарт является модифицированным по отношению к международному стандарту ИСО 3007:1999 "Нефтепродукты и сырая нефть. Определение давления паров. Метод Рейда" (ISO 3007:1999 "Petroleum products and crude petroleum - Determination of vapour pressure - Reid method", MOD) путем включения дополнительных фраз, которые выделены в тексте курсивом.
Наименование настоящего стандарта изменено относительно наименования указанного международного стандарта для приведения в соответствие с ГОСТ 1.5
(подраздел 3.6).
Сведения о соответствии ссылочного межгосударственного стандарта международному стандарту, использованному в качестве ссылочного в примененном международном стандарте, приведены в дополнительном
приложении ДА.
(п. 3 в ред.
Изменения N 1, введенного в действие Приказом Росстандарта от 22.10.2020 N 895-ст)
4
Постановлением Государственного комитета Российской Федерации по стандартизации, метрологии от 3 ноября 2000 г. N 286-ст межгосударственный стандарт ГОСТ 1756-2000 введен в действие непосредственно в качестве государственного стандарта Российской Федерации
5 ВЗАМЕН ГОСТ 1756-52
Настоящий стандарт устанавливает метод определения абсолютного давления насыщенных паров нефти, содержащей летучие компоненты, с давлением насыщенных паров более 10 кПа, и невязких нефтепродуктов, содержащих летучие компоненты, кроме сжиженных углеводородных газов, давление насыщенных паров которых определяют по
ГОСТ ISO 4256.
(в ред.
Изменения N 1, введенного в действие Приказом Росстандарта от 22.10.2020 N 895-ст)
Стандарт не распространяется на топлива с кислородсодержащими соединениями, смешивающиеся с водой (типа низших спиртов).
Так как внешнее атмосферное давление нейтрализуется начальным атмосферным давлением в воздушной камере, давление насыщенных паров по Рейду является приблизительно абсолютным давлением насыщенных паров испытуемого продукта при 37,8 °C в кПа (барах) (кПа = 1 кН/м2 = 0,01 бар). Давление насыщенных паров по Рейду отличается от истинного давления насыщенных паров пробы вследствие незначительного испарения пробы и присутствия водяных паров и воздуха в ограниченном пространстве.
(в ред.
Изменения N 1, введенного в действие Приказом Росстандарта от 22.10.2020 N 895-ст)
Прецизионность определения давления насыщенных паров нефти не установлена.
(абзац введен
Изменением N 1, введенным в действие Приказом Росстандарта от 22.10.2020 N 895-ст)
Абзац исключен с 01.07.2021. -
Изменение N 1, введенное в действие Приказом Росстандарта от 22.10.2020 N 895-ст.
(раздел 2 в ред.
Изменения N 1, введенного в действие Приказом Росстандарта от 22.10.2020 N 895-ст)
В настоящем стандарте использованы нормативные ссылки на следующие межгосударственные стандарты:
ГОСТ 8.417 Государственная система обеспечения единства измерений. Единицы величин
ГОСТ 400 Термометры стеклянные для испытаний нефтепродуктов. Технические условия
ГОСТ 2405 Манометры, вакуумметры, мановакуумметры, напоромеры, тягомеры и тягонапоромеры. Общие технические условия
ГОСТ 2517 Нефть и нефтепродукты. Методы отбора проб
ГОСТ ISO 4256 Газы углеводородные сжиженные. Определение манометрического давления паров. Метод СУГ
ГОСТ 5789 Реактивы. Толуол. Технические условия
ГОСТ 31873 Нефть и нефтепродукты. Методы ручного отбора проб
Примечание - При пользовании настоящим стандартом целесообразно проверить действие ссылочных стандартов и классификаторов на официальном интернет-сайте Межгосударственного совета по стандартизации, метрологии и сертификации (www.easc.by) или по указателям национальных стандартов, издаваемым в государствах, указанных в предисловии, или на официальных сайтах соответствующих национальных органов по стандартизации. Если на документ дана недатированная ссылка, то следует использовать документ действующий на текущий момент, с учетом всех внесенных в него изменений. Если заменен ссылочный документ, на который дана датированная ссылка, то следует использовать указанную версию этого документа. Если после принятия настоящего стандарта в ссылочный документ, на который дана датированная ссылка, внесено изменение, затрагивающее положение, на которое дана ссылка, то это положение применяется без учета данного изменения. Если ссылочный документ отменен без замены, то положение, в котором дана ссылка на него, применяется в части, не затрагивающей эту ссылку.
3.1. Жидкостную камеру аппарата наполняют охлажденной пробой испытуемого продукта и подсоединяют к воздушной камере при температуре 37,8 °C. Аппарат погружают в баню с температурой (37,8 +/- 0,1) °C и периодически встряхивают до достижения постоянного давления, которое показывает манометр, соединенный с аппаратом. Показание манометра, скорректированное соответствующим образом, принимают за давление насыщенных паров по Рейду.
3.2. Метод предусматривает испытание следующих продуктов:
- частично насыщенных воздухом и имеющих давление насыщенных паров по Рейду ниже 180 кПа (
разделы 4 -
9 и
17);
- не насыщенных воздухом и имеющих давление насыщенных паров по Рейду выше 180 кПа (
разделы 10 -
15 и
17), а также продуктов с более узким диапазоном определяемых свойств при измерении давления насыщенных паров авиационных бензинов (
разделы 16 и
17).
(в ред.
Изменения N 1, введенного в действие Приказом Росстандарта от 22.10.2020 N 895-ст)
Конструкция требуемой аппаратуры приведена в
Приложении A. Для проб с давлением насыщенных паров ниже 180 кПа применяют жидкостную камеру с одним отверстием
(A.1.2), для проб с давлением насыщенных паров выше 180 кПа - жидкостную камеру с двумя отверстиями
(A.1.3). Для проб, имеющих давление насыщенных паров по Рейду ниже 180 кПа, может быть использован манометр с установкой первоначального давления
(Приложение B).
(в ред.
Изменения N 1, введенного в действие Приказом Росстандарта от 22.10.2020 N 895-ст)
Допускается применять полуавтоматические и автоматические приборы, включая анализаторы с горизонтальными банями, обеспечивающие получение результатов с точностью не ниже установленной в настоящем стандарте.
(абзац введен
Изменением N 1, введенным в действие Приказом Росстандарта от 22.10.2020 N 895-ст)
5.1. Общие требования
Пробы для определения давления насыщенных паров должны соответствовать требованиям 5.2 -
5.6, кроме проб с давлением насыщенных паров выше 180 кПа (см.
раздел 10). Высокая чувствительность метода к потерям при испарении и незначительном изменении состава требует предельной точности и тщательного внимания при подготовке проб.
(в ред.
Изменения N 1, введенного в действие Приказом Росстандарта от 22.10.2020 N 895-ст)
5.2. Отбор проб
(в ред.
Изменения N 1, введенного в действие Приказом Росстандарта от 22.10.2020 N 895-ст)
Контейнер для отбора пробы вместимостью 1 дм3 должен быть заполнен пробой на 70% - 80%.
(в ред.
Изменения N 1, введенного в действие Приказом Росстандарта от 22.10.2020 N 895-ст)
5.4. Подготовка пробы
Контейнер с пробой перед открыванием охлаждают до температуры от 0 °C до 1 °C (при испытаниях нефти и нефтепродуктов с температурой застывания выше минус 2 °C температура термостатирования на 3 °C выше температуры застывания).
(в ред.
Изменения N 1, введенного в действие Приказом Росстандарта от 22.10.2020 N 895-ст)
Давление насыщенных паров по Рейду определяют на вновь отобранной пробе.
При переносе пробы из больших контейнеров или отбора пробы для других испытаний используют способ, указанный на рисунке 1.
а - контейнер с пробой; б - контейнер с устройством
для переноса пробы; в - жидкостная камера, помещенная
над контейнером, с устройством для переноса пробы;
г - положение системы при переносе пробы
1 - жидкость; 2 - пар; 3 - устройство для переноса
охлажденной пробы; 4 - охлажденная жидкостная камера;
5 - охлажденная проба
Рисунок 1 - Способ переноса пробы в жидкостную камеру
из контейнеров открытого типа
Внутренний диаметр трубок устройства для переноса охлажденной пробы должен быть таким, чтобы жидкостная камера бомбы Рейда заполнялась не более чем за 2 мин.
(абзац введен
Изменением N 1, введенным в действие Приказом Росстандарта от 22.10.2020 N 895-ст)
5.6. Меры предосторожности
После отбора пробу следует как можно скорее поместить в холодное место и хранить там до конца испытания.
Пробы в контейнерах, которые дали утечку, не пригодны для испытаний, их следует отбросить и взять новые.
6.1. Насыщение пробы воздухом в контейнере
Ставят пробу в контейнере в холодную водяную баню или холодильник.
Контейнер с пробой при температуре 0 °C - 1 °C вынимают из охлаждающей водяной бани или холодильника, открывают и проверяют содержание жидкости, которая должна составлять 70% - 80% вместимости контейнера. Правильно заполненный контейнер закрывают, энергично встряхивают и снова помещают в охлаждающую водяную баню или равноценный холодильник.
(в ред.
Изменения N 1, введенного в действие Приказом Росстандарта от 22.10.2020 N 895-ст)
Примечание - Время, необходимое для охлаждения пробы до температуры 0 °C - 1 °C, определяют при каждом испытании путем измерения температуры аналогичной жидкости в аналогичном контейнере, помещенном в ту же самую охлаждающую баню одновременно с пробой.
6.2. Подготовка жидкостной камеры
Открытую жидкостную камеру и соединительное устройство для переноса пробы полностью погружают в водяную охлаждающую баню или холодильник на время, достаточное для достижения в камере и переходнике температуры бани 0 °C - 1 °C.
(в ред.
Изменения N 1, введенного в действие Приказом Росстандарта от 22.10.2020 N 895-ст)
6.3. Подготовка воздушной камеры
Продувают и промывают воздушную камеру и манометр в соответствии с
7.5 и присоединяют манометр к воздушной камере. Воздушную камеру непосредственно перед ее соединением с жидкостной камерой погружают в водяную баню с температурой (37,8 +/- 0,1) °C
(примечание 1 к 7.5) на глубину не менее 25 мм от поверхности камеры и выдерживают не менее 10 мин. Не допускается вынимать воздушную камеру из бани до наполнения жидкостной камеры пробой.
(в ред.
Изменения N 1, введенного в действие Приказом Росстандарта от 22.10.2020 N 895-ст)
Охлажденный контейнер с пробой вынимают из бани
или холодильника, открывают и вставляют в него охлажденное устройство для переноса пробы
(рисунок 1).
Охлажденную жидкостную камеру быстро опорожняют и надевают ее на трубку устройства для переноса пробы. Эту систему (контейнер, трубка и жидкостная камера) быстро переворачивают, чтобы жидкостная камера оказалась в вертикальном положении на одной оси с трубкой устройства для переноса пробы, которая должна находиться в жидкостной камере на расстоянии 6 мм от дна камеры.
Жидкостную камеру наполняют пробой до краев. Слегка постукивают по жидкостной камере для удаления из пробы воздушных пузырьков. Если уровень пробы уменьшается, камеру снова доливают до краев.
7.2.1. В жидкостную камеру добавляют избыток пробы до перелива.
7.2.2. Вынимают воздушную камеру из водяной бани с температурой 37,8 °C
(6.3).
7.2.3. Воздушную и жидкостную камеры соединяют за возможно короткий период времени. Полная сборка аппаратуры после наполнения жидкостной камеры должна быть произведена не более чем за 20 с.
7.2.4. Исключен с 01.07.2021. -
Изменение N 1, введенное в действие Приказом Росстандарта от 22.10.2020 N 895-ст.
7.3. Установка аппаратуры в баню
Собранный аппарат для определения давления насыщенных паров переворачивают вверх дном для переливания пробы из жидкостной в воздушную камеру и энергично встряхивают в направлении, параллельном оси аппарата. Затем переворачивают аппарат обратно и погружают в баню, отрегулированную на температуру (37,8 +/- 0,1) °C, в наклонном положении так, чтобы переходник жидкостной и воздушной камер располагался ниже уровня воды в бане и можно было бы определить утечку.
(в ред.
Изменения N 1, введенного в действие Приказом Росстандарта от 22.10.2020 N 895-ст)
Если утечки не наблюдается, аппарат погружают не менее чем на 25 мм выше поверхности воздушной камеры. За утечкой из аппарата наблюдают в течение всего испытания. Если в течение испытания обнаруживают утечку, пробу отбрасывают и испытание проводят на свежей пробе.
(в ред.
Изменения N 1, введенного в действие Приказом Росстандарта от 22.10.2020 N 895-ст)
Примечание - Утечку жидкости обнаружить труднее, чем утечку пара, так как неоднократно используемый переходник расположен обычно в жидкости, заполняющей аппарат; это требует особого внимания.
7.4. Измерение давления насыщенных паров
(в ред.
Изменения N 1, введенного в действие Приказом Росстандарта от 22.10.2020 N 895-ст)
Выдерживают собранный аппарат в погруженном состоянии в течение 5 мин, слегка постукивая манометр, и снимают показание.
Во избежание охлаждения как можно быстрее вынимают аппарат из бани, опрокидывают, энергично встряхивают и снова помещают в баню. Для обеспечения условий равновесия повторяют перемешивание и снимают показания прибора не менее пяти раз с интервалами не менее 2 мин, пока два последовательных показания не будут идентичны.
На эти операции уходит 20 - 30 мин. Снимают окончательное показание манометра с точностью до 0,25 кПа для манометра с ценой деления 0,5 кПа, и с точностью 0,5 кПа - для манометра с ценой деления 1,0 - 2,5 кПа; отмечают это значение как "нескорректированное давление" насыщенных паров испытуемой пробы. Манометр сразу снимают и проверяют его показание по манометру, показывающему давление насыщенных паров по Рейду.
(в ред.
Изменения N 1, введенного в действие Приказом Росстандарта от 22.10.2020 N 895-ст)
Допускается применять другие средства измерений утвержденного типа по метрологическим характеристикам не уступающие приведенным, обеспечивающие измерение давления (разрежения).
(абзац введен
Изменением N 1, введенным в действие Приказом Росстандарта от 22.10.2020 N 895-ст)
Допускается проводить испытания без сличения с деформационным образцовым манометром. В этом случае не реже 1 раза в квартал проверяют аппарат с испытанием не менее двух типов стандартных образцов.
(в ред.
Изменения N 1, введенного в действие Приказом Росстандарта от 22.10.2020 N 895-ст)
В нескорректированное давление насыщенных паров вносят поправку (раздел 17). За результат испытания принимают среднеарифметическое значение двух определений.
(в ред.
Изменения N 1, введенного в действие Приказом Росстандарта от 22.10.2020 N 895-ст)
7.5. Подготовка аппаратуры для следующего испытания
Отсоединяют воздушную и жидкостную камеры и манометр
(примечание 1). Из манометра Бурдона выливают оставшуюся жидкость следующим образом: манометр кладут между ладонями рук, держа правую руку на лицевой стороне манометра и резьбовым соединением манометра вперед. Руки с манометром протягивают вперед и вверх под углом 45 ° и по дуге приблизительно 135 ° с помощью центробежной силы и силы тяжести удаляют оставшуюся жидкость. Это действие повторяют три раза до удаления всей жидкости. Манометр прочищают, пропуская не менее 5 мин слабую струю воздуха через трубку манометра Бурдона.
Воздушную камеру с оставшейся пробой тщательно промывают, наполняя ее теплой водой (выше 32 °C) и оставляют для просушки (примечание 2). Промывку повторяют не менее пяти раз. После тщательного удаления предыдущей пробы из жидкостной камеры ее погружают в охлаждающую баню до следующего испытания.
Примечания
1. При испытании нефти необходимо перед каждым испытанием промыть все оборудование легким растворителем, предпочтительно толуолом
по ГОСТ 5789.
(в ред.
Изменения N 1, введенного в действие Приказом Росстандарта от 22.10.2020 N 895-ст)
2. Если воздушную камеру очищают в ванне, следует избегать небольших незаметных пленок плавающей пробы, держа закрытыми верхнее и нижнее отверстия камер при прохождении через поверхность воды.
7.6. Использование ртутного манометра для измерения давления насыщенных паров продуктов с давлением насыщенных паров по Рейду менее 180 кПа
(в ред.
Изменения N 1, введенного в действие Приказом Росстандарта от 22.10.2020 N 895-ст)
7.6.1. Перенос пробы
Переносят пробу, как указано в
7.1.
7.6.2. Сборка аппаратуры
Собирают аппараты, как указано в
7.2, проверяют, чтобы игольчатый клапан на воздушной камере плотно закрывался, прикрепляют шланг манометра на верхнем переходнике воздушной камеры и соблюдают последовательность операций по
7.2.
7.6.3. Установка аппаратуры в баню
Устанавливают аппаратуру в баню, как указано в
7.3.
7.6.4. Предварительная установка давления манометра
После погружения аппарата в баню для определения давления насыщенных паров и проверки его на утечку, как указано в
7.3, предварительно устанавливают давление манометра и гибкого шланга на предполагаемое давление насыщенных паров пробы (см. примечание) и записывают значение "Начальная настройка манометра". Пока пробу приводят в равновесие, как указано в
7.6.6, наблюдают за манометром, чтобы проверить на утечку комплект манометра. Любое изменение в начальной настройке манометра указывает на утечку, при этом аппарат отсоединяют и подсоединяют к другому манометру.
(в ред.
Изменения N 1, введенного в действие Приказом Росстандарта от 22.10.2020 N 895-ст)
Примечание - С целью герметизации и во избежание необходимости последовательных определений сведения о предполагаемом давлении насыщенных паров очень полезны.
(в ред.
Изменения N 1, введенного в действие Приказом Росстандарта от 22.10.2020 N 895-ст)
На идентификационной марке пробы должен быть указан уровень давления насыщенных паров (где возможно). Полезно сохранить перечень значений давления насыщенных паров образцов, анализируемых в повседневных испытаниях.
(в ред.
Изменения N 1, введенного в действие Приказом Росстандарта от 22.10.2020 N 895-ст)
7.6.5. Измерение давления насыщенных паров
(в ред.
Изменения N 1, введенного в действие Приказом Росстандарта от 22.10.2020 N 895-ст)
Погружают аппараты в баню на 5 мин. Если не будет обнаружена утечка, осторожно вынимают из бани аппаратуру. В возможно короткий период, не открывая клапан, переворачивают аппарат, встряхивают сильно по всей оси и ставят обратно в баню. Повторяют операцию изъятия и встряхивания после следующих 5 мин в возможно короткий срок, затем снова ставят аппарат в баню. По истечении 2 мин или более открывают клапан, регистрируют показание манометра. Закрывают клапан, убирают аппарат из бани и повторяют встряхивание и погружение. Снимают показания манометра через каждые 2 мин, пока два последовательных показания не будут постоянными, чтобы гарантировать достижение равновесия. Эти операции обычно требуют 20 - 30 мин.
(в ред.
Изменения N 1, введенного в действие Приказом Росстандарта от 22.10.2020 N 895-ст)
Снимают конечное показание давления манометра с точностью 1 кПа и регистрируют значение как "Постоянное показание манометра" для испытуемой пробы.
7.6.6. Исключен с 01.07.2021. -
Изменение N 1, введенное в действие Приказом Росстандарта от 22.10.2020 N 895-ст.
7.6.7. Подготовка аппаратуры для следующего анализа
Отсоединяют шланг манометра, воздушную и жидкостную камеры. Удаляют переходник из воздушной камеры и при открытом клапане продувают воздухом не менее 5 мин. Промывают воздушную камеру струей теплой воды не менее 1 мин или заполняют и сливают теплую воду не менее пяти раз. После удаления предыдущего образца из жидкостной камеры последнюю промывают холодной водой и погружают в охлажденную баню или холодильник для подготовки к следующему испытанию.
При измерении давления насыщенных паров необходимо строго соблюдать предписанные действия. Особую важность имеют действия, приведенные в 8.1 -
8.8.
(в ред.
Изменения N 1, введенного в действие Приказом Росстандарта от 22.10.2020 N 895-ст)
После каждого испытания все манометры проверяют по деформационному манометру для обеспечения высокой точности результатов
(7.4), следя за тем, чтобы перед снятием показаний манометры находились в вертикальном положении.
(в ред.
Изменения N 1, введенного в действие Приказом Росстандарта от 22.10.2020 N 895-ст)
8.2. Насыщение пробы воздухом
Контейнер для пробы открывают и закрывают сразу после достижения температуры содержимого 0 °C - 1 °C. Контейнер энергично встряхивают для равновесия пробы с воздухом в контейнере
(6.1).
(в ред.
Изменения N 1, введенного в действие Приказом Росстандарта от 22.10.2020 N 895-ст)
8.3. Проверка на утечку
Перед испытанием и во время его проведения проверяют всю аппаратуру на утечку жидкости и пара (см.
A.1.6 и
примечание к 7.3).
8.4. Отбор проб
Поскольку первичный отбор и подготовка проб будут существенно влиять на конечные результаты, необходимо принять меры предосторожности для предотвращения потерь от испарения и небольшого изменения состава проб (см.
5 и
7.1).
Не допускается использовать какую-либо часть аппарата Рейда в качестве контейнера для пробы перед проведением испытания.
8.5. Очистка аппарата
Манометр и жидкостную камеру тщательно очищают от остатков пробы в конце предварительного испытания (см.
7.5).
8.6. Сборка аппарата
Точно соблюдают требования
7.2.
8.7. Встряхивание аппарата
Аппарат энергично встряхивают, как указано в
7.4, для обеспечения равновесных условий.
8.8. Контроль температуры
Температура охлаждающей водяной бани
(A.3) и водяной бани
(A.4) должна быть постоянной в течение испытания.
Окончательное значение, зарегистрированное в
7.4 или
7.6, записывают как давление насыщенных паров по Рейду в килопаскалях с точностью до 0,25 кПа для значений 100 кПа и ниже и с точностью 0,5 кПа для значений выше 100 кПа без ссылки на температуру. Порядок расчета приведен в
разделе 17.
(в ред.
Изменения N 1, введенного в действие Приказом Росстандарта от 22.10.2020 N 895-ст)
За результат испытаний принимают среднеарифметическое значение двух определений.
(абзац введен
Изменением N 1, введенным в действие Приказом Росстандарта от 22.10.2020 N 895-ст)
10 Особенности метода для продуктов с давлением насыщенных паров по Рейду выше 180 кПа
(в ред.
Изменения N 1, введенного в действие Приказом Росстандарта от 22.10.2020 N 895-ст)
Для продуктов с давлением насыщенных паров выше 180 кПа метод, описанный в
разделах 5 -
8, является неточным и рискованным.
Разделы 11 -
15 определяют изменения в методе для этих продуктов. Кроме специально установленных случаев, необходимо следовать всем требованиям
разделов 1 -
9 и
17.
(в ред.
Изменения N 1, введенного в действие Приказом Росстандарта от 22.10.2020 N 895-ст)
Примечание - Метод насыщения воздухом следует использовать в случае необходимости установления, имеет ли продукт давление насыщенных паров свыше 180 кПа.
(в ред.
Изменения N 1, введенного в действие Приказом Росстандарта от 22.10.2020 N 895-ст)
11.1. Бомба
(Приложение A), имеющая жидкостную камеру с двумя отверстиями.
(в ред.
Изменения N 1, введенного в действие Приказом Росстандарта от 22.10.2020 N 895-ст)
11.2. Калибровка манометра
Для проверки показаний прибора свыше 180 кПа можно использовать прибор с весовой нагрузкой или образцовый деформационный манометр
(A.7). В
7.4,
8.1 и
разделе 9 вместо слов "манометр" и "показание манометра" используют слова "прибор с весовой нагрузкой" и "показание калиброванного измерительного прибора" соответственно.
(в ред.
Изменения N 1, введенного в действие Приказом Росстандарта от 22.10.2020 N 895-ст)
12.1. Не следует соблюдать требования
5.3 -
5.5.
12.2. Вместимость контейнера, из которого берут пробу для определения давления насыщенных паров, должна быть не менее 0,5 дм3.
(в ред.
Изменения N 1, введенного в действие Приказом Росстандарта от 22.10.2020 N 895-ст)
13 Подготовка к испытанию
13.1. Не следует соблюдать требования
6.1 и
6.2.
13.2. При переливании испытуемой пробы из контейнера следует применять любой надежный метод, обеспечивающий наполнение жидкостной камеры охлажденной пробой, не подвергавшейся атмосферным влияниям. Переливание посредством парциального давления - по 13.3 -
13.5 и
разделу 14.
13.3. Контейнер с пробой выдерживают при температуре достаточно высокой, чтобы сохранить избыточное давление, но не выше 37,8 °C.
13.4. Жидкостную камеру с двумя открытыми клапанами полностью погружают в баню с водяным охлаждением или холодильник на период времени, достаточный для получения температуры бани от 0 °C до 4,5 °C.
(в ред.
Изменения N 1, введенного в действие Приказом Росстандарта от 22.10.2020 N 895-ст)
13.5. К выпускному клапану контейнера с пробой присоединяют змеевик ледяного охлаждения.
Примечание - Соответствующий змеевик ледяного охлаждения можно приготовить погружением медной спиральной трубки диаметром 6 мм и длиной 800 мм в ведро с ледяной водой.
14.1. Не следует соблюдать требования
7.1 и
7.2.
14.2. 6-мм клапан охлажденной жидкостной камеры присоединяют к змеевику ледяного охлаждения. При закрытом 13-мм клапане жидкостной камеры открывают выпускной клапан контейнера с пробой и 6-мм клапан жидкостной камеры. 13-мм клапан жидкостной камеры слегка приоткрывают и жидкостную камеру медленно наполняют. Камеру заполняют пробой с избытком объемом 200 см3 или более. Этот процесс контролируют так, чтобы не произошло падение давления на 6-мм клапане жидкостной камеры.
В указанной последовательности закрывают 13- и 6-мм клапаны жидкостной камеры, затем закрывают все другие клапаны системы с пробой. Отсоединяют жидкостную камеру и охлаждающий змеевик.
Меры предосторожности.
Для устранения утечки жидкости и пара в процессе испытания следует соблюдать меры предосторожности. Чтобы предотвратить разрыв вследствие переполнения жидкостной камеры, ее следует быстро присоединить к воздушной камере с открытым 13-мм клапаном.
14.3. Жидкостную камеру сразу же присоединяют к воздушной и открывают 13-мм клапан жидкостной камеры.
Сборка аппарата после наполнения жидкостной камеры не должна превышать 25 с, при этом:
1) снимают показания начальной температуры или удаляют воздушную камеру из водяной бани;
2) воздушную камеру присоединяют к жидкостной;
3) открывают 13-мм клапан жидкостной камеры.
Устанавливают аппаратуру в баню, как указано в 7.3, и измеряют давление насыщенных паров, как указано в 7.4.
(абзац введен
Изменением N 1, введенным в действие Приказом Росстандарта от 22.10.2020 N 895-ст)
14.4. Если используют прибор с весовой нагрузкой или образцовый деформационный манометр, к "нескорректированному давлению" насыщенных паров применяют поправочный коэффициент, выраженный в килопаскалях, установленный для измерительного прибора (манометра) при "нескорректированном давлении" насыщенных паров, отмечая показание, найденное как показание калиброванного прибора, которое должно быть использовано в соответствии с
разделом 9 вместо показания манометра.
Устанавливают аппаратуру в баню, как указано в 7.3, и измеряют давление насыщенных паров по 7.4, исключив при этом встряхивание.
(в ред.
Изменения N 1, введенного в действие Приказом Росстандарта от 22.10.2020 N 895-ст)
Не следует соблюдать меры предосторожности, указанные в
8.2.
16 Особенности метода для авиационного бензина с давлением насыщенных паров по Рейду 50 кПа
16.1. Общие положения
Последующие пункты определяют особенности в методе при определении давления насыщенных паров авиационного бензина. Если не оговорено особо, следует соблюдать все требования, установленные в
разделах 1 -
9 и
17.
Устанавливают аппаратуру в баню, как указано в 7.3, и измеряют давление насыщенных паров, как указано в 7.4.
(в ред.
Изменения N 1, введенного в действие Приказом Росстандарта от 22.10.2020 N 895-ст)
16.2. Отношение объемов воздушной и жидкостной камер
16.3. Баня водяного охлаждения
В бане водяного охлаждения следует поддерживать температуру от 0 °C до 1 °C
(A.3).
(в ред.
Изменения N 1, введенного в действие Приказом Росстандарта от 22.10.2020 N 895-ст)
16.4. Проверка измерительного прибора
Перед каждым измерением давления насыщенных паров измерительный прибор проверяют с точностью 50 кПа для обеспечения требований
A.2. Эту предварительную проверку проводят дополнительно к окончательному сравнению измерительного прибора в соответствии с
7.4.
Используют образцовый манометр или грузо-поршневой манометр, имеющий диапазон, подходящий для проверки используемого манометра. Шкала должна быть градуирована через интервалы 0,1 кПа.
(в ред.
Изменения N 1, введенного в действие Приказом Росстандарта от 22.10.2020 N 895-ст)
16.5. Температура воздушной камеры
Соблюдают требования
6.3.
16.6. Установка аппаратуры в баню
(подраздел 16.6 введен
Изменением N 1, введенным в действие Приказом Росстандарта от 22.10.2020 N 895-ст)
Устанавливают аппаратуру в баню, как указано в 7.3, и измеряют давление насыщенных паров по 7.4.
17.1. Расчет
В показатель "нескорректированное давление насыщенных паров" вносят поправку

на изменение давления воздуха и насыщенных паров воды в воздушной камере, вызванное различием между исходной температурой воздуха и температурой водяной бани.
(в ред.
Изменения N 1, введенного в действие Приказом Росстандарта от 22.10.2020 N 895-ст)
Поправку

, кПа, вычисляют по формуле
где

- атмосферное давление в месте проведения испытания, кПа;

- давление насыщенных паров воды при исходной температуре воздуха, кПа;
t - исходная температура воздуха, °C;

- давление насыщенных паров воды при 37,8 °C, кПа.
Значения поправки, вычисленные с точностью до 0,1 кПа, приведены в таблице 1.
Исходная температура воздуха, °C | Поправка при барометрическом давлении, кПа |
101,3 | 100,0 | 98,7 | 97,3 | 96,0 | 93,3 | 90,7 | 88,0 | 85,3 | 82,7 | 80,0 |
0 | -20,0 | -19,9 | -19,7 | -19,5 | -19,3 | -18,9 | -18,5 | -18,1 | -17,9 | -17,5 | -17,1 |
1 | -19,6 | -19,3 | -19,2 | -19,1 | -18,8 | -18,5 | -18,1 | -17,7 | -17,5 | -17,1 | -16,7 |
2 | -19,1 | -19,0 | -18,8 | -18,5 | -18,4 | -18,0 | -17,7 | -17,3 | -16,9 | -16,7 | -16,3 |
3 | -18,7 | -18,4 | -18,3 | -18,1 | -18,0 | -17,6 | -17,3 | -16,9 | -16,5 | -16,3 | -15,9 |
4 | -18,1 | -18,0 | -17,7 | -17,6 | -17,5 | -17,2 | -16,8 | -16,5 | -16,1 | -15,9 | -16,6 |
5 | -17,7 | -17,5 | -17,2 | -17,2 | -17,1 | -16,7 | -16,4 | -16,1 | -15,7 | -15,5 | -15,2 |
6 | -17,2 | -17,1 | -16,9 | -16,8 | -16,7 | -16,3 | -16,0 | -15,7 | -15,3 | -15,1 | -14,8 |
7 | -16,8 | -16,7 | -16,4 | -16,3 | -16,1 | -15,9 | -15,6 | -15,2 | -14,9 | -14,7 | -14,4 |
8 | -16,3 | -16,1 | -16,0 | -15,9 | -15,7 | -15,5 | -15,1 | -14,8 | -14,5 | -14,3 | -14,0 |
9 | -15,9 | -15,7 | -15,5 | -15,3 | -15,2 | -14,9 | -14,7 | -14,4 | -14,1 | -13,9 | -13,6 |
10 | -15,3 | -15,2 | -15,1 | -14,9 | -14,8 | -14,5 | -14,3 | -14,0 | -13,7 | -13,5 | -13,2 |
11 | -14,8 | -14,7 | -14,5 | -14,4 | -14,3 | -14,1 | -13,9 | -13,6 | -13,3 | -13,1 | -12,8 |
12 | -14,4 | -14,3 | -14,1 | -14,0 | -13,9 | -13,6 | -13,3 | -13,2 | -12,9 | -12,7 | -12,4 |
13 | -13,9 | -13,7 | -13,6 | -13,5 | -13,3 | -13,2 | -12,9 | -12,7 | -12,4 | -12,3 | -12,0 |
14 | -13,3 | -13,2 | -13,2 | -13,1 | -12,9 | -12,7 | -12,5 | -12,3 | -12,0 | -11,9 | -11,6 |
15 | -13,0 | -12,8 | -12,7 | -12,5 | -12,4 | -12,3 | -12,0 | -11,9 | -11,6 | -11,3 | -11,2 |
16 | -12,4 | -12,3 | -12,1 | -12,1 | -12,0 | -11,7 | -11,6 | -11,3 | -11,2 | -10,9 | -10,8 |
17 | -11,9 | -11,7 | -11,7 | -11,6 | -11,5 | -11,3 | -11,1 | -10,9 | -10,8 | -10,5 | -10,4 |
18 | -11,3 | -11,3 | -11,2 | -11,1 | -11,1 | -10,8 | -10,7 | -10,5 | -10,3 | -10,1 | -9,9 |
19 | -10,9 | -10,8 | -10,7 | 10,7 | -10,5 | -10,4 | -10,1 | -10,0 | -9,9 | -9,7 | -9,5 |
20 | -10,4 | -10,3 | -10,3 | -10,1 | -10,0 | -9,9 | -9,7 | -9,6 | -9,3 | -9,2 | -9,1 |
21 | -9,9 | -9,7 | -9,7 | -9,6 | -9,5 | -9,3 | -9,2 | -9,1 | -8,9 | -8,8 | -8,7 |
22 | -9,3 | -9,2 | -9,2 | -9,1 | -9,1 | -8,8 | -8,8 | -8,7 | -8,4 | -8,3 | -8,1 |
23 | -8,8 | -8,8 | -8,7 | -8,7 | -8,5 | -8,4 | -8,3 | -8,1 | -8,0 | -7,9 | -7,7 |
24 | -8,3 | -8,3 | -8,1 | -8,1 | -8,0 | -7,9 | -7,7 | -7,6 | -7,5 | -7,3 | -7,3 |
25 | -7,7 | -7,7 | -7,6 | -7,6 | -7,5 | -7,3 | -7,3 | -7,2 | -7,1 | -6,9 | -6,8 |
26 | -7,2 | -7,2 | -7,1 | -7,1 | -6,9 | -6,9 | -6,8 | -6,7 | -6,5 | -6,4 | -6,4 |
27 | -6,7 | -6,7 | -6,5 | -6,5 | -6,4 | -6,4 | -6,3 | -6,1 | -6,1 | -6,0 | -5,9 |
28 | -6,1 | -6,0 | -6,0 | -6,0 | -5,9 | -5,9 | -5,7 | -5,6 | -5,6 | -5,7 | -5,3 |
29 | -5,6 | -5,5 | -5,5 | -5,5 | -5,3 | -5,3 | -5,2 | -5,2 | -5,1 | -4,9 | -4,9 |
30 | -4,9 | -4,9 | -4,9 | -4,8 | -4,8 | -4,8 | -4,7 | -4,5 | -4,5 | -4,4 | -4,4 |
31 | -4,4 | -4,4 | -4,3 | -4,3 | -4,3 | -4,1 | -4,1 | -4,0 | -4,0 | -4,0 | -4,0 |
32 | -3,7 | -3,7 | -3,7 | -3,7 | -3,7 | -3,6 | -3,6 | -3,5 | -3,5 | -3,5 | -3,3 |
33 | -3,2 | -3,2 | -3,2 | -3,1 | -3,1 | -3,1 | -3,1 | -2,9 | -2,9 | -2,9 | -2,8 |
34 | -2,5 | -2,5 | -2,5 | -2,5 | -2,5 | -2,4 | -2,4 | -2,4 | -2,4 | -2,3 | -2,3 |
35 | -2,0 | -2,0 | -2,0 | -2,0 | -1,9 | -1,9 | -1,9 | -1,9 | -1,9 | -1,7 | -1,7 |
36 | -1,3 | -1,3 | -1,3 | -1,3 | -1,3 | -1,2 | -1,2 | -1,2 | -1,2 | -1,2 | -1,2 |
37 | -0,7 | -0,7 | -0,7 | -0,7 | -0,7 | -0,7 | -0,7 | -0,7 | -0,7 | -0,7 | -0,5 |
38 | 0 | 0 | 0 | 0 | 0 | 0 | 0 | 0 | 0 | 0 | 0 |
39 | +0,7 | +0,7 | +0,7 | +0,7 | +0,7 | +0,7 | +0,7 | +0,7 | +0,7 | +0,7 | +0,7 |
40 | +1,3 | +1,3 | +1,3 | +1,3 | +1,3 | +1,3 | +1,3 | +1,3 | +1,3 | +1,2 | +1,2 |
Для проверки правильности результатов измерения и повышения точности определения используют стандартные образцы давления насыщенных паров газожидкостной равновесной системы. Аттестованные значения комплекта стандартных образцов должны охватывать нижний и верхний диапазоны области измерений давления насыщенных паров. Для определения поправочного коэффициента используют один стандартный образец из комплекта.
(в ред.
Изменения N 1, введенного в действие Приказом Росстандарта от 22.10.2020 N 895-ст)
Порядок применения ГСО указан в свидетельстве на государственные стандартные образцы давления насыщенных паров.
Если разность между результатом, полученным при испытании ГСО, и аттестованной характеристикой, приведенной в свидетельстве на ГСО, превышает абсолютную погрешность, приведенную в свидетельстве, рассчитывают поправочный коэффициент по формуле
где
- аттестованная характеристика стандартного образца, кПа (мм рт. ст.);
- результат испытания стандартного образца, кПа (мм рт. ст.).
Для расчета давления насыщенных паров испытуемого нефтепродукта результат испытания умножают на поправочный коэффициент.
Если разность между результатом, полученным при испытании ГСО, и аттестованной характеристикой, приведенной в свидетельстве на ГСО, не превышает абсолютную погрешность, приведенную в свидетельстве, поправочный коэффициент считают равным единице.
(абзац введен
Изменением N 1, введенным в действие Приказом Росстандарта от 22.10.2020 N 895-ст)
Пересчет в другие единицы измерений (например, в мм рт. ст.) проводят с применением справочных данных по ГОСТ 8.417.
(абзац введен
Изменением N 1, введенным в действие Приказом Росстандарта от 22.10.2020 N 895-ст)
Результат испытания округляют до первого десятичного знака.
(абзац введен
Изменением N 1, введенным в действие Приказом Росстандарта от 22.10.2020 N 895-ст)
Пример
Давление насыщенных паров нефтепродуктов равно 60,92 кПа (457 мм рт. ст.).
Давление насыщенных паров стандартного образца равно 9,99 кПа (75 мм рт. ст.), аттестованная характеристика стандартного образца 11,86 кПа (89 мм рт. ст.).
Для расчета давления насыщенных паров испытуемого нефтепродукта рассчитывают поправочный коэффициент
K = 11,86/9,99 = 1,18.
Правильный результат испытания равен
60,92 · 1,18 = 71,9 кПа (539,4 мм рт. ст.)
Периодичность проверки аппаратов при применении стандартных образцов - один раз в год.
Правильность результатов измерений с использованием стандартных образцов контролируют не реже одного раза в месяц.
17.2. Прецизионность
(в ред.
Изменения N 1, введенного в действие Приказом Росстандарта от 22.10.2020 N 895-ст)
Прецизионность метода получают путем статистической обработки результатов межлабораторных испытаний.
(в ред.
Изменения N 1, введенного в действие Приказом Росстандарта от 22.10.2020 N 895-ст)
17.2.1. Сходимость
Разность результатов двух испытаний, полученная одним и тем же оператором, на одном и том же аппарате, при постоянных условиях, на идентичном испытуемом материале в процессе длительной работы при нормальном и правильном выполнении методики испытания может превышать указанные значения только в одном случае из двадцати.
В килопаскалях
Давление насыщенных паров | Сходимость |
От 35 до 110 включ. | 2,1 |
(в ред.
Изменения N 1, введенного в действие Приказом Росстандарта от 22.10.2020 N 895-ст)
17.2.2. Воспроизводимость
Разность двух отдельных и самостоятельных результатов, полученных разными операторами, в различных лабораториях на идентичном испытуемом материале в процессе длительной работы при нормальном и правильном выполнении методики испытаний, может превысить указанные значения только в одном случае из двадцати.
В килопаскалях
Давление насыщенных паров | Воспроизводимость |
От 35 до 110 включ. | 4,9 |
(в ред.
Изменения N 1, введенного в действие Приказом Росстандарта от 22.10.2020 N 895-ст)
Примечание - Приведенные характеристики прецизионности были установлены в 1981 г. совместной исследовательской программой, включающей 25 лабораторий, 12 образцов с пределами давления насыщенных паров от 5 до 16 psi по Рейду. Для других пределов давления насыщенных паров ранее, в 1950 г., были установлены требования:
(в ред.
Изменения N 1, введенного в действие Приказом Росстандарта от 22.10.2020 N 895-ст)
Давление насыщенных паров, кПа | Сходимость, кПа | Воспроизводимость, кПа |
От 0 до 35 включ. | 0,7 | 2,4 |
От 110 до 180 включ. | 2,1 | 2,8 |
Св. 180 | 2,8 | 2,9 |
| 0,7 | 1,0 |
(в ред.
Изменения N 1, введенного в действие Приказом Росстандарта от 22.10.2020 N 895-ст)
--------------------------------
<*> Для авиационных бензинов
(сноска введена
Изменением N 1, введенным в действие Приказом Росстандарта от 22.10.2020 N 895-ст)
Протокол испытания должен включать следующие данные:
а) тип и отождествление испытуемого продукта;
б) ссылку на настоящий стандарт;
(в ред.
Изменения N 1, введенного в действие Приказом Росстандарта от 22.10.2020 N 895-ст)
г) любые отклонения по соглашению или по другим документам от предписанного метода;
д) точностные данные испытания.
(обязательное)
ДЛЯ ОПРЕДЕЛЕНИЯ ДАВЛЕНИЯ НАСЫЩЕННЫХ ПАРОВ ПО РЕЙДУ
Росстандарта от 22.10.2020 N 895-ст)
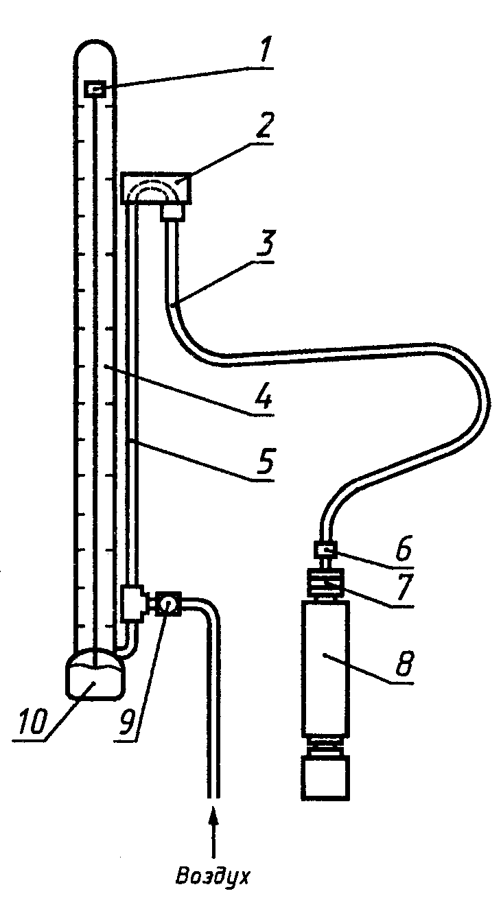
A.1. Бомба (для измерения давления насыщенных паров по Рейду)
Бомба состоит из двух камер - воздушной (верхняя) и жидкостной (нижняя) - в соответствии с требованиями A.1.1 -
A.1.4.
Примечание - Предостережение. Для сохранения правильного соотношения объемов воздушной и жидкостной камер не следует заменять детали без повторной калибровки.
A.1.1. Воздушная камера
Верхняя секция или воздушная камера
(рисунок A.1) представляет собой цилиндрический сосуд внутренним диаметром (51 +/- 3) мм и длиной (254 +/- 3) мм и слегка наклонными внутренними поверхностями краев, обеспечивающими полное опорожнение сосуда при вертикальном положении. На одном конце воздушной камеры следует предусмотреть переходник измерительного прибора внутренним диаметром не менее 5 мм, чтобы принять 6-мм соединение. На другом конце воздушной камеры следует предусмотреть отверстие диаметром около 13 мм для соединения с жидкостной камерой. Переходники на концах отверстий не должны препятствовать полному осушению камеры.
1 - присоединительный внутренний диаметр 13 мм;
2 - вентиляционное отверстие; 3 - присоединительный
внутренний диаметр 5 мм; 4 - присоединительный внешний
диаметр 13 мм; 5 - клапан 13 мм; 6 - клапан 6 мм
Рисунок A.1 - Бомба для определения давления
насыщенных паров
Росстандарта от 22.10.2020 N 895-ст)
A.1.2. Жидкостная камера (одно отверстие)
Нижняя секция или жидкостная камера (см.
рисунок A.1) представляет собой цилиндрический сосуд таким же внутренним диаметром, как воздушная камера, и таким объемом, чтобы соотношение объемов воздушной и жидкостной камер было 3,95 - 4,05.
На одном конце жидкостной камеры предусмотрено отверстие диаметром около 13 мм для соединения с воздушной камерой. Внутренняя поверхность камеры, прилегающей к переходнику, должна быть с уклоном для обеспечения полной осушки камеры при переворачивании. Другой конец жидкостной камеры должен быть полностью закрыт.
A.1.3. Жидкостная камера (два отверстия)
Для отбора проб из закрытых сосудов нижняя секция или жидкостная камера
(рисунок A.1) должна быть в основном такой же, как и у жидкостной камеры
(A.1.2), с той разницей, что 6-мм клапан присоединяют ближе к основанию жидкостной камеры, а проходной полностью открытый 13-мм клапан вводят в соединение между камерами. Объем жидкостной камеры, включая только вместимость, заключенную клапанами, должен соответствовать требованиям к объемам
(A.1.2).
Примечание - При определении вместимости жидкостной камеры с двумя отверстиями
(рисунок A.1) вместимость жидкостной камеры рассматривают ниже 13-мм клапана. Объем этого клапана, включающий участок соединения, постоянно прикрепленного к жидкостной камере, считают частью вместимости воздушной камеры.
Допускается использовать аппарат типа ЛДП.
(в ред.
Изменения N 1, введенного в действие Приказом Росстандарта от 22.10.2020 N 895-ст)
A.1.4. Метод соединения воздушной и жидкостной камер
Можно применять любой метод соединения воздушной и жидкостной камер, исключающий потери испытуемого продукта, компрессию и утечку из собранного аппарата при испытании. Для предотвращения испарения продукта при сборке желательно, чтобы на жидкостной камере находилась заглушка с наружной резьбой, соответствующей переходнику. Чтобы предотвратить компрессию воздуха при сборке соответствующего резьбового соединения, можно использовать вентиляционное отверстие, обеспечивающее атмосферное давление в воздушной камере.
Предостережение - Имеющееся в наличии оборудование не может обеспечить избежания пневматических эффектов.
Перед использованием аппаратуры следует установить, что процесс сборки не приводит к сжатию воздуха в воздушной камере. Для этого плотно закрывают отверстие жидкостной камеры и монтируют аппаратуру обычным способом, используя манометр на 0 - 35 кПа. Любое увеличение давления на манометре указывает, что аппаратура не соответствует техническим требованиям и следует обращаться к изготовителю за консультацией и ремонтом.
A.1.5. Вместимость воздушной и жидкостной камер
Для установления объемного соотношения камер в пределах 3,95 - 4,05 берут объем воды больше, чем требуется для наполнения жидкостной и воздушной камер. Жидкостную камеру полностью наполняют водой, разность исходного и оставшегося объема составит объем жидкостной камеры. Затем после соединения камер воздушную камеру заполняют дополнительным количеством воды до места соединения манометра, разность объемов составит объем воздушной камеры.
A.1.6. Проверка на отсутствие утечек
Перед применением нового аппарата, а в дальнейшем по мере необходимости его следует проверять на утечку, наполняя воздухом под давлением до 700 кПа и полностью погружая в водяную баню. Применяют аппарат, который при проверке не дает утечки.
Применяют манометр типа Бурдона класса образцового средства измерений диаметром 100 - 150 мм, предусматривающий номинальное 6-мм резьбовое наружное соединение, имеющее канал диаметром не менее 5 мм от трубки Бурдона в атмосферу.
Допускается применять электронные манометры с определенными характеристиками в соответствии с таблицей 1 настоящего стандарта.
(в ред.
Изменения N 1, введенного в действие Приказом Росстандарта от 22.10.2020 N 895-ст)
Датчик давления (манометр) с определенными пределами измерения выбирают в зависимости от давления насыщенных паров испытуемой пробы в соответствии с таблицей A.1.
(в ред.
Изменения N 1, введенного в действие Приказом Росстандарта от 22.10.2020 N 895-ст)
Таблица A.1
(в ред.
Изменения N 1, введенного в действие Приказом Росстандарта от 22.10.2020 N 895-ст)
В килопаскалях
Давление насыщенных паров по Рейду | Диапазон шкалы | Числовые интервалы, не более | Промежуточная градуировка, не более |
До 27,5 включительно | 0 - 35 | 5,0 | 0,5 |
(0,275) | (0 - 0,350) | (0,050) | (0,005) |
До 28,0 | 0 - 30,5 | 5,1 | 0,5 |
20 - 75 | 0 - 100 | 15 | 0,5 |
(0,200 - 0,750) | (0 - 1,0) | (0,150) | (0,005) |
20,4 - 76,5 | 0 - 91,8 | 15,3 | 0,5 |
70 - 180 | 0 - 200 | 25 | 1,0 |
(0,700 - 1,800) | (0 - 2,000) | (0,250) | (0,010) |
71,4 - 186,3 | 0 - 204,0 | 25,5 | 1,0 |
70 - 250 | 0 - 300 | 25 | 1,0 |
(0,700 - 2,500) | (0 - 3,000) | (0,250) | (0,010) |
71,4 - 255,0 | 0 - 306,0 | 25,5 | 1,0 |
200 - 375 | 0 - 400 | 50 | 1,5 |
(2,000 - 3,750) | (0 - 4,000) | (0,500) | (0,015) |
204,0 - 322,5 | 0 - 408,0 | 51,0 | 1,5 |
350 и свыше | 0 - 700 | 50 | 2,5 |
(3,500) | (0 - 7,000) | (0,5000) | (0,025) |
Св. 357,0 | 0 - 765,0 | 51,0 | 2,5 |
(в ред.
Изменения N 1, введенного в действие Приказом Росстандарта от 22.10.2020 N 895-ст)
Следует использовать только точные приборы.
Если показание прибора отличается от показания манометра (или прибора с весовой нагрузкой при испытании давления выше 180 кПа) более чем на 1% предела шкалы, измерительный прибор считают неточным. Например, отклонение при калибровке не должно превышать 0,3 кПа для прибора диапазоном 0 - 35 кПа или 0,9 кПа для прибора с диапазоном 0 - 100 кПа.
Примечание - Можно использовать измерительные приборы диаметром 90 мм в диапазоне 0 - 30 кПа.
Допускается использовать пружинный манометр класса точности не ниже 0,6 по ГОСТ 2405 или образцовый деформационный манометр. Пружинный манометр считают точным, если расхождение между его показателем и показателем ртутного манометра не превышает 1% диапазона шкалы.
A.3. Баня с водяным охлаждением или равноценный холодильник
Размеры бани с водяным охлаждением должны обеспечивать полное погружение в нее контейнеров с пробой и жидкостных камер. Баня должна обеспечивать температуру 0 °C - 1 °C.
(в ред.
Изменения N 1, введенного в действие Приказом Росстандарта от 22.10.2020 N 895-ст)
Примечание - Для охлаждения проб в процессе хранения или приготовления на стадии воздушного насыщения не следует применять твердую двуокись углерода. Двуокись углерода заметно растворяется в бензине, и ее применение может привести к получению ошибочных значений давления насыщенных паров.
(в ред.
Изменения N 1, введенного в действие Приказом Росстандарта от 22.10.2020 N 895-ст)
Водяная баня должна быть таких размеров, чтобы аппарат был погружен на глубину не менее 25 мм выше поверхности воздушной камеры. Баня должна обеспечивать постоянную температуру (37,8 +/- 0,1) °C. Для контроля температуры в баню погружают термометр до метки 37 °C. Термометр должен находиться в указанном положении на протяжении всего испытания.
(в ред.
Изменения N 1, введенного в действие Приказом Росстандарта от 22.10.2020 N 895-ст)
A.5.1. Для определения температуры воздушной камеры 37,8 °C используют стеклянный жидкостной термометр ASTM 18C/IP 23C или термометр ТИН-12 по ГОСТ 400 или термометры со следующими характеристиками:
(в ред.
Изменения N 1, введенного в действие Приказом Росстандарта от 22.10.2020 N 895-ст)
Диапазон измерения, °C 34 - 42
Погружение Общее
Цена деления, °C 0,1
Удлиненная отметка на каждые, °C 0,5
Цифровое обозначение через каждый 1 °C (кроме на 38 °C)
Погрешность шкалы, °C, не более 0,1
Камера расширения, допускающая нагрев до 100 °C
Общая длина термометра, мм 275 +/- 5
Диаметр термометра, мм 6 - 7
Длина ртутного резервуара, мм 25 - 35
Диаметр ртутного резервуара, мм Не менее 5, но не более
диаметра термометра
Расстояние от основания ртутного резервуара 135 - 150
до отметки 34,4 °C, мм
Расстояние от основания ртутного резервуара 215 - 234
до отметки 42 °C, мм
Расстояние от основания ртутного резервуара 60
до камеры сжатия, мм, не более
Диаметр расширения ртутного капилляра, мм 8 - 10
Длина расширения ртутного капилляра, мм 4 - 7
Расстояние от основания ртутного резервуара 112 - 116
до основания расширения ртутного капилляра, мм
Допускается использовать термометр стеклянный ртутный ТЛ-4 N 2.
(в ред.
Изменения N 1, введенного в действие Приказом Росстандарта от 22.10.2020 N 895-ст)
A.5.2. Для водяной бани используют термометр, указанный в
A.5.1.
A.6. Исключен с 01.07.2021. -
Изменение N 1, введенное в действие Приказом Росстандарта от 22.10.2020 N 895-ст.
A.7. Прибор с весовой нагрузкой
Для проверки давления выше 180 кПа можно применять прибор с весовой нагрузкой.
(в ред.
Изменения N 1, введенного в действие Приказом Росстандарта от 22.10.2020 N 895-ст)
(обязательное)
АППАРАТУРА ПРИ ИСПОЛЬЗОВАНИИ МАНОМЕТРА С УСТАНОВКОЙ
ПЕРВОНАЧАЛЬНОГО ДАВЛЕНИЯ
B.1. Сборка манометра с учетом первоначального давления
1 - контрольный резервуар; 2 - манометр с непосредственным
отсчетом; 3 - трубка из резины на основе хлоропренового
каучука; 4 - хомутик для крепления манометра к подставке;
5 - медная трубка; 6 - прерыватель быстрого действия;
7 - игольчатый клапан; 8 - аппарат для определения
давления насыщенных паров; 9 - микрометровый клапан;
10 - резервуар с жидкостью
Росстандарта от 22.10.2020 N 895-ст)
Рисунок B.1 - Схема сборки манометра
Основные части манометра приведены в B.2 -
B.14.
B.2. Манометр типа прямого отсчета длиной приблизительно 1 м, градуированный с интервалами 0,05 кПа, имеющий запасной резервуар. Допускается, при необходимости, использовать ртутный манометр.
(в ред.
Изменения N 1, введенного в действие Приказом Росстандарта от 22.10.2020 N 895-ст)
B.3. Гибкий шланг хлоропреновый или из равноценного материала наружным диаметром 5 мм и длиной 1 - 1,1 м.
B.4. Вентиль к воздушной камере с 6-мм трубной резьбой.
B.5. Прерыватель быстрого действия для подсоединения аппарата для определения давления насыщенных паров к комплекту манометра. Он должен быть такого типа, чтобы в эксплуатации не происходило случайного отказа, т.е. винтовой.
B.6. Микрометровый клапан для измерения воздуха в коленце манометра.
B.7. Трубка из меди или нержавеющей стали для подсоединения гибкого шланга к манометру внутренним диаметром 3 мм, длиной 760 мм.
B.8. Подача отфильтрованного сжатого воздуха под давлением 100 - 140 кПа.
B.9. Комплект манометра давления
Общий объем воздушного пространства в комплекте манометра, включающий свободное пространство ртутного резервуара, соединения, трубки, прерыватель быстрого разрыва, должен быть от 12 до 16 см3, чтобы общий коэффициент поправки можно было применять ко всем комплектам.
B.10. Охлаждающая водяная баня
(A.3).
B.11. Водяная баня
(A.4).
(в ред.
Изменения N 1, введенного в действие Приказом Росстандарта от 22.10.2020 N 895-ст)
B.14. Прибор с весовой нагрузкой
(A.7).
(рекомендуемое)
C.1. Меры предосторожности
Давление насыщенных паров крайне чувствительно к потерям от испарения и малейшим изменениям в составе анализируемых продуктов. При получении, хранении или работе с ними следует соблюдать необходимые меры безопасности для обеспечения получения представительных образцов для определения давления насыщенных паров методом Рейда.
(в ред.
Изменения N 1, введенного в действие Приказом Росстандарта от 22.10.2020 N 895-ст)
Представительные образцы должны быть взяты квалифицированным специалистом или под его непосредственным наблюдением согласно правилам отбора проб. Если отбор проб или требования к образцу отличаются от описанных в
C.2 -
C.9, следует отобрать отдельный образец для определения давления насыщенных паров методом Рейда. Не допускается брать смешанные пробы для этого анализа.
(в ред.
Изменения N 1, введенного в действие Приказом Росстандарта от 22.10.2020 N 895-ст)
Во время промывки и очистки линии или резервуара следует соблюдать нужные предписания мер противопожарной безопасности и правила взрывоопасности. Образцы для анализа, описанного в этом Приложении, непригодны для определения воды.
Баня
(рисунок C.1) достаточного размера для установки емкости с охлаждающим змеевиком, изготовленным из медной трубки длиной 7,6 м и наружным диаметром 9,5 мм или меньше, если применяется методика, указанная в
C.7. Один конец змеевика должен быть снабжен соединением к клапану или крану резервуара для отбора проб. Другой конец должен быть снабжен выпускающим клапаном хорошего качества. Съемная медная трубка наружным диаметром 9,5 мм или менее и достаточной длины, чтобы достигнуть дна контейнера для образца, соединена с открытым концом выпускного клапана.
(в ред.
Изменения N 1, введенного в действие Приказом Росстандарта от 22.10.2020 N 895-ст)
1 - выпускной клапан; 2 - термометр; 3 - вентиль продувки;
4 - медная трубка длиной 7,6 м, наружным диаметром 9,5 мм;
5 - выпускной клапан; 6 - вентиль продувки
Рисунок C.1 - Охлаждающая баня
C.3. Контейнеры с пробой
Для переноса образца в жидкостную камеру аппарата для определения давления насыщенных паров используют контейнеры, выдерживающие возникающее давление, вместимостью 1 дм3, у которых можно заменять колпачок или пробку удобными соединениями.
Контейнеры открытого типа имеют единственное отверстие, позволяющее отбирать пробу при погружении. Контейнеры закрытого типа имеют два отверстия - по одному на каждом конце (или в равноценных точках), снабженных клапанами, удобными для отбора проб с помощью перемещения воды или продувкой.
C.4. Соединения для переноса образца
Соединение для переноса образца из контейнера открытого типа состоит из воздушной трубки, трубки подачи жидкости, вмонтированной в колпачок или пробку. Воздушная трубка доходит до дна контейнера. Один конец трубки подачи жидкости обильно смачивается с внутренней стороны клапана или пробки, трубка имеет длину, достаточную, чтобы доходить до дна жидкостной камеры во время переноса пробы в камеру.
Соединение для переноса образца из контейнера закрытого типа состоит из одной трубки с соединением, удобным для присоединения его к одному из отверстий контейнера с пробой. Трубка имеет длину, достаточную, чтобы доходить до дна жидкостной камеры во время переноса пробы.
C.5. Открытые резервуары для отбора проб
При отборе проб из открытых резервуаров и вагонов-цистерн используют чистые контейнеры открытого типа.
Рекомендуются точечные пробы, но можно отбирать среднюю пробу по
ГОСТ 31873. Перед отбором пробы контейнер обильно промывают, погружая его в отбираемый продукт. Затем отбирают пробу. Заполняют контейнер на 70% - 80% и тотчас его закрывают. Маркируют контейнер и передают в лабораторию. При отборе проб нефти, содержащей летучие компоненты, или продуктов следует избегать потери легких фракций.
(в ред.
Изменения N 1, введенного в действие Приказом Росстандарта от 22.10.2020 N 895-ст)
Не допускается переносить (за исключением случаев, указанных в
7.1) или отливать исходный образец.
C.6. Контейнеры для отбора проб закрытого типа
Контейнеры как закрытого, так и открытого типов используют для получения пробы из закрытых или находящихся под давлением резервуаров. Если контейнер открытого типа, то следуют методике с охлаждающей баней, как указано в C.7. При применении контейнера закрытого типа отбирают пробу по методике вытеснения водой
(C.8) или продувки. Предпочтительна процедура вытеснения водой, потому что поток продукта при продувке опасен.
C.7. Процедура с использованием охлаждающей бани
При применении контейнера открытого типа держат его при температуре от 0 °C до 1 °C во время операции по отбору проб, используя охлаждающую баню
(C.2).
(в ред.
Изменения N 1, введенного в действие Приказом Росстандарта от 22.10.2020 N 895-ст)
Подсоединяют змеевик к клапану или крану резервуара для отбора проб и промывают достаточным количеством продукта, чтобы обеспечить полную очистку.
При подготовке образца дросселируют выпускной клапан, чтобы давление в змеевике было приблизительно таким же, как и в резервуаре. Заполняют контейнер неоднократно, чтобы промыть, охладить и удалить промывку. Затем немедленно вводят пробу. Заполняют контейнер на 70% - 80% и быстро закрывают. Контейнер маркируют и передают его в лабораторию.
(в ред.
Изменения N 1, введенного в действие Приказом Росстандарта от 22.10.2020 N 895-ст)
C.8. Процедура вытеснения водой
Полностью заполняют контейнер закрытого типа водой и закрывают клапаны. Вода должна быть той же температуры или ниже температуры испытуемого продукта. Пропуская небольшое количество продукта сквозь фитинги, соединяют верх или впускной клапан емкости с клапаном или краном контейнера для отбора проб. Затем открывают все клапаны на входе в контейнер. Приоткрывают слегка донный или выпускной клапан, чтобы дать образцу, вводимому в контейнер, медленно вытеснить воду. Регулируют поток так, чтобы не было значительного изменения в давлении внутри контейнера. Закрывают выпускной клапан, как только отбираемая проба начинает сливаться из выходного отверстия, затем закрывают впускной клапан и клапан для отбора пробы на резервуаре.
Отсоединяют контейнер и дают возможность испариться содержимому настолько, чтобы контейнер был заполнен на 70% - 80%. Если давление насыщенных паров продукта не очень высокое для вытеснения жидкости из контейнера, открывают слегка как верхний, так и нижний клапаны, чтобы устранить излишки. Немедленно запечатывают и маркируют контейнер и передают его в лабораторию. Указанное выше непригодно для отбора проб сжиженных углеводородных газов (СУГ).
(в ред.
Изменения N 1, введенного в действие Приказом Росстандарта от 22.10.2020 N 895-ст)
Подсоединяют впускной клапан контейнера закрытого типа к крану и клапану контейнера отбора проб. Дросселируют выпускной клапан контейнера так, чтобы давление в нем было приблизительно равным давлению в контейнере, из которого отбирают пробу. Объем продукта, равный двойному объему контейнера, пропускают через систему отбора проб. Затем закрывают все клапаны: сначала выпускной, затем впускной и в последнюю очередь клапан для отбора проб на резервуаре. Немедленно отсоединяют контейнер.
Удаляют достаточное количество содержимого, чтобы контейнер был заполнен на 70% - 80% пробой. Если давление насыщенных паров продукта невысокое, чтобы вытеснить жидкость из контейнера, слегка открывают верхний и нижний клапаны для удаления излишка. Быстро запечатывают, маркируют контейнер и отправляют его в лабораторию.
(в ред.
Изменения N 1, введенного в действие Приказом Росстандарта от 22.10.2020 N 895-ст)
(справочное)
БИБЛИОГРАФИЯ
Приложение D исключено с 01.07.2021. -
Изменение N 1, введенное в действие Приказом Росстандарта от 22.10.2020 N 895-ст.
(справочное)
СВЕДЕНИЯ О СООТВЕТСТВИИ ССЫЛОЧНОГО МЕЖГОСУДАРСТВЕННОГО
СТАНДАРТА МЕЖДУНАРОДНОМУ СТАНДАРТУ, ИСПОЛЬЗОВАННОМУ
В КАЧЕСТВЕ ССЫЛОЧНОГО В ПРИМЕНЕННОМ МЕЖДУНАРОДНОМ СТАНДАРТЕ
Приказом Росстандарта от 22.10.2020 N 895-ст)
Таблица ДА.1
Обозначение ссылочного межгосударственного стандарта | Степень соответствия | Обозначение и наименование ссылочного международного стандарта |
| NEQ | ISO 3170:1988 <1> "Нефтепродукты жидкие. Отбор проб вручную" |
Примечание - В настоящей таблице использовано следующее условное обозначение степени соответствия стандарта: - NEQ - неэквивалентный стандарт. |
--------------------------------
<1> Заменен. Действует ISO 3170:2004.
УДК 662.6.001.4:621.43:006.354 | |
Ключевые слова: нефтепродукты, определение давления насыщенных паров |
(в ред.
Изменения N 1, введенного в действие Приказом Росстандарта от 22.10.2020 N 895-ст)