Главная // Актуальные документы // ГОСТ (Государственный стандарт)СПРАВКА
Источник публикации
В данном виде документ опубликован не был.
Первоначальный текст документа опубликован в издании
М.: Стандартинформ, 2020.
Информацию о публикации документов, создающих данную редакцию, см. в справке к этим документам.
Примечание к документу
Текст данного документа приведен с учетом
поправки, опубликованной в "ИУС", N 7, 2021.
Документ включен в
Перечень международных и региональных (межгосударственных) стандартов, а в случае их отсутствия - национальных (государственных) стандартов, содержащих правила и методы исследований (испытаний) и измерений, в том числе правила отбора образцов, необходимые для применения и исполнения требований технического
регламента Таможенного союза "О безопасности пиротехнических изделий" (ТР ТС 006/2011) и осуществления оценки соответствия объектов технического регулирования (
Решение Коллегии Евразийской экономической комиссии от 25.12.2018 N 217).
В соответствии с
Приказом Росстандарта от 06.10.2020 N 747-ст данный документ
вводился в действие с 01.09.2022. В соответствии с изменением, внесенным
Приказом Росстандарта от 16.06.2022 N 478-ст, срок введения в действие данного документа перенесен на 01.01.2023.
Название документа
"ГОСТ 33950-2016. Межгосударственный стандарт. Изделия пиротехнические. Методы испытаний"
(введен в действие Приказом Росстандарта от 06.10.2020 N 747-ст)
(ред. от 30.06.2022)
"ГОСТ 33950-2016. Межгосударственный стандарт. Изделия пиротехнические. Методы испытаний"
(введен в действие Приказом Росстандарта от 06.10.2020 N 747-ст)
(ред. от 30.06.2022)
по техническому регулированию
и метрологии
от 6 октября 2020 г. N 747-ст
МЕЖГОСУДАРСТВЕННЫЙ СТАНДАРТ
ИЗДЕЛИЯ ПИРОТЕХНИЧЕСКИЕ
МЕТОДЫ ИСПЫТАНИЙ
Pyrotechnic wares. Methods of tests
ГОСТ 33950-2016
| | Список изменяющих документов Приказом Росстандарта от 30.06.2022 N 560-ст) | |
| | Приказом Росстандарта от 16.06.2022 N 478-ст дата введения в действие перенесена на 01.01.2023. | |
Дата введения
1 сентября 2022 года
Цели, основные принципы и общие правила проведения работ по межгосударственной стандартизации установлены
ГОСТ 1.0 "Межгосударственная система стандартизации. Основные положения" и
ГОСТ 1.2 "Межгосударственная система стандартизации. Стандарты межгосударственные, правила и рекомендации по межгосударственной стандартизации. Правила разработки, принятия, обновления и отмены"
1 РАЗРАБОТАН Республиканским государственным предприятием "Казахстанский институт стандартизации и сертификации" и Техническим комитетом по стандартизации Республики Казахстан N 75 в области промышленной безопасности и безопасности в чрезвычайных ситуациях "Промышленная безопасность" на базе акционерного общества "Национальный научно-технический центр промышленной безопасности"
2 ВНЕСЕН Комитетом технического регулирования и метрологии Министерства по инвестициям и развитию Республики Казахстан
3 ПРИНЯТ Межгосударственным советом по стандартизации, метрологии и сертификации (протокол от 27 сентября 2016 г. N 91-П)
За принятие проголосовали:
Краткое наименование страны по МК (ИСО 3166) 004-97 | Код страны по МК (ИСО 3166) 004-97 | Сокращенное наименование национального органа по стандартизации |
Армения | AM | Минэкономики Республики Армения |
Беларусь | BY | Госстандарт Республики Беларусь |
Казахстан | KZ | Госстандарт Республики Казахстан |
Киргизия | KG | Кыргызстандарт |
Россия | RU | Росстандарт |
Таджикистан | TJ | Таджикстандарт |
Туркмения | TM | Главгосслужба "Туркменстандартлары" |
Узбекистан | UZ | Узстандарт |
4
Приказом Федерального агентства по техническому регулированию и метрологии от 6 октября 2020 г. N 747-ст межгосударственный стандарт ГОСТ 33950-2016 введен в действие в качестве национального стандарта Российской Федерации с 1 сентября 2022 г.
5 ВВЕДЕН ВПЕРВЫЕ
Информация о введении в действие (прекращении действия) настоящего стандарта и изменений к нему на территории указанных выше государств публикуется в указателях национальных стандартов, издаваемых в этих государствах, а также в сети Интернет на сайтах соответствующих национальных органов по стандартизации.
В случае пересмотра, изменения или отмены настоящего стандарта соответствующая информация будет опубликована на официальном интернет-сайте Межгосударственного совета по стандартизации, метрологии и сертификации в каталоге "Межгосударственные стандарты"
Настоящий стандарт распространяется на пиротехническую продукцию бытового и технического назначения, устанавливает методы испытаний для определения параметров и характеристик, в том числе при подтверждении соответствия.
Применение при испытаниях любого из установленных стандартом методов должно быть предусмотрено программой испытаний конкретного пиротехнического изделия.
Используемые при испытаниях по любому из методов, установленных стандартом, средства испытаний и измерений должны иметь документы (паспорт, аттестат, формуляр, руководство по эксплуатации) с отметкой о сроке годности. Указанные в стандарте средства испытаний и измерений могут быть заменены другими, имеющими аналогичные технические характеристики.
При испытаниях по установленному стандартом методу следует вести рабочий журнал, в который должны быть внесены данные о пиротехническом изделии (наименование, шифр, индекс и пр.), дата испытаний, данные о применяемых средствах измерений (наименование, тип, диапазон измерений, срок годности и др.), об условиях испытаний, результаты измерений (полученные в ходе испытаний) или сведения о носителях измерительной информации (количество носителей, количество испытанных пиротехнических изделий и пр.), фамилии испытателя(ей) и руководителя испытаний.
В настоящем стандарте использованы нормативные ссылки на следующие межгосударственные стандарты:
ГОСТ 8.423 Государственная система обеспечения единства измерений. Секундомеры механические. Методы и средства поверки
(в ред.
Изменения N 1, введенного в действие Приказом Росстандарта от 30.06.2022 N 560-ст)
ГОСТ 9.510 Единая система защиты от коррозии и старения. Полуфабрикаты из алюминия и алюминиевых сплавов. Общие требования к временной противокоррозионной защите, упаковке, транспортированию и хранению
ГОСТ 9.707 Единая система защиты от коррозии и старения. Материалы полимерные. Методы ускоренных испытаний на климатическое старение
ГОСТ 166 (ИСО 3599-76) Штангенциркули. Технические условия
(ссылка введена
Изменением N 1, введенным в действие Приказом Росстандарта от 30.06.2022 N 560-ст)
ГОСТ 334 Бумага масштабно-координатная. Технические условия
ГОСТ 380 Сталь углеродистая обыкновенного качества. Марки
ГОСТ 427 Линейки измерительные металлические. Технические условия
ГОСТ 2162 Лента изоляционная прорезиненная. Технические условия
ГОСТ 4514 Ленты для электропромышленности. Технические условия
ГОСТ 5462 Машинка подрывная конденсаторная. Общие технические требования
ГОСТ 5679 Вата хлопчатобумажная одежная и мебельная. Технические условия
ГОСТ 6445 Бумага газетная. Технические условия
ГОСТ 6616 Преобразователи термоэлектрические. Общие технические условия
(ссылка введена
Изменением N 1, введенным в действие Приказом Росстандарта от 30.06.2022 N 560-ст)
ГОСТ 7164 Приборы автоматические следящего уравновешивания ГСП. Общие технические условия
ГОСТ 7165 (МЭК 564-77) Мосты постоянного тока для измерения сопротивления
(в ред.
Изменения N 1, введенного в действие Приказом Росстандарта от 30.06.2022 N 560-ст)
ГОСТ 7502 Рулетки измерительные металлические. Технические условия
ГОСТ 8291 Манометры избыточного давления грузопоршневые. Общие технические требования
ГОСТ 8711 (МЭК 51-2-84) Приборы аналоговые показывающие электроизмерительные прямого действия и вспомогательные части к ним. Часть 2. Особые требования к амперметрам и вольтметрам
(в ред.
Изменения N 1, введенного в действие Приказом Росстандарта от 30.06.2022 N 560-ст)
ГОСТ 9089 Электродетонаторы мгновенного действия. Технические условия
Ссылка исключена с 01.01.2023. -
Изменение N 1, введенное в действие Приказом Росстандарта от 30.06.2022 N 560-ст.
Ссылка исключена с 01.01.2023. -
Изменение N 1, введенное в действие Приказом Росстандарта от 30.06.2022 N 560-ст.
ГОСТ 9829 Осциллографы светолучевые. Общие технические условия
ГОСТ 10771 Лампы накаливания светоизмерительные рабочие. Технические условия
ГОСТ 11109 Марля бытовая хлопчатобумажная. Общие технические условия
ГОСТ 13208 Изделия пиротехнические фотоосветительные. Метод фотометрирования
ГОСТ 16350 Климат СССР. Районирование и статистические параметры климатических факторов для технических целей
ГОСТ 17168 Фильтры электронные октавные и третьоктавные. Общие технические требования и методы испытаний
ГОСТ 17187 <*> (IEC 61672-1:2002) Шумомеры. Часть 1. Технические требования
(в ред.
Изменения N 1, введенного в действие Приказом Росстандарта от 30.06.2022 N 560-ст)
--------------------------------
<*> На территории Российской Федерации действует
ГОСТ Р 53188.1-2019 "Государственная система обеспечения единства измерений. Шумомеры. Часть 1. Технические требования.
(сноска введена
Изменением N 1, введенным в действие Приказом Росстандарта от 30.06.2022 N 560-ст)
ГОСТ 17299 Спирт этиловый технический. Технические условия
Сноска исключена с 01.01.2023. -
Изменение N 1, введенное в действие Приказом Росстандарта от 30.06.2022 N 560-ст.
Сноска исключена с 01.01.2023. -
Изменение N 1, введенное в действие Приказом Росстандарта от 30.06.2022 N 560-ст.
ГОСТ 19034 Трубки из поливинилхлоридного пластика. Технические условия
ГОСТ 19433 Грузы опасные. Классификация и маркировка
ГОСТ 20799 Масла индустриальные. Технические условия
ГОСТ 21631 Листы из алюминия и алюминиевых сплавов. Технические условия
ГОСТ 28498 Термометры жидкостные стеклянные. Общие технические требования. Методы испытаний
ГОСТ 27752 Часы электронно-механические кварцевые настольные, настенные и часы-будильники. Общие технические условия
ГОСТ 33732 Изделия пиротехнические. Общие требования безопасности
Примечание - При пользовании настоящим стандартом целесообразно проверить действие ссылочных стандартов и классификаторов на официальном интернет-сайте Межгосударственного совета по стандартизации, метрологии и сертификации (www.easc.by) или по указателям национальных стандартов, издаваемым в государствах, указанных в
предисловии, или на официальных сайтах соответствующих национальных органов по стандартизации. Если на документ дана недатированная ссылка, то следует использовать документ, действующий на текущий момент, с учетом всех внесенных в него изменений. Если заменен ссылочный документ, на который дана датированная ссылка, то следует использовать указанную версию этого документа. Если после принятия настоящего стандарта в ссылочный документ, на который дана датированная ссылка, внесено изменение, затрагивающее положение, на которое дана ссылка, то это положение применяется без учета данного изменения. Если ссылочный документ отменен без замены, то положение, в котором дана ссылка на него, применяется в части, не затрагивающей эту ссылку.
В настоящем стандарте применены термины по
ГОСТ 17527,
ГОСТ 33732, а также следующие термины с соответствующими определениями:
(в ред.
Изменения N 1, введенного в действие Приказом Росстандарта от 30.06.2022 N 560-ст)
3.1 потребительская упаковка: Упаковка, предназначенная для первичного упаковывания и реализации продукции конечному потребителю.
(п. 3.1 в ред.
Изменения N 1, введенного в действие Приказом Росстандарта от 30.06.2022 N 560-ст)
3.2 зажигающая (зажигательная) способность изделия пиротехнического: Способность зажигать (воспламенять) горючие вещества и материалы в результате воздействия высокотемпературных продуктов сгорания (газообразных и конденсированных), а также нагретых конструктивных элементов пиротехнического изделия.
3.3 стапель: Устройство, предназначенное для крепления, ориентации изделия пиротехнического и передачи тяги (силы отдачи) от указанного изделия первичному измерительному преобразователю;
3.4 веха: Рейка определенного размера, используемая для масштабирования изображений на экране монитора
3.5 стойкость изделия пиротехнического к внешним воздействующим факторам: Способность пиротехнического изделия выполнять функции во время и после внешних воздействий (механических или климатических).
(в ред.
Изменения N 1, введенного в действие Приказом Росстандарта от 30.06.2022 N 560-ст)
В настоящем стандарте применены следующие обозначения:
K - масштабный коэффициент, м/мм;
l - длина изображения вехи (рейки) на экране монитора или телевизора (далее монитора), мм;
lп - длина изображения пламени (искр) на экране монитора, мм;
Dп - диаметр пламени (разлета искр), м;
hп - ширина изображения пламени (разлета искр) на экране монитора, мм;
H - разность уровней расположения пунктов оптических измерителей и пусковой установки, м;
a - расстояние от пункта оптического измерителя до пусковой установки, м;

- угол между горизонтом и направлением на пусковую установку, °;
HА, HВ - высоты точки траектории полета пиротехнического изделия (далее - ПИ), рассчитанные по данным, полученным на пунктах оптических измерителей А и В соответственно, м;
Б-база - расстояние между пунктами оптических измерителей А и В, м;
hА, hВ - разность уровней расположения пусковой установки и пунктов оптических измерителей А и В соответственно, м;
R - радиус опасной зоны, м;
RдогА, RдогВ - радиусы догорания ПИ, рассчитанные по данным пунктов оптических измерителей А и В соответственно, м;
l0 - расстояние от пункта оптических измерителей А до проекции точки траектории на горизонтальную плоскость, м;
l1 - расстояние от пункта оптических измерителей В до проекции точки траектории на горизонтальную плоскость, м;
l2 - расстояние от пункта оптических измерителей А до пусковой установки, м;
l3 - расстояние от пункта оптических измерителей В до пусковой установки, м;

- угол отклонения от вертикали, °;

,

- углы в горизонтальной плоскости между прямой, соединяющей пункты оптических измерителей, и прямыми, соединяющими каждый из пунктов оптических измерителей с проекцией точки срабатывания ПИ соответственно, °;

,

- углы в горизонтальной плоскости между прямой, соединяющей пункты оптических измерителей, и прямыми, соединяющими каждый из пунктов оптических измерителей с пусковой установкой соответственно, °;

,

- углы в вертикальной плоскости между горизонтальной плоскостью и направлениями с каждого пункта оптических измерителей на точку срабатывания ПИ соответственно, °.
K1(2) - масштабный коэффициент изображения 1-й (2-й) видеокамеры, мм-1;

- приведенное расстояние от 1-го (2-го) видеорегистратора до точки пуска, м;

- приведенное расстояние от 1-го (2-го) видеорегистратора до основания вехи, м;

- превышение точки регистратора над точкой пуска, м;

- превышение основания вехи над точкой пуска, м;

- отклонение в горизонтальной плоскости основания вехи от оси видеорегистратора, м;
Hр - высота разрыва ПИ, м;
H - высота исследуемого объекта над горизонтальной плоскостью точки пуска, м;
Hв - высота вехи, м;
h1(2) - вертикальный размер (отклонение) изображения исследуемой точки на экране монитора 1-й (2-й) видеокамеры, мм;

- горизонтальный размер (отклонение) изображения исследуемой точки на экране монитора 1-й (2-й) видеокамеры, мм;

- отклонение проекции исследуемой точки на горизонтальную плоскость точки пуска, определенное по результатам регистрации 1-й (2-й) видеокамеры, м;
R - отклонение проекции исследуемой точки на горизонтальную плоскость от точки пуска (радиус), м;
V - скорость движения на данном отрезке траектории, м/с;
E - кинетическая энергия, Дж;
m - масса движущегося объекта, кг;
g - ускорение свободного падения, 9,8 м/с2;

- угол отклонения данного участка траектории от вертикали, град.;
X1,2...n - результаты определения значений исследуемого параметра в отдельной выборке (группе наблюдений);
Xср1,2...k - среднее выборочное значение исследуемого параметра в отдельной выборке;
Xрез - результат наблюдения значения исследуемого параметра;

- выборочная дисперсия исследуемого параметра в отдельной выборке;

- дисперсия исследуемого параметра;
n - количество усредняемых значений наблюдений в выборке;
k - количество групп параллельных испытаний (выборок) изделия при определении значений исследуемого параметра;
f - число степеней свободы дисперсии;
h1, h2, h3 - показания радиометра при градуировке, мм;
Iл - сила излучения лампы, Вт/ср;
Rг - база градуировки, м;
Rи - база измерений, м;
Iном - номинальная ожидаемая сила излучения, Вт/ср;
hиmax - максимальное значение ординаты на диаграмме излучения, мм;
hи1, hи2 - соответственно первая и вторая ординаты диаграммы излучения или рабочего участка диаграммы излучения, если он предусмотрен в технической документации на ПИ;
n - число ординат рабочего участка диаграммы излучения;
hmax - максимальное значение ординаты излучения, мм;
E - пороговое значение поверхностной плотности потока теплового излучения в соответствии с ГОСТ, Вт/м2;
R - радиус опасной зоны, м;
vi - скорость прохождения ударной волны на i-м участке между первичными измерительными преобразователями, м/с;
Ri - расстояние между смежными первичными измерительными преобразователями, м;
ti - время прохождения ударной волной расстояния Ri, с;
Pв - атмосферное давление в день испытания, МПа;
Tв - температура воздуха в день испытания, К;
R - радиус опасной зоны, м;
Rрi - радиус разлета i-го макета ПИ, м;
n - количество макетов ПИ, шт.;

- среднее квадратическое отклонение радиуса разлета макетов ПИ;
Rmax - максимальный радиус разлета макетов ПИ, м;
L - расстояние от ПИ до рамы-мишени, м;

- угол отклонения траектории полета ПИ от линии прицеливания;
Lр - расстояние между рамами-мишенями, м;

- время пролета ПИ расстояния
Lр, с;
vп - скорость полета ПИ, м/с;
m - масса ПИ, кг;
Q - энергия ПИ, Дж;
S - площадь контакта ПИ с преградой в момент соударения, см2;
Qу - удельная энергия ПИ, Дж/см2;
I - сила света ПИ, кд;
tг - время закрытия глаза (равное 0,2 с) или время свечения ПИ, если оно меньше времени закрытия глаза или времени работы ПИ при наблюдении за световым излучением, с;
Hс.и - уровень светового излучения, Дж/м2;
Rз.о - размер зоны опасности, м;
Jr - измеренное значение уровня звука, дБA;
R - расстояние от микрофона до ПИ, м;
l - длина канала, м;
fпр - частота процесса изменения давления, Гц;

- минимальное заданное (ожидаемое) время достижения максимального значения давления, с;

- нелинейность градуировочной характеристики, %;
Xi - Xi-1 - разность соседних градуировочных уровней, мм;
Xmax - максимальный градуировочный уровень, мм;
n - число градуировочных уровней при нагружении (разгружении) измерительного преобразователя;
i - индекс, обозначающий порядковый номер уровня градуировки;

- значение зарегистрированного выходного сигнала, мм;
y - значение градуировочного уровня, соответствующее зарегистрированному значению выходного сигнала, МПа;
P - давление в ПИ в произвольный момент времени, МПа;
tн, tк - моменты времени начала и конца интервала работы ПИ, с;

,

,

, p
min,

- время задержки начала процесса, установления режима, достижения максимального или минимального значения параметра, полное время работы ПИ соответственно, с;
Pmax, Pmin - максимальное и минимальное давление в ПИ соответственно, МПа;

- время достижения максимального или установившегося значения измеряемого параметра, с;
Xi - Xi-1 - разность соседних градуировочных уровней, мм;
Xmax - максимальный градуировочный уровень, мм;
n - число градуировочных уровней при нагружении (разгружении) измерительного преобразователя;
tн, tк - моменты времени начала и конца рассматриваемого интервала работы ПИ, с;

,

,

,

- время задержки начала процесса, установления режима, работы ПИ, достижения характерного значения параметра соответственно, с;
Rmax, Rmin - максимальное и минимальное значение тяги соответственно, Н;

- значение тяги в произвольный момент времени

, Н;
Jп - полный импульс тяги, Н·с;
Fmax - максимальное значение силы отдачи, Н;
Wi - энергия зажигания ПИ, Дж;
C - электрическая емкость конденсатора, Ф;
U - электрическое напряжение на конденсаторе, В;
n - число измерений;
D - суммарная дисперсия случайного процесса в соответствующем диапазоне частот, м2/с4;

- удвоенная длительность фронта нарастания пикового ударного ускорения, с;
T - длительность испытания, с;
L - дальность транспортирования, км;
N - число ударов на 1 км дороги;
fв, fн - соответственно верхняя и нижняя частоты диапазона виброиспытаний, Гц;
fср - средняя частота диапазона виброиспытаний, Гц;
tс - сокращенная длительность испытания, с;
Wс - увеличенная амплитуда форсированного испытания, м/с2;
Wн - амплитуда виброускорения при нормальном режиме испытания, м/с2;
k - показатель степени при форсированном испытании.
5 Отбор образцов для испытаний
5.1 Количество ПИ, отбираемых для испытаний, правила отбора ПИ и подготовки их к испытаниям должны быть установлены программой испытаний.
5.2 При отсутствии в программе испытаний указаний о количестве ПИ, подлежащих испытаниям для целей подтверждения соответствия отбирают по 12 ПИ, но не менее двух потребительских упаковок.
6 Методы определения параметров опасных факторов
6.1 Метод определения размеров пламени
6.1.1 Метод позволяет определять размеры пламени или (и) радиус разлета горящих элементов при работе малогабаритных ПИ. Сущность метода заключается в видеорегистрации пламени работающего ПИ и сравнении размеров пламени с размерами изображения эталона на экране монитора или телевизора. Погрешность измерений не более 10%.
6.1.1.1 Средства испытаний и вспомогательные устройства
6.1.1.1.1 Видеокамера 2 шт.
6.1.1.1.2 Рейка длиной от 0,3 до 1,0 предполагаемой длины пламени или радиуса разлета горящих элементов.
6.1.1.1.4 Устройство любого типа для закрепления ПИ на месте испытания.
6.1.1.1.5 Видеомагнитофон (устройство видеовоспроизведения), формат воспроизведения которого соответствует формату записи изображения видеокамерами по
6.1.1.1.
(в ред.
Изменения N 1, введенного в действие Приказом Росстандарта от 30.06.2022 N 560-ст)
6.1.1.1.6 Монитор или телевизор.
6.1.2 Порядок подготовки к испытаниям и их проведения
6.1.2.1 Испытания проводят на открытом воздухе в темное время суток или в затемненном помещении размерами не менее 6 x 6 x 3,5 м.
6.1.2.2 Устанавливают устройство для закрепления ПИ и видеокамеры так, чтобы последние находились на расстоянии не менее трех ожидаемых размеров пламени, а лучи, соединяющие каждую из видеокамер с устройством для закрепления ПИ, располагались под углом (90 +/- 3)°.
6.1.2.3 Устанавливают на устройстве для крепления ПИ (далее - устройство) рейку, располагая ее вертикально с допустимым отклонением не более 3°.
6.1.2.4 С помощью трансфокаторов видеокамер устанавливают масштаб записи изображений, при котором регистрируемое пламя будет полностью попадать в поле зрения каждой из видеокамер.
6.1.2.5 Регистрируют рейку каждой видеокамерой.
6.1.2.6 Закрепляют в устройстве ПИ так, чтобы пламя было направлено вверх.
6.1.2.7 Поджигают ПИ в соответствии с руководством по применению.
6.1.2.8 Регистрируют видеокамерами горящее изделие в течение времени горения.
6.1.3 Порядок обработки результатов испытаний
6.1.3.1 Воспроизводят видеозапись испытаний на экране монитора или телевизора.
(в ред.
Изменения N 1, введенного в действие Приказом Росстандарта от 30.06.2022 N 560-ст)
6.1.3.2 Определяют масштабный коэффициент по формуле

. (1)
6.1.3.3 Определяют длину пламени по формуле
где L - длина рейки, м;
(введено
Изменением N 1, введенным в действие Приказом Росстандарта от 30.06.2022 N 560-ст)
Lп - длина пламени, м.
(введено
Изменением N 1, введенным в действие Приказом Росстандарта от 30.06.2022 N 560-ст)
6.1.3.4 Определяют ширину пламени (разлета искр) по формуле
Если пламя является осесимметричной фигурой, то значения величин, указанных в
6.1.3.3, 6.1.3.4, определяют по
формулам (2),
(2а). При этом для обработки из всей видеозаписи используется кадр изображения с максимальным значением ширины пламени (разлета искр), а при испытаниях допускается использовать одну видеокамеру.
(в ред.
Изменения N 1, введенного в действие Приказом Росстандарта от 30.06.2022 N 560-ст)
При отсутствии симметрии пламени определение параметров по
6.1.3.3, 6.1.3.4 проводят по видеозаписям двух видеокамер. При этом за результат измерений принимается наибольшее значение.
6.2 Метод измерения размеров пламени и температуры поверхностей пиротехнических изделий (метод 1)
6.2.1 По данному методу проводят измерения и расчеты, позволяющие установить распределение яркостных температур на поверхности излучающего объекта, визуализируемого инфракрасной камерой. Объектом определения полей яркостных температур являются возникающие при горении ПС тепловые зоны: пламени и корпуса ПИ. В основу метода положен принцип зависимости интенсивности теплового излучения объекта от температуры его поверхности.
Пировидиконная инфракрасная камера дистанционно, бесконтактно и автономно преобразует измеряемое тепловое излучение в инфракрасной области спектра в видеосигнал со сканированием по полю излучающего объекта в телевизионном стандарте. Перевод яркости изображения в распределение температур осуществляется посредством градуировки по излучению абсолютно черного тела (АЧТ) с помощью пакета программ для обработки изображений.
(абзац введен
Изменением N 1, введенным в действие Приказом Росстандарта от 30.06.2022 N 560-ст)
Метод обеспечивает измерение полей яркостных температур, значения которых составляют от 20 °C до 2400 °C, на поверхности нагретых объектов.
(абзац введен
Изменением N 1, введенным в действие Приказом Росстандарта от 30.06.2022 N 560-ст)
Относительная погрешность метода зависит от верхней и нижней границ диапазона определяемых яркостных температур, режима измерения и составляет от +/- 10% (для верхней границы диапазона температур) до +/- 35% (для нижней границы)
(приложение А).
(абзац введен
Изменением N 1, введенным в действие Приказом Росстандарта от 30.06.2022 N 560-ст)
Значение временного разрешения при определении полей яркостных температур составляет 40 мс.
(абзац введен
Изменением N 1, введенным в действие Приказом Росстандарта от 30.06.2022 N 560-ст)
При выполнении измерений должны быть соблюдены следующие условия:
(абзац введен
Изменением N 1, введенным в действие Приказом Росстандарта от 30.06.2022 N 560-ст)
температура окружающей среды - от 5 °C до 30 °C для пировидиконной инфракрасной камеры; для остального оборудования - от 15 °C до 35 °C; максимальная влажность воздуха - до 80% при температуре (25 +/- 1) °C. Атмосферное давление - от 7,98·104 Па до 1,06·105 Па.
(абзац введен
Изменением N 1, введенным в действие Приказом Росстандарта от 30.06.2022 N 560-ст)
Уровни вибраций, электромагнитных и радиочастотных помех должны быть установлены в документации на средства измерений.
(абзац введен
Изменением N 1, введенным в действие Приказом Росстандарта от 30.06.2022 N 560-ст)
6.2.1.1 Средства испытаний и вспомогательные устройства
6.2.1.1.1 Пировидиконная инфракрасная камера типа Video Term 92 с германиевым объективом (далее - инфракрасная камера). Характеристики инфракрасной камеры: стандарт изображения: 625 строк, 25 кадров в секунду; видеовыход 1 В/75 Ом; область спектральной чувствительности 3 - 14 мкм; угол поля зрения объектива 18°.
6.2.1.1.2 Оптические фильтры, ширина полосы пропускания и средняя длина волны которых расположены в "окнах" пропускания атмосферы, соответственно 3 - 5 и 8 - 14 мкм.
6.2.1.1.3 Видеорегистратор типа VO-7630 с контрольным монитором (далее - монитор), обеспечивающий видеовыход (1 + 0,2) В/75 Ом и отношение сигнал/шум более 46 дБ.
6.2.1.1.4 Персональный компьютер (далее - ПК) типа IBM PC с цветным графическим печатающим устройством и операционной системой типа MS-DOS версии не ниже 5.0.
6.2.1.1.5 Пакеты программного обеспечения PITMIN и WORKIMA для обработки изображений, программа вывода изображений на печатающее устройство.
6.2.1.1.6 Интерфейсный блок PITER-500 для передачи изображений от видеорегистратора в ПК. Рабочая частота 10 МГц, объем видеопамяти 512 кбайт, разрядность аналогового цифрового преобразователя (АЦП) 8 бит.
6.2.1.1.7 Штатив для крепления инфракрасной камеры любого типа.
6.2.1.1.8 Сеть (генератор) переменного тока напряжением (220 + 22) В, частотой (50 + 1) Гц, мощностью не менее 300 В·А.
6.2.1.1.9 Рулетка по
ГОСТ 7502 длиной не менее 100 мм.
6.2.2 Порядок подготовки к проведению испытаний
6.2.2.1 Размещают инфракрасную камеру на определенном расстоянии (базе измерений) от места установки ПИ. Конкретное расстояние
L выбирают, исходя из ожидаемых размеров
d тепловой зоны и угла поля зрения

объектива инфракрасной камеры:

. Предусматривают защиту инфракрасной камеры от возможного механического повреждения ударной волной и осколками при срабатывании ПИ. При необходимости размещают инфракрасную камеру на штативе.
6.2.2.2 Подключают используемые приборы к сети (генератору) переменного тока с помощью кабелей питания в соответствии с руководством по эксплуатации.
6.2.2.3 Включают и настраивают инфракрасную камеру и видеорегистратор в соответствии с требованиями руководств по их эксплуатации. Соединяют выход указанной камеры с входом видеорегистратора коаксиальным кабелем параллельно с монитором.
6.2.2.4 До установки испытуемого ПИ определяют масштаб получаемого изображения путем регистрации инфракрасной камерой источников излучения, расположенных в месте установки ПИ на известном расстоянии друг от друга.
В полигонных условиях источниками излучения в инфракрасной области спектра могут служить, например, фальшфейеры белого огня. Для целей масштабирования допускается использовать любое инертное тело известных геометрических размеров, нагретое выше уровня фона.
Расстояние между масштабирующими источниками излучения выбирают в зависимости от базы измерений так, чтобы получить на мониторе расстояние между изображениями источников не менее 10 мм.
6.2.2.5 Наблюдая в видоискатель инфракрасной камеры тепловую картину масштабируемого изображения, настраивают указанную камеру, регулируя объектив, на резкое изображение. Регистрируют его на видеорегистраторе за время не менее 30 с.
6.2.2.6 Устанавливают на объективе инфракрасной камеры инфракрасный фильтр, предусмотренный программой испытаний.
6.2.2.7 Устанавливают значение диафрагмы объектива камеры по градуировочному
графику (приложение Б) в соответствии с ожидаемой максимальной яркостной температурой тепловой зоны продуктов сгорания ПИ или требуемым диапазоном температур.
6.2.2.8 За 30 - 40 с до инициирования ПИ включают в режим записи видеорегистратор.
6.2.2.9 При горении ПИ контролируют процесс записи изображения тепловой зоны ПИ на мониторе.
6.2.2.10 После окончания работы ПИ выключают видеорегистратор спустя 30 - 60 с.
6.2.3 Правила обработки результатов испытаний
6.2.3.1 Соединяют кабелями выход видеорегистратора со входом интерфейсного блока сопряжения с ПК, а выход интерфейсного блока - со входом монитора. К параллельному интерфейсу ПК подсоединяют графическое печатающее устройство.
6.2.3.2 Включают видеорегистратор, монитор, печатающее устройство, ПК и настраивают их в соответствии с требованиями руководств по эксплуатации.
6.2.3.3 Загружают в ПК операционную систему и запускают на выполнение командный файл PITMIN. BAT для инициирования пакета программ обработки изображений.
6.2.3.4 Используя режим стоп-кадра видеорегистратора выбирают по монитору нужный кадр изображения, соответствующий определенному моменту эволюции тепловой зоны.
6.2.3.5 Вводят в оперативную память ПК выбранный кадр изображения и записывают его в виде файла данных в память ПК с помощью программного пакета PITMIN. Повторяют эту операцию для всех кадров изображений, подлежащих обработке.
6.2.3.6 Находят масштабный коэффициент из отношения действительного размера объекта к его размеру на изображении.
6.2.3.7 Обрабатывают каждый файл данных программным пакетом WORKIMA для представления изображения на экране дисплея ПК. При обработке вводят в качестве исходных данных значение температуры окружающей среды, масштаб изображения, базу измерений, значение диафрагменного числа объектива при измерениях, номер кадра и номер фильтра. При этом градации температуры на изображении объекта в разных его частях кодируются цветом, каждому цвету присваивается свой интервал температур, полученный на основании градуировки камеры
(приложение Б).
6.2.3.8 Записывают в файлы полученные термограммы объекта. Выводят на цветное графическое печатающее устройство обработанный и зафиксированный по
6.2.3.6 и
6.2.3.7 кадр изображения для получения документальной копии.
6.2.3.9 Оформляют обработанные результаты испытаний в виде протокола. К протоколу прилагают набор печатных копий обработанных кадров изображений.
6.2.3.10 Действительный размер всей тепловой зоны или ее части находят путем умножения измеренного размера на изображении на масштабный коэффициент.
6.3 Метод измерения размеров пламени и температуры поверхностей пиротехнических изделий (метод 2)
Метод позволяет измерять температуру пламени или корпуса ПИ при испытании ПИ с помощью термопар.
(абзац введен
Изменением N 1, введенным в действие Приказом Росстандарта от 30.06.2022 N 560-ст)
Погрешность измерений - не более 10%.
(абзац введен
Изменением N 1, введенным в действие Приказом Росстандарта от 30.06.2022 N 560-ст)
6.3.1 Средства испытаний и вспомогательные устройства
6.3.1.1 Отметчик времени любого типа, погрешность не более 0,5%.
6.3.1.2 Преобразователь термоэлектрический (далее - термопреобразователь).
6.3.1.3 Термопары L.
6.3.1.4 Осциллограф светолучевой по
ГОСТ 9829.
6.3.1.5 Прибор автоматический следящего уравновешивания по
ГОСТ 7164.
6.3.1.6 Прибор универсальный измерительный Р4833.
6.3.1.7 Устройство для измерения температуры, включающее в себя следующие конструктивные элементы:
6.3.1.7.1 Узел крепления испытуемого ПИ, исключающий перемещение ПИ во время испытаний.
6.3.1.7.2 Узел крепления термопар, позволяющий варьировать их положение в радиальном направлении от 20 до 500 мм, в осевом - от 20 до 1500 мм.
(в ред.
Изменения N 1, введенного в действие Приказом Росстандарта от 30.06.2022 N 560-ст)
6.3.1.9 Кабель термопарный любого типа (удельное сопротивление от 0,33·10-6 до 0,68·10-6 Ом·м, сопротивление изоляции не менее 10000 Ом) поперечным сечением провода не менее 0,5 мм2.
6.3.2 Порядок подготовки к испытаниям
6.3.2.1 Собирают измерительную схему в соответствии с
рисунком 1 или
2.
6.3.2.2 Схема, показанная на
рисунке 1, позволяет измерять температуру в процессах действия ПИ длительностью не менее 1 с без предварительной градуировки измерительного тракта.
1 - потенциометр КСП; 2 - испытуемое ПИ;
3 - термообразователь
Рисунок 1 - Структурная схема изменения температуры
без градуировки измерительного тракта
6.3.2.3 Схема, показанная на
рисунке 2, позволяет измерять температуру в процессах действия ПИ длительностью не менее 0,1 с с предварительной градуировкой измерительного тракта.
1 - испытуемое ПИ; 2 - термообразователь; 3 - универсальный
измерительный прибор Р 4833; 4 - переключатель;
5 - осциллограф; 6 - отметчик времени
Рисунок 2 - Структурная схема изменения температуры
с градуировкой измерительного тракта
6.3.2.3.1 Переключатель
4 ставят в позицию
А (рисунок 2).
6.3.2.3.2 Разделяют ожидаемый диапазон измеряемой термоэлектродвижущей силы (далее - ТЭДС) на 5 - 6 равных интервалов с учетом типа термопары, максимально ожидаемой температуры (с учетом температуры холодного спая) в соответствии с номинальными статическими характеристиками термопар, указанными в
ГОСТ 6616.
6.3.2.3.3 Задают на потенциометре выбранный уровень ТЭДС.
6.3.2.3.4 Включают осциллограф и записывают градуировочное значение ТЭДС.
6.3.2.3.5 Измерительную схему градуируют не реже чем 1 раз в месяц, а также при замене элементов схемы.
6.3.2.4 Крепят термопару на корпусе ПИ с помощью металлических или проволочных хомутов.
6.3.2.5 Устанавливают ПИ в посадочное гнездо узла крепления.
6.3.2.6 Размещают термопары в точках измерения температуры. Место положения термопар и их количество указывают в программе испытаний.
6.3.3 Порядок проведения испытаний
6.3.3.1 Устанавливают скорость перемещения осциллографической фотобумаги (бумажной ленты) и частоту отметок времени, достаточные для расшифровки записи процесса действия ПИ во времени.
6.3.3.2 Включают регистрирующий прибор осциллограф или самописец. Переключатель
4 ставят в позицию
Б (см.
рисунок 2).
6.3.3.3 Приводят ПИ в действие.
6.3.3.4 Температуру регистрируют в течение времени, установленного программой испытаний.
6.3.3.5 После завершения испытаний выключают регистрирующую аппаратуру.
6.3.3.6 Демонтируют термопары.
6.3.4 Порядок обработки результатов испытаний
6.3.4.1 При выполнении измерений по схеме, показанной на
рисунке 1, считывают значения температуры и записывают их в протокол испытаний.
6.3.4.2 При выполнении измерений по схеме, показанной на
рисунке 2, строят градуировочный график.
6.3.4.3 Измеряют ординаты отклонения светового пятна гальванометра от нулевого положения при контрольных значениях электрического напряжения на градуировочной осциллограмме с абсолютной погрешностью +/- 0,5 мм.
6.3.4.4 Строят градуировочную характеристику в виде графика зависимости: значение ТЭДС - значение отклонения светового пятна гальванометра от нулевого положения.
6.3.4.5 Измеряют отклонение светового пятна гальванометра на рабочей осциллограмме с абсолютной погрешностью +/- 0,5 мм.
6.3.4.6 Определяют по градуировочной характеристике значение ТЭДС, соответствующее каждому отклонению.
6.3.4.7 Прибавляют к измеренному значению ТЭДС значение ТЭДС, соответствующее температуре холодного спая, и определяют значение температуры для суммарного значения ТЭДС по
ГОСТ 6616.
6.3.4.8 Обработанные результаты регистрируют в протоколе испытаний.
6.4 Метод определения характерных точек траектории (метод 1)
6.4.1 Метод позволяет определять высоту подъема, высоту разрыва, высоту догорания, угол отклонения от направления стрельбы и радиус разлета светящихся элементов ПИ (сигнальных средств и фейерверков).
Сущность метода заключается в засечке оптическими приборами (например, теодолитами) точки срабатывания ПИ на траектории по любому световому эффекту и дальнейшем расчете координат точки по формулам.
Погрешность метода не превышает 10%.
Метод не рекомендуется применять, если угловая скорость сопровождения летящего ПИ или элемента ПИ при измерениях более 0,5 рад/с.
Метеорологические условия, при которых не допускаются испытания:
а) грозовое состояние атмосферы, интенсивное развитие грозовых облаков, приближение шквала;
б) быстрое изменение погоды при шквалистом ветре у земли;
в) скорость наземного ветра свыше 5 м/с, если другая не установлена программой испытаний;
(в ред.
Изменения N 1, введенного в действие Приказом Росстандарта от 30.06.2022 N 560-ст)
г) туман, дымка и осадки, препятствующие засечке точек траектории.
6.4.1.1 Средства испытаний и вспомогательные устройства
6.4.1.1.1 Оптический измеритель любого типа, позволяющий определять изменение положения предмета в пространстве:
- в горизонтальной плоскости +/- 75° от исходного положения;
- в вертикальной плоскости от 0° до 60°;
- скорость изменения угла в обеих плоскостях до 0,5 рад/с.
В качестве примера оптического устройства могут служить:
- теодолит по
ГОСТ 10529, снабженный коллиматорным визиром;
- артиллерийская буссоль.
Количество оптических измерителей, применяемых при испытаниях одновременно для измерения каждого параметра, - не менее двух.
6.4.1.1.2 Метеостанция любого типа или комплект приборов для измерения температуры воздуха, скорости и направления ветра.
6.4.1.1.3 Испытательная площадка, которая включает в себя следующие элементы:
- пункт управления;
- укрытие для испытателей;
- пусковую установку;
- пункты оптических измерителей.
6.4.1.1.3.1 Место для пусковой установки выбирают таким образом, чтобы при стрельбе было обеспечено определение всех точек траектории, предусмотренных программой испытаний.
(в ред.
Изменения N 1, введенного в действие Приказом Росстандарта от 30.06.2022 N 560-ст)
6.4.1.1.3.2 Место для пунктов оптических измерителей выбирают таким образом, чтобы обеспечить прямую видимость между пунктами, а по отношению к пусковой установке оптические измерители следует располагать так, чтобы горизонтальные углы засечки с пунктов на пусковую установку находились в пределах 30 - 150°.
Вертикальные углы засечки должны быть не менее 10°, но не более допустимых для оптического измерителя данного типа.
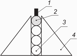
Рекомендуемая схема взаимного расположения оптических измерителей и пусковой установки согласно
рисунка 3.
А и В - пункты оптических измерителей; C - пусковая
установка; O - точка срабатывания ПИ; O1 - проекция точки
срабатывания ПИ на горизонтальную плоскость
Рисунок 3 - Рекомендуемая схема расположения пунктов
оптических измерителей и пусковой установки
6.4.1.1.3.3 Пункты оптических измерителей и пусковую установку располагают на одном уровне. Допускается пункты оптических измерителей и пусковую установку располагать на разных уровнях и учитывать эту разность в том случае, если она превышает +/- 1% высоты регистрируемой точки траектории.
6.4.1.1.4 Радио- или телефонная система связи между пунктами оптических измерителей и пунктом управления.
6.4.1.1.5 Дальномер оптический двойного изображения, средняя квадратическая погрешность измерения на 100 м не более 80 мм.
6.4.2 Порядок подготовки к проведению испытаний
| | ИС МЕГАНОРМ: примечание. В официальном тексте документа, видимо, допущены опечатки: имеются в виду п.п. 6.4.1.1.3.2, 6.4.1.1.3.3, а не 6.4.1.3.2, 6.4.1.3.3 соответственно. | |
6.4.2.1 Выбирают место для пунктов оптических измерителей в соответствии с требованиями
6.4.1.3.2,
6.4.1.3.3.
6.4.2.2 Проверяют готовность к испытаниям пусковой установки и системы радио- или телефонной связи.
6.4.2.3 Взаимно ориентируют оптические измерители, для чего наводят их друг на друга и на горизонтальных шкалах устанавливают нулевые показания или записывают показания шкал и принимают их за начало отсчета (условный 0). Определяют горизонтальные углы засечки на пусковую установку с каждого пункта оптических измерителей.
6.4.2.4 Дальномером измеряют расстояние между оптическими измерителями, между каждым оптическим измерителем и пусковой установкой. Допускается измерять расстояния любым другим способом с погрешностью не более 1%.
6.4.2.5 Определяют разность уровней расположения пунктов оптических измерителей и пусковой установки по формуле

. (3)
6.4.2.6 При использовании в качестве оптических измерителей теодолитов с коллиматорными визирами проводят их взаимную юстировку по любой удаленной точке.
6.4.2.7 Наводят оптические измерители на предполагаемую точку срабатывания ПИ и сообщают на пункт управления о готовности к испытаниям.
6.4.3 Порядок проведения испытаний
6.4.3.1 По сигналу о готовности с пунктов оптических измерителей производят пуск ПИ.
6.4.3.2 Засекают точки траектории полета ПИ, указанные в программе испытаний.
(в ред.
Изменения N 1, введенного в действие Приказом Росстандарта от 30.06.2022 N 560-ст)
6.4.3.3 Отсчитывают углы по шкалам оптических измерителей.
6.4.3.4 Для исключения возможных субъективных ошибок при испытаниях рекомендуется засечку точек траектории полета ПИ с каждого пункта оптических измерителей вести одновременно несколькими оптическими измерителями.
6.4.4 Правила обработки результатов испытаний
6.4.4.1 По данным измерений на каждом пункте оптических измерителей (А и В) рассчитывают высоту каждой из заданных в программе испытаний точек траектории полета ПИ, радиус опасной зоны, угол отклонения от направления стрельбы (при стрельбе вертикально вверх), высоту догорания ПЭ.
Радиус опасной зоны определяют как расстояние от пусковой установки до проекции на горизонтальную плоскость наиболее удаленной светящейся точки работающего ПИ.
Программа испытаний может предусматривать определение других характеристик траектории.
(в ред.
Изменения N 1, введенного в действие Приказом Росстандарта от 30.06.2022 N 560-ст)
6.4.4.2 Высоту каждой из заданных в программе испытаний точек траектории полета определяют по данным с каждого пункта оптических измерителей по формулам:
(в ред.
Изменения N 1, введенного в действие Приказом Росстандарта от 30.06.2022 N 560-ст)

; (4)

. (5)
Приказом Росстандарта от 30.06.2022 N 560-ст)
Знак "плюс" в
формулах (4) и
(5) применяется, когда оптические измерители расположены выше пускового устройства, знак "минус" - ниже пускового устройства.
Если высоты точки траектории полета определяли одним теодолитом с каждого пункта, а разность между расчетными значениями HА и HВ получили больше 20%, причем за 100% следует принимать меньшее значение, то испытание считают незачетным.
При разности между значениями HА и HВ, меньшей 20%, все испытания следует считать зачетными, а оценку вести по среднему Hср значению из HА и HВ:

. (6)
6.4.4.3 Радиус опасной зоны определяют по формуле

, (7)
где

; (8)

; (9)

; (10)

. (11)
Расстояния
l2 и
l3 могут быть измерены на местности в соответствии с требованиями
6.4.2.4.
6.4.4.4 Угол отклонения от вертикали при стрельбе вертикально вверх определяют по формуле

. (12)
6.5 Метод определения характеристик траектории движения (метод 2)
6.5.1 Метод позволяет определять координаты точек срабатывания (разрыва), подъема, догорания, угол отклонения от направления стрельбы, скорость движения ПИ, снабженного трассером или работающим двигателем, и радиус разлета горящих (светящихся) элементов. Метод может также использоваться для определения границ и размеров цветных или светящихся аэрозольных образований (дымов). При этом размеры определяются по координатам граничных точек исследуемого образования.
Сущность метода заключается в визуализации траектории полета ПИ видеорегистрацией с записью результатов наблюдений и обработке изображения по заданному алгоритму. Погрешность метода не превышает 10%.
(абзац введен
Изменением N 1, введенным в действие Приказом Росстандарта от 30.06.2022 N 560-ст)
6.5.1.1 Средства испытаний и вспомогательные устройства
6.5.1.1.1 Видеокамера 2 шт.
6.5.1.1.2 Стационарная или переносная веха высотой 20 - 50 м (5 - 20 м для переносной).
6.5.1.1.4 Испытательная площадка с оборудованными в центральной зоне пусковыми устройствами ПУ для запуска ПИ. Размер каждой из сторон площадки должен быть не менее трех радиусов опасной зоны. К площадке в двух взаимно перпендикулярных направлениях должны примыкать коридоры, проходящие через центральную зону, ширины и длины которых должны быть достаточными для видеосъемки всей траектории полета наблюдаемых элементов от пусковой установки до точки затухания горящих элементов или их падения на землю.
6.5.1.1.6 Устройства бесперебойной двусторонней связи между операторами ПУ и видеокамер.
6.5.1.1.7 Уровень.
(в ред.
Изменения N 1, введенного в действие Приказом Росстандарта от 30.06.2022 N 560-ст)
6.5.1.1.9 Бумага масштабно-координатная по
ГОСТ 334 (далее - миллиметровая бумага).
6.5.2 Порядок подготовки к проведению испытаний
6.5.2.1 Устанавливают (проверяют) вехи вертикально с отклонением не более 3°.
6.5.2.2 Размещают ПУ в центре испытательной площадки.
6.5.2.3 Устанавливают и нивелируют относительно горизонтальной плоскости ПУ видеокамеры в двух взаимно перпендикулярных направлениях так, чтобы обеими видеокамерами можно было фиксировать всю траекторию полета и положения вех, а точка пуска отображалась бы в середине нижней части экрана видоискателя каждой видеокамеры.
6.5.2.4 Трансфокатором настраивают видеокамеры таким образом, чтобы апертура каждой камеры вмещала все исследуемые точки траектории с запасом в 20 - 30%, а изображение используемой вехи имело максимально возможный размер, но не менее 20% от высоты кадра. При невозможности совмещения указанных требований производят соответствующие изменения положения точек установки камер или вех. Производят кратковременную запись изображения испытательной площадки и в дальнейшем положения камер, вех. Фокусное расстояние объективов видеокамер без крайней необходимости не изменяют.
6.5.2.5 Производят осмотр испытуемого образца и его подготовку к испытаниям. Вносят в рабочий журнал реквизиты образца и выявленные замечания по его состоянию.
6.5.2.6 Измеряют и регистрируют в рабочем журнале расстояния от каждой видеокамеры до пусковой установки и вех, высоту вех, превышения высот установки видеокамер и оснований вех над местом расположения ПУ, а также перечень и реквизиты используемых приборов и оборудования, метеоусловия и условный код испытания.
6.5.3 Порядок проведения испытаний
6.5.3.1 Снаряжают пусковую установку испытуемым ПИ.
6.5.3.2 Подготавливают видеокамеры к записи и по каналам связи передают на пусковую установку сигнал о готовности к регистрации. При получении команды на включение операторы подтверждают получение команды и включают видеокамеры.
6.5.3.3 Производят пуск ПИ.
6.5.3.4 Производят видеозапись до полного исчезновения в видоискателе изображений исследуемых объектов. В процессе регистрации в аудиоканале камеры (или рабочем журнале) согласовывают с оператором пусковой установки и фиксируют код данной видеозаписи (испытания), условный номер камеры и возможные комментарии визуальных наблюдений. Передают на пусковую установку сигнал о завершении регистрации и выключают видеокамеры.
6.5.3.5 В процессе настройки и регистрации в видеокамерах должна быть активирована опция отображения в кадре даты и времени.
6.5.3.6 В случае обнаружения нарушения требований
6.5.2.3,
6.5.2.4 испытания останавливают и производят перенастройку системы регистрации согласно
6.5.2.3,
6.5.2.4 и проводят повторные испытания.
6.5.4 Правила обработки результатов испытаний
6.5.4.1 Производят анализ программы испытаний и вносят в протокол первичной обработки (рабочий журнал) реквизиты объекта испытаний, наименования всех исследуемых параметров, данные, предусмотренные
подпунктами 6.5.2.5 и
6.5.2.6 (из журнала испытаний), реквизиты носителей информации и используемых при обработке приборов и инструментов, необходимые замечания (при наличии) и текущую дату.
6.5.4.2 Анализируют видеозаписи обеих камер и по их результатам принимают решение о возможности выбора одной из них в качестве основной.
6.5.4.3 Для каждой видеокамеры измеряют размеры изображений всех исследуемых точек траектории и вех на экране монитора или телевизора и вносят их значения в протокол (рабочий журнал).
6.5.4.4 Для каждой видеокамеры определяют приведенные расстояния и высоты точек пуска и вех. Для случаев, когда приведенное значение отличается от исходного не более чем на 5%, допускается использовать исходные значения. Используемые при дальнейшей обработке значения вносят в протокол (рабочий журнал).
6.5.4.5 Для каждой видеокамеры вычисляют масштабные коэффициенты

. (12а)
6.5.4.6 Для исследуемых точек определяют отклонения их проекций на плоскость ПУ от осевых линий видеокамер

. (12б)
6.5.4.7 Если проекция исследуемой точки на экране монитора расположена справа от точки пуска, то соответствующее отклонение

считается положительным, в противном случае отклонение считается отрицательным. При необходимости вычисляют отклонения проекций (радиус разлета) исследуемых точек от точки пуска

. (12в)
6.5.4.8 Для исследуемых точек определяют отклонения их от плоскости ПУ (высоты)

, (12г)

. (12д)
6.5.4.9 В качестве координат любой видимой точки траектории в системе координат с началом в точке пуска принимаются

,

и
H.
6.5.4.10 При определении вершины траектории используют кадр основной камеры с наибольшим значением
h1, фиксируют момент времени и определяют отклонения на кадре записи второй камеры для данного момента времени. Из
соотношений (12г) и
(12д) определяют искомую высоту. Если основная камера не выбрана, то операции проводят для каждой камеры, а результатом считают среднее из полученных значений.
6.5.4.11 При определении высоты догорания используют кадр основной камеры с наименьшим значением
h1, фиксируют момент времени и определяют отклонения на кадре записи второй камеры для данного момента времени. Из
соотношений (12г) и
(12д) определяют искомую высоту. Если основная камера не выбрана, то операции проводят для каждой камеры, а результатом считают среднее из полученных значений.
6.5.4.12 При определении скорости движения светящегося объекта на заданном участке траектории выбирают изображения двух крайних точек участка (1 и 2), определяют координаты и моменты времени прохождения этих точек, расстояние между ними и скорость перемещения как частное расстояния и времени.
6.5.4.13 Значение кинетической энергии движения объекта получают по результатам определения скорости движения на данном участке траектории и массы объекта по результатам предварительного взвешивания.
Допускается оценивать значение кинетической энергии движения фейерверочного изделия по результатам определения высоты разрыва и его массы по формуле
E = m·g·HР. (12е)
6.5.4.14 Направленность полета объекта определяют на основании определения по
формулам (12а) и
(12г) координат двух выбранных точек траектории (1 и 2) и угла наклона траектории по формуле

. (12ж)
6.5.4.15 При большом количестве одновременно наблюдаемых объектов и невозможности однозначной их идентификации на изображениях обеих камер для определения радиуса догорания на изображении основной камеры (1) выбирают два объекта с наибольшим положительным и отрицательным горизонтальными отклонениями точки догорания

и фиксируют показания таймера в моменты их исчезновения с экрана. На кадрах второй камеры, соответствующих зафиксированным моментам времени, выделяют объекты с наибольшим положительным горизонтальным отклонением

. Для выбранных значений

и

по
формулам (12б) и
(12в) определяют отклонения точек догорания и радиус догорания.
При существенном различии полученных значений за результат наблюдения принимают наибольшее. Если различие полученных значений не превышает 5%, то за результат наблюдения принимают их среднее значение.
Если основная камера не выбрана, то операции проводят для каждой камеры.
6.5.4.16 При большом количестве одновременно наблюдаемых объектов и невозможности однозначной их идентификации на изображениях обеих камер для определения высоты догорания на изображении основной камеры выбирают объект с наименьшим вертикальным отклонением h1 точки догорания и фиксируют показания таймера в момент его исчезновения с экрана. На кадре второй камеры, соответствующем зафиксированному моменту времени, выделяют объект с наибольшим отрицательным горизонтальным отклонением. Для выбранного объекта наблюдения основной камеры определяют высоту точки догорания и отключение ее проекции по формулам

. (12и)
Если основная камера не выбрана, то операции проводят для каждой камеры.
При существенном различии полученных значений за результат наблюдения принимают наименьшее значение. Если различие полученных значений не превышает 5%, то за результат наблюдения принимают их среднее значение.
6.5.4.17 При определениях радиуса разлета и высоты догорания многоэлементных ПИ для повышения точности результатов наблюдений рекомендуется на изображении основной и вспомогательной камер выбирать по две группы объектов. В группу допускается объединять объекты с отклонениями, различающимися не более чем на 10%.
Количество объектов в каждой группе, координаты выбранных объектов и результаты расчетов должны фиксироваться в протоколе первичных испытаний (рабочем журнале).
Горизонтальные отклонения вспомогательной камеры усредняют.
С использованием осредненного значения определяют высоты догорания всех выбранных объектов основной камеры и производят статистическую обработку результатов с определением среднего значения, среднеквадратического отклонения и числа степеней свободы:

;
f =
n - 1, (12к)
где i - от 1 до n.
Если испытания дублировались k раз, за результат испытаний принимают и фиксируют в протоколе испытания

; (12л)
где j - от 1 до k.
Оценку соответствия полученных при испытании значений характеристики установленным требованиям производят по осредненным по всем результатам наблюдений значениям Xрез с учетом его верхнего и нижнего значений при принятом уровне доверительной вероятности P

, (12м)
| | ИС МЕГАНОРМ: примечание. В официальном тексте документа, видимо, допущена опечатка: имеется в виду Приложение М, а не Н. | |
6.5.4.18 В процессе первичной обработки видеозаписей должен проводиться контроль размеров изображения вех и их совпадение с результатами контрольной регистрации по
6.5.2.4. При обнаружении нарушения данного условия дальнейшая обработка прекращается для выявления причин нарушения. Если установлено, что нарушение обусловлено только изменением фокусного расстояния объектива камеры (трансфокатора), производится пересчет угловых коэффициентов, и дальнейшие расчеты производятся с использованием пересчитанных значений. В противном случае результаты измерений аннулируются. Факт обнаружения нарушений настроек, причины нарушения, момент времени нарушения (в кадре) и результаты пересчетов или аннулирование результатов фиксируются в протоколе первичной обработки (рабочем журнале).
6.5.4.19 Если симметричность объекта наблюдения относительно вертикальной оси не вызывает сомнения, а определяемый размер существенно меньше расстояния до видеорегистратора, допускается использование одной камеры.
6.6 Метод измерения излучения в инфракрасном диапазоне
6.6.1 Средства испытаний и вспомогательные устройства
6.6.1.1 Радиометр, удовлетворяющий следующим требованиям:
6.6.1.1.1 Диапазон спектральной чувствительности от 0,7 до 14,0 мкм.
6.6.1.1.2 Постоянная времени, не более 0,2 с.
6.6.1.1.3 Отклонение от линейности энергетической характеристики не более +/- 5%.
6.6.1.1.4 Угол поля зрения не менее 30°.
6.6.1.1.5 Предел допускаемой погрешности +/- 10%.
6.6.1.2 Контрольные лампы типа СИС по
ГОСТ 10771, поверенные при цветовой температуре источника А.
(пп. 6.6.1.2 в ред.
Изменения N 1, введенного в действие Приказом Росстандарта от 30.06.2022 N 560-ст)
6.6.1.3 Вольтметры класса точности не ниже 0,5, диапазон показаний 0 - 150 В, по
ГОСТ 8711.
6.6.1.4 Амперметры класса точности не ниже 0,5, диапазон показаний 0 - 50 А, по
ГОСТ 8711.
6.6.1.6 Источник постоянного или стабилизированного переменного тока (50 Гц) для питания контрольных ламп.
6.6.2 Требования к условиям применения метода
6.6.2.1 Силу излучения ПИ определяют круглосуточно как в стендовых, так и в полигонных условиях при отсутствии на трассе фотометрирования дождя, снега, тумана.
6.6.2.2 При измерениях в дневное время амплитуда сигнала фона на регистрирующем приборе должна быть не более 10% ожидаемой амплитуды сигнала при измерении силы излучения ПИ.
6.6.2.3 База измерений должна быть больше 5-кратного максимального линейного размера излучающей поверхности ПИ.
6.6.3 Порядок подготовки к проведению испытаний
6.6.3.1 Подготовляют радиометр согласно руководства по эксплуатации.
6.6.3.2 Радиометр градуируют в лабораторных условиях.
6.6.3.2.1 Градуируют радиометр не менее трех раз на фотометрической скамье типа ФС-М, снабженной экранами для исключения попадания на приемник излучения отраженного и постороннего света, определяя чувствительность радиометра как среднее арифметическое.
6.6.3.2.2 Подключают лампу типа СИС или ПЖ к регулируемому источнику переменного или постоянного тока. Напряжение контролируют по электроизмерительному прибору, подключенному непосредственно к цоколю питания лампы.
6.6.3.2.3 Базу градуировки выбирают таким образом, чтобы показание радиометра при ожидаемой силе излучения составляло от 30% до 50% его шкалы.
6.6.3.2.4 Определяют чувствительность радиометра SР по формуле

. (13)
6.6.3.3 Базу измерений (расстояние от входного окна радиометра до источника излучения) RИ излучения пламени ПИ (далее - база измерений) вычисляют по формуле

. (14)
6.6.3.4 Устанавливают приемную головку радиометра на базе измерений так, чтобы предполагаемый центр пламени ПИ или другая точка наведения, указанная в программе испытаний, и центр входного окна радиометра находились на одной оптической оси.
(в ред.
Изменения N 1, введенного в действие Приказом Росстандарта от 30.06.2022 N 560-ст)
6.6.4 Порядок проведения испытаний
6.6.4.1 Подготовляют к испытанию ПИ в соответствии с руководством по применению.
6.6.4.2 Приводят в действие ПИ и регистрируют силу излучения в соответствии с конструкторской документацией на радиометр.
6.6.4.3 Визуально оценивают качество регистрации процесса горения, убедившись в нормальном функционировании регистрирующих приборов.
6.6.4.4 При необходимости выполняют корректировку базы измерений и точки наведения радиометра.
6.6.5 Правила обработки результатов испытаний
Настоящий метод предусматривает способы обработки результатов измерений при определении среднего значения силы излучения, значения силы излучения в любой момент времени, а также мгновенных значений силы излучения через известные интервалы времени. Конкретный способ обработки указывают в программе испытаний.
6.6.5.1 Обработка результатов измерений с целью определить среднее значение силы излучения ПИ
6.6.5.1.1 Определяют ординату hном номинальной силы излучения ПИ по формуле

. (15)
6.6.5.1.2 Разбивают осциллограмму на интервалы времени

. Значение интервала

и номинальной силы излучения задают в программе испытаний.
(в ред.
Изменения N 1, введенного в действие Приказом Росстандарта от 30.06.2022 N 560-ст)
6.6.5.1.3 Измеряют ординаты hиi в конце каждого i-го интервала времени.
6.6.5.1.4 Среднее значение ординаты hср определяют по формуле

. (16)
6.6.5.1.5 Значение силы излучения Iиi в любой момент времени ti определяют по формуле

. (17)
6.6.5.1.6 Среднее значение силы излучения Iср определяют по формуле

. (18)
6.6.5.2 Обработка результатов измерений с целью определения мгновенных значений силы излучения через интервалы времени

, заданные в программе испытаний
(в ред.
Изменения N 1, введенного в действие Приказом Росстандарта от 30.06.2022 N 560-ст)
6.6.5.2.1 Диаграмму излучения разбивают на интервалы

.
6.6.5.2.2 Измеряют ординаты hиi диаграммы излучения.
6.6.5.2.3 Значение силы излучения
Iиi в любой момент времени

определяют по
формуле (17).
6.6.5.2.4 Значение максимальной силы излучения Iи max определяют по формуле

. (19)
6.6.5.3 Радиус опасной зоны по тепловому (инфракрасному) излучению определяют по формуле

. (20)
6.7 Метод измерения давления в воздушных ударных волнах
6.7.1 Сущность метода заключается в определении скорости распространения воздушной ударной волны и расчете по полученному результату максимального давления на фронте воздушной ударной волны.
6.7.1.1 Средства испытаний и вспомогательные устройства
6.7.1.1.1 Приборное поле размерами 25 x 25 м2, оборудованное измерительными лучами во взаимно перпендикулярных направлениях с установленными на них в защитных приспособлениях первичными измерительными преобразователями (ПИП) давления и защищенными от повреждений измерительными линиями.
Направления лучей устанавливают с погрешностью не более +/- 3°.
Допустимые неровности грунта на приборном поле не более 0,03 м.
Возвышение или заглубление мембраны ПИП относительно уровня грунта не более 0,01 м. В радиусе не менее 0,5 м вокруг ПИП грунт должен быть выровнен, допустимые неровности не более +/- 5 мм.
Для крепления ПИП в центре приборного поля должна быть установлена подставка высотой не более 0,1 м.
6.7.1.1.2 Измерительные линии изготавливаются из радиочастотного кабеля с заземленным экраном.
6.7.1.1.3 Первичные измерительные преобразователи давления с верхним пределом измерения не менее ожидаемого давления в ударной волне и частотным диапазоном не менее 20000 Гц, промежуточные измерительные преобразователи, рабочий частотный диапазон которых не ниже частотного диапазона ПИП.
6.7.1.1.4 Средства регистрации, обеспечивающие регистрацию измеряемых параметров в аналоговой форме в диапазоне частот, не меньшем диапазона частот ПИП.
6.7.1.1.5 Аппаратура единого времени, погрешность задания временных интервалов не более +/- 5·10-6 с.
6.7.1.1.6 Устройство синхронизации запуска ПИ и измерительной и регистрирующей аппаратуры.
6.7.1.1.7 Метеостанция любого типа или комплект приборов для измерения температуры воздуха, атмосферного давления, направления и скорости ветра.
6.7.2 Порядок подготовки к проведению испытаний
6.7.2.1 Подготовляют приборное поле в соответствии с требованиями
6.7.1.1.
6.7.2.2 Устанавливают на лучах приборного поля первичные измерительные преобразователи на расстояниях от центра и в количестве, предусмотренных программой испытаний, и соединяют их с промежуточными измерительными преобразователями, средствами регистрации, аппаратурой единого времени и устройством синхронизации запуска ПИ.
6.7.2.3 Измеряют и записывают в рабочий журнал значения температуры воздуха, атмосферного давления и скорости ветра. По данному методу разрешается проводить испытания при скорости ветра, значение которой составляет до 5 м/с.
6.7.2.4 Устанавливают ПИ на подставку в центре приборного поля и соединяют его с устройством запуска.
6.7.3 Порядок проведения испытаний
6.7.3.1 Приводят измерительную и регистрирующую аппаратуру в состояние готовности, руководствуясь инструкциями по эксплуатации указанной аппаратуры.
6.7.3.2 Проверяют работу устройства синхронизации запуска ПИ и измерительной и регистрирующей аппаратуры.
6.7.3.3 Подключают электровоспламенитель ПИ к источнику питания.
6.7.3.4 Приводят ПИ в действие.
6.7.4 Правила обработки результатов испытаний
6.7.4.1 Определяют скорость прохождения ударной волны между первичными измерительными преобразователями по формуле

. (21)
6.7.4.2 Определяют максимальное значение избыточного давления Pmax ударной волны по формуле

. (22)
6.7.4.3 Строят график зависимости максимального значения давления ударной волны от расстояния до ПИ и определяют радиус опасной зоны, соответствующий опасному уровню давления.
6.7.5 При наличии данных о значениях тротилового эквивалента ПС

и массы ПС в ПИ
M радиус опасной зоны может быть определен из соотношения

. (23)
6.8 Метод определения радиуса разлета осколков (выбрасываемых элементов) пиротехнических изделий бытового назначения
6.8.1 Метод заключается в регистрации нарушений целости экранов из легко разрушаемого материала осколками ПИ, образующимися при их срабатывании.
6.8.1.1 Средства испытаний и вспомогательные устройства
6.8.1.1.1 Мишенная установка для испытаний состоит из вертикальных экранов, изготовленных из бумаги по
ГОСТ 6445. Экраны прикрепляют к горизонтальным рейкам, смонтированным на стойках. Нижнюю часть экранов нагружают распределенным грузом не менее 20 Н.
Высота экрана до 2 м, а стойки должны отстоять от экрана не менее чем на 100 мм.
6.8.1.1.2 Рулетка по
ГОСТ 7502 или другие средства измерений расстояния, относительная погрешность не более 0,5%.
6.8.2 Порядок подготовки к проведению испытаний
6.8.2.1 Очищают площадку для испытаний от растительности (снега). Удаляют инородные тела размером более 5 мм.
6.8.2.2 Устанавливают на заданном программой расстоянии от ПИ экраны, обеспечив их перекрытие.
6.8.2.3 Крепят ПИ так, чтобы исключить его перемещение во время испытаний.
6.8.3 Порядок проведения испытаний
6.8.3.1 Приводят ПИ в действие.
6.8.3.2 После завершения действия ПИ осматривают площадку, ограниченную экранами.
6.8.3.2.1 Устанавливают местонахождение осколков ПИ, несгоревших кусочков ПИ и измеряют расстояние до них. Результаты измерений регистрируют в протоколе испытаний.
6.8.3.2.2 Осматривают экраны и регистрируют наличие в них пробоин.
6.8.4 Порядок обработки результатов испытаний
6.8.4.1 Наличие пробоин экрана принимают за проявление опасного фактора - воздействие осколка на человека.
6.8.4.2 Радиус безопасного воздействия устанавливают по расстоянию до экрана, на котором отсутствуют пробоины.
6.9 Метод определения радиуса разлета пиротехнических элементов высотных фейерверочных пиротехнических изделий
6.9.1 Метод заключается в органолептической оценке радиуса разлета горящих пиротехнических элементов (ПЭ) специально снаряженных макетов фейерверочных ПИ.
Абсолютная погрешность измерения не превышает +/- 1 м.
(абзац введен
Изменением N 1, введенным в действие Приказом Росстандарта от 30.06.2022 N 560-ст)
6.9.1.1 Средства испытаний и вспомогательные устройства
6.9.1.1.1 Вешки деревянные диаметром 20 - 50 мм, высотой не менее 1200 мм.
6.9.1.1.2 Рулетка измерительная по
ГОСТ 7502 или другие средства измерений расстояний, относительная погрешность не более 0,5%.
6.9.2 Порядок подготовки к проведению испытаний
6.9.2.1 Изготовляют макеты ПЭ, имеющие определенные габаритные размеры и массу (далее - макеты), содержащие вместо основных составов дымовой трассер, время работы которого составляет не менее 1 мин.
6.9.2.2 Снаряжают испытуемое ПИ с заменой 20% штатных ПЭ (но не менее четырех штук) макетами.
6.9.2.3 В документацию на ПИ записывают количество ПЭ, пошедших на снаряжение.
6.9.2.4 Готовят мерное поле радиусом не менее радиуса безопасной зоны для испытуемого ПИ.
6.9.2.5 Монтируют пусковое устройство.
6.9.2.6 Измеряют температуру окружающей среды, скорость ветра. Испытания разрешается проводить при значениях температуры окружающей среды не ниже минус 20 °C, скорости ветра не более 5 м/с.
6.9.3 Порядок проведения испытаний
6.9.3.1 Снаряжают ПИ в пусковую установку и производят запуск в соответствии с инструкцией по эксплуатации.
6.9.3.2 С помощью вешек фиксируют положение точек падения макетов ПЭ.
6.9.3.3 Измеряют расстояние от центра ПИ до точек падения макетов.
6.9.4 Правила обработки результатов испытаний
6.9.4.1 Вычисляют среднее значение радиуса разлета макетов ПЭ для серии испытаний

(24)
Приказом Росстандарта от 30.06.2022 N 560-ст)
6.9.4.2 Вычисляют среднее квадратическое отклонение радиуса разлета макетов ПЭ:

. (25)
Приказом Росстандарта от 30.06.2022 N 560-ст)
6.9.4.3 Определяют максимально возможное значение радиуса разлета ПЭ

. (26)
6.10 Метод определения скорости полета энергии движения пиротехнических изделий
6.10.1 Метод заключается в регистрации времени пролета пиротехническим изделием (или пиротехническим элементом) базового расстояния, ограниченного рамами-мишенями, и определении скорости полета и энергии движущегося тела по приведенному алгоритму.
Погрешность метода определения скорости полета не превышает 5%, энергии - 10%.
(абзац введен
Изменением N 1, введенным в действие Приказом Росстандарта от 30.06.2022 N 560-ст)
6.10.1.1 Средства испытаний и вспомогательные устройства
6.10.1.1.1 Рама-мишень - электронное, электронно-механическое, оптическое или иное устройство, позволяющее фиксировать пролет ПИ или любого летящего предмета сквозь раму и вырабатывающее электрический сигнал в момент пролета ПИ - 2 шт.
Внутренний размер l рамы-мишени должен быть не менее определяемого по формуле

. (27)
Рама-мишень может быть круглой или прямоугольной формы.
6.10.1.1.2 Подставка (подставки) под раму-мишень - произвольной конструкции.
6.10.1.1.3 Электронный измеритель временных интервалов, позволяющий измерить время пролета ПИ между двумя рамами-мишенями с погрешностью не более 2%.
6.10.1.1.5 Источник питания для подключения рамы-мишени в соответствии с требованиями конструкторской документации на нее.
6.10.1.1.6 Стапель для крепления ПИ или пусковой установки.
6.10.1.1.7 Весы, позволяющие взвешивать ПИ или метаемые ПЭ, погрешность не более +/- 1%.
6.10.2 Порядок подготовки к проведению испытаний
6.10.2.1 Размещают на испытательной площадке рамы-мишени и стапель так, чтобы центры рам-мишеней находились на оси ПИ, а плоскости рам-мишеней были перпендикулярны к оси ПИ.
Расстояние между ПИ и ближней к нему рамой-мишенью и между рамами-мишенями должно быть 0,5 м, если в программе испытаний нет других указаний.
(в ред.
Изменения N 1, введенного в действие Приказом Росстандарта от 30.06.2022 N 560-ст)
6.10.2.2 Взвешивают ПИ или метаемый ПЭ. Если взвесить метаемый ПЭ до выстрела невозможно, то необходимо найти и взвесить его после выстрела или определить его массу по конструкторской документации.
6.10.2.3 Подключают рамы-мишени к источнику питания и измерителю времени, руководствуясь инструкциями по их эксплуатации.
6.10.2.4 Укрепляют ПИ на стапеле.
6.10.3 Порядок проведения испытаний
6.10.3.1 Устанавливают показание измерителя временных интервалов в нулевое положение.
6.10.3.2 Приводят ПИ в действие.
6.10.3.3 Записывают время пролета ПИ между рамами-мишенями.
6.10.4 Правила обработки результатов испытаний
6.10.4.1 Определяют скорость полета ПИ по формуле

. (28)
6.10.4.2 Определяют энергию летящего ПИ по формуле

. (29)
6.10.4.3 Определяют удельную энергию летящего ПИ при встрече с преградой

. (30)
6.11 Метод измерения силы света
6.11.1 Метод позволяет определять размеры безопасных, опасных и особо опасных зон светового излучения пламени ПИ.
6.11.1.1 Средства испытаний и вспомогательные устройства
Средства измерений и вспомогательное оборудование для измерения силы света по ГОСТ 13208.
6.11.1.2 Порядок подготовки к проведению испытаний
При подготовке к измерениям и их проведении выполняют операции в последовательности, предусмотренной ГОСТ 13208. Конкретные условия проведения испытаний указывают в конструкторской документации на ПИ или в программе испытаний.
6.11.1.3 Правила обработки результатов испытаний
6.11.1.3.1 Обрабатывают результаты испытаний в соответствии с ГОСТ 13208, определив силу света ПИ и время его свечения.
6.11.1.3.2 Определяют размеры зон опасности по формуле

, (31)
Приказом Росстандарта от 30.06.2022 N 560-ст)
где
Hс.и - уровень светового излучения для безопасной, опасной и особо опасной зон в соответствии с
приложением В, Дж/м
2;
50,7 - световой эквивалент потока излучения, лм/Вт.
Коэффициент 50,7 рассчитан из условия, что излучение ПИ принято как излучение абсолютно черного тела температурой 3000 °C.
6.12 Метод измерения уровня звука
6.12.1 Метод заключается в измерении давления звуковых волн шумомерами.
Погрешность измерения +/- 5 дБA.
(абзац введен
Изменением N 1, введенным в действие Приказом Росстандарта от 30.06.2022 N 560-ст)
6.12.1.1 Средства испытаний и вспомогательные устройства
6.12.1.1.1 Шумомеры 1-го или 2-го класса по
ГОСТ 17187 с октавными (1/3-октавными) электрическими фильтрами по
ГОСТ 17168.
6.12.1.1.3 Устройство для крепления испытуемого ПИ.
6.12.1.1.4 Аппаратура, используемая для измерений, должна иметь свидетельства о государственной поверке.
6.12.2 Порядок подготовки к проведению испытаний
6.12.2.1 Монтируют устройство для крепления ПИ (далее - устройство).
6.12.2.2 Устанавливают с помощью устройства испытуемое ПИ. Отклонение расстояния между ПИ и микрофоном от указанного в программе испытаний не должно превышать +/- 10 см.
6.12.2.3 Устанавливают микрофоны в соответствии с требованиями
ГОСТ 17187 и инструкцией по эксплуатации шумомера:
6.12.2.3.1 Микрофоны должны быть установлены на высоте 1,5 м от уровня пола или площадки.
6.12.2.3.2 В помещении микрофон должен быть расположен на расстоянии не менее чем 1 м от стен или других отражающих поверхностей.
6.12.2.3.3 Испытательная площадка должна быть горизонтальной (не иметь неровностей более 0,2 м) и не должна иметь отражающих поверхностей (стен и т.д.) вокруг микрофона в радиусе, не меньшем расстояния от микрофона до испытуемого ПИ.
6.12.2.4 Проводится подготовка шумомера к измерениям в соответствии с инструкцией по эксплуатации.
6.12.2.4.1 Проверяют положение нулевой точки на шкале шумомера и, при необходимости, корректируют положение стрелки индикатора.
6.12.2.4.2 Проводят калибровку шумомера.
6.12.2.4.3 Ставят переключатель частотного приведения в диапазон А.
6.12.2.4.4 Ставят переключатель временного приведения в положение удерживания импульса.
6.12.2.5 Местоположение микрофонов, способ крепления ПИ указывают в программе испытаний.
6.12.3 Порядок проведения испытаний
6.12.3.1 Приводят ПИ в действие.
6.12.3.2 Проводят измерения в течение всего времени действия ПИ.
6.12.3.3 После завершения действия ПИ записывают значение уровня звука в рабочий журнал.
6.12.4 Правила обработки результатов испытаний
6.12.4.1 Выбирают максимальное значение из измеренных уровней звука и принимают его за характерное значение.
6.12.4.2 При необходимости проводят пересчет уровня звука на произвольное расстояние R (JR) по формуле

. (32)
6.13 Метод оценки пожарной опасности пиротехнических изделий
6.13.1 Метод позволяет определять размеры опасной зоны для ПИ, предназначенных для применения в помещениях или в руках и не имеющих опасных факторов, кроме пламени и разлетающихся искр.
Погрешность метода не превышает 20%.
(абзац введен
Изменением N 1, введенным в действие Приказом Росстандарта от 30.06.2022 N 560-ст)
6.13.1.1 Средства испытаний и вспомогательные устройства
6.13.1.1.1 Узел крепления испытуемого ПИ, который исключает перемещение ПИ во время проведения испытаний.
6.13.1.1.3 Набор кювет из стали произвольной марки диаметром от 49 мм до 51 мм, высотой не менее 10 мм и толщиной стенки от 0,8 мм до 1,0 мм.
(пп. 6.13.1.1.3 в ред.
Изменения N 1, введенного в действие Приказом Росстандарта от 30.06.2022 N 560-ст)
6.13.1.1.4 Рулетка измерительная по
ГОСТ 7502.
6.13.1.1.5 Вата хлопчатобумажная одежная и мебельная по
ГОСТ 5679.
6.13.1.1.6 Шкаф сушильный.
6.13.2 Порядок подготовки к проведению испытаний
6.13.2.1 Укладывают вату в кюветы так, чтобы поверхностный слой был однородным и не возвышался над кромкой кюветы более чем на 3 мм.
Количество кювет на одно испытание и их расстояние до ПИ при проведении испытаний должны быть указаны в программе испытаний.
6.13.2.2 Вату в кюветах по
6.13.2.1 выдерживают не менее 30 мин в сушильном шкафу при температуре 40 °C.
6.13.2.3 Устанавливают ПИ в узел крепления и закрепляют так, чтобы исключить перемещение во время испытаний.
6.13.2.4 Кюветы размещают на испытательной площадке вокруг узла крепления ПИ.
6.13.3 Порядок проведения испытаний
6.13.3.1 Испытания проводят при температуре окружающей среды не ниже минус 20 °C, скорости ветра не более 5 м/с, влажности воздуха не более 80% и при отсутствии осадков.
6.13.3.2 Приводят ПИ в действие.
6.13.3.3 Осматривают испытательную площадку после завершения работы ПИ.
6.13.3.4 Измеряют расстояние от центра ПИ до центра кювет, в которых наблюдается загорание (тление) ваты.
6.13.3.5 После завершения испытания очищают установку от шлака, удаляют инородные материалы из кювет. Допускается повторное использование кювет, в которых не произошло загорание ваты.
6.13.4 Правила обработки результатов испытаний
6.13.4.1 Результаты измерения расстояний до кювет, в которых произошло горение (тление) ваты, регистрируют в рабочем журнале.
6.13.4.2 Из всех испытаний выбирают максимальное значение расстояний до кюветы, следующей за той, в которой произошло загорание ваты, и обозначают его R - радиус опасной зоны.
6.13.4.3 Пожаробезопасной зоной считают область пространства за пределами полусферы радиусом R.
6.14 Метод оценки пожаровзрывоопасности пиротехнических изделий (костровая проба)
6.14.1 Метод основан на способности ПИ в упаковке или без нее загораться или взрываться под действием открытого огня.
6.14.1.1 Средства испытаний и вспомогательные устройства
6.14.1.1.1 Устройство для размещения испытуемых ПИ представляет собой тумбу, поверхность которой выполнена в виде квадратной решетки. Высота тумбы должна быть достаточной для размещения под ней топлива. Размер решетки должен быть больше размера испытуемых ПИ.
6.14.1.1.2 Топливо из древесины или жидкое топливо в сосуде, выполненном в виде ванночки с размерами, равными размерам решетки. Высота ванночки должна быть выбрана с таким расчетом, чтобы слоя залитого в нее топлива хватало на 10 - 15 мин горения.
Топливо из древесины (далее - дрова) должно быть выполнено в виде квадратных реек сечениями не более 30 - 50 мм и длиной, равной размеру решетки.
6.14.1.1.4 Кино- или видеокамера.
6.14.1.1.5 Экран произвольной конструкции для защиты костра от ветра.
6.14.1.1.6 Устройство произвольной конструкции для дистанционного поджига топлива (электрическое, газовое, пиротехническое и пр.).
6.14.1.1.7 Три листа размером 2000 x 2000 x 2 мм из алюминия 11000-0 (твердость по Бринеллю - 23, прочность при растяжении 90 МПа) или эквивалентного типа для использования в качестве контрольных экранов вместе с соответствующими опорами для удержания их в вертикальном положении. Контрольные экраны жестко закрепляются в рамках.
6.14.2 Порядок подготовки к проведению испытаний
6.14.2.1 Устанавливают тумбу на месте испытаний.
6.14.2.2 Складывают дрова или устанавливают под решеткой сосуд с жидким топливом. Дрова укладывают в виде клетки, рядами с расстояниями между рейками в ряду примерно 50 - 100 мм.
Дрова допускается смачивать жидким топливом.
6.14.2.3 Устанавливают с двух сторон подготовленного топлива устройства дистанционного поджига.
6.14.2.4 На безопасном расстоянии устанавливают кино- или видеокамеру и подготовляют ее к работе.
6.14.2.5 Укладывают в центре тумбы испытуемые ПИ без упаковки или ПИ в упаковке так, чтобы ни одна часть ПИ не выходила за границы костра.
Подготовляют к работе аппаратуру для измерения давления в соответствии с
6.7.
6.14.2.6 Вертикальные контрольные экраны устанавливаются в каждом из трех квадрантов на расстоянии 4 м от края упаковок или неупакованных изделий. В подветренном направлении экраны не устанавливаются, так как длительное воздействие языков пламени может изменить сопротивление алюминия воздействию осколков. Листы устанавливаются таким образом, чтобы их центры находились на одном уровне с центром упаковок или неупакованных изделий или если этот уровень находится на расстоянии менее 1 м от уровня грунта соприкасались с грунтом.
Если в контрольных экранах до испытания обнаружены какие-либо отверстия или зазубрины, их следует соответствующим образом отметить, чтобы не спутать с пробоинами и зазубринами, полученными в ходе испытания.
6.14.3 Порядок проведения испытаний
6.14.3.1 Включают кино- или видеокамеру, секундомер и аппаратуру для измерения давления.
6.14.3.2 Включают устройства дистанционного поджига топлива.
6.14.3.3 Осуществляется наблюдение за процессом и регистрация его до сгорания или взрыва ПИ.
6.14.3.4 Выключают кино- или видеокамеру, аппаратуру для измерения давления и останавливают секундомер.
6.14.3.5 Если срабатывания ПИ (загорания или взрыва) не произошло, то испытание повторяют с большим количеством топлива, но не раньше чем через 0,5 ч после полного потухания костра.
6.14.4 Правила обработки результатов испытаний
6.14.4.1 Определяют давление в воздушной ударной волне или констатируют отсутствие ударной волны в соответствии с требованиями
6.7.
6.14.4.2 Если в процессе испытаний произошло срабатывание ПИ со взрывом (разброс костра, разлет осколков ПИ, образование ударной волны), ПИ пожаровзрывоопасно и, при необходимости, подлежит передаче на испытания для определения класса опасности по утвержденной в установленном порядке процедуре.
6.14.4.3 Если при испытаниях ПИ сгорело без образования осколков и ударной волны, то ПИ невзрывоопасно.
6.14.4.4 Если происходит взрыв массой, то изделие относится к подклассу 1.1. Считается, что массовый взрыв произошел, если сработала значительная часть содержимого упаковки, так что практическая опасность должна оцениваться исходя из одновременного срабатывания всей массы ПС, содержащейся в упаковках, или во всех неупакованных изделиях.
Если пробито отверстие в каком-либо из контрольных экранов, то изделие относится к подклассу 1.2 по
ГОСТ 19433.
Если происходит образование огненного шара или струи пламени, выходящих за пределы любого из контрольных экранов, то изделие относится к подклассу 1.3 по
ГОСТ 19433.
Если происходит разбрасывание металлических осколков за пределы контрольных экранов более 1 м или появляются зазубрины более 4 мм на любом из контрольных экранов, то изделие относится к подклассу 1.4 и к какой-либо группе совместимости, кроме группы совместимости S.
Если не произойдет одно из событий, требующих отнесения изделия к подклассам 1.1, 1.2, 1.3 или 1.4, кроме группы совместимости S, но при этом наблюдаются разбрасывание осколков, термический эффект или эффект разбрасывания ПЭ, которые не затрудняют борьбу с пожаром или принятие других срочных мер в непосредственной близости, то изделие относится к подклассу 1.4 и группе совместимости S.
6.14.5 Метод испытания твердых ПЭ и содержащих их ПИ, способных легко загораться.
6.14.5.1 Способность вещества распространять горение проверяется путем его поджигания и определения времени горения.
6.14.5.2 Приборы и материалы
Для подготовки образца к испытанию на скорость горения используется имеющий треугольное поперечное сечение лоток длиной 250 мм, внутренней высотой 10 мм и шириной 20 мм. По обеим сторонам лотка по его длине в качестве боковых ограничителей устанавливаются две металлические пластинки, выступающие на 2 мм за верхний край треугольного поперечного сечения. Для удержания образца используется плотная негорючая пластина малой теплопроводности.
6.14.5.3 Предварительное проверочное испытание
На не поддающуюся пропитке пластину, обладающую слабой теплопроводностью и имеющую комнатную температуру, высыпают образец ПЭ (отдельных его компонентов) шнуром или дорожкой, имеющей 250 мм в длину, 20 мм в ширину и 10 мм в высоту. К оконечности образца подносят горячее пламя (температура не менее 1000 °C) от газовой горелки (минимальный диаметр 5 мм), которое остается в соприкосновении с образцом до тех пор, пока он не воспламенится, но не дольше 2 минут (или 5 минут в случае использования порошков металлов или металлических сплавов). Отмечают, распространилась ли зона горения на 200 мм в длину за время испытания, длившегося 2 минуты (или 20 минут в случае использования металлических порошков). Если образец не воспламеняется и не происходит распространения зоны горения с пламенем или без пламени на 200 мм в длину за время испытания, длившегося 2 минуты (или 20 минут в зависимости от конкретного случая), то вещество (ПЭ и содержащее изделие) не следует относить к категории легковоспламеняющихся и подвергать дальнейшим испытаниям. Если менее чем за 2 минуты, или соответственно менее чем за 20 минут в случае использования металлических порошков, горение распространяется на 200 мм образца, то испытания продолжают.
6.14.5.4 Испытание для определения скорости горения
ПС (его компонент) в виде порошка или гранул (в его товарном виде) засыпается без утрамбовки в лоток. После этого форму сбрасывают три раза с высоты 20 мм на твердую поверхность. Затем боковые пластинки убирают и поверх формы укладывают пластину из не подверженного пропитке негорючего материала малой теплопроводности; затем форму переворачивают и снимают. Пастообразное вещество укладывают на негорючую поверхность шнуром длиной 250 мм и с площадью поперечного сечения около 100 мм2. В случае использования веществ, чувствительных к влажности, испытание следует проводить сразу же после извлечения вещества из лотка. Образец помещают в поток воздуха, циркулирующий в вытяжном шкафу. Скорость воздушного потока, которая должна быть достаточной для того, чтобы предотвратить утечку дыма, должна оставаться в ходе испытания постоянной. Вокруг шкафа устанавливается защитный экран.
(в ред.
Изменения N 1, введенного в действие Приказом Росстандарта от 30.06.2022 N 560-ст)
В случае использования веществ, не являющихся металлическими порошками, образец смачивается по каплям одним миллиметром увлажняющего раствора в 30 - 40 мм от 100-миллиметровой зоны измерения. Раствор должен смочить образец по всему сечению, не скатываясь по краям. Необходимо попытаться увлажнить образец по наименьшей его длине, избегая при этом потери жидкости с боковых сторон. Для чистой воды характерно стекание по сторонам формованного вещества, без проникновения в него; в таком случае может возникнуть необходимость в добавлении увлажнителей. Увлажняющие вещества не должны содержать горючих разбавителей, а общее содержание активного вещества в увлажняющем растворе не должно превышать 1%. Жидкость можно добавить в сделанную в верхней части формы канавку глубиной 3 мм и диаметром 5 мм.
С помощью небольшого пламени или разогретой до 1000 °C проволоки образец поджигают с одного конца. После сгорания 80 мм образца измеряют скорость горения на следующем участке длиной 100 мм. Для веществ, не являющихся металлическими порошками, отмечают, сдерживала ли увлажненная зона распространение пламени в течение не менее 4 минут. Испытание повторяют шесть раз на остывшей и вычищенной пластинке, если до конца серии испытаний не был получен положительный результат.
6.14.5.5 Критерии испытания и метод оценки результатов
ПЭ (его компоненты) относится к подклассу 4.1, если время горения, зафиксированное в одном или нескольких испытаниях, осуществленных в соответствии с методом, изложенным в
6.14.5.3, составляет менее 45 секунд (скорость горения превышает 2,2 мм/с). Порошки металлов или металлических сплавов относятся к подклассу 4.1, если происходит воспламенение и если реакция распространяется на всю длину образца за 10 (или менее) минут.
ПЭ (его компоненты), легко поддающиеся горению (за исключением металлических порошков), относятся к подклассу 4.1 (группе упаковки II), если время горения составляет менее 45 секунд и пламя проходит через увлажненную зону. Порошки металлов или металлических сплавов относятся к подклассу 4.1 (группе упаковки II), если зона реакции распространяется на всю длину образца за 5 (или менее) минут.
ПЭ (его компоненты), легко поддающиеся горению (за исключением металлических порошков), относятся к подклассу 4.1 (группе упаковки III), если время горения составляет менее 45 секунд и увлажненная зона сдерживает распространение пламени в течение 4 минут. Металлические порошки относятся к подклассу 4.1 (группе упаковки III), если реакция распространяется на всю длину образца более чем за пять, но менее чем за десять минут.
6.15 Методы контроля специфических факторов
6.15.1 Размеры опасных зон аэрозольного облака продуктов сгорания или диспергирования, специфического воздействия продуктов сгорания на человека и окружающую среду, разлета осколков ПИ класса V определяют по методикам, изложенным в нормативной документации на изготовление ПИ.
6.15.2 Допускается в качестве документов, подтверждающих уровень опасности по специфическим факторам, использовать заключения аттестованных экспертных и научных организаций, гигиенические сертификаты.
6.16 Метод оценки восприимчивости пиротехнических изделий к детонационному импульсу
6.16.1 Метод оценки восприимчивости к детонационному импульсу основан на визуальном контроле деформации металлической пластины "свидетеля" при воздействии продуктов взрывчатого превращения ПИ (заряда), инициируемого электродетонатором с дополнительным зарядом ВВ или без него.
6.16.1.1 Средства испытаний и вспомогательные устройства
На
рисунке 4а приведена принципиальная схема проведения испытаний.
1 - пластина-"свидетель"; 2 - заряд; 3 - электродетонатор
Рисунок 4а - Схема проведения испытаний на восприимчивость
к детонационному импульсу
6.16.1.1.1 Испытуемый образец ПИ или ПЭ, инициируется электродетонатором ЭД-8 по ГОСТ 9089.
6.16.1.1.2 Пластины-"свидетели" из алюминия по
ГОСТ 9.510 и
ГОСТ 21631 или стали марки Ст3 по
ГОСТ 380 толщиной от 3 до 10 мм, шириной и длиной не менее размеров испытываемого изделия.
6.16.1.1.3 Подрывная машинка типа КПМ-3 по
ГОСТ 5462 или любой другой источник тока, генерирующий ток силой не менее 2 А и напряжением от 20 до 36 В.
6.16.1.1.4 Измеритель сопротивления взрывной цепи типа ХН2570П с диапазоном измерения от 0,5 до 19 999,0 Ом или линейный мост постоянного тока типа Р-3043 по
ГОСТ 7165.
(пп. 6.16.1.1.4 в ред.
Изменения N 1, введенного в действие Приказом Росстандарта от 30.06.2022 N 560-ст)
6.16.1.1.5 Вольтметр любого типа по
ГОСТ 8711.
6.16.1.1.6 Плита из стали Ст3 по
ГОСТ 380 толщиной 50 мм, шириной 800 мм и длиной 1000 мм.
6.16.1.1.7 Двухжильный провод в резиновой или хлорвиниловой изоляции типа МГШВ сечением 0,08 - 0,14 мм, рабочим напряжением до 380 В, частотой до 10 000 Гц и постоянным напряжением до 500 В.
(пп. 6.16.1.1.7 в ред.
Изменения N 1, введенного в действие Приказом Росстандарта от 30.06.2022 N 560-ст)
6.16.2 Порядок подготовки к проведению испытаний
6.16.2.1 Подготавливают образец для испытаний путем обеспечения плотного контакта ПИ (навески ПЭ) с электродетонатором ЭД-8. При этом электродетонатор располагают так, чтобы импульс был направлен на наиболее чувствительную часть пиротехнического заряда (инициатор).
Проводники ЭД-8 должны быть закорочены.
Количество изделий, необходимых для проведения испытаний, указывают в программе испытаний.
6.16.2.2 Закрепляют ПИ с помощью изоленты (размещают ПЭ в виде дорожки) на пластине "свидетеле" таким образом, чтобы передняя кромка электродетонатора находилась на крае пластины "свидетеля".
6.16.2.3 Стальную плиту устанавливают на ровном месте испытательной площадки. На плиту устанавливают пластину с ПИ.
6.16.2.4 Проверяют отсутствие напряжения в цепи подрыва, электродетонатор подсоединяют к цепи подрыва и удаляются в укрытие.
6.16.2.5 Проверяют с помощью фотоэлектрического индикатора или другого устройства целость цепи подрыва.
6.16.3 Порядок проведения испытаний
6.16.3.1 Приводят в действие электродетонатор.
6.16.3.2 После завершения процесса осматривают испытательную площадку, находят пластину "свидетель", удаляют с ее поверхности посторонние включения и осматривают состояние пластины.
6.16.4 Обработка результатов испытаний
6.16.4.1 Наличие или отсутствие детонации образца определяют по деформации пластины "свидетеля".
При наличии детонации на пластине-"свидетеле" виден четкий отпечаток (прогиб) по всей длине изделия.
При отсутствии детонации на пластине "свидетеле" след детонации заметен только в месте расположения детонатора.
Если детонация носит затухающий характер, след детонации будет наблюдаться только на участке затухания.
Отсутствие деформации пластины "свидетеля" указывает на невосприимчивость ПИ (ПЭ) к детонационному импульсу.
6.17 Метод определения тротилового эквивалента
6.17.1 Общие требования
6.17.1.1 Метод определения тротиловых эквивалентов основан на сопоставлении результатов работоспособности продуктов взрывчатого превращения пиротехнического и стандартного образцов (составов или изделий) по времени полета груза, метаемого из взрывной камеры эффектомера (импульсомера).
6.17.1.2 Определение тротиловых эквивалентов производят в соответствии с программой испытаний.
6.17.2 Применяемое оборудование, аппаратура и материалы
Для определения тротиловых эквивалентов ПЭ применяют следующие оборудование и материалы:
эффектомер с объемом камеры 5 м
3 (схема изображена на
рисунке 4б);
импульсомер с объемом камеры 0,1 м
3 (схема изображена на
рисунке 4в);
- лебедка электрическая с усилием не менее 1 т.с.;
- теодолит VEGA Teo 5 или другого типа, 2 шт.;
- импульсный источник питания постоянного тока любого типа;
- устройство для подъема метаемого груза любого типа, грузоподъемностью не менее 1500 кгс;
- секундомер любого типа с точностью определения 0,1 с, 2 шт.
(в ред.
Изменения N 1, введенного в действие Приказом Росстандарта от 30.06.2022 N 560-ст)
1 - корпус стальной; 2 - оболочка железобетонная;
3 - цилиндр направляющий; 4 - метаемый груз массой
до 200 кг; 5 - гибкая подвеска; 6 - дополнительный
детонатор с электродетонатором ЭД-8; 7 - заряд;
8 - ввод электрический; 9 - ввод вентиляционный
Рисунок 4б - Схема эффектомера 5 м
3
1 - метаемый груз; 2 - крюки для подвески заряда; 3 - ввод
электрический; 4 - заряд
Рисунок 4в - Схема импульсомера 0,1 м
3
6.17.3 Проведение испытаний
6.17.3.1 Проведение испытаний по определению тротилового эквивалента в эффектомере 5 м3.
Испытания по определению тротилового эквивалента в эффектомере 5 м3 проводятся в следующей последовательности:
а) испытываемый заряд устанавливают в геометрическом центре камеры эффектомера, подвесив его на двух лентах ЛЭ-12-7-х/б или ЛЭ-12-9-х/б, или ЛЭ-12-10-х/б по
ГОСТ 4514 по 90 сантиметров каждая;
б) с помощью лебедки и устройства для опускания метаемого груза закрывают камеру эффектомера;
в) производят инициирование испытываемого заряда;
г) после каждого испытания производят не менее чем десятикратное вентилирование камеры эффектомера с помощью любой вентиляционной установки;
д) проводят не менее трех параллельных испытаний;
е) при испытаниях параллельно двумя секундомерами измеряют время полета груза от момента вылета груза из направляющего цилиндра до момента падения на землю. Если предусмотрено программой испытаний, измеряют дополнительно максимальную высоту полета груза с помощью двух теодолитов;
ж) результаты испытаний обрабатывают в соответствии с
6.17.4.
6.17.3.2 Проведение испытаний по определению тротилового эквивалента в импульсомере.
Испытания по определению тротилового эквивалента в импульсомере проводятся в следующей последовательности:
а) испытываемый заряд устанавливают в геометрическом центре камеры импульсомера, подвесив его на двух лентах ЛЭ-12-7-х/б или ЛЭ-12-9-х/б, или ЛЭ-12-10-х/б по
ГОСТ 4514 по 40 сантиметров каждая;
б) с помощью специальных крючков метаемым грузом закрывают камеру импульсомера;
в) производят инициирование испытываемого заряда;
г) проводят не менее трех параллельных испытаний;
д) при испытаниях параллельно двумя секундомерами измеряют время полета груза от момента вылета груза из направляющего цилиндра до момента падения на землю. Если предусмотрено программой испытаний, измеряют дополнительно максимальную высоту полета груза с помощью двух теодолитов;
е) результаты испытаний обрабатывают в соответствии с
6.17.4.
6.17.3.3 Результаты испытаний и расчетов должны быть зафиксированы в рабочем журнале участка испытаний.
6.17.4 Обработка результатов
6.17.4.1 Измеряемые параметры при дополнительных измерениях с помощью теодолитов:
а) время полета груза T1, T2 первого и второго секундомера, с;
б) угол

подъема груза на максимальную высоту
H (м) с помощью теодолита;
в) расстояние

от центра направляющего цилиндра до места падения груза, м;
г) температура

окружающего воздуха, К.
6.17.4.2 Обработка результатов при дополнительных измерениях с помощью теодолита.
Обработка результатов при дополнительных измерениях с помощью теодолита проводится в следующей последовательности:
| | ИС МЕГАНОРМ: примечание. В официальном тексте документа, видимо, допущена опечатка: имеется в виду Приложение Л, а не М. | |
а) высота подъема груза
H1, м, рассчитанная исходя из показаний первого теодолита, согласно
приложению М

, (32а)
где S1 - расстояние от направляющего цилиндра до первого теодолита, м;

- расстояние от направляющего цилиндра до места падения груза, м;

,

- показания первого теодолита, град;
h1 - разница высот между положением груза перед выстрелом и положением первого теодолита, м.
| | ИС МЕГАНОРМ: примечание. В официальном тексте документа, видимо, допущена опечатка: имеется в виду Приложение Л, а не А. | |
б) высота подъема груза
H2, м, рассчитанная исходя из показаний второго теодолита, согласно
приложению А

, (32б)
где S2 - расстояние от направляющего цилиндра до второго теодолита, м;

- расстояние от направляющего цилиндра до места падения груза, м;

,

- показания второго теодолита, град;
h2 - разница высот между положением груза перед выстрелом и положением второго теодолита, м.
в) средняя высота подъема груза

, рассчитанная исходя из показаний первого и второго теодолитов, м:

, (32в)
где H1 - высота подъема груза H1, рассчитанная исходя из показаний первого теодолита, м;
H2 - высота подъема груза H2, рассчитанная исходя из показаний второго теодолита, м.
г) расчетное время полета груза Tр, с,

, (32г)
где

- средняя высота подъема груза, м;
g - ускорение силы тяжести, 9,81 м/с2.
д) среднее время полета груза, рассчитанное по результатам измерений с помощью секундомеров

, с:
| | ИС МЕГАНОРМ: примечание. Формула дана в соответствии с официальным текстом документа. | |

, (32д)
где T1 - показание первого секундомера, с;
T2 - показание второго секундомера, с.
е) среднее расчетное время полета груза, с, рассчитанное по результатам измерений высоты подъема грузов теодолитами

:

, (32е)
где

- среднее расчетное время полета груза, рассчитанное исходя из измерений первого теодолита, с;

- среднее расчетное время полета груза, рассчитанное исходя из измерений второго теодолита, с.
ж) среднее время полета груза

, с:

, (32ж)
и) баллистический коэффициент А метаемого груза, м-1:

, (32и)
где K - коэффициент, зависящий от скорости метания груза (для скорости метания груза до 200 м/с K = 0,001357);
158 - стандартная масса метаемого груза, кг;
M - масса метаемого груза, кг;
288 - стандартная температура окружающего воздуха, К;

- абсолютная температура окружающего воздуха, К.
к) отношение времени подъема груза T+ к полному времени полета:

, (32к)
где

- полное (усредненное) время полета груза, с.
л) скорость V0 при выходе из направляющего цилиндра эффектомера (импульсомера) рассчитывается по формуле

, (32л)
где T+ - время подъема груза, с.
м) кинетическая энергия метаемого груза E, Дж:

, (32м)
где V0 - начальная скорость метания груза, м/с.
н) удельная энергия испытываемого заряда e, Дж/кг:

, (32н)
где m - масса заряда, кг.
п) тротиловый эквивалент заряда определяется по формуле:

, (32п)
где eTHT - удельная энергия взрыва тротила, Дж/кг.
6.17.4.3 Обработка результатов без дополнительных измерений
Обработка результатов без дополнительных измерений производится в следующей последовательности:
а) среднее время полета груза

, с:

, (32р)
где T1 - показание первого секундомера, с;
T2 - показание второго секундомера, с.
б) скорость метания груза, м/с, при выходе из направляющего цилиндра эффектомера (импульсомера) V0

, (32с)
в) кинетическая энергия метаемого груза, Дж:

, (32т)
где M - масса метаемого груза, кг.
г) удельная энергия испытываемого заряда e, Дж/кг:

, (32у)
где m - масса заряда, кг.
6.17.4.4 Тротиловый эквивалент заряда составит

, (32ф)
где eTHT - удельная энергия взрыва тротила, Дж/кг.
6.17.4.5 Погрешность метода измерения составляет +/- 17%.
6.17.4.6 Результаты испытаний оформляется в форме протокола испытания, в котором указывают: рецептуру состава, коэффициент уплотнения, среднее время полета груза, приборы и инструменты, значение тротилового эквивалента.
6.17.4.7 Допускается определение скорости и высоты подъема груза по
6.5.
6.18 Метод оценки силового и теплового воздействия активного пиротехнического изделия на пассивное
6.18.1 Метод основан на проверке результатов силового и теплового воздействия продуктов сгорания активного ПИ на пассивное.
6.18.1.1 Средства испытаний и вспомогательные устройства
6.18.1.1.1 В качестве активного пиротехнического изделия (АПИ) используется исследуемое ПИ, если оно невосприимчиво к детонационному импульсу, или образец по
6.16.2.1 для ПИ, восприимчивого к детонационному импульсу.
6.18.1.1.2 В качестве пассивного пиротехнического изделия (ППИ) используется исследуемое изделие, выкрашенное в какой-либо яркий цвет для его последующей идентификации.
6.18.1.1.3 Подрывная машинка типа КПМ-3 по
ГОСТ 5462 или любой другой источник, генерирующий ток силой не менее 2 А и напряжением от 20 до 36 В.
6.18.1.1.4 Измеритель сопротивления взрывной цепи типа ХН2570П с диапазоном измерения от 0,5 до 19 999,0 Ом или мост постоянного тока типа Р343 по
ГОСТ 7165.
(пп. 6.18.1.1.4 в ред.
Изменения N 1, введенного в действие Приказом Росстандарта от 30.06.2022 N 560-ст)
6.18.1.1.5 Вольтметр переменного или постоянного тока по
ГОСТ 8711.
| | ИС МЕГАНОРМ: примечание. В официальном тексте документа, видимо, допущена опечатка: имеется в виду п. 6.16.1.1.2, а не 6.16.1.2. | |
6.18.1.1.6 Пластина-"свидетель" по
6.16.1.2.
| | ИС МЕГАНОРМ: примечание. В официальном тексте документа, видимо, допущена опечатка: стандарт имеет номер ГОСТ 380-2005, а не ГОСТ 38. | |
6.18.1.1.7 Плита из стали Ст3 по
ГОСТ 38 толщиной 50 мм, шириной 800 мм и длиной 1000 мм.
6.18.1.1.8 Двухжильный провод в резиновой или хлорвиниловой изоляции типа МГШВ сечением 0,08 - 0,14 мм, рабочим напряжением до 380 В, частотой до 10 000 Гц и постоянным напряжением до 500 В.
(пп. 6.18.1.1.8 в ред.
Изменения N 1, введенного в действие Приказом Росстандарта от 30.06.2022 N 560-ст)
6.18.2 Порядок подготовки испытаний
6.18.2.1 Подготавливают сборки активных и пассивных ПИ и скрепляют их с помощью изоленты для исключения разъединения изделий. Схемы взаимного расположения АПИ и ППИ в сборках показаны на
рисунке 4 г.
Размещение изделий по схеме N 1 (вид спереди)
1 - инициатор; 2 - активное изделие; 3 - пассивное изделие
Размещение изделий по схеме N 2
1 - инициатор; 2 - активное изделие; 3 - пассивное изделие;
4 - каркас для удерживания изделий
Размещение изделий по схеме N 3 (вид сверху)
1 - инициатор; 2 - активное изделие; 3 - пассивное изделие
Размещение изделий по схеме N 4
1 - инициатор; 2 - активное изделие; 3 - пассивное изделие
Рисунок 4г - Схемы взаимного расположения изделий
при испытаниях на передачу детонации от активного ПИ
к пассивному
6.18.2.2 Стальную плиту устанавливают на ровном месте испытательной площадки и размещают на ней пластину-"свидетеля" и сборку АПИ и ППИ.
6.18.2.3 Подготавливают приборы и аппаратуру для определения размеров опасной зоны при срабатывании сборок согласно
6.5.
6.18.2.4 Вольтметром проверяют отсутствие напряжения в цепи подрывной линии, подсоединяют проводники электродетонатора к линии подрыва и удаляются в укрытие.
6.18.2.5 Фотоэлектрическим индикатором Ю-140 или другим прибором проверяют целость линии подрыва.
6.18.3 Порядок проведения испытаний
6.18.3.1 Приводят испытания сборок в соответствии с
6.5. Видеорегистрацию продолжают до окончания горения ПЭ.
6.18.3.2 По истечении 20 минут после срабатывания сборки проводят осмотр пластины-"свидетеля", площадки на предмет отсутствия горящих или тлеющих деталей и изделий, собирают ППИ или их фрагменты и проводят их осмотр и видеорегистрацию.
6.18.4 Обработка результатов испытаний
6.18.4.1 Проводят анализ состояния пластины-"свидетеля". Если на пластине-"свидетеле" присутствуют вмятины на всей площади сборки, то испытуемое изделие относят к категории взрывающегося в массе, в противном случае испытуемое изделие относят к изделиям, не способным к детонации от воздействия соседнего по упаковке изделия и не взрывающимся в массе.
6.18.4.2 Факт отсутствия пассивного ПИ и его фрагментов свидетельствует о восприимчивости ПИ к силовому и тепловому воздействию активного ПИ на пассивное и большую вероятность взрыва массой в упаковке.
6.18.4.3 Факт наличия несработавшего пассивного ПИ или несгоревших ПЭ свидетельствует о невосприимчивости пассивного ПИ к силовому и тепловому воздействию активного ПИ.
6.18.4.4 Производят определение радиуса разлета горящих ПЭ сборки по
6.5.
Если значение радиуса разлета для сборки превышает радиус разлета горящих ПЭ исследуемого ПИ более чем на 10%, то срабатывание пассивного ПИ считается аномальным. В противном случае действие пассивного ПИ признается нормальным.
6.19 Метод оценки безопасности кольцевых обойм пистонов для детского игрушечного оружия при снаряжении
6.19.1 Сущность метода заключается в сдавливании пистонов между площадкой и стержнем и определении уровня давления, при котором происходит срабатывание пистона.
6.19.1.1 Средства испытаний и вспомогательные устройства
6.19.1.1.1 Машина для испытания пружин и рессор МИП 1002.
6.19.1.1.2 Металлический стержень с плоскими торцами, диаметр которого соответствует внутреннему диаметру пистона.
6.19.1.1.3 Устройство для удержания стержня в вертикальном положении.
6.19.2 Порядок подготовки к проведению испытания
6.19.2.1 Закрепляют стержень в устройстве для удержания его в вертикальном положении.
6.19.2.2 Надевают пистон на стержень.
6.19.2.3 Устанавливают сборку на машину.
6.19.3 Порядок проведения испытания
6.19.3.1 Нагружают сборку с помощью машины до срабатывания пистона (величины, указанной в программе) и определяют усилие срабатывания F, кгс.
6.20 Метод проверки огнезащитной обработки транспортной тары для пиротехнических изделий бытового назначения
6.20.1 Настоящая методика распространяется на материал - упаковочный картон с огнезащитной обработкой (далее образец), предназначенный для изготовления транспортной тары для ПИ бытового назначения.
6.20.2 Исследования проводятся с целью определения устойчивости образца к воздействию открытого пламени.
6.20.3 Методика является методом контроля качества образца.
6.20.4 Метод, реализуемый в методике, основан на визуальном наблюдении процесса воспламенения, сквозного прогара образцов в открытом пламени газовой горелки после 3 с воздействия пламени.
6.20.5 Для испытаний используются три образца размером не менее 220x170 мм, закрепляемых перпендикулярно к оси горелки.
6.20.6 Испытательное оборудование
| | ИС МЕГАНОРМ: примечание. Здесь и далее в официальном тексте документа, видимо, допущена опечатка: стандарт имеет номер ГОСТ Р 50810-95, а не ГОСТ 50810. | |
6.20.6.1 Установка для определения устойчивости к воздействию открытого пламени по
ГОСТ 50810. Конструкция установки позволяет осуществлять подвод горелки к центру образца, исключая его любые нежелательные перемещения.
6.20.6.2 Горелка по
ГОСТ 50810, с помощью которой осуществляется зажигание образца, работает на сжиженном газе пропан-бутан.
6.20.6.3 Секундомер с погрешностью измерений не более 5 с в час.
6.20.7 Подготовка к испытаниям
6.20.7.1 Испытаниям подвергается внешняя сторона образца. Образец закрепляется вертикально на стойках на высоте 110 мм.
6.20.7.2 Перед испытанием газовую горелку прогревают в течение 2 мин. Высоту пламени (40 +/- 2) мм регулируют вентилем.
6.20.8 Проведение испытаний
Образец закрепляют на рамке таким образом, чтобы его нижняя кромка выходила за нижнюю шпильку на 5 мм.
Горелку устанавливают в горизонтальном положении на 40 мм нижней кромки образца и придвигают к нему на расстояние, равное 17 мм.
Включают секундомер. Время воздействия пламени на образец 3 с.
После воздействия открытого пламени горелка отводится от образца.
После охлаждения образца и узлов крепления образец заменяется следующим.
6.20.9 Система замеров
6.20.9.1 В процессе воздействия пламени визуально фиксируется воспламенение образца.
6.20.9.2 После воздействия пламени регистрируются: разрушение образца, сквозной прогар.
Результаты заносятся в протокол.
6.20.10 Оценка результатов испытаний
6.20.10.1 Транспортная тара для ПИ бытового назначения является огнезащищенной, если все три образца материала упаковочного (картон) с огнезащитной обработкой в процессе испытания не имеют сквозного прогара.
6.21 Метод измерения максимального давления, создаваемого фейерверочным изделием (ФИ) в мортире
6.21.1 Метод позволяет определить максимальный уровень давления, создаваемого ФИ в мортире. Сущность метода заключается в измерении давления при испытании образца ФИ по методу
подраздела 7.1 с использованием встроенного в мортиру (измерительную) устройства отбора давления, расположенного на расстоянии от дна не более чем на половину наружного диаметра (калибра) ФИ.
6.21.1.1 Порядок подготовки к проведению испытаний
6.21.1.1.1 Подготавливают в соответствии с программой испытаний макет ФИ (дорабатывают исследуемый образец ФИ) с целью исключения времени замедления передачи огневого импульса от вышибного заряда к воспламенительно-разрывному заряду.
6.21.1.1.2 Выдерживают подготовленные макеты ФИ в термовлажностных условиях, предусмотренных программой испытаний.
6.21.1.1.3 Подготавливают к работе измерительную мортиру и измерительные приборы в соответствии с
7.1.
6.21.1.1.4 Проводят снаряжение измерительной мортиры исследуемым макетом ФИ и его запуск в соответствии с требованиями эксплуатационной документации (выпиской из руководства по эксплуатации) на изделие.
6.21.2 Регистрацию и обработку результатов проводят в соответствии с
7.1.1.
7 Методы косвенного определения параметров опасных факторов
7.1 Метод измерения давления
Настоящий метод позволяет измерять давление и временные характеристики в процессе работы ПИ при их стендовых испытаниях с помощью измерительно-регистрирующей аппаратуры.
Погрешность измерения временных характеристик не превышает 2%, давления - 3%.
7.1.1 Средства испытаний и вспомогательные устройства
7.1.1.1 Первичные измерительные преобразователи (ПИП) давления тензорезисторные, потенциометрические или другие, соответствующие приведенным ниже требованиям:
- диапазон измерения ПИП должен быть таким, чтобы ожидаемое максимальное значение измеряемого давления составляло не менее 60% верхнего предела измерения ПИП;
- частотный диапазон ПИП должен быть выше частоты процесса изменения измеряемого давления.
7.1.1.2 Устройство отбора давления, которое должно состоять из дренажного отверстия, узла отбора давления и соединительного трубопровода.
Диаметр дренажного отверстия и внутреннего канала узла отбора (далее - канал) давления должен быть не менее 4 мм.
Длина канала для конкретного ПИ должна быть рассчитана по формуле

(32х)
или

, (32ц)
где 350 - скорость распространения звука в воздухе, м/с.
Максимальная длина канала должна быть 60 мм.
Максимальный свободный объем устройства отбора давления, присоединяемый к ПИ, должен быть не более 10% внутреннего свободного объема испытуемого ПИ.
Для защиты ПИП от воздействия высокотемпературных продуктов сгорания допускается при испытаниях ПИ с большим временем действия (более 0,2 с) применять соединительные трубопроводы (далее - трубопроводы), заполненные индустриальным маслом по
ГОСТ 20799.
Способ заполнения трубопровода маслом должен исключать возможность сохранения в трубопроводе пузырьков воздуха.
7.1.1.3 Промежуточные измерительные преобразователи, рабочий частотный диапазон которых не ниже частотного диапазона ПИП, а основная погрешность не превышает 1%.
7.1.1.4 Средства регистрации, обеспечивающие регистрацию измеряемых параметров в дискретной (цифровой, кодовой) и (или) аналоговой форме в диапазоне частот, не меньшем рабочего диапазона частот ПИП. В качестве средств регистрации могут быть использованы автоматический прибор типа КСП по
ГОСТ 7164, светолучевой осциллограф по
ГОСТ 9829 и др.
7.1.1.5 Аппаратура единого времени, погрешность задания меток времени не более 0,5%.
7.1.1.6 Грузопоршневой манометр класса точности не ниже 0,2 по ГОСТ 8291.
7.1.1.7 Штангенциркуль по
ГОСТ 166 при ручной обработке результатов измерений или автоматизированная система обработки результатов испытаний.
7.1.1.8 Частотные диапазоны средств измерений для конкретных ПИ следует выбирать из условия:

. (33)
7.1.1.9 Условия работы средств измерений должны соответствовать требованиям руководств по их эксплуатации.
7.1.1.10 Конкретный комплект средств измерений, применяемый при испытаниях, должен быть указан в программе испытаний.
(в ред.
Изменения N 1, введенного в действие Приказом Росстандарта от 30.06.2022 N 560-ст)
7.1.2 Порядок подготовки к проведению измерений
7.1.2.1 Выбирают средства измерений и проверяют наличие на них паспортов (аттестатов, формуляров), руководств по эксплуатации.
7.1.2.2 Проводят монтаж средств измерений в соответствии с руководствами по эксплуатации.
Линии связи измерительных приборов должны быть выполнены из кабеля с индивидуальной и общей экранировкой жил (далее - кабельные линии).
При монтаже электрических цепей инициирования ПИ обязательно предусматривают блокировки, исключающие возможность несанкционированного пуска ПИ.
7.1.2.3 Проводят градуировку и (или) калибровку измерительных приборов.
При проведении градуировок и (или) калибровок следует регистрировать нулевой уровень градуировок и (или) калибровок при отсутствии нагрузки на ПИП.
Числовое значение максимального градуировочного уровня в единицах измеряемого параметра должно составлять от 1,0 до 1,3 максимального ожидаемого значения измеряемого параметра.
При регистрации измеряемых параметров в аналоговой форме ордината максимального градуировочного уровня должна быть не менее 60 мм.
Количество градуировочных уровней при нагружении (разгружении) ПИП должно быть не менее пяти.
Нелинейность градуировочной характеристики

на каждом градуировочном уровне при нагружении и разгружении ПИП должна быть не более +/- 3% по отношению к максимальному градуировочному уровню

. (34)
7.1.2.4 До градуировки измерительных приборов и после нее проводят калибровку этих приборов и регистрацию калибровочных уровней.
Разность калибровочных уровней до градуировки и после нее должна быть не более +/- 3% по отношению к среднему арифметическому значению этих уровней.
7.1.3 Порядок выполнения измерений
7.1.3.1 Проверяют целость кабельных линий.
7.1.3.2 Проводят калибровку измерительных приборов не более чем за 15 мин до начала измерений (работы ПИ).
7.1.3.3 Приводят ПИ в действие и регистрируют изменение давления в процессе работы ПИ.
7.1.3.4 Проводят калибровку измерительных приборов не более чем через 5 мин после окончания измерений (работы ПИ).
7.1.3.5 Разность калибровочных уровней до измерения и после него должна быть не более +/- 3% по отношению к среднему арифметическому значению этих уровней.
7.1.3.6 Уход нулевых уровней градуировок (калибровок) от начального положения в течение всего времени регистрации давления должен быть не более +/- 1% по отношению к максимальному градуировочному (калибровочному) уровню.
7.1.4 Правила обработки результатов измерений
7.1.4.1 Обработку результатов измерений проводят по измерительной информации, содержащейся на носителях информации в зависимости от формы регистрации измеряемых параметров - дискретной или аналоговой.
7.1.4.2 Носители информации, кроме измерительной информации, должны содержать следующую дополнительную информацию:
- сведения о ПИ (индекс или обозначение, или наименование);
- номер(а) ПИ;
- сведения о применяемых средствах измерений;
- сведения о градуировке измерительного прибора;
- дату измерений (испытаний);
- порядковый номер измерения в серии измерений;
- фамилию и подпись лица, проводившего измерения.
Дополнительную информацию наносят непосредственно на носитель измерительной информации или вносят в сопроводительный документ.
7.1.4.3 Определять градуировочные характеристики измерительных приборов следует в зависимости от способа градуировки (калибровки).
Сигналы градуировок (калибровок) следует отсчитывать от нулевого уровня градуировок (калибровок).
7.1.4.4 При проведении градуировки во всем диапазоне измерений ПИП градуировочная характеристика должна быть представлена зависимостью

. (35)
Значение

равно среднему арифметическому значению выходного сигнала при нагружении и разгружении ПИП.
7.1.4.5 В зависимости от требований программы испытаний могут быть определены следующие основные характеристики процесса действия ПИ:
- время задержки начала процесса

;
- время установления режима

;
- время достижения характерного значения параметра (максимального, минимального и т.д.) (

,

);
- полное время работы ПИ

;
- максимальное, минимальное давление (Pmax, Pmin);
- среднее интегральное значение давления за все время работы ПИ или на характерных участках работы (P);
- максимальное значение градиента изменения давления

.
Перечисленные характеристики следует определять в соответствии с
7.1.4.5.1 -
7.1.4.5.5, если нет других указаний в программе испытаний или в ином документе.
(в ред.
Изменения N 1, введенного в действие Приказом Росстандарта от 30.06.2022 N 560-ст)
7.1.4.5.1 Время задержки начала процесса следует определять от момента инициирования до начала нарастания давления при работе ПИ.
7.1.4.5.2 Время установления режима

следует определять как время от начала нарастания давления до момента достижения 2/3 максимального давления при работе ПИ.
7.1.4.5.3 Время достижения характерного значения давления следует отсчитывать от начала нарастания значения давления до характерного значения.
7.1.4.5.4 Полное время работы

следует определять от момента инициирования ПИ до момента снижения значения давления до нулевого.
7.1.4.5.5 Среднее интегральное значение давления следует определять по формуле

(36)
7.1.4.6 Результаты измерений (испытаний) должны быть представлены по форме, предусмотренной программой испытаний или иным документом.
7.2 Метод измерения реактивной силы и силы отдачи
7.2.1 Метод позволяет измерять реактивную силу тяги (далее - тяга), силу отдачи и временные характеристики в процессе работы ПИ при их стендовых испытаниях с помощью измерительно-регистрирующей аппаратуры.
7.2.1.1 Средства испытаний и вспомогательные устройства
7.2.1.1.1 Первичные измерительные преобразователи силы.
Диапазоны измерений первичных измерительных преобразователей (далее - ПИП) для конкретных ПИ выбирают такими, чтобы ожидаемое максимальное значение измеряемого параметра составляло не менее 60% верхнего предела измерения ПИП.
Рабочая частота ПИП для измерения тяги должна быть не менее 25 Гц, для измерения силы отдачи - не менее 2000 Гц.
В случае задания в документации на ПИ времени достижения максимального или установившегося значения контролируемых параметров

рабочую частоту
f ПИП выбирают из условия

. (37)
7.2.1.1.2 Промежуточные измерительные преобразователи (ПрП), рабочий частотный диапазон которых должен быть не менее рабочего частотного диапазона ПИП.
7.2.1.1.3 Средства регистрации, обеспечивающие регистрацию измеряемых параметров в дискретной (цифровой, кодовой и т.д.) и (или) аналоговой форме.
При регистрации измеряемых параметров в дискретной форме шаг дискретизации

должен быть обеспечен исходя из условия

. (38)
7.2.1.1.4 Аппаратура единого времени, погрешность задания меток времени не более +/- 0,2%.
7.2.1.1.5 Динамометры образцовые переносные.
(пп. 7.2.1.1.5 в ред.
Изменения N 1, введенного в действие Приказом Росстандарта от 30.06.2022 N 560-ст)
7.2.1.1.6 Стапель, обеспечивающий соблюдение следующих условий крепления ПИ:
- угол

между осью сопла ПИ (осью ПИ, вектором тяги) и осью ПИП не более 2°;
- отклонение от соосности оси сопла (оси ПИ, вектора тяги) относительно оси ПИП не более 1 мм;
- отклонение от перпендикулярности оси ПИП к поверхности упорной плиты стапеля не более 3°;
- отсутствие зазора между звеньями силоизмерительной цепи - ПИ - ПИП - упорная плита стапеля.
Относительная погрешность, вносимая стапелем в результат измерений за счет сопротивления осевому перемещению ПИ на стапеле в пределах упругих деформаций ПИП, должна быть не более +/- 2%.
7.2.2 Порядок подготовки к измерениям
7.2.2.1 Монтаж средств измерений и вспомогательных устройств должен быть выполнен таким образом, чтобы в процессе испытаний (измерений) были зарегистрированы тяга, временные интервалы, нулевые уровни измеряемой величины, момент подачи электрического тока на электровоспламенитель или момент загорания огнепроводного шнура.
7.2.2.2 Монтаж средств измерений, стендового оборудования и вспомогательных устройств проводят в соответствии с требованиями руководств по эксплуатации.
7.2.2.3 Монтаж ПИ на стапель выполняют в соответствии с требованиями руководств по эксплуатации ПИ или программы испытаний.
7.2.2.4 Линии связи измерительных приборов должны быть выполнены из кабеля с индивидуальной и общей экранировкой жил (далее - кабельные линии).
7.2.2.5 Электрические цепи инициирования должны иметь блокировки, исключающие несанкционированный пуск ПИ.
7.2.2.6 Устанавливают ПИ на стапель и нагружают ПИП силой, значение которой равно от 0,1 до 0,2 среднего ожидаемого значения тяги во время работы ПИ, и считают этот уровень нагрузки ПИП нулевым уровнем калибровки до измерения и после него и нулевым уровнем регистрации тяги.
7.2.2.7 Проводят градуировку ПИП.
Числовое значение максимального градуировочного уровня в единицах измеряемого параметра должно быть от 1,0 до 1,3 максимального ожидаемого значения тяги (силы отдачи).
При регистрации измеряемых параметров в аналоговой форме ордината максимального градуировочного уровня должна быть не менее 60 мм.
Количество градуировочных уровней при нагружении (разгружении) ПИП должно быть не менее пяти.
Нелинейность градуировочной характеристики на каждом градуировочном уровне при нагружении и разгружении ПИП должна быть не более +/- 3% по отношению к максимальному градуировочному уровню

. (39)
До градуировки измерительных каналов и после нее следует проводить калибровку этих каналов и регистрацию калибровочных уровней.
Разность калибровочных уровней до градуировки и после нее должна быть не более +/- 1% по отношению к среднему арифметическому значению этих уровней.
При регистрации измеряемых параметров в аналоговой форме ординаты градуировочных, калибровочных уровней и измеряемого параметра должны быть измерены с погрешностью не более +/- 0,5 мм.
7.2.3 Порядок выполнения измерений
7.2.3.1 Проверяют целость и работоспособность кабельных линий.
7.2.3.2 Проводят регистрацию калибровочных уровней измерительных приборов не более чем за 15 мин до начала измерений (работы ПИ).
7.2.3.3 Проводят регистрацию измеряемых параметров ПИ в процессе его работы.
7.2.3.4 Проводят регистрацию калибровочных уровней измерительных приборов не более чем через 15 мин после окончания измерений (работы ПИ).
7.2.3.5 Уход нулевых градуировочных (калибровочных) уровней от начального положения в течение всего времени регистрации измеряемых параметров должен быть не более +/- 1% по отношению к максимальному градуировочному (калибровочному) уровню.
7.2.4 Порядок обработки результатов измерений
7.2.4.1 Обработку результатов измерений (испытаний) следует проводить по измерительной информации, содержащейся на носителях информации в зависимости от формы регистрации измеряемых параметров - дискретной или аналоговой.
7.2.4.2 Носители информации, кроме измерительной информации, должны содержать дополнительно:
- сведения о ПИ (индекс или обозначение, или наименование, номер);
- сведения о применяемых средствах измерений (тип, номер, предел измерений);
- дату измерений (испытаний);
- порядковый номер измерения в серии измерений (испытаний).
7.2.4.3 Определяют градуировочные характеристики измерительных приборов, которые должны быть представлены
зависимостью (35).
7.2.4.4 В зависимости от требований программы испытаний могут быть определены следующие характеристики:
- время задержки начала процесса

;
- время установления режима

;
- время работы ПИ

;
- время достижения характерного значения параметра

;
- максимальное и минимальное значения тяги (Rmax, Rmin);
- среднее интегральное значение тяги за время работы ПИ;
- полный импульс тяги (Iп);
- максимальное значение силы отдачи (Fmax).
7.2.4.4.1 Время задержки начала процесса

следует определять от момента инициирования ПИ до начала нарастания тяги при работе ПИ.
7.2.4.4.2 Время установления режима

- время от момента появления тяги до достижения 2/3 максимального значения тяги, если иное не указано в программе испытаний или в другом сопроводительном документе.
7.2.4.4.3 Время работы ПИ

- время, в течение которого значение тяги сохраняется не менее заданного программой испытаний или иным сопроводительным документом.
7.2.4.4.4 Время достижения характерного значения параметра следует отсчитывать от момента появления тяги до появления характерного значения.
7.2.4.4.5 Максимальное или минимальное значение тяги следует определять в интервале

.
7.2.4.4.6 Среднее интегральное значение тяги
Rср следует определять по формуле

(40)
7.2.4.4.7 Полный импульс тяги следует определять по формуле

. (41)
7.2.4.5 К протоколу испытаний могут быть приложены носители измерительной информации или таблицы и (или) графики с текущими значениями измеряемого параметра.
7.3 Метод оценки чувствительности пиротехнических изделий к статическому электричеству
7.3.1 Метод заключается в измерении энергии электрического разряда конденсатора, от искры которого возможно срабатывание ПИ.
7.3.1.1 Средства испытаний и вспомогательные устройства
7.3.1.1.1 Киловольтметр электростатический класса точности 1,5, предел измерения 30 кВ по
ГОСТ 8711.
7.3.1.1.2 Мост постоянного тока измерительный класса точности 0,2 по
ГОСТ 7165.
7.3.1.1.3 Набор конденсаторов суммарной электрической емкостью 200 пФ на рабочее электрическое напряжение 30 кВ.
7.3.1.1.4 Источник постоянного электрического тока, обеспечивающий плавное изменение подаваемого на конденсатор электрического напряжения от 0 до 30 кВ, с силой электрического тока не более 5 мА.
| | ИС МЕГАНОРМ: примечание. В официальном тексте документа, видимо, допущена опечатка: имеется в виду рисунок 5, а не 4. | |
7.3.1.1.5 Разрядные электроды в соответствии с требованиями
рисунка 4.
1, 2 - разрядные электроды из латуни
Рисунок 5 - Схема размещения разрядных электродов
7.3.1.1.6 Психрометр любого типа, позволяющий измерять влажность воздуха в помещении.
7.3.1.1.7 Термометры стеклянные жидкостные (не ртутные) по
ГОСТ 28498, предел измерения от минус 20 °C до 100 °C.
7.3.1.1.8 Провода высоковольтные, выдерживающие напряжение до 30 кВ.
7.3.1.1.9 Трубка электроизоляционная гибкая типа III, диаметром 10 мм по
ГОСТ 17675 или трубка 3.31 ТВ-40,10 по
ГОСТ 19034.
7.3.1.1.10 Камера, обеспечивающая безопасность проведения работы и возможность наблюдения за ходом испытаний.
7.3.1.1.11 Спирт этиловый технический по
ГОСТ 17299.
(в ред.
Изменения N 1, введенного в действие Приказом Росстандарта от 30.06.2022 N 560-ст)
7.3.1.1.12 Марля бытовая хлопчатобумажная по
ГОСТ 11109.
7.3.2 Порядок подготовки к проведению испытаний
| | ИС МЕГАНОРМ: примечание. В официальном тексте документа, видимо, допущена опечатка: имеется в виду рисунок 6, а не 5. | |
7.3.2.1 Собирают установку для определения чувствительности ПИ к электрической искре в соответствии с
рисунком 5.
1 - источник электрического тока; 2 - киловольтметр;
3 - блок конденсаторов; 4, 5 - разрядные электроды;
6 - переключатель
Рисунок 6 - Принципиальная схема установки для определения
чувствительности ПИ к статическому электричеству
7.3.2.2 Контролируют значение индуктивности разрядной цепи, которое не должно превышать 0,1 мГн.
7.3.2.3 Контролируют значение активного электрического сопротивления разрядной цепи, которое не должно превышать 0,3 Ом.
7.3.2.4 Контролируют значение падения электрического напряжения на конденсаторах, которое не должно превышать 5% за 10 с после отключения источника высокого напряжения.
7.3.2.5 Испытуемое ПИ размещают в камере.
7.3.2.6 Испытание проводят при относительной влажности воздуха не более 65% и температуре от 15 °C до 35 °C.
7.3.2.7 При определении чувствительности к статическому электричеству подсоединение ПИ проводят в каждом случае индивидуально в зависимости от схемы инициирования с учетом требований к монтажу высоковольтных установок.
7.3.2.7.1 При инициировании ПИ от внешнего источника тепла (спички, термоспички) ПИ помещают на разрядный электрод
5, а на воспламеняемую часть ПИ производят разряд с электрода
4 (см.
рисунок 6).
7.3.2.7.2 При инициировании ПИ от терочного капсюля изделие помещают на плоский электрод 5, а разряд производят с электрода 4 на ту часть ПИ, где расположен капсюль.
7.3.2.7.3 При инициировании ПИ от электровоспламенителя один его проводник подсоединяют к электроду 5, а на второй производят разряд с электрода 4.
7.3.3 Порядок проведения испытаний
7.3.3.1 Устанавливают конденсатор емкостью 200 пФ и измеряют емкость конденсатора
3, киловольтметра
2 и разрядной цепи (см.
рисунок 6).
7.3.3.2 Заряжают конденсатор 3 от источника тока 1 до напряжения, значение которого составляет 30 кВ, и отключают источник постоянного тока.
7.3.3.3 Опускают электрод до соприкосновения с ПИ, в результате чего произойдет электрический разряд на ПИ.
7.3.3.4 При воспламенении ПИ допускается последующие испытания проводить при меньших уровнях энергии электрического разряда.
7.3.3.5 После каждого случая срабатывания ПИ электроды очищают от шлаков марлевым тампоном, смоченным в спирте.
7.3.4 Порядок обработки результатов испытаний
7.3.4.1 Энергию зажигания ПИ рассчитывают по формуле

. (42)
7.3.4.2 Среднее значение энергии зажигания ПИ

определяют по формуле

(43)
7.4 Методы измерения временных характеристик
7.4.1 Временные характеристики процесса действия ПИ могут быть определены методами по
6.6,
6.11,
7.1,
7.2.
7.4.2 В остальных случаях время задержки начала процесса и время работы ПИ (см.
7.1.4.5) определяют с помощью секундомера, цена деления которого не менее 0,1 с. Для измерения каждого временного параметра используют не менее двух секундомеров и определяют среднее значение их показаний.
7.5 Метод определения направленности полета
7.5.1 Метод заключается в визуальном наблюдении за полетом ПИ сквозь ограниченное кольцевое пространство.
7.5.1.1 Средства измерений и вспомогательные устройства
7.5.1.1.1 Испытательный стенд (далее - стенд), включающий в себя:
- ровную стальную плиту размерами не менее 1x1 м;
- прочные стойки высотой (3 +/- 0,01) м, жестко скрепленные с плитой по ее диагоналям на расстоянии (50 +/- 20) мм от краев;
- кольцо внутренним диаметром (800 +/- 2) мм, жестко скрепленное со стойками параллельно плите;
- устройство (отметку), расположенное на плите, обеспечивающее установку ПИ соосно с кольцом.
7.5.1.1.2 Уровень строительный.
(пп. 7.5.1.1.2 в ред.
Изменения N 1, введенного в действие Приказом Росстандарта от 30.06.2022 N 560-ст)
7.5.2 Порядок подготовки к испытаниям и их проведения
7.5.2.1 Устанавливают стенд на ровной площадке с отклонением оси кольца от вертикали не более чем на 3°.
7.5.2.2 Устанавливают испытуемое ПИ или пусковое устройство на отметке плиты.
7.5.2.3 Производят пуск ПИ и наблюдают за его полетом.
7.5.3 Правила обработки результатов
7.5.3.1 Если ПИ или выстреливаемые ПЭ пролетели сквозь кольцо, направленность полета удовлетворяет требованиям безопасности.
7.6 Методы установления (подтверждения) сроков годности
7.6.1 Для установления (подтверждения) и продления сроков годности (гарантийных сроков) ПИ могут использоваться результаты испытаний после длительного хранения (ДХ) и/или ускоренных климатических испытаний (УКИ), а также экспертные оценки на основе анализа данных по изделиям-аналогам.
7.6.2 ДХ проводят в условиях, регламентированных нормативной документацией на изделия, по установленной программе.
7.6.3 УКИ заключаются в проведении ускоренного старения ПИ под воздействием климатических факторов в искусственных условиях (повышенная температура, повышенная влажность) по установленной программе.
Рекомендуемое значение температуры ускоренного старения положительной 60 °C, отрицательной минус 50 °C (если указанное значение допускается нормативной документацией на изделие).
7.6.4 Метод аналогов используется при наличии надежной, документированной информации по изделиям, являющимся достаточно полными аналогами исследуемого ПИ.
7.6.5 Расчет времени ускоренного старения производят по ГОСТ 9.707 или по формуле

, (43а)
где

- продолжительность, ч;

- относительная влажность, %;
Tу - температура ускоренных испытаний, К;

- продолжительность сочетания относительной влажности воздуха в интервалах 5%

и температуры в интервалах 5 °C (
Ti) за год в реальных условиях хранения (по
ГОСТ 16350 или по техническому заданию заказчика);
E - температурный коэффициент;
R - газовая постоянная 8,314 Дж/моль К;
n - число градаций

,

,
Ti за 1 год хранения при эксплуатации в реальных условиях;
H - число лет устанавливаемого или продлеваемого гарантийного срока или срока годности.
Для тех случаев, когда определение температурного коэффициента
E затруднено, или он не установлен, значение продолжительности ускоренных тепловлажностных испытаний

, имитирующее 1 год хранения в разных видах хранилищ, при значениях
Tу, принятой 333 К (60 °C),

- 65%,
E - 3,8 КДж/моль (экспертно принятое минимальное значение), приведено в
таблице 1.
Таблица 1
Продолжительность ускоренных тепловлажностных испытаний
Климатический район | Значения  (сутки) |
Отапливаемое хранилище | Неотапливаемое хранилище |
Жаркий, сухой | 5,4 | 3,8 |
Умеренный | 3,2 | 2,1 |
Умеренно холодный | 3,5 | 1,2 |
7.7 Метод испытания электровоспламенителей на отсутствие срабатывания от электросигнала с параметрами, обеспечивающими контроль цепи электрического пуска
7.7.1 Метод заключается в пропускании через электровоспламенитель электрического тока, сила которого на 10% превышает максимальный ток контроля.
7.7.1.1 Средства испытаний и вспомогательные устройства
7.7.1.1.1 Контактное приспособление в соответствии с требованиями технической документации на конкретный тип электровоспламенителя.
Примечание - Контактное приспособление обязательно только для электровоспламенителей, не имеющих гибких проволочных выводов.
7.7.1.1.2 Электрический источник питания, обеспечивающий пропускание через электровоспламенитель постоянного электрического тока стабилизированной силы необходимой величины.
(в ред.
Изменения N 1, введенного в действие Приказом Росстандарта от 30.06.2022 N 560-ст)
7.7.1.1.3 Амперметр класса точности не ниже 1,5 по
ГОСТ 8711.
(пп. 7.7.1.1.3 в ред.
Изменения N 1, введенного в действие Приказом Росстандарта от 30.06.2022 N 560-ст)
7.7.1.1.4 Секундомер механический любого типа с точностью определения 0,1 с.
(пп. 7.7.1.1.4 в ред.
Изменения N 1, введенного в действие Приказом Росстандарта от 30.06.2022 N 560-ст)
7.7.1.1.5 Изолированные провода любого типа с медной токопроводящей жилой площадью сечения не менее 0,5 мм2.
7.7.2 Порядок подготовки к проведению испытаний
7.7.2.1 Устанавливают электровоспламенитель в контактное приспособление (при его наличии).
7.7.2.2 Устанавливают требуемое значение силы тока на источнике питания. Установленная сила тока должна на 10% превышать максимальный ток контроля, указанный в технической документации на электровоспламенитель.
7.7.3 Порядок проведения испытаний
7.7.3.1 Подключают электровоспламенитель к источнику питания последовательно с амперметром.
7.7.3.2 Пропускают ток через электровоспламенитель в течение периода времени, указанного в технической документации.
7.7.3.3 По окончании заданного периода времени отключают электровоспламенитель от источника питания.
7.7.3.4 Фиксируют результат опыта.
Во время испытаний не должно происходить срабатывание электровоспламенителя.
7.8 Методы проверки прочности мортиры
7.8.1 Методы заключаются в нагружении мортиры внутренним давлением, соответствующим условиям запуска ФИ.
7.8.1.1 Метод проверки прочности мортиры запуском испытательного фейерверочного изделия
7.8.1.1.1 Подготавливают исследуемую мортиру и испытательное ФИ согласно программе проверки.
7.8.1.1.2 Производят запуск испытательного ФИ согласно эксплуатационной документации (программе проверки) с принятием дополнительных мер по обеспечению безопасности.
7.8.1.1.3 Осматривают и фиксируют в протоколе проверки состояние мортиры. При отсутствии признаков повреждения мортиры или изменения ее геометрических характеристик мортира признается годной для дальнейшего использования на очередной срок.
7.8.2 Метод проверки прочности мортиры нагружением внутренним давлением
7.8.2.1 Средства испытаний и вспомогательные устройства.
7.8.2.1.1 Испытательная установка, включающая крышку с прокладкой, обеспечивающей герметизацию мортиры при выбранном при проверке значении давления.
7.8.2.1.2 Силовой элемент, удерживающий крышку в процессе испытания, исключающий возможность силового воздействия на стенки трубы мортиры.
7.8.2.1.3 Трубопроводы и запорно-предохранительная арматура, рассчитанная на рабочее давление, не менее чем на 20% превышающее максимальное давление при испытаниях.
7.8.2.1.4 Грузопоршневой манометр по ГОСТ 8291 или иной нагнетатель с измерителем давления соответствующего класса точности.
7.8.2.1.5 Средства видеорегистрации показаний измерительных приборов (электронной регистрации измеряемых параметров).
7.8.2.1.6 Укрытие для оператора, обеспечивающее его безопасность в случае разрушения мортиры (обрыва трубопроводов).
7.8.2.1.7 Устройство для заполнения мортиры и слива рабочей жидкости.
7.8.2.1.8 Допускается вместо гидравлической системы использование мягких резин с известным значением коэффициента Пуассона, а вместо нагнетателя силового устройства (пресса) измерителя усилия соответствующего класса точности.
7.8.2.2 Подготовка и проведение испытаний
7.8.2.2.1 В соответствии с эксплуатационной документацией и программой испытаний подготавливают к работе испытательную установку и мортиру. При необходимости производят градуировку измерительной аппаратуры.
7.8.2.2.2 Производят включение регистрирующей аппаратуры, осуществляют плавное нагружение мортиры до достижения заданного уровня, выдерживают уровень нагружения в течение 15 с, снимают нагружение и отключают регистрирующую аппаратуру.
7.8.2.2.3 Результаты обработки измерений вносят в журнал установленной в данной организации формы.
7.8.2.2.4 Осматривают и фиксируют в протоколе проверки состояние мортиры. При отсутствии признаков повреждения мортиры или изменения ее геометрических характеристик мортира признается годной для дальнейшего использования на очередной срок.
7.8.3 Метод проверки сплошности стенок мортир (для мортир из слоистых пластиков)
Метод предназначен для проверки отсутствия проточных пор в стенках мортиры.
7.8.3.1 Проверка целостности стенок производится путем контроля уровня заполняющей внутреннюю полость мортиры жидкости. Мортира заполняется низковязкой инертной жидкостью до заранее нанесенной на расстоянии 20 - 50 мм от верхнего среза мортиры отметки. И производится фиксация ее уровня в процессе выдержки. При использовании легковоспламеняющейся жидкости (вода) она должна быть покрыта 5 - 10 мм слоем жидкого масла (веретенное, трансформаторное, автомобильное).
(пп. 7.8.3.1 в ред.
Изменения N 1, введенного в действие Приказом Росстандарта от 30.06.2022 N 560-ст)
7.8.3.2 Если после выдержки в течение 24 ч снижение уровня жидкости в полости мортиры не превышает 2% от первоначального уровня, стенки мортиры признаются целыми.
7.8.3.3 Результаты проверки фиксируются в акте проверки. Мортира признается пригодной для снаряжения ФИ, если визуальный контроль не выявил признаков разрушения стенок и дна мортиры (сколы, трещины, коробление) и ее стенки признаны целыми.
7.9 Метод проверки внутренних размеров мортир
7.9.1 Метод предназначен для определения фактических значений геометрических параметров находившихся в эксплуатации мортир с использованием специальных калибров.
7.9.1.1 Для проверки выполнения условий снаряжения ФИ в данную мортиру (минимально допустимый зазор) должны использоваться специально изготовленные цилиндрические калибры (отрезок трубы с толщиной стенки не менее 2 мм) с отношением высоты к диаметру L/D = 0,5. Наружный диаметр калибра должен быть равным сумме максимального диаметра ФИ и минимально допустимого значения зазора по ГОСТ. Калибр должен иметь маркировку, включающую значение наружного диаметра. Калибры подвергаются периодическому контролю наружного диаметра с регистрацией в журнале проверок.
7.9.1.2 Высота (глубина) рабочей части мортиры (при наличии вставок) проверяется универсальным мерительным инструментом с ценой делений не более 1 мм.
7.9.1.3 Результаты проверки фиксируются в акте проверки. Мортира признается пригодной для снаряжения ФИ, если калибр без усилий перемещается по всей длине мортиры
8 Методы испытаний на стойкость к внешним воздействиям
8.1 Методы испытаний на стойкость к механическим воздействиям
Установлены режимы стендовых испытаний, имитирующих воздействия нагрузок на ПИ при транспортировании их автомобильным, железнодорожным, водным и воздушным транспортом общего применения.
Испытания ПИ на транспортные нагрузки заключаются в моделировании реальных условий транспортирования с помощью специальных испытательных стендов путем воспроизведения нагрузок, характерных для транспорта данного вида, и условий транспортирования.
Испытания на воздействие транспортных нагрузок проводят с целью определить:
- прочность ПИ при воздействии транспортных нагрузок;
- работоспособность ПИ после воздействия транспортных нагрузок;
- способность штатной транспортной тары обеспечивать сохранность ПИ при транспортировании.
Испытания ПИ проводят при температуре в помещении, в котором расположен испытательный стенд, или при температуре +/- 60 °C, если другие условия не указаны в программе испытаний.
(в ред.
Изменения N 1, введенного в действие Приказом Росстандарта от 30.06.2022 N 560-ст)
ПИ, перевозимые автомобильным, железнодорожным, водным и воздушным транспортом, можно испытывать на воздействие нагрузок, свойственных только автомобильному и железнодорожному транспорту.
ПИ должны быть подвергнуты испытаниям на транспортные нагрузки в штатной таре.
Установка, крепление и укладка ПИ в упаковке при испытаниях и при реальном транспортировании должны быть аналогичны.
8.1.1 Средства испытаний и вспомогательные устройства
8.1.1.1 Испытательное оборудование должно обеспечивать:
- получение испытательных режимов в соответствии с требованиями настоящего стандарта и программы испытаний;
(в ред.
Изменения N 1, введенного в действие Приказом Росстандарта от 30.06.2022 N 560-ст)
- дистанционное управление ПИ и контроль за испытаниями с расстояний, полностью безопасных для работающего персонала в случае аварийного срабатывания ПИ при испытаниях;
- установку испытуемых ПИ, исключающую их падение с испытательного стенда при любом режиме испытаний.
Перечень рекомендуемых испытательных стендов приведен в
приложении Г.
8.1.1.2 Аппаратура для измерения, анализа и регистрации параметров вибрации и удара должна удовлетворять следующим требованиям:
а) для измерения параметров вибрации:
- обладать плоской амплитудно-частотной характеристикой (АЧХ) и иметь нелинейность плоского участка не более +/- 1 дБ в рабочем диапазоне частот;
- иметь динамический диапазон, обеспечивающий измерение и регистрацию максимальных значений случайной величины до

;
б) для измерения параметров удара:
- иметь верхнюю частоту в частотном спектре не менее

, нижнюю частоту среза не более 1 Гц и собственную (резонансную) частоту измерительного преобразователя не ниже

;
- иметь плоскую АЧХ во всем полученном диапазоне частот с нелинейностью не более +/- 1 дБ.
Перечни рекомендуемой аппаратуры, применяемой для измерения, анализа и регистрации параметров вибрации и удара, приведены в
приложениях Д,
Е,
Ж,
И.
8.1.2 Порядок подготовки к проведению испытаний
8.1.2.1 Подготовка к испытаниям включает в себя:
- выбор метода испытаний;
- определение режимов испытаний;
- подготовку средств испытаний и вспомогательных устройств.
8.1.2.2 Выбор метода испытаний
Испытания на транспортные нагрузки проводят одним из следующих методов воздействия на ПИ:
а) широкополосной случайной вибрации на вибрационных стендах и воздействия удара на ударных стендах;
б) синусоидальной вибрации с качающейся частотой на вибрационных стендах и воздействия удара на ударных стендах;
в) синусоидальной вибрации с фиксированной частотой на вибрационных стендах и воздействия удара на ударных стендах;
г) ударных нагружений на ударных стендах;
д) виброударных воздействий на стендах имитации транспортирования.
8.1.2.3 Для испытаний ПИ принята прямоугольная система координатных осей:
X - горизонтальная ось, соответствующая направлению движения транспорта;
Y - вертикальная ось, перпендикулярная к направлению движения транспорта;
Z - горизонтальная ось, перпендикулярная к направлению движения транспорта.
Буквенные обозначения параметров вибрации и ударных нагрузок указаны с индексом, соответствующим направлению оси координатной системы.
8.1.2.4 Режимы испытаний методами случайной вибрации и удара указаны в
таблицах 2 -
5.
Время испытаний ПИ методом случайной вибрации определяется заданными в стандартах на ПИ дальностями перевозок
L и наиболее вероятными скоростями движения применяемых транспортных средств. Примеры расчета приведены в
приложении К.
Таблица 2
Режимы испытаний на случайную вибрацию, имитирующие
автомобильное транспортирование
Условия движения | Суммарная дисперсия виброускорения, Dy, м2/с4 (g2) | Диапазон частот, Гц | Распределение дисперсий по диапазонам частот, % |
Скорость: | | | |
50 км/ч по дороге с булыжным покрытием | 34,6 (0,36) | 1 - 10 | 35 |
34,6 (0,36) | 10 - 20 | 25 |
40 - 60 км/ч по грунтовой дороге | 24 (0,25) | 20 - 40 | 25 |
60 - 80 км/ч по шоссе с асфальтобетонным покрытием | 15,4 (0,16) | 40 - 60 | 15 |
При испытаниях согласно
таблице 2 значения дисперсий в направлении осей
X и
Z (
Dx и
Dz) составляют от 0,5 до 2,0 значений
Dy.
Время при раздельных испытаниях в направлении осей X и Z принимают
tx = tz = 0,5ty.
Таблица 3
Режимы испытаний на удар, имитирующие
автомобильное транспортирование
Условия движения | Характеристики режимов испытания |
Обозначение составляющей режима испытаний | Пиковое ударное ускорение Wд, м/с2 (g) | Длительность фронта ударного ускорения, с | Число ударов на 1 км дороги N, ед. |
Грунтовая дорога с булыжным покрытием | I | 49,0 (5,0) | 0,04 - 0,10 | 2 |
II | 29,4 (3,0) | 0,02 - 0,03 | 20 |
Примечание - Здесь и в таблицах 5, 6, 7, 8 римскими цифрами обозначены режимы испытаний, суммирование которых обеспечивает имитацию указанного в соответствующей таблице транспортирования. |
(в ред.
Изменения N 1, введенного в действие Приказом Росстандарта от 30.06.2022 N 560-ст)
Таблица 4
Режимы испытаний на случайную вибрацию, имитирующие
транспортирование по железной дороге
Условия движения | Суммарная дисперсия виброускорения Dy, м2/с4 (g2) | Диапазон частот, Гц | Распределение дисперсий по диапазонам частот, % |
Четырехосная платформа, вагон или полувагон, наиболее вероятная скорость 50 км/ч, максимальная скорость 105 км/ч | 19,2 (0,2) | 2 - 10 | 45 |
10 - 20 | 25 |
20 - 40 | 20 |
40 - 60 | 10 |
| | ИС МЕГАНОРМ: примечание. В официальном тексте документа, видимо, допущена опечатка: имеется в виду таблица 4, а не 3. | |
При испытаниях согласно
таблице 3 значения дисперсий в направлении осей
X и
Z (
Dx и
Dz) составляют от 0,5 до 1,0 значений
Dy.
Время при раздельных испытаниях в направлении осей X и Z (tx и tz) принимают tx = tz = 0,5ty.
Таблица 5
Режимы испытаний на удар, имитирующие транспортирование
по железной дороге
Условия движения | Характеристики режимов испытания |
Обозначение составляющей режима испытаний | Пиковое ударное ускорение Wx, м/с2 (g) | Длительность фронта ударного ускорения, с | Число ударов на 1 км пути N, ед. |
Удары при маневрировании и формировании поездов со скоростью 16 - 18 км/ч | I | 58,8 (6) | 0,01 - 0,02 | 0,003 |
II | 49,0 (5,0) | 0,01 - 0,02 | 0,003 |
III | 29,4 (3) | 0,01 - 0,02 | 0,003 |
При испытаниях согласно
таблице 5 значение пикового ударного ускорения в направлении осей
Y и
Z (
Wy,
Wz) принимают
Wy =
Wz = 0,7
Wx.
Число ударов в направлении осей Y и Z (Ny и Nz) принимают Ny = Nz = Nx.
При отсутствии информации о дальностях перевозки транспортом каждого вида дальность транспортирования принимают равной 5000 км автомобильным транспортом.
Режимы испытаний методами синусоидальной вибрации указаны в
таблицах 6 -
9.
Таблица 6
Режимы испытаний на синусоидальную вибрацию, имитирующие
автомобильное транспортирование
Условия движения | Характеристики режимов испытания |
Обозначение составляющей режима испытаний | Амплитуда виброускорения Wy, м/с2 (g) | Частота, Гц | Число периодов колебаний на 1 км N, ед. |
Скорость до 40 км/ч по дороге с булыжным покрытием | I | 23,5 (2,4) | 1 - 10 | 20 |
II | 17,6 (1,8) | 10 - 20 | 100 |
III | 11,8 (1,2) | 20 - 40 | 430 |
IV | 5,9 (0,6) | 40 - 60 | 350 |
Скорость 40 - 60 км/ч по грунтовой дороге | I | 19,6 (2) | 1 - 10 | 20 |
II | 14,7 (1,5) | 10 - 20 | 100 |
III | 9,8 (10) | 20 - 40 | 430 |
IV | 4,9 (0,5) | 40 - 60 | 350 |
Скорость до 80 км/ч по шоссе | I | 15,7 (1,6) | 1 - 10 | 20 |
II | 11,8 (1,2) | 10 - 20 | 100 |
III | 7,8 (0,8) | 20 - 40 | 430 |
IV | 3,9 (0,4) | 40 - 60 | 350 |
| | ИС МЕГАНОРМ: примечание. В официальном тексте документа, видимо, допущена опечатка: имеется в виду таблица 6, а не 5. | |
При испытаниях согласно
таблице 5 значения амплитуд виброускорений в направлении осей
X и
Z (
Wx,
Wz) составляют от 0,5 до 0,7 значения
Wy для грунтовых дорог и дорог с булыжным покрытием и от 0,3 до 0,5 значений
Wy для шоссе с асфальтобетонным покрытием.
Число периодов колебаний на 1 км при раздельном воспроизведении вибраций в направлении осей X и Z принимают Nx = Nz = 0,5Ny.
Таблица 7
Режимы испытаний на синусоидальную вибрацию, имитирующие
транспортирование по железной дороге
Условия движения | Характеристики режимов испытания |
Обозначение составляющей режима испытаний | Амплитуда виброускорения Wy, м/с2 (g) | Частота, Гц | Число периодов колебаний на 1 км Ny, ед. |
На четырехосной платформе, в вагоне или полувагоне со скоростью 105 км/ч | I | 12,8 (1,3) | 2 - 10 | 10 |
II | 9,8 (1) | 10 - 20 | 60 |
III | 7,8 (0,8) | 20 - 40 | 220 |
IV | 3,9 (0,4) | 40 - 60 | 190 |
При испытаниях согласно
таблице 7 значения амплитуды виброускорений в направлении осей
X и
Z (
Wx и
Wz) составляют от 0,7 до 1,0
Wy.
Число периодов колебаний на 1 км в направлении осей X и Z (Nx и Nz) принимают Nx = 0; NZ = 0,5Ny.
Таблица 8
Режимы испытаний, имитирующие транспортирование
водным транспортом
Условия движения | Характеристики режимов испытания |
Обозначение составляющей режима испытаний | Амплитуда виброускорения Wy, м/с2 (g) | Частота, Гц | Число периодов колебаний на 1 км Ny, ед. |
Скорость хода 50 км/ч (30 узлов) | I | 4,9 (0,5) | 10 - 20 | 640 |
II | 14,7 (1,5) | 20 - 40 | 200 |
При испытаниях согласно
таблице 8 значения амплитуды виброускорений в направлении осей
X и
Z (
Wx и
Wz) принимают
Wx = 0;
Wz = 0,5
Wy.
Число периодов колебаний на 1 км в направлении осей X и Z (Nx и Nz) принимают Nx = 0; Nz = 0,5Ny.
Продолжительность испытаний по каждой координатной оси должна составлять 1/3 общего времени, если в программе испытаний не указаны другие условия.
(в ред.
Изменения N 1, введенного в действие Приказом Росстандарта от 30.06.2022 N 560-ст)
Если ПИ испытывают в одном положении, то продолжительность испытаний должна быть равна общей продолжительности испытаний по трем координатным осям.
Испытания методом синусоидальной вибрации с качающейся частотой проводят при непрерывном изменении частоты вибрации в каждом диапазоне - от нижнего значения до верхнего и обратно. Изменение частоты должно осуществляться по логарифмическому закону со скоростью не выше одной октавы в минуту.
Длительность испытаний t, с, в каждом диапазоне определяют по формуле

. (44)
Испытания методом синусоидальной вибрации с фиксированной частотой проводят на средних частотах диапазонов. Длительность испытания в этом случае определяют по формуле

. (45)
Таблица 9
Режимы испытаний, имитирующие воздушное транспортирование
Частота, Гц | Амплитуда виброускорений, м/с2 (g) | Продолжительность испытания, мин |
5 | 9,8 (1) | 20 |
6,25 | 9,8 (1) | 20 |
8 | 9,8 (1) | 20 |
10 | 9,8 (1) | 20 |
12,5 | 9,8 (1) | 20 |
16,0 | 9,8 (1) | 20 |
20,0 | 9,8 (1) | 20 |
25,0 | 9,8 (1) | 20 |
31,5 | 9,8 (1) | 20 |
40,0 | 9,8 (1) | 20 |
50,0 | 9,8 (1) | 20 |
63,0 | 9,8 (1) | 20 |
80,0 | 9,8 (1) | 20 |
100,0 | 9,8 (1) | 20 |
125,0 | 9,8 (1) | 20 |
160,0 | 9,8 (1) | 20 |
200,0 | 9,8 (1) | 20 |
250,0 | 9,8 (1) | 20 |
315,0 | 9,8 (1) | 20 |
400,0 | 9,8 (1) | 20 |
500,0 | 9,8 (1) | 20 |
630,0 | 9,8 (1) | 20 |
800,0 | 9,8 (1) | 20 |
1000,0 | 9,8 (1) | 20 |
1250,0 | 9,8 (1) | 20 |
(в ред. Изменения N 1, введенного в действие Приказом Росстандарта от 30.06.2022 N 560-ст) |
1600,0 | 9,8 (1) | 20 |
2000,0 | 9,8 (1) | 20 |
Допускается сокращать длительность испытания при увеличении амплитуды виброускорения.
Длительность испытания в этом случае tс для выбранного уровня ускорения Wс вычисляют по формуле

. (46)
При отсутствии информации о допустимых пределах динамического нагружения принимают k = 2,5.
Увеличение значения амплитуды виброускорения допустимо до значений, не приводящих к искажениям характера действующих вибраций.
| | ИС МЕГАНОРМ: примечание. В официальном тексте документа, видимо, допущена опечатка: имеется в виду таблица 10, а не 9. | |
Испытания методом воздействия ударных нагружений на ударных стендах проводят в режимах, значения параметров которых указаны в
таблице 9.
Таблица 10
Режимы испытаний на транспортирование пиротехнических
изделий в упакованном виде на ударных стендах
Масса ПИ, кг | Пиковое ударное ускорение, м/с2 (g) | Длительность действия ударного ускорения, мс | Общее число ударов по трем осям |
До 50 включ. | 740 (75) | 1 - 5 | 2000 |
147 (15) | 5 - 20 | 20000 |
98 (10) | 5 - 20 | 88000 |
Св. 50 до 75 включ. | 490 (75) | 1 - 5 | 2000 |
147 (15) | 5 - 20 | 20000 |
98 (10) | 5 - 20 | 88000 |
Св. 75 до 200 включ. | 196 (20) | 1 - 5 | 2000 |
147 (15) | 5 - 20 | 20000 |
98 (10) | 5 - 20 | 88000 |
При испытаниях согласно
таблице 10 частота следования ударов должна быть не более 200 в минуту при ударах с пиковым ускорением, значение которого составляет до 15g, и 80 ударов в минуту с пиковым ускорением, значение которого составляет 20g и выше.
Испытаниям с пиковым ускорением, значения которого составляют 740, 490, 196 м/с2 (75g, 50g, 20g), не подвергают упаковку с ПИ, для которой предусмотрено крепление к кузову транспортного средства.
Испытания на прочность к воздействию механических факторов, свойственных условиям транспортирования ПИ в упаковке автомобилями и по железной дороге, методом виброударных воздействий на стендах имитации транспортирования проводят в соответствии с нормами, указанными в
таблице 11.
Таблица 11
Условия движения и режимы испытаний на стендах имитации
автомобильного и железнодорожного транспортирования
Характер дороги | Скорость движения, км/ч | Среднее квадратическое ускорение, м/с2 (g) | Время испытания, соответствующее 1000 км пути, ч |
Дорога с булыжным покрытием | До 50 | 166,8 +/- 29,4 (17 +/- 3) | 1 |
Грунтовая дорога | До 50 | 166,8 +/- 29,4 (17 +/- 3) | 0,37 |
Шоссе с асфальтобетонным покрытием | До 80 | 166,8 +/- 29,4 (17 +/- 3) | 0,21 |
Железная дорога | До 105 | 83,4 +/- 14,7 (8,5 +/- 1) | 0,1 |
8.1.3 Порядок проведения испытаний
8.1.3.1 Стендовые испытания ПИ необходимо проводить в последовательности:
- испытания, имитирующие автомобильное транспортирование;
- испытания, имитирующие транспортирование по железной дороге;
- испытания, имитирующие воздушное транспортирование;
- испытания, имитирующие водное транспортирование.
8.1.3.2 Допускается совмещать испытания, имитирующие различные виды транспортирования.
При этом значения параметров режимов транспортирования по железной дороге, воздушным и водным транспортом пересчитывают в соответствии с
8.1.2.4 на значения параметров режимов автомобильного транспортирования.
8.1.3.3 Контроль режимов испытаний на удар и вибрацию осуществляют измерительными преобразователями, установленными на платформе испытательного стенда в местах крепления к ней упаковки с ПИ.
8.1.3.4 Режимы испытаний устанавливают и поддерживают по показаниям рабочих средств измерений с отклонениями, не превышающими:
- спектральной плотности виброускорения случайной вибрации +/- 3 дБ;
- суммарного среднего квадратического ускорения случайной вибрации +/- 2 дБ;
- частоты вибрации +/- 2 Гц на частотах до 50 Гц и +/- 5% на частотах свыше 50 Гц;
- амплитуды ускорения или пикового ударного ускорения +/- 20%;
- числа периодов колебаний или ударов +/- 5%;
- временных характеристик (длительности испытания, длительности фронта ударного ускорения) +/- 10%.
8.1.4 Правила обработки результатов испытаний
8.1.4.1 После завершения испытаний проводят визуальный контроль ПИ с целью выявить внешние повреждения, полученные ПИ в процессе испытаний. Изменения внешнего вида ПИ регистрируют в рабочем журнале.
8.1.4.2 После осмотра все ПИ передают для дальнейших испытаний в соответствии с программой испытаний.
(в ред.
Изменения N 1, введенного в действие Приказом Росстандарта от 30.06.2022 N 560-ст)
8.2 Метод оценки стойкости к климатическим воздействиям
8.2.1 Метод основан на моделировании реальных климатических воздействий с помощью специальных камер.
К основным климатическим испытаниям отнесены испытания на:
- теплостойкость;
- холодостойкость;
- стойкость к циклическому изменению температуры;
- стойкость к солнечной радиации.
8.2.1.1 Средства испытаний и вспомогательные устройства
8.2.1.1.1 Камера тепла, в которой возможно создать температуру, значение которой составляет до 60 °C, и поддерживать ее длительное время с отклонением от номинального значения не более чем на +/- 3 °C.
8.2.1.1.2 Камера холода, в которой возможно создать температуру, значение которой составляет до минус 60 °C, и поддерживать ее длительное время с отклонением от номинального значения не более чем на +/- 3 °C.
8.2.1.1.3 Камера имитации солнечной радиации, характеризующаяся верхними значениями интегральной плотности теплового потока 1125 Вт/м2 [0,027 кал/(см2·с)], в том числе плотности потока ультрафиолетовой части спектра (длина волн 280 - 400 нм) 42 Вт/м2 [0,0010 кал/(см2·с)].
8.2.1.1.4 Часы или любое устройство для измерения длительных временных интервалов.
8.2.1.1.5 Регистратор температуры в климатической камере, если таковой не предусмотрен ее конструкцией.
8.2.2 Порядок подготовки к проведению испытаний
8.2.2.1 Включают камеры тепла или (и) холода.
8.2.2.2 Температуру в камерах доводят до заданной программой испытаний.
(в ред.
Изменения N 1, введенного в действие Приказом Росстандарта от 30.06.2022 N 560-ст)
8.2.2.3 Проверяют работоспособность излучателей в камере имитации солнечной радиации в соответствии с инструкцией по ее эксплуатации.
8.2.3 Порядок проведения испытаний
8.2.3.1 Испытания на воздействие тепла и холода
8.2.3.1.1 Располагают ПИ в камерах тепла (холода) так, чтобы была обеспечена свободная циркуляция воздуха между ПИ (упаковками с ПИ), ПИ и стенками камеры.
8.2.3.1.2 Закрывают камеры и, если за время загрузки камер температура в них снизилась (повысилась), выдерживают их требуемое время для достижения заданной температуры.
8.2.3.1.3 Момент достижения заданной температуры в камере считают началом испытаний.
8.2.3.1.4 Выдерживают ПИ в камере в течение 2 ч, если другое время не указано в программе испытаний.
(в ред.
Изменения N 1, введенного в действие Приказом Росстандарта от 30.06.2022 N 560-ст)
8.2.3.2 Испытания на стойкость к циклическому изменению температуры
8.2.3.2.1 ПИ устанавливают в камеру тепла и выполняют требования
8.2.2.2.
8.2.3.2.2 Выдерживают ПИ в камере тепла в течение 3 ч, если другое время не указано в программе испытаний.
(в ред.
Изменения N 1, введенного в действие Приказом Росстандарта от 30.06.2022 N 560-ст)
8.2.3.2.3 Переносят ПИ из камеры тепла в камеру холода и укладывают в ней с учетом требования
8.2.3.1.1.
8.2.3.2.4 Выдерживают ПИ в камере холода в течение 3 ч, если другое время не указано в программе испытаний.
(в ред.
Изменения N 1, введенного в действие Приказом Росстандарта от 30.06.2022 N 560-ст)
8.2.3.2.5 Возвращают ПИ в камеру тепла и повторяют воздействия по
8.2.3.2.1 -
8.2.3.2.4 три раза, если других указаний нет в программе испытаний.
(в ред.
Изменения N 1, введенного в действие Приказом Росстандарта от 30.06.2022 N 560-ст)
8.2.3.2.6 Время переноса ПИ из камеры тепла в камеру холода и наоборот не должно превышать 5 мин, если нет других указаний в программе испытаний.
(в ред.
Изменения N 1, введенного в действие Приказом Росстандарта от 30.06.2022 N 560-ст)
8.2.3.3 Испытания на стойкость к солнечной радиации
8.2.3.3.1 ПИ помещают в камеру имитации солнечной радиации, включают инфракрасное и ультрафиолетовое излучение, после чего значение температуры воздуха в камере устанавливают равным (55 +/- 2) °C в тени.
8.2.3.3.2 Облучают ПИ в камере в течение 120 ч непрерывно или с перерывами.
8.2.4 Оценка результатов испытаний
8.2.4.1 По окончании испытаний ПИ извлекают из камеры и проводят их внешний осмотр и сравнение с ПИ, не подвергавшимися воздействию тепла, холода или солнечной радиации.
8.2.4.2 Все изменения во внешнем виде ПИ регистрируют в рабочем журнале.
8.2.4.3 После осмотра ПИ передают для следующих испытаний в соответствии с программой испытаний.
(в ред.
Изменения N 1, введенного в действие Приказом Росстандарта от 30.06.2022 N 560-ст)
8.3 Метод испытаний на удар при свободном падении
8.3.1 Метод позволяет определять стойкость к удару при свободном падении при проведении испытаний неукупоренных ПИ или ПИ в таре при температуре, значение которой составляет +/- 60 °C, если другое значение температуры не указано в программе испытаний.
(в ред.
Изменения N 1, введенного в действие Приказом Росстандарта от 30.06.2022 N 560-ст)
8.3.1.1 Средства испытаний и вспомогательные устройства
8.3.1.1.1 Горизонтальная ударная площадка, выполненная из стальной плиты толщиной не менее 10 мм, жестко связанная с бетонным фундаментом толщиной не менее 200 мм. Размеры ударной площадки должны быть такими, чтобы ПИ или тара в момент соприкосновения с площадкой не выходили за ее пределы.
Горизонтальность площадки проверяют строительным уровнем. Уровень двух произвольно взятых на поверхности площадки точек не должен отличаться более чем на 2 мм.
(в ред.
Изменения N 1, введенного в действие Приказом Росстандарта от 30.06.2022 N 560-ст)
8.3.1.1.2 Подъемное устройство, снабженное захватами, удерживающими ПИ или упаковку в заданном положении без повреждений и обеспечивающее свободное падение испытуемого ПИ или упаковки.
Подъемное устройство должно обеспечивать установление заданной высоты падения ПИ или упаковки с допустимым отклонением +/- 2%.
При испытании на удар при свободном падении с малых высот (до 2 м) легких ПИ (массой до 5 кг) допускается замена подъемного устройства устройством сброса с заданной высоты, отвечающим всем требованиям, предъявленным к подъемным устройствам.
8.3.1.1.3 Рулетка измерительная по
ГОСТ 7502.
8.3.1.1.4 Климатические камеры для термостатирования ПИ, соответствующие требованиям
8.2.
8.3.2 Порядок подготовки к испытаниям и их проведение
8.3.2.1 Укладывают ПИ в транспортную тару, предусмотренную документацией на испытуемое ПИ. Если количество ПИ, предусмотренное программой испытаний, недостаточно для заполнения тары, то используют наполнители (макулатуру, мешочки с песком и т.д.) таким образом, чтобы общая масса ПИ и наполнителя не превышала предусмотренной конструкторской документацией на ПИ.
(в ред.
Изменения N 1, введенного в действие Приказом Росстандарта от 30.06.2022 N 560-ст)
8.3.2.2 ПИ термостатируют при заданной температуре 30 мин (без тары) или в течение 3 ч (ПИ в таре). Закрепляют ПИ или тару в захватах подъемного устройства и поднимают на заданную высоту.
Высота, с которой сбрасывают ПИ без упаковки, составляет 1,5 м, а высота, с которой сбрасывают тару с ПИ, составляет 12 м, если нет других указаний в программе испытаний.
(в ред.
Изменения N 1, введенного в действие Приказом Росстандарта от 30.06.2022 N 560-ст)
8.3.2.3 Высоту подъема контролируют расстоянием:
- для падения на угол - между ударной площадкой и вершиной угла;
- для падения на стенки - между ударной площадкой и каждым из углов испытуемой стенки;
- для падения на ребро - между ударной площадкой и концами ребра.
Для ПИ непрямоугольной формы расстояние до конкретных частей испытуемых ПИ должно быть указано в программе испытаний.
(в ред.
Изменения N 1, введенного в действие Приказом Росстандарта от 30.06.2022 N 560-ст)
8.3.2.4 Сбрасывают ПИ с высоты и в положении (см.
8.3.2.3) в соответствии с требованиями программы испытаний. Если в программе испытаний не указано пространственное положение ПИ при испытаниях, то ПИ сбрасывают без ориентации, произвольно.
(в ред.
Изменения N 1, введенного в действие Приказом Росстандарта от 30.06.2022 N 560-ст)
8.3.3 Порядок обработки результатов испытаний
8.3.3.1 Проводят визуальный осмотр ПИ и отмечают изменения внешнего вида ПИ.
8.3.3.2 Разрушение тары, повреждение или разрушение ПИ и единичные (не в массе) срабатывания, не приводящие к разбросу ПИ, браковочными признаками не являются.
9 Требования безопасности
9.1 Испытания, относящиеся к разряду пожаро- и взрывоопасных, следует выполнять в строгом соответствии с правилами, установленными для пиротехнической отрасли промышленности, в частности правилами работы со статическим электричеством.
(в ред.
Изменения N 1, введенного в действие Приказом Росстандарта от 30.06.2022 N 560-ст)
9.2 К проведению испытаний могут быть допущены обученные и аттестованные специалисты, знающие устройство и правила безопасного обслуживания оборудования, применяемого при испытаниях, а также правила пользования первичными противопожарными средствами и прошедшие инструктаж по безопасному проведению испытаний.
(в ред.
Изменения N 1, введенного в действие Приказом Росстандарта от 30.06.2022 N 560-ст)
9.3 При испытаниях запрещается:
9.3.1 Запускать ПИ с рук (кроме хлопушек).
9.3.2 Наклоняться над ПИ при запуске.
9.3.3 Находиться после поджига огнепроводного шнура (замедлителя) в опасной зоне.
9.3.4 Направлять или бросать испытуемое ПИ в сторону людей.
9.3.5 Носить подготовленные к испытаниям ПИ в карманах одежды.
9.3.6 Испытывать ПИ с видимыми механическими повреждениями.
9.3.7 Прикладывать к ПИ большие механические нагрузки.
9.3.8 Проводить испытания при сильном ветре.
9.3.9 Работать при отсутствии инструкций по охране труда.
(обязательное)
Соответствие диапазона и погрешности определения яркостной
температуры диафрагмы объектива для пировидикона ТВ-9851
и фильтров N 1 и N 2
Диафрагма | Диапазон яркостных температур, °C, фильтров | Погрешность для нижней границы диапазона, % | Константа А |
N 1 | N 2 |
0,8 | 300 - 500 | 19 - 50 | 8 | 810 |
1 | 300 - 600 | 20 - 60 | 11 | 480 |
1,4 | 300 - 700 | 21 - 78 | 14 | 420 |
2 | 300 - 900 | 22 - 112 | 22 | 396 |
2,8 | 300 - 1200 | 25 - 174 | 34 | 243 |
4 | 325 - 1650 | 30 - 252 | 35 | 146 |
5,6 | 480 - 2100 | 35 - 342 | 35 | 223 |
8 | 650 - 2400 | 45 - 542 | 32 | 297 |
Примечание - Нижняя граница диапазона яркостных температур указана для сигнала яркости, значение которого составляет 16 отн. ед. |
(обязательное)
ГРАДУИРОВОЧНЫЕ ГРАФИКИ ПИРОВИДИКОННОЙ КАМЕРЫ
С ФИЛЬТРАМИ N 1 И N 2
Рисунок Б.1 - Градуировочный график пировидиконной камеры
с фильтром N 1
Рисунок Б.2 - Градуировочный график пировидиконной камеры
с фильтром N 2
(обязательное)
УРОВНИ ЗОН ОПАСНОСТИ СВЕТОВОГО ИЗЛУЧЕНИЯ
Таблица В.1
Параметр, единица физической величины | Уровень опасности |
Опасный | Особо опасный |
Энергия излучения, Дж/м2 | 105 - 4·105 | > 4·105 |
Сноска исключена с 01.01.2023. - Изменение N 1, введенное в действие Приказом Росстандарта от 30.06.2022 N 560-ст. |
(в ред.
Изменения N 1, введенного в действие Приказом Росстандарта от 30.06.2022 N 560-ст)
(рекомендуемое)
ОСНОВНЫЕ ТЕХНИЧЕСКИЕ ХАРАКТЕРИСТИКИ СТЕНДОВ ДЛЯ ПРОВЕДЕНИЯ
МЕХАНИЧЕСКИХ ИСПЫТАНИЙ ПИРОТЕХНИЧЕСКИХ ИЗДЕЛИЙ
Таблица Г.1
Наименование стенда | Тип стенда | Диапазон частот, Гц | Длительность удара, с | Максимальная амплитуда перемещения, мм | Максимальное ускорение, g | Грузоподъемность, Н |
Вибрационный стенд | ЭГВ-10-100 | 0,05 - 100 | - | 100 | 30 | 10000 |
ЭГВ-20-200 | 1 - 200 | - | 75 | 30 | 20000 |
ВЭДС-1500 | 5 - 5000 | - | 6 | 43 | 3000 |
ВЭДС-400 | 5 - 5000 | - | 12,5 | 40 | 900 |
ВГС-3М | 1 - 200 | - | 100 | 30 | 10000 |
ВЭДС-200А | 5 - 5000 | - | 12,5 | 40 | 450 |
УВЭ-100/5-3000 | 5 - 3000 | - | 100 | 60 | 1000 |
УВЭ-10/5000 | 5 - 5000 | - | 10 | 45 | 100 |
Стенд имитации транспортирования | СИТ | - | - | 12 | - | 1000 |
СИТ М | - | - | 12 | - | 3000 |
Ударный стенд | СУ-1 | - | 0,001 - 0,030 | - | 150 | 500 |
ЧУ-500/150 | - | 0,01 - 0,050 | - | 150 | 5000 |
Ударный копер | К6-73-27 | - | 0,01 - 0,100 | - | 100 | 1500 |
К6-79-68 | - | 0,006 - 0,200 | - | 200 | 15000 |
(рекомендуемое)
АППАРАТУРА ДЛЯ ИЗМЕРЕНИЯ ПАРАМЕТРОВ ВИБРАЦИИ
Таблица Д.1
Тип аппаратуры | Тип измерительного преобразователя | Измеряемый параметр | Диапазон частот, Гц | Динамический диапазон ускорения | Погрешность |
ВИ-6-6ТН | ДУ-5С индуктивный | Ускорение | 0 - 200 | 39 - 850 м/с2 | +/- 3% |
IЛВ-67 | Д10, Д11 пьезоэлектрический | 3 - 20000 | 30 - 130 дБ | +/- 15 дБ |
ВА-2 | Д13, Д14 пьезоэлектрический | 5 - 10000 | 10-2 - 104 м/с2 | +/- 15% |
(рекомендуемое)
АППАРАТУРА ДЛЯ ИЗМЕРЕНИЯ СЛУЧАЙНОЙ ВИБРАЦИИ И УПРАВЛЕНИЯ ЕЮ
Таблица Е.1
Тип аппаратуры | Диапазон частот, Гц | Динамический диапазон, дБ | Количество фильтров, шт. | Ширина полосы пропускания фильтров |
СУВУ-ШСВ-1 | 5 - 2000 | 50 | 120 | 12,5; 25 Гц |
СУВУ-ШСВ-2 | 5 - 3000 | 50 | 120 | 12,5; 25; 50 Гц |
СУВУ-ШСВ-3 | 5 - 5000 | 50 | 120 | 12,5; 25; 100 Гц |
DVC-500 | 1 - 10000 | 65 | 400 | 1/400 верхней частоты |
СУАУ | 25 - 20000 | 50 | 30 | 1/3 октавы |
(рекомендуемое)
АППАРАТУРА ДЛЯ ИЗМЕРЕНИЯ ПАРАМЕТРОВ УДАРА
Таблица Ж.1
Тип аппаратуры | Диапазон частот, Гц | Длительность импульса, мс | Пределы измерения | Погрешность измерения |
Удар-4 | 2 - 20000 | 0,04 - 100 | 1 - 20000 м/с | 10% |
ПУ-20ц | 1 - 20000 | 0,5 - 100 | 0 - 60 дБ | 10% |
ПУ-30ц | 1 - 20000 | 0,5 - 100 | 1 - 2000 мВ | 5% |
SMART | 0 - 5000 | 0,2 - 5000 | 0,001 - 100 мВ | 4% |
SM-311 | 2 - 15000 | 0,1 - 20 | 0,32 - 20000 м/с | 17% |
2607 | 2 - 20000 | 0,02 - 20 | 50 дБ | +/- 5 дБ |
15U7Y-6 | 1 - 2000 | 0,01 - 990 | 0,1 - 100000 м/с | 6% |
(рекомендуемое)
АППАРАТУРА ДЛЯ РЕГИСТРАЦИИ ПАРАМЕТРОВ
МЕХАНИЧЕСКИХ ВОЗДЕЙСТВИЙ
Таблица И.1
Наименование аппаратуры | Тип аппаратуры | Число каналов, ед. | Диапазон частот, Гц | Динамический диапазон, дБ | Скорость движения ленты, мм/с |
Магнитограф | НО-62 | 7 | 0 - 20000 | - | 4,76 - 39,1 |
ЛС-1832 | 16 | 0 - 20000 | 40 | 800 |
7003 | 4 | 0 - 50000 | 50 | 38,1 - 381 |
Светолучевой осциллограф | К12-22 | 12 | 0 - 1000 | - | 3 - 1000 |
К20-22 | 20 | 0 - 2000 | - | 1 - 2500 |
Н-115 | 12 | 0 - 5000 | - | 0,5 - 5000 |
НО-30 | 12 | 0 - 5000 | - | 1 - 5000 |
НО-43 | 12 | 0 - 5000 | - | 1 - 5000 |
(справочное)
РАСЧЕТ ВРЕМЕНИ ИСПЫТАНИЙ СИНУСОИДАЛЬНОЙ ВИБРАЦИЕЙ
И ОБЪЕМА ИСПЫТАНИЙ НА УДАР
| | ИС МЕГАНОРМ: примечание. В официальном тексте документа, видимо, допущены опечатки: имеются в виду таблицы 6 - 8, а не 5 - 7 соответственно; таблица 7, а не 6. | |
К.1 Пример расчета времени испытаний синусоидальной вибрацией по
таблицам 5 -
7 приведен с использованием данных
таблицы 6.
Из
таблицы 6 находят, что каждому километру пути соответствует сумма периодов колебаний
Ny:
- 10 периодов колебаний с частотой от 2 до 10 Гц;
- 60 периодов колебаний с частотой от 10 до 20 Гц;
- 220 периодов колебаний с частотой от 20 до 40 Гц;
- 190 периодов колебаний с частотой от 40 до 60 Гц.
Рассчитывают средние арифметические значения указанных выше частот по каждому диапазону и делят на каждое из них соответствующее данному диапазону частот число периодов колебаний Ny.
Суммируют полученные частные отделения, а затем умножают на имитируемую дальность транспортирования. Результат - искомое время испытаний, с.
| | ИС МЕГАНОРМ: примечание. В официальном тексте документа, видимо, допущены опечатки: имеются в виду таблицы 3, 5, а не 2, 4 соответственно. | |
К.2 Пример расчета объема испытаний на удар по
таблицам 2,
4 приведен с использованием данных
таблицы 4.
Из
таблицы 4 следует, что на 1 км пути приходится по 0,003 ударов в трех диапазонах пикового ударного ускорения по оси
X.
Принимают, что имитируемая дальность транспортирования - 10000 км.
Тогда имитирующий транспортирование объем испытаний ударом, действующим в направлении оси X (на испытуемом изделии соответствует наиболее опасному направлению воздействия ударной нагрузки), составит суммарно по 30 ударов с пиковыми ударными ускорениями 6g, 5g и 3g.
(обязательное)
СХЕМА ДЛЯ РАСЧЕТА ВЫСОТЫ ПОДЪЕМА ГРУЗА С ПОМОЩЬЮ ТЕОДОЛИТА
(справочное)
ЗНАЧЕНИЯ КОЭФФИЦИЕНТА СТЬЮДЕНТА ta
k | a <*> |
0,80 | 0,90 | 0,95 | 0,98 | 0,99 | 0,995 | 0,999 |
2 | 1,886 | 2,920 | 4,303 | 6,965 | 9,925 | 14,09 | 31,60 |
3 | 1,638 | 2,353 | 3,182 | 4,541 | 5,841 | 7,453 | 12,92 |
4 | 1,533 | 2,132 | 2,776 | 3,747 | 4,604 | 5,598 | 8,610 |
5 | 1,476 | 2,015 | 2,571 | 3,365 | 4,032 | 4,773 | 6,869 |
6 | 1,440 | 1,943 | 2,447 | 3,143 | 3,707 | 4,317 | 5,959 |
7 | 1,415 | 1,895 | 2,365 | 2,998 | 3,500 | 3,883 | 5,041 |
8 | 1,397 | 1,860 | 2,306 | 2,897 | 3,355 | 3,883 | 4,781 |
9 | 1,383 | 1,833 | 2,262 | 2,821 | 3,250 | 3,690 | 4,587 |
10 | 1,372 | 1,813 | 2,228 | 2,764 | 3,169 | 3,581 | 4,587 |
11 | 1,363 | 1,796 | 2,201 | 2,718 | 3,106 | 3,497 | 4,437 |
13 | 1,356 | 1,782 | 2,179 | 2,681 | 3,055 | 3,428 | 4,318 |
14 | 1,350 | 1,771 | 2,160 | 2,650 | 3,012 | 3,373 | 4,221 |
15 | 1,345 | 1,761 | 2,145 | 2,625 | 2,997 | 3,326 | 4,141 |
12 | 1,341 | 1,753 | 2,161 | 2,603 | 2,947 | 3,286 | 4,073 |
16 | 1,337 | 1,746 | 2,120 | 2,584 | 2,921 | 3,252 | 4,015 |
Раздел исключен с 01.01.2023. -
Изменение N 1, введенное в действие Приказом Росстандарта от 30.06.2022 N 560-ст.
УДК 672.662.111:536.5:006.354 | |
Ключевые слова: пиротехнические изделия, испытания, измерения, метод, опасные факторы, внешние воздействия |
(в ред. Изменения N 1, введенного в действие Приказом Росстандарта от 30.06.2022 N 560-ст) |