Главная // Актуальные документы // ГОСТ (Государственный стандарт)СПРАВКА
Источник публикации
М.: ФГБУ "РСТ", 2022
Примечание к документу
Документ
введен в действие с 01.07.2022.
Взамен ГОСТ 28759.7-90.
Название документа
"ГОСТ 28759.7-2022. Межгосударственный стандарт. Фланцы сосудов и аппаратов. Прокладки в металлической оболочке. Конструкция и размеры. Технические требования"
(введен в действие Приказом Росстандарта от 01.02.2022 N 48-ст)
"ГОСТ 28759.7-2022. Межгосударственный стандарт. Фланцы сосудов и аппаратов. Прокладки в металлической оболочке. Конструкция и размеры. Технические требования"
(введен в действие Приказом Росстандарта от 01.02.2022 N 48-ст)
Введен в действие
по техническому регулированию
и метрологии
от 1 февраля 2022 г. N 48-ст
МЕЖГОСУДАРСТВЕННЫЙ СТАНДАРТ
ФЛАНЦЫ СОСУДОВ И АППАРАТОВ
ПРОКЛАДКИ В МЕТАЛЛИЧЕСКОЙ ОБОЛОЧКЕ
КОНСТРУКЦИЯ И РАЗМЕРЫ.
ТЕХНИЧЕСКИЕ ТРЕБОВАНИЯ
Flanges of vessels and apparatus. Metal jacketed gaskets.
Design and dimensions. Technical requirements
ГОСТ 28759.7-2022
Дата введения
1 июля 2022 года
Цели, основные принципы и общие правила проведения работ по межгосударственной стандартизации установлены
ГОСТ 1.0 "Межгосударственная система стандартизации. Основные положения" и
ГОСТ 1.2 "Межгосударственная система стандартизации. Стандарты межгосударственные, правила и рекомендации по межгосударственной стандартизации. Правила разработки, принятия, обновления и отмены"
1 РАЗРАБОТАН Подкомитетом ПК 12 "Сосуды и аппараты, работающие под давлением" Технического комитета по стандартизации ТК 023 "Нефтяная и газовая промышленность", Акционерным обществом "Научно-исследовательский и проектно-конструкторский институт нефтяного машиностроения "ВНИИНЕФТЕМАШ" (АО "ВНИИНЕФТЕМАШ"), Закрытым акционерным обществом "ПЕТРОХИМ ИНЖИНИРИНГ" (ЗАО "ПХИ"), Обществом с ограниченной ответственностью "СИЛУР" (ООО "СИЛУР")
2 ВНЕСЕН Межгосударственным техническим комитетом по стандартизации МТК 523 "Техника и технологии добычи и переработки нефти и газа"
3 ПРИНЯТ Межгосударственным советом по стандартизации, метрологии и сертификации (протокол от 31 января 2022 г. N 147-П)
За принятие проголосовали:
Краткое наименование страны по МК (ИСО 3166) 004-97 | Код страны по МК (ИСО 3166) 004-97 | Сокращенное наименование национального органа по стандартизации |
Армения | AM | ЗАО "Национальный орган по стандартизации и метрологии" Республики Армения |
Беларусь | BY | Госстандарт Республики Беларусь |
Казахстан | KZ | Госстандарт Республики Казахстан |
Киргизия | KG | Кыргызстандарт |
Россия | RU | Росстандарт |
Таджикистан | TJ | Таджикстандарт |
Узбекистан | UZ | Узстандарт |
Украина | UA | Минэкономразвития Украины |
4
Приказом Федерального агентства по техническому регулированию и метрологии от 1 февраля 2022 г. N 48-ст межгосударственный стандарт ГОСТ 28759.7-2022 введен в действие в качестве национального стандарта Российской Федерации с 1 июля 2022 г.
5 ВЗАМЕН ГОСТ 28759.7-90
Информация о введении в действие (прекращении действия) настоящего стандарта и изменений к нему на территории указанных выше государств публикуется в указателях национальных стандартов, издаваемых в этих государствах, а также в сети Интернет на сайтах соответствующих национальных органов по стандартизации.
В случае пересмотра, изменения или отмены настоящего стандарта соответствующая информация будет опубликована на официальном интернет-сайте Межгосударственного совета по стандартизации, метрологии и сертификации в каталоге "Межгосударственные стандарты"
Настоящий стандарт распространяется на прокладки, состоящие из внешней металлической оболочки и неметаллического сжимаемого наполнителя (далее - прокладки), для фланцев по
ГОСТ 28759.3, предназначенные для уплотнения и герметизации фланцевых соединений сосудов и аппаратов в химической, нефтехимической, нефтеперерабатывающей, газоперерабатывающей, нефтяной, газовой отрасли и других отраслях промышленности.
В настоящем стандарте использованы нормативные ссылки на следующие межгосударственные стандарты:
ГОСТ 2208 Фольга, ленты, полосы, листы и плиты латунные. Технические условия
ГОСТ 2850 Картон асбестовый. Технические условия
ГОСТ 4986 Лента холоднокатаная из коррозионно-стойкой и жаростойкой стали. Технические условия
ГОСТ 13726 Ленты из алюминия и алюминиевых сплавов. Технические условия
ГОСТ 25347 Основные нормы взаимозаменяемости. Характеристики изделий геометрические. Система допусков на линейные размеры. Ряды допусков, предельные отклонения отверстий и валов
ГОСТ 28759.3 Фланцы сосудов и аппаратов стальные приварные встык. Конструкция и размеры
Примечание - При пользовании настоящим стандартом целесообразно проверить действие ссылочных стандартов и классификаторов на официальном интернет-сайте Межгосударственного совета по стандартизации, метрологии и сертификации (www.easc.by) или по указателям национальных стандартов, издаваемым в государствах, указанных в
предисловии, или на официальных сайтах соответствующих национальных органов по стандартизации. Если на документ дана недатированная ссылка, то следует использовать документ, действующий на текущий момент, с учетом всех внесенных в него изменений. Если заменен ссылочный документ, на который дана датированная ссылка, то следует использовать указанную версию этого документа. Если после принятия настоящего стандарта в ссылочный документ, на который дана датированная ссылка, внесено изменение, затрагивающее положение, на которое дана ссылка, то это положение применяется без учета данного изменения. Если ссылочный документ отменен без замены, то положение, в котором дана ссылка на него, применяется в части, не затрагивающей эту ссылку.
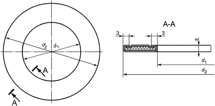
В настоящем стандарте применены следующие обозначения:
D - внутренний диаметр фланца, мм;
d1 - внутренний диаметр прокладки, мм;
d2 - наружный диаметр прокладки, мм;
PN - номинальное давление, МПа;
s - толщина прокладки, мм.
4.1 Конструкция прокладок должна соответствовать представленной на
рисунке 1.
Рисунок 1 - Прокладка в металлической оболочке
4.2 Допускается изготовление прокладок вместе с перемычками различной конфигурации и с иным исполнением поперечного сечения оболочки. Оболочка должна быть замкнутой и изготавливаться из двух полос металла.
4.3 Для прокладок с оболочкой из стали толщину прокладок s принимают равной 3,4 мм, для прокладок с оболочкой из латуни или алюминия - 3,6 мм.
4.4 Размеры и расчетная масса прокладок должны соответствовать значениям, приведенным в
таблице 1.
Таблица 1
Размеры прокладок в металлической оболочке
Внутренний диаметр фланца D, мм | d1, мм | d2, мм | Номинальное давление PN, МПа | Масса, кг |
Материал оболочки |
Сталь | Алюминий | Латунь |
400 | 433 | 457 | 1,0 | 0,117 | 0,087 | 0,145 |
1,6 |
2,5 |
429 | 4,0 | 0,124 | 0,094 | 0,160 |
6,3 |
450 | 489 | 513 | 1.0 | 0,134 | 0,099 | 0,163 |
1,6 |
2,5 |
479 | 507 | 4,0 | 0,146 | 0,106 | 0,178 |
6,3 |
500 | 539 | 563 | 1,0 | 0,146 | 0,108 | 0,181 |
1,6 |
2,5 |
529 | 557 | 4,0 | 0,150 | 0,112 | 0,187 |
6,3 |
600 | 639 | 663 | 1,0 | 0,171 | 0,128 | 0,213 |
1,6 |
2,5 |
629 | 657 | 4,0 | 0,180 | 0,140 | 0,240 |
641 | 669 | 6,3 |
700 | 739 | 763 | 1,0 | 0,197 | 0,148 | 0,246 |
1,6 |
749 | 773 | 2,5 | 0,200 | 0,150 | 0,250 |
729 | 757 | 4,0 | 0,239 | 0,179 | 0,298 |
746 | 774 | 6,3 | 0,241 | 0,181 | 0,302 |
800 | 841 | 865 | 1,0 | 0,225 | 0,168 | 0,280 |
1,6 |
851 | 875 | 2,5 | 0,229 | 0,170 | 0,285 |
833 | 869 | 4,0 | 0,270 | 0,202 | 0,337 |
848 | 884 | 6,3 | 0,300 | 0,221 | 0,370 |
900 | 941 | 965 | 1,0 | 0,251 | 0,187 | 0,313 |
1,6 |
953 | 977 | 2,5 | 0,256 | 0,198 | 0,319 |
933 | 969 | 4,0 | 0,307 | 0,226 | 0,377 |
953 | 989 | 6,3 | 0,326 | 0,233 | 0,385 |
1000 | 1037 | 1065 | 1,0 | 0,324 | 0,241 | 0,402 |
1,6 |
1051 | 1079 | 2,5 | 0,327 | 0,248 | 0,410 |
1038 | 1074 | 4,0 | 0,385 | 0,288 | 0,478 |
1058 | 1094 | 6,3 | 0,401 | 0,298 | 0,509 |
1100 | 1139 | 1167 | 1,0 | 0,355 | 0,267 | 0,446 |
1,6 |
1161 | 1189 | 2,5 | 0,362 | 0,272 | 0,485 |
1139 | 4,0 | 0,421 | 0,327 | 0,524 |
1155 | 1205 | 6,3 | 0,431 | 0,379 | 0,536 |
1200 | 1237 | 1267 | 1,0 | 0,384 | 0,288 | 0,479 |
1,6 |
1267 | 1295 | 2,5 | 0,391 | 0,233 | 0,487 |
1239 | 1289 | 4,0 | 0,515 | 0,388 | 0,647 |
1259 | 1309 | 6,3 | 0,567 | 0,422 | 0,703 |
1300 | 1338 | 1366 | 1,0 | 0,424 | 0,320 | 0,528 |
1,6 |
1370 | 1398 | 2,5 | 0,431 | 0,325 | 0,536 |
1338 | 1388 | 4,0 | 0,555 | 0,420 | 0,696 |
1366 | 1416 | 6,3 | 0,607 | 0,454 | 0,752 |
1400 | 1442 | 1468 | 1,0 | 0,448 | 0,338 | 0,560 |
1,6 |
1476 | 1504 | 2,5 | 0,455 | 0,348 | 0,625 |
1443 | 1493 | 4,0 | 0,669 | 0,498 | 0,829 |
1470 | 1520 | 6,3 | 0,778 | 0,609 | 0,876 |
1500 | 1540 | 1568 | 1,0 | 0,565 | 0,429 | 0,692 |
1552 | 1580 | 1,6 |
1574 | 1606 | 2,5 | 0,572 | 0,439 | 0,752 |
1552 | 1602 | 4,0 | 0,786 | 0,589 | 0,948 |
1575 | 1625 | 6,3 | 0,895 | 0,700 | 0,992 |
1600 | 1648 | 1680 | 1,0 | 0,601 | 0,456 | 0,736 |
1,6 |
1674 | 1706 | 2,5 | 0,611 | 0,463 | 0,748 |
1656 | 4,0 |
1680 | 1730 | 6,3 | 0,723 | 0,575 | 0,794 |
1800 | 1849 | 1881 | 1,0 | 0,673 | 0,511 | 0,825 |
1,6 |
1876 | 1908 | 2,5 | 0,683 | 0,518 | 0,837 |
2000 | 2044 | 2084 | 1,0 | 0,908 | 0,677 | 1,130 |
1,6 |
2200 | 2244 | 2284 | 1,0 | 0,993 | 0,742 | 1,245 |
1,6 |
2400 | 2448 | 2488 | 1,0 | 1,066 | 0,791 | 1,318 |
1,6 |
2600 | 2657 | 2693 | 1,0 | 1,174 | 0,880 | 1,469 |
2800 | 2857 | 2893 | 1,0 | 1,285 | 0,949 | 1,572 |
3000 | 3064 | 3104 | 1,0 | 1,380 | 1,015 | 1,686 |
3200 | 3264 | 3304 | 1,0 | 1,464 | 1,080 | 1,798 |
3400 | 3464 | 3504 | 1,0 | 1,529 | 1,144 | 1,908 |
4.5 Условное обозначение прокладок следует формировать в соответствии со следующей структурой:
Прокладка X - X - X - X ГОСТ 28759.7-2022
┬ ┬ ┬ ┬
│ │ │ └──────────── Тип материала наполнителя прокладки
│ │ └──────────────── Номинальное давление, МПа
│ └──────────────────── Внутренний диаметр фланца, мм
└──────────────────────── Шифр материала оболочки прокладки
Пример условного обозначения прокладки с оболочкой из алюминия (шифр 1) и наполнителем из терморасширенного графита (тип 3) для фланца внутренним диаметром 600 мм, рассчитанного на номинальное давление 1,6 МПа:
Прокладка 1-600-1,6-3 ГОСТ 28759.7-2022.
5.1 Прокладки изготавливают в соответствии с требованиями настоящего стандарта, технической и конструкторской документации.
5.1.1 Материалы оболочки и наполнителя прокладок выбирают в каждом отдельном случае в зависимости от условий эксплуатации, их следует указывать при заказе прокладок.
5.2 Оболочку прокладок изготавливают толщиной не менее 0,4 мм из материалов, указанных в
таблице 2.
5.2.1 Допускается изготавливать оболочки прокладок из других материалов, не указанных в
таблице 2, исходя из условий эксплуатации.
Таблица 2
Материалы оболочки прокладок
Шифр | Материал оболочки | Расчетная температура, °C, не более |
1 | | 425 |
2 | | 425 |
3 | | 450/540 <*> |
4 | | 475/540 <*> |
<*> Для прокладок с наполнителем из терморасширенного графита. |
5.3 В качестве наполнителя применяют материалы следующих типов:
- тип 3 - листовой материал из терморасширенного графита;
- тип 4 - углеродное волокно общей толщиной не менее 1,5 мм.
5.3.1 Листовой материал из терморасширенного графита должен иметь плотность графитовой составляющей 1000 кг/м3 +/- 5%, соответствовать классу прочности 1, классу чистоты 4, классу термоокислительной стойкости 1.
Указанные характеристики должны быть подтверждены испытаниями листового материала из терморасширенного графита и приведены в документе о качестве (паспорте или сертификате качества) готовой продукции.
5.3.2 Допускается применять наполнители из других материалов исходя из условий эксплуатации.
5.4 Допускается изготавливать сварные прокладки. Нарушение геометрии поперечного сечения уплотнения в зоне сварного соединения не допускается.
5.5 Перемычки прокладок для теплообменных аппаратов могут быть изготовлены совместно с прокладкой (сформованными вместе с оболочкой наружного уплотнения) или отдельно с последующим монтажом сваркой.
5.6 Предельные отклонения основных размеров прокладки должны соответствовать:
- для b +/- 0,3 мм.
5.7 Привалочные торцовые поверхности прокладок должны быть без видимых дефектов. Гофрирование поверхности не допускается.
6.1 Маркировку прокладок следует наносить на бирку, прикрепленную к связке прокладок.
6.2 Бирка должна содержать следующую информацию: обозначение товарного знака или наименование изготовителя, условное обозначение прокладки, марку материала оболочки, марку материала наполнителя, обозначение настоящего стандарта, дату изготовления.
6.3 Допускается указывать дополнительную информацию о прокладках.
УДК 66.023:006.354 | |
Ключевые слова: прокладки, сосуды, аппараты, фланцы, номинальное давление, внутренний диаметр, конструкция, размеры, допуски, материалы |